Emerson Mini Mate2 Users Manual 10532
Mini-Mate2 to the manual 2672228e-a436-4345-8ef8-96ff91469759
2015-01-05
: Emerson Emerson-Mini-Mate2-Users-Manual-164831 emerson-mini-mate2-users-manual-164831 emerson pdf
Open the PDF directly: View PDF .
Page Count: 72
- Important Safety Instructions
- Save These Instructions
- Product Model Information
- Figure 1 Split system evaporators
- Figure 2 Air-cooled systems—indoor centrifugal condensing units
- Figure 3 Air-cooled systems—outdoor prop fan condensing units
- Figure 4 Water/glycol-cooled systems—indoor condensing units
- Figure 5 Chilled water systems
- Table 1 System configurations—60 Hz
- Table 2 System configurations—50 Hz
- 1.0 Introduction
- 2.0 Standard Features—5 Ton Systems
- 3.0 Optional Factory-Installed Features - Evaporator/Chilled Water Units
- 4.0 Ship-Loose Accessories—Field-Installed
- 5.0 Site Preparation and Installation
- 5.1 Installation Considerations
- 5.2 Ceiling Unit Weights
- 5.3 Equipment Inspection Upon Receipt
- 5.4 Installing the Ceiling Units
- 5.5 Indoor Air-Cooled Centrifugal Fan Condensing Unit Installation
- 5.6 Outdoor Air-Cooled Condensing Unit Installation
- 5.6.1 Location Considerations
- Figure 19 Dimensions—Air-cooled systems, standard ambient outdoor condensing module
- Table 14 Weights for standard ambient outdoor condensing modules, air-cooled systems
- Figure 20 Dimensions—Air-cooled systems, high ambient and Quiet-Line condensing module
- Table 15 Net weight, high ambient and Quiet-Line condensing modules, air-cooled systems
- 5.6.2 Piping Connections
- 5.6.3 Electrical Connections
- 5.6.1 Location Considerations
- 5.7 Indoor Water- and Glycol-Cooled Condensing Unit Installation
- 5.8 Optional Equipment Piping
- 5.9 Checklist for Completed Installation
- 6.0 Microprocessor Control
- 6.1 Feature Overview
- 6.2 Main Menu <Menu>
- 6.3 Setpoints
- 6.4 Status
- 6.5 Active Alarms
- 6.6 Time
- 6.7 Date
- 6.8 Setback
- 6.9 Setup Operation
- 6.10 Change Passwords
- 6.11 Calibrate Sensors
- 6.12 Alarm Enable
- 6.13 Alarm Time Delay
- 6.14 Common Alarm Enable
- 6.15 Custom Alarms
- 6.16 Custom Text
- 6.17 Run Diagnostics (Available On Rev 1.001.0 and higher)
- 7.0 System Performance Microprocessor Controls
- 8.0 Alarms
- 9.0 System Operation, Testing and Maintenance
- 10.0 Maintenance Inspection Checklist
- Filters
- Fan Section
- Humidifier
- Drain lines
- Compressor Section
- Refrigeration Cycle
- Air-Cooled Condensing Unit (if applicable)
- Flood Back Head Pressure Control
- Water- or Glycol-Cooled Condensing Unit
- Glycol Pump (if applicable)
- Electric Panel
- Electric Reheat
- Signature:________________________________________________________________
- 11.0 Troubleshooting

Precision Cooling
For Business-Critical Continuity™
Liebert® Mini-Mate2™
User Manual - 5 Tons, 50 & 60Hz

i
TABLE OF CONTENTS
IMPORTANT SAFETY INSTRUCTIONS . . . . . . . . . . . . . . . . . . . . . . . . . . . . . . . . . . . . . . . . . . . . . . . .1
PRODUCT MODEL INFORMATION . . . . . . . . . . . . . . . . . . . . . . . . . . . . . . . . . . . . . . . . . . . . . . . . . .3
1.0 INTRODUCTION . . . . . . . . . . . . . . . . . . . . . . . . . . . . . . . . . . . . . . . . . . . . . . . . . . . . . . . . . .6
1.1 Designed to Match Computer and Electronic Equipment Needs—From Installation
to Operation . . . . . . . . . . . . . . . . . . . . . . . . . . . . . . . . . . . . . . . . . . . . . . . . . . . . . . . . . . . . . . . . 6
2.0 STANDARD FEATURES—5 TON SYSTEMS . . . . . . . . . . . . . . . . . . . . . . . . . . . . . . . . . . . . . .7
2.1 Evaporator Section—Split System . . . . . . . . . . . . . . . . . . . . . . . . . . . . . . . . . . . . . . . . . . . . . . 7
2.2 Condensing Unit Section—Split System. . . . . . . . . . . . . . . . . . . . . . . . . . . . . . . . . . . . . . . . . . 7
2.2.1 Indoor Centrifugal Fan Condensing Units . . . . . . . . . . . . . . . . . . . . . . . . . . . . . . . . . . . . . . . . . 7
2.2.2 Outdoor Prop Fan Condensing Units . . . . . . . . . . . . . . . . . . . . . . . . . . . . . . . . . . . . . . . . . . . . . 7
2.2.3 Indoor Water/Glycol Condensing Units. . . . . . . . . . . . . . . . . . . . . . . . . . . . . . . . . . . . . . . . . . . . 7
2.3 Chilled Water Units . . . . . . . . . . . . . . . . . . . . . . . . . . . . . . . . . . . . . . . . . . . . . . . . . . . . . . . . . . 7
2.4 System Controls . . . . . . . . . . . . . . . . . . . . . . . . . . . . . . . . . . . . . . . . . . . . . . . . . . . . . . . . . . . . . 8
2.4.1 Other Standard Control Features . . . . . . . . . . . . . . . . . . . . . . . . . . . . . . . . . . . . . . . . . . . . . . . . 8
3.0 OPTIONAL FACTORY-INSTALLED FEATURES - EVAPORATOR/CHILLED WATER UNITS . . . . . .9
3.1 Reheat . . . . . . . . . . . . . . . . . . . . . . . . . . . . . . . . . . . . . . . . . . . . . . . . . . . . . . . . . . . . . . . . . . . . . 9
3.2 Humidifier. . . . . . . . . . . . . . . . . . . . . . . . . . . . . . . . . . . . . . . . . . . . . . . . . . . . . . . . . . . . . . . . . . 9
3.3 Sensors . . . . . . . . . . . . . . . . . . . . . . . . . . . . . . . . . . . . . . . . . . . . . . . . . . . . . . . . . . . . . . . . . . . . 9
3.4 Switches and Motors . . . . . . . . . . . . . . . . . . . . . . . . . . . . . . . . . . . . . . . . . . . . . . . . . . . . . . . . . 9
3.5 Free-Cooling . . . . . . . . . . . . . . . . . . . . . . . . . . . . . . . . . . . . . . . . . . . . . . . . . . . . . . . . . . . . . . . 10
3.6 Optional Configurations—Prop Fan Condensing Units. . . . . . . . . . . . . . . . . . . . . . . . . . . . . 10
3.7 Optional Configurations—Water/Glycol Condensing Units . . . . . . . . . . . . . . . . . . . . . . . . . 10
3.8 Optional Configurations—Chilled Water Units . . . . . . . . . . . . . . . . . . . . . . . . . . . . . . . . . . . 11
4.0 SHIP-LOOSE ACCESSORIES—FIELD-INSTALLED . . . . . . . . . . . . . . . . . . . . . . . . . . . . . . . .12
4.1 Remote Monitoring, Autochangeover and Leak Detection Equipment . . . . . . . . . . . . . . . . . 12
5.0 SITE PREPARATION AND INSTALLATION . . . . . . . . . . . . . . . . . . . . . . . . . . . . . . . . . . . . . . .14
5.1 Installation Considerations . . . . . . . . . . . . . . . . . . . . . . . . . . . . . . . . . . . . . . . . . . . . . . . . . . . 14
5.1.1 Room Preparation. . . . . . . . . . . . . . . . . . . . . . . . . . . . . . . . . . . . . . . . . . . . . . . . . . . . . . . . . . . . 14
5.1.2 Location Considerations . . . . . . . . . . . . . . . . . . . . . . . . . . . . . . . . . . . . . . . . . . . . . . . . . . . . . . 15
5.2 Ceiling Unit Weights . . . . . . . . . . . . . . . . . . . . . . . . . . . . . . . . . . . . . . . . . . . . . . . . . . . . . . . . 16
5.3 Equipment Inspection Upon Receipt. . . . . . . . . . . . . . . . . . . . . . . . . . . . . . . . . . . . . . . . . . . . 17
5.4 Installing the Ceiling Units . . . . . . . . . . . . . . . . . . . . . . . . . . . . . . . . . . . . . . . . . . . . . . . . . . . 17
5.4.1 Close Coupled Installations . . . . . . . . . . . . . . . . . . . . . . . . . . . . . . . . . . . . . . . . . . . . . . . . . . . . 17
5.4.2 Evaporator Air Distribution. . . . . . . . . . . . . . . . . . . . . . . . . . . . . . . . . . . . . . . . . . . . . . . . . . . . 17
5.4.3 Piping Connections and Coolant Requirements . . . . . . . . . . . . . . . . . . . . . . . . . . . . . . . . . . . . 18
5.4.4 Electrical Connections . . . . . . . . . . . . . . . . . . . . . . . . . . . . . . . . . . . . . . . . . . . . . . . . . . . . . . . . 23
5.5 Indoor Air-Cooled Centrifugal Fan Condensing Unit Installation . . . . . . . . . . . . . . . . . . . . 27
5.5.1 Location Considerations. . . . . . . . . . . . . . . . . . . . . . . . . . . . . . . . . . . . . . . . . . . . . . . . . . . . . . . 27
5.5.2 Electrical Connections . . . . . . . . . . . . . . . . . . . . . . . . . . . . . . . . . . . . . . . . . . . . . . . . . . . . . . . . 27
5.5.3 Piping Connections . . . . . . . . . . . . . . . . . . . . . . . . . . . . . . . . . . . . . . . . . . . . . . . . . . . . . . . . . . . 27
5.5.4 Ducting . . . . . . . . . . . . . . . . . . . . . . . . . . . . . . . . . . . . . . . . . . . . . . . . . . . . . . . . . . . . . . . . . . . . 27
5.6 Outdoor Air-Cooled Condensing Unit Installation. . . . . . . . . . . . . . . . . . . . . . . . . . . . . . . . . 31
5.6.1 Location Considerations. . . . . . . . . . . . . . . . . . . . . . . . . . . . . . . . . . . . . . . . . . . . . . . . . . . . . . . 31
5.6.2 Piping Connections . . . . . . . . . . . . . . . . . . . . . . . . . . . . . . . . . . . . . . . . . . . . . . . . . . . . . . . . . . . 32
5.6.3 Electrical Connections . . . . . . . . . . . . . . . . . . . . . . . . . . . . . . . . . . . . . . . . . . . . . . . . . . . . . . . . 32
5.7 Indoor Water- and Glycol-Cooled Condensing Unit Installation. . . . . . . . . . . . . . . . . . . . . . 33
5.7.1 Location Considerations. . . . . . . . . . . . . . . . . . . . . . . . . . . . . . . . . . . . . . . . . . . . . . . . . . . . . . . 33
5.7.2 Electrical Connections . . . . . . . . . . . . . . . . . . . . . . . . . . . . . . . . . . . . . . . . . . . . . . . . . . . . . . . . 33
5.7.3 Piping Connections . . . . . . . . . . . . . . . . . . . . . . . . . . . . . . . . . . . . . . . . . . . . . . . . . . . . . . . . . . . 33
5.8 Optional Equipment Piping . . . . . . . . . . . . . . . . . . . . . . . . . . . . . . . . . . . . . . . . . . . . . . . . . . . 36
5.8.1 Free-Cooling Coil . . . . . . . . . . . . . . . . . . . . . . . . . . . . . . . . . . . . . . . . . . . . . . . . . . . . . . . . . . . . 36
5.8.2 Hot Water Reheat Coil . . . . . . . . . . . . . . . . . . . . . . . . . . . . . . . . . . . . . . . . . . . . . . . . . . . . . . . . 37
5.9 Checklist for Completed Installation . . . . . . . . . . . . . . . . . . . . . . . . . . . . . . . . . . . . . . . . . . . 38
6.0 MICROPROCESSOR CONTROL . . . . . . . . . . . . . . . . . . . . . . . . . . . . . . . . . . . . . . . . . . . . . .39
6.1 Feature Overview . . . . . . . . . . . . . . . . . . . . . . . . . . . . . . . . . . . . . . . . . . . . . . . . . . . . . . . . . . . 39
6.2 Main Menu <Menu>. . . . . . . . . . . . . . . . . . . . . . . . . . . . . . . . . . . . . . . . . . . . . . . . . . . . . . . . . 40
6.3 Setpoints . . . . . . . . . . . . . . . . . . . . . . . . . . . . . . . . . . . . . . . . . . . . . . . . . . . . . . . . . . . . . . . . . . 40
6.4 Status . . . . . . . . . . . . . . . . . . . . . . . . . . . . . . . . . . . . . . . . . . . . . . . . . . . . . . . . . . . . . . . . . . . . 41
6.5 Active Alarms . . . . . . . . . . . . . . . . . . . . . . . . . . . . . . . . . . . . . . . . . . . . . . . . . . . . . . . . . . . . . . 41
6.6 Time. . . . . . . . . . . . . . . . . . . . . . . . . . . . . . . . . . . . . . . . . . . . . . . . . . . . . . . . . . . . . . . . . . . . . . 41
6.7 Date . . . . . . . . . . . . . . . . . . . . . . . . . . . . . . . . . . . . . . . . . . . . . . . . . . . . . . . . . . . . . . . . . . . . . . 41
6.8 Setback . . . . . . . . . . . . . . . . . . . . . . . . . . . . . . . . . . . . . . . . . . . . . . . . . . . . . . . . . . . . . . . . . . . 41
6.9 Setup Operation . . . . . . . . . . . . . . . . . . . . . . . . . . . . . . . . . . . . . . . . . . . . . . . . . . . . . . . . . . . . 42
6.9.1 Restart Time Delay. . . . . . . . . . . . . . . . . . . . . . . . . . . . . . . . . . . . . . . . . . . . . . . . . . . . . . . . . . . 42
6.9.2 C/F Degrees. . . . . . . . . . . . . . . . . . . . . . . . . . . . . . . . . . . . . . . . . . . . . . . . . . . . . . . . . . . . . . . . . 42
6.9.3 Humidity Control Method . . . . . . . . . . . . . . . . . . . . . . . . . . . . . . . . . . . . . . . . . . . . . . . . . . . . . 42
6.9.4 Show DIP Switch . . . . . . . . . . . . . . . . . . . . . . . . . . . . . . . . . . . . . . . . . . . . . . . . . . . . . . . . . . . . 42
6.9.5 Valve Time (for Systems With a Modulating Chilled Water Valve) . . . . . . . . . . . . . . . . . . . . 43
6.9.6 CW Flush (for Systems with a Modulating Chilled Water Valve) . . . . . . . . . . . . . . . . . . . . . . 43
6.10 Change Passwords . . . . . . . . . . . . . . . . . . . . . . . . . . . . . . . . . . . . . . . . . . . . . . . . . . . . . . . . . . 43
6.11 Calibrate Sensors . . . . . . . . . . . . . . . . . . . . . . . . . . . . . . . . . . . . . . . . . . . . . . . . . . . . . . . . . . . 43
6.12 Alarm Enable . . . . . . . . . . . . . . . . . . . . . . . . . . . . . . . . . . . . . . . . . . . . . . . . . . . . . . . . . . . . . . 44
6.13 Alarm Time Delay . . . . . . . . . . . . . . . . . . . . . . . . . . . . . . . . . . . . . . . . . . . . . . . . . . . . . . . . . . 44
6.14 Common Alarm Enable . . . . . . . . . . . . . . . . . . . . . . . . . . . . . . . . . . . . . . . . . . . . . . . . . . . . . . 44
6.15 Custom Alarms . . . . . . . . . . . . . . . . . . . . . . . . . . . . . . . . . . . . . . . . . . . . . . . . . . . . . . . . . . . . . 45
6.15.1 Standard Custom Alarm Messages . . . . . . . . . . . . . . . . . . . . . . . . . . . . . . . . . . . . . . . . . . . . . . 45
6.16 Custom Text . . . . . . . . . . . . . . . . . . . . . . . . . . . . . . . . . . . . . . . . . . . . . . . . . . . . . . . . . . . . . . . 45
6.17 Run Diagnostics (Available On Rev 1.001.0 and higher) . . . . . . . . . . . . . . . . . . . . . . . . . . . . 46
7.0 SYSTEM PERFORMANCE MICROPROCESSOR CONTROLS . . . . . . . . . . . . . . . . . . . . . . . . . .50
7.1 Temperature Control . . . . . . . . . . . . . . . . . . . . . . . . . . . . . . . . . . . . . . . . . . . . . . . . . . . . . . . . 50
7.1.1 Cooling/Heating Required . . . . . . . . . . . . . . . . . . . . . . . . . . . . . . . . . . . . . . . . . . . . . . . . . . . . . 50
7.1.2 Cooling Operation (Compressorized Direct Expansion and Chilled Water) . . . . . . . . . . . . . . 50
7.1.3 Heating Operation . . . . . . . . . . . . . . . . . . . . . . . . . . . . . . . . . . . . . . . . . . . . . . . . . . . . . . . . . . . 50
7.2 Humidity Control . . . . . . . . . . . . . . . . . . . . . . . . . . . . . . . . . . . . . . . . . . . . . . . . . . . . . . . . . . . 50
7.2.1 Dehumidification/Humidification Required . . . . . . . . . . . . . . . . . . . . . . . . . . . . . . . . . . . . . . . 50
7.2.2 Dehumidification Operation, Compressorized Direct Expansion (DX) Systems . . . . . . . . . . 50
7.2.3 Humidification Operation . . . . . . . . . . . . . . . . . . . . . . . . . . . . . . . . . . . . . . . . . . . . . . . . . . . . . 51

iii
7.3 Load Control Features . . . . . . . . . . . . . . . . . . . . . . . . . . . . . . . . . . . . . . . . . . . . . . . . . . . . . . . 51
7.3.1 Communications . . . . . . . . . . . . . . . . . . . . . . . . . . . . . . . . . . . . . . . . . . . . . . . . . . . . . . . . . . . . . 51
8.0 ALARMS. . . . . . . . . . . . . . . . . . . . . . . . . . . . . . . . . . . . . . . . . . . . . . . . . . . . . . . . . . . . . .52
8.1 Alarms: Definitions and Troubleshooting . . . . . . . . . . . . . . . . . . . . . . . . . . . . . . . . . . . . . . . . 52
8.1.1 Custom Alarms . . . . . . . . . . . . . . . . . . . . . . . . . . . . . . . . . . . . . . . . . . . . . . . . . . . . . . . . . . . . . . 52
8.1.2 High Head Pressure . . . . . . . . . . . . . . . . . . . . . . . . . . . . . . . . . . . . . . . . . . . . . . . . . . . . . . . . . . 52
8.1.3 Humidity Level . . . . . . . . . . . . . . . . . . . . . . . . . . . . . . . . . . . . . . . . . . . . . . . . . . . . . . . . . . . . . . 53
8.1.4 Temperature . . . . . . . . . . . . . . . . . . . . . . . . . . . . . . . . . . . . . . . . . . . . . . . . . . . . . . . . . . . . . . . . 53
8.1.5 Humidifier Problem Alarm . . . . . . . . . . . . . . . . . . . . . . . . . . . . . . . . . . . . . . . . . . . . . . . . . . . . 53
8.1.6 High Water Alarm . . . . . . . . . . . . . . . . . . . . . . . . . . . . . . . . . . . . . . . . . . . . . . . . . . . . . . . . . . . 53
8.1.7 Loss of Power . . . . . . . . . . . . . . . . . . . . . . . . . . . . . . . . . . . . . . . . . . . . . . . . . . . . . . . . . . . . . . . 54
8.1.8 Short Cycle . . . . . . . . . . . . . . . . . . . . . . . . . . . . . . . . . . . . . . . . . . . . . . . . . . . . . . . . . . . . . . . . . 54
8.2 Optional/Custom Alarms . . . . . . . . . . . . . . . . . . . . . . . . . . . . . . . . . . . . . . . . . . . . . . . . . . . . . 54
8.2.1 Change Filter . . . . . . . . . . . . . . . . . . . . . . . . . . . . . . . . . . . . . . . . . . . . . . . . . . . . . . . . . . . . . . . 54
8.2.2 High Temperature Sensor . . . . . . . . . . . . . . . . . . . . . . . . . . . . . . . . . . . . . . . . . . . . . . . . . . . . . 54
8.2.3 Smoke Sensor . . . . . . . . . . . . . . . . . . . . . . . . . . . . . . . . . . . . . . . . . . . . . . . . . . . . . . . . . . . . . . . 54
9.0 SYSTEM OPERATION, TESTING AND MAINTENANCE . . . . . . . . . . . . . . . . . . . . . . . . . . . . . .55
9.1 System Testing . . . . . . . . . . . . . . . . . . . . . . . . . . . . . . . . . . . . . . . . . . . . . . . . . . . . . . . . . . . . . 55
9.1.1 Environmental Control Functions. . . . . . . . . . . . . . . . . . . . . . . . . . . . . . . . . . . . . . . . . . . . . . . 55
9.1.2 Cooling. . . . . . . . . . . . . . . . . . . . . . . . . . . . . . . . . . . . . . . . . . . . . . . . . . . . . . . . . . . . . . . . . . . . . 55
9.1.3 Heating . . . . . . . . . . . . . . . . . . . . . . . . . . . . . . . . . . . . . . . . . . . . . . . . . . . . . . . . . . . . . . . . . . . . 55
9.1.4 Humidification . . . . . . . . . . . . . . . . . . . . . . . . . . . . . . . . . . . . . . . . . . . . . . . . . . . . . . . . . . . . . . 55
9.1.5 Dehumidification . . . . . . . . . . . . . . . . . . . . . . . . . . . . . . . . . . . . . . . . . . . . . . . . . . . . . . . . . . . . 55
9.1.6 Remote Shutdown. . . . . . . . . . . . . . . . . . . . . . . . . . . . . . . . . . . . . . . . . . . . . . . . . . . . . . . . . . . . 55
9.2 Maintenance and Component Operation . . . . . . . . . . . . . . . . . . . . . . . . . . . . . . . . . . . . . . . . 55
9.2.1 Electric Panel . . . . . . . . . . . . . . . . . . . . . . . . . . . . . . . . . . . . . . . . . . . . . . . . . . . . . . . . . . . . . . . 55
9.2.2 Filters . . . . . . . . . . . . . . . . . . . . . . . . . . . . . . . . . . . . . . . . . . . . . . . . . . . . . . . . . . . . . . . . . . . . . 55
9.2.3 Blower System . . . . . . . . . . . . . . . . . . . . . . . . . . . . . . . . . . . . . . . . . . . . . . . . . . . . . . . . . . . . . . 56
9.2.4 Blower Removal . . . . . . . . . . . . . . . . . . . . . . . . . . . . . . . . . . . . . . . . . . . . . . . . . . . . . . . . . . . . . 56
9.2.5 Refrigeration System . . . . . . . . . . . . . . . . . . . . . . . . . . . . . . . . . . . . . . . . . . . . . . . . . . . . . . . . . 56
9.3 Replacement Procedures . . . . . . . . . . . . . . . . . . . . . . . . . . . . . . . . . . . . . . . . . . . . . . . . . . . . . 59
9.3.1 Compressor Replacement. . . . . . . . . . . . . . . . . . . . . . . . . . . . . . . . . . . . . . . . . . . . . . . . . . . . . . 59
9.3.2 Electrical Failure . . . . . . . . . . . . . . . . . . . . . . . . . . . . . . . . . . . . . . . . . . . . . . . . . . . . . . . . . . . . 59
9.3.3 Steam Generating Humidifier-Operation Procedures . . . . . . . . . . . . . . . . . . . . . . . . . . . . . . . 61
9.3.4 Humidifier Circuit Board Adjustments. . . . . . . . . . . . . . . . . . . . . . . . . . . . . . . . . . . . . . . . . . . 62
10.0 MAINTENANCE INSPECTION CHECKLIST . . . . . . . . . . . . . . . . . . . . . . . . . . . . . . . . . . . . . . .63
11.0 TROUBLESHOOTING . . . . . . . . . . . . . . . . . . . . . . . . . . . . . . . . . . . . . . . . . . . . . . . . . . . . .64
FIGURES
Figure 1 Split system evaporators . . . . . . . . . . . . . . . . . . . . . . . . . . . . . . . . . . . . . . . . . . . . . . . . . . . . . . . . . . 3
Figure 2 Air-cooled systems—indoor centrifugal condensing units . . . . . . . . . . . . . . . . . . . . . . . . . . . . . . . . 3
Figure 3 Air-cooled systems—outdoor prop fan condensing units . . . . . . . . . . . . . . . . . . . . . . . . . . . . . . . . . 4
Figure 4 Water/glycol-cooled systems—indoor condensing units . . . . . . . . . . . . . . . . . . . . . . . . . . . . . . . . . . 4
Figure 5 Chilled water systems. . . . . . . . . . . . . . . . . . . . . . . . . . . . . . . . . . . . . . . . . . . . . . . . . . . . . . . . . . . . . 5
Figure 6 Wall-box . . . . . . . . . . . . . . . . . . . . . . . . . . . . . . . . . . . . . . . . . . . . . . . . . . . . . . . . . . . . . . . . . . . . . . . . 8
Figure 7 Free-cooling arrangement. . . . . . . . . . . . . . . . . . . . . . . . . . . . . . . . . . . . . . . . . . . . . . . . . . . . . . . . . 10
Figure 8 Air-cooled systems. . . . . . . . . . . . . . . . . . . . . . . . . . . . . . . . . . . . . . . . . . . . . . . . . . . . . . . . . . . . . . . 15
Figure 9 Water/glycol cooled systems . . . . . . . . . . . . . . . . . . . . . . . . . . . . . . . . . . . . . . . . . . . . . . . . . . . . . . . 16
Figure 10 Chilled water systems. . . . . . . . . . . . . . . . . . . . . . . . . . . . . . . . . . . . . . . . . . . . . . . . . . . . . . . . . . . . 16
Figure 11 Refrigerant piping diagram . . . . . . . . . . . . . . . . . . . . . . . . . . . . . . . . . . . . . . . . . . . . . . . . . . . . . . . 20
Figure 12 Evaporator unit dimensional data . . . . . . . . . . . . . . . . . . . . . . . . . . . . . . . . . . . . . . . . . . . . . . . . . . 22
Figure 13 Threaded rod and hardware kit installation . . . . . . . . . . . . . . . . . . . . . . . . . . . . . . . . . . . . . . . . . . 23
Figure 14 Evaporator unit electrical connections . . . . . . . . . . . . . . . . . . . . . . . . . . . . . . . . . . . . . . . . . . . . . . 25
Figure 15 Close coupled installation. . . . . . . . . . . . . . . . . . . . . . . . . . . . . . . . . . . . . . . . . . . . . . . . . . . . . . . . . 26
Figure 16 Indoor air-cooled centrifugal condensing unit dimensions and pipe connections . . . . . . . . . . . . . 28
Figure 17 Indoor air-cooled centrifugal condenser electrical connections . . . . . . . . . . . . . . . . . . . . . . . . . . . 29
Figure 18 System piping with indoor or outdoor air-cooled condensing unit . . . . . . . . . . . . . . . . . . . . . . . . . 30
Figure 19 Dimensions—Air-cooled systems, standard ambient outdoor condensing module . . . . . . . . . . . . 31
Figure 20 Dimensions—Air-cooled systems, high ambient and Quiet-Line condensing module . . . . . . . . . 32
Figure 21 Indoor water/glycol condensing unit dimensional data . . . . . . . . . . . . . . . . . . . . . . . . . . . . . . . . . 34
Figure 22 Indoor water/glycol condensing unit electrical field connections . . . . . . . . . . . . . . . . . . . . . . . . . . 35
Figure 23 System piping with indoor water/glycol cooled condensing unit . . . . . . . . . . . . . . . . . . . . . . . . . . 36
Figure 24 Optional free-cooling coil (3-way valve) on water/glycol units . . . . . . . . . . . . . . . . . . . . . . . . . . . . 37
Figure 25 Optional hot water reheat (two-way valve) . . . . . . . . . . . . . . . . . . . . . . . . . . . . . . . . . . . . . . . . . . . 37
Figure 26 Wall box . . . . . . . . . . . . . . . . . . . . . . . . . . . . . . . . . . . . . . . . . . . . . . . . . . . . . . . . . . . . . . . . . . . . . . . 39
Figure 27 Control menu. . . . . . . . . . . . . . . . . . . . . . . . . . . . . . . . . . . . . . . . . . . . . . . . . . . . . . . . . . . . . . . . . . . 48
Figure 28 Control board—inside evaporator . . . . . . . . . . . . . . . . . . . . . . . . . . . . . . . . . . . . . . . . . . . . . . . . . . 49
Figure 29 Wall box board. . . . . . . . . . . . . . . . . . . . . . . . . . . . . . . . . . . . . . . . . . . . . . . . . . . . . . . . . . . . . . . . . . 49
Figure 30 Hot gas bypass. . . . . . . . . . . . . . . . . . . . . . . . . . . . . . . . . . . . . . . . . . . . . . . . . . . . . . . . . . . . . . . . . . 58
TABLES
Table 1 System configurations—60 Hz . . . . . . . . . . . . . . . . . . . . . . . . . . . . . . . . . . . . . . . . . . . . . . . . . . . . . . 5
Table 2 System configurations—50 Hz . . . . . . . . . . . . . . . . . . . . . . . . . . . . . . . . . . . . . . . . . . . . . . . . . . . . . . 5
Table 3 Application limits, evaporator and chilled water units*. . . . . . . . . . . . . . . . . . . . . . . . . . . . . . . . . 14
Table 4 Application limits, indoor and outdoor air-cooled condensing units . . . . . . . . . . . . . . . . . . . . . . . 14
Table 5 Application limits, indoor water/glycol cooled condensing units . . . . . . . . . . . . . . . . . . . . . . . . . . 14
Table 6 Unit weights . . . . . . . . . . . . . . . . . . . . . . . . . . . . . . . . . . . . . . . . . . . . . . . . . . . . . . . . . . . . . . . . . . . 16
Table 7 Evaporator external static pressure . . . . . . . . . . . . . . . . . . . . . . . . . . . . . . . . . . . . . . . . . . . . . . . . 18
Table 8 Recommended refrigerant line sizes . . . . . . . . . . . . . . . . . . . . . . . . . . . . . . . . . . . . . . . . . . . . . . . . 19
Table 9 Equivalent lengths for various pipe fittings, ft (m). . . . . . . . . . . . . . . . . . . . . . . . . . . . . . . . . . . . . 19
Table 10 Pipe length and condenser elevation relative to evaporator . . . . . . . . . . . . . . . . . . . . . . . . . . . . . 20
Table 11 Refrigerant charge . . . . . . . . . . . . . . . . . . . . . . . . . . . . . . . . . . . . . . . . . . . . . . . . . . . . . . . . . . . . . . 21
Table 12 Line charges - refrigerant per 100 ft. (30m) of Type L copper tube . . . . . . . . . . . . . . . . . . . . . . . . 21
Table 13 Refrigerant quick connect sizes and torque. . . . . . . . . . . . . . . . . . . . . . . . . . . . . . . . . . . . . . . . . . . 21
Table 14 Weights for standard ambient outdoor condensing modules, air-cooled systems . . . . . . . . . . . . . 31
Table 15 Net weight, high ambient and Quiet-Line condensing modules, air-cooled systems . . . . . . . . . . 32
Table 16 Night and weekend setback plan . . . . . . . . . . . . . . . . . . . . . . . . . . . . . . . . . . . . . . . . . . . . . . . . . . . 41
Table 17 Default setpoints and allowable ranges. . . . . . . . . . . . . . . . . . . . . . . . . . . . . . . . . . . . . . . . . . . . . . 41
Table 18 Setup functions, default values and allowable ranges . . . . . . . . . . . . . . . . . . . . . . . . . . . . . . . . . . 43
Table 19 Alarm default time delays . . . . . . . . . . . . . . . . . . . . . . . . . . . . . . . . . . . . . . . . . . . . . . . . . . . . . . . . 44
Table 20 Equipment switch settings (unit control board) . . . . . . . . . . . . . . . . . . . . . . . . . . . . . . . . . . . . . . . 46
Table 21 Switch settings (wall box board) . . . . . . . . . . . . . . . . . . . . . . . . . . . . . . . . . . . . . . . . . . . . . . . . . . . 46
Table 22 Cooling and dehumidification load response of hot gas bypass . . . . . . . . . . . . . . . . . . . . . . . . . . . 50
Table 23 Typical discharge pressure . . . . . . . . . . . . . . . . . . . . . . . . . . . . . . . . . . . . . . . . . . . . . . . . . . . . . . . . 57
Table 24 Humidifier control board DIP switch settings. . . . . . . . . . . . . . . . . . . . . . . . . . . . . . . . . . . . . . . . . 62
Table 25 Troubleshooting. . . . . . . . . . . . . . . . . . . . . . . . . . . . . . . . . . . . . . . . . . . . . . . . . . . . . . . . . . . . . . . . . 64

Important Safety Instructions
1Liebert
® Mini-Mate2™
IMPORTANT SAFETY INSTRUCTIONS
SAVE THESE INSTRUCTIONS
This manual contains important safety instructions that should be followed during the installation
and maintenance of the Liebert Mini-Mate2. Read this manual thoroughly before attempting to
install or operate this unit. Only properly trained and qualified personnel should move, install or
service this equipment. Adhere to all warnings, cautions and installation, operating and safety
instructions on the unit and in this manual. Follow all installation, operation and maintenance
instructions and all applicable national and local building, electrical and plumbing codes.
!
WARNING
Arc flash and electric shock hazard. Disconnect all electric power supplies and wear protective
equipment per NFPA 70E before working within electric control enclosure. Failure to comply
can cause serious injury or death.
Customer must provide earth ground to unit, per NEC, CEC and local codes, as applicable.
Before proceeding with installation, read all instructions, verify that all the parts are included
and check the nameplate to be sure the voltage matches available utility power.
The Liebert microprocessor control does not isolate power from the unit, even in the Unit Off
mode. Some internal components require and receive power even during the Unit Off mode.
The line side of the disconnect switch on the front of the unit contains live high voltage. The
only way to ensure that there is NO voltage inside the unit is to install and open a remote
disconnect switch and check the internal power supply wires with a voltmeter. Refer to unit
electrical schematic. Follow all applicable national and local electric codes.
!
WARNING
Risk of explosive discharge from high-pressure refrigerant. Can cause injury or death.
This unit contains fluids and gases under high pressure. Relieve pressure before working with
piping.
!
WARNING
Risk of refrigerant system rupture or explosion from overpressurization. Can cause
equipment damage, injury or death.
If a pressure relief device is not provided with the condenser unit, the system installer must
provide and install a discharge pressure relief valve per national and local codes in the high
side refrigerant circuit. Do not install a shutoff valve between the compressor and the
field-installed relief valve. Do not isolate any refrigerant circuits from overpressurization
protection.
!
WARNING
Risk of high-speed moving parts. Can cause injury or death.
Open all local and remote electrical power disconnect switches, verify with a voltmeter that
power is Off and the blower, pulleys and belts have stopped moving before working in the unit
cabinet.
!
CAUTION
Risk of contact with hot surfaces. Can cause injury.
The refrigerant discharge lines, humidifiers and reheats are extremely hot during unit
operation. Allow sufficient time for them to cool before working within the unit cabinet. Use
extreme caution and wear protective gloves and arm protection when working on or near hot
discharge lines, humidifiers and reheats.

Important Safety Instructions
Liebert® Mini-Mate2™2
NOTICE
Risk of leaking water. Can cause equipment and building damage.
Improper installation, application and service practices can result in water leakage from the
unit. Do not mount this unit over equipment or furniture that can be damaged by leaking
water. Install a watertight drain pan with a drain connection under the cooling unit and the
ceiling mounted water/glycol condenser unit. Route the drain line to a frequently used
maintenance sink so that running water can be observed and reported in a timely manner.
Post a sign to alert people to report water flowing from the secondary drain pan. Emerson
recommends installing monitored leak detection equipment for unit and supply lines and in
the secondary drain pan. Check drain lines periodically for leaks, sediment buildup,
obstructions, kinks and/or damage and verify that they are free running.
NOTICE
Risk of a leaking coil due to freezing and/or corrosion. Can cause equipment and building
damage.
Cooling coils and piping systems that are connected to open cooling towers or other open
water/glycol systems are at high risk for freezing and premature corrosion. Fluids in these
systems must contain the proper antifreeze and inhibitors to prevent freezing and premature
coil corrosion. The water or water/glycol solution must be analyzed by a competent water
treatment specialist before startup to establish the inhibitor requirement. The water or
water/glycol solution must be analyzed every six months to determine the pattern of inhibitor
depletion. The complexity of water-caused problems and their correction makes it important
to obtain the advice of a water treatment specialist and follow a regularly scheduled
maintenance program.
NOTICE
Risk of damage from forklift. Can cause unit damage.
Keep tines of the forklift level and at a height suitable to fit below the skid and/or unit to
prevent damage.
NOTICE
Risk of improper storage. Can cause unit damage.
Keep the Liebert Mini-Mate2 upright, indoors and protected from dampness, freezing
temperatures and contact damage.
!
CAUTION
Risk of sharp edges, splinters and exposed fasteners. Can cause injury.
Only properly trained and qualified personnel wearing appropriate safety headgear, gloves,
shoes and glasses should attempt to move the unit, lift it, remove packaging from or prepare
the unit for installation.

Product Model Information
3Liebert
® Mini-Mate2™
PRODUCT MODEL INFORMATION
Figure 1 Split system evaporators
Figure 2 Air-cooled systems—indoor centrifugal condensing units
7 = R-407C DX Evaporator
MMD60E7CHELA
H = Canister Humidifier
0 = No Humidifier
R = Remote Humidifier Contact
J = Canister Humidifier
& Remote Humidifier contact
Nominal Capacity kBtuh
D = Disconnect Switch
0 = No Disconnect Switch
M = Microprocessor Control
M = Liebert Mini-Mate2
A = 460V – 3ph-60Hz
B = 575V – 3ph-60Hz
C = 208V – 3ph-60Hz
D = 230V – 3ph-60Hz
M= 380/415V – 3ph-50Hz
L = Low Static Blower, 1.5hp Motor
H = High Static Blower, 2hp Motor
E = Split Evaporator
K = Evaporator w/ Free-Cooling Coil (3-way valve)
0 = None
A = Filter Clog
B = Smoke Sensor
C = High-Temperature Sensor
D = Filter Clog & Smoke Sensor
E = Filter Clog & High-Temperature Sensor
F = Smoke Sensor & High-Temperature
Sensor
G = Filter Clog, Smoke Sensor & High
Temperature Sensor
0 = No Reheat
E = Electric Reheat
S = SCR Reheat
(N/A with Free-Cooling)
MCD65ALAH7
H = Hot Gas Bypass
Nominal Capacity kBtuh
D = Disconnect Switch
0 = No Disconnect Switch
C = Condensing Unit
M = Liebert Mini-Mate2
A = 460V – 3ph-60Hz
B = 575V – 3ph-60Hz
Y = 208/230V – 3ph-60Hz
M = 380/415V – 3ph-50Hz
7 = R-407C Refrigerant
A = Air-cooled Unit
L = 95°F Ambient Liebert Lee-Temp™ (Air)

Product Model Information
Liebert® Mini-Mate2™4
Figure 3 Air-cooled systems—outdoor prop fan condensing units
Figure 4 Water/glycol-cooled systems—indoor condensing units
PFH067A-AL7
L = 95°F (35°C) Ambient Liebert Lee-Temp™
H = 105°F (41°C) Ambient Liebert Lee-Temp
Nominal Capacity, kBtuh
0 = Standard Sound Level
Z = Quiet-Line
PFH = Prop Fan Condensing Unit w/HGBP
A = 460V – 3ph-60Hz
B = 575V – 3ph-60Hz
Y = 208/230V – 3ph-60Hz
M = 380/415V – 3ph-50Hz
7 = R-407C Refrigerant
A = Air-Cooled Unit
- = Standard Coil
C = Coated Coil
W = Water/Glycol-Cooled Unit
MCD69W2AH7
H = Hot Gas Bypass
Nominal Capacity (kBtuh)
D = Disconnect Switch
0 = No Disconnect Switch
C = Condensing Unit
M = Liebert Mini-Mate2
A = 460V – 3ph-60Hz
B = 575V – 3ph-60Hz
Y = 208/230V – 3ph-60Hz
M = 380/415V – 3ph-50Hz
7 = R-407C Refrigerant
2 = 2-Way Std. Pressure Valve
3 = 3-Way Std. Pressure Valve
D = 2-Way High Pressure Valve
T = 3-Way High Pressure Valve

Product Model Information
5Liebert
® Mini-Mate2™
Figure 5 Chilled water systems
Table 1 System configurations—60 Hz
Nominal
Capacity Cooling Unit
Condensing Unit
Indoor Air-Cooled
Centrifugal Fan
Outdoor Air-Cooled
Propeller Fan
Indoor Water/
Glycol
5 Tons MMD60E MCD65A PFH067A MCD69W
5 Tons MMD92C Self Contained – Chilled Water
Table 2 System configurations—50 Hz
Nominal
Capacity Cooling Unit
Condensing Unit
Indoor Air-Cooled
Centrifugal Fan
Outdoor Air-Cooled
Propeller Fan
Indoor Remote
Water/Glycol
5 Tons MMD59E MCD64A PFH066A MCD68W
MMD91C Self-Contained – Chilled Water
0 = None
A = Filter Clog
B = Smoke Sensor
C = High-Temperature Sensor
D = Filter Clog & Smoke Sensor
E = Filter Clog & High-Temperature Sensor
F = Smoke Sensor & High-Temperature Sensor
G = Filter Clog, Smoke Sensor & High-Temperature Sensor
M M D 92 C 2 C H E L A
2 = 2-Way Chilled Water Valve (Motorized On/Off)
3 = 3-Way Chilled Water Valve (Motorized On/Off)
D = 2-Way Chilled Water Valve (Modulating)
T = 3-Way Chilled Water Valve (Modulating)
H =Canister Humidifier
0 = No Humidifier
R = Remote Humidifier Contact
J = Canister Humidifier &
Remote Humidifier contact
0 = No Reheat
E = Electric Reheat
H = Hot Water Reheat
C = Chilled Water
Nominal Capacity (kBtuh)
D = Disconnect Switch
0 = No Disconnect Switch
M= Microprocessor Control
M = Liebert Mini-Mate2
L = Low Static Blower, 1.5hp Motor
H = High Static Blower, 2hp Motor
A = 460V – 3ph-60Hz
B = 575V – 3ph-60Hz
C = 208V – 3ph-60Hz
D = 230V – 3ph-60Hz
M= 380/415V – 3ph-50Hz

Introduction
Liebert® Mini-Mate2™6
1.0 INTRODUCTION
1.1 Designed to Match Computer and Electronic Equipment Needs—From Installation
to Operation
Installed above the ceiling, Liebert Mini-Mate2 Precision Cooling systems control the cooling,
humidity and air distribution required by sensitive electronic equipment. A range of sizes and
configurations is available to meet varying sites’ needs.
The Liebert Mini-Mate2 is also easy to use. Advanced microprocessor technology allows easy, precise
control, and menu-driven monitoring keeps you informed of system operation through the LCD
readout. These features, combined with Emerson quality construction and reliable components,
guarantee satisfaction from installation through operation.
Liebert Precision Cooling
Liebert Precision Cooling systems are designed to control the environment required for computers
and other sensitive electronic equipment. The Liebert Mini-Mate2 provides complete control on an
around-the-clock basis and the high sensible heat ratio required by sensitive electronic equipment.
Easy Installation
The Liebert Mini-Mate2 is a split-system evaporator combined with an air-, water- or glycol-cooled
condensing unit or is a self-contained, chilled water unit. Each split system has thermostat-type
wiring to controls and condensing unit. Optional sweat adapters assist with field refrigerant piping.
Easy to Service
Low-maintenance components are easily accessed through removable front panels. Spare parts are
always in Emerson inventory and available on short notice.
Advanced Control Technology
A menu-driven microprocessor control system provides precise temperature and humidity control and
accurate alarm setpoints. Using touch-sensitive buttons, the wall-mounted monitor/control panel
allows you to select and display temperature and other monitored parameters.
High Efficiency
High sensible heat ratio, scroll compressor and precise microprocessor control allow the system to
operate efficiently.
Space Saving Design
All indoor components are installed above the ceiling, so no floor space is required.
Reliable
The Liebert Mini-Mate2 family installed base is a testimony to the system reliability. Components
include a rugged scroll compressor, high-efficiency copper tube, aluminum-fin evaporator coil and a
double inlet, direct drive fan.
Agency Listed
Standard 60Hz units are CSA certified to the harmonized U.S. and Canadian product
safety standard, CSA C22.2 No 236/UL 1995 for “Heating and Cooling Equipment” and
are marked with the CSA c-us logo.
Location
When considering installation locations, consider that these units contain water and that water leaks
can cause damage to sensitive equipment below. Do not mount these units above sensitive equipment.
A field-supplied pan with drain must be supplied beneath cooling units and water/glycol condensers.
Do not mount units in areas where normal unit operating sound might disturb the working
environment.
CUS
R

Standard Features—5 Ton Systems
7Liebert
® Mini-Mate2™
2.0 STANDARD FEATURES—5 TON SYSTEMS
2.1 Evaporator Section—Split System
The evaporator section is designed for ceiling installation. The cabinet and chassis are constructed of
heavy gauge galvanized steel. The unit can be serviced using only one side increasing its versatility in
mounting locations. Mounting brackets are factory-attached to the cabinet. Internal cabinet
insulation meets ASHRAE 62.1 requirements for Mold Growth, Humidity & Erosion, tested per
UL 181 & ASTM 1338 standards. The evaporator section includes the evaporator coil, R-407C unit
charge, filter-drier, factory-mounted disconnect switch, adjustable belt-drive blower assembly and
microprocessor control with wall-mounted control box. The unit is provided with supply and return
air openings for field-supplied ducting. Evaporators can be configured with canister humidifier and/or
reheat. An indoor or outdoor condensing unit must be selected for each evaporator.
2.2 Condensing Unit Section—Split System
2.2.1 Indoor Centrifugal Fan Condensing Units
Indoor Air-Cooled Centrifugal Fan Condensing Units include scroll compressor, factory-mounted
disconnect switch, condenser coil, R-407C unit charge, belt-driven centrifugal blower assembly,
high-pressure switch, Liebert Lee-Temp™ head pressure control system, hot gas bypass and liquid-
line solenoid valve. Unit must be mounted indoors. Condensing unit is designed to use outdoor air
with temperatures ranging from -30°F to 95°F (-34°C to 35°C).
2.2.2 Outdoor Prop Fan Condensing Units
Outdoor Prop Fan Condensing Units include scroll compressor, condenser coil, R-407C unit charge,
prop fan, liquid-line solenoid valve, high pressure switch, Liebert Lee-Temp head pressure control
and hot gas bypass. Condensing unit is designed for outdoor locations with operating ambients
ranging from -30°F to 95°F (-34°C to 35°C).
2.2.3 Indoor Water/Glycol Condensing Units
Indoor Water/Glycol Condensing Units includes scroll compressor, R-407C unit charge,
factory-mounted disconnect, coaxial condenser, hot gas bypass, high head pressure switch and
two-way water regulating valve designed for 150psi (1034.3kPa). Condensing units can be used on
either a water or glycol cooling loop.
2.3 Chilled Water Units
Chilled Water Units are designed for ceiling installation. The cabinet and chassis are constructed of
heavy gauge galvanized steel. The unit can be serviced using only one side increasing its versatility in
mounting locations. Mounting brackets are factory-attached to the cabinet. Internal cabinet
insulation meets ASHRAE 62.1 requirements for Mold Growth, Humidity & Erosion, tested per
UL 181 & ASTM 1338 standards. Chilled water models are self-contained and include a chilled water
coil, belt-driven centrifugal blower, factory-mounted disconnect switch and two-way, slow-close
motorized valve. Design pressure is 300psi (2068kPa), 60psi (414kPa) close-off differential.

Standard Features—5 Ton Systems
Liebert® Mini-Mate2™8
2.4 System Controls
System controls include a microprocessor control board mounted in the evaporator/chilled water
unit and a wall-mounted interface with a two-line, 16-character liquid crystal display. A seven-key,
membrane keypad for setpoint/program control, unit On/Off and alarm silence is below the LCD
screen. It provides temperature setpoint and sensitivity adjustment, humidity setpoint and
sensitivity adjustment, digital display of temperature, humidity, setpoints, sensitivities and alarm
conditions.
The wall-box is field-wired to the microprocessor control using standard four-conductor thermostat
wire (field-supplied). The temperature and humidity sensors are in the wall box, which can be
installed up to 300 feet (91.4m) from the evaporator unit. The unit-mounted control board also
includes common alarm terminals and shutdown terminals. The unit automatically restarts after a
power outage.
Figure 6 Wall-box
2.4.1 Other Standard Control Features
• Adjustable auto restart • Calibrate sensors
• 5 day/2 day setback • Predictive humidity control
• Password protection • Common alarm output
• Alarm enable/disable • Remote shutdown terminals
• Self-diagnostics

Optional Factory-Installed Features - Evaporator/Chilled Water Units
9Liebert
® Mini-Mate2™
3.0 OPTIONAL FACTORY-INSTALLED FEATURES - EVAPORATOR/CHILLED WATER UNITS
3.1 Reheat
Electric Reheat includes 304/304 stainless steel finned tubular reheat elements, with high limit
safety switch.
SCR Electric Reheat uses an SCR controller and unit control software to provide full cooling with
modulating of the electric reheat elements to control air temperatures. Reheat capacity is up-sized to
offset the cooling capacity. (The SCR Electric Reheat is not available on chilled water, free-cooling or
575V units.)
Hot Water Reheat includes hot water coil, two-way solenoid valve and Y-strainer.
3.2 Humidifier
The Canister Humidifier includes a steam-generating type humidifier with automatic flushing
circuit, inlet strainer, drain, 1" (25.4mm) air gap on fill line and solenoid valves. Humidifier problem
alarm annunciates at the wall-mounted display panel.
Remote Humidifier Contact allows the unit’s humidity controller to control a humidifier outside
the unit. Power to operate the remote humidifier does not come from the Liebert Mini-Mate2.
Available on units with or without internal humidifier.
3.3 Sensors
Smoke Sensor checks return air, shuts down the unit upon sensing smoke and activates visual and
audible alarms at the wall-box display. This smoke sensor is not intended to function as or replace
any smoke sensor system that may be required by local or national codes.
High-Temperature Sensor senses the return air temperature and shuts down unit if the
temperature reaches 125°F (52°C). This device is not meant to replace any fire detection system that
may be required by local or national codes.
3.4 Switches and Motors
Filter Clog senses pressure drop across the filters and activates visual and audible alarms at the
wall-box display. The wall-box display annunciates the alarm audibly and flashes a notification upon
reaching a customer setpoint.
A Factory-Installed Non-Fused Disconnect Switch allows unit to be turned off for maintenance.
A disconnect switch is standard for the evaporators, chilled water units and indoor condensing units,
but these units may be specified without the switch.
2hp Blower Motor is available for high static applications (0.9 to 1.5 in. [23 to 38 mm] w.g.).
NOTE
This option is available only on chilled water units, but not with other reheat options.

Optional Factory-Installed Features - Evaporator/Chilled Water Units
Liebert® Mini-Mate2™10
3.5 Free-Cooling
Free-cooling option includes separate cooling coil, three-way slow-close valve and separate supply and
return piping. Free-cooling is activated when the water temperature reaches a field-adjustable
temperature, typically 45°F (7°C). The valve is rated for 300psi (2068kPa) working pressure.
Air-cooled condensing units can be matched with evaporators using free-cooling coils with chilled
water sources to serve as backup cooling. When matched with a water/glycol condensing unit, a
three-way water regulating valve is recommended for the condensing unit to simplify piping to the
main supply pipes. The coil is designed for closed-loop applications using properly treated and
circulated fluid. Not available with SCR reheat options.
Figure 7 Free-cooling arrangement
3.6 Optional Configurations—Prop Fan Condensing Units
Outdoor Prop Fan Condensing Units are also available in the following optional configurations:
• High ambient, top discharge models for catalog capacities at ambient temperatures up to 105°F
(40°C).
• Quiet-Line models for low noise level conditions (below 56 dBA) and catalog capacities for
ambient temperatures up to 95°F (35°C).
• Condenser coil(s) can be phenolic-coated for extended coil life in coastal areas.
3.7 Optional Configurations—Water/Glycol Condensing Units
Indoor Water/Glycol Condensing Units are also available with the following piping options:
• Two-way water reg. valve with 350 psi (2413kPa) design pressure.
• Three-way water reg. valve with 150psi (1034kPa) design pressure.
• Three-way water reg. valve with 350psi (2413kPa) design pressure.
NOTE
If free-cooling is applied to an open water tower, an optional copper-nickel (CuNi) coil is
required to prevent premature corrosion, or a heat exchanger must separate the tower water
from the free-cooling loop. The copper-nickel coil requires an extended lead time.
Free -
Cooling
Coil
Water/Glycol
Condenser
Field Piping
Water Temperature
Sensor
Liebert Mini-Mate2
Drycooler
Free-cooling option: A second
cooling coil allows the system to take
advantage of colder outdoor
temperatures and bypass compressor
operation.
When the water temperature goes
below 45°F (7°C), cooling switches
over to free-cooling operation. A
separate chilled water source can
also be used with air-cooled systems.

Optional Factory-Installed Features - Evaporator/Chilled Water Units
11 Liebert® Mini-Mate2™
3.8 Optional Configurations—Chilled Water Units
Chilled Water Units are also available with the following valve options:
• Three-way, slow-close, motorized chilled water valve rated for 300 psi (2068kPa) working
pressure. Valve is non-spring return.
• Two-way modulating chilled water valve, rated for 400psi (2758kPa) operating pressure,
72psi (496kPa) close-off rating. Valve is non-spring return.
• Three-way modulating chilled water valve, rated for 400psi (2758kPa) operating pressure. Valve
is non-spring return.

Ship-Loose Accessories—Field-Installed
Liebert® Mini-Mate2™12
4.0 SHIP-LOOSE ACCESSORIES—FIELD-INSTALLED
Filter Box includes filter box with 1" (25.4mm) duct flange connection, quantity 2, 20" x 20" x 4"
nominal (508mm x 508mm x 102mm) filters and a 1" (25.4 mm) duct flange for use on the supply air
opening. Filters are MERV 8 efficiency per ASHRAE Standard 52.2-2007.
Condensate Pump is equipped with a discharge check valve. The pump is supplied with a mounting
bracket for field-mounting onto ductwork and can be field-wired to the unit power block. A secondary
float can be field-wired to shut down the unit upon high condensate level.
Condensate Pump Mounting Bracket is available for a mounting condensate pump on the end of
the unit instead of on the duct work for easy alignment and installation of the condensate pump.
Remote Temperature and Humidity Sensors include sensors mounted in an attractive case with
30 ft. (9m) of cable. Installing the remote temperature and humidity sensor module disable the
temperature and humidity sensors mounted in the wall box.
Field-installed kits are available for filter clog, smoke sensor, high temperature sensor, electric
reheat and humidifier. The kits include installation instructions and are designed to be added to the
evaporator unit before it is installed in the ceiling. Electric reheat kits cannot be installed in units
with free-cooling.
Refrigerant-line sweat adapter kit contains two suction and two liquid-line compatible fittings
that allow use of field-supplied, interconnecting refrigerant lines.
Single Point Power Kit contains the necessary electrical components to interconnect the high
voltage sections of a close-coupled evaporator and indoor condensing unit.
4.1 Remote Monitoring, Autochangeover and Leak Detection Equipment
The Liebert RCM4™ is a four-point, normally open, dry contact monitoring panel. One Form-C, dry
contact common alarm relay output (rated at 24VAC, 3A) is provided. Four red LEDs illuminate on
the respective alarm and the alarm buzzer is silenced by a front panel switch. The RCM4 requires a
24VAC or 24VDC power source. Power supply is not included.
The Liebert AC4™ Autochangeover Controller provides autochangeover and autosequence
control for up to four Liebert Mini-Mate2 units within a room. The Liebert AC4 will enable redundant
units in an alarm condition, balance usage and test standby units at programmed intervals. Two
common alarm relay outputs are available. A built-in LCD and RS-232 port for direct PC/terminal
connection provides two options for configuration and monitoring of the product. The Liebert AC4
requires 24VAC input power.
The Liebert AC8™ is ideal for coordinated control of systems with redundant units. The Liebert AC8
enables redundant devices during an alarm condition, balances usage of devices and tests standby
devices at programmable intervals. Supports four zones and can use the 4-20mA temperature sensor
(TW420) for temperature staging in each zone. Two programmable output control relays are available
for auxiliary control such as humidity lockout. Emergency power operation input provided for device
control during an emergency. Two common alarm relay outputs are available. A built-in LCD and
RS-232 port for direct PC/terminal connection provides two options for configuration and monitoring
of the product.
The Liebert ENV-DO™ interface card provides 16 discrete outputs, corresponding to status and
major alarm conditions of Environmental units. The Liebert ENV-DO-ENCL1 packages one
Environmental DO interface card in its own steel enclosure and the ENV-DO-ENCL2 packages two
Environmental DO interface cards in one enclosure for installation external to the Liebert
Mini-Mate2. The self-contained kit includes an external 120VAC-to-24VAC power transformer.
Wiring harnesses are not provided. Power and communication wiring is field-provided.
The Liebert Liqui-tect® 410 Point Leak Detection Sensor detects the presence of conductive
liquid using a pair of corrosion-resistant, gold-plated probes mounted in a painted, height-adjustable
enclosure. Dual Form-C, dry contact common alarm relays (rated at 24VAC, 3A) signal a leak
detected as well as loss of power and cable fault. The Liebert Liqui-tect 410 requires an external
24VAC or 24VDC power source.
Liebert LT460 Zone Leak Detection Kits include one LT460 sensor, a specified length of
LT500-xxY cable (maximum length is 100 ft [30.5m]) and a corresponding number of hold-down clips.
The Liebert LT460 requires an external 24VAC, 0.12A power source, such as EXT-XFMR or XFMR24.

Ship-Loose Accessories—Field-Installed
13 Liebert® Mini-Mate2™
Liebert SiteScan® is a monitoring solution that gives you decision-making power to effectively
manage the equipment critical to your business.
Liebert SiteScan enables communication from Liebert Precision Cooling and Power Protection units,
as well as many other pieces of analog or digital equipment, to a front-end software package that
provides real-time status and alarms so you can react quickly to changing situations.
Liebert SiteScan is designed with flexibility for both small systems and large, complex systems such
as those in computer rooms, telecommunications facilities or industrial process control rooms.
Contact your local Emerson representative for assistance with a Liebert SiteScan system.
The NIC-ENCL1 and NIC-ENCL2 package one or two Liebert IntelliSlot® Web/485 Cards with
Adapters, respectively, in one steel enclosure for installation external to the Liebert Mini-Mate2. The
Liebert IntelliSlot Web/485 Card with Adapter provides communication with the Liebert
Mini-Mate2™ via SNMP, HTTP, RTU Modbus 485 and BACnet IP. The self-contained kit includes an
external 120VAC-to-24VAC transformer as a power source. Wiring harnesses are not provided. Power
and communication wiring are field-provided.

Site Preparation and Installation
Liebert® Mini-Mate2™14
5.0 SITE PREPARATION AND INSTALLATION
5.1 Installation Considerations
The evaporator unit is usually mounted above the suspended ceiling in the space to be conditioned.
Ducted systems may be located in a different room. Refer to Figure 8 and Figure 9 for possible
configurations. The condensing unit may be:
• Indoor Air-Cooled Centrifugal Fan Condensing Unit mounted remotely or close coupled to the
evaporator in the ceiling space.
• Outdoor Air-Cooled Propeller Fan Condensing Unit.
• Water/Glycol Cooled Condensing Unit, mounted remotely or close coupled to the evaporator.
5.1.1 Room Preparation
The room should be well insulated and must have a sealed vapor barrier. The vapor barrier in the
ceiling and walls can be a polyethylene film. Paint on concrete walls and floors should contain either
rubber or plastic.
Outside or fresh air should be kept to a minimum when tight temperature and humidity control is
required. Outside air adds to the cooling, heating, dehumidifying and humidifying loads of the site.
Doors should be properly sealed to minimize leaks and should not contain ventilation grilles.
NOTE
Before installing unit, determine whether any building alterations are required to run piping,
wiring and duct work. Carefully follow all unit dimensional drawings and refer to the
submittal engineering dimensional drawings of individual units for proper clearances.
Table 3 Application limits, evaporator and chilled water units*
Input Voltage Range of Return Air Conditions to Unit
Min Max Dry Bulb Temperature Relative Humidity
-5% +10% 65°F to 85°F
(18°C to 29°C)
20% to 80%
*Unit will operate at these conditions but will not control to these extremes.
Table 4 Application limits, indoor and outdoor air-cooled condensing units
Input
Voltage Condensing
Units
Entering Dry Bulb Air
Temperature
Min Max Min Max
-5% +10% Outdoor Prop Fan
Condensing Unit
-30°F (-34°C) 120°F (49°C)
Indoor Air-Cooled
Centrifugal
Condensing Unit
-20°F (-29°C) 115°F (46°C)
Table 5 Application limits, indoor water/glycol cooled condensing units
Input Voltage Entering Fluid Temperature
Min Max Min Max
-5% +10% 65°F (18.3°C) * 115°F (46°C)
*Operation below 65°F (18°C) may result in reduced valve life and fluid noise.
NOTE
The single most important requirement for maintaining environmental control in the
conditioned room is the vapor barrier.

Site Preparation and Installation
15 Liebert® Mini-Mate2™
5.1.2 Location Considerations
Locate the evaporator unit over an unobstructed floor space if possible. This will allow easy access for
routine maintenance or service. Do not attach additional devices (such as smoke detectors, etc.) to the
housing, as they could interfere with the maintenance or service.
Figure 8 Air-cooled systems
!
CAUTION
Risk of leaking water/glycol. Can cause equipment, furniture and building damage.
Do not mount units over equipment or furniture that can be damaged by leaking water
/glycol. Install a watertight drain pan with a drain connection under the cooling unit and
ceiling mounted water-cooled condensing unit. Route the drain line to a frequently used
maintenance sink so that running water can be observed and reported in a timely
manner. Post a sign to alert people to report water flowing from the secondary drain pan.
NOTE
Do NOT mount units in areas where normal unit operating sound may disturb the working
environment.
NOTE
Temperature and humidity sensors are located in the wall box. Carefully select a position
for the box where discharge air DOES NOT blow directly on the sensors.
Split System Evaporator
Supply & Return Air Ducted
Outdoor Prop Fan Condensing Unit
Split System Evaporator
Supply & Return Air Ducted
Indoor Air-Cooled Condensing Unit
Evaporator
Prop Fan
Condensing Unit
Evaporator
Centrifugal Fan
Condensing Unit

Site Preparation and Installation
Liebert® Mini-Mate2™16
Figure 9 Water/glycol cooled systems
Figure 10 Chilled water systems
5.2 Ceiling Unit Weights
Table 6 Unit weights
Cooling Units *lb. kg
MMD60E 498 226
MMD59E 498 226
MMD92C 498 226
MMD91C 498 226
Condensing Units lb. kg.
MCD65A 449 204
MCD64A 449 204
MCD69W 282 128
MCD68W 282 128
*Add 32 lb. (14 kg.) to units with free cooling or hot water reheat coils.
Split System Evaporator
Supply & Return Air Ducted
Remote Water/Glycol Condensing Unit
Evaporator Evaporator
Cooling
Tower
Water/Glycol
Condensing Unit
Water/Glycol
Condensing Unit
Split System Evaporator
Supply & Return Air Ducted
Remote Water/Glycol Condensing Unit
Drycooler
Chilled Water Fan Coil
Supply & Return Air Ducted
Remote Chilled Water Source
Evaporator

Site Preparation and Installation
17 Liebert® Mini-Mate2™
5.3 Equipment Inspection Upon Receipt
When the unit arrives, do not uncrate equipment until it is close to its final location. All required
assemblies are banded and shipped in corrugated containers. If you discover any damage when you
uncrate the unit, report it to the shipper immediately. If you later find any concealed damage, report
it to the shipper and to your Liebert supplier.
5.4 Installing the Ceiling Units
The evaporator unit and indoor condensing unit are usually mounted above the ceiling and must be
securely mounted to the roof structure. The ceiling and ceiling supports of existing buildings may
require reinforcements. Be sure to follow all applicable national and local building codes. Use
field-supplied threaded suspension rods and 3/8"–16 factory hardware kit.
Recommended clearance between ceiling grids and building structural members is unit height plus
three inches (76.2mm).
Install the four field-supplied rods by suspending them from suitable building structural members.
Locate the rods so that they will align with the four mounting holes in the flanges that are part of the
unit base.
Using a suitable lifting device that is rated for the weight of the unit (see 5.2 - Ceiling Unit
Weights), raise the unit up and pass the threaded rods through the four mounting holes in the
flanges that are part of the unit base.
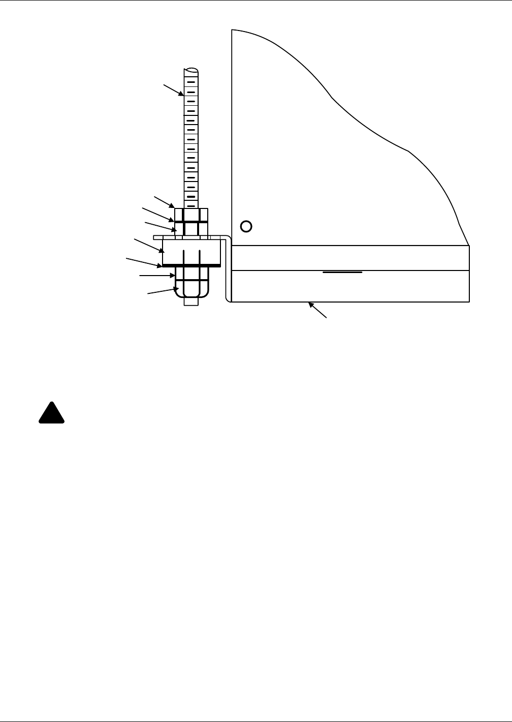
Attach the threaded rods to the unit flanges using the supplied nuts and grommets (see Figure 13).
The rubber grommets provide vibration isolation.
1. Use the plain nuts to hold unit in place. Adjust these nuts so that the weight of the unit is
supported evenly by the four rods, does not rest on the ceiling grid and is level.
2. Use the Nylock nuts to “jam” the plain nuts.
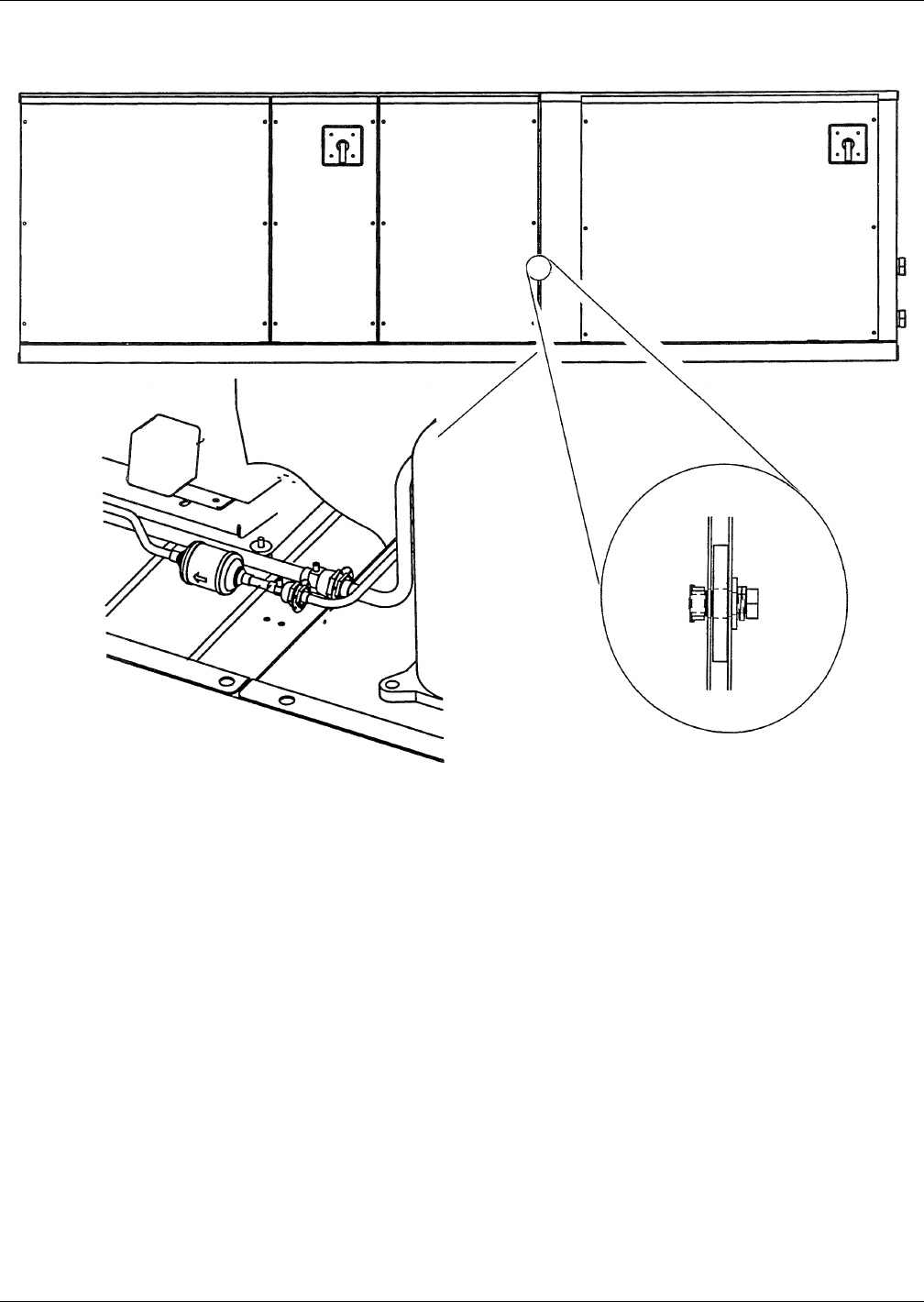
5.4.1 Close Coupled Installations
If the evaporator and condensing units are to be mounted side-to-side (close coupled), hang each unit
before connecting them together (see Figure 15). Align bolt holes in the condensing unit and in the
evaporator. Insert rubber spacers and secure four (4) sets of hardware provided. Align the refrigerant
connections and tighten them as described in 5.4.3 - Piping Connections and Coolant
Requirements.
5.4.2 Evaporator Air Distribution
Filter Box
The optional filter box mounts directly to the return air opening of the evaporator. The filter box is
supplied with 1" (25.4mm) duct flange connection, quantity two, 20" x 20" x 4" nominal
(508mm x 508mm x 102mm) filters and a 1" (25.4 mm) duct flange for use on the supply air opening.
Filters are MERV 8 efficiency per ASHRAE Standard 52.2-2007.
!
WARNING
Risk of ceiling collapse and heavy unit falling. Can cause building damage, serious injury or
death.
Verify that the supporting roof structure is capable of supporting the weight of the unit(s) and
the accessories during installation and service. (See 5.2 - Ceiling Unit Weights.)
Securely anchor the top ends of the suspension rods and verify that all nuts are tight.
NOTE
The units must be level in order to drain condensate properly.
NOTE
Do not operate the unit without filters installed in return air system.

Site Preparation and Installation
Liebert® Mini-Mate2™18
Connections for Ducted Systems
Use flexible duct work or non-flammable cloth collars to attach duct work to the unit and to help
control the transmission of vibrations to building structures. Insulation of duct work is vital to
prevent condensation during the cooling cycle. The use of a vapor barrier is required to prevent
absorption of moisture from the surrounding air into the insulation.
If the return air duct is short or if noise is likely to be a problem, sound-absorbing insulation should
be used inside the duct. Duct work should be fabricated and installed in accordance with national and
local codes.
Additional components such as a free-cooling coil, hot water reheat coil or high efficiency filters will
reduce available static pressure.
5.4.3 Piping Connections and Coolant Requirements
Drain Line
NOTICE
Risk of water backing up in the evaporator coil drain line and overflowing the drain pan. Can
cause building and equipment damage.
Do not install an external trap in the drain line. This line already has a factory-installed trap
inside the cabinet.
This line may contain boiling water. Use copper or other suitable material for the drain line.
A 3/4 in. (19.1 mm) NPT-female connection is provided for the evaporator coil condensate drain. This
line also drains the humidifier, if applicable. The drain line must be located so it will not be exposed to
freezing temperatures. The drain should be the full size of the drain connection.
The evaporator drain pan includes a float switch to prevent unit operation if drain becomes blocked.
The optional condensate pump kit is required when the evaporator is installed below the level of the
gravity-fed drain line.
Humidifier Water Supply Line
Units supplied with the optional humidifier package have a 1/4 in. (6.4 mm) copper compression
fitting connection for water inlet. Supply pressure range is 10 psig to 150 psig. Required flow rate is
1 gpm (3.8 lpm). A shut-off valve should be installed in this line to isolate the humidifier for
maintenance.
Table 7 Evaporator external static pressure
Turns
Open
1.5 hp Motor (60hz) 2.0 hp Motor (60hz)
Blower
rpm
External
Static, in.
Blower
rpm
External
Static, in.
1n/a n/a 1329 n/a
1.5 n/a n/a 1296 n/a
2 1037 0.9 1264 n/a
2.5 1005 0.7 1231 1.5
3 972 0.6 1199 1.4
3.5 940 0.5 1164 1.3
4 907 0.4 1134 1.2
4.5 875 0.3 1102 1.1
5 843 0.2 1069 1.0
5.5 810 0.1 1037 0.9
6 778 0.0 1005 0.7
NOTE
Do NOT route humidifier supply line in front of filter box access panel.

Site Preparation and Installation
19 Liebert® Mini-Mate2™
Chilled Water Piping—On chilled water units install manual service shut-off valves at the supply
and return lines of each unit. These shut-off valves are used for routine service or emergency isolation
of the unit.
Chilled water supply and return lines must be insulated. Insulating them will prevent condensation
of the water supply and return lines to the unit.
The minimum recommended water temperature is 42°F (5.5°C). Connection sizes are 1-1/8" (28.6mm)
OD copper.
Water/Glycol Piping—Water- and glycol-cooled systems require coolant loop connections as
specified in the condensing unit installation instructions.
Refrigerant R-407C Piping—All split systems require two refrigerant lines (an insulated copper
suction line and a copper liquid line) between the evaporator and the condensing unit.
Two possible methods exist for installing the copper suction and liquid lines.
• Close coupling the units together using the quick connects. (See Figure 15).
• Using an optional sweat adapter kit and hard piping between the two units.
All refrigeration piping should be installed with high temperature brazed joints. Prevailing good
refrigeration practices should be employed for piping supports, leak testing, evacuation, dehydration
and charging of the refrigeration circuits. The refrigeration piping should be isolated from the
building by the use of vibration isolating supports. To prevent tube damage when sealing openings in
walls and to reduce vibration transmission, use a soft flexible material to pack around the tubes.
When installing remote condensing units above the evaporator, the suction gas line should be trapped
at the evaporator. This trap will retain refrigerant oil in the off cycle. When the unit starts, oil in the
trap is carried up the vertical riser and returns to the compressor.
!
WARNING
Risk of explosive discharge of high pressure refrigerant. Can cause serious injury.
Relieve refrigerant system pressure before working with piping/connections.
Table 8 Recommended refrigerant line sizes
Equivalent Pipe
Length, ft (m) Liquid Suction
50 (15) 1/2" 1-1/8"
100 (30.5) 5/8" 1-1/8"
150 (45.7) 5/8" 1-3/8"
Suction line and liquid line sizing based on < 3 psi pressure drop in each and suction line refrigerant
velocities >1000FPM (5.1m/s) for proper oil return.
Table 9 Equivalent lengths for various pipe fittings, ft (m)
Copper Pipe
OD, in.
90 Degree
Elbow Copper
90 Degree
Elbow Cast
45 Degree
Elbow Tee
Gate
Valve
Globe
Valve
Angle
Valve
1/2 0.8 (0.24) 1.3 (0.39) 0.4 (0.12) 2.5 (0.76) 0.26 (0.07) 7.0 (2.13) 4.0 (1.21)
5/8 0.9 (0.27) 1.4 (0.42) 0.5 (0.15) 2.5 (0.76) 0.28 (0.08) 9.5 (2.89) 5.0 (1.52)
3/4 1.0 (0.3) 1.5 (0.45) 0.6 (0.18) 2.5 (0.76) 0.3 (0.09) 12.0 (3.65) 6.5 (1.98)
7/8 1.45 (0.44) 1.8 (0.54) 0.8 (0.24) 3.6 (1.09) 0.36 (0.1) 17.2 (5.24) 9.5 (2.89)
1-1/8 1.85 (0.56) 2.2 (0.67) 1.0 (0.3) 4.6 (1.4) 0.48 (0.14) 22.5 (6.85) 12.0 (3.65)
1-3/8 2.4 (0.73) 2.9 (0.88) 1.3 (0.39) 6.4 (1.95) 0.65 (0.19) 32.0 (9.75) 16.0 (4.87)
1-5/8 2.9 (0.88) 3.5 (1.06) 1.6 (0.48) 7.2 (2.19) 0.72 (0.21) 36.0 (10.97) 19.5 (5.94)
Refrigerant trap = Four times equivalent length of pipe per this table

Site Preparation and Installation
Liebert® Mini-Mate2™20
Figure 11 Refrigerant piping diagram
Refrigerant Charge Requirements—Total refrigerant charge will be required only if units are
evacuated during installation or maintenance. For safe and effective operation, refer to 5.4.3 - Piping
Connections and Coolant Requirements.
NOTE
If field supplied refrigerant piping is installed, refrigerant must be added to the system.
Table 10 Pipe length and condenser elevation relative to evaporator
Nominal System
Size Tons
Maximum
Equivalent Pipe
Length, ft. (m)
Maximum PFH Level
Above Evaporator, ft. (m)
Maximum PFH Level
Below Evaporator, ft. (m)
5 150 (45) 50 (15) 15 (4.6)
Maximum recommended total equivalent pipe length is 150 ft (46m). Suction and liquid lines may require
additional specialty items when vertical lines exceed 20 ft. (6m) and/or condensing unit installation is more than
15 ft. (4.6m) below the evaporator. Contact Emerson Application Engineering for assistance.
Evaporator
Evaporator
Condensing
Unit
NOTE
When installing remote condensing units below the
evaporator, the suction gas line should be trapped with
an inverted trap to the height of the evaporator .This
prevents refrigerant migration to the compressors
during off cycles .Maximum recommended vertical
level drop to condensing unit is 15 ft. (4.6m) .
Pitch down 1/2" (13mm) per 10 ft. (3m)
Suction Line Piping
Condensing Unit Above Evaporator
Traps recommended at the base of riser exceeding
5 ft (1.5m) and every 20 feet (6m) of vertical rise.
Suction Line Piping
Condensing Unit
Below Evaporator
Condensing
Unit
Pitch down 1/2" (13mm) per 10 ft. (3m)
See Table 10 for recommended maximum
vertical rise above evaporator/maximum
vertical fall below evaporator.

Site Preparation and Installation
21 Liebert® Mini-Mate2™
Total refrigerant = Units and Lines*
Quick Connect Fittings
Be especially careful when connecting the quick connect fittings. Read through the following steps
before making the connections.
1. Remove protector caps and plugs.
2. Carefully wipe coupling seats and threaded surfaces with a clean cloth.
3. Lubricate the male diaphragm and synthetic rubber seal with refrigerant oil.
4. Thread the coupling halves together by hand to insure that the threads mate properly.
5. Tighten the coupling body hex nut and union nut with the proper size wrench until the coupling
bodies “bottom out” or until a definite resistance is felt.
6. Using a marker or pen, make a line lengthwise from the coupling union nut to the bulkhead.
7. Tighten the nuts an additional quarter-turn; the misalignment of the lines shows how much the
coupling has been tightened. This final quarter-turn is necessary to insure that the joint will not
leak. Refer to Table 13 for torque requirements.
Table 11 Refrigerant charge
Model # R-407C, oz (kg)
60Hz 50Hz
MM*60E MM*59E 4 (0.11)
MM*60K MM*59K 4 (0.11)
MC*65A MC*64A 432 (12.3)
MC*69W MC*68W 94 (2.7)
PFH067A-_L7 PFH066A-_L7 426 (12.1)
PFH067A-_H7 PFH066A-_H7 827 (23.4)
PFHZ67A-_L7 PFHZ66A-_L7 827 (23.4)
All evaporator units and condensing units are fully factory-charged with refrigerant. If field-supplied refrigerant piping is
installed, refrigerant must be added; refer to Table 12 to determine the additional charge.
Table 12 Line charges - refrigerant per 100 ft. (30m) of Type L copper tube
Line Size,
O.D., in.
R-407C, lb/100 ft. (kg/30m)
Liquid Line Suction Line
3/8 3.7 (1.7) —
1/2 6.9 (3.1) —
5/8 11.0 (5.0 0.4 (0.2)
3/4 15.7 (7.1) 0.6 (0.3)
7/8 23.0 (10.4) 1.0 (0.4)
1-1/8 — 1.7 (0.7)
1-3/8 — 2.7 (1.1)
NOTE
When hard piping is used, complete all piping and evacuate lines before connecting
quick connects.
Table 13 Refrigerant quick connect sizes and torque
Size O.D.
Cu
Coupling
Size
Torque
lb-ft
1/2” #10 35-45
1-1/8” #12 50-65

Site Preparation and Installation
Liebert® Mini-Mate2™22
Figure 12 Evaporator unit dimensional data
DPN000218
Rev. 3
Optional Discharge Air
Duct Flange Supplied
when Optional Filter Box
is Ordered
14 1/2"
(368.3mm)
Air
Outlet
Air
Inlet
46-1/2"
(1181.1mm)
Cabinet
Dimension
13-3/8"
(339.7mm)
7-5/8"
(193.5mm) 3-1/8"
(79.4mm)
14-1/2"
(368.3mm) Removable
Access
Panels
7/8" (22mm) Holes
for Module Rigging
(typ. 2 each end)
Shaded Area Indicates a
Recommended Clearance
of 30" (762mm) for Access
and Filter Removal
43-1/2"
(1104.9mm)
Threaded Rod
Centers
Hanging
Bracket
36 7/8"
(936.6mm)
49" (1244.6mm)
Cabinet
Dimension
50-5/8"
(1285.9mm)
Threaded Rod
Centers
Customer-Supplied
Threaded Rods for
Module Support from
Ceiling (typ. 4)
1-1/16"
(27mm)
1" (25.4mm) 1"
(25.4mm)
19-3/4"
(501.7mm)
17-5/8"
(447.7mm)
39-3/8"
(1000.1mm)
24"
(609.6mm)
8"
(203.2mm)
3/4"
(19mm)
Duct Flange 37-3/8"
(949.3mm)
OPTIONAL FILTER BOX
13-3/8"
(339.7mm)
24"
(610mm)
Cabinet
Dimension 22-7/16 "
(570mm)
13/16" (20.6mm)
1-1/8 "
(28.6mm)
MODULE DIMENSIONAL DATA

Site Preparation and Installation
23 Liebert® Mini-Mate2™
Figure 13 Threaded rod and hardware kit installation
5.4.4 Electrical Connections
Each unit is shipped from the factory with internal wiring completed. Refer to electrical schematic
when making connections. Electrical connections to be made at the installation site are:
• Power supply to each ceiling unit.
• Control wiring between the evaporator unit and the condensing unit, if applicable.
• Control wiring between the control panel (wallbox) and the evaporator unit control board.
!
WARNING
Arc flash and electric shock hazard. Disconnect all electric power supplies and wear protective
equipment per NFPA 70E before working within electric control enclosure. Failure to comply
can cause serious injury or death.
The Liebert microprocessor control does not isolate power from the unit in the Unit Off mode.
Some internal components require and receive power even during the Unit Off mode. The line
side of the disconnect switch on the front of the unit contains live high voltage. The only way
to ensure that there is NO voltage inside the unit is to install and open a remote disconnect
switch and check the internal power supply wires with a voltmeter.
3/8" Threaded Rod
(field-supplied )
3/8" Hex Nut
3/8" Washer
Sleeve
Isolator
3/8" Fender Washer
3/8" Hex Nut
3/8" Hex Nut Nylock
Unit Base Pan (ref)

Site Preparation and Installation
Liebert® Mini-Mate2™24
Power Connections
All power and control wiring and ground connections must be in accordance with the National
Electrical Code (NEC) and local codes. Refer to Unit serial tag data for electrical requirements.
Voltage supplied must agree with the voltage specified on the unit serial tag. If a field supplied
disconnect switch is required, it may be bolted to the ceiling unit, but not to any of the removable
panels. This would interfere with access to the unit. Make sure that no refrigerant lines are
punctured when mounting the disconnect switch.
Route the electrical service conduit through the hole provided in the cabinet and terminate it at the
electric box. Make connections at the factory terminal block or disconnect switch, L1, L2, L3. Connect
earth ground to lug provided. See transformer label for primary tap connections. Installer will need to
change transformer primary taps if applied unit voltage is other than pre-wired tap voltage.
An optional single point power kit is available for units that are close coupled (See 5.4.3 - Piping
Connections and Coolant Requirements). This kit should be mounted inside the condensing unit
before installing the unit in the ceiling. Specific installation instructions are included with the single
point power kit.
Control Connections
A field-supplied, 4-wire control connection (24 VAC) is required between the evaporator and the
condensing unit. Control wiring must be installed in accordance with the National Electrical Code
(NEC) Class 2 circuit. Glycol cooled units also require a two-wire control connection to the drycooler
and pump. A Class 1 circuit is required for Water/Glycol units.
Control wiring between the evaporator and the condensing unit must not allow a voltage drop in the
line of more than 1 volt (16 gauge minimum for 75 feet). Do not connect additional electrical devices to
the control circuit. The circuit breaker, contained in the transformer housing, is sized only for the
factory-supplied control system.
Additional control wiring will be required if your system includes other optional monitoring and
control devices.
Four (4) wire (thermostat type) must be connected between the evaporator control board and the wall
box. See Figure 14.
!
WARNING
Risk of loose electrical wiring connections. Can cause overheating of wire, smoke and fire
resulting in building and equipment damage, serious injury or death.
Use copper wiring only. Verify periodically that all connections are tight.

Site Preparation and Installation
25 Liebert® Mini-Mate2™
Figure 14 Evaporator unit electrical connections
Earth Ground Connection
terminal for field-supplied
earth grounding wire
High-Volt Power Connections
Electric service connection terminals
Factory-installed
disconnect switch
Remote Humidifier Contact
Field-Supplied 24V Class 2
wiring to Terminals 11 &
12, located in field wire
compartment
Optional Condensate Pump Auxilary Float
Switch Connection to Terminal TB1-8 and
TB1-9.
Heat Rejection Connection. Field
supplied 24V NEC class 2 wiring.
See Note 2.
For remote air cooled units from
Terminals TB2-1, 2, 3 & 4 in the
Fan/Coil module to Wires 1, 2, 3 & 4
in the condensing module:
1. 24V GND
2. 24V Supply
3. High Pressure Alarm (OPT)
4. Hot Gas Bypass Connection
Customer Remote Alarm Connection. Field-supplied 24V Class 2 wiring
to connection TB1-1, TB1-2 and TB1-3.
Remote Control Panel Connection to TB3-1,2,3,4 connected
with field-supplied thermostat wire (22ga, shielded/jacketed:
available from Emerson or others). Unit Control Board
terminals marked GND, +5V, T-, T+ must be connected to
corresponding terminals on Remote Control Wall Box
Site Monitoring Connection. Terminals TB4-1(+) TB4-2(-) are for connection
of a 2 wire, twisted pair, communication cable (available from Emerson
or others) to optional Liebert SiteScan
Remote Unit Shutdown. Replace existing jumper between Terminals TB1-4 and TB1-5
with normally closed switch having a minimum 75 VA rating. Use field-supplied 24V
Class 1 wire Field-supplied unit disconnect switch
when factory unit disconnect switch
is not supplied
Common Alarm Connection.
Field-supplied 24V Class 2 wiring to
common alarm connection TB1-6 and TB1-7.
Electric service not by Emerson
NOTES:
1. Refer to specification sheet for
full load amp. and wire size amp.
ratings.
2. Control voltage wiring must be a
minimum of 16 GA (1.3mm) for up
to 75' (23m) or not to exceed 1 volt
drop in control line
Drycooler/Circulating pump
control circuit TB70-71. Optional
w/Econ-O-Cycle models. Use
field-supplied 24V Class 2 wire.
Field-supplied, field-wired thermostat wire to remote wall box
Entrance for customer
low-voltage connections Entrance for customer low voltage connections
Field-supplied 24V (NEC Class 2 wiring)
to condensing module (if applicable)
Electrical entrance for
optional condensate
pump on back of unit
Entrance for customer
high-volt connections
DPN000221
Rev. 2

Site Preparation and Installation
Liebert® Mini-Mate2™26
Figure 15 Close coupled installation
Evaporator Unit (Left)
Condensing Unit
Evaporator Unit
Refrigerant Quick Connect Fittings
(Inside Units)
Spacer Between Close-Coupled Evaporator
and Condensing Unit (4 places)
Condensing Unit (Right)

Site Preparation and Installation
27 Liebert® Mini-Mate2™
5.5 Indoor Air-Cooled Centrifugal Fan Condensing Unit Installation
5.5.1 Location Considerations
The centrifugal fan air-cooled condensing unit may be located above the dropped ceiling or any remote
indoor area. If noise is of concern, the condensing unit should be located away from personnel. Normal
operating sound may be objectionable if the condensing unit is placed near quiet work areas.
To mount the unit in the ceiling, refer to 5.4 - Installing the Ceiling Units.
5.5.2 Electrical Connections
Refer to 5.4.4 - Electrical Connections for general wiring requirements and cautions. Refer to
electrical schematic when making connections. Refer to unit serial tag for full load amp and wire size
amp ratings.
Power Connections
The condensing unit requires its own power source and earth ground, with a disconnect switch to
isolate the unit for maintenance.
Control Connections
Field-supplied control wires must be connected between the evaporator and the condensing unit (See
Figure 14 and Figure 17) and the electrical schematic on the units for more details.) Four wires are
required between the evaporator and condensing unit.
5.5.3 Piping Connections
Details for refrigerant loop piping are in 5.4.3 - Piping Connections and Coolant Requirements.
5.5.4 Ducting
Fan operation is designed for 3500 CFM (5947 CMH) at 0.5" (0.12kPa) external static pressure.
General Considerations
Use flexible ductwork or nonflammable cloth collars to attach ductwork to the unit and to control
vibration transmission to the building. Attach the ductwork to the unit using the flanges provided.
Locate the unit and ductwork so that the discharge air does not short circuit to the return air inlet.
Ductwork that runs through a conditioned space or is exposed to areas where condensation may occur
must be insulated. Ductwork should be suspended using flexible hangers. Ductwork should not be
fastened directly to the building structure.
For multiple unit installations, space the units so that the hot condensing unit exhaust air is not
directed toward the air inlet of an adjacent unit.
Considerations for Specific Applications
In applications where the ceiling plenum is used as the heat rejection domain, the discharge
air must be directed away from the condensing unit air inlet and a screen must be added to the end of
the discharge duct to protect service personnel. Locate the air discharge a minimum of 4 feet from an
adjacent wall. Failure to do so may result in reduced air flow and poor system performance.
If the condensing unit draws air from the outside of the building, rain hoods must be
installed. Hood intake dimensions should be the same as the condensing unit duct dimensions. In
addition, install a triple layer bird screen over rain hood openings to eliminate the possibility of
insects, birds, water or debris entering the unit. Avoid directing the hot exhaust air toward adjacent
doors or windows.
NOTE
Follow all national and local building, electrical and plumbing codes.
NOTE
Refer to serial tag for full load amp and wire size amp ratings

Site Preparation and Installation
Liebert® Mini-Mate2™28
Figure 16 Indoor air-cooled centrifugal condensing unit dimensions and pipe connections
Field-supplied threaded
rods for module support
from ceiling (typ. 4)
Shaded area indicates a
recommended clearance of
30" (762mm) for component
access and removal
32"
(812.8mm)
Cabinet
Dimension
15-3/4"
(400mm) 8-15/16"
(227mm)
3-3/8"
(85.7mm)
14-1/2"
(368.3mm) 24"
(610mm)
Cabinet
Dimension
Hanger Bracket
50"
(1270mm)
Threaded Rod
Centers
AIR-COOLED DIMENSIONAL DATA
54"
(1371.6mm)
Cabinet
Dimension
48"
(1219.2mm)
21-1/4"
(539.8mm)
1-3/4"
(44.5mm)
33-5/8"
(854.1mm)
Threaded Rod
Centers
NOTE: Unit is spaced evenly
in reference to threaded
rod centers.
1/2" (12.7mm) dia. holes for
threaded rods (typ. 2 each end)
7/8" (22.2mm) & 1-1/8" (28.6mm)
dia. knockouts electrical entrance
for high-voltage connection
(Single Point Power Kit).
7/8" (22.2mm) & 1-1/8" (28.6mm)
dia. knockouts electrical entrance
for high-voltage connection
Single Point Power Kit
connection to Evaporator
Air Inlet Air Outlet
7/8" (22.2mm) dia. electrical
entrance for low-voltage connection.
7/8" (22.2mm) dia. knockout
electrical entrance for alternate
control panel low voltage routing
DPN000225
Rev. 2
Liquid Line male quick
connect location
Suction Line male quick
connect location
1-5/8"
(41.1mm)

Site Preparation and Installation
29 Liebert® Mini-Mate2™
Figure 17 Indoor air-cooled centrifugal condenser electrical connections
Field-Supplied Unit Disconnect
Switch when Factory Unit
Disconnect Switch is not
Supplied
Electric Service not
by Emerson
Factory-Installed
Disconnect Switch
Line Voltage Electric Power Supply
Conduit Voltage
Removable
Access Panels
AIR COOLED
Field-Supplied 24V NEC Class 2
Wiring Between Condensing
Unit and Fan/Coil Unit Low-Voltage Electric Power
Supply Conduit Entrance
Heat Rejection Connection. Field-supplied
24V NEC Class 2 wiring. See Note 2. Wire
connections from evaporator module:
1. 24V GND
2. 24V Supply
3. High Pressure Alarm (OPT)
4. Hot Gas Bypass Connection
NOTES:
1. Refer to specification sheet for full load amp. and wire size amp ratings.
2. Control voltage wiring must be a minimum of 16GA (1.3mm) for up to
75'(23m) or not to exceed 1 volt drop in control line. DPN000226
Rev. 2
Connection Terminal for
Field-Supplied Earth
Grounding Wire

Site Preparation and Installation
Liebert® Mini-Mate2™30
Figure 18 System piping with indoor or outdoor air-cooled condensing unit
DPN000215
Rev. 3
CHILLED WATER
AIR-COOLED
(Split System)
*
*
High-Pressure
Switch
Scroll
Compressor
Suction Line Male Quick
Connect Coupling
Liquid Injection
Valve Bulb
Suction Line Female Quick
Connect Coupling
External Equalizer
Sensing Bulb
Evaporator
Coil
Hot Gas Bypass
Control Valve
Liquid Injection
Valve
Liquid Line Male Quick
Connect Coupling
Liquid Line
Solenoid Valve
Bleed Valve
Check
Valve
Shutoff **
Valves
Liquid Line Female Quick
Connect Coupling
Service Access
Ports
Filter
Drier
Expansion
Valve
FIELD PIPING
FACTORY PIPING
* Use Liebert sweat adapter kit with field
hard piping. Close-coupling option available with MCD.
** Components are not supplied by Liebert but are
recommended for proper circuit operation and maintenance.
Chilled
Water Coil
Chilled Water
Control Valve
Chilled Water
Supply
Chilled
Water
Return
Hose Bibs**
3 - Way Chilled Water
Control Valve (Optional)
Chilled Water
Return
Chilled Water
Supply
Liebert
Lee-Temp
Receiver
Condenser
Coil
3/8" SAE 45° Male Flare
(MCD) or Atmospheric (PFH)
Pressure Relief Valve
Sight Glass
Pressure Balancing
Valve
Hot Gas
Bypass
Solenoid
Valve
3-Way Head
Pressure
Relief
Valve

Site Preparation and Installation
31 Liebert® Mini-Mate2™
5.6 Outdoor Air-Cooled Condensing Unit Installation
5.6.1 Location Considerations
To ensure a satisfactory air supply, locate air-cooled propeller fan condensing units in an environment
providing clean air, away from loose dirt and foreign matter that may clog the coil. Condensing units
must not be located in the vicinity of steam, hot air or fume exhausts or closer than 18 inches from a
wall, obstruction or adjacent unit. Avoid areas where heavy snow will accumulate at air inlet and
discharge locations.
The condensing unit should be located for maximum security and maintenance accessibility. Avoid
ground-level sites with public access.
Install a solid base, capable of supporting the weight of the condensing unit. The base should be at least
2 inches higher than the surrounding grade and 2 inches larger than the dimensions of the condensing
unit base. For snowy areas, a base of sufficient height to clear snow accumulation must be installed.
Figure 19 Dimensions—Air-cooled systems, standard ambient outdoor condensing module
NOTE
Follow all national and local building, electrical and plumbing codes.
Table 14 Weights for standard ambient outdoor condensing modules, air-cooled systems
Model # Weight, lb (kg)
60Hz 50Hz
PFH067A-L PFH066A-L 351 (159)
53"
(1343mm)
36-1/4"
(918mm)
C
DPN000130
Rev. 1
Removable (Right) Panel
for Access to Refrigeration Component
Right Air
Discharge
Left Air
Intake
Fan Rotation
Counteclockwise
(left side)
Shaded area indicates
a minimum clearance of
18" (457mm) for proper
air flow
Shaded area indicates
a minimum clearance of
18" (457mm) for proper
air flow
Shaded area indicates
a minimum clearance of
24" (610mm) for component
access and removal
Removable front panel
for access to high-voltage
and low-voltage connections
and to refrigeration components
18"
(457mm)

Site Preparation and Installation
Liebert® Mini-Mate2™32
Figure 20 Dimensions—Air-cooled systems, high ambient and Quiet-Line condensing module
5.6.2 Piping Connections
Details for refrigerant loop piping are in 5.4.3 - Piping Connections and Coolant Requirements.
5.6.3 Electrical Connections
Refer 5.4.4 - Electrical Connections for general wiring requirements and cautions. Refer to
electrical schematic when making connections.
Power Connections
The outdoor condensing unit requires its own power source and earth ground, with a disconnect
switch (field supplied) to isolate the unit for maintenance.
Control Connections
Field-supplied control wires must be connected between the evaporator and the condensing unit. (See
Figure 14 and the electrical schematic on the units for more details.) Four wires are required
between the evaporator and condensing unit.
Table 15 Net weight, high ambient and Quiet-Line condensing modules, air-cooled systems
Model # Module
Net Weight
lb. (kg)
60Hz 50Hz
PFH067A- H
PFHZ67A- L
PFH066A- H
PFHZ66A-L 488 (222)
DPN000131
Rev. 0
36-1/4" (918)
38-1/2"
(978)
53"
(1346mm)
Right Air
Intake
Top Air
Discharge
Guard Height
5-1/2" (140mm)
Left Air
Intake
Shaded area indicates
a minimum clearance of
18" (457mm) for proper
air flow
Shaded area indicates
a minimum clearance of
18" (457mm) for proper
air flow
Shaded area indicates
a minimum clearance of
24" (610mm) for component
access and removal
Removable front panel
for access to high-voltage
and low-voltage connections
and to refrigeration components
2"
(51mm)

Site Preparation and Installation
33 Liebert® Mini-Mate2™
5.7 Indoor Water- and Glycol-Cooled Condensing Unit Installation
5.7.1 Location Considerations
The condensing unit may be located above the dropped ceiling or any remote indoor area. If noise is of
concern, the condensing unit should be located away from personnel. Normal operating sound may be
objectionable if the condensing unit is placed near quiet work areas.
To mount the unit in the ceiling, refer to 5.4 - Installing the Ceiling Units.
5.7.2 Electrical Connections
Refer to 5.4.4 - Electrical Connections for general wiring requirements and cautions. Refer to
electrical schematic when making connections. Refer to serial tag for full load amp and wire size amp
ratings.
Control Connections
A 4-wire control connection is required from the evaporator unit to the condensing unit. Glycol
cooled units also require a two-wire control connection to the drycooler and pump
package.
5.7.3 Piping Connections
Details for refrigerant loop piping are in 5.4.3 - Piping Connections and Coolant Requirements.
Water/Glycol Piping Considerations
Manual service shut-off valves must be installed at the supply and return line to each unit. This
enables routine service and/or emergency isolation of the unit. When the condensing unit fluid quality
is poor, filters that can be easily serviced should be placed in the supply line. These filters extend the
service life of the condensing unit.
Condensing Unit Fluid Requirements
The maximum fluid pressure is 150 PSI standard pressure and 350 PSI for high pressure units (Refer
to unit serial tag and model number description page at beginning of this manual).
Automotive antifreeze must not be used in glycol systems. Prepare glycol solution using
customary practices.
Regulating Valve
Water/Glycol cooled units include a coolant flow regulating valve that is factory-adjusted and should
not need field adjustment.
Standard pressure and high pressure valves are adjusted differently. Contact Emerson’s Precision
Cooling Support before making any adjustments.
NOTE
Follow all national and local building, electrical and plumbing codes.

Site Preparation and Installation
Liebert® Mini-Mate2™34
Figure 21 Indoor water/glycol condensing unit dimensional data
NOTE: Unit is evenly spaced
in reference to threaded
rod centers.
32"
(812.8mm)
Cabinet
Dimension
32"
(812.8mm)
Cabinet
Dimension
Field-supplied threaded
rods for module support
from ceiling typ. 4).
24"
(610mm)
Cabinet
Dimension
33 5/8"
(854.1mm)
Threaded Rod
Centers
28"
(711mm)
Threaded Rod
Centers
Shaded area indicates a
recommended clearance of
30" (762mm) for component
access and removal
WATER/GLYCOL DIMENSIONAL DATA
7/8" (22.2mm) & 1 1/8" (28.6mm)
dia. knockouts electrical entrance for
line voltage connection (Single Point
Power Kit)
7/8" (22.2mm) & 1-1/8" (28.6mm)
dia. knockouts electrical entrance for
line voltage connection
Removable
Access
Panel
1/2" (12.7mm) dia.
holes for module
rigging (typ. 2
each end)
Hanger
Bracket
Suction Line male
quick connect
location
Liquid Line
male quick
connect location
7/8" (22.2mm) dia. electrical entrance
for low-voltage connection DPN000227
Rev. 3
7/8" (22.2mm) dia. knockout
electrical entrance for alternate
control panel low-voltage routing.
1-1/8" (28.6mm) OD Cu Water/Glycol
Outlet Connection Extends
3-1/2" (88.9mm) beyond panel exterior
1-1/8" (28.6mm) OD CU Water/Glycol
Inlet Connection. Extends
3-1/2" (88.9mm) beyond panel exterior
8-7/16"
(214.4mm)
3-3/4"
(95.2mm) 7"
(177.8mm)

Site Preparation and Installation
35 Liebert® Mini-Mate2™
Figure 22 Indoor water/glycol condensing unit electrical field connections
Field-Supplied Unit Disconnect
Switch when Factory Unit
Disconnect Switch is not
Supplied
Electric Service not
by Emerson
Factory-Installed
Disconnect Switch
Line Voltage Electric Power Supply
Conduit Voltage
Removable
Access Panel
Field-Supplied 24V NEC Class 1
Wiring to Fan/Coil Unit
Field-Supplied 24V NEC Class 1
Wiring to Drycooler (Glycol-cooled
units only)
Low-Voltage Electric Power
Supply Conduit Entrance
Heat Rejection Connection. Field-supplied
24V NEC Class 2 wiring. See Note 2. Wire
connections from evaporator module:
1. 24V GND
2. 24V Supply
3. High Pressure Alarm (OPT)
4. Hot Gas Bypass Connection
NOTES:
1. Refer to specification sheet for full load amp. and wire size amp ratings.
2. Control voltage wiring must be a minimum of 16GA (1.3mm) for up to
75'(23m) or not to exceed 1 volt drop in control line.
DPN000228
Rev. 2
WATER/GLYCOL
Connection Terminal for
Field-Supplied Earth
Grounding Wire
Remote Drycooler Connection
Field-Supplied 24V NEC Class 1
Wiring (Glycol-cooled units only)

Site Preparation and Installation
Liebert® Mini-Mate2™36
Figure 23 System piping with indoor water/glycol cooled condensing unit
5.8 Optional Equipment Piping
5.8.1 Free-Cooling Coil
The free-cooling coil is a secondary coil located downstream of the DX coil. The free-coiling coil does
not operate at the same time as the DX coil. A temperature sensor is factory-mounted to the free-
cooling piping. If the water temperature is less than the set temperature (usually 45°F [7.2°C]), the 3-
way valve opens to allow chilled water flow to the free-cooling coil and the compressor is locked off. If
the water temperature is above the set temperature, the 3-way valve closes (bypasses) and enables
the compressor. To keep deposits from building up in the free-cooling coil, an adjustable timer is
factory-set to flush every 400 minutes.
On water-cooled systems, the free-cooling coil outlet can be field piped to the condensing unit inlet,
provided a 3-way regulating valve has been installed within the water/glycol condensing unit (see
Figure 24).
NOTE
If the free-cooling coil is piped to an open water tower, a CU/NI (copper-nickel) type coil must
be ordered to prevent corrosion of the copper tubes; or a heat exchanger must separate the tower
water from the free-cooling loop.
*
*
Evaporator
Coil
Tube-in-Tube
Condenser
Tube-in-Tube
Condenser
High-Pressure
Switch
Scroll
Compressor
Hot Gas
Bypass
Solenoid
Valve
Hot Gas Bypass
ControlValve
Liquid Injection
Valve
Suction Line Male Quick
Connect Coupling
Liquid Injection
Valve Bulb
Liquid Line
Male Quick
Connect
Coupling
Water/Glycol
Return Line
Fluid Return
From Unit
Fluid Supply
To Un it
Water/Glycol
Supply Line
Shutoff **
Valves
Hose
Bibs **
2 - Way Water
Regulating Valve
Fluid
Return
From Unit
Fluid Supply
To Un i t
3 - Way Water
Regulating Valve
(Optional)
Suction Line Female Quick
Connect Coupling
Liquid Line
Female Quick
Connect
Coupling
Service Access
Ports
Filter
Drier
Expansion
Valve
External
Equalizer
Sensing Bulb
FIELD PIPING
FACTORY PIPING
DPN000214
Rev. 1
* Use Liebert sweat adapter kit with field
hard piping. Close-coupling option available with MCD.
** Components are not supplied by Liebert but are
recommended for proper circuit operation and maintenance.

Site Preparation and Installation
37 Liebert® Mini-Mate2™
Figure 24 Optional free-cooling coil (3-way valve) on water/glycol units
5.8.2 Hot Water Reheat Coil
Building hot water can be piped to a factory-installed hot water reheat coil, located downstream of the
cooling coil. A factory-installed solenoid valve opens upon a call for reheat.
Figure 25 Optional hot water reheat (two-way valve)
Fluid
Return
From Unit
Fluid
Return
From
Unit
Fluid
Supply
To Unit
Temperature
Stat
Free-Cooling
Control
Valve
Bleed Valve
Free-Cooling
Coil
Shutoff*
Valves
Shutoff*
Valves
Hose*
Bibs
Hose*
Bibs Fluid
Supply
To Unit
3-Way Water
Regulating
Valve
(Optional)
Tube in
Tube
Condense
r
DPN000219
Rev. 3
FIELD PIPING
NOTE: RECOMMENDED PIPING FOR UNITS
WITH FREE-COOLING COIL OPTION
AND WATER/GLYCOL CONDENSER.
* Components are not supplied by Emerson
but are recommended for proper circuit
operation and maintenance.
FACTORY PIPING
DPN000219
Rev. 3
FIELD PIPING
Note: Hot water reheat available only
on chilled water units.
* Components are not supplied by Emerson
but are recommended for proper circuit
operation and maintenance.
Y-Strainer
Hot Water
Reheat
Coil
Bleed Valve
Hot Water
Reheat
Control
Valve
Water
Supply
To Unit
Water
Return
From Unit
Shutoff*
Valves
Hose*
Bibs FACTORY PIPING

Site Preparation and Installation
Liebert® Mini-Mate2™38
5.9 Checklist for Completed Installation
___ 1. Proper clearance for service access has been maintained around the equipment.
___ 2. Equipment is level and mounting fasteners are tight.
___ 3. Piping completed to refrigerant or coolant loop (if required). Refrigerant charge added (if
required).
___ 4. Condensate pump installed (if required).
___ 5. Drain line(s) connected and checked for leaks.
___ 6. Water supply line connected to humidifier (if required). Route to allow air filter removal.
___ 7. Field provided drain pan with drain installed under all cooling units and ceiling-mounted
water/glycol condensing units.
___ 8. Filter box installed.
___ 9. Ducting completed.
___ 10. Filter(s) installed in return air duct.
___ 11. Line voltage to power wiring matches equipment serial tag.
___ 12. Power wiring connections completed between disconnect switch, evaporator and condensing
unit, including earth ground.
___ 13. Power line circuit breakers or fuses have proper ratings for equipment installed.
___ 14. Control wiring connections completed to evaporator and condensing unit (if required,
including wiring to wall-mounted control panel and optional controls).
___ 15. Control panel DIP switches set based on customer requirements.
___ 16. All wiring connections are tight.
___ 17. Foreign materials have been removed from in and around all equipment installed (shipping
materials, construction materials, tools, etc.)
___ 18. Fans and blowers rotate freely without unusual noise.
___ 19. Inspect all piping connections for leaks during initial operations. Correct as needed.
___ 20. Rubber band is removed from evaporator condensate pan float switch.

Microprocessor Control
39 Liebert® Mini-Mate2™
6.0 MICROPROCESSOR CONTROL
The Microprocessor Control for the Liebert Mini-Mate2 unit features an easy to use menu-driven
LCD display. The menus, control features and circuit board details are described in this section.
Detailed information concerning controls (7.0 - System Performance Microprocessor Controls)
and alarms (8.0 - Alarms) are provided.
6.1 Feature Overview
To turn the unit ON, press the ON/OFF (I/O) key after power is applied. To turn the unit OFF, press
the ON/OFF (I/O) key before power is disconnected.
The following control keys may be used to move through the menus, as prompted on the LCD display:
• I/O—turns unit On or Off (top far left).
• MENU—Enables user to access the program menu to change control parameters, alarms, setback
schedule, etc. (top near left).
• UP ARROW—Increases the value of displayed parameter while in a set mode (setpoints, time,
etc.) (top near right).
• ESC—Escape; allows user to move back to a previous menu (top far right).
• Alarm Silence/? (Help)—If an alarm is present, pressing this key will silence the alarm. If this key
is pressed when no alarms are present, help text will appear (bottom near left).
• DOWN ARROW—Decreases the value of displayed parameter while in a set mode (bottom near
right).
• ENTER—After setting a control point, press ENTER to store the information in the
microprocessor (bottom far right).
Figure 26 Wall box
Active alarms are displayed on the LCD screen and sound an audible beeper. To silence an alarm,
press the Alarm Silence/Help key as prompted on the display.
Setpoints, DIP switch settings and other selections were made during factory testing of your unit and
are based on typical operating experience. (Other default selections were made according to options
included with your unit). MAKE ADJUSTMENTS TO THE FACTORY DEFAULT SELECTIONS
ONLY IF THEY DO NOT MEET YOUR SPECIFICATIONS.
Allowable ranges are displayed by pressing the Help key. A password will be required (if enabled) to
change setpoints, time delays, etc.
The display normally shown includes the present room temperature, humidity, active status
functions (cooling, heating, dehumidifying, humidifying) and active alarms. The Status Display may
also be selected from the Main Menu.

Microprocessor Control
Liebert® Mini-Mate2™40
6.2 Main Menu <Menu>
Press the MENU key to display the Main Menu. The menu selections (in the following order) include:
• SETPOINTS
• STATUS
• ACTIVE ALARMS
•TIME
•DATE
• SETBACK
• SETUP OPERATION
• SET PASSWORD
• SETUP PASSWORD
• CALIBRATE SENSOR
• ALARM ENABLE
• ALARM TIME DELAY
• COM ALARM ENABLE
• CUSTOM ALARMS
• CUSTOM TEXT
•DIAGNOSTICS
• END OF MENU
Use the UP and DOWN arrows to scroll through the selections; when ready to select a particular
function press Enter.
6.3 Setpoints
Setpoints and system setup parameters are kept in nonvolatile memory. Selecting SETPOINTS from
the Main Menu will display the following selections:
• TEMPERATURE SETPOINT
• TEMPERATURE SENSITIVITY
• HUMIDITY SETPOINT
• HUMIDITY SENSITIVITY
• HIGH TEMPERATURE ALARM
• LOW TEMPERATURE ALARM
• HIGH HUMIDITY ALARM
• LOW HUMIDITY ALARM
Scroll through this sub-menu by using the Up and Down arrows, then press Enter to select a
particular function. To change a particular value, press Enter and use the Up and Down arrows to
change the value. When the value has been changed press Enter to store the value. For example to
change the temperature setpoint from the main status display.
1. Press Menu key to display main menu.
2. Scroll to “SETPOINTS” using the Up and Down arrows. Press Enter.
3. Scroll to “TEMP SETPOINT” using the Up and Down arrows. Press Enter.
4. Use the Up and Down arrows to change the value. Press Enter.

Microprocessor Control
41 Liebert® Mini-Mate2™
6.4 Status
The operator can monitor the percentage heating, cooling, dehumidifying and humidifying status of
the unit by selecting the “STATUS” sub-menu.
6.5 Active Alarms
The operator can monitor the alarms status by selecting “ALARMS” which will display a “No Alarm
Present” or “Alarm XX of YY” alert and description. If more than one alarm is activated, use the UP or
DOWN arrow to scroll through the alarms list. (“XX” reference is the number of the alarm shown,
while the “YY” reference is the total number of alarms activated).
6.6 Time
The controller time clock must be set to allow for the setback control. The clock uses the 24-hour
system (i.e., midnight is entered as 24:00). To change the time press Enter to select the function, then
use the Up and Down arrows to change the first character, press Enter to store, then press the Up or
Down arrows to change the character, press Enter to store, etc. THERE IS A BATTERY BACKUP
FOR THE DATE AND TIME FEATURES.
6.7 Date
The controller date must be set to allow for setback control. To change the date press Enter, then use
the Up and Down arrows to change the first character, press enter to store, press the Up and Down
arrows to change the second character, etc.
6.8 Setback
The microprocessor can be programmed for night and weekend setback. Two (2) events can be
programmed for a five-day work week and two (2) events can be programmed for a two-day weekend.
The following table can be used to devise a setback plan.
Table 16 Default setpoints and allowable ranges
Setpoint Default Range
Temperature Setpoint 72°F 40-90°F (5-32°C)
Temperature Sensitivity 2.0°F1-9.9°F (0.6-5.6°C)
Humidity Setpoint 50% 20-80% RH
Humidity Sensitivity 5% 1-30% RH
High Temperature Alarm 80°F 35-95°F (2-35°C)
Low Temperature Alarm 65°F 35-95°F (2-35°C)
High Humidity Alarm 60% 15-85% RH
Low Humidity Alarm 40% 15-85% RH
Table 17 Night and weekend setback plan
Event Weekend Weekday
Time 1
Temperature1
Sensitivity 1
Humidity 1
Humidity Sensitivity 1
Time 2
Temperature 2
Sensitivity 2
Humidity 2
Humidity Sensitivity 2

Microprocessor Control
Liebert® Mini-Mate2™42
6.9 Setup Operation
Selecting Setpoint/Setup from the Main Menu will display the following selections:
• RESTART TIME DELAY
• C/F DEGREES
• HUMIDITY CONTROL METHOD
• SHOW DIPSWITCH
• CW FLUSH
• VALVE TIME
Use the Up and Down arrows to scroll through the submenu. Press Enter to select a particular
function.
6.9.1 Restart Time Delay
This function delays unit restart after main power is restored to the unit. If several systems are
operating, the time delays should be set to different values to cause a sequential start. Delay can be
set from 0.1 minutes to 9.9 minutes (6 seconds to 594 seconds). Setting the value to zero (0) will
prevent the unit from restarting when power is restored. In this case, the unit must be restarted
manually by pressing the “ON/OFF” button on the keypad.
6.9.2 C/F Degrees
The control may be selected to show readings and setpoints in either degrees Fahrenheit (°F) or
Celsius (°C). To change the value use Enter to select this function, then use the Up and Down arrows
to change the value. Press Enter to store the value.
6.9.3 Humidity Control Method
The operator may select either relative (direct) or absolute (predictive) humidity control. If “relative”
is selected, the RH control is taken directly from the RH sensor. If “absolute” is selected, the RH
control is automatically adjusted whenever return air temperature deviates from the desired
temperature setpoint (i.e., predictive humidity control). The LCD display will indicate percentage
relative humidity for both methods of control. If the “absolute” feature is selected, the adjusted
humidity reading will also be shown. When utilizing the predictive humidity control feature, the
humidity level is automatically adjusted ~2% RH for each degree difference between the return air
temperature and the temperature setpoint.
Unnecessary dehumidification can result when overcooling occurs during a dehumidification cycle.
This is due to a higher than normal RH reading caused by overcooling the room (about 2% RH for
each degree of overcooling). This drop in temperature extends the dehumidification cycle. Later, when
the dehumidification ends and the temperature rises to the setpoint, the RH reading falls. The final
RH reading will then be lower than actually desired. If the temperature drop was significant enough,
the percentage RH could be low enough to activate the humidifier.
If the absolute humidity control is selected, over-dehumidification may be avoided. When overcooling
occurs (i.e., causing an increase in the RH reading) the humidity control program estimates what the
RH will be when the dehumidification cycle ends and temperature returns to the setpoint. This allows
the dehumidification cycle to end at the proper time. Predictive humidity control can greatly reduce
energy consumption by minimizing both compressor/reheat operation. Use the UP or DOWN arrow
key to select the desired humidity control method.
6.9.4 Show DIP Switch
This function shows the position of the DIP switches, which are located on the control board in the
unit; 1 = Switch is “ON” and 0 = Switch is “OFF.” For more information on the DIP switches and their
functions, see Table 20.

Microprocessor Control
43 Liebert® Mini-Mate2™
6.9.5 Valve Time (for Systems With a Modulating Chilled Water Valve)
This function shows the full valve travel time of the modulating valve on a chilled water system. This
is the time it takes for the valve to travel from full closed to full open. It is programmable from 50 to
250 seconds; factory default time is 165 seconds and should not be changed. The full valve travel time
is used by the control to determine the appropriate valve position. For example, if the valve travel
time is 165 seconds and 50% cooling is being called for, the valve will open for 83 seconds to achieve
50% open.
6.9.6 CW Flush (for Systems with a Modulating Chilled Water Valve)
This function shows the interval time at which the system will perform a modulating chilled water
valve system flush cycle. The factory default is 24 (hours) and is programmable from 0 (hours) which
signifies to never flush, to 99 (hours) which signifies to flush after every 99 hours of valve non-use. If
the valve is called on by the control to open within the programmed interval time, the timer will be
reset to 0. The flush cycle is active even when the fan is turned off, but power is applied to the unit.
When the interval timer reaches the programmed time, the valve will be opened for 3 minutes to flush
any contaminants that may have collected in the system.
6.10 Change Passwords
The display will prompt the operator to enter a three digit password when attempting to make
changes. The system includes two (2) passwords, one for setpoints and one for setup. The system
allows the password to be changed by first entering the default password set at the factory (1-2-3) for
setpoints and (3-2-1) for setup. The password function provides system security so that only
authorized personnel are allowed to make changes to the system. (If unauthorized changes are being
made, the passwords may be compromised and new ones should be selected). The password function
can be disabled by setting DIP switch 8 in the wall box to OFF, then resetting power to the unit.
6.11 Calibrate Sensors
The temperature and humidity sensors can be calibrated by selecting the CALIBRATE SENSORS
menu item. The temperature sensor can be calibrated ±5°F, while the humidity sensor can be
calibrated ±10% RH. When calibrating the humidity sensor, the value shown will always be % RH,
even though absolute humidity control may be selected. If absolute humidity control is selected, the
Normal Status Display will display the adjusted reading. This reading may not agree with the
relative humidity reading displayed while in calibration.
If the sensors are subject to frequent wide temperature and humidity swings, it may be necessary to
shorten the cycling by increasing the sensor time delay. If the sensors are located too close to the air
discharge, they will likely experience rapid swings in measurement. Another method in reducing
compressor cycling is to increase the temperature and/or humidity sensitivity.
Table 18 Setup functions, default values and allowable ranges
Function Default Range
Restart Time
Delay
0.1 0 to 9.9 min
(0 = manual restart)
C/F Degrees °F°C or °F
Humidity Control Rel Relative or Absolute
Valve Time 165 50 to 250 seconds
CW Flush 24 0 to 99 hours

Microprocessor Control
Liebert® Mini-Mate2™44
6.12 Alarm Enable
Each alarm can be disabled or enabled. Use the Up and Down arrows to select a particular alarm,
press Enter to select either Enable or Disable. Press Enter again to store the change. When the alarm
is disabled it will NOT report to either the wall box beeper or to the common alarm relay.
6.13 Alarm Time Delay
Each individual alarm can be programmed with a time delay, causing the unit to delay a specified
amount of time (0-255 seconds) before recognizing the alarm. See Table 19 for the default times. The
alarm condition must be present for the full amount of the time before the alarm will sound. If the
alarm condition is diverted prematurely, the alarm will not be recognized and the time delay will
automatically reset.
6.14 Common Alarm Enable
Each individual alarm can be selected to activate or deactivate the common alarm relay. If the
energize common alarm function is set to Yes, the relay is energized immediately as the alarm is
annunciated and de-energized when the alarm condition has been recognized. If the alarm is
completely Disabled, the alarm has no effect on the common alarm relay. Use the Up and Down
arrows to scroll to a particular alarm, press the Enter button to select it, then press the Enter button
again to select Yes or No.
NOTE
The high-water alarm will automatically shut the unit Off, even if the alarm is disabled.
Similarly, optional factory-installed smoke sensor is wired to shut off the evaporator unit,
regardless of the enable/disable status.
NOTE
For software alarms such as “loss of power” and “short cycle,” the time delay should be left at
the factory default of 0.
Table 19 Alarm default time delays
Alarm
Default Time Delay
(seconds)
Custom Alarm #1 0
Custom Alarm #2 6
High Temperature 30
Low Temperature 30
High Humidity 30
Low Humidity 30
Short Cycle 0
Loss of Power 0

Microprocessor Control
45 Liebert® Mini-Mate2™
6.15 Custom Alarms
The custom alarm messages can be selected from a list of standard alarm messages or the operator
can write his/her own message. A MAXIMUM OF TWO (2) ALARM MESSAGES CAN BE
CUSTOMIZED. The two custom alarm messages will initially display the previously programmed
message but can be changed.
The text for custom alarms can be changed at any time by selecting Custom Alarm. To change the text
for a custom alarm, select the alarm you would like to change, 1 or 2. Using the Up and Down arrows,
step through the list of five standard alarm messages (listed below) and two custom alarms. Select the
alarm message desired and store it by pressing Enter.
6.15.1 Standard Custom Alarm Messages
• WATER FLOW LOSS
• SMOKE DETECTED
• LOSS OF AIR FLOW
• HUMIDIFIER PROBLEM
• FILTER CLOG
6.16 Custom Text
To modify the two custom alarm messages select “CUSTOM TXT”. Then select “CUS TXT #1” or “CUS
TXT #2”. Text can be up to 20 characters in length and can be either a blank space or any of the
following alphanumeric characters and symbols:
• A,B,C,D,E,F,G,H,I,J,K,L,M,N,O,P,Q,R,S,T,U,V,W,X,Y,Z
• #,%,*,-
• 0,1,2,3,4,5,6,7,8 or 9
Use the Up and Down arrows to select a character, then press Enter. The cursor will move to the next
space where you may once use the Up and Down arrows to select another character, etc.
LCD Display Contrast
The level of contrast due to the viewing angle of the LCD display can be adjusted using a
potentiometer screw, inside the wall box next to the display.
Nonvolatile Memory
All critical information is stored in nonvolatile memory. Setpoints and setup parameters are kept
inside the microcontroller in EEPROM.

Microprocessor Control
Liebert® Mini-Mate2™46
Equipment Options Switches
Equipment options are selected and enabled using DIP switches 1 through 7. These are located on the
control board near TB1. These switches are factory-set and should not require any user changes. The
setting and function of the switches can be individually read on the LCD display.
6.17 Run Diagnostics (Available On Rev 1.001.0 and higher)
By selecting Run Diagnostics, maintenance personnel can check system inputs, outputs and conduct a
test of the microcontroller circuit board from the wall box control. A review of the system inputs and
the microcontroller test can be done without interrupting normal operation.
Show Inputs
With the unit on and the fan running, the input states may be displayed for the following devices:
• High Water Alarm: Normally off unless High Water Alarm is active.
• High Head Pressure Alarm: Normally off unless High head Pressure alarm is active.
• Custom alarm #1: Normally off unless this special customer selectable alarm is active.
• Custom alarm #2: Normally off unless this special customer selectable alarm is active.
• Power: Normally on unless unit is turned off through the wall box or any of the following optional
devices: High Temperature Sensor, Smoke Sensor, High Water Alarm or Remote Shutdown
NOTE
In order to update the dip switch settings, power must be cycled off, then on, from the unit
disconnect switch.
Table 20 Equipment switch settings (unit control board)
Switch OFF Position ON Position
1 Compressor Chilled Water
2 Standard Reheat SCR Reheat
3 No Modulating Valve Modulating CW Valve
4 Not Used Not Used
5 Enable Reheat Disable Reheat
6 Enable Humidifier Disable Humidifier
7 Enable Dehumidifier Disable Dehumidifier
8 Electric Reheat Gas Reheat
Table 21 Switch settings (wall box board)
Switch OFF Position ON Position
1 Disable Beeper Enable Beeper
2 Not Used Not Used
3 Not Used Not Used
4 Not Used Not Used
5 Not Used Not Used
6 Not Used Not Used
7 Disable Setback Enable Setback
8 Enable Password Disable Password

Microprocessor Control
47 Liebert® Mini-Mate2™
Test Outputs
When this feature is selected, the controller is effectively turned off. When stepping from one load to
the next, the previous load is automatically turned off. The loads can also be toggled On and Off by
selecting “ENTER.” Once turned on, the output will remain on for five minutes unless toggled off or
the test outputs function is exited by selecting “MENU/ESC” (Compressor is limited to 15 seconds On
to prevent damage.)
NOTICE
Risk of overheating the compressor during the Test Outputs mode. Can cause compressor
damage.
Testing the compressor output for more than a few seconds can damage the compressor. Do
not operate the unit in the Test Outputs mode any longer than is necessary for
troubleshooting.
NOTICE
Risk of extended unit operation in the Test Outputs mode for troubleshooting. Can cause
damage to unit.
DO NOT operate unit in the Test Outputs mode any longer than is necessary for
troubleshooting
The outputs are as follows:
• Normal Fan: Normal speed fan contactor
• Humidifier: Humidifier contactor
• Cool: Compressor contactor (Valve opens on chilled water units)
• HGBP: Hot gas bypass valve
• Reheat: Reheat contactor
• Common Alarm: Common alarm relay
Test Control Board
By selecting this function, the microcontroller will perform a self test lasting approximately 10
seconds. When the test is complete, the display will show the ROM checksum, ROM part number and
firmware revision number.
NOTE
Fan turned on with all loads.

Microprocessor Control
Liebert® Mini-Mate2™48
Figure 27 Control menu
Status Display
75 F 50%RH
NO ALARMS
Menu
Setpoints
Status
Active Alarms
Time
Date
Setback
Setup Operation
Setpoint Password
Setup Password
Calibrate Sensors
Alarm Enable
Alarm Time Delay
Common Alarm Enable
Custom Alarms
Custom Text
Diagnostics
End of Menu
Setup Password
Enter New PSW
Setup PSW = 000
Calibrate sensors
Temp Cal
Hum Cal
Temp Delay
Hum Delay
Alarm Enable
Custom #1
Custom #2
High Temp
Low Temp
High Hum
Low Hum
Short Cycle
Loss Pwr
Alarm Time Delay
Custom #1
Custom #2
High Temp
Low Temp
High Hum
Low Hum
Short Cyc
Loss Pwr
Common Alarm Enable
Hi Water
Hi Head
Custom #1
Custom #2
High Temp
Low Temp
High Hum
Low Hum
Short Cyc
Loss Pwr
Custom Alarms
Custom Alarm #1
Custom Alarm #2
Custom Text
Custom Text #1
Custom Text #2
Diagnostics
Test Inputs
Test Outputs
Test Microcontroller
Setpoints/Setup
Temp Setpt
Temp Sens
Hum Setpt
Hum Sens
Hi Temp Alm
Lo Temp Alrm
Hi Hum Alm
Lo Hum Alm
Setup Operation
Restart TD
C/F Degrees
Humidity Control
Dipswch 00000000
Pos 12345678
Status
Heat % 0
Dx Cool % 0
Dehumidify % 0
Humidify % 0
Active Alarms
No Alarms
or
Alarm 01 of 01
High Head
Time
Date
Setback
Wknd Time 1
Wknd Temp 1
Wknd Tsens 1
Wknd Humd 1
Wknd Hsens 1
Wknd Time 2
Wknd Temp 2
Wknd Tsens 2
Wknd Humd 2
Wknd Hsens 2
Wkdy Time 1
Wkdy Temp 1
Wkdy Humd 1
Wkdy Hsens 1
Wkdy Time 2
Wkdy Temp 2
Wkdy Tsens 2
Wkdy Humd 2
Wkdy Hsens 2
Setpoint Password
Enter New PSW
Setpt PSW = 000

Microprocessor Control
49 Liebert® Mini-Mate2™
Figure 28 Control board—inside evaporator
Figure 29 Wall box board
TB2-4 — Hot Gas Bypass
TB2-3 — High Head Alarm Connection
TB2-2 — Heat Rejection
TB2-1 — Heat Rejection
TB1-9 — Condensate Pump Aux Alarm
TB1-8 — Condensate Pump Aux Alarm
TB1-7 — Common Alarm
Connection
TB1-6 — Common Alarm
Connection
TB1-5 — Remote Shutdown
TB1-4 — Remote Shutdown
TB1-3 — Customer Alarm
Connection #2
TB1-2 — Customer Alarm
Connection #1
TB1-1 — Customer Alarm
Connection (common)
TB3-4 Connection to TB3 Pin 4 of Wall
Box
TB3-3 Connection to TB3 Pin 3 of Wall
Box
TB3-2 Connection to TB3 Pin 2 of Wall
Box
TB3-1 Connection to TB3 Pin 1 of Wall
Box
TB4-2 Site Monitoring Connection (-)
TB4-1 Site Monitoring Connection (+)
P16 Remote Sensor Connection
TB3 — 1
TB3 — 2
TB3 — 3
TB3 — 4
Wall Box
DIP Switches (1-8)

System Performance Microprocessor Controls
Liebert® Mini-Mate2™50
7.0 SYSTEM PERFORMANCE MICROPROCESSOR CONTROLS
This section describes in detail how the Mini-Mate2 responds to operator inputs and room conditions.
7.1 Temperature Control
7.1.1 Cooling/Heating Required
The temperature control program for the microprocessor is based on a calculated percentage
requirement for cooling/heating.
7.1.2 Cooling Operation (Compressorized Direct Expansion and Chilled Water)
Cooling is ACTIVATED when the temperature control calculates a requirement for cooling of 100%. It
is DEACTIVATED when the cooling requirement drops below 50%. Hot gas bypass is energized on
DX units when a call for cooling occurs unless there is also a call for dehumidification.
7.1.3 Heating Operation
Electric Heat or Hot Water
The reheat stage is ACTIVATED when the temperature control calculates a requirement of 100%.
Conversely, the reheat is DEACTIVATED when the heat requirement is 50% less than the activation
point.
SCR Electric Reheat
The SCR (Silicon Controlled Rectifier) controller proportionally controls the stainless steel reheat
feature to maintain the selected room temperature. The rapid cycling made possible by the SCR
controller provides precise temperature control, while the constant element temperature improves
heater life. During operation of the SCR control, THE COMPRESSOR OPERATES
CONTINUOUSLY. The heaters are modulated to provide temperature control. The display status
will show when the unit is cooling and heating. The control will automatically lock the compressor
cooling to “ON” position, except when the temperature falls below the low temperature alarm set
point. Cooling will then be disabled until the room temperature reaches the temperature set point.
7.2 Humidity Control
7.2.1 Dehumidification/Humidification Required
The humidity control is based on a calculated percentage requirement for dehumidification or
humidification (i.e., the difference between the return air humidity and the humidity set point). As
the return air humidity rises above the humidity set point, the percent dehumidification required
increases proportionally from 0 to 100% over a humidity band equal to the humidity sensitivity
setting. The converse is true for percent humidification requirement.
7.2.2 Dehumidification Operation, Compressorized Direct Expansion (DX) Systems
Dehumidification with the standard configuration is accomplished by operating the compressor
without the hot gas bypass active. Dehumidification will be disabled if the heating requirement
exceeds 125%. It is re-enabled when the heating requirement reaches 50%.
Table 22 Cooling and dehumidification load response of hot gas bypass
Situation Hot Gas Bypass
Cooling only ON
Dehumidification only OFF
Cooling with
Dehumidification
OFF

System Performance Microprocessor Controls
51 Liebert® Mini-Mate2™
7.2.3 Humidification Operation
The canister humidifier is activated when the humidity control calculates a requirement of 100%
humidification; and is deactivated when the humidification requirement falls below 50%.
7.3 Load Control Features
The control system monitors the compressor and prevents it from turning on within a 3 minute period
of being off. If this on-off-on cycle occurs too often (e.g., 10 times in one hour) a Short Cycle Alarm will
occur.
7.3.1 Communications
The control system uses a two-wire, RS-422 channel to communicate with Liebert Site Products via a
proprietary protocol. A converter board (ECA2) is available to allow communications with a “dumb”
terminal or a computer using RS-232 channel. More details are provided in the Site Products and
ECA2 User Manual.
The communications channel provides both monitoring and control options, including:
• TEMPERATURE/HUMIDITY: Current temperature and humidity readings.
• STATUS (%), Cooling/heating and humidify/dehumidify operating status.
• PRESENT ALARMS: Alarms currently activated.
• SET POINTS:
• Temperature Set point
• Temperature Sensitivity
• Humidity Set point
• Humidity Sensitivity
• High Temperature Alarm
• Low Temperature Alarm
• High Humidity Alarm
• Low Humidity Alarm
• ON/OFF STATUS and CONTROL
• SILENCE ALARM

Alarms
Liebert® Mini-Mate2™52
8.0 ALARMS
The microprocessor control system will audibly and visually signal all ENABLED Alarms (including
two (2) custom alarms). These special alarms can be chosen from the optional alarm list and/or can
have their own fully custom text. The custom alarm inputs are contact closures wired from terminal
TB1-1 through a normally open contact to either TB1-2 (alarm 1) or TB1-3 (alarm 2). The alarms can
be enabled or disabled (refer to 6.0 - Microprocessor Control) and a time delay of 0-255 seconds can
be set. The alarms can also be programmed to either sound the alarm & activate the common alarm
relay OR to sound the alarm only.
When a new alarm occurs, it is displayed on the screen and the audible alarm is activated. (If
communicating with a Liebert Site Product, the alarm is also transmitted.) The message “PRESS
ALARM SILENCE” will prompt the operator to silence the alarm. After the alarm is silenced, the
display will return to the Normal Status Display. Alarms can be reviewed by selecting the “ACTIVE
ALARMS” feature. The alarms can also be silenced through communications with a Liebert Site
Product unit.
Many alarms will reset automatically when the alarm condition is no longer represented and only
after it has been acknowledged by being “Silenced.” The exceptions are:
1. software alarms, i.e., Loss of Power and Short Cycle alarms will reset automatically 30 seconds
after being silenced or acknowledged
2. specific alarms monitoring overload or high pressure switches may require a manual reset
depending upon the model
8.1 Alarms: Definitions and Troubleshooting
The following list provides a definition and troubleshooting suggestions for each type of alarm. Refer
to 11.0 - Troubleshooting for additional details. If you need further assistance, contact your Liebert
supplier. THE CUSTOMER MUST SPECIFY ALARM(S) AT THE TIME OF ORDER. OTHER
DEVICES AND WIRING MAY BE REQUIRED AT THE FACTORY FOR SOME OF THE ALARMS.
8.1.1 Custom Alarms
Custom alarm(s) messages are programmed at the LCD display. The message displayed may be
included in a list of provided alarms or it may be customized text (for up to 2 alarms). IF
CUSTOMIZED TEXT IS USED, MAINTENANCE PERSONNEL SHOULD BE INFORMED OF THE
ALARM FUNCTION AND THE REQUIRED ACTION.
8.1.2 High Head Pressure
Compressor head pressure is monitored with a pressure-sensor switch. (One SPDT pressure switch is
used) for the compressor in the unit.
If head pressure exceeds 400 psig (2785 kPa), the switch opens the compressor contactor and sends an
input signal to the control. The high head pressure condition is acknowledged by pressing the Alarm
Silence button on the wall box, which will clear the alarm if the high head pressure condition no
longer exists. If the compressor is Off for 1 hour, the control goes into a special cold start mode. In the
cold start mode on a call for cooling or dehumidification, the liquid line solenoid valve (LLSV) is
energized. If the high pressure switch does NOT trip within 10 seconds, the control returns to normal
operation of monitoring the high head pressure switch for three occurrences in a 12 hour period. It is
a rolling timer, and after the third high head alarm occurs and is acknowledged by the user, it will
lock Off the compressor.
If while in the cold start mode, the high head pressure switch DOES trip within 10 seconds of the
activation of the LLSV, the control does not annunciate the alarm. The control will turn Off the LLSV
and delay 10 seconds. The control will permit this occurrence two more times or a total of three times.
If on the fourth try, the high head pressure switch trips within 10 seconds, the control will annunciate
the alarm, turn Off the LLSV, wait for the user to acknowledge the alarm and hold the compressor Off
for 3 minutes, the length of the normal short cycle control. The control will permit this occurrence
three times. On the third occurrence, the control will lock the compressor Off until the control power
is reset.

Alarms
53 Liebert® Mini-Mate2™
Air-Cooled Systems
Check for power shut Off to the condensing unit, condenser fans not working, defective head pressure
control valves, closed service valves, dirty condenser coils and crimped lines. Also, make sure that
when the compressor contactor is energized, the side switch on the contactor closes to energize the
control circuit on the condensing unit.
Water/Glycol/ Systems
Check water regulating valves. Verify water/glycol flow (i.e., pumps operating and service valves
open). Is water tower or drycooler operating? Is the coolant temperature entering the condenser at or
below design conditions? Is AUX relay (terminals 70 & 71) operating during cooling to turn on the
drycooler?
8.1.3 Humidity Level
The humidity level alarm may be activated under the following conditions:
•High: The room return air humidity exceeds the pre-set high humidity alarm set point. Is the
unit set up for dehumidification? Check DIP switch.
•Low: The room return air humidity decreases to the low humidity alarm set point. Is the unit
setup for humidification? Check DIP switch.
•High and Low Humidity (simultaneously): The simultaneous display of two alarms results in
loss of the humidity input signal. DASHES WILL BE DISPLAYED IN THE HUMIDITY
READING DISPLAY. Under these conditions, the control system deactivates both humidification
and dehumidification. Check for a disconnected cable or failed sensor.
8.1.4 Temperature
The temperature level alarm may be activated under the following conditions:
•High: The room return air temperature increases to the high temperature alarm set point. Check
for proper set point value. Is the room load more than the unit can handle (i.e., capacity too
small)? Make sure cooling components are operating (compressor or valves).
•Low: The room return air temperature decreases to the low temperature alarm set point. Check
for proper set point value. Make sure all heating components are operating (e.g., contactors,
reheats, etc.). Are reheats drawing the proper current (refer to amp rating on nameplate).
•High and Low (simultaneously): The simultaneous display of these two alarms results in loss
of the temperature input signal (or the humidity is out of sensor range-15 to 85% RH). Dashes will
be displayed for the temperature reading. The control system will initiate 100% cooling. Check for
a disconnected cable or a failed sensor.
8.1.5 Humidifier Problem Alarm
The Humidifier Problem Alarm will sound and display a message if any of the following humidifier
conditions occur: overcurrent detection; fill system fault or end of cylinder life.
Check fault indicator LED on humidifier control board:
• Constant LED on = Overcurrent
• 1 second LED Flash = Fill System
• 1/2 second LED Flash = Replace Tank
8.1.6 High Water Alarm
A float switch in the evaporator pan will shutdown the evaporator on a high water level. Clear the
drain and reset power to the unit in order to clear the alarm.
NOTE
Check for proper setpoints. Does the room have a vapor barrier to seal it from outdoor
humidity? Are doors or windows open to outside air?

Alarms
Liebert® Mini-Mate2™54
8.1.7 Loss of Power
The Loss of Power Alarm will activate (after power is restored to the unit) if the unit has lost power or
the disconnect switch was incorrectly turned off before the unit ON/OFF switch was pressed. A
Liebert remote monitoring unit (optional) will immediately indicate loss of power.
8.1.8 Short Cycle
A Short Cycle Alarm will occur if the compressor system has exceeded 10 cooling start attempts in a
one-hour period. This can be caused by low refrigerant level or room cooling load is small compared to
capacity of the unit. Check for leaks, crimped lines and defective components. If room load is low,
increase temperature sensitivity to reduce cycle.
8.2 Optional/Custom Alarms
8.2.1 Change Filter
Periodically, the return air filters in the evaporator must be changed. The Change Filter alarm
notifies the user that filter replacement is necessary. A differential air pressure switch closes when
the pressure drop across the filters becomes excessive. The switch is adjustable using the procedure
on the switch label.
8.2.2 High Temperature Sensor
The optional high temperature sensor is a bi-metal operated sensing device with a closed switch
under normal conditions. Connected between pins 1-8 and 1-9, this device will shut down the entire
unit.
8.2.3 Smoke Sensor
The optional smoke sensor constantly samples return air through a tube. Its power supply is located
in the electric panel. The smoke sensor shuts down the unit upon detecting smoke, and activates
visual and audible alarms. This smoke sensor is not intended to function as or replace any room
smoke detection system that may be required by local or national codes. Locate the source of the
smoke and follow appropriate emergency procedures.

System Operation, Testing and Maintenance
55 Liebert® Mini-Mate2™
9.0 SYSTEM OPERATION, TESTING AND MAINTENANCE
This section describes system testing, maintenance and replacement procedures. Use copies of the
Maintenance Inspection Checklist to record preventive maintenance inspections.
9.1 System Testing
9.1.1 Environmental Control Functions
The performance of all control circuits can be tested by changing the set points, which activates each
of the main functions.
9.1.2 Cooling
To test the cooling function, set the set point to a temperature of 10°F (5°C) below room temperature.
A call for cooling should register and prompt the equipment to begin cooling cycle. (Disregard any
temperature alarms). Upon completion of testing, return set point to the desired temperature.
9.1.3 Heating
Reheat may be tested by setting the set point 10°F (5°C) above room temperature. A call for heating
should register and prompt the equipment to begin heating cycle. (Disregard any temperature
alarms). Upon completion of testing, return set point to the desired temperature.
9.1.4 Humidification
To check humidification, set the humidity set point at R.H. 10% above the room humidity reading.
After a short delay, the canister will fill with water and steam will be produced. Upon completion of
testing, return the humidity set point to the desired humidity.
9.1.5 Dehumidification
The dehumidification performance can be tested by setting the humidity set point at R.H. 10% below
room relative humidity. The compressor should turn on. Upon completion of testing, return humidity
set point to the desired humidity.
9.1.6 Remote Shutdown
A connection point is provided for remote shutdown devices supplied by the customer. This terminal
strip is located on the printed circuit board. (Terminals TB1-4 and TB1-5 are fitted with a jumper
when no remote shutdown device is installed).
9.2 Maintenance and Component Operation
9.2.1 Electric Panel
The electric panel should be inspected on a semi-annual basis for any loose electrical connections.
9.2.2 Filters
Filters are usually the most neglected item in an environmental control system. In order to maintain
efficient operation, they should be checked monthly and changed as required. ALWAYS TURN
POWER OFF BEFORE REPLACING FILTERS.
Filters are replaced by opening the hinged door on the return air filter box.
!
WARNING
Risk of electric shock. Can cause injury or death.
Open all local and remote electric power disconnect switches before working within the
electrical enclosures.
The Liebert microprocessor control does not isolate power from the unit in the Unit Off mode.
Some internal components require and receive power even during the Unit Off mode. The line
side of the disconnect switch on the front of the unit contains live high voltage. The only way
to ensure that there is NO voltage inside the unit is to install and open a remote disconnect
switch and check the internal power supply wires with a voltmeter.

System Operation, Testing and Maintenance
Liebert® Mini-Mate2™56
9.2.3 Blower System
Monthly inspection of the blower package include: motor mounts, belts, fan bearings and impellers.
Fan impellers should be thoroughly inspected and any debris removed. Check to see if they are tightly
mounted on the fan shaft and do not rub against the fan housing during rotation. Motor bearings are
permanently sealed and self-lubricating and do NOT need lubricated.
The drive belt should be checked monthly for signs of wear and proper tension. Pressing on belts
midway between the sheave and pulley should produce from 1/2” to 1” (12 to 25 mm) of deflection.
Belts that are too tight can cause excessive bearing wear.
Belt tension can be adjusted by raising or lowering the fan motor base. Loosen nut above motor
mounting plate to remove belt. Turn nut below motor mounting plate to adjust belt tension. If belt
appears cracked or worn, it should be replaced with a matched belt (identically sized). With proper
care, a belt should last several years.
Air Distribution
Since all unit models are designed for constant volume air delivery, any unusual restrictions within
the air circuit must be avoided. High efficiency filters can reduce air performance and evaporator
capacity.
9.2.4 Blower Removal
If the blower or bearings must be removed or serviced, use the following procedure.
NOTICE
Risk of refrigerant and water/glycol piping damage. Can cause leaks that result in equipment
and building damage and loss of cooling.
Use caution and do not contact piping when removing the blower motor and blower sled.
1. Remove the main center section of the three-piece electric panel by first marking and
disconnecting all power and control wiring entering the panel.
2. Remove the panel by removing screws from top and bottom sections
3. Remove the blower motor from the blower sled.
4. Remove the four bolts holding the blower sled to the base isolators.
5. Slide the blower/sled assembly forward and rotate 90°.
6. Slide the blower/sled assembly from unit after ensuring that the refrigerant and water piping are
protected from damage.
7. Reinstall by reversing this procedure.
9.2.5 Refrigeration System
Each month the components of the refrigeration system should be inspected for proper function and
signs of wear. Since in most cases evidence of malfunction is present prior to component failure,
periodic inspections can be a major factor in the prevention of most system failures. Refrigerant lines
must be properly supported and not allowed to vibrate against ceilings, floors or the unit frame.
Inspect all refrigerant lines every six months for signs of wear and proper support. Inspect the
capillary and equalizer lines from the expansion valve.
Suction Pressure
Suction pressure will vary with load conditions. Suction pressure normally ranges from 58 psi to 75
psi (405 kPa to 517 kPa).
NOTE
After adjusting or changing the belt, always be certain that motor base nuts are tightened. The
bottom adjustment nut should be finger tight. The top locking nut should be tightened with a
wrench.

System Operation, Testing and Maintenance
57 Liebert® Mini-Mate2™
Discharge Pressure
The discharge pressure will vary greatly with load and ambient conditions (Table 23). The high-
pressure switch will shut the compressor down at its cut-out setting.
Thermostatic Expansion Valve
The thermostatic expansion valve keeps the evaporator supplied with enough refrigerant to satisfy
load conditions. Proper valve operation can be determined by measuring superheat level. If too little
refrigerant is being fed to the evaporator, then the superheat will be high. Conversely, if too much
refrigerant is being supplied, then the superheat will be low. The correct superheat setting is between
10 and 15°F (5.6 and 8.3°C).
Air-Cooled Condensing Units
Restricted airflow through the condenser coil will reduce the operating efficiency of the unit.
Additionally, it can result in high compressor head pressure and loss of cooling. Using compressed air
or commercial coil cleaner, clean the condenser coil of all debris that will inhibit airflow. In winter, do
not permit snow to accumulate around the side or underneath the condenser. At the same time check
for bent or damaged coil fins and repair as necessary. Check all refrigerant lines and capillaries for
vibration and support as necessary. Carefully inspect all refrigerant lines for signs of oil leaks.
Coaxial Condensers (Water/Glycol-Cooled Condensing Units)
Each water- or glycol-cooled condensing unit has a coaxial condenser consisting of an exterior steel
tube and an interior copper tube. If the water supply is clean, coaxial condensers do not normally
require maintenance or replacement. Should your system begin to operate at high head pressure with
reduced capacity and all other causes have been eliminated, the condenser may be obstructed or
fouled and should be replaced.
Regulating Valves (Water/Glycol Condensing Units)
The water regulating valve automatically regulate the amount of fluid necessary to remove the heat
from the refrigeration system, permitting more fluid to flow when load conditions are high and less
fluid to flow when load conditions are low.
The water regulating valve is designed to begin opening at 180 psi (1240 kPa) and to be fully opened
at 240 psi (1655 kPa). The valve is factory-set and should not need adjustment.
Glycol Solution Maintenance
It is difficult to establish a specific schedule of inhibitor maintenance since the rate of inhibitor
depletion depends upon local water conditions. Analysis of water samples at time of installation and
every six (6) months should help to establish a pattern of depletion. A visual inspection of the solution
and filter residue is often helpful in judging whether or not active corrosion is occurring. The
complexity of problems caused by water requires expert advice from a water treatment specialist plus
a regular maintenance program schedule. It is important to note that improper use of water
treatment chemicals can cause severe problems.
Proper inhibitor maintenance must be performed in order to prevent corrosion of the glycol system.
Consult your glycol manufacturer for proper testing and maintenance procedures. Do not mix
products from different manufacturers.
Table 23 Typical discharge pressure
System Design Discharge Pressure, psig (kPa)
Air-Cooled 200-300 (1380-2070)
Water-Cooled 65 to 85°F water
(18 to 29.4°C) 200-250 (1380-1725)
Glycol-Cooled 250-350 (1725-2415)
High-Pressure Cut-Out 400 (2760)

System Operation, Testing and Maintenance
Liebert® Mini-Mate2™58
Hot Gas Bypass
Operation
The hot gas bypass valve is installed between the compressor discharge piping and suction piping,
bypassing the condenser and evaporator coils. The discharge gas mixes with the suction gas, raising
the suction temperature and pressure and decreasing the mass flow through the evaporator. The
higher suction temperatures could cause compressor overheating, therefore a separate liquid
quenching valve is provided to mix refrigerant from the system liquid line with the discharge gas
before mixing with the suction gas entering the compressor.
During normal operation, when the evaporator is under full load the hot gas bypass equalizer
pressure will remain high enough to keep the valve port closed. If the evaporator load decreases, the
evaporator temperature and pressure will drop. When the suction pressure reduces below the hot gas
bypass valve setting the hot gas bypass valve opens diverting some of the refrigerant flow back to the
compressor suction. The liquid quenching valve bulb senses this increased superheat and opens,
allowing liquid refrigerant to mix with the discharge gas, desuperheating it.
Proper mixing of the three refrigerant paths ensures stable operation and system performance. The
liquid quenching valve bulb must be located downsteam of all these connections to control superheat
at the compressor inlet. Superheat settings for the liquid quenching valve are chosen to maintain
consistency with the system expansion valve. During hot gas bypass operation higher superheats, 50-
60°F (19 to 15°C), may be observed at the compressor. The liquid quenching valve is internally
equalized and superheat is not adjustable.
Adjustment
1. Install the suction and discharge pressure gauge.
2. Adjust temperature setpoint to call for cooling so that the refrigeration compressor will run
continuously.
3. Remove the TOP adjusting nut from the valve.
4. Insert an Allen wrench in the brass hole at top of valve in adjusting port and turn CLOCKWISE if
a higher evaporator temperature is required. Adjust no more than 1/4 turn at a time. Let the
system stabilize for 15 minutes before determining if additional adjustment is necessary.
5. After obtaining the suction pressure required, reinstall cap tightly making sure there are no
leaks.
6. Let the evaporator operate for approximately 10 to 15 minutes to make sure the suction pressure
is within the range desired.
7. There may be a fluctuation of approximately 3 to 6 PSIG (21 to 41 kPa) on the evaporator due to
the differential on the hot gas bypass.
8. Return temperature setpoint to the desired setting.
Figure 30 Hot gas bypass

System Operation, Testing and Maintenance
59 Liebert® Mini-Mate2™
9.3 Replacement Procedures
9.3.1 Compressor Replacement
Infrequently a fault in the motor insulation may result in a motor burnout (if system is properly
installed, motor burnout rarely occurs). Primarily this type of failure is due to mechanical or
lubrication problems, where the burnout is a secondary consequence.
Early detection can prevent a large percentage of the problems that can cause compressor failures.
Periodic maintenance inspections by alert service personnel (i.e., identification of abnormal
operation) can be a major factor in reducing maintenance costs. It is easier and more cost-effective to
implement the necessary preventative steps that ensure proper system operation; rather than ignore
a problem until it results in compressor failure and costly replacement. When troubleshooting a
compressor problem, check all electrical components for proper operation:
• Check all fuses and circuit breakers.
• Check pressure switch operation.
• If a compressor failure has occurred, determine whether its cause is an electrical or mechanical
problem.
Mechanical Failure
If you have determined that a mechanical failure has occurred, the compressor must be replaced. If a
burnout occurs, correct the problem and clean the system. It is important to note that successive
burnouts OF THE SAME SYSTEM are usually caused by improper cleaning. If a severe burnout has
occurred, the oil will be black and acidic.
9.3.2 Electrical Failure
In the event of an electrical failure and subsequent burnout of the refrigeration compressor motor,
proper procedures must be followed to thoroughly remove any acids that would cause a future failure.
There are two kits that can be used with a complete compressor burnout - Sporlan System Cleaner
and Alco Dri-Kleener. Follow the manufacturer's procedure. DAMAGE TO A REPLACEMENT
COMPRESSOR DUE TO IMPROPER SYSTEM CLEANING CONSTITUTES ABUSE UNDER THE
TERMS OF THE WARRANTY, THEREBY VOIDING THE WARRANTY
Replacement compressors are available from your Emerson supplier and will be shipped to the job
site in a reusable crate (as required by the service contractor). If the compressor is under warranty, it
must be returned to Emerson, in order to receive proper warranty credit. It should be returned in the
same container it was shipped in. The possible cause(s) or condition(s) of the damage should be
recorded on the provided return tag.
!
WARNING
Risk of explosive discharge from high-pressure refrigerant. Can cause injury or death.
This unit contains fluids and gases under high pressure. Relieve pressure before working with
piping.
!
CAUTION
Risk of contacting caustic substances. Can cause injury.
Do not touch or contact the gas or oils with exposed skin. Severe burns will result. Wear
protective clothing, safety goggles and long rubber gloves when handling contaminated parts.

System Operation, Testing and Maintenance
Liebert® Mini-Mate2™60
Replace a Failed Compressor
Proper procedures to remove and replace the failed compressor are:
1. Disconnect power
2. Attach suction and discharge gauges to access fittings.
3. Recover refrigerant using standard recovery procedures and equipment. Use a filter-drier when
charging the system with recovered refrigerant.
4. Remove failed compressor.
5. Install replacement compressor and make all connections. Use a flow of dry nitrogen through the
piping during brazing to prevent formation of copper oxide scale inside the piping. Copper oxide
forms when copper is heated in the presence of air. POE oil will dissolve these oxides from inside
the copper pipes and deposit them throughout the system, clogging filter driers and affecting
other system components.
A pure dry nitrogen flow of 1-3 ft3/min (0.5-1.5 l/s) inside the pipe during brazing is sufficient to
displace the air. Control the flow using a suitable metering device.Pressurize and leak test the
system at approximately 150 psig (1034kPa) pressure.
6. Follow manufacturer's instructions for clean out kits.
7. Evacuate the system twice to 250 microns. Break the vacuum each time with clean, dry nitrogen.
8. Evacuate the system a third time to 250 microns.
9. Charge the system with refrigerant (R-407C) based on requirements of the evaporator,
condensing unit and lines. Refer to the unit nameplate.
10. Apply power and operate the system. Check for proper operation. Refer to Table 23.
NOTE
Release of refrigerant to the atmosphere is harmful to the environment and unlawful.
Refrigerant must be recycled or discarded in accordance with federal, state and local
regulations.

System Operation, Testing and Maintenance
61 Liebert® Mini-Mate2™
9.3.3 Steam Generating Humidifier-Operation Procedures
Steam generating humidifiers operate efficiently over a wide range of water quality conditions and
automatically adjust to changes in the conductivity of water. The system will automatically drain and
refill to maintain a current set point and alert the operator when the humidifier canister needs to be
replaced.
The humidifier RUN/DRAIN switch is located in the humidifier assembly. This switch should be in
the RUN position when the humidifier is in normal operation and in the DRAIN position during
service. The electronic control board for the humidifier is also located in the humidifier assembly.
When the unit is energized, power is available to humidifier. Operation involves the following steps:
1. During start-up, when the humidity control calls for humidification, the fill valve will open,
allowing water to enter the canister. When the water level reaches the electrodes, current flows
and the water will begin to warm. The canister fills until the amperage reaches the set point and
the fill valve closes. As the water warms, its conductivity increases and the current flow, in turn,
rises. If the amperage reaches 115% of the normal operating amperage, the drain valve opens and
flushes some of the water out of the canister. This reduces electrode contact with the water and
lowers the current flow to the amperage set point. Boiling soon commences and the canister
operates normally.
2. If the conductivity of the water is low, the canister fills and the water level reaches the canister
full electrode before the amperage set point is reached. The humidifier stops filling to prevent
overflow. Boiling should commence in time. As water is boiled off, the mineral concentration in
the canister increases and current flow also increases. The canister eventually reaches full output
and goes to normal operation. No drain is permitted until then.
3. When full output is reached the circuit board starts a time cycle which is factory-set at 60 seconds.
During this repeating time cycle, the fill valve will open periodically to replenish the water being
boiled off and maintain a “steady state” output at the set point. The amperage variance will
depend on the conductivity of the water.
4. After a period of time, the mineral concentration in the canister becomes too high. When this
occurs, the water boils too quickly. As the water quickly boils off and less of the electrode is
exposed, the current flow decreases. When the current crosses the low threshold point (factory-set
at 85%) before the end of the time cycle, the drain valve opens, draining the mineral laden water
out and replacing it with fresh water. This lowers the mineral concentration and returns the
canister to “steady state” operation and prolongs canister life. The frequency of drains depends on
water conductivity.
5. Over a period of time, the electrode surface will become coated with a layer of insulating material,
which causes a drop in current flow. As this happens, the water level in the canister will slowly
rise exposing new electrode surface to the water to maintain normal output. Eventually, the
steady state water level will reach the canister full electrode and indicate so by activating the
canister full alarm. At this point, all of electrode surface has been used up and the canister should
be replaced.
6. After the entire electrode surface has been coated, the output will slowly decrease. This allows for
maintenance scheduling. During these last hours of electrode life, the mineral concentration can
increase and arcing can occur. If the electrodes start to arc, turn off the humidifier immediately
and replace the canister with the identical part.

System Operation, Testing and Maintenance
Liebert® Mini-Mate2™62
Replacing the Humidifier Canister
The proper procedure to replace the humidifier canister is:
1. Turn off the humidifier by lowering the humidity setpoint below the ambient humidity level.
Record the original setpoint.
2. Place the RUN/DRAIN switch in the DRAIN position to drain the water from the canister.
3. Return the RUN/DRAIN switch to the RUN position after the canister has drained.
4. Turn OFF the power at the main unit.
5. Remove the cover from the humidifier cabinet.
6. Locate the power wires to the steam canister. They are connected to the canister with 1/4" quick
connects. Make note of the wiring configuration before removing any wires. Refer to schematic on
unit. Slide the rubber boot back to expose the connections. Remove the two (2) power wires and
the canister-full wire. Do not loosen the screws that secure the electrodes.
7. Loosen the steam outlet hose clamps and slide the steam hose away from the canister fitting.
Release the canister clamp along the base of the canister.
8. Remove the canister.
9. Reverse previous steps to re-assemble humidifier, paying special attention to the following:
• When replacing the wiring, connect the red wire from terminal #1 on the interface to the red tip
terminal on the canister. Reconnect the power wires as before (#2 on the left and #1 on the right)
• When replacing the canister, always check the fill and drain solenoids for proper operation.
9.3.4 Humidifier Circuit Board Adjustments
The humidifier control board governs humidifier operation. There are three potentiometers mounted
on the board and can be used to adjust for extreme water conductivity conditions.
POT2 controls the amperage at which the drain will energize and is clearly marked in percentages.
This adjustment is factory-set at 85%, which indicates that the unit will drain when the amperage
falls off to 85% of the capacity set point. Raising the value increases the frequency of drain cycles.
Lowering the value decreases the frequency of drain cycles.
The frequency should be increased for highly conductive water and decreased for less conductive
water. If adjustment is necessary and a change of three to four percent in either direction does not
permit normal operation of the unit, consult your Liebert supplier.
The POT1 controls the duration of the drain cycle. This adjustment is factory-set at 60 seconds
(1 VDC) and should not be readjusted without consulting your Liebert supplier.
The DIP switch settings are used to set the capacity of the humidifier. If the humidifier is replaced in
the field the DIP switches should be set to the required settings described below.
!
CAUTION
Risk of contact with extremely hot surfaces. Can cause injury.
Canister and steam hose may be hot. Do not attempt to replace parts until the humidifier has
cooled down to a temperature that is safe for human contact. Use extreme caution and wear
thermally insulated gloves and arm protection when replacing the humidifier canister.
!
WARNING
Risk of electric shock. Can cause injury or death.
Open all local and remote electric power disconnect switches before working on the humidifier
printed circuit board.
Verify that electric power is Off with a voltmeter prior to the procedure.
Table 24 Humidifier control board DIP switch settings
Voltage SW1 SW2 SW3 SW4 Amps
208 On On On Off 8.9
240 Off On On Off 8.5
380/415 Off Off Off Off 5.2
460 On On On Off 4.5
575 On On Off Off 3.4

Maintenance Inspection Checklist
63 Liebert® Mini-Mate2™
10.0 MAINTENANCE INSPECTION CHECKLIST
Liebert Mini-Mate2
Signature:________________________________________________________________
Make photocopies of this form for your records
Date:____________________________________ Prepared By:____________________________________
Model #:_________________________________ Serial Number:__________________________________
NOTE
Reheat element sheaths and fins are manufactured with stainless steel. Regular inspections
are necessary to assure proper cleanliness of the reheating element. Should inspection reveal
corrosion particles on the reheating element or adjoining surfaces (including ducts and
plenums), appropriate cleaning should be performed. Periodic reheating element replacement
may be required to meet specific application requirements.
Monthly
Filters
___ 1. Check for restricted airflow
___ 2. Check for filter
___ 3. Wipe section clean
Fan Section
___ 1. Impellers free of debris and
move freely
___ 2. Bearings in good condition
___ 3. Check belt tension and
condition
Humidifier
___ 1. Check canister for mineral deposits
___ 2. Check condition of electrodes
___ 3. All hoses and fittings tight
___ 4. Check water make-up valve for leaks
Drain lines
___ 1. Check for obstructions and sediment
buildup.
___ 2. Check for damage and/or corrosion.
___ 3. Check for leaks
Semiannually
Compressor Section
___ 1. Signs of oil leaks
___ 2. Vibration isolation
Refrigeration Cycle
___ 1. Suction pressure
___ 2. Head pressure
___ 3. Superheat
___ 4. Evaporator coil clean
___ 5. Insulation intact
Air-Cooled Condensing Unit (if
applicable)
___ 1. Condenser coil clean
___ 2. Motor mount tight
___ 3. Refrigerant lines properly
supported
Flood Back Head Pressure Control
___ 1. Check refrigerant level
Water- or Glycol-Cooled Condensing Unit
___ 1. Water valve adjustment
___ 2. Water flow
___ 3. Water leaks
Glycol Pump (if applicable)
___ 1. Glycol leaks
___ 2. Pump operation
___ 3. Glycol solution
___ 4. pH level
Electric Panel
___ 1. Check electrical connections
___ 2. Operational sequence
Electric Reheat
1. Check element for corrosion

Troubleshooting
Liebert® Mini-Mate2™64
11.0 TROUBLESHOOTING
Table 25 Troubleshooting
Symptom Possible Cause Check Or Remedy
Unit will not start
No power to unit Check voltage at input terminal block.
Control voltage circuit breaker (at
transformer) open Locate short and reset circuit breaker.
Float switch relay closed
because of high water in the
condensate pan
Has rubber band been removed from float switch? Check drain
and line. Access through left panel. Power must be cycled at the
disconnect to reset.
Jumper not in place
Check terminal TB1-4 and TB1-5 for jumper or N/C contact.
Check pins 1-8 and 1-9 for jumper or N/C high temperature
sensor contact. Check pins 5-4 and 5-5 for jumper or N/C smoke
sensor contact.
No cooling
Cooling not displayed at the
control panel Adjust TEMP control set point and sensitivity to require cooling.
Short cycle prevention control Control software delays compressor 3 minutes cooling, from stop
to start
Compressor contactor not pulling
in
Check for 24 VAC ± 2 VAC at terminals P4-8 and P4-4. If voltage,
check contactor. If no voltage at P4-8 and P4-4, check at
terminals P2-3 and P2-8. If voltage, check freeze stat.
Compressor high head pressure See below for cause.
Plugged filter/dryer Replace filter/dryer
Low refrigerant charge
Check pressure gauges. At low ambient temperatures, proper
refrigerant charge is very important on units with Lee-Temp
receivers.
Compressor high
head pressure
Insufficient air flow across
condenser coil Remove debris from coil and air inlets.
Water/Glycol Cooled only: No
fluid flowing through condenser Check fluid supply to regulating valve. Adjust valve if necessary.
Condenser fan not operating Check fan operation.
Humidifier does
not operate
DIP switch not set to enable
humidifier option See DIP switch settings Table 24.
“HUMIDIFY” not displayed at
control panel
Increase humidity control set point and sensitivity to require
humidification.
Defective board
Check voltage at P3-1 and P1-9 on interface board for 24 VAC
± 2 VAC. If no voltage, check wiring and/or replace board. Check
wiring from control panel to board.
Failed humidity sensor
Humidity display will indicate dashes. Check wiring from
temperature/humidity board to the control board and from the
wall box to the control board. Replace wallbox or
temperature/humidity circuit board (if remote).
No water flow
Make sure switch is in Run position. Check humidifier water
supply (including filter screen) and check nylon overflow line if
canister is full.
Canister fill rate is not keeping up
with the steam output
Check fill valve screen opening and capillary tube for
obstructions. Check water supply pressure (minimum 10 PSIG).
Reheat will not
operate
DIP switch not set to enable
reheat option See DIP switch settings Table 24.
HEAT not displayed at the
control panel Increase temperature set point to require heating.
Reheat safety open, defective
reheat contact or defective board
Check voltage at P2-1 and P1-9 on interface board for 24 VAC ±
2 VAC. If voltage, check reheat contactor and reheat safety. If no
voltage, check wiring and/or replace board.
Element is burned out Turn off power. Check element continuity with an Ohmmeter.

Troubleshooting
65 Liebert® Mini-Mate2™
Cooling cycle too
short Sensor response delay too short Increase sensor response delay. See 6.11 - Calibrate Sensors.
Display freezes
and control pads
do not respond
Static discharge
During period of low humidity, static electricity can cause the
control program to freeze or display incorrect information.
Although this is unlikely, the control can be reset by cycling
power from the disconnect switch.
Condensate
pump does not
operate
Open or short circuit in wiring Find open or short circuit and repair power to pump.
Continuous
Cooling Failed temperature sensor
Temperature display will indicate dashes. Check wiring from
temperature/humidity board (remote sensors) to the control
board or from control board to wallbox. Replace
temperature/humidity circuit board (remote sensors) or wallbox.
Continuous
Heating
Dehumidification
Humidification
Shorted wiring or failed control
board Check wiring and/or replace control board.
Display Problem Incorrect wiring
Review 5.4.4 - Electrical Connections. Verify VDC between 5
to 6 Volts at TB-3 Pin 1 (Ground) and TB-3 Pin 2 of the control
board and wall box. If the transmit lines (TB-3 Pin 3 & 4) are not
connected, only the POWER LED will be lit. It will flash once
every 10-12 sec. If T- is connected, but not T+, TX1 will flash
approximately every 2-3 sec. And the POWER LED will flash
once every 10-12 sec. If T+ and T- are reversed, the POWER
LED and RX1 Will be lit and flash every 10-12 sec.
NOTE: Erratic operation of the unit could occur. If no LED is lit,
there is no power or the +5VDC polarity is reversed. If any of
these conditions occur, remove power from the evaporator using
the disconnect switch, and correct wiring from the control board
to the wall box.
NOTE: It may take up to 20 seconds for the display to appear on
the wall box LCD after power is applied.
Table 25 Troubleshooting
Symptom Possible Cause Check Or Remedy

Ensuring The High Availability
Of Mission-Critical Data And Applications.
Emerson Network Power, a business of Emerson (NYSE:EMR),
is the global leader in enabling Business-Critical Continuity
™
from grid to chip for telecommunication networks, data centers,
health care and industrial facilities. Emerson Network Power
provides innovative solutions and expertise in areas including
AC and DC power and precision cooling systems, embedded
computing and power, integrated racks and enclosures,
power switching and controls, infrastructure management,
and connectivity. All solutions are supported globally by local
Emerson Network Power service technicians. Liebert AC power,
precision cooling and monitoring products and services
from Emerson Network Power deliver Efficiency Without
Compromise
™
by helping customers optimize their data center
infrastructure to reduce costs and deliver high availability.
While every precaution has been taken to ensure the accuracy
and completeness of this literature, Liebert Corporation assumes no
responsibility and disclaims all liability for damages resulting from use of
this information or for any errors or omissions.
© 2009 Liebert Corporation
All rights reserved throughout the world. Specifications subject to change
without notice.
® Liebert is a registered trademark of Liebert Corporation.
All names referred to are trademarks
or registered trademarks of their respective owners.
Technical Support / Service
Web Site
www.liebert.com
Monitoring
liebert.monitoring@emerson.com
800-222-5877
Outside North America: +00800 1155 4499
Single-Phase UPS & Server Cabinets
liebert.upstech@emerson.com
800-222-5877
Outside North America: +00800 1155 4499
Three-Phase UPS & Power Systems
800-543-2378
Outside North America: 614-841-6598
Environmental Systems
800-543-2778
Outside the United States: 614-888-0246
Locations
United States
1050 Dearborn Drive
P.O. Box 29186
Columbus, OH 43229
Europe
Via Leonardo Da Vinci 8
Zona Industriale Tognana
35028 Piove Di Sacco (PD) Italy
+39 049 9719 111
Fax: +39 049 5841 257
Asia
29/F, The Orient Square Building
F. Ortigas Jr. Road, Ortigas Center
Pasig City 1605
Philippines
+63 2 687 6615
Fax: +63 2 730 9572
Emerson Network Power.
The global leader in enabling Business-Critical Continuity™
EmersonNetworkPower.com
Emerson, Business-Critical Continuity, Emerson Network Power and the Emerson Network Power logo are trademarks of Emerson Electric Co. or one of its affiliated companies.
©2009 Emerson Electric Co.
AC Power
Connectivity
DC Power
Embedded Computing
Embedded Power
Infrastructure Management & Monitoring
Outside Plant
Power Switching & Controls
Precision Cooling
Racks & Integrated Cabinets
Services
Surge Protection
SL-10532_REV3_02-13