Emerson Type 92B Self Powered Control Valve Data Sheet
2015-03-30
: Emerson Emerson-Type-92B-Self-Powered-Control-Valve-Data-Sheet-681409 emerson-type-92b-self-powered-control-valve-data-sheet-681409 emerson pdf
Open the PDF directly: View PDF
.
Page Count: 16

Bulletin 71.2:92B
September 2014
D101342X012
www.fisherregulators.com
Type 92B Pressure Reducing Valve
Figure 1. Type 92B Pressure Reducing Valve
W8264

Bulletin 71.2:92B
2
The Type 92B Pressure Reducing Valve is the standard steam valve for industry. The Type 92B is designed to
provide decades of continuous service. It can withstand dirty operating environments while providing accurate and
stable pressure control. The Type 92B is applied as a main Pressure Reducing Valve in industrial process heating
applications such as heat exchangers, evaporators, digesters and reactors. Commercial applications include
Pressure Reducing Valves for meter runs found in district energy systems, hot water heat exchangers, absorption
chillers and boiler deaerator tanks.
The Type 92B is rated for inlet pressure up to 300 psig / 20.7 bar and inlet temperatures to
600°F / 316°C. Maximum controlled outlet pressure is 250 psig / 17.2 bar. A large
actuator and heavy main spring ensures high accuracy and stability over its entire
steam flow range.
A safety override pilot is available for the Type 92B pressure reducing valve.
The Type 92B pilot is used in a series installation with the Type 6492HM safety
override pilot installed on the upstream valve. The Type 6492HM safety override
pilot senses pressure downstream of the second valve and prevents pressure from
rising above safe operating pressure in the event the downstream valve fails. This
system is approved by ASME B31.1-1989, 122.14.2.A and can replace an ASME
safety valve when vent piping is not practical and upstream steam pressure does
not exceed 400 psig / 27.6 bar. Local codes and standards may require approval
by an appropriate authority prior to installation.
W1322-3A
Figure 2. Typical Type 92B Construction
Two-ply
construction and dual flex points increases cycle
life compared to conventional designs. Stainless
steel material ensures satisfactory operation at
high steam temperatures.
Valve seats are individually
lapped for tight shutoff. Beveled seats ensure
easy in-line lapping. Plug and valve seats are
constructed of hardened stainless steel which
reduces wire drawing in wet steam applications.
NPT, CL125 FF,
CL150 RF, CL250 RF and CL300 RF end
connections are ANSI standard face-to-face
dimensions. The Type 92B main valve is also
available with PN 16/25/40 RF end connections.
Pilot bellows reduces
sticking from scale build-up due to boiler carryover.
Inconel® is a mark owned by Special Metals Corporation.
Plugging from
scale and rust is reduced as
condensate will not pool in
critical areas.
Downstream
pressure registers under main
valve and pilot diaphragms
improving response time.
Top and
bottom seat guides with Inconel®
bushings eliminate lateral plug
instability and premature stem wear.

Bulletin 71.2:92B
3
Figure 2. Typical Type 92B Construction

Bulletin 71.2:92B
4
This section lists the specications for the Type 92B Pressure Reducing Valve. The following information is
stamped on the nameplate of Type 92B: Type Number, Maximum Outlet Pressure, Maximum Inlet Pressure and
Maximum Temperature.
Pilot-operated globe-style pressure reducing valve
with post guiding and flow-to-close valve plug action.
See Table 1
(1)
See Table 3
(1)
20 psig / 1.4 bar with Stainless steel spring;
10 psig / 0.69 bar with Inconel® spring
150 psig / 10.3 bar or body rating limits,
whichever is lower
300 psig / 20.7 bar or body
rating limits, whichever is lower
(1)
See Table 2
See Table 5
See Table 6
External
(1)
See Table 3
1/4 NPT
3/8 NPT
1/2 NPT
See Table 7
Body, Bottom Flange, Diaphragm Case and
Diaphragm Plate: Cast iron, WCC Steel or CF8M
Stainless steel
Bottom Flange Gasket: Cast iron: Composition;
Steel/Stainless steel: Graphite
Diaphragms: Stainless steel
Valve Plug: 410 or 416 Stainless steel
Seat Ring: 416 Stainless steel ,
316 Stainless steel (seal weld option)
Valve Plug Guide Bushing: 17-4PH Stainless steel
Spring: 17-7PH Stainless steel or Inconel®
Bleed Orice Fitting: 416 Stainless steel
Pipe Fittings: Steel or Stainless steel
Cast iron: Copper tubing and brass ttings
Steel Body: Stainless steel tubing and corrosion
resistant steel ttings
Stainless steel Body: Stainless steel tubing
and ttings
Body and Spring Case: Cast iron, WCC steel,
CF8M Stainless steel
Diaphragm Plate Assembly: Aluminum, Steel and
Stainless steel
Diaphragm Gasket: Cast iron: Composition;
Steel/Stainless steel: Graphite
Diaphragm, Valve Guide, and Valve Spring:
Stainless steel
Valve Stem and Orice: 416 Stainless steel
Bellows and Bellows Retainer: Bronze
or 321 Stainless steel (high temperature/Stainless
steel pilot construction)
Spring: Steel for standard spring and Stainless
steel for high temperature spring
Upper Spring Seat: Plated steel for standard
construction and Stainless steel for high
temperature spring
Lower Spring Seat: Aluminum or Carbon steel
Screen: 304 Stainless steel
Check Valve Assembly: Stainless steel internal
with copper housing or all Stainless steel
1. The pressure/temperature limits in this Bulletin or any applicable standard limitation should not be exceeded.
Inconel® is a mark owned by Special Metals Corporation.

Bulletin 71.2:92B
5
Table 1. Body Sizes and End Connection Styles
Table 2. Outlet Pressure Ranges
Table 3. Maximum Inlet Pressures and Temperatures
Table 4. Minimum Differential Pressures for Safety Override System
1 / 25 NPT NPT, SWE(1), CL150 RF, CL300 RF
and PN 16/25/40 RF
1-1/2 and 2 / 40 and 50 NPT, CL125 FF and CL250 RF
3 and 4 / 80 and 100 CL125 FF and CL250 RF CL150 RF, CL300 RF, PN 16 RF and PN 25/40 RF
1. Available in steel bodies only.
psig
Low-Pressure
2 to 6
5 to 15
13 to 25
0.14 to 0.41
0.34 to 1.0
0.90 to 1.7
0.207
0.234
0.283
5.26
5.94
7.19
2.50
2.62
2.44
63.5
66.5
62.0
1E395627022
1D7455T0012
1E395727192
Yellow
Green
Black
High-Pressure
15 to 30
25 to 75
70 to 150
1.0 to 2.1
1.7 to 5.2
4.8 to 10.3
0.207
0.234
0.281
5.26
5.94
7.14
2.50
2.62
2.44
63.5
66.5
62.0
1E395627022
1D7455T0012
1E395727192
Yellow
Green
Black
High Temperature 15 to 100
80 to 250
1.0 to 6.9
5.5 to 17.2
0.282
0.375
7.16
9.53
2.50
2.50
63.5
63.5
14B9943X012
14B9942X022
Unpainted
Unpainted
psig
Cast iron
NPT 250 17.2 406 208
CL125 FF 125 8.6 353 178
CL250 RF 250 17.2 406 208
Steel
NPT 300 20.7 450 232
SWE 300 20.7 450 232
CL150 RF 185 12.8 450 232
CL300 RF 300 20.7 600 316(1)
PN 16/25/40 RF (NPS 1, 1-1/2, 2 and 3 / DN 25, 40, 50 and 80) 300 20.7 600 316(1)
PN 16 RF (NPS 4 / DN 100) 185 12.8 450 232
PN 25/40 RF (NPS 4 / DN 100) 300 20.7 600 316(1)
Stainless steel
NPT 300 20.7 450 232
CL150 RF 175 12.1 450 232
CL300 RF 300 20.7 600 316(1)
PN 16/25/40 RF (NPS 1, 1-1/2, 2 and 3 / DN 25, 40, 50 and 80) 300 20.7 600 316(1)
PN 16 RF (NPS 4 / DN 100) 175 12.1 450 232
PN 25/40 RF (NPS 4 / DN 100) 300 20.7 600 316(1)
1. 450°F / 232°C with standard seat ring, 600°F / 316°C with seal weld option.
psig
6492HM
10 to 30 0.69 to 2.1 Yellow 10 psig / 0.69 bar over normal downstream pressure
25 to 75 1.7 to 5.2 Green 10 psig / 0.69 bar over normal downstream pressure
70 to 150 4.8 to 10.3 Black 15 psig / 1.0 bar over normal downstream pressure
6492HTM 15 to 100 1.0 to 6.9 Unpainted 10 psig / 0.69 bar over normal downstream pressure
80 to 250 5.5 to 17.2 Unpainted 25 psig / 1.7 bar over normal downstream pressure

Bulletin 71.2:92B
6
Figure 3. Type 92B Operational Schematic
Refer to Figure 3. Compression of the pilot spring
pushes diaphragm down and holds pilot valve plug
open. Outlet pressure is changed by varying the
amount of pilot spring compression.
When steam enters the inlet of the valve, it also enters
the pilot supply line and flows through the open pilot
valve to the top of the main diaphragm. The force
created by this steam pressure on the diaphragm
overcomes the force of the main valve spring opening
the valve plug and allowing steam to flow downstream.
Downstream pressure registers under the main
diaphragm through the control line and tends to
balance the diaphragm. Steam from the downstream
system also registers under the pilot diaphragm
through line. Pressure forces the diaphragm upward,
permitting the pilot valve plug to move toward the
closed position. Flow of steam to the top of the main
diaphragm is thereby reduced and the pressure on
main diaphragm drops due to the bleed through the
orice. The main valve moves toward the closed
position, allowing only enough steam flow to satisfy
downstream requirements.
When steam demand increases, the downstream
pressure decreases below the setting of the pilot
spring. The pilot opens to increase the pressure on the
main diaphragm. The main valve opens to increase
the flow downstream. Conversely, if the steam demand
decreases, the downstream pressure increases and
the pilot reacts to decrease the pressure on top of
the main diaphragm. The main valve throttles toward
the closed position and the steam flow decreases.
Thus, through the combination of pilot and main valve
operation, control of the downstream steam pressure
is maintained.
An internal check valve is included in all Type 92B
pilots to limit differential pressure on the main valve
diaphragm. In the event of a large decrease in
downstream pressure, the check valve opens to
relieve diaphragm loading pressure to the downstream
system. The check valve cartridge assembly has a
factory setting to limit differential pressure across the
diaphragm to approximately 40 psid / 2.8 bar d. If
diaphragm differential pressure reaches approximately
40 psid / 2.8 bar d, the check valve opens to relieve
diaphragm loading pressure into the downstream
CONTROL
LINE
MAIN VALVE
DIAPHRAGM
VALV E
PLUG
MAIN VALVE SPRING
ORIFICE PILOT CONTROL LINE
PILOT SUPPLY LINE
PILOT
VALV E
PLUG
PILOT
DIAPHRAGM
PILOT SPRING
INLET PRESSURE
OUTLET PRESSURE
ATMOSPHERIC PRESSURE
LOADING PRESSURE
E0672

Bulletin 71.2:92B
7
system, thereby preventing a high differential
across the diaphragm which might otherwise cause
diaphragm damage. The check valve closes and
normal operation resumes when the differential
pressure across the diaphragm is reduced to the
proper level.
Refer to Figure 4. Once placed in operation, the upstream
Type 92B pilot (B) senses the intermediate pressure
between both valves and the Type 6492HM (A) pilot
senses pressure downstream of the second valve. As
demand for flow increases, intermediate pressure will
fall causing the Type 92B pilot to open. As the Type 92B
pilot opens, loading pressure to the main valve increases,
opening the main valve.
The Type 6492HM (A) safety override pilot remains
open because its setpoint is above the setpoint of
the downstream valve. In the unlikely event that the
downstream valve fails open, downstream pressure
will rise above the downstream valve’s setpoint. This
pressure is sensed by the Type 6492HM (A) safety
override pilot. As downstream pressure increases
the Type 6492HM (A) safety override pilot closes,
reducing loading pressure to the upstream main valve,
which positions the main valve to maintain desired
downstream override pressure.
In the event that the upstream valve fails, the
downstream valve will prevent downstream pressure
from rising above safe operating levels.
It is recommended to install some type of warning
system, such as a sentinel relief valve, to warn the
operator that a valve has failed in the system. This
will prevent prolonged operation with one valve, which
could cause valve trim wear and noise associated with
operation at high differential pressures.
E0794
Figure 4. Safety Override System Schematic

Bulletin 71.2:92B
8
Installation of the Type 92B is dependent on the
application. As a minimum, a typical steam pressure
reducing station must include a 3-valve bypass, inlet drip
leg, inlet strainer (and steam separator if required) and
relief valve per ASME Section VIII code. A safety override
pressure reducing station can be installed in the event
a relief valve is not practical as per ASME B16.122.14
standards, subject to local codes and regulations.
The Type 92B regulators are intended to be installed
with their diaphragm case above the pipeline so that
condensate will not collect in the cases. In order to
obtain the performance given in this bulletin, connect
the downstream end of the control line into a straight
run of pipe. The connection should be located at
least 6 pipe diameters from the valve body outlet in
an unswaged pipeline or 10 pipe diameters from the
swage in a swaged pipeline.
The Type 92B pilot should also be installed with the
adjusting screw pointing up and the control line should
be sloped with a downward pitch to ensure drainage of
condensate. The body should be installed so the flow
is in the same direction as the arrow on the body.
Note that the Type 92B pilot may be installed on either
side of the body.
Overpressure protection is required when piping
and components downstream of a steam regulating
valve have a maximum allowable working pressure
(MAWP) that is lower than the upstream supply
pressure to the regulating valve. In some cases,
the regulating valve itself may have a lower outlet
pressure rating than its inlet pressure rating, which
will require overpressure protection.
Governing codes and standards dene the type
and design of overpressure protection. When full
flow relief valves are specied, they must relieve a
maximum specied flow at a pressure not to exceed
that specied by applicable codes. In North America,
the governing code for most steam regulating valve
installations is ASME Boiler Code, Section VIII, which
may be amended by local codes or variances.
The issue in sizing stream relief valves is quantifying
its maximum flow rate. Maximum flow conditions may
occur under many conditions, so the entire steam
system must be analyzed to make sure the maximum
relief valve flow is accurate. Failure to do so may
cause overpressure.
In applications where it is determined that the steam
regulating valve creates maximum flow to the relief
valve, several issues must be resolved prior to
quantifying the flow to the relief valve.
1. There must be general agreement on the failure
mode of the regulating valve. The Emerson
Process Management Regulator Technologies,
Inc. (Emerson™) provides wide-open regulating
coefcients to assist with sizing steam relief
valves. The coefcients assume that the valve
plug is at maximum travel and still in its normal
orientation. Contact your local Sales Ofce prior
to relief valve sizing in the event that there is
disagreement with the mode of failure.
2. Maximum steam flow must be calculated at the
pressure obtained at the relief valve’s full-open
condition. This pressure is typically larger than a
relief valve’s set pressure. This pressure must be
used as the outlet pressure of the steam regulating
valve when calculating the maximum flow through
the regulating valve.
3. Maximum steam flow should be calculated from
the manufacturer’s recommended procedure. The
Emerson recommends using either the Fisher®
steam sizing equation or IEC sizing procedure.

Bulletin 71.2:92B
9
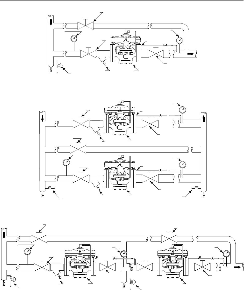
E0706
E0707
E0708
Figure 5. Type 92B Typical Installations

Bulletin 71.2:92B
10
Figure 6. Safety Override System Installation
psig
psig
psig psig
Determine the maximum valve flow capacity at
wide-open failure.
Qmax(lb/hr) =CSP13417 ΔP
SIN DEG
1 + 0.00065 Tsh C1P1
where:
Q = Steam flow rate, lb/hr
P1 = Absolute inlet pressure, psia (P1 gauge + 14.7)
Cs = Wide-open gas sizing coefcient, see Table 5
C1 = Flow coefcient, see Table 5
Tsh = Degrees of steam superheat at inlet, °F
ΔP = Pressure drop across regulator, psia
Example Calculation:
where:
CS = 74 ΔP = 75 psia / 5.2 bar
C1 = 35 Tsh = 0°F
P1 = 114.7 psia / 7.9 bar
Qmax(lb/hr) =
Qmax = 8,330 lb/hr / 3778 kg/hr
341774 x 114.7
1 + 0.00065 x 0 35 114.7
75
SIN DEG

Bulletin 71.2:92B
11
Table 5. Main Valve Coefcients
1
T
gsvgsv
1
1-1/2
25
40
330
560
16.5
28
9.4
16
480
921
24
46
13.7
26.3
35
35
0.80
0.80
0.89
0.89
0.78
0.78
0.24
0.25
2
3
4
50
80
100
960
2000
2700
48
100
135
27.4
57.1
77.1
1481
3042
4515
74
152
225
42.3
86.9
129
35
35
35
0.80
0.80
0.80
0.89
0.89
0.89
0.78
0.78
0.78
0.28
0.26
0.20
psig psig
25 1.7
5
10
15
0.34
0.69
1.0
660
600
525
299
272
238
1060
1080
935
481
490
424
2060
2080
1860
934
943
844
3800
3850
3260
1724
1746
1479
4940
5000
4520
2241
2268
2050
50 3.4
5
10
20
30
40
0.34
0.69
1.4
2.1
2.8
1080
1080
1080
928
710
490
490
490
421
322
1830
1890
1860
1760
1660
830
857
844
798
753
3300
3390
3290
2940
2590
1497
1538
1492
1334
1175
6500
6650
6500
5740
4980
2948
3016
2948
2604
2259
8960
9110
8810
7730
6650
4064
4132
3996
3506
3016
75 5.2
5
10
20
0.34
0.69
1.4
1500
1500
1500
680
680
680
2510
2620
2720
1138
1188
1234
4610
4700
4770
2091
2132
2164
9080
9180
9290
4119
4164
4214
10,900
11,200
11,300
4944
5080
5126
30
40
50
60
2.1
2.8
3.4
4.1
1470
1380
1240
1020
667
626
562
463
2680
2640
2380
2120
1216
1198
1080
962
4680
4590
4370
4160
2123
2082
1982
1887
8880
8470
7680
6900
4028
3842
3484
3130
10,800
10,200
9240
8280
4899
4627
4191
3756
100 6.9
5
10
20
0.34
0.69
1.4
1900
1920
1920
862
871
871
3400
3440
3460
1542
1560
1569
5710
5870
5900
2590
2663
2676
11,500
11,700
11,800
5216
5307
5352
16,100
16,400
16,400
7303
7439
7439
40
60
80
2.8
4.1
5.5
1920
1700
1330
871
771
603
3500
3330
2860
1588
1510
1297
5930
5650
4960
2690
2563
2250
11,800
11,000
9670
5352
4990
4386
16,500
15,200
13,000
7484
6895
5897
125 8.6
5
10
20
0.34
0.69
1.4
2310
2340
2340
1048
1061
1061
4140
4170
4230
1878
1892
1919
6950
7010
7080
3152
3180
3211
13,900
14,100
14,100
6305
6396
6396
19,600
19,800
19,800
8890
8981
8981
40
60
80
100
2.8
4.1
5.5
6.9
2340
2340
2100
1630
1061
1061
952
739
4280
4400
4100
3250
1941
1996
1860
1474
7080
7250
6750
5400
3211
3289
3062
2449
14,200
14,400
13,700
11,300
6441
6532
6214
5126
19,800
19,800
18,500
15,600
8981
8981
8392
7076
150 10.3
20
40
60
1.4
2.8
4.1
2770
2770
2770
1256
1256
1256
5000
5070
5110
2268
2300
2318
8220
8260
8300
3728
3747
3765
16,700
16,700
16,800
7575
7575
7620
23,600
23,700
23,800
10,705
10,750
10,796
80
100
120
5.5
6.9
8.3
2770
2360
1950
1256
1070
884
4980
4600
4090
2259
2086
1855
8130
7740
7070
3688
3511
3207
15,900
15,200
13,700
7212
6895
6214
23,500
21,700
18,600
10,660
9843
8437
200 13.8
20
40
60
1.4
2.8
4.1
3610
3610
3610
1637
1637
1637
6480
6500
6520
2939
2948
2957
10,700
10,800
10,900
4854
4899
4944
21,900
21,900
22,000
9934
9934
9979
29,500
31,000
31,200
13,381
14,062
14,152
80
100
120
150
5.5
6.9
8.3
10.3
3610
3610
3280
2790
1637
1637
1488
1266
6550
6250
6300
6070
2971
2835
2858
2753
11,000
10,700
10,500
10,200
4990
4854
4763
4628
22,500
21,700
20,700
19,700
10,206
9843
9390
8936
31,300
30,700
29,700
28,300
14,198
13,926
13,472
12,837
1. Printed capacities are for the Type 92B with electropneumatic loading system.
Table 6. Capacities(1)

Bulletin 71.2:92B
12
Table 6. Capacities(1) (continued)
psig psig
250 17.2
20
40
60
1.4
2.8
4.1
4460
4460
4460
2023
2023
2023
7850
7920
8100
3561
3592
3674
13,000
13,200
13,300
5897
5988
6033
27,200
27,300
27,300
12,338
12,383
12,383
37,300
37,800
38,500
16,919
17,146
17,464
80
100
120
150
5.5
6.9
8.3
10.3
4460
4460
4160
4050
2023
2023
1887
1837
8130
8150
7860
6780
3688
3697
3565
3075
13,400
13,400
12,700
11,500
6078
6078
5761
5216
27,400
27,500
26,300
23,000
12,429
12,474
11,930
10,433
38,700
38,800
37,000
31,000
17,554
17,600
16,783
14,062
300 21.0
20
40
60
1.4
2.8
4.1
5190
5190
5180
2354
2354
2350
8810
8810
8790
3996
3996
3987
15,100
15,100
15,000
6849
6849
6804
31,400
31,400
31,400
14,243
14,243
14,243
42,400
42,400
42,300
19,234
19,234
19,187
80
100
120
150
5.5
6.9
8.3
10.3
5150
5110
5040
4900
2336
2318
2286
2223
8740
8670
8550
8310
3964
3933
3878
3769
14,900
14,800
14,600
14,200
6759
6713
6623
6441
31,200
30,900
30,500
29,700
14,152
14,016
13,835
13,472
42,100
41,800
41,200
40,000
19,096
18,960
18,688
18,144
175
200
250
12.1
13.8
17.2
4730
4510
3830
2146
2046
1737
8030
7650
6510
3642
3470
2953
13,700
13,100
11,100
6214
5942
5035
28,600
27,300
23,200
12,973
12,383
10,524
38,700
36,800
31,400
17,554
16,692
14,243
1. Printed capacities are for the Type 92B with electropneumatic loading system.
Table 7. Approximate Weights
(1)
Cast iron
NPT
1
1-1/2
2
25
40
50
55
73
105
25
33
48
CL125 FF
1-1/2
2
3
4
40
50
80
100
77
110
175
243
35
50
79
110
CL250 RF
1-1/2
2
3
4
40
50
80
100
83
115
190
263
38
52
86
119
Steel or Stainless steel
NPT
1
1-1/2
2
25
40
50
65
89
122
29
40
55
CL150 RF, PN 16 RF
1
1-1/2
2
3
4
25
40
50
80
100
77
95
132
220
285
35
43
60
100
129
CL300 RF, PN 16/25/40 RF,
PN 25/40 RF
1
1-1/2
2
3
4
25
40
50
80
100
82
102
137
225
305
37
46
62
102
138
1. Add 5 lbs / 2 kg for low-pressure pilot.

Bulletin 71.2:92B
13
(1)
and
(1)
and
Pressure
1
1-1/2
2
25
40
50
6.50
8.00
9.25
165
203
235
7.25
8.75
10.00
184
222
254
7.75
9.25
10.50
197
235
267
7.75
9.06
10.25
197
230
260
7.75
9.06
10.25
197
230
260
9.25
10.38
11.88
235
264
302
6.81
7.00
7.75
173
178
197
1/4
1/4
3/8
3.25
3.81
4.12
82.6
96.8
105
2.81
3.94
3.91
71.4
100(2)
99.3
10.25
10.69
11.25
260
272
286
8.38
8.81
9.38
213
224
238
3
4
80
100
- - - -
- - - -
- - - -
- - - -
11.75
13.88
298
353
12.50
14.50
317
368
11.81
13.56
300
344
12.21
13.88
310
353
13.88
14.88
353
378
8.94
10.12
227
257
1/2
1/2
5.19
6.44
132
164
5.50
6.38
140
162
12.12
13.12
308
333
10.25
11.25
260
286
1. Cast iron flanges are not available for the NPS 1 / DN 25 body.
2. 3.44 in. / 87 mm NPT bodies.
Figure 7. Dimensions
B
Table 8. Dimensions

Bulletin 71.2:92B
14
(Select One)
≤ 125 psig / 8.6 bar; 353°F / 178°C
≤ 175 psig / 12.1 bar; 450°F / 232°C
≤ 185 psig / 12.8 bar; 450°F / 232°C
≤ 250 psig / 17.2 bar; 406°F / 208°C
≤ 300 psig / 20.7 bar; 450°F / 232°C
≤ 300 psig / 20.7 bar; 600°F / 316°C
(Select One)
NPS 1 / DN 25
NPS 1-1/2 / DN 40
NPS 2 / DN 50
NPS 3 / DN 80
NPS 4 / DN 100
NPS 1 / DN 25
NPS 1-1/2 / DN 40
NPS 2 / DN 50
NPS 3 / DN 80
NPS 4 / DN 100
NPS 1 / DN 25
NPS 1-1/2 / DN 40
NPS 2 / DN 50
NPS 3 / DN 80
NPS 4 / DN 100
(Select One)
NPT (NPS 1, 1-1/2 and 2)
CL125 FF Flanged (NPS 1-1/2, 2, 3 and /
DN 40, 50, 80 and 100)
CL250 RF Flanged (NPS 1-1/2, 2, 3 and 4 /
DN 40, 50, 80 and 100)
- continued -
NPT (NPS 1, 1-1/2 and 2)
CL150 RF Flanged
CL300 RF Flanged
PN 16/25/40 RF (NPS 1, 1-1/2, 2 and 3 /
DN 25, 40, 50 and 80)
PN 16 RF (NPS 4 / DN 100)
PN 25/40 RF (NPS 4 / DN 100)
NPT (NPS 1, 1-1/2 and 2)
CL150 RF Flanged
CL300 RF Flanged
PN 16/25/40 RF (NPS 1, 1-1/2, 2 and 3 /
DN 25, 40, 50 and 80)
PN 16 RF (NPS 4 / DN 100)
PN 25/40 RF (NPS 4 / DN 100)
(Select One)
17-7PH Stainless steel ***
Inconel® (optional)**
(Select One)
Cast iron
Steel
Stainless steel
(Select One)
15 to 30 psig / 1.0 to 2.1 bar, Yellow
25 to 75 psig / 1.7 to 5.2 bar, Green
70 to 150 psig / 4.8 to 10.3 bar, Black
2 to 6 psig / 0.14 to 0.41 bar, Yellow
5 to 15 psig / 0.34 to 1.0 bar, Green
13 to 25 psig / 0.90 to 1.7 bar, Black
Inconel® is a mark owned by Special Metals Corporation.

Bulletin 71.2:92B
15
15 to 100 psig / 1.0 to 6.9 bar, Unpainted
80 to 250 psig / 5.5 to 17.2 bar, Unpainted
(Select One)
On left side with pilot adjusting screw pointed up
On right side with pilot adjusting screw pointed up
(Select One)
Standard Adjusting Screw
Sealed Adjusting Screw
Handwheel
(Optional)
10 to 30 psig / 0.69 to 2.1 bar, Yellow
25 to 75 psig / 1.7 to 5.2 bar, Green
70 to 150 psig / 4.8 to 10.3 bar, Black
* * * Readily Available for Shipment
* * Allow Additional Time for Shipment
*Special Order, Constructed from Non-Stocked Parts.
Consult your local Sales Ofce for Availability.
Availability of the product being ordered is determined by the component with the
longest shipping time for the requested construction.
Tag Number:
Valve Type: Direct-Operated Pilot-Operated
Pressure Loaded Differential
Body Material: Steel Iron Stainless steel
Inlet/Outlet End Connection Style:
CL125 FF Flange CL150 RF Flange
CL250 RF Flange CL300 RF Flange
PN 16/25/40 RF NPT
Inlet/Outlet Pipe Size: In. / mm
(psig / bar)
(°F / °C)
(psig / bar)
(lb/h or kg/h)
Accuracy Requirements: ≤ 10% ≤ 20%
≤ 30% ≤ 40%
15 to 100 psig / 1.0 to 6.9 bar, Unpainted
80 to 250 psig / 5.5 to 17.2 bar, Unpainted
(Optional)
Yes, send one main valve replacement parts kit to
match this order.
(Optional)
Yes, send one replacement pilot to match this order.
(Optional)
Yes, send one pilot replacement parts kit to match
this order.

Bulletin 71.2:92B
©Emerson Process Management Regulator Technologies, Inc., 1980, 2014; All Rights Reserved
The Emerson logo is a trademark and service mark of Emerson Electric Co. All other marks are the property of their prospective owners. Fisher is a mark owned by Fisher Controls International LLC,
a business of Emerson Process Management.
The contents of this publication are presented for informational purposes only, and while every effort has been made to ensure their accuracy, they are not to be construed as warranties or
guarantees, express or implied, regarding the products or services described herein or their use or applicability. We reserve the right to modify or improve the designs or specications of such
products at any time without notice.
Emerson Process Management Regulator Technologies, Inc. does not assume responsibility for the selection, use or maintenance of any product. Responsibility for proper selection, use and
maintenance of any Emerson Process Management Regulator Technologies, Inc. product remains solely with the purchaser.
Industrial Regulators
Emerson Process Management
Regulator Technologies, Inc.
USA - Headquarters
McKinney, Texas 75070 USA
Tel: +1 800 558 5853
Outside U.S. +1 972 548 3574
Asia-Pacic
Shanghai 201206, China
Tel: +86 21 2892 9000
Europe
Bologna 40013, Italy
Tel: +39 051 419 0611
Middle East and Africa
Dubai, United Arab Emirates
Tel: +971 4811 8100
Natural Gas Technologies
Emerson Process Management
Regulator Technologies, Inc.
USA - Headquarters
McKinney, Texas 75070 USA
Tel: +1 800 558 5853
Outside U.S. +1 972 548 3574
Asia-Pacic
Singapore 128461, Singapore
Tel: +65 6770 8337
Europe
Bologna 40013, Italy
Tel: +39 051 419 0611
Chartres 28008, France
Tel: +33 2 37 33 47 00
Middle East and Africa
Dubai, United Arab Emirates
Tel: +971 4811 8100
TESCOM
Emerson Process Management
Tescom Corporation
USA - Headquarters
Elk River, Minnesota 55330-2445, USA
Tels: +1 763 241 3238
+1 800 447 1250
Europe
Selmsdorf 23923, Germany
Tel: +49 38823 31 287
Asia-Pacic
Shanghai 201206, China
Tel: +86 21 2892 9499
For further information visit www.fisherregulators.com