Emerson ES13 File
User Manual: Emerson s - Owner's Manuals | Emerson Radio
Open the PDF directly: View PDF
.
Page Count: 28

OWNER'S MANUAL
ES13
MICRO AUDIO SYSTEM
with CD, CD-R/RW PLAYER
and DIGITAL TUNER
Visit our web site at www.emersonradio.com
ES13_ib092002.p65 20/9/2002, 15:3828

1
TO PREVENT FIRE OR SHOCK HAZARD, DO NOT USE THIS PLUG WITH AN
EXTENSION CORD, RECEPTACLE OR OTHER OUTLET UNLESS THE BLADES
CAN BE FULLY INSERTED TO PREVENT BLADE EXPOSURE. TO PREVENT FIRE
OR SHOCK HAZARD, DO NOT EXPOSE THIS APPLIANCE TO RAIN OR MOISTURE.
CAUTION
!
CAUTION
RISK OF ELECTRIC SHOCK
DO NOT OPEN
The lightning flash with arrow-
head symbol, within an equi-
lateral triangle is intented to
alert the user to the presence
of uninsulated ‘dangerous voltage’
within the product’s enclosure
that may be of sufficient
magnitude to constitute a risk
of electric shock to persons.
The exclamation point within
an equilateral triangle is in-
tended to alert the user to
the presence of important
operating and maintenance
(servicing) instructions in
the literature accompany-
ing the appliance.
WARNING: TO REDUCE THE
RISK OF ELECTRIC SHOCK
DO NOT REMOVE COVER
(OR B A CK), NO US E R
SERVICEABLE PARTS INSIDE
REFER SERVICING TO
QUALIFIED SERVICE
PERSONNEL.
IMPORTANT SAFETY INSTRUCTIONS
1.READ INSTRUCTIONS
All the safety and operating instructions should be read before the product is operated.
2.RETAIN INSTRUCTIONS
The safety and operating instruction should be retained for future reference.
3.HEED WARNINGS
All warning on the product and in the operating instructions should be adhered to.
4.FOLLOW INSTRUCTIONS
All operating and use instructions should be followed.
5.CLEANING
Unplug this product from the wall outlet before cleaning. Do not liquid cleaners or awrosol cleaners. Use a damp
cloth for cleaning.
6.ATTACHMENTS
Do not use attachments not recommended by the product’s manufacturer as they may cause hazards.
7.WATER AND MOISTURE
Do not use this product near water- for example, near a bathtub, washbowl, kitchen sink, or laundry tub, in a wet
basement, or near a swimming pool.
8.ACCESSORIES
Do not place this product on an unstable cart, stand, tripod, bracket, or table. The product
may fall, causing serious injury and serious damage to the product. Use only with a cart,
stand, tripod, bracket, or table recommended by the manufacturer or sold with the product.
Any mounting of the product should follow the manufacturer’s instructions, and should use
a mounting accessory recommended by the manufacturer.
8A.An appliance and cart combination should be moved with care. Quick stops, excessive
force, and uneven surface may cause the appliance and cart combination to overturn.
9.VENTILATION
Slots and openings in the cabinet and in the back or bottm are provided for ventilation and to ensure reliable
operation of the product and to protect it from overheating. These openings must not be blocked or covered. The
openings should never be blocked by placing the product on a bed, sofa, rug, or ther similar surface. This product
should never be placed near or over a radiator or heat source. This product should not be placed in a built-in
installation such as a bookcase or rack unless proper ventilation is provided or the manufacturer’s instructions have
been adhered to.
10.POWER SOURCES
This product should be operated inly from the type of power source indicated on the marking label. If you are not
sure of the type of power supply to your home, consult your appliance dealer or local power company. For products
intended to operate from battery power, or other sources, refer to the operating instruction.
11. GROUNDING OR POLARIZATION
This product is equipped with a alternating-current line plug (a plug having one blade wider than the other).
This plug will fit into the power outlet only one way. This is a safety feature. If you are unable to insert the plug fully
into the outlet, try reversing the plug. If the plug should still fail to fit, contact your electrican to replace your obsolete
outlet. Do not defect the safety purpose of the polarized plug.
ES13_ib092002.p65 23/9/2002, 9:581

2
12.POWER-CORD PROTECTION
Power-supply cords should be routed so that they are not likely to be walked on or pinched by items placed upon or
against them, paying particular attention to cords at plugs, convenience receptacles, and the point where they exit
from the appliance.
13.LIGHTNING
To protect your product from a lightning storm, or when it is left unattended and unused for long periods of time,
unplug it from the wall outlet and disconnect the antenna or cable system. This will prevent damage to the product
due to lightning and power-line surges.
14.POWER LINES
An outside antenna system should not be located in the vicinity of overhead power lines or other electric light or
power circuits, or where it can fall into such powerlines or circuits. When installing an outside antenna system,
extreme care should be taken to keep from touching such power lines or circuits as contact with them might be fatal.
15. OVERLOADING
Do not overload wall outlets and extension cords as thsi can result in a risk of fire or electric shock.
16. OBJECT AND LIQUID ENTRY
Never push ojects of any kind into this product through openings as they may touch dangerous voltage points or
short out parts that could result in fire or electric shock. Never spill or spray any type of liquid on the product.
17. OUTDOOR ANTENNA GROUNDING
If an outside antenna is connected to the product, be sure the antenna system is grounded so as to provide some
protection against voltage surges and built-up static charges. Section 810 of the National Electric Code, ANSI/
NFPA 70, provides information with respect to proper grounding of the mast and supporting structure, grounding of
the lead-in wire to an antenna discharge product, size of grounding conductors, location of antenna idscharge
product, connection to grounding electrodes, and requirements for grounding electrode.
18.SERVICING
Do not attempt to service this product yourself as opening or removing covers may expose you to dangerous
voltage or other hazards. Refer all servicing to qualified service personnel.
19.REPLACEMENT PARTS
When replacement parts are required, be sure the service technician uses replacement parts specified by the
manufacturer or those that have the same characteristics as the original part. Unauthorized substitution may result
in fire, electric shock or other hazards.
20.SAFETY CHECK
Upon completion of any service or repairs to this product, ask the service technician to perform safety checks to
determine that the product is in proper operating condition.
21.WALL OR CEILING MOUNTING
The product should be mounted to a wall or ceiling only as recomended by the manufacturer.
22.DAMAGE REQUIRING SERVICE
Unplug the product from the wall outlet and refer servicing to qualified service personnel under the following conditions:
a.)When the power-supply cord or plug is damaged.
b.)If liquid has been spilled, or objects habe fallen into the product.
c.)If the product has been exposed to rain or water.
d.)If the product does not operate normally by following the operating instructions. Adjust only those controls that
are covered by the operating instructions, as an adjustment of other controls may result in damage and will
often require extensive work by a qualified technician to restore the product to its normal operation.
e.)If the product has been dropped or the cabinet has been damaged.
f .)When the product exhibits a distinct change in performance - this indicates a need for service.
23.HEAT
The product should be situated away from heat sources such as radiators, heat registers, stoves, or other products
(including amplifiers) that produce heat.
24.NOTE TO CATV SYSTEM INSTALLER
This reminder is provided to call the
CATV system installer’s attention to
Article 820-40 of NEC that provides
guidelines for proper grounding
and, in particular, specifies that the
cable ground shall be connected to
the grounding system of the
building, as close to the point of
cable entry as practical.
ANTENNA DISCHARGE UNIT
(NEC SECTION 810-20)
ELECTRIC
SERVICE
EQUIPMENT
ANTENNA LEAD
IN WIRE
GROUND CLAMP
GROUNDING CONDUCTORS
(NEC SECTION 810-21)
GROUND CLAMPS
POWER SERVICE GROUNDING ELECTRODE
SYSTEM (NEC ART 250, PART H )
NEC-NATIONAL
ELECTRICAL
CODE
ES13_ib092002.p65 23/9/2002, 9:582

3
For future reference, record the serial number in the space provided.
Model No: ES13
Serial Number:
Thank you for purchasing this Emerson audio product. The Emerson brand is your
assurance of quality, performance and value, Our engineers have included many
useful and convenient features in this product. Please be sure to read this Owner’s
Manual completely to make sure you are getting the maximum benefit from each
feature.
This product was manufactured using the highest quality components and standards
of workmanship. It was tested by Emerson inspectors and found to be in perfect
working order before it left our factory. However, there is always the chance that
some problem may occur because of rough handling during shipment to the retail
store or to the final consumer.
If, after reading this Manual, you experience any problems with the operation of
this product, please refer to the instructions for obtaining service at the end of this
Manual. Emerson and Emerson retailers are committed to your satisfaction.
Once again, thanks for purchasing this Emerson audio product.
ES13_ib092002.p65 20/9/2002, 15:383

4
FCC INFORMATION
This equipment has been tested and found to comply with the limits for a Class B
digital device, pursuant to Part 15 of the FCC Rules. These limits are designed to
provide reasonable protection against harmful interference in a residential
installation. This equipment generates, uses, and can radiate radio frequency energy
and, if not installed and used in accordance with the instructions, may cause harmful
interference to radio communications. However, there is no guarantee that
interference will not occur in a particular installation. If this equipment does cause
harmful interference to radio or television reception, which can be determined by
turning the equipment off and on, the user is encouraged to try to correct the
interference by one or more of the following measures:
•Reorient or relocate the receiving antenna.
•Increase the separation between the equipment and receiver.
•Connect the equipment into an outlet on a circuit different from that to which
the receiver is connected.
•Consult the dealer or an experienced radio/TV technician for help.
This device complies with Part 15 of the FCC Rules. Operation is subject to the
following two conditions:
(1)This device may not cause harmful interference, and
(2)This device must accept any interference received, including interference
that may cause undesired operation.
•Operate controls and switches as
described in the manual.
•Before turning on the power, make
certain that the connecting cords and
power cord are properly installed.
•Store your CDs in a cool area to avoid
damage from heat.
•When moving the set, be sure to first
disconnect the power cord and
remove cords connected to other
equipment.
•Avoid installing this unit in places
exposed to direct sunlight or close to
heat radiating appliances such as
electric heaters, on top of other stereo
equipment that radiates heat, places
lacking ventilation or dusty areas,
places subject to constant vibration
and/or humid or moist areas.
•Do not attempt to clean this unit with
chemical solvents as this might
damage the finish. Use a clean dry
cloth.
IMPORTANT NOTES
CLASS 1 LASER PRODUCT
CLASS 1 LASER PRODUCT
APPAREIL Á LASER DE CLASSE 1
PRODUCTO LASER DE CLASE 1
CAUTION
INVISIBLE LASER RADIATION
WHEN OPEN AND INTERLOCKS
DEFEATED.
AVOID EXPOSURE TO BEAM
This product contains a low power Laser Device.
ES13_ib092002.p65 20/9/2002, 15:384

5
UNPACKING AND SET-UP
•Carefully remove the unit from the carton and remove all packing material
from the unit.
•Remove any labels or stickers which may be on the front or top of the set, but
do not remove any labels from the back or bottom.
•We suggest that you retain the original carton and packing materials in case it
ever becomes necessary to return your unit for service. This is the only sure
way to protect the unit from damage in transit.
•If you do dispose of the carton and packing materials, please do so properly.
Emerson cares about our environment.
AC OPERATION
1.)Unwind the AC Power Cord completely.
2.)Insert the plug into any convenient 120V 60Hz AC outlet.
POWER SOURCE
This system is designed to operate on 120V 60Hz AC house current . Connecting
this system to any other power
supply could result in damage to the
unit which is not covered by your
warranty. You will note that this
system is equipped with a polarized
AC power plug having one blade
wider than the other. This is a safety
feature. If this plug does not fit into
your existing AC outlet, do not try to defeat this safety feature by filing the wide
blade to make it fit into your outlet. If this plug will not fit into your outlet, you
probably have an out-dated non-polarized AC outlet. You should have your outlet
changed by a qualified licensed electrician.
PREPARATION FOR USE
AC Plug
AC Outlet
AC Outlet
FM Antenna
ES13_ib092002.p65 20/9/2002, 15:385

6
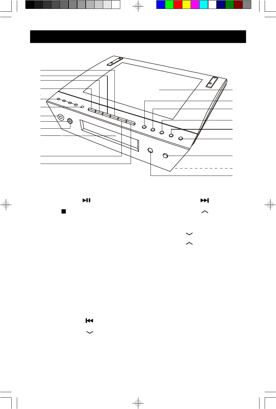
LOCATION OF CONTROLS AND INDICATORS
1.)PLAY/PAUSE Button.
2.)STOP Button.
3.)Multi Function LCD Display.
4.)POWER On/Off Button.
5.) STANDBY LED Indicator.
6.)PHONES Jack.
7.)BASS BOOST (Lighted) Button.
8.)Preset EQ (Lighted) Buttons.
(POP/ROCK/CLASSIC/FLAT)
9.)CD Button.
10.)TUNER/BAND Button.
11.)SKIP SEARCH /
TUNING (SET) Button.
12.)SKIP SEARCH /
TUNING (SET) Button.
13.)CD Door.
14.)VOLUME Button.
15.)VOLUME Button.
16.)PRESET UP/RANDOM/INTRO
Button.
17.)TIME SET/MEMORY Button.
18.)FM MODE/REPEAT Button.
19.)CD DOOR OPEN/CLOSE Button.
20.)RESET Button (At bottom cabinet)
21.)Remote Control Sensor.
2
1
3
6
4
7
8
9
10
11
12
13
14
15
16
17
18
19
21
5
20
ES13_ib092002.p65 20/9/2002, 15:386

7
1.)VOLUME / Buttons.
2.)TIMER SET Button.
3.)SLEEP Button.
4.) PRESET Buttons.
5.)SNOOZE Button.
6.)Stop Button.
7.)TUNING (SET) /
CD SKIP SEARCH / Buttons.
8.)CD Button.
9.) OPEN/CLOSE Button.
10.)0-9 Number Buttons.
11.)MUTE Button.
12.)STANDBY ON/OFF Button.
13.)TUNER/BAND Button.
14.)FM MODE/REPEAT Button.
15.)Play/Pause Button.
16.)MEMORY Button.
17.) PRESET /INTRO Button.
18.)RANDOM Button.
19.)TIMER OFF Button.
REMOTE CONTROL
BATTERY INSTALLATION
Insert 2 pcs ‘AA’ size (Alkaline) batteries (not included) into the battery compartment
of the remote controller. Be sure to observe the polarity markings which are
engraved inside the battery compartment, then close the cover.
2
1
3
4
5
6
7
913
15
16
17
19
10
12
11
814
18
ES13_ib092002.p65 20/9/2002, 15:387

8
BATTERY REPLACEMENT
When the batteries become too weak, the operating distance of the remote
controller is greatly reduced and you will need to replace the batteries.
NOTES:
•To maintain the accuracy and long life of the transmitter, do not press two or
more buttons simultaneously.
•If the remote control is not to be used for a long time, remove the batteries to
prevent possible damage through leaking batteries.
•Do not mix different types of batteries, or old batteries with new ones.
USING THE REMOTE CONTROLLER CORRECTLY
•Point the remote controller at the Remote Sensor.
•The functions of the buttons on the remote control are the same as the
corresponding controls on the main unit.
•When there is a strong ambient light source, the performance of the infrared
Remote Sensor may be degraded, causing unreliable operation.
•The maximum effective distance for remote control operation is about 15 feet.
BATTERY PRECAUTIONS
Follow these precautions when using batteries in this device:
1.Use only the size and type of batteries specified.
2.Be sure to follow the correct polarity when installing the batteries as indicated in the battery
compartment. Reversed batteries may cause damage to the device.
3.Do not mix different types of batteries together (e.g. Alkaline and Carbon-Zinc) or old batteries
with fresh ones.
4. If the device is not to be used for a long period of time, remove the batteries to prevent
damage or injury from possible battery leakage.
5.Do not try to recharge batteries not intended to be recharged; they can overheat and rupture
(Follow battery manufacturer’s directions.)
ES13_ib092002.p65 20/9/2002, 15:388

9
RED
BLACK
BLACK
RED
OPERATING INSTRUCTIONS
SPEAKER CONNECTION
Connect each speaker to the corresponding speaker terminals on the back panel
of the main unit. Make sure that the left (black) speaker wire is connected to the
left (L) black speaker clip and the right (red) speaker wire is connected to the right
(red) speaker clip.
Right SpeakerLeft Speaker
SPEAKERS
RED
BLACK
ES13_ib092002.p65 20/9/2002, 15:389

10
SETTING THE CLOCK
The clock should be set while the system is in the Standby mode (Power ‘Off’).
1.) Press and hold the TIME SET/MEMORY
button on the top panel for at least two
seconds. The hour digits and the AM/PM
indicator begin to flash.
2.) Press the TUNING (SET) or buttons on the top panel or on the remote
control to adjust the clock to the correct hour, AM or PM.
3.) Press the TIME SET/MEMORY button
once more. The minute digits begin to
flash.
4.) Press the TUNING (SET) or buttons on the top panel or on the remote
control to adjust the clock display to the correct minutes.
5.) Press the TIME SET/MEMORY button once more. The display will show
“12 H” meaning that the time will be displayed in ’12 hour format’
(6 PM = 6:00). If you prefer ‘24 hour format’ (6 PM = 18:00), press either the
TUNING (SET) or buttons on the top panel or on the remote control to
switch between “12H” and “24H” time formats.
6.) Press the TIME SET/MEMORY button
once more. The time display returns and
the clock begins to run.
The time will appear on the display whenever the system is in the Standby (Power
‘Off’) mode. The STANDBY LED lights up.
Note: If the AC power is disconnected for an extended period, the time memory
will be lost and the clock will have to be reset when power is restored.
:
AM
:
PM
:
PM
ES13_ib092002.p65 20/9/2002, 15:3810

11
TONE CONTROLS
Preset Equalizer
This system includes a 4 mode preset electronic equalizer that allows you to tailor
the sound output for the most popular types of music. The settings are POP,
ROCK, CLASSIC, and FLAT (Equalizer Off). Press the appropriate button on the
top panel to select the desired setting. The button lights to confirm your selection.
Note: The Equalizer controls are only found on the top panel. There are no EQ
controls on the remote control.
BASS BOOST
The Bass Boost control is designed to provide additional bass response, especially
at lower volume levels where the bass tends to disappear. Press the BASS BOOST
button on the top panel to turn the Bass Boost ‘On’ or ‘Off’. The button lights when
Bass Boost is on.
Note: If you have the EQ set to Rock, the Bass Boost ‘On’, and your are listening
to loud music with heavy bass, you may experience some distortion. If this occurs,
lower the volume, turn the Bass Boost ‘Off’, or set the EQ to the FLAT position.
ES13_ib092002.p65 20/9/2002, 15:3811

12
LISTENING TO THE RADIO
1.) Press the POWER/STANDBY button on the top panel or on the remote control
to turn the system ‘On’. The STANDBY indicator goes ‘Off’ and the main display
comes ‘On’.
2.) Press the TUNER/BAND button on the top panel or remote control to select
the Tuner function, and press again to switch between AM and FM bands. The
display will show an AM or FM frequency.
3.) Press the TUNING (SET) or buttons on the top panel or on the remote
control to tune to the desired station.
• Manual Tuning – repeatedly press the TUNING (SET) or buttons until
the display shows the frequency of the desired station.
Note: Use this method to tune in weaker stations.
• Automatic Tuning –Press and hold the TUNING (SET) or buttons
until the display begins to move, then release the buttons. The tuner will search
up or down for the first strong station and stop on that station. Repeat until the
tuner stops on the desired station.
4.) Press the VOLUME or buttons on the top panel or on the remote
control to adjust the volume.
5.) Adjust the Equalizer and BASS BOOST controls as desired.
6.) When you are finished listening press the POWER/STANDBY button on the
front panel or on the remote control to turn the system ‘Off’. The main display
goes ‘Off’ and the STANDBY indicator comes ‘On’ again.
FM
MHz
ES13_ib092002.p65 20/9/2002, 15:3812

13
ANTENNA INFORMATION
FM
The leadwire antenna should be extended to its full length for optimum FM reception.
AM
The AM antenna is inside the main unit. If AM reception is weak try turning the
main unit slightly until the AM reception improves. In the worst case you may have
to move the entire unit to another location.
MONO/STEREO MODE SWITCH
If you tune to an FM Stereo station the FM STEREO indicator will appear in the
display. However if the FM Stereo reception is unsatisfactory press the FM MODE/
REPEAT button on the top panel or on the remote control. The MONO indicator
will appear in the display and reception should improve, although the sound is no
longer in stereo.
In most cases leave the FM MODE selector set to STEREO.
FM Wire Antenna
ES13_ib092002.p65 20/9/2002, 15:3813

14
PRESETTING STATIONS IN THE TUNER MEMORY
You can store up to 20 of your favorite stations, in any combination of AM and FM,
in the tuner memory for immediate recall. For your convenience use the remote
control to perform this operation.
1.) Tuner to the first station you wish to memorize by either the Manual or Automatic
tuning method. Example: FM 103.5 MHz
2.) Press the MEMORY button on the remote control. The Memory indicator will
begin flashing in the display.
3.) Press either the PRESET or buttons on the remote control to select a
desired memory number. Example: Channel Memory 7.
4.) Press the MEMORY button on the remote control once more to enter the
station into the selected memory number.
5.) Repeat this procedure, selecting a different preset number each time, until
you have entered up to 20 stations in the tuner memory.
FM
MHz
MEMORY
FM
MHz
MEMORY
CH
ES13_ib092002.p65 20/9/2002, 15:3814

15
RECALLING PRESET STATIONS
• In Tuner mode, press either the PRESET or buttons on the remote
control to locate the desired station. You may also press the PRESET UP/
RANDOM/INTRO button on the top panel to scroll upward through the presets
in numerical order.
• In Tuner mode to select a preset directly press the appropriate number buttons
on the remote control.
Note: When you press numbers 1 through 9 the tuner will pause for a moment
waiting for you to enter a second number. After a few seconds it will tune to the
number you entered. To select presets 11 through 20 simply press the appropriate
number buttons on the remote in the correct sequence.
CHANGING PRESET STATIONS
Tune to the new station you want to memorize. Press the MEMORY button, then
press the PRESET or buttons to select the memory number that you want
to change. When the memory number appears on the display press the MEMORY
button again. The new station will be memorized and the old station will be deleted
from the memory.
ES13_ib092002.p65 20/9/2002, 15:3815

16
PLAYING COMPACT DISCS
IMPORTANT: This player will play normal CDs plus CD-R and CD-RW discs.
However the playability of CD-R and CD-RW discs is determined by the software
that was used to create the discs, and the quality of the blank media used for
recording. 100% playability cannot be guaranteed. This is not an indication of a
problem with your system.
1.) Press the POWER/STANDBY button on the front panel or remote control to
turn the system ‘On’.
2.) Press the CD function button on the front panel or remote control to select CD
mode.
3.) Press the CD door OPEN/CLOSE button on the front panel or remote to open
the CD door. If you have not already done so remove and discard the CD
transit protection card.
4.) Place your CD on the center spindle with printed label side up. Gently press
down around the center hole to make sure the disc is properly seated on the
spindle. Close the CD door.
5.) The disc will begin to spin, the display will show the total tracks and playing
time and then playback begins on track 1.
6.) Adjust the VOLUME, EQUALIZER, and BASS BOOST controls as desired.
7.) After the last track has played the disc stops and the display again shows the
total tracks and playing time. You may also stop playback at anytime by pressing
the STOP button on the top panel or remote control.
8.) When the disc has stopped completely press the CD door OPEN/CLOSE
button on the front panel or remote control to open the door. Remove your
disc, close the door, and shut the system ‘Off’.
TRACK
ES13_ib092002.p65 20/9/2002, 15:3816

17
PAUSE CONTROL
To pause temporarily during playback press the PLAY/PAUSE button again.
The sound stops and the time display flashes but the disc continues to spin. Press
the PLAY/PAUSE button once more to cancel pause and resume normal
playback.
SKIP/SEARCH CONTROLS
During playback press the SKIP/SEARCH or controls repeatedly to skip to
higher or lower numbered tracks.
During playback press and hold the SKIP/SEARCH or controls to search
forward or backward at high speed to locate a particular passage within a track.
When you hear the desired passage release the buttons and normal playback will
resume from that point.
REPEAT PLAYBACK
You can repeat a single track or the entire disc automatically.
All Tracks Repeat – Start playback and press the FM MODE/REPEAT button
on the top panel or on the remote control one time. The Repeat indicator appears
in the display. The entire disc will be repeated continuously.
One Track Repeat – Start playback and skip to the track you wish to repeat.
Press the FM MODE/REPEAT button on the top panel or remote control twice.
The Repeat indicator flashes in the display. The selected track will be repeated
continuously.
TRACK
TRACK
ES13_ib092002.p65 20/9/2002, 15:3817

18
To cancel Repeat Playback press the FM MODE/REPEAT button until the Repeat
indicator no longer appears in the display. Repeat Playback will also be canceled
if you switch to Tuner mode, open the CD door, or switch the power ‘Off’.
RANDOM PLAYBACK
Use the Random Playback feature to play all of the tracks on the disc in a random
order.
While in Stop mode press the RANDOM button on the remote control, or press the
PRESET UP/RANDOM/INTRO button on the top panel once. The RANDOM
indicator appears in the display. Press the PLAY/PAUSE button to begin
Random playback. After all the tracks have been played in random order the player
stops and the display shows the total tracks and playing time.
To cancel Random Playback press the RANDOM button on the remote control, or
press the PRESET UP/RANDOM/INTRO button on the top panel until the RANDOM
indicator no longer appears in the display. Random Playback will also be canceled
if you switch to Tuner mode, open the CD door or switch the power ‘Off’.
INTRO SCAN PLAYBACK
Intro Scan playback plays only the first 10 seconds of each track on the disc. This
feature is useful if you are trying to locate a particular song but you do not remember
the title.
While in Stop mode press the PRESET UP/RANDOM/INTRO button on the top
panel twice, or press the PRESET /INTRO button on the remote control. The
INTRO indicator appears in the display. Press the PLAY/PAUSE button to
begin Intro playback. After the first 10 seconds of all tracks have been played the
player stops and the display shows the total tracks and playing time.
To cancel Intro Playback at any time press the PRESET UP/RANDOM/INTRO
button on the top panel or PRESET /INTRO button on the remote control until
the INTRO indicator no longer appears in the display. Intro Playback will also be
canceled if you switch to Tuner mode, open the CD door or switch the power ‘Off’.
ES13_ib092002.p65 20/9/2002, 15:3818

19
PROGRAMMED PLAYBACK
You can program the player to play only the tracks you want to hear in the specific
order that you want them to play. The maximum number of tracks that can be
programmed is 20. You may program tracks to play more than once if desired.
Note: You cannot program the player while a disc is playing. If a disc is playing
press the STOP button to stop playback and then follow the steps below..
1.) While in Stop mode press the TIME SET/MEMORY button on the top panel,
or the MEMORY button on the remote control. The MEMORY indicator flashes
and the program number “Pr 1” appears in the display.
2.) Press the / SKIP SEARCH or number 0-9 buttons to select the first
track that you want to program. Example: Track number 7.
3.) Press the TIME SET/MEMORY button on the top panel, or the MEMORY button
on the remote control again to enter the selected track in program memory
number 1. The MEMORY indicator stops flashing.
TRACK
MEMORY
TRACK
MEMORY
TRACK
MEMORY
ES13_ib092002.p65 20/9/2002, 15:3819

20
4.) Press the / SKIP SEARCH or number 0-9 buttons to select the second
track that you want to program. The program number display advances to
“Pr 2”.
5.) Repeat steps 3 and 4, selecting a different track each time, until you have
entered up to 20 tracks in the program memory.
6.) Press the PLAY/PAUSE button to begin programmed playback. The
Program indicator stops flashing and remains in the display. The tracks you
selected will play in the order in which they were programmed.
7.) After the last programmed track has played the player stops and the display
shows as below illustration. The program sequence remains in the memory.
8.) Press PLAY/PAUSE button to repeat the programmed playback.
9.) To cancel the programmed track, press the STOP button while in Stop
mode. The display shows the total tracks and playing time on the disc.
Note: You can use the Repeat and Programmed Play features together to repeat
a programmed sequence of tracks continuously. After you enter the desired tracks
in the program memory and begin playback, press the FM MODE/REPEAT button
once to select All Tracks Repeat. The program will be repeated continuously.
TRACK
MEMORY
TRACK
MEMORY
TRACK
MEMORY
ES13_ib092002.p65 20/9/2002, 15:3820

21
WAKE UP TIMER OPERATION
This system includes a wake-up timer function that will automatically turn the unit
‘On’ to the radio or CD player..
Setting the Wake Up Time
Note: The system must be in the Standby (Power ‘Off’) mode to set the wake up
timer.
1.) Press the TIME SET/MEMORY button on the top panel or TIME SET button
on remote control once. The Timer indicator and the hour digits begin
flashing in the display.
2.) Press the TUNING/(SET) or buttons on the top panel or remote control
to adjust the display to the desired wake up hour, AM or PM.
3.) Press the TIME SET/MEMORY button on the top panel or TIME SET button
on remote control once more. The minute digits begin to flash.
4.) Press the TUNING/(SET) or buttons on the top panel or remote control
to set the minutes.
5.) Press the TIME SET/MEMORY button on the top panel or TIME SET button
on remote control once more. The display returns to the current time but the
Timer indicator remains ‘On’, indicating that the Wake Up Timer is set.
AM
AM
AM
ES13_ib092002.p65 20/9/2002, 15:3821

22
TO WAKE TO THE RADIO
Turn the system ‘On’, press TUNER/BAND button to select AM or FM mode as
desired. Tune to the desired wake up station and adjust the volume to the desired
level to wake you up. Then switch the system back to the Standby (Power ‘Off’)
mode.
At the selected wake up time the system will turn on automatically. The Timer
indicator flashes in the display. To shut the system ‘Off’, press the STANDBY
button on the front panel or on the remote control. The system shuts ‘Off’ and the
alarm resets itself for the following day. To cancel the Wake Up Timer press the
TIMER OFF button on the remote control. The Timer indicator disappears from
the display.
TO WAKE TO THE CD PLAYER
Turn the system ‘On’, select CD mode, and load the desired CD. Start playback
and adjust the volume to the desired level to wake you up. Stop playback and then
switch the system back to the Standby (Power ‘Off’) mode.
At the selected wake up time the system will turn on automatically and playback
will continue until the end of the disc. The Timer indicator flashes in the display..
To shut the system ‘Off’, press the STANDBY button on the front panel or on the
remote control. The system shuts ‘Off’ and the alarm resets itself for the following
day. To cancel the Wake Up Timer press the TIMER OFF button on the remote
control. The Timer indicator disappears from the display.
SNOOZE FUNCTION
After the Wake Up Timer turns the system ‘On’ you can press the SNOOZE button
on the remote control for an extra 9 minutes sleep. The system turns ‘Off’ and the
display shows normal time. The Timer indicator flashes during Snooze
operation. After 9 minutes the alarm will turn ‘On’ again.
ES13_ib092002.p65 20/9/2002, 15:3822

23
SLEEP TO MUSIC TIMER
Press the SLEEP button on the remote control to start the Sleep To Music Timer.
The SLEEP indicator appears in the display. The system turns on and will play for
90 minutes before shutting off automatically. To reduce the amount of Sleep Time,
continue pressing the SLEEP button. The time will decrease in 15 minute
decrements: 90 > 75 > 60 > 45 > 30 > 15. When the time counts down to “00” the
system shuts off automatically.
To shut the system off before the Sleep Timer counts down to “00” , press the
STANDBY button on the front panel or on the remote control.
STEREO HEADPHONE JACK
Connect the stereo headphones to the 3.5mm PHONES jack located at front
panel for private listening. When the headphones are connected, the sound from
the speakers will automatically cut off. Before putting the headphones on your
head, reduce the volume to a low level. Then put the headphones on and gradually
increase the volume to a comfortable listening level.
RESET BUTTON
This system includes a special protective device to
prevent permanent damage to the internal computer in
the event of a sudden power surge. If the system does
not respond to any commands from the remote control,
or the controls on the main unit, you may have
experienced a power surge that triggered the internal
computer to shut down automatically. If this occurs,
disconnect the main unit from the AC outlet and use a
toothpick, straightened paper clip, or similar object to
depress and hold the RESET button located below the
front panel for few seconds. Then plug the system into
the AC outlet again and turn the power 'On'.
Note: Although pressing the RESET button will unlock the internal computer after
a power surge, it will also erase all of the preset tuner memories, clock, and timer
settings. After reconnecting the system to the AC outlet you will need to reset the
clock and reprogram the preset station memories.
FM
MHz
SLEEP
ES13_ib092002.p65 20/9/2002, 15:3823

24
COMPACT DISC CARE
•To remove a disc from its storage case, press down on the centre of the case
and lift the disc outs, holding it carefully by the edges.
•Fingerprints and dust should be carefully wiped off the disc’s recorded surface
with a soft cloth.Unlike conventional records, compact discs have no grooves
to collect dust and microscopic debris, so gently wiping with a soft cloth should
remove most particles. Wipe in a straight line from the inside to the outside of
the disc. Small dust particles and light stains will have absolutely no effect on
reproduction quality.
•Clean the disc periodically with a soft, lint-free, dry cloth. Never use detergents
or abrasive cleaners to clean the disc. If necessary, use a CD cleaning kit.
•Never write on or affix labels to the surface of compact discs.
CARE OF THE CABINETS
•If the cabinets become dusty wipe them with a soft dry dust cloth. Do not use
any wax or polish sprays on the cabinets.
•If the front panel becomes dirty or smudged with fingerprints it may be cleaned
with a soft cloth slightly dampened with a mild soap and water solution. Never
use abrasive cloths or polishes as these will mar the finish of your unit.
CAUTION:
Never allow any water or other liquids to get inside the unit while cleaning.
CARE AND MAINTENANCE
ES13_ib092002.p65 20/9/2002, 15:3824

25
TROUBLESHOOTING GUIDE
Should this unit exhibit a problem, check the following before seeking service.
SymptomPossible Cause Solution
Radio
Noise or sound Station not tuned properly forRetune the AM or FM
distorted on AM orAM or FM.broadcast station.
FM broadcasts.FM: Wire antenna is notExtend FM Wire antenna.
extended.
AM: The Loop antenna is notReposition the Ant. until
positioned correctly.best reception is obtained.
FM STEREO indicatorFM station is mono or station Extend FM Wire antenna.
does not light. signal is weak.Try other strong stations.
AM or FM, no sound.Function is not set to Tuner.Press TUNER/BAND button
to select AM or FM function.
Volume at minimum. Increase Volume.
Compact Disc Player
CD Player will notFunction is not set to CD.Press CD button to select
play.CD function.
CD is not installed orInsert CD with Iabel side
installed incorrectly.up.
CD skips while playing.Disc is dirty or scratched.Wipe disc with cloth or use
another disc.
FOR ADDITIONAL SET-UP OR OPERATING ASSISTANCE
PLEASE CALL:
1-800-898-9020
TO FIND THE LOCATION AND PHONE
NUMBER OF YOUR NEAREST SERVICE
CENTER PERMITTED TO PERFORM
WARRANTY...
CALL TOLL FREE: 1-800-695-0098
SERVICE
FOR CUSTOMER SERVICE,PLEASE WRITE TO:
Emerson Radio Corp.,
Consumer Affairs Dept.,
1901 Diplomat Drive,
Farmers Branch, TX 75234.
R
ES13_ib092002.p65 20/9/2002, 15:3825

26
LIMITED WARRANTY
Emerson Radio Corp. warrants manufacturing defects in original material, including
original parts and workmanship, under normal use and conditions, for a period of
ninety (90) days from the date of original purchase in the U.S. With your dated
proof of purchase, we will provide repair service at no charge for labor and parts at
an authorized Depot Repair Facility, or replace the product in our discretion. For
repair or replacement, pack your unit in a padded box, enclose your check or
money order payable to Emerson Radio Corp. in the amount of $9.00 (not required
by California residents) to cover shipping and handling costs, and enclose a copy
of your proof of purchase. Send your unit to:
Emerson Radio Corp.
1901 Diplomat Drive.
Farmers Branch, TX 75234.
This warranty does not cover damage from negligence, misuse, abuse, accident,
failure to follow operating instructions, commercial use, rental, repairs by an
unauthorized facility, or products purchased, used, serviced or damaged outside
of the United States.
THIS WARRANTY GIVES YOU SPECIFIC LEGAL RIGHTS, AND YOU MAY
ALSO HAVE OTHER RIGHTS WHICH VARY FROM STATE TO STATE.
AU898M
ES13_ib092002.p65 20/9/2002, 15:3826

EMERSON
Part No. : 16-2880
209-01 Printed in China
EMERSON RADIO CORP.
ES13_ib092002.p65 20/9/2002, 15:3827