Emotiva Usp 1 Users Manual
2015-02-06
: Emotiva Emotiva-Usp-1-Users-Manual-540212 emotiva-usp-1-users-manual-540212 emotiva pdf
Open the PDF directly: View PDF
.
Page Count: 26

2
3
TABLE OF CONTENTS
Safety Precautions 5
NEC (National Electrical Code) Standards 6
A Note for the Cable Television (CATV) Installer 6
Antenna Grounding Outside the House
Thank You for Your USP-1 Purchase 7
Unpacking the USP-1 7
Inventory 7
Emotiva USP-1 Preamplifier
Audiophile 2 Channel Preamplifier Features 8
USP-1 Front Panel Layout 9
USP-1 Rear Panel Layout 11
USP-1 Remote 13
Changing the Battery 13
Bass Management – Low Pass/High Pass Filters 14
Connecting To Audio Source Units 16
Connecting To Amplifiers and Speakers 17
Trigger Connections 17
Troubleshooting Guide
No Sound (from one or more full range speakers) 18
No Low Frequency (or poor output) 18
Sound Drops Out with CD or DVD Playback 18
Remote Not Working 18
External Amplifier(s) Shut Down (Often or Prematurely) 18
Remotely Connected External Amplifier(s) Do Not Turn Off with USP-1 19
"Hum" Noises 19
Other Probable Cause of Noise 19
4
Problems with the whole A/V System 20
USP-1 Technical Specifications 21
Emotiva Disclosure 22
Limited Warranty 23
Service Assistance for the USP-1 23
Front Panel Diagram (Full Page) 24
Back Panel Diagram (Full Page) 25
5
SAFETY PRECAUTIONS
Read this User's Guide thoroughly before attempting to install and configure the USP-1 Preamplifier. All
the safety and operation instructions should be read before any operation of the component(s) begin.
After successful installation and configuration of the USP-1 Preamplifier, be sure to retain this manual in
a safe place for any future reference needs.
All warnings on the USP-1 Preamplifier and in these operating instructions should be followed. Safety is
a key component to a long lasting and trouble free installation. The vast majority of the subsequent
safety precautions involve simple common sense. If you are not comfortable with the installation of
audio/video entertainment equipment, it will be to your benefit to seek the services of a qualified
installation professional.
The Emotiva USP-1 Preamplifier should NEVER be used near water such as a bathtub, washbowl,
kitchen sink, laundry tub, in a wet basement or near a swimming pool etc.
The Emotiva USP-1 Preamplifier should be situated so that its location or installation position does not
interfere with proper ventilation.
The Emotiva USP-1 Preamplifier should not be situated on a bed, sofa, rug or similar surface that may
block any ventilation openings; or placed in a built-in installation such as a bookcase, cabinet, or closed
equipment rack that may impeded the flow of air through ventilation openings. If installed in a closed
equipment rack for custom installations, be sure to add forced air ventilation so that it has adequate air
circulation.
The Emotiva USP-1 Preamplifier should be situated away from heat sources such as radiators, or any
other devices which produce heat.
The Emotiva USP-1 Preamplifier should be connected to a power supply only of the type described in
this User's Guide and what is labeled on the Emotiva USP-1 Preamplifier component. Power supply
cords should be routed to that they are not in high foot traffic areas or pinched by item placed upon or
against them, paying particular attention to cords at the wall plugs, convenience receptacles, and the
point where they connect into the Emotiva USP-1 Preamplifier. The power cord for the Emotiva USP-1
Preamplifier should be unplugged from the outlet when unused for a long period of time.
When it's time for cleaning the Emotiva USP-1 Preamplifier, it should be cleaned only as recommended
in this User's Guide Never spray liquids directly into the component's vent openings. Care should be
taken so that small objects do not fall into the inside of the Emotiva USP-1 Preamplifier.
The following situations require that your Emotiva USP-1 Preamplifier be serviced only by qualified
service personnel;
1. The power-supply cord or the plug has been damaged; or
2. Objects have fallen, or liquid has spilled into the component; or
3. The USP-1 has been exposed to rain; or
4. The USP-1 does not appear to operate normally or exhibits a marked change in performance; or
5. The USP-1 has been dropped, or its enclosure or chassis is damaged.
The user should not attempt to service the USP-1 Preamplifier beyond the means described in this
User's Guide. All other servicing should be referred to Emotiva.
6
To prevent electric shock, do not use this polarized plug with an extension cord, receptacle or other
outlet unless the blades can be fully inserted to prevent blade exposure.
Grounding or Polarization - Precautions should be taken so that the grounding or polarization means of
the component is not defeated.
For questions regarding service, please contact:
Emotiva Audio Corporation
131 Southeast Parkway Court
Franklin, TN 37064
Tel - (615) 790-6754 | (877) EMO-TECH | Fax - (615) 791-6287
www.emotiva.com
WARNING - TO REDUCE RISK OF FIRE OR ELECTRIC SHOCK, DO NOT EXPOSE THIS
APPLIANCE TO RAIN OR MOISTURE.
CAUTION - TO PREVENT ELECTRIC SHOCK, MATCH WIDE BLADE OF PLUG TO WIDE SLOT,
FULLY INSERT.
NEC (National Electrical Code) Standards
A Note for the Cable Television (CATV) Installer
This reminder is to call the CATV system installer's attention to Article 820-40 of the NEC that provides
guidelines for proper grounding and in particular, specifies that the cable ground shall be connected to
the grounding system of the building as close to the point of cable entry as practical.
Antenna Grounding Outside the House
If an outside antenna is connected to the receiver, be sure the antenna system is grounded so as to
provide some protection against voltage surges and built-up static charges. Article 810 of the National
Electrical Code, ANSI/NFPA 70, provides information with regard to proper grounding of the lead-in wire
to an antenna-discharge unit, connection to grounding electrodes, and requirements for the grounding
electrode.
Cable TV Coaxial Cable, Satellite Dish Cables and Television Antennas should be grounded BEFORE
the point of entry into the house.
Always observe proper antenna or satellite dish grounding techniques. When lightning strikes there is
always the possibility that your antenna or dish (mounted high on the roof) can become a conduit for
lightning and electrically damage any equipment to which it is connected. Additionally, proper grounding
offers safety to the people using the audio/video system in the event of an electrical problem.

Thank You for your USP-1 Purchase
Dear Music Enthusiast,
Thank you for purchasing the Emotiva USP-1 Preamplifier. We sincerely believe that it offers you
outstanding performance and value. Emotiva products are engineered and produced with the highest
quality materials and incorporate the latest technology. We think you will find the USP-1 Preamplifier
meets or exceeds your expectations.
The Emotiva USP-1 Preamplifier features an array of leading edge technologies and all the features
necessary to perform the functions expected of a high end stereo preamplifier. At Emotiva, we believe in
creating home audio products that are easy to use while delivering unparalleled performance.
UNPACKING THE USP-1
The Emotiva USP-1 Preamplifier Player should reach you in flawless condition. If you notice any shipping
damage or other issues upon unpacking the unit, please contact Emotiva immediately.
INVENTORY
Contained in the box should be the Emotiva USP-1 Preamplifier, the remote control, AAA batteries, an
IEC standard power cord, and user manual.
Gently lift out the unit and remove all the packaging material and accessories. The USP-1 is a delicate
instrument so please unpack it carefully to avoid unnecessary damage to the preamplifier. It is important
to save all the packing materials and the boxes in case your USP-1 ever needs to be moved or shipped
back to the factory for service.
7
8
Emotiva USP-1 Preamplifier
Audiophile 2 Channel Preamplifier Features
• Precision low noise phono input with moving magnet or moving coil capability
• Seven stereo inputs with precision instrumentation grade relay switching
• Microprocessor controlled pure analog signal path
• Full remote control operation
• Completely integrated bass manager for 2.1 operation with variable frequency stereo high pass
and mono low pass outputs
• Independent full range outputs (available simultaneously with 2.1 output)
• Gold plated discrete RCA connectors for all inputs and outputs
• Low Pass / High Pass filters 12dB /Octave slope
• Tape monitor loop
• Home Theater Bypass
• Stereo / Mono switching
• Large format precision film volume potentiometer with motorized control
• Headphone output
• Illuminated input indicators (Halo Backlit)
• 12V trigger output
• IEC power inlet, 120/230 VAC user configurable

USP-1 Front Panel Layout
(for larger image, see page 24)
* Input Indicator LEDs
LEDs above each selectable button illuminate when the labeled function is engaged. All of the labeled
indicators are available as remote commands. When receiving commands, the COM/RECV LED
illuminates as well.
1. Headphone Jack
Standard 1/4” gold -plated Headphone jack is provided on the front panel.
2. CD Player Source Selection Button
Selects a properly connected CD player as input source.
3. Phono Source Selection Button
Selects a properly connected turntable as input source.
4. Tuner Source Selection Button
Selects a properly connected tuner as input source.
5. Auxiliary 1 Source Selection Button
Selects any 2 channel audio device with analog outputs connected to the AUX1 inputs as input source.
6. Auxiliary 2 Source Selection Button
Selects any 2 channel audio device with analog outputs connected to the AUX2 inputs as input source.
7. I/R Receiver Window
Point the remote at this window for operation of the USP-1 by remote.
8. Mono Button
Push to combine left and right (L+R) channels of the USP-1.
9. Tape Monitor Button
This ‘loop’ connects an external recording device to the USP-1 preamplifier via RCA outputs and inputs.
While this traditionally has been a cassette player or DAT player, this connection could also be a hard
drive based recording device as long as the input and output connections are analog RCA audio
connections.
(continued, next page)
9
10
Any selected input will pass through to the Tape Monitor outputs except when the tape monitor is
selected. When the Tape Monitor is not selected, the selected input is sent to the main outputs as well as
the tape monitor outputs channels. When the Tape Monitor is selected, the Tape Monitor input is sent to
the main output channels.
10. HT Bypass Button
Push to bypass all of the preamp functions of the USP-1, allowing the USP-1 to be a pass through for left
channel, right channel and subwoofer controlled by an external multi-channel or ‘home theater’
processor.
11. Mute Button
Push to mute the USP-1.
12. Motorized Volume Control
Motorized precision film pot volume control is adjustable manually or with by remote.
13. Soft Touch Power Switch
This switch provides the ON/OFF control of the USP-1 from the front panel. When the unit is off and in
standby mode the switch glows amber. Once the unit is turned on, the switch glows blue. The unit can
also be turned ON and OFF with the supplied remote control.

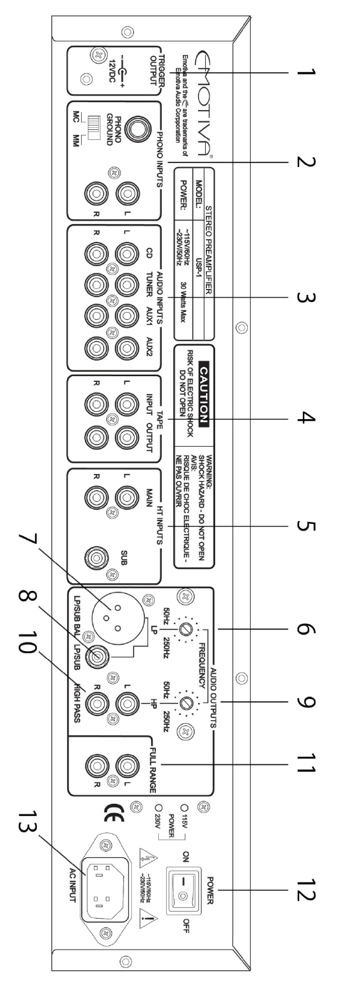
USP-1 Rear Panel Layout
11
(for larger image, see page 25)
1. TRIGGER OUTPUT
Allows a mono to mono 3.5mm cable to remotely trigger another device on and off, along with the USP-
1. Current is limited to 500mA, which is sufficient to trigger two devices. For triggering more devices,
you may want to use a separate triggering device, like the Emotiva ET-3.
2. PHONO INPUT Section (clockwise from top left)
• Phono Ground
• Left and Right channel RCA inputs
• MC/MM Switch. Use this switch to select your cartridge type. MC for Moving Coil or MM for
Moving Magnet.
3. AUDIO Section (from left to right)
• CD player inputs
• Tuner inputs
• Auxiliary 1 inputs – Suitable to connect to any audio device with Left and Right analog outputs.
• Auxiliary 2 inputs – Suitable to connect to any audio device with Left and Right analog outputs.
4. TAPE INPUT/OUTPUT
A tape loop is provided for recording 2-channel source material from a Cassette, DAT or a Hard Disk
Audio device with analog outputs.
5. HT INPUT (Home Theater)
Allows the USP-1 to connect to an external multi-channel/home theater processor. This connection is
disengaged when the USP-1 is in normal mode, but becomes active when the HT BYPASS button is
selected on either the USP-1 front panel or remote control. In HT BYPASS mode, this connection
becomes active and the USP-1 becomes a pass-through for the left, right, and subwoofer channels. This
is a true ‘straight wire’ pass-through – what comes in is what goes out. This signal is sent into the HT
Inputs (L,R, Sub), and is only present on the High Pass and Subwoofer Outputs.
NOTE: HT INPUTS are only active when the USP-1 is on.
ALL USP-1 functions become disabled in HT BYPASS mode, allowing the external processor to control
volume, EQ, etc.
12
AUDIO OUTPUT SECTION
6. Low Pass Filter Frequency Control
Rotary knob for selecting the low pass frequency, which can be set from 50Hz to 250Hz, with a slope
fixed at 12dB/Octave.
7. Balanced Subwoofer Output
Balanced (XLR) subwoofer connection, with low pass frequency controlled by the rotary knob directly
above it (6.).
8. RCA Subwoofer Output
Standard RCA subwoofer connection, with low pass frequency controlled by the rotary knob directly
above it (6.).
9. High Pass Filter Frequency Control
Rotary knob for selecting the high pass frequency, which can be set from 50Hz to 250Hz, with a slope
fixed at 12dB/Octave.
10. High Pass RCA Outputs
Standard RCA connections for left and right speakers when being used with the High Pass filter.
11. Full Range Outputs
These RCA outputs are 5Hz 5Hz - 80kHz, with less than 0.05dB of deviation. These outputs are
unaffected by the High Pass or Low Pass filters.
12. Main Power Switch
This rocker switch provides the master power for the USP-1. After it is in the ON position, the USP-1 can
be turned on manually from the front panel switch, remote control, or automatically with the trigger input
via a 3.5mm input jack.
13. Power Receptacle
Uses standard IEC power cord.

13
USP-1 Remote
hile
The USP-1 has a dedicated remote control that offers discrete
buttons for most of the critical USP-1 controls.
Power Buttons
Discrete buttons to turn the USP-1 on and off, as indicated.
Volume Controls
Applies continuous increase (+) or decrease (-) in volume levels w
buttons are held down. The USP-1 volume knob moves in
correspondence with these controls.
Source Selection Buttons
These buttons select the various source inputs of the USP-1. LED’s
on the front panel of the USP-1 will light in correspondence with the
selected input
• CD – selects CD player input as source.
• PHONO – selects Phono input as source.
• TUNER – selects Tuner input as source.
• AUX1 – selects Aux1 input as source.
• AUX2 – selects Aux2 input as source.
Mode Buttons
Select the indicated function for the USP-1. Front panel LED’s light
in correspondence with the selected mode.
• MONO – switches audio output from stereo to mono.
Pressing a second time restores signal to stereo (default).
• TAPE - Push to select the inputs on the Tape Monitor section
to pass through the outputs of the tape monitor section. When not
selected, any selected input passes through the output of the Tape
Monitor output.
• HT (Home Theater Bypass) –When pushed, the HT Input
connections will pass through the USP-1, allowing the left channel,
right channel and subwoofer to be controlled by a connected multi-
channel processor, bypassing the USP-1 completely.
• MUTE - mutes the USP-1.
Changing the Battery
The USP-1 remote is powered by 2 AAA batteries. To add fresh
batteries, press in the battery cover tab, remove the battery cover,
exchange the batteries and orient the negative and positive ends as
indicated by the images in the battery compartment. Emotiva recommends using alkaline batteries.

Bass Management – Low Pass/High Pass Filters
The USP-1 offers a full range speaker
connection, as well as offering a bass
management system that allows you to optimize
your sound when using a powered
14
subwoofer.
Bass Management Close-up:
1. Low Pass filter frequency control
2. Balanced (XLR) subwoofer output
3. RCA subwoofer output
4. High Pass filter frequency control
5. High Pass left and right speaker outputs
6. Full Range left and right speaker outputs
Full Range Outputs
Conventional stereo, 2 channel outputs. When
using the Full Range outputs (6), the speakers
receive full frequency range.
Full Range frequency response: 5Hz - 80kHz full range outputs, with less than 0.05dB of deviation.
Low Pass/High Pass Outputs
When using the Low Pass and /or High Pass outputs, a crossover is engaged for the subwoofer (Low
Pass), and for the left and right speakers (High Pass). Both filters have a rotary frequency control
selector which sets the frequency of the crossover, from 50Hz to 250Hz (12dB per octave slope).
Full Range and High Pass/Low Pass modes work simultaneously. This allows for several possible
combinations:
1. Full Range only
2. Full Range plus Low Pass (adding a subwoofer)
3. High Pass/Low Pass
There is no ‘wrong way’ or ‘right way’ to use these settings – it’s all about what sounds good to you, and
what works best with your speakers.
Full Range Only:
Recommended for users with full range speakers that are capable of producing full bass tones.
Use the Full Range outputs (6) for full range speakers.
Full Range Plus Low Pass:
Recommended for users who like the sound of their full range speakers using all frequencies, but want to
add more bass to the mix using a subwoofer.
Use the Full Range outputs (6) for the left and right side speakers, and use either the Balanced (2) or
RCA (3) subwoofer outputs. The Low Pass filter frequency control selects the frequency where the
subwoofer is added to the mix. It is recommended to start at 80Hz (shown in the Bass Management
diagram, in the 11:00 position), and then adjust either towards a higher or lower frequency, until you are
satisfied with the result.
(continued, next page)
15
Low Pass/High Pass Outputs
Recommended for users with speakers that do not have the capability to produce low bass tones (below
80Hz). Bookshelf speakers, smaller ‘satellite’, and home theater style speakers may be incapable of
producing lower bass tones, either by design or simple size limitations.
To optimize the performance of the speakers, and to maximize the power output of the connected
amplifier, use the High Pass outputs for your left and right speakers and adjust the High Pass filter
frequency control (4) to select the cut-off frequency. All frequencies below this will be attenuated.
Use either the Balanced (2) or RCA (3) Low Pass outputs to connect to a powered subwoofer, and using
the Low Pass filter frequency control (1) select the cut-off frequency. All frequencies above this will be
attenuated.
It is recommended that you start at 80Hz for both, and adjust until you are satisfied with the
result. Again, there is no right or wrong, only what sounds pleasing to you.
Choosing A Low Pass Filter
When connecting a powered subwoofer in a traditional “2.1” configuration, the built in amplifier of the
powered subwoofer commonly has a variable on-board low pass filter. It is up to you which filter you
choose (either the one built into the USP-1 or the one on the powered subwoofer), but USE ONLY ONE
of the low pass filters. Using two low pass filters at once could result in phasing problems.
To use the Low Pass filter on the USP-1, adjust the Low Pass filter on the connected subwoofer by
selecting the highest possible frequency. Then use the USP-1 Low Pass filter to select a frequency
lower than the highest frequency on the subwoofer.
To use the Low Pass filter on the connected subwoofer, adjust the Low Pass filter on the USP-1 by
selecting the highest possible frequency. Then use the subwoofer Low Pass filter to select a frequency
lower than the highest frequency on the USP-1.
If your connected sub has an LFE connection, and you wish to use the USP-1 Low Pass filter,
connect the USP-1 sub output to the LFE input. This bypasses the subwoofer’s internal
crossover.
16
Connecting Audio Source Units
The USP-1 can connect to up to seven different audio devices, using standard RCA analog connectors.
PHONO
Connects to a turntable using standard RCA type connectors. Connect the Left output on the turntable
to the Left input of the PHONO INPUT section on the USP-1, and the Right output to the Right input of
the PHONO INPUT section of the USP-1.
Also note the connection of the chassis ground tab between the turntable and preamplifier. This is
necessary for audio signal reference so the USP-1 processes signal from the turntable with minimal
unwanted noise.
Select the type of cartridge, either high output Moving Magnet (MM) or low output Moving Coil (MC) by
moving the switch to the appropriate positions.
If you are not sure which type of cartridge you have, select MM first and then if the noise level is too high,
try selecting MC instead.
The PHONO input is not designed for line level sources such as CD players or other devices.
Please ONLY connect turntables with Moving Magnet or Moving Coil needle cartridges to this
input to avoid damage.
If you are using a separate preamplifier for your turntable, do not use the USP-1 Phono input
section. Use either the AUX1 or AUX2 inputs. The USP-1 Phono input is a high gain input, and
turntable preamplifiers have high gain output. Combining the two would result in an extremely
high gain signal that would cause unwanted distortion.
CD
Connects to a CD Player using standard RCA type connectors. Connect the Left output on the CD player
to the Left input of the CD INPUT section of the USP-1, and the Right output on the CD player to the
Right input of the CD INPUT section of the USP-1.
* This is not a dedicated input, and can be used as an input for a device other than a CD player.
TUNER
Connects to a Tuner using standard RCA type connectors. Connect the Left output on the Tuner to the
Left input of the TUNER section of the USP-1, and the Right output on the Tuner to the Right input of the
TUNER section of the USP-1.
* This is not a dedicated input, and can be used as an input for a device other than a Tuner.
AUX1 & AUX 2
These inputs can be used with most 2 channel audio source devices, including DVD players,
personal computers, portable media players, MP3 players/docks, etc. Depending on the type of
media player and/or docking station available, direct RCA outputs may not be available, so a 1/8” stereo
mini jack to RCA adapter may be necessary to complete the connection. Analog outputs on the audio
devices are necessary to connect to the USP-1
(continued, next page)
17
TAPE
This ‘loop’ connects an external recording device to the USP-1 preamplifier via RCA outputs and inputs.
While this traditionally has been a cassette player or DAT player, this connection could also be a hard
drive based recording device as long as the input and output connections are analog RCA audio
connections.
To enable the tape monitor loop you must connect to the inputs AND outputs on the USP-1 labeled
"TAPE" on the rear panel. To engage the tape monitor loop, select TAPE from the USP-1 front panel or
remote.
Please note -these outputs are unaffected by any external signal processing.
To engage the recording device, first press TAPE from the front panel or remote and then it will allow you
to “monitor” the audio that the recording device will record. When you are ready to record, engage the
recording device.
HT INPUT
Connects to an external multi-channel, or ‘home theater’ processor using standard RCA type analog
connectors. Connect left, right, and subwoofer (if your front speakers are not full range) analog outputs
on the processor to the USP-1 HT inputs. When the HT BYPASS button is selected, all USP-1 functions
are disabled, and it becomes a pass-through for the connected external processor. The HT inputs are
only active when the USP-1 is on.
Connecting To Amplifiers and Speakers
When connecting to amplifiers and speakers, make sure to use the properly labeled left
channel, right channel and subwoofer connections.
Check to make sure that you have connected the proper cables in the proper sequence:
1) Left and right channel USP-1 outputs (either full range or High Pass) into left and right
channel amplifier inputs. 2) Left and right channel amplifier outputs to left and right speakers.
3) USP-1 subwoofer outputs for powered subwoofer inputs.
NOTE: Do not connect speakers directly to the USP-1.
Also use high quality, 100% shielded, oxygen free copper cables.
Trigger Connections
12VDC trigger used to remotely trigger a connected device on and off. Please ensure that the total of the
loads connected to this trigger do not exceed 500mA.
18
Troubleshooting Guide
The Emotiva USP-1 is expertly designed and built to provide years of trouble-free performance. Most
problems that occur can usually be solved by checking your connections or making sure that the audio
and video components connected to the USP-1 are on and fully operational. The following information
will help you deal with common problems you may experience during initial use of your unit. If problems
persist, contact Emotiva’s service department for assistance.
No Sound (from one or more full range speakers)
• Speaker cables may have come undone from the amplifier. Turn off your system and check the
speaker cables, and tighten the binding posts.
• Audio output cables that connect USP-1 to the amplifier(s) may not have a good connection. Turn
off your system and check all audio cable connections.
• An audio cable may have an internal break. Switch cable with a different channel to see if the
problem migrates to a different channel or stays in the affected channel(s).
• The correct input is not currently selected.
• The mute switch is on.
• The outputs on high pass and low pass channels may be accidentally reversed. Check that the
correct output feeds the intended amplifier.
No Low Frequency (or poor output)
• The powered subwoofer’s amplifier is off or its input level controls are set low.
• Adjust the crossover on the subwoofer or USP-1.
• Adjust the physical location of your subwoofer.
Sound Drops Out with CD or DVD Playback
• Make sure the disc is not dirty or scratched.
• Some inexpensive players and changers tend to mistrack more often than you would like.
Remote Not Working
• Make sure the AAA batteries are not dead or installed incorrectly.
• Make sure that the USP-1 front panel receiver window is not obstructed.
External Amplifier(s) Shut Down (Often or Prematurely)
• Make sure each speaker’s average impedance is not less than your amplifiers can safely handle.
• The amplifier(s) have good ventilation, no vents are covered.
• Try using your left and right speakers with the High Pass filter, allowing a more efficient use of the
amplifier’s power.
(continued, next page)
19
• Check that the amplifier(s) power output is a good match for your speakers. If your speakers are
inefficient, consider using larger power amplifiers.
• Make sure all wiring is correct and there are no shorts. If wires have been run under carpet, under
base boards (or along tack strips) there is a possibility they can easily be shorted by sharp edges
or something that punctures the insulation. Also, if your wiring is in the walls - make sure that
there was not an accidental “staple” puncture from securing wiring to framing studs or wall/floor
joists. This evaluation is easily done with an Ohm meter.
Remotely Connected External Amplifier(s) Do Not Turn Off with USP-1
Check the following:
• Make sure the 1/8” plug is connected between USP-1 trigger output and the amplifier(s) trigger
input(s).
• Make sure the total consumption of the connected devices do not exceed 500mA
• If you have spliced the plug to one or more amplifier turn on inputs, remember the center pin is
positive and the outer shield is negative. This output is 12VDC.
“Hum” Noises
• This problem is more than likely caused by a “ground loop” in your system, rather than a fault in
the USP-1. Follow these steps to isolate the main cause of the hum; there may even be more
than one. Remember to turn off all components in your system (including the USP-1) before
disconnecting or connecting any cables.
Disconnect the following items in order, and check each time if the hum has gone away:
• Disconnect all cables which come from outside the room, such as cable TV, satellite TV, or roof
top antennas. Make sure that they are disconnected where they first enter the room, so they are
making no connection to the USP-1, the TV, or any other component. If the hum is caused by the
cable TV line, you will need a “ground loop isolator.” This is an inexpensive device fitted in-line
with the coaxial cable feed. Contact your cable company or your Emotiva Dealer for assistance.
• Disconnect any component which has a grounded power cord.
• If the hum persists, disconnect all the source components one at a time from the back of the
USP-1 until you identify the problem. (Ground loop isolators are available for audio lines and
video. Ask Emotiva for assistance)
• Try moving the speaker cables away from any power cords. Try just one speaker, connecting it to
different channels and see if an amplifier channel is bad.
• If you are still having a problem, remember that Emotiva’s technical support staff will assist you.
Other Probable Causes of Speaker Noise
• Speaker noise may also be caused by interference or noise on your AC line. Make sure there are
no large appliances sharing the line, halogen lamps, or light-dimming Triac devices.
• Try connecting your system to another AC socket on a separate line.
(continued, next page)
20
• If the hum is heard from within the USP-1 and not through the speakers, this may also be caused
by interference on the AC or DC lines. The power transformers may turn this interference into an
audible noise. Internal hum can be made worse by a shelf or cabinet resonating, so try moving
the USP-1 to another shelf.
• Try moving your components further away from the TV, especially if you ever notice the screen
has changed color in the area closest to the component.
• If you have very high efficiency speakers, these may tend to reveal noises which other speakers
do not.
Problems with the whole A/V System
If you are having more complex problems in your overall home entertainment system (not just with the
USP-1 preamplifier/processor), please contact Emotiva directly for professional installation assistance.
These professionals have years of experience with a wide range of home entertainment and products
and can offer you assistance in troubleshooting and rectifying problems.

21
USP-1 Technical Specifications
Preamp Audio Section
Phono Input:
Moving Coil - 240 Ohm
Moving Magnet - 47kOhm
Input Impedance Line In: 47K Ohm +/-5%
Signal-to-Noise Ratio (rel 2V out): >116dB (ref 2V)
Distortion: < 0.005% 20Hz - 20kHz with 80kHz measurement bandwidth
Frequency Response: 5Hz - 80kHz, with less than 0.05dB of deviation
Line Out Freq. Response: 5Hz - 80kHz, with less than 0.05dB of deviation
Maximum Line Out Level: 9V RMS
Ground Floor Noise Level: > 20uV
Channel Separation @ 1kHz: > 80dB (same as line)
Built In Filters:
High Pass = Variable 50Hz or 250 Hz @ 12dB/Octave
Low Pass = Variable 50Hz or 250 Hz @ 12dB/Octave, Summed L+R Mono
Other Details
Trigger Output: 12 VDC, 3.5mm jack, Center Pin is Positive / Current Load <120mA
Electrical Power Requirement: 115VAC, 60Hz or 230VAC, 50-60Hz User Selectable
Raw Weight: 14 lbs
Dimensions:
• Width: 17 inches
• Depth: 14 inches (including RCA jack extension)
• Height: 3.75 inches (faceplate only) – 4.25 inches including feet
22
Licensing and Trademark Disclosures
Emotiva Disclosure
© Copyright 2009 Emotiva Audio Corporation
All Rights Reserved. Emotiva reserves the right to make improvements to its products at any
time. Therefore, the specifications of the product and the specific details of this manual are
subject to change at any time.
23
Limited Warranty
Emotiva is proud to design and manufacture quality products for the home audio and home theater
enthusiast. Your USP-1 Stereo Preamplifier has been crafted to perform flawlessly for many years. As a
result of this quality and craftsmanship, Emotiva offers the following warranty to owners of the USP-1.
Emotiva Audio warrants the USP-1 to be free of defects in materials and workmanship for a period of
FIVE YEARS from the original date of purchase. The following items are excluded from, or will void this
warranty:
1) Damage to the USP-1 caused during shipment and handling.
2) Damage to the USP-1 caused by accident, misuse, or abusive operation contrary to the
instructions specified within this manual.
3) USP-1 units that have had the serial numbers defaced, modified, or removed.
4) Damage to the USP-1 resulting from a modification of, or attempted repair by any person or
company not authorized by Emotiva.
5) Any USP-1 unit purchased from a non-authorized dealer.
6) Emotiva does not assume liability for loss of use, or damage to, associated or connected
equipment.
Service Assistance for the USP-1
Please note that BEFORE sending your USP-1 in for repair, you MUST call Emotiva and obtain a
returned material authorization (RMA) number. Before contacting Emotiva to begin the return process,
please have as detailed a description of the problem(s) you are experiencing and the conditions under
which the problem(s) occur. Additionally, please be sure to check the troubleshooting guide in this
manual to rule out the possibility of something simple you may have overlooked. Please remember, this
is a complicated product and most instances of perceived product failure are the result of improper set up
or operation. Emotiva and its dealers will help you ascertain whether you have an operational problem or
product defect.
Once you have obtained the RMA number, you must print this clearly on the outside of the box so it will
be possible to determine from whom the USP-1 came once it arrives at Emotiva. Parcels arriving without
an RMA number will be refused and returned freight collect.
Please send your repairs with RMA number to:
Emotiva Audio Corporation
Attn: Customer Service
131 Southeast Parkway Court
Franklin, TN 37064
Reference - (Put your RMA number in this spot)

24

25

26