Esprit El355 Users Manual
2015-02-06
: Esprit Esprit-El355-Users-Manual-541006 esprit-el355-users-manual-541006 esprit pdf
Open the PDF directly: View PDF
.
Page Count: 21

PLEASE CAREFULLY READ THIS ENTIRE MANUAL BEFORE
OPERATING YOUR NEW ELLIPTICAL!
Z100 / Z300 Z500 Z700
OWNER’S MANUAL

EL355 Elliptical
1
Product Registration..2
Important Safety Instructions3
Important Electrical Information4
Important Operation Instructions..4
Assembly Instructions.5
Features..13
Operation of Your New Elliptical..14
Maintenance...19
Manufacturers Limited Warranty.20
Table of Contents

EL355 Elliptical
2
Thank you for your purchase of this quality elliptical trainer from Spirit Manufacturing, Inc.
Your new elliptical was manufactured by one of the leading fitness manufacturers in the
world and is backed by one of the most comprehensive warranties available. Through your
dealer, Spirit will do all we can to make your ownership experience as pleasant as possible
for many years to come. The local dealership where you purchased this elliptical is your
administrator for all Spirit warranty and service needs. Their responsibility is to provide you
with the technical knowledge and service personnel to make your experience more
informed and any difficulties easier to remedy.
Please take a moment at this time to record the name of the dealer, their telephone
number, and the date of purchase below to make any future, needed contact easy. We
appreciate your support and we will always remember that you are the reason that we are
in business. Please complete and mail your registration card today and enjoy your new
elliptical.
Yours in Health,
Spirit Manufacturing, Inc.
Name of Dealer_______________________________________________
Telephone Number of Dealer___________________________________
Purchase Date_______________________________________________
RECORD YOUR SERIAL NUMBER
Please record the Serial Number of this fitness product in the space provided below.
Serial Number_______________________________________
REGISTER YOUR PURCHASE
The self-addressed product registration card must be completed in full and returned to Spirit
Manufacturing, Inc or visit: www.spiritfitness.com/warranty.asp to register online.
EL355_Ver.A
CONGRATULATIONS ON YOUR
NEW ELLIPTICAL AND WELCOME
TO THE
SPIRIT
FAMILY!
Product Registration

EL355 Elliptical
3
WARNING - Read all instructions before using this appliance.
Do not operate elliptical on deeply padded, plush or shag carpet. Damage to both carpet
and elliptical may result.
Keep children away from the elliptical. There are obvious pinch points and other caution
areas that can cause harm.
Keep hands away from all moving parts.
Never operate the elliptical if it has a damaged cord or plug. If the elliptical is not working
properly, call your dealer.
Keep the cord away from heated surfaces.
Do not operate where aerosol spray products are being used or where oxygen is being
administered. Sparks from the motor may ignite a highly gaseous environment.
Never drop or insert any object into any openings.
Do not use outdoors.
To disconnect, turn all controls to the off position, then remove the plug from the outlet.
Do not attempt to use your elliptical for any purpose other than for the purpose it is intended.
The hand pulse sensors are not medical devices. Various factors, including the users
movement, may affect the accuracy of heart rate readings. The pulse sensors are intended
only as exercise aids in determining heart rate trends in general.
Wear proper shoes. High heels, dress shoes, sandals or bare feet are not suitable for use on
your elliptical. Quality athletic shoes are recommended to avoid leg fatigue.
SAVE THESE INSTRUCTIONS - THINK SAFETY!
Important Safety Instructions

EL355 Elliptical
4
WARNING!
NEVER remove any cover without first disconnecting AC power supply.
If A.C. voltage varies by ten percent (10%) or more, the performance of your elliptical may be
affected. Such conditions are not covered under your warranty. If you suspect the voltage
is low, contact your local power company or a licensed electrician for proper testing.
NEVER expose this elliptical to rain or moisture. This product is NOT designed for Use
outdoors, near a pool or spa, or in any other high humidity environment. Maximum
environmental ratings are 40-120 degrees Fahrenheit, 95% humidity non-condensing (no
water droplets forming on surfaces).
NEVER operate this elliptical without reading and completely understanding the results of any
operational change you request from the computer.
Understand that changes in resistance do not occur immediately. Set your desired level on
the computer console and release the adjustment key. The computer will obey the command
gradually.
NEVER use your elliptical during an electrical storm. Surges may occur in your household
power supply that could damage elliptical components.
Use caution while participating in other activities while using your elliptical such as watching
television, reading, etc. These distractions may cause you to lose balance, resulting in
serious injury.
Always hold on to a handrail or hand bar while making control changes.
Do not use excessive pressure on console control keys. They are precision set to properly
function with little finger pressure. Pushing harder is not going to make the unit go faster or
slower. If you feel the buttons are not functioning properly with normal pressure, contact your
SPIRIT dealer.
Important Electrical Information
Important Operation Instructions

EL355 Elliptical
5
EL355 ASSEMBLY PACK CHECK LIST
Step 1
#119 - 3/8" x 3-3/4"
Hex Head Bolt (3pcs)
#94 - 3/8" x 19mm
Flat Washer (2pcs) #114 - 3/8" x 23mm
Curved Washer (1pc)
#78 - M5 x 10mm
Phillips Head Screw (4pcs)
#120 - 3/8" Split
Washer (3pcs)

EL355 Elliptical
6
Step 2
Step 3
#97 - 5/16" x 23mm
Flat Washer (2pcs) #70 - 5/16" x 15mm
Hex Head Bolt (2pcs) #101 -17mm
Wave Washer (2pcs)
#71 - 5/16 x 32mm
Hex Head Bolt (2pcs)
#98 - 5/16" x 20mm
Flat Washer (2pcs)
#105 - 5/16"
Nylon Nut (2 pcs)
#89 - 3/8"
Nylon Nut (2 pcs)
#94 - 3/8" x 19mm
Flat Washer (2pcs)
#76 - 3/8 x 2-1/4"
Button Head Socket Bolt (6pcs)
#114 - 3/8" x 23mm
Curved Washer (4pcs)

EL355 Elliptical
7
Step 4
Tools
#84 - 3.5mm x 12mm
Self Tapping Screw (8pcs) #79 - M5 x 15mm
Phillips Head Screw (12pcs)
#108 - Combination M5 Allen Wrench
& Phillips Head Screw Driver (1 pc)
#110 - 12mm Wrench (1pc) #111 - 13/14mm Wrench (2pcs)

EL355 Elliptical
8
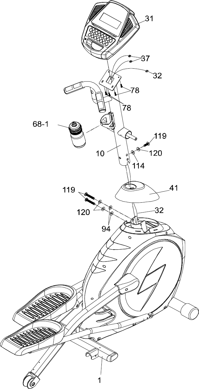
STEP 1: CONSOLE MAST ASSEMBLY
1. Locate the Console Mast (10) and Console Mast Cover (41) and slide the Cover onto the
Mast as far as it will go. Make sure the Console Mast Cover is facing the correct way.
2. At the top opening of the Main Frame (1) there is a Computer Cable (32) attached to a
guiding wire. Unravel the wire and feed the Computer Cable into the bottom of the
Console Mast tube and out of the top opening.
3. Install the Console Mast (10) into the receiving bracket on the top of the Main Frame. Pull
slightly on the computer cable at the top of the mast while installing, this will ensure the
cable does not get pinched and shorted during mast assembly.
4. Install one 3/8" Split Washer (120) and one 3/8 Curved Washer (114) onto one of the
3/8" x 3" Hex Head Bolts (119) and install through the front of the Console Mast; just
hand tighten for now. Install two 3/8 Flat Washers (94) and two 3/8" Split Washers (120)
onto two 3/8" x 3" Hex Head Bolts (119). Install them through the left side of the receiving
bracket into the Console Mast. Now tighten all 3 bolts as tight as possible and snap the
console mast cover into place.
5. There are three connectors at the top opening of the Console Mast; two Hand pulse
wires (37) and one Computer Cable (32). Connect these to the mating connectors on the
back of the Console Assembly (31).
6. Store the excess wiring back into the Console Mast (10) as you carefully install the
Console Assembly (31) onto the mounting plate of Console Mast. Secure the console
with four M5 Phillips Head Screws (78).
Assembly Instructions FOR EL355

EL355 Elliptical
9

EL355 Elliptical
10
STEP 2: SWING ARM ASSEMBLY
1. Install the two Wave Washers (101) onto the Left and Right sides of the Swing Arm axle.
2. Slide the Left and Right Swing Arms (4&5) onto the appropriate side of the axle. There is
a small sticker on each swing arm that shows L(Left) or R(Right). Do not force the
swing arms onto the axles, they should slip on but may need to be jiggled a little to align
them properly. The swing arms have been installed at the factory during testing so they
should fit properly.
3. Install two 5/16" Flat Washers (97) onto the two 5/16" Hex Head bolts (70) and install and
tighten in the threaded holes in the ends of the axle.

EL355 Elliptical
11
STEP 3: Connecting arm & rear rail assembly
1. Align the hole in the rod end bearings at the ends of the Connecting Arms (7&8) with the hole
in the bracket of the Swing Arms (4&5). There is a sleeve spacer already installed in the rod
ends and held in place with a twist tie; make sure these spacers do not fall out during
assembly. The rod end bearing should be positioned to the inside of the swing arm brackets.
Install two 5/16" Hex Head Bolts (71) through the left and right swing arm brackets and the
rod end and secure with 5/16" Flat Washers (98) and 5/16" Nuts (105).
2. Install the two Rear Rail Tubes (14) to the rear end of the Main Frame (1) and secure with two
3/8 x 2-1/4 Button Head Socket Bolts (76), two 3/8 Flat Washers (94) and two 3/8 Nuts
(89).
3. Install the Rail Stabilizer (13) between the rearward ends of the Rail Tubes (14) and secure
with four 3/8 x 2-1/4 Button Head Socket Bolts (76) and 3/8 Curved Washers (114).

EL355 Elliptical
12
STEP 4: Beauty covers assembly
1. Install the Connecting Arm Covers (59 & 60) over the connection of the rod end and
Swing Arms with four M5 Phillips Head Screws (79) and two 3.5x12mm Self Tapping
Screws (84).
2. Install the two Wheel Covers (52) on the pedal arms above the Wheels with four M5
Phillips Head Screws (79).
3. Install the Front Handle Bar Covers (54 & 56) and Rear Handle Bar Covers (55 & 57)
over the Swing Arm axle connections with six 3.5x12mm Self Tapping Screws (84).
4. Install the two Middle Stabilizer Covers (61) on the joint of the Rail Tubes (14) and the
Stabilizer. Secure the covers with two M5 x 15mm Phillips Head Screws (79).
5. Install the Rear Stabilizer Covers (62 & 63) on the rearward end of the Rail Tubes (14)
and secure them with two M5 x 15mm Phillips Head Screws (79).

EL355 Elliptical
13
Correctly aligned orthopedic foot pads
Through research performed with a leading sports scientist and physical rehabilitation expert, Spirit
engineering has developed a breakthrough in pedal design. No other elliptical, at any price, offers
these unique features. The history of elliptical use over the past few years tells us that many users
suffer from numb toes while working out on elliptical trainers. Many other users complain of ankle,
Achilles tendon, knee and/or hip pain. While researching a solution to these common problems
SPIRIT engineers consulted Richard DeKok, P.T., M.T.C., of St. Bernards Industrial Rehabilitation
Center in Jonesboro Arkansas.
Together we identified the inherent problem in elliptical designs and developed solutions to solve
the problems. What we found is that when you use an elliptical you tend to push outward during the
power stroke and not just straight back. This causes stress on the outer part of the foot and throws
off the natural alignment of the joints. The solution was to add a 2-degree inward angle to the
footpads. This might sound simple but what it does is straighten the users joints back into a neutral
alignment. This eases the over stressing of the ankles, knees and hips.
Transportation
The elliptical is equipped with two transport wheels, which are engaged when the rear of the
Elliptical is lifted.
POWER CONNECTOR LOCATED ON
FRONT, LEFT HAND SIDE OF UNIT.
Features

EL355 Elliptical
14
Getting familiar with the control panel
EL355 Console
Power up
The Elliptical is supplied with an external power supply. When power is connected to the Elliptical,
the console will automatically power up. If there is no input to the console for 20 minutes the
console will go to stand-by mode. In stand-by mode the console display will turn off. To turn the
console on press any key.
When initially powered on the console will perform an internal self-test. During this time all the lights
will turn on. When the lights go off the dot matrix display will show a software version (i.e.: VER 1.0)
and the message window will display an odometer reading. The odometer reading displays how
many hours the elliptical has been used and how many virtual miles the elliptical has gone. The
time in hours will be to the left and the odometer in miles will be displayed to the right.
The odometer will remain displayed for only a few seconds then the console will go to the start up
display. The dot matrix display will be scrolling through the different workout profiles of the
programs and the message window will be scrolling the start up message. You may now begin to
use the console.
Operation of Your Elliptical
EL355 Elliptical
15
Console Operation
Quick Start mode
This is the quickest way to start a workout. After the console powers up you just press the Start key
to begin, this will initiate the Quick Start mode. In Quick Start the Time will count up from zero and
the workload may be adjusted manually by pressing the Up or Down button. The dot matrix display
will show a 1/4-mile track with a lap counter in the center to monitor your progress.
Basic information and functions:
The Message Window will initially be displaying the Time, Program name and Distance (in miles).
Each time the Enter button is pressed the next set of information will appear, three sets of data in
all. The next set of information displayed is: Speed (in mph), RPM (pedaling speed) and Watts
(indication of work level). The third set displayed is: Calories, Level (work level from 1-20) and
Pulse (heart rate in beats per minute). Pressing the Display key one more time will set the display
to scan mode where the data will change every 4 seconds.
The Elliptical has a built in heart rate monitoring system. Simply grasping the hand pulse sensors
on the stationary handle bars will start the heart Icon blinking (this may take a few seconds). The
Pulse Display Window will display your heart rate, or Pulse, in beats per minute.
The Stop/Reset button actually has several functions. Pressing the Stop/Reset key once during a
program will Pause the program for 5 minutes. If you need to get a drink, answer the phone or any
of the many things that could interrupt your workout, this is a great feature. To resume your workout
during Pause just press the Start key. If the Stop/Reset button is pressed twice during a workout the
program will end and a summary of your workout is displayed. If the Stop/Reset key is held down
for 3 seconds the console will perform a complete Reset. During data entry for a program the
Stop/Reset key performs a Previous Screen function. This allows you to go back one step in the
programming each time you press the Stop/Reset key.
There is a Stereo Audio Input Jack on the front of the console and built-in speakers. You may
plug any low-level audio source signal into this port. Audio sources include MP3, Ipod, portable
radio, CD player or even a TV or computer audio signal.
Programming the console
Each of the programs can be customized with your personal information and changed to suit your
needs. Some of the information asked for is necessary to ensure the readouts are correct. You will
be asked for your Age and Weight. Entering your Age is necessary during the Heart Rate control
program to ensure the correct settings are entered in the program; Entering your Weight helps to
calculate the Calorie readout. Although we cannot provide an exact calorie count we do want to be
as close as possible.
A message about Calories: Calorie readings on every piece of exercise equipment, whether it is
in a gym or at home, are not accurate and tend to vary widely. They are meant only as a guide to
monitor your progress from workout to workout. The only way to measure your calorie burn
accurately is in a clinical setting connected to a host of machines. This is because every person is
different and burns calories at a different rate.
EL355 Elliptical
16
Entering a program/Changing Settings
Press each program key to scroll through the program selections. The profile for each program will
be displayed in the dot matrix window. Press the enter key to select a program and begin
customizing the settings. If you want to workout without entering new settings then just press the
Start key. This will bypass the programming of data and take you directly to the start of your
workout. If you want to change the personal settings then just follow the instructions in the
message window. If you start a program without changing the settings, the default settings will be
used.
NOTE: Age and Weight default settings will change when you enter a new number. So the last Age
and Weight entered will be saved as the new default settings. If you enter your Age and Weight the
first time you use the Elliptical you will not have to enter it every time you work out unless either
your Age or Weight changes or someone else enters a different Age and Weight.
Programming:
Manual
The Manual program works as the name implies, manually. This means that you control the
workload yourself and not the computer.
1. Press the Manual program button then press the Enter key.
2. The message window will ask you to enter your Weight. You may adjust the weight setting
using the Up and Down keys, then press the Enter key to accept the new number and
proceed on to the next screen.
3. You are now asked to enter your Age. You may adjust the age setting using the Up and
Down keys then press enter to continue.
4. Next is the Time. You may adjust the Time and press enter to continue.
5. Now you are finished editing the settings and can begin your workout by pressing the Start
key. You can also go back and modify your settings by pressing the Stop key to go back one
level of the programming screen.
6. Once the program starts the elliptical will be set to level one. This is the easiest level and it is
a good idea to stay at level one for a while to warm up. If you want to increase the work load
at any time press the Up key; the Down key will decrease the workload.
7. During the Manual program you will be able to scroll through the data in the message
window by pressing the ENTER key.
8. When the program ends the message window will show a summary of your workout. The
summary will be displayed for a short time, then the console will return to the start-up
display.
Preset Programs
The Elliptical has five different programs that have been designed for a variety of workouts. These
five programs have factory preset profiles for achieving different goals.
EL355 Elliptical
17
HILL
The Hill program simulates going up and down a hill. The resistance in the pedals will steadily
increase and then decrease during the program.
Fat Burn
The Fat Burn program is designed, as the name implies, to maximize the burning of fat. There are
many schools of thought on the best way to burn fat but most experts agree that a lower exertion
level that stays at a steady workload is the best. The absolute best way to burn fat is to keep your
heart rate at around 60% to 70% of its maximum potential. This program does not use heart rate
but simulates a lower, steady exertion workout.
Cardio
The Cardio program is designed to increase your Cardio vascular function. This is exercise for
your heart and lungs. It will build up your heart muscle and increase blood flow and lung capacity.
This is achieved by incorporating a higher level of exertion with slight fluctuations in work.
Strength
The Strength program is designed to increase muscular strength in your lower body. This program
will steadily increase in resistance to a high level and then keeps you there. This is designed to
strengthen and tone your legs and glutes.
Interval
The Interval program takes you through high levels of intensity followed by periods of low intensity.
This program increases your endurance by depleting your oxygen level followed by periods of
recovery to replenish oxygen. Your cardio vascular system gets programmed to use oxygen more
efficiently this way.
Programming Preset Programs:
1. Select the desired program button then press the Enter key.
2. The message window will ask you to enter your Weight. You may adjust the weight setting,
using the Up and Down keys, then press the Enter key to accept the new number and proceed
on to the next screen.
3. You are now asked to enter your Age. You may adjust the age number using the Up and Down
keys, then press enter to continue.
4. Next is Time. You may adjust the Time and press enter to continue.
5. Now you are asked to adjust the Max Level. This is the peak exertion level you will experience
during the program (at the top of the hill). Adjust the level and then press enter.
6. Now you are finished editing the settings and can begin your workout by pressing the Start key.
You can also go back and modify your settings by pressing the Stop key to go back one level,
or screen.
7. If you want to increase or decrease the workload at any time during the program press the Up
or Down key. This will change the entire program profile.
8. During the program you will be able to scroll through the data in the message window by
pressing the Enter key.
9. When the program ends the message window will show a summary of your workout. The
summary will be displayed for a short time, then the console will return to the start-up display.
EL355 Elliptical
18
Custom User Defined Programs
The customizable User programs allow you to build and save your own workout. You can build your
own custom program by following the instructions below.
1. Select the User program (U1 or U2) then press enter.
2. The message window will ask you to enter your Weight. You may enter your weight using the
Up and Down keys, then press the Enter key to accept the new number and proceed on to the
next screen.
3. You are now asked to enter your Age. You may adjust the age number using the Up and Down
keys, then press enter to continue.
4. Next is Time. You may adjust the Time and press enter to continue.
5. Now the first column will be blinking and you are asked to adjust the level for the first segment
of the workout. When you finish adjusting the first segment, or if you dont want to change,
then press enter to continue to the next segment.
6. The next segment will show the same level as the previously adjusted segment. Repeat the
same process as the last segment then press enter. Continue this process until all twenty
segments have been set.
7. The message window will then tell you to start to begin (and save the program) or enter to
modify the program. Pressing Stop will exit to the start up screen.
8. If you want to increase or decrease the workload at any time during the program press the Up
or Down key. This will only affect the workload for the present position in the profile. When the
profile changes to the next column it will return to the preset work level.
9. During the User 1 or User 2 program you will be able to scroll through the data in the message
window by pressing the Enter key.
10. When the program ends the message window will show a summary of your workout. The
summary will be displayed for a short time, then the console will return to the start-up display.
Heart Rate Control Program operation
To start the HRC program follow the instructions below or just select the HRC program then the
Enter button and follow the directions in the message window.
1. Select the HRC program then press the Enter key.
2. The message window will ask you to enter your Weight. You may enter your weight using the
Up and Down keys or the numeric key pad, then press the Enter key to accept the new number
and proceed on to the next screen.
3. You are now asked to enter your Age. You may adjust the age number using the Up and Down
keys or the numeric key pad, then press enter to continue.
4. Next is Time. You may adjust the Time and press enter to continue.
5. Now you are asked to adjust the HRC percent. The default is 70%; you may select 60% or 80%
also. Adjust the level and then press enter.
6. You are now asked to select the Target heart rate Level. This is the heart rate level you will
experience during the program. Adjust the level and then press enter.
7. Now you are finished editing the settings and can begin your workout by pressing the Start key.
You can also go back and modify your settings by pressing the Stop key to go back one level, or
screen.
8. If you want to increase or decrease the workload at any time during the program press the Up
or Down key. This will allow you to change your target heart rate at any time during the program.
9. During the HRC program you will be able to scroll through the data in the message window by
pressing the Enter key.
When the program ends the message window will show a summary of your workout. The summary
will be displayed for a short time, then the console will return to the start-up display
EL355 Elliptical
19
Maintenance:
1. Wipe down all areas in the sweat path with a damp cloth after each workout.
2. If a squeak, thump, clicking or rough feeling develops the main cause is most likely one of two
reasons:
i. The hardware was not sufficiently tightened during assembly. All bolts that were
installed during assembly need to be tightened as much as possible. It may be
necessary to use a larger wrench than the one provided if you cannot tighten the bolts
sufficiently. I cannot stress this point enough; 90% of calls to the service department
for noise issues can be traced to loose hardware or the rear rails being dirty.
ii. Dirt build-up on the rear rails and polyurethane wheels are also a source of noise.
Noise from build-up on the rails can cause a thumping sound that you would swear is
coming from inside the main body of the machine because noise travels, and is
amplified in the tubing of the frame. Clean the rails and wheels with a lint free cloth
and rubbing alcohol. Stubborn build-up can be removed with your thumbnail or a
non-metallic scraper, like the back edge of a plastic knife. After cleaning, apply a
small amount of lubricant on the rails with your fingers or a lint free cloth. You only
need a thin coat of lubrication, wipe off any excess.
3. If squeaks or other noises persist, check that the unit is properly leveled before calling the
service department.
Maintenance Menu in console software:
The console has built in maintenance/diagnostic software. The software will allow you to change
the console settings from English to Metric and turn off the beeping of the speaker when a key is
pressed for example. To enter the Maintenance menu (may be called Engineering mode,
depending on version) press and hold down the Start, Stop and Enter keys. Keep holding the keys
down for about 5 seconds and the message window will display Engineering mode. Press the
enter button to access the menu below. Press the up and down keys to navigate the menu.
a. Key test (will allow you to test all the keys to make sure they are functioning)
b. Display test (tests all the display functions)
c. Functions (Press enter to access settings, use up/dn keys to scroll)
i. ODO reset (reset the odometer)
ii. Units (Set to English or Metric display readings)
iii. Sleep mode (Turn on to have the console power down automatically after
20 minutes of inactivity)
iv. Motor test (continually runs the tensioning gear motor)
v. Manual (Allows stepping of the gear motor)
vi. Key tone (Turn on or off the beep when a key is pressed)
d. Security (Allows you to lock the keypad so no unauthorized use is allowed) When
the child lock is enabled, the console will not allow the keypad to operate unless
you press and hold the Start and Enter buttons for 3 seconds to unlock the
console.

EL355 Elliptical
20
e.
Effective July 15, 2009
ELLIPTICAL LIMITED WARRANTY
Spirit Fitness Inc. warrants all its home use elliptical parts for a period of time listed below, from the date of retail sale, as determined by a sales receipt or in
the absence of a sales receipt, eighteen (18) months from the original factory shipping date. Spirits responsibilities include providing new or remanufactured
parts, at Spirits option, and technical support to our independent dealers and servicing organizations. In the absence of a dealer or service organization, these
warranties will be administered by Spirit Fitness directly to a consumer. The warranty period applies to the following components:
Home Use Limited Warranty
Frame Lifetime
Brake Lifetime
Parts 1 Year
Labor 1 Year
NORMAL RESPONSIBILITIES OF THE CONSUMER
This warranty applies only to products in ordinary household use. The consumer is responsible for the items listed below:
1. The warranty registration card must be completed and returned to the address listed on the card within 10 days of the original purchase to validate the
manufacturers limited warranty or register online at www.spiritfitness.com/warranty.asp
2. Proper use of the elliptical in accordance with the instructions provided in this manual, including maintenance.
3. Proper connection to a power supply of sufficient voltage, replacement of blown fuses, repair of loose connections or defects in house/facility wiring.
4. Expenses for making the elliptical accessible for servicing, including any item that was not part of the elliptical at the time it was shipped from the factory.
5. Damages to the elliptical finish during shipping, installation or following installation.
EXCLUSIONS
This warranty does not cover the following:
1. CONSEQUENTIAL, COLLATERAL, OR INCIDENTAL DAMAGES SUCH AS PROPERTY DAMAGE AND INCIDENTAL EXPENSES
RESULTING FROM ANY BREACH OF THIS WRITTEN OR ANY IMPLIED WARRANTY.
Note: Some states do not allow the exclusion or limitation of incidental or consequential damages, so this limitation or exclusion may not apply to you.
2. Service call reimbursement to the consumer. Service call reimbursement to the dealer that does not involve malfunction or defects in workmanship or
material, for units that are beyond the warranty period, for units that are beyond the service call reimbursement period, for units not requiring component
replacement, or units not in ordinary household use.
3. Damages caused by services performed by persons other than authorized Spirit Fitness service companies, use of parts other than original Spirit parts, or
external causes such as alterations, modifications, abuse, misuse, accident, improper maintenance, inadequate power supply, or acts of God.
4. Products with original serial numbers that have been removed or altered.
5. Products that have been; sold, transferred, bartered, or given to a third party.
6. Products that are used as store display models.
7. Products that do not have a warranty registration on file at Spirit Fitness, inc. Spirit Fitness reserve the right to request proof of purchase if no warranty
record exists for the product.
8. THIS WARRANTY IS EXPRESSLY IN LIEU OF ALL OTHER WARRANTIES EXPRESSED OR IMPLIED, INCLUDING THE WARRANTIES OF
MERCHANTABILITY AND/OR FITNESS FOR A PARTICULAR PURPOSE.
SERVICE
Keep your bill of sale. Twelve (12) months from the date on the bill of sale or eighteen (18) months from the date of factory shipping as determined by the serial
number establishes the warranty period should service be required. If service is performed, it is in your best interest to obtain and keep all receipts. This written
warranty gives you specific legal rights. You may also have other rights that vary from state to state. Service under this warranty must be obtained by following
these steps, in order:
1. Contact your selling authorized Spirit Fitness dealer. OR
2. Contact your local authorized Spirit Fitness service organization.
3. If there is a question as to where to obtain service, contact our service department at (870) 935-1107.
4. Spirits obligation under this warranty is limited to repairing or replacing, at Spirits option, the product through one of our authorized service centers. All
repairs must be preauthorized by Spirit. If the product is shipped to a service center freight charges to and from the service center will be the customers
responsibility. For replacement parts shipped while the product is under warranty, the customer will be responsible for shipping and handling charges. For
in-home service, the customer will be responsible for a trip charge. There will be an additional trip charge if the customer is located over 100 miles from the
nearest service center.
5. The owner is responsible for adequate packaging upon return to Spirit. Spirit is not responsible for damages in shipping. Make all freight damage claims with
the appropriate freight carrier. DO NOT SHIP ANY UNIT TO OUR FACTORY WITHOUT A RETURN AUTHORIZATION NUMBER. All units arriving without a
return authorization number will be refused.
6. For any further information, or to contact our service department by mail, send your correspondence to:
Spirit Fitness, Inc.
P.O. Box 2037
Jonesboro, AR 72402-2037
Product features or specifications as described or illustrated are subject to change without notice. All warranties are made by
Spirit Fitness, Inc. This warranty applies only in the 50 states of the U.S.A.
Manufacturer’s Limited Warranty