Essick Air Ea1407 Owners Manual 1B72889_AIRCARE 14 Gallon_11 2014x
HD1409 to the manual 40564022-6e4c-4cdf-84dc-b48c183f5b9b
2015-09-09
: Essick-Air Essick-Air-Ea1407-Owners-Manual-805121 essick-air-ea1407-owners-manual-805121 essick-air pdf
Open the PDF directly: View PDF
.
Page Count: 48

1B72889 11/2014 PRINTED IN CHINA
DUALFANCONSOLE
EVAPORATIVE
HUMIDIFIER
(14GALLONSERIES)
USEANDCAREGUIDE
AdjustableHumidistat
Easyfillbottles
FourCasters
TOORDERPARTSANDACCESSORIESCALL1.800.547.3888
READ AND SAVE THESE INSTRUCTIONS
®
EA1407
;
HD1409
Français ………….17
Español ………..…33
2
IMPORTANT SAFEGUARDS
General Safety Instructions
READ BEFORE USING YOUR HUMIDIFIER
DANGER: means if the safety information is not followed someone will be seriously
injured or killed.
WARNING: means if the safety information is not followed someone could be seriously
injured or killed.
CAUTION: means if the safety information is not followed someone may be injured.
1. To reduce the risk of fire or shock hazard, this humidifier has a polarized plug (one
blade is wider than the other). Plug humidifier directly into a 120V, A.C. electrical
outlet. Do not use extension cords. If the plug does not fully fit
into the outlet, reverse plug. If it still does not fit, contact a qualified electrician to
install the proper outlet. Do not change the plug in any way.
2. Keep the electric cord out of traffic areas. To reduce the risk of fire hazard, never
put the electric cord under rugs, near heat registers, radiators, stoves or heaters.
3. Always unplug the unit before moving, cleaning or removing the fan assembly
section from the humidifier, or whenever it is not in service.
4. Keep the humidifier clean. To reduce the risk of injury, fire or damage to humidifier,
use only cleaners specifically recommended for humidifiers. Never use flammable,
combustible or poisonous materials to clean your humidifier
5. Do not put foreign objects inside the humidifier.
6. Do not allow unit to be used as a toy. Close attention is necessary when used by or
near children.
7. To reduce the risk of electrical hazard or damage to humidifier, do not tilt, jolt or tip
humidifier while unit is running.
8. To reduce the risk of accidental electrical shock, do not touch the cord or controls
with wet hands.
9. To reduce the risk of fire, do not use near an open flame such as a candle or other
flame source.
WARNING: For your own safety, do not use humidifier if any parts are damaged
or missing.
WARNING: To reduce risk of fire, electric shock, or injury always unplug before
servicing or cleaning.
WARNING: To reduce the risk of fire or shock hazard, do not pour or spill water
into control or motor area. If controls get wet, let them dry completely and have
unit checked by authorized service personnel before plugging in.

3
INTRODUCTION
Your new humidifier adds invisible moisture to your home by moving dry inlet air through a
saturated wick. As air moves through the wick, the water evaporates into the air, leaving
behind any white dust, minerals, or dissolved and suspended solids in the wick. Because
the water is evaporated, there is just clean and invisible moist air.
As the evaporative wick traps accumulated minerals from the water, its ability to
absorb and evaporate water decreases. We recommend changing the wick at the
beginning of every season. In hard water areas, more frequent replacement may be
necessary to maintain your humidifier’s efficiency.
Use only AIRCARE® or Essick Air® / MoistAIR® brand replacement wicks and chemicals.
To order parts, wicks and chemicals call 1-800-547-3888. This series of humidifiers uses
wick # HDC12. Only AIRCARE® or Essick Air® / MoistAIR® evaporative wicks guarantee
the certified output of your humidifier. Use of other brands of wicks voids the certification of
output and may void your warranty.
KNOW YOUR HUMIDIFIER
HOW YOUR HUMIDIFIER
WORKS
Dry air is drawn into the
humidifier though the back and
moisturized as it passes
through the evaporative wicks.
It is then fanned out into the
room.
Description E
A
1407/HD1409
*Output per 24 hrs 14 gallons/53 Litres
Capacity of Each Bottle 2.375 gallons/ 9 Litres
*Sq. ft. coverage +3,000 (Tight Const.)
2,900 (Avg. Const.)
Fan Speeds 3
Auto Fan Speed Yes
Replacement Wick HDC12 (Set of 4)
Refill Indicator Yes
Adjustable Humidistat Yes
Auto Shut Off Yes
Controls Digital
Casters Yes (4)
ETL Listed Yes
Volts 120 A.C.
Hertz 60
Amps (High Speed) 2.88
Watts (High Speed) 165
* Based on an area with average insulation and an 8 foot
ceiling height. ANSI/AHAM HU-1-1997. SEC 8.1
Results may vary.

4
ASSEMBLY
1. Unpack humidifier from carton. Remove manual.
2. Remove all packaging materials. Some packaging material is located under the
fan assembly. Verify the following items are in the humidifier cabinet.
CASTERS
3. Turn the emptied cabinet upside down.
4. Insert each caster stem into one of the
four caster holes manually Do not use
tools. The casters should fit snugly
and be inserted until the stem shoulder
reaches the cabinet surface.
5. Turn the cabinet right side up.
REINSTALLING COMPONENTS
NOTES ON LOCATION:
In order to get the most effective use from your humidifier, it is important to position
the unit where the most humidity is needed or where the moist air will be circulated
throughout the house such as near a cold air return. If the unit is positioned close to
a window, condensation may form on the window pane. If this occurs, the unit
should be repositioned in another location.
Place humidifier on a flat,
level surface. Do NOT
position the unit directly in
front of a hot air duct or
radiator. If placing on
carpet, use caster pads to
ensure level placement.
Due to release of cool,
moist air from the
humidifier, it is best to
direct air away from
thermostat and hot air
registers. Place the unit on
a level surface 2 inches
from the wall.
If positioning on carpet or
uneven surface, place caster
pads under front casters only
to level (if necessary).
Front of cabinet
Front caster
Caster pad
Carpet or uneven surface
♦ 2 wick assemblies with
4 wicks installed
♦ 4 casters and 2 caster pads
♦ 2 bottles ♦ 2 bottle caps and 2 valve caps
♦ Float with retainer ring ♦ Manual & registration card
NOTE: The use of a buble level will ensure
placement for proper bottle draining.
1. Reinstall float.
2. Reinstall wick assemblies
into cabinet.
3. Reinstall water bottles
Front
FRONT FRONT
Front
FRONT FRONT
Left
Right
Front
Float
Front
FRON
T

5
FILLING
WARNING: Disconnect power before filling, cleaning or servicing unit. Keep grille dry
at all times.
WARNING: To reduce the risk of fire or shock hazard, DO NOT pour or spill water into
control or motor area. If controls get wet, let them dry completely and have unit
checked by authorized service personnel before plugging in
NOTE: Fill unit with cool, fresh (preferably unsoftened) water. If you only have softened water
available in your home, you can use it, but mineral buildup will occur more quickly.
NOTE: On initial fill up, it may take approximately 30 minutes for the wicks to become
fully saturated.
CAUTION: Use only EPA Registered Bacteriostat. Under no circumstances should
you use Water Treatment products intended for Rotobelt or Ultrasonic
humidifiers.
We recommend using AIRCARE® or Essick Air® Bacteriostat Treatment P/N 1970
when you refill the water reservoir to eliminate bacterial growth. Add bacteriostat
according to the instructions on the bottle. Call 1-800-547-3888 to order.
NOTE: The humidifier contains water bottles. The weight of the bottles in the front of
the cabinet may cause the front casters to sink deeper into the carpet. If this happens,
the water level will be higher towards the front of the humidifier, and lower towards the
back. The water level float (located at the rear of the cabinet) may not sense the water
so the flashing “F” will be displayed and the unit will not energize. If this happens, the
unit will need to be leveled in order for the humidifier to be energized. To level the
humidifier, place the included caster pads under the front two casters of the humidifier
only.
1. Open the pivoting lid of the humidifier.
Remove the water bottles by lifting them
straight up and out of the cabinet.
Notice the water bottles are designed as
right and left hand units. When refilling the
bottles ensure correct placement for proper
function.
The water bottles should rest in the front of
the cabinet. Each “Side-Fill Cap” must be
facing the rear of the unit.
Each water bottle is designed with a
“Side-Fill Cap” and bottom valve cap.
Before filling each bottle check that the
bottle valve cap is on securely.
NOTE: A fill hose, P/N 4400, that attaches to a
faucet can be purchased by calling1-800-547-3888.

6
2. To fill, remove the “Side-Fill Cap” and place the opening under a water faucet (the
bottle should fit under a four-inch clearance faucet). Fill with recommended mixture
of cold water and Bacteriostat (if necessary) only. Solid debris could make the valve
leak. Install the “Side-Fill Cap” by twisting clockwise. Hand tighten only.
NOTE: Both bottle caps have rubber washers in them. Do Not Remove.
3. Check for possible leaks by performing the following:
a. Grasp bottle handle and hold the bottle upright over a sink.
b. Inspect the bottom valve for leaks.
c. Press up on the valve cap plunger for about one second to let out a little water.
d. Release the plunger.
e. Listen for air bubbles. Look for leaks around the“Side-Fill Cap”.
f. If you hear air bubbles or see leaks, retighten the “Side-Fill Cap” and repeat Steps a-e.
4. Wipe off excess water from the bottle.
5. Position the water bottle back into the
unit by grasping the water bottle
handle and lowering it gently into the
cabinet until the bottle sits on pads at
bottom of cabinet. The “Side-Fill Cap”
must be facing the rear of the cabinet.
When positioned properly, the plunger
will open and water will flow into the
cabinet. The water level will
automatically remain at approximately
1/2” until the bottles are empty. Allow
the wick to saturate for 30 minutes
before operation.
ABOUT HUMIDITY
Where you set your desired humidity levels depends on your personal comfort level,
the outside temperature and the inside temperature.
NOTE: Recent CDC tests show that the chances of flu transmission are greatly
reduced at levels of 43% humidity or higher.
You may wish to purchase a hygrometer* to measure the humidity level in your
home. The following is a chart of recommended humidity settings.
*Model 1990 digital hygrometer is available for purchase by calling 1-800-547-3888.
NOTE: External hygrometer readings and humidistat readings may differ. Humidity
levels can vary significantly even in one room.

7
* or higher
*When Outdoor
Temperature is:
°F ° C
Recommended
Indoor Relative
Humidity (RH)
is
-20
-10°
2°
10°
20°
30°
-30°
-24°
-18°
-12°
-6°
-1°
15 - 20%
20 - 25%
25 - 30%
30 - 35%
35 - 40%
40 - 45%
HUMIDISTAT
This unit has an humidistat located on the power cord. It
senses the percentage of humidity in the air and causes
the humidifier to cycle on and off to maintain the
selected humidity SET point. The fan will turn on if the
“ROOM” reading falls 3% below the SET
point and will continue to run the humidifier until
a reading of 1% above the SET point is achieved. The
fan will turn off until the ROOM reading falls 3% below
the SET point again.
NOTE: Be sure the humidistat located on the power cord
is at least two inches away from the wall, free from
obstruction and away from any hot air source.
CONTROLS AND OPERATION
Where you set your desired humidity levels depends on your personal comfort level,
outside temperature and inside temperature. A starting set point of 30%
to 40% ROOM humidity is recommended but there may be conditions that require a
different setting.
NOTE: If excessive condensation occurs, reduce fan to a lower speed setting.
DIGITAL DISPLAY
Press the power button once to
turn the unit on. Initially there is a
slight delay while the electronics
calibrate.Two bars (- -) appear
during this time. Once calibration
is complete a ROOM humidity
reading between 20% - 95% will
be displayed. A flashing 20 display
indicates that the room humidity is
less than 20%.
NOTE: The default settings at initial startup are (LOW) F1 fan speed and 65%
SET humidity. After desired settings are selected by the user, they remain as long as
the unit remains plugged in and there is no power interruption. When the unit is
unplugged, the original default settings are reinstated.
IMPORTANT: Water
damage may result if
condensation starts to form
on windows or walls.
Humidity SET point should
be lowered until
condensation no longer
forms. We recommend
room humidity levels do not
exceed 50%.
Fan Speed
Humidity
Control
Power Button
Digital Display
®

8
FAN SPEED
This humidifier is equipped with a 3-speed fan control. Initially pressing
the speed button will display the current speed setting. Each push
of the speed button advances the mode through the settings of
(HIGH) F3, (MEDIUM) F2 , (LOW) F1 and A (AUTO).
HUMIDITY CONTROL
This button allows you to adjust the humidity to suit your needs.
This humidifier will automatically cycle on and off as required to
maintain the selected setting.
The readout displays both actual (ROOM) and desired (SET)
humidity percentage (%) settings when humidity control button is pressed. The ROOM
readout has a range of 20% to 95% RH. If the room humidity level is equal to or less
than 20% RH the display will show a flashing 20.
The SET readout has a range of 25% to 65% RH and is adjusted in increments of 5%.
Initially depressing the humidity button will display the current humidity setting. Each
additional press of the button increases the setting by 5%. A SET point of 65% RH
operates the humidifier continuously regardless of the ROOM reading. The humidistat
that senses the readings is located on the power cord. Insure that it is free from
obstruction.
REFILL DISPLAY
For maximum run time both the bottle and the base should be filled.
When both the bottle and the base are empty, the display alternates
the room humidity reading and “F” (FILL), indicating additional
water is required.
CHECK FILTER INDICATOR
The ability of any humidifier to efficiently supply humidity output
relies heavily on the condition of the wick (filter). As the wick loads
with impurities it gradually loses its wicking capability. When this
happens, moisture output is reduced and the humidifier has to work
longer to satisfy the selected setting. This humidifier has a check
filter reminder timed to appear after 720 hours of operation. When the display shows
an alternating “CF” and “room humidity” setting at 5 second intervals it is a reminder to
check the filter (wick) condition.
NOTE: Some areas have high water mineral content causing the need for more
frequent wick changes.
Reset the Check Filter “CF” function each time you replace a wick by unplugging the
unit from the power source for 1-2 minutes, then plug it in again.
Refer to “Replacement of Wick” section below. If a build-up of deposits or severe
discoloration is evident, replace the wick to restore maximum efficiency.
CONTROL LOCK FEATURE
To avoid unwanted tampering with the humidifier settings the
controls can be locked.
CONTROL LOCK ACTIVATION PROCEDURE
After the humidifier functions have been set up, hold the power
button down for 5 seconds. The display will show “CL” for 2 seconds; release the
power button and the control will resume the display of the room humidity. The
humidifier will continue to function with the locked in settings. If buttons are operated
while “CL” is active, the “CL” is displayed and settings are unaffected.

9
Center Back of Cabinet
Float with retainer clip
(reference)
For normal
operation,
float retainer clip
should be in
bottom section
of middle slot.
Fasten float
retainer clip
into top section
of middle slot
for manual dryout
CONTROL LOCK DEACTIVATION PROCEDURE
To deactivate the “CL” function simply press and hold the power button for 5 seconds.
“CL” will flash at the rate of 1 second on and 1 second off for a period of 2 seconds
and then resume the display of room humidity.
MANUAL DRY OUT
At the end of the
humidification season or if
you do not plan to run the
humidifier for one week or
more, a manual dry out
mechanism is provided to
completely dry out the
humidifier cabinet. To do
this, simply slide the float
retainer clip located at the
back of the humidifier
cabinet to the top of the middle slot,
as it is shown in the illustration. This will
hold the float in an upward position and the fan will run until you turn the power off.
NOTE: Be sure to reposition float retainer to the normal operating position (lowest
portion of the slot) before using the humidifier again. See diagram for proper
placement of the float retainer in the float retainer slot in the cabinet back.
REPLACEMENT OF WICKS
WARNING: To reduce the risk of shock or injury from moving parts, always unplug
humidifier before removing or replacing any parts.
NOTE: This unit uses model HDC12 wicks. Replace the wick at the beginning of each
season, and more often in areas with hard water. The wicks may be rinsed periodically
in clear water only. Take care not to damage paper. To replace evaporative wicks in
your humidifier, follow these instructions.
WICK REPLACEMENT
1. Unplug humidifier before removing the wick. We recommend moving the
humidifier to an area where floor coverings are not susceptible to water
damage, i.e. kitchen or bath areas.
2. Open the pivoting lid andremove water
bottle s and set aside. Grasp the fan
assembly front center and rear center.
Left off and set aside on a clean flat
surface. The wick housings are now
accessible.
3. Lift wick housing out of cabinet and
place where you may work on them
comfortably. With a soft, absorbent
cloth remove any remaining water or
loose mineral deposits not trapped in
the wick from the humidifier cabinet.

10
4. To open wick housing for easy access to wciks:
a. Deflect the two spring tabs on top of wick
housing. Lift top cover off of the wick
housing and set aside.
b. Remove the two wicks and dispose of
properly. Clean internal parts of humidifier
per the “Care and Maintenance” section
(page 11-12) of your operator’s manual.
c. Install new wicks in the wick housing track
with the glue beads of the wicking pad to the
inside of the wick housing.
d. Return the top cover of the wick housing by
installing cover over the fixed tabs on the
rear of the lower wick housing and pivoting
the cover down over the top of the wicks.
Snap the cover over the two spring tabs.
e. Replace the wick housing in the cabinet.
NOTE: There is a front and back orientation.
To position the wick housings correctly:
• Be sure that the spring tabs of wick
housings are towards front of cabinet.
• Align the lower portion of the wick
assembly over the six ribs located at the
bottom rear of the humidifier cabinet.
f. Position fan assembly onto the cabinet.
Make sure the fan venturi (lowest cylinder
section below the fan) is placed inside the
wick housing.
g. Replace water bottles.
h. Close the pivoting lid.
i. The unit is ready for use or to be stored
away for next season.
Wick
FRON
T
Reassemble Wick Housing
Separate Upper and Front
Wick Housings
Wick Housing Assembly
Remove Used Wicks and
Replace with New Wicks
FRONT
FRONT
FRONT
FRONT
Left
Right
FRONT FRONT
Flat Portion of Wick Housing
Towards Back of Cabinet
Spring Tabs Toward Front of Cabinet
Water Bottle Placement
Reinstall Top Onto Cabinet
11
CARE AND MAINTENANCE
Cleaning your humidifier regularly helps eliminate odors and bacterial and
fungal growth. Ordinary household bleach is a good disinfectant and can be used to
wipe out the humidifier base and bottle/reservoir after cleaning .We recommend
cleaning your humidifier at least once every two weeks to maintain optimum
environmental conditions for your home. We also recommend using AIRCARE® or
Essick Air® Bacteriostat Treatment each time you refill your humidifier to
eliminate bacterial growth. Add bacteriostat according to the instructions on the
bottle. Please call 1-800-547-3888 to order Bacteriostat Treatment, part number1970.
CLEANING INSTRUCTIONS
WARNING: To reduce the risk of injury, fire or damage to humidifier, use only
cleaners specifically recommended for humidifiers. Never use flammable,
combustible or poisonous materials to clean your humidifier. To reduce the risk
of scalds and damage to humidifier, never put hot water in humidifier.
CAUTION: Local water purity varies from area to area and under certain
conditions water impurities and airborne bacteria may promote the growth of
microorganisms in the reservoir of the humidifier. To reduce bacteria growth that may
cause odors and be harmful to your health, use only HDC12 replacement wicks. We
also recommend using EPA approved bacteriostat, and humidifier cleaner, available
at your local retailer.
NOTE: If it is necessary to use approved bacteriostat, follow directions correctly.
Each bottle of the whole house humidifier holds 2.375 gallons/9 litres of water.
STEP 1:
To make cleaning easier, the humidifier cabinet should be empty and completely
dried out. To accomplish this, use the following method:
a) On the back side of the humidifier cabinet, find the float retainer. In normal
operating mode, the retainer will be positioned in the bottom of the slot in the
cabinet. Push the retainer up to the top slot position in the cabinet until it locks in
place. (See “Manual Dryout” section on page 9.)
b) Allow the humidifier to run until there is no water left in the cabinet.
c) Unplug humidifier.
WARNING: To reduce the risk of shock, always unplug humidifier before cleaning or
servicing. If humidifier is not unplugged, fan could start after housing is removed.
STEP 2:
TO REMOVE PARTS
a) Open the pivoting lid, remove water bottles and set aside. Grasp the fan assembly
front center and rear center. Lift off and set aside on a clean flat surface. The wick
housings are now accessible.
b) Before removing the internal parts of the humidifier cabinet, we recommend
moving the humidifier to an area where floor covers are not susceptible to water
damage, i.e.; kitchen or bath area. Lift the wick housing assemblies out of the
cabinet and set to the side.
c) Remove the water level float from the humidifier cabinet by pinching the float
retainer to release it from the cabinet. The cabinet should be empty before
cleaning. The cabinet consists of the lower areas of the humidifier where the
wicks are during normal operation time.
d) Empty cabinet of any remaining water.
e) Proceed to “Bi-Weekly Maintenance” or “End of Season Maintenance”.
12
STEP 3:
Install new wicks (use only HDC12 wicks) into the location where the old wicks were
positioned. Install the wick housings with the new wicks into the correct location.
Reinstall the water level float.
NOTE: Float retainer should be positioned in normal operating mode .Ensure that it is
positioned in the bottom of middle slot. (See diagram on page 9.)
Position the fan assembly on top of the cabinet and return the humidifier to the desired
location for use. Refill humidifier bottles with fresh cool water and return them to the
cabinet. Plug the unit into a 120 volt A.C. power outlet and set the controls per the
“CONTROLS AND OPERATION” section (page 7) of this manual.
REMOVING SCALE
1. Fill the reservoir with water and add one 8 oz. (236 ml) cup of white vinegar. Let
solution stay for 20 minutes.
2. Clean all interior surfaces with soft brush. Dampen soft cloth with white vinegar and
wipe out reservoir to remove scale.
3. Rinse thoroughly with clean warm water to remove scale and cleaning solution
before disinfecting the reservoir.
DISINFECTING UNIT
4. Fill humidifier cabinet with 1 teaspoon (5 ml) chlorine bleach in 1 gallon (3.8 litres) of
water. Let solution stay for 20 minutes, carefully swishing every few minutes. Wipe
down all surfaces normally exposed to water.
5. Empty humidifier cabinet after 20 minutes. Rinse with water until bleach smell is
gone. Allow unit to dry out completely.
6. Water bottles should be cleaned in the same manner.
DISINFECTING BASE
7. Pour 1/2 gallon (1.89 litres) of water and 1/2 teaspoon (2.5 millilitres) chlorine bleach
into the base. Let solution stay for 20 minutes, carefully swishing every few minutes.
Wipe down all surfaces normally exposed to water.
8.
Empty base after 20 minutes. Rinse with water until bleach smell is gone. Allow unit
to dry out completely
SUMMER STORAGE
1.
Clean unit as outlined in Care & Maintenance section.
2. Discard used wick and any water in the reservoir. Do not discard wick retainer. Allow
to dry thoroughly before storage. Do not store with water inside reservoir.
3. Do not store unit in an attic or other high-temperature area, as damage is probable.
4. Install new wicks at beginning of season.

13
Troubleshooting
Trouble Probable Cause Remedy
Digital display not
illuminated. • No Power.
• Power button has not
been depressed.
• Check 120 volt power source.
• Press power button once to
turn on.
Fan not operating
(digital display is
illuminated).
• ROOM humidity level is
not 3% or more below
SET humidity level.
• Reservoir is empty.
• Raise SET humidity level if desired.
• Increase fan speed.
• Fill humidifier with water.
Fan running
continuously.
• Float is obstructed.
• SET humidity level is
65%.
• ROOM humidity level
has not reached 1% or
more above SET
humidity level.
• Free float from obstruction.
• A SET humidity percentage of 65%
operates fan continuously. Adjust
SET level between 25% - 60%.
• Continue to run until desired
humidity level is achieved. This
may take up to 48 hours initially.
Poor evaporation of
water.
• CHECK FILTER (CF)
message flashing.
• Mineral buildup on filter
(wick).
• Change to a fresh new wick
NOTE: Local water varies from area
to area and under certain conditions
minerals will build up more rapidly in
the wick.
•Unplug unit for 1-2 minutes to reset
CF function
Neither bottle
emptying.
• Bottle cap plunger
missing post in bottom of
cabinet
• Dirty wicks.
• Check orientation of bottles.
Reposition so that bottle cap
plunger (stem) is depressed by
post in bottom of cabinet.
• Change to fresh new wick
(HDC12).
Bottles continue to
empty after complete
filling.
• Air is entering water
bottle. •Check “Side-Fill Caps” and valve
assembly caps to ensure tightness.
• Check for leak in water bottle.
• Ensure gaskets for “Side Fill Caps”
are in place.
Left bottle not
emptying.
• Right bottle contains
water.
•The humidifier is designed so that
right bottle empties first.
• Ensure unit is level - Install caster
pads on front casters, as needed.
Bottle empties
completely • This is normal for initial
filling • Refill bottle for maximum
run time.
Refill display “F” is on
before bottles are
empty.
• Unit is not set up on a
level surface. (Float
will not sense water at
the front of the
cabinet.)
•Position unit level. (Some carpet
padding may allow unit to sit lower in
the front than rear with the additional
weight of water bottles in the front of
the cabinet. Install caster pads under
front casters (see page 5).
“CF” message does
not appear even when
wick is dirty or
humidifier performance
is clearly reduced.
• Loss of power or a
power failure has caused
the CF message to
prematurely reset.
• Replace wick.
Display blinks or fan
moves slightly when
humidifier is plugged in.
•
Normal • No action required.

14
Troubleshooting (con’t)
Trouble Probable Cause Remedy
Alternating “F” and
room humidity
displayed.
• Reservoir is empty. • Fill humidifier with water.
Alternating “CF” and
room humidity
displayed.
• Wick may be dirty. • Replace wick, if needed
• Unplug unit for 30 seconds
and replug in to clear display.
Controls are
unresponsive or CL is
displayed
CONTROL LOCK (CL)
feature has been activated.
Hold power button down for 5
seconds. Control Lock function
will deactivate.
CAUTION: Use only EPA Registered Bacteriostat.
Use of other water treatment products may damage the filter elements and void warranty. Under
no circumstances should you use water treatment products designed for Rotobelt or Ultrasonic
humidifiers.
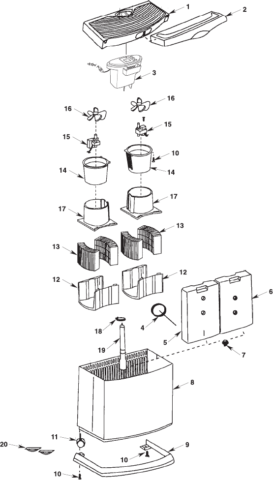
Parts List for AIRCARE® Evaporative Humidifier
Always order by part number - Not by key number
Key
No. Part No. Description
1 828741-2 Lid, Stationary
2 828855-2 Lid, Pivoting
3 1B72320 Control Assembly
4 824690 “Side-Fill Cap”
5 828192 Bottle, Left (Includes Key Nos. 4 & 7)
6 828726 Bottle, Right (Includes Key Nos. 4 & 7)
7 509229-1 Cap, Valve Assembly
8 828199-10 Cabinet
9 823726 Rail, Kick
10 STD601107 *Screw, Pan Hd. Ty “AB” #10 x 3/4
11 1B5460100 Caster, Twin Wheel
12 830560-1 Support, Filter (Wick) Lower
13 HDC12 †Wick, Evaporative
14 828534 Support, Motor
15 1B72493 Motor
16 822406-1 Fan
17 828197 Support, Upper Filter (Wick)
18 824101 Retainer, Float
19 828200-3 Float, Water Level
20 828920 Pad, Caster (Two)
---- 1B72889 Operator’s Manual (not illustrated)
† Stock item - Purchase locally or call 1-800-547- 3888 from the USA or
1-888-744-4687 from Canada to order.
• Any attempt to repair the control assembly or motor voids the warranty
and may create a hazard unless repair is done by a qualified service
technician.
To order parts, call: in USA 1-800-547-3888
in Canada: 1-888-744-4687

15
Repair Parts
Parts List for AIRCARE 14 Gallon Series
Model No.s EA1407/ HD1409

16
HUMIDIFIER TWO YEAR LIMITED WARRANTY POLICY
SALES RECEIPT REQUIRED AS PROOF OF PURCHASE FOR ALL
WARRANTY CLAIMS.
This warranty is extended only to the original purchaser of this humidifier when the
unit is installed and used under normal conditions against defects in workmanship
and materials as follows:
Two (2) years from date of sale on the unit, and
Thirty (30) days on wicks and filters, which are considered disposable
components and should be replaced periodically.
The manufacturer will replace the defective part/product, at its discretion, with
return freight paid by the manufacturer. It is agreed that such replacement is the
exclusive remedy available from the manufacturer and that TO THE MAXIMUM
EXTENT PERMITTED BY LAW, THE MANUFACTURER IS NOT RESPONSIBLE
FOR DAMAGES OF ANY KIND, INCLUDING INCIDENTAL AND
CONSEQUENTIAL DAMAGE OR LOSS OF PROFITS OR REVENUES.
Some states do not allow limitations on how long an implied warranty lasts, so the
above limitations may not apply to you.
Exclusions from this warranty
We are not responsible for replacement of wicks and filters.
We are not responsible for any incidental or consequential damage from any
malfunction, accident, misuse, alterations, unauthorized repairs, abuse, including
failure to perform reasonable maintenance, normal wear and tear, nor where the
connected voltage is more than 5% above the nameplate voltage.
Alterations include the substitution of name brand components including, but not
limited to wicks and bacteria treatment.
We are not responsible for any damage from the use of water softeners or
treatments, chemicals or descaling materials.
We are not responsible for the cost of service calls to diagnose the cause of
trouble, or labor charge to repair and/or replace parts.
No employee, agent, dealer or other person is authorized to give any warranties or
conditions on behalf of the manufacturer. The customer shall be responsible for all
labor costs incurred.
This warranty will be null & void if purchaser attempts to repair or replace any parts
which are mechanical or electrical.
Some states do not allow the exclusion or limitation of incidental or consequential
damages, so the above limitations or exclusions may not apply to you.
How to obtain service under this warranty
Within the limitations of this warranty, purchaser with inoperative units should
contact customer service at 800-547-3888 for instructions on how to obtain service
within warranty as listed above.
This warranty gives the customer specific legal rights, and you may also have other
rights which vary from province to province, or state to state.
Register your product at www.essickair.com or www.AIRCAREproducts.com.

17
VENTILATEURDOUBLECONSOLE
HUMIDIFICATEUR
ÀÉVAPORATION
(Série14gallons)
MANUELD'UTILISATION
ETD'ENTRETIEN
Humidostatajustable
Remplissageaisébidons
Quatreroulettes
TOORDERPARTSANDACCESSORIESCALL1.800.547.3888
LI
S
EZ ET
CO
N
S
ERVEZ
C
E
S
IN
S
TR
UC
TI
O
N
S
LE CONFORT EST DANS L
'
AIR
®
Anglais ………….…1
Español ………..…33
EA1407
;
HD1409
18
MISES EN GARDE IMPORTANTES
Consignes générales de sécurité
À LIRE AVANT D'UTILISER VOTRE HUMIDIFICATEUR
DANGER : signifie que si les consignes de sécurité ne sont pas respectées, quelqu'un
sera gravement blessé ou tué.
AVERTISSEMENT : signifie que si les consignes de sécurité ne sont pas respectées,
quelqu'un risque d'être gravement blessé ou tué.
PRUDENCE : signifie que si les consignes de sécurité ne sont pas respectées,
quelqu'un sera peut-être blessé.
1. Pour réduire le risque d'incendie ou de choc électrique, cet humidificateur possède
une fiche polarisée (une broche est plus large que l'autre). Branchez
l'humidificateur directement dans une prise électrique de 120 V, AC. N'utilisez pas
de rallonges. Si la fiche n'entre pas complètement dans la prise, inversez la fiche.
Si elle ne rentre toujours pas, contactez un électricien qualifié pour installer une
prise adéquate. Ne modifiez la fiche en aucun cas.
2. Ne laissez pas traîner le cordon électrique dans des passages très fréquentés.
Pour réduire le risque d'incendie, ne placez jamais le cordon électrique sous un
tapis, ou à proximité d'une bouche de chaleur, d'un radiateur, d'un four ou d'un
appareil de chauffage.
3. Débranchez toujours l'appareil avant de le déplacer, le nettoyer ou de retirer
l'ensemble de ventilation, ou chaque fois qu'il n'est pas en service.
4. Veillez à ce que l'humidificateur reste propre. Pour réduire le risque de blessure,
d'incendie ou de dommages à l'humidificateur, utilisez uniquement des produits de
nettoyage spécialement recommandés pour les humidificateurs. N'utilisez jamais
de matériaux inflammables, combustibles ou toxiques pour nettoyer votre
humidificateur.
5. Ne placez pas de corps étrangers à l'intérieur de l'humidificateur.
6. Ne laissez pas des enfants se servir de cet appareil comme d'un jouet. Il faut faire
très attention quand cet appareil est utilisé par des enfants ou à proximité
d'enfants.
7. Pour réduire le risque de danger électrique ou d'endommagement de
l'humidificateur, n'inclinez pas, ne heurtez pas et ne faites pas basculer
l'humidificateur quand il est en marche.
8. Pour réduire le risque de choc électrique accidentel, ne touchez pas le cordon ou
les commandes avec les mains mouillées.
9. Pour réduire le risque d'incendie, n'utilisez pas l'humidificateur près d'une flamme
nue comme une bougie ou une autre source de flamme.
AVERTISSEMENT : Pour votre propre sécurité, n'utilisez pas l'humidificateur
si des pièces sont endommagées ou manquantes.
AVERTISSEMENT : Pour réduire les risques d'incendie, de choc électrique ou de
blessure, débranchez toujours l'appareil avant d'effectuer une réparation ou un
nettoyage.
AVERTISSEMENT : Pour réduire le risque d'incendie ou de choc électrique, ne
versez pas et ne renversez pas d'eau dans la zone des commandes ou du
moteur. Si les commandes sont mouillées, laissez-les sécher complètement et
faites vérifier l'unité par du personnel d'entretien autorisé. avant de brancher
l'appareil.

19
INTRODUCTION
Votre nouvel humidificateur ajoute de l'humidité dans la maison en faisant passer de l'air
sec à travers un filtre à mèche saturée. Au fur et à mesure que l'air passe au travers du
filtre à mèche, l'eau s'évapore dans l'air en laissant derrière elle toutes poussières
blanches, minéraux et solides dissous ou en suspension en la mèche. Puisque l'eau est
évaporée, il n'y a que de l'air humidifié, propre et invisible.
Au fur et à mesure que le filtre à mèche d'évaporation emprisonne et accumule les
minéraux contenus dans l'eau, sa capacité d'absorption et d'évaporation d'eau diminue.
Nous recommandons de changer le filtre à mèche au début de chaque saison. Dans les
régions où l'eau est dure, un remplacement plus fréquent peut être nécessaire afin de
maintenir l'efficacité de votre humidificateur.
N'utilisez que des produits chimiques et filtres à mèche AIRCARE® ou Essick Air®/MoistAIR® en
remplacement. Pour commander des pièces, filtres à mèche et produits chimiques, appelez le 1-800-
547-3888. Les humidificateurs de la série 14 gallon utilisent des filtres à mèche nº HDC12. Seuls les
filtres à mèche d'évaporation de marque AIRCARE® ou Essick® Air/ MoistAIR® garantissent le meilleur
rendement de votre humidificateur. L'utilisation de filtres à mèche d'autres marques nuit aux
performances de l'appareil et peut annuler votre garantie.
FAMILIARISEZ-VOUS AVEC VOTRE HUMIDIFICATEUR
Description E
A
1407/HD1409
De l’air est attiré depuis
l’arrière de l’humidificateur et
à travers les filtres au moyen
de ventilateurs de circulation.
Tandis que l’air passe à
travers les filtres, de
l’humidité est absorbée dans
l’air, puis elle y est relâchée à
l’état de vapeur. Aucune
goutte d’eau n’entrera dans la
maison.
*Débit par 24h 14 gallons/53 litres
Capacité (chaque bidon) 2,38 gallons /9L
* Couverture en pi2 3,000+
2,900
Vitesses de ventilation 3
Vitesse de ventilation automatique Oui
Filtre de rechange HDC12 (Jeu de 4)
Indicateur de remplissage Oui
Humidostat automatique Oui
Fermeture automatique Oui
Commandes Électroniques
Roulettes Oui (4)
Classification ETL/CETL Oui
Volts 120 (c.a.)
Hertz 60
Ampères (haute vitesse) 2,88
Watts (haute vitesse) 165
* Chiffres basés sur une aire avec isolation standard et un
plafond de 8 pieds de hauteur. Les résultats peuvent varier.
Commandes
Boîtier
des filtres
Filtro:
No. de repuesto
HDC1
2
Humidistat
(sur le cordon
électrique) Roullettes
Couvercle pivotant
Bidons
Ensemble de ventilateur
Fonctionnement de
l’humidificateur

20
Avant
FRONT FRONT
AVANT
FRONT FRONT
Gauche
Droit
AVANT
Flotteur
AVANT
FRON
T
REINSTALLATION DES COMPOSANTS
REMARQUES SUR L'EMPLACEMENT :
Afin de tirer le meilleur parti
devotre humidificateur, il est
important de placer l'appareil à
un endroit où le plus
d'humidité est nécessaire ou
là où l'air humide circulera
dans toute la maison comme à
proximité d'un retour d'air
froid. Si l'appareil est placé
près d'une fenêtre, de la
condensation peut se former
sur la vitre. Si cela se produit,
il faut déplacer l'appareil.
Placez l'humidificateur sur une surface de niveau.Ne placez PAS l'appareil
directement devant une bouche d'air chaud ou un radiateur. Si la mise sur le tapis,
utiliser de montures de roulettes pour assurer le placement de niveau.
Du fait que de l'air humide et frais est libéré de l'humidificateur, il est préférable de ne
pas diriger l'air vers un thermostat ou des bouches d'air chaud. Placez l'humidificateur à
côté d'un mur intérieur sur une surface plane à au moins 2 pouces (5 cm) du mur ou des
rideaux.
ASSEMBLAGE
1) Déballez l'humidificateur.
2) Retirez tous les matériaux d'emballage. Vérifiez que vous disposez de tous les
éléments suivants retirés des boîtes, du kit d'accessoires et de la base avant de
jeter l'emballage.
Boite des filtres (2) avec
meche des filtres (4)
Bouchon à remplissage latéral (2)
Bouchon de l’ensemble de valve (2)
Jeu de roulettes 4
Montures de roulettes 2
2 bouteilles
Flotteur et retenue de flotteur Manuel et carte d’ enregistrement
3) Retournez la base vidée.
4) Insérez chaque tige de roulette dans
l'un des quatre orifices situés aux coins
de la base de l'humidificateur. Les
roulettes doivent être bien ajustées et
insérées jusqu'à ce que l'épaule de la
tige atteigne la surface de la base.
5) Remettez la base à l'endroit
Au moins 5 cm du mur Devant de
l’appareil
Roulette
avant
Les plaquettes pour roulettes
Surface du tapis/
ou une surface inégale
REMARQUE: Si l’appareil est placé
sur un tapis, la moquette ou une surface
inégale veuillez placer les plaquettes pour
roulettes en discs de roulettes sous
les roues avant seulement (si besoin est)
1) Réinstaller flotteur.
2) Réinstaller boits des filtres
dans l’armoire.
3) Réinstaller bouteilles d’eau.
NOTE: L'utilisation d'un niveau buble assurera le
placement de vider la bouteille appropriée.

21
Ensemble de ventilateur
Couvercle pivotant
Bidons
Les «bouchons à remplissafe latéral»
doivent toujours être orientés de façon
à faire face à l’arrière de l’appareil.
Arrière de l’ humidificateur
Bidon
de droite Bidon
de grauche
AVERTISSEMENT : pour réduire le risque d’incendie ou de choc électrique, ne
versez pas (et ne renversez pas) d’eau sur les commandes ou sur le moteur. Si les
commandes sont mouillées, laissez les sécher complètement et faites inspecter
l’appareil par un réparateur agréé avant de le rebrancher.
NOTE: Remplissez les récipients d’eau pure et fraîche (de préférence non adoucie).
Vous pouvez utiliser de l'eau adoucie au besoin, mais des dépôts minéraux se
formeront alors plus rapidement.
NOTE : Lors du premier remplissage, le réservoir prendra environ 30 minutes à se
remplir puisque le filtre à mèche sec absorbera de l'eau.
MISE EN GARDE : Utilisez seulement un bactériostatique agréé par l’agence de
protection de l’environnement. Vous ne devriez en aucun cas utiliser des produits de
traitement de l’eau conçus pour des humidificateurs Ultrasonic ou Roto Belt.
Nous recommandons l'utilisation du traitement bactériostatique d'AIRCARE® ou d'Essick
Air® à chaque remplissage de l'humidificateur afin d'éliminer la croissance bactérienne.
Ajoutez le produit de traitement selon les
instructions figurant sur le récipient. Veuillez
appeler le 1-800-547-3888 pour commander le
traitement bactériostatique, sous le numéro de
produit 1970.
NOTE: L’humidificateur contient des bidons
d’eau. Le poids des bidons à l’avant de la
structure risque de causer un enfoncement
plus pro fond des roulettes de l’avant dans le
tapis ou la moquette. Si cela se produit, le
niveau d’eau sera plus élevé à l’avant de
l’humidificateur et plus bas à l’arrière. Le
flotteur indiquant le niveau d’eau (situé à
l’arrière du bâti) ne détectera peut-être pas
l’eau, ce qui aura pour conséquence que le «
F» clignotant sera affiché et que l’appareil ne
se mettra pas en marche. Dans une telle
situation, il sera nécessaire de remettre
l’appareil de niveau afin de lui permettre de
se mettre en marche.
1. Ouvrez le couvercle pivotant de
l’humidificateur. Retirez les bidons d’eau
en les soulevant tout droit vers le haut pour les faire sortir du bâti.Remarquez que
les bidons d’eau sont conçus pour un positionnement particulier, l’un à droite et
l’autre à gauche. Positionnez chacun d’eux à l’endroit approprié pour permettre à
l’humidificateur de fonctionner correctement. Les bidons d’eau doivent reposer à
l’avant de l’appareil. Chaque « bouchon à remplissage latéral » doit être orienté de
façon à faire face à l’arrière de l’appareil.
NOTE: Un tuyau de remplissage, PN 4400 qui se fixe à un robinet peut être acheté en
appelant le 1-800-547-3888.
2. Remplissez le bidon avec le mélange recommandé d’eau froide et de bactériostatique
(si nécessaire) seulement. La présence de débris solides risquerait de causer des fuites
à travers la valve. Installez le « bouchon à remplissage latéral » en le faisant tourner
dans le sens des aiguilles d’une montre. Serrez à la main seulement.
REMPLISSAGE D'EAU
AVERTISSEMENT : Avant le remplissage, assurez-vous que l'appareil est éteint et
débranché. Grille garder à tout moment.

22
Tournez dans le sens contraire des
aiguilles d’une montre pour retirer le bouchon
Piston du bochon de valve
Note: Les deux capsules de bouteilles ont rondelles en caoutchouc en eux. Ne pas les
retirer.
3. Assurez-vous qu’il n’y a pas de fuites en suivant la procédure cidessous:
a. Saisissez la poignée du bidon et tenez le bidon verticalement au-dessus d’un évier.
b. Inspectez la vanne de fond pour les fuites.
c. Appuyez sur le piston du bouchon de valve pendant une seconde environ afin
d’expulser un peu d’eau.
d. Relâchez le piston.
e. Écoutez pour déterminer si des bulles d’eau se forment. Inspectez la zone autour
du « bouchon à remplissage latéral » pour voir s’il y a des fuites.
f. Si vous entendez des bulles d’air ou si vous voyez des fuites, resserrez le
«bouchon à remplissage latéral » et recommencez les étapes a-e.
4. Essuyez l’excédent d’eau du bidon.
5. Remettez le bidon d’eau à sa place sur
l’appareil en saisissant la poignée du
bidon d’eau et doucement en abaissant
le bidon dans le bâti jusqu’à ce que le
bidon repose sur le support prévu à cet
effet au fond du bâti. Le « bouchon à
remplissage latéral » doit être orienté pour
faire face à l’arrière de l’appareil. Lorsque le
bidon est positionné correctement, le piston
s’ouvrira et de l’eau coulera dans le bâti. Le
niveau d’eau restera automatiquement à
environ 1,25 cm jusqu’à ce que les bidons
soient vides.
À PROPOS DE L'HUMIDITÉ
Le réglage du niveau d'humidité souhaité dépend de votre niveau de confort
personnel, la température extérieure et la température intérieure.
REMARQUE: Les tests CDC récentes montrent que les risques de transmission de
la grippe sont considérablement réduits à des niveaux de 43% d'humidité ou plus.
*Vous pouvez acheter un hygromètre pour mesurer le niveau d'humidité chez vous.
Voici un tableau des taux d'humidité recommandés.
* Modèle 1990 hygromètre numérique est disponible à l'achat par téléphone au
1-800-547-3888.
REMARQUE : Lectures de externes et des lectures hygrostat peuvent différer. Les
niveaux d'humidité peuvent varier considérablement, même dans une pièce.
Section
surélevée
Bidon
de grauche
Couvercle pivotant retirè
pour the plus de clarté

23
Humidostat
L’humidostat situé sur le cordon d’alimentation détecte le
pourcentage d’humidité dans l’air. Il entraîne des cycles
de mise en marche et d’arrêt de l’humidificateur afin de
maintenir le point d’humidité programmé (SET). Le
ventilateur se mettra en marche si l’humidité réelle de
la pièce (ROOM) tombe de 3% au-dessous du point de
réglage (SET) et continuera à faire fonctionner
l’humidificateur jusqu’à ce qu’une humidité de 1%
au-dessus de l’humidité programmée (SET) soit atteinte.
Le ventilateur s’éteindra jusqu’à ce que l’humidité réelle
de la pièce (ROOM) tombe à nouveau de 3% en dessous du point de réglage (SET).
REMARQUE : assurez-vous que l’humidistat, situé sur le cordon d’alimentation,
n’est pas obstrué et se trouve loin de filtre toute source d’air chaud.
COMMANDES ET FONCTIONNEMENT
Vous pouvez régler le niveau d’humidité en function de vos préférences
personnelles, de la temperature extérieure et de la température intérieure. Il est
recommandé de commencer avec un point de réglage de 30 % - 40 % d’humidité
pour la pièce (ROOM), mais les réglages devront être modifiés selon les conditions.
REMARQUE : En cas de condensation excessive, il est recommandé de diminuer la
vitesse.
AFFICHEUR NUMÉRIQUE
Appuyez une fois sur le bouton de
marche/vitesse pour mettre l’appareil
en marche* . Il y a un court délai au
début pour permettre un ajustement
élec tronique. Deux tirets (- -)
apparaîtront alors. Une fois le
calibrage terminé, une lecture de
l’humidité de la pièce s’affiche, entre 20 et 95 %. Si le chiffre 20 clignote, cela
signifie qu’il y a moins de 20% d’humidité dans la pièce.
REMARQUE : Lors de la mise en marche de l’appareil, la vitesse de ventilateur est
réglée par défaut sur (bas) F1 et le taux d’humidité est réglé (SET) sur 65 %. Une fois
que les réglages sont établis par l’utilisateur, ils restent tant que l’appareil reste
branché et qu’il n’y a pas de panne de courant. Si l’appa reil est dé branché, les
réglages par défaut sont utilisés.
Lorsque la
température
extérieure est de* :
L'humidité relative
(HR)
recommandée à
l'intérieur d'une
habitation est de :
°F °C
-20
-10°
2°
10°
20°
30°
-30°
-24°
-18°
-12°
-6°
-1°
15 - 20%
20 - 25%
25 - 30%
30 - 35%
35 - 40%
40 - 45%
*o plus
IMPORTANT: Des dégâts
causés par l'eau peuvent se
produire si de la condensation
commence à se former sur les
fenêtres ou les murs. Le point
de réglage (SET) de l'humidité
doit être réduit jusqu'à ce que la
condensation cesse de se
former. Nous recommandons
que les niveaux d'humidité
ambiante ne dépassent
p
as 50 %.
®
Vitesse de ventilation
Rélage de l’humidite
Bouton d'alimentation
Affichage de vitesse

24
VITESSE DU VENTILATEUR
Cet humidificateur est muni d’une commande de ventilateur à trois
vitesses. Le fait d’appuyer initialement sur le bouton de vitesse
affichera le réglage de vitesse actuel. Chaque fois que vous
appuierez sur le bouton de vitesse, vous changerez de réglage
pour passer d’un mode à l’autre (HIGH) F3 [vitesse élevée], (MEDIUM) F2 [vitesse
moyenne] , F1 [extrêmement silencieux et AUTO A.
Le réglage sélectionné est indiqué sur l’afficheur numérique. Plus la vitesse de réglage
est haute, plus l’eau est évaporée et évacuée dans l’air rapidement. F1 (Ultra Quiet)
[extrêmement silencieux] est la vitesse la plus silen cieuse, et ce réglage est surtout
utilisé quand un taux d’évaporation rapide n’est pas nécessaire.
COMMANDE D'HUMIDITÉ
Ce bouton vous permet de régler l’humidité en fonction de vos
besoins. L’humidi ficateur se met automatiquement sous ou hors
tension selon le réglage choisi. L’écran affiche à la fois le pourcentage
(%) d’humidité réel de la pièce (ROOM) et celui qui a été programmé
(SET) quand vous appuyez sur le bouton de réglage de l’humidité. La plage d’humidité
réelle de la pièce (ROOM) est de 20 % à 95 %. Si le niveau d’humidité de la pièce est
inférieur ou égal à 20 %, le chiffre 20 clignotera sur l’affichage numérique.
INDICATION DE REMPLISSAGE
Remplissez les deux bidons pour obtenir une durée de fonctionnement
maximum. Quand les deux bidons sont vides, le pourcentage d’humidité
de la pièce et la lettre « F » (FILL) [remplissage] clignotent tour à tour
sur l’écran d’affichage. Ceci vous indique qu’il faut rajouter de l’eau.
VÉRIFIER LE FILTRE
La capacité de tout humidificateur à générer de l’humidité de façon
efficace dépend dans une large mesure de l’état du filtre. Les impuretés
s’accumulent à l’intérieur du filtre et réduisent graduellement sa capacité
d’imbibition. Lorsque cela se produit, l’humidification est réduite et
l’humidificateur doit fonctionner plus long-temps pour atteindre le niveau d’humidité
voulu. Cet humidificateur est pourvu d’un dispositif de rappel de vérification du filtre qui
s’affiche après 720 heures d’utilisation. Lorsque l’écran affiche en alternance « CF » et
l’humidité de la pièce (Room Humidity) toutes les 5 secondes, c’est pour vous rappeler
de vérifier l’état du filtre.
REMARQUE : dans certaines régions l’eau a une forte teneur en minéraux qui
entraîne le besoin de changer le filtre plus fréquemment.
Réinitialiser le filtre Vérifier le fonctionnement à chaque fois que vous remplacez un
filtre en le débranchant le de sa source d'alimentation pendant 1-2 minutes, puis
rebranchez-le. Veuillez vous reporter à la section intitulée « Remplacement et
entretien du filtre » de la page 25. Si vous remarquez la présence de dépôts ou une
décoloration, remplacez le filter pour restaurer l’efficacité maximale de l’humidificateur.

25
Au centre du dos de l'armoire
Flotteur avec
clip de retenue
(référence
seulement)
Pour un fonctionnement
normal, le flotteur clip
de retenue doit être
en partie inférieure
de la fente du milieu
Pour le mode manuel
de l'assèchement,
insérer le clip de
retenue du flotteur dans
la partie supérieure de
la fente du milieu sur
l'arrière de l'armoire
VERROUILLAGE DES COMMANDES
Pour éviter des manipulations indésirables, les commandes de
l’humidificateur peuvent être verrouillées.
PROCÉDURE D’ACTIVATION
Une fois que les fonctions de l’humidificateur ont été mises au point,
maintenez le bouton d’alimentation enfoncé pendant 5 secondes.
L’affichage montrera “CL” pendant 2 secondes; relâchez le bouton d’alimentation et
l’affichage reviendra à l’humidité de la pièce. L’humidificateur de la pièce continuera à
fonctionner avec les réglages verrouillés. Si l'on fait fonctionner les boutons pendant que
“CL” est actif, “CL” s’affiche et les réglages ne sont pas affectés.
PROCÉDURE DE DÉSACTIVATION
Pour désactiver la fonction “CL” il suffit d’appuyer et de maintenir le bouton
d'alimentation enfoncé pendant 5 secondes. “CL” clignotera pendant 2 secondes et
ensuite l’humidité de la pièce s’affichera à nouveau.
DESSÉCHEMENT MANUEL
À la fin de saison d’humidification ou si vous n’avez pas l’intention de mettre
l’humidificateur en marche pen dant une semaine ou plus, il est conseillé d’utiliser le
mécanisme de desséchement manuel fourni pour assécher complètement le bâti de
l’humidificateur. Pour ce faire,
faites simplement glisser la
languette de retenue du flotteur
située à l’arrière du bâti de
l’humidificateur jusqu’à la position
la plus élevée de la rainure dans
laquelle elle se trouve. Ceci
maintiendra le flotteur dans une
position élevée et le ventilateur
continuera de fonctionner jusqu’à
ce que vous mettiez l’appareil hors tension.
REMARQUE : Vérifiez que vous positionnez bien la languette de retenue du flotteur
dans le mode de fonctionnement normal (position la plus basse de la rainure) pour
permettre le fonctionnement normal de l’humidificateur. Le schéma cidessous montre
la rainure dans laquelle se trouve la languette de retenue du flotteur à l’arrière du bâti.
REMPLACEMENT ET ENTRETIEN DES FILTERS
AVERTISSEMENT : pour réduire le risque de choc
électrique ou de blessure causé par des pièces en
mouvement, débranchez toujours l’humidificateur
avant de retirer ou de remplacer des pièces.
MISE EN GARDE.Utilisez le filtre de
remplacement AIRCARE/EssickAir/MoistAir
HDC12 recommandé.Les filtres peuvent être
rincés périodiquement dans de l’eau claire
seulement. Faites attention de ne pas
endommager le papier. Suivez les instructions ci-
dessous pour remplacer les filtres évaporateurs capillaires dans votre humidificateur:
REMPLACEMENT DU FILTRE
1. Débranchez l’humidificateur avant de retirer les filtres. Nous recommandons de
déplacer l’humidificateur pour l’installer à un endroit où le revêtement de sol ne risqué
pas d’être endommagé par l’eau, comme la cuisine ou la salle de bains.
2. Ouvrez le couvercle pivotant, retirez les bidons d’eau, puis mettez-les de coté.
Saisissez l’ensemble de ventilateur par son milieu, en le tenant par l’avant et par
l’arrière. Soulevez-le et posez-le sur une surface plate propre. Le boîtier des filtres est
maintenant accessible.
Couvercle pivotant
Ensemble de
ventilateur
Bâti de
l’humidificateu
r

26
FRON
T
Remonter le logement de mèche
Séparer les corps de mèche
supérieure et avant
Ensemble de logement de mèche
Retirer les mèches utilisées et
les remplacer par de
nouvelles mèches
FRONTFRONTFRONTFRONT
Gauche
Droit
FRONT FRONT
Partie plate du boitier des filtres
orientée vers l’arrière du bâti
Tabs a ressort orientes vers du bâti
Placement de la bouteille d'eau
Tabs fixes
Tabs à ressort
Boîter
des filtres
Arrière de
l’humidificateur
Devant de
l’humidificateur
Tabs à ressort Boîter
des filtres
3. Soulevez le boîtier des filtres pour le faire sortir du bâti
de l’humidificateur et placez-le à un endroit où vous
pourrez le nettoyer confortablement. Avec un chiffon
doux et absorbant, retirez l’eau et les dépôts minéraux
éventuellement accumulés à l’intérieur du bâti de
l’humidificateur mais qui n’ont pas été capturés par les
filtres.
4. Pour ouvrir le boîtier des filtres afin d’avoir facilement
accès aux filtres:
a.Appuyez sur les deux tabs à ressort situés sur le
dessus du boîtier des filtres. Soulevez le couvercle
du haut du boîtier et mettez-le de côté.
b.Retirez les deux filtres et jetez-le en respectant les
règlements environnementaux. Nettoyez les pieces
internes de l’humidificateur en suivant les
instructions de la section « Nettoyage et
maintenance » (suivant) de votre mode d’emploi.
c. Installez les nouveaux filtres dans la rainure du boîtier
des filtres avec les perles de colle du support capillaire
orientées vers l’intérieur du boîtier des filtres.
d. Remettez le couvercle du haut du boîtier des filtres à
sa place au-dessus des tabs fixes à l’arrière du boîtier
de filtre inférieur et faites tourner le couvercle vers le
bas au-dessus du haut des filtres. Appuyez sur le
couvercle pour le fermer en comprimant les tabs à
ressort.
e.Remettez le boîtier des filtres à l’intérieur du bâti.
REMARQUE : Il y a une orientation vers l’avant et une
orientation vers l’arrière. Pour placer le boîtier des filters
dans la position correcte :
• Vérifiez que les tabs à ressort du boîtier des filtres
sont orientés vers le devant du bâti.
• Alignez la partie inférieure de l’ensemble de filtre
audessus des six nervures situées dans la partie
inférieure arrière du bâti de l’humidificateur.
f. Positionnez l’ensemble de ventilateur sur le bâti.
Assurez-vous que le tube venturi du ventilateur (la
section de cylindre la plus basse au-dessous du
ventilateur) est placé à l’intérieur du boîtier des filtres.
g. Remettez les bidons d’eau à leur place.
h. Fermez le couvercle pivotant.
i. L’appareil est maintenant prêt à être utilisé ou rangé
en vue de son utilization la saison prochaine.
Réinstaller châssis sur l'armoire
27
SOINS ET ENTRETIEN
MISE EN GARDE : Débranchez l'alimentation avant de remplir, nettoyer ou entretenir
l'appareil. Gardez toujours la grille au sec en tout temps.
Nettoyer régulièrement l’humidificateur permet d’éliminer les odeurs, bactéries et
autres fongus. De l’eau de javel ordinaire est très efficace et peut être utilisée pour
nettoyer la base et la bouteille. Nous vous recommandons de nettoyer votre
humidificateur au moins une fois par semaine pour maintenir les conditions optimales
de fonctionnement. Nous vous recommandons d’utiliser un traitement
antibactérien comme Essick Air Bacteriostat N.1970 lorsque vous remplissez le
réservoir, pour éliminer les bactéries. Suivre les instructions indiquées sur la
bouteille. Appelez le 1-800-547-3888 pour commander.
ENTRETIEN INSTRUCTIONS
AVERTISSEMENT: pour réduire le risque de vous blesser, de causer des incendies
ou d’endommager l’humidificateur, n’utilisez que des detergents spécialement
recommandés pour les humidificateurs. N’utilisez jamais de matériaux combustibles,
inflammables ou toxiques pour nettoyer l’humidificateur. Pour réduire le risque de vous
ébouillanter et d’endommager l’humidificateur, ne mettez jamais d’eau chaude dans
l’humidificateur.
MISE EN GARDE: la pureté de l’eau varie d’une région à une autre et dans certaines
conditions les impuretés dans l’eau et les bactéries en suspension dans l’air peuvent
promouvoir la croissance de microorganismes dans le réservoir de l’humidificateur.
Pour ralentir la croissance de bactéries qui susceptibles de causer des odeurs et de
nuire à votre santé, utilisez uniquement des filtres de rechange Essick/ MoistAIR.
Nous recommandons également l’utilisation d’un bactériostatique homologue par
l’EPA et d’un détergent pour humidificateur que vous pouvez vous procurer dans un
magasin local.
REMARQUE: S’il est nécessaire d’utiliser un bactériostatique agréé, suivez les
instructions à la lettre. Les bidons de l’humidificateur pour toute la maison
contiennent 9 litres d’eau chacun.
ETAPE 1
Afin de faciliter le nettoyage, la base doit être vide et complètement sèche. Pour cela,
adoptez la method suivante :
a. Sur le côté arrière du bâti de l’humidificateur, localisez la languette de retenue du
flotteur. Dans le mode de fonctionnement normal, la languette de retenue sera
positionnée au fond de la rainure dans le bâti. Poussez la languette de retenue
vers le haut de la rainure, jusqu’à la position la plus élevée dans le bâti, quand elle
se bloquera en place. (Référezvous à la section « Desséchement manuel » à la
page 25.)
b. Laissez l’humidificateur en marche jusqu’à ce qu’il ne reste plus d’eau dans le bâti.
c. Débranchez l’humidificateur.
AVERTISSEMENT : Pour réduire le risque de choc électrique débranchez toujours
l’humidificateur avant de le nettoyer ou de le réparer. Quand l’humidificateur est toujours
branché, le ventilateur risque de se mettre en marche après le retrait du bâti.
ÉTAPE 2
RETRAIT DE PIÈCES
a. Ouvrez le couvercle pivotant, retirez les bidons d’eau, puis mettez-les de coté.
Saisissez l’ensemble de ventilateur par son milieu, en le tenant par l’avant et par
l’arrière. Soulevez-le et posez-le sur une surface plate propre. Le boîtier des filtres
est maintenant accessible.
b. Avant de retirer les composants intérieurs du bâti de l’humidificateur, nous
recommandons de déplacer l’humidificateur pour l’installer à un endroit où le
28
revêtement de sol ne risque pas d’être endommagé par l’eau, comme la cuisine ou
la salle de bains. Soulevez les ensembles de boîtiers de filtres pour les sortir du
bâti, et mettez-les de côté.
c. Retirez le flotteur indiquant le niveau d’eau du bâti de l’humidificateur en pinçant la
languette de retenue du flotteur pour pouvoir faire sortir le flotteur du bâti. Assurez-
vous que le bâti est vide avant de le nettoyer. Le bâti est la partie inférieure de
l’humidificateur, dans laquelle les filtres sont places pendant le fonctionnement
normal.
d. Videz toute l’eau se trouvant dans le bâti le cas échéant.
e. Passez à la section « Maintenance bihebdoma daire » ou « Maintenance de fin de
saison».
f. Retirez les vieux filtres et jetez-les en respectant les règlements, comme indiqué
aux pages 24.
ÉTAPE 3
Installez les filtres neufs (achetez les supports de filters évaporateurs capillaires
corrects, N° HDC12, pour votre humidificateur) aux endroits où les vieux filtres étaient
placés. Installez le boîtier des filtres avec les filtres neufs à l’endroit correct.
Réinstallez le flotteur indiquant le niveau d’eau.
REMARQUE : La languette de retenue du flotteur doit être positionnée dans le mode
de fonctionnement normal. Assurez-vous qu’elle est placée au fond de la rainure à l’arrière
du bâti (référez-vous à la page 25 pour le schema de la rainure).
Positionnez l’ensemble de ventilateur sur le bâti et remettez l’humidificateur à l’endroit
désiré en vue de son utilisation. Remplissez les bidons de l’humidificateur avec de l’eau
propre froide et remettez-les dans le bâti. Branchez l’appareil dans une prise de courant de
120 V c.a. et réglez les commandes en suivant les instructions de la section «
Fonctionnement des commandes» de ce mode d’emploi.
RETRAIT DU TARTRE
1. Remplissez le réservoir d’eau et ajoutez 8 oz (236 ml) de vinaigre blanc. Laissez la
solution reposer pendant 20 minutes.
2. Nettoyez toutes les surfaces intérieures à l’aide d’une brosse souple. Humectez un
chiffon doux de vinaigre blanc et essuyez la base pour en retirer le tartre.
3. Rincez abondamment avec de l’eau chaude et propre pour retirer le tartre et la
solution de nettoyage avant de désinfecter le réservoir.
DÉSINFECTION DE L'APPAREIL
1. Remplissez le bâti de l’humidificateur d’une cuillerée à thé (5 ml) d’un agent chloré
de blanchiment dilué dans un gallon (3,8 litres) d’eau. Laissez la solution pendant
20 minutes en prenant soin de remuer toutes les deux minutes. Mouillez toutes les
surfaces normalement exposées à l’eau.
2. Videz la base après 20 minutes. Rincez à l’eau jusqu’à ce que l’odeur du chlore ait
disparu. Laissez l’appareil sécher complètement.
3. Il convient de nettoyer les bidons d’eau de la même manière.
ENTREPOSAGE PENDANT L'ÉTÉ
1. Nettoyez l'appareil tel que décrit dans le chapitre Soins et Entretien.
2. Jetez les filtres à mèche usés et toute eau résiduelle dans le réservoir et laissez
l'appareil sécher complètement avant de le ranger. N'entreposez pas l'appareil
avec de l'eau résiduelle dans le réservoir ou les récipients.
3. N'entreposez pas l'appareil dans un grenier ou dans un endroit où la température
est élevée.
4. Installez un nouveau filtre au début de la saison.

29
Dépannage
Problème Cause probable Solution
L’affichage numérique ne
s’allume pas.
• Pas de tension.
• Vous n’avez pas appuyé sur le
bouton de mise en marche.
• Inspectez la source d’alimentation 120 V.
• Appuyez une fois sur le bouton de mise en
marche.
Le ventilateur ne fonctionne
pas (l’affichage numérique
est allumé).
• Le niveau d’humidité réel de la
pièce (ROOM) n’est pas de 3 %
inférieur au niveau d’humidité
programmé.
• Le réservoir est vide.
• Augmentez le niveau d’humidité programmé
(SET) si vous le souhaitez.
• Augmentez la vitesse de ventilateur.
• Remplissez l’humidificateur avec de l’eau.
Le ventilateur est
continuellement
en marche. L’appareil ne
s’éteint pas.
• Le flotteur est immobilisé par
une obstruction.
• Le niveau d’humidité
programmé (SET) est de 65 %.
• L’humidité réelle de la pièce
(ROOM) n’a pas atteint un
niveau supérieur de 1 % ou
plus au niveau d’humidité
programmé (SET).
• Retirez l’obstruction qui immobilise le flotteur.
• Un pourcentage d’humidité programmé (SET)
de 65 % force le ventilateur à fonctionner en
continu. Choisissez un niveau de réglage
entre 25 % et 60 %.
• Laissez le ventilateur fonctionner jusqu’à ce
que le niveau d’humidité souhaité soit atteint.
Cela peut prendre jusqu’à 48 heures
initialement.
Mauvaise évaporation de
l'eau.
• Le message indiquant qu’il faut
vérifier le filtre (CF) clignote.
• Accumulation de minéraux sur le
filtre.
• Mettez un filtre neuf.
• REMARQUE : dans certaines régions l’eau a
une forte teneur en minéraux qui entraîne le
besoin de changer le filtre plus fréquemment.
Aucun des bidons ne se
vide.
• Le piston du bouchon du
bidon n’est pas comprimé par
le montant prévu à cet effet
au fond du bâti.
• Filtres sales.
• Vérifiez l’orientation des bidons.
Repositionnez-les de façon à ce que le piston
du bouchon du bidon (la tige) soit comprimé
par le montant au fond du bâti.
• Remplacez-les par des filtres neufsHDC12.
Les bidons continuent à se
vider.
• De l’air pénètre dans le bidon. • Inspectez les « bouchons à remplissage
latéral » et les bouchons d’assemblage des
valves pour s’assurer qu’ils sont toujours
serrés.
• Vérifiez qu’il n’y a pas de fuites dans le bidon.
• Assurez-vous que les joints d’étanchéité pour
les « bouchons à remplissage lateral » sont
à leur place.
Le bidon continue à se vider
meme après avoir été
complètement rempli.
• De l’air pénètre dans le bidon • Vérifiez qu’il n’y a pas de fuites dans le bidon.
• Veillez à ce que la valve de remplissage soit
dans la position de fermeture et que des
debris n’encombrent pas la valve.
Le bidon de gauche ne se
vide pas.
• Il reste de l’eau dans le bidon de
droite.
• L’humidificateur est conçu de façon que le
bidon de droite se vide en premier.
La lettre « F » (indiquant un
remplissage nécessaire)
s’allume avant que les
bidons ne soient vides.
• L’appareil n’est pas installé
sur une surface de niveau.
(Le flotteur ne détectera pas
l’eau qui se trouve au fond
du bâti.)
• Placez l’appareil de niveau. (La mousse
servant à rembourrer la moquette risque de
s’affaisser au-dessous de l’avant de
l’humidificateur sous le poids additionnel des
bidons d’eau. Installez des montures sous les
roulettes du devant (voir page 39).
L’affichage numérique
clignote ou le ventilateur se
déplace légèrement quand
l’humidificateur est branché.
• Normal • Aucune action n’est requise.
Affichage alterné de la lettre
« F » et du % d’humidité de
la pièce.
• Le réservoir est vide. • Remplissez l’humidificateur d’eau.
Affichage alterné des lettres
« CF » et du % d’humidité de
la pièce.
• Le filtre peut être sale. • Remplacez le filtre.
• Débranchez l’appareil pendant 30 secondes
et rebranchez-le.
Les contrôles sont
insensibles ou "CL" est
affiché
Verrouillage des commandes a
été activé
Maintenez le bouton d'alimentation pendant 5
secondes pour désactiver la fonction de
verrouillage des commandes.

30
Pièces de rechange:Liste des pièces de rechange pour
l’humidificateur d’air Modèle No EA1407/HD1409

31
Liste des pièces de rechange pour l’humidificateur d’air
Serie 14 gallon: EA1407/ HD1409
Commandez toujours par numéro de pièce et non pas par numéro de legend
N°
légende N° pièce Désignation
1 828741-2 Couvercle fixe
2 828855-2 Couvercle pivotant
3 1B72320 Ensemble des commandes
4 824690 « Bouchon à remplissage latéral »
5 828192 Bidon de gauche (inclut les légendes N° 4 et 7)
6 828726 Bidon de droite (inclut les légendes N° 4 et 7)
7 509229-1 Bouchon de l’ensemble de valve
8 828199-10 Bâti
9 823726 Rail de poussée
10 STD601107 *Vis à tête cylindrique large Ty « AB » N° 10 x 3/4
11 1B5460100 Roulettes doubles
12 830560-1 Support de filtre inférieur
13 HDC12 † Filtre évaporateur
14 828534 Support, moteur
15 1B72493 Moteur
16 822406-1 Ventilateur
17 828197 Support de filtre supérieur
18 824101 Languette de retenue de flotteur
19 828200-3 Flotteur indiquant le niveau d’eau
20 828920 Montures de roulettes (deux)
-- 1B72889 Manuel d’ Mode d’emploi (n’apparaît pas sur le schéma)
* Article de quincaillerie standard qu’il est possible de se procurer localement.
† Article en stock – achetez localement ou commandez en appelant le
1-800-547-3888 depuis les États-Unis ou le 1-888-744-4687 depuis le Canada.
• Toute tentative de réparation de l’ensemble de commande ou du moteur par une personne
autre qu’un technicien agréé peut créer un danger et annule la garantie.
Pour commander des pièces par téléphone :
États-Unis : 1-800-547-3888
Canada : 1-888-744-4687

32
GARANTIE LIMIT
É
E
À
DEUX ANS
FACTURE REQUISE COMME PREUVE D'ACHAT POUR TOUTE
RÉCLAMATION VISANT À FAIRE VALOIR LA GARANTIE.
Cette garantie est accordée uniquement à l'acheteur original du présent
humidificateur lorsque l'appareil est installé et utilisé dans des conditions normales,
contre les défauts de matériaux et de fabrication comme suit:
Deux (2) ans à compter de la date de vente de l'appareil, et
Trente 30 jours sur les mèches et filtres, qui sont considérés comme des
éléments jetables et doivent être remplacés périodiquement.
Le fabricant remplacera la pièce/le produit défectueux, à sa discrétion, en prenant à
sa charge les frais de transport pour le renvoi du produit au client. Il est convenu
qu'un tel remplacement est le seul recours offert par le fabricant et que, DANS LA
MESURE MAXIMALE AUTORISÉE PAR LA LOI, LE FABRICANT NE SAURAIT
ÊTRE TENU RESPONSABLE DE DOMMAGES QUELCONQUES, Y COMPRIS
DES DOMMAGES ACCESSOIRES OU SECONDAIRES, OU DES PERTES DE
BÉNÉFICES OU DE REVENUS.
Certains États ne permettent pas de limitations concernant la durée des garanties
tacites, aussi les limitations ci-dessus peuvent-elles ne pas vous concerner.
Exclusions de cette garantie
Nous n'assumons pas la responsabilité du remplacement des mèches et des filtres.
Nous n'assumons pas la responsabilité des garnitures qui sont considérées comme
jetables et doivent être remplacées périodiquement.
Les modifications comprennent la substitution d'éléments de marque, y compris,
mais sans s'y limiter, les mèches d'humidificateur et le traitement des bactéries.
Nous n'assumons pas la responsabilité de tout dommage résultant de l'utilisation
d'adoucisseurs d'eau ou de traitements, de produits chimiques ou de matériaux de
détartrage.
Nous n'assumons pas la responsabilité du coût des appels au service en vue de
diagnostiquer la cause du problème, ni les frais de main d'oeuvre pour la réparation
ou de remplacement des pièces.
Aucun employé, agent, revendeur ni autre personne n'est autorisé à accorder des
garanties ou des conditions au nom du fabricant. Le client devra assumer tous les
coûts de main-d'oeuvre engagés.
Cette garantie sera considérée nulle et non avenue si l'acheteur tente de réparer ou
remplacer des pièces mécaniques ou électriques.
Certains états n'autorisent pas l'exclusion ou la limitation de responsabilité pour les
dommages fortuits ou consécutifs, aussi les limitations ou exclusions ci-dessus
peuvent-elles ne pas vous concerner.
Comment obtenir le service découlant de cette garantie
Dans les limites de cette garantie, l'acheteur en possession d'un appareil
défectueux doit prendre contact avec le service client au 800-547-3888 pour obtenir
des instructions sur la façon d'obtenir des pièces de rechange dans le cadre de la
garantie comme indiqué ci-dessus.
Cette garantie confère des droits spécifiques au client et ce dernier peut également
jouir d'autres droits en fonction de la province ou de l'État dans lequel il réside .
Veuillez enregistrer votre produit sur www.essickair.com ou www.AIRCAREproducts.com.

33
CONSOLA DE
VENTILADOR DUAL
HUMIDIFICADOR
POR
EVAPORACIÓN
SERIE14GALONE
GUÍADEUSOYCUIDADO
Humidistatoajustable
Botellas de llenado de fácil
Cuatroruedas
PARAADQUIRIRPIEZASYACCESORIOSLLAMEAL1.800.547.3888
LEA Y GUARDE ESTAS INSTRUCCIONES
Inglés ………………. 1
Francés …………… 11
EA1407; HD 1409
34
MEDIDAS DE SEGURIDAD IMPORTANTES
Instrucciones generales de seguridad
LÉALAS ANTES DE USAR SU HUMIDIFICADOR
PELIGRO: significa que si no se respeta la información de seguridad, alguien puede
resultar seriamente herido o muerto.
PRECAUCIÓN: significa que si no se respeta la información de seguridad, alguien
podría resultar seriamente herido o muerto.
ADVERTENCIA: significa que si no se respeta la información de seguridad, alguien
podría resultar herido.
1. Para reducir el riesgo de incendio o descarga eléctrica, este humidificador posee
un enchufe polarizado (una espiga es más ancha que la otra). Enchufe el
humidificador directamente a un tomacorriente eléctrico de 120 V de corriente
alterna (CA). No utilice cables prolongadores. Si el enchufe no encaja
completamente en el tomacorriente, inviértalo. Si aún así no encaja, contacte a un
electricista calificado para que instale el tomacorriente adecuado. No cambie el
enchufe de ninguna manera.
2. Mantenga el cable fuera de las áreas de tránsito. Para reducir el riesgo de peligro
de incendio, nunca coloque el cable debajo de alfombras, cerca de fuentes de
calor, radiadores, cocinas o calentadores.
3. Desenchufe siempre la unidad antes de mover, limpiar o retirar la parte del módulo
del ventilador del humidificador, o cuando no esté funcionando.
4. Mantenga el humidificador limpio. Para reducir el riesgo de lesiones, incendio o
daños al humidificador, utilice solamente limpiadores recomendados
específicamente para humidificadores. Nunca utilice materiales inflamables,
combustibles o tóxicos para limpiar su humidificador.
5. No coloque objetos extraños dentro del humidificador.
6. No permita que la unidad se utilice como un juguete. Se debe prestar especial
atención cuando es utilizado por o cerca de niños.
7. Para reducir el riesgo de peligro eléctrico o daño al humidificador, no lo mueva,
sacuda ni incline mientras la unidad esté en funcionamiento.
8. Para reducir el riesgo de descargas eléctricas accidentales, no toque el cable ni
los controles con las manos húmedas.
9. Para reducir el riesgo de incendio, no lo utilice cerca de una fuente de fuego
abierta, como una vela u otra fuente de fuego.
PRECAUCIÓN: Por su propia seguridad, si alguna parte faltara o estuviera
dañada, no utilice el humidificador.
PRECAUCIÓN: Para reducir el riesgo de incendio, descarga eléctrica o daños,
siempre desconecte la unidad antes de realizar el mantenimiento o la limpieza.
PRECAUCIÓN: Para reducir el riesgo de incendio o electrocución, no vierta ni
derrame agua sobre la zona del motor o del control. Si se mojan los controles,
déjelos secar completamente y haga revisar la unidad por personal de
mantenimiento autorizado antes de conectarla.

35
INTRODUCCIÓN
Su nuevo humidificador añade humedad invisible a su hogar desplazando aire seco a
través de una mecha saturada. A medida que el aire atraviesa la mecha, el agua se
evapora en el aire, dejando atrás polvo blanco, minerales o sólidos disueltos o
suspendidos en le filtro. Debido a que el agua se evapora, queda solamente aire
húmedo, limpio e invisible.
A medida que la mecha de evaporación atrapa los minerales acumulados en el agua,
se reduce su capacidad de absorber y evaporar agua. Se recomienda cambiar la
mecha al comienzo de la estación. En áreas de aguas duras, deberá reemplazarla
con más frecuencia para mantener la eficiencia de su humidificador.
Utilice únicamente mechas de repuesto y químicos AIRCARE® o MoistAIR®/Essick Air®.
Para solicitar piezas, mechas y químicos llame al 1-800-547-3888. Lo humidificador
uso mecha Nº HDC12. Sólo la mecha de evaporación AIRCARE® o MoistAIR®/Essick
Air® garantiza el rendimiento certificado de su humidificador. El uso de mechas de
otras marcas anulala certificación de rendimiento y puede anular su garantía.
CONOZCA SU HUMIFICADOR
Descripción EA 1407/HD 1409
Se hace entrar aire de la parte
trasera del humidificador y a
través de los filtros por medio de
los ventiladores de circulación. A
medida que el aire pasa a través
de los filtros, absorbe humedad,
la cual se libera a continuación
en forma de vapor que se libera
en su habitación.
* Producción en galones /24 h 14 (53 litros)
Capacidad de aqua 4.75
* Cobertura en pies
cuadrados
3000+ (279+ m
2
)
2900 (270 m2)
Velocidades del ventilador 3
Velocidad del ventilador
automática Si
Filtro de repuesto HDC12 (juego de 4)
Indicador de llenado Sí
Higrostato automático Sí
Apagado automático Sí
Controles Electrónicos
Ruedecillas Si (4)
Catalogado por ETL/CETL Sí
Voltaje 120 V C.A.
Frecuencia 60 Hz
Intensidad (alta velocidad) 2,88 A
Potencia (alta velocidad) 165 W
*Con base en una zona con aislamiento normal y una altura de 8
' de t echo ANSI / AHAM HU-1-1997. SEC. 8.1. Los resultados
pueden variar.
Controles
Carcasa
del filtro
Filtro:
No. de repuesto
HDC1
2
Higrostato
(sensor en el cable de
alimentación) Ruedecillas
Tapa pivotante
Botellas
Conjunto de
ventiladores
FUNCIONAMIENTO DE
SU HUMIFICADOR

36
El uso de un nivel de burbuja asegurará la
colocación de la botella de drena
j
e adecuado.
MONTAJE
1. Desembale el humidificador.Tetire el manuel.
2. Saque todo material de empaquetamiento del interior del humidificador. El
material de empaquetamiento está ubicado debajo del conjunto de ventiladores.
Verifique que los siguientes elementos están en el gabinete del humidificador.
Coloque el gabinete vacío boca abajo.
3. Poner el gabinete vacío de cabeza para abajo.
4. Insertar cada uno de los ejes de las ruedas
en cada ángulo del fondo del humidificador.
Las ruedas deben encajar bien justas y se
deben insertar hasta que el tope del eje
llegue a la superficie del gabinete.
5. Poner el gabinete en pie.
REINSTALACIÓN LOS COMPONENTES
NOTAS SOBRE LA UBICACIÓN:
Con el fin de conseguir un uso más efectivo del humidificador, es importante colocar
la unidad donde se requiera la mayor cantidad de humedad o en el lugar de la casa
donde circulará la mayor cantidad
de aire; por ejemplo, cerca de un
retorno de aire frío. Si la unidad se
coloca cerca de una ventana,
puede formarse conden-sación en
el cristal de la ventana. Si esto
sucede, se debe colocar la unidad
en otro lugar.
Coloque el humidificador en una
superficie plana y nivelada. NO
sitúe la unidad directamente elante
de un conducto de aire caliente o
radiador. Si se coloca en la alfombra,
utilice almohadillas para ruedas para
asegurar la colocación de nivel. Debido a que el humidificador emite aire frío y
húmedo, se recomienda orientar la dirección del aire lejos del termostato y de las
rejillas de aire caliente.
Frente
FRONT FRONT
Frente
FRONT FRONT
Izquierda
Derecho
Frente
Flottador
Frente
FRON
T
♦ 2 assemblage de filtro/mecha
4 mechas instalados
♦ 4 rudeas y 2 almohadillas para ruedecill
♦ 2 botellas ♦ 2 tapa del botellas y2 tapas del
con
j
unto de la válvula
♦ Flotador
y
retenedor del flotado
r
♦ Manual de tar
j
etas
y
re
g
istro
1. Reinstalar flotador.
2. Reinstalar las asambleas de
mecha en el gabinete.
3. Reinstalar las botellas de agua.
Al menos a 5cm
(
2 pulg.) de la pared Parte delantera
del gabinete
Ruedecilla delantere
Almohadilla para ruedecilla
Superficie de la alfombra
o irregular
NOTA: Si el humidificador se coloca
sobre una alfombra o superficie irregular
coloque las almohadillas para ruedecilla debaj
o
de las ruedecillas delanteras solamente,
para nivelar el humidificador (en caso
de que sea necesario).

37
La “tapa lateral de llenado fácil” debe
estar orientada siempre hacia atrás
Parte trasera
del humidificador
LLENADO
PRECAUCIÓN: Desenchufar la unidad antes de llenarla, limpiarla o efectuar
reparaciones en ella. Siempre mantener la rejilla seca.
ADVERTENCIA: Para reducir el riesgo de peligro de incendio o descargas eléctricas no
derrame agua sobre el motor del ventilador. Los componentes eléctricos deben
mantenerse secos.
NOTA: Llene la botella con la mezcla recomendada de agua fría y bacteriostato (si es
necesario) solamente. Los residuos sólidos podrían causar escapes en la válvula.
Instale la “tapa lateral de llenado fácil” girandole en el sentido de las agujas del reloj.
Apriétela solamente con la mano.
PRECAUCIÓN: Uso unicamente un bacteriostato registrado por EPA. En ninguna
circunstancia debe usted usar productos de tratamiento de agua diseñados
para humidificadores de disco de impulso o ultrasónicos.
Recomendamos usar el Tratamiento Bactericida 1970 de Essick Air cada vez que
rellene su humidificador para eliminar el crecimiento bacteriano.
NOTA: El humidificador contiene botellas de agua. El peso de las botellas en la parte
delantera del gabinete puede hacer que las ruedecillas delanteras se hundan más
profundamente en la alfombra. Si esto sucede, el nivel de agua será más alto hacia la
parte delantera del humidificador y más bajo hacia la parte trasera. Es posible que el
flotador del nivel de agua (ubicado en la parte trasera del gabinete) no detecte el
agua, por lo que se mostrará una “F” parpadeante y
la unidad no se activará. Si esto sucede, será
necesario nivelar la unidad para que el humidificador
se active. Para nivelar el humidificador cuando esté
ubicado sobre una alfombra, coloque las
almohadillas para ruedecilla incluidas debajo de las
dos ruedecillas delanteras del humidificador
solamente.
1. Levante la tapa pivotante para abrir el
humidificador. Saque las botellas de agua
levantándolas directamente hacia arriba y hacia
fuera del gabinete.
Observe que las botellas de agua están
diseñadas como unidades derecha e izquierda. Después de llenar, posiciónelas
en la ubicación correcta para que el humidificador pueda funcionar
adecuadamente. Las botellas de agua deben descansar en la parte delantera del
gabinete. Cada “tapa lateral de llenado fácil” debe estar orientada hacia la parte
trasera de la unidad.
Cada botella de agua está diseñada con
una “tapa lateral de llenado fácil” y tapa
de la válvula inferior que se quita
fácilmente. Antes de rellenar las botellas,
verificar la tapa de la válvula inferior se
encuentra en forma segura.
NOTA: Una manguera de llenado,
P/ N 4400, que se conecta a un grifo puede
ser adquirido por llamadas 1-800-547-3888.
2. Cada botella de agua está diseñada con una
“tapa lateral de llenado fácil” y tapa de la
válvula inferior que se quita fácilmente. Antes de rellenar las botellas, verificar la tapa de
la válvula inferior se encuentra en forma segura. Quite la “tapa lateral de llenado fácil”
ubicada en el lado de la botella de agua girándola en sentido contrario al de las agujas
Conjunto de
ventiladores
Tapa
pivotante
Botellas

38
del reloj. Coloque la abertura de la botella de agua debajo de una llave de agua (la
botella debería caber debajo de una llave de agua que tenga un margen de altura de
dos pulgadas [5 cm]). Una manguera de llenado.
NOTE: Ambas tapas de botellas han arandelas de goma en ellos. No retire.
3. Compruebe si hay posibles escapes hacienda lo siguiente:
a. Agarre el asa de la botella y sostenga la botella en posición vertical sobre un
fregadero.
b. Inspeccione la válvula de parte inferior que no haya fugas
c. Presione hacia arriba sobre el émbolo de la tapa de la válvula durante
aproximadamente un segundo para dejar que salga un poco de agua.
d. Suelte el émbolo.
e. Escuche si están escapando burbujas de aire. Busque escapes alrededor de la
“tapa lateral de llenado fácil".
f. Si oye burbujas de agua o ve escapes, reapriete la “tapa lateral de llenado fácil” y
repita los Pasos 1-5.
4. Limpie la botella para quitar el exceso de agua.
5. Uso de la asas integradas, coloque suavemente cada botella en el armario hasta
que la botella se encuentra en las almohadillas en la parte inferior del gabinete. La
“tapa lateral de llenado fácil” debe estar
orientada hacia la parte trasera del gabinete.
Cuando esté posicionada correctamente, el
émbolo se abrirá y el agua fluirá al interior del
gabinete. El nivel del agua se mantendrá una
profundidad de aproximadamente 1/2 pulgadas
(13mm) hasta que las botellas están vacías.
Deje que el filtro se sature durante 30 minutos
antes de utilizar la unidad.
ACERCA DE LA HUMEDAD
El punto en el que ajuste los niveles de humedad deseados depende de su nivel
de comodidad personal, la temperatura exterior y la temperatura interior.
NOTA: Pruebas recientes de los CDC muestran que las posibilidades de transmisión de
la gripe se reducen en gran medida a niveles de 43% de humedad o mayor.
Es posible que desee comprar un higrómetro para medir el nivel de humedad en su
hogar. El siguiente es un diagrama de ajustes de humedad recomendados.
* Modelo 1990 higrómetro digital está disponible para su compra llamando al
1-800-547-3888.
Gire la tapa en sentido contrario
al de las agujas del roloj para quitarla
Émbolo de la
tapa de la válvula
Sección
saliente
Se ha quitado la tapa pivotante para mayor claridad

39
NOTA: Las lecturas del higrómetro externos y lecturas humidistato pueden ser
diferentes. Los niveles de humedad pueden variar significativamente, incluso en una
habitación.
* Cuando la temperatura
exterior es de:
°F ° C
La humedad relativa
(HR) interior
recomendada es del
-20
-10°
2°
10°
20°
30°
-30°
-24°
-18°
-12°
-6°
-1°
15 - 20%
20 - 25%
25 - 30%
30 - 35%
35 - 40%
40 - 45%
CONTROLES Y FUNCIONAMIENTO
El punto en el que ajuste los niveles de humedad deseados depende de su nivel de
confort personal, la temperatura exterior y la temperatura interior. Se recomienda un
punto de ajuste inicial de humedad AMBIENTE del 30 al 40 por ciento, pero puede
haber condiciones que requieran unajuste distinto.
OBSERVACIÓN: Si ocurre una
condensación excesiva, reduzca la
velocidad del ventilador a una velocidad
más baja.
PANTALLA DIGITAL
Oprima el botón de alimentación una vez
para encender la unidad*. Inicialmente,
hay una ligera demora mientras los componentes electrónicos se calibran. Dos barras
(- -) aparecen durante este tiempo. Una vez que la calibración se haya completado, se
mostrará una lectura de humedad AMBIENTE entre el 20 y el 95 porciento. Una
visualización de un 20 que parpadea indica que la humedad ambiente es inferior al
20%.
NOTA: Los ajustes preestablecidos en la puesta en marcha inicial son la velocidad del
ventilador F1 (BAJA) y la humedad de AJUSTE del 65%.Después de que el usuario
seleccione los ajustes deseados, dichos ajustes permanecerán mientras la unidad se
mantenga enchufada y no haya interrupciones del suministro eléctrico. Si sedes enchufa
la unidad, se emplean los ajustes preestablecidos originales.
VELOCIDAD DEL VENTILADOR
Este humidificador está equipado con un control de ventilador de 3
velocidades. Inicialmente, al oprimir el botón de velocidad se
visualizará el ajuste de velocidad actual. Cada pulsación del botón de
velocidad hace avanzar el modo a través de los ajustes de (ALTA) F3,
(INTERMEDIA) F2, (SUSURRO) F1 y (AUTO) A.
El ajuste seleccionado se muestra en la lectura digital. Cuanto más alto sea el ajuste,
más rápidamente se evaporará y liberará el agua al aire. F1 (BAJA) es el ajuste más
silencioso y se proporciona para condiciones que no requieran una tasa de
evaporación rápida. Cuando se seleccione (AUTO) A, el humidificador determinará la
velocidad del ventilador necesaria para llevar la humedad ambiente real a la humedad
ajustada.
Velocidades
de ventilador
Control de humedad
Botón de encendido
Pantella Digital
* y superior
IMPORTANTE: El agua puede
producir daños si comienza a
formarse condensación en
ventanas o paredes. Debe
disminuirse el punto de AJUSTE
de la humedad hasta que ya no
se forme condensación. Se
recomienda que los niveles de
humedad de la habitación no
excedan el 50%.

40
CONTROL DE LA HUMEDAD
Este botón le permite ajustar la humedad para adaptarla a sus necesidades. Este
humidificador se encenderá y apagará cíclicamente de modo automático según se
requiera para mantener el ajuste seleccionado. La lectura muestra tanto los ajustes de
porcentaje de humedad (%) real (AMBIENTE) como deseado (AJUSTE) cuando se
oprime el botón de control de humedad. La lectura AMBIENTE tiene un intervalo del 20
al 95 por ciento. Si el nivel de humedad ambiente es igual o inferior al 20%, la pantalla
mostrará un 20 que parpadea.
La lectura del AJUSTE tiene un intervalo del 25 al 65 por ciento y se ajusta en incrementos
de 5%. Al oprimir inicialmente el botón de humedad, se visualizará el ajuste de humedad
actual. Cada pulsación adicional del botón aumenta el ajuste en un 5%. Un punto de
AJUSTE de 65% hace funcionar continuamente el humidificador, independientemente de la
lectura AMBIENTE. El higrostato que detecta las lecturas está ubicado en el cordón de
alimentación. Asegúrese de que esté libre de obstrucciones.
VISUALIZACIÓN DE RELLENO
Para obtener el máximo tiempo de functionamiento,se deben llenar
tanto la botella como la base. Cuando tanto la botella como la base
se vacíen, la lectura de humedad ambiente y “F” (LLENAR)
alternarán en la pantalla, informando que se requiere agua adicional.
INDICADOR DE COMPROBACIÓN DEL FILTRO
La capacidad de cualquier humidificador para suministrar
eficientemente humedad depende en gran medida del estado del
filtro. A medida que el filtro se carga con impurezas, pierde
gradualmente su capacidad de mecha. Cuando esto ocurre, la
producción de humedad se reduce y el humidificador tiene que trabajar más tiempo
para satisfacer el ajuste seleccionado.
Este humidificador tiene un recordatorio de comprobación del filtro temporizado para
aparecer después de 720 horas de funcionamiento. Cuando la pantalla muestre un
ajuste que alterna entre “CF” y “humedad ambiente” a intervalos de 5 segundos, eso
es un recordatorio de comprobar el estado del filtro.
NOTA: Algunas zonas tienen un alto contenido de minerales en el agua, lo cual causa
la necesidad de hacer cambios más frecuentes del filtro.
Restablecer la comprobación de la función de filtro cada vez que cambia un filtro de
desconectar la unidad de la fuente del poder para 1-2 minutos, a continuación,
conectarlo de nuevo.
Consulte la sección “Reemplazo y cuidado del filtro” en la página 26 . Si es evidente
que hay una acumulación de depósitos o una descoloración intensa, reemplace el
filtro para restablecer la máxima eficiencia.
BLOQUEO DE LOS CONTROLES
Para evitar que se modifiquen por error los valores del humidificador,
se pueden bloquear los controles.
PROCEDIMIENTO DE ACTIVACIÓN
Después de que se configuren las funciones del humidificador, mantenga presionado
el botón de encendido durante 5 segundos. El visor mostrará “CL” durante 2
segundos. Suelte el botón de encendido y el control reanudará el visor de la humedad
del ambiente. El humidificador de ambiente continuará funcionando con los valores
bloqueados. Si se presionan los botones mientras "CL" está activado, aparecerá
"CL" en el visor y los valores no se verán afectados.

41
Centro de la sección de
la parte posterior
del gabinete
La posición
más baja
de la ranura
del medio
es para el
funcionamiento
normal
El flotador
con retenedor
(sólo como referencia)
La posición
superior de la
ranura del
medio es para
resecación
manual
Tapa pivotante
Conjunto de
ventiladores
Gabinete del
humidificador
PROCEDIMIENTO DE DESACTIVACIÓN
Para desactivar la función “CL”, simplemente presione y mantenga presionado el
botón de encendido durante 5 segundos. “CL” parpadeará encendiéndose por un
segundo y apagándose por un segundo durante 2 segundos y luego se reanudará el
visor de humedad del ambiente.
RESECACIÓN MANUAL
Para el final de la temporada de humidificación o si usted no piensa utilizar el humidificador
durante una semana o más tiempo, se
proporciona un mecanismo de resecación
manual para secar completamente el
gabinete del humidificador.Para hacer
esto, simplemente deslice el retenedor
del flotador, ubicado en la parte trasera
del gabinete del humidificador, hasta la
posición superior de la ranura en la que
está ubicado. Esto sujetará el flotador en
posición hacia arriba y el ventilador
funcionará hasta que usted
apague la unidad.
NOTA: Asegúrese de posicionar el
retenedor del flotador en el modo de
function-amiento normal (la posición más baja de la ranura) para el funcion-amiento
normal del humidificador. El diagrama corresponde a la ranura en la que el retenedor
del flotador está ubicado, en la parte trasera del gabinete.
REEMPLAZO DE LOS FILTROS
ADVERTENCIA: Para reducir el riesgo de descargas eléctricas o lesiones causadas
por las piezas móviles, desenchufe siempre el humidificador antes de quitar o
reemplazar cualquier pieza.
PRECAUCIÓN: Para ayudar a retardar el crecimiento de bacterias y mantener la
maxima eficiencia, se debe reemplazar el filtro al menos una vez por estación, o más
a menudo en condiciones de agua dura. Use el filtro de repuesto recomendado
MoistAir HDC12.
Los filtros se deben enjuagar periódicamente en agua limpia solamente. Tenga
cuidado de no dañar el papel. Para reemplazar los filtros de mecha evaporativos del
humidificador, siga estas instrucciones.
1. Desenchufe el humidificador antes de quitar los
filtros. Recomendamos trasladar el
humidificador a un área donde los
revestimientos del piso no sean propensos a
sufrir daños por causa del agua, como pocr
ejemplo áreas de cocina o de baño
2. Levante la tapa pivotante para abrir la unidad,
saque las botellas de agua y póngalas a un
lado. Agarre la parte delantera central y la parte trasera central del conjunto de los
ventiladores. Levante dicho conjunto y póngalo a un lado en una superficie plana y
limpia. Una vez hecho esto, tendrá acceso a las carcasas de los filtros.
3. Levante la carcasa de los filtros hasta sacarla del gabinete y colóquela donde
pueda trabajar en ella cómodamente. Con un paño absorbent suave, quite del
gabinete del humidificador toda el agua que quede o todos los depósitos minerales
sueltos que no estén atrapados en el filtro.

42
FR
ONT
Reensamblar la support
de la mecha
Separar el soporte superior
y frontal de la mecha
Supporte del mecha
Retire mechas usadas y
reemplazar con nuevos mechas
FRONT
FRONT
FRONT
FRONT
Izquierda Derecho
FRONT FRONT
Porción plana de la vivienda
mecha hacia la parte posterior
del gabinete
Lengüetas de resorte orientadas
hacia la parte delantera
del gabinete
Colocación de la botella de agua
Lengüetas de resorte Carcasa
de los filtros
Lengüetas fijas
Lengüetas
de resorte
Carcasa de
los filtros
Parte
trasera del
humidificado
r
Parte delantera
del humidificador
4. Para abrir la carcasa de los filtros y obtener acceso
fácil a los filtros:
a. Desvíe las dos lengüetas de resorte ubicadas en la
parte superior de la carcasa de los filtros. Levante la
cubierta superior para separarla de la carcasa de
los filtros y póngala a un lado.
b. Saque los dos filtros y deséchelos adecuadamente.
Limpie las piezas internas del humidificador
siguiendo las instrucciones de la sección “Cuidados
y mantenimiento” (página 28) del manual del
usuario.
c. Instale los filtros nuevos en el carril de la carcasa
de los filtros con las gotas de adhesive de la
almohadilla de empaquetadura orientadas hacia el
interior de la carcasa de los filtros.
d. Coloque de nuevo la cubierta superior de la carcasa
de los filtros instalando dicha cubierta sobre las
lengüetas fijas ubicadas en la parte trasera de la
carcasa inferior de los filtros y pivotando la cubierta
hacia abajo sobre la parte superior de los filtros.
Acople a presión la cubierta sobre las dos lengüetas
de resorte.
e. Coloque de nuevo la carcasa de los filtros en el
gabinete.
NOTA: Hay una orientación delantera y una orientación
trasera.Para posicionar correctamente las carcasas de
los filtros:
• Asegúrese de que las lengüetas de resorte de las
carcasas de los filtros estén orientadas hacia la
parte delantera del gabinete.
• Alinee la parte inferior del conjunto de los filtros
sobre las seis nervaduras ubicadas en la parte
trasera del fondo del gabinete del humidificador.
f. Posicione el conjunto de los ventiladores sobre el
gabinete. Asegúrese de que la carcasa Venturi de
los ventiladores (la sección cilíndrica más baja
ubicada debajo de los ventiladores) esté colocada
dentro de la carcasa de los filtros.
g. Coloque de nuevo las botellas de agua.
h. Ponga la tapa pivotante en posición cerrada.
i. La unidad está lista para utilizarse o para
almacenarse para la próxima temporada.
Instalar la tapa en el gabinete
43
CUIDADOS Y MANTENIMIENTO
Limpiar su humidificador regularmente ayuda a eliminar olores y el crecimiento
de bacterias y hongos. El blanqueador doméstico común es un buen desinfectante y se
puede usar para repasar la base del humidificador y la botella después de limpiarlos.
Recomendamos limpiar su humidificador por lo menos una vez por semana para mantenerlo
con las condiciones ambientales ideales.
También recomendamos usar el Tratamiento Bactericida Essick Air cada vez que rellene
su humidificador para eliminar el crecimiento bacteriano. Añadir el bactericida de acuerdo
a las instrucciones de la etiqueta. Para encomendar el Tratamiento Bactericida, llamar al 1-800-
547-3888 y solicitar el número de repuesto 1970.
LIMPIEZA INSTRUCCIONES
ADVERTENCIA: Para reducir el riesgo de lesiones, incendio o daños al humidificador, utilice
únicamente limpiadores recomendados específicamente para humidificadores. No utilice nunca
materiales inflamables, combustibles o tóxicos para limpiar el humidificador. Para reducir el
riesgo de quemarse y de dañar el humidificador, no ponga nunca agua caliente en el
humidificador.
PRECAUCIÓN: La pureza del agua local varía de una zona a otra y en ciertas condiciones las
impurezas contenidas en el agua y las bacterias suspendidas en el aire pueden fomentar el
crecimiento de microorganismos en el depósito del humidificador. Para reducer el crecimiento
de bacterias que pueden causar olores y ser perjudiciales para la salud, utilice únicamente filtros
de repuesto HDC12. También recomendamos utilizar un bacteriostato aprobado por la EPA y
un limpiador para humidificadores, los cuales se pueden conseguir en su tienda local.
PASO 1
Para facilitar la limpieza, la base del humidificador debe estar vacía y completamente
seca. Para lograr esto, utilice el método siguiente:
a. En el lado trasero del gabinete del humidificador, localice el retenedor del flotador.
En el modo de funcionamiento normal, el retenedor estará posicionado en la parte
inferior de la ranura ubicada en el gabinete. Empuje el retenedor hacia arriba hasta
la posición superior de la ranura del gabinete, hasta que quede bloqueado en esa
posición. (Consulte la sección “Resecación manual” en la página 41.)
b. Deje que el humidificador funcione hasta que no quede agua en el gabinete.
c. Desenchufe el humidificador.
ADVERTENCIA: Para reducir el riesgo de descargas eléctricas, desenchufe siempre
el humidificador antes de limpiarlo o hacerle servicio de ajustes y reparaciones. Si el
humidificador no está desenchufado, el ventilador podría ponerse en marcha después
de quitar la carcasa.
PASO 2:
PARA QUITAR LAS PIEZAS
a. Levante la tapa pivotante para abrir el humidificador, saque las botellas de agua y
póngalas a un lado. Agarre la parte delantera central y la parte trasera central del conjunto
de los ventiladores. Levante dicho conjunto y póngalo a un lado en una superficie plana y
limpia. Una vez hecho esto, se tendrá acceso a las carcasas de los filtros.
b. Antes de quitar las piezas internas del gabinete del humidificador, recomendamos
trasladar el humidificador a un área donde los revestimientos
del piso no sean propensos a sufrir daños por causa del agua, como por ejemplo un
área de cocina o de baño. Levante los conjuntos de las carcasas de los filtros hasta
sacarlos del gabinete y póngalos a un lado.
c. Saque el flotador del nivel de agua del gabinete del humidificador comprimiendo el
retenedor del flotador para soltarlo del gabinete. El gabinete debe estar vacío antes
de limpiarlo. El gabinete consiste en las áreas inferiores del humidificador donde
están los filtros durante el tiempo de funcionamiento normal.
d. Vacíe el gabinete hasta que no quede nada de agua.
44
e. Vaya a “Mantenimiento cada dos semanas” o “Mantenimiento de final de
temporada”.
PASO 3:
Instale los filtros nuevos (compre las almohadillas de filtro de mecha evaporativo
correctas HDC12 para su humidificador) en la ubicación donde estaban posicionados
los filtros viejos. Instale las carcasas de los filtros con los filtros nuevos en la ubicación
correcta. Reinstale el flotador del nivel de agua.
NOTA: El retenedor del flotador se debe posicionar en el modo de funcionamiento
normal. Asegúrese de que esté posicionado en la parte inferior de la ranura ubicada
en la parte trasera del gabinete (vea el diagrama de la ranura que aparece en la
página 41).
Posicione el conjunto de los ventiladores sobre el gabinete y devuelva el humidificador
a la ubicación deseada para utilizarlo. Rellene las botellas del humidificador con agua
limpia y fría y póngalas de nuevo en el gabinete. Enchufe la unidad en un
tomacorriente de 120 V C.A. y ajuste los controles siguiendo las
instrucciones de la sección “Controles y Funcionamiento” (página 39) de este
manual.
MANTENIMIENTO CADA DOS SEMANAS
REMOCIÓN DE COSTRA
1. Llene el depósito con agua y añada una taza de 236 ml (8 onzas) de vinagre
blanco. Deje que la solución permanezca en el depósito durante 20 minutos.
2. Limpie todas las superficies interiores con un cepillo blando. Humedezca un paño
suave con vinagre blanco y limpie el depósito para quitar la costra.
3. Enjuague a fondo el depósito con agua templada limpia para quitar la costra y la
solución limpiadora antes de desinfectar el depósito.
DESINFECCIÓN DEL GABINETE
1. Llene el gabinete del humidificador con 1 cucharadita de blanqueador de cloro en
1 galón de agua. Deje que la solución permanezca en la base durante 20 minutos,
agitándola cuidadosamente cada pocos minutos. Moje todas las superficies que
normalmente estén expuestas a agua.
2. Vacíe el gabinete del humidificador después de 20 minutos. Enjuáguelo con agua
hasta que el olor a blanqueador haya desaparecido. Deje que la unidad se seque
completamente.
3. Las botellas de agua se deben limpiar de la misma manera.
MANTENIMIENTO DE FINAL DE TEMPORADA
1. Siga las instrucciones de “CUIDADOS Y MANTENIMIENTO” al final de la
temporada de humidificación.
2. Saque y tire los filtros.
3. Deje que el humidificador se seque completamente antes de guardarlo. No lo
guarde con agua dentro del gabinete o de las botellas de agua.
4. Guarde el humidificador en un lugar fresco y seco.
5. Instale un filtro nuevo en el humidificador limpio antes de que comience la próxima
temporada.
6. El procedimiento de “Mantenimiento cada dos semanas” también se recomienda si
usted no piensa utilizar el humidificador durante una semana o más.

45
Resolución de problemas
Problema Causa probable Remedio
La pantalla digital no está
iluminada. • No hay alimentación eléctrica.
• No se ha oprimido el botón de
alimentación.
• Compruebe la fuente
de alimentación de 120 V.
• Oprima el botón de alimentación una vez
para encender la unidad.
El ventilador no funciona
(la pantalla digital está
iluminada).
• El nivel de humedad AMBIENTE no
está un 3% o más por debajo del
nivel de AJUSTE de humedad.
• El depósito está vacío.
• Suba el nivel de AJUSTE de humedad si así lo
desea.
• Aumente la velocidad del ventilador.
• Llene el humidificador con agua.
El ventilador está en marcha
continuamente, la unidad no
se apaga.
• El flotador está obstruido.
• El nivel de AJUSTE de humedad es
del 65%.
• El nivel de humedad AMBIENTE no
ha alcanzado un 1% o más por
encima del nivel de AJUSTE de
humedad.
• Libere el flotador de la obstrucción.
• Un porcentaje de AJUSTE de humedad del 65%
hace que el ventilador funcione continuamente.
Gradúe el nivel de AJUSTE entre 25% y 60%.
• Siga haciendo funcionar la unidad hasta que se
alcance el nivel de humedad deseado.
Esto se podría tomar hasta 48 horas inicialmente.
Mala evaporación de agua. • El mensaje de Comprobar el filtro
“CF” está parpadeando.
• Acumulación de minerales en el filtro.
• Cambie el filtro con un filtro totalmente nuevo.
NOTA: La pureza del agua local varía de un área a
otra.
Ninguna de las dos botellas
se está vaciando. • Botella émbolo de la tapa
no se ha colocado en el poste en el
fondo del gabinete
• Filtros sucios.
• Compruebe la orientación de las botellas.
Reposiciónelas de modo que el émbolo (vástago) de
la tapa de la botella sea oprimido por el poste
ubicado en el fondo del gabinete.
• Cambie los filtros usando filtros totalmente nuevos
(HDC12).
Las botellas siguen
vaciándose. • Está entrando aire en las botellas de
aguas. • Compruebe las “tapas laterales de llenado fácil” y las
tapas del conjunto de la válvula para asegurarse de
que estén apretadas.
• Compruebe si hay escapes en las botellas de agua.
• Asegúrese de que las empaquetaduras de las “tapas
laterales de llenado fácil” estén colocadas en su sitio.
La botella izquierda no se
está vaciando. • La botella derecha contiene agua.
• El humidificador está diseñado para que la botella
derecha se vacíe primero.
La visualización “F” de llenar
está encendida antes de que
las botellas estén vacías.
• La unidad no está colocada en una
superficie nivelada. (El flotador no
detectará agua en la parte delantera
del gabinete.)
• Posicione la unidad de modo que esté nivelada.
(Algunos acolchados de alfombra pueden permitir
que la unidad se asiente más baja en la parte
delantera que en la parte trasera, con el peso
adicional de las botellas de agua en la parte
delantera del gabinete. Instale almohadillas para
ruedecilla debajo de las ruedecillas delanteras
[consulte la página 21]).
La visualización parpadea o
el ventilador se mueve
ligeramente al enchufar el
humidificador
• Normal.
• No es necesario tomar medidas.
El ventilador
f
unciona más
despacio que la velocidad
registrada en la pantalla digital.
• El humidificador está en el “Modo de
resecación” • El humidificador cambia automáticamente el
ventilador a (SUSURRO) F1 cuando la “F”
está parpadeando.
El humidificador no se apaga
durante el “Modo de
resecación”.
• El filtro no está seco.
• Durante el “Modo de resecación”, el
humidificador continuará funcionando a la
velocidad de (SUSURRO) F1, según sea
necesario durante hasta 2 horas.
Se visualizan
alternativamente “F” y la
humedad ambiente.
• El depósito está vacío.
• Llene el humidificador con agua.
Se visualizan
alternativamente “CF” y la
humedad ambiente.
• El filtro podría estar sucio.
• Cambie el filtro.
• Desenchufe la unidad durante 1-2 minutos y
reajuste. Reenchúfela para borrar la pantalla.
Los controles no
responden o "CL"en la
pantalla
Bloqueo de los controles
se has activado • Mantenga pulsadoel botón de alimentación
durante 5 segundos. Bloqueo de los controles
se desactivará.

46
Piezas de repuesto
Lista de piezas del humidificador modelos 1407/1409

47
Lista de piezas del humidificador Serie 14 galones
EA1407/ HD1409
Pida siempre por número de pieza, no por número de clave
No. De
Clave No. de Pieza Descripción
1 828741-2 Tapa estacionaria
2 828855-1 Tapa pivotante
3 831680 Conjunto de controles
4 824690 “Tapa lateral de llenado fácil”
5 828192 Botella izquierda (incluye los Nos. de clave 4 y 7)
6 828726 Botella derecha (incluye los Nos. de clave 4 y 7)
7 509229-1 Tapa del conjunto de la válvula
8 828199-9 Gabinete
9 823726 Riel protector
10 STD601107 Tornillo de cabeza troncocónica tipo “AB” No. 10 x 3/4
11 1B5460100 Ruedecilla doble
12 830560-1 Soporte del filtro inferior
13 HDC12 † Filtro evaporativo
14 828534 Soporte del motor
15 828115-1 Motor
16 822406-1 Ventilador
17 828197 Soporte del filtro superior
18 824101 Retenedor del flotador
19 828200-3 Flotador del nivel de agua
20 828920 Almohadilla para ruedecilla (dos)
-- 1B72889 Manual del usuario (no ilustrado)
† Artículo de existencias. Compra de forma local o llame a
1-800-547 - 3888 de los EE.UU. o 1-888-744-4687 desde Canadá hasta
el fin.
Todo intento de reparar el conjunto de los controles o el motor puede
crear un peligro y anula la garantía a menos que la reparación sea
realizada por untécnico de servicio calificado.
Para encomendar piezas y accesorios,
llame al 1-800-547-3888 en EEUU,
o 1-888-744-4687 en Canadá .

48
POLÍTICA DE GARANTÍA LIMITADA DE DOS AÑOS
PARA CUALQUIER RECLAMO RELACIONADO CON LA GARANTÍA ES
NECESARIO PRESENTAR EL RECIBO COMO PRUEBA DE COMPRA
Esta garantía se extiende solo al comprador original de este humidificador, siempre
y cuando la unidad sea instalada y utilizada en condiciones normales, contra
defectos de fabricación y materiales como se detalla a continuación:
Dos (2) años a partir de la fecha de la venta de la unidad y
Treinta (30) días para mechas y filtros, que se consideran componentes
desechables y deben reemplazarse periódicamente.
El fabricante reemplazará la parte o producto defectuoso, según lo crea conveniente,
y se hará cargo de los gastos de envío de la devolución al cliente. Se acuerda que el
reemplazo es la única solución que el fabricante tiene disponible. ASIMISMO,
HASTA EL GRADO MÁXIMO PERMITIDO POR LA LEY, EL FABRICANTE NO SE
HACE RESPONSABLE POR LOS DAÑOS DE CUALQUIER TIPO, INCLUIDOS
DAÑOS INCIDENTALES Y EMERGENTES, O LA PÉRDIDA DE GANANCIAS O
INGRESOS.
Algunos estados no permiten limitaciones con respecto a cuánto tiempo dura una
garantía implícita, por lo tanto es posible que las limitaciones detalladas
anteriormente no se apliquen a usted.
Exclusiones de esta garantía
No nos responsabilizamos por el reemplazo de mecheros y filtros.
No nos responsabilizamos por cualquier tipo de daños accidentales o resultantes,
producto de cualquier tipo de mal funcionamiento, accidente, mal uso, alteraciones,
reparaciones no autorizadas, abuso, incluidos la falta de mantenimiento razonable,
uso o desgaste normal, ni en situaciones donde el voltaje conectado sea un 5%
mayor al indicado por la placa indicadora.
Las alteraciones que puede sufrir el producto incluyen la sustitución de componentes
de marca, incluido, pero no limitado al tratamiento de bacterias y mechas del
humidificador.
No nos responsabilizamos por cualquier daño provocado por el uso de suavizantes o
tratamientos de agua, químicos o materiales de descalcificación.
No nos responsabilizamos por el costo de las llamadas al servicio para diagnosticar la
causa del problema o el cargo de la mano de obra para reparar o reemplazar piezas.
Los empleados, agentes, distribuidores u otras personas no se encuentran
autorizados a brindar garantías o condiciones en nombre del fabricante. El cliente
será responsable por todos los costos de mano de obra incurridos.
Esta garantía quedará sin validez si el comprador intenta reparar o reemplazar
cualquier pieza mecánica o eléctrica.
lgunos estados no permiten la exclusión o la limitación de daños incidentales o
resultantes, por lo tanto es posible que las limitaciones o exclusiones detalladas
anteriormente no se apliquen a usted.
Cómo obtener servicio bajo esta garantía
Dentro de las limitaciones de la presente garantía, el comprador que tanga unidades
fuera de funcionamiento debe comunicarse con el servicio de atención al cliente al
800-547-3888 para obtener instrucciones sobre cómo obtener las piezas de
repuesto dentro de la garantía, como se indica anteriormente..
Esta garantía le confiere al cliente derechos específicos. Además, el cliente puede
gozar de otros derechos que varían según la provincia o el estado.
Registre su producto en www.essickair.com o www.AIRCAREproducts.com.
®
Essick Air Products
Little Rock, AR. 72209