Essick Ma1201 Owner S Manual 4 Env
2014-07-05
: Essick Essick-Ma1201-Owner-S-Manual essick-ma1201-owner-s-manual essick pdf
Open the PDF directly: View PDF
.
Page Count: 32

CAUTION: READ ALL INSTRUCTIONS CAREFULLY BEFORE INSTALLATION.
SAVE THIS OWNERʼS MANUAL FOR FUTURE REFERENCE.
Part No. SP6615 Printed in U.S.A.
MA1201
Evaporative Console
Humidifier Owner’s Manual
®
MD
Model No.
MA12010
TM
MC

6. Do not allow to be used as a toy.
Close attention is necessary when
used by or near children.
7. Never use your humidifier while any
part is missing or damaged in any
manner.
8. To reduce the risk of electrical hazard
or damage to humidifier, do not tilt, jolt
or tip humidifier while unit is running.
9. To reduce the risk of damage to
humidifier, unplug when not in use.
10. To reduce the risk of accidental
electrical shock, do not touch the cord
or controls with wet hands.
11. To reduce the risk of fire, do not use
near an open flame such as a candle
or other flame source.
12. Note the warning label shown below.
GENERAL SAFETY INSTRUCTIONS
2
WARNING: To reduce risk of fire,
electric shock, or injury always unplug
before servicing or cleaning.
Safety Signal Words
DANGER: means if the safety information
is not followed someone will be seriously
injured or killed.
WARNING: means if the safety
information is not followed someone
could be seriously injured or killed.
CAUTION: means if the safety information
is not followed someone may be injured.
1. To reduce the risk of fire or shock
hazard, plug humidifier directly into a
120V, A.C. electrical outlet. Do not use
extension cords.
2. Keep the electric cord out of traffic
areas. To reduce the risk of fire hazard,
never put the electric cord under rugs,
near heat registers, radiators, stoves or
heaters.
3. Always unplug the humidifier before
moving it, removing the fan assembly
section, before cleaning, or whenever
the humidifier is not in service.
4. Keep the humidifier clean.
5. Do not put foreign objects inside the
humidifier.
Limited Warranty
This product is warranted against defects in workmanship and materials for one year from the date
of sale except for motors, which are warranted for two years. This warranty does not apply to
damage from accident, misuse, alteration, unauthorized repairs, unauthorized use, mishandling,
unreasonable use, abuse, including failure to perform reasonable maintenance, normal wear and
tear, nor where the connected voltage is more than 5% above the nameplate voltage, nor to the
equipment or products being improperly installed or wired or maintained in violation of this Ownerʼs
Manual. THIS WARRANTY DOES NOT APPLY TO FILTERS WHICH ARE CUSTOMER
REPLACEABLE PARTS. THIS PRODUCT IS NOT INTENDED FOR COMMERCIAL USE. THIS IS
THE SOLE AND EXCLUSIVE WARRANTY GIVEN BY MANUFACTURER WITH RESPECT TO THE
PRODUCTS AND, TO THE MAXIMUM EXTENT PERMITTED BY LAW, IS IN LIEU OF AND
EXCLUDES ALL OTHER WARRANTIES AND CONDITIONS, EXPRESS OR IMPLIED, ARISING
BY OPERATION OF LAW OR OTHERWISE, INCLUDING WITHOUT LIMITATION,
MERCHANTABILITY AND/OR FITNESS FOR A PARTICULAR PURPOSE. No employee, agent,
dealer or other person is authorized to give any warranties or conditions on behalf of the
manufacturer. The customer shall be responsible for all costs incurred in the removal or
reinstallation and shipping of the product for repairs.
Within the limitations of this warranty, inoperative units should be returned, with a copy of the sales
receipt, freight prepaid to an authorized repair service center and the manufacturer will repair or
replace the product, at its option, at no charge to the customer with return freight paid by the
manufacturer. It is agreed that such repair or replacement is the exclusive remedy available from
the manufacturer and that TO THE MAXIMUM EXTENT PERMITTED BY LAW, THE
MANUFACTURER IS NOT RESPONSIBLE FOR DAMAGES OF ANY KIND, INCLUDING
INCIDENTAL AND CONSEQUENTIAL DAMAGE OR LOSS OF PROFITS OR REVENUES. Some
provinces and states do not allow the exclusion or limitation of incidental or consequential damages,
so the above exclusion or limitation may not apply in some cases.
The warranty gives the customer specific legal rights, and the customer may also have other rights
which vary from province to province, or state to state.
SALES RECEIPT REQUIRED AS PROOF OF PURCHASE FOR WARRANTY CLAIMS.

3
Know Your Humidifier
Description MA1201
Output/24 hrs 12 Gallons(45.4L)
Capacity of Bottle 1.9 Gallons(7.2L)
Capacity of Base 2 Gallons(7.5L)
Sq. Ft. Coverage 2500
Fan Speeds 3
Replacement Filter MAF-1
Fill Light Yes
Auto Humidistat Yes
Auto Shut Off Yes
Controls
Electronic (Push Button)
Casters Yes (4)
CUL Listed Yes
Volts 120 A.C.
Hertz 60
Amps (High Speed) 0.80
Watts (High Speed) 80
* Based on an area with average insulation and an 8ʼ
ceiling height ANSI/AHAM HU-1-1997. SEC. 8.1, results
may vary.
*
*

4
How Your Humidifier Works
Your new MoistAIR®Evaporative
humidifier is designed to satisfy home
humidity requirements through the
principle of evaporation of water in
the air.
Once the filter becomes saturated, air is
drawn in, passes through the filter and
moisture is absorbed into the air.
All evaporation occurs in the humidifier
so any residue remains in the filter.
This natural process of evaporation
virtually eliminates white dust.
CAUTION: To reduce the risk of
injury, fire or damage to humidifier,
use only cleaners specifically
recommended for humidifiers.
Never use flammable, combustible
or poisonous materials to clean your
humidifier.
To reduce the risk of scalds and
damage to humidifier, never put hot
water in humidifier.
Step 1. Getting Your Humidifier Up and Running
Assembly
Remove casters, water bottle, housing
assembly, and filter from the box and
reverse the base. Press casters into the
bottom of the base manually. Do not use
tools. Set the base upright.
Replace the filter, housing assembly and
bottle (See “Replacement and Care of
Filters”, page 11 for reference).
MD

5
Electrical Hook-Up
Locate nearest 120V A.C. wall socket in
the location desired, preferably on inside
wall. With the humidifier in the desired
location, route the electrical cord safely
so no one will trip or upset the humidifier.
Plug in the electrical cord.
To reduce the risk of electrical shock,
this humidifier has a polarized plug (one
blade is wider than the other). This plug
will fit in a polarized outlet only one way.
Step 2. Location and Electrical Hook Up
Selecting A Location
Place humidifier on a flat level surface,
take extra care in leveling when placing
the unit on carpet. Position the humidifier
where the most humidity is needed or
where the most air will be circulated
throughout the house such as near a
cold air return.
Moist air (humidity) produced will
disperse into the whole house, but the
area closest to the unit will have the
highest humidity. If the unit is positioned
close to a window, condensation may
form on the window pane. If this occurs
the unit should be repositioned in another
location.
NOTE: Due to release of cool, moist air
from humidifier, it is best to direct air
away from thermostat and hot air
registers and to position humidifier next
to an inside wall. Unit should not be
placed where cold air from outside walls
or warm air from a hot air register blows
directly on it.
WARNING: For your own safety, do
not use humidifier if any parts are
damaged or missing.
Positioning The Unit
The humidifier should be positioned with
the back (cord exit side) and left side, at
least 2 inches(5cm) away from the wall.
Air needs to enter through all of the
louvres in the housing assembly in order
for the humidifier to operate at peak
efficiency.
WARNING: To reduce the risk of fire
or shock hazard, humidifier should
be plugged into a 120V A.C. outlet.
Do not use extension cords.
If the plug does not fit fully in the outlet,
reverse plug. If it still does not fit, contact
a qualified electrician to install the proper
outlet. Do not change the plug in any
way.
NOTE: Be sure that the humidistat, which
is located on the power cord, is free from
obstruction and away from any hot air
source.

6
Step 3. Water Fill
After the humidifier is positioned where it
will be operating you are ready to fill the
humidifier. The bottle lifts straight up and
away from the base. Take care not to
bump or damage fill valve assembly on
the bottom of the bottle.
Remove the side fill cap and fill with
water. Replace cap and twist by hand
until secure. Hold the bottle upright over
the sink. Press up on the valve plunger
for one second to release a small amount
of water. If you hear air bubbles or see
leaks around the side fill cap or Spring
Valve Assembly, retighten and recheck.
WARNING: To reduce the risk of fire
or shock hazard, do not pour or spill
water into control or motor area.
If controls get wet, let them dry
completely and have unit checked by
authorized service personnel before
plugging in.
CAUTION: Use only EPA Registered
Bacteriostat. Under no circumstances
should you use water treatment
products designed for Roto belt or
Ultrasonic humidifiers.
Place the water bottle back into the
humidifier base. When positioned
properly, the plunger will open and the
water will flow into the base. The base
will hold the entire contents of the water
bottle. Once the bottle is empty, remove it
and repeat the filling process. The
humidifier is now filled to capacity. To
benefit from less frequent filling let the
humidifier exhaust both the water from
the bottle and the base before filling.

Step 4. Operating the Controls
Where you set your desired humidity
levels depends on your personal comfort
level, outside temperature and inside
temperature. A starting set point of 30% -
40% ROOM humidity is recommended
but there may be conditions that require
a different setting.
7
IMPORTANT: Water damage may
result if condensation starts to form
on windows or walls. Humidity SET
point should be lowered until
condensation no longer forms. We
recommend room humidity levels do
not exceed 50%.
-10° F
2° F
10° F
20° F
20%
25%
30%
35%
When Outdoor Recommended Indoor
Temperature is: Relative Humidity (RH) is:
* and above
**
To Operate the Controls
Digital Display
Press the power button once to
display the digital readout*. Initially there
is a slight delay while the electronics
calibrate.
Two bars (- -) flash during this time.
Once calibration is complete a ROOM
humidity reading between 20% - 95% will
be displayed. A flashing 20 display
indicates that the room humidity is less
than 20%.
NOTE: The default settings at initial
startup are ULTRA QUIET fan speed and
65% SET humidity. After desired settings
are selected by the user, they remain as
long as the unit remains plugged in and
there is no power interruption. If the unit
is unplugged the original default settings
are employed.
* Humidifier fan should operate at initial start
up. If it does not, refer to, “Fan not operating
(digital display is illuminated)” in the “Trouble
Shooting” section on page 13 of this manual.
-24° C
-18° C
-12° C
-6° C

Humidity Control
These buttons allow you to adjust the
humidity to suit your needs. This
humidifier will automatically cycle on and
off as required to maintain the selected
setting. Press the humidity buttons
to cycle the SET humidity readout in 5%
increments between 25% and 65% RH.
Once you have set the desired humidity,
after 5 seconds the readout will change
to the actual room humidity.
NOTE: When the ROOM humidity is
displayed, pressing the set humidity
buttons once will display the current SET
point. To increase or decrease the current
SET point, press either the “+” or “-”
button until the desired SET point is
reached.
ASET point of 65% RH operates the
humidifier continuously regardless of the
ROOM reading. The humidistat that
senses the readings is located on the
power cord. Insure that it is free from
obstruction.
8
Operating the Controls (contʼd.)
Speed Button
This humidifier is equipped with a
3-speed fan control. Each push of the
speed button advances the mode through
the settings of HIGH, MEDIUM, ULTRA
QUIET, and AUTO. The selected setting
is displayed on the digital readout. The
higher the setting, the faster water is
evaporated and released into the air.
ULTRA QUIET is the quietest setting and
is provided for conditions that do not
require a rapid evaporation rate.
How Auto Control Works
The AUTO setting allows the humidifier to
manage its speed range to maintain your
desired humidity setting. It will
automatically cycle to the most efficient
speed to achieve the desired humidity.
Here is how the fan will operate:
•HIGH speed if room humidity is 10% or
greater RH (Relative Humidity) below
the SET point.
•MEDIUM speed if room humidity is
10 - 5% RH below the SET point.
•ULTRA QUIET speed if room humidity
is 5% or less RH below the SET point.
If the room humidity is not increasing at
the current fan speed during a 15 minute
period, the fan speed increases to the
next higher speed until the humidity SET
point is reached.
NOTE: The humidifier may run on HIGH
for an extended period of time if the
actual room humidity is extremely low.

Check Filter
Indicator
The ability of any humidifier to efficiently
supply humidity output relies heavily on the
condition of the filter. As the filter loads with
impurities it gradually loses its wicking
capability. When this happens, moisture
output is reduced and the humidifier has to
work longer to satisfy the selected setting.
This humidifier has a check filter reminder
timed to appear after 720 hours of
operation. When the CK FILTER message
is displayed, disconnect the power cord
and check the condition of the filter.
If a build-up of deposits or severe
discolouration is evident replace the
filter to restore maximum efficiency.
The CK FILTER message is reset when
the humidifier is plugged back in.
9
Using Your Humidifier
Refill Light
For maximum run time both the bottle
and the base should be filled. When both
the bottle and the base are empty the red
REFILL light will flash, informing
additional water is required. Also at this
time the unit will automatically switch into
DRY OUT and continue to run on ULTRA
QUIET speed for a 2 hour period. The
message DRY OUT will appear on the
digital display and the fan speed will
switch to ULTRA QUIET speed.
NOTE: During this time the room
humidity level will continue to be
monitored and the humidifier will cycle
the fan on and off until the filter is
completely dry. The fan will shut off
leaving you with a dry humidifier that is
less prone to mold and mildew growth.
If DRY OUT is not desired, refill the
humidifier with water.
NOTE: Once the dry out cycle is
complete, the fan will shut off and the
REFILL light will continue to flash. The
humidifier will automatically start again
when it is refilled.

10
NOTE: Be sure that the humidistat, which
is located on the power cord, is free from
obstruction and away from any hot air
source.
Humidistat
The humidistat located on the power cord
senses the percentage of humidity in the
air. It causes the humidifier to cycle on
and off to maintain the selected humidity
SET point. The fan will turn on if the
ROOM reading falls 3% below the SET
point and will continue to run the
humidifier until a reading of 1% above the
SET point is achieved. The fan will turn
off until the ROOM reading falls 3%
below the SET point again.
Using Your Humidifier (contʼd.)

11
Replacement and Care of Filters
WARNING: To reduce the risk of
shock or injury from moving parts,
always unplug humidifier before
removing or replacing any parts.
CAUTION: To help retard bacteria
growth and keep maximum efficiency,
the filter should be replaced at least
once per season, or more often
under hard water conditions. Use
MoistAIR®MAF-1 recommended
replacement filter.
Replace the evaporative wicking filter at
least once per humidification season or
more depending on water conditions in
your area.
Filter Replacement
1. Unplug humidifier. Before removing
the filter, we recommend moving the
humidifier to an area where floor
coverings are not susceptible to water
damage. (i.e. kitchen or bath areas.)
2. Remove the water bottle and set aside.
Be sure not to bump or damage the fill
valve.
3. Grasp the housing assembly and lift
straight up and away from the base
and set aside. The filter is now
accessible.
4. Take note of the filter position.
Remove the filter. You may want to
clean the base at this time. See the
"Cleaning and Maintenance" section of
this manual.
5. Install a new filter (MAF-1) into the
base. Coil the filter and position it
between the uprights in the bottom of
the base. The start and finish of the
coil should be captured at the centre
of the base (see diagram) and the
filter should be resting on the floor of
the base.
6. Return the housing assembly to the
top of the base. Reposition the
humidifier to its operating position.
7. The humidifier is now ready to be filled
for operation.
MD

12
Cleaning and Maintenance
WARNING: To reduce the risk of injury,
fire or damage to humidifier, use only
cleaners specifically recommended for
humidifiers. Never use flammable,
combustible or poisonous materials to
clean your humidifier. To reduce the
risk of scalds and damage to
humidifier, never put hot water in
humidifier.
CAUTION: Local water purity varies
from area to area and under certain
conditions water impurities and
airborne bacteria may promote the
growth of microorganisms in the
reservoir of the humidifier.
To retard bacteria growth that may
cause odours and be harmful to your
health, use only MoistAIR®replacement
filters. We also recommend using EPA
approved bacteriostat, and humidifier
cleaner, available at your local store.
Step 1
To make cleaning easier, the humidifier
base should be empty and completely
dried out. To accomplish this, use the
following method:
a. Allow the humidifier to run until the
REFILL
light flashes and the DRY
OUT mode has stopped the humidifier
fan.
b. Unplug humidifier.
Step 2
To Remove Parts
See “Replacement and Care of Filters”
page 11.
NOTE: There may be a little water still in
the base. Carefully dump the water out or
remove with a sponge.
WARNING: To reduce the risk of shock,
always unplug humidifier before
cleaning or servicing. If humidifier is not
unplugged, fan could start after
housing is removed.
Step 3
Bi-Weekly Maintenance
End of Season Maintenance
1. Follow “Bi-Weekly Maintenance”
instructions at end of humidification
season.
2. Remove filter.
3. Let humidifier dry completely before
storing.
4. Store in cool, dry location.
5. Install a new filter in clean humidifier
before next season begins.
NOTE: “Bi-Weekly Maintenance”
procedure is also recommended if you
do not plan to run the humidifier for
one week or more.
Removing Scale
1. Fill the humidifier base with water
and add one 8 ounce cup(236ml)
of undiluted white vinegar.
Let solution stay 20 minutes.
2. Clean all interior surfaces with a
soft brush. Dampen a soft cloth
with undiluted white vinegar and
wipe out the base to remove scale.
3. Rinse thoroughly with clean warm
water to remove scale and
cleaning solution.
Disinfecting Base
1. Pour 1/2 gallon(1.89L) of water
and 1/2 teaspoon(2.5ml) chlorine
bleach into the base. Let solution
stay for 20 minutes, carefully
swishing every few minutes.
Wet all surfaces normally exposed
to water.
2. Empty base after 20 minutes.
Rinse with water until bleach smell
is gone. Allow unit to dry out
completely.
NOTE: The water bottle should be
cleaned in the same manner as the
base. Rinse thoroughly with clean
water after all steps are complete.
MD

Troubleshooting
13
Trouble
Digital display not illuminated.
Fan not operating (digital display is
illuminated).
Fan running continuously.
Poor evaporation of water.
Bottle empties completely.
Bottle continues to empty
after complete filling.
Bottle not emptying.
CK FILTER message does not
appear even when filter is dirty or
humidifier performance is clearly
reduced.
Fan operating slower than speed
registered on digital display.
Humidifier not shutting off during
DRY OUT mode.
Probable Cause
• No Power.
•Power button has not been
depressed.
• ROOM humidity level is not 3% or
more below SET humidity level.
• SET humidity level is 65%.
• ROOM humidity level has not
reached 1% or more above SET
humidity level.
• CK FILTER message flashing.
• This is normal for initial filling.
• Air is entering water bottle.
• Base full of water.
• A loss of power has caused the
CK FILTER message to
prematurely reset.
• Humidifier is in DRY OUT mode.
• Filter not dry.
Remedy
• Check 120 volt power source.
•Press power button once to turn
on.
• Raise SET humidity level if
desired.
• A SET humidity percentage of
65% operates fan continuously.
Adjust SET level between 25% -
60%.
• Continue to run until desired
humidity level is achieved. This
may take up to 48 hours initially.
• Change to a fresh new filter.
• NOTE: Local water varies from
are to area and under certain
conditions mineral will build up
more rapidly in the filter.
• Refill bottle for maximum run time.
• Ensure fill cap is tight with no
interfering debris.
• Check for leak in water bottle.
• The base will hold the contents of
water bottle (1.9 gallons/7.2L).
Continue to run humidifier to
deplete water from base.
• Replace filter.
• Humidifier automatically switches
fan speed to ULTRA QUIET when
DRY OUT mode message is
displayed.
• During DRY OUT mode the
humidifier will continue to run on
ULTRA QUIET speed as required
for a 2 hour period.

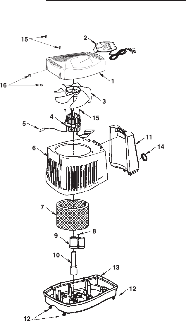
Repair Parts
14
Parts List for MoistAIR®Evaporative Console Humidifier
MoistAIR®Model No. MA12010
MD
MD

Always order by part number - Not by key number
† Stock item - Purchase at your local retail store.
• Any attempt to repair the control assembly or motor may
create a hazard unless repair is done by a qualified service
technician.
* Standard hardware item - May be purchased locally.
To order parts, call:
U.S.A.: 1-800-654-3545
Canada: 1-866-808-6500
15
Key No Part No. Description
1 830488 Housing, Upper
2 831342 • Assembly, Control
3 829821 • Blade, Fan
4 830778 • Motor
5 828854 Switch, Micro
6 830489-1
Housing, Lower
7 MAF-1 †Filter
8 829815 * Screw, Pan Hd. Ty. AB #6 x 1/2 SS
9 830496-1 Support, Float
10 829816 Float, Reservoir
11 830537-1 Bottle, Includes Key #14
12 829812 Casters (Includes 4)
13 830484-1 Base
14 824690-2 Cap, Fill
15 829805 Screw, Pan Hd. Trx. Hi-Lo #6 x 3/4
16 830587 Cap, Screw
17 SP6615 Ownerʼs Manual (not shown)
Parts List for MoistAIR®Evaporative Console Humidifier
MoistAIR®Model No. MA12010
MD
MD

c 2007 EssickAir
Part No. SP6615 Form No. SP6615-1 Printed in U.S.A. 05/07
Essick Air Products
For more information about MoistAIR®humidifiers, visit our website at
www.moistair.com
MD
TM
MC
®
MD
FOR TECHNICAL HELP, CALL
(800) 654-3545 FROM USA OR (888) 744-4687 FROM CANADA
(Please have complete model number)

MISE EN GARDE : LISEZ SOIGNEUSEMENT TOUTES LES INSTRUCTIONS AVANT D’INSTALLER CET
L’APPAREIL.CONSERVEZ LE PRÉSENT MODE D’EMPLOI AFIN DE POUVOIR VOUS Y REPORTER À L’AVENIR.
N° de pièce : SP6615 Imprimé en U.S.A.
MA1201
Mode d’emploi de l’humidificateur
console à évaporation
®
MD
N° de modèle
MA12010
TM
MC

6. Ne laissez pas des enfants se servir de cet appareil
comme d’un jouet. Il faut faire très attention quand
cet appareil est utilisé par des enfants ou à
proximité d’enfants.
7. N’utilisez jamais votre humidificateur quand une
pièce est absente ou endommagée de quelque
façon que ce soit.
8. Pour réduire le risque de danger électrique ou
d’endommagement de l’humidificateur d’air, n’incli-
nez pas, ne heurtez pas et ne faites pas basculer
l’humidificateur d’air quand il est en marche.
9. Pour réduire le risque d’endommager l’humidifi-
cateur d’air, débranchez-le quand il n’est pas utilisé.
10. Pour réduire le risque de choc électrique accidentel,
ne touchez pas le cordon ou les commandes si vos
mains sont mouillées.
11. Pour réduire le risque d’incendie, n’utilisez pas
l’humidificateur près d’une flamme vive comme une
bougie ou une autre source de flammes.
12. Tenez compte de l’étiquette d’avertissement ci-
dessous.
CONSIGNES DE SÉCURITÉ GÉNÉRALES
18
Termes relatifs à la sécurité
DANGER : si les informations relatives à la sécurité ne
sont pas respectées, quelqu’un sera gravement blessé
ou tué.
AVERTISSEMENT : si les informations relatives à la
sécurité ne sont pas respectées, quelqu’un risqued’être
gravement blessé ou tué.
MISE EN GARDE : si les informations relatives à la
sécurité ne sont pas respectées, quelqu’un sera
peut-être blessé.
1. Pour réduire le risque d’incendie ou de choc élec-
trique, branchez l’humidificateur d’air directement
dans une prise de courant alternatif de 120 V c.a.
N’utilisez pas de rallonges.
2. Ne laissez pas le cordon électrique traîner dans des
passages très fréquentés. Pour réduire le risque
d’incendie, ne placez jamais le cordon électrique
sous un tapis, ou à proximité d’un registre de
chaleur, d’un radiateur, d’un four ou d’un appareil
de chauffage.
3. Débranchez toujours l’humidificateur d’air avant de
le nettoyer ou de le déplacer, de retirer la section de
ventilation, ou chaque fois que l’humidificateur
n’est pas en service.
4. Veillez à ce que l’humidificateur reste propre.
5. Ne placez pas de corps étrangers à l’intérieur de
l’humidificateur.
Garantie limitée
Ce produit est garanti contre les défauts de façon et de matériau pendant un an à compter de la date de la vente, à
l’exception des moteurs, qui sont garantis pendant deux ans. La présente garantie ne s’applique pas aux dommages
résultant d’un accident, d’un emploi non conforme, d’une altération, de réparations non autorisées, d’un emploi non
autorisé, d’une manipulation sans précaution, d’une utilisation déraisonnable, d’un abus, y compris le fait de ne pas
avoir procédé à une maintenance raisonnable, de l’usure normale, d’un emploi sur un circuit électrique caractérisé
par une tension supérieure de plus de 5 % à la tension nominale indiquée sur la plaque signalétique, ou d’une
installation, d’un câblage ou d’un entretien d’équipements ou de produits ne respectant pas les instructions de ce
Mode d’emploi. LA PRÉSENTE GARANTIE NE S’APPLIQUE PAS AUX FILTRES, QUI SONT DES PIÈCES
REMPLAÇABLES PAR LE CLIENT. CE PRODUIT N’EST PAS CONÇU EN VUE D’UN EMPLOI COMMERCIAL. C’EST LA
SEULE ET UNIQUE GARANTIE ACCORDÉE PAR LE FABRICANT EN RAPPORT AVEC LES PRODUITS ET, DANS LA
MESURE MAXIMALE AUTORISÉE PAR LA LOI, ELLE SE SUBSTITUE À TOUTES LES AUTRES GARANTIES ET
CONDITIONS, EXPLICITES ET IMPLICITES, OCTROYÉES PAR LA LOI OU AUTREMENT, Y COMPRIS, MAIS DE
FAÇON NON LIMITATIVE, LES GARANTIES DE QUALITÉ MARCHANDE ET/OU D’ADÉQUATION À UN BUT
PARTICULIER, ET ELLES EXCLUT DE TELLES GARANTIES ET CONDITIONS. Aucun employé, agent, revendeur ou
autre individu n’est autorisé à offrir de garanties ou de conditions de la part du fabricant. Le client devra assumer
tous les coûts en rapport avec l’enlèvement ou la réinstallation et l’expédition du produit en vue de réparations.
Dans les limites de la présente garantie, les appareils défectueux doivent être renvoyés, avec une copie du reçu, en
port payé, à un centre de service après-vente/réparation agréé, et le fabricant réparera ou remplacera le produit, à
son choix exclusif, sans facturer le client, le fabricant prenant à sa charge les frais de transport pour le renvoi du
produit au client. Il est convenu qu’un tel remplacement ou une telle réparation est le seul remède offert par le
fabricant et que, DANS LA MESURE MAXIMALE AUTORISÉE PAR LA LOI, LE FABRICANT NE SAURAIT ÊTRE TENU
RESPONSABLE DE DOMMAGES QUELCONQUES, Y COMPRIS DES DOMMAGES ACCESSOIRES OU SECONDAIRES,
OU DE PERTES DE BÉNÉFICES OU DE REVENUS. Étant donné que certaines Provinces et certains États ne
permettent pas l’exclusion ou la limitation des dommages accessoires ou secondaires, l’exclusion ou la limitation
qui précède peut ne pas s’appliquer dans certains cas.
La garantie confère des droits spécifiques au client, et ce dernier peut également jouir d’autres droits en fonction de
la Province ou de l’État dans lequel il réside.
REÇU EXIGÉ COMME JUSTIFICATIF D’ACHAT POUR TOUTE RÉCLAMATION VISANT À FAIRE JOUER LA GARANTIE.
AVERTISSEMENT : Pour réduire le risque
d’incendie, de choc électrique ou de blessure,
débranchez toujours l’appareil avant d’effectuer
une réparation ou un nettoyage.

Familiarisez-vous avec votre humidificateur d’air
Description MA 1201
* Débit /24 h 12 gallons/45,4 litres
Capacité du bidon 1,9 gallons/7,2 litres
Capacité de la base 2 gallons/7,5 litres
* Couverture en pi22 500
Vitesses de ventilation 3
Filtre de rechange MAF-1
Voyant de remplissage Oui
Humidostat automatique Oui
Fermeture automatique Oui
Commandes Électroniques (bouton-poussoirs)
Roulettes Oui (4)
Classification CUL Oui
Volts 120 (c.a.)
Hertz 60
Ampères (haute vitesse) 0,80
Watts (haute vitesse) 80
* Pour une pièce avec isolation moyenne et un plafond à une hauteur de
8 pieds, selon la norme ANSI/AHAM HU-1-1997. SEC. 8.1. Les résultats
peuvent varier.
Ensemble de
ventilateur
Bâti
Humidostat
(sur le cordon
électrique)
Roulettes
Filtre :
N° de remplacement
MAF-1
Base
Bidon
Commandes de
vitesse et
d’humidité
Poignée du bidon
19

20
Comment fonctionne votre humidificateur d’air
Votre nouvel humidificateur évaporatif MoistAIR®est
conçu pour satisfaire les besoins d’humidité d’une
habitation par le principe de l’évaporation de l’eau dans
l’air.
Une fois que le filtre est saturé d’eau, de l’air est attiré
dans l’appareil, il passe à travers le filtre et l’humidité est
absorbée dans l’air. Toute évaporation se produit à
l’intérieur de l’humidificateur, c’est pourquoi tous les
résidus restent dans le filtre. Ce processus naturel
d’évaporation élimine virtuellement la poussière
blanche.
Première étape : mise en état de marche
Montage
Retirez les roulettes, le bidon à eau, le bâti et le filtre
de la boîte, et mettez la base sens dessus dessous.
Enfoncez les roulettes dans le dessous de la base à la
main. N’utilisez pas d’outils. Remettez la base dans le
bon sens.
Remettez en place le filtre, le bâti et le bidon (cf.
«Remplacement et entretien des filtres », page 27,
pour référence).
MD
MISE EN GARDE : pour réduire le risque de vous
blesser, de causer des incendies ou d’endommager
l’humidificateur, n’utilisez que des détergents
spécialement recommandés pour les humidifi-
cateurs. N’utilisez jamais de produits inflam-
mables, combustibles ou toxiques pour nettoyer
votre humidificateur.
Pour réduire le risque de vous ébouillanter et
d’endommager l’humidificateur, ne mettez jamais
d’eau chaude dans l’humidificateur.
L’air humidifié est
ensuite libéré depuis
la partie supérieure de
l’appareil
De l’air sec
entre par la
grille
d’aération
sur le bâti

Choix d’un emplacement pour l’humidificateur
Placez l’humidificateur sur une surface plate et de
niveau. Si vous le placez sur un tapis, prenez bien soin
de mettre l’appareil de niveau. Positionnez l’humidi-
ficateur à l’endroit où l’humidité est le plus nécessaire
ou à l’endroit où le plus d’air circulera dans toute la
maison, à proximité d’une reprise d’air froid, par
exemple.
La plupart de l’air humidifié produit se dispersera dans
toute la maison, mais la zone la plus proche de
l’appareil aura le plus haut niveau d’humidité. Si
l’humidificateur est positionné près d’une fenêtre, il se
peut que de la condensation se forme sur la vitre. Si
c’est le cas, il faudra déplacer l’appareil.
REMARQUE : du fait que de l’air humide et frais est
libéré de l’appareil, il est préférable de placer
l’humidificateur à proximité d’un mur de division et de
ne pas diriger l’air vers un thermostat ou vers des
registres d’air chaud. L’appareil ne doit pas être placé à
un endroit où de l’air froid venant de murs extérieurs,
ou de l’air chaud venant d’un registre d’air chaud,
souffle directement sur l’appareil.
Positionnement de l’appareil
L’humidificateur doit être positionné de la façon
suivante : sa surface arrière (côté d’où sort le cordon
électrique) et son côté gauche doivent être à au moins
cinq centimètres du mur. De l’air doit pouvoir entrer par
toutes les lames de la grille d’aération sur le bâti pour
que la performance de l’humidificateur soit maximale.
REMARQUE : veillez à ce que l’humidostat, situé sur le
cordon électrique, soit loin de toute source d’air chaud
et de tout objet susceptible de faire obstruction à la
circulation de l’air.
Deuxième étape : positionnement de
l’humidificateur et raccordement électrique
AVERTISSEMENT : pour votre propre sécurité,
n’utilisez pas l’humidificateur si certains éléments
sont endommagés ou absents.
Au moins 5 cm du mur
Raccordement électrique
Localisez la prise murale (120 V, c.a.) la plus proche de
l’emplacement souhaité, de préférence sur un mur de
division. Une fois l’humidificateur positionné à l’endroit
voulu, placez le cordon électrique de façon à ce que
personne ne trébuche dessus ou n’abîme l’humidifi-
cateur. Branchez l’appareil dans la prise de courant.
Pour réduire le risque de choc électrique, cet humidifi-
cateur est muni d’une fiche polarisée (une lame est plus
large que l’autre). Cette fiche ne pourra être insérée
dans une prise polarisée que dans un sens.
Si la fiche n’entre pas complètement dans la prise,
inversez-la. Si elle ne peut toujours pas être insérée,
faites appel à un électricien qualifié et demandez-lui
d’installer une prise appropriée. Ne modifiez pas la
prise vous-même de quelque façon que ce soit.
AVERTISSEMENT : pour réduire le risque
d’incendie ou de choc électrique, branchez
l’humidificateur d’air directement dans une prise
de courant alternatif de 120 V. N’utilisez pas de
rallonges.
21

22
Troisième étape : remplissage d’eau
Une fois que l’humidificateur aura été positionné à
l’emplacement où il sera utilisé, vous devrez alors le
remplir. Le bidon doit être soulevé tout droit pour être
retiré de la base. Prenez soin de ne pas heurter ou
endommager le capuchon de remplissage à valve situé
sur le dessous du bidon.
Dévissez le capuchon de remplissage latéral et
remplissez le réservoir d’eau. Remettez le capuchon en
place et serrez-le à la main jusqu’à ce qu’il soit bien
assujetti. Tenez le bidon en position verticale au-dessus
de l’évier. Appuyez sur le piston plongeur pendant une
seconde afin d’expulser un peu d’eau. Si vous entendez
un bruit de bouillonnement indiquant la formation de
bulles d’air ou si vous voyez des fuites apparaître autour
du capuchon de remplissage latéral ou de l’ensemble de
valve à ressort, serrez à nouveau et inspectez une fois
de plus.
Placez le bidon rempli d’eau sur la base. Quand le bidon
est bien positionné, le plongeur s’ouvre et l’eau coule
dans la base. La base est assez grande pour contenir
toute l’eau du bidon. Une fois que le bidon est vide,
retirez-le et remplissez-le encore une fois. L’humidifi-
cateur est maintenant rempli au maximum. Pour avoir à
remplir le bidon le moins fréquemment possible, laissez
l’humidificateur vider l’eau du bidon et celle de la base
avant de le remplir à nouveau.
AVERTISSEMENT : pour réduire le risque d’incen-
die ou de choc électrique, ne versez pas (et ne
renversez pas) d’eau sur les commandes ou sur le
moteur. Si les commandes sont mouillées, laissez-
les sécher complètement et faites inspecter l’appa-
reil par un réparateur agréé avant de le rebrancher.
MISE EN GARDE : utilisez uniquement un
bactériostatique agréé par l’EPA. Vous ne devez en
aucun cas utiliser des produits de traitement de
l’eau conçus pour des humidificateurs d’air
ultrasoniques ou de type « Roto Belt ».
Bidon
Base
Tourner dans le sens contraire des aiguilles
d’une montre pour dévisser le capuchon de
remplissage latéral.
Ensemble de
valve à ressort

Comment utiliser les commandes
Affichage numérique
Appuyez une fois sur le bouton de mise en marche
pour faire apparaître l’affichage numérique*.
Vous devrez patienter quelques instants initialement
en attendant que l’électronique soit calibrée.
Deux tirets (- -) sont affichés pendant ce processus.
Une fois le calibrage terminé, un pourcentage
d’humidité de la pièce (ROOM) situé entre 20 % et 95%
est affiché. Par exemple, si le chiffre 20 clignote sur
l’affichage, cela indique que l’humidité de la pièce est
inférieure à 20 %.
REMARQUE : les paramètres par défaut lors de la mise
en marche initiale sont ULTRA QUIET (EXTRÊMEMENT
SILENCIEUX, ce qui correspond à VITESSE BASSE)
pour la vitesse du ventilateur et 65% SET (NIVEAU
D’HUMIDITÉ PROGRAMMÉ : 65 %) pour l’humidité.
Une fois que les réglages sont établis par l’utilisateur, ils
restent tant que l’appareil reste branché et qu’il n’y a pas
de panne de courant. Si l’appareil est débranché, les
réglages par défaut sont utilisés.
* Le ventilateur de l’humidificateur devrait fonctionner dès la
mise en marche initiale. Si ce n’est pas le cas, veuillez vous
reporter à la page 29, rubrique « Le ventilateur ne fonctionne
pas (l’affichage numérique est illuminé) » de la section de ce
mode d’emploi intitulée « Dépannage ».
Quatrième étape : fonctionnement des commandes
Vous pouvez régler le niveau d’humidité en fonction de
vos préférences personnelles, de la température
extérieure et de la température intérieure. Il est
recommandé de commencer avec un point de réglage
de 30 % - 40 % d’humidité pour la pièce (ROOM), mais
les réglages devront être modifiés selon les conditions.
IMPORTANT : des dégâts causés par l’eau peuvent
se produire si de la condensation commence à se
former sur les fenêtres ou sur les murs. Le point de
réglage (SET) de l’humidité doit être réduit jusqu’à
ce que la condensation cesse de se former. Nous
recommandons que les niveaux d’humidité d’une
pièce ne dépassent pas 50 %.
20%
25%
30%
35%
Quand la température
extérieure est :
* et températures supérieures
L’humidité relative (HR)
recommandée à l’intérieur
d’une habitation est :
-10° F
2° F
10° F
20° F*
-24°C
-18°C
-12°C
-6°C*
Boutons de fonction
Affichage
numérique
Voyant de
remplissage
23

24
Fonctionnement des commandes (suite)
Bouton de réglage de
la vitesse de ventilation
Cet humidificateur d’air est équipé d’une commande de
ventilateur à trois vitesses. Chaque fois que vous
appuyez sur le bouton, vous passez d’un mode de
ventilation à un autre : HIGH (Vitesse élevée), MEDIUM
(Vitesse moyenne), ULTRA QUIET (Vitesse basse) et
AUTO (Automatique). Le réglage choisi apparaît sur
l’écran d’affichage numérique. Plus la vitesse est élevée,
plus l’eau s’évapore rapidement dans l’air ambiant.
ULTRA QUIET est le réglage le plus silencieux. Il est utile
dans les conditions qui ne nécessitent pas une vitesse
d’évaporation rapide.
Fonctionnement du mode de ventilation
automatique
Le réglage AUTO permet à l’humidificateur de gérer sa
plage de vitesses de ventilation afin de maintenir votre
niveau d’humidité désiré. Il mettra automatiquement
l’humidificateur dans le mode le plus efficace pour
atteindre le niveau d’humidité désiré. Voici comment le
ventilateur fonctionnera :
•HIGH (Vitesse élevée) si l’humidité ambiante est
inférieure de 10 % ou plus au niveau programmé
(SET) de HR (Humidité relative).
• MEDIUM (Vitesse moyenne) si l’humidité
ambiante est inférieure de 5 à 10 % au niveau
programmé (SET) de HR.
• ULTRA QUIET (Vitesse basse) si l’humidité
ambiante est inférieure de 5 % ou moins au
niveau programmé (SET) de HR.
Réglage de l’humidité
Ces boutons vous permettent d’ajuster le niveau
d’humidité selon vos préférences. Cet humidificateur se
mettra en marche et s’arrêtera automatiquement selon
les besoins pour maintenir le niveau d’humidité
sélectionné. Appuyez sur les boutons de réglage de
l’humidité pour programmer (SET) le niveau
d’humidité désiré en incréments de 5 % entre 25 % et
65 % de HR. Cinq secondes après que vous aurez
programmé le niveau d’humidité désiré, l’écran se
rafraîchira pour afficher l’humidité ambiante réelle.
REMARQUE : lorsque l’humidité ambiante (ROOM)
est affichée, il suffit d’appuyer une fois sur les
boutons de réglage de l’humidité pour afficher le
niveau d’humidité désiré (SET). Pour élever ou
abaisser le niveau d’humidité programmé alors,
appuyez sur le bouton « + » ou « - » jusqu’au moment
où vous aurez atteint le niveau d’humidité désiré
(SET).
Un niveau d’humidité programmé (SET) de 65 % de
HR fait fonctionner l’humidificateur en continu, quel
que soit le pourcentage d’humidité réel (ROOM).
L’humidostat qui détecte l’humidité est situé sur le
cordon d’alimentation. Veillez à ce que rien ne
l’empêche de fonctionner correctement.
Si l’humidité ambiante n’augmente pas au bout de 15
minutes à la vitesse à laquelle le ventilateur fonctionne
à un moment donné, cette vitesse passe automatique-
ment au niveau immédiatement supérieur jusqu’à ce
que le niveau SET (Niveau d’humidité programmé) soit
atteint.
REMARQUE : l’humidificateur peut fonctionner dans le
mode HIGH (Vitesse élevée) pendant une période pro-
longée si l’humidité ambiante réelle est extrêmement
basse.
Bouton de réglage de la vitesse de ventilation
Bouton de réglage de la vitesse de ventilation
Élever le niveau d’humidité
Abaisser le niveau d’humidité
Bouton de mise en marche

Indicateur d’inspection du filtre
La capacité d’un humidificateur, quel qu’il soit, à
produire efficacement de l’humidité dépend dans une
large mesure de l’état du filtre. Au fur et à mesure que
le filtre se charge d’impuretés, il perd progressivement
sa capillarité. Quand cela se produit, la production
d’humidité est réduite, et l’humidificateur doit
fonctionner plus longtemps pour atteindre l’humidité
programmée. Cet humidificateur est équipé d’un
mécanisme qui vous rappellera de vérifier le filtre après
720 heures de fonctionnement. Quand le message CK
FILTER (Inspecter le filtre) est affiché sur l’écran,
débranchez le cordon d’alimentation et inspectez le filtre
afin de déterminer dans quel état il se trouve. Si vous
remarquez la présence de dépôts ou une décoloration,
remplacez le filtre pour restaurer l’efficacité maximale
de l’humidificateur. Le message CK FILTER disparaît de
l’écran lorsque l’humidificateur est branché à nouveau.
Utilisation de votre humidificateur évaporatif
Voyant de remplissage
Pour obtenir la durée de fonctionnement maximum,
vous devez remplir le bidon et la base. Lorsque le bidon
et la base sont vides, le voyant de remplissage rouge
(REFILL) commence à clignoter pour indiquer qu’il faut
rajouter de l’eau. À ce moment également, l’appareil
passera automatiquement dans le mode de dessèche-
ment (DRY OUT) et continuera à fonctionner à basse
vitesse (ULTRA QUIET) pendant deux heures. Le
message DRY OUT sera affiché sur l’écran numérique et
le ventilateur passera dans le mode de fonctionnement
silencieux à basse vitesse (ULTRA QUIET).
REMARQUE : pendant ce temps, le niveau d’humidité de
la pièce continuera à être surveillé, et l’humidificateur
lancera des cycles de mise en marche et d’arrêt du
ventilateur jusqu’à ce que le filtre soit complètement sec.
Le ventilateur s’arrêtera alors, laissant votre humidifica-
teur sec et moins susceptible aux moisissures. Si vous ne
voulez pas passer dans le mode de dessèchement (DRY
OUT), remplissez à nouveau l’humidificateur d’eau.
REMARQUE : à la fin du cycle de dessèchement, le ventila-
teur s’arrêtera et le voyant de remplissage (REFILL)
continuera à clignoter. L’humidificateur se remettra auto-
matiquement en marche une fois qu’il aura été rempli.
Voyant de remplissage
Dessèchement
Voyant de remplissage en
train de clignoter
Inspecter le filtre
25

26
REMARQUE : veillez à ce que l’humidostat, situé sur le
cordon électrique, soit loin de toute source d’air chaud
et de tout objet susceptible de faire obstruction à la
circulation de l’air.
Humidostat
L’humidostat situé sur le cordon d’alimentation détecte
le pourcentage d’humidité dans l’air. Il entraîne des
cycles de mise en marche et d’arrêt de l’humidificateur
afin de maintenir le point d’humidité programmé (SET).
Le ventilateur se mettra en marche si l’humidité réelle
de la pièce (ROOM) tombe de 3 % au-dessous du point
de réglage (SET) et continuera à faire fonctionner
l’humidificateur jusqu’à ce qu’une humidité de 1 %
au-dessus de l’humidité programmée (SET) soit
atteinte. Le ventilateur s’éteindra jusqu’à ce que
l’humidité réelle de la pièce (ROOM) tombe à nouveau
de 3 % en dessous du point de réglage (SET).
Utilisation de votre humidificateur évaporatif (suite)

Remplacement et entretien du filtre
Remplacez le filtre capillaire évaporatif au moins une
fois par saison, ou plus souvent selon la qualité de l’eau
dans votre région.
Remplacement du filtre
1. Débranchez l’humidificateur. Avant de retirer le
filtre, nous recommandons de déplacer l’humidifi-
cateur jusqu’à un endroit où le revêtement de sol
n’est pas susceptible aux dommages causés par
l’eau (par exemple jusqu’à la cuisine ou à la salle de
bain).
2. Retirez le bidon d’eau et mettez-le de côté. Veillez à
ne pas heurter ou endommager le capuchon de
remplissage.
3. Saisissez le bâti et soulevez-le tout droit pour le
séparer de la base, puis mettez-le de côté. Le filtre
est maintenant accessible.
4. Remarquez bien la position du filtre avant de le
retirer. Ceci est un moment opportun pour
nettoyer la base. Veuillez vous reporter à la
section de ce mode d’emploi intitulée « Nettoyage
et maintenance ».
5. Installez un filtre neuf (MAF-1) dans la base.
Comprimez le filtre et positionnez-le entre les
montants au fond de la base. Les deux extrémités
des spires du filtre doivent être capturées au centre
de la base (cf. diagramme) et le filtre doit reposer
sur le fond de la base.
6. Remettez l’ensemble de bâti sur le dessus de la
base. Placez à nouveau l’humidificateur dans sa
position de fonctionnement.
7. L’humidificateur est maintenant prêt à être rempli.
AVERTISSEMENT : pour réduire le risque de choc
électrique ou de blessure causé par des pièces en
mouvement, débranchez toujours l’humidificateur
avant de retirer ou de remplacer des pièces.
MISE EN GARDE : pour aider à ralentir la
croissance de bactéries et préserver l’efficacité
maximale du filtre, ce dernier doit être remplacé au
moins une fois par saison, ou plus souvent dans
les régions où l’eau est particulièrement dure.
Utilisez le filtre de remplacement MoistAIR®MAF-1
recommandé.
Saisissez
fermement le bâti
et soulevez-le tout
droit
Positionnez chaque
extrémité des spires du filtre
au centre de la base
Alignez le fond de
l’ensemble de bâti
avec le dessus de la
base et repositionnez
en vous assurant
que l’appareil est
solidement réinstallé.
MD
27

28
Nettoyage et maintenance
AVERTISSEMENT : pour réduire le risque de vous
blesser, de causer des incendies ou d’endommager
l’humidificateur, n’utilisez que des détergents
spécialement recommandés pour les humidifi-
cateurs. N’utilisez jamais de matériaux combus-
tibles, inflammables ou toxiques pour nettoyer
l’humidificateur. Pour réduire le risque de vous
ébouillanter et d’endommager l’humidificateur, ne
mettez jamais d’eau chaude dans l’humidificateur.
MISE EN GARDE : la pureté de l’eau varie d’une
région à une autre et dans certaines conditions les
impuretés dans l’eau et les bactéries en suspen-
sion dans l’air peuvent promouvoir la croissance
de microorganismes dans le réservoir de l’humidi-
ficateur.
Pour ralentir la croissance de bactéries qui
susceptibles de causer des odeurs et de nuire à
votre santé, utilisez uniquement des filtres de
rechange MoistAIR®. Nous recommandons égale-
ment l’utilisation d’un bactériostatique homologué
par l’EPA et d’un détergent pour humidificateur que
vous pouvez vous procurer dans un magasin local.
Première étape
Pour faciliter le nettoyage, la base de l’humidificateur
doit être vidée et séchée complètement. Pour ce faire,
vous pouvez utiliser la méthode suivante :
a. Laissez l’humidificateur fonctionner jusqu’à ce que
le voyant de remplissage (REFILL) commence à
clignoter et que le passage dans le mode de
dessèchement (DRY OUT) ait arrêté le ventilateur
de l’humidificateur.
b. Débranchez l’humidificateur.
Deuxième étape
Retrait des éléments
Cf. la section « Remplacement et entretien du filtre » à la
page 26.
REMARQUE : il restera peut-être un peu d’eau dans la
base. Videz soigneusement cette eau ou retirez-la à l’aide
d’une éponge.
AVERTISSEMENT : pour réduire le risque de choc
électrique débranchez toujours l’humidificateur
avant de le nettoyer ou de le réparer. Quand
l’humidificateur est toujours branché, le ven-
tilateur risque de se mettre en marche après le
retrait du bâti.
Maintenance de fin de saison
1. À la fin de la saison d’utilisation de l’humidificateur,
réalisez la maintenance bihebdomadaire.
2. Retirez le filtre.
3. Laissez l’humidificateur sécher complètement
avant de le ranger.
4. Rangez-le dans un endroit frais et sec.
5. Installez un filtre neuf dans l’humidificateur propre
avant que la saison suivante ne commence.
REMARQUE : il est aussi recommandé de suivre la
procédure de maintenance bihebdomadaire si vous
n’avez pas l’intention de faire fonctionner l’humidi-
ficateur pendant une semaine ou plus.
Retrait du tartre
1. Remplissez d’eau la base de l’humidificateur et
ajoutez un verre (entre 230 et 240 ml) de
vinaigre blanc non dilué. Laissez la solution
reposer pendant 20 minutes.
2. Nettoyez toutes les surfaces intérieures à l’aide
d’une brosse souple. Humectez un chiffon
doux de vinaigre blanc non dilué et essuyez la
base pour en retirer le tartre.
3. Rincez abondamment avec de l’eau chaude et
propre pour retirer le tartre et la solution de
nettoyage.
Désinfection de la base
1. Versez 1,89 litres d’eau et 2,5 ml de produit
à blanchir au chlore dans la base. Laissez
la solution reposer pendant 20 minutes en
prenant soin de remuer toutes les deux
minutes. Mouillez toutes les surfaces
normalement exposées à l’eau.
2. Videz la base après 20 minutes. Rincez à l’eau
jusqu’à ce que l’odeur du chlore ait disparu.
Laissez l’appareil sécher complètement.
REMARQUE : le bidon d’eau doit être nettoyé de la
même façon que la base. Rincez abondamment
avec de l’eau propre une fois que toutes les étapes
auront été complétées.
Troisième étape
Maintenance bihebdomadaire
REMARQUE : retirez l’eau excédentaire
avant de nettoyer l’appareil
MD

Dépannage
29
Problème
L’affichage numérique ne s’allume pas.
Le ventilateur ne fonctionne pas
(l’affichage numérique est allumé).
Le ventilateur fonctionne sans arrêt.
Mauvaise évaporation de l’eau.
Le bidon se vide complètement.
Le bidon continue à se vider même après
avoir été complètement rempli.
Le bidon ne se vide pas.
Le message CK FILTER (Inspecter le filtre)
n’est pas affiché sur l’écran, même
lorsque le filtre est sale ou quand le
rendement de l’humidificateur est
clairement réduit.
Le ventilateur fonctionne plus lentement
que la vitesse figurant sur l’écran
d’affichage numérique.
L’humidificateur ne s’arrête pas quand il
est placé dans le mode de dessèchement
(DRY OUT).
Cause probable
•Pas de tension.
• Vous n’avez pas appuyé sur le bouton
de mise en marche.
•Le niveau d’humidité réel de la pièce
(ROOM) n’est pas de 3 % inférieur au
niveau d’humidité programmé.
• Le niveau d’humidité programmé (SET)
est de 65 %.
• L’humidité réelle de la pièce (ROOM) n’a
pas atteint un niveau supérieur de 1 %
ou plus au niveau d’humidité
programmé (SET).
• Le message indiquant qu’il faut vérifier
le filtre (CK FILTER) clignote.
• Ceci est normal pendant le premier
remplissage.
• De l’air pénètre dans le bidon.
• La base est remplie d’eau.
• Une coupure de courant a causé
l’effacement prématuré du message
CK FILTER.
• L’humidificateur est dans le mode de
dessèchement (DRY OUT).
• Le filtre n’est pas sec.
Solution
•Inspectez la source d’alimentation 120 V.
• Appuyez une fois sur le bouton
de mise en marche.
•Augmentez le niveau d’humidité
programmé (SET) si vous le souhaitez.
• Un pourcentage d’humidité programmé
(SET) de 65 % force le ventilateur à
fonctionner en continu. Choisissez un
niveau de réglage entre 25 % et 60 %.
• Laissez le ventilateur fonctionner jusqu’à
ce que le niveau d’humidité souhaité
soit atteint. Cela peut prendre jusqu’à
48 heures initialement.
• Mettez un filtre neuf.
• REMARQUE : dans certaines régions
l’eau a une forte teneur en minéraux qui
entraîne le besoin de changer le filtre
plus fréquemment.
• Remplissez le bidon pour un temps
de fonctionnement maximal.
• Vérifiez que le capuchon du bidon
est fermé de façon étanche, sans
interférence de débris.
• Vérifiez qu’il n’y a pas de fuites dans
le bidon.
• La base contiendra le contenu du bidon
d’eau (1,9 gallon/7,2 litres). Continuez à
faire fonctionner l’humidificateur pour
vider l’eau de la base.
• Remplacez le filtre.
• L’humidificateur change
automatiquement la vitesse du
ventilateur à ULTRA QUIET (Vitesse
basse) lorsque le message indiquant le
mode de dessèchement (DRY OUT) est
affiché.
• Dans le mode de dessèchement (DRY
OUT), l’humidificateur continuera à
fonctionner à la vitesse ULTRA QUIET
(Vitesse basse) suivant les besoins
pendant une période de 2 heures.

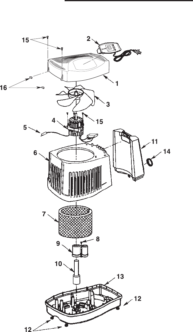
Pièces de rechange
30
Liste des pièces de rechange pour l’humidificateur évaporatif à console MoistAIR®
Modèle MoistAIR®N° MA12010
MD
MD

Commandez toujours par numéro de pièce et non pas par numéro de légende
† Article en stock – achetez localement.
• Toute tentative de réparation de l’ensemble de commande ou du moteur par
une personne autre qu’un technicien agréé peut créer un danger.
* Article de quincaillerie standard qu’il est possible de se procurer localement.
Pour commander des pièces par téléphone :
États-Unis : 1-800-654-3545
Canada : 1-866-808-6500
N° de N° de Description
légende pièce
1 830488 Bâti, ensemble supérieur
2 831342 • Commande de l’appareil
3 829821 • Pale du ventilateur
4 830778 • Moteur
5 828854 Microrupteur
6 830489-1 Bâti, ensemble inférieur
7 MAF-1 † Filtre
8 829815 * Vis à tête cylindrique large, ty. AB N° 6 x 1/2,
acier inoxydable
9 830496-1 Support de flotteur
10 829816 Flotteur de réservoir
11 830537-1 Bidon, y compris Légende N° 14
12 829812 Roulettes (4 pièces comprises)
13 830484-1 Base
14 824690-2 Capuchon du bidon de remplissage
15 829805 Vis à tête cylindrique large Trx. Haut-Bas
N° 6 x 3/4
16 830587 Vis d’assemblage
17 SP6615 Mode d’emploi (non illustré)
Liste des pièces de rechange pour l’humidificateur évaporatif à console MoistAIR®
Modèle MoistAIR®N° MA12010
MD
MD
31

c 2007 EssickAir
Node piece : SP6615 Document noSP6615-1 Imprimé en U.S.A. 05/07
Essick Air Products
Pour plus de renseignements au sujet des humidificateurs MoistAIR®, visitez notre site
web à www.moistair.com
MD
TM
MC
®
MD
POUR RECEVOIR DE L’ASSISTANCE TECHNIQUE, APPELEZ LE1-800-654-3545 DEPUIS
LES ÉTATS-UNIS OU LE (888) 744-4687 DEPUIS LE CANADA.
(Veuillez avoir votre numéro de modèle complet à portée de la main)