EverFocus Electronics EVERACCESSRFID Flex Series Controller User Manual
EverFocus Electronics Corp. Flex Series Controller
User Manual

User Manual
F
Fl
le
ex
x
S
Se
er
ri
ie
es
s
C
Co
on
nt
tr
ro
ol
ll
le
er
r
E
EF
FC
C-
-0
02
2-
-1
1A
A
Volume
1
EverAccess

EVERFOCUS ELECTRONICS CORPORATION
EFC-02-1A
Instruction Guide
© 2005 EverFocus Electronics Corp
1801 Highland Ave Duarte CA 91010
Phone 626.844.8888 • Fax 626.844.8838
All rights reserved. No part of the contents of this manual may be reproduced or transmitted in any
form or by any means without written permission of the Everfocus Electronics Corporation.

Table of Contents
CHAPTER 1
Product Overview 1
Features 1
Parts List 2
Controller Layout 3
Installation Review 5
Preparing for the Installation 6
Obtain a Floor Plan 6
Determining the Hardware and Location 6
Determining System Structure as well as the Number of Controller and Modules 7
CHAPTER 2
Hardware Installation 8
Mounting the Enclosure and Controller 8
Installing a Module to Controller 10
Reader /Door Index Conversion 11
Terminal/LED Definitions 11
Main Module Terminal Definition 11
Main Module LED Definition 12
Door Module Terminal Definition 13
Door Module LED Definition 14
Alarm Module Terminal Definition 15
Alarm Module LED Definition 16
Install and Connecting the Readers 16
RS232 Format 17
Wiegand 26 Format 17
Connection to Door Lock 18
Connection to an Electric Strike 18
Connection to a Magnetic Lock 19
Connection to Door Sensor 19
Connection to Request-to-Exit 20
Connection to Fire & Alarm Input 0 20
Connection to Alarm Input 20
Connection to Alarm Output 21

CHAPTER 3
Connecting Controller and Computer 23
Connection to Computer via RS232 23
Connection to Desktop Reader via RS485 24
RS485 Bus Based Networking System 24
RS485 Bus Extension 25
Connection to Multiple Controllers via RS485 26
TCP/IP Based System 27
CHAPTER 4
Connecting Power 29
Connecting the Power Supply 29
Mount a Backup Battery (Optional) 30
Connection to Backup Battery 30
Reset Controller 30
Cover Placement 31
Before First Use 31
CHAPTER 5
Controller Functionality and Configuration 33
General Operation Guideline 33
Enter System Configuration 33
Display the Firmware Version 34
Display the number of the Installed Modules 34
Main Setting Items 34
System Setting 35
Enter System Setting Menu 35
Set Date Format 35
Set Date 36
Auto Daylight Savings Time 36
Set Time 36
Set System PIN 37
Set Arm PIN 37
Erase All Events 37
Reset All Data and Settings 38
Card Setting 38
Enter Card Setting Menu 38
Add Cards 39

Delete Cards 39
Delete a Card by Serial Number 39
Delete All Cards 40
Set Card Properties 40
Status Setting 40
Access Right Setting 41
Group Setting 41
Set Card PIN Setting 41
Anti Passback (APB) Setting 42
Card ARM Setting 43
Show Card Number 43
Reader Setting 43
Enter Reader Setting Menu 43
Keypad Setting 44
Reader to Door Allocation 44
System Reader Setting 45
Door Setting 45
Enter Door Setting Menu 45
Open Time Setting 45
Set Door Hold Open Time 46
Set Door Behavior at Fire Alarm 46
Alarm Setting 47
Components for Alarm 47
Alarm Configuration Basics 47
Enter Alarm Setting Menu 48
Alarm Setting Menu Structure 48
Enter Alarm Action Setting Sub-menu 49
Enter Extended Alarm Setting Sub-menu 50
Fire Alarm 50
Zone Alarm 1~8 51
SYS PIN Fail 51
ARM PIN Fail 51
Alarm IN 0 52
Remote Alarm 52
Unknown Card 52
Expired Card 52
Invalid Card 53
Invalid Door 53

Invalid Time 53
Card Anti-Passback Fail 53
Card PIN Fail 54
Door Forced Open 54
Door Held Open 54
Reader Lost 55
Enter Alarm Time Setting Sub-menu 55
Armzone Setting 55
Enter Armzone Setting Menu 55
Set Active Armzone 56
Set ARM Delay Time 56
Address Setting 57
ARM/DISARM 57
ARM The System using the Controller Keypad 57
Disarm the System using the Controller Keypad 58
Clear the Alarm 58
Arm/Disarm the system using a reader 59
CHAPTER 6
Software Setup 61
Install the Software in the Control Computer 61
Setup the User Accounts for the Software 62
Configure the Controller and All Other Hardware 62
Configure the Holidays, Access Group and Door Control Schedule 63
Enroll Cards 63
Notes 65

Specifications
Items Parameter
Maximum cards 9999
Maximum records 16000
Supported readers 2 (expandable up to 8)
Maximum controllers connected via RS
485
127
Controlled doors 2 (expandable up to 8)
Communication format Wiegand26 or EverAccess RS-232 format
Cardholder PIN 6 digit
System PIN 6 digit
ARM PIN 6 digit
Alarm input 1 fire alarm, 1 general alarm input(Alarm In 0)and 8 alarm
input extendable
Alarm output 2 alarm outputs on main module, 2 alarm outputs on each
door module, 8 alarm outputs on alarm module
Maximum 18 alarm outputs with 4 installed door module
and 1 alarm module
Communication ports RS232 or RS485
Band rate 9600
Programmable duration Maximum 10 per day with minimum duration of 5 min
Programmable date 3 types, up to 255 date in total
Access group Max 64
Card Expiration Yes
Auto day-light saving Yes
Anti-passback Yes
Build-in keypad Yes
LCD screen 2 x 16 with background light
Real-time clock Yes
Max current draw for door control relay 5A
Max current draw for alarm relay 2A
Supply voltage DC 9~18V
DC 15V when backup battery connected
Power Maximum power 50 w
Dimension length x width x height
300 x 216 x 33 (cm)
118 x 85 x 13 (in)
Weight 7 lbs

Federal Communication Commission
Interference Statement
This equipment has been tested and found to comply with the limits for a Class B
digital device, pursuant to Part 15 of the FCC Rules. These limits are designed to
provide reasonable protection against harmful interference in a residential installation.
This equipment generates, uses and can radiate radio frequency energy and, if not
installed and used in accordance with the instructions, may cause harmful interference
to radio communications. However, there is no guarantee that interference will not
occur in a particular installation. If this equipment does cause harmful interference to
radio or television reception, which can be determined by turning the equipment off
and on, the user is encouraged to try to correct the interference by one of the
following measures:
- Reorient or relocate the receiving antenna.
- Increase the separation between the equipment and receiver.
- Connect the equipment into an outlet on a circuit different from that to
which the receiver is connected.
- Consult the dealer or an experienced radio/TV technician for help.
FCC Caution: Any changes or modifications not expressly approved by the party
responsible for compliance could void the user's authority to operate this equipment.
This device complies with Part 15 of the FCC Rules. Operation is subject to the
following two conditions: (1) This device may not cause harmful interference, and (2)
this device must accept any interference received, including interference that may
cause undesired operation.

1
Product Overview
EverAccess® Flex Series controller (part number: EFC-02-1A) incorporates state-of-
the-art technology and modular design to provide reliable performance, user-friendly
installation, expansion capabilities, and flexible but powerful configuration options.
This controller is the ideal solution for any application that requires electronic access
control.
Powerful management: each controller can be expanded with additional door
modules to support up to 8 readers.
Stand alone or real time PC communication: the controller can operate stand-
alone without a PC connection, or can be managed by the Flex Series
software to communicate in real time, sending data to the PC once per
second.
Expandable network: up to 127 controllers can be connected via RS-485 bus
or TCP/IP networking (requires additional LAN interface device).
Easy-to-use: simple configuration operations can be performed at the
controller using the integrated keypad.
Extra alarm module: an additional alarm module can be added to the
controller to offer up to 10 alarm inputs and 18 alarm outputs.
Features
Modular design, easy-to-expand
Up to 4 door modules and 8 readers are supported by each controller
The additional alarm module provides up to 18 alarm signal output interfaces
Large capacity: 9,999 cards and 16,000 events can be stored in the controller
Flexible work mode: the controller can operate stand-alone without a PC
connection, or can be managed by the Flex Series software to communicate
in real time, sending data to the PC once per second via RS-485 or TCP/IP.
Powerful management capabilities: access can be managed based on time and
date, location, cardholder privileges, etc.
Chapter
1

2
Powerful alarm functions, ability to arm/disarm, specific fire alarm input with
corresponding door control, easy connection to alarm panel
Built-in LCD screen and keypad allow basic configuration changes at the
controller
Wiegand 26 and EverAccess RS232 formats supported
Built-in transient voltage suppressor (TVS) to protect controller from electric
surge
Parts List
Please be careful when you unpack the box due to the electronics devices inside.
Check and make sure that you have all the items listed below inside the original box:
1 EverAccess Flex Series Controller
1 controller user manual
1 Flex Series software CD
1 software manual
2 supporting frames (left and right)
2 (3mm*6mm) screws (to mount the controller to the frames)
Please Note: If an item appears to have been damaged in shipment, replace it
properly in its carton and notify the shipper. If any items are missing, notify your
Everfocus Electronics Corp. Sales Representative or Customer Service. The
shipping carton is the safest container in which the unit may be transported. Save
it for possible future use.
In addition, you may order the following EverAccess products which are
recommended for use with the controller to achieve the best performance:
EverAccess metal enclosure (part number EPN-871-B)
EverAccess desktop reader (part number ERS-871)
EverAccess proximity readers (part numbers ERR-871, ERK-871, ERM-871)

3
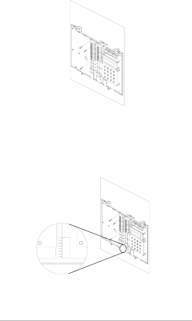
Controller Layout
Figure 1.1 shows the layout of the EverAccess Flex Series Controller along with its
main components and their functions.
Fig. 1.1 Controller Layout
(1) Main module
The main module controls the fundamental functions of the controller,
including the power supply, event records, communication via RS232 or
RS485 port, fire alarm input, a general alarm input and two alarm outputs.
The LCD ③ and keypad ④ provide an interface for the users to directly
operate the controller. The main module also controls the door and alarm
modules.
(2) Terminals on main module
Please refer to Ch 2 (p 11) for the definitions and wiring directions.
(3) LCD screen
The LCD screen displays the current status of the controller and the menu.
Please refer to Table 2.1 (p 12) for more details.
(4) The keypad
The keypad provides an interface to operate the controller.
(5) LEDs on the main module
There are 4 indication LEDs on the controller. Please refer to Ch 2 (p 12) for
their definitions.
T
erminals on
door module
T
erminals on
alarm module
T
erminals on
main module
2*16 LCD
Base board
Door module
LEDs on
door module
LEDs on
alarm module
A
larm
module
LEDs on
main module
T
erminals on
main module
Main
module
Ke
yp
ad

4
(6) Door module
Each door module controls up to 2 readers and relays event signals to the
main module.
(7) Door module terminals
The door module terminals provide an interface to peripherals like door
sensors, door locks, request-to-exit devices and alarm outputs. Please refer to
Ch 2 (p 13) for more details.
(8) Door module LEDs
The LED on the door module shows the status of the door module. Please
refer to Ch 2 (p 14) for more details.
(9) Alarm module
The alarm module is used to extend the controller’s alarm function, adding
up to 8 alarm signal inputs and 8 alarm signal outputs.
(10) Alarm module terminals
The alarm module terminals provide an interface to connect the alarm signal
input and output devices. Please refer to Ch 2 (p 15) for the terminal
definitions.
(11) Alarm module LEDs
The LED indicates the alarm status. Please refer to Ch 2 (p 16) for details.

5
Installation Review
The overall installation steps are shown in the following block diagram. The detailed
descriptions are given in the subsection below.
Step 1: Preparing for the Installation
• Obtain a floor plan
• Determine the hardware and location
• Determine the number of controller and
modules and system architecture
Step 2: Hardware Installation
• Mount the controller and enclosure
• Install and connect the card readers
• Connect the electric strikes or mag locks
• Connect the controller to the system
computer and desktop reader
• Mount a backup battery in the enclosure
Step 3: Software Setup/Configuration
• Install the software in the control computer
• Setup the user accounts who will use the software
• Configure the controller and all other hardware settings
• Configure the holidays, access group and the door contro
l
schedule
• Enroll the cards and set the cardholders’ properties

6
Preparing for the Installation
Before beginning the installation process, EverAccess recommends that the user
properly prepares by gathering certain information. Proper preparation will help
ensure a smooth installation, and will save the installer time and hassle in the
long run. The following information is essential for a professional installation:
Obtain a Floor Plan
Obtain a floor plan of the building in which the access control system is to be
installed. Obtaining a floor plan helps the installer determine what components
need to be installed, and where. It also is essential in determining the length of
cable needed to connect readers to the controller. A floor plan can be a blue
print of the building, a design, or simply a drawing of the facility. Any document
showing the footprint of the building can be used. The dimensions are
important to note, especially when determining cable lengths. A floor plan may
be obtained from your local city hall.
Determining Hardware and Location
Determining which hardware to use and where it will be installed.This is the most
crucial step in the preparation stage. First, determine how many access points, or
doors, need to be managed by the access control system. These access points will
control the security of the facility, and can limit the entry and exit to and from any
given area of the building. After deciding which doors need to be controlled, the user
must also determine the level of security needed at each door. There are many ways
to manage each door, using different resources. These resources include, but are not
limited to: prox readers, mag stripe readers, relays, and request to exits. A few
common door configurations are described below:
1. One reader, basic access control
The most basic configuration involves one card reader and an electric
strike. In this configuration, a person presents a card to the reader, and is
either granted or denied access. The electric strike unlocks if the system
grants access. Another variation of this scenario involves setting the
system up to monitor whether the door is open, which allows the system
to protect against propped open doors, or doors being held open for too
long.
2. One reader, with request to exit device
Adding a request to exit device to scenario 1 allows the system to control
when to allow people to exit through a door. Request to exit devices
include buttons that a person must press in order to exit, or a motion
detector that automatically unlocks the door when a person approaches.
These devices are always installed on the secure side of the door.

7
Fig. 1.2 A Common Door Configuration with Entry Reader
3. Two readers, entry and exit access control
If additional security is needed at a particular door, or if the administrator
needs a record of the time and date that people enter AND exit a door.
Adding a second reader on the secure side of the door will require people
to present a card to exit as well as enter. This scenario provides the
added security benefit of allowing the system to control who can enter,
and who can exit. It also allows the administrator to control when
people can enter and exit.
Scenario 1 and 2 require one reader. Scenario 3 requires two. Each door module
on the EverAccess controller can control two readers. Therefore, scenarios 1
and 2 allow one door module to control two doors. Scenario 3 requires one
door module for each door. This is important to consider when choosing the
appropriate number of modules and readers.
Determining System Structure as well as the Number of Controller
and Modules
Determine how many controllers are needed, and whether an Ethernet interface
is required.
1. Each EverAccess controller can accommodate up to 8 card readers. If
the system to be installed requires more than 8 readers, additional
controllers are necessary. These controllers can be connected to the
system as described in chapter 4.
2. If one or more controller is to be installed at a different location than the
system computer is to be installed, an Ethernet interface is required to
connect over the internet. An Ethernet interface may also be used in
locations at which the controllers are installed a long distance away from
the system PC. Please refer to chapter 4 for more details on installing the
Ethernet interface.
Entry Card
Readers
Door
Sensor
Door lock
A
dditional
Power Supply
EverAccess
EXI
T
V
+
V
-
Re
q
uest-to-ex
i
t

8
Hardware Installation
In this chapter, after preparing for the installation, the user is ready to begin the install.
This section will describe, in general terms, how to install the hardware. Here are the
following processes:
• Mount the enclosure (enclosure optional) and controller
• Install and connect the card readers
• Connect the electric strikes or mag locks
• Connect the controller to the system computer and system reader (system
reader optional)
• Mount a backup battery in the enclosure (optional)
Mounting the Enclosure and Controller
The controller is an essential part of the access control system. We recommend
mounting it in an EverAccess EPN-871-B metal enclosure (also sometimes referred
to as a panel or a can). The controller should be mounted in a location that is
convenient and easily accessible, but also secure. The controller acts as the brain of
the access control system and can be used to make changes to the database. When
choosing a location to mount the controller, choose a clean, dry location that will
allow the administrator easy access to make changes to the system, but that can be
secured from the general public. The enclosure must be mounted on a sturdy wall
using fasteners or anchors (to be provided by the installer). If you are using an
EverAccess EPN-871-B metal enclosure there must be an AC power outlet for the
enclosure in order to power the controller. (The EverAccess EPN-871-B metal
enclosure uses a built in 15 V DC power supply with 110V AC input.) In addition,
the system computer should be near the controller, so that the controller can be
connected to the PC, allowing the administrator to utilize the Flex Series software. If
the system requires additional door or alarm modules, install them in the controller
before mounting the controller in the enclosure or on the wall.
Please Note: If the controller screw holes due not line up properly with the
enclosure some filing may be needed for adjustment.
Chapte
r
2

9
The EverAccess Controller package includes two support frames to elevate the
controller in order to make wire connections more convenient. The installation is
described in the steps below:
Step 1. Mount the two support frames on a wall or on the interior of the EverAccess
enclosure. When mounting to a wall, use the mounting template included in
the packaging to help position the holes to mount the controller on a wall. If
using the EverAccess enclosure, use the four pre-drilled holes on the back
wall of the enclosure.
Step 1 Step 2
Step 2. Mount the controller base board.
a. Place the controller base board on the support frames. Line up the four
latches on the support frames with the holes on the controller base
board. Once lined up, slide the controller base board down to secure it
in place. At this point the two screw holes on the top two corners of
the controller base board should be aligned with the corresponding
holes on the support frame.
b. Secure the controller base board to the support frames with the two
screws (provided in the controller package).
Step 3. Install and mount additional door modules or the alarm module
a. Connect the pins on the lower right corner of the new module to the
connector on the bottom left corner of the installed module. Make sure
that the pins fit snugly into the receiving module.
b. Secure the module to the controller base board using the three screws
(provided in the module package).

10
Step 3
Installing a Module to Controller
EverAccess Flex series controller can hook up to 4 door modules and 1 alarm
module. Please note only ONE alarm module can be installed to the controller. Each
door module is cascaded to its left side module till the main module. The door
modules and the alarm module can be placed in any sequence. The index will follow
the same rules (refer to next subsection). The steps to install a new module are
described below:
Figure 2.1 Install a New Module to Controller
12

11
1. Connect the pins on the lower right corner of the new module to the connector
on the bottom left corner of the installed module. Make sure that the pins fit
snugly into the receiving module.
2. Secure the module to the controller base board using the three screws (provided
in the module package).
Reader/Door Index Conversion
One EverAccess Flex Series controller can accommodate up to 4 door modules,
each of which controls 2 readers. The index conversion of readers and is displayed
below. The readers/doors are counted 1 to 8 from right to left:
Figure 2.2 Reader/Door Index Conversions
Please Note: Each card reader can be associated with any door index.
Please refer to section 5 for more details.
Terminal / LED Definitions
Main Module Terminal Definition
21 terminals are located on the main module, as shown in Figure 2.3:

12
Figure 2.3 The main module and its terminals
The terminal definitions are shown in the following table.
Table 2.1 The Definition of the Main Module Terminals
No Terminal name Function No Terminal name Function
1
A
larm In 0 General alarm input 0 12 COMM_GND GND of RS485 and RS232
2 GND
A
larm input GND 13 RS232_RXD RXD of RS232
3 FireIn Fire alarm input 14 RS232_TXD TXD of RS232
4
A
UXAlarmOutNo Normally open pin of auxiliary
alarm output 15 Reserved
5
A
UXAlarmOutCom Common pin of auxiliary
alarm output 16 Reserved
6
A
UXAlarmOutNC Normally close pin of auxiliary
alarm output 17 Reserved
7 MainAlarmOutNo Normally open pin of main
alarm output 18 Power Power input
8 MainAlarmOutCOM
Common pin of main alarm
output 19 GND Power GND
9 MainAlarmOutNC Normally close pin of main
alarm output 20 BATT+ Battery positive pin
10 RS485_A Signal A of RS 485 bus 21 BATT- Battery negative pin
11 RS485_B Signal B of RS 485 bus
Main Module LED Definition
There are 4 LEDs on the main module. The positions and indexes are defined in Fig.
2.4 and table 2.2.

13
Figure 2.4 Main Module LED Definition
Table 2.2 The definition of the LEDs on the main module
LED Meaning
1 The power is on when the light is on
2 Fire alarm when the light is on
3 Data is received when the light is on
4 Data is transmitted when the light is on
Door Module Terminal Definition
The terminals on the door modules are classified into two groups, each of which
controls two doors and the corresponding card readers. The right side terminals
(indexed from #1~#16) control one reader, while the left side terminals (indexed
from #17~#32) are responsible for the 2nd reader, as shown Fig. 3.5. As described in
the “reader/door index conversion” section of the manual, the reader’s index
depends on the door module to which it is connected. For example, consider one
door module where terminals #1 ~#16 control Reader 1, and #17~#32 control
Reader 2. Table 2.3 shows the definition and wiring details for the door module
terminals. The definitions of the door module terminals are defined in the table 2.3.
Fig. 2.5 Door Module Terminal Definition

14
Table 2.3 The Definitions of the Door Module Terminals
No Terminal name Function No Terminal name Function
1 Reader1_Data0 Reader 1 Wiegand Data 0 17 Reader2_Data0 Reader 2 Wiegand Data 0
2 Reader1_Data1 Reader 1 Wiegand Data 1 18 Reader2_Data1 Reader 2 Wiegand Data 1
3 Reader1_DC Power supply for reader 1.
Output +12 V voltage. 19 Reader2_DC Power supply for Reader 2.
Output +12 V voltage.
4 Reader1_GND GND for the Reader 1 20 Reader2_GND GND for the Reader 2
5 Reader1_Ctrl Control line for reader 1 21 Reader2_Ctrl Control line for Reader 2
6 RX_1 Port to TX signal to reader 1 22 RX_2 Port to TX signal to Reader 2
7 TX_1 Port to RX signal from reader 1 23 TX_2 Port to RX signal from Rader 2
8 Door1_ Button
The request-to-exit button for
Door 1 24 Door2_ Button The request-to-exit button for
Door 2
9 Door1_GND GND for terminal 8 & 10 25 Door2_GND GND for terminal 24 & 26
10 Door1_ Sensor Door sensor input for Door 1 26 Door2_ Sensor Door sensor input for Door 2
11 Door1_NO Normally open pin for door
control relay 1 27 Door2_NO Normally open pin for door
control relay 2
12 Door1_COM Common pin for door control
relay 1 28 Door2_COM Common pin for door control
relay 2
13 Door1_NC Normally close pin for door
control relay 1 29 Door2_NC Normally close pin for door
control relay 2
14 Alarm1_NO Normally open pin for alarm
output relay 1 30 Alarm2_NO Normally open pin for alarm
output relay 2
15 Alarm1_COM Common pin for alarm output
relay 1 31 Alarm2_COM Common pin for alarm output
relay 2
16 Alarm1_NC Normally close pin for alarm
output relay 1 32 Alarm2_NC Normally close pin for alarm
output relay 2
Door Module LED Definition
There are 8 LED indicators on each door module. The positions and indexes are
shown in Fig. 2.6. The definitions of these LED indicators are presented in Table 2.4
Fig. 2.6 Door Module LED Definition
The definitions of LEDs on the door module are defined in the following table:
Table 2.4 The Definition of LEDs on the Door Module
LED Meaning
1 On indicates the alarm relay #2 energized
2 On indicates reader #2 connected
3 On indicates the door sensor #2 is off (the door’s open)
4 On indicates door control relay #2 energized
5 On indicates the alarm relay #1 energized
6 On indicates reader #1 connected
7 On indicates the door sensor #1 is off (the door’s open)
8 On indicates door control relay #1 energized

15
Alarm Module Terminal Definition
There are 36 terminals on the alarm module. The positions and indexes are described
in Fig 2.7. The definitions are described in Table 2.5.
Fig. 2.7 Alarm Module Terminal Definition
The definitions of the alarm module terminals are defined in the following table:
Table 2.5 The Definition of Terminals on the Alarm Module
No Terminal
name Function No Terminal
name Function
1 Alarm1_In Alarm signal input 1 19 Alarm5_In Alarm signal input 5
2 GND GND 20 GND GND
3 Alarm2_In Alarm signal input 2 21 Alarm6_In Alarm signal input 6
4 Alarm3_In Alarm signal input 3 22 Alarm7_In Alarm signal input 7
5 GND GND 23 GND GND
6 Alarm4_In Alarm signal input 4 24 Alarm8_In Alarm signal input 8
7 Alarm1_NO Alarm 1 output for normally-open 25 Alarm5_NO Alarm 5 output for normally-open
8 Alarm1_COM Alarm 1 output in common 26 Alarm5_COM Alarm 5 output in common
9 Alarm1_NC Alarm 1 output for normally-close 27 Alarm5_NC Alarm 5 output for normally-close
10 Alarm2_ NO Alarm 2 output for normally-open 28 Alarm6_ NO Alarm 6 output for normally-open
11 Alarm2_ COM Alarm 2 output in common 29 Alarm6_ COM Alarm 6 output in common
12 Alarm2_ NC Alarm 2 output for normally-close 30 Alarm6_ NC Alarm 6 output for normally-close
13 Alarm3_ NO Alarm 3 output for normally-open 31 Alarm7_ NO Alarm 7 output for normally-open
14 Alarm3_ COM Alarm 3 output in common 32 Alarm7_ COM Alarm 7 output in common
15 Alarm3_ NC Alarm 3 output for normally-close 33 Alarm7_ NC Alarm 7 output for normally-close
16 Alarm4_ NO Alarm 4 output for normally-open 34 Alarm8_ NO Alarm 8 output for normally-open
17 Alarm4_ COM Alarm 4 output in common 35 Alarm8_ COM Alarm 8 output in common
18 Alarm4_ NC Alarm 4 output for normally-close 36 Alarm8_ NC Alarm 8 output for normally-close

16
Alarm Module LED Definition
There are 8 LED indicators on each Alarm module. The positions and indexes are
shown in Fig. 2.8. The definitions of the LED indicators are presented in Table 2.6.
Fig. 2.8 Alarm Module LED Definition
The definitions of LEDs on the alarm module are defined in the following table:
Table 2.6 The Definition of the LED Indication on the Alarm Module
LED Meaning LED Meaning
1 Alarm 1 5 Alarm 5
2 Alarm 2 6 Alarm 6
3 Alarm 3 7 Alarm 7
4 Alarm 4 8 Alarm 8
The alarm LED has four different indications:
Light off: No alarm alert for the alarmed zone.
Light flashes slowly: The alarmed zone is in the alert delay stage.
Solid light on: The alarm alert is on for the alarmed zone
Light flashes quickly: The alarmed zone is in danger; alarm signal is input
Install and Connecting the Readers
The card readers chosen for the access control system must be mounted near each
door and connected directly to the door module(s) in the controller. Each module
can accommodate two readers. The general procedure is described below:
1. Mount each reader, following the instructions included with the reader.
Typically, this will include drilling two holes in the mounting wall, and
then using the reader mounting hardware to secure the reader to the
mounting wall.
2. Once the readers are mounted, connect them to the door module. For
wiring definitions, please see previous sections in this manual.

17
As mentioned before, every door module can control up to two card readers with the
correct wiring. The supported reader formats are EverAccess RS232 and standard
Wiegand26. For instructions on connecting each type, please refer to Fig. 2.9 (a) for
the RS232 reader connection and Fig 2.9(b) for the Wiegand reader connection. (The
terminals for the 2nd side of the door module are given in brackets)
RS232 Format
Fig. 2.9(a) Connection to the EverAccess Reader using RS232 Format
Numbers 19~23 signifies Reader 2 and 3~7 Signify Reader 1 Connections.
Wiegand 26 Format
Figure 2.9(b) Connection to the EverAccess Reader using Wiegand Format
Numbers 19~23 signifies Reader 2 and 3~7 Signify Reader 1 Connections.
Each door module can provide +12V voltage for two card readers. Twisted cable is
recommended to connect the controller and card readers. The maximum
transmission distance between the reader and controller depends on the gauge of the
cable and the specification of the card reader. Please read the reader user manual
carefully before installing the cable for the readers.
Please Note: When installing a multi-reader system, it is strongly
recommended that all the card readers follow the same format, i.e. all
of them are EverAccess RS232 or Wiegand. Multiple formats could
present compatibility problems: a card may not be accepted by all the
card readers in the system.
Red
Black
Yellow
Gray
Blue
EverAccess
#
0
*
WXYZT U V
PQRS
7
M N O
65
J K L
4
G H I
3
D E F
A B C
2
1
98
(23)
(
22
)
(21)
(20)
(19)3
5
4
7
6
Reader Ctrl
RX
TX
GND
+12V
Yellow
Brown
Green
Black
Red
GND
+12V
4
5
2
3
1
(17)
(18)
(19)
(20)
(21)
Reader_Data
Reader_Data
Reader Ctrl
EverAccess
#
0
*
WXYZT U V
PQRS
7
M N O
6
5
J K L
4
G H I
3
D E F
A B C
2
1
98

18
Connection to Door Lock
Electric strikes and magnetic locks are used to keep doors locked unless the system
grants access or the user sets the doors to remain unlocked. The installer must supply
the electric strikes and/or magnetic locks. It is recommended that the installer follow
and keep the instructions for these locks. One strike or mag lock is required for each
door. These locks must be powered separately from the readers. The mounting
instructions for strikes and mag locks vary depending on the manufacturer and type
of lock. Please consult the instructions included with the door hardware when
installing. Once the locks are installed, follow the instructions below to connect them
to the controller.
Each door module provides an interface to two door control relays. Terminals 11
~13 are for door 1 connections and terminals 27~29 are for door 2 connections.
Terminals 12 and 28 are named common terminals (COM). Terminals 13 and 29 are
used for normally closed terminal (N.C.) locks. Terminals 11 and 27 are used for
normally open terminal (N.O.) locks.
The electrical door lock must have a separate power supply. The power supply for the
electrical door lock depends on the specification of the lock. Carefully choose the
cable connecting the door locks to fit the current draw. Two common types of
electrical door locks in the market are electric strike locks and magnetic locks. The
connection methods for these examples are shown in Fig. 2.10 and 2.11 respectively.
Connection to an Electric Strike
Fig.2.10 Example for Connecting an Electric Strike
Terminals 11 ~13 are for Door 1 and terminals 27~29 are for Door 2 connections.
COM
N.O.
V- V+
(29)
(28)
(27)
12
11
13
Door
module

19
Connection to a Magnetic Lock
Fig. 2.11 Example for Connecting a Magnetic Lock
Terminals 11 ~13 are for Door 1 and terminals 27~29 are for Door 2 connections.
Please NOTE:
1. The maximum current outputted by the door lock relay on the door
module is less than 5A. If the current for door lock exceeds the capacity,
an external power relay is needed.
2. V+ in the figures represents one lead of power from an external power
source. When using DC Voltage for the lock, put the positive lead here.
When using AC the leads are interchangeable.
Connection to Door Sensor
The interface to the door sensor is also provided by the door module: door sensor 1
corresponds to terminal 9-10 and corresponds to 25-26 on the door module.
Fig. 2.12 Example for Connecting Door Sensor to Controller
Terminals 9 ~10 are for Door 1 and terminals 25~26 are for Door 2 connections.
13
11
12
(27)
(28)
(29)
V+V-
N.C.
COM
Door
module
10
(25)
(26)
9
Door
module
Door sensor

20
NOTE: Among these four terminals, terminal 9 and 25 are GND, shared by
the door sensor and request-to exit (10 and 26 are your input signals)
Connection to Request-to-Exit
The door module also provides an interface to the request-to-exit button or sensor.
Door 1 is connected to terminals 8-9 and door 2 is connected to terminals 24-25
respectively.
Fig. 2.13 Connecting REX to Controller
Terminals 8 ~9 are for Door 1 and terminals 24~25 are for Door 2 connections.
NOTE: Among these four terminals, terminal 9 and 25 are GND, shared by
the door sensor and request-to exit (8 and 24 are your input signals)
Connection to Fire & Alarm Input 0
The main module provides fire alarm input and one general alarm input (alarm input
0), connecting to terminal 1, 2 and 2, 3 respectively. The GND (terminal is shared by
these two input signals.
Connection to Alarm Input
The alarm signals other than the fire alarm and alarm input 0 are controlled by the
alarm module, which contains 8 alarm inputs and 8 alarm outputs. Using the 5th
channel alarm signal input as an example, the method to connect the alarm module to
the alarm sensor is shown in Fig. 2.14:
(24)
(25)
8
9
Door
module
EXIT

21
Fig.2.14 Connecting Alarm-sensor to Controller
Connection to Alarm Output
The alarm module provides 8 alarm inputs and 8 alarm outputs. The user can assign
the corresponding relay status to the different events. There are three terminals:
COM, N.O and N.C. The wiring depends on the alarm device. Please read the user
manual of the external alarm devices before wiring. Using the 5th channel alarm
signal output as an example, the wiring is shown in Fig. 2.15 and 2.16.
Fig. 2.15 Normally Open Connection for Alarm Output 5
A
larm senso
r
for alarm in 5
A
larm input
GND
19
20
A
larm
module
External
A
larming
Device
C. terminal
N.O. terminal
COM
N.O.
A
larm
module
26
27
25

22
Fig. 2.16 Normally Closed Connections for Alarm Output 5
N.C.
COM N.C. terminal
C. terminalExternal
A
larming
Device
26
27
25
A
larm
module

23
Connecting Controller
and Computer
Connection to Computer via RS232
The EverAccess controller is able to operate as a stand-alone device or as a
networked device, connected directly to a PC via serial port.
EverAccess
ARM
ENT
0
CLR
WXYZT U VPQRS
M N OJ K LG H I
3
D E FA B C
21
456
987
SYS
Figure 3.1 Connecting the Controller to a PC
To connect the controller to the computer via RS232, the communication terminals
should be wired to the computer serial port as follows: the RS232 TX terminal of the
controller is linked to the RS232 RX of the serial port and the RS232 RX terminal is
linked to the TX.
If the controller is installed in the EverAccess enclosure, the DB9 serial port interface
makes the connection even easier. Fig. 3.2 describes how to connect the DB9 port to
the computer serial port. If a self-made cable and interface is used for connection,
then a DB9 female connector is required. The terminal 12, 13 and 14 on the main
module should be linked to the pin 5, 3 and 2 respectively, which are GND, TXD
and RX.D
Chapte
r
3
RS232

24
5
3
2RXD
GND
PC DB9
Serial Port
12
1314
Blue
Yellow
Red
TXD
Fig. 3.2 Connection to Computer via RS232
Connection to Desktop Reader via RS485
To connect the EverAccess Flex Series controller to the desktop reader via RS485
bus, terminal 10, 11 and 12 on the main module should be wired to the line 1, 2 and 3
in RJ45 head, as Fig 3.3 shows. The RJ45 head is provided with the EverAccess
desktop reader.
BAGND
POWE R CA RD TX RX
EverAccess
8
11
2
3
12
11
10
Fig. 3.3 Connection to Desktop Reader via RS485
RS485 Bus Based Networking System
Multiple EverAccess controllers can be connected to accommodate larger access
control systems. The controllers are connected via RS485, as shown in Fig. 3.4. The
desktop reader (Part#: ERS-871) is a critical component of an RS485 bus based
Main module

25
system: it allows simple card enrollment and acts as the interface between multiple
controllers and the PC.
SYS
789
65
4
12
A B C D E F
3
G H I J K L M N O
PQRS T U V WXYZ
CLR 0ENT
ARM
EverAccess
EverAccess
ARM
ENT
0
CLR
WXYZT U VPQRS
M N OJ K LG H I
3
D E FA B C
21
456
987
SYS ENT
ARM
EverAccess
EverAccess
ARM
ENT
0
CLR
WXYZT U VPQRS
M N OJ K LG H I
3
D E FA B C
2
1
456
98
7
SYS
SYS
789
654
12
A B C D E F
3
G H I J K L M N O
PQRS T U V WXYZ
CLR 0
EverAccess
RXTXCARDPO WER
Figure 3.4 Connections of Multiple Controllers
A brief overview of the installation:
1. Connect the EverAccess desktop reader to the computer via USB port.
2. Connect one or two controllers to the desktop reader via RJ45 port.
3. More controllers can be connected to each controller by RS485 bus.
RS485 Bus Extension
You can connect the controllers to each other using an RJ45 network cable. Simply
use wires 3, 2, and 1 as shown in fig. 3.5.
Fig. 3.5 Connection to Multiple Controllers via RS485
In order to correctly transfer data, the controllers on the RS485 bus must be
connected in a daisy chain format, as shown in Fig. 3.6.
RS485
RS485

26
ENT
ARM
EverAccess
0
CLR
WXYZT U VPQRS
M N OJ K LG H I
3
D E FA B C
2
1
456
98
7
SYS SYS
789
65
4
12
A B C D E F
3
G H I J K L M N O
PQRS T U V WXYZ
CLR 0
SYS
789
65
4
12
A B C D E F
3
G H I J K L M N O
PQRS T U V WXYZ
CLR 0ENT
ARM
EverAccess EverAccess
ARM
ENT
Figure 3.6 The Daisy Chain Connection Controller to Controller
Two common INCORRECT connection methods are displayed in Fig.3.7 as well.
EverAccess
SYS
789
65
4
12
A B C D E F
3
G H I J K L M N O
PQRS T U V WXYZ
CLR 0
ARM
ENTENT
ARM
EverAccess
ENT
ARM
EverAccess
SYS
789
65
4
12
A B C D E F
3
G H I J K L M N O
PQRS T U V WXYZ
CLR 00
CLR
WXYZT U V
PQRS
M N OJ K LG H I
3
D E F
A B C
2
1
456
987
SYS
0
CLR
WXYZT U VPQRS
M N OJ K LG H I
3
D E FA B C
2
1
456
98
7
SYS
SYS
789
65
4
12
A B C D E F
3
G H I J K L M N O
PQRS T U V WXYZ
CLR 0ENT
ARM
EverAccessEverAccess
ARM
ENT
EverAccess
ARM
ENT
EverAccess
ENT
ARM
0
CLR
WXYZT U VPQRS
M N O
J K L
G H I
3
D E FA B C
2
1
456
98
7
SYS
SYS
789
65
4
12
A B C D E F
3
G H I J K L M N O
PQRS T U V WXYZ
CLR 0
Figure 3.7 Two INCORRECT Connections
Connection to Multiple Controllers via RS485
Up to 127 controllers can be connected to each desktop reader via RS485 bus. The
correct RS485 connection method has been briefly introduced in the section entitled
“RS485 Bus Extension”. Here are the details to connect multiple controllers via
RS485, shown as Fig. 3.8. The terminal 10, 11 and 12 on the main module should be
connected to the upper level controller’s terminal 10, 11 and 12.

27
EverAccess
RXTX
CARDPOWER
3
2
1
1
8
10
11
12 12
11
10
Fig. 3.8 Connection to Multiple Controllers via RS485
TCP/IP Based System
It is also possible to network the controller via TCP/IP in order to remotely manage
the controller over internet or intranet. This is accomplished using the EverAccess
LAN adaptor (part number EA-LAN1) to convert RS232 /RS485 signals to TCP/IP.
Fig. 3.9 diagrams this type of installation.
ARM
ENT
0
CLR
WXYZT U V
PQRS
M N OJ K LG H I
3
D E F
A B C
2
1
456
98
7
SYS
Serial
10Base-T Reset 9-30vdc
ENT
ARM
EverAcces sEverAccess
SYS
789
654
12
A B C D E F
3
G H I J K L M N O
PQRS T U V WXYZ
CLR 0
Figure 3.9 Diagram for TCP/IP based System
The following is a step by step guide to setting up an EA-LAN1 network adaptor.
Step 1: Install the EA-LAN1 software on the Installation PC using the CD included
with the EA-LAN1. Make sure that the installation PC is connected to the network
that will be used to manage the controller.
Step 2: Connect the EA-LAN1 to the local area network using a LAN cable, and
power up the EA-LAN1.
RS485
W
AN/LAN
T
CP/IP
T
CP/IP
RS485 to TCP/IP
converter
Controller Controller

28
Step 3: Using the software that you installed in Step 1 on the Installation PC, locate
the EA-LAN1 on the local area network and change the IP address on the EA-
LAN1.
Step 4: Configure the EA-LAN1 as described in the detailed description later in this
guide.
Step 5: Connect the EA-LAN1 to the controller. (Note: Perform this step only after
successfully completing steps 1-5)
Step 6: Install the “COM Port Simulator” driver on the Admin PC using the CD
included with the EA-LAN1, and map the COM Port to be used.
Step 7: Confirm that the controller is now available on the network. At the Admin
PC, open the EverAccess Flex Software and connect to the controller using the
COM Port mapped in Step 7.

29
Connecting Power
Connecting the Power Supply
Connect the positive end to the terminal 18 on the main module and the GND to
terminal 19 on the main module, as shown in Fig. 4.1.
V+V-
Fig. 4.1 Connection to Power Supply
The voltage supply for EverAccess controller can handle a range of DC 9V ~18V.
The maximum current draw of the controller is 500 mA. If the backup battery is
connected to the controller, a power supply with DC15V output is required. The
power supply in the EverAccess enclosure is DC15V. In addition, the controller
provides a 12V power supply for the card readers. It should be noted that if a
controller powers multiple card readers, the current draw will be increased. The total
current draw can be calculated as below:
controllertoconnectedreadersreadercontroller numbercurrentCurrent
×
+
=500
Important Tips: The voltage supply should be located no more than 2
meters from the controller. Also, electric locks and alarm devices MUST be
powered separately. The controller’s power supply can power the controller
and modules, and the card readers, but NOT the locking hardware or alarm
devices.
Chapter
4
Main module

30
Mount a Backup Battery (optional)
If the installer chooses, a backup battery may be mounted in the EverAccess
enclosure and connected to the controller to provide backup power in the event of
external power loss. Once the battery is installed, it will charge off the external power
until it is needed, at which time it will automatically be used to power the system.
Connection to Backup Battery
Connect the positive end of the backup battery to terminal 20 and the negative end of
the backup battery to terminal 21, as shown in Fig. 4.2.
Fig. 4.2 Connection to Backup Battery
If a backup battery is connected, the controller will automatically switch to backup
power in the event that the external power is lost. The backup battery will charge
while external power is being supplied.
In general, the larger the battery capacity is, the longer it can support the controller.
Roughly speaking, a 12AH battery can provide 4 hours of energy for a controller
containing 4 door modules, 1 alarm modules and 8 card readers.
Reset Controller
Before turning the power on, please double check to ensure that all the wiring and
connections are correct. In order to restore factory default settings, switch the power
on while holding down the RESET switch. The RESET switch is shown in Fig 4.3
Main module
+
–

31
Reset
Fig. 4.3 Reset switch
Cover Placement
• The cover has two latches on the interior of the top horizontal edge. Place
these latches in the corresponding holes on the top horizontal edge of the
controller base board.
• Once the latches are in place, the bottom portion of the cover will fit easily
over the rest of the controller base board.
• Using the screws (provided in the controller package), secure the cover to the
controller base board along the exterior of the horizontal bottom edge.
Before First Use
The operations must be performed in preparation before the first use:
1. Set the date and time for the controller
2. Set the controller address
a
b
c

32
3. Configure reader properties
4. Configure alarm settings
5. Configure door setting
6. Configure the holidays and schedules

33
Controller Functionality
and Configuration
Please Note: If you are using the EverAccess Flex Series Software skip to
Chapter 6.
This chapter introduces system functions and their corresponding operations. Most
basic operations can be performed on the controller keypad. Some advanced
functions require the EverAccess Flex Series software. Please refer to the software
manual for more details.
General Operation Guideline
1 2 3 ARM
4 5 6 ▲
7 8 9 ▼
CLR 0 ENT SYS
The controller’s 4x4 keypad is shown above. enters the system menu,
A
RM
arms
or disarms the system. The system menu is organized in a multiple-level structure.
and toggle between the same level menu. cancels or exits back to the
higher level menu.
Enter System Configuration
After the system installation is complete, the controller LCD will display the current
date and time. This display is the default screen, and will be displayed until the user
logs in to the system configuration by entering a password. After logging in to the
system administration, pressing the CLR key once for each menu level will log the
user out. In addition, after one minute of inactivity, the controller will automatically
log the user out.
Chapte
r
5
CLR
SYS

34
Pressing
SYS
on the keypad will bring up a prompt to enter a password, as shown
below:
Enter the system password and press
ENT
. If an incorrect password is entered three
times successively, the system will alarm automatically and lock the keypad for a
period of one minute.
The factory default password is 000000. In order to secure the controller, change the
password after the first login and keep the password in a safe place.
Display the Firmware Version
From the home screen, press to show the version information of the currently
installed firmware. An example is shown below:
Display the Number of Installed Modules
From the home screen, press to show the number of installed door modules
and alarm modules. An example is shown in the following figure. In this example, 4
door modules and 1 alarm module are installed in the controller.
Main Setting Items
The first level menus are displayed after entering the system menu. Use
and
to toggle between menu options. The first level menu items are shown below:
System Setting Menu
Card Setting Menu
Reader Setting Menu
0
1
EverAccess
VER1.03
04-Door Modules
01-Alarm Modules
Reader Setting
Card Setting
System Setting
2005-12-16
FRI 09:38
1
Password
______

35
Door Setting Menu
Alarm Setting Menu
ArmZone Setting Menu
Address Setting Menu
Once the desired item is displayed, press
ENT
to enter the corresponding menu.
System Setting
In the System Setting menu, the user can set basic functions, such as system date,
time, password, etc.
Enter System Setting Menu
The following window appears after entering the system menu:
Press
ENT
to enter System Setting menu. Use and to choose from
different menu options. All menu options in the System Setting Menu are introduced
below:
Set Date Format
User can choose between two date formats: ‘MM-DD-YYYY’ or ‘YYY-MM-DD’.
To change this option, use the arrow keys to display “Set Date Format”, and press
ENT
once the window below is displayed.
The current date format used will appear. Press
ENT
to toggle between two formats.
Press to exit without changing the setting.
Set Date Format
MM-DD-YYYY
[ENT] to Toggle
YYYY-MM-DD
[ENT] to Toggle
System Setting
Address Setting
ArmZone Setting
Alarm Setting
Door Setting
CLR

36
Set Date
Under the System Setting Menu, press
ENT
at the window below to set the date.
The LCD will display the following menu. Use the numerical keys to enter the
current date as a six-digit number: (YY:MM:DD). The year must be in the range
2000-2099. Press
ENT
to confirm the new date.
The date and time can be set at the controller. However, if the controller is connected
to a PC with EverAccess Flex Series software installed, the software will automatically
modify the controller date and time to match the time on the PC. If the controller
date and time are found to be incorrect, check the date and time on the management
PC.
Auto Daylight Savings Time
Under the System Setting Menu, press
ENT
to adjust the settings for Auto Daylight
Savings :
Press
ENT
to toggle the setting between Enabled/Disabled, Press to exit
When auto daylight savings is turned on, the controller will automatically adjust DST
one hour forward from 1:59:59am to 3:00:00am on the first Sunday in April, and
adjust it back one hour from 2:59:59am to 2:00:00am on the last Sunday in October.
Set Time
Under the System Setting Menu, press
ENT
at to set the time.
The LCD will display the following menu. Use the numerical keys to enter the
current time as a six-digit number (HH:MM:SS). The time must be in the range
00:00:00--23:59:59. After entering the time, press
ENT
to confirm.
Auto Daylight
Saving: Disabled
Auto Daylight
Saving: Enabled
Auto Daylight
Saving Time
CLR
Set Time
Set Date
__-__-20__
Set Date

37
Set System PIN
A System PIN must be entered before the user can make management changes via
the controller keypad. The factory default System PIN is 000000. It is recommended
that the password is changed after the initial log-in for maximum security. Be sure to
keep the new password; if lost the system can only be accessed after purging all stored
data using on the keypad.
Under the System Setting Menu, press
ENT
to set system PIN.
The LCD will display the following menu.
Enter a new system PIN. Enter it a second time to confirm. Press
ENT
to set the new
system PIN. Pressing at any time will exit the menu without changing the
system PIN.
Set Arm PIN
Arm PIN must be entered before the controller can be armed or disarmed via
controller keypad. The factory default arm PIN is 000000.
Under System Setting menu, press
ENT
at the window below to set arm PIN.
The LCD will display the following menu.
Enter a new arm PIN. Enter it a second time to confirm. Press
ENT
to set the new
arm PIN.
Erase All Events
The controller will record all events that occur, beginning immediately upon
powering on. These events can be purged by following the instructions below. If the
Set Time
__:__:__
Set SYS PIN
Input:
______
Set ARM PIN
Input:
______
CLR
CLR

38
controller is never connected to a PC, then old records will be automatically
overwritten when storage space is full (16,000 events max.).
Under the System Setting Menu, press
ENT
at the window below to erase all events.
LCD will prompt the user to confirm the action:
Pressing
ENT
will result in all events being permanently erased.
Reset All Data and Settings
This function is used to reset all settings to factory set default values.
Under the System Setting Menu, press
ENT
at the window below to reset all settings.
The LCD will prompt the user to confirm the action. Press
ENT
to confirm and
perform the reset action.
Card Setting
Card setting can be configured using either the controller or the EverAccess Flex
Series software. Using the Flex Series software is the easiest way to enroll cards,
however, enrolling at the controller can be useful if the controller is offline. The
process is described below.
Enter Card Setting Menu
Under the System Menu, press once to bring up the following window:
Press
ENT
to enter the Card Setting menu. Use and to choose from
different menu options. All menu options under the Card Setting menu are
introduced below:
Erase All Events
Are You Sure ?
[ENT] to Confirm
Reset All Data
& Settings
Card Setting

39
Add Cards
When a new card is added, the controller will automatically assign an index number in
the order of enrollment. The index number here is not related to the card number in
the EverAccess Flex Series software. Users do not need to take care of this number.
Under the Card Setting menu, press
ENT
at the window below to add a card.
Press
ENT
and enter an serial number on the card, as shown below:
Press
ENT
to confirm and the system will add the card to the controller database. The
user can also present the card at the system reader at this time, which will
automatically acquire the index number of the new card and add it to the controller.
Delete Cards
The user can directly delete an individual card with a specific index or serial number
from the controller, or delete all cards at once. Under the Card Setting menu, press
once to bring up the following window:
Press
ENT
to enter the submenu for the following three methods of deleting cards.
Delete a Card by Serial Number
The controller can delete a card according to its serial number, which is printed on
the face of each card. At the following window:
Press
ENT
and the system will prompt the user to enter a serial number, as
shown below:
After entering the serial number, press
ENT
to delete this card.
Add Cards
Index #
:
0001
Serial#
:
________
Delete Cards
Delete a Card
By Serial #
Card Serial #
________

40
Delete All Cards
All cards can be deleted at once. At the following window:
Press
ENT
and system will prompt the user to confirm deletion:
Press
ENT
again to delete all cards.
Caution: this operation will permanently delete ALL cards from the controller
database.
Set Card Properties
Under the Card Setting menu, press twice to bring up the following window:
Press
ENT
and system will prompt the user to enter serial number, as shown below:
After entering the serial number, press
ENT
to enter the submenu for setting card
properties. Each card has 6 properties that can be modified. Use
and
to
choose desired properties.
Status Setting
A card can be set as enabled or disabled at the following submenu:
Press
ENT
and system will show the status of current card as the figure below. Press
ENT
to toggle between the two statuses. Press to exit without effecting any
change.
Card Enabled
[ENT] to Toggle
Card Disabled
[ENT] to Toggle
Delete All Cards
Are You Sure ?
[ENT] to Confirm
Set Card
Properties
Card Serial #:
________
Status Setting
CLR

41
Access Right Setting
Access rights of a card can be set using the following submenu:
Press
ENT
and system will show the access right of current card on all doors. Y
means the card has the right to pass the door, and N means the card does not have
the right. Flex controller will display the corresponding number of doors according to
installed door modules. In the example below, 4 door modules (8 doors) have been
installed on the controller. Press corresponding numeric keys to change access right
of current card on the door. Press
ENT
to confirm. Press to exit without
effecting any change.
Group Setting
Each card belongs to an access group. Different group has different access rights and
time zone setting. Flex control support a maximum of 64 groups, each of which
supports a maximum of 32 time zone settings and defines access rights for all doors
in the system. Group setting is so complicated a process that it can only be performed
using the EverAccess control software. User can directly set group number for each
card using controller interface, but controller does not provide group setting function.
At the following submenu, press
ENT
to enter Group setting:
The group number of the current card will be displayed, as shown below:
Press numeric keys to enter the desired group number. Press
ENT
to confirm. Press
to exit without effecting any change.
Set Card PIN Setting
Each card in the EverAccess access control system is associated with a 4-digit PIN.
The PIN status can be set as enabled or disabled and if enabled, user is required to
enter the PIN every time he enters/exit the door if the reader is a keypad reader.
At the following submenu, press
ENT
to enter PIN setting:
Access Right
Setting
12345678
YYYYYYYY
Group Setting
Set Group:
01
CLR
CLR

42
The PIN status of the current card, i.e., enabled or disabled, will be displayed as
shown below. Press
ENT
to toggle between two statuses. Press to exit.
When PIN is set enabled, press or to set PIN as shown below. Enter 4-
digit PIN and press
ENT
to confirm.
The default PIN is 6 zeros. The duplicated PIN in the system is not allowed. If the
typed PIN has existed in the system, the system will prompt that the PIN is
duplicated.
Anti Passback (APB) Setting
EverAccess access control system features the Anti Passback (APB) function on each
card. If APB is enabled, cardholder must pass the door in the alternating enter/exit
order. That is, if the card is swiped to enter the door, then next time the card can only
be allowed to exit that door. If cardholder attempts to enter the same door again
without first swipe the card to exit the door, access is denied and the door will not
open.
At the following submenu, press
ENT
to enter Anti Passback setting:
The APB status of the current card, i.e., enabled or disabled, will be displayed as
shown below. Press
ENT
to toggle between two statuses. Press to exit.
Note: Anti-Passback (APB) is an access control function whereby a cardholder is
prevented from “passing back” his card to another person to gain entry into the same
area twice, without leaving. Facilities are typically fitted with both Entry and Exit
readers when Anti-Passback is implemented. A cardholder must alternate usage
between entry and exit readers. If the cardholder attempts to pass through an entry
Set PIN
______
PIN Setting
Anti-Passback
Setting
CLR
CLR
PIN Enabled
[ENT] to Toggle
PIN Disabled
[ENT] to Toggle
APB Enabled
[ENT] to Toggle
APB Disabled
[ENT] to Toggle

43
reader twice consecutively, his access will be denied and the system will generate an
illegal event when the cardholder’s card is configured as APB enabled. Be careful to
enable this function in the system with only single side readers installed somewhere.
Card ARM Setting
If a card with arm/disarm function is swiped on the reader, system will temporarily
disarm for a short time so that cardholder can enter arm zone without generating an
alarm. The disarm time is equal to the door open time.
At the following submenu, press
ENT
to enter ARM setting:
The arm status of the current card, i.e., enabled or disabled, will be displayed as
shown below. Press
ENT
to toggle between two statuses. Press to exit.
Show Card Number
This function can be used to show the serial number of a card when it is swiped on
the system reader. Under Card Setting menu, press three times to bring up the
following window:
Press
ENT
and swipe the card on the system reader. The serial number of the card
will be displayed as shown below. Press to exit.
Reader Setting
Card reader properties can be directly set on the controller, including whether
the reader is keypad reader, the allocation of readers to doors, and system reader
etc.
Enter Reader Setting Menu
Under System menu, press twice to bring up the following window:
Show Card Number
Index #:____
Serial#:________
Reader Setting
ARM Setting
CLR
CLR
ARM Enabled
[ENT] to Toggle
ARM Disabled
[ENT] to Toggle

44
Press
ENT
to enter Reader Setting menu. Use and to choose from
different menu options. All menu options under Reader Setting are introduced below:
Keypad Setting
Keypad Setting defines whether the reader is a keypad reader. For a keypad reader, if
the password property of the card is set as enabled, and the access right of the door is
set as card plus password, then user is asked to enter password when the card is
swiped on the keypad reader. At the following submenu:
Press
ENT
to enter keypad setting. System will show keypad setting status of all
installed readers. Y means the reader is a keypad reader, and N means the reader is a
non-keypad reader. By default, every reader is set as a non-keypad reader. Flex
controller will display the door number according to the number of installed door
modules. In the following example, 4 door modules (8 readers) have been installed on
the controller.
Press numeric keys to toggle the keypad setting of corresponding reader. Press
ENT
to confirm. Press to exit without effecting any change.
Reader to Door Allocation
EverAccess controller can be flexibly configured. Readers can be allocated to
different doors, and can be set as ENTER only or EXIT only. By default, each reader
is allocated as ENTER only to the door with the reader’s number. At the following
submenu:
Press
ENT
to enter Reader to Door Allocation setting. System will show the
allocation of the first reader to door as follows:
Press any of the 1-8 numeric keys to allocate the current reader to corresponding
doors. (This depends on the actual door modules installed on the controller) Press the
same numeric key to toggle between ENTER only and EXIT only. Press
or
to select reader. Press to exit.
Keypad Setting
12345678
NNNNNNNN
Reader to Door
Allocation
Reader-1
Door-1-IN
CLR
CLR

45
System Reader Setting
System reader can be used to acquire the card’s serial number when controller
configures the card. User can set any reader that connects to the controller as the
system reader. At the following submenu:
Press
ENT
to enter System Reader setting. System will show current status of all
readers as shown below. Y means the reader is the system reader, N means it’s not.
By default, the first reader is set as the system reader.
Press any of the 1-8 numeric keys to change the system reader setting of
corresponding readers. Press to exit.
Door Setting
Every door module controls two door relays. EFC-02 controller can control up to 8
doors in total, defined as door 1 to 8 from left to right. According to card reader
setting above, users can allocate multiple readers to one single door. User can directly
set door open time, door held open time and the door control at fire alarm on the
controller.
Enter Door Setting Menu
Under System menu, press three times to bring up the following window:
Press to enter Door Setting menu. Use and to choose from different menu
options. All menu options under Door Setting are introduced below:
Open Time Setting
This sets the door open time when the card is swiped or open door button is pushed.
The default time is 3 seconds. The maximal door open time supported by the
controller is 999 minutes and 59 seconds. The door remains open as long as the open
door button is pushed down. The door open time does not count until the button is
released. At the following submenu:
System Reader
Setting
12345678
YNNNNNNN
Door Setting
Open Time
Setting
CLR

46
Press
ENT
to enter Open Time setting. In the menu shown below, press numeric key
1~8 to enter the desired door number in the Door field. (The max number depends
on the actual door modules installed in the controller) Enter the desired door open
time in the OpenTime field: enter minutes as a 3-digit number 0~999, and enter
seconds as a 2-digit number 0~59. Press
ENT
to confirm. Press to exit without
effecting any change.
Set Door Hold Open Time
Door sensor monitors the open/close status of a door. If normal open is not set by
the system (door is normally considered closed), then door should close after opening
for a while. It is considered abnormal if controller does not receive the door close
signal from door sensor a reasonable amount of time after the door is opened. This
time period is call door hold open time or door over time. According to this setting,
EverAccess controller will determine whether to generate an alarm or not after the
door sensor timeouts. The default value of door hold open time is 5 seconds. The
maximal door hold open time supported by the controller is 999 minutes and 59
seconds.
At the following submenu:
Press
ENT
to enter Door Hold Open Time setting. In the menu shown below, press
numeric key 1~8 to enter the desired door number in the Door field. (The max
number depends on the actual door modules installed in the controller) Enter the
desired door hold open time in the OpenTime field: enter minutes as a 3-digit
number 0~999, and enter seconds as a 2-digit number 0~59. Press
ENT
to confirm.
Press to exit without effecting any change.
Set Door Behavior at Fire Alarm
The controller allows the user to choose one of two behaviors to occur when a fire
alarm is triggered: fail-safe or fail-secure. Door fail-safe at fire alarm means the door
will be kept unlocked when there is a fire alarm input. Door fail-secure at fire alarm
means the door will be locked when the fire alarm comes in. At the following
submenu:
Door:[_]
OpenTime
:
___M__S
Over Time
Setting
Door:[_]
OverTime
:
___M__S
Door
C
ontrol at
Fire Alarm
CLR
CLR

47
Press
ENT
to enter Door Control at Fire Alarm setting. In the menu shown below,
press numeric key 1~8 to toggle the door control between fail-safe and fail-secure.
(The numbers correspond to the number of door modules installed in the controller)
“Y” indicates fail-safe; “N” indicates fail-secure. Press
ENT
to confirm. Press to
exit without effecting any change.
The default setting for door control at fire alarm is all the doors are fail-safe, i.e. all the
doors will be unlocked during a fire alarm.
Alarm Setting
EverAccess Flex controller is equipped with powerful alarm functions. With alarm
modules and door modules fully installed, the controller can accommodate up to 10
alarm inputs and 18 alarm outputs. At the meantime, EverAccess Flex controller also
provide very flexible configuration. Any event can be arbitrarily allocated to single or
multiple alarm outputs. Alarm components, configuration basics, and menu settings
are introduced below.
Components for Alarm
EverAccess Flex controller consists of two basic components: one main module and
one door module. User can install three more door modules and one alarm module.
These three types of module are all equipped with alarm function. The main module
has 2 alarm inputs, corresponding to fire alarm and Alarm In 0 . It has 2 alarm
outputs as well, called Main Alarm Output and Auxiliary Alarm Output respectively.
Each door module has 2 alarm outputs, which usually react to alarm events on the
corresponding door. However, it can be set to react to other alarm events as well.
Alarm outputs on the door module can connect up to 5A external alarm devices.
Alarm module has 8 alarm inputs and 8 alarm outputs. 8 alarm inputs can connect to
external alarm input devices, such as PIR motion sensor, glass sensor and etc. 8 alarm
outputs can connect up to 2A external alarm devices.
The above mentioned are physical devices providing alarm function. User can freely
define the allocation of any input to any output. The following section outlines basic
concepts for events, alarm and configuration.
Alarm Configuration Basics
EverAccess Flex controller keeps tracking all events in the access control system,
either legal or illegal, either normal or abnormal, for example, the granted access, the
denied access and so on.
12345678
YYYYYYYY
CLR

48
Some events are critical which must trigger the alarm output, like the firm alarm input,
the zone alarm input and etc. But some events are not that important to trigger the
alarm output, like the denied access due to the invalid time. These settings all depend
on the users’ requirements. EFC-02 controller collects all events that might trigger the
alarm output and provides the full capacity to enable or disable the alarm output on
these events.
Sometimes user wishes to allocate a particular event to a particular alarm output, or
allocate alarm inputs in certain area to multiple alarm outputs. EFC-02 controller
delivers all the function and flexibility user need. User can define whether certain
event will trigger an alarm, and can further specify to which alarm output that event is
allocated.
All events that might trigger an alarm are listed below:
Fire alarm, zone alarm 1~8, unknown card, expired card, invalid card, invalid door,
invalid time, card anti-pass back fail, card PIN fail, SYS PIN fail, ARM PIN fail, door
forced open, door held open, reader lost, Alarm In 0 and remote alarm
All these events can be allocated to any alarm relay output on main module, door
module, and alarm module. The detailed configuration method is introduced in the
following section.
Enter Alarm Setting Menu
Under System menu, press fours times to bring up the following window:
Press
ENT
to enter Alarm Setting menu. Use and to choose from different
menu options. All menu options under Alarm Setting are introduced below:
Alarm Setting Menu Structure
There are three submenus under Alarm Setting, as shown below:
Alarm Setting
A
larm Setting
A
larm Action Settin
g
Extended Alarm Setting
A
larm Time Settin
g

49
Alarm Action Setting menu is used to configure alarm outputs of all events on main
module and door module. The submenu for arm zone events will not appear if no
alarm module is installed.
Extended Alarm Setting menu is used to configure alarm outputs of all events on
alarm module. This menu will not appear if no alarm module is installed.
Alarm Time Setting is used to configure the time period of alarm outputs.
Enter Alarm Action Setting Sub-menu
The following window appears after entering the Alarm Setting menu:
Press
ENT
to enter Alarm Action Setting menu. The first submenu is for fire alarm
outputs. Use
and to choose from different alarm menus for different
events. Alarm output configuration for all events is basically the same. As an example,
alarm output configuration for invalid card event is introduced below. The figure
below shows the menu interface:
The upper line indicates the card to be configured, i.e., invalid card. The first 8
characters of the lower line are alarm output status of this event on the door module,
while the 2 characters following the minus sign are alarm output status on the Main
alarm output and Auxiliary alarm output on the main module. Y indicates there is
alarm output (relay energized) and N indicates there is no alarm output (relay not
energized). R refers specifically to alarm output relay on the door module, indicating
that alarm output will be generated only if the event occurs on the corresponding
door.
In the above example, the alarm output relay on door #1 will be energized if and only
if the access request on door #1 is denied due to the invalid card event. On the
contrary, the alarm output relay on door #8 will be energized as long as an invalid
card event occurs. For alarm output relay on door #2~7, no alarm output will be
generated due to the invalid card event. The NN following the minus sign indicates
no alarm output from the Main alarm output and Auxiliary alarm output on main
module when an invalid card event occurs.
In this menu, press numeric key 1~8 to toggle the alarm output status of this event
on the door module among Y, N, and R. Press numeric key 9,0 to toggle the alarm
output status of this event on the Main alarm output and Auxiliary alarm output on
the main module between Y and N.
Alarm Action
Setting
Invalid Card
RNNNNNNY-NN

50
Alarm output configuration for all events under this menu follows the similar style in
the above example.
Note: in the above example all 4 door modules are installed. In case less than 4 door
modules are installed, positions corresponding to uninstalled modules are replaced
with minus sign ‘-’, as shown below:
The figure shows the case where 3 door modules are installed. Alarm output status on
the main module is stilled configured by pressing numeric key 9,0.
Enter Extended Alarm Setting Sub-menu
Under Alarm Setting menu, press once to bring up the following window:
Press
ENT
to enter Extended Alarm Setting submenu. The first submenu is for fire
alarm outputs. Use
and to choose from different alarm menus for different
events. Alarm output configuration for all events is basically the same. As an example,
alarm output configuration for invalid card event is introduced below. The figure
below shows the menu interface:
The upper line indicates the card to be configured, i.e., invalid card. The first 8
characters of the lower line are alarm output status of this event on the alarm module.
Y indicates there is alarm output (relay energized) and N indicates there is no alarm
output (relay not energized).
In the above example, alarm output relays on all alarm modules will not be energized
and no alarm outputs will be generated due to the invalid card event.
In this menu, press numeric key 1~8 to toggle the alarm output status of this event
on the alarm module between Y and N. Alarm output configuration for all events
under this menu follows the similar style in the above example.
In what follows, definitions of all events and configuration methods are introduced.
Fire Alarm
For correspondence between fire alarm and doors, please refer to “connection to fire
alarm input” in chapter 4. In case of fire alarm input, controller will generate fire
Invalid Card
RNNNNNNN-NN
Extended Alarm
Setting
Invalid Card
NNNNNNNN

51
alarm output according to this setting. By default, only the Main alarm output on
main module has alarm output per Fire Alarm event, as shown in the following two
figures. Change settings according to sections “Enter Alarm Action Setting Sub-
menu” and “Enter Extended Alarm Setting Sub-menu”.
Zone Alarm 1~8
Zone alarm reacts to 8 alarm inputs on alarm module. Zone alarm should be
triggered when any alarm event occurs in any arm zone. The default setting for Alarm
Action Setting and Extended Alarm Setting per Zone Alarm event is shown in the
following two figures, respectively. Change settings according to sections “Enter
Alarm Action Setting Sub-menu” and “Enter Extended Alarm Setting Sub-menu”.
SYS PIN Fail
Please refer to section “Gain Access to System Configuration” in this chapter. A SYS
PIN Fail event will be generated when user enters the PIN to enter system setting
and a wrong PIN is entered three times consecutively. The default setting for Alarm
Action Setting and Extended Alarm Setting is: only Main alarm output on main
module has alarm output per SYS PIN fail event, as shown in the following two
figures, respectively. Change settings according to sections “Enter Alarm Action
Setting Sub-menu” and “Enter Extended Alarm Setting Sub-menu”.
ARM PIN Fail
User is required to enter PIN when pressing ARM key to arm or disarm the system.
An ARM PIN Fail event will be generated when a wrong PIN is entered three times
consecutively. For how to arm/disarm the system, please refer to later section
“ARM/DISARM”. The default setting for Alarm Action Setting and Extended
Alarm Setting is: only Main alarm output on main module has alarm output per ARM
PIN fail event, as shown in the following two figures, respectively. Change settings
according to sections “Enter Alarm Action Setting Sub-menu” and “Enter Extended
Alarm Setting Sub-menu”.
ARM PIN Fail
NNNNNNNN
SYS PIN Fail
NNNNNNNN-YN
SYS PIN Fail
NNNNNNNN
Zone-1 Alarm
NNNNNNNN
Zone-1 Alarm
NNNNNNNN-NN
Fire Alarm
NNNNNNNN
Fire Alarm
NNNNNNNN-YN
ARM PIN Fail
NNNNNNNN-YN

52
Alarm IN 0
Alarm In 0 event will be generated when Alarm In 0 input is active. The default
setting for Alarm Action Setting and Extended Alarm Setting is: only Main alarm
output on main module has alarm output per Alarm In 0 event, as shown in the
following two figures, respectively. Change settings according to sections “Enter
Alarm Action Setting Sub-menu” and “Enter Extended Alarm Setting Sub-menu”.
Remote Alarm
System administrator can directly generate alarm signal using control software when
he observes abnormal condition through surveillance system such as CCTV. This is
defined as a Remote Alarm event. The default setting for Alarm Action Setting and
Extended Alarm Setting is: only Main alarm output on main module has alarm output
per remote alarm event, as shown in the following two figures, respectively. Change
settings according to sections “Enter Alarm Action Setting Sub-menu” and “Enter
Extended Alarm Setting Sub-menu”.
Unknown Card
Unknown card refers to a card that is never logged in the system. An Unknown Card
event will be generated when an unknown card is swiped on the reader. The default
setting for Alarm Action Setting and Extended Alarm Setting is: no alarm output is
generated per unknown card event, as shown in the following two figures,
respectively. Change settings according to sections “Enter Alarm Action Setting Sub-
menu” and “Enter Extended Alarm Setting Sub-menu”.
Expired Card
Any card in the system is usually assigned a valid date. After the valid date is passed
the controller will automatically set the card as an expired card. An expired card
cannot gain access to the system. At the same time, an Expired Card event will be
generated when an expired card is swiped on the reader. The default setting for Alarm
Action Setting and Extended Alarm Setting is: no alarm output is generated per
expired card event, as shown in the following two figures, respectively. Change
settings according to sections “Enter Alarm Action Setting Sub-menu” and “Enter
Extended Alarm Setting Sub-menu”.
Unknown Card
NNNNNNNN
Unknown Card
NNNNNNNN-NN
Remote Alarm
NNNNNNNN
Alarm In 0
NNNNNNNN-YN
Alarm In 0
NNNNNNNN
Remote Alarm
NNNNNNNN-YN

53
Invalid Card
To disable a card, user can directly set the card as invalid card. An invalid card cannot
gain access to the system. At the same time, an Invalid Card event will be generated
when an invalid card is swiped on the reader. The default setting for Alarm Action
Setting and Extended Alarm Setting is: no alarm output is generated per invalid card
event, as shown in the following two figures, respectively. Change settings according
to sections “Enter Alarm Action Setting Sub-menu” and “Enter Extended Alarm
Setting Sub-menu”.
Invalid Door
Each card belongs to an access group. Each group has its own allowed doors and
time zones. That is, cards in the group have rights to pass which door at which time.
An Invalid Door event will be generated when a card is swiped at any door it does
not have right to pass. The default setting for Alarm Action Setting and Extended
Alarm Setting is: no alarm output is generated per invalid door event, as shown in the
following two figures, respectively. Change settings according to sections “Enter
Alarm Action Setting Sub-menu” and “Enter Extended Alarm Setting Sub-menu”.
Invalid Time
Each card belongs to an access group. Each group has its own allowed doors and
time zones. That is, cards in the group have rights to pass which door at which time.
An Invalid Time event will be generated when a card is swiped at any time it does not
have right to pass. The default setting for Alarm Action Setting and Extended Alarm
Setting is: no alarm output is generated per invalid time event, as shown in the
following two figures, respectively. Change settings according to sections “Enter
Alarm Action Setting Sub-menu” and “Enter Extended Alarm Setting Sub-menu”.
Card Anti-Passback Fail
For what is an Anti-Passback, please refer to section Anti-passback (APB) Setting in
this chapter. A Card Anti-Passback Fail event will be generated when the APB
property of a card is set as enabled and that card is swiped twice consecutively on any
enter-door reader or exit-door reader. The default setting for Alarm Action Setting
Invalid Time
NNNNNNNN
Invalid Time
NNNNNNNN-NN
Invalid Door
NNNNNNNN
Invalid Door
NNNNNNNN-NN
Invalid Card
NNNNNNNN-NN
Invalid Card
NNNNNNNN
Expired Card
NNNNNNNN
Expired Card
NNNNNNNN-NN

54
and Extended Alarm Setting is: no alarm output is generated per card anti-passback
fail event, as shown in the following two figures, respectively. Change settings
according to sections “Enter Alarm Action Setting Sub-menu” and “Enter Extended
Alarm Setting Sub-menu”.
Card PIN Fail
For password setting, please refer to section “Set Card PIN Setting” in this chapter. A
Card PIN Fail event will be generated when the card is swiped at the reader and PIN
is required to gain access but the cardholder enters wrong PIN three times
consecutively. The default setting for Alarm Action Setting and Extended Alarm
Setting is: no alarm output is generated per card PIN fail event, as shown in the
following two figures, respectively. Change settings according to sections “Enter
Alarm Action Setting Sub-menu” and “Enter Extended Alarm Setting Sub-menu”.
Door Forced Open
A Door Forced Open event will be generated when controller detects that a door is
opened from the door sensor without any legitimate swipe card or door open button
push operation taking place. The default setting for Alarm Action Setting and
Extended Alarm Setting is: no alarm output is generated per door forced open event,
as shown in the following two figures, respectively. Change settings according to
sections “Enter Alarm Action Setting Sub-menu” and “Enter Extended Alarm
Setting Sub-menu”.
Door Held Open
A Door Held Open event will be generated when a door is opened by legitimate
swipe card or door open button push operation but is still not closed after the “over
time” in door setting has elapsed. The default setting for Alarm Action Setting and
Extended Alarm Setting is: no alarm output is generated per door held open event, as
shown in the following two figures, respectively. Change settings according to
sections “Enter Alarm Action Setting Sub-menu” and “Enter Extended Alarm
Setting Sub-menu”.
Door Held Open
NNNNNNNN-NN
Door Held Open
NNNNNNNN
Door Forced Open
NNNNNNNN
Door Forced Open
NNNNNNNN-NN
Card PIN Fail
NNNNNNNN
Card APB Fail
NNNNNNNN-NN
Card APB Fail
NNNNNNNN
Card PIN Fail
NNNNNNNN-NN

55
Reader Lost
A Reader Lost event will be generated when controller detects that the card reader
has no signal. The default setting for Alarm Action Setting and Extended Alarm
Setting is: corresponding relay on door module has alarm output, Main alarm output
on main module has alarm output, and no alarm output is generated on alarm module
per reader lost event, as shown in the following two figures, respectively. Change
settings according to sections “Enter Alarm Action Setting Sub-menu” and “Enter
Extended Alarm Setting Sub-menu”.
Enter Alarm Time Setting Sub-menu
According to system setting, if alarm is triggered by certain event, alarm output will
remain active until user resets the alarm or certain period of time called alarm time
has elapsed. In Alarm Time setting user can set the alarm time, i.e., the time an alarm
output remains active.
Under Alarm menu, press twice to bring up the following window:
Press
ENT
to enter Alarm Time Setting submenu. The current alarm time will be
displayed as shown below. Use numeric keys to enter the desired alarm time. Enter
minutes as a 3-digit number 0~999 and seconds as a 2-digit number 0~59. The
default value of alarm time is 1 minute. Press
ENT
to confirm. Press to exit
without effecting any change.
Armzone Setting
After an alarm module is installed, it defines 8 arm zones for its 8 alarm inputs.
EverAccess Flex Controller can treat alarm inputs in 8 arm zones in a very flexible
manner. These 8 arm zones can be armed or disarmed on the controller. For how to
arm/disarm the system, please refer to later section “ARM/DISARM”.
Enter Armzone Setting Menu
Under System menu, press five times to bring up the following window:
Reader Lost
NNNNNNNN
Reader Lost
RRRRRRRR-YN
Alarm Time
Setting
Alarm Time
001M00S
ArmZone Setting
CLR

56
Press
ENT
to enter Armzone Setting menu. Use and to choose from
different menu options. All menu options under Armzone Setting are introduced
below:
Set Active Armzone
An alarm input can be simply enabled or disabled by setting active arm zone. The
following window appears after entering the Armzone menu.
Press
ENT
to set active armzone. System will display the status of current arm zone as
shown below. Y means the arm zone is active and N means inactive. The default
setting of each arm zone is active (Y).
Press numeric keys 1~8 to toggle the status of corresponding arm zone between
Y/N. Press
ENT
to confirm. Press to exit without effecting any change.
Set ARM Delay Time
When an arm operation is executed, all active arm zones will enter ARM enabled
status only after a certain time delay, which is called ARM delay time. When an ARM
enabled card is swiped to pass a door, system will not generate an alarm within the
time delay period so that cardholder has time to disarm the system. The details to set
ARM delay time is as follows. The following window appears after entering the
Armzone menu.
Press
ENT
to set ARM delay time. System will display the current delay time as
shown below. Use numeric keys to enter the desired ARM delay time. Enter minutes
as a 3-digit number 0~999 and seconds as a 2-digit number 0~59. The default value
of ARM delay time is 1 minutes.
Press
ENT
to confirm. Press to exit without effecting any change.
Active Zone
Setting
12345678
YYYYYYYY
ARM Delay
Setting
ARM Delay Time
___M__S
CLR
CLR

57
Address Setting
Each device connected to the same RS485 bus must have a unique address for the
purpose of communications and control. When multiple controllers connect to PC
via an RS485 bus, each controller must be assigned a distinct address. Procedures to
set controller address are as follows:
Under System menu, press six times to bring up the following window:
Press
ENT
to enter Address Setting menu, as shown below:
Use numeric keys to enter desired address in the range 0000~9999. Press
ENT
to
confirm. Press to exit without effecting any change.
ARM/DISARM
After an alarm module is installed, it defines 8 arm zones for its 8 alarm inputs.
EverAccess Flex Controller can treat alarm inputs in 8 arm zones in a very flexible
manner. These 8 arm zones can be armed or disarmed on the controller as described
below.
Arm the System using the Controller Keypad
User must have the ARM PIN in order to utilize this function. Please refer to the
section “Set ARM PIN” in this chapter for instructions on how to set ARM PIN.
After system installation, the date and time information will be displayed on the LCD,
as shown below:
When
A
RM
on the keypad is pressed, the system prompts the user to enter a
password, as shown below:
After entering the password, press
ENT
to confirm. The default password is 000000.
Once the password is verified the current system ARM status will be displayed as
shown below:
Address Setting
Address
____
06-01-06
THU 10:16
Password
______
CLR

58
Press
ENT
to arm all active arm zones. The following message is displayed:
Press to exit. The controller will wait for the period of time defined as “alarm
delay” and then arm all active arm zones.
Disarm the System using the Controller Keypad
In order to utilize this function, the user must have the ARM PIN and the card must
be logged in as ARM enabled. Assume the system is in armed status. The user swipes
the card to enter the door. The controller will disarm all active arm zones in arm delay
time. For example, if the system is in armed status and a card is presented, the
controller will disarm all active arm zones for the amount of time assigned as the arm
delay. During this time, no alarm outputs will be generated even if an alarm input is
triggered.
Similar to the procedure to arm the system, press
A
RM
on the keypad. Enter the
ARM password and press
ENT
to confirm. After the password is verified the current
system ARM status will be displayed as shown below:
Press
ENT
to disarm all active arm zones. The following message is displayed:
Press to exit.
Clear the Alarm
When system is generating an active, ongoing alarm output, follow the procedure
below to clear the alarm.
At the window showing system time, press
A
RM
on the keypad. Enter the ARM
password and press
ENT
to confirm. After password is verified the following menu
window appears:
Reset Alarm?
[ENT] to Reset
System Disarmed
[ENT] to Arm
System Armed
[ENT] to Disarm
System Armed
[ENT] to Disarm
System Disarmed
[ENT] to Arm
CLR
CLR

59
Press
ENT
to clear the alarm. If system is currently armed user will be prompted to
disarm the system first. Please refer to previous section for how to disarm the system.
Arm/Disarm the System using a Reader
The whole system can also be armed and disarmed using a keypad reader. (The
reader must have an integrated keypad, and the keypad and system reader settings
must be enabled on the controller in order to utilize this feature. Please refer to
subsection “Reader Setting” for instructions on enabling these features.) The part
number for the EverAccess keypad reader is ERK-871.
The user must first enter a command to get into the arm operation mode. (The
command is introduced in step 1 below.) In the arm operation mode, the yellow
LED on the ERK-871 will show the four different system modes outlined below:
Yellow LED Status System ARM Status
OFF Indicates that the system is disarmed
ON Indicates that the system is armed
Flashing Slowly Indicates that the system is in arm delay period
Flashing Quickly Indicates that the system is armed and some
alarm input has triggered the alarm output.
The steps to arm or disarm the system at a keypad reader are as follows:
1. Press followed by the 6-pin ARM PIN. Press
again
2. The reader is now in the arm operation mode.
3. If the system is in disarmed mode (the yellow LED is OFF), press to
arm the system. The system will enter the arm delay period (the yellow LED
will slowly flash).
Note: The system will not enter the arm delay period, if an alarm input is
active when the user attempts to arm the system. In other words, after
is pressed, if the yellow LED remains off, the system cannot
enter the arm delay period because an alarm input is active.
If the system is in armed mode (the yellow LED is ON) or in the arm delay
period (the yellow LED is flashing slowly), press to disarm the system.
Then the system will enter the disarmed mode (the yellow LED will be off).
If the system is in alarm triggered mode (the yellow LED is flashing quickly),
press to clear the alarm. Then the system will get into the armed mode
(the yellow LED will be on)
1
#
0 0
1
1
1
1
#
#

60
4. In any system mode, press to exit the arm operation. If no key is
pressed for 20 seconds, the reader will automatically log out of the arm
operation mode.
*

61
Software Setup
Please Note: This is a brief instruction on EverAccess Flex Series Software for
a more detailed instruction guide please refer to the EverAccess Flex Series
Software Manual.
The next step after hardware installation is to configure the whole access control
system. Flex series controller has the ability to allow users configure the basic setting
through the keypad on the controller. But for the detailed, complicated settings, we
recommend to use the management software. To configure the system in software,
several major steps that you need to follow are shown as below:
1. Install the software in the control computer
2. Setup the user accounts who will use the software
3. Configure the controller and all other hardware settings
4. Configure the holidays, access group and the door control schedule
5. Enroll the cards and set the cardholders’ properties
Install the Software in the Control Computer
Just like installing any other software in the computer, inserts the software installation
CD into the CDROM, and run the setup program. Choose a special installation
folder if needed, otherwise just follow the setup wizard and choose the default
selection.
To run the software, you need the administrator privilege and the basic computer
requirement is as follows:
1. Pentium 3 CPU
2. Windows 2K, XP
3. 100M bytes free space in hard drive
4. 128M memory
For the details of the software installation and the minimum computer requirement,
please refer to the software manual.
Chapter
6

62
Setup the User Accounts for the Software
A
User
of Flex series access control software is a person who operates the software
at any user interface. Each user belongs to a certain authority group. The authority
group defines the authority level of users over the operations in the software.
Different authority groups have the different access to the operations in the software.
The first step to use the software is to setup a user list that defines who will be able to
use the software, and assign the authority group to each user. This user name and the
password will be required to login the software.
Please note that a user in admin group is required to configure all the other settings.
For the details to setup a user account, please refer to the software manual.
Configure the Controller and All Other Hardware
In this step, users need to set all the configurations for the controllers, doors, readers
and alarms. All these configurations are closely related to the hardware. The rough
sub steps are as below:
1. Add a controller to the system
Go to the controller configuration dialog box in the software. Click the ‘add’
button, give the RS485 address for the controller, set the serial port for the
controller and click the submit button to connect a controller.
If the wiring is correct and the address of the controller is valid, the software
should be able to find the controller and show the status of the controller as
‘online’. This indicates that the controller has been added to the system.
2. Configure the door settings
Door name, door open time and door held open time should be configured
in this step.
Door name is used to help users remember the door location and help make
the configuration process easier.
Door open time defines the amount of time that the door can remain open
after the door is unlocked, before an alarm is generated by the controller.
For more detailed information on door settings, please refer to the chapter in
this manual entitled “controller functionality and configuration”.
3. Configure the reader settings
Users can configure the following properties of the readers: the reader-to-
door allocation, the keypad reader and the system reader. For the more
details about the reader settings, please refer to chapter 6.

63
On the EFC-02, readers can be allocated to different doors, and can be set as
ENTER only or EXIT only. So set these properties following the system
access control plan.
Keypad Settings define whether the reader is a keypad reader.
The System Reader can be used to acquire the card’s serial number easily and
conveniently.
4. Configure the alarm settings
All of the alarm inputs can be assigned to the different alarm outputs. Also
users can set the events that can trigger alarm outputs.
Configure the Holidays, Access Group and Door Control Schedule
At this step, users will configure the holidays, access groups and the door control
schedule.
1. Configure the holidays
Users can add or delete holidays in the software. Beside holidays, two
additional types of dates are supplied in the system. Different access rules can
be applied to different dates.
2. Configure the access groups
An access group defines a group of cardholders who share the same access
rules at the associated access points and at specified times. Set the access rules
for the access group here. And assign the cardholder to a certain access group
in the next step.
3. Configure the door control schedule
On the Flex series controller, the door can be configured as normally open,
with card, with PIN and card, which means, respectively, the door will be
remain open, a valid card has to be presented, and both a valid card and a
PIN have to be presented to require the access.
Please refer to the software manual for the details.
Enroll Cards
This will explain the steps to enroll cards in the system. There are two ways to enroll a
card:
1. Enter the card number manually.
2. Present a card at the desktop reader and the card number will be added into
the system automatically.
The properties for each card should be input at this time. The primary properties are
card holder name, PIN, forced PIN, and access group. Users can configure the

64
cardholders individually or can do batch configurations if a group of cardholders
share common properties.

65
Notes

Head Office European Office
12F, No.79 Sec.1 Shin-Tai Wu Road, Albert-Einstein-Strasse 1,
Hsi-Chi, Taipei, Taiwan D-46446 Emmerich, Germany
Tel:+ 886-2-26982334 Tel: + 49-2822-9394-0
Fax:+ 886-2-26982380 Fax: + 49-2822-939495
USA Office Beijing office:
1801 Highland Ave. Room 609,Technology Trade Building.
Duarte, CA 91010 ,U.S.A Shangdi Information Industry Base,
Tel:+ 1-626-844-8888 Haidian District,Beijing China
Fax:+ 1-626-844-8838 Tel:+ 86-10-62971096
Fax:+ 86-10-62971423
Japan Office
1809 WBG Marive East 18F,
2-6 Nakase, Mihama-ku,
Chiba city 261-7118, Japan
Tel: + 81-43-212-8188
Fax: + 81-43-297-0081
EverAccess