Everfocus Ephd04 Users Manual
ephd04 to the manual be2e4e8f-47cf-45fd-bb20-653c8a3f093c
2015-02-02
: Everfocus Everfocus-Everfocus-Ephd04-Users-Manual-427227 everfocus-everfocus-ephd04-users-manual-427227 everfocus pdf
Open the PDF directly: View PDF .
Page Count: 146 [warning: Documents this large are best viewed by clicking the View PDF Link!]
- 1. Introduction
- 2. Installation
- 3. Mouse and Front Panel Button Operation
- 4. OSD Root Menu
- 5. Playback
- 6. Configuration
- 7. Remote Access to the DVR
- 8. Specifications
- 9. Troubleshooting
- Appendix A: Network Overview
- Appendix B: Linksys & D-Link Port Forwarding
- Appendix C: Timing of Alarm Modes
- Appendix D: Express Setup Recording Value Selection Rules
- Appendix E: IR Remote Control

EPHD04+ HDcctv DVR
Slimline, 4CH, 1080p, Real Time
User’s Manual
Copyright © EverFocus Electronics Corp,
Release Date: December, 2012

EVERFOCUS ELECTRONICS CORPORATION
EPHD04H+ HDcctv DVR
User’s Manual
2012 EverFocus Electronics Corp
www.everfocus.com
All rights reserved. No part of the contents of this manual may be reproduced or transmitted in any form
or by any means without written permission of the Everfocus Electronics Corporation.
Release Date: December, 2012
QuickTime is a registered trademark of the Apple Computer, Inc.
Windows is a registered trademark of the Microsoft Corporation.
Linksys is a registered trademark of the Linksys Corporation.
D-Link is a registered trademark of the D-Link Corporation.
DynDNS is a registered trademark of the DynDNS.org Corporation.
Other product and company names mentioned herein may be the trademarks of their respective owners.

ii
Safety Precautions
Refer all work related to the installation of this product to qualified service personnel or
system installers.
Do not block the ventilation openings or slots on the cover.
Do not drop metallic parts through slots. This could permanently damage the appliance.
Turn the power off immediately and contact qualified service personnel for service.
Do not attempt to disassemble the appliance. To prevent electric shock, do not remove
screws or covers. There are no user-serviceable parts inside. Contact qualified service
personnel for maintenance. Handle the appliance with care. Do not strike or shake, as this
may damage the appliance.
Do not expose the appliance to water or moisture, nor try to operate it in wet areas. Do
take immediate action if the appliance becomes wet. Turn the power off and refer servicing
to qualified service personnel. Moisture may damage the appliance and also may cause
electric shock.
Do not use strong or abrasive detergents when cleaning the appliance body. Use a dry cloth
to clean the appliance when it is dirty. When the dirt is hard to remove, use a mild
detergent and wipe gently.
Do not overload outlets and extension cords as this may result in a risk of fire or electric
shock.
Do not operate the appliance beyond its specified temperature, humidity or power source
ratings. Do not use the appliance in an extreme environment where high temperature or
high humidity exists. Use the DVR at temperatures within 0°C~40°C / 32°F~104°F (Storage).
The input power source is 12V DC / 60W.
Read Instructions
All the safety and operating instructions should be read before the unit is operated.
Retain Instructions
The safety and operating instructions should be retained for future reference.
Heed Warnings
All warnings on the unit and in the operating instructions should be adhered to.

iii
Follow Instructions
All operating and use instructions should be followed.
Cleaning
Unplug the unit from the outlet before cleaning. Do not use liquid cleaners, abrasive or
aerosol cleaners. Use a damp cloth for cleaning
Attachments
Do not use attachments not recommended by the product manufacturer as they may
cause hazards.
Water and Moisture
Do not use this unit near water-for example, near a bath tub, wash bowl, kitchen sink, or
laundry tub, in a wet basement, near a swimming pool, in an unprotected outdoor
installation, or any area which is classified as a wet location.
Servicing
Do not attempt to service this unit by yourself as opening or removing covers may expose
you to dangerous voltage or other hazards. Refer all servicing to qualified service
personnel.
Power Cord Protection
Power supply cords should be routed so that they are not likely to be walked on or pinched
by items placed upon or against them, playing particular attention to cords and plugs,
convenience receptacles, and the point where they exit from the appliance.
Object and Liquid Entry
Never push objects of any kind into this unit through openings as they may touch
dangerous voltage points or short-out parts that could result in a fire or electric shock.
Never spill liquid of any kind on the unit.
ATTENTION! This is a class A product which may cause radio interference in a domestic
environment; in this case, the user may be urged to take adequate measures.

iv
This Product is RoHS compliant.
Federal Communication Commission Interference Statement
This equipment has been tested and found to comply with the limits for a Class B digital
device, pursuant to Part 15 of the FCC Rules. These limits are designed to provide
reasonable protection against harmful interference in a residential installation. This
equipment generates, uses and can radiate radio frequency energy and, if not installed
and used in accordance with the instructions, may cause harmful interference to radio
communications. However, there is no guarantee that interference will not occur in a
particular installation. If this equipment does cause harmful interference to radio or
television reception, which can be determined by turning the equipment off and on, the
user is encouraged to try to correct the interference by one of the following measures:
•Reorient or relocate the receiving antenna.
•Increase the separation between the equipment and receiver.
•Connect the equipment into an outlet on a circuit different from that to which the
receiver is connected.
•Consult the dealer or an experienced radio/TV technician for help.
FCC Caution: Any changes or modifications not expressly approved by the party
responsible for compliance could void the users’ authority to operate this equipment.
WEEE
The information in this manual was current upon publication. The manufacturer reserves the right to
revise and improve his products. Therefore, all specifications are subject to change without prior
notice. Manufacturer is not responsible for misprints or typographical errors.
Please read this manual carefully before installing and using this unit. Be sure to keep it handy for
later reference.
Your EverFocus product is designed and manufactured with high quality materials and
components which can be recycled and reused. This symbol means that electrical and
electronic equipment, at their end-of-life, should be disposed of separately from your
household waste. Please, dispose of this equipment at your local community waste
collection/recycling centre. In the European Union there are separate collection systems
for used electrical and electronic product.
Please, help us to conserve the environment we live in!

v
TABLE OF CONTENTS
1. Introduction ................................................................................................................... 1
1.1 Features ........................................................................................................................ 2
1.2 Packing List .................................................................................................................... 2
1.3 Front Panel .................................................................................................................... 3
1.4 Rear Panel ..................................................................................................................... 5
1.5 Optional Devices ........................................................................................................... 6
2. Installation..................................................................................................................... 7
2.1 Coaxial Cable Preparation ............................................................................................. 7
2.2 Hard Disk Installation .................................................................................................... 8
2.3 Basic Connection ......................................................................................................... 11
2.3.1 Cable Length Extension ................................................................................... 12
2.3.2 Monitor Connection ........................................................................................ 13
2.3.3 Alarm I/O ......................................................................................................... 14
2.3.4 RS-485 Port ...................................................................................................... 15
2.4 Turning On / Off the Power ......................................................................................... 15
2.5 Accessing the DVR ....................................................................................................... 16
2.6 Connecting the DVR to the Network .......................................................................... 18
2.6.1 Router or LAN Connection .............................................................................. 18
2.6.2 Direct High-Speed Connection ........................................................................ 21
2.6.3 One-to-One Connection .................................................................................. 22
3. Mouse and Front Panel Button Operation .................................................................... 25
3.1 USB Mouse Operation ................................................................................................. 25
3.1.1 How to Select a Channel /Enable Audio.......................................................... 25
3.1.2 OSD Root Menu ............................................................................................... 25
3.1.3 Field Input Options .......................................................................................... 26
3.2 Front Panel Buttons Operation ................................................................................... 27
3.2.1 Front Panel Review .......................................................................................... 27
3.2.2 How to Select a Channel / Enable Audio ......................................................... 27
3.2.3 OSD Root Menu ............................................................................................... 27
3.2.4 Field Input Options .......................................................................................... 28
3.3 General Operation ...................................................................................................... 29
3.3.1 Login ................................................................................................................ 29
3.3.2 Camera Selection............................................................................................. 30
3.3.3 Audio Selection ............................................................................................... 31
4. OSD Root Menu ........................................................................................................... 32

vi
4.1 PTZ ............................................................................................................................... 34
4.1.1 Express Control of PTZ ..................................................................................... 36
4.2 Channel Switching ....................................................................................................... 37
4.3 Display ......................................................................................................................... 37
4.4 Monitor Switching ....................................................................................................... 38
4.5 Zoom ........................................................................................................................... 38
4.6 Archiving the Recordings or Log Data to the USB or DVD .......................................... 40
4.7 Logout ......................................................................................................................... 41
4.7.1 Temporarily Logout ......................................................................................... 42
5. Playback ...................................................................................................................... 43
5.1 Quick Playback ............................................................................................................ 43
5.2 Playback Bar ................................................................................................................ 44
5.3 Searching the Recordings for Playing Back ................................................................. 46
5.3.1 Time Search ..................................................................................................... 47
5.3.2 Event Search .................................................................................................... 48
5.3.3 Smart Search ................................................................................................... 49
5.3.4 Snapshot Search .............................................................................................. 51
6. Configuration ............................................................................................................... 53
6.1 Express ........................................................................................................................ 55
6.2 Camera Settings .......................................................................................................... 57
6.2.1 Basic Setting .................................................................................................... 57
6.2.2 Motion ............................................................................................................. 59
6.2.3 Video Loss ....................................................................................................... 62
6.3 Record Settings ........................................................................................................... 64
6.3.1 Record ............................................................................................................. 64
6.3.2 Built-in Calculator ............................................................................................ 65
6.3.3 Play .................................................................................................................. 66
6.4 Alarm & Event ............................................................................................................. 67
6.4.1 Alarm ............................................................................................................... 67
6.4.2 Event ................................................................................................................ 69
6.5 Schedule Setting .......................................................................................................... 76
6.5.1 Express Setup .................................................................................................. 76
6.5.2 Holidays ........................................................................................................... 77
6.5.3 Schedule .......................................................................................................... 78
6.5.4 Alarm Action .................................................................................................... 83
6.6 Network Settings ......................................................................................................... 87
6.6.1 LAN .................................................................................................................. 87
6.6.2 Email ................................................................................................................ 90
6.6.3 DDNS ............................................................................................................... 91
6.6.4 Alarm Server .................................................................................................... 93

vii
6.6.5 Remote / Mobile ............................................................................................. 94
6.6.6 Network Testing ............................................................................................... 94
6.7 Disk .............................................................................................................................. 95
6.7.1 Disk .................................................................................................................. 95
6.7.2 Lock/Format .................................................................................................... 96
6.7.3 RAID ................................................................................................................. 97
6.8 Display Setting ............................................................................................................. 99
6.8.1 Monitor OSD .................................................................................................... 99
6.8.2 Main M/T SEQ ................................................................................................. 99
6.8.3 Call M/T SEQ .................................................................................................. 100
6.9 System Setting ........................................................................................................... 101
6.9.1 Date / Time.................................................................................................... 101
6.9.2 Daylight Saving Time ..................................................................................... 102
6.9.3 User ............................................................................................................... 103
6.9.4 I/O Control ..................................................................................................... 105
6.9.5 Misc. .............................................................................................................. 107
6.9.6 Quick Archive ................................................................................................. 108
6.10 Information ............................................................................................................... 109
6.10.1 System .......................................................................................................... 109
6.10.2 Log ................................................................................................................ 110
7. Remote Access to the DVR ......................................................................................... 111
7.1 Accessing the DVR on the Network .......................................................................... 111
7.2 Browser Security Setting ........................................................................................... 112
7.2.1 Installing ActiveX Controls ............................................................................. 112
7.2.2 Enabling ActiveX Controls ............................................................................. 115
7.3 Remote Live View ..................................................................................................... 118
7.4 Menu Bar................................................................................................................... 119
7.5 Remote Playback ....................................................................................................... 120
8. Specifications ............................................................................................................. 121
9. Troubleshooting ......................................................................................................... 123
Appendix A: Network Overview ......................................................................................... 124
Appendix B: Linksys & D-Link Port Forwarding ................................................................... 128
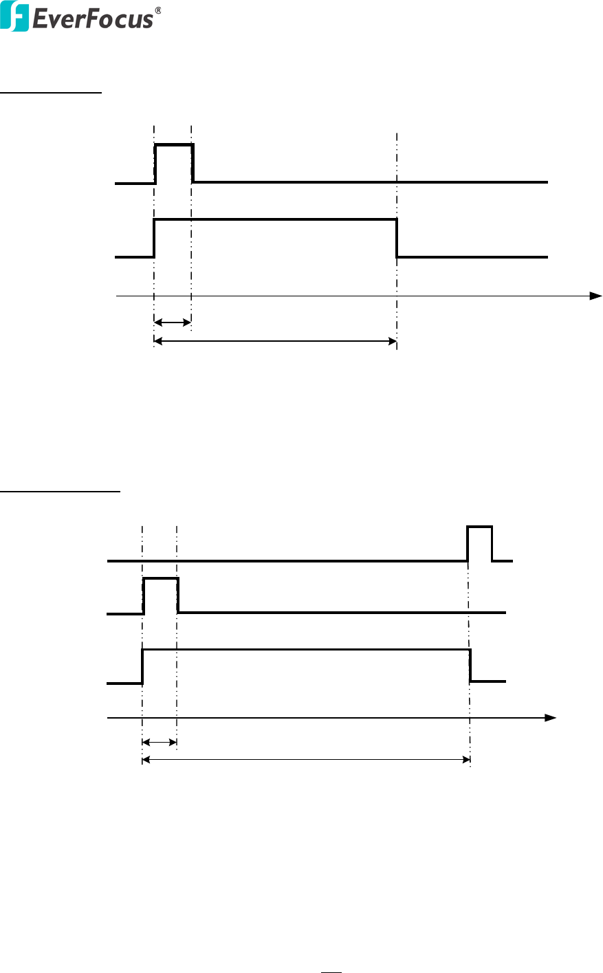
Appendix C: Timing of Alarm Modes .................................................................................. 132
Appendix D: Express Setup Recording Value Selection Rules .............................................. 135
Appendix E: IR Remote Control .......................................................................................... 137

EPHD04+ HDcctv DVR
1
1. Introduction
The EPHD04+ is a 4-channel HDcctv DVR providing 1080p real-time recording per channel. The
model features dual streams from H.264 and MJPEG. The recording frame rate and resolution can
be independently configured for each channel. You can output the videos either from the HDMI or
VGA port.
The EPHD04+ supports two internal 3.5” HDDs installation for extending the storage capacity. You
can also connect a storage device via the eSATA interface for backing up recordings. Multiple
interfaces including 2 Ethernet ports, 2 USB ports, RS-485, RS-232, 4 alarm inputs and 2 alarm
outputs are provided. These features, merged into a quiet, compact chassis, make the EPHD04+
ideal for customers whose space is at a premium, but are not willing to sacrifice functionality.
You can easily configure the DVR settings through the on-screen display (OSD) menu using a
mouse, IR remote control or the control keys on the front panel; or through the Web interface by
connecting the DVR to the network.
Mouse
Line Level Audio Out
Web Remote
Client (LAN1)
Power Supply
HDcctv Camera 1 ~ 4
Line Level Audio In 1 ~ 4
PowerVideo Plus
Multiple Site Client (LAN2)
Main Monitor
(HDMI)
Front View
Rear View
Alarm In / Out
Internal 3.5"
HDDs (Optional)
DVD Burner
eSATA HDD Expansion
(EDA450)
RS-232 Data Input
RS-485 Device
IR Remote Control
USB Memory Stick
Call Monitor
(VGA)
Figure 1-1
Chapter
1

EPHD04+ HDcctv DVR
2
1.1 Features
• Full HD real-time recording & playback
• Compact form factor fits easily where space is limited
• Quiet operation
• Embedded Linux for reliability and efficiency
• HDMI 1080p main monitor
• Multiplex VGA call monitor
• H.264 video compression for efficient transmission and storage
• eSATA interface for optional storage
• 2 x 3.5” HDD supported for internal storage capacity
• Slimline DVD burner*
• Protect critical data with HW RAID 1, or choose RAID 0 for fast I/O speeds**
• 2 x gigabit Ethernet ports
• Multiple serial interfaces
• Integration with PowerVideo Plus to view multiple DVRs / IP cameras / sites on a single
monitor
* DVD burner and Audio functions are unavailable for Germany
** Depends on configuration (see 6.7.3 RAID)
1.2 Packing List
• EPHD04+ Digital Video Recorder x 1
• Internal HDD Bracket (with screws) x 2
• IR Remote Control (with two AAA batteries) x 1
• Power Cord x 1
• Adapter (RS-485, Alarm Input and Alarm Output) x 3
• SATA Cable x 2 (for connecting the internal HDD)
• User’s Manual x 1
Note: Contact the shipper if any items appear to have been damaged in the shipping process.
If any items are missing, notify your EverFocus Electronics Corp. Sales Representative or
Customer Service Branch. Please also keep the shipping carton for possible future use.

EPHD04+ HDcctv DVR
3
1.3 Front Panel
11 12 13 14 15 16 17 18 19 20
9 10
34 5 6 87
1 2
Figure 1-2
No. Name Description
1 Record This button is currently reserved. Press to start recording. The LED will
turn ON when the DVR is recording.
2 Stop Press to stop playing back or exit from the Playback mode.
3 Back Press to reverse playing back.
4 Pause Press to pause live viewing or playing back.
5 Play Press to play back the recordings.
6 Search Press to enter the Search Setup menu. Please refer to 5.3 Searching
the Recordings for Playing Back.
7 Enter
Press the button to:
• Enter the OSD sub-menus or confirm the menu operation.
• Turn camera audio On / Off when viewing camera in full screen.
8 Menu / Esc Press to display the OSD Root Menu or exit from the current sub-
menu.

EPHD04+ HDcctv DVR
4
No. Name Description
9
Jog / Shuttle
Wheel
Jog
Shuttle
Use the Shuttle (outer wheel) to:
• In Playback mode, use the Shuttle wheel for fast forward / fast
reverse.
• Switch between Menu options / parameters.
• Highlight individual cameras.
Use the Jog (inner wheel) to:
• In Pause mode, use the Jog to move frame by frame.
• Switch between Menu options / parameters.
• Highlight individual cameras.
10
Status LED
: Indicates the power is on.
HDD: Indicates the HDD is activating.
LAN: Indicates the DVR is connected to the network.
Alarm: Indicates an alarm input is triggered.
11 Channel 1 ~ 4 Press to display the channel in full screen. The LED indicates the
channel is displayed in full screen.
12 DVD+RW Burner
Use the DVD+RW Burner for archiving the recordings from the DVR. It’s
highly recommended to use a DVD+R/+RW with 4x or higher speed disc
for recording. This function is unavailable for Germany.
13 Mode Press to switch the display layout between 1-division and 4-division.
14 Display
Press to display the system information and status on the screen.
Please refer to 4.3 Display.
15 Sequence
Press to start / stop the Sequence mode. The Sequence mode can be
set up in the OSD menu. Please refer to 6.8.2 Main Monitor Sequence
and 6.8.3 Call Monitor Sequence.
16 Zoom
Press to zoom in the selected camera in 2X/4X/8X. Press the Menu/Esc
button to exit the zoom mode. Note that the Zoom mode can only be
activated in full screen.
17
Main / Call
Press to switch between the Main and Call monitors. When the LED on
the right side of the button turns on, it indicates the camera views are
on the Main monitor. Press the button again to switch to the Call
monitor, the LED on the button will blink once, and the LED on the right
side of the button will turn off.
18 Copy Press to archive the recordings. Please refer to 4.6 Archiving the
Recordings or Log Data to the USB or DVD / 6.9.6 Quick Archive.
19 USB2.0 Ports Two USB2.0 ports for connecting to a mouse or external storage device.
20 IR Receiver Receiver for IR Remote Control.

EPHD04+ HDcctv DVR
5
1.4 Rear Panel
12
3
4
5678910 11 12
Figure 1-3
No. Name Description
1 eSATA Port Connects to an external eSATA storage device, such as EverFocus’
EDA450.
2 Audio Output Connects to the audio output devices, such as speakers. Note that the
speakers with amplifier are required.
3 Video Input Connects to the HD cameras using the coaxial cables. For coaxial cable
requirements, please refer to 2.1 Coaxial Cable Preparation.
4 Audio Input Connects to the audio input devices.
5 Power Port Connects to the DC 12V power using the supplied Power Cord.
6 RS-485 Port Connects to the RS-485 device, such as EverFocus’ EKB-500 keyboard.
Please refer to 2.3.4 RS-485 Port for more details.
7 LAN 1 / LAN 2 Connects to the Network. Please refer to 2.6 Connecting the DVR to
the Network.
8 RS-232 Port This port is currently reserved. Connects to the RS-232 device.
9 Call Monitor Port
(VGA)
Connects to the Call monitor using a VGA cable. Please refer to 2.3
Monitor Connection.
10 Main Monitor
Port (HDMI)
Connects to the Main monitor using a HDMI cable. Please refer to 2.3
Monitor Connection.
11 Alarm Input Connects up to 4 alarm inputs. Please refer to 2.3.3 Alarm IO.
12 Alarm Output Connects to one alarm output device. Please refer to 2.3.3 Alarm IO.

EPHD04+ HDcctv DVR
6
1.5 Optional Devices
Used to control the PTZ cameras connected to the DVR. Please refer to 2.3.4 RS-485 Port.
EKB500 (RS-485 Keyboard)
Connect the EDA450 to the EPHD04+ for expanding the storage capacity. Please refer to No.1,
Figure1-3.
EDA450 (eSATA Storage)
The following items can be used to extend the cable length between the DVR and the
camera. Please refer to 2.3.1 Cable Length Extension.
EHA-RPT Repeater
EHA-SRX Converter
EHA-FRX Optical Fiber Receiver
EHA-FTX Optical Fiber Transmitter

EPHD04+ HDcctv DVR
7
2. Installation
2.1 Coaxial Cable Preparation
EverFocus HDcctv technology is mostly based on the SMPTE-292M standard, which defines HD-
SDI (High Definition – Serial Digital Interface) video transmission. The HDcctv technology
requires higher frequency than traditional CCTV technology. The table below listed the
supported coaxial cable types for EverFocus’ HDcctv DVR.
Coaxial Cable Requirement
Attenuation at 1 GHz: < 32 dB per 100 m (328 ft)
Return Loss attenuation: > 20 dB
Impedance: 75 Ω
Coaxial Cable Type Attenuation in dB at 1 GHz
per 100 m / 328 ft Max. Cable Distance
RG-59 24 ~ 40 dB 70 ~ 160 m / 230 ~ 520 ft
RG-6 15 ~ 35 dB 100 ~ 190 m / 330 ~ 620 ft
RG-11,
CATV-Lowloss Cables 8 ~ 16 dB 180 ~ <250 m / 590 ~ <820 ft
Note: Low quality cable may produce higher attenuation.
The standard RG-59 cables are originally designed for lower frequencies. However, with
EverFocus’ HDcctv technology, you can still use the standard RG-59 cable for distances over 100
m / 330 ft. The RG-59 cables with high quality and low loss allow distances up to 160 m / 520 ft.
The RG-6 or RG-11 cables are the best use for longer distance connection.
Chapter
2

EPHD04+ HDcctv DVR
8
2.2 Hard Disk Installation
You can optionally install two 3.5” HDDs inside the DVR for recording videos.
1. Make sure the DVR is power-off.
2. Unscrew the 7 housing screws (4 on both sides of the DVR and 3 on the rear panel) and then
remove the housing.
Figure 2-1
3. Find the four copper pillars for screwing the HDD brackets.
Figure 2-2
4. Fix the HDD brackets to the copper pillars on both sides using the screws.
Figure 2-3

EPHD04+ HDcctv DVR
9
5. Screw the HDD to the HDD brackets on both sides.
Figure 2-4
6. Follow Step 5 to screw another HDD to the HDD brackets if necessary.
Figure 2-5
7. Use the supplied SATA cable, connect one end to the SATA port on the small PCB inside the
DVR, and the other end to the SATA port on the HDD.
Figure 2-6

EPHD04+ HDcctv DVR
10
Note: The small PCB provides 4 SATA ports. Please refer to the image below for the two
spare SATA ports for HDDs.
8. Connect the internal power cable to the HDD.
Figure 2-7
Note: The internal power cable is connected to the Main board inside the DVR. The power
cable features two connectors, which can be used to connect to two HDDs.
9. Follow Step 7 and 8 to connect the power cable and SATA cable to the other HDD if
necessary.
10. Screw back the housing to the DVR.

EPHD04+ HDcctv DVR
11
2.3 Basic Connection
The instructions below describe the basic connection for the EPHD04+. For details on cable
connections, please refer to the following sections.
Mouse
Line Level Audio Out
DC 12V
Line Level Audio In 1 ~ 4
WAN
PowerVideo Plus Multiple Site Client (LAN2)
123 4
Call Monitor
(VGA)
567
Front View Rear View
HDcctv Camera
1 ~ 4
Main Monitor
(HDMI)
Web Remote
Client (LAN1)
Figure 2-8
1. Optionally connect a mouse to the DVR to control the system. You can also control the
system using the supplied IR Remote Control or the control keys on the front panel.
2. To listen to audio of video source, connect speakers to the Audio Out port. Note that
speakers with amplifier are required.
3. Using the supplied Power Cord, connect one end to the DC 12V port on the DVR and the
other end to the DC 12V power outlet.
Note: Please ensure to connect the internal power cables to the internal HDDs before
powering on the DVR. Please refer to 2.2 Hard Disk Installation.
4. To manage the DVR over network, use a standard RJ-45 cable to connect the DVR to the
network.
5. To view videos, connect a monitor to the HDMI or VGA port using the HDMI or VGA cable
supplied by the monitor manufacturer. You can connect two monitors simultaneously. The
monitor connected to the HDMI port will be the Main monitor.
6. Connect the line level audio input devices to the DVR.
7. Connect the cameras to the DVR using the coaxial cables. For details on coaxial cable
requirements, please refer to 2.1 Coaxial Cable Preparation.

EPHD04+ HDcctv DVR
12
2.3.1 Cable Length Extension
You can optionally use EverFocus’ EHA-RPT repeater, EHA-SRX converter or EHA-FTX/FRX
HDcctv to fiber converter to extend the cable length between the DVR and camera.
Using the EHA-RPT Repeater / EHA-SRX Converter
The maximum distance between camera and DVR can be doubled by using an EHA-RPT
repeater or EHA-SRX converter.
EHA-RPT Repeater EPHD04+HD Camera
Coaxial Cable Coaxial Cable
Max. Length Max. Length
EHA-SRX Converter EPHD04+HD Camera
Coaxial Cable Coaxial Cable
Max. Length Max. Length
Figure 2-9
Using the EHA-FTX/FRX HDcctv to Optical Fiber Converter
The maximum distance between camera and DVR can be extended by using optical fiber cable.
You can optionally use EverFocus’ optical fiber transmitter / receiver, EHA-FTX and EHA-FRX,
to extend the distance. Two modes are available for EverFocus’ transmitters and receivers:
multi-mode and single-mode.
EHA-FTX-MM: Multi-mode optical fiber transmitter, max. transmission distance 500 m
EHA-FTX-SM: Single-mode optical fiber transmitter, max. transmission distance 21 Km
EHA-RTX-MM: Multi-mode optical fiber receiver, max. transmission distance 500 m
EHA-RTX-SM: Single-mode optical fiber receiver, max. transmission distance 21 Km
EHA-FTX
Transmitter
Optical Fiber Cable
EPHD04+HD Camera EHA-FRX
Receiver
Coaxial Cable
Max. Length
Coaxial Cable
Max. Length
Figure 2-10

EPHD04+ HDcctv DVR
13
2.3.2 Monitor Connection
You can connect the monitor to the VGA or HDMI port on the rear panel of the DVR. Both of
the VGA and HDMI video outputs can be used simultaneously and deliver full HD resolution
(1920 x 1080, progressive, 60 Hz. Vert., 68 KHz hor.). The monitor connected to the HDMI
port is the Main monitor; while the monitor connected to the VGA port is the Call monitor.
Please make sure the resolution of all cameras are the same as the DVR’s setting. Otherwise,
the DVR cannot display video correctly. The default resolution of the DVR is 1920 x 1080.
Please change the camera’s setting to 1920 x 1080 before connecting to the DVR. Or change
the desired resolution both on the DVR and camera.
HDMI Cable
Call Monitor
VGA Cable
Rear View
Main Monitor
Figure 2-11
Note:
1. The connected monitors’ specifications must comply with the resolution requirements.
2. Do not exceed the max. HDMI cable length of 15 meters.
3. The standard HDMI cables can support cable length up to 3 meters. For longer
distances, such as 15 meters, it is highly recommended to use high quality HDMI cables.

EPHD04+ HDcctv DVR
14
2.3.3 Alarm I/O
The DVR provides four alarm inputs and two alarm outputs. Please refer to the table below
for PIN assignment.
Alarm In Alarm Out
Figure 2-12
Alarm Input
No. Description No. Description
1 ALM_IN1 2 ALM_IN2
3 ALM_IN3 4 ALM_IN4
G GND
Alarm Input Contacts
This DVR provides one alarm input per camera. All inputs are programmable N.O. (Normal
Open) or N.C. (Normal Closed). All settings are programmed in the ALARM / Event menu.
ALMIN
GND
ALMIN
GND
Alarm Input with N.O. contact in idle state Alarm Input with N.C. contact in idle state
Alarm Output Contacts
The relay output provides either Normally Open or Normally Closed dry contacts.
ALMOUT +
ALMOUT -
ALMOUT +
ALMOUT -

EPHD04+ HDcctv DVR
15
2.3.4 RS-485 Port
The RS-485 port, located on the rear panel of the DVR, can be used to connect to an RS-485
keyboard, such as EverFocus’ EKB500, for controlling HD PTZ cameras. For details on the RS-
485 configurations on the DVR, please refer to 6.9.4 I/O Control.
Rear View
RS-485 Port
HD PTZ
Camera 4
EKB500
RS-485
RJ-45 Cable
Connector Box HD PTZ
Camera 1
RS-485
Figure 2-13
2.4 Turning On / Off the Power
Before powering on the DVR, please make sure the internal HDDs have been installed properly.
Once you have completed the basic cable connections, you are ready to turn on the DVR.
Simply connect the supplied Power Cord to the power outlet. All of the LED indicators on the
front panel will light up. The DVR will automatically run an internal process, when the process is
complete, the LED indicators will turn off, and the POWER LED will remain light up in green. And
then you can start operating the DVR. To turn off the power, simply unplug the Power Cord from
the power outlet.

EPHD04+ HDcctv DVR
16
2.5 Accessing the DVR
You have to assign an IP address for your DVR to be accessible. To assign an IP address, you can
use the IP Utility (IPU) program, which can be downloaded from EverFocus’ Website:
http://www.everfocus.com/tools.cfm. Please connect the DVR in the same LAN of your computer.
1. Install and then start the IPU program . The following dialog box appears.
Figure 2-14
2. Click Find Devices to search the IP devices connected in the LAN. The default network
values of the IP devices will be displayed. By default, the network protocol of the IP device
is DHCP.
3. To configure the network settings, select an IP device and then click Login/Multi Login.
Figure 2-15
4. Type the user ID and password. Click OK.
Note:
1. The default user ID is admin and the default password is 11111111.
2. If you select more than one DVRs that have the same user ID / password, you will
be able to log in several DVRs at once.

EPHD04+ HDcctv DVR
17
5. To change the IP address, double-click the IP Address of the DVR. Type a new IP address
and then click Set IP Address to save the settings.
Figure 2-16
You can also change the other settings by double-clicking the values. After configuring the
values, click Save Configuration.
Note: Most networks uses DHCP to assign IP address, if you are unsure of your network
settings, please consult your network administrators for configuration details.
6. To access the DVR, highlight the DVR and click Connect to Selected IP. The Internet
Explorer window pops up.
7. Type the user ID and password to log in. The Live View window of the DVR appears.
Note:
1. You might be required to download ActiveX for viewing the camera feed. If asked,
click Yes.
2. For details on the Live View window, please refer to 7. Remote Access to the DVR.

EPHD04+ HDcctv DVR
18
2.6 Connecting the DVR to the Network
There are three methods to connect the DVR to the network: Router or LAN Connection, Direct
High‐Speed Connection and One‐to‐One Connection. For more information of the network,
please refer to Appendix A. Network Overview.
2.6.1 Router or LAN Connection
This is the most common connection in which the IP camera is connected to a router and
allows multiple users on and off site to see the IP camera on a LAN/WAN (Internet). The
camera must be assigned an IP address that is compatible with its LAN. By setting up port
forwarding on the router, you can remotely access the cameras from outside of the LAN via
the Internet. To remotely access the Web interface, please refer to 6. Remote Access to the
DVR. To set up port forwarding, please consult the manual of the router or refer to Appendix
B: Linksys & D-Link Port Forwarding.
Figure 2-17
Straight-through LAN patch cable
Right: Pinout of a straight-through cable.

EPHD04+ HDcctv DVR
19
Connection Procedure:
The First step is to purchase or make a straight through cable. We recommend
purchasing one if you have never made a straight through cable. Please remember you
can not use a cross-over network cable for this application.
Once you have a straight through cable, plug one end into the LAN port on the back of
the recorder and the other into the router.
Log into the EverFocus DVR menu and go to the Network Setting Menu.
To let the router automatically assign an address:
Set the Network Type to DHCP. Make sure to write down the IP address and the
Gateway.
Exit from the Menu to save settings.
To manually assign an address:
Go to a computer connected on the same network as the DVR.
Click on the Start button and choose Run.
If using Windows Vista, choose Search instead.
Type “command” and click on OK.
In Vista, you will need to double-click on the “Command Prompt” file to open it.
In the DOS prompt, type “ipconfig” and press Enter.
The network information will be displayed on a screen similar to the one below.
In Windows Vista, look for the information that says “IP v4”.
Figure 2-18

EPHD04+ HDcctv DVR
20
Take the values for Subnet Mask and Default Gateway and input them into the DVR;
these values should be exactly the same in both devices. However, you should
change the last number of the IP address. For example, if the IP address of the
computer is 192.168.2.101, the DVR’s IP address should be 192.168.2.50.
To access the DVR from a computer simply open Internet Explorer and in the address
bar type:
http:// (IP address of the DVR)
Note: The DVR’s IP address will only work at the location of the DVR. To connect
from a different location over the Internet, see below.
To set the DVR for Internet Connection through router:
The next step is to open ports within your router. Log into the router using a PC and
open the following ports.
Ports to open: 80
If your Internet service provider blocks port 80, you can change it to a different port
in the DVR’s Network Menu Setup; open/forward that port instead.
If you are using a Linksys or D-Link router, see Chapter 8 for basic support on
setting up ports. For any other router, you will need to contact the manufacturer
for support.
To access the DVR from a computer simply open Internet Explorer and in the address
bar type:
http:// (the IP address given by your internet service provider)
Note: If you changed to a different port other than 80, you will need to include this
at the end of the IP address:
http:// (the IP address given by your internet service provider):port number
If you have a WAN Dynamic IP address and have opened the ports, go to 6.6.3 DDNS
Setup to configure the DDNS settings.

EPHD04+ HDcctv DVR
21
2.6.2 Direct High-Speed Connection
In a Direct High-Speed Connection, the camera connects directly to a modem without the
need for a router. You need to set the static or dynamic WAN IP address assigned by your ISP
(Internet Service Provider) in the camera’s configuration web pages. To access the camera,
just type “http://xxx”, where xxx is the IP address given by your ISP. If you have a dynamic IP
address, this connection may require that you use DDNS for a reliable connection.
Connection Procedure:
The first step is to purchase or make a straight through cable. We recommend
purchasing one if you have never made a straight through cable. Please remember you
can not use a cross-over network cable for this application
Once you have a straight through cable plug one end into the LAN port on the back of
the recorder and the other into the high speed modem.
Log into the EverFocus DVR menu and go to the Network Setting Menu.
Input the Static IP address, the Subnet Mask, and the Gateway that you obtained from
the internet service provider.
Note: If you have a dynamic IP address, you can set the DVR to DHCP to automatically
detect the network settings. Therefore, it can use a dynamic IP address.
Exit from the DVR’s Menu to save the settings.
To access the DVR from a computer, open Internet Explorer and in the address bar type:
http:// (IP address given by your internet service provider)
Note: When using this type of connection, only one device can be connected to the
modem at a time. You will need to use a computer at a different location to test the
connection s.

EPHD04+ HDcctv DVR
22
2.6.3 One-to-One Connection
You can connect directly without using a switch, router or modem. However, only the PC
connected to the camera will be able to view the IP camera. You will also have to manually
assign a compatible IP address to both the computer and the IP camera. Unless the PC has
another network connection, the IP camera will be the only network device visible to the PC.
See the diagram below:
Connection Procedure:
The First step is to purchase or make a cross-over cable. We recommend purchasing one
if you have never made a cross-over cable. Please remember you can not use a straight
through network cable for this application.
Once you have a cross-over cable, plug one end into the LAN port on the back of the
DVR and the other into the network card on the back of the computer.
Log into the EverFocus DVR menu and go to the Network Setting Menu.
You must use the Static IP option for this type of connection.
Assign an IP of 192.168.001.003, a Subnet Mask of 255.255.255.000, and a Gateway of
192.168.001.001. You can ignore DNS Server.
The next step is to set the computer’s network settings to match those of the DVR. You
will need Administrator privileges on your Windows machine to do this.
To assign a fixed IP address in Windows 2000/XP, follow the instructions below:
Right: Pinout of a crossed-over cable.

EPHD04+ HDcctv DVR
23
Go to Start. Double-click on Control Panel.
Click Network and Internet Connection.
Click Network Connections.

EPHD04+ HDcctv DVR
24
Right-click on Local Area Connection and select Properties.
Click on Internet Protocol (TCP/IP) and then click Properties.
Select Use the following IP address. Assign an IP address of 192.168.1.2, a Subnet
Mask of 255.255.255.0, and a Default Gateway of 192.168.1.1 and then click OK.
Restart both of the computer and the DVR.
To access the DVR from the computer, simply open Internet Explorer and in the
address bar type: http://192.168.1.3

EPHD04+ HDcctv DVR
25
3. Mouse and Front Panel Button Operation
There are three ways to control the OSD menu of the EPHD04+: with a Mouse, the Front Panel
Buttons, or the supplied handheld IR Remote Control. For details on the IR remote control, please
refer to Appendix E, IR Remote Control. This chapter will discuss the basic operations using the
mouse and the front panel buttons.
3.1 USB Mouse Operation
3.1.1 How to Select a Channel /Enable Audio
1. In the Live View window, you can select a channel by clicking once on the desired
channel screen. The selected screen will be highlighted by a white frame.
2. Double clicking on a channel screen will display full screen for this channel.
3. The DVR only supports one audio output. To enable audio out, click the Audio Icon at
lower side of the screen to switch the Audio Output function to the desired channel or
disable the Audio Output function.
3.1.2 OSD Root Menu
1. Right-click the mouse, the OSD Root Menu Bar appears. Move the mouse over each icon,
the title of the icon will be displayed at the top-left corner.
2. Click on any icon to enter to the setup menus.
3. Click the button on the top-right corner to close the OSD Root Menu Bar.
Chapter
3

EPHD04+ HDcctv DVR
26
3.1.3 Field Input Options
You may found the following fields in the Configuration menu. Follow the instructions below
to configure the settings.
Text Box: Click on the box and an on-screen keyboard will appear.
Drop-Down Box: Click on the down arrow to see all selections, then directly click on an option
to select it.
Check Box: Click on the box to enable it (checked) or disable it (unchecked).
Button: Click the button to execute the function.
Bar: Slide the bar to the left or right for adjusting the set point.
On-Screen Keyboard: Click on a button to input that character. The buttons on the right and
bottom have the following functions:
Space Enter a space
Caps Switch to capital letters
Delete the letter
Confirm the selection
Move to right
Move to left

EPHD04+ HDcctv DVR
27
3.2 Front Panel Buttons Operation
3.2.1 Front Panel Review
The basic principle of front panel operation is to use the Jog / Shuttle to navigate among the
menu items. Press the Enter button to confirm a selection or enter the submenu. Press the
Menu button to enter the OSD Root Menu or exit from the current menu.
3.2.2 How to Select a Channel / Enable Audio
1. In the Live View window, you can select a channel by turning the Jog / Shuttle wheel
clockwise or counterclockwise. The selected channel will be highlighted with a white
frame. Turn the Jog / Shuttle wheel clockwise or counterclockwise when the first / last
camera is highlighted will select all cameras.
2. After selecting a channel, press the Enter button to turn On / Off the Audio function. An
Audio icon will be displayed on the upper-left corner on the selected channel. To
display function icons on the Live View window, please refer to 4.3 Display.
3.2.3 OSD Root Menu
1. Press the Menu button, the OSD Root Menu Bar appears. Turn the Shuttle wheel
clockwise or counterclockwise to move through each icon. The title of the icon will be
displayed at the top-left corner.
2. Press the Enter button to enter to the setup menus.
3. Press the Menu button to close the OSD Root Menu Bar.

EPHD04+ HDcctv DVR
28
3.2.4 Field Input Options
You may found the following fields in the Configuration menu. Follow the instructions below
to configure the settings.
Text Box: Press the Enter button and an on-screen keyboard will appear.
Drop-Down Box: Press the Enter button to see all selections, turn the Jog / Shuttle wheel to
highlight the desired option, and then press the Enter button again to select it.
Check Box: Press the Enter button to enable it (checked) or disable it (unchecked).
Button: Press the Enter button to execute the function.
Bar: Press the Enter button to activate the slider, turn the Jog / Shuttle wheel to adjust the
setting, and then press the Enter button again to finalize the changes.
On-Screen Keyboard: Turn the Jog / Shuttle wheel to highlight each character and then press
the Enter button to input the selected characters. After inputting the characters, highlight
Done on the setup menu, and then press the Enter button to confirm.
Space Enter a space
Caps Switch to capital letters
Delete the letter
Confirm the selection
Move to right
Move to left

EPHD04+ HDcctv DVR
29
3.3 General Operation
3.3.1 Login
In order to access EPHD04+ again after logging out, you may be prompted to log in for
authority identification. To log in, follow the steps below.
1. Right-click on the screen, the Login window appears.
Figure 3-1
2. Select a user account from the User name drop-down list and input the password. The
default user name and password are:
User Name: admin (lower case)
Password: 11111111
Note: For details on setting up multiple user accounts, please refer to 6.9.3 User.
To input the password by:
Using a mouse: click the Password field to bring up the on-screen keyboard. Click on the
number buttons and then click to confirm the password.
Figure 3-2

EPHD04+ HDcctv DVR
30
Using the front panel buttons: Use the Jog / Shuttle to select the password field and
then press the Enter button to bring up the on-screen keyboard. Use the Jog / Shuttle to
highlight each character and then press the Enter button to input the selected characters.
When finished, highlight Done and press the Enter button to confirm the password.
3. Click (or press the Enter button when highlighted) on the Login button to log in the DVR.
3.3.2 Camera Selection
You can control each camera individually by selecting that camera. To select a camera, follow
the instructions below.
Using a mouse: Right-click the screen, the image will show a white frame on the selected
camera screen. When the screen is in Quad view, press the Layout icon in the layout menu to
select all four cameras.
Using the front panel buttons: Turn the Jog / Shuttle wheel clockwise or counterclockwise to
select through the camera. The selected camera will be highlighted with a white frame. Turn
the Jog / Shuttle wheel clockwise or counterclockwise when the first / last camera is
highlighted will select all cameras.

EPHD04+ HDcctv DVR
31
3.3.3 Audio Selection
In order to utilize the audio function, please follow the instructions below before switching on
the audio function.
Note: The Audio function is unavailable for Germany.
1. Connect the audio source and/or audio output amplifier to the DVR.
2. Enable the Record Audio option in the Camera Setting menu.
Figure 3-3
Note that the DVR only provides one audio output. You can switch the Audio Output function
to either one from the four cameras. To switch the Audio Output function to the desired
camera by:
Using a mouse: On the bottom of the screen, click the Audio icon to switch the Audio
Output function to the desired camera or disable the Audio Output function.
Using the front panel buttons:
1. Turn the Jog / Shuttle wheel to the desired camera.
2. Press the Enter button. An Audio icon will be displayed on the upper-left corner on the
selected camera. To display function icons on the Live View window, please refer to 4.3
Display.
3. If you want to disable the Audio Output function on the selected camera, press the Enter
button again, the Audio icon will disappear.

EPHD04+ HDcctv DVR
32
4. OSD Root Menu
1 2 3 4 5 6 7 8910 11 12
Figure 4-1
Chapter
4
No. Name Description
1 Playback Click to display the Playback Bar for recording videos. For details, please
refer to 5. Playback.
2 PTZ Click to display the PTZ Control Panel for controlling the connected PTZ
cameras. For details, please refer to 4.1 PTZ.
3 Layout
Click to display the Layout Bar as shown below. Select a layout type for
the live view display on the Main Monitor. Options include 1-division
and 4-division.
4 Channel
Click to display the Channel Switching Bar as show below. To switch the
selected camera to a specific channel, please refer to 4.2 Channel
Switching.
5 Display Click to display system information icons or status icons on the live view
screen. For details, please refer to 4.3 Display.
6 Sequence
Click to enter the auto sequential switching mode. Click again to disable.
For setting up the sequencing order, please refer to 6.8.2 Main Monitor
Sequence and 6.8.3 Call Monitor Sequence.
7 Monitor Click to switch to the call monitor setting. For details, please refer to 4.4
Monitor Switching.
8 Zoom Click to enter the Zoom mode. You can zoom in the camera view up to
x8 and navigate the camera view. For details, please refer to 4.5 Zoom.

EPHD04+ HDcctv DVR
33
No. Name Description
9 Search
Click to display the Search menu for setting up the Search mode for
playing back. For details, please refer to 5.2 Searching the Recordings
for Playback Back.
10 Copy
Click to display the Copy menu for archiving the recordings or log data
to the USB storage device or DVD. For details, please refer to 4.6
Archiving the Recordings or Log Data to the USB or DVD.
11 Configuration Click to enter the Configuration menu. Please refer to 6. Configuration.
12 Logout
Click to bring up the Logout Confirmation window and then click Yes to
log out the system (see 4.7 Logout). To log in, please refer to 3.3.1
Login.

EPHD04+ HDcctv DVR
34
4.1 PTZ
You can use the PTZ Control Panel to control the connected PTZ cameras. To bring up the PTZ
control panel, on the OSD Root Menu, click the PTZ button .
The following actions can be performed using the PTZ Control Panel:
1. To move the camera to the desired direction and angle, click the
Direction buttons .
2. To zoom in / out the camera view, click the Zoom buttons .
3. To adjust the camera focus, click the Focus buttons .
4. To adjust the Iris open to increase / decrease the amount of light in, click
the Iris buttons .
5. To program a Preset Position (if supported by the camera):
a. Move the PTZ camera to the desired position.
b. Click the Preset button.
c. Set up a preset number for the current position by clicking the
number buttons. The number will be displayed in the number box.
d. Click the Set button to save the settings.
6. To jump to a Preset Position:
a. Click the Preset button.
b. Click the desired Preset number.
c. Click the Go button.
7. Shortcut for Preset 1 ~ 9:
a. Click digit 1 ~ 9 button without clicking any other buttons.
b. The camera will seek that Preset Position.
Figure 4-2
8. To delete a Preset Position (if supported by the camera):
a. Click the Preset button.
b. Click the desired Preset number.
c. Click the Delete button.

EPHD04+ HDcctv DVR
35
9. To operate the Auto Pan function, click the Auto Pan button.
10. To operate the Pattern function, click the Pattern button. The Pattern is the “0” Tour in
Everfocus and Pelco PTZ cameras.
11. To operate the Tour function:
a. Click the Tour button.
b. Click the desired Tour number.
c. Click the Go button.
12. To remove a pre-configured Tour (if supported by the camera):
a. Click the Tour button.
b. Click the desired Tour number.
c. Click the Delete button.
Click C to clear the entered number in the Number Box.
Click X at the top-right corner to hide the PTZ Control Panel (see 4.1.1 Express Control of PTZ). To
display the PTZ Control Panel, right-click on the screen.
Click Exit to close the PTZ Control Panel and exit the PTZ mode.
Note: Before start using the Auto Pan, Pattern and Tour functions, you have to configure the
related settings for the connected PTZ cameras. Please refer to the User’s Manual of your PTZ
cameras.

EPHD04+ HDcctv DVR
36
4.1.1 Express Control of PTZ
If the PTZ Control Panel has first been opened and then hidden, the mouse can be used to
control basic PTZ functions. Move your mouse cursor on the screen, the mouse cursor will
turn into a control icon (direction, focus or zoom) in different areas of the screen. You can
control PTZ direction, focus and zoom by clicking directly on the screen.
Figure 4-3
Direction Controls: When your mouse cursor turns into a direction icon, click on the screen
will force the camera to turn in that direction.
Focus Controls: When your mouse cursor turns into , click on the screen will focus closer
the image. When your mouse cursor turns into , click on the screen will focus farther the
image.
Zoom Controls: When your mouse cursor turns into , click on the screen will zoom in the
image. When your mouse cursor turns into , click on the screen will zoom out the image.

EPHD04+ HDcctv DVR
37
4.2 Channel Switching
You can switch the selected camera to a specific channel. Follow the steps below:
1. On the live view screen, select a camera, the selected camera will be highlighted with a
white frame.
2. Right-click to display the OSD Root Menu.
3. Click the Channel icon , the Channel Bar appears.
4. Select a channel, the selected camera will be switched to that channel.
4.3 Display
You can display system information or status on the live view screen. Follow the steps below:
1. Right-click to display the OSD Root Menu.
2. Click the Display button to display the system information icons.
Recording
Playback
Fast forward
Fast backward
Back
pause
Alarm
Motion
Video loss
Express copy
Audio out
3. Click the Display button again to display the system status icons.
Alarm
Audio
Event
HDD failure
HD temp. too high
Motion
Video loss
No network
Seq.
4. Click the Display button again to display both the system information and status icons.
5. Click the Display button again to hide all icons.

EPHD04+ HDcctv DVR
38
4.4 Monitor Switching
You can simultaneously connect two monitors to the DVR. On the OSD Root Menu, click the
Monitor button to switch to the Call monitor. On the Main Monitor, right-click the screen to
display the Call Monitor control bar, and then you can configure the Layout, Channel, Display or
Sequence settings for the Call Monitor. To switch to the Main Monitor, click the button.
Note that the Call Monitor can only be used to display camera views. The functions including the
layout, channel switching, icon display or sequencing mode of the Call Monitor can only be
configured on the Main Monitor.
4.5 Zoom
You can zoom in the camera view up to x8 and navigate the camera view using the mouse. The
Reverse, Pause and Play buttons can be used in the Quick Playback mode; while only
the Pause button can be used in the live view mode.
Figure 4-4

EPHD04+ HDcctv DVR
39
To enter the Zoom mode:
1. Select a camera and then click the Zoom button on the OSD Root Menu to zoom in the
camera view up to 2X. The ZOOM x 2 stamp will be displayed on the top screen.
2. Navigate the camera view to the desired position by moving your mouse cursor over the
camera view. The mouse cursor will turn into a direction icon when you move your mouse
cursor to different portion on the camera view. Click directly on the screen can move to that
direction.
3. Right-click the screen, the Zoom Bar appears in the middle of the screen.
4. Click 4 to zoom in the camera view up to 4X.
5. Click the Logout button to log out the Zoom mode.
To use the Zoom function in the Quick Playback Mode:
1. Select a camera and then click the Playback button on the OSD Root Menu to enter the
Quick Playback Mode.
2. Right-click the screen to bring up the OSD Root Menu and then click the Zoom button to
zoom in the camera view up to 2X. The ZOOM x 2 stamp will be displayed on the top screen.
3. Navigate the camera view to the desired position by moving your mouse cursor over the
camera view. The mouse cursor will turn into a direction icon when you move your mouse
cursor to different portion on the camera view. Click directly on the screen can move to that
direction.
4. Right-click the screen, the Zoom Bar appears in the middle of the screen.
5. Click 4 to zoom in the camera view up to 4X.
6. Click the Logout button to log out the Zoom mode.

EPHD04+ HDcctv DVR
40
4.6 Archiving the Recordings or Log Data to the USB or DVD
You can archive the recordings or log data (event and motion) to the USB storage device or the
DVD. On the OSD Root Menu, click the Copy icon , the following menu appears.
Note: It's highly recommended to use a DVD+R/+RW with 4x or higher speed disc for recording.
Figure 4-5
Camera: Select the desired cameras.
Copy data type: If you want to copy the recordings from the selected cameras to the USB, select
Video. If you want to copy the log data to the USB, select Non-Video and then select the desired
log data (event / motion).
Player: Check the box to include the efPlayer program in the copy. You can use the efPlayer to
play back the recordings stored in the computer.
Start Date / Time: Click to bring up the on-screen keyboard / clock to select the start date / time.
End Date / Time: Click to bring up the on-screen keyboard / clock to select the end date / time.
Copy To: Select whether you want to copy to USB or DVD. The log data can only be archived to
the USB storage device. Note that the DVD burner is unavailable for Germany.
Copy: Click to start archiving.

EPHD04+ HDcctv DVR
41
4.7 Logout
You can log out the DVR by clicking the Logout icon on the OSD Root Menu. To enable the
logout function, you have to check the User Login box in the OSD menu (System Setting > User).
To log in, please refer to 3.3.1 Login.
Figure 4-6

EPHD04+ HDcctv DVR
42
4.7.1 Temporarily Logout
You can temporarily log out the DVR by clicking the Logout icon on the OSD Root Menu.
This function is designed for use in conjunction with the Covert Camera function. Once you
click the Logout icon, the camera streams will be hidden on the Live View / Sequence Mode.
However, the DVR will still record the videos and the recordings can be played back. To
enable the Temporarily Logout function, follow the steps below:
1. Ensure the User Login box is Unchecked (Figure 4-6).
2. Select the cameras to be hidden once enabling the Temporarily Logout function and then
check the Covert box (Camera Setting > Basic Setting).
Figure 4-7
3. Click the Logout icon on the OSD Root Menu, the Logout menu appears.
Figure 4-8
4. Click the Yes button and the selected camera streams will be hidden on the Live View /
Sequence Mode.
5. To disable the Temporarily Logout function, simply right-click the screen to bring up the
OSD Root Menu, and then you can start controlling the DVR.

EPHD04+ HDcctv DVR
43
5. Playback
You can use the Quick Playback function to play back the recordings start from the pre-configured
time or use the Search functions to search for the desired recordings for playing back.
5.1 Quick Playback
To start using the Quick Playback function, follow the steps below:
1. To set up the start time of the recording, on the OSD menu, check the Quick Playback box to
enable the configured time in the field below. Enter the desired time for playing back the
recording. Take the below image for example, if the current system clock time is 17:35:00,
the start time for the playback recording will start from 17:34:00 (60 seconds ago from
17:35:00).
Figure 5-1
2. On the Live View Window, select a desired camera, right-click to bring up the OSD Root
Menu and then click the Playback button .
3. The recording has been playing back and the Playback Bar appears on the bottom of the
screen.
Chapter
5

EPHD04+ HDcctv DVR
44
5.2 Playback Bar
The playback bar is the fastest way to show video from the exact time which users want to see.
The playback bar allows users to see both a timeline and the current playback indicator. Users can
then click the timeline to move the indicator to the desired position.
2012/05/25 00:00:00 2012/05/25 00:00:00 2012/05/25 00:00:00
12345 6 78
9101112 13
14 15 16
6
6
Figure 5-2
No. Name Description
1 Stop Click to stop playing back and exit the playback mode.
2 Slow Reverse Click to start slow reversing.
3 Pause Click to pause.
4 Slow Forward Click to start slow forwarding.
5 Time Bar
Move the slider to the left / right on the Time Bar to select the
time for playing back. The status of each camera is presented by
different colors on the Time Bar. GreenNormal,
OrangeMotion, BlueVideo Loss, RedAlarm Event.
6 Time Bar Scale
Use the + and - buttons to adjust the time scale range for the
bar. The scale range includes 5 options (levels). When changing
the level, the Start Time and End Time will change.
L1: Entire Time Bar scale is 2 days.
L2: Entire Time Bar scale is 30 hours.
L3: Entire Time Bar scale is 1 hour.
L4: Entire Time Bar scale is 10 minutes.
L5: Entire Time Bar scale is 1 minute.
7 Express Copy
Click to bring up the Copy menu for archiving the recordings / log
data to the USB storage device or DVD burner. For details, please
refer to 4.6 Archiving the Recordings or Log Data to the USB or
DVD.

EPHD04+ HDcctv DVR
45
No. Name Description
8 Close Click to hide the Playback Bar.
9 Fast Reverse Click to start fast reversing.
10 Reverse Click to start reversing.
11 Forward Click to start forwarding.
12 Fast Forward Click to start fast forwarding.
13 Playback Speed Indicates the current Playback Speed.
14 Start Time Indicates the playback start time.
15 Current Playback Time Indicates the current playback time.
16 End time Indicates the playback end time.

EPHD04+ HDcctv DVR
46
5.3 Searching the Recordings for Playing Back
You can search the recordings for playing back by using the Search menu. On the left side of the
Search menu, select Time Search, Event Search, Smart Search or Snapshot Search to enter to
the setup menu.
To bring up the Search menu:
By Mouse: Right-click to bring up the OSD Root Menu, and then click the Search button .
By Front Panel: Press the Search button.
Figure 5-3

EPHD04+ HDcctv DVR
47
5.3.1 Time Search
Figure 5-4
Start Date: Click to bring up the on-screen keyboard to select the date.
Start Time: Click to bring up the on-screen clock to select the time.
Play: Click to start playing back.

EPHD04+ HDcctv DVR
48
5.3.2 Event Search
Figure 5-5
Start Date / End Date: Click to bring up the on-screen keyboard to select the start / end date.
Start Time / End Time: Click to bring up the on-screen clock to select the start / end time.
Camera: Select the desired cameras to be searched.
Event: Select an event type to be searched.
Search: Click to start searching. The search results will be listed in the Event List menu as
shown below.
Figure 5-6
Prev Page / Next Page: Click to go to the previous / next page.
Unlock / Lock: Click to unlock / lock the selected items. The locked items will be
recorded in a write protected segment of the hard disk (will not be overwritten). The
DVR will lock a period of time when the alarm occurs. The length of the time depends
on DVR setting (see 6.7.2 Lock / Format).
Delete: Click to delete the selected items.
Play: Click to playback the selected items.
Copy: Click to copy the selected item to the USB storage device.

EPHD04+ HDcctv DVR
49
5.3.3 Smart Search
The Smart Search function allows users to search for the motion event recordings. You can set
up the motion areas in this setup menu and then search for the motion events within the
specified time.
Figure 5-7
Start Date / End Date: Click to bring up the on-screen keyboard to select the start / end date.
Start Time / End Time: Click to bring up the on-screen clock to select the start / end time.
Camera: Select a desired camera to be searched.
Grid Setting: Click to set up the motion areas. The Motion Grid Setup menu appears.
Search: Click to start searching. The search results will be listed in the Event List menu (see
Figure 5-5).
To set up the Motion Grid:
1. Click on the image and the grid will be displayed.
2. To set up a motion area, drag a rectangle with your mouse (from top to bottom / upper-
left to lower-right). The selected areas will be highlighted in green (see image below).
3. To delete a motion area, drag a rectangle with your mouse (from bottom to top / lower-
right to upper-left).
4. Follow Step 2 to set up multiple motion areas if necessary.
5. Click the Save & Back button to save the settings and then return to the Smart Search
menu.

EPHD04+ HDcctv DVR
50
Figure 5-8
Set All: Click to select the entire area.
Clear All: Click to clear all the selected areas.
Save & Back: Click to save the configured motion areas and return to the Smart Search
menu.
Cancel: Click to cancel all changes and return to the Smart Search menu.

EPHD04+ HDcctv DVR
51
5.3.4 Snapshot Search
You can display video frames in snapshot and resume a video from where the snapshot has
been set up.
Figure 5-9
Search Date: Click to bring up the on-screen keyboard / clock to select the date / time.
Search Direction: Click to search forward / backward based on the setup time above.
Search Camera: Select a desired camera to be searched.
Result Interval: Click to set up the interval for the snapshots of the video frame. For example,
if you select 5 minutes, the video frame will be snapshotted with 5-minute interval (see image
below).
Search: Click to start searching. The search results will be displayed in four-screen division
(see image below).
To resume the video:
1. Click the Search button, the search results are displayed in four-screen division. In this
picture, you can see the time layouts on the upper-left corner of each snapshot, which are
set up with 5-minute interval.

EPHD04+ HDcctv DVR
52
2. Right-click on the screen, the Resume Playback Bar appears in the middle of the screen.
Previous Play Close Next
3. Click the Previous or Next buttons to display the previous / next snapshots.
4. Select a snapshot by clicking on the snapshot, the selected snapshot will be highlighted
with a white frame.
5. Click the Play button to resume the video.
6. Click the Close button to close the Resume Playback Bar and then return to the Snapshot
Search menu.

EPHD04+ HDcctv DVR
53
6. Configuration
The EPHD04+ can be configured through a series of menus on screen by using a Mouse, front
panel buttons or the supplied IR Remote Control. The following operations are examples of using
a Mouse. This chapter describes the functions and options of the Configuration Setting in the on-
screen display (OSD) menus. Right-click the mouse, the OSD Root Menu appears. Click the
Configuration button , the following Configuration Menu displayed with 10 setup options
appears.
Figure 6-1
Chapter
6

EPHD04+ HDcctv DVR
54
List of Configuration Options:
Please find the topic of interest by referring to the section prefixed to each option.
6.1 Express
6.2 Camera Setting
6.2.1 Basic Setting
6.2.2 Motion
6.2.3 Video Loss
6.3 Record & Play
6.3.1 Record
6.3.2 Built-in Cal.
6.3.3 Play
6.4 Alarm & Event 6.4.1 Alarm
6.4.2 Event
6.5 Schedule Setting
6.5.1 Express Setup
6.5.2 Holidays
6.5.3 Schedule
6.5.4 Alarm Action
6.6 Network Setting
6.6.1 LAN
6.6.2 Email
6.6.3 DDNS
6.6.4 Alarm Server
6.6.5 Network Test
6.7 Disk 6.7.1 Disk
6.7.2 Lock / Format
6.8 Display Setting
6.8.1 Monitor OSD
6.8.2 Main Monitor Sequence
6.8.3 Call Monitor Sequence
6.9 System Setting
6.9.1 Date / Time
6.9.2 Daylight Saving Time
6.9.3 User
6.9.4 I/O Control
6.9.5 Misc.
6.9.6 Quick Archive
6.10 Information 6.10.1 System
6.10.2 Log

EPHD04+ HDcctv DVR
55
6.1 Express
You can configure the global express settings for all cameras.
Figure 6-2
Date: Click to bring up the on-screen keyboard to set up the system date.
Time: Click to bring up the on-screen clock to set up the system clock.
Record Dual Stream: Click to enable / disable the dual streams recording function.
Record Mode: Select a recording mode from the drop-down list.
Blank: Select this option for cameras to keep the current individual record settings without
any changes. Please refer to 6.5.1 Express Setup for more details.
Normal+Event: Continuous and Event recordings. Set up the estimated number of hours per
day for event recording.
Event Only: Event recordings only. Set up the estimated number of hours per day for event
recording.
Schedule Record: Schedule recordings.
Main Resolution: Select a recording resolution for the main stream.
Sub Resolution: Select a recording resolution for the sub stream. The sub stream is designed for
remote operation, such as remote live view and remote playback. Please refer to 7.3 Remote
Live View for more details.

EPHD04+ HDcctv DVR
56
Record With: Select a record method.
Blank: Select this option for cameras to keep the current individual record method without
any changes.
Preset Settings: Select this option and further set up the recording quality. For details, please
refer to Appendix D. Express Setup Recording Value Selection Rules.
Recording Days: This option is not available for Schedule Record. Set up the maximum
recording days. For details, please refer to Appendix D. Express Setup Recording Value
Selection Rules.
LAN: Select LAN1 or LAN2 from the drop-down list.
Network Type: Select a network type for all cameras.
Static IP: Set up a static IP for the DVR. This type of address is stable and cannot change, but
the user has to make sure there are no address conflicts with other network-connected
devices.
DHCP: Select this item for the DHCP server to automatically assign an IP address for the DVR.
PPPoE: This is a DSL-connection application (no router). The ISP will ask the user to input a
username and password. Contact your ISP for these details. Note only LAN1 supports PPPoE.
IP Address: This field shows the current IP Address for the DVR. If Fixed IP address is used then
this value must be set manually. If DHCP or PPPoE is selected, this value will be assigned
automatically.
Subnet Mask: This field shows the subnet mask for your network so the DVR will be recognized
within the network. If DHCP or PPPoE is selected, this value will be assigned automatically.
Gateway: This field shows the gateway for your network so the DVR will be able to communicate
outside the network. If DHCP or PPPoE is selected, this value will be assigned automatically.
DNS server 1: This field shows the primary DNS server for your network. When DHCP is selected
and an internet connection is available, this value will be assigned automatically. This field must
be assigned correctly if you plan to use the DDNS feature (refer to 6.6.3 DDNS for more details).
DNS server 2: This field shows the secondary DNS server for your network.
Note: The default addresses in the machine are for internal testing only. You must supply your
own addresses to comply with your network. Refer to Section 6.6 Network Setting for more
details.
Apply: Click to save and apply the settings to the DVR. The system will automatically adjust the
recording frame rate according to your settings.

EPHD04+ HDcctv DVR
57
6.2 Camera Settings
You can configure the settings for individual camera. The setting options include Basic Setting,
Motion and Video Loss.
6.2.1 Basic Setting
Figure 6-3
Camera: Select a camera to be configured.
Title: Click to bring up the on-screen keyboard for assigning a title for the selected camera.
Each title supports up to 16 characters.
Install: Check the box to enable the selected camera.
Covert: Check the box to hide the camera stream in Live View and Sequence modes. However,
the DVR will still record the videos and the recordings can be played back by users who have
the privilege to playback. For details on enabling the Covert function, please refer to 4.7.1
Temporarily Logout.
Record Mode: Select a record mode from the drop-down list.
Normal+Event: Continuous and Event recordings.
Event Only: Event recordings only.
Record Dual Stream: Click to enable / disable the dual stream recording function. And then
configure the following settings for the Main Stream and Sub Stream.
Resolution: Select a recording resolution for the Main Stream and Sub Stream.

EPHD04+ HDcctv DVR
58
Record Quality: Select a recording quality for the Main Stream and Sub Stream. The options
include Low, Basic, Standard, High and Superior. The higher the quality, the more the HDD
space is used.
Normal Speed: Select a frame rate per second (FPS) for continuous recording. The speed is
limited by the maximum total recording capacity of the DVR as allocated across all the
installed cameras, with an upper limit of 30 FPS (NTSC) / 25 FPS (PAL) per individual camera
(real time recording).
Event Speed: Select a frame rate per second (FPS) for event recording.
Record Audio: Check the box to enable audio recording on the DVR. Note that the Audio
function is unavailable for Germany.
PTZ ID: To allow the DVR to recognize and then control the connected PTZ camera, you have
to set up an ID for the PTZ camera. Select On and then enter an ID for the camera. This ID
must match the ID address set up on the PTZ camera. For setting up the ID address on the PTZ
camera, please refer to the User’s Manual of your PTZ camera.
Apply To: Click the button to apply the same settings to the desired cameras.

EPHD04+ HDcctv DVR
59
6.2.2 Motion
You can enable the Motion Event function and configured the related settings including
motion event notifications and motion areas in this menu.
Figure 6-4
Camera: Select a camera to be configured.
Enable: Check the box to enable the Motion Event settings for the selected camera.
Log: Check the box to record motion events to log data.
Pre-alarm Record: Check the box to start copying the recordings to the hard disk from 5
seconds before the motion event occurs. Note that the pre-alarm recording rate will follow
the Normal Speed configured in the above section (see 6.2.1 Basic Setting).
Buzzer: Check the box to enable the buzzer when a motion event is triggered.
Email Notify: Check the box to send email notification when a motion event is detected. Email
operation requires valid email entered in the Email setup menu (see 6.6.2 Email).
Network Alarm: Check the box to send out a network alarm to a client PC when motion
occurs. This feature works with EverFocus’ CMS software, including PowerCom and
PowerVideo Plus. You will need to configure the Alarm Server for the DVR to send network
alarms to the client PC (see 6.6.4 Alarm Server).
Auto Lock: Check the box and the events will be recorded in a write protected segment of the
hard disk (will not be overwritten). The DVR will lock a period of time when the alarm occurs.
The length of the time depends on DVR setting (see 6.7.2 Lock / Format).
Alarm Output: Select an alarm output relay. When an alarm is triggered, the signal will be
transmitted through the selected alarm output relay.
Output Type: Select an output type when an alarm is triggered.

EPHD04+ HDcctv DVR
60
Timeout: Select this option and then set up the Timeout Duration in the field below, the
alarm output will last for the setup duration time (1 ~ 150 seconds).
Permanent: Alarm will remain active until the user presses the “Enter” key on the IR
Remote Control or resets the alarm remotely.
Transparent: Alarm output remains as long as the alarm input is active.
Trans + Timeout: Alarm output continues until event ends, then continues for the setup
duration time (1 ~ 150 seconds).
Timeout Duration: This function only appears when you select Timeout or Trans + Timeout
options in the Output Type drop-down list. Select a duration time for the motion event. The
alarm output will last for the setup duration time between 1 and 150 seconds.
Main Monitor: Select Full Screen to force the camera which detects motion to display full
screen on the Main Monitor. The full screen camera view will last according to the Output
Type selected in the field above.
Call Monitor: Select Full Screen to force the camera which detects motion to display full
screen on the Call Monitor. The full screen camera view will last according to the Output Type
selected in the field above.
Edit Motion Grid: Press the button to bring up the Motion Setting menu. To edit the motion
grids, please refer to the instructions later in this section.
Apply To: Click the button to apply the same settings to the desired cameras.
To Edit the Motion Grids:
1. Click the Edit Motion Grid button, the Motion Setting menu appears.
Figure 6-5
2. Click on the image and the grid will be displayed.

EPHD04+ HDcctv DVR
61
3. To set up a motion area, drag a rectangle with your mouse (from top to bottom / upper-
left to lower-right). The selected areas will be highlighted in green (see image below).
4. To delete a motion area, drag a rectangle with your mouse (from bottom to top / lower-
right to upper-left).
5. Follow Step 3 to set up multiple motion areas if necessary.
6. Sets up the Sensitivity, Min Area and Motion Delay for the motion grids.
Sensitivity: Sets up the motion sensitivity for the grids. The larger the number, the higher
the sensitivity.
Min Area: This function is designed to prevent false detections caused by small objects. If
you select 2, only the object size larger than 2-grid size can be detected.
Motion Delay: This function is designed to prevent false detections caused by continuous
motions. Select a delay time in seconds to start detecting motion after x second(s).
7. Click the Save & Back button to save the settings and then return to the Motion menu.

EPHD04+ HDcctv DVR
62
6.2.3 Video Loss
You can enable the Video Loss Event function and configured the video loss event
notifications in this menu.
Figure 6-6
Camera: Select a camera to be configured.
Enable: Check the box to enable the Video Loss event settings for the selected camera.
Log: Check the box to record video loss events to log data.
Pre-alarm Record: Check the box to start copying the recordings to the hard disk from 5
seconds before the video loss event occurs. Note that the pre-alarm recording rate will follow
the Normal Speed configured in the above section (see 6.2.1 Basic Setting).
Buzzer: Check the box to enable the buzzer when a video loss event is triggered.
Email Notify: Check the box to send email notification when a video loss event is detected.
Email operation requires valid email entered in the Email setup menu (see 6.6.2 Email).
Network Alarm: Check the box to send out a network alarm to a client PC when video loss
event occurs. This feature works with EverFocus’ CMS software, PowerVideo Plus. You will
need to configure the Alarm Server for the DVR to send network alarms to the client PC (see
6.6.4 Alarm Server).
Alarm Output: Select an alarm output number. When an alarm is triggered, the signal will be
transmitted through the alarm output relay.

EPHD04+ HDcctv DVR
63
Output Type: Select an output type when an alarm is triggered.
Timeout: Select this option and then set up the Timeout Duration in the field below, the
alarm output will last for the setup duration time (1 ~ 150 seconds).
Permanent: Alarm will remain active until the user presses the “Enter” key on the IR
Remote Control or resets the alarm remotely.
Transparent: Alarm output remains as long as the alarm input is active.
Trans + Timeout: Alarm output continues until event ends, then continues for the setup
duration time (1 ~ 150 seconds).
Timeout Duration: This function only appears when you select Timeout or Trans + Timeout
options in the Output Type drop-down list. Select a duration time for the motion event. The
alarm output will last for the setup duration time between 1 and 150 seconds.
Apply To: Click the button to apply the same settings to the desired cameras.

EPHD04+ HDcctv DVR
64
6.3 Record Settings
You can configure the basic recording settings on the hard disk. You can also configure the
settings for Quick Playback.
6.3.1 Record
You can enable the Video Loss Event function and configured the video loss event
notifications in this menu.
Figure 6-7
Record Overwrite: Check the box to overwrite the hard disk when it is full. Note that unless
this box is checked, or the DVR will stop recording when the hard disk is full. The use of record
overwrite is strongly recommended. If you do not use this feature, please be sure to enable
the Event setting for HD Full for notification (see 6.4.2 Event).
Schedule Record: Check the box to record videos according to the setup Schedule (see 6.5
Schedule Setting).
Time Stamp: Select Bottom or Top to record the system date and time on the bottom / top of
the image. Select off will not record the system date and time in the recordings.
Record Status Relay Output: Select a number to monitor the recording status of the selected
alarm relay. The recording status of the selected alarm relay will be transmitted to the alarm
output device.
Auto Erase Video: The hard disk will automatically erase video after it has been on the hard
drive for the selected number of days. To use the maximum hard drive space, choose “OFF”.
(See Record Overwrite and notes above.) This feature is useful if local rules and regulations
require recorded video to be discarded after a specific number of days, or to limit the
retention of older recorded video to clear space in anticipation of event recording.

EPHD04+ HDcctv DVR
65
6.3.2 Built-in Calculator
The built-in calculator can be used to give a rough estimation of the total recording time for
the DVR with the current settings. In order to compute the estimation as accurate as possible,
please enter the expected number of hours the motion / alarm recordings will take per day.
Figure 6-8
Motion: Select the expected number of hours the motion recordings will take per day.
Alarm: Select the expected number of hours the alarm recordings will take per day.
Note: if the total hour of Motion and Alarm is more than 24 hours, the calculator will assume
that motion and alarm recordings take place for the entire 24-hour period.
Estimate: Click this button and the result will be displayed at the bottom of the screen.

EPHD04+ HDcctv DVR
66
6.3.3 Play
You can set up the Quick Playback start time in this menu.
Figure 6-9
Quick Playback: Check the box to enable the configured playback start time in the below field.
Playback from X seconds ago: Set up a time between 60 and 3600 seconds for the playback
start time. When you click the Play button on the front panel, the system will play back the
recordings start from the setup time.

EPHD04+ HDcctv DVR
67
6.4 Alarm & Event
You can configure the Alarm / Event settings in this menu.
6.4.1 Alarm
Figure 6-10
Alarm: Select an Alarm input number from 1 to 4.
Enable: Check the box to enable the Alarm trigger function for the selected alarm input.
Log: Check the box to record alarm events to log data.
Pre-alarm Record: Check the box to start copying the recordings to the hard disk from 5
seconds before the alarm event occurs. Note that the pre-alarm recording rate will follow the
Normal Speed configured in the earlier section (see 6.2.1 Basic Setting).
Buzzer: Check the box to enable the buzzer when an alarm event is triggered.
Email Notify: Check the box to send email notification when an alarm event is detected. Email
operation requires valid email entered in the Email setup menu (see 6.6.2 Email).
Network Alarm: Check the box to send out a network alarm to a client PC when an alarm
event occurs. This feature works with EverFocus’ CMS software, PowerVideo Plus. You will
need to configure the Alarm Server for the DVR to send network alarms to the client PC (see
6.6.4 Alarm Server).
Auto Lock: Check the box and the events will be recorded in a write protected segment of the
hard disk (will not be overwritten). The DVR will lock a period of time when the alarm occurs.
The length of the time depends on DVR setting (see 6.7.2 Lock / Format).

EPHD04+ HDcctv DVR
68
Alarm Output: Select an alarm output number. When an alarm is triggered, the signal will be
transmitted through the selected alarm output relay.
Output Type: Select an output type when an alarm is triggered.
Timeout: Select this option and then set up the Timeout Duration in the field below, the
alarm output will last for the setup duration time (1 ~ 150 seconds).
Permanent: Alarm will remain active until the user presses the “Enter” key on the IR
Remote Control or resets the alarm remotely.
Transparent: Alarm output remains as long as the alarm input is active.
Trans + Timeout: Alarm output continues until event ends, then continues for the setup
duration time (1 ~ 150 seconds).
Timeout Duration: This function only appears when you select Timeout or Trans + Timeout
options in the Output Type drop-down list. Select a duration time for the motion event. The
alarm output will last for the setup duration time between 1 and 150 seconds.
Main Monitor: Select Full Screen to force the camera associated with the selected alarm
number to display full screen on the Main Monitor. The full screen camera view will last
according to the Output Type selected in the field above.
Call Monitor: Select Full Screen to force the camera associated with the selected alarm
number to display full screen on the Call Monitor. The full screen camera view will last
according to the Output Type selected in the field above.
Record: Select a camera to start recording when the associated alarm number is triggered.
Input Type: Select an input type when the selected alarm number is triggered. The options
include N.O. and N.C.
Active Camera: This function is for associating an alarm trigger with a specific camera. For
example, if you set up an external motion detector near Camera 2, you can select Camera 2 in
this field. The alarm will be associated with this camera for full screen display, event logging
and PTZ actions.
PTZ: If the Active Camera selected above is a PTZ camera, you can further set up the PTZ
actions in this field.
Apply To: Click the button to apply the same settings to the desired cameras.

EPHD04+ HDcctv DVR
69
6.4.2 Event
You can configure the event settings and enable the Buzzer or Email alert for notifications.
The event options include: Fan Failure, HD Temperature, HD Failure, HD Full, HD Off, Power
Loss and Network Loss.
6.4.2.1 Fan Failure
Figure 6-11
Log: Check the box to record alarm events to log data.
Buzzer: Check the box to enable buzzer when fan is not working.
Email Notify: Check the box to send email notification when an alarm event is detected. Email
operation requires valid email entered in the Email setup menu (see 6.6.2 Email).
Network Alarm: Check the box to send out a network alarm to a client PC when an alarm
event occurs. This feature works with EverFocus’ CMS software, PowerVideo Plus. You will
need to configure the Alarm Server for the DVR to send network alarms to the client PC (see
6.6.4 Alarm Server).
Alarm Output: Select an alarm output number. When an alarm is triggered, the signal will be
transmitted through the selected alarm output relay.
Output Type: Output action will be Transparent and cannot be changed (alarm output
remains as long as the alarm condition is active).

EPHD04+ HDcctv DVR
70
6.4.2.2 HD Temperature
Figure 6-12
Log: Check the box to record alarm events to log data.
Buzzer: Check the box to enable buzzer when Hard Disk’s (HD) temperature is over the “Temp.
Warning Limit”.
Email Notify: Check the box to send email notification when Hard Disk’s (HD) temperature is
over the “Temp. Warning Limit”. Email operation requires valid email entered in the Email
setup menu (see 6.6.2 Email).
Network Alarm: Check the box to send out a network alarm to a client PC. This feature works
with EverFocus’ CMS software, PowerVideo Plus. You will need to configure the Alarm Server
for the DVR to send network alarms to the client PC (see 6.6.4 Alarm Server).
Stop Recording: Check box to stop recording when HD’s temperature is over the “Temp.
Warning Limit”.
Temp. Warning Limit: Sets the trigger temperature for HD Temperature event actions.
Choose between 50°C /122°F and 70°C /158°F.
Alarm Output: Select an alarm output number. When an alarm is triggered, the signal will be
transmitted through the selected alarm output relay.
Output Type: Output action will be Transparent and cannot be changed (alarm output
remains as long as the alarm condition is active).

EPHD04+ HDcctv DVR
71
6.4.2.3 HD Failure
Figure 6-13
Log: Check the box to record alarm events to log data.
Buzzer: Check the box to enable buzzer when HD fails.
Email Notify: Check the box to send email notification when HD fails. Email operation
requires valid email entered in the Email setup menu (see 6.6.2 Email).
Network Alarm: Check the box to send out a network alarm to a client PC when HD fails. This
feature works with EverFocus’ CMS software, PowerVideo Plus. You will need to configure the
Alarm Server for the DVR to send network alarms to the client PC (see 6.6.4 Alarm Server).
Alarm Output: Select an alarm output number. When an alarm is triggered, the signal will be
transmitted through the selected alarm output relay.
Output Type: Output action will be Transparent and cannot be changed (alarm output
remains as long as the alarm condition is active).

EPHD04+ HDcctv DVR
72
6.4.2.4 HD Full
Figure 6-14
Log: Check the box to record alarm events to log data.
Buzzer: Check the box to enable buzzer when HD is full.
Email Notify: Check the box to send email notification when HD is full. Email operation
requires valid email entered in the Email setup menu (see 6.6.2 Email).
Network Alarm: Check the box to send out a network alarm to a client PC when HD is full.
This feature works with EverFocus’ CMS software, PowerVideo Plus. You will need to
configure the Alarm Server for the DVR to send network alarms to the client PC (see 6.6.4
Alarm Server).
Alarm Output: Select an alarm output number. When an alarm is triggered, the signal will be
transmitted through the selected alarm output relay.
Output Type: Select an output type when HD is full.
Timeout: Select this option and then set up the Timeout Duration in the field below, the
alarm output will last for the setup duration time (1 ~ 150 seconds).
Permanent: Alarm will remain active until the user presses the “Enter” key on the IR
Remote Control or resets the alarm remotely.
Transparent: Alarm output remains as long as the alarm input is active.
Trans + Timeout: Alarm output continues until event ends, then continues for the setup
duration time (1 ~ 150 seconds).
Timeout Duration: This function only appears when you select Timeout or Trans + Timeout
options in the Output Type drop-down list. Select a duration time for the event. The alarm
output will last for the setup duration time between 1 and 150 seconds.

EPHD04+ HDcctv DVR
73
6.4.2.5 HD Off
Figure 6-15
Buzzer: The buzzer will activate when fan is not working.
Email Notify: Check the box to send email notification when HD is off. Email operation
requires valid email entered in the Email setup menu (see 6.6.2 Email).
Network Alarm: Check the box to send out a network alarm to a client PC when HD is off. This
feature works with EverFocus’ CMS software, PowerVideo Plus. You will need to configure the
Alarm Server for the DVR to send network alarms to the client PC (see 6.6.4 Alarm Server).
Alarm Output: Select an alarm output number. When an alarm is triggered, the signal will be
transmitted through the selected alarm output relay.
Output Type: Select an output type when HD is off.
Timeout: Select this option and then set up the Timeout Duration in the field below, the
alarm output will last for the setup duration time (1 ~ 150 seconds).
Permanent: Alarm will remain active until the user presses the “Enter” key on the IR
Remote Control or resets the alarm remotely.
Transparent: Alarm output remains as long as the alarm input is active.
Trans + Timeout: Alarm output continues until event ends, then continues for the setup
duration time (1 ~ 150 seconds).
Timeout Duration: This function only appears when you select Timeout or Trans + Timeout
options in the Output Type drop-down list. Select a duration time for the event. The alarm
output will last for the setup duration time between 1 and 150 seconds.

EPHD04+ HDcctv DVR
74
6.4.2.6 Power Loss
Figure 6-16
Log: Check the box to record alarm events to log data.
Email Notify: Check the box to send email notification when power has been restored. Email
operation requires valid email entered in the Email setup menu (see 6.6.2 Email).
Network Alarm: Check the box to send out a network alarm to a client PC when power has
been restored. This feature works with EverFocus’ CMS software, PowerVideo Plus. You will
need to configure the Alarm Server for the DVR to send network alarms to the client PC (see
6.6.4 Alarm Server).
Note: As alarms and emails cannot be transmitted without power, the log entry is made when
power is restored, and any notifications cannot be made until that time.

EPHD04+ HDcctv DVR
75
6.4.2.7 Network Loss
Figure 6-17
Log: Check the box to record alarm events to log data.
Buzzer: Check the box to enable buzzer when network is lost.
Alarm Output: Select an alarm output number. When an alarm is triggered, the signal will be
transmitted through the selected alarm output relay.
Output Type: Select an output type when the network is lost.
Timeout: Select this option and then set up the Timeout Duration in the field below, the
alarm output will last for the setup duration time (1 ~ 150 seconds).
Permanent: Alarm will remain active until the user presses the “Enter” key on the IR
Remote Control or resets the alarm remotely.
Transparent: Alarm output remains as long as the alarm input is active.
Trans + Timeout: Alarm output continues until event ends, then continues for the setup
duration time (1 ~ 150 seconds).
Timeout Duration: This function only appears when you select Timeout or Trans + Timeout
options in the Output Type drop-down list. Select a duration time for the event. The alarm
output will last for the setup duration time between 1 and 150 seconds.
Note: This function only checks the physical connection (link) to the network. Any network
behavior that blocks data connectivity (blocked ports, IP addressing errors, etc.) is not
detected by this function.

EPHD04+ HDcctv DVR
76
6.5 Schedule Setting
You can set up the recording schedule with the desired time, event types or FPS.
6.5.1 Express Setup
You can set up a weekly recording schedule for the DVR to automatically record videos.
Figure 6-18
Weekend Start: Select a start date and time for the weekend.
Weekend End: Select an end date and time for the weekend.
Daytime Start: Select a weekday start time (Nighttime schedule ends when Daytime begins).
Daytime End: Select a weekday end time (Nighttime schedule ends when Daytime ends).
Record Type: Select a recording type for each time period.
Disable: No recording during the scheduled time period.
Normal+Event: Continuous and Event recordings.
Event Only: Event recordings only.
Normal: Select a frame rate per second (FPS) for the Continuous Recording.
Event: Select a frame rate per second (FPS) for the Event Recording.
Action: Check the box to enable the Buzzer, Alarm Out, E-mail and Network actions selected
in 6.4 Alarm & Event when an event occurs during the selected time period.
Apply: Click the button to apply the settings.
Note: For Holiday and Others, you can set up the recording schedule in 6.5.2 Holidays.

EPHD04+ HDcctv DVR
77
6.5.2 Holidays
In addition to set up a weekly recording schedule, you can also set up a holiday recording
schedule to automatically record videos on a specific day of the year.
Figure 6-19
Date Type: Select Holiday or Others if you have configured the settings in 6.5.1 Express Setup.
The Holiday and Others are two different groups designed for you to assign special days
independently.
Recurrent Type: Select a date layout for the selected group above.
Disabled: Select to disable the Holiday / Others recording schedule.
One time: Select this option and then set up the specific date and year in the Details field.
The DVR will start recording on this specific date.
Month/date: Select this option and then set up the specific date in the Details field. The
DVR will start recording on this date yearly.
Month/Weekday: Select this option and then set up the specific date in the Details field.
The DVR will start recording on this specific date.
Details: Click to specify the date for the selected group above.
Prev: Click to go to the previous page.
Next: Click to go to the next page.

EPHD04+ HDcctv DVR
78
6.5.3 Schedule
You can set up the camera recording mode by time of day on specific days of the week and/or
holidays and other days.
Figure 6-20
Camera: Select a camera number to change the schedule for the selected camera. Each
camera can be controlled during a 24-hour time block for Holiday (Hol), Other (Oth), Sunday
(Sun), Monday (Mon), Tuesday (Tue), Wednesday (Wed), Thursday (Thu), Friday (Fri), or
Saturday (Sat).
Time Bar: The time bar uses three different colors to distinguish each recording mode.
Gray (No Rec): No recording during this time block.
Orange (E): Only events are recorded during this time block.
Blue (N+E): (Default) Normal and event recording during this time block.
To Set Schedule using Mouse
1. Click on desired start time block (no numbers on it) on a time bar. At this time, the
selected time block will be highlighted in blue frame and the entire time bar will be
highlighted by red frame. There are 24 blocks on the time bar representing 24 hours
respectively.
2. Set a schedule start time by clicking on a desired start time block on a time bar. Click
again to confirm, and a new sequence number (for this new section) will show on this
block and the current and all following blocks will turn to gray. This means this new gray
timezone has a new record mode (No record).

EPHD04+ HDcctv DVR
79
3. Change the timezone/section to different record mode (which shows a different color) by
clicking on the first (numbered) block of any section. The color switches from gray ->
orange -> blue, every time the user clicks the first block of a section.
4. Repeat clicking on the first block (indicated by a sequence number on it) of any timezone,
this timezone will change from one color to another, which means switching the record
mode. The color switch sequence is gray->orange->blue.
Schedule Setting using the front panel buttons
1. Enter schedule setting mode: Select the “Schedule’ icon on the configuration menu and
press the ‘Enter’ button; the left hand column will be highlighted in a blue frame. Use the
Jog wheel to highlight the ‘Schedule’ choice and press the “Enter” button to enter the
schedule setting mode. At this time, the whole editing area at the lower right side will be
highlighted within a blue frame.
2. Enter camera selection mode: Use the Jog wheel to switch to Camera selection mode.
The list of camera numbers will be highlighted with a blue frame.

EPHD04+ HDcctv DVR
80
3. Selecting camera: Use the Shuttle wheel to select the desired camera to configure. The
selected camera number will be highlighted by a blue frame.
4. Enter time bar editing mode: Use the Jog wheel to switch to time bar editing mode.
When this mode is selected, all 9 time bars will be highlighted with a blue frame.
5. Select desired time bar for setting: Press the “Enter” button; the first time bar will be
selected with a red frame. Use the Jog wheel to select the desired time bar for setting.

EPHD04+ HDcctv DVR
81
6. Editing blocks in a time bar: when a time bar is selected (highlighted in red frame), press
the “Enter” button, and the first block of this bar will be selected (highlighted in blue
frame). Use the Jog wheel to select the desired block as the starting time, and press the
Enter button to confirm. At this time, the current and all following blocks will turn into
gray, which means this gray timezone has been set to the recording mode of gray (No
Rec). User can also change the timezone to a different record mode (with different color)
by following the instructions in the next step.
7. Changing recording mode (color) of a timezone: Use the Jog wheel to switch to the first
block (with number on it) of a timezone. Click the Enter button, this timezone will switch
to another color, which means switching to another record mode. The color switch
sequence is gray->orange->blue.
8. To exit the screen, press the “Menu/Esc” button as required to move up the menu levels
and, if desired, out of the menu system.
Click the “Edit Timezone” button to edit the recording parameters for a time zone.
Figure 6-21

EPHD04+ HDcctv DVR
82
Editing Timezone:
From: Displays time zone start time.
To: Displays time zone end time.
Record: Displays Record mode.
Resolution: Recording resolution is displayed.
Normal: Frame rate in FPS for continuous recording. It is important to keep track of the
normal recording resources being allocated at each hours of the day. Increasing the Normal
recording resolution and/or rate can inadvertently request more recording resources than the
DVR is capable of delivering, or allocate so much of the DVRs resources that there is no excess
available for increased FPS rate and/or resolution in response to an Event.
The speed is limited by the maximum total recording capacity of the DVR as allocated across
TV standard in global setting, all the installed cameras, with an upper limit of 30 FPS (NTSC –
25 PAL) per individual camera (real time recording). The DVR is capable of recording 120 fps
(NTSC) / 100 fps (PAL) at 1080p. Options of fps include 30, 15, 10, 7.5, 5, 3, 2 and 1 FPS.
Since EverFocus DVRs have the capability to change the FPS rate in response to events, it may
be advisable to reserve some recording capacity for event response.
Event: Maximum desired frame rate in frames per second (FPS) for event recording; if more
than one camera requires simultaneous event recording, the total for all cameras cannot
exceed the maximum available FPS for the DVR at the corresponding resolution setting, and
the available FPS may be divided across the cameras responding to an event.
Action: Check this box to enable notifications enabled elsewhere (Buzzer, Alarm out, E-mail,
and Network Alarm) when an event occurs.
Apply to Days: This button can be used to copy schedules to other days. Select which days
you wish to copy to. "Select All" selects all days, “Clear All” deselects all days. Click “OK” to
copy the settings or "Cancel" to exit without copying.
Apply to Cameras: This button can be used to copy schedules to other cameras. Select which
cameras you wish to copy to. "Select All" selects all cameras, “Clear All” deselects all cameras.
Click “OK” to copy the settings or "Cancel" to exit without copying.

EPHD04+ HDcctv DVR
83
6.5.4 Alarm Action
Defines recording response to “alarm” input trigger signals by time of day on specific days of
the week and/or holidays and ‘other’ days.
Figure 6-22
Alarm: Select a number to change the schedule for that alarm input trigger. Each alarm can
be set on a 24 hour time block for Holiday (Hol), Other (Oth), Sunday (Sun), Monday (Mon),
Tuesday (Tue), Wednesday (Wed), Thursday (Thu), Friday (Fri), or Saturday (Sat).
Time Bar: The time bar uses two different colors to distinguish each recoding mode.
Off: No recording during this time block.
On: Alarm action will be recorded during this time block.
To Set Schedule using Mouse:
1. Click on the “Alarm Action” choice, then click on the right hand side of the screen. The
border for that region will now turn blue.
2. Click on the number of the alarm trigger input you wish to configure. That number will
be framed in blue.
3. Click on a desired start time block on a time bar. There are 24 blocks on the time bar
representing 24 hours respectively. At this time, the selected time bar will be
highlighted by a red frame and the selected block will be highlighted in blue frame.
Initially, the selected block and all following blocks will be gray, which means this gray
timezone has been set to the recording mode corresponding to gray (alarm action
recording OFF).

EPHD04+ HDcctv DVR
84
4. Change the section to different mode (with a different color) by clicking on the first
block of the section. The color switches from gray -> orange -> gray, every time user
clicks the first block of a section. Orange indicates ‘alarm action recording ON’.
5. To set the end of a timezone, select the time block following the end of the timezone
defined in the step above. The first click will highlight the block in blue. A second click
will toggle the state/color of that block and the remainder of the time bar, ending the
above defined timezone
Alarm Action Setting from front panel
1. Enter Alarm Action setting mode: highlight the “Alarm Action: menu choice and press
the “Enter” button to enter Alarm Action setting mode. At this time, the whole editing
area at the right side will be highlighted with a blue frame.
2. Enter alarm selection mode: Use the Jog wheel to switch to Alarm selection mode. The
Alarm channel will be highlighted with a blue frame.
3. Selecting alarm: Use the Shuttle wheel to select an alarm number to be configured.
Selected alarm number will be highlighted with a blue frame.

EPHD04+ HDcctv DVR
85
4. Enter time bar editing mode: Use the Jog wheel to switch to time bar editing mode. The
area surrounding the time bars will be highlighted with a blue frame.
5. Select desired time bar for setting: Press the Enter button, the first time bar will be
selected and highlighted with a red frame. Use the Jog wheel to choose the desired time
bar for setting.
6. Editing blocks in a time bar: Press the Enter button to select that time bar for
configuration; then the first block of this bar will be selected (highlighted with a blue
frame). Use the Jog wheel to move to the desired block for the starting time, and press
the Enter button again to confirm. At this time, the current and all following blocks will
turn into gray, which means this gray timezone has been set to the recording mode of
gray (Alarm Action off). User can also change the timezone to a different record mode by
following the instructions in the next step.
7. Changing recording mode (color) of a timezone: Use the Jog wheel to select the first
block of a timezone. Press the Enter button, and this timezone will switch to another
color, which means switching to another recording mode. The color switch sequence is
gray->orange->gray.

EPHD04+ HDcctv DVR
86
Apply to Days: This button can be used to copy schedules to other days. Select which days you
wish to copy to. "Select All" selects all days, “Clear All” deselects all days. Click “OK” to copy the
settings or "Cancel" to exit without copying.
Apply to Cameras: This button can be used to copy schedules to other cameras. Select which
cameras you wish to copy to. "Select All" selects all cameras, “Clear All” deselects all cameras.
Click “OK” to copy the settings or "Cancel" to exit without copying.

EPHD04+ HDcctv DVR
87
6.6 Network Settings
The DVR allows you to use a Web browser to remotely view and manage the system. You can
also receive live video streaming from the DVR using your smartphone.
Note: Since every Network Configuration is different, please check with your Network
Administrator or ISP to see if your DVR should use specific IP addresses and/or port numbers.
6.6.1 LAN
According to your network environment, select Static IP, DHCP or PPPoE to configure an IP
address to the DVR.
Figure 6-23
LAN Port: Select LAN1 or LAN2 from the drop down list.
Network Type: Three options are selectable: Static IP, DHCP and PPPoE.
Static IP: User can set a fixed IP for network connection.
DHCP: DHCP server in LAN will automatically assign an IP configuration for the network
connection.
PPPoE: For direct connection to the DSL only. Verify with your ISP if they use PPPoE. Note
that only LAN1 supports PPPoE.
IP address: Displays the DVR’s current IP Address. A static IP address must be set manually. If
DHCP is selected, this value will be assigned automatically.
Subnet Mask: Displays the subnet mask for your network so the DVR will be recognized
within the network. If DHCP is selected, this value will be assigned automatically.

EPHD04+ HDcctv DVR
88
Gateway: Displays the gateway on your network for the DVR to use when communicating
with any devices not on the local network. If DHCP is selected, this value will be assigned
automatically.
DNS Server 1: Displays the primary DNS server for your network. If DHCP is selected and an
internet connection is available, this value should be assigned automatically. This field must
have a valid DNS address in order to use the DDNS feature (see 6.6.3 DDNS).
DNS Server 2: This field shows the secondary DNS server for your network.
HTTP Port: Port number for HTTP/WEB communication.
Bandwidth Limit (Kbps): Specify, disabled / 128 K/ 256 K / 512 K / 768K/ 1M / 3M bps. This is
the maximum bandwidth that the DVR is allowed to use on the network. This is a useful
function when connecting the DVR to busy or heavily loaded networks, or when accessing the
DVR(s) over a WAN.
Additional information:
1. Set up the DVR Network Menu according to the instructions detailed in the Networking
chapter of this DVR’s manual.
a. If using DHCP, all settings will be detected automatically. While DHCP is a useful tool
for determining the network settings, if you set up your DVR in this manner its IP
address may change at different times for different reasons, particularly after a power
failure. If the IP address of the DVR changes, you may have difficulties accessing your
DVR locally and/or remotely. It is strongly recommended that you assign a fixed (static)
IP address to your DVR, and that in order to avoid address conflicts the IP address
assigned be outside of the DHCP range of addresses your router issues to DHCP clients.
Please do not set the DHCP address issued to the DVR by the router as its static IP
address unless you take specific steps that program your router to prevent such
address conflicts.
b. If using a Fixed IP (recommended), you will need to input the information manually. In
order for DDNS to work, you must enter valid data, compatible with your network, for
all four of the network setting fields: IP address, subnet mask, default gateway and the
DNS Address (depending on your network hardware and IP configuration this may be
the IP address of your router/gateway, or it may be the actual IP address of the local
DNS server). The DNS server IP is required because your DNS server provides critical
information necessary for the DVR to communicate with the DDNS server.
You can obtain the actual DNS IP from your Internet Service Provider (ISP); or, from a PC
located on the same LAN as the DVR, go to http://www.dnsserverlist.org/ to obtain a list of
the IP addresses of their recommendation of the best servers to use for your location.

EPHD04+ HDcctv DVR
89
2. If you are connecting through a router, make sure that you have ‘opened up’ all the
required network ports in the port forwarding section of your router’s setup options. That
is, you have directed the router to send any incoming traffic using those IP ports to the
LAN IP address of the DVR. Useful information about router port forwarding can be found
at www.portforward.com . Different routers may use different terms for port forwarding
function. For instance, D-Link calls it virtual server, Netopia calls it pinholes.
The default port for the DVR is: 80
Note: Port 80 is the default port used for Web browsing. Because of this, in order to
prevent the average user from hosting a Web server, most ISPs BLOCK traffic using port 80
from reaching the average site. If you only plan to view your DVR on a LAN, you can use
port 80, and don’t have to concern yourself with DDNS or routers. However, if you desire
remote access to your DVR, perhaps using DDNS (optional), you MUST select functional
ports and set up the port forwarding in your router. Other ports, such as 8080 and 8000
are sometimes blocked by ISPs as well.
What port(s) should be used? There are 65,535 valid IP ports to choose from. These are
broken down into three groups:
• Well Known Ports 0 thru 1023
• Registered Ports 1024 thru 49151
• Dynamic and/or Private Ports 49152 thru 65535
So, rather than encounter a port conflict by choosing a port commonly used for another
purpose (like port 25 for SMTP mail or port 448 for secure sockets), choose an ‘unusual’
port number. For example, add 50,000 to your house number: 50,123 is less likely to lead
to a port conflict. For a list of the known and registered ports, see
http://www.iana.org/assignments/port-numbers

EPHD04+ HDcctv DVR
90
6.6.2 Email
You can configure the Email settings for DVR to send Email alert when an event occurs.
Figure 6-24
SMTP Server: Assign the SMTP (e-mail) server’s name. Note that for more reliable email
service, use the server’s IP address.
SMTP Port: Assign the port number used by the SMTP server.
Authentication: Check this box if the SMTP server requires authentication (user name /
password).
SSL: Check the box if mail server needs communication to be encrypted by SSL.
User name: Input the login user name if the SMTP server requires authentication.
Password: Input the password if the SMTP server requires authentication.
Email Subject: Input Email subject.
Sender Email: Input the e-mail address of the sender (the DVR). Sender’s e-mail address has
to match the user name and password above.
Receiver Email 1: Input the first e-mail address that event messages are sent to.
Receiver Email 2: Input the second e-mail address that event messages are sent to.
Receiver Email 3: Input the third e-mail address that event messages are sent to.
Email Subject: Input email subject.

EPHD04+ HDcctv DVR
91
6.6.3 DDNS
DDNS (Dynamic Domain Name System) is a service used to map a domain name to the
dynamic IP address of a network device. You can set up the DDNS service for remote access to
the DVR.
DDNS assigns a domain name (URL) to the DVR, so that the user does not need to go through
the trouble of checking if the IP address assigned by DHCP Server has changed. Once the IP is
changed, the DVR will automatically update the information to the DDNS to ensure it is
always available for remote access.
Before enabling the following DDNS function, user should have applied for a host name from
the DDS service provider’s website. We support two DDNS server providers:
www.everfocusddns.com and www.dyndns.com
Note: We highly recommend that you use xxxx.everfocusddns.com for the simplicity of
setting up your IP cameras.
6.6.3.1 www.dyndns.org
Figure 6-25
DDNS Service: Select www.dyndns.org from the drop-down list.
Host name: Host name created through the dyndns account.
User name: User name of the dyndns account.
Password: Password of the dyndns account.

EPHD04+ HDcctv DVR
92
Setup Steps:
1. Apply for a host name from www.dyndns.org.
2. Make sure that the DNS Server 1 is set up correctly (see DNS Server 1 in 6.6.1 LAN) or the
DDNS will not work.
3. Select www.dyndns.org from the DDNS Service drop-down list.
4. Enter the host name in the Host Name field. Note that the name of the DVR cannot
include a space, or a dot (period) or any special characters particularly ~ ! @ # $ % ^ & * ( )
+ < > " ; : . , _
5. Enter the User Name / Password of the dyndns account.
6. The setting is complete. And you should now be able to remotely connect the DVR by
typing the name you created into the address bar. Example: http://hostname.dyndns.com
Note:
If you are connecting through a router, make sure that you have opened up all the required
network ports in the “Port Forwarding” section of your router’s setup options. The default port
of the DVR is 80. To set up Port Forwarding, please consult the manual of the router.
6.6.3.2 EverFocus DDNS
Note that the DNS Server 1 (6.6.1 LAN) should be set up correctly or the DDNS will not work.
Figure 6-26
DDNS Service: Select EverfocusDDNS from the drop-down list.
DVR Name: Input the desired name for the DVR. Note that the name of the DVR cannot
include a space, or a dot (period) or any special characters particularly ~ ! @ # $ % ^ & * ( ) + <
> " ; : . ,

EPHD04+ HDcctv DVR
93
Register/Update: Click the button to submit and register the name to the Everfocus server.
The DDNS name you choose must be unique; that is, it must not already be in use. You should
see a message “Status Update successes!” on the screen, and then you can use this host name
for remote access to the DVR. For example, http://hostname.everfocusddns.com
Note: It is not necessary to append the HTTP port number to the DDNS name. The EverFocus
DDNS server not only keeps track of your DVR’s IP address, but also keeps track of the ports.
Go to http://www.everfocusddns.com to confirm the registered name.
6.6.4 Alarm Server
You can send out the alarm notifications to EverFocus’s CMS software, PowerVideo Plus.
Please also consult the CMS’s user manual for network alarm settings.
Figure 6-27
Server IP1~3: IP address of client PC. The network alarm can be transmitted to up to 3
addresses.
Protocol: Select the protocol type for alarm transmission. Note the protocol selected here
should match the protocol set up for the CMS alarm server.
UDP: User Datagram Protocol.
TCP: Transmission Control Protocol.
Port: Select the transmission port for network alarm messages. The port setup here should
match the port set up for the CMS alarm server.
Network ID: The network ID is an identifier for the alarm transmitter (DVR sending the alarm).

EPHD04+ HDcctv DVR
94
6.6.5 Remote / Mobile
You can configure the compression format for the sub-stream for mobile phone access. Select
H.264 or MJPEG codec to enable the mobile phone access function.
Figure 6-28
H.264: The H.264 codec is compatible with iPhone and Android MobileFocus applications and
the standard IE PC Web interface.
MJPEG: The MJPEG codec is compatible with IE Web browser viewing on many smart phones
and other Web browsers (FireFox, MAC Safari, Opera, etc.).
6.6.6 Network Testing
The Ping utility is useful in diagnosing connectivity problems by obtaining responses from
nodes progressively farther along the network. DNS functionality can also be confirmed by
entering a valid DNS name instead of an IP address.
Figure 6-29
To verify basic network connectivity between the DVR and other LAN or WAN nodes, click the
Ping button.

EPHD04+ HDcctv DVR
95
6.7 Disk
The Disk menu is used to review the DVR’s hard drive settings and status. No value in this menu
can be configured by the operator.
6.7.1 Disk
Figure 6-30
Record Time (Start): Shows the earliest recording time of the DVR.
Record Time (End): Shows the latest or most current time on the DVR.
Disk: Select a disk number.
Health Status: Displays the current status of the selected disk.
Disk Temperature: Displays the current temperature of the selected disk.
Disk Size (Total): Shows the total space of the selected disk.
Disk Size (Usage): Shows the used space of the selected disk.

EPHD04+ HDcctv DVR
96
6.7.2 Lock/Format
You can control the percentage of the HDD space reserved for Locked Event Recordings. You
can also format the hard disk if necessary.
Figure 6-31
Maximum Lock (%): Sets the maximum percentage of the HDD space reserved for Locked
Event Recordings. To set up the Locked Event Recordings, please select the Auto Lock item in
5.3.2 Event Search, 6.2.2 Motion or 6.4.1 Alarm.
Current Lock (%): Displays the current percentage of the locked event recordings in the HDD.
If the amount of locked event recordings has reached the maximum lock percentage, the DVR
will be unable to lock new event recordings.

EPHD04+ HDcctv DVR
97
6.7.3 RAID
The RAID function (Redundant Arrays of Independent Disks) can enable two hard disks to act
as one, allowing users to achieve data redundancy (RAID 1) or greater effective disk speed
(RAID 0).
Note:
1. To establish a RAID 0 or RAID 1 volume, a minimum of two HDDs are required.
2. It’s highly recommended to use enterprise level and anti-rotational vibration HDDs with
the same Brand, Model and Capacity.
3. For RAID 0, the number of HDDs used in the array can be an odd or even number; while
for RAID 1, the number of HDDs used in the array can only be an even number.
4. RAID 0 does not provide any protection against HDD failures. If one or more HDDs fail, all
of the information contained on the volume will become totally inaccessible.
5. The Rebuild function is only supported for RAID 1.
6. Hot swapping function is not supported. Removing the HDDs without powering off the
DVR will reboot the DVR automatically. In the case of RAID 0, removing the HDD will
destroy the volume.
Figure 6-32
Local Drive Configuration
RAID 0: RAID 0 is designed to improve disk speed. Data is written to two disks alternatively,
instead of just one, which improves the overall system speed. Note that if the two HDDs are
with different capacity, the smaller size will be the amount of disk space used on both drives.

EPHD04+ HDcctv DVR
98
RAID 1: RAID 1 is designed for disk redundancy. The same data is written to two disks. When
one hard disk fails, the other hard disk contains all the data. Note that if the two HDDs are
with different capacity, the smaller size will be the amount of disk space used on both drives.
Local Drive Information: Display the status of the local drive.
By default, the RAID function is disabled. To enable RAID 0/1, follow the steps below:
1. Select RAID 0 or RAID 1, the following message appears. Click Yes to configure the RAID
settings. And the DVR will automatically reboot.
Figure 6-33
2. Enter the RAID menu again, the RAID 0 / 1 is enabled.
If you want to change the settings between RAID 0 and RAID 1, you have to check the Disable
option first to return to the default disk setting, and the message in Figure 6-33 will appear.
Click Yes for the DVR to reboot (return to the default disk setting). Go to the RAID menu again,
select RAID 0 or RAID 1, the message will appear again, click Yes for the DVR to configure the
disk setting to RAID 0 / 1.

EPHD04+ HDcctv DVR
99
6.8 Display Setting
You can configure the settings for displaying the camera / DVR information on the live view
image. You can also set up the sequencing order for the Main / Call monitor.
6.8.1 Monitor OSD
Check the boxes under the Main Monitor / Call Monitor fields will display the selected items
on the live view image.
Figure 6-34
6.8.2 Main M/T SEQ
You can configure up to 20 steps of the sequencing order for the Main monitor. The
Sequence will repeat continuously from step 1 to step 20 until interrupted.
Figure 6-35

EPHD04+ HDcctv DVR
100
Step: The sequencing order.
Camera: Select a camera for the specific step.
Dwell (sec): Sets up the dwell time between 0 and 99 seconds for each step.
6.8.3 Call M/T SEQ
You can configure up to 20 steps of the sequencing order for the Call monitor. The Sequence
will repeat continuously from step 1 to step 20 until interrupted.
Figure 6-36
Step: The sequencing order.
Camera: Select a camera for the specific step.
Dwell (sec): Sets up the dwell time between 0 and 99 seconds for each step.

EPHD04+ HDcctv DVR
101
6.9 System Setting
You can configure the general settings for the DVR in this menu.
6.9.1 Date / Time
You can set up the date and time for the DVR.
Figure 6-37
Date: Click to bring up the on-screen keyboard to set up the date.
Time: Click to bring up the on-screen clock to set up the time.
Date Format: Select a date format from the drop-down list.
Time Format: Select a time format from the drop-down list.
Time Zone: Select a time zone for the DVR to adjust to when updating from the time server.
NTP: Select Disable / Enable for NTP time synchronization.
NTP Server: Displays the time server address that the DVR uses for time synchronization.
Requires operating network configuration and WAN or LAN access to a compatible NTP server.
To find a compatible NTP address, follow the steps below:
a. Use a computer connected to the Network.
b. Click Start < Run < type “command” and then click OK.
c. In the DOS Prompt, type “ping pool.ntp.org” to find out the IP address of an NTP Server.
NTP Update Interval: The frequency that the system automatically updates the time via the
NTP server. Select Daily, Weekly or Monthly.

EPHD04+ HDcctv DVR
102
6.9.2 Daylight Saving Time
You can configure the settings for DVR to automatically adjust to daylight saving time.
Figure 6-38
Daylight Saving: Check the box to enable automatic daylight saving time.
Start Date: Set the start date for daylight saving time.
Start Time (hh:mm): Set the time when daylight saving time begins.
Set To (hh:mm): This is what the time will change to when daylight saving begins. For most
regions, this will be one hour ahead of the “Start Time”.
End Date: Set the end date for daylight saving time.
End Time (hh:mm): Set the time when daylight saving time ends.
The time change difference on the End Date will be the same as the difference between the
Start Time and End Time entered for the Start Date (typically 1 hour as in the example shown).

EPHD04+ HDcctv DVR
103
6.9.3 User
You can create multiple user accounts with different privileges. To delete an added user
account, select a user account and click the Delete button.
Figure 6-39
User Login: Check the box to enable the User Login function after logging out the DVR. For
details on logging in the DVR, please refer to 3.3.1 Login.
Auto Logoff: Check the box to automatically logoff the DVR after 3 minutes of inactivity.
There are three access levels. The tables below show the privileges of each level.
Functions
Administrator
Manager
Operator
Playback
OK
OK
NO
PTZ
OK
OK
NO
Layout
OK
OK
OK
Channel
OK
OK
OK
Display
OK
OK
OK
Sequence
OK
OK
OK
Monitor
OK
OK
OK
Zoom
OK
OK
NO
Search
OK
OK
NO
Copy
OK
OK
NO
Configuration
OK
OK
OK
View Covert Cameras
OK
OK
NO
Logout
OK
OK
OK
Express
OK
NO
NO
Camera
OK
NO
NO
Record/Play
OK
NO
NO
Alarm/Event
OK
NO
NO

EPHD04+ HDcctv DVR
104
Schedule
OK
NO
NO
Network
OK
NO
NO
Disk
OK
NO
NO
Display
OK
OK
NO
System
OK
Note 1
Note 2
Info
OK
OK
OK
Log
OK
NO
NO
Note:
1. User submenu only. Manager only has the privilege to change own password, and to
access operator ID.
2.
User submenu only. Operator only has the privilege to change own password.
6.9.3.1 Add
Click the Add button in the above figure. The Add menu appears. Set the name (case-
sensitive), password, access level and status. Click the Add button to add the new user or the
Cancel button to exit without making changes.
Figure 6-40
6.9.3.2 Edit
Select an ID and click the Edit button to bring up the menu below. Re-setup the settings and
click the Save button or click the Cancel button to exit without making changes.
Figure 6-41

EPHD04+ HDcctv DVR
105
6.9.4 I/O Control
The I/O Control setup menu is used to define the settings for controlling the DVR through RS-
485 / RS-232 communication protocol and for DVR to control the connected PTZ cameras.
Please note that the RS-232 port on the DVR is currently reserved.
Figure 6-42
RS-232 (The RS-232 port of the DVR is currently reserved)
Type: Select Control or Text Insert.
Baud Rate: This field is to set the speed at which is used to transmit instruction or
information through the RS-232 port on the DVR. There are eight different speeds: 1200 BPS,
2400 BPS, 4800 BPS, 9600 BPS, 19200 BPS, 38400 BPS, 57600 BPS and 115200 BPS.
Data Bit: This field is the data bit at which you will be transferring. There are two settings for
this option: 8 or 7.
Stop Bit: This field is to set the stop bit for the RS-232 connection. There are two different
stop bits, 1 or 2.
Parity: This field is to select the parity level at which you will be connected. You can choose
between None, Odd, or Even parity levels.
Note: For details on the RS-232 related settings, please consult the Technical Support
Department of EverFocus.

EPHD04+ HDcctv DVR
106
RS-485
PTZ Protocol: Select PTZ protocol, choose from the following protocols: Transparent, Pelco D,
Pelco P, or Everfocus. (Note: All cameras on the RS-485 bus must use the same protocol)
485 ID: This is the ID used by the EKB500 to send commands to the DVR. On an RS-485
connection, every device (PTZ, DVR and controller) must be assigned an unique ID number
between 0 and 127.
Baud Rate: This field is to set the speed at which is used to transmit instruction or
information through the RS-485 port on the DVR. There are eight different speeds: 1200 BPS,
2400 BPS, 4800 BPS, 9600 BPS, 19200 BPS, 38400 BPS, 57600 BPS and 115200 BPS.
Data Bit: This field is the data bit at which you will be transferring. There are two settings for
this option: 8 or 7.
Stop Bit: This field is to set the stop bit for the RS232 connection. There are two different stop
bits, 1 or 2.
Parity: This field is to select the parity level at which you will be connected. You can choose
between None, Odd, or Even parity levels.
Control: One remote control can be used to operate four DVRs. The DVR to be addressed is
selected by pressing the key corresponding to its ID number on the IR Remote control. Please
refer to Appendix E: IR Remote Control.
IR Controller ID: Set up an ID for the DVR and allow the IR remote control to control this DVR.

EPHD04+ HDcctv DVR
107
6.9.5 Misc.
You can upgrade the latest firmware, restore the factory default settings to the DVR, upload /
save the DVR configuration settings from / to the USB or change the language in this setup
menu.
Figure 6-43
【Firmware】
Current Firmware Version: Shows the current firmware version of the DVR.
Upgrade: Click to upgrade the latest firmware. Note you will need to restore the firmware file
to the USB flash device and then connect the USB flash device to the DVR.
【Configurations】
Load Factory Default: Click to restore the DVR to factory default settings. The User Account,
Network IP Settings, and Time settings will not be affected.
Load From USB: Click to upload the DVR configurations restored in the USB flash device.
Save To USB: Click to save the DVR configurations to the USB flash device.
Language: Choose which language the DVR uses. The available languages may vary among
regions.
Allowed Remote Reboot: Check the box to enable restarting the DVR via the Network.

EPHD04+ HDcctv DVR
108
6.9.6 Quick Archive
You can quickly archive all the recordings to the USB storage device or a DVD disc on the DVR;
or remotely archive all the recordings to the computer on the remote side. Plug an USB
storage device or insert a DVD disc before quick archiving (it's highly recommended to use a
DVD+R/+RW with 4x or higher speed disc for recording). If both of the USB storage device
and the DVD disc have been equipped on the DVR, the copies will be assigned to the USB
storage device. If the space of the storage is insufficient, the copies will end at the time when
the storage space is full. Note that the DVD burner is unavailable for Germany.
Quick Archive to the DVR:
Before using the Quick Archive function, set up the Archive Interval in the Quick Archive
menu. For example, if you set up 60 minutes for the Archive Interval, the DVR will archive the
recordings 60 minutes ago from the current time to the storage device on the DVR. On the
front-panel of the DVR, press and hold the Copy button, a beep will sound and the Quick
Archive process begins. The DVR will beep again when the process is complete and the DVD
disc (if it is inserted) will be ejected. The efPlayer software will also be copied to the storage
device automatically.
Figure 6-44
Quick Archive to the Remote Computer or DVR:
On the Web interface, click the Copy icon on the top Menu Bar, click Quick Archive on the
left menu and then set up the Archive Interval. Select a Copy Type (Remote / Copy at DVR)
and then click the Copy button, the Quick Archive process begins.
Figure 6-45

EPHD04+ HDcctv DVR
109
6.10 Information
You can see the DVR information and Log data in this menu. Or export the log data to the USB
storage device.
6.10.1 System
In the System Menu, you can only see the information of the DVR, Network or HDD. No
configuration can be done in this menu.
Figure 6-46
【System】
Version: Displays the firmware version.
Model: Displays the model name of the DVR.
NTSC / PAL: Displays the current video format automatically detected by the DVR.
【Network】
IP 1 / IP 2: Displays the IP address of LAN 1 / LAN 2 set up in the Network or Express menu.
MAC 1 / MAC 2: Displays the MAC address of LAN 1 / LAN2. This option cannot be changed.
Network ID: The ID number for EverFocus’ CMS as set up in the Alarm Server menu.
DVR Name: Displays the DDNS name if configured.

EPHD04+ HDcctv DVR
110
【Status】
Disk: Displays the status of the internal HDDs. Normal HDD operation is indicated by “OK”.
Fans: Displays the status of the internal fan. Normal fan operation is indicated by “OK”.
Ext 1: Displays the status of the external eSATA storage device. Normal eSATA storage device
operation is indicated by “OK”
6.10.2 Log
You can choose, display or export log data using this menu.
Figure 6-47
Start Date / End Date: Click to bring up the on-screen keyboard to set up the start / end date.
Start Time / End Time: Click to bring up the on-screen clock to set up the start / end time.
Log Type: Select the desired log types.
View Log: Click to bring up the Log List shown as below.
Figure 6-48
Clear Log: Click to delete all the selected log data.
Export Log to USB: Click the Export button to export the log data to the USB storage device.

EPHD04+ HDcctv DVR
111
7. Remote Access to the DVR
7.1 Accessing the DVR on the Network
Follow the steps below to access the DVR from a computer.
1. Open an Internet Explorer window and in the address bar type the IP address.
Local connection:
http:// (IP address from the DVR’s Network Menu): IP port used
e.g. http://192.168.1.163:2468
Internet connection:
http:// (IP address given by your Internet Service Provider): IP port used
e.g. http://57.182.67.204:2468
2. The Login window pops up. Type the User Name and Password. The default User Name is
admin, while the password is 11111111. Click OK.
Figure 7-1
3. Click OK to log in to the Web Interface of the DVR.
Chapter
7

EPHD04+ HDcctv DVR
112
7.2 Browser Security Setting
7.2.1 Installing ActiveX Controls
Follow the steps below to install the ActiveX Controls when you first connect to the DVR’s IP
address. If you do not see a yellow bar like the one the arrow is pointing at in the image
below, your security settings may be too high. If so, go to “Section 7.2.2 Enabling ActiveX
Controls.”
1. When you first connect to the DVR’s IP address, a yellow bar like the one the arrow is
pointing at should appears.
Figure 7-2
2. Right-click on the yellow bar and select “Install This Add-on…”.
Figure 7-3
3. Install the ePlusDVR.cab file when prompted to do so.
Figure 7-4

EPHD04+ HDcctv DVR
113
4. After installing, you will return to the DVR’s Web interface.
Figure 7-5
5. Right-click on the yellow bar and select “Run Add-on…”.
Figure 7-6
6. Install the MSXML file when prompted to do so.
Figure 7-7

EPHD04+ HDcctv DVR
114
7. Now you will be able to see the remote live page.
Figure 7-8

EPHD04+ HDcctv DVR
115
7.2.2 Enabling ActiveX Controls
Note this section is only necessary if you DO NOT see the yellow ActiveX bar (Figure 6-2) at
the top of your browser screen when you first connect to the DVR.
1. At the top of the Internet Explorer Window, click on Tools and then select Internet
Options.
Figure 7-9
2. Click the Security tab at the top of the window and then click Custom Level….
Figure 7-10
3. In the Security Settings window, scroll to “ActiveX controls and plug-ins”.

EPHD04+ HDcctv DVR
116
Figure 7-11
Set the controls as follows:
“Enable”:
Allow previously unused ActiveX controls to run without prompt (Internet Explorer
7 only)
Allow scriptlets (IE7 only)
Automatic prompting for ActiveX controls
Binary and script behaviors
Display video and animation on a webpage that does not use external media player
(IE7 only)
Run ActiveX controls and plug-ins
Script ActiveX controls marked safe for scripting
“Prompt”:
Download signed ActiveX controls
Download unsigned ActiveX controls
“Disable”:
Initialize and script ActiveX controls not marked as safe

EPHD04+ HDcctv DVR
117
4. Click OK and then choose Yes to change the security settings.
5. Close the window so you are back at the login screen.
6. Click the Refresh button to reload the page.
Figure 7-12
7. Install the ePlusDVR.cab file when prompted to do so.
Figure 7-13
8. Once the file finishes installing, you will return to the same login page as before. Type in
the user name and password and click Login to view the cameras. The default User Name
is admin, while the password is 11111111.
Figure 7-14

EPHD04+ HDcctv DVR
118
7.3 Remote Live View
1
3
4
5
6
7
2
Figure 7-15
No.
Name
Description
1 Menu Bar For configuring the DVR. Please refer to 4. OSD Root Menu.
2 Channel Buttons Click to display the channel in full screen.
3 4UP Indicates the Live View screen is in 4-division.
4 Microphone /
Speaker
Click the Microphone button to transfer audio to DVR from client
side if there is a microphone attached to the PC and an amplifier and
speaker attached to the DVR.
Click the Speaker button to transfer audio to the client side from DVR
if there is a speaker on the PC and a microphone and preamp
attached to the DVR, and audio recording is enabled on the DVR.
5 Sub / Main Click to switch between the Main screen and Sub screen.
6 Live View
Window
Double-click on a camera image to enlarge the current display to full
screen; double-click again or press the Esc key to return to the
normal view.
7 Status Highlight
Yellow Circle: Indicates the DVR is recording in sub-stream.
Red Circle: Indicates the DVR is recording in main-stream.
Green: Indicates the live view is in a normal status.
Blue: Indicates video loss.
Red: Indicates an alarm / event is triggered.
Grey: Indicates the live view is disabled.

EPHD04+ HDcctv DVR
119
7.4 Menu Bar
123 4 5 6 7 8 9 10 11 12 13 14
Figure 7-16
No. Name Description
1 Live View Click to display the live view window.
2 Express Click to configure the global express settings for all cameras. Please refer
to 6.1 Express.
3 Camera Click to configure the camera settings. Please refer to 6.2 Camera
Settings.
4 Record & Play Click to configure the record settings. Please refer to 6.3 Record & Play.
5 Alarm & Event Click to configure the alarm / event settings. Please refer to 6.4 Alarm &
Event.
6 Schedule Click to configure the recording schedule. Please refer to 6.5 Schedule
Setting.
7 Network Click to configure the network settings. Please refer to 6.6 Network
Settings.
8 Disc Click to display the HDD information. Please refer to 6.7 Disk.
9 Display
Click to configure the display settings for displaying the camera
information on the camera live view. Please refer to 6.8 Display Settings.
10 System Click to configure the DVR time / user privilege / IO control / UI language
or upgrading firmware and etc. Please refer to 6.9 System Setting.
11 Information Displays the system information.
12 Copy Click to archive the recordings from the DVR to the client PC. Please refer
to 4.6 Archiving the Recordings or Log Data to the USB or DVD.
13 Search Search the recordings for remote playback. Please refer to
7.5 Remote Playback.
14 PTZ Click to control the connected PTZ cameras. Please refer to 4.1 PTZ.

EPHD04+ HDcctv DVR
120
7.5 Remote Playback
To playback the recordings remotely, click the Search button on the Menu Bar. Click Time Search,
Event Search or Smart Search and then set up the settings. For more details about Search
setting, please refer to 5.3 Searching the Recordings for Playing Back.
Double-click on a recording, the following Remote Playback Window appears.
Return to Live View
Fast Rewind
Reverse
Stop
Pause
Play
Fast Forward
Figure 7-17

EPHD04+ HDcctv DVR
121
8. Specifications
System
Operating System Linux
RAM 2 GB
Watchdog Yes
Dual Streams Yes
OSD Menu Yes
DVD (+) RW Slim DVD burner (Note 1 / 2)
System Control Front Panel Buttons, Mouse, Web UI, IR Remote Control
PTZ Protocol Supported EverFocus, Pelco D, Pelco P, Samsung, Transparent
Video
Video Compression Format H.264, MJPEG
Video Format NTSC / PAL (auto detected by system)
Video Input (HDcctv) 4 on BNC
Video Output 2 (1 HDMI; 1 VGA)
Video Display 1 / 4 screen division, full screen, sequencing
Frame Rate NTSC 30 fps/ch at 1080p (1920 x 1080)
PAL 25 fps/ch at 1080p (1920 x 1080)
Video Resolution
Main
Stream
NTSC 1920 x 1080 / 1280 x 720 / 860 x 480 / 640 x 360
PAL 1920 x 1080 / 1280 x 720 / 860 x 480 / 640 x 360
Sub
Stream
NTSC 640 x 360 / 428 x 240
PAL 640 x 360 / 428 x 240
Audio
Audio Input
4 (Note 2)
Audio Output 1 (Note 2)
Recording
Recording Frame Rate NTSC 30 fps/ch at 1080p (Total: 120 fps)
PAL
25 fps/ch at 1080p (Total: 100 fps)
Playback Frame Rate
NTSC 30 fps/ch at 1080p (Total: 120 fps)
PAL 25 fps/ch at 1080p (Total: 100 fps)
Chapter
8

EPHD04+ HDcctv DVR
122
Storage Device
Internal 3.5” HDD 2 (optional, up to 3TB each)
External Storage 1 eSATA port (up to 12TB for external storage)
RAID RAID 0 and RAID 1 supported
Network
Ethernet 1Gb x 2
Protocol TCP/IP, DHCP, PPPoE, DDNS, UDP, SMTP, RTP, RTSP, NTP
Interface
HDcctv Video Input BNC x 4
Video Output
VGA x 1
Audio Input RCA x 4
Audio Output RCA x 1
Alarm Input / Output 4 inputs, 2 outputs
HDMI 1 port
eSATA 1 port
USB 2.0 2 ports (on front panel)
I/O RS-485, RS-232
Ethernet RJ-45 x 2, 1Gb Ethernet
Power 2-pin terminal block
General
Power Input 12V DC (include power adaptor)
Power Consumption 60W
Operating Temperature 0°C ~ 40°C / 32°F ~ 104°F
Dimensions (W x D x H) 214 x 316 x 99 mm / 8.4 x 12.4 x 3.9 in
Weight 2.73 Kg / 6.02 lbs (without HDDs)
Regulatory CE, FCC, UL
Applications
Smartphone Access iPhone, Android smartphones
CMS Support EverFocus’ PowerVideo Plus
Note:
1. It's highly recommended to use a DVD+R/+RW with 4x or higher speed disc for recording.
2.
The Audio and DVD burner functions are unavailable for Germany.

EPHD04+ HDcctv DVR
123
9. Troubleshooting
If you have problems with the system, run through the following checklist to see if you can solve
the problem.
The DVR will not go into record mode.
Bring up the DVR’s Menu and check under the Camera Menu. Verify that all connected
cameras are checked as “Installed” and that Record Mode is set to “Continuous”.
Check the Disk or Information Menus and verify that the internal hard drive is being
detected.
The DVR displays nothing on the main monitor.
Make sure the monitor is connected to either BNC Main Monitor port or the VGA port. If
the monitor has multiple inputs, make sure it is on the correct input source and display
setting (1024x768).
Check that the monitor cables are good and power is on.
Verify the recorder is getting the correct supply power.
There is no display coming from one of the channels on the DVR.
In the DVR’s Camera Menu, make sure that all cameras are checked as “Installed” and
unchecked for “Covert”.
If there is still no picture, switch ports or connect a working camera to the port that has
no picture. If you get an image, the problem is coming from the camera or cable.
I cannot connect to the recorder via the internet.
Check that you can connect to the DVR on the LAN.
Check that the DVR has a static IP address and the port used by the DVR is forwarded
correctly to that IP address in the router.
Verify that your Internet Service Provider does not block the IP port being used
Make sure you are using the correct WAN IP address given by the ISP, or, if you have a
Dynamic IP, check if the IP address has changed; use DDNS to avoid problems caused by
changing ISP addresses.
Chapter
9

EPHD04+ HDcctv DVR
124
Appendix A: Network Overview
This chapter will give you a basic instruction on how to set up the DVR for network connection. It
is highly recommended that you have a working knowledge of what a network is and how it works.
This will be helpful in completing the networking process.
Introduction to TCP / IP
TCP/IP is the group of protocols used by the Internet and most Local Area Networks (LANs)
throughout the world. In TCP/IP, every computer or other communications device that is
connected to the network has a unique IP address. By doing this you are giving your device a
unique address similar to the address of your house. An IP address is composed of four octets
(numbers in the range of 0 to 255) separated by decimal points. The IP address is used to uniquely
identify a host or computer on the LAN. For example, one computer on a network could have an IP
address of 192.168.1.127.
You should never give two or more devices the same exact IP address, but the first three octets of
an IP address is often the same for all computers in the local area network. For example, if a total
of 253 computers exist in a single LAN, the IP addresses could be assigned starting with
192.168.1.x, where x represents a number in the range of 2 to 254. In IPP address could be
compared with a telephone number.
Subnet Masks
Each host in a LAN has a subnet mask. The subnet mask is a set of octets that is used to determine
which LAN or class it belongs to. The number 255 is usually used to represent the network address
portion of the IP address and a zero is placed at the end to identify the host portion of the address.
Basically the subnet mask tells the devices how the network addresses are organized, and helps to
determine which addresses are local and which are remote (on the other side of the router).
Appendix
A

EPHD04+ HDcctv DVR
125
Gateway Address
Addressees are either local or remote. A gateway address is composed of four octets separated by
decimal points. The gateway address is used to uniquely identify the device on the LAN that has
access to the communications links connecting to other LANs, WANs and/or the Internet (access
to the ‘remote’ addresses).
Virtual Ports
A port number represents a "channel" or entryway for network communications. Port numbers
allow different computers to utilize network resources without interfering with each other. Port
numbers most commonly appear in network programming, particularly socket programming.
Sometimes, though, port numbers are made visible to the casual user. For example, some
websites on the Internet use a URL like the following:
http://www.sitename.com:8100/
In this example, the number 8100 refers to the port number used by the browser to connect to
the web server. The standard port number used by web sites is 80, so this number does not need
to be included with the URL (although it can be). In IP networking, port numbers can theoretically
range from 0 to 65535. Most popular network applications, though, use port numbers at the lower
end of the range (such as 80 for HTTP). Ports are similar to doors and windows of your house,
with port 80 acting as the front door. If these are not open you could not enter the house. This is
the same case with ports on a network. If the ports for a specific IP address are not open then you
could not gain access to that IP address.
Note: The term port also refers to several other aspects of network technology. A port can
refer to Ethernet connection points, such as those on a hub, switch, or router. The term port is
also used to refer to a physical connection point for peripheral devices such as serial, parallel,
and USB ports.
Another analogy would be: if a WAN IP address is similar to the phone number identify a site, IP
ports are similar to telephone extensions, in that they allow communication with specific devices
within a site that all share the same external (WAN) IP address. A router is a device which allows
multiple computers and other IP enabled equipment to share that single WAN IP address. It
functions like a “switchboard operator” – opening ports creates an association between those port
numbers and the LAN IP address of specific equipment on the LAN behind the router. When the
router sees a ‘call’ for a specific ‘extension’ (port), it directs that data stream to the (LAN IP
address of the) equipment associated with that ‘extension’ (port).

EPHD04+ HDcctv DVR
126
Pre-Installation
Before beginning the installation, please answer the following questions:
Do you have Hi-speed Internet? ______________
There are many types of high speed Internet available. The most common ones are T1, Cable,
and DSL (in order of speed). The DVR is not compatible with a dial-up connection.
Note: EverFocus suggests having a minimum upload speed of 256KBps. This can be addressed
by your Internet Service Provider.
What type of modem/router do you have? _________________________
Modem/router model name/ #
The modem/router was either installed by your Internet service provider or purchased by you
to establish a connection to the Internet. A router assigns different internal IP addresses to
local computers; this allows multiple computers to access the Internet through the same
external IP address.
Do you have a static IP address? ______________
A Static IP address means you use the same IP address every time you connect to the Internet.
With a static IP address, other Internet users always know the address of your location and
can easily connect with it. This makes it much simpler to host a website, email server, or other
type of server connection. Everfocus suggests using a static IP address. If this is not available,
you will need to use a dynamic IP address. This is explained below.
Do you have a dynamic IP address? ______________
A Dynamic IP address means your IP address changes each time you connect to the Internet.
We recommend asking your Internet service provider for a Static IP address. If this is not a
possibility, you may use the DDNS feature of the DVR. DDNS stands for Dynamic Domain
Name Server, a service that provides a central database where IP information can be stored
and retrieved. It allows those using a dynamic IP address to be registered centrally so users
can connect to it by name. See Chapter 7 for details on using EverFocus DDNS.

EPHD04+ HDcctv DVR
127
What type of DVR are you installing? ______________
The default ports are
ECOR264: 80
Paragon: 80
ECOR: 80, 1600
EDR/EDVR: 80, 1600, and 37260 – 37263
EMV: 80
If the ports were changed in the Network Setup, use those port numbers.
Pre-Installation
Everfocus’ DVR can operate using one of three types of networking connections.
Simple One to One Connection: A simple one to one connection is the simplest type of network
connection. It uses a cross-over cable to make a direct connection from one computer to another
(or in this case a computer to a DVR).
Direct High Speed Modem Connection: A direct modem connection uses a standard network cable
to connect the modem directly to a computer (or in this case a modem to the DVR). This type of
connection only covers single-port modems. For a combination modem/router, use the setup
described below.
Router or LAN Connection – A local area network connection requires either a router or a pre-
existing LAN connection. This is the most common type of connection. A router allows multiple
computers and DVR’s to access each other as well as the Internet. It assigns different internal IP
addresses to the computers.

EPHD04+ HDcctv DVR
128
Appendix B: Linksys & D-Link Port Forwarding
Typical Linksys Port Forwarding
This section will cover a few simple configurations for the Linksys router. This chapter is only to
offer some help to the installer and end user. Please understand we DO NOT support this product
and will not give tech support on it. If you need additional technical support on this router you
must call Linksys.
To access the Web-based Utility, launch a web browser and type the Router’s IP address, typically
192.168.1.1, in the address bar. Then press Enter. A password request page will appear. (Non-
Windows XP users will see a similar screen.) Leave the User Name field blank. The first time you
access the router, use the default password admin. Click the OK button to continue.
The first screen that appears displays the Setup tab. This allows you to change the Router's
general settings. Change these settings as described here and click the Save Settings button to
apply your changes or Cancel Changes to cancel your changes.
Appendix
B

EPHD04+ HDcctv DVR
129
Click on the “Applications & Gaming” tab.
Applications and Gaming allows you to set up public services on your network, such as web
servers, ftp servers, e-mail servers, or other specialized Internet applications. (Some Internet
applications may not require any forwarding) To forward a port, enter the information on each
line for the criteria required. Descriptions of each criterion are described here.
Application - In this field, enter the name you wish to give the application.
Start/End - Enter the starting number of the range under Start and the ending number under End.
Protocol - Enter the protocol used for this application, either TCP or UDP, or Both.
IP Address - For each application, enter the IP Address of the PC running the specific application.
Enable - Click the Enable checkbox to enable port forwarding for the relevant application.
When finished making changes, click the Save Settings button to apply your changes or Cancel
Changes to cancel them.
Here is an example for how the port information might look:
HTTP 80 to 80 Both 192.168.1.50 Enable
Where 192.168.1.50 is the IP address of the DVR on the LAN, and the default port 80 is in use.
Note: If you changed port 80 in the DVR’s Network Menu, open that port instead of 80.

EPHD04+ HDcctv DVR
130
Typical D-Link Port Forwarding
This section will cover a few simple configurations for the D-Link router. This chapter is only to
offer some help to the installer and end user. Please understand we DO NOT support this product
and will not give tech support on it. If you need additional technical support on this router you
must call D-Link.
Whenever you want to configure your network or the DI-624, you can access the Configuration
Menu by opening a web-browser and typing in the IP Address of the DI-264.
The DI-264 default IP Address is 192.168.0.1.
Type “admin” in the User Name field
Leave the Password blank
Click OK
The first screen that shows up is the Home Tab. This is the starting point for all the router’s
settings and functions.

EPHD04+ HDcctv DVR
131
Click Virtual Servers on the left to bring up the following screen.
Virtual Servers allows users who are connecting remotely to access services on the router’s Local
Network. The functions of each field are described below.
Virtual Server - Select Enabled or Disabled
Name - Enter the name referencing the virtual service
Private IP - The IP address of the device running the local services.
Protocol Type - The protocol used for the virtual service.
Private Port – The port number that the service uses on the LAN (Local Area Network).
Public Port - The port number that the services uses on the WAN (Wide Area Network).
Schedule – The time period the virtual server will be active.
When you have input all the information for a virtual server, click on Apply to add it to the list
at the bottom or Cancel to clear all fields.
Here is an example of the information for each service:
Name Private IP Protocol Private Port Public Port Schedule
HTTP 192.168.1.50 Both 80 80 Enable
Where 192.168.1.50 is the IP address of the DVR on the LAN, and the default port 80 is in use.
Note: If you changed port 80 in the DVR’s Network Menu, open that port instead of 80.

EPHD04+ HDcctv DVR
132
Appendix C: Timing of Alarm Modes
Transparent Mode
Input Event
Alarm Duration
t
t
Event =
t
Reaction
t Event: Duration of alarm input source (motion, contact, system events...)
t reaction: Resulting duration for this alarm mode, related to event record, alarm outputs, OSD
message, buzzer
Timeout + Transparent Mode
t
Input Event
Alarm Duration
t Duration
t Reaction
t Event
t Event: Duration of alarm input source (motion, contact, system events...)
t Duration: Alarm duration for timeout, defined in the event setup menus
t reaction: Resulting duration for this alarm mode, related to event record, alarm outputs, OSD
message, buzzer
Appendix
C

EPHD04+ HDcctv DVR
133
Timeout Mode
t
Input Event
Alarm Duration
t
Duration =
t
Reaction
t
Event
t Event: Duration of alarm input source (motion, contact, system events...)
t Duration: Alarm duration for timeout, defined in the event setup menus
t reaction: Resulting duration for this alarm mode, related to event record, alarm outputs, OSD
message, buzzer
Permanent Mode
t
Input Event
Alarm Duration
t Reaction
t Event
Alarm Reset
t Event: Duration of alarm input source (motion, contact, system events...)
t Duration: Alarm duration for timeout, defined in the event setup menus
t reaction: Resulting duration for this alarm mode, related to event record, alarm outputs, OSD
message, buzzer

EPHD04+ HDcctv DVR
134
Timeout Mode: Retrigger of Alarms
t Event: Duration of alarm input source (motion, contact, system events...)
t Duration: Alarm duration for timeout, defined in the event setup menus
t reaction: Resulting duration for this alarm mode, related to event record, alarm outputs, OSD
message, buzzer
Timeout+Transparent Mode: Retrigger of Alarms
t Event: Duration of alarm input source (motion, contact, system events...)
t Duration: Alarm duration for timeout, defined in the event setup menus
t reaction: Resulting duration for this alarm mode, related to event record, alarm outputs, OSD
message, buzzer

EPHD04+ HDcctv DVR
135
Appendix D: Express Setup Recording Value Selection Rules
Case 1:
Record Mode: Normal + Event Record With: Recording days
The DVR will Auto adjust image Quality and Event frame rate to match the number of Recording
days which user selected:
According to resolution, event hours and other assumptions above, the DVR will attempt to select
one set of suitable quality and event frame rate by checking if set 1 meets the requirements, and
proceed in order unit the requirements are met. If the DVR can’t match the required record days
from one of the 8 sets, it will use set 8.
Checking Order 1 2 3 4 5 6 7 8
Normal Frame
Rate 1 1 1 1 1 1 1 1
Quality Superior Standard
Low Low Low Low Low Low
Event Frame
Rate
30 30 30 15 10 7.5 5 1
Case 2:
Record Mode: Event Only Record With: Recording days
DVR will Auto adjust Quality and Event frame rate to match the Recording days which user need:
According to resolution, event hours and other assumptions above, the DVR will attempt to select
one set of suitable quality and event frame rate by checking if set 1 meets the requirements, and
proceed in order unit the requirements are met. If the DVR can’t match the required record days
from one of the 8 sets, it will use set 8.
Checking
Order 1 2 3 4 5 6 7 8
Quality Superior Standard
Low Low Low Low Low Low
Event Frame
Rate 30 30 30 15 10 7.5 5 1
Appendix
D

EPHD04+ HDcctv DVR
136
Case 3:
Record Mode: Normal + Event or Event Only
Record With: Preset Setting
DVR will apply the settings in the table below to all cameras according to the Preset Settings.
Preset Setting Option Camera Item Apply value
Best Quality
Quality Superior
Normal Frame Rate Max recording frame rate of DVR
Event Frame Rate 30
Standard Quality
Quality Standard
Normal Frame Rate Half of max recording frame rate of DVR
Event Frame Rate 30
Extended Quality
Quality Basic
Normal Frame Rate 1
Event Frame Rate 10

EPHD04+ HDcctv DVR
137
Appendix E: IR Remote Control
The IR remote control is an accessory to enhance the convenient operation of the DVR. You can
perform all the settings and operations from the remote control. The effective distance is up to 33
feet line of sight.
ID number here must correspond to the
“IR Remote ID” set up in the “I/O Control Menu”.
Channel keys #1~4
The buttons are used to select a DVR when
there is more than one DVR installed in the
same environment. Selecting an incorrect DVR
ID will prevent the DVR from responding to
commands from the Remote Control.
Appendix
E

EverFocus Electronics Corp.
EverFocus Taiwan:
12F, No.79, Sec. 1, Shin-Tai Wu Road,
Hsi-Chih, Taipei, Taiwan
TEL: +886 2 2698 2334
FAX: +886 2 2698 2380
www.everfocus.com.tw
marketing@everfocus.com.tw
EverFocus Europe - Germany:
Albert-Einstein-Strasse 1, D-46446
Emmerich, Germany
TEL: +49 2822 93940
FAX: +49 2822 939495
www.everfocus.de
info@everfocus.de
EverFocus China - Beijing:
Room 609, Technology Trade Building,
Shangdi Information Industry Base,
Haidian District, Beijing 100085, China
TEL: +86 10 6297 3336~39
FAX: +86 10 6297 1423
www.everfocus.com.cn
marketing@everfocus.com.cn
EverFocus China - Shenzhen:
4F, No. 2, D4 Building, Wan Yelong
Industrial Park, Tangtou Road, Shiyan,
Baoan, Shenzhen, Guangdong 518101, China
TEL: +86 755 2765 1313
FAX: +86 755 2765 0337
www.everfocus.com.cn
marketing@everfocus.com.cn
EverFocus USA - California:
1801 Highland Avenue, Unit A, Duarte, CA 91010, USA
TEL: +1 626 844 8888
FAX: +1 626 844 8838
www.everfocus.com
sales@everfocus.com
EverFocus USA - New York:
415 Oser Avenue, Unit S, Hauppauge, NY 11788, USA
TEL: +1 631 436 5070
FAX: +1 631 436 5027
www.everfocus.com
sales@everfocus.com
EverFocus Japan:
5F, Kinshicho City Building, 2-13-4 Koto-Bashi,Sumida-
Ku, Tokyo, 130-0022, Japan
TEL: +81 3 5625 8188
FAX: +81 3 5625 8189
www.everfocus.co.jp
info@everfocus.co.jp
EverFocus Europe - UK:
Unit 12, Spitfire Business Park,
Hawker Road, Croydon Surrey, CR0 4WD, UK
TEL: +44 20 8649 9757 / +44 845 430 9999
FAX: +44 20 8649 9907
www.everfocusuk.co.uk
salesuk@everfocus.com
EverFocus India:
Suite 803, Housefin Bhavan, C-21,
Bandra Kurla Complex, Bandra (East),
Mumbai 400051, India
TEL: +91 22 6128 8700
FAX: +91 22 6128 8705
www.everfocus.in
sales@everfocus.in
Your EverFocus product is designed and
manufactured with high quality materials
and components which can be recycled
and reused.
This symbol means that electrical and
electronic equipment, at their end-of-life,
should be disposed of separately from
your household waste.
Please, dispose of this equipment at your
local community waste
collection/recycling centre.
In the European Union there are
separate collection systems for used
electrical and electronic product.
Please, help us to conserve the
environment we live in!
Ihr EverFocus Produkt wurde entwickelt
und hergestellt mit qualitativ
hochwertigen Materialien und
Komponenten, die recycelt und wieder
verwendet werden können.
Dieses Symbol bedeutet, dass elektrische
und elektronische Geräte am Ende ihrer
Nutzungsdauer vom Hausmüll getrennt
entsorgt werden sollen.
Bitte entsorgen Sie dieses Gerät bei Ihrer
örtlichen kommunalen Sammelstelle oder
im Recycling Centre.
Helfen Sie uns bitte, die Umwelt zu
erhalten, in der wir leben!
P/N: 4605PEHR04B010A-Ver.D