Everspring Industry Co SR803 Wireless Remote control User Manual
Everspring Industry Co Ltd Wireless Remote control
Users Manaul

1 
  SOLAR-POWERED POOL ALARM SYSTEM FOR SAFETY AID
TO READ ATTENTIVELY AND TO PRESERVE FOR FUTURE CONSULTATION 
WARNING 
This system is simply a safety aid which announces a danger (or risk of danger) when an 
equivalent of 8kgs (18 pounds) object falls into a unsupervised swimming pool. The fast 
intervention in less than 3 min of a responsible adult is obligatory when the signal of alarm 
happens.    Ensure the construction of the pool wall is solid enough, thus it can stand the drilling 
of the screws and wall plugs without cracking the pool wall.    After installation, ensure the pool 
alarm itself cannot be shaken, otherwise it will affect the performance of pool alarm detection. In 
the event of any injury or death to any person arising out of misuse, abuse, negligence, accident 
or alteration, Everspring Tech USA, Inc., will not be liable for any consequence caused. 
This system does not replace the good direction nor with the several liability. The purpose of it is 
not to either replace the vigilance of the parents and/or the responsible adults, which remains the 
essential factor for the protection of the children with less than five years; 
The user who turns OFF the system must be conscious that the human monitoring must take 
over; 
It is imperative to react when the signal of alarm happens;   
The greatest vigilance of the responsible parent /adult is necessary between the end of the bathe 
and the reactivation of the product; 
Never leave children unattended in or around the swimming pool or spa. Children under five years of 
age are at the greatest risk for injury or death in pool-related accidents. 
In the event of possibility of stroke with against current: "Cancel the stroke with against current at 
the end of the bathe to allow the reactivation of the product". 
Some of cleaning robots as a plunger robots type are incompatible with the systems of detection 
of immersion 

2 
PRODUCT LAYOUT 
Solar-powered Wireless Pool Alarm (ST113) 
c Battery Cover 
d Solar Panel 
e Two Indication Light (Top & Bottom) 
f Sensing Compartment   
g Detachable Tube   
h Flat Mounting Plate 
○
7  Adjustable Mounting Plate   
○
8 Spacers  
○
9 Mounting Feet 
Wireless Keypad (SA802) 
c Setting/Low Battery LED 
d Keypad 
e Function Key 
○
3 
○
1 
○
2 
○
3

3 
Siren & Strobe (SE802) 
c Strobe Light 
d Red & Green LED   
e Tamper Switch 
f Learning Key 
g DC Jack 
h Two-Phase Sound Jumper Link 
i Anti-jamming Jumper Link 
j Tamper Jumper Link 
k Mounting Bracket 
Wireless Remote Controller (SR803) 
A  LED indicator  E  Mute switch 
B   OFF MODE  F  Key Chain Ring 
C   ON MODE  G  Negative Polarity 
D   SWIM MODE  H  Positive Polarity 
The kit includes one piece each of Solar-powered Wireless Pool Alarm, Siren & Strobe , Wireless Keypad and 
Wireless Remote Controller, all of which products have been designed to aid in the detection of unwanted 
intrusions into unclosed above ground or in ground swimming pools. THE SOLAR-POWERED WIRELESS 
POOL ALARM IS NOT A LIFE SAVING DEVICE. It should be used along with other safety equipment and 
precautions. It is intended to provide an additional level of security to your swimming pool and/or spa. This unit 
is not intended to replace any other safety consideration: adult supervision, lifeguards, fences, gates, pool 
2
1
9
3
4
5
6
7
8

4 
covers, locks, and so forth… And some devices may not detect gradual entry. 
INTRODUCTION 
The Solar- Powered Pool Alarm uses seismic technology to detect unwanted intrusions into swimming pools.   
In the event of a child or pet ( min. 18 lbs) accidentally falling into the pool the Pool Alarm would detect the 
intrusion and sound an 110 db alarm at the pool and an 85db alarm in the house.    Immediate adult response 
is required upon activation of the alarm. 
PACKAGE CONTENT 
The Solar Powered Pool Alarm has specially designed packaging to minimize the chance of the contents 
becoming damaged during shipping and handling. Please carefully check your unit for damage and confirm 
that all the contents listed below are included. For replacement parts, please contact the retailer or store where 
you purchased your Pool Alarm. 
Item Qty 
Base Unit  1 
Flat Mounting Plate  1 
Wireless Keypad (SA802)  1 
Wireless Remote Controller (SR803)  1 
Siren & Strobe (SE802)  1 
LR20 Alkaline Battery  4 
1.5V LR14 14A Size C  4 
AA 1.5V alkaline battery    3 
25mm Screws  2 
30mm Screws  6 
15mm Screws  4 
18mm Screws  5 
38mm Screws  2 
Detachable tube  4 
Plastic wall plug  9 
Mounting feet  2 
Adjustable Mounting Plate  1 
Spacers  10 
Operating instruction manual  1 

5 
SOLAR-POWERED WIRELESS POOL ALARM 
INSTALLING THE POOL ALARM 
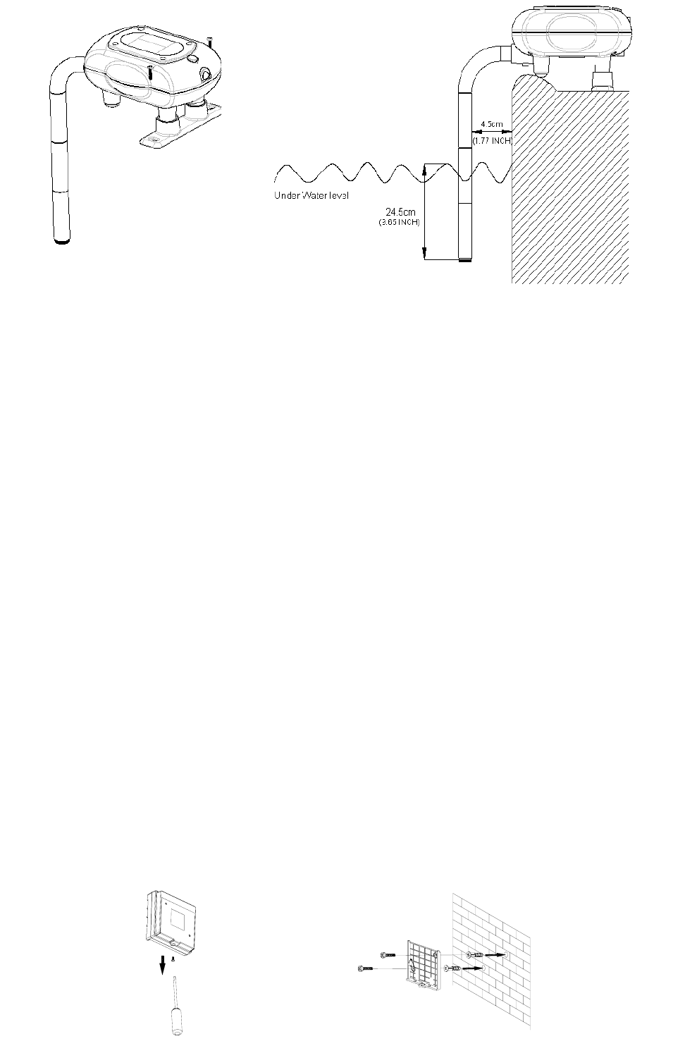
There are four detachable tubes which can be connected to create a single, long tube. (Fig.1 &Fig. 2)You will 
need to connect the appropriate number of tubes to ensure that the distance from the bottom end of the tube to 
the water level is 9.65 inches (24.5 cm) (Fig. 3).     
Fig.1
Tube
Fig.2 
1.  Connect the appropriate number of tubes together to ensure that the bottom of the tube is 9.65 inches 
below the water line. If the length is longer trim the tube end so that the tube is 9.65 inches below the 
water line. 
2.    Insert the tube to the sensing compartment of the Pool Alarm base using the screws provided (Fig. 2) 
3.    The base unit must be placed so that the tube is approximately 1 3/4” (4.5cm) from the pool wall. (Fig. 4) 
4.    Mounting the Pool Alarm Base Unit: 
Pool Alarm can simply be placed on the pool deck or permanently installed using the provided mounting 
plates. Two styles of mounting plates are included: A flat mounting plate for mounting the unit on pool decks 
with flat coping and an adjustable mounting plate designed for pools with coping edges that are sloped. 
z Flat Mounting Plate       
To permanently install the unit on flat coping use the attached flat mounting plate. Make sure the unit is 
positioned as shown in (Fig.4) below. Using a marker – mark the deck through the 4 mounting slots located on 
the sides of the mounting plate. Drill four ¼” holes through the marks. Install the plastic wall plug in the holes 

6 
with a small amount of silicone. Place the unit over the holes and attach using four 30mm screws provided. 
(Fig.3) 
Note: The pool alarm may not functional properly if your pool’s water level is not maintained 
and the bottom of the tube is not at least 9.65 inches (24.5 cm) below the water line.     
z Adjustable Mounting Plate 
To permanently install the unit on coping that is sloped. Position the unit as shown in (Fig.7) Install the two 
buttons on the front legs of the unit using the screws provided. Place the unit on the edge of the coping so that 
the unit is positioned correctly. Place the rear leg mounting plate under the rear legs and add spacers to the 
mounting plate’s cups until the Pool Alarm unit is level. Using the 30mm screws provided secure the rear leg 
mounting plate to the unit (Fig.5). Next use a marker to mark the coping through the slots on the mounting 
plate. Remove the unit and drill two ¼” holes through the marks. Install the plastic wall plug with a small 
amount of silicone. Place the unit over the holes and attach using two of the 30mm screws provided. (Fig.6)   
Fig.5 
Fasten the   
Mounting Feet. 
Spacers can be used 
to adjust the height.   
Fig.4 
Fig.3   

7 
Note: The pool alarm may not functional properly if your pool’s water level is not maintained   
and the bottom of the tube is not at least 9.65 inches (24.5 cm) below the water line.     
WIRELESS KEYPAD 
The Wireless Keypad is used to control the Pool Alarm by using a four digit Administrator password. The 
Keypad is powered by 3 x AA 1.5V alkaline battery.  Under normal operating conditions this will provide an 
expected life in excess of 1 year.    When the battery level falls below an unacceptable level, the “Setting/Low 
Battery” LED on the front of the Keypad will flash 4 times when pressing any key. When this occurs the 
batteries should be replaced as soon as possible. 
POSITIONING THE KEYPAD 
The Keypad should be located and mounted inside the premises. To determine the proper location the keypad 
should be placed on the interior wall closest to the pool at eye level near the door that provides access to the 
pool. The range of wireless signal approximately 150” when using the device through walls. Do not fix the 
keypad to metalwork or locate the unit within 3 feet of metalwork such as doorframes, radiators pipes, etc.   
INSTALLING AND CONFIGURING THE KEYPAD 
1.  Undo and remove the fixing screw from the bottom edge of the Keypad and remove the wall mounting 
bracket.(Fig.9) 
Fig. 9 
Fig.10. 
Fig.6 
Fig.7 

8 
2.  Using the mounting bracket as a template, mark the positions of the two fixing holes on the wall. 
3.  Fix the mounting bracket to the wall using the screws and wall plugs provided. (Fig.10) Do not over-tighten 
the fixing screws as this may distort or damage the mounting bracket. 
4.  There is one jumper link located above the battery compartment.(Fig .11) 
Jumper link J1: Reset to Factory default 
    If unfortunately you forget the Administrator password, reset the Administrator password to factory default 
by proceeding with the following steps in sequence: 
(1)  Remove the batteries. 
(2)    Set the Jumper link J1 to off position as shown on Fig. a 
                                                            Fig. a  Fig. b 
(3)    Refit the batteries. The keypad is reset properly by flashing back light 0~9 3 times. 
(4)    Set the Jumper link J1 to on position as shown on Fig. b. 
5.  Connect the 3 x AA alkaline batteries to the battery compartment. 
6.  Click the Keypad to the mounting bracket and screw the fixing screw.(Fig.4a &4b) Do not over-tighten the 
fixing screw. 
Note: The Keypad has back light illumination facility. The back light of digit number 0~9 won’t be off until 
5-second illumination duration expires each time when you press any key. Once transmission is successful the 
back light of digit number 0~9 will extinguish. Failure to input any key more than 5 seconds after each pressing 
will be treated as invalid input.    The back light of digit number 0~9 will flash 3 times as an indication. 
CHANGING THE ADMINISTRATOR PASSWORD 
The Keypad is supplied with a default Administrator password of: 1234.  For security reasons, it is 
recommended that this password is changed to another four digit number which only you and other users of 
the system know. To change the Administrator password, press the following keys in sequence: 
(1)  Press  
           Original Administrator password 
1
2 
3 
1
2 
3
Fig. 11 
Fig. 4a.  Fig. 4b. 
ON OFF 

9 
(2)  Enter   
New Administrator password 
SIREN & STROBE (SE802) 
The Siren & Strobe serves as an auxiliary accessory to the Pool Alarm.    When the Pool Alarm detects 
unwanted intrusions into unclosed swimming pools, a full alarm condition will occur.    Simultaneously, the 
Siren & Strobe will initiate a full alarm condition as an intensive warning. 
POSITIONING THE SIREN & STROBE 
The Siren & Strobe should be located and mounted inside the premises. To determine the proper location the 
Siren & Strobe should be placed on the interior wall closest to the pool approximately at door height near the 
door that provides access to the pool. The range of the wireless signal approximately 150’ when using the 
device through walls. Do not mount the Siren & Strobe to metalwork or locate the Siren within 3 feet of 
metalwork such as doorframes, radiators, pipes, etc.   
INSTALLING AND CONFIGURING THE SIREN & STROBE 
(1)    Undo and remove the fixing screws from the mounting bracket. 
(2)    Place 4 x 1.5V alkaline LR14 batteries to the battery compartment. 
(3)    Use the mounting bracket as a template to mark the positions of fixing holes on the wall. 
(4)    Fix the mounting bracket to the wall using the plastic wall plugs and fixing screws provided. 
(5)    According to the functions of the product layout, choose or justify the ones that suit you most.   
 Function Description 
Red & Green LED  Green LED: RF transmission 
confirmation 
Red LED: Warning indication 
When red & green LED illuminate 
simultaneously, orange LED will 
be indicated 
Strobe Light  Warning indication   
Learning Key  Learning and cleaning out the 
preset ID code 
Tamper Switch  A full alarm condition will be 
initiated against the unit being 
removed from the wall 
A full alarm condition will be 
initiated if the unit is removed from 
the wall.   
Tamper Jumper Link  Enable or disable this function  Jumper link fitted – enable 
Jumper link removed - disable 
Anti-jamming Jumper Link  Enable or disable this function  Jumper link fitted – enable 

10 
Jumper link removed - disable 
Two-phase Sound Jumper Link  Sound volume selectable – 90 or 
100 dB/ 0.3 feet 
Jumper link fitted – 100 dB 
Jumper link removed – 90 dB 
DC Jack  Use AC/DC adaptor   
Jumper link fitted                Jumper link removed 
                            Enable                          Disable 
NOTE: The Anti-jamming Jumper Link is preset disabled due to its high sensitivity easily causes   
      Siren &Strobe abnormal alarm. 
(6)    By releasing the tamper switch from being pressed if the tamper jumper link is enabled, the unit will   
generate a full alarm condition by flashing its strobe light for about 6.5 minutes and red LED illuminating 
shortly. 
(7)    If the battery level drops below unacceptable level, the red LED of the unit will flash shortly every 30         
seconds. When this occurs, the batteries should be replaced as soon as possible. 
Wireless Remote Controller (SR803) 
The Wireless Remote Controller is a hand-held transmitter which offers the pool owner to control Pool Alarm 
from a distance within 150 feet. The Remote Controller adopts a CR2032 type Lithium cell which under normal 
conditions will have typical life in excess of 1 year.    Under normal battery conditions the LED on the Remote 
controller will only illuminate when a button is pressed. However, under low battery conditions the orange LED 
will illuminate every time the button is pressed. When this occurs the batteries should be replaced as soon as 
possible. 
SETTING THE REMOTE CONTROLLER 
1.  Remove the rear cover with a coin. 
2.  Insert the battery ensuring that the +v terminal faces upwards away from the PCB.   
OPERATING INSTRUCTIONS 
The Pool Alarm has been designed to function in pools up to 16’ x 32’ in size. For pools that are 16’ x 32’ or 
smaller, the Pool Alarm must be installed at the midpoint of the longest side of the pool. (See illustration) The 
unit must not be located within 18” of any water inlet or outlet in the pool. For pools with spillover spas the unit 

11 
must be located so that the water returning to the pool is at least 18” away from the Pool Alarm. 
If your pool has an irregular shape more than one unit may be required to provide adequate coverage. The 
coverage area of a Pool Alarm unit can be represented by sweeping a 22’ radius arc with the center point 
located at the axis of the Pool Alarm sensor tube. This provides a coverage area of up to 44’ surrounding the 
unit (22’ on either side of the unit) and 22’ across from the unit. The unit must be located on the pool such that 
a straight line can be drawn from any point on the perimeter of the pool to the unit without any line being 
obstructed by a pool wall. The length of any of the lines cannot exceed 22’. 
Once the placement location has been identified Pool Alarm should be tested to insure proper operation prior 
to installation. 

12 
Note : Do not mount the Pool Alram either in the corner or at the indentation of the pool side or it may 
result in a blind spot. 
   POOL LENGTH (Y) *    
POOL WIDTH (X)  One Unit Required  Two Units Required  UNIT PLACEMENT DIMENSION (d) 
10'  Less than 39'  39'-80'  19' 7" 
11'  Less than 38'  38'-79'  19' 
12'  Less than 36'  36'-77'  18' 5" 
13'  Less than 35'  35'-75'  17' 9" 
14'  Less than 33'  33'-72'  16' 11" 
15'  Less than 32'  32'-70'  16' 1" 
16'  Less than 32'  32'-67'  15' 1" 
17'  Less than 27'  27'-63'  13' 11" 
18'  Less than 24'  24'-59'  12' 7" 
19'  Less than 22'  22'-55'  11' 1" 
20'  Less than 18'  18'-50'  9' 2" 
21'  Less than 12'  12'-41'  6' 7" 
* NOTE: IF POOL LENGTH IS BELOW THE RANGE SHOWN FOR A PARTICULAR POOL WIDTH,   
ONLY A SINGLE UNIT IS REQUIRED.    THE SINGLE UNIT SHOULD BE PLACED AT THE MIDPOINT 
OF THE LONGEST WALL     
INITIAL POWER-UP 
LOADING THE BATTERY 
The solar panel will take approximately 6 to 8 hours to be charged and able to use. Until that is complete the 
unit will function using power from the batteries. Daily exposure to normal outdoor ambient light (sun or clouds) 

13 
will keep the unit fully charged. The batteries provide back up power in the event that the solar panel is unable 
to fully recharge. When Pool Alarm is under “Arm Mode” the unit detects a low battery condition the unit will 
provide a low battery alert. (see Quick Reference Guide) 
Follow the below steps in sequence to load the batteries. 
1.  Remove four rubber stoppers and undo four fixing screws from the battery cover. 
2.  Remove the solar panel and insert 4 x 13A LR20 1.5V alkaline batteries. 
3.  Plug the power supply cord to the DC jack. 
4.  Re-install screws and screw covers to top of the Pool Alarm base unit. 
TURNING ON THE POOL ALARM 
Normally, once the solar panel has been connected and the batteries have been installed. The Pool Alarm Unit 
will be ready for operation. At this stage, you may switch the Pool Alarm to the desired mode or wait for 30 
seconds before throwing a 8 kgs (18 pounds) object to the pool for test which will lead to a loud pulsating alarm 
sound both from the Pool Alarm and the Siren & Strobe. It allows you to verify if the function of piercing alarm 
sound is working properly and to be sure if the sound volume of Siren & Strobe can be heard inside your home. 
There is no button on the Pool Alarm unit, you need to use keypad or controller to turn “ON” the Pool Alarm. 
The ID code among Solar-powered Wireless Pool Alarm and three accessories are well learned which means 
if no necessary, do not clear code or proceed with learning code process. However, if you find out the 
connection between Pool alarm and accessories are poor or unstable, try to clear the code between all the kits 
and re-start learning code process.    Refer to instruction Page 16 and 17.   
Power Cord
DC Jack
Fig.8 

14 
Pool Alarm will turn on and switch to armed mode directly subject to ambient environment detection being 
taken properly. 
1.  The unit will start detecting ambient environment for 8 – 14 minutes. The main purpose of it is to detect 
the wave intensity of water action avoiding false alarming resulted from wave being caused by strong 
wind. After completion of ambient environment detection, the Pool Alarm will release a short beep for 0.1 
second, confirming that the system has been armed.   
2.  The Pool Alarm will instantly be monitoring your pool for an intrusion. 
3.  In case of unwanted intrusions into a swimming pool, the Pool Alarm will generate a full alarm condition, 
while the auxiliary Siren & Strobe will alarm and flash for 210 seconds.   
Note: If the Pool Alarm keeps on detecting the ambient environment without being armed properly, 
possible reasons are: 
a.  After swimming, the water in the pool will rock or bounce up and down the pool wall for some time 
depending on the size of the pool and the type of swimming activity.  Before initiation the unit, after 
swimming, the pool must be given time to calm.    Time will vary (around 5-10 minutes); once the pool 
water is no longer rocking up and down the pool wall, it is time to operate the unit. 
b.  On extremely windy days such bad weather, the unit cannot detect correctly. 
TURNING OFF THE POOL ALARM 
Wireless Keypad (SA802) & Wireless Remote Controller (SR803) are both capable of turning off the Poor 
Alarm. 
Using the Wireless Keypad: 
Press the “OFF” button and enter in the code. The remote keypad buttons will briefly illuminate and Light bar 
will flash when the signal is sent. You will hear 3 short beeps and both LED indicators on the unit will stop 
flashing. 
Using the Wireless Remote Controller:   
Press and hold “OFF” for 3 seconds. The LED on the controller will momentarily flash green. You will hear 3 
short beeps and the LED indicator on the unit will stop flashing. The Pool Alarm will beep for 3 times in 

15 
response and enter the sleep mode, which means no automatic activation will occur. 
SWIM MODE 
Pool Alarm can be placed into Swim mode using either the Remote Keypad or the Remote controller. The 
swim mode allows people to use the pool without turning off Pool Alarm. When people leave the pool, Pool 
Alarm will sense that there are no longer people swimming. The unit will enter the ambient detect mode for 8 to 
14 minutes and will then automatically turn ON. 
Using the Wireless Keypad: 
Press the “SWIM” button and enter in the code. The Wireless keypad buttons will briefly illuminate and the 
Light Bar will flash when the signal is sent. You will hear 3 short beeps and both LED indicators on unit will turn 
Green and flash approximately every 3 seconds. The Pool Alarm will enter the swim mode. 
Using the Wireless Remote Controller:   
Press and hold “SWIM” for 3 seconds. The LED on the Wireless remote controller will momentarily flash green. 
You will hear 3 short beeps and both LED indicators on the unit will turn Green and will Flash approximately 
every 3 seconds. The Pool Alarm will enter the swim mode. 
The minimum duration of swim mode is 30 minutes, starting from the unit being set at swim mode to automatic 
change to armed mode.     
In swim mode, the unit will keep extending its swim mode duration persistently as long as continuous wave 
intensity of water action has been detected. As a result, the unit is likely to be set at swim mode for a long time. 
When you have finished swimming, there are no waves on the pool. We suggest that user switch the mode to” 
ON” manually using wireless keypad or Wireless remote controller and wait for the elapse of ambient 
environment detection, so that the system will enter the armed mode. 
MUTE   
The MUTE feature can be used to silence an alarm condition and can be initiated using the Wireless Keypad 
or the Remote Controller. 
Using the Wireless Keypad 
Press the “MUTE” button and enter in the code. The Wireless keypad buttons will briefly illuminate and the 
Light Bar will flash when the signal is sent. You will hear 1 short beep as a response. 
Using the Wireless remote controller   
16 
Press the “MUTE” button. The LED on the remote controller will momentarily flash green. You will hear 1 short 
beep as a response. 
Once the alarm is disarmed, it is recommended that reset the mode to the desired one or the mode will switch 
to armed mode directly.   
LEARNING THE ID CODE 
In order to prevent any unauthorized attempt to operate or disarm your system, you must configure your 
system to accept radio signals only from your own system devices. 
Firstly, have the Pool Alarm and the Siren & Strobe learned the ID code with each other. Secondly, have the 
Pool Alarm and the Wireless Keypad learned the ID code. Thirdly, have the Pool Alarm and Wireless Remote 
Controller learned the ID code. This may ensure correct operation among the units. So, please follow strictly 
the sequences as mentioned below: 
Note: Please refer to Quick guideline if no id code learned.     
Pool Alarm and Siren & Strobe 
1.    Press and hold the learning key more than three seconds on the Pool Alarm. The top indication light will 
turn orange and flash, which implies the unit enters the ID code learning mode. 
2.    Press the learning key on the Siren & Strobe for more than 3 seconds, during which continuous beeps will 
be underway while the green LED will be on.   
3.    If learning the ID code is successful, the Siren & Strobe will end up with a medium beep and the green LED 
will be changing from on to off, while the Pool Alarm will beep once as a confirmation without flashing the 
orange indication light 
      If failed, the Siren & Strobe will initiate three rapid beeps as a notification. 
   Note: When putting the Siren & Strobe into use without any ID code being memorized or clearing all of the 
preset ID codes, the orange LED will flash at 2 seconds interval and emit short beep at about 10 seconds 
interval. 
Pool Alarm and Wireless Keypad 
1.  Press and hold the learning key more than three seconds on the pool alarm. The top indication light will 
turn orange and flash, which implies the unit enters the ID code learning mode. 

17 
2.  Press                          on the Wireless Keypad 
           Administrator password 
 Enter 
3.    If learning the ID code is successful, the LED of function key on Wireless Keypad will light for 3 seconds. 
Meanwhile, the Pool Alarm will beep once as a confirmation without flashing the orange indication light. 
If failed, all 0~9 number buttons will flash 3 times simultaneously. 
Pool Alarm and Wireless Remote Controller 
1.    Press and hold the learning key more than three seconds on the pool alarm. The top indication light will 
turn orange and flash, which implies the unit enters the ID code learning mode. 
2.    Press the ”SWIM” button for more than 3 seconds until the green LED of the Remote Controller flashes. 
    It implies that the Remote Controller enters ID code learning mode. 
3.  A 30-second countdown will start. If the ID code has been learned within 30 seconds by the Pool Alarm 
successfully, the LED of the Remote Controller will be on before exit the learning mode. 
4.    The Pool Alarm will reply a medium beep as confirmation of learning successfully.     
        If failed, the LED of the Remote Controller will flash three times rapidly before exit the learning mode. 
Note: The Remote Controller owns only one ID code to be learned by the Pool Alarm. 
CLEARING THE PRESET ID CODE 
Pool Alarm 
Press and hold the learning key on the Pool Alarm for more than 3 seconds and release, then   
press the learning key again for 6 seconds will clear the preset ID code. 1 beep can be heard as an 
acknowledgement. 
Note: If you do not keep pressing for six seconds and release, it will fail to clear code, please restart the 
procedure. 
Siren & Strobe 
Press the learning key on the Siren & Strobe for more than 3 seconds and release.  Within 30 seconds, 
press the learning key again for more than 6 seconds, during which medium beeps can be heard while the 
green LED is on steadily.    A long beep with the green LED being off represents the clearance of all of the 
preset ID codes. 
If failed, three rapid beeps will be emitted from the Siren & Strobe as a notification. 

18 
Wireless Keypad 
If it is not necessary to use the Wireless Keypad for operation, reset the administrator password to factory 
default by proceeding with the steps as shown on page 8.   
Wireless Remote Controller 
No need to clear code. 
QUICK GUIDELINE FOR LED INDICATION AND BEEP SOUND ON THE POOL ALARM 
Mode Status 
System on / System off / Enter swim mode  Continuous 3 short-beep 
Ambient environment detection  Red flashing LED (0.2 second on, 0.4 second off) 
Swim mode  Green flashing LED (0.3 second on, 2.3 second off) 
Enter armed mode  Continuous beep for 3 second with red illuminating LED 
Armed mode indication  Red illuminating LED 0.2 second at 10 second interval 
Strong wind indication  Top LED illuminate orange, bottom LED illuminate (red & 
green) 0.2 second at 10 second interval and beep 0.2 
second at 30 second interval 
Low battery indication (under armed 
mode) 
Beep 0.5 second and illuminating LED 0.5 second at 30 
second interval 
Learning the ID code period  Top LED slow flashes orange, beeps once every 3 
seconds 
Alarm activation  Red illuminating LED 
No ID code  y Short-beep at 10 seconds interval repeatedly 
y Top LED flashes orange, bottom LED flash (red & 
green)repeatedly 
QUICK GUIDELINE FOR LED INDICATION AND BEEP SOUND ON THE SIREN & STROBE 
Mode Status 
Press learning key for more than 3 
seconds to enter ID code learning mode 
y 3 short-beep and one medium beep in the end 
y Green illuminating LED for 3 seconds 
Learning the ID code period  y Intermittent short-beep repeatedly 
y Green flashing LED repeatedly 
Successful learning the ID code  y Medium beep once 
y Green illuminating LED then off 
Failed to learn the ID code  y 3 intermittent short-beep 
y Green flashing LED 3 times 
Press learning key again for 6 seconds to  y Short beep intermittently for 6 seconds 

19 
clear the preset ID code  y Green illuminating LED for 6 seconds 
Successful clearing the preset ID code    y Long beep once 
Failed to clear the preset ID code  y 3 intermittent short-beep 
y Green flashing LED 3 times 
QUICK GUIDELINE FOR LED INDICATION ON THE WIRELESS KEYPAD 
Keypad Status  Success  Failure 
Turning off the pool alarm 
back light 0~9 extinguish  back light 0~9 flashing 3 times 
Turning on the pool 
alarm 
back light 0~9 extinguish  back light 0~9 flashing 3 times 
Swim mode 
back light 0~9 extinguish  back light 0~9 flashing 3 times 
Mute 
back light 0~9 extinguish  back light 0~9 flashing 3 times 
Pressing any key or 
function key 
back light 0~9 will be on 
Learning the ID code 
mode 
back light 0~9 extinguish and 4 
function keys illuminate 
simultaneously for 1 second 
back light 0~9 flashing 3 times 
Warning:  
Strong wind indication:   
When the Pool Alarm is under armed mode detection, the wave pattern of water action may be intensified 
resulted from strong wind or other interference. For security concerned, the Pool Alarm will be converted to 
strong wind indication automatically which will be shown from the LED light of Siren & Strobe flashing for 30 
seconds and beeping every 3 second for 10 times. Meanwhile, Pool Alarm will beep every 30 seconds and the 
top LED will light orange, the bottom LED will light red & green until the strong wind mode is ended. To turn off 
the Pool alarm whenever it rains or blows strongly is recommended so as to conserve battery power and 
maximize the battery life. In the presence of strong winds, or very bad weather, the Pool Alarm will not be able 
to carry out correct detection. 
GENERAL SWIMMING POOL SAFETY GUIDELINES 
20 
- The safety of your children depends only on you! The risk is maximum when the children have less than five 
years. The accident does not arrive only at the others! Be ready to face there!   
- Supervise and act :   
- the monitoring of the children must be brought closer and constant;   
- designate only one person in charge for safety;   
- reinforce the monitoring when there are several users in the swimming pool;   
- learn how to swim with your children as soon as possible;   
- wet nape of the neck, arm and legs before entering water;   
- learn the gestures which save and especially those specific to the children;   
- prohibit the dive or the jumps in the presence of young children;   
- prohibit the sharp race and plays with the accesses of the swimming pool;   
- do not authorize the access to the swimming pool without waistcoat or life jacket for a child not knowing 
well to swim and not accompanied in water;   
- do not leave toys in the vicinity and in the basin which is not monitored;  
- permanently maintain a water limpid and healthy;   
- store the pesticides of water out of the range of the children;   
- certain systems of stroke with against current do not allow the automatic reactivation of the system of 
detection of immersion;   
- certain robots of cleaning of plunger the robots type are incompatible with the systems of detection of 
immersion;  
- in order to prevent the access to the basin with the children of less than five years at the time of the 
release of the signal of failure, to take all measurements necessary until repair.   
- envisage:   
- accessible telephone close to the basin not to leave your children without monitoring when you 
telephone;  
- buoy and pole near the basin;   
- permanent information that the basin and its accesses are under electronic monitoring,   
- only the change of the piles, batteries is authorized, and fuses, which must be done at the beginning of 
season;  
- in the event of accident:   
- as soon as possible leave the child water;   
- call help immediately and take the advice which will be given to you;   
- replace the clothes wet by hot covers;  
- to memorize and post close to the swimming pool the numbers of first aid:   
- firemen: (18 for France);   
- SAMU: (15 for France);   
- poisons centre. 

21 
MAINTAINING THE POOL ALARM 
REPLACING THE BATTERIES   
Replace the batteries whenever a low battery is indicated (see page 18 for a description of the low battery 
indication). Be sure to turn the unit off whenever replacing the batteries.   
SPECIAL CONSIDERATIONS DURING WINTER   
The unit will not operate if the water in your pool becomes frozen.    Additionally, allowing water to freeze in the 
tube can damage the unit’s sensing mechanism.   
If your pool is located in an area where freezing normally occurs and you do not intend to maintain your pool in 
a heated state throughout the winter season, you should remove the unit before freezing occurs.  Store the 
unit indoors and re-install when the water has thawed.   
Be sure to remove the batteries from the unit when placing it in storage for a prolonged period.  Corrosion 
may occur if the batteries are left in the unit during storage.   
PERIODIC TESTING 
It is recommended that the unit be tested on quarter basis. Before testing, prepare the following test simulator. 
z  Fill a 2.5-gallon (11.3 liter ) water container with enough water to weigh approximately 18 pounds ( 8kg). 
z  Tie a 6-foot (1.8meter ) length of rope to the container handle .   
Follow the steps in sequence as mentioned below for testing: 
z  Re-turning on the unit will initiate the system, of which operation is referred to page 13 
“TURNING ON THE POOL ALARM”. 
z  Hold the rope, and roll the test simulator into the pool. 
z  Wait a moment for the unit to generate a full alarm condition. 
If an alarm condition has not been occurred, refer to troubleshooting for resolution. 

22 
TROUBLESHOOTING 
Symptom Possible Cause Recommendation 
Upon power being connected, 
the Pool Alarm cannot enter 
armed mode directly 
Batteries were not fitted properly 
or reverse battery 
polarity 
Remove and refit the batteries 
LED indicator not working on the 
Pool Alarm 
LR20 batteries or rechargeable 
battery are not connected 
properly 
1.  Remove and refit the batteries or 
replace batteries 
2.  Call to local service for repair 
Low battery indication  Run out of battery power  Replace LR20 batteries 
Wireless keypad (SA802) 
cannot control solar-powered 
wireless pool alarm 
Failed to learn the ID code  1.  Resume ID code learning 
   process 
2.  Clear the preset ID code and 
resume ID code learning process 
Abnormal activation  Tube is not saturated by enough 
water level 
1.  Reallocate the mounting position of 
the unit 
2.  Add an extra tube 
3.  Add much water to the pool 
thus enhancing water level 
LED indicator not working on the 
Siren & Strobe 
Did not fit the batteries or 
insufficient battery level 
Check if the batteries are fitted or 
replace new batteries 
The unit is out of order  Send the unit for repair, do not open up 
the casing of the unit 
Siren & Strobe’s LED indicator 
working, but cannot learn the ID 
code or cannot control   
Failed to learn the ID code 
between the Pool Alarm and 
Siren & Strobe 
Check if the initial installation of the 
Pool Alarm had been cleared the preset 
ID code.    According to the operating 
manual of Pool Alarm, resume the ID 
code learning procedure. 
Interfered by radio frequency. 
Someone might transmit 
923MHz adjacently.   
Wait for a while to retry 
Siren & Strobe cannot be 
controlled by the Pool Alarm 
Failed to learn the ID code 
between the Pool Alarm and 
Siren & Strobe 
Check if the initial installation of the 
Pool Alarm had been cleared the preset 
ID code.    According to the operating 
manual of Pool Alarm, resume the ID 
code learning procedure. 
Too far distance  Relocate mounting location between 
the Pool Alarm and Siren & Strobe 
Siren & Strobe Abnormal Alarm    RF Jamming      Remove AJ Jumper to disable the 

23 
function / Eliminate the RF interference 
Press key on the Keypad, LED 
no reaction  Low battery  Replace a new battery 
Batteries were not fitted properly 
or reverse battery 
polarity 
Remove and refit the battery with 
correct polarity 
The connected wireless pool 
alarm not working  Failed to learn the ID code 
between the Pool Alarm and 
Keypad 
Proceed with learning the ID code 
Ensure correct operation of learning the 
ID code 
Wireless Remote Controller 
cannot control the Pool Alarm 
Too far distance 
Low battery 
Ensure the distance within 50Meter. 
Replace a new battery 
SPECIFICATIONS 
    Model No. 
Item 
ST113 Solar-powered Wireless Pool Alarm 
Siren  Twin piezo siren 
Siren Output  110 dB / 1 meter 
Effective Pool Alarm 
Dimension 
16’ x 32’, subject to Min. 8 kgs (18 pounds) object being fallen 
Operating Power  6 VDC 
Power Supply  Solar panel with Ni-MH AA 6V rechargeable battery and 1.5V x 4 alkaline battery 
LR20 
Frequency  923 MHz Transceiver (USA) 
Working Range  Above ground pool at 36 inch height above the ground   
Protection Degree  IPX5 
Operating Temperature  0°C ~ 45°C 
Safety  NF P90-307 A1(France) / CE/FCC/ASTM (USA) 
          Model No. 
Item 
SA802 Wireless Keypad 
Battery Type  AA 1.5V alkaline battery x 3 
Operating Frequency  923 MHz 
Communication Range  Up to 50m (150 feet) in open space 
Safety FCC 
          Model No. 
Item 
SE802 Siren & Strobe 
Battery or Adapter Type  1.5V x 4 alkaline / LR14 type or 6VDC 
Operating Frequency  923 MHz 
Communication Range  Up to 50m (150 feet) in open space 
Safety FCC 

24 
          Model No. 
Item SR 803-2 Wireless Remote Controller 
Battery Type  CR2032 3V/230mAhr 
Operating Frequency    923MHz 
Communication Range  Up to 50m (150 feet) in open space 
Safety FCC 
*Specifications are subject to change without prior notice. 
ASTM 
A501111093R 
Federal Communication Commission Interference Statement 
This equipment has been tested and found to comply with the limits for a Class B digital device, pursuant to 
Part 15 of the FCC Rules.  These limits are designed to provide reasonable protection against harmful 
interference in a residential installation.  This equipment generates, uses and can radiate radio frequency 
energy and, if not installed and used in accordance with the instructions, may cause harmful interference to 
radio communications.  However, there is no guarantee that interference will not occur in a particular 
installation.    If this equipment does cause harmful interference to radio or television reception, which can be 
determined by turning the equipment off and on, the user is encouraged to try to correct the interference by 
one of the following measures: 
-  Reorient or relocate the receiving antenna. 
-  Increase the separation between the equipment and receiver. 
-  Connect the equipment into an outlet on a circuit different from that to which the receiver is connected. 
-  Consult the dealer or an experienced radio/TV technician for help. 
This device complies with Part 15 of the FCC Rules. Operation is subject to the following two conditions: (1) 
This device may not cause harmful interference, and (2) this device must accept any interference received, 
including interference that may cause undesired operation. 
FCC Caution: Any changes or modifications not expressly approved by the party responsible for compliance 
could void the user's authority to operate this equipment. 
WARNING: 
Do not dispose of electrical appliances as unsorted municipal waste, use separate collection facilities.   
Contact your local government for information regarding the collection systems available. 
If electrical appliances are disposed of in landfills or dumps, hazardous substances can leak into the 
groundwater and get into the food chain, damaging your health and well-being. 
When replacing old appliances with new once, the retailer is legally obligated to take back your old appliance 
for disposal at least for free of charge. 
WARRANTY 
1) Warranty period:   

25 
2 years as from the date of purchase (the sales slip or the purchase invoice will have to be provided for the 
execution of the guarantee).   
Please complete the Exhibit-A form and send it back for your product registration. 
2) Conditions of the guarantee:   
- Without damage of the legal guarantee, the products are recognized provided in good operating condition, 
without apparent defect and are guaranteed if they are used according to the instructions contained in the 
Instruction manual.   
- The guarantee comprises the following services:   
9  A helpline : help with the installation, parameter setting, brought into service and resolution of 
breakdowns not requiring the return of the material in workshop 
9  RMA (Repair in workshop) by repairing or standard exchange of the returned defects items. 
- The guarantee does not cover:   
9  transport charges as well as the expenses related with an intervention in residence. 
9  Claws, stripes, glares and/or imprint etc... not noted with the delivery   
9  Breakable accessories except manufacturing defect recognized by our engineering departments, 
9 Batteries  
- The contractual guarantee does not apply in the event of: 
9  Not respect of the instructions of installation;   
9  Abnormal Use of the products like use or incorrect connection;   
9  Damage due to shocks of any origin;   
9  Damage due to fire, sets fire to, penetration of liquid or solid substances;   
9  Damage due to an overload, the lightning; 
9  Damage due to a modification or intervention carried out by any unauthorized person by HZE; 
9  Damage due to a natural disaster, floods or vandalism. 
CONTACT US 
Please feel free to write or call us with your comments or questions at the address below.   
Everspring Tech USA, INC 
3200 Wilshire Blvd. South Tower, STE# 1730 
Los Angeles, CA. 90010 
Tel: (626) 698-1898, Fax: (626) 956-0600 
Email: steve_chang@everspring.com 
EXHIBIT –A– 
PLEASE TAKE THE TIME TO COMPLETE YOUR DETAILS BELOW AND RETURN 

26 
With a proof of buying (Invoice or bill)   
To : 
Via email : 
customerservice@everspringamerica.com 
Via courrier : 
3200 Wilshire Blvd. South Tower, STE# 1730 
Los Angeles, CA. 90010 
Tel: (626) 698-1898, Fax: (626) 956-0600 
Customer 
Title (Mr/Ms)  First Name  Middle Initial  Last Name 
Address 
Zip Code  City  Country 
Email 
Telephone (area code)  Fax (area code) 
Retailer 
Name  Date of purchase 
City Country 
Model No  S/N 
P/N  
(
)
          -
(
)
          -