Extreme Networks Blackdiamond 8800 Series Users Manual BD8800_HW_IGRev02
8800 Series to the manual 45759d0f-a1c2-4a6d-8378-8cc3a268d492
2015-02-06
: Extreme-Networks Extreme-Networks-Blackdiamond-8800-Series-Users-Manual-541839 extreme-networks-blackdiamond-8800-series-users-manual-541839 extreme-networks pdf
Open the PDF directly: View PDF
.
Page Count: 180 [warning: Documents this large are best viewed by clicking the View PDF Link!]
- Table of Contents
- Preface
- About the BlackDiamond 8800 Series Switches
- About the BlackDiamond 8800 Series Switches
- BlackDiamond 8800 Series Modules
- Power Supply Units for BlackDiamond 8800 Series Switches
- Installing BlackDiamond 8800 Series Switches and Modules
- Site Preparation
- Installing the BlackDiamond 8800 Series Chassis
- Installing Power Supply Units in the BlackDiamond 8800 Series Switches
- Installing Modules and Establishing Initial Management Access
- Module Slot Assignments
- Distinguishing an MSM from an I/O Module
- Installing a BlackDiamond 8800 Series Module
- Making Network Interface Cable Connections
- Installing a Backup MSM
- Verifying the Module Installation
- Removing a BlackDiamond 8800 Series Module
- Blank Front Panels
- Installing or Removing an External Compact Flash Memory Card
- Initial Management Access
- Installing BlackDiamond Switch Accessories
- BlackDiamond Maintenance Procedures
- Appendixes
- Index

BlackDiamond 8800 Series Switches Hardware Installation Guide
2
AccessAdapt, Alpine, BlackDiamond, ESRP, Ethernet Everywhere, Extreme Enabled, Extreme Ethernet Everywhere,
Extreme Networks, Extreme Standby Router Protocol, Extreme Turbodrive, Extreme Velocity, ExtremeWare,
ExtremeWorks, ExtremeXOS, the Go Purple Extreme Solution, Sentriant, ServiceWatch, ScreenPlay, Summit,
SummitStack, Unified Access Architecture, Unified Access RF Manager, UniStack, Universal Port, the Extreme
Networks logo, the Alpine logo, the BlackDiamond logo, the Extreme Turbodrive logo, the Summit logos, the
Powered by ExtremeXOS logo, and the Color Purple, among others, are trademarks or registered trademarks of
Extreme Networks, Inc. or its subsidiaries in the United States and/or other countries.
Adobe, Flash, and Macromedia are registered trademarks of Adobe Systems Incorporated in the U.S. and/or other
countries. AutoCell is a trademark of AutoCell. Avaya is a trademark of Avaya, Inc. Internet Explorer is a registered
vctrademark of Microsoft Corporation. Mozilla Firefox is a registered trademark of the Mozilla Foundation. sFlow is
a registered trademark of sFlow.org. Solaris and Java are trademarks of Sun Microsystems, Inc. in the U.S. and other
countries.
Specifications are subject to change without notice.
All other registered trademarks, trademarks, and service marks are property of their respective owners.
© 2008 Extreme Networks, Inc. All Rights Reserved.

BlackDiamond 8800 Series Switches Hardware Installation Guide 3
Table of Contents
Preface........................................................................................................................................... 9
Introduction ...............................................................................................................................9
Conventions................................................................................................................................9
Related Publications .................................................................................................................10
Part 1: About the BlackDiamond 8800 Series Switches
Chapter 1: About the BlackDiamond 8800 Series Switches.............................................................. 15
Overview of the BlackDiamond 8800 Series Switches...................................................................15
Full-Duplex Support ..................................................................................................................16
Management Ports ....................................................................................................................16
External Compact Flash Memory Card .........................................................................................16
BlackDiamond 8806 Switch Chassis...........................................................................................16
BlackDiamond 8810 Switch Chassis...........................................................................................18
Chapter 2: BlackDiamond 8800 Series Modules ............................................................................. 21
Overview of the BlackDiamond 8800 Series Modules....................................................................21
Management Switch Modules (MSM) ..........................................................................................21
Redundant MSM Activity .....................................................................................................21
MSM Physical Features........................................................................................................22
MSM LEDs .........................................................................................................................24
I/O Modules..............................................................................................................................25
BlackDiamond 8800 Original Series I/O Modules ...................................................................25
G24X I/O Module ..........................................................................................................26
10G4X I/O Module ........................................................................................................26
G48T I/O Module ..........................................................................................................27
G48P I/O Module ..........................................................................................................28
BlackDiamond 8800 a-Series I/O Modules.............................................................................28
G48Ta I/O Module.........................................................................................................29
G48Xa I/O Module.........................................................................................................30
10G4Xa I/O Module.......................................................................................................31
10G4Ca I/O Module.......................................................................................................31
BlackDiamond 8800 c-Series I/O Modules.............................................................................32
G48Tc I/O Module.........................................................................................................32
10G4Xc I/O Module.......................................................................................................33
10G8Xc I/O Module.......................................................................................................34
G24Xc I/O Module.........................................................................................................34
G48Xc I/O Module.........................................................................................................35
BlackDiamond 8800 E-Series I/O Modules ............................................................................36
G48Te I/O Module.........................................................................................................36
G48Pe I/O Module.........................................................................................................37
G48Te2 I/O Module.......................................................................................................38
I/O Module LEDs.................................................................................................................38
Module LEDs ................................................................................................................39

Table of Contents
BlackDiamond 8800 Series Switches Hardware Installation Guide
4
Port LEDs on Non-PoE Modules......................................................................................39
Port LEDs on PoE Modules (G48P, G48Pe, and G48Tc or G48Te2 with S-POE Card) ..........40
Chapter 3: Power Supply Units for BlackDiamond 8800 Series Switches.......................................... 41
Overview of BlackDiamond 8800 Series Power Supplies ...............................................................41
Extreme Networks 700/1200 W AC PSU .....................................................................................42
LEDs..................................................................................................................................42
Power Supply Cords.............................................................................................................43
Fuse ..................................................................................................................................43
Specifications.....................................................................................................................44
Extreme Networks 600/900 W AC PSU .......................................................................................45
Minimum Software Required ................................................................................................45
LEDs..................................................................................................................................46
Power Supply Cords.............................................................................................................46
Fuse ..................................................................................................................................47
Specifications.....................................................................................................................47
Combining Different AC PSU Models...........................................................................................47
Extreme Networks 1200 W DC PSU ............................................................................................48
Minimum Software Required ................................................................................................49
LEDs..................................................................................................................................49
Part 2: Installing BlackDiamond 8800 Series Switches and Modules
Chapter 4: Site Preparation............................................................................................................ 53
Planning Your Site ....................................................................................................................53
Meeting Site Requirements ........................................................................................................54
Operating Environment Requirements ...................................................................................54
Building and Electrical Codes.........................................................................................54
Wiring Closet Considerations ..........................................................................................55
Temperature .................................................................................................................55
Humidity ......................................................................................................................56
Chassis Spacing Requirements .......................................................................................56
Chassis Airflow Requirements.........................................................................................56
Electrostatic Discharge ..................................................................................................57
Rack Specifications and Recommendations ...........................................................................58
Mechanical Recommendations for the Rack .....................................................................58
Protective Grounding for the Rack...................................................................................58
Space Requirements for the Rack ...................................................................................59
Securing the Rack .........................................................................................................59
Evaluating and Meeting Cable Requirements ...............................................................................60
Cabling Standards ...............................................................................................................60
Cable Labeling and Record Keeping......................................................................................60
Installing Cable...................................................................................................................61
Fiber Optic Cable ..........................................................................................................63
Cable Distances ............................................................................................................63
RJ-45 Connector Jackets .....................................................................................................64
Radio Frequency Interference...............................................................................................65
Meeting Power Requirements .....................................................................................................66
PoE Devices .......................................................................................................................66
Power Supply Requirements.................................................................................................66

Table of Contents
BlackDiamond 8800 Series Switches Hardware Installation Guide 5
AC Power Cable Requirements..............................................................................................67
Replacing the Power Cable.............................................................................................67
Uninterruptible Power Supply Requirements ..........................................................................67
Selecting a UPS............................................................................................................68
Calculating Volt-Amperage Requirements.........................................................................68
UPS Transition Time .....................................................................................................68
Applicable Industry Standards....................................................................................................68
Chapter 5: Installing the BlackDiamond 8800 Series Chassis .......................................................... 71
Unpacking the BlackDiamond 8806 Chassis................................................................................72
Unpacking the BlackDiamond 8810 Chassis................................................................................75
Pre-installation Requirements ....................................................................................................78
Attaching the Mid-Mount Brackets..............................................................................................78
Rack-Mounting the BlackDiamond 8800 Series Chassis ...............................................................80
Grounding the BlackDiamond 8800 Series Chassis ......................................................................83
Initial Management Access ........................................................................................................85
Chapter 6: Installing Power Supply Units in the BlackDiamond 8800 Series Switches....................... 87
Safety ......................................................................................................................................87
PSU Compatibility.....................................................................................................................88
Combining Different AC PSU Models.....................................................................................88
Minimum Software Requirements .........................................................................................89
Power Supply Cords for AC Power Supplies..................................................................................89
Installing an Extreme Networks AC PSU ......................................................................................90
Required Tools and Equipment.............................................................................................91
Installing the PSU...............................................................................................................91
Removing or Replacing an Extreme Networks AC PSU ............................................................92
LEDs on the 700/1200 W AC PSU........................................................................................93
Installing an Extreme Networks 1200 W DC PSU .........................................................................94
Required Tools and Equipment.............................................................................................94
Installing the DC Wiring .......................................................................................................94
Installing a 1200 W DC PSU................................................................................................95
Removing a 1200 W DC PSU ...............................................................................................98
LEDs..................................................................................................................................99
Chapter 7: Installing Modules and Establishing Initial Management Access.................................... 101
Module Slot Assignments.........................................................................................................101
Distinguishing an MSM from an I/O Module...............................................................................102
Installing a BlackDiamond 8800 Series Module .........................................................................102
Making Network Interface Cable Connections.............................................................................106
Connecting and Disconnecting Cables on the 10G4Ca Module...............................................106
Installing a Backup MSM.........................................................................................................108
Verifying the Module Installation ..............................................................................................108
Displaying Slot Status Information ......................................................................................108
Removing a BlackDiamond 8800 Series Module ........................................................................109
Blank Front Panels..................................................................................................................110
Installing a Blank Front Panel ............................................................................................111
Removing a Blank Front Panel............................................................................................111
Installing or Removing an External Compact Flash Memory Card..................................................113

Table of Contents
BlackDiamond 8800 Series Switches Hardware Installation Guide
6
Initial Management Access ......................................................................................................114
Connecting Equipment to the Console Port ..........................................................................114
Logging In for the First Time ..............................................................................................114
Part 3: Installing BlackDiamond Switch Accessories
Chapter 8: Installing BlackDiamond 8800 Series Module Options .................................................. 119
Installing an S-POE Daughter Card ...........................................................................................119
Removing an S-POE Card.........................................................................................................121
Installing an Option Card in the MSM-48c.................................................................................122
Removing an MSM Option Card ................................................................................................124
Chapter 9: BlackDiamond AC Power Cord Retaining Brackets ........................................................ 125
BlackDiamond 8810 AC Power Cord Retaining Bracket ..............................................................125
Installing the BlackDiamond 8810 AC Power Cord Retaining Bracket.....................................125
Disconnecting a BlackDiamond 8810 AC Power Cord ...........................................................127
BlackDiamond 8806 AC Power Cord Retainer Channel ...............................................................128
Installing the BlackDiamond 8806 AC Power Cord Retainer Channel......................................128
Removing the BlackDiamond 8806 AC Power Cord Retainer Channel.....................................130
Chapter 10: BlackDiamond Cable Management ............................................................................. 131
About BlackDiamond Cable Management ..................................................................................131
Using the Cable Holders and Cable Clips...................................................................................131
Connecting Cable Holders ..................................................................................................132
Connecting Cable Clips ......................................................................................................133
Part 4: BlackDiamond Maintenance Procedures
Chapter 11: Replacing BlackDiamond 8800 Series Chassis Components........................................ 137
Replacing the Fan Tray ............................................................................................................137
Pre-Installation Requirements ............................................................................................137
Removing the Fan Tray ......................................................................................................137
Installing the Replacement BlackDiamond 8800 Series Fan Tray...........................................139
Replacing the PSU/Fan Controller.............................................................................................140
Pre-installation Requirements.............................................................................................140
Removing the PSU/Fan Controller .......................................................................................141
Installing the Replacement PSU/Fan Controller ....................................................................143
Chapter 12: Repacking a BlackDiamond 8800 Series Chassis ....................................................... 145
Safety Information ..................................................................................................................145
Required Tools and Equipment.................................................................................................145
Repacking the BlackDiamond 8810 Chassis ..............................................................................146
Repacking the BlackDiamond 8806 Chassis ..............................................................................150
Part 5: Appendixes
Appendix A: Safety Information .................................................................................................... 155
Considerations Before Installing ...............................................................................................155

Table of Contents
BlackDiamond 8800 Series Switches Hardware Installation Guide 7
Installing Power Supply Units...................................................................................................155
Maintenance Safety.................................................................................................................156
General Safety Precautions ......................................................................................................157
Cable Routing for LAN Systems ..........................................................................................157
PoE Devices .....................................................................................................................158
Selecting Power Supply Cords ..................................................................................................158
Battery Replacement and Disposal............................................................................................159
Fiber Optic Ports—Optical Safety .............................................................................................159
GBIC, SFP (Mini-GBIC), XENPAK, and XFP Regulatory Compliance .......................................160
Appendix B: Technical Specifications .......................................................................................... 167
BlackDiamond 8810 Switch.....................................................................................................167
BlackDiamond 8806 Switch.....................................................................................................170
Power Supplies for BlackDiamond 8800 Series Switches ............................................................172
Connector Pinouts...................................................................................................................173
Index .............................................................................................................................................. 1

Table of Contents
BlackDiamond 8800 Series Switches Hardware Installation Guide
8

BlackDiamond 8800 Series Switches Hardware Installation Guide 9
Preface
This preface provides an overview of this guide, describes guide conventions, and lists other
publications that might be useful.
WARNING!
Service to all equipment should be performed by trained and qualified service personnel only. Before installing or
removing any components of the system, or before carrying out any maintenance procedures, you must thoroughly
read the safety information provided in Appendix A of this guide. Failure to follow this safety information can lead to
personal injury or damage to the equipment.
Introduction
This guide provides the required information to install Extreme Networks® BlackDiamond® 8800 series
switches. This guide also contains information about site preparation, switch functionality, and switch
operation.
This guide is intended for use by network administrators responsible for installing and setting up
network equipment. It assumes a basic working knowledge of:
●Local area networks (LANs)
●Ethernet concepts
●Ethernet switching and bridging concepts
●Routing concepts
●Simple Network Management Protocol (SNMP)
See the ExtremeXOS 12.1 Concepts Guide and the ExtremeXOS 12.1 Command Reference Guide for
information about configuring Extreme Networks BlackDiamond 8800 series switches.
NOTE
If the information in the installation note or release note shipped with your Extreme Networks switch differs from the
information in this guide, follow the installation or release note.
Conventions
Table 1 and Table 2 list conventions used in Extreme Networks customer documentation.

Preface
BlackDiamond 8800 Series Switches Hardware Installation Guide
10
Related Publications
The Extreme Networks ExtremeXOS™ switch documentation set includes:
●
ExtremeXOS 12.1 Concepts Guide
●
ExtremeXOS 12.1 Command Reference Guide
●
ExtremeXOS 12.1 Release Notes
●
BlackDiamond 12800 Series Switches Hardware Installation Guide
●
BlackDiamond 10808 Switch Hardware Installation Guide
●
Summit Family Switches Hardware Installation Guide
●
Extreme Networks Pluggable Interface Modules Installation Guide
Documentation for Extreme Networks products is available from the Extreme Networks website at the
following location:
http://www.extremenetworks.com/services/documentation
Table 1: Notice Icons
Icon Notice Type Alerts you to...
Note Important features or instructions.
Caution Risk of personal injury, system damage, or loss of data.
Warning Risk of severe personal injury.
Table 2: Text Conventions
Convention Description
Screen displays This typeface represents information as it appears on the screen, or command
syntax.
The words “enter”
and “type”
When you see the word “enter” in this guide, you must type something, and then
press the Return or Enter key. Do not press the Return or Enter key when an
instruction simply says “type.”
[Key] names Key names appear in text in one of two ways:
• Referenced by their labels, such as “the Return key” or “the Escape key”
• Written with brackets, such as [Return] or [Esc]
If you must press two or more keys simultaneously, the key names are linked with a
plus sign (+). Example:
Press [Ctrl]+[Alt]+[Del].
Words in italicized type Italics emphasize a point of information or denote new terms at the place where
they are defined in the text.

Related Publications
BlackDiamond 8800 Series Switches Hardware Installation Guide 11
You can select and download the following Extreme Networks documentation from the Documentation
Overview page:
●Software User Guides
●Hardware User Guides
You can find archived user guides for software at:
http://www.extremenetworks.com/services/documentation/swuserguides.asp
You can also find archived installation guides for hardware at:
http://www.extremenetworks.com/services/documentation/hwuserguides.asp

Preface
BlackDiamond 8800 Series Switches Hardware Installation Guide
12

1About the BlackDiamond 8800 Series Switches

BlackDiamond 8800 Series Switches Hardware Installation Guide 15
1About the BlackDiamond 8800 Series Switches
This chapter describes the Extreme Networks BlackDiamond 8800 series switches and includes the
following sections:
●Overview of the BlackDiamond 8800 Series Switches on page 15
●Full-Duplex Support on page 16
●Management Ports on page 16
●External Compact Flash Memory Card on page 16
●BlackDiamond 8806 Switch Chassis on page 16
●BlackDiamond 8810 Switch Chassis on page 18
For information about the I/O modules and management modules (MSMs) for the BlackDiamond 8800
series switches, see Chapter 2, “BlackDiamond 8800 Series Modules.”
For information about installing the BlackDiamond switches, see Chapter 5, “Installing the
BlackDiamond 8800 Series Chassis.”
Overview of the BlackDiamond 8800 Series Switches
The BlackDiamond switches are chassis-based, Ethernet service core switches designed for core
applications.
The features of these switches include:
●Hot-swappable I/O modules that include Gigabit Ethernet copper ports (10/100/1000) and Gigabit
Ethernet fiber ports (SFP), or 10 Gigabit Ethernet ports (XFP)
●Management Switch Fabric Modules (MSMs) that provide the active switching fabric and CPU
control subsystem
●Redundant, load-sharing, hot-swappable power supplies
●Field-replaceable, hot-swappable fan trays
●Auto-negotiation for half-duplex or full-duplex operation on 10/100/1000 Mbps ports
●Load sharing on multiple ports
The BlackDiamond 8800 series switches include two chassis models:
●BlackDiamond 8806 switch
●BlackDiamond 8810 switch
For more information about configuring a BlackDiamond switch, see the ExtremeXOS 12.1 Concepts
Guide and the ExtremeXOS 12.1 Command Reference Guide.

About the BlackDiamond 8800 Series Switches
BlackDiamond 8800 Series Switches Hardware Installation Guide
16
Full-Duplex Support
Extreme Networks switches provide full-duplex support for all ports. Full-duplex support means that
frames can be transmitted and received simultaneously, effectively doubling the bandwidth available on
a link. Most ports on an Extreme Networks switch will auto-negotiate duplex operation in the default
configuration. Gigabit Ethernet fiber ports and 10-Gigabit Ethernet ports operate only in full-duplex
mode in accordance with technical standards.
Management Ports
Each BlackDiamond series Management Switch Fabric Module (MSM) has a 10/100BASE-TX Ethernet
management port. This port allows you to communicate directly with the central processing unit (CPU)
of the switch. You can plug an Ethernet cable directly from your laptop into the management port for
direct access into the switch. This access allows you to view and locally manage the switch
configurations.
External Compact Flash Memory Card
All MSMs in the BlackDiamond family include a compact flash slot next to the console port. This slot
accepts a compact flash memory card, which can be used to download a new version of ExtremeXOS
and for other functions, including capturing debug information and core dump files. See the
ExtremeXOS 12.1 Concepts Guide for more information regarding the use of the external compact flash
memory card.
The external compact flash slot supports third-party compact flash cards.
NOTE
You must use an industrial-grade compact flash card in the external compact flash slot of the MSM.
BlackDiamond 8806 Switch Chassis
The BlackDiamond 8806 chassis includes the following components:
●One 6-slot chassis with backplane
●Four dedicated I/O module slots, labeled 1, 2, 5, and 6
●One dedicated MSM slot, labeled 3/A
●One dual-use slot for either an I/O module or MSM, labeled 4/B
●Power supply bay that accommodates up to six power supplies, accessed from the front of the unit
●One fan tray, accessed from the front right of the unit
●One connector for an ESD-preventive wrist strap
When two MSMs are installed, the chassis can support up to 48 gigabits of bandwidth per slot.

BlackDiamond 8806 Switch Chassis
BlackDiamond 8800 Series Switches Hardware Installation Guide 17
Figure 1 shows the front of a BlackDiamond 8806 chassis equipped with two MSMs and three optional
I/O modules.
Figure 1: Front of the BlackDiamond 8806 Chassis
Figure 2 shows the rear panel of the BlackDiamond 8806 chassis.
Figure 2: Rear Panel of the BlackDiamond 8806 Chassis
The rear panel of the BlackDiamond 8806 chassis provides:
●Chassis serial number
●Ethernet MAC address of the switch
●Symbols of safety certification
●Access to the PSU/fan controllers
●Attachment point for optional chassis ground
EX_127
ESD wrist strap
connector
MSM slot
Power supplies
Fan tray
I/O module
slots
Power cord
connectors
I/O module or MSM slot
I/O module
slots
EX_128A
Grounding point
PSU / fan
controllers

About the BlackDiamond 8800 Series Switches
BlackDiamond 8800 Series Switches Hardware Installation Guide
18
BlackDiamond 8810 Switch Chassis
The BlackDiamond 8810 chassis consists of the following components:
●One 10-slot chassis with backplane
●Eight dedicated I/O module slots, labeled 1, 2, 3, 4, 7, 8, 9 and 10
●One dedicated MSM slot, labeled 5/A
●One dual-use slot for an I/O module or MSM, labeled 6/B
●Power supply bay that accommodates up to six power supplies, accessed from the front of the unit
●One fan tray, accessed from the front right of the unit
●One connector for an ESD-preventive wrist strap
When two MSMs are installed, the chassis can support up to 48 Gigabit bandwidth per slot.
Figure 1 shows the front of a BlackDiamond 8810 chassis equipped with two MSMs and three optional
I/O modules.
Figure 3: Front of the BlackDiamond 8810 Chassis
Figure 2 shows the rear panel of the BlackDiamond 8810 chassis.
ASP042
ESD wrist strap
connector
MSM module slot
Power supplies
Fan tray
I/O module slots
Power cord
connectors
I/O module slots

BlackDiamond 8810 Switch Chassis
BlackDiamond 8800 Series Switches Hardware Installation Guide 19
Figure 4: Rear Panel of the BlackDiamond 8810 Chassis
The rear panel of the BlackDiamond 8810 chassis provides:
●Chassis serial number
●Ethernet MAC address of the switch
●Symbols of safety certification
●Access to the PSU/fan controllers
●Attachment point for optional chassis ground
ASP044B
Grounding point
PSU/Fan
controllers

About the BlackDiamond 8800 Series Switches
BlackDiamond 8800 Series Switches Hardware Installation Guide
20

BlackDiamond 8800 Series Switches Hardware Installation Guide 21
2BlackDiamond 8800 Series Modules
This chapter describes modules for the BlackDiamond 8800 series of switches and includes the
following sections:
●Overview of the BlackDiamond 8800 Series Modules on page 21
●Management Switch Modules (MSM) on page 21
●I/O Modules on page 25
Overview of the BlackDiamond 8800 Series Modules
Modules available for the BlackDiamond 8800 series switches include management switch modules
(MSMs) and I/O modules. A BlackDiamond module consists of a printed circuit board mounted on a
metal panel that acts as the insertion vehicle in the BlackDiamond 8800 series switches. The module
carrier also includes ejector/injector levers and captive retaining screws at each end of the module front
panel. LEDs on the module front panel provide information about the operating status of the modules.
CAUTION
Do not attempt to mix modules across Extreme Networks product lines. BlackDiamond 8800 series modules are for
use only in a BlackDiamond 8806 or 8810 switch. When a BlackDiamond 8800 series switch is in use,
ExtremeXOS software will not recognize a module from a different product line.
Management Switch Modules (MSM)
The following MSMs are available for the BlackDiamond 8800 series switches:
●MSM-G8X
●MSM-48
●MSM-48c
The MSMs provide the active switching fabric and CPU control subsystem for the switch. One MSM is
required for switch operation; however, adding a second MSM to the chassis increases reliability and
throughput. Each MSM provides 192 Gbps of switching throughput through three ASICs.
A compact flash slot allows you to insert an external compact flash memory card. (See Chapter 1 for
more information about Extreme Networks-supported compact flash cards.)
Redundant MSM Activity
The BlackDiamond 8800 series switches can run with a single MSM installed. When you install an
additional MSM, one of the MSMs operates as the primary MSM and the other becomes the backup
(secondary) MSM. The primary MSM is responsible for upper-layer protocol processing and system
management functions. Packet handling is distributed among the CPUs of all installed MSMs.
When you save the switch configuration, it is saved to all MSMs.

BlackDiamond 8800 Series Modules
BlackDiamond 8800 Series Switches Hardware Installation Guide
22
Selection of the primary MSM occurs automatically. The following examples describe the selection
process:
●When a switch boots with two MSMs installed, the MSM in the lower-numbered slot becomes the
primary MSM. In the BlackDiamond 8810 switch this is slot 5; in the BlackDiamond 8806 switch, this
is slot 3.
●When a switch boots with a single MSM (regardless of the slot position), it is selected as the primary
MSM.
If a second MSM is added to the switch after it has been powered up, the added MSM becomes the
backup MSM. MSMs that operate as backup MSMs can be inserted and removed without disrupting
network services.
●If you remove the primary MSM while the switch is operating, the backup MSM performs a soft
reset and then becomes the primary MSM.
For example, in a BlackDiamond 8810 switch with a primary MSM in slot 5 and a backup MSM in
slot 6, if you remove the primary MSM from slot 5, the backup MSM in slot 6 becomes the primary
MSM.
MSM Physical Features
Figure 5 shows the MSM-G8X.
Figure 5: MSM-G8X
Figure 6 shows the MSM-48.
Figure 6: MSM-48
Module status LEDs
SYS/STA MSTR/DIAG
ERR
ENV
Compact flash
Console port
MGMT port A R
D
Mini-GBIC
fiber ports
ASP038C
Module status LEDs
SYS MSTR
ERR
ENV
Compact flash
Console port
MGMT port A R
D
ASP050

Management Switch Modules (MSM)
BlackDiamond 8800 Series Switches Hardware Installation Guide 23
Figure 7 shows the MSM-48c.
Figure 7: MSM-48c
The BlackDiamond 8800 series MSMs have the following features on the front panel:
●Console port—DB-9 serial port used to connect a terminal and perform local management.
●Management port—A 10/100 Mbps Ethernet management port used to connect an Ethernet cable
directly from your laptop to the switch to view and locally manage the switch configurations. This
port can also be used to connect the system into a parallel management network for administration.
●A button—Allows you to select the alternate BootROM image when you power on the module. To
use the alternate BootROM image, you must hold the A button while pressing the R button
simultaneously.
●D button—Allows you to force a system dump that dumps the debug information into NVRAM.
This information is available on the next reboot. No core file is created.
●R button—Allows you to reset the MSM-G8X without removing the module from the chassis.
●Compact flash slot
The MSM-G8X has the following additional ports:
●Eight SFP data ports—These data ports operate the same as the ports on the G24X I/O module. (See
“G24X I/O Module” on page 26 for more information about these ports.) The eight data ports are
integrated into the MSM and managed by a separate I/O processor, which retains control of the
eight Ethernet ports on the MSM during a failover. The backup MSM can take control of the ports.
The MSM-48c has a slot for one of the following option cards:
●S-G8Xc—Adds eight 1-gigabit SFP data ports to the MSM-48c. These data ports operate the same as
the ports on the G24Xc I/O module. (See “G24Xc I/O Module” on page 34 for more information
about these ports.)
●S-10G1Xc—Adds one 10-gigabit XFP data port to the MSM-48c. This data port operates the same as
the ports on the 10G4Xc I/O module. (See “10G4Xc I/O Module” on page 33 for more information
about this port.)
The MSM-48c has more CPU memory than the other two MSM models. For details of feature support in
the MSM-48c, see the ExtremeXOS 12.1 Concepts Guide.
NOTE
See the ExtremeXOS 12.1 Concepts Guide and the ExtremeXOS 12.1 Command Reference Guide for more
information about numbering conventions for modules and ports, as well as configuration and display
information.
Module status LEDs
Compact flash
Console port
MGMT
port
A R
D
ASP_051

BlackDiamond 8800 Series Modules
BlackDiamond 8800 Series Switches Hardware Installation Guide
24
MSM LEDs
Table 3 describes the LED activity on the BlackDiamond 8800 series MSMs.
NOTE
The LEDs on the management Ethernet port are not labeled. On most modules, the LED on the right is the link
LED, and the one on the left is the activity LED. On the MSM-48c, the left LED indicates link status, and the right
LED indicates link activity by blinking green.
NOTE
The data port LEDs on the MSM-G8X operate the same as the port status LEDs on the G24X I/O module.
I/O Modules
The following series of I/O modules are available for the BlackDiamond 8800 series switches:
●BlackDiamond 8800 original series I/O modules (see page 25)
●BlackDiamond 8800 a-series I/O modules (see page 28)
●BlackDiamond 8800 c-series I/O modules (see page 32)
●BlackDiamond 8800 e-series I/O modules (see page 36)
Table 3: MSM-G8X, MSM-48. and MSM-48c LEDs
LED Color Indicates
SYS Green blinking Normal operation is occurring.
Off Switch is not receiving power or MSM is running diagnostics.
STA
(MSM-G8X only)
Amber blinking Diagnostic tests are running on the module. The LED resets if the
diagnostics are terminated.
Amber Diagnostic failure has occurred.
Off Normal operation for diagnostics.
MSTR Green Module is operating as primary MSM.
Amber Module is operating as backup (secondary) MSM.
Off Normal operation for diagnostics.
DIAG
(MSM-G8X only)
Green blinking Power-on self-test (POST) is running.
Off Normal operation for diagnostics.
ERR Amber A critical software error has been logged since power-up.
Off Normal operation is occurring.
ENV Green Environment (temperature, fan, power supply) is operating properly.
Amber Environmental failure has occurred.
Link on MSTR
Ethernet port
Green Link is up.
Off Link is down.
Activity on MSTR Amber Packet activity is occurring.

I/O Modules
BlackDiamond 8800 Series Switches Hardware Installation Guide 25
No configuration information is stored on the I/O modules; all configuration information is stored on
the MSMs.
When a BlackDiamond 8800 series switch is powered on, the software generates a default configuration
for any slots that contain I/O modules. The default configuration allows the I/O module ports to
participate in the VLAN named default. The default configuration for the I/O module is not preserved
unless you explicitly save the configuration to NVRAM.
You can configure parameters of an I/O module after it is installed, or preconfigure a slot for a certain
type of module and configuration. The preconfigured information is applied to the module after it is
inserted. If you preconfigure a slot for a specific module type and then insert a different type of module,
the inserted module reverts to its default configuration.
NOTE
See the ExtremeXOS 12.1 Concepts Guide and the ExtremeXOS 12.1 Command Reference Guide for feature-specific
information related to BlackDiamond 8800 series modules.
CAUTION
When BlackDiamond 8800 I/O modules from different series (original series, a-series, c-series, and e-series) are
installed in the same BlackDiamond 8800 series chassis, limitations on feature sets may occur. See the
ExtremeXOS 12.0 Concepts Guide and the ExtremeXOS 12.0 Command Reference Guide for more information about
these limitations.
BlackDiamond 8800 Original Series I/O Modules
The BlackDiamond 8800 original series of I/O modules consists of the following:
●G24X I/O Module on page 26
●10G4X I/O Module on page 26
●G48T I/O Module on page 27
●G48P I/O Module on page 28
NOTE
The ports on the MSM-G8X also have the same operational features as the ports on the G24X I/O module and can
be included as part of the BlackDiamond 8800 original series I/O modules.
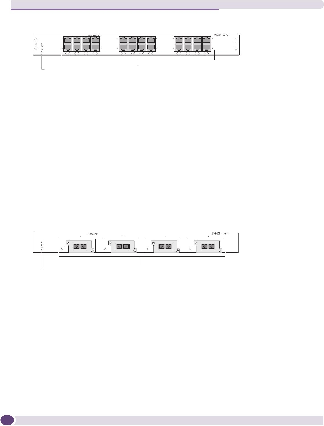
G24X I/O Module
The G24X I/O module (Figure 8) has 24 unpopulated SFP-based Gigabit Ethernet ports.

BlackDiamond 8800 Series Modules
BlackDiamond 8800 Series Switches Hardware Installation Guide
26
Figure 8: G24X I/O Module
The default configuration of the G24X module is as follows. All ports:
●Are added to the default VLAN as untagged
●Inherit the properties of the default VLAN (for example, protocol type and VLANid)
The G24X module has the following LEDs:
●Module status
●Module diagnostics
●Port status
For information about the LEDs and their activity on the G24X module, see “I/O Module LEDs” on
page 38. For information about the SFP modules, see the Extreme Networks Pluggable Interface Modules
Installation Guide.
10G4X I/O Module
The 10G4X I/O module (Figure 9) has four unpopulated XENPAK-based 10 Gigabit Ethernet ports.
Figure 9: 10G4X I/O Module
The default configuration of the 10G4X I/O module is as follows. All ports:
●Are added to the default VLAN as untagged.
●Inherit the properties of the default VLAN (for example, protocol type and VLANid)
The 10G4X I/O module has the following LEDs:
●Module status
●Module diagnostics
●Port status
For information about the LEDs and their activity on the 10G4X I/O module, see “I/O Module LEDs”
on page 38. For information about the XENPAK interfaces, see the Extreme Networks Pluggable Interface
Modules Installation Guide.
Module status LEDs 1000BASE-X
ports
ASP041A
Module status LEDs 10 Gbs ports
ASP040A

I/O Modules
BlackDiamond 8800 Series Switches Hardware Installation Guide 27
G48T I/O Module
The G48T I/O module (Figure 10) has 48 autosensing 10/100/1000BASE-T ports that use standard RJ-45
connectors.
Figure 10: G48T I/O Module
The default configuration of the G48T I/O module is as follows. All ports:
●Are added to the default VLAN as untagged
●Inherit the properties of the default VLAN (for example, protocol type and VLANid)
●Operate in autonegotiation mode
The G48T I/O module has the following LEDs:
●Module status
●Module diagnostics
●Port status
For information about the LEDs and their activity on the G48T I/O module, see “I/O Module LEDs” on
page 38.
Module status LEDs
10/100/1000BASE-T
ports
ASP037A

BlackDiamond 8800 Series Modules
BlackDiamond 8800 Series Switches Hardware Installation Guide
28
G48P I/O Module
The G48P I/O module (Figure 11) has 48 autosensing 10/100/1000BASE-T ports that use standard RJ-45
connectors. In addition to the Ethernet connection, these ports can deliver Power over Ethernet (PoE) to
an attached device using the same cable. The G48P I/O module supports the IEEE 802.3af PoE
specification.
Figure 11: G48P I/O Module
When powered devices (PDs) are connected to a port, the PDs are discovered and classified as
802.3af-compliant or as legacy devices. ExtremeXOS implements the following functions:
●Enables the port for discovery, classification, and power delivery
●Enforces port power limits by denying power to a device exceeding the configured limit
●Enforces class limits by denying power to a device exceeding the class limit
●Reports and tracks port power faults
The default configuration of the G48P I/O module is as follows. All ports:
●Are added to the default VLAN as untagged
●Inherit the properties of the default VLAN (for example, protocol type and VLANid)
●Operate in autonegotiation mode
The G48P I/O module has the following LEDs:
●Module status
●Module diagnostics
●Port status
●Power status
For information about the LEDs and their activity on the G48P I/O module, see “I/O Module LEDs” on
page 38.
BlackDiamond 8800 a-Series I/O Modules
The BlackDiamond 8800 a-series I/O modules include:
●G48Ta I/O Module on page 29
●G48Xa I/O Module on page 30
●10G4Xa I/O Module on page 31
●10G4Ca I/O Module on page 31
Module status LEDs
10/100/1000BASE-T
PoE ports
ASP039A

I/O Modules
BlackDiamond 8800 Series Switches Hardware Installation Guide 29
CAUTION
BlackDiamond a-series modules require specific minimum versions of ExtremeXOS software to be recognized by the
MSM (see Table 4). Software builds earlier than the listed versions do not support the specified I/O modules.
If you attempt to install one of these I/O modules before upgrading the software on your MSM, the module will not
be recognized by the software and it will not power up. The following error messages are similar to the messages
that may be displayed on the console or in the log. (Samples represent an unrecognized module in slot 2.)
●On the console: ERROR: Unknown cardtype in slot 2 - please program the eeprom
●In the log: <Error: HAL.Card.Error> MSM-A: Unable to read cardtype for slot 2
G48Ta I/O Module
The G48Ta I/O module (Figure 12) has 48 autosensing 10/100/1000BASE-T ports that use standard
RJ-45 connectors.
Figure 12: G48Ta I/O Module
The default configuration of the G48Ta I/O module is as follows. All ports:
●Are added to the default VLAN as untagged
●Inherit the properties of the default VLAN (for example, protocol type and VLANid)
●Operate in autonegotiation mode
The G48Ta I/O module has the following LEDs:
●Module status
●Module diagnostics
●Port status
For information about the LEDs and their activity on the G48Ta I/O module, see “I/O Module LEDs”
on page 38.
Table 4: Minimum Software Versions for BlackDiamond 8800 a-Series Modules
Module Required ExtremeXOS version
G48Ta ExtremeXOS 11.5.0 or later
G48Xa ExtremeXOS 11.5.0 or later
10G4Xa ExtremeXOS 11.6.0 or later
10G4Ca ExtremeXOS 12.0.1 or later
Module status LEDs
ASP048
10/100/1000BASE-T
ports

BlackDiamond 8800 Series Modules
BlackDiamond 8800 Series Switches Hardware Installation Guide
30
G48Xa I/O Module
The G48Xa I/O module (Figure 13) has 48 1000BASE-X ports that use SPF fiber SFP connectors.
Figure 13: G48Xa I/O Module
The default configuration of the G48Xa module is as follows. All ports:
●Are added to the default VLAN as untagged
●Inherit the properties of the default VLAN (for example, protocol type and VLANid)
The G48Xa module has the following LEDs:
●Module status
●Module diagnostics
●Port status
For information about the LEDs and their activity on the G48Xa module, see “I/O Module LEDs” on
page 38. For information about SFPs, see the Extreme Networks Pluggable Interface Modules Installation
Guide.
Module status LEDs
ASP049A
1000BASE-X
ports

I/O Modules
BlackDiamond 8800 Series Switches Hardware Installation Guide 31
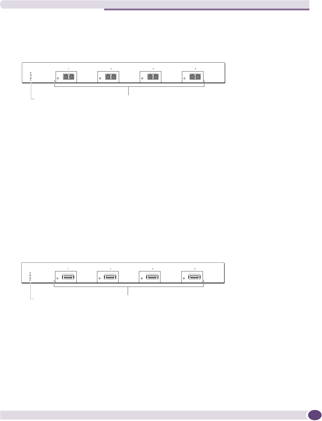
10G4Xa I/O Module
The 10G4Xa I/O module (Figure 14) has four XFP-based 10-gigabit Ethernet ports.
Figure 14: 10G4Xa I/O Module
The default configuration of the 10G4Xa I/O module is as follows. All ports:
●Are added to the default VLAN as untagged
●Inherit the properties of the default VLAN (for example, protocol type and VLANid)
The 10G4Xa I/O module has the following LEDs:
●Module status
●Module diagnostics
●Port status
For information about the LEDs and their activity on the 10G4Xa I/O module, see “I/O Module LEDs”
on page 38. For information about the XFP interfaces, see the Extreme Networks Pluggable Interface
Modules Installation Guide.
10G4Ca I/O Module
The 10G4Ca I/O module (Figure 14) has four 10-gigabit Ethernet ports that use CX4 interface
connectors.
Figure 15: 10G4Ca I/O Module
The default configuration of the 10G4Ca I/O module is as follows. All ports:
●Are added to the default VLAN as untagged
●Inherit the properties of the default VLAN (for example, protocol type and VLANid)
The 10G4Ca I/O module has the following LEDs:
●Module status
●Module diagnostics
●Port status
For information about the LEDs and their activity on the 10G4Ca I/O module, see “I/O Module LEDs”
on page 38.
10G4Xa
10 G 4 X a
10GBASE-X XFP 41612
Module status LEDs 10 Gbs ports
BD_155
10G4Ca
10 G 4 C a
10GBASE-CX4 41613
Module status LEDs 10 Gbs ports
BD_156

BlackDiamond 8800 Series Modules
BlackDiamond 8800 Series Switches Hardware Installation Guide
32
BlackDiamond 8800 c-Series I/O Modules
The BlackDiamond 8800 c-series of I/O modules consists of the following:
●G48Tc I/O Module on page 32
●10G4Xc I/O Module on page 33
●10G8Xc I/O Module on page 34
●G24Xc I/O Module on page 34
●G48Xc I/O Module on page 35
CAUTION
ExtremeXOS builds earlier than version 12.1 do not support the BlackDiamond 8800 c-series modules. If you
attempt to install one of these I/O modules before upgrading the software on your MSM the module will not be
recognized by the software and it will not power up. The following error messages are similar to the messages that
may be displayed on the console or in the log. (Samples represent an unrecognized module in slot 2.)
●Console: ERROR: Unknown cardtype in slot 2 - please program the eeprom
●Log: <Error: HAL.Card.Error> MSM-A: Unable to read cardtype for slot 2
G48Tc I/O Module
The G48Tc I/O module (Figure 16) has 48 autosensing 10/100/1000BASE-T ports that use standard
RJ-45 connectors.
Figure 16: G48Tc I/O Module
You can add an optional S-POE daughter card to the G48Tc I/O module to provide Power over Ethernet
functions in this module. With an installed S-POE card, the ports can deliver Power over Ethernet (PoE)
to an attached device, as well as the usual Ethernet connection, using a single cable. The G48Tc I/O
module supports the IEEE 802.3af PoE specification.
The default configuration of the G48Tc I/O module is as follows. All ports:
●Are added to the default VLAN as untagged
●Inherit the properties of the default VLAN (for example, protocol type and VLANid)
●Operate in autonegotiation mode
Module status LEDs
10/100/1000BASE-T
ports
ASP037A

I/O Modules
BlackDiamond 8800 Series Switches Hardware Installation Guide 33
The G48Tc I/O module has the following LEDs:
●Module status
●Module diagnostics
●Port status
●POE present
For information about the LEDs and their activity on the G48Tc I/O module, see “I/O Module LEDs”
on page 38.
10G4Xc I/O Module
The 10G4Xc I/O module (Figure 17) has four unpopulated XFP-based 10-gigabit Ethernet ports.
Figure 17: 10G4Xc I/O Module
The default configuration of the 10G4Xc I/O module is as follows. All ports:
●Are added to the default VLAN as untagged
●Inherit the properties of the default VLAN (for example, protocol type and VLANid)
The 10G4Xc I/O module has the following LEDs:
●Module status
●Module diagnostics
●Port status
For information about the LEDs and their activity on the 10G4Xc I/O module, see “I/O Module LEDs”
on page 38.
10G4Xc
10 G 4 Xc
10GBASE-X XFP 41614
Module status LEDs
10 Gbs ports
BD_155

BlackDiamond 8800 Series Modules
BlackDiamond 8800 Series Switches Hardware Installation Guide
34
10G8Xc I/O Module
The 10G8Xc I/O module Figure 18 has eight unpopulated XFP-based 10-gigabit Ethernet ports. This
module is over-subscribed 2:1.
Figure 18: 10G8Xc I/O Module
The default configuration of the 10G8Xc I/O module is as follows. All ports:
●Are added to the default VLAN as untagged
●Inherit the properties of the default VLAN (for example, protocol type and VLANid)
The 10G8Xc I/O module has the following LEDs:
●Module status
●Module diagnostics
●Port status
For information about the LEDs and their activity on the 10G8Xc I/O module, see “I/O Module LEDs”
on page 38.
G24Xc I/O Module
The G24Xc I/O module Figure 19 has 24 unpopulated SFP-based 1-gigabit Ethernet ports.
Figure 19: G24Xc I/O Module
The default configuration of the G24Xc I/O module is as follows. All ports:
●Are added to the default VLAN as untagged
●Inherit the properties of the default VLAN (for example, protocol type and VLANid)
10G8Xc
10 G 8 Xc
10GBASE-X XFP 41615
Module status LEDs
10 Gbs ports
BD_155
Module status LEDs
ASP049B
1000BASE-X
ports

I/O Modules
BlackDiamond 8800 Series Switches Hardware Installation Guide 35
The G24Xc I/O module has the following LEDs:
●Module status
●Module diagnostics
●Port status
For information about the LEDs and their activity on the G24Xc I/O module, see “I/O Module LEDs”
on page 38.
G48Xc I/O Module
The G48Xc I/O module (Figure 20) has 48 unpopulated SFP-based 1-gigabit Ethernet ports.
Figure 20: G48Xc I/O Module
The default configuration of the G48Xc I/O module is as follows. All ports:
●Are added to the default VLAN as untagged
●Inherit the properties of the default VLAN (for example, protocol type and VLANid)
The G48Xc I/O module has the following LEDs:
●Module status
●Module diagnostics
●Port status
For information about the LEDs and their activity on the G48Xc I/O module, see “I/O Module LEDs”
on page 38.
Module status LEDs
ASP049A
1000BASE-X
ports

BlackDiamond 8800 Series Modules
BlackDiamond 8800 Series Switches Hardware Installation Guide
36
BlackDiamond 8800 E-Series I/O Modules
The BlackDiamond 8800 e-series of I/O modules include:
●G48Te I/O Module on page 36
●G48Pe I/O Module on page 37
●G48Te2 I/O Module on page 38
CAUTION
ExtremeXOS software builds earlier than version 11.5.0 do not support G48Te or G48Pe I/O modules. ExtremeXOS
builds earlier than version 12.1 do not support the G48Te2 I/O module. If you attempt to install one of these I/O
modules before upgrading the software on your MSM to the required minimum version, the module will not be
recognized by the software and it will not power up. The following error messages are similar to the messages that
may be displayed on the console or in the log. (Samples represent an unrecognized module in slot 2.)
●Console: ERROR: Unknown cardtype in slot 2 - please program the eeprom
●Log: <Error: HAL.Card.Error> MSM-A: Unable to read cardtype for slot 2
G48Te I/O Module
The G48Te I/O module (Figure 21) has 48 autosensing 10/100/1000BASE-T ports that use standard
RJ-45 connectors. When an 8800 series switch is running in dual-MSM mode, this module will be
oversubscribed 2:1. When the switch is running a single MSM, this module will be oversubscribed 4:1.
Figure 21: G48Te I/O Module
The default configuration of the G48Te I/O module is as follows. All ports:
●Are added to the default VLAN as untagged
●Inherit the properties of the default VLAN (for example, protocol type and VLANid)
●Operate in autonegotiation mode
The G48Te I/O module has the following LEDs:
●Module status
●Module diagnostics
●Port status
For information about the LEDs and their activity on the G48Te I/O module, see “I/O Module LEDs”
on page 38.
Module status LEDs
ASP047
10/100/1000BASE-T
ports

I/O Modules
BlackDiamond 8800 Series Switches Hardware Installation Guide 37
G48Pe I/O Module
The G48Pe I/O module (Figure 22) has 48 autosensing 10/100/1000BASE-T ports that use standard
RJ-45 connectors. In addition to the Ethernet connection, these ports can deliver Power over Ethernet
(PoE) to an attached device, using the same cable. The G48Pe I/O module supports the IEEE 802.3af
PoE specification. When an 8800 series switch is running in dual-MSM mode, this module will be
oversubscribed 2:1. When the switch is running a single MSM, this module will be oversubscribed 4:1.
Figure 22: G48Pe I/O Module
When powered devices (PDs) are connected to a port, the PDs are discovered and classified as
802.3af-compliant or as legacy devices. ExtremeXOS implements the following functions:
●Enables the port for discovery, classification, and power delivery
●Enforces port power limits by denying power to a device exceeding the configured limit
●Enforces class limits by denying power to a device exceeding the class limit
●Reports and tracks port power faults
The default configuration of the G48Pe I/O module is as follows. All ports:
●Are added to the default VLAN as untagged
●Inherit the properties of the default VLAN (for example, protocol type and VLANid)
●Operate in autonegotiation mode
The G48Pe I/O module has the following LEDs:
●Module status
●Module diagnostics
●Port/Power status
For information about the LEDs and their activity on the G48Pe I/O module, see “I/O Module LEDs”
on page 38.
Module status LEDs
ASP046
10/100/1000BASE-T
PoE ports

BlackDiamond 8800 Series Modules
BlackDiamond 8800 Series Switches Hardware Installation Guide
38
G48Te2 I/O Module
The G48Te2 I/O module (Figure 21) has 48 autosensing 10/100/1000BASE-T ports that use standard
RJ-45 connectors.
Figure 23: G48Te2 I/O Module
You can add an optional S-POE daughter card to the G48Te2 I/O module to provide Power over
Ethernet functions in this module. With an installed S-POE card, the ports can deliver Power over
Ethernet (PoE) to an attached device as well as the usual Ethernet connection, using a single cable. The
G48Te2 I/O module supports the IEEE 802.3af PoE specification.
The default configuration of the G48Te2 I/O module is as follows. All ports:
●Are added to the default VLAN as untagged
●Inherit the properties of the default VLAN (for example, protocol type and VLANid)
●Operate in autonegotiation mode
The G48Te2 I/O module has the following LEDs:
●Module status
●Module diagnostics
●Port status
For information about the LEDs and their activity on the G48Te2 I/O module, see “I/O Module LEDs”
on page 38.
I/O Module LEDs
This section describes the LEDs for the module, for the port, and for inline power delivery status for
I/O modules in the BlackDiamond 8800 series of switches.
NOTE
Inline power delivery applies only to the ports on the G48P and G48Pe I/O modules or to a G48tc or G48Te2 I/O
module with an installed S-POE card.
Module status LEDs
ASP047
10/100/1000BASE-T
ports

I/O Modules
BlackDiamond 8800 Series Switches Hardware Installation Guide 39
Module LEDs
Table 5 describes the LED activity for all BlackDiamond 8800 series I/O modules.
Port LEDs on Non-PoE Modules
This section describes the port LEDs for non-PoE BlackDiamond 8800 series I/O modules and for port
option cards installed in the MSM-8c. These include the following modules and option cards:
Table 6 describes the LED meanings for each port on the non-PoE BlackDiamond 8800 series I/O
modules and the port option cards for the MSM-8c.
NOTE
Tabl e 6 describes port LED activity for the G48Tc and G48Te2 modules without an installed S-POE card. When
these modules have an S-POE card installed, the port LEDs operate as described in Table 7.
Table 5: BlackDiamond 8800 Series I/O Module LEDs
LED Color Indicates
Status Green blinking
Amber blinking
Off
Normal operation
Configuration error, code version error, diagnostic
failure, or other severe module error
No power
DIAG Off
Amber blinking
Amber
Normal operation
Diagnostics in progress
Diagnostic failure
●G24X ●G24Xc
●G48T ●G48Xc
●10G4X ●10G4Xc
●G48Ta ●10G8Xc
●G48Xa ●G48Te
●10G4Xa ●G48Te2 (without S-POE card)
●10G4Ca ●S-10G1Xc option card
●G48Tc (without S-POE card) ●S-G8Xc option card
Table 6: Port LEDs for the BlackDiamond 8800 Series Non-PoE I/O Modules and Port Option Cards
LED Color Indicates
Port Solid green
Slow green blinking
Amber blinking
Off
Link up
Port disabled
Activity
Link down

BlackDiamond 8800 Series Modules
BlackDiamond 8800 Series Switches Hardware Installation Guide
40
Port LEDs on PoE Modules (G48P, G48Pe, and G48Tc or G48Te2 with S-POE Card)
This section describes the port LEDs for BlackDiamond 8800 series I/O modules that support PoE.
These include the following modules:
●G48P
●G48Pe
●G48Tc I/O module with an installed S-POE card
●G48Te2 I/O module with an installed S-POE card
Port LEDs on these modules indicate the status of the inline power delivered through the ports.
Table 7 describes the LED meanings for each port on the PoE-capable I/O modules.
Table 7: Port LEDs for the PoE-capable I/O Modules
LED Color Indicates
Port with power enabled Solid amber Link up
Amber blinking Activity
Slow amber blinking Port disabled
or
Link down
Blinking amber/green Power fault or insufficient power
Port with power disabled Solid green Link up
Slow green blinking Port disabled
Green blinking Activity
Off Link down
Blinking amber/green Power fault or insufficient power

BlackDiamond 8800 Series Switches Hardware Installation Guide 41
3Power Supply Units for BlackDiamond 8800
Series Switches
This chapter includes the following sections:
●Overview of BlackDiamond 8800 Series Power Supplies on page 41
●Extreme Networks 700/1200 W AC PSU on page 42
●Extreme Networks 600/900 W AC PSU on page 45
●Combining Different AC PSU Models on page 47
●Extreme Networks 1200 W DC PSU on page 48
The chapter describes the power supply units used with the BlackDiamond 8800 series switches.
Overview of BlackDiamond 8800 Series Power Supplies
The BlackDiamond 8800 series switches can be powered by either AC or DC power supplies (PSUs).
AC power supplies in the BlackDiamond 8800 series switches are fully fault tolerant and load-sharing in
an N+1 configuration. For a switch using DC power supplies in an N+N configuration, each group of
power supplies can provide A/B feed redundancy for the system. After the system is properly
configured, if one PSU fails, the others will provide sufficient power to operate a fully loaded switch.
The BlackDiamond power supply units are intended for use in specific BlackDiamond switches only.
Table 8 lists the BlackDiamond 8800 series switches and their compatible power supply units.
Table 8: PSU Compatibility in BlackDiamond 8800 Series Switches
BlackDiamond Switch Compatible PSU Compatibility Notes
BlackDiamond 8806 600W/ 900W AC PSU
AND/OR
700W/ 1200W AC PSU
OR
1200W DC PSU
The 700/1200 W AC PSU can be used in combination
with a 600/900 W AC PSU in the same BlackDiamond
8806 system only.
Extreme Networks does not recommended using the
600/900 W AC PSU or the 700/1200 W AC PSU in
combination with a 1200W DC PSU.
BlackDiamond 8810 700W/ 1200W AC PSU
OR
1200W DC PSU
Extreme Networks does not recommended using the
700/1200 W AC PSU in combination with a
1200W DC PSU.

Power Supply Units for BlackDiamond 8800 Series Switches
BlackDiamond 8800 Series Switches Hardware Installation Guide
42
Extreme Networks 700/1200 W AC PSU
Figure 24 shows the Extreme Networks 700/1200 W AC UL-listed accessory power supply unit
(Model # 60020/PS 2336). The power supply bay in a BlackDiamond 8800 series switch can
accommodate up to six hot-swappable Extreme Networks 700/1200 W AC PSUs.
Figure 24: Extreme Networks 700/1200 W AC PSU
The front panel on each Extreme Networks 700/1200 W AC PSU contains two cooling fans and a handle
for insertion and removal of the unit. Airflow enters the front vents on the PSU and exits through the
rear vents of the switch. Airflow through the Extreme Networks 700/1200 W AC PSU is independent
from the airflow through the rest of the switch.
The AC input connection is located on the switch directly below each installed power supply.
NOTE
In a BlackDiamond 8806 system, the Extreme Networks 700W/1200 W AC PSU can be used with an Extreme
Networks 600/900 W AC PSU in the same chassis.
Extreme Networks does not recommended using the 700/1200 W AC PSU with an Extreme Networks 1200W DC
PSU in the same BlackDiamond 8800 series switch.
WARNING!
Field operators must not attempt to open the 700/1200 W AC PSU enclosure for any reason; the PSU does not
contain user-serviceable parts. In the event of failure, return the defective 700/1200 W AC PSU to Extreme
Networks for repair or replacement.
LEDs
The front panel of the Extreme Networks 700/1200 W AC PSU provides status LEDs. Table 9 describes
the LED activity.
EX_015

Extreme Networks 700/1200 W AC PSU
BlackDiamond 8800 Series Switches Hardware Installation Guide 43
Power Supply Cords
Extreme Networks 700/1200 W AC PSUs are shipped with both 110 V AC and 220 V AC power supply
cords. The 110 V AC power supply cord allows a maximum DC output power of 700 W. The 220V AC
power supply cord allows a maximum DC output power of 1200 W.
All power supply cords provided by Extreme Networks are designed for use only in the United States,
Canada, and Mexico. Power supply cords for use outside of North America are typically provided by a
third-party distribution center and must meet the following requirements:
●The power supply cord must be agency-certified for the country of use.
●The power supply cord must have an IEC 320 C13 plug to connect to the IEC320 C14 connector on
the power supply.
●The power supply cord must have an appropriately rated and approved wall plug applicable to the
country of installation.
●The power supply cord must be less than 5 meters long.
●The wire size must be a minimum of 16 AWG (1.0 mm2) copper-stranded.
WARNING!
Be sure that the source outlet is properly grounded before plugging the AC power cord into the Extreme Networks
AC PSU.
Fuse
The Extreme Networks 700/1200 W AC PSU line and neutral legs are both fused. Power to the switch
may still be live if the neutral fuse is open. This is not a field operator replaceable fuse. In the event of
failure, immediately return the Extreme Networks 700/1200 W AC PSU for a complete replacement.
WARNING!
Field operators must not attempt to configure or replace fuses in Extreme Networks 700/1200 W AC PSUs! In the
event of failure, immediately return the defective Extreme Networks 700/1200 W AC PSU for a complete
replacement.
Table 9: LEDs on the 700/1200 W AC PSU
PSU Condition
Power
Green
Predictive Fail
Amber
Fail
Amber
Power supply AC outputs working normally On Off Off
AC input power present/standby output on Blinking Off Off
Current limit on 48 VDC output On Off Blinking
Predictive failure On Blinking Off
No input power to this PSU only Off Off On
No input power to any PSU Off Off Off
Power supply failure Off Off On

Power Supply Units for BlackDiamond 8800 Series Switches
BlackDiamond 8800 Series Switches Hardware Installation Guide
44
Specifications
The 700/1200 W AC PSU functions from 90 V to 264 V and 47 Hz to 63 Hz AC Input. Each PSU
provides 700 W to the system if the AC input is in the 110 V low-line output power range and 1200 W
to the system if the AC input is in the 220 V high-line output power range.
A greater number of PSUs are needed to support the load if the low-line power range is used to power
the switch. The software determines the maximum available power required for the switch and enables
the modules accordingly.
CAUTION
The 700/1200 W AC PSU does not have a switch for turning the unit on and off. Remove the plug from the
electrical outlet to disconnect power to the 700/1200 W AC PSU. Make sure that this connection is easily
accessible.
Make sure that the 700/1200 W AC PSU circuit is not overloaded. Use proper over-current protection, such as a
circuit-breaker, to prevent over-current conditions.

Extreme Networks 600/900 W AC PSU
BlackDiamond 8800 Series Switches Hardware Installation Guide 45
Extreme Networks 600/900 W AC PSU
Figure 25 shows the Extreme Networks 600/900 W AC UL-listed accessory power supply unit (Model #
41050/ PS 2431). This power supply is compatible with the BlackDiamond 8806 switch. The power
supply bay can accommodate up to six hot-swappable Extreme Networks 600/900 W AC PSUs.
Figure 25: Extreme Networks 600/900 W AC PSU
The front panel on each Extreme Networks 600/900 W AC PSU contains two cooling fans and a handle
for insertion and removal of the unit. Airflow enters the front vents of the PSU and exits through the
rear vents of the switch. Airflow through the PSU is independent of the airflow through the rest of the
switch.
The AC input is located on the switch directly below each installed power supply.
NOTE
The Extreme Networks 600/900 W AC PSU can be used in combination with an Extreme Networks 700W/1200W
AC PSU in the same BlackDiamond 8806 system.
Extreme Networks does not recommend using the 600W/900W AC PSU in combination with an Extreme Networks
1200W DC PSU in the same BlackDiamond 8806 system.
WARNING!
Field operators must not attempt to open the 600W/900W AC PSU enclosure for any reason; the PSU does not
contain user-serviceable parts. In the event of failure, return the defective 600W/900W AC PSU to Extreme
Networks for repair or replacement.
Minimum Software Required
The MSM running in your BlackDiamond 8806 switch requires ExtremeXOS version 11.6.1 (or later) in
order to recognize an Extreme Networks 600/900 W AC PSU. In ExtremeXOS releases 11.3.4, 11.4.2, and
11.5.1, the 600/900 W AC PSU is disabled on all chassis. In ExtremeXOS releases earlier than those, the
EX_015

Power Supply Units for BlackDiamond 8800 Series Switches
BlackDiamond 8800 Series Switches Hardware Installation Guide
46
software does not recognize the 600/900 W AC PSU and the PSU will not be budgeted properly,
possibly resulting in PSU shutdown and/or chassis reboot.
LEDs
The front panel of the Extreme Networks 600/900 W AC PSU provides status LEDs. Table 10 describes
the operation of these LEDs.
Table 10: LEDs on the Extreme Networks 600/900 W AC PSU
Power Supply Cords
Extreme Networks 600/900 W AC PSU(s) are shipped with both 110 V AC and 220 V AC power supply
cords. The 110 V AC power supply cord allows for a maximum DC output power of 600 W. The 220V
AC power supply cord allows for a maximum DC output power of 900 W.
All power supply cords provided by Extreme Networks are designed for use in the United States and
Canada only. Power supply cords for use outside of North America are typically provided by a
third-party distribution center and must meet the following requirements:
●The power supply cord must be agency-certified for the country of use.
●The power supply cord must have an IEC 320 C13 plug to connect to the IEC320 C14 connector on
the power supply.
●The power supply cord must have an appropriately rated and approved wall plug applicable to the
country of installation.
●The power supply cord must be less than 5 meters long.
●The wire size must be a minimum of 16 AWG (1.0 mm2) copper-stranded.
WARNING!
Be sure that the source outlet is properly grounded before plugging the AC power cord into the Extreme Networks
600/900 W AC PSU.
CAUTION
The 600/900 W AC PSU does not have a switch for turning the unit on and off. Remove the plug from the electrical
outlet to disconnect power to the 600/900 W AC PSU. Make sure that this connection is easily accessible.
PSU Condition
Power
Green Predictive Fail
Amber
Fail
Amber
Power supply AC outputs working normally On Off Off
AC input power present/standby output on Blinking Off Off
Current limit on 48 VDC output On Off Blinking
Predictive failure On Blinking Off
No input power to this PSU only Off Off On
No input power to any PSU Off Off Off
Power supply failure Off Off On

Combining Different AC PSU Models
BlackDiamond 8800 Series Switches Hardware Installation Guide 47
Make sure that the 600/900 W AC PSU circuit is not overloaded. Use proper over-current protection, such as a
circuit-breaker, to prevent over-current conditions.
Fuse
The Extreme Networks 600/900 W AC PSU line and neutral legs are both fused. Power to the system
may still be live if the neutral fuse is open. This is not a field operator replaceable fuse. In the event of
failure, immediately return the Extreme Networks 600/900 W AC PSU for a complete replacement.
WARNING!
Field operators must not attempt to configure or replace fuses in Extreme Networks 600/900 W AC PSUs! In the
event of failure, immediately return the defective Extreme Networks 600/900 W AC PSU for a complete
replacement.
Specifications
The 600/900 W AC PSU functions from 90 V to 264 V and 47 Hz to 63 Hz AC Input. Each PSU provides
600 W to the system if the AC input is in the 110 V low-line output power range and 900 W to the
system if the AC input is in the 220 V high-line output power range.
A greater number of PSUs are needed to support the load if the low-line power range is used to power
the switch. The software determines the maximum available power required for the switch and enables
the modules accordingly.
Combining Different AC PSU Models
When 600/900 W AC PSUs and 700/1200 W AC PSUs are combined in the same BlackDiamond 8806
chassis and are powered on, all PSUs will be budgeted down to the lower powered 600/900 W AC
output values to avoid PSU shutdown due to over-current. ExtremeXOS optimizes total system power,
avoiding the possibility of over-current, by deciding whether to budget down PSUs with 220 V AC
inputs when PSUs with 110 V AC inputs are present, or to keep 110 V AC PSUs disabled.
CAUTION
Even though this process avoids the possibility of over-current, an I/O module may be powered off if a 600/900 W
AC PSU is added to a BlackDiamond 8806 system running in the following configuration:
●
The system is powered by three 700/1200 W AC PSUs at 220 V AC.
●
The system includes four or more PoE I/O modules with a PoE power requirement that falls between 2391 W
and 2438 W of inline power.
To avoid causing an I/O module to be powered off, do not add a 600/900 W AC PSU to an existing
BlackDiamond 8806 system running in the configuration listed above. Extreme Networks also
recommends that you avoid mixing 220 V AC and 110 V AC inputs when both 600/900 W and
700/1200 W PSUs are present in the same system. When a combination of 220 V AC and 110 V AC
inputs is applied, ExtremeXOS is designed to optimize total chassis power for each individual PSU type
but not for a mixture of PSU types.

Power Supply Units for BlackDiamond 8800 Series Switches
BlackDiamond 8800 Series Switches Hardware Installation Guide
48
Extreme Networks 1200 W DC PSU
Figure 26 shows the Extreme Networks 1200 W DC UL-listed accessory power supply unit
(Model # 60021/PS 2350). The power supply bays in the BlackDiamond 8800 series switch can
accommodate up to six hot-swappable 1200 W DC PSUs.
Figure 26: 1200 W DC PSU
Airflow enters from the front vents on the 1200 W DC PSU and exits to the rear vents of the switch.
Airflow through the 1200 W DC PSU is independent of the airflow that exists through the rest of the
switch.
The input DC cable has an input connector on one end and precut wire on the other end that goes to
the DC power source (see Figure 27). The connector end has a locking mechanism that locks onto the
DC PSU to prevent accidental removal of the input DC cable.
Figure 27: Input DC Power Cable for the 1200 W DC PSU
To use the 1200 W DC PSU, you need a -48 V DC power source capable of providing 50 A dedicated
power to each 1200 W DC PSU installed in the switch.
NOTE
Extreme Networks does not recommended using the 1200 W DC PSU in combination with any Extreme Networks
AC PSU in the same BlackDiamond 8800 series system. Extreme Networks recommends that DC and AC PSU units
BD_168
EX_135
Return Black: Return
Green/yellow:
Ground
Blue: -48V
Lock
Ground
10 ft.
-48Vdc

Extreme Networks 1200 W DC PSU
BlackDiamond 8800 Series Switches Hardware Installation Guide 49
not be used together in the same BlackDiamond switch.
For central DC power connections, the 1200 W DC PSU is intended to be installed only in restricted access
locations (dedicated equipment rooms, equipment closets, or the like) in accordance with Articles 110-16, 110-17,
and 110-18 of the National Electric Code, ANSI/NFPA-70.
WARNING!
Field operators must not attempt to open the 1200 W DC PSU enclosure for any reason; the PSU does not contain
user-serviceable parts. In the event of failure, return the defective 1200 W DC PSU to Extreme Networks for repair
or replacement.
Minimum Software Required
The MSM installed in your BlackDiamond 8800 series switch must be running ExtremeXOS version 11.3
or later for the system to recognize the DC PSU.
LEDs
The front panel of the 1200 W DC PSU provides status LEDs. Table 11 identifies the symbols and
describes the LED activity.
Table 11: LEDs on the Extreme Networks 1200 W DC PSU
PSU Condition
Power
Green
Predictive Fail
Amber
Fail
Amber
Power supply DC outputs working normally On Off Off
DC input power present/standby output on Blinking Off Off
Current limit on 48 VDC output On Off Blinking
Predictive failure On Blinking Off
No input power to this PSU only Off Off On
No input power to any PSU Off Off Off
Power supply failure Off Off On

Power Supply Units for BlackDiamond 8800 Series Switches
BlackDiamond 8800 Series Switches Hardware Installation Guide
50

2Installing BlackDiamond 8800 Series Switches
and Modules

BlackDiamond 8800 Series Switches Hardware Installation Guide 53
4Site Preparation
This chapter includes the following sections:
●Planning Your Site on page 53
●Meeting Site Requirements on page 54
●Evaluating and Meeting Cable Requirements on page 60
●Meeting Power Requirements on page 66
●Applicable Industry Standards on page 68
By carefully planning your site, you can maximize the performance of your existing network and ensure
that it is ready to migrate to future networking technologies.
The information in this chapter is intended for the system administrator, network equipment technician,
network manager, or facilities manager responsible for installing and managing the network hardware.
The chapter assumes a working knowledge of local area network (LAN) operations and a familiarity
with communications protocols that are used on interconnected LANs.
Installation, maintenance, and removal of a switch, chassis, or system components must be done by
qualified service personnel only. Qualified service personnel have had appropriate technical training
and experience that is necessary to be aware of the hazards to which they are exposed when performing
a task and of measures to minimize the danger to themselves or other people.
To learn more about safety issues and to ensure safety compliance, see Appendix A.
NOTE
Before installing or removing any components of the system, or before carrying out any maintenance procedures, you
must read the safety information provided in Appendix A of this guide.
Planning Your Site
To install your equipment successfully, you should plan your site carefully. The site planning process
has three major parts:
●Meeting site requirements
The physical installation site must meet the following requirements for a safe and successful
installation:
■Building and electrical code requirements
■Environmental, safety, and thermal requirements for the equipment you plan to install
■Equipment rack requirements
●Evaluating and meeting cable requirements
After examining your physical site and verifying that all environment requirements are met, evaluate
and compare your existing cable plant with the requirements of the Extreme Networks equipment to
determine if you need to install new cables.

Site Preparation
BlackDiamond 8800 Series Switches Hardware Installation Guide
54
●Meeting power requirements
To run your equipment safely, you must meet the specific power requirements for each power
supply unit installed in the system. For power supply specifications, see “Power Supplies for
BlackDiamond 8800 Series Switches” on page 172.
Meeting Site Requirements
This section describes requirements to consider when preparing your installation site, including:
●Operating Environment Requirements
●Rack Specifications and Recommendations
Operating Environment Requirements
Verify that your site meets all environmental and safety requirements.
Virtually all areas of the United States are regulated by building codes and standards. During the early
planning stages of installing or modifying your LAN, it is important that you develop a thorough
understanding of the regulations that pertain to your location and industry.
Building and Electrical Codes
Building and electrical codes vary depending on your location. Comply with all code specifications
when planning your site and installing cable. The following sections are provided as a resource to
obtain additional information.
Information about major building codes is located at the following websites:
●International Code Council (ICC); 5203 Leesburg Pike; Falls Church, Virginia 22041 USA.
http://www.iccsafe.org
http://www.sbcci.org
Five authorities on electrical codes are:
●National Electrical Code (NEC) Classification (USA only)—a recognized authority on safe electrical
wiring. Federal, state, and local governments use NEC standards to establish their own laws,
ordinances, and codes on wiring specifications. The NEC classification is published by the National
Fire Protection Association (NFPA). The address is NFPA; 1 Batterymarch Park; Quincy,
Massachusetts 02169 USA. http://www.nfpa.org
●Underwriters’ Laboratory (UL) (USA only)—an independent research and testing laboratory. UL
evaluates the performance and capability of electrical wiring and equipment to determine whether
they meet certain safety standards when properly used. Acceptance is usually indicated by the
words “UL Approved” or “UL Listed.” The address is UL; 333 Pfingsten Road; Northbrook, Illinois
60062-2096 USA. http://www.ul.com
●National Electrical Manufacturing Association (NEMA) (USA only)—an organization of electrical
product manufacturers. Members develop consensus standards for cables, wiring, and electrical
components. The address is NEMA; 1300 N. 17th Street; Rosslyn, Virginia 22209. http://www.nema.org
●Electronics Industries Alliance (EIA)—a trade association that develops technical standards,
disseminates marketing data, and maintains contact with government agencies in matters relating to

Meeting Site Requirements
BlackDiamond 8800 Series Switches Hardware Installation Guide 55
the electronics industry. The address is EIA; 2500 Wilson Boulevard; Arlington, Virginia 22201 USA.
http://www.eia.org
●Federal Communications Commission (FCC) (USA only)—a commission that regulates all interstate
and foreign electrical communication systems that originate in the United States according to the
Communications Act of 1934. The FCC regulates all U.S. telephone and cable systems. The address is
FCC; 445 12th Street S.W.; Washington, D.C. 20554 USA. http://www.fcc.gov
Wiring Closet Considerations
Be aware of the following recommendations for your wiring closet:
●Be sure that your system is easily accessible for installation and service. See “Rack Specifications and
Recommendations” on page 58 for information.
●Use appropriate AC or DC power, power distribution, and grounding for your specific installation.
●Use a vinyl floor covering in your wiring closet. (Concrete floors accumulate dust, and carpets can
cause static electricity.)
●Prevent unauthorized access to wiring closets by providing door locks. Install the equipment in a
secured, enclosed, and restricted access location, ensuring that only qualified service personnel have
access to the equipment.
●Provide adequate overhead lighting for easy maintenance.
●Be sure that each wiring closet has a suitable ground. All distribution racks and equipment installed
in the closet should be grounded.
●Be sure that all system environmental requirements are met, such as ambient temperature and
humidity.
NOTE
Extreme Networks recommends that you consult an electrical contractor for commercial building and wiring
specifications.
Temperature
Extreme Networks equipment generates a significant amount of heat. It is essential that you provide a
temperature-controlled environment for both performance and safety.
Install the equipment only in a temperature- and humidity-controlled indoor area that is free of airborne
materials that can conduct electricity. Too much humidity can cause a fire. Too little humidity can
produce electrical shock and fire.
Follow these general thermal recommendations for your wiring closet:
●Be sure that the ventilation in the wiring closet is adequate to maintain a temperature below 104° F
(40° C).
●Install a reliable air conditioning and ventilation system.
●Keep the ventilation in the wiring closet running during non-business hours; otherwise, the
equipment can overheat.
●Maintain an ambient operating temperature of 32° to 104° F (0° to 40° C).
●Maintain a storage temperature of -40° to 158° F (-40° to 70° C).

Site Preparation
BlackDiamond 8800 Series Switches Hardware Installation Guide
56
NOTE
As with all electrical equipment, Extreme Networks product lifetimes degrade with increased temperature. If
possible, temperatures should be kept at approximately 78° F (25° C) or lower.
Humidity
To maximize equipment life, keep operating humidity between 50% and 70% relative humidity (non-
condensing) during typical operation. The equipment can operate between 10% and 95% relative
humidity (non-condensing) for short intervals.
Chassis Spacing Requirements
Extreme Networks recommends placing no more than three BlackDiamond chassis next to each other
because of to chassis-to-chassis heating. Use the following spacing guidelines when you install your
BlackDiamond 8800 series switch:
●Leave a minimum of one empty 19-inch rack between two sets of three adjacent BlackDiamond
switches.
or
●Place patch panels between two sets of three adjacent BlackDiamond switches. A patch panel does
not require any power and does not generate any heat.
NOTE
Up to five adjacent switches will continue to function without safety concerns. However, product lifetime may
degrade with continued exposure to high temperatures in close proximity, and long term reliability may be
compromised.
Chassis Airflow Requirements
To ensure proper airflow through a BlackDiamond switch, refer to the following recommendations
when you install the switch:
●BlackDiamond 8800 series switches require a minimum of 1.5 inches (4 cm) around both the left and
right sides of the chassis from any cabinet wall or other obstruction for proper airflow.
●Air temperature measured approximately 1 inch (2.5 cm) from the fan inlet should be less than
104 °F (40 °C).
In the BlackDiamond 8800 series switches, air moves through the power supplies independently of the
airflow through the modules, as shown in Figure 28.

Meeting Site Requirements
BlackDiamond 8800 Series Switches Hardware Installation Guide 57
Figure 28: Airflow Through the BlackDiamond 8810 Chassis
Electrostatic Discharge
Your system must be protected from static electricity or electrostatic discharge (ESD). Take the following
measures to ensure optimum system performance:
●Remove materials that can cause electrostatic generation (such as synthetic resins) from the wiring
closet. Check the appropriateness of floor mats and flooring.
●Connect metal chassis, conduit, and other metals to ground using dedicated grounding lines.
●Use electrostatically safe equipment and the ESD-preventive wrist strap that is provided with your
equipment. All switches have ESD-preventive wrist strap connectors and are shipped with an ESD-
preventive wrist strap as shown in Figure 29.
ASP045
Airflow at power
supply level
Airflow through
fan tray

Site Preparation
BlackDiamond 8800 Series Switches Hardware Installation Guide
58
Figure 29: Using an ESD-preventive Wrist Strap
Rack Specifications and Recommendations
Racks should conform to conventional standards. In the United States, use EIA Standard RS-310C:
Racks, Panels, and Associated Equipment. In countries other than the United States, use IEC Standard
297. In addition, verify that your rack meets the basic mechanical, space, and earthquake requirements
that are described in this section.
Mechanical Recommendations for the Rack
Use equipment racks that meet the following mechanical recommendations:
●Use an open style, 19-inch rack to facilitate easy maintenance and to provide proper ventilation.
●Use a rack made of steel or aluminum.
●The rack should use the universal mounting rail hole pattern that is identified in IEC Standard 297.
●The rack should have designated earth grounding connections (typically on the base).
●The rack must meet earthquake safety requirements equal to that of the installed chassis.
●The mounting holes should be flush with the rails to accommodate the chassis.
●The rack should support approximately 600 pounds (272 kilograms).
Protective Grounding for the Rack
Use a rack grounding kit and a ground conductor that is carried back to earth or to another suitable
building ground.
All Extreme Networks switches are designed with mounting brackets that provide solid metal-to-metal
connection to the rack. If you do not use equipment racks, you can attach wiring terminals directly to
the mounting brackets for appropriate grounding. Extreme Networks switches have grounding
terminals that are mounted on the back of the chassis.
ESD strap
ESD ground
connection
EX_013

Meeting Site Requirements
BlackDiamond 8800 Series Switches Hardware Installation Guide 59
At a minimum, follow these guidelines to ground equipment racks to the earth ground:
●CAD weld appropriate wire terminals to building I-beams or earth ground rods.
●Use the appropriate chassis grounding wire for your system, which is dependant upon the available
input current to the power supply.
■For AC systems using a 20A breaker per PSU (SSI AC), the chassis ground can be as small as
14 AWG. The power cable ground should be the same size as the primary.
■For DC systems using a 15A breaker per PSU (Summit X450a-48tDC switch), the chassis
ground can be as small as 14 AWG. The power cable ground should be the same size as the
primary.
■For DC systems using a 40A breaker per PSU (SSI DC), the chassis ground can be as small as
10 AWG. The power cable ground should be the same size as the primary.
NOTE
For complete details on power supplies and power supply cords, refer to the following: Chapter 3, “Power Supply
Units for BlackDiamond 8800 Series Switches,” and “Selecting Power Supply Cords” on page 158 in Appendix
A, “Safety Information.” Drill and tap wire terminals to equipment racks.
●Position the earth ground as close to the equipment rack as possible to maintain the shortest wiring
distance possible.
●Use a ground impedance tester or micro-ohm meter to test the quality of earth ground connection at
the chassis. This will insure good grounding between the chassis, rack, and earth ground.
NOTE
Because building codes vary worldwide, Extreme Networks strongly recommends that you consult an electrical
contractor to ensure proper equipment grounding for your specific installation.
Space Requirements for the Rack
Provide enough space in front of and behind the switch so that you can service it easily. Allow a
minimum of 48 inches (122 cm) in front of the rack and 24 inches (61 cm) behind the rack. When using a
relay (two-post) rack, provide a minimum of 24 inches (61 cm) of space behind the mounted equipment.
Extra room on each side is optional.
WARNING!
The chassis does not have a switch for turning power to the unit on and off. For systems using an AC power supply,
power to the chassis is disconnected by removing the wall plug from the electrical outlet. For systems using a DC
SSI power supply, power to the chassis can be turned off by lifting the handle on the power supply or by de-
energizing the circuit that feeds the power supply, which is usually accomplished by turning off a circuit breaker.
Securing the Rack
The rack should be attached to the wiring closet floor with 3/8-inch (9.5 mm) lag screws or equivalent
hardware. The floor under the rack should be level within 3/16-inch (5 mm). Use a floor-leveling
cement compound if necessary or bolt the racks to the floor as shown in Figure 30.

Site Preparation
BlackDiamond 8800 Series Switches Hardware Installation Guide
60
Figure 30: Properly Secured Rack
Brace open equipment racks if the channel thickness is less than 1/4 inch (6.4 mm).
Evaluating and Meeting Cable Requirements
This section describes requirements for the cable you should use when installing your network
equipment. It includes:
●Cabling Standards
●Cable Labeling and Record Keeping
●Installing Cable
●RJ-45 Connector Jackets
●Radio Frequency Interference
Cabling Standards
Extreme Networks recommends using the Building Industry Consulting Service International (BICSI)
Registered Communications Distribution Designer (RCDD), which is globally recognized as a standard
in site planning and cabling. For information, go to:
http://www.bicsi.org
Cable Labeling and Record Keeping
A reliable cable labeling system is essential when planning and installing a network. Maintaining
accurate records helps you to:
●Relocate devices easily.
●Make changes quickly.
BD8800_brace

Evaluating and Meeting Cable Requirements
BlackDiamond 8800 Series Switches Hardware Installation Guide 61
●Isolate faults in the distribution system.
●Locate the opposite end of any cable.
●Know the types of network devices that your cabling infrastructure can support.
Consider the following recommendations when setting up a cable labeling system suitable for your
installation:
●Identify cables by securely attaching a label to all cable ends.
●Assign a unique block of sequential numbers to the group of cables that run between each pair of
wiring closets.
●Assign a unique identification number to each distribution rack.
●Identify all wiring closets by labeling the front panel of your Extreme Networks equipment and
other hardware.
●Keep accurate and current cable identification records.
●Post records near each distribution rack. Include the following cable drop information: the cable
source, destination, and jumper location.
Installing Cable
Consider the following recommendations when you connect cable to your network equipment:
●Examine cable for cuts, bends, and nicks.
●Support cable using a cable manager that is mounted above connectors to avoid unnecessary weight
on the cable bundles.
●Use cable managers to route cable bundles to the left and right of the network equipment to
maximize accessibility to the connectors.
●Provide enough slack, approximately 2 to 3 inches (5.08 to 7.62 cm), to provide proper strain relief as
shown in Figure 31.
●Bundle cable using velcro straps to avoid injuring cables.
●If you build your own cable, be sure that cable is properly crimped.
●When installing a patch panel using twisted pair wiring, untwist no more than 1 inch (2.54 cm) of
the cable to avoid radio frequency (RF) interference.
●Discharge the RJ-45 Ethernet cable before plugging it into a port on the switch.
●Use plenum-rated cable when it is necessary for safety and fire rating requirements. Consult your
local building codes to determine when it is appropriate to use plenum-rated cable, or refer to IEC
standard 850.
●Keep all ports and connectors free of dust.
CAUTION
Unshielded twisted pair (UTP) cable can build up ESD charges when being pulled into a new installation. Before
connecting any category 5 UTP cable to the switch, discharge ESD from the cable by plugging the RJ-45 connector
into a LAN Static Discharge device or use an equivalent method.

Site Preparation
BlackDiamond 8800 Series Switches Hardware Installation Guide
62
Figure 31: Properly Installed and Bundled Cable
SPG_00
8
Proper
bundling
of cables
Cable managers supporting
and directing cables
Adequate
slack, and
bend radius

Evaluating and Meeting Cable Requirements
BlackDiamond 8800 Series Switches Hardware Installation Guide 63
Fiber Optic Cable
Fiber optic cable must be handled carefully during installation. Every cable has a minimum bend
radius, for example, and fibers will be damaged if the cables are bent too sharply. It is also important
not to stretch the cable during installation. We recommend that the bend radius for fiber optic cable
equal 2 inches (5.08 cm) minimum for each 90 degree turn as shown in Figure 32.
NOTE
Kinks and sharp bends can destroy or impair the cable’s ability to convey light pulses accurately from one end of the
cable to the other. Use care in dressing the optical fiber cables: provide satisfactory strain relief to support the cable
and maintain an adequate bend radius at all cable turns, particularly where the cable connects to the I/O module.
Figure 32: Bend Radius for Fiber Optic Cable
Cable Distances
Table 12 shows cable media types and maximum distances that support reliable transmission in
accordance with international standards, except where noted.
Table 12: Media Types and Maximum Distances
Standard Media Type
Mhz•Km
Rating
Maximum Distance
(Meters)
1000BASE-SX
(850 nm optical
window)
50/125 μm multimode fiber
50/125 μm multimode fiber
62.5/125 μm multimode fiber
62.5/125 μm multimode fiber
400
500
160
200
500
550
220
275
1000BASE-LX
(1300 nm optical
window)
50/125 μm multimode fiber
50/125 μm multimode fiber
62.5/125 μm multimode fiber
10/125 μm single-mode fiber
10/125 μm single-mode fiber*
400
500
500
–
–
550
550
550
5,000
10,000
1000BASE-LX70
(1550 nm optical
window)
10/125 μm single-mode fiber –70,000
SPG_002
Minimum
2-in. (5.08-cm)
radius
in 90∞ bend
90∞
Optical fiber cable

Site Preparation
BlackDiamond 8800 Series Switches Hardware Installation Guide
64
* Proprietary to Extreme Networks. Connections between two Extreme Networks 1000BASE-LX interfaces that use 10/125 μm
single-mode fiber can use a maximum distance of 10,000 meters.
RJ-45 Connector Jackets
Use RJ-45 cable with connector jackets that are flush with the connector or that have connectors with a
no-snag feature.
Using cable with jackets that are wider than the connectors can cause:
●Connectors that are not properly aligned with the port.
●Crowded cable installation, which can cause connectors to pop out of the port.
Figure 33 shows examples of connector jacket types that are not recommended, as well as those that are
recommended.
Figure 33: RJ-45 Connector Jacket Types
1000BASE-T
100BASE-TX
10BASE-T
Category 5 and higher UTP cable
Category 5 and higher UTP cable
Category 3 and higher UTP cable
–
–
–
100
100
100
Table 12: Media Types and Maximum Distances (Continued)
Standard Media Type
Mhz•Km
Rating
Maximum Distance
(Meters)
0.1" = 1mm actual
39.37% : 254% SPG_001
Not recommended
Better
Best

Evaluating and Meeting Cable Requirements
BlackDiamond 8800 Series Switches Hardware Installation Guide 65
Radio Frequency Interference
If you use UTP cabling in an installation, take precautions to avoid RF interference. RF interference can
cause degradation of signal quality, and, in an Ethernet network environment, can cause excessive
collisions, loss of link status, or other physical layer problems that can lead to poor performance or loss
of communication.
To prevent RF interference, avoid the following situations:
●Attaching UTP cable to AC power cables
●Routing UTP cable near antennas, such as a ham radio antenna
●Routing UTP cable near equipment that could exhibit RF interference, such as ARC welding
equipment
●Routing UTP cable near electrical motors that contain coils
●Routing UTP cable near air conditioner units
●Routing UTP cable near electrical transformers
In areas or applications where these situations cannot be avoided, use fiber optic cabling or shielded
twisted pair cabling (STP).

Site Preparation
BlackDiamond 8800 Series Switches Hardware Installation Guide
66
Meeting Power Requirements
This section describes power requirements, including:
●PoE Devices
●Power Supply Requirements
●AC Power Cable Requirements
●Uninterruptible Power Supply Requirements
PoE Devices
When connecting power over Ethernet (PoE) devices to a PoE switch, all connections between the PoE
device and the switch must remain within the same building and must use a low-voltage power
distribution system per IEEE 802.3af.
Power Supply Requirements
Adhere to the following requirements to operate your Extreme Networks equipment safely:
●Be sure that your equipment is placed in an area that accommodates the power consumption and
component heat dissipation specifications.
●Be sure that your power supply meets the site power or AC power requirements of the network
equipment.
●When connecting power to installed equipment, avoid connecting through an extension cord or
power strip.
●If your switch includes more than one power supply, connect each power supply to different,
independent power sources.
If a power source fails, it will affect only the switch power supply to which it is connected. If all
switch power supplies are connected to a single power source, the entire switch is vulnerable to a
power source failure.
For power specifications of the BlackDiamond power supplies, see Appendix B, “Technical
Specifications.”

Meeting Power Requirements
BlackDiamond 8800 Series Switches Hardware Installation Guide 67
AC Power Cable Requirements
Use an AC power cable appropriate for your country. Check your local electrical codes and regulatory
agencies for power cable requirements. The countries listed in Table 13 have additional requirements as
listed in the table.
NOTE
When using dual power supplies, make sure that each AC power supply attaches to an independent power source.
Replacing the Power Cable
If the power cable plug is unsuitable and must be replaced, connect the power supply wires for the
switch according to the following scheme:
●Brown wire to the Live (Line) plug terminal, which may be marked with the letter “L” or colored
red.
●Blue wire to the Neutral plug terminal, which may be marked with the letter “N” or colored black.
●Yellow/Green wire to the Ground plug terminal, which may be marked with the letter “E” (the
Earth symbol) or colored yellow/green.
Uninterruptible Power Supply Requirements
An uninterruptible power supply (UPS) is a device that sits between a power supply (such as a wall
outlet) and a device (such as a switch) to prevent outages, sags, surges, and bad harmonics from
adversely affecting the performance of the device.
A UPS traditionally can perform the following functions:
●Absorb relatively small power surges.
●Smooth out noisy power sources.
●Continue to provide power to equipment during line sags.
●Provide power for some time after a blackout has occurred.
In addition, some UPS or UPS plus software combinations provide the following functions:
●Automatically shut down equipment during long power outages.
Table 13: AC Power Cable Requirements
Country Requirements
USA and Canada • The cable set must be UL-approved and CSA-certified.
• The minimum specification for the flexible cable is No. 18 AWG (1.5 mm2),
Type SVT or SJT, 3-conductor.
• The cable set must have a rated current capacity of at least the amount rated for
each specific product.
• The attachment plug must be either an Earth-grounding type with a NEMA
5-15P (10 A, 110 V) configuration or a NEMA L6-15P (10 A, 208/240 V)
Denmark The supply plug must comply with section 107-2-D1, standard DK2-1a or DK2-5a.
Switzerland The supply plug must comply with SEV/ASE 1011.
Argentina The supply plug must comply with Argentinian standards.

Site Preparation
BlackDiamond 8800 Series Switches Hardware Installation Guide
68
●Monitor and log power supply status.
●Display the voltage (current draw) of the equipment.
●Restart equipment after a long power outage.
●Display the voltage currently on the line.
●Provide alarms on certain error conditions.
●Provide short circuit protection.
Selecting a UPS
To determine UPS requirements for your switch, answer these questions:
●What are the amperage requirements?
●What is the longest potential time period that the UPS would be required to supply backup power?
●Where will the UPS be installed?
●What is the maximum transition time that your installation will allow?
NOTE
Extreme Networks recommends that you use a UPS that provides online protection.
Calculating Volt-Amperage Requirements
To determine the minimum volt-amperage requirements for your UPS:
1Locate the voltage and amperage requirements for each piece of equipment. These numbers are
usually located on a sticker on the back or bottom of your equipment.
2Multiply the numbers together to get Volt-Amps (VA):
VA = Volts x Amperes
3Add together the VA from all the pieces of equipment to find the total VA requirement.
To determine the minimum volt-amperage requirements for your UPS, we recommend that you add
30% to the total.
UPS Transition Time
Transition time is the time that is necessary for the UPS to transfer from utility power to full-load
battery power. For Extreme Networks products, a transition time of less than 20 milliseconds is required
for optimum performance.
Applicable Industry Standards
For more information, see the following ANSI/TIA/EIA standards:
●ANSI/TIA/EIA-568-A—discusses the six subsystems of a structured cabling system.
●ANSI/TIA/EIA-569-A—discusses design considerations.
●ANSI/TIA/EIA-606—discusses cabling system administration.
●ANSI/TIA/EIA-607—discusses commercial building grounding and bonding requirements.

Site Preparation
BlackDiamond 8800 Series Switches Hardware Installation Guide
70

BlackDiamond 8800 Series Switches Hardware Installation Guide 71
5Installing the BlackDiamond 8800 Series
Chassis
This chapter includes the following sections:
●Unpacking the BlackDiamond 8806 Chassis on page 72
●Unpacking the BlackDiamond 8810 Chassis on page 75
●Pre-installation Requirements on page 78
●Attaching the Mid-Mount Brackets on page 78
●Rack-Mounting the BlackDiamond 8800 Series Chassis on page 80
●Grounding the BlackDiamond 8800 Series Chassis on page 83
●Initial Management Access on page 85
This chapter describes how to install the following BlackDiamond chassis models:
●BlackDiamond 8806 chassis
●BlackDiamond 8810 chassis
The BlackDiamond 8800 series chassis fits into a standard 19-inch (48.26 cm) rack. You can install the
switch either flush against the back of the rack or in a mid-mount position to give you more access
behind the rack.
NOTE
Read the information in this chapter thoroughly before you attempt to install the BlackDiamond 8806/12804
switch.
CAUTION
Correct lifting of the BlackDiamond 8800 series chassis requires two people.
Before you lift a BlackDiamond 8800 series chassis, make sure the chassis is empty to prevent unnecessary weight.
This will also prevent damage to the system components due to possible system chassis flex when lifting.

Installing the BlackDiamond 8800 Series Chassis
BlackDiamond 8800 Series Switches Hardware Installation Guide
72
Unpacking the BlackDiamond 8806 Chassis
NOTE
Do not remove the nylon straps until you are ready to open the chassis package.
CAUTION
The BlackDiamond 8806 chassis weighs almost 65 pounds. Proper lifting and moving of the chassis requires two
people.
To unpack the BlackDiamond 8806 chassis:
1Remove the nylon straps from around the shipping carton.
2Open the top flaps and remove the accessories and documentation pack from the shipping carton
(see Figure 34). Lift out the packing foam.
Figure 34: Removing Accessories from the BlackDiamond 8806 Chassis Shipping Carton
3Release the clip locks (see Figure 35).
aPlace your thumb and index finger inside the clip lock to grasp the prongs.
bSqueeze the prongs inward, applying equal pressure on each side.
cPull the prongs outward until the clip lock is released from the carton.
Repeat these steps to release each remaining clip lock.
EX_110
Power cord retaining bracket
BlackDiamond documentation pack
with ESD-preventive wrist strap
19-inch helper bracket

Unpacking the BlackDiamond 8806 Chassis
BlackDiamond 8800 Series Switches Hardware Installation Guide 73
Figure 35: Clip Locks on the BlackDiamond 8806 Chassis Shipping Carton
4Slide the shipping carton up over the BlackDiamond 8806 chassis (see Figure 36).
Figure 36: Removing the Carton from the BlackDiamond 8806 Chassis
5Unwrap the chassis.
EX_111A
Clip lock
Open
lock
Squeeze prongs
to unlock
EX_120A
Lift box
off
chassis
Open & remove
4 clip locks
to free box

Installing the BlackDiamond 8800 Series Chassis
BlackDiamond 8800 Series Switches Hardware Installation Guide
74
6At each side of the chassis, place one hand in an empty power supply bay and the other hand in the
recessed hand-hold on the back panel of the chassis. Carefully lift the BlackDiamond 8806 chassis off
the foam cushion and onto the floor (see Figure 37).
Figure 37: Correct Method for Lifting the BlackDiamond 8806 Chassis
CAUTION
Do not use the fan tray handle to lift or maneuver the BlackDiamond 8806 chassis. This handle is not designed to
support the weight of the chassis.
Verify that the following items are included in the shipping carton:
●BlackDiamond 8806 chassis with four installed blank front panels
●Power cord retaining bracket
●19-inch helper bracket (installation tray)
●BlackDiamond documentation pack with ESD-preventive wrist strap
NOTE
Save all packaging, clip locks, and box pieces for future use in the event that the BlackDiamond 8806 chassis must
be moved to another location or returned to Extreme Networks, Inc.
EX_112

Unpacking the BlackDiamond 8810 Chassis
BlackDiamond 8800 Series Switches Hardware Installation Guide 75
Unpacking the BlackDiamond 8810 Chassis
CAUTION
The BlackDiamond 8810 chassis weighs almost 80 pounds. Proper lifting and moving of the chassis requires two
people.
To unpack the BlackDiamond 8810 chassis:
1Verify that the Tilt Watch and Shock Watch indicators display a white state as shown in Figure 38.
Figure 38: Tilt Watch and Shock Watch Indicators
CAUTION
Do not proceed with unpacking the chassis if either the Tilt Watch indicator or the Shock Watch indicator displays a
red warning state. Immediately contact Extreme Networks if a red condition occurs.
2Open the flaps and remove the contents from the upper shipping carton (see Figure 34).
EX_084
Tilt watch
Tilt watch
in white state
Tilt watch
in red state
Shock watch
in white state
Shock watch
in red state
Shock watch

Installing the BlackDiamond 8800 Series Chassis
BlackDiamond 8800 Series Switches Hardware Installation Guide
76
Figure 39: Removing Contents from the BlackDiamond 8810 Upper Shipping Carton
3Release the clip locks as shown in Figure 35.
aPlace your thumb and index finger inside the clip lock to grasp the prongs.
bSqueeze the prongs inward applying equal pressure on each side.
cPull the prongs outward until the clip lock is released from the carton.
Repeat these steps to release each remaining clip lock.
Figure 40: Clip Locks on the BlackDiamond 8810 Shipping Carton
4Lift the BlackDiamond 8810 shipping carton up and off the chassis (see Figure 41).
5Remove all four restraining bolts that hold the BlackDiamond 8810 chassis to the shipping brackets
on the shipping pallet (see Figure 41).
ASP024
EX_087B
Clip lock Open
lock
Squeeze prongs
to unlock

Unpacking the BlackDiamond 8810 Chassis
BlackDiamond 8800 Series Switches Hardware Installation Guide 77
Figure 41: Unpacking the BlackDiamond 8810 Chassis
6At each side of the chassis, place one hand in an empty power supply bay and the other hand in the
recessed hand-hold on the back panel of the BlackDiamond 8810 chassis (see Figure 37).
CAUTION
Do not use the fan tray handle to lift or maneuver the BlackDiamond 8810 chassis. This handle is not designed to
support the weight of the chassis.
7Carefully lift the BlackDiamond 8810 chassis off the shipping pallet and onto the floor as shown in
Figure 37.
Figure 42: Correct Method for Lifting the BlackDiamond 8810 Chassis
ASP016B
ASP017A

Installing the BlackDiamond 8800 Series Chassis
BlackDiamond 8800 Series Switches Hardware Installation Guide
78
NOTE
Save all packaging, bolts, washers, and clip locks, as well as the box and pallet, for future use in the event that the
chassis must be moved to another location or returned to Extreme Networks.
Verify that the following items are included in the shipping carton:
●BlackDiamond 8810 chassis with eight installed blank front panels
●Power cord retaining bracket
●19-inch helper bracket (installation tray)
●BlackDiamond documentation pack with ESD-preventive wrist strap
NOTE
Save all packaging, clip locks, and box pieces for future use in the event that the BlackDiamond 8810 chassis must
be moved to another location or returned to Extreme Networks, Inc.
Pre-installation Requirements
The following tools, equipment, and resources are required for installing the BlackDiamond 8800 series
chassis:
●ESD-preventive wrist strap (provided)
●19-inch helper bracket (provided)
●For installing the chassis in a mid-mount position in the rack:
■Optional BlackDiamond 8806/12804 mid-mount kit, part number 65046. Order this kit separately
from the chassis.
or
■Optional BlackDiamond 8810 mid-mount kit, Model 41141. Order this kit separately from the
chassis.
■#2 Phillips screwdriver
●Rack-mount screws appropriate for your organization’s rack system, as follows:
■4 screws to attach the helper bracket
■12 screws to secure the chassis in the rack
The screw size will vary based on your organization’s rack system; screws are not provided.
●Screwdriver appropriate for the rack-mounting screws you will use
The screwdriver size will vary based on the requirements of your organization’s rack system.
Attaching the Mid-Mount Brackets
The BlackDiamond 8800 series chassis has attached rack-mounting flanges for a front-mount rack
installation. To install the chassis in a mid-mount position in the rack, attach the optional mid-mount
brackets as described in this section.

Attaching the Mid-Mount Brackets
BlackDiamond 8800 Series Switches Hardware Installation Guide 79
CAUTION
The BlackDiamond 8806 chassis weighs almost 65 pounds., and the BlackDiamond 8810 chassis weighs almost 80
pounds. Proper lifting and moving of the chassis requires two people.
To attach the mid-mount brackets:
1Set the empty chassis in an upright position on a secure flat surface.
2Determine the locations for the mid-mount brackets.
NOTE
Each side of the chassis has two sets of mounting holes to provide two positions for attaching the mid-mount
brackets.
3Identify the left and right brackets.
Each mid-mount bracket is clearly marked for placement on either the right or left side, as viewed
from the front of the chassis.
4On each side of the chassis, attach the appropriate mid-mount bracket using the eight screws
provided in the kit (see Figure 43 and Figure 44).
Figure 43: Attaching the Mid-mount Brackets to the BlackDiamond 8806 Chassis
EX_136
Mid-mount
bracket
Second mid-mount location

Installing the BlackDiamond 8800 Series Chassis
BlackDiamond 8800 Series Switches Hardware Installation Guide
80
Figure 44: Attaching the Mid-mount Brackets to the BlackDiamond 8810 Chassis
Rack-Mounting the BlackDiamond 8800 Series Chassis
To mount the BlackDiamond 8800 series chassis in a rack:
1Locate the 19-inch helper bracket that is shipped with the BlackDiamond 8800 series chassis.
2Identify the rack location where the chassis will be installed.
3Using four rack mounting screws, attach the helper bracket to the system rack immediately below
the chassis location (see Figure 45).
You must provide the screws for attaching the helper bracket.
ASP034
Mid-Mount
Bracket

Rack-Mounting the BlackDiamond 8800 Series Chassis
BlackDiamond 8800 Series Switches Hardware Installation Guide 81
Figure 45: Mounting the 19-inch Helper Bracket onto the System Rack
4Lift the back of the empty BlackDiamond 8800 series chassis onto the 19-inch helper bracket.
5Slowly guide the chassis into the system rack until the mounting brackets are flush against the rack
uprights.
6Secure the chassis to the system rack using eight rack mounting screws. (Screws are not provided.)
Be sure that the screws are secure. Refer to Figure 46 and figure for the screw locations.
NOTE
Figure 46 and figure show a standard rack mount. For mid-mount installation, use the same mounting locations
shown in the figure, but insert the screws through the designated slot locations of the mid-mount brackets.
EX_086A

Installing the BlackDiamond 8800 Series Chassis
BlackDiamond 8800 Series Switches Hardware Installation Guide
82
Figure 46: Securing the BlackDiamond 8806 Chassis to a Rack
EX_171A

Grounding the BlackDiamond 8800 Series Chassis
BlackDiamond 8800 Series Switches Hardware Installation Guide 83
Figure 47: Securing the BlackDiamond 8810 Chassis to a Rack
7Remove the helper bracket from the system rack after the chassis is secured. Save the bracket for
future use if you remove the chassis from the rack.
Grounding the BlackDiamond 8800 Series Chassis
Although grounding the BlackDiamond 8800 series chassis is optional, it is recommended. A grounding
point with integrated pem-nuts is provided on the back of the chassis.
You need the following materials to ground the chassis:
●Two 10-24 screws
●One copper, standard barrel 2-hole compression grounding lug, type LDC, equivalent to Panduit
part number LCD4-14A-L or Thomas & Betts part number: LCN4-14
●Appropriate grounding wire for your system, based on the available input current for the power
supply:
■For AC systems using a 20A breaker per PSU (SSI AC), the chassis ground can be as small as
14 AWG.
■For DC systems using a 50A breaker per PSU (SSI DC), the chassis ground can be as small as
10 AWG.
EX_172A

Installing the BlackDiamond 8800 Series Chassis
BlackDiamond 8800 Series Switches Hardware Installation Guide
84
To ground the chassis:
1Locate the grounding point on the back of the chassis (Figure 48 and Figure 49).
Figure 48: Back of BlackDiamond 8806 Chassis
Figure 49: Back of BlackDiamond 8810 Chassis
2Strip 0.5-inch (1.2-cm) of insulation from the stranded copper wire cable.
3Insert the stripped wire into the cable lug.
EX_128A
Grounding point
PSU / fan
controllers
ASP044A
Grounding point
PSU/Fan
controllers

Initial Management Access
BlackDiamond 8800 Series Switches Hardware Installation Guide 85
CAUTION
Be sure that no copper is visible between the lug and the cable insulation.
4Crimp the lug onto the cable according to the manufacturer’s specifications.
5Insert the screws through the lug and into the grounding point on the back of the chassis.
6Connect the other end of the wire to a known reliable earth ground point at your site.
Initial Management Access
For instructions on accessing the switch for initial management setup, see “Initial Management Access”
on page 114.

Installing the BlackDiamond 8800 Series Chassis
BlackDiamond 8800 Series Switches Hardware Installation Guide
86

BlackDiamond 8800 Series Switches Hardware Installation Guide 87
6Installing Power Supply Units in the
BlackDiamond 8800 Series Switches
This chapter includes the following topics:
●Safety on page 87
●PSU Compatibility on page 88
●Installing an Extreme Networks AC PSU on page 90
●Installing an Extreme Networks 1200 W DC PSU on page 94
The chapter describes how to install and remove each power supply model used with the
BlackDiamond 8800 series switches.
Safety
Only trained service personnel should perform service to Extreme Networks switches and their
components. Trained service personnel have read all related installation manuals, have the technical
training and experience necessary to be aware of the hazards to which they are exposed in performing a
task, and are aware of measures to minimize the danger to themselves or other persons.
Before installing an Extreme Networks PSU into your network:
●Read the latest installation and safety information provided in this chapter and in Appendix
A, “Safety Information.”
●See Appendix A, “Safety Information” for additional information regarding regulatory compliance
certifications.
NOTE
For central DC power connections, the 1200 W DC PSU is intended to be installed only in restricted access
locations (dedicated equipment rooms, equipment closets, or the like) in accordance with Articles 110-16, 110-17,
and 110-18 of the National Electric Code, ANSI/NFPA-70. All wiring methods involving the DC input cable assembly
must be performed according to the relevant articles of the National Electrical Code.
CAUTION
Building codes vary worldwide; therefore, Extreme Networks strongly recommends that you consult an electrical
contractor to ensure proper equipment grounding and power distribution for your specific installation.
WARNING!
Field operators must not attempt to open the PSU enclosure for any reason; the PSU does not contain
user-serviceable parts. In the event of failure, return the defective PSU to Extreme Networks for repair or
replacement.

Installing Power Supply Units in the BlackDiamond 8800 Series Switches
BlackDiamond 8800 Series Switches Hardware Installation Guide
88
WARNING!
Extreme Networks AC PSUs do not have switches for turning the unit on and off. Remove the wall plug from the
electrical outlet to disconnect the power to an Extreme Networks AC PSU. Make sure that this connection is easily
accessible.
When the PSU is outside the chassis (not installed), do not plug the PSU into an electrical outlet. Plugging an
uninstalled AC PSU into an electrical outlet exposes you to a hazardous energy and is a potential fire hazard.
WARNING!
Extreme Networks DC PSUs do not have switches for turning the unit on and off. Make sure that the DC circuit is
de-energized before connecting or disconnecting the DC power cord at the DC power socket on an Extreme Networks
DC PSU.
PSU Compatibility
The BlackDiamond power supply units are intended for use in specific BlackDiamond switches.
Table 14 lists the BlackDiamond 8800 series switches and their compatible power supply units.
Combining Different AC PSU Models
When 600/900 W AC PSUs and 700/1200 W AC PSUs are combined in the same BlackDiamond 8806
chassis and are powered on, all PSUs will be budgeted down to the lower-powered 600/900 W AC
output values to avoid PSU shutdown due to over-current.
ExtremeXOS optimizes total system power, avoiding the possibility of over-current, by deciding
whether to budget down PSUs with 220 V AC inputs when PSUs with 110 V AC inputs are present, or
to keep 110 V AC PSUs disabled.
CAUTION
Even though this process avoids the possibility of over-current, an I/O module may be powered off if a 600/900 W
AC PSU is added to a BlackDiamond 8806 system running in the following configuration:
●
The system is powered by three 700/1200 W AC PSUs at 220 V AC.
●
The system includes four or more PoE I/O modules with a PoE power requirement that falls between 2391 W
and 2438 W of inline power.
Table 14: PSU Compatibility in BlackDiamond 8800 Series Switches
BlackDiamond Switch Compatible PSU Compatibility Notes
BlackDiamond 8806 600W/900W AC PSU
AND/OR
700W/1200W AC PSU
OR
1200W DC PSU
The 700/1200 W AC PSU and the 600/900 W AC PSU
can be used together in the same BlackDiamond 8806
system only.
Extreme Networks does not recommended using the
600/900 W AC PSU or the 700/1200 W AC PSU in
combination with a 1200W DC PSU.
BlackDiamond 8810 700W/1200W AC PSU
OR
1200W DC PSU
Extreme Networks does not recommended using the
700/1200 W AC PSU in combination with a
1200W DC PSU.

Power Supply Cords for AC Power Supplies
BlackDiamond 8800 Series Switches Hardware Installation Guide 89
To avoid causing an I/O module to be powered off, do not add a 600/900 W AC PSU to an existing
BlackDiamond 8806 system running in the configuration listed above. Extreme Networks also
recommends that you avoid mixing 220 V AC and 110 V AC inputs when both 600/900 W and
700/1200 W PSUs are present in the same system. When a combination of 220 V AC and 110 V AC
inputs is applied, ExtremeXOS is designed to optimize total chassis power for each individual PSU type
but not for a mixture of PSU types.
NOTE
Extreme Networks does not recommended using the 1200 W DC PSU in combination with any Extreme Networks
AC PSU in the same BlackDiamond 8800 series system. Extreme Networks recommends that DC and AC PSU units
not be used together in the same BlackDiamond switch.
Minimum Software Requirements
In order for the system to recognize an Extreme Networks 600/900 W AC PSU, the MSM installed in
your BlackDiamond 8806 switch requires ExtremeXOS version 11.6.1 (or later). In ExtremeXOS releases
11.3.4, 11.4.2, and 11.5.1, the 600/900 W AC PSU is disabled on all chassis. In ExtremeXOS releases
earlier than those, the software does not recognize the 600/900 W AC PSU and the PSU will not be
budgeted properly, possibly resulting in PSU shutdown and/or chassis reboot.
The 700/1200 W AC PSU is supported by all versions of ExtremeXOS.
For the system to recognize the 1200W DC PSU, the MSM in your BlackDiamond 8800 series switch
must be running ExtremeXOS version 11.3 or later.
Power Supply Cords for AC Power Supplies
Extreme Networks AC PSU(s) are shipped with both 110 V AC and 220 V AC power supply cords.
Table 15 shows the maximum DC power output allowed by these power cords when used with each AC
power supply.
All power supply cords provided by Extreme Networks are designed for use only in the United States,
Canada, and Mexico. Power supply cords for use outside of North America are typically provided by a
third-party distribution center and must meet the following requirements:
●The power supply cord must be agency-certified for the country of use.
●The power supply cord must have an IEC 320 C13 plug to connect to the IEC320 C14 connector on
the power supply.
●The power supply cord must have an appropriately rated and approved wall plug applicable to the
country of installation.
Table 15: AC Power Supply Cords
Cord Type
Maximum DC Output Power
600/900 W AC PSU 700/1200 W AC PSU
110 V AC 600 W 700 W
220 V AC 900 W 1200 W

Installing Power Supply Units in the BlackDiamond 8800 Series Switches
BlackDiamond 8800 Series Switches Hardware Installation Guide
90
●The power supply cord must be less than 5 meters long.
●The wire size must be a minimum of 16 AWG (1.0 mm2) copper-stranded.
WARNING!
Be sure that the source outlet is properly grounded before plugging the AC power cord into the Extreme Networks
AC PSU.
Installing an Extreme Networks AC PSU
This section describes how to install either of the following Extreme Networks UL-listed accessory
power supply units:
●700/1200 W AC PSU (Model # 60020/PS 2336)
This power supply is compatible with the BlackDiamond 8806 switch and the BlackDiamond 8810
switch.
●600/900 W AC PSU (Model # 41050/ PS 2431)
This power supply is compatible only with the BlackDiamond 8806 switch.
The power supply bay in the BlackDiamond 8800 series switch can accommodate up to six
hot-swappable AC PSUs.
NOTE
In a BlackDiamond 8806 system, the Extreme Networks 700W/1200 W AC PSU can be combined with an Extreme
Networks 600/900 W AC PSU in the same chassis.
Extreme Networks does not recommended using the 700/1200 W AC PSU with an Extreme Networks 1200 W DC
PSU in the same BlackDiamond 8800 series switch.
WARNING!
Field operators must not attempt to open the AC PSU enclosure for any reason; the PSU does not contain
user-serviceable parts. In the event of failure, return the defective 700/1200 W AC PSU to Extreme Networks for
repair or replacement.
CAUTION
To ensure proper cooling of the PSU, do not block the front vents of the PSU or the rear vents of the switch.

Installing an Extreme Networks AC PSU
BlackDiamond 8800 Series Switches Hardware Installation Guide 91
Required Tools and Equipment
You need the following tools and equipment to install or remove an Extreme Networks AC PSU:
●ESD-preventive wrist strap
●Power supply cord (110 V AC, 220 V AC, or applicable to country of use)
A power cord for use in the United States is provided with each PSU. For use outside of the United
States, this PSU requires a power supply cord set certified for the country of use. See the input
specifications in Table 22 on page 172.
●Thermal protective gloves (required for removal)
Installing the PSU
CAUTION
Make sure that the Extreme Networks AC PSU circuit is not overloaded. Use proper over-current protection, such as
a circuit-breaker, to prevent over-current conditions.
To install an Extreme Networks AC PSU:
1Attach an ESD-preventive wrist strap to your bare wrist and connect the metal end to the ground
receptacle on the top-left corner of the switch front panel.
2Verify that the PSU is right side up and the locking handle is open (see Figure 50).
Figure 50: Extreme Networks AC PSU with Locking Handle Open
3Carefully slide the AC PSU all the way into the power supply bay (see Figure 51).
CAUTION
Do not slam the AC PSU into the system switch backplane. Use the locking handle to secure the AC PSU in the
power supply bay.
EX_015

Installing Power Supply Units in the BlackDiamond 8800 Series Switches
BlackDiamond 8800 Series Switches Hardware Installation Guide
92
Figure 51: Inserting an AC PSU into the Power Supply Bay
4Secure the AC PSU in the power supply bay by pushing down on the locking handle until it clicks
into place.
5If you are replacing a power supply, you do not need to unplug the AC power cord. For a newly
installed power supply, connect the AC power supply cord:
aIf necessary, remove the power cord retaining bracket as described in Chapter 3, “BlackDiamond
AC Power Cord Retaining Brackets.”
bConnect the new AC power cord to the AC input on the front of the switch and to the wall outlet
on the other end. Then re-install the power cord retaining bracket.
cRe-install the power cord retaining bracket as described in Chapter 3, “BlackDiamond AC Power
Cord Retaining Brackets.”
To install additional Extreme Networks AC PSUs, repeat steps 2 through 5.
NOTE
Leave the ESD strap permanently connected to the switch, so that the strap is always available when you need to
handle ESD-sensitive components.
Removing or Replacing an Extreme Networks AC PSU
CAUTION
The AC PSU may be hot to the touch; use thermal protective gloves when handling the PSU during removal.
To remove or replace an Extreme Networks AC PSU:
1Attach an ESD-preventive wrist strap to your bare wrist and connect the metal end to the ground
receptacle on the top-left corner of the switch front panel (if not already attached).
EX_174

Installing an Extreme Networks AC PSU
BlackDiamond 8800 Series Switches Hardware Installation Guide 93
2For the AC power cord:
●If you are replacing only the power supply and you will use the existing AC power cord for the
new PSU, you do not need to unplug the AC power cord.
●If you are removing and replacing an AC power cord:
■Remove the power cord retaining bracket as described in “Disconnecting a BlackDiamond
8810 AC Power Cord” on page 127 or “Removing the BlackDiamond 8806 AC Power Cord
Retainer Channel” on page 130.
■Completely disconnect and remove the old power cord.
■Connect the new AC power cord to the AC input on the front of the switch and then connect
the opposite end of the AC power cord to the wall outlet.
■After the cord is connected, re-install the power cord retaining bracket.
3Lift the handle on the PSU.
4Pull the handle of the PSU to disconnect the PSU from the power connector at the back of the power
supply bay. Slide the PSU partway out of the bay.
5Wearing thermal protective gloves, place both hands underneath the PSU to support the weight as it
is pulled out from the switch.
6To install a replacement PSU, follow the steps under “Installing the PSU” on page 91.
NOTE
Leave the ESD strap permanently connected to the switch, so that the strap is always available when you need to
handle ESD-sensitive components.
LEDs on the 700/1200 W AC PSU
The front panel of the Extreme Networks 700/1200 W AC PSU provides status LEDs. Table 16 describes
the LED activity.
Table 16: LEDs on the 700/1200 W AC PSU
PSU Condition
Power
Green Predictive Fail
Amber
Fail
Amber
Power supply AC outputs working normally On Off Off
AC input power present/standby output on Blinking Off Off
Current limit on 48 VDC output On Off Blinking
Predictive failure On Blinking Off
No input power to this PSU only Off Off On
No input power to any PSU Off Off Off
Power supply failure Off Off On

Installing Power Supply Units in the BlackDiamond 8800 Series Switches
BlackDiamond 8800 Series Switches Hardware Installation Guide
94
Installing an Extreme Networks 1200 W DC PSU
The Extreme Networks 1200 W DC UL-listed accessory power supply unit (Model # 60021/PS 2350) is
compatible with the BlackDiamond 8806 switch and the BlackDiamond 8810 switch. The power supply
bay in the BlackDiamond 8800 series switch can accommodate up to six hot-swappable 1200 W DC
PSUs.
WARNING!
Field operators must not attempt to open the 1200 W DC PSU enclosure for any reason; the PSU does not contain
user-serviceable parts. In the event of failure, return the defective 1200 W DC PSU to Extreme Networks for repair
or replacement.
Required Tools and Equipment
You need the following tools and equipment to install or remove a 1200 W DC PSU:
●ESD-preventive wrist strap
●Input DC power cable (provided with the DC PSU)
●-48 V DC power source capable of providing 50 A dedicated power to each 1200 W DC PSU installed
in the switch
●Thermal protective gloves (required for removal)
Installing the DC Wiring
The input DC cable for the 1200 W DC PSU is shipped with the DC PSU (see Figure 52). You must use
this cable with the DC PSU. This section provides information about DC power specifications to be used
in connecting the DC cable to the DC source voltage.
Wiring the DC power cord to your facility DC source voltage must be performed by a qualified,
licensed electrician. After the DC power cord is connected to a permanent DC voltage source by a
qualified, licensed electrician, you can remove, replace, and maintain the 1200 W DC PSU without
further electrician assistance. However, make sure that the DC circuit is de-energized before connecting
or disconnecting the DC power cord on PSU.
All wiring methods involving the DC input cable assembly must be performed according to the relevant
articles of the National Electrical Code.
Figure 52: Input DC Power Cable for the 1200 W DC PSU
EX_135
Return Black: Return
Green/yellow:
Ground
Blue: -48V
Lock
Ground
10 ft.
-48Vdc

Installing an Extreme Networks 1200 W DC PSU
BlackDiamond 8800 Series Switches Hardware Installation Guide 95
Each 1200 W DC PSU must be powered by a 50 A dedicated power source that delivers -40 to -72 VDC
of constant power. Power distribution to the 1200 W DC PSU shall be provided using the -48 VDC
harness provided. Power to the 1200 W DC PSU can be from either a 50 A UL-approved overcurrent
protection breaker or an SELV- approved power source in accordance with IEC 60950-1 utilizing 50 A
overcurrent protection.
The input DC cable has an input connector on one end and precut wire on the other end that goes to
the DC power source. The input connector has a locking mechanism that locks onto the DC PSU to
prevent accidental removal of the input DC cable.
If necessary, use appropriate termination lugs for 8 AWG (10 mm2) copper-stranded wire on the ends of
the cable to connect to the DC power source.
The blue termination (-48 V) connects to a 50 A overcurrent protection circuit device, and the black
(return) termination connects directly to the RTN bus of the DC power source. The green/yellow
termination (ground) must connect to the same earth ground point as the switch.
Installing a 1200 W DC PSU
To install an Extreme Networks 1200 W DC PSU:
1Attach an ESD-preventive wrist strap to your bare wrist and connect the metal end to the ground
receptacle on the top-left corner of the switch front panel.
CAUTION
Be sure that the grounding point on the back of the switch chassis is securely connected to earth ground. For
information about grounding the switch, see “Grounding the BlackDiamond 8800 Series Chassis” on page 83.
2Verify that the 1200 W DC PSU is right side up, and press the yellow locking lever to the left while
lifting the handle (see Figure 53).
NOTE
Do not connect the input DC cable to the DC PSU before you install the DC PSU in the switch.

Installing Power Supply Units in the BlackDiamond 8800 Series Switches
BlackDiamond 8800 Series Switches Hardware Installation Guide
96
Figure 53: Locking Handle on the 1200 W DC PSU
3Carefully slide the 1200 W DC PSU all the way into the power supply bay (see Figure 54).
Be sure that the DC PSU is fully seated in the switch.
CAUTION
Do not slam the 1200 W DC PSU into the chassis backplane.
Figure 54: Installing the 1200 W DC PSU in the Power Supply Bay
4Verify that the DC power is turned off at the source.
CAUTION
Always verify that the DC circuit is de-energized before you connect the input cable to the 1200 W DC PSU.
EX_130
Open
Lock
Yellow
lever
EX_131

Installing an Extreme Networks 1200 W DC PSU
BlackDiamond 8800 Series Switches Hardware Installation Guide 97
5Connect the input DC cable to the front of the 1200 W DC PSU as shown in Figure 55.
NOTE
An AC power cord is not required for proper functioning of the DC PSU.
6Rotate the locking handle down to latch the input cable connector onto the DC PSU.
Figure 55: Connecting the Input Cable to the 1200 W DC PSU
7Secure the 1200 W DC PSU in the power supply bay by pushing down on the locking handle until it
clicks in place.
NOTE
The DC PSU does not energize until the locking handle latches.
CAUTION
When you route the DC cable harnesses, minimize stress on the cables. It is important to route each of the
outermost cables out the opposite side of installation to maximize the bend radius and to avoid stress on the cables.
For example, you should route the leftmost cable harness across the switch so that it exits through the right side of
the grate. Route the rightmost cable harness across the switch so that it exits through the left side of the grate. The
four middle cables can route in either direction.
8Energize the DC circuit for the 1200 W DC PSU.
To install additional 1200 W DC PSUs, repeat steps 2 through 8.
EX_132
Locking
handle
open
Locking handle closed
traps DC plug
Remove/insert
DC plug
Yellow
lever

Installing Power Supply Units in the BlackDiamond 8800 Series Switches
BlackDiamond 8800 Series Switches Hardware Installation Guide
98
NOTE
Leave the ESD strap permanently connected to the switch, so that the strap is always available when you need to
handle ESD-sensitive components.
Removing a 1200 W DC PSU
CAUTION
The 1200 W DC PSU may be hot to the touch; use thermal protective gloves to handle the 1200 W DC PSU during
removal.
To remove an Extreme Networks 1200 W DC PSU:
1Attach an ESD-preventive wrist strap to your bare wrist and connect the metal end to the ground
receptacle on the top-left corner of the switch front panel (if not already attached).
2De-energize the DC circuit for the 1200 W DC PSU to be removed.
3Press the yellow lever on the DC PSU to the left while you lift the handle on the PSU.
4Disconnect the cable from the front of the DC PSU by pressing down the catch (see Figure 56) and
pulling out the cable.
Figure 56: DC Cable Connector on the 1200 W DC PSU
WARNING!
Always be sure that the 1200 W DC PSU does not have the input cabled connected at any time when the DC PSU
is not installed in the switch. Do not remove the DC PSU from the switch before disconnecting the input DC cable
from the PSU.
5Pull the handle of the PSU to disconnect the PSU from the power connector at the back of the power
supply bay. Slide the PSU partway out of the bay.
6Wearing thermal protective gloves, place both hands underneath the PSU to support the weight as it
is pulled out from the switch.
To remove additional 1200 W DC PSUs, repeat steps 2 through 6.
EX_133
Squeeze catch
to release plug

Installing an Extreme Networks 1200 W DC PSU
BlackDiamond 8800 Series Switches Hardware Installation Guide 99
NOTE
Leave the ESD strap permanently connected to the switch, so that the strap is always available when you need to
handle ESD-sensitive components.
LEDs
The front panel of the 1200 W DC PSU provides status LEDs. Table 17 identifies the symbols and
describes the LED activity.
Table 17: Extreme Networks 1200 W DC PSU LEDs
PSU Condition
Power
Green
Predictive Fail
Amber
Fail
Amber
Power supply DC outputs working normally On Off Off
DC input power present/standby output on Blinking Off Off
Current limit on 48 V DC output On Off Blinking
Predictive failure On Blinking Off
No input power to this PSU only Off Off On
No input power to any PSU Off Off Off
Power supply failure Off Off On

Installing Power Supply Units in the BlackDiamond 8800 Series Switches
BlackDiamond 8800 Series Switches Hardware Installation Guide
100

BlackDiamond 8800 Series Switches Hardware Installation Guide 101
7Installing Modules and Establishing Initial
Management Access
The chapter describes how to install the MSMs and I/O modules in the BlackDiamond 8800 series
switches and how to set up initial management access for the switch. All module types are hot-
swappable.
The chapter includes the following sections:
●Module Slot Assignments on page 101
●Distinguishing an MSM from an I/O Module on page 102
●Installing a BlackDiamond 8800 Series Module on page 102
●Making Network Interface Cable Connections on page 106
●Installing a Backup MSM on page 108
●Verifying the Module Installation on page 108
●Removing a BlackDiamond 8800 Series Module on page 109
●Blank Front Panels on page 110
●Installing or Removing an External Compact Flash Memory Card on page 113
●Initial Management Access on page 114
NOTE
Read the information in this chapter thoroughly before you attempt to install or remove an 8800 series MSM or I/O
module.
CAUTION
Do not attempt to mix modules across Extreme Networks product lines. BlackDiamond 8800 series modules are for
use only in a BlackDiamond 8810 or 8806 switch. When a BlackDiamond switch is in use, ExtremeXOS software
will not recognize a module from a different product line.
Module Slot Assignments
The specific slot locations for I/O modules and MSMs in the chassis are as follows:
●BlackDiamond 8810 switch:
■Slots 1, 2, 3, 4, 7, 8, 9, and 10 must have I/O modules.
■Slot 5/A must have an MSM.
■Slot 6/B can have an MSM or I/O module.
●BlackDiamond 8806 switch:
■Slots 1, 2, 5, and 6 must have I/O modules.
■Slot 3/A must have an MSM.
■Slot 4/B can have an MSM or I/O module.

Installing Modules and Establishing Initial Management Access
BlackDiamond 8800 Series Switches Hardware Installation Guide
102
NOTE
The following slots will only operate an MSM: Slot 5/A in the BlackDiamond 8810 chassis; slot 3/A in the
BlackDiamond 8806 chassis.
MSMs reside in different slots depending on which BlackDiamond switch you operate:
●If you are using only one MSM in the BlackDiamond 8806 switch, install that MSM in slot 3. If you
add a second MSM to increase reliability and throughput, install the second MSM in slot 4.
●If you are using only one MSM in the BlackDiamond 8810 switch, install that MSM in slot 5. If you
add a second MSM to increase reliability and throughput, install the second MSM in slot 6.
Distinguishing an MSM from an I/O Module
One quick way to distinguish a BlackDiamond 8800 series MSM from an I/O module is by the color of
the release latch on each injector/ejector handle. Orange injector/ejector release latches indicate that the
module is a BlackDiamond MSM, and green injector/ejector release latches indicate that the module is a
BlackDiamond I/O module (see Figure 57).
Figure 57: Colors on Injector/ejector Release Latches
Installing a BlackDiamond 8800 Series Module
You need the following tools and equipment to install a BlackDiamond 8800 MSM or I/O module:
●ESD-preventive wrist strap
●#2 Phillips screwdriver
●Appropriate type of cable for any ports on the module
CAUTION
The module series number must be the same as the switch series number. For example, install BlackDiamond 8800
modules only in a BlackDiamond 8800 series switch.
EX_122
I/O module
release latches
are green
MSM
release latches
are orange

Installing a BlackDiamond 8800 Series Module
BlackDiamond 8800 Series Switches Hardware Installation Guide 103
When you handle modules, optic devices, or other modular accessories, use an ESD-preventive wrist
strap to reduce the risk of electronic damage to the equipment. Transport PC boards only in electrostatic
packaging. Always place PC boards on a grounded surface before working on them.
To install a module in a BlackDiamond 8800 series switch:
1Attach the ESD-preventive wrist strap to your bare wrist and connect the metal end to the ground
receptacle at the top left corner of the chassis.
2Select a slot for the module. (See “Module Slot Assignments” on page 101.)
CAUTION
MSMs and I/O modules only fit properly into their designated slots. Forceful insertion into the wrong slot type
can damage the module.
3Remove a blank front panel from the chassis slot, if applicable.
NOTE
Any unoccupied module slot in the chassis should have a blank faceplate installed to ensure satisfactory
protection from EMI and to maintain adequate airflow through the chassis.
4Remove the module from the antistatic packaging as follows:
aPlace the antistatic bag containing the module on a flat ESD-protective surface that is clear of any
debris.
bBreak the quality seal, the ESD warning seal, and the Read Installation Note seal.
cOpen the antistatic bag and firmly grasp the rail of the module.
dHold the rail of the module as you pull the antistatic bag off the module.
NOTE
By holding the rail of the module and pulling the ESD bag off the module, you prevent damage to the module
that might be caused by sliding the module on the ESD surface.
Store the module packaging for future use.
CAUTION
To prevent ESD damage, hold the module by the metal rail and front panel only. Never touch the components on
the PCB or the pins on any of the connectors.
5Verify that the module injector/ejector handles are open (Figure 58).

Installing Modules and Establishing Initial Management Access
BlackDiamond 8800 Series Switches Hardware Installation Guide
104
Figure 58: Injector/ejector Handles in an Open Position
6Keep the injector/ejector handles in the open position as you slide the module into the chassis slot.
CAUTION
Do not slide the module into the open chassis slot if the injector/ejector handles are in the latched position.
7Use both hands to latch the injector/ejector handles, by simultaneously pushing both handles
toward the center of the module, as shown in Figure 59.
Figure 59: Injector/ejector Handles in the Latched Position
CAUTION
There are two styles of ejector/injector handles on the BlackDiamond 8800 series modules. Pay careful attention to
the instructions in the next step.
8Using a #2 Phillips screwdriver, lock the module into place in one of the following ways (Figure 60):
EX_123
EX_124

Installing a BlackDiamond 8800 Series Module
BlackDiamond 8800 Series Switches Hardware Installation Guide 105
●If the captive screw on each handle has a yellow band around the head of the screw, turn the
screw on each injector/ejector handle clockwise and completely down. When the screw is fully
tightened, the yellow band around the captive screw is completely hidden.
CAUTION
Be careful to avoid over-torquing and stripping the screw heads.
●If the captive screw on each handle has a red line on the head (see Figure 61), turn each captive
screw one-quarter turn (90 degrees) clockwise. When the module is correctly locked, the red line
on the captive screw in each injector/ejector handle is in a vertical position.
CAUTION
Be sure to turn each captive screw only 90 degrees or one-quarter turn clockwise. Tightening the captive screws
beyond 90 degrees will damage the injector/ejector handles on the modules.
Figure 60: Locking the Module into Place
Figure 61: Captive Screw with Red Line
9Store the module packaging for future use.
NOTE
Leave the ESD-preventive wrist strap permanently connected to the chassis so that the strap is always available
when you need to handle ESD-sensitive components.
EX_125
EX_162

Installing Modules and Establishing Initial Management Access
BlackDiamond 8800 Series Switches Hardware Installation Guide
106
Making Network Interface Cable Connections
Use the appropriate type of cable to connect the ports of your switch to another switch or router.
Working carefully, one port at a time:
1Verify that you have identified the correct cable for the port.
2Use an alcohol wipe or other appropriate cleaning agent to clean the cable connectors; make sure
they are free of dust, oil, and other contaminants.
3If you are using optical fiber cable, align the transmit (Tx) and receive (Rx) connectors with the
correct corresponding connectors on the switch or the I/O module.
4Press the cable connectors into their mating connectors on the switch or I/O module until the cable
connector is firmly seated.
5Repeat steps 1 through 4 for the remaining cables on this or other switches or I/O modules.
6Dress and secure the cable bundle to provide appropriate strain relief and protection against bends
and kinks.
Connecting and Disconnecting Cables on the 10G4Ca Module
The ports on the 10G4Ca I/O module use copper CX4 interface connectors. The cables that connect to
these ports include a latch that mechanically stabilizes the connection. You must be sure to correctly
engage the latch when you connect cables, and to correctly disengage the latch when you disconnect
cables.
To connect cables to the 10G4Ca module:
1Make sure that the connector latch is pulled back to the unlatched position.
2Align the connector with the module port and push it into place until the connector is flush with the
front panel of the module (Figure 62).
3Evenly push the latch toward the module port to secure the connection (Figure 62). Make sure that
the latch engages equally on both sides.

Making Network Interface Cable Connections
BlackDiamond 8800 Series Switches Hardware Installation Guide 107
Figure 62: Connecting a 10G4Ca Module Port
To disconnect a cable from a 10G4Ca module:
1Holding the cable connector with one hand, press it against the module front panel as you use the
other hand to pull back evenly on the latch (Figure 63).
Figure 63: Disconnecting a cable from a 10G4Ca port
2Make sure the latch is pulled into the fully disengaged position.
3Pull the cable connector straight off the port connector.
BD_157
BD_158
A

Installing Modules and Establishing Initial Management Access
BlackDiamond 8800 Series Switches Hardware Installation Guide
108
Installing a Backup MSM
If you install a backup MSM, use the synchronize command to replicate all saved images and
configurations from the primary MSM to the backup MSM.
You are not prompted to synchronize the images and the configurations from the primary to the
backup. If not synchronized, the backup uses its image and the primary configuration. This image/
configuration mismatch will likely cause the switch to operate differently after failover.
CAUTION
Depending on the size and complexity of your network, you should install and configure a backup MSM when
network disruption will be minimal. You may need to reboot your switch after you use the synchronize command.
Verifying the Module Installation
After you install a module, verify that it is working correctly by checking the LEDs on the front panel of
the module. Table 18 shows normal LED operation for correctly installed MSMs and I/O modules.
Use the command line interface (CLI) show slot <slot number> command to display slot-specific
information about the newly installed module.
For more information about LED activity, see the module chapter for each switch series.
Displaying Slot Status Information
Assuming the module has no problems, the command show slot <slot> (where <slot> is the number
of the slot where you installed the module) displays information about the module including: general
information about the module (name, serial number, part number), the state of the module (power
down, operational, mismatch between the slot configuration and the module in the slot), and the
number of ports on the module.
For more information about slot status information, see the ExtremeXOS 12.1 Concepts Guide and the
ExtremeXOS 12.1 Command Reference Guide.
Table 18: Module LED Activity for Normal Operation
MSM I/O Module
LED State/Meaning LED State/Meaning
SYS Green blinking STATUS Green blinking
MSTR Green: MSM is primary
Amber: MSM is backup
DIAG Off
ENV Green Port status (per port) Green
Amber blinking
Link/Activity Green: Link is up.
Amber: Packet activity is occurring.

Removing a BlackDiamond 8800 Series Module
BlackDiamond 8800 Series Switches Hardware Installation Guide 109
Removing a BlackDiamond 8800 Series Module
CAUTION
There are two styles of ejector/injector handles on the BlackDiamond 8800 series modules. Pay careful attention to
the instructions in step 2.
This section describes how to remove modules from a BlackDiamond 8800 series switch. BlackDiamond
modules are hot-swappable. You do not need to power the system off to remove a module.
You need the following tools and equipment to remove a BlackDiamond 8800 series module:
●ESD-preventive wrist strap
●#2 Phillips screwdriver
●Replacement module or blank faceplate if you are not replacing the module
To remove a BlackDiamond 8800 series module:
1Attach the ESD-preventive wrist strap to your bare wrist. If it is not already connected, connect the
metal end to the ground receptacle at the top left corner of the chassis.
2Unlock the module in one of the following ways:
●On a module without red lines on the screwheads, turn each captive screw counter-clockwise
(Figure 64). Verify that the yellow band around the captive screw head of each injector/ejector
handle is completely visible (Figure 64). This position ensures that the module is unlocked.
●On a module with red lines on the screwheads, turn each captive screw counter-clockwise one-
quarter turn (90 degrees) (Figure 64). Verify that the red line on each captive screw is in a
horizontal position (Figure 65). This position ensures that the MSM or I/O module is unlocked.
CAUTION
Be sure to turn each captive screw only 90 degrees or one-quarter turn counter-clockwise. Loosening the captive
screws beyond 90 degrees will damage the injector/ejector handles on the module.
Figure 64: Unlocking a Module
EX_125a

Installing Modules and Establishing Initial Management Access
BlackDiamond 8800 Series Switches Hardware Installation Guide
110
Figure 65: Indications that the Module is Unlocked
3Squeeze the release latch on each injector/ejector handle and rotate both handles outward to
disconnect the module from the chassis backplane (see Figure 65).
CAUTION
To prevent ESD damage, hold the module by the metal panel edges only. Never touch the components on the
PCB or the pins on any of the connectors.
4Slide the module out of the chassis slot.
5Immediately place the module into the anti-static bag to protect it from potential ESD damage. The
bag will also prevent dust from collecting on the module connectors.
6If you are not going to install a replacement module, install a blank front panel. To install a
replacement module, follow the installation procedure starting on page 102.
NOTE
Leave the ESD-preventive wrist strap permanently connected to the chassis so that it is always available when you
need to touch ESD-sensitive components.
Blank Front Panels
BlackDiamond switches are shipped with blank front panels installed over one or more chassis slots.
You can remove or install a blank front panel at any time without disrupting network services.
Complete the action of installing a blank front panel in a reasonable time-frame to avoid disruption to
adequate airflow.
CAUTION
All unoccupied slots in a BlackDiamond 8800 series switch must have blank front panels correctly installed to
ensure conformance to FCC requirements as well as to maintain adequate airflow through the switch.
You need the following tools and equipment to install or remove a blank front panel:
●ESD-preventive wrist strap
●#2 Phillips screwdriver
EX_173
Release Latch
Handle
Yellow Band
on Captive
Screw Head
EX_161

Blank Front Panels
BlackDiamond 8800 Series Switches Hardware Installation Guide 111
Installing a Blank Front Panel
To install the blank front panel:
1Attach the ESD-preventive wrist strap to your bare wrist and connect the metal end to the ground
receptacle at the top left corner of the BlackDiamond chassis.
2Align the blank front panel over the open slot on the chassis (see Figure 66).
Make sure that the EMI gasket is on the top of the panel and the stenciled part number is right side
up.
Figure 66: Blank Front Panels in a BlackDiamond 8800 Series Chassis
3Use a #2 Phillips screwdriver to tighten the captive screws at each end of the blank front panel.
NOTE
Tighten the screws of each installed blank front panel before inserting additional modules or blank front panels.
Otherwise, you might unseat modules or blank front panels that you have not secured.
NOTE
Leave the ESD-preventive wrist strap permanently connected to the chassis so that it is always available when you
need to touch ESD-sensitive components.
Removing a Blank Front Panel
To remove a blank front panel:
1Attach the ESD-preventive wrist strap to your bare wrist and connect the metal end to the ground
receptacle at the top left corner of the switch front panel.
2Loosen the captive screw at each end of the blank front panel, using a #2 Phillips screwdriver (see
Figure 67).
ASP018

Installing Modules and Establishing Initial Management Access
BlackDiamond 8800 Series Switches Hardware Installation Guide
112
Figure 67: Captive Screw on a BlackDiamond 8800 Series Blank Front Panel
3Remove the blank front panel from the front of the BlackDiamond switch (see Figure 68).
Figure 68: Removing a Blank Front Panel from a BlackDiamond 8800 series Switch
4Install an I/O module or MSM in the open slot as described in “Installing a BlackDiamond 8800
Series Module” on page 102.
NOTE
Leave the ESD-preventive wrist strap permanently connected to the switch, so that the strap is always available
when you need to handle ESD-sensitive components.
ASP019
ASP020

Installing or Removing an External Compact Flash Memory Card
BlackDiamond 8800 Series Switches Hardware Installation Guide 113
Installing or Removing an External Compact Flash
Memory Card
You do not need to power off the system or remove the MSM from the chassis to install or remove an
external compact flash memory card.
You need an ESD-preventive wrist strap to install a compact flash memory card.
To install the memory card:
1Attach the ESD-preventive wrist strap to your bare wrist and connect the metal end to the ground
receptacle on the chassis front panel.
2Locate the compact flash slot on the MSM (see Figure 69).
Figure 69: Typical Compact Flash Slot Location (BlackDiamond 8800 Series MSM)
3Hold the memory card between your thumb and forefinger.
The side with the ridge faces toward the bottom of the chassis.
4Slide the card into the compact flash slot until you feel resistance.; a portion of the card will protrude
from the slot.
5Carefully push the card until it is seated into the slot. The card should be fully inserted, or seated,
inside the slot.
6To verify that the card is fully seated, use the show memorycard command.
To remove the external compact flash memory card:
1Use the eject memorycard command to ensure that you will not lose any data when you remove
the card.
After you use the eject memorycard command, you can physically remove the card from the
external compact flash slot on the MSM. For more information about the eject memorycard
command, see the ExtremeXOS 12.0 Concepts Guide.
2Attach the ESD-preventive wrist strap to your wrist and connect the metal end of the strap to the
ground receptacle on the chassis front panel.
3Locate the black release pin just above the compact flash slot.
4Press the release pin until the card releases from the slot.
The card releases to an intermediate position; the card remains partially inserted but is no longer
seated in the slot.
5Remove the card completely and place it in a safe location.
Compact flash
Console port
ASP038B

Installing Modules and Establishing Initial Management Access
BlackDiamond 8800 Series Switches Hardware Installation Guide
114
Initial Management Access
After your switch has completed all power on self-tests, it is operational. You can log in and configure
an IP address for the default VLAN (named default).
NOTE
In BlackDiamond switches, the management port on the MSM is part of the management VLAN by default. Refer to
“Management Ports” on page 16 for further details.
Connecting Equipment to the Console Port
Connection to the console port is used for direct local management. The console port settings are:
●Baud rate—9600
●Data bits—8
●Stop bit—1
●Parity—None
●Flow control—XON/XOFF
The terminal or PC with terminal-emulation software that you connect to an Extreme Networks switch
must be configured with these settings. This procedure is described in the documentation supplied with
the terminal.
Appropriate cables are available from your local supplier, or you can make your own. To ensure the
electromagnetic compatibility of the unit, use only shielded serial cables. For information about the DB-
9 console plug connector, see “Connector Pinouts” on page 173.
Logging In for the First Time
To log in and manually configure the IP settings:
1Connect a terminal or PC with terminal-emulation software to the MSM on the BlackDiamond
switch or to the console port on the Summit switch.
2At your terminal, press [Return] one or more times until you see the login prompt.
3At the login prompt, enter the default user name admin to log on with administrator privileges. For
example:
login: admin
Administrator capabilities allow you to access all switch functions.
4The system will ask a series of questions about the default management settings, which allow all
forms of management access for convenience in setting the initial configuration. Answer each
question based on the level of security needed for the particular management access type.
NOTE
For more information about logging in to the switch and configuring switch management access, see the
ExtremeXOS 12.1 Concepts Guide.

Initial Management Access
BlackDiamond 8800 Series Switches Hardware Installation Guide 115
5At the password prompt, press [Return].
The default user name admin has no password assigned to it. When you have successfully logged on
to the system, the command line prompt displays the system name (for example,
BlackDiamond12804>) in its prompt.
NOTE
For more information about how to assign a specific system name, see the ExtremeXOS 12.1 Concepts Guide.
6Assign an IP address and subnetwork mask for VLAN default by typing:
configure vlan default ipaddress 123.45.67.8 255.255.255.0
Your changes take effect immediately.
7Save your configuration changes so that they will be in effect after the next system reboot by typing:
save
The configuration is saved to the configuration database of the MSM modules in the switch.
NOTE
For more information about saving configuration changes, see the ExtremeXOS 12.1 Concepts Guide.
8When you are finished with these tasks, log out of the switch by typing:
logout

Installing Modules and Establishing Initial Management Access
BlackDiamond 8800 Series Switches Hardware Installation Guide
116

3Installing BlackDiamond Switch Accessories

BlackDiamond 8800 Series Switches Hardware Installation Guide 119
8Installing BlackDiamond 8800 Series Module
Options
This chapter includes the following sections:
●Installing an S-POE Daughter Card on page 119
●Installing an Option Card in the MSM-48c on page 122
This chapter describes how to install the following optional components on BlackDiamond 8800 series
modules:
●S-POE daughter card on the G48Tc or G48Te2 I/O module
●S-G8Xc or S-10G1Xc port option card in the MSM-48c module
Installing an S-POE Daughter Card
The S-POE daughter card adds PoE functionality to the ports on a G48Tc or G48Te2 I/O module.
You must remove the I/O module from the BlackDiamond 8800 series switch before you install the
S-POE card.
You need the following tools and equipment to install an S-POE card:
●ESD-preventive wrist strap
●#2 Phillips screwdriver
●3/8-inch flat-blade screwdriver
To install the S-POE daughter card:
1Attach the ESD-preventive wrist strap to your bare wrist. If the metal end is not already connected,
connect it to the ground receptacle at the top left corner of the chassis.
2Remove the I/O module from the BlackDiamond 8800 series switch, following the instructions in
“Removing a BlackDiamond 8800 Series Module” on page 109. Set the module on an ESD-preventive
work surface.
3Identify the daughter card connectors on the I/O module (see Figure 70).

Installing BlackDiamond 8800 Series Module Options
BlackDiamond 8800 Series Switches Hardware Installation Guide
120
Figure 70: Daughter Card Connectors on the BlackDiamond G48Tc or G48Te2 I/O Module
4Remove the S-POE card from its anti-static packaging.
5Align the S-POE card with the connectors on the I/O module (see Figure 72). Following the sequence
indicated in Figure 72, carefully press the connectors into place. Make sure that all the connectors
seat securely.
Figure 71: Seating the S-POE Card on the I/O Module
Daughter
card connectors
Daughter
card connectors
PoEcard_seat
12 2
3
3
1

Removing an S-POE Card
BlackDiamond 8800 Series Switches Hardware Installation Guide 121
6Align and finger-tighten the retaining screws, starting with the two middle screws (see Figure 72)
Figure 72: Securing the S-POE Card to the I/O Module
7Re-install the I/O module in the BlackDiamond 8800 series switch following the instructions in
“Installing a BlackDiamond 8800 Series Module” on page 102.
Removing an S-POE Card
To remove an S-POE card:
1Attach the ESD-preventive wrist strap to your bare wrist. If the metal end is not already connected,
connect it to the ground receptacle at the top left corner of the chassis.
2Remove the I/O module from the BlackDiamond 8800 series chassis as described in “Removing a
BlackDiamond 8800 Series Module” on page 109.
3Loosen the spring-loaded captive retaining screws on the S-POE card until they pop up.
If the retaining screws are too tight to loosen by hand, use a 3/8-inch flat-blade screwdriver.
4At each end of the card, grasp the top and bottom edges and carefully lift the card to disengage the
connectors.
5Place the S-POE card on an ESD-preventive work surface or into anti-static packaging.
6If you are replacing the S-POE card, install the replacement card as described in “Installing an S-POE
Daughter Card” on page 119.
7Re-install the I/O module as described in “Installing a BlackDiamond 8800 Series Module” on
page 102.
Tighten first
Tighten second
PoEcard

Installing BlackDiamond 8800 Series Module Options
BlackDiamond 8800 Series Switches Hardware Installation Guide
122
Installing an Option Card in the MSM-48c
The MSM-48c has a slot for one of the following option cards:
●S-G8Xc, which adds eight 1-gigabit SFP data ports to the MSM-48c
●S-10G1Xc, which adds one 10-gigabit XFP data port to the MSM-48c
You need the following tools and equipment to install an option card:
●ESD-preventive wrist strap
●#2 Phillips screwdriver
●#1 Phillips screwdriver
●3/8-inch straight-tip screwdriver
CAUTION
Option cards for the MSM-48c are not hot-pluggable. You must administratively disable the module and remove it
from the switch before you install the option card
To install an option card in the MSM-48c:
1Attach the ESD-preventive wrist strap to your bare wrist and connect the metal end to the ground
receptacle on the top-left corner of the switch chassis.
2Remove the MSM-48c from the switch as described in “Removing a BlackDiamond 8800 Series
Module” on page 109.
3Loosen the retaining screws on the option slot cover plate (Figure 73) and remove the plate.
Figure 73: Option Slot Cover Plate
4Align the option card with the card guides on the module, and carefully slide the option card into
the option slot.
5At the edge of the module, rotate the hot-swap prevention latch up and hold it out of the way. Slide
the option card the rest of the way into the slot (Figure 74).
ASP_051_cover

Installing an Option Card in the MSM-48c
BlackDiamond 8800 Series Switches Hardware Installation Guide 123
Figure 74: Inserting the Option Card
6Release the hot-swap prevention latch and verify that the option card has engaged the alignment
pins and connector at the back of the card.
7At the back of the option card, align and finger-tighten the captive retaining screws to secure the
card in place (Figure 75).
Figure 75: Securing the Option Card
8Re-install the MSM-48c, following the instructions in “Installing a BlackDiamond 8800 Series
Module” on page 102.
Leave the ESD-preventive wrist strap permanently connected to the switch so that it is always available
when you need to touch ESD-sensitive components.
Option card
MSM48c_hsp-latch
Option card
Tighten retaining
screws
MSM48cOptionCarda

Installing BlackDiamond 8800 Series Module Options
BlackDiamond 8800 Series Switches Hardware Installation Guide
124
Removing an MSM Option Card
To remove an option card from an MSM-48c module:
1Attach an ESD-preventive wrist strap to your bare wrist. If the metal end is not already connected,
connect it to the ground receptacle at the top left corner of the chassis.
2Remove the MSM from the BlackDiamond 8800 series switch as described in “Removing a
BlackDiamond 8800 Series Module” on page 109.
3At the back of the option card, loosen the spring-loaded captive retaining screws until they pop up
(see Figure 76).
4At the edge of the module, rotate the hot-swap prevention latch up and hold it out of the way.
Figure 76: Removing an Option Card
5Using the handle on the option card, pull straight back from the MSM to disconnect the option card
from the connectors on the MSM.
6Slide the option card out of the MSM and immediately place it into anti-static packaging.
7If you are installing a replacement option card, install the option card as described in “Installing an
Option Card in the MSM-48c” on page 122.
If you are not installing a replacement option card, install the option slot cover plate over the option
card slot.
8Re-install the MSM, as described in “Installing a BlackDiamond 8800 Series Module” on page 102.
Option card
Loosen retaining
screws
MSM48c_remove_opt_card

BlackDiamond 8800 Series Switches Hardware Installation Guide 125
9BlackDiamond AC Power Cord Retaining
Brackets
The AC power cord retaining brackets for BlackDiamond switches hold the power connectors in the
power sockets and prevent accidental disconnection due to earthquakes, vibration, or other
disturbances. Power cord retaining brackets are provided with the BlackDiamond 8800 series switches.
This chapter includes the following sections:
●BlackDiamond 8810 AC Power Cord Retaining Bracket on page 125
●BlackDiamond 8806 AC Power Cord Retainer Channel on page 128
WARNING!
These BlackDiamond switches do not have a switch for turning the power of the unit on and off. Power to the switch
is disconnected by removing the wall plug from the electrical outlet. Always be sure that all plugs and electrical
outlets are easily accessible.
BlackDiamond 8810 AC Power Cord Retaining Bracket
Connect all AC power cords before you install the power cord retaining bracket.
You need the following tools and equipment to install or remove the AC power cord retaining bracket:
●ESD-preventive wrist strap
●#2 Phillips screwdriver
Installing the BlackDiamond 8810 AC Power Cord Retaining
Bracket
To install the BlackDiamond 8810 AC power cord retaining bracket:
1Attach the ESD-preventive wrist strap to your bare wrist and connect the metal end to the ground
receptacle on the top-left corner of the BlackDiamond 8810 chassis.
2Locate the power outlets on the front of the BlackDiamond 8810 switch (see Figure 77).
Figure 77: Power Outlets on the BlackDiamond 8810 Switch
ASP008

BlackDiamond AC Power Cord Retaining Brackets
BlackDiamond 8800 Series Switches Hardware Installation Guide
126
3Connect each AC power cord to a power outlet on the BlackDiamond 8810 switch as shown in
Figure 78.
Figure 78: Connecting an AC Power Cord to the BlackDiamond 8810 Switch
4Make sure that each AC power cord is firmly plugged into the power outlet as shown in Figure 79.
Figure 79: AC Power Cord Plugged into the BlackDiamond 8810 Switch Power Outlet
5Align the BlackDiamond 8810 AC power cord retaining bracket over the AC power cord ends as
shown in Figure 80.
Figure 80: AC Power Cord Retaining Bracket Correctly Aligned
ASP009
ASP010
ASP012A
REMOVE TO INSTALL POWER CORDS

BlackDiamond 8810 AC Power Cord Retaining Bracket
BlackDiamond 8800 Series Switches Hardware Installation Guide 127
6Tighten the captive screws in the middle and on each end of the power cord retaining bracket (see
Figure 81).
Figure 81: Securing the BlackDiamond 8810 AC Power Cord Retaining Bracket
7To power the system on, connect the other end of each installed AC power cord to the power source.
NOTE
Leave the ESD-preventive wrist strap permanently connected to the switch so that it is always available when you
need to touch ESD-sensitive components.
Disconnecting a BlackDiamond 8810 AC Power Cord
To disconnect a BlackDiamond 8810 AC power cord:
1Attach the ESD-preventive wrist strap to your bare wrist and connect the metal end to the ground
receptacle on the top left corner of the switch chassis.
2Disconnect the AC power cord from the power source.
3Loosen the captive screws in the middle and on each end of the BlackDiamond AC power cord
retaining bracket, using a #2 Phillips screwdriver.
4Remove the BlackDiamond AC power cord retaining bracket from the front of the switch.
5Remove the end of the AC power cord from the power outlet(s) on the front of the switch.
NOTE
Leave the ESD-preventive wrist strap permanently connected to the switch so that it is always available when you
need to touch ESD-sensitive components.
ASP012B
REMOVE TO INSTALL POWER CORDS

BlackDiamond AC Power Cord Retaining Brackets
BlackDiamond 8800 Series Switches Hardware Installation Guide
128
BlackDiamond 8806 AC Power Cord Retainer Channel
Connect all AC power cords before you install the power cord retaining bracket.
You need the following tools and equipment before installing or removing the BlackDiamond 8806 AC
power cord retainer channel:
●ESD-preventive wrist strap
●#2 Phillips screwdriver
Installing the BlackDiamond 8806 AC Power Cord Retainer
Channel
To install the BlackDiamond 8806 AC power cord retainer channel:
1Attach the ESD-preventive wrist strap to your wrist and connect the metal end to the ground
receptacle on the top-left corner of the switch front panel.
2Starting at the left, insert the plug of each AC power cord into the power connectors on the switch,
and lift each installed power cord over the previous plug (see Figure 82).
Verify that all installed AC power cords are firmly plugged into the power connectors.
Figure 82: Installing and Routing the AC Power Cords
EX_138
Starting at the left, insert each plug
and lift power cord over previous plug

BlackDiamond 8806 AC Power Cord Retainer Channel
BlackDiamond 8800 Series Switches Hardware Installation Guide 129
3Hold the AC power cord retainer channel as shown in Figure 83.
Figure 83: BlackDiamond 8806 AC Power Cord Retainer Channel
4Place the retainer channel against the switch as shown in Figure 84. Tighten the captive screw at each
end of the channel.
Figure 84: Securing the BlackDiamond 8806 AC Power Cord Retainer Channel
5Starting from the left, lay the first four power cords into the channel (see Figure 85).
6Lay the last two power cords on top of the bottom four cords (see Figure 85).
EX_141
Captive screw
Captive screw
EX_139
Install and secure the channel bracket to
the switch by tightening both captive screws
Captive screw
Captive screw

BlackDiamond AC Power Cord Retaining Brackets
BlackDiamond 8800 Series Switches Hardware Installation Guide
130
Figure 85: Routing the Power Cords in the Channel
NOTE
Leave the ESD-preventive wrist strap permanently connected to the switch, so that the strap is always available
when you need to handle ESD-sensitive components.
Removing the BlackDiamond 8806 AC Power Cord Retainer
Channel
To remove the BlackDiamond 8806 AC power cord retainer channel:
1Attach the ESD-preventive wrist strap to your wrist and connect the metal end to the ground
receptacle on the top-left corner of the switch front panel.
2Using a #2 Phillips screwdriver, loosen the captive screw located on each end of the AC power cord
retainer channel.
3Remove the retainer channel from the switch.
NOTE
Leave the ESD-preventive wrist strap permanently connected to the switch, so that the strap is always available
when you need to handle ESD-sensitive components.
From the left, lay first four
power cords into channel bracket
Lay last two power cords
onto others

BlackDiamond 8800 Series Switches Hardware Installation Guide 131
10 BlackDiamond Cable Management
This chapter includes the following sections:
●About BlackDiamond Cable Management on page 131
●Using the Cable Holders and Cable Clips on page 131
The BlackDiamond cable holders and cable clips provide a way to organize and contain masses of
cables connected to a BlackDiamond switch. This chapter describes how to install and use these cable
management accessories.
About BlackDiamond Cable Management
Interlocking cable holders and cable clips for the BlackDiamond switches provide free-standing, rigid
structural support for individual cables and cable bundles in front of the switch. You can use the cable
holders and cable clips individually or connect them together to manage multiple cable bundles.
The cable management accessories keep cables collected in one place, rather than allowing them to hang
freely. If you must remove a module from the chassis for replacement or repair, the cable clips and
holders maintain the cable arrangement in front of the chassis for ease of connection when you reinsert
the module.
Using the Cable Holders and Cable Clips
When you use the cable holders and the cable clips, Extreme Networks recommends the following:
●Attach the cables to the holders by slipping the cable through the opening.
●Connect the cable holders, if you need more than one. (Refer to “Connecting Cable Holders” on
page 132.)
●If you need more than one cable clip for a bundle, connect the clips together before you route the
cables through the clips. (Refer to “Connecting Cable Clips” on page 133.)
●To form a cable bundle, thread the cables through the clips.
Figure 86 shows the cable holders and clips being used to manage a group of cables.

BlackDiamond Cable Management
BlackDiamond 8800 Series Switches Hardware Installation Guide
132
Figure 86: BlackDiamond cable holders and clips
Connecting Cable Holders
Each cable holder holds up to 12 separate cables, with 6 on each side. Connect cable holders end to end
as needed to accommodate the number of cables you need to organize.
To connect the cable holders:
1Hold two cable holders as shown in Figure 87.
Make sure that one locking tab at the joint is on top and the other is on the bottom.
Figure 87: Connecting cable holders
Interlocking
cable holder
and cable clips
ENIN005A
Side view
Cable
holder
Cable
clips
ENIN003

Using the Cable Holders and Cable Clips
BlackDiamond 8800 Series Switches Hardware Installation Guide 133
2Slide the ends together and push the cable holders together until you feel them snap into place (see
Figure 88).
Figure 88: Connected cable holders
3Connect as many cable holders together as you need to manage your cable bundles.
4To disconnect the holders, grasp one in each hand firmly and carefully pull them apart.
Connecting Cable Clips
To connect the cable clips:
1Hold two clips next to each other with the split sides facing the same way (see Figure 89).
2Slide the connecting grooves together (see Figure 89).
Figure 89: Connecting cable clips
ENIN004
ENIN001A

BlackDiamond Cable Management
BlackDiamond 8800 Series Switches Hardware Installation Guide
134
3Press the clips together until l the connectors lock into place (see Figure 90).
Figure 90: Cable clip chain
4Connect as many cable clips together as you need to manage your cable bundles.
5To disconnect the cable clips, push on the bottom ring while holding the top ring steady.
ENIN002A

BlackDiamond 8800 Series Switches Hardware Installation Guide 135
4BlackDiamond Maintenance Procedures

BlackDiamond 8800 Series Switches Hardware Installation Guide
136

BlackDiamond 8800 Series Switches Hardware Installation Guide 137
11 Replacing BlackDiamond 8800 Series Chassis
Components
This chapter provides instructions for replacing components in the BlackDiamond 8800 series switches
and includes the following sections:
●Replacing the Fan Tray on page 137
●Replacing the PSU/Fan Controller on page 140
This chapter describes how to remove and replace a fan tray or a PSU/fan controller in the following
BlackDiamond switches:
●BlackDiamond 8810 switch
●BlackDiamond 8806 switch
Replacing the Fan Tray
The BlackDiamond 12804 switch has one fan tray that is accessible from the front of the switch.
NOTE
To avoid long periods of operation without forced air cooling, make sure you have the replacement fan tray ready
before you start the replacement procedure.
Pre-Installation Requirements
You need the following tools and equipment to remove and replace a fan tray in a BlackDiamond 8800
series switch:
●ESD-preventive wrist strap
●#2 Phillips screwdriver
●Replacement BlackDiamond 8800 series fan tray
Removing the Fan Tray
To remove a fan tray from the BlackDiamond 8800 series switch:
1Attach the ESD-preventive wrist strap to your bare wrist and connect the metal end to the ground
receptacle on the top left corner of the switch chassis.
2Locate the captive screws at the top and bottom of the fan tray.
3Using a #2 Phillips screwdriver, loosen each captive screw (see Figure 91 and Figure 92).

Replacing BlackDiamond 8800 Series Chassis Components
BlackDiamond 8800 Series Switches Hardware Installation Guide
138
Figure 91: Removing the Fan Tray from the BlackDiamond 8810 Switch
Figure 92: Removing the Fan Tray from the BlackDiamond 8806 Switch
4Use the fan tray handle to pull the fan tray half-way out from the fan tray slot. This action
disconnects the fan tray from the switch power.
Wait for the fan blades to stop turning before continuing with this procedure.
WARNING!
Be sure that all fan blade motion has ceased before continuing to remove the fan tray.
5Support the bottom of the fan tray with your free hand as you use the handle to slide the fan tray
completely out from the fan tray slot.
ASP031A
Fan Tray
Handle
Fan Tray
Captive
Screws (x2)
EX_114
Fan tray
handle
Fan tray
captive
screws (x2)

Replacing the Fan Tray
BlackDiamond 8800 Series Switches Hardware Installation Guide 139
CAUTION
Be sure that both hands are used to support the weight of the fan tray during removal.
NOTE
Leave the ESD-preventive wrist strap permanently connected to the switch so that it is always available when you
need to touch ESD-sensitive components.
Installing the Replacement BlackDiamond 8800 Series Fan Tray
To install a replacement fan tray into the BlackDiamond 8800 series switch:
1Attach the ESD-preventive wrist strap to your bare wrist and connect the metal end to the ground
receptacle on the top left corner of the switch.
2Support the bottom of the fan tray with one hand as you lift the fan tray by the handle using the
other hand. Align the spare fan tray with the fan tray slot on the switch, and then slide the fan tray
into place in the switch (see Figure 93 and Figure 94).
CAUTION
Always use both hands to support the weight of the fan tray during installation.
Figure 93: Installing the Fan Tray in the BlackDiamond 8810 Switch
ASP030A
Fan Tray
Handle
Fan Tray
Captive
Screws (x2)

Replacing BlackDiamond 8800 Series Chassis Components
BlackDiamond 8800 Series Switches Hardware Installation Guide
140
Figure 94: Installing the Fan Tray in the BlackDiamond 8806 Switch
3Use a #2 Phillips screwdriver to tighten the screws (Figure 93).
Leave the ESD-preventive wrist strap permanently connected to the switch so that it is always available
when you need to touch ESD-sensitive components.
Replacing the PSU/Fan Controller
The BlackDiamond 8800 series switch has two PSU/fan controllers behind an access panel on the rear of
the switch chassis.
NOTE
If your system is running ExtremeXOS version 11.2.1.3 or later, you can hot swap the PSU/fan controller unit. Refer
to the ExtremeXOS 12.1 Concepts Guide for complete information about upgrading software.
Pre-installation Requirements
Make sure that you have access to the back of the switch. You need the following tools and equipment
to replace a BlackDiamond 12804 PSU/fan controller:
●ESD-preventive wrist strap
●#1 Phillips screwdriver
●#2 Phillips screwdriver
●Replacement BlackDiamond 8800 series PSU/fan controller
EX_115
Fan tray
handle
Fan tray
captive
screws (x2)

Replacing the PSU/Fan Controller
BlackDiamond 8800 Series Switches Hardware Installation Guide 141
Removing the PSU/Fan Controller
To remove a PSU/fan controller from the BlackDiamond 8800 series switch:
1Attach the ESD-preventive wrist strap to your wrist and connect the metal end to the ground
receptacle on the front top-left corner of the switch.
2Locate the eight captive screws on the PSU/fan controller access cover at the back of the
BlackDiamond 8800 series switch (see Figure 95 and Figure 96).
Figure 95: Removing the Access Cover from the BlackDiamond 8810 Switch
ASP032B
Loosen Captive
Screws (x8)
Remove PSU
Control Card
Access Panel
Cover
PSU Control
Card Access Panel

Replacing BlackDiamond 8800 Series Chassis Components
BlackDiamond 8800 Series Switches Hardware Installation Guide
142
Figure 96: Removing the Access Cover from the BlackDiamond 8806 Switch
3Using a #2 Phillips screwdriver, loosen all eight captive screws on the PSU/fan controller access
cover.
4Pull the access cover away from the back of the switch.
The PSU/fan controllers are visible in the controller recess.
5Locate the four captive screws on the PSU/fan controller you are replacing (see Figure 97)
Figure 97: Removing the PSU/Fan Controller (BlackDiamond 8806 Switch shown)
BD_169
PSU/Fan
Controllers
BD_170

Replacing the PSU/Fan Controller
BlackDiamond 8800 Series Switches Hardware Installation Guide 143
6Using a #1 Phillips screwdriver, loosen all four captive screws on the PSU/fan controller.
7Pull equally on the upper and lower handles of the PSU/fan controller to disconnect the controller
connector.
Leave the ESD-preventive wrist strap permanently connected to the switch, so that the strap is always
available when you need to handle ESD-sensitive components.
Installing the Replacement PSU/Fan Controller
To install a replacement PSU/fan controller in the BlackDiamond 12804 switch:
1Attach the ESD-preventive wrist strap to your bare wrist and connect the metal end to the ground
receptacle on the front top-left corner of the switch.
2Align the guide pins in the empty controller recess with the holes on the replacement PSU/fan
controller.
3Push the replacement PSU/fan controller into the empty controller recess until the four captive
screws on the replacement controller are in alignment.
4Using a #1 Phillips screwdriver, tighten all four captive screws on the replacement controller.
5Align the guide pins on the access cover with the holes at the edges of the controller recess.
6Push the access cover over the controller recess until the captive screws on the access cover are in
alignment.
7Using a #2 Phillips screwdriver, tighten all the captive screws on the access cover.
Leave the ESD-preventive wrist strap permanently connected to the switch, so that the strap is always
available when you need to handle ESD-sensitive components.

Replacing BlackDiamond 8800 Series Chassis Components
BlackDiamond 8800 Series Switches Hardware Installation Guide
144

BlackDiamond 8800 Series Switches Hardware Installation Guide 145
12 Repacking a BlackDiamond 8800 Series
Chassis
This chapter includes the following sections:
●Safety Information on page 145
●Repacking the BlackDiamond 8810 Chassis on page 146
●Repacking the BlackDiamond 8806 Chassis on page 150
The chapter describes how to remove a BlackDiamond 8800 series chassis from an equipment rack and
repack the chassis for shipping back to Extreme Networks. To repack a BlackDiamond 8800 series
chassis, use the original shipping crate or box and packing materials.
NOTE
Read the information in this chapter thoroughly before you attempt to remove a BlackDiamond 8800 series chassis.
Safety Information
CAUTION
Correct lifting procedures for a BlackDiamond chassis require two or more people.
Only trained service personnel should perform service to Extreme Networks switches and their
components. Trained service personnel have read all related installation manuals, have the technical
training and experience necessary to be aware of the hazards to which they are exposed in performing a
task, and are aware of measures to minimize the danger to themselves or other persons.
NOTE
See Appendix A, “Safety Information” for additional safety information and Appendix B, “Technical Specifications”
for additional information regarding regulatory compliance certifications.
CAUTION
Before you lift a BlackDiamond 8800 series chassis, make sure the chassis is empty to prevent unnecessary weight.
This will also prevent damage to the system components due to possible system chassis flex when lifting.
Required Tools and Equipment
You need the following tools and equipment to repack a BlackDiamond 8800 series chassis:
●ESD-preventive wrist strap
●Helper bracket that was shipped with the chassis

Repacking a BlackDiamond 8800 Series Chassis
BlackDiamond 8800 Series Switches Hardware Installation Guide
146
●Four rack-mount screws appropriate to your organization’s equipment rack
●Screwdriver appropriate to the rack-mount screws
●Original packing materials from the chassis
●Packing tape
●Nylon strapping and crimping tool
Repacking the BlackDiamond 8810 Chassis
To repack the BlackDiamond 8810 chassis:
1Attach the ESD-preventive wrist strap to your bare wrist and connect the metal end to the ground
receptacle on the chassis front panel.
2Remove all modules and power supplies from the chassis. Follow correct Extreme Networks
procedures for removing components.
3Using four mounting screws, attach the helper bracket to the system rack immediately below the
chassis.
4Remove the eight mounting screws that secure the chassis to the system rack.
5On each side of the chassis, place one hand in the empty power supply bay and the other hand in
the recessed hand-hold on the back panel of the chassis (see Figure 98).
CAUTION
Do not use the fan tray handle to lift or maneuver the BlackDiamond 8810 chassis. This handle is not designed to
support the weight of the chassis.
6Slowly guide the chassis out of the system rack using the helper bracket for support.
7Carefully lift the chassis off the helper bracket and lower it onto wood pallet (see Figure 98).

Repacking the BlackDiamond 8810 Chassis
BlackDiamond 8800 Series Switches Hardware Installation Guide 147
Figure 98: Correct Method for Lifting the BlackDiamond 8810 Chassis
ASP017A

Repacking a BlackDiamond 8800 Series Chassis
BlackDiamond 8800 Series Switches Hardware Installation Guide
148
8Attach all four restraining bolts to the four shipping brackets, securing the BlackDiamond 8810
chassis to the shipping pallet (see Figure 99).
Figure 99: Recrating the BlackDiamond 8810 Chassis
9Slide the shipping carton down over the BlackDiamond 8810 chassis.
10 Insert the clip locks (see Figure 100).
aPlace your thumb and index finger inside the clip lock to grasp the prongs.
bSqueeze the prongs inward applying equal pressure on each side.
cPush the prongs inward until the clip lock is secured to the carton.
dRepeat these steps to insert each remaining clip lock.
Figure 100: Clip Locks on the BlackDiamond 8810 Shipping Carton
ASP016A
Install 4 bolts
securing chassis
to pallet
Slide carton
down over
chassis
EX_087B
Clip lock Open
lock
Squeeze prongs
to unlock

Repacking the BlackDiamond 8810 Chassis
BlackDiamond 8800 Series Switches Hardware Installation Guide 149
11 Place the packing foam on top of the BlackDiamond 8810 chassis (see Figure 101).
Figure 101: Packing Foam in the BlackDiamond 8810 Shipping Carton
12 Close the top flaps on the shipping carton and seal them with packing tape.
13 Secure the BlackDiamond 8810 shipping carton with nylon straps (see Figure 102).
Figure 102: BlackDiamond 8810 Shipping Carton with Nylon Straps
ASP024A
ASP026

Repacking a BlackDiamond 8800 Series Chassis
BlackDiamond 8800 Series Switches Hardware Installation Guide
150
Repacking the BlackDiamond 8806 Chassis
To repack the BlackDiamond 8806 chassis:
1Attach the ESD-preventive wrist strap to your bare wrist and connect the metal end to the ground
receptacle on the chassis front panel.
2Remove all modules and power supplies from the BlackDiamond 8806 chassis. Follow correct
Extreme Networks procedures for removing components.
3Using four rack mounting screws, attach the 19-inch helper bracket to the system rack immediately
below the chassis.
4Remove the eight rack mounting screws that secure the chassis to the system rack.
5On each side of the chassis, place one hand in the empty power supply bay and the other hand in
the recessed hand-hold on the back panel of the chassis.
CAUTION
Do not use the fan tray handle to lift or maneuver the BlackDiamond 8806 chassis. This handle is not designed to
support the weight of the chassis.
6Slowly guide the chassis out of the system rack using the helper bracket for support.
7Carefully lift the chassis off the helper bracket and lower it onto the foam cushion in the shipping
carton base (see Figure 103.)
Figure 103: Setting the BlackDiamond 8806 Chassis onto the Foam Cushion
EX_129

Repacking the BlackDiamond 8806 Chassis
BlackDiamond 8800 Series Switches Hardware Installation Guide 151
8Slide the top of the BlackDiamond shipping carton down and over the BlackDiamond 8806 chassis
(see Figure 104).
Figure 104: Placing the Carton over the BlackDiamond 8806 Chassis
9Insert the clip locks (see Figure 105).
aPlace your thumb and index finger inside the clip lock to grasp the prongs.
bSqueeze the prongs inward, applying equal pressure on each side.
cPush the prongs inward until the clip lock is secured onto the carton.
Repeat these steps to insert each of the remaining clip locks.
CAUTION
Proper installation of the clip locks is critical for safe shipment of the BlackDiamond 8806 chassis. Make sure that
the clip locks are secure and accurately installed.
Figure 105: Clip Locks on the BlackDiamond 8806 Chassis Shipping Carton
ASP016a
EX_121
Place box
over
chassis
Insert & close
4 clip locks
to secure box
EX_111A
Clip lock
Open
lock
Squeeze prongs
to unlock

Repacking a BlackDiamond 8800 Series Chassis
BlackDiamond 8800 Series Switches Hardware Installation Guide
152
10 Place the packing foam material on top of the chassis as shown in Figure 106.
Figure 106: Packing Foam in the BlackDiamond 8806 Chassis Shipping Carton
11 Close the top flaps on the shipping carton and seal them with packing tape.
12 Secure the shipping carton with nylon straps (see Figure 107).
NOTE
Nylon straps are optional but are recommended by Extreme Networks for extra security during shipment. The
installation of nylon straps requires a crimping tool. If you do not have nylon straps and a crimping tool available to
secure the carton, the chassis can be shipped without the straps; however, it is critical that the clip locks be secure
before shipment.
Figure 107: Nylon Straps Around BlackDiamond 8806 Chassis Shipping Carton
EX_110B
EX_113

5Appendixes

BlackDiamond 8800 Series Switches Hardware Installation Guide 155
ASafety Information
WARNING!
Read the following safety information thoroughly before installing Extreme Networks products. Failure to follow this
safety information can lead to personal injury or damage to the equipment.
Only trained service personnel should perform service to Extreme Networks switches and their
components. Trained service personnel have read all related installation manuals, have the technical
training and experience necessary to be aware of the hazards to which they are exposed in performing a
task, and are aware of measures to minimize the danger to themselves or other persons.
Considerations Before Installing
Consider the following items before installing equipment.
●The system is designed to operate in a typical environmentally controlled Telco environment. Choose
a site that has the following characteristics:
●Temperature- and humidity-controlled, such that the maximum ambient room temperature shall
not exceed 40ºC (104ºF)
●Clean and free from airborne materials that can conduct electricity.
●Well ventilated and away from sources of heat including direct sunlight.
●Away from sources of vibration or physical shock.
●Isolated from strong electromagnetic fields produced by electrical devices.
●Secured, enclosed, and restricted-access, ensuring that only trained and qualified service
personnel have access to the equipment.
●Establish at least 3 inches clearance on all sides for effective ventilation. Do not obstruct the air
intake vent on the front, side, or rear ventilation grills. Locate the system away from heat sources.
●Make sure that your equipment is placed in an area that accommodates the power consumption and
component heat dissipation specifications.
●Make sure that your power supplies meet the site power or AC power requirements of all network
equipment.
●In regions that are susceptible to electrical storms, we recommend that you plug your system into a
surge suppressor.
Installing Power Supply Units
For the ratings and power requirements of each power supply unit, see Appendix B, “Technical
Specifications” or the data sheet for the power supply at http://www.extremenetworks.com.

Safety Information
BlackDiamond 8800 Series Switches Hardware Installation Guide
156
WARNING!
Be sure that the requirements listed in this section are satisfied when installing all Extreme Networks power
supplies.
When you install power supplies:
●Plug power supplies only into properly grounded electrical outlets to help prevent electrical shock
and comply with international safety standards.
●Use only power cords that are certified for use within the country of use. Do not attempt to modify
AC power cords.
●The wall outlet must be installed near the equipment and be easily accessible for quick disconnect.
●Make sure the voltage and frequency of your power outlet match the system electrical ratings for the
equipment. The building and/or power source must provide overload protection.
●Use a surge suppressor, line conditioner, or uninterruptible power supply to protect the system from
momentary increases or decreases in electrical power.
●When inserting a hot-swappable power supply into the bay, do not use excessive force.
●If multiple power supplies are used in a switch, connect each power supply to a different,
independent power source. If a single power source fails, it will affect only that power supply to
which it is connected. If all the power supplies on a single switch are connected to the same power
source, the entire switch is vulnerable to a power failure.
WARNING!
Extreme Networks DC PSUs do not have switches for turning the unit on and off. Make sure that the DC circuit is
de-energized before connecting or disconnecting the DC power cord at the DC power socket on the Extreme
Networks DC PSU.
Wiring the DC PSU DC power cord to your facility DC source voltage must be performed by a qualified, licensed
electrician.
Do not connect the power supply to an electrical outlet when the power supply is outside the chassis; doing so
would expose a hazardous energy and poses a potential shock and fire hazard.
Do not put your hand into an open power supply bay when a power supply is not present. Empty power supply bays
require a cover plate at all times.
Maintenance Safety
When you perform maintenance procedures on Extreme Networks equipment, follow these
recommendations:
●Use only original accessories or components approved for use with this system. Failure to follow
these instructions may damage the equipment or violate required safety and EMC regulations.
●The chassis cover should only be removed by Extreme Networks personnel. There are no customer
serviceable components in this system. Repairs to the system must be performed by an Extreme
Networks factory service technician.
●In systems that have power-on buttons, the power on button may not turn off all system power. To
remove power from the system, you must unplug all power cords from wall outlets. The power cord
is the disconnect device to the main power source.

General Safety Precautions
BlackDiamond 8800 Series Switches Hardware Installation Guide 157
●Disconnect all power before removing the back panel of any Extreme Networks switch, unless
otherwise instructed by a product specific maintenance procedure.
●Disconnect all power cords before working near power supplies, unless otherwise instructed by a
product-specific maintenance procedure.
●When you handle modules, optic devices, power supplies, or other modular accessories put on an
ESD-preventive wrist strap to reduce the risk of electronic damage to the equipment. Connect the
other end of the strap to the ESD connector on the front of the chassis. Leave the ESD-preventive
wrist strap permanently attached to the chassis so that it is always available when you need to
handle ESD-sensitive components.
●Install all cables in a manner that avoids strain. Use tie wraps or other strain relief devices.
●Replace power cord immediately if it shows any signs of damage.
General Safety Precautions
Follow these guidelines:
●Do not attempt to lift objects that you think are too heavy for you.
●When you install equipment in a rack, load heavier devices in the lower half of the rack first to
avoid making the rack top-heavy.
●Only use tools and equipment that are in perfect condition. Do not use equipment with visible
damage.
●Routing cables: Route cables in a manner that prevents possible damage to the cables and avoids
causing accidents, such as tripping.
Cable Routing for LAN Systems
The BlackDiamond 8800 series switches meet the requirements for LAN system equipment. LAN
systems are designed for intra-building installations; that is, cable runs between devices must be in the
same building as the connected units.
This equipment can be connected between buildings if any one of the following conditions is true:
●Cable runs between buildings are less than 140 feet long.
●Cable runs between buildings are directly buried.
●Cable runs between buildings are in an underground conduit, where a continuous metallic cable
shield or a continuous metallic conduit containing the cable is bonded to each building grounding
electrode system.
CAUTION
Failure to follow these requirements for cable routing conditions may expose the user to electrical shock and expose
the unit to errors or damage.

Safety Information
BlackDiamond 8800 Series Switches Hardware Installation Guide
158
PoE Devices
When connecting power over Ethernet (PoE) devices to a PoE switch, all connections between the PoE
device and the switch must remain inside the same building and use a low-voltage power distribution
system per IEEE 802.3af.
Selecting Power Supply Cords
Extreme Networks provides power input cords shipped in the product box for use in the US and
Canada. Power supply cords for use outside of the United States and Canada are typically provided
separately by third-party distribution centers. Contact the Extreme Networks TAC for questions
regarding the proper selection of a power input cord for your specific switch.
The following are power cord requirements for use on Extreme switches:
Black Diamond SSI AC PSU Model 60020:
●Wire: 16 AWG (1.31 mm2) minimum, 3-conductor flexible cable, Type SVT, SJT, HAR or equivalent,
no longer then 10ft
●Wall plug: Suitable for use in country of installation & approved by local regulatory authority
●Device connector: IEC320-C13, 90 degree angle, rated at 15 A, 250 VAC
●Power cord assembly: Must be rated at 10A by in-country regulatory authority
Black Diamond SSI DC PSU, Model 60021:
●Wire: UL LISTED Type TC (Tray Cable), three conductor, 8 AWG, jacketed, and marked (UL) TC, 90C
min
NOTE
Tray Cable is a UL US only requirement. Outside United States standard 8 AWG (8.35mm2), 90C wire is
acceptable.
●Wall plug: N/A, 3-conductor wires have been stripped and are ready for connection to DC power
source mains
●Device Connector: Molex Shell Connector PN 42816-0312; Molex Pin Connectors PN 42815-0032
●Assembly Rating: 75VDC, 30A, (Do not disconnect under load)
WARNING!
When using multiple power supplies, make sure that each power supply is attached to independent circuits breakers.
See PS installation instructions of PS for proper sizing of circuit breaker.
Make sure that the source outlet is properly grounded according to the country’s local electrical requirements before
plugging the AC supply power cord into a PSU.
For specific product input power requirements refer to the data sheet of the product or modular PSU at http://
www.extremenetworks.com or to Appendix B of this guide.

Battery Replacement and Disposal
BlackDiamond 8800 Series Switches Hardware Installation Guide 159
The following countries have specific safety instructions concerning power connectors:
●Argentina: The supply plug must comply with Argentinean standards.
●Australia: Use AS 3112 for 110/220 VAC power supplies.
●Denmark: The supply plug must comply with section 107-2-D1, standard DK2-1a or DK2-5a.
●International: Use CEE 7/7 for 110/220 VAC power supplies.
●Japan:
●Use JIS 8303 for 110/220 VAC power supplies.
●The power cord provided with the power supply, switch, or chassis is for use only with that
specific product from Extreme Networks; it is not for use with any other product from Extreme
Networks or any other vendors' equipment.
●North America: The cord set must be cULus listed or cCSAus listed.
●Switzerland: The supply plug must comply with SEV/ASE 1011.
●United Kingdom: Use BS 1363 for 110/220 VAC power supplies.
NOTE
This equipment is not intended to be directly powered by power distribution systems where phase-phase voltages
exceed 240V AC (2P+PE), such as those used in Norway, France, and other countries. For these applications it is
recommended that a transformer be used to step down the voltage to < 240V AC from phase-phase, or that you
make a connection to a (P+N+PE) power distribution where voltages do not exceed 240V AC.
All installations should confirm that the product is reliably grounded according to the country’s local electrical
codes.
NOTE
Building codes vary worldwide; therefore, Extreme Networks strongly recommends that you consult an electrical
contractor to ensure proper equipment grounding and power distribution for your specific installation & country.
Battery Replacement and Disposal
Batteries included with Extreme products are encapsulated and must be replaced by qualified Extreme
Service personnel only. Contact your Extreme Service personnel for product replacement. Do not
attempt to replace the battery. If these instructions are disregarded and replacement of these batteries is
attempted, the following guidelines must be followed to avoid danger of explosion:
1Replace with same or equivalent battery type as recommended by the battery manufacturer.
2Dispose of battery in accordance with the battery manufacturer’s recommendation.
Fiber Optic Ports—Optical Safety
The following safety warnings apply to all optical devices used in Extreme Networks equipment that
are removable or directly installed in an I/O module or chassis system. Such devices include but are not
limited to gigabit interface converters (GBICs), small form factor pluggable (SFP) modules (or mini-
GBICs), XENPAK transceivers, and XFP laser optic modules.

Safety Information
BlackDiamond 8800 Series Switches Hardware Installation Guide
160
WARNING!
Laser optic modules become very hot after prolonged use. Take care when removing a laser optic module from the
chassis or option card. If the laser optic module is too hot to touch, disengage the laser optic module and allow it to
cool before removing it completely.
WARNING!
When working with laser optic modules, always take the following precautions to avoid exposure to hazardous
radiation.
●
Never look at the transmit LED/laser through a magnifying device while it is powered on.
●
Never look directly at a fiber port on the switch or at the ends of a fiber cable when they are powered on.
●
Invisible laser radiation can occur when the connectors are open. Avoid direct eye exposure to the beam
when optical connections are unplugged.
●
Never alter, modify, or change an optical device in any way other than suggested in this document.
GBIC, SFP (Mini-GBIC), XENPAK, and XFP Regulatory Compliance
Extreme Networks pluggable optical modules meet the following regulatory requirements:
●Class 1 Laser Product
●EN60825-1+A2:2001 or later, European laser standard
●FCC 21 CFR Chapter 1, Subchapter J in accordance with FDA & CDRH requirements
●Application of CE Mark in accordance with 89/336/EEC EMC and 73/23/EEC Low Voltage
Directives
●UL and/or CSA registered component for North America
●47 CFR Part 15, Class A when installed into Extreme products
NOTE
Extreme Networks optical modules are tested to work in all supported Extreme Networks switches. We recommend
that all customers use Extreme Networks optical modules in their Extreme Networks switches. Extreme Networks
assumes no liability for third-party optical modules. While Extreme Networks does not block third-party optical
modules, we cannot ensure that all third-party optical modules operate properly in all Extreme Networks switches.
The customer assumes all risks associated with using third-party optical modules in Extreme Networks switches.

Fiber Optic Ports—Optical Safety
BlackDiamond 8800 Series Switches Hardware Installation Guide 161
Sicherheitshinweise
Vor der Installation der Produkte von Extreme Networks sind die nachfolgenden Sicherheitshinweise aufmerksam zu
lesen. Die Nichtbeachtung dieser Sicherheitshinweise kann zu Verletzungen oder Schäden an der Ausrüstung führen.
Installation, Wartung und Ausbau eines Switch, einer Grundplatte oder einer seiner Komponenten
dürfen nur von geschultem und qualifiziertem Servicepersonal durchgeführt werden! Geschulte und
qualifizierte Servicetechniker verfügen über die erforderliche technische Ausbildung und Erfahrung, um
mögliche Gefahren bei der Durchführung von Servicearbeiten zu erkennen und Maßnahmen zur
Minimierung der Gefahr für sich bzw. andere zu treffen.
Hinweise zur Installation
Beachten Sie vor der Installation der Ausrüstung folgende Punkte.
Stellen Sie sicher, dass die nachfolgend aufgeführten Bedingungen erfüllt sind:
●Das System ist für den Einsatz in einer typischen Umgebung gemäß Telco-Vorgaben vorgesehen.
Wählen Sie einen Aufstellort mit den folgenden Eigenschaften:
■Innenbereich mit Temperatur- und Feuchtigkeitsregelung, wobei die maximale
Raumtemperatur 40°C (104ºF) nicht überschreiten darf.
■Sauber und frei von elektrisch aufladbaren Teilchen in der Luft.
■Ausreichende Belüftung und Abstand zu Wärmequellen, einschließlich direktem Sonnenlicht
■Ausreichender Abstand zu Quellen, die Erschütterungen oder Schläge/Stöße hervorrufen
können
■Isolierung von starken elektromagnetischen Feldern, wie sie durch Elektrogeräte erzeugt
werden
■Sicherer, abgeschlossener Arbeitsbereich mit beschränktem Zugang, sodass nur geschultes und
qualifiziertes Servicepersonal Zugriff auf das Gerät hat
■In für elektrische Stürme anfälligen Gebieten wird empfohlen, das System an einen
Spannungsstoßunterdrücker anzuschließen.
■Die Ausrüstung im unteren Teil des Gestells installieren, um zu vermeiden, dass der obere Teil
des Gestells zu schwer wird.
■Auf allen Seiten für mindestens 7,5 cm (3") Abstand sorgen, um eine ausreichende Belüftung
zu gewährleisten. Die Lufteinlassöffnung an den vorderen, seitlichen und hinteren
Entlüftungsgittern nicht blockieren. Das System nicht in der Nähe von Wärmequellen
aufstellen.
●Sicherstellen, dass die Ausrüstung in einem Bereich aufgestellt wird, der den Spezifikationen für
Leistungsaufnahme und Wärmeabstrahlung der Komponenten entspricht.
●Sicherstellen, dass Ihre Netzteile die Anforderungen an die Strom- oder Wechselstromversorgung
vor Ort für alle Netzwerkgeräte erfüllen.
●Bei den Extreme-Produkten handelt es sich um digitale Geräte der Klasse A gemäß Teil 15 der FCC-
Richtlinien und anderen internationalen Richtlinien. Der Gerätebetrieb unterliegt den folgenden
Voraussetzungen: (1) Das Gerät kann schädliche Interferenzen verursachen, und (2) das Gerät muss
jede empfangene Interferenz zulassen, einschließlich einer Interferenz, die einen unerwünschten
Betrieb verursachen kann.

Safety Information
BlackDiamond 8800 Series Switches Hardware Installation Guide
162
Installation von Netzteilen
Bei der Installation sämtlicher Netzteile von Extreme Networks muss sichergestellt werden, dass die nachfolgend
aufgeführten Anforderungen erfüllt sind. Angaben zu Nennleistung und Leistungsbedarf finden sich in den
Installationsanweisungen für das jeweilige Netzteil (Power Supply Unit, PSU).
Folgende Anforderungen müssen unbedingt erfüllt sein:
●Wenn der mit Wechsel- oder Gleichstrom betriebene Switch von Extreme Networks mit einem
externen grünen/gelben Erdungskabel ausgestattet ist, dann muss zunächst dieses Erdungskabel
zwischen der Grundplatte und einem geeigneten Erdungspunkt angeschlossen werden, bevor andere
Verbindungen zum Gerät hergestellt werden; dies gilt auch für den Anschluss an das Wechsel- bzw.
Gleichstromnetz. Beim Ausbau des Geräts aus dem Gestell muss das Erdungskabel als letztes
getrennt werden.
●Netzteile nur an vorschriftsmäßig geerdete Steckdosen anschließen, um die Gefahr elektrischer
Schläge zu vermeiden und die Konformität mit internationalen Sicherheitsnormen zu gewährleisten.
●Nur Stromkabel verwenden, die für den Einsatz in dem jeweiligen Land zugelassen sind.
Wechselstromkabel dürfen nicht manipuliert werden.
●Die Wandsteckdose muss in der Nähe der Anlage installiert und leicht zugänglich sein, um eine
schnelle Trennung vom Netz zu ermöglichen.
●Spannung und Frequenz der Steckdose müssen den elektrischen Nenndaten des Systems
entsprechen. Das Gebäude bzw. die Stromquelle muss mit einem Überlastschutz ausgestattet sein.
●Einen Spannungsstoßunterdrücker, einen Netzfilter oder eine unterbrechungsfreie Stromversorgung
verwenden, um das System vor einer vorübergehenden Zu- oder Abnahme der elektrischen Leistung
zu schützen.
●Bei laufendem Betrieb austauschbare Netzteile: Das Netzteil vorsichtig, nicht mit Kraft in das
Aufnahmefach einsetzen.
●Bei Einsatz mehrer Netzteile in einem Switch sind die Netzteile jeweils an unterschiedliche,
unabhängige Stromquellen anzuschließen. Auf diese Weise ist bei einem Ausfall einer einzelnen
Stromquelle nur das daran angeschlossene Netzteil betroffen. Wenn alle Netzteile eines einzelnen
Switch an dieselbe Stromquelle angeschlossen sind, ist der gesamte Switch für einen Ausfall der
Stromversorgung anfällig.
Leistungsspezifikationen für Netzteile von Extreme Networks finden sich in Anhang B dieses
Dokuments oder im Netzteil-Datenblatt unter http://www.extremenetworks.com.
Die 325 W DC-Netzteile von Extreme Networks sind nicht mit Ein-/Ausschaltern ausgestattet. Vor dem Einstecken
des Gleichstromkabels in den Gleichstromanschluss des 325 W DC-Netzteils von Extreme Networks sowie vor dem
Abziehen des Kabels sicherstellen, dass der Gleichstromkreis abgeschaltet ist.
Das Gleichstromkabel des 325 W DC-Netzteils muss von einem qualifizierten, zugelassenen Elektriker an die
Gleichspannungsquelle in Ihrem Gebäude angeschlossen werden.
Extreme Networks 325 W AC Netzteile haben keinen An- Aus Schalter. Die Stromzufuhr zu einem Extreme Networks
325 W AC Netzteil wird durch das Ziehen des Netzkabels unterbrochen. Es ist sicherzustellen das diese Verbindung
leicht zugänglich ist.
Das Netzteil nicht ausserhalb von dem Gehäuse an das Netz anschliessen da hierdurch gefährliche Spannungen
zugänglich werden sowie die Gefahr von einem elektrischem Schlag und/ oder Feuergefahr besteht.
Nicht die Hand in den Netzteilschacht einführen wenn das Netzteil entfernt ist. Leere Netzteilschächte müssen
immer mit eine Abdeckplatte bedeckt sein.

Fiber Optic Ports—Optical Safety
BlackDiamond 8800 Series Switches Hardware Installation Guide 163
Wartungssicherheit
Folgende Vorsichtsmaßnahmen müssen getroffen werden:
●Nur für den Einsatz mit diesem System zugelassene Originalzubehörteile bzw. -komponenten
verwenden. Die Nichtbeachtung dieser Anweisungen kann zu Schäden an der Ausrüstung oder
sogar zu einem Verstoß gegen die erforderlichen Sicherheitsbestimmungen und EMV-Vorschriften
führen.
●Die Abdeckung der Grundplatte darf nur durch Personal von Extreme Networks entfernt werden.
Das System enthält keine vom Kunden zu wartenden Komponenten. Reparaturen am System sind
von einem Werkstechniker von Extreme Networks durchzuführen.
●Der An-/Aus-Schalter des Systems darf nicht die gesamte Stromversorgung zum System
unterbrechen. Zur Unterbrechung der Wechselstromversorgung zum System müssen alle Stromkabel
aus den Wandsteckdosen gezogen werden. Das Stromkabel dient zur Trennung von der
Netzstromversorgung.
●Vor dem Entfernen der Rückwand eines Extreme Networks-Switch muss die gesamte Stromzufuhr
unterbrochen werden.
●Vor der Aufnahme von Arbeiten in der Nähe von Stromquellen alle Stromkabel abziehen, sofern
nicht im Rahmen eines Wartungsverfahrens anders vorgegeben.
●Beim Umgang mit Modulen, optischen Geräten, Netzteilen oder anderen modularen Zubehörteilen
das ESD-Schutzarmband anlegen, um das Risiko einer Beschädigung der Geräte durch
elektrostatische Entladungen zu verringern. Das Armband zum Schutz elektrostatisch gefährdeter
Bauteile (ESB) grundsätzlich an der Grundplatte befestigt lassen, damit es beim Umgang mit diesen
Bauteilen immer zur Hand ist.
●Alle Kabel so verlegen, dass übermäßige Belastungen vermieden werden. Kabelbinder oder
Zugentlastungsklemmen verwenden.
●Ein Stromkabel bei Anzeichen von Beschädigungen unverzüglich austauschen.
Allgemeine Sicherheitsvorkehrungen
Folgende Richtlinien sind unbedingt zu befolgen:
●Keine Gegenstände heben, die möglicherweise zu schwer sind.
●Bei einer Installation in einem Gestell darauf achten, dass schwere Geräte unten im Gestell eingebaut
werden, um Gefahren durch Umkippen zu vermeiden.
●Bei Summit Desktop-Switches keinen Monitor oder andere Gegenstände auf die Anlage stellen. Die
Abdeckung der Grundplatte ist nicht darauf ausgelegt, Gewicht zu tragen.
●Nur Werkzeuge und Ausrüstung verwenden, die sich in einwandfreiem Zustand befinden. Keine
Ausrüstung verwenden, die sichtbare Beschädigungen aufweist.
●Verlegen von Kabeln: Kabel so verlegen, dass keine Schäden entstehen oder Unfälle, z. B. durch
Stolpern, verursacht werden können.
Auswahl der Stromkabel
Je nachdem, welchen Switch Sie erworben haben, werden die Wechselstromnetzteile von Extreme
Networks entweder nur mit einem 110-VAC-Kabel oder mit einem 110-VAC-Kabel und einem 208/220-
VAC-Kabel geliefert. Die von Extreme Networks gelieferten Stromkabel sind nur für den Einsatz in den
Vereinigten Staaten und Kanada ausgelegt und zugelassen. Stromkabel für den Einsatz außerhalb der

Safety Information
BlackDiamond 8800 Series Switches Hardware Installation Guide
164
Vereinigten Staaten und Kanada werden normalerweise von einem Drittanbieter geliefert und müssen
die folgenden Anforderungen erfüllen:
●Die Stromkabel müssen offiziell für das Land zugelassen sein, in dem sie verwendet werden sollen.
●Die Stromkabel müssen mit einem für das Einsatzland zugelassenen Wandsteckkontakt mit der
geeigneten Nennleistung ausgerüstet sein.
●Die Konfiguration der Steckvorrichtung (die Steckverbindung zur Einheit, nicht zur Wandsteckdose)
muss für eine Gerätesteckdose gemäß EN60320/IEC320-C14 ausgeführt sein.
●Die Länge der Stromkabel muss weniger als 5 m (15 Fuß) betragen.
●Die Mindestspezifikation für das flexible Kabel lautet:
■Nr. 18 AWG (0,823 mm2) für Einheiten mit einem Bemessungsstrom von weniger als 10 A,
oder
■Nr. 18 AWG (0,823 mm2) bis 2 m Länge für Einheiten mit einem Bemessungsstrom von 10 A
oder höher, oder
■Nr. 16 AWG (1,0 mm2) bis 5 m Länge für Einheiten mit einem Bemessungsstrom von 10 A
oder höher
●Bei allen Kabeln muss es sich um 3-adrige Kupferleiter vom Typ SVT oder SJT, HAR oder einen
äquivalenten Typ handeln.
Verwenden Sie immer ein Wechselstromkabel, das den Vorschriften Ihres Landes entspricht. Erkundigen
Sie sich über die örtlichen Vorschriften für Elektroinstallationen und fragen Sie bei den zuständigen
Aufsichtsbehörden nach den Anforderungen an Stromkabel. Nähere Angaben zu den
Leistungsspezifikationen von Netzteilen finden sich unter http://www.extremenetworks.com oder in
Anhang B dieses Dokuments.
Vor dem Anschließen des Wechselstromkabels an ein Netzteil muss sichergestellt werden, dass die Steckdose
vorschriftsgemäß geerdet ist.
Für die unten aufgeführten Länder gelten zusätzlich folgende Anforderungen:
●Argentinien: Der Netzstecker muss den argentinischen Standards entsprechen.
●Australien: Versorgungssteckdose, 15 A Minimum, AS 3112 für 110/220-VAC-Netzteile
●Dänemark: Der Netzstecker muss die in Abschnitt 107-2-D1 der Norm DK2-1a oder DK2-5a
aufgeführten Bestimmungen erfüllen.
●Japan:
■Versorgungssteckdose, 15 A, JIS 8303 für 110/220-VAC-Netzteile.
■Das mit dem Netzteil, dem Switch oder der Grundplatte gelieferte Verbindungskabel ist nur
für den Einsatz mit dem spezifischen Produkt von Extreme Networks vorgesehen und darf
nicht mit anderen Geräten von Extreme Networks oder anderen Anbietern verwendet werden.
●Nordamerika: Versorgungssteckdose, 15 A, NEMA 5-15 für 110-VAC-Netzteile und NEMA L6-15P
für 208/220-VAC-Netzteile
●Schweiz: Der Netzstecker muss der Richtlinie SEV/ASE 1011 entsprechen.
●Großbritannien: Versorgungssteckdose, 15 A, BS 1363 für 110/220-VAC-Netzteile
●International: Versorgungssteckdose, 15 A, CEE 7/7 für 110/220-VAC-Netzteile
●Nur Frankreich und Peru:
Diese Einheit kann nicht über IT†-Netzteile mit Strom versorgt werden. Wenn Ihre Netzteile vom
Typ IT sind, muss dieses Gerät mit 230 V (2P+T) unter Verwendung eines Trenntrafos mit einem
Verhältnis von 1:1 versorgt werden. Der zweite Anschlusspunkt muss als neutral definiert und direkt
an die Erde angeschlossen werden.

Fiber Optic Ports—Optical Safety
BlackDiamond 8800 Series Switches Hardware Installation Guide 165
Hinweis: Die Bauvorschriften sind weltweit verschieden; Extreme Networks empfiehlt daher
ausdrücklich, einen Elektroinstallateur zu beauftragen, um die sachgemäße Geräteerdung und
Stromverteilung für Ihre spezifische Installation sicherzustellen.
Austauschen und Entsorgen von Batterien
Im Umgang mit Batterien sind folgende Hinweise zu beachten:
●Austauschen der Lithium-Batterie: Die in diesem Gerät enthaltenen Batterien können nicht vom
Anwender ausgetauscht werden. Wenden Sie sich für einen Austausch des kompletten Gerätes bitte
an die Servicemitarbeiter von Extreme. Sollte der Versuch eines Austausches unternommen werden,
sind zur Vermeidung einer Explosionsgefahr folgende Richtlinien zu beachten:
aDie Batterie nur durch eine identische oder eine gleichwertige, vom Hersteller empfohlene
Batterie ersetzen.
bDie Batterie gemäß den Empfehlungen des Herstellers entsorgen.
Lichtleiteranschlüsse: Optische Sicherheit
Beim Umgang mit Lichtleitermodulen sind folgende Vorsichtsmaßnahmen zu beachten:
●
Niemals durch ein Vergrößerungsgerät auf die übertragende LED/den Laser schauen, wenn diese(r)
eingeschaltet ist.
●
Niemals direkt auf einen Lichtleiteranschluss am Switch oder auf die Enden eines Faserkabels schauen,
wenn diese eingeschaltet sind.
●
Bei offenen Anschlüssen kann es zu unsichtbarer Laserstrahlung kommen. Direkter Augenkontakt mit dem
Strahl ist zu vermeiden.
●
Ein optisches Gerät niemals auf andere Weise verändern oder modifizieren als in diesem Dokument
angegeben.
Einhaltung behördlicher Vorschriften durch GBIC, SFP (Mini-GBIC), XENPAK und XFP
●Laserprodukt der Klasse 1
●EN60825-1+A2:2001 oder jünger, Europäische Richtlinie für Lasersysteme
●Anwendung der CE-Kennzeichnung gemäß der Richtlinien 89/336/EWG EMV und 73/23/EWG für
Niederspannungsgeräte

Safety Information
BlackDiamond 8800 Series Switches Hardware Installation Guide
166

BlackDiamond 8800 Series Switches Hardware Installation Guide 167
BTechnical Specifications
This appendix includes the following technical specifications:
●BlackDiamond 8810 Switch on page 167
●BlackDiamond 8806 Switch on page 170
●Power Supplies for BlackDiamond 8800 Series Switches on page 172
●Connector Pinouts on page 173
BlackDiamond 8810 Switch
Table 19: BlackDiamond 8810 Switch Technical Specifications
Physical Dimensions
BlackDiamond 8810 chassis Height: 24.47 inches (62.2 cm)
Width: 17.51 inches (44.5 cm)
Depth: 18.23 inches (46.3 cm)
Weight
BlackDiamond 8810 chassis
(empty)
79 lb (35.8 kg)
BlackDiamond 8810 chassis
(fully loaded)
196 lb (88.9 kg)
Power supply 7 lb (3.2 kg)
BlackDiamond 8810 fan tray 6.75 lb (3.06 kg)
BlackDiamond 8810 PSU/fan
controller
1.75 lb (.79 kg)
Safety Standards
North American Safety of ITE UL 60950-1:2003 1st Ed., Listed Device (US)
CSA 22.2#60950-1-03 1st Ed.(Canada)
Complies with FCC 21CFR 1040.10 (US Laser Safety)
CDRH Letter of Approval (US FDA Approval)
NOM/NYCE (Mexico)
IEEE 802.3af 6-2003 Environment A for PoE Applications
European Safety of ITE EN 60950-1:2001+A11
EN 60825-1+A2:2001 (Lasers Safety)
TUV-R GS Mark by German Notified Body
73/23/EEC Low Voltage Directive
International Safety of ITE CB Report & Certificate per IEC 60950-1:2001 Country Deviations
AS/NZX 60950-1(Australia /New Zealand)

Technical Specifications
BlackDiamond 8800 Series Switches Hardware Installation Guide
168
EMI/EMC Standards
North America EMC for ITE FCC CFR 47 part 15 Class A (USA)
ICES-003 Class A (Canada)
European EMC standards EN 55022:1998 Class A
EN 55024:1998 Class A includes IEC 61000-4-2, 3, 4, 5, 6, 8, 11
EN 61000-3-2,3 (Harmonics & Flicker)
ETSI EN 300 386:2001 (EMC Telecommunications)
89/336/EEC EMC Directive
International EMC Certifications CISPR 22:1997 Class A (International Emissions)
CISPR 24:1997 Class A (International Immunity)
IEC/EN 61000-4-2 Electrostatic Discharge, 8kV Contact, 15kV Air, Criteria A
IEC/EN 61000-4-3 Radiated Immunity 10V/m, Criteria A
IEC/EN 61000-4-4 Transient Burst, 1kV, Criteria A
IEC/EN 61000-4-5 Surge, 2kV, 4kV, Criteria A
IEC/EN 61000-4-6 Conducted Immunity, 0.15-80MHz, 10V/m unmod. RMS,
Criteria A
IEC/EN 61000-4-11 Power Dips & Interruptions, >30%, 25 periods,
Criteria C
Country-specific VCCI Class A (Japan Emissions)
AS/NZS 3548 ACA (Australia Emissions)
CNS 13438:1997 Class A (BSMI-Taiwan)
MIC Mark, EMC Approval (North Korea)
Telecom Standards ETSI EN 300 386:2001 (EMC Telecommunications)
ETSI EN 300 019 (Environmental for Telecommunications)
IEEE 802.3 Media Access
Standards
Note: These standards are
module-specific and may not
apply to every module in the
series.
IEEE 802.3 10BASE-T
IEEE 802.3u 100BASE-TX, 100BASE-FX
IEEE 802.3z 1000BASE-X
IEEE 802.3ab 1000BASE-T
IEEE 802.3ac VLAN Tag
IEEE 802.3ad Link Aggregation
IEEE 802.3ae 10GBASE-X
IEEE 802.3aef Power over Ethernet
Environmental Standards
Environmental EN/ETSI 300 019-2-1 v2.1.2 - Class 1.2 Storage
EN/ETSI 300 019-2-2 v2.1.2 - Class 2.3 Transportation
EN/ETSI 300 019-2-3 v2.1.2 - Class 3.1e Operational
EN/ETSI 300 753 (1997-10) - Acoustic Noise
ASTM D3580 Random Vibration Unpackaged 1.5G
Operating conditions Operating temperature range: 0° C to 40° C (32° F to 104° F)
Operating humidity: 10% to 93% relative humidity, non-condensing
Operational shock: 30 m/s2 (3 g), 11 ms, 60 shocks
Operational sine vibration: 5 to 100 to 5 Hz @ 0.2 g, 0 to peak, 0.1 oct./min.
Operational random vibration: 3 to 500 Hz @ 1.5g rms
Storage & transportation
conditions (packaged)
Transportation temperature: –40° C to 70° C (–40° F to 158° F)
Storage and transportation humidity: 10% to 93% relative humidity,
non-condensing
Packaged shock (half sine):
<50 kg 180 m/s2 (10 g), 6 ms, 600 shocks, modules
>50 kg 100 m/s2 (6 g), 11 ms, 600 shocks, chassis
Packaged random vibration:
5 to 20 Hz @ 1.0 ASD w/–3 dB/oct. from 20 to 200 Hz
14 drops minimum on sides & corners
@ 39.5" <22 lb (10 kg) modules
@ 11.8" <110 lb (50 kg) chassis
Table 19: BlackDiamond 8810 Switch Technical Specifications (Continued)

BlackDiamond 8810 Switch
BlackDiamond 8800 Series Switches Hardware Installation Guide 169
Acoustic Sound (BlackDiamond 8810 Switch with AC Power Supplies)
Sound power in accordance with
EN 300 753 (10-1997)
Sound power
Normal: 70 dBA per ISO 7779
High: 75 dBA per ISO 7779
Declared sound power
Normal: 7.2 belsA per ISO 7779 & ISO 9296
High: 7.7 belsA per ISO 7779 & ISO 9296
Sound pressure in accordance
with NEBS GR-63 Issue 2
Bystander sound pressure
Normal: 64 dBA front side @ 0.6m
High: 67 dBA rear side @ 0.6m
Table 19: BlackDiamond 8810 Switch Technical Specifications (Continued)

Technical Specifications
BlackDiamond 8800 Series Switches Hardware Installation Guide
170
BlackDiamond 8806 Switch
Table 20: BlackDiamond 8806 switch Technical Specifications
Physical Dimensions
BlackDiamond 8806 chassis Height: 17.47 inches (44.4 cm)
Width: 17.51 inches (44.5 cm)
Depth: 18.12 inches (46.0 cm)
Weight
BlackDiamond 8806 chassis
(empty)
63.75 lb (29.0 kg)
BlackDiamond 8806 chassis (fully
loaded)
153 lb (69.5 kg)
BlackDiamond 8806 power supply 7 lb (3.2 kg)
BlackDiamond 8806 fan tray 4.75 lb (2.2 kg)
BlackDiamond 8806 PSU/Fan
Controller
1.75 lb (.79 kg)
Safety Standards
North American Safety of ITE UL 60950-1:2003 1st Ed., Listed Device (US)
CSA 22.2#60950-1-03 1st Ed.(Canada)
Complies with FCC 21CFR 1040.10 (US Laser Safety)
CDRH Letter of Approval (US FDA Approval)
NOM/NYCE (Mexico)
IEEE 802.3af 6-2003 Environment A for PoE Applications
European Safety of ITE EN 60950-1:2001+A11
EN 60825-1+A2:2001 (Lasers Safety)
TUV-R GS Mark by German Notified Body
73/23/EEC Low Voltage Directive
International Safety of ITE CB Report & Certificate per IEC 60950-1:2001 Country Deviations
AS/NZX 60950-1 (Australia /New Zealand)
EMI/EMC Standards
North America EMC for ITE FCC CFR 47 part 15 Class A (USA)
ICES-003 Class A (Canada)
European EMC standards EN 55022:1998 Class A
EN 55024:1998 Class A includes IEC 61000-4-2, 3, 4, 5, 6, 8, 11
EN 61000-3-2,3 (Harmonics & Flicker)
ETSI EN 300 386:2001 (EMC Telecommunications)
89/336/EEC EMC Directive
International EMC certifications CISPR 22:1997 Class A (International Emissions)
CISPR 24:1997 Class A (International Immunity)
IEC/EN 61000-4-2 Electrostatic Discharge, 8kV Contact, 15kV Air, Criteria A
IEC/EN 61000-4-3 Radiated Immunity 10V/m, Criteria A
IEC/EN 61000-4-4 Transient Burst, 1kV, Criteria A
IEC/EN 61000-4-5 Surge, 2kV, 4kV, Criteria A
IEC/EN 61000-4-6 Conducted Immunity, 0.15-80MHz, 10V/m unmod. RMS,
Criteria A
IEC/EN 61000-4-11 Power Dips & Interruptions, >30%, 25 periods, Criteria C

BlackDiamond 8806 Switch
BlackDiamond 8800 Series Switches Hardware Installation Guide 171
Country-specific VCCI Class A (Japan Emissions)
AS/NZS 3548 ACA (Australia Emissions)
CNS 13438:1997 Class A (BSMI-Taiwan)
MIC Mark, EMC Approval (North Korea)
Telecom Standards ETSI EN 300 386:2001 (EMC Telecommunications)
ETSI EN 300 019 (Environmental for Telecommunications)
IEEE 802.3 Media Access Standards
Note: These standards are
module-specific and may not
apply to every module in the
series.
IEEE 802.3 10BASE-T
IEEE 802.3u 100BASE-TX, 100BASE-FX
IEEE 802.3z 1000BASE-X
IEEE 802.3ab 1000BASE-T
IEEE 802.3ac VLAN Tag
IEEE 802.3ad Link Aggregation
IEEE 802.3ae 10GBASE-X
IEEE 802.3aef Power over Ethernet
Environmental Standards
Environmental EN/ETSI 300 019-2-1 v2.1.2 - Class 1.2 Storage
EN/ETSI 300 019-2-2 v2.1.2 - Class 2.3 Transportation
EN/ETSI 300 019-2-3 v2.1.2 - Class 3.1e Operational
EN/ETSI 300 753 (1997-10) - Acoustic Noise
Operating conditions Operating temperature range: 0° C to 40° C (32° F to 104° F)
Operating humidity:10% to 93% relative humidity, non-condensing
Operating altitude 0 to 3000 meters (0 to 9,850 ft)
Operational shock: 30 m/s2 (3 g), 11 ms, 60 shocks
Operational random vibration: 5 to 500 Hz @ 1.5g rms
Storage & Transportation
Conditions (Packaged)
Transportation temperature: –40° C to 70° C (–40° F to 158° F)
Storage and transportation humidity: 10% to 93% relative humidity,
non-condensing
Packaged shock (half sine):
<50 kg 180 m/s2 (10 g), 6 ms, 600 shocks, modules
>50 kg 100 m/s2 (6 g), 11 ms, 600 shocks, chassis
Packaged random vibration: 5 to 20 Hz @ 1.0 ASD w/–3 dB/oct. from 20 to
200 Hz
Packaged sinusoidal vibration: 5 to 62 Hz, 5 mm/s velocity, 62 to 200 Hz,
0.2 g
Tilt: 22.5 degrees and return to position
14 drops minimum on sides & corners
@ 39.4" <20 lb (9 kg) modules
@ 19.7" <80 lb (36 kg) chassis
Acoustic Sound (BlackDiamond 8806/12804 switch with AC Power Supplies)
Sound power in accordance with
EN 300 753 (10-1997)
Sound power
Normal: 70 dBA per ISO 7779
High: 73 dBA per ISO 7779
Declared sound power
Normal: 7.2 belsA per ISO 7779 & ISO 9296
High: 7.6 belsA per ISO 7779 & ISO 9296
Sound pressure in accordance
with NEBS GR-63 Issue 2
Bystander sound pressure
Normal: 64 dBA front side @ 0.6m
High: 66 dBA left side @ 0.6m
Table 20: BlackDiamond 8806 switch Technical Specifications (Continued)

Technical Specifications
BlackDiamond 8800 Series Switches Hardware Installation Guide
172
Power Supplies for BlackDiamond 8800 Series
Switches
Table 21: Specifications for the AC SSI PS Model #60020/PS2336 (700/1200 W AC PSU)
Compatible with the BlackDiamond 8806 and 8810 switches
Typical configuration 3 power supplies
Full configuration 6 power supplies
Input Nominal input: 100 to 240 V , 60/50 Hz, 10 A max
AC voltage input range: 90 to 264 V
Maximum input amperages:
7 A @ 200 V (high-line)
10 A @ 90 V (low-line)
AC line frequency: 47 to 63 Hz
PS input socket: IEC 320 C14
Minimum wire size: 16 AWG (1.31mm2) copper stranded
Output DC output: 48 V , 24 A/12 V , 4 A (high-line)
48 V , 13.5 A/12 V , 4 A (low-line)
DC output power (W): 700 to 1200 W
Power supply cord selection Refer to “Selecting Power Supply Cords” on page 158.
AC power supply input socket IEC 320 C14
Minimum wire size 16 AWG (1.0mm2) copper stranded
(pre-approved cord set for county of use)
Operating conditions Operating temperature: 0° C to 40° C
Storage temperature: –40° C to 70° C
Operating humidity: 10% to 90% relative humidity, non-condensing
Operational shock: 30 m/s2 (3 g)
Table 22: Specifications for the AC PS Model #41050 (600/900 W AC PSU)
Compatible with the BlackDiamond 8806 switch
Typical configuration 3 power supplies
Full configuration 6 power supplies
Input Nominal input voltage: 100 to 240 V , 60/50 Hz, 8 A max
Voltage input range/frequency range: 90 to 264 V
AC line frequency: 47 to 63 Hz
Maximum input amperages:
5 A @ 200 V (high-line)
8 A @ 90 V (low-line)
Input socket: IEC 320 C14
Minimum wire size: 16 AWG (1.31mm2) copper stranded (pre-approved cord set
for country of use)
Output DC output:
48 V , 18A/12 V , 4A (high line)
48 V , 11.5A/12 V ,4A (low line)
DC output power (W): 600 to 900 W
Power supply cord selection Refer to “Selecting Power Supply Cords” on page 158.
Operating conditions Operating temperature: 0° C to 40° C (32° F to 104° F)
Storage temperature: –40° C to 70° C
Operating humidity: 10% to 90% relative humidity, non-condensing
Operational shock: 30 m/s2 (3 g)

Connector Pinouts
BlackDiamond 8800 Series Switches Hardware Installation Guide 173
Connector Pinouts
Table 24 describes the pinouts for a DB-9 console plug connector.
Table 23: Specifications for the DC SSI PS Model #60021 (1200 W DC PSU)
Compatible with the BlackDiamond 8806 and BlackDiamond 8810 switches
Typical configuration 3 power supplies
Full configuration 6 power supplies
Input Nominal input voltage: –48 V
Voltage input range: –40.5 V to –72 V
Input currents:
–40 V @ 35 A
–48 V @ 30 A
–60 V @ 23 A
Maximum in-rush current: Not more than 80 A for 5 ms
Input circuit protection: 50 A
Wire harness provided by Extreme Networks with each power supply.
Extreme Part# 4340-00028
Wire type: 8 AWG (10 mm2) listed tray cable, copper-stranded rated @ 90 C
minimum
Connector: Molex connector PN 42816-0312
Connector pins: Molex connector pins PN 42815-0032
Output DC output: 48 V , 24 A/12 V , 4 A
DC output power (W): 1200 W
Operating conditions Operating temperature: 0° C to 40° C (32° F to 104 °F)
Operating humidity: 10% to 90% relative humidity, non-condensing
Operating altitude: 0 m to 3,000 m (0 ft to 9,850 ft)
Operational shock*: 30 m/s2 (3 g), 60 shocks
Operational office vibration*: 5 to 100-5 Hz @ 2/10 G, 0 to peak, 1 oct/min
Operational random vibration*: 3 to 500 Hz @ 1.5 G rms
* Worst case operational condition; not for continuous operation under this
condition
Table 24: Pinouts for the DB-9 Console Connector
Function Pin Number Direction
DCD (data carrier detect) 1In
RXD (receive data) 2In
TXD (transmit data) 3Out
DTR (data terminal ready) 4Out
GND (ground) 5 -
DSR (data set ready) 6In
RTS (request to send) 7Out
CTS (clear to send) 8In

Technical Specifications
BlackDiamond 8800 Series Switches Hardware Installation Guide
174
Figure 108 shows the pinouts for a 9-pin to 25-pin (RS-232) null-modem cable.
Figure 108: Null-modem Cable Pinouts
Figure 109 shows the pinouts for a 9-pin to 9-pin (PC-AT) null-modem serial cable.
Figure 109: PC-AT Serial Null-modem Cable Pinouts
Screen
TxD
RxD
Ground
RTS
CTS
DSR
DCD
DTR
Cable connector: 9-pin female
Switch
Cable connector: 25-pin male/female
25pin
PC/Terminal
Screen
RxD
TxD
Ground
RTS
DTR
CTS
DSR
DCD
Shell
3
2
5
7
8
6
1
4
1
3
2
7
4
20
5
6
8
Screen
TxD
RxD
Ground
RTS
CTS
DSR
DCD
DTR
Cable connector: 9-pin female
Switch
Cable connector: 25-pin male/female
25pin
PC/Terminal
Screen
RxD
TxD
Ground
RTS
DTR
CTS
DSR
DCD
Shell
3
2
5
7
8
6
1
4
1
3
2
7
4
20
5
6
8

BlackDiamond 8800 Series Switches Hardware Installation Guide 1
Index
Numerics
10G4Ca I/O module, 31
10G4X I/O module, 26
10G4Xa I/O module, 31
10G4Xc I/O module, 33
10G8Xc I/O module, 34
1200 W DC PSU, 173
description, 48, 94
installing, 95
LEDs, 49, 99
removing, 98
600/900 W AC PSU
description, 45
LEDs, 46
removing, 92
700/1200 W AC PSU
description, 42
installing, 90
LEDs, 42, 93
700/1200W AC PSU
specifications, 172
A
A button, MSM, 23
AC power cord retainer channel
installing, 128
removing, 130
AC power cord retaining bracket
BlackDiamond 8810 switch
installing, 125
removing, 127
airflow requirements
BlackDiamond switches, 56
airflow through switch, 56
alternate BootROM image, 23
amperage, calculating for UPS, 68
ANSI standards, 68
B
bend radius
fiber optic cable, 63
UTP cable, 61
BICSI standards, 60
BlackDiamond 8800 a-series I/O modules
10G4Ca, 31
10G4Xa, 31
G48Ta, 29
G48Xa, 30
required software, 29
BlackDiamond 8800 e-series I/O modules
G48Pe, 37
G48Te, 36
G48Te2, 38
required software, 36
BlackDiamond 8800 original series I/O modules
10G4X, 26
G24X, 26
G48P, 28
G48T, 27
BlackDiamond 8800 series switch, installing, 78
BlackDiamond 8806 switch
AC power cord retainer channel
installing, 128
removing, 130
features, 16
grounding, 83
MAC address, 17
mid-mount installation, 81
repacking, 150
serial number, 17
specifications, 170
unpacking, 72
BlackDiamond 8810 switch
features, 15, 18
grounding terminals, location, 58
MAC address, 19
re-packing, 146
replacing fan tray, 139
serial number, 19
specifications, 167
BlackDiamond modules
distinguishing MSM from I/O, 102
installing, 101
BlackDiamond switches
blank front panels, 110
rack measurement, 71
blank front panels, installing, 111
building codes, 54
Building Industry Consulting Service
International. See BICSI
bundling cable, 61

Index
BlackDiamond 8800 Series Switches Hardware Installation Guide
2
C
cable connections, making, 106
cable identification records, 61
cable labeling
identification, 61
recommendations, 61
records, 61
cable management, 131
cable manager
BlackDiamond switches (all), 131
cable types and distances, 63
cable, category 5, 61
cable, installing
bend radius
fiber optic, 63
UTP, 61
distances, 63
fiber optic cable, 63
recommendations, 61
slack, 61
cabling standards
ANSI, 68
BICSI, 60
category 5 cable, 61
chassis unpacking instructions, BlackDiamond
8810, 75–77
chassis-to-chassis heating, 56
commands
eject memory card, 113
show memorycard, 113
show slot, 108
synchronize, 108
commercial building standards, 68
compact flash. See external memory card
components, installing
backup MSM, 108
BlackDiamond 8810 switch
AC power cord retaining bracket, 125
fan tray, 139
blank front panel, 111
external memory card, 113
PSU/fan controller, 143
components, removing
BlackDiamond 12804 switch
PSU/fan controller, 141
BlackDiamond 8810 switch
AC power cord retaining bracket, 127
fan tray, 137
external memory card, 113
I/O modules, 109
MSM, 109
console port
MSM-G8X module, 23
settings, 114
conventions
notice icons, 10
text, 10
CX4 interface connectors, 106
D
D button, MSM, 23
DB-9 pinouts, 173
DC wiring, installing, 94
design standards, 68
distribution rack
grounding, 58
mounting holes, 58
E
electrical codes, 54
electrostatic discharge. See ESD
environmental requirements
airflow, 56
building codes, 54
electrical codes, 54
humidity, 56
switch spacing, 56
temperature, 55
wiring closet, 55
equipment rack
mechanical recommendations, 58
securing, 59
service access, 59
space requirements, 59
ESD
discharge from cable, 61
system protection, 57
ESD-preventive wrist strap, 57
external compact flash slot
MSM-G8X module, 21
external memory card
installing, 113
removing, 113
uses of, 16
F
fan tray
installing, 139
removing, 137
fiber optic cable
bend radius, 63
care, 63
connections, making, 106
first switch login, 114

Index
BlackDiamond 8800 Series Switches Hardware Installation Guide 3
full-duplex, 16
G
G24X I/O module, 26
G24Xc I/O module, 34
G48P I/O module, 28
G48Pe I/O module, 37
G48T I/O module, 27
G48Ta I/O module, 29
G48Tc I/O module, 32
G48Te I/O module, 36
G48Te2 I/O module, 38
G48Xa I/O module, 30
G48Xc I/O module, 35
grounding
BlackDiamond 8806 chassis, 83
racks, 58
requirements, 68
wiring closet, 55
grounding terminals, location, 58
grounding, rack, 58
H
handles on MSMs and I/O modules, 104
heating, chassis-to-chassis, 56
helper bracket, 80
high-line power, 44, 47
hot-swapping modules, 109
humidity, 56
I
I/O modules
10G4Xc, 33
10G8Xc, 34
BlackDiamond 8800 a-series
10G4Ca, 31
10G4Xa, 31
G48Ta, 29
G48Xa, 30
required software, 29
BlackDiamond 8800 e-series
G48Pe, 37
G48Te, 36
G48Te2, 38
required software, 36
BlackDiamond 8800 original series
10G4X, 26
G24X, 26
G48P, 28
G48T, 27
PoE, 28
description, 25
G24XC, 34
G48Tc, 32
G48Xc, 35
hot-swapping, 109
injector/ejector handles, 104
installing, 103
LEDs, 39
removing, 109
slot assignments, 101
verifying installation, 108
indicators, shipping, 75
industry standards, 68
initial switch login, 114
inline power
I/O module, 28
LEDs, 40
installation
1200 W DC power supply, 95
BlackDiamond 8800 series chassis, 78
BlackDiamond 8800 series module, 102
BlackDiamond 8806 chassis, 71
BlackDiamond blank front panels, 111
DC wiring for 1200 W DC power supply, 94
S1-G1Xc option card, 122
S-G8Xc option card, 122
S-POE daughter card, 119
switch chassis, 80
installing modules, 103
installing PSU/fan controller, 143
IP settings, configuring, 114
L
labeling system for cables, 60
LEDs
I/O modules, 39
MSM, 24
PoE ports, 40
ports, 39
logging in to the switch, 114
low-line power, 44, 47
M
MAC address
BlackDiamond 8806 switch, 17
BlackDiamond 8810 switch, 19
management port
description, 16
MSM-G8X module, 23
mechanical recommendations for rack, 58
memory card. See external memory card
mid-mount brackets, attaching, 78

Index
BlackDiamond 8800 Series Switches Hardware Installation Guide
4
mid-mount installation. See rack installation
mounting holes, rack, 58
MSM
available slots, 102
booting, 22
console port, 23
dual MSMs, 21
external compact flash slot, 21
hot-swapping, 109
installation verification, 108
LEDs, 24
management port, 23
removing, 109
MSM reset, 23
MSM, BlackDiamond 8800 series switch
primary, backup functionality, 21
saving configurations, 21
MSM-48 module, 21, 22
LEDs, 24
MSM-48c module, 23
LEDs, 24
MSM-G8X module, 21, 22
LEDs, 24
N
network interface connections, making, 106
null-modem cable pinouts, 174
O
operating environment requirements. See
environmental requirements
over-current conditions, preventing, 44, 47
P
PC-AT serial null-modem cable pinouts, 174
pinouts
DB-9 console connector, 173
null-modem cable, 174
PC-AT serial null-modem cable, 174
plenum-rated cable, 61
PoE
daughter card, 119
module, 28
port LEDs, 40
PoE devices, power requirements, 66
ports
console, 23
console port settings, 114
LEDs, 39
management, 16, 23
power cable
replacing, 67
requirements, 67
specifications, 67
Power over Ethernet. See PoE
power requirements
PoE devices, 66
power cable, 67
power supplies, 66
power supplies
1200 W DC, 48, 94, 95
600/900 W AC, 45
700/1200 W AC, 42
AC, installing, 90
power requirements, 66
PSU/fan controller
installing, 143
removing, 141
R
R button, MSM, 23
rack installation, 80
rack mounting holes, 58
rack specifications
grounding, 58
mechanical, 58
space requirements, 59
radio frequency interference. See RF interference
related publications, 10
removing spare PSU/Fan controller, 141
re-packing
BlackDiamond 8810 switch, 146
repacking
BlackDiamond 8806 chassis, 150
requirements, spacing, 56
reset button, MSM, 23
RF interference
patch panel installation, 61
preventing, 65
problems caused by, 65
RJ-45 cable, 64
RJ-45 connector jackets, 64
running cable. See cable, installing
S
S-10G1Xc option card, 23, 122
safety requirements, 155
See also environmental requirements
securing rack to floor, 59
serial number
BlackDiamond 8806 switch, 17
BlackDiamond 8810 switch, 19
service access to the rack, 59

Index
BlackDiamond 8800 Series Switches Hardware Installation Guide 5
S-G8Xc option card, 23, 122
shipping indicators
BlackDiamond 8810
shock watch, 75
tilt watch, 75
good state, 75
red state, 75
warning state, 75
white state, 75
shock watch indicator, 75
site planning process, 53
slot assignments, 101
slots, MSM, 102
space requirements, rack, 59
specifications
BlackDiamond 8806 switch, 170
BlackDiamond 8810 switch, 167
power cable, 67
S-POE daughter card, 32, 38, 119
standards
cabling, 60, 68
commercial building, 68
grounding, 68
standards, rack, 58
switch
grounding, 83
switch configuration, saving, 21
switch spacing requirements, 56
switch, initial login, 114
system dump, 23
T
technical specifications
BlackDiamond 8806 switch, 170
BlackDiamond 8810, 167
BlackDiamond 8810 switch, 167
temperature, wiring closet, 55
text conventions, 10
tilt watch
BlackDiamond 8810, 75
tools for installing equipment
BlackDiamond 8810 AC power cord retaining
bracket, 125
blank front panel, 110
external memory card, 113
fan tray, BlackDiamond 8800 series switches,
137
tools for removing equipment
BlackDiamond 8810 AC power cord retaining
bracket, 125
fan tray, BlackDiamond 8800 series switches,
137
transition time, UPS, 68
troubleshooting
external memory card, installing, 113
over-current conditions, 44, 47
power, turning off, 44, 46
RF interference, 65
U
uninterruptible power supply. See UPS
unshielded twisted pair. See UTP
UPS
amperage requirements, calculating, 68
description, 67
features, 67
selecting, 68
size, determining, 68
transition time, 68
UTP, 61
UTP cable
bend radius, 61
category 5, 61
discharge ESD, 61
RF interference, 65
W
wiring closet
airflow requirements, 56
electrostatic discharge, 57
floor coverings, 55
grounding, 55
humidity, 56
rack, securing, 59
temperature, 55
wiring terminals, 58

Index
BlackDiamond 8800 Series Switches Hardware Installation Guide
6

