Ezurio 4424200 FREQUENCY HOPPING SPREAD SPECTRUM TRANSCEIVER User Manual AC3124
AeroComm Corporation FREQUENCY HOPPING SPREAD SPECTRUM TRANSCEIVER AC3124
Ezurio >
Contents
- 1. Users Manual 1
- 2. Users Manual 2
Users Manual 1

1/7/03 2
DOCUMENT INFORMATION
Copyright
Information
Copyright © 2009 LAIRD TECHNOLOGIES, Inc. All rights reserved.
The information contained in this manual and the accompanying
software programs are copyrighted and all rights are reserved by
LAIRD TECHNOLOGIES, Inc. LAIRD TECHNOLOGIES, Inc. reserves the right to make
periodic modifications of this product without obligation to notify
any person or entity of such revision. Copying, duplicating, selling, or otherwise
distributing any part of this product without the prior consent of an authorized
representative of LAIRD TECHNOLOGIES, Inc. is prohibited.
All brands and product names in this publication are registered
trademarks or trademarks of their respective holders.
This material is preliminary
Information furnished by LAIRD TECHNOLOGIES in this specification is believed to be accurate.
Devices sold by LAIRD TECHNOLOGIES are covered by the warranty and patent indemnification
provisions appearing in its Terms of Sale only. LAIRD TECHNOLOGIES makes no warranty, express,
statutory, and implied or by description, regarding the information set forth herein. LAIRD
TECHNOLOGIES reserves the right to change specifications at any time and without notice.
LAIRD TECHNOLOGIES’s products are intended for use in normal commercial applications.
Applications requiring extended temperature range or unusual environmental requirements such
as military, medical life-support or life-sustaining equipment are specifically not recommended
without additional testing for such application.

1/7/03 3
DOCUMENT INFORMATION
Revision Description
Version 1.0.0 4/17/2009 – Initial Release Version

1/7/03 4
TABLE OF CONTENTS
1. OVERVIEW ......................................................................................................................................6
2. LT3124 SPECIFICATIONS.............................................................................................................7
3. THEORY OF OPERATION ............................................................................................................8
3.1 INTERFACE SIGNAL DEFINITIONS .........................................................................................................8
3.2 ELECTRICAL SPECIFICATIONS...............................................................................................................9
3.3 HOST SOFTWARE/HARDWARE INTERFACE DEFINITION......................................................................10
3.3.1 Host Transmit Frame Format....................................................................................................10
3.3.2 Host Receive Frame Format......................................................................................................10
3.3.3 Hopping Status ..........................................................................................................................10
3.3.4 In Range.....................................................................................................................................11
3.3.5 RSSI ...........................................................................................................................................11
4. CONFIGURING THE LT3124 ......................................................................................................12
4.1 CHANNEL ...........................................................................................................................................13
4.2 SERVER/CLIENT MODE.......................................................................................................................13
4.3 BAUD RATE........................................................................................................................................13
4.4 CONTROL ...........................................................................................................................................14
4.5 CONFIGURATION COMMAND SET .......................................................................................................14
4.5.1 Configuration Start Byte............................................................................................................14
4.5.2 EEPROM Byte Read..................................................................................................................15
4.5.3 EEPROM Byte Write .................................................................................................................15
4.6 ON-THE-FLY CONTROL COMMAND REFERENCE ................................................................................15
4.6.1 Status Request............................................................................................................................16
4.6.2 Change Channel ........................................................................................................................16
4.6.3 Change Channel with Forced Acquisition Sync ........................................................................16
4.6.4 Server/Client Command.............................................................................................................17
5. INTERFACING TO THE LT3124 ................................................................................................18
5.1 OPERATING MODES............................................................................................................................18
5.1.1 Receive Mode.............................................................................................................................18
5.1.2 Transmit Mode...........................................................................................................................18
5.1.3 Configuration Mode ..................................................................................................................19
5.1.4 On-the-Fly Configuration Mode................................................................................................19
5.1.5 Hopping Mode...........................................................................................................................19
5.1.6 Beacon Mode.............................................................................................................................20
5.2 DATA RATES ......................................................................................................................................20
5.2.1 Serial Interface Data Rate.........................................................................................................20
6. MECHANICAL OVERVIEW .......................................................................................................21
6.1 TRANSCEIVER.....................................................................................................................................21
7. ORDERING INFORMATION.......................................................................................................22
7.1 PRODUCT PART NUMBERS..................................................................................................................22
7.2 DEVELOPER KIT PART NUMBERS .......................................................................................................22
8. REGULATORY INFORMATION................................................................................................23
8.1 AGENCY IDENTIFICATION NUMBERS ..................................................................................................23
8.2 APPROVED ANTENNA LIST...........................................................ERROR! BOOKMARK NOT DEFINED.
8.3 FCC/IC REQUIREMENTS FOR MODULAR APPROVAL .........................................................................23

1/7/03 5
8.4 OEM EQUIPMENT LABELING REQUIREMENTS ...................................................................................24
8.5 ANTENNA REQUIREMENTS .................................................................................................................24
8.6 WARNINGS REQUIRED IN OEM MANUALS ........................................................................................24
Figures
Figure 1 - RSSI Voltage vs. Received Signal Strength .................................Error! Bookmark not defined.
Figure 2 - LT3124 with MMCX................................................................................................................... 21
Tables
Table 1 - Pin Definitions ................................................................................................................................ 8
Table 2 - DC Input Voltage Characteristics ................................................................................................... 9
Table 3 - DC Output Voltage Characteristics................................................................................................. 9
Table 4 - EEPROM Parameters................................................................................................................... 12
Table 5 - Baud Rate/Timeout ...................................................................................................................... 13
Table 6 - Control Byte................................................................................................................................. 14

LT3124 Specifications
1/7/03 6
LT3124 Features
Simple 5 V TTL level serial interface for fast integration
Frequency Hopping Spread Spectrum for security and interference rejection
Cost Efficient for High volume applications
Small size for portable and enclosed applications
1. Overview
The LT3124 is a member of Laird Technologies’ ConnexRF OEM transceiver family. It is designed for
integration into OEM systems operating under FCC part 15.247 regulations for the 2.4 GHz ISM band.
The LT3124 is a cost-effective, High performance, 2.4 GHz frequency hopping spread spectrum
transceiver. It provides an asynchronous TTL level serial interface for OEM Host communications.
Communications include both system and configuration data. The Host supplies system data for
transmission to other Host(s). Configuration data is stored in an on-board EEPROM. All frequency
hopping, synchronization, and RF system data transmission/reception is performed by the transceiver.
LT3124 transceivers operate in a Point-to-Point or Point-to-Multipoint, Client/Server architecture. One
transceiver is configured as a Server and there can be one or many Clients. To establish
synchronization between transceivers, the Server emits a beacon. Upon detecting a beacon, a Client
transceiver informs its Host and an RF link is established.
There are two data rates the OEM should be aware of:
• Serial Interface Data Rate – All transceivers, when interfaced to an Laird Technologies
RS232 interface board in the SDK (or one provided by the OEM), can be configured to
common PC serial port baud rates from 9600 bps to 115200 bps.
• Effective Data Transmission Rate – The LT3124 is a highly efficient, Low-latency
transceiver.
This document contains information about the hardware and software interface between a Laird
Technologies LT3124 transceiver and an OEM Host. Information includes the theory of operation,
specifications, interface definition, configuration information and mechanical drawing.
The OEM must provide the Host hardware and software to control the transceiver. Certain timing
considerations must be followed. The OEM is responsible for ensuring the final product meets all FCC
and/or appropriate regulatory agency requirements before selling any product.

LT3124 Specifications
1/7/03 7
2. LT3124 Specifications
GENERAL
Interface 20 pin mini-connector
Serial Interface Data Rate PC baud rates from 9600 bps to 115200 bps
Power Consumption Duty Cycle (TX=Transmit; RX=Receive)
10%TX 50%TX 100%RX Pwr-Down
LT3124-200: 109 mA 216 mA 84 mA 15 mA
Channels (used to create independent networks) 64
Security Host Defined
RADIO
Frequency Band 2.402 – 2.478 GHz
Radio Type Frequency-Hopping Spread Spectrum
Output Power (conducted, no antenna) LT3124-200, 400 mW typical
Effective Isotropic Radiated Power (EIRP with 5dBi
gain antenna,)
LT3124-200, 1000 mW typical
Voltage 5 V nominal ±2%, ±50 mV ripple
Sensitivity -90 dBm typical
Range w/ 5dBi LT3124-200, Indoors to 500 ft., Outdoors to 15000 ft.
ENVIRONMENTAL
Temperature (Operating) LT3124: -40 °C to 80 °C
Temperature (Storage) -50 °C to 85 °C
Humidity (non-condensing) 10% to 90%
PHYSICAL
Dimensions 1.65” x 2.65” x 0.20”
Antenna LT3124-200, MMCX Jack
Weight Less than 0.75 ounce

LT3124 Specifications
1/7/03 8
3. Theory of Operation
3.1 INTERFACE SIGNAL DEFINITIONS
The LT3124 has a simple interface that allows OEM Host communications with the transceiver.
Table 1 – Pin Definitions, shows the connector pin numbers and associated functions. The I/O direction
is with regard to the transceiver. All I/O is 5 VDC TTL level signals except for RSSI. All outputs are
weakly pulled logic High (20k – 50k ohms) when left unconnected and are driven logic High at reset.
Table 1 - Pin Definitions
Pin Type Signal Name Function
1 NC NC No Connect
2 O TXD Transmitted data out of the transceiver
3 I RXD Data input to the transceiver
4 NC NC No Connect
5 GND GND Signal Ground
6 O Hop Frame Hop Frame – Active Low when the transceiver is hopping.
7 O CTS Clear to Send – Active Low when the transceiver is ready to accept data for transmission. This
is in response to a valid TE signal. A Client will not respond with CTS if it is not in range of a
Server.
8 NC NC No Connect
9 NC NC No Connect
10 PWR VCC 5 V ± 2%, ± 50 mV ripple
11 PWR VCC 5 V ± 2%, ±50 mV ripple
12 I/O Test
Mode/Packet
Frame
Test Mode
1. When pulled logic Low before applying power or resetting the transceiver’s serial
interface is forced to a 9600, 8, N, 1 rate.
2. When pulled logic Low and the
Configuration Start Byte
command is sent to the
transceiver, Configuration Mode is entered to read and write parameters in EEPROM.
See Section 4.5.1, Configuration Start Byte.
3. Pin 12 acts as an Output when Bit 3 of the Control byte is enabled. It transitions logic
Low at the start of a packet and logic High at the completion of a packet.
13 O RSSI Received Signal Strength Indicator - An analog output giving a relative indication of received
signal strength while in Receive Mode
14 I Write Enable EEPROM Write Enable – When pulled logic Low, it allows the Host to write the on-board
EEPROM. Resetting the transceiver with this pin pulled Low may corrupt EEPROM data.
15 I μP Reset μP Reset – Controlled by the LT3124 for power-on reset if left unconnected. After a Stable
power-on (4 ms) a 1 ms logic High pulse will reset the LT3124.
16 GND GND Signal Ground
17 I TE Transmit Enable – When pulled logic Low, the transceiver switches to transmit mode and will
respond with CTS when data can be transmitted by the Host.
18 I RE Radio Enable – When the RADIO_ENABLE_ENABLED control bit is set in EEPROM the
transceiver will only allow Host communications/control when this line is pulled logic Low. If
the RADIO_ENABLE_ENABLED control bit is cleared, the transceiver ignores this input.
19 NC NC No Connect
20 O In Range In Range – Active Low when a Client radio is in range of a Server on same Channel
I = Input to the transceiver O = Output from the transceiver NC = Do not connect PWR = Power

LT3124 Specifications
1/7/03 9
3.2 ELECTRICAL SPECIFICATIONS
Table 2 - DC Input Voltage Characteristics
Pin
Type
Name High Min. High Max.
Low Min.
Low Max. Unit
3 I RXD 0.2 Vcc+0.9 Vcc+0.5 -0.5 0.2 Vcc-0.1
V
12 I Test Mode/Packet Frame 0.2 Vcc+0.9 Vcc+0.5 -0.5 0.2 Vcc-0.1
V
14 I Write Enable 0.7Vcc Vcc+1 -0.3 0.5 V
15 I μP Reset 0.7Vcc Vcc+0.5 -0.5 0.2 Vcc-0.1
V
17 I TE 0.2 Vcc+0.9 Vcc+0.5 -0.5 0.2 Vcc-0.1
V
18 I RE 0.2 Vcc+0.9 Vcc+0.5 -0.5 0.2 Vcc-0.1
V
Table 3 - DC Output Voltage Characteristics
Pin Type Name High Min. Low Max. Unit
2 O TXD Vcc-0.7 @ -30 μA 0.4 @ 1.6 mA V
6 O Hop Frame Vcc-0.7 @ -30 μA 0.4 @ 1.6 mA V
7 O CTS Vcc-0.7 @ -30 μA 0.4 @ 1.6 mA V
13 O RSSI See Figure 1 See Figure 1 V
20 O In Range Vcc-0.7 @ -30 μA 0.4 @ 1.6 mA V

LT3124 Specifications
1/7/03 10
3.3 HOST SOFTWARE/HARDWARE INTERFACE DEFINITION
3.3.1 Host Transmit Frame Format
The LT3124 requires the following format in order to transmit a Host’s data packet over the RF link.
The frame consists of 3 bytes of preamble, 1 sync byte, a 16-bit length, and user data.
Byte 0 – 55h – preamble
Byte 1 – 55h – preamble
Byte 2 – 55h – preamble
Byte 3 – 3Ah – sync
Byte 4 – Length High (bits 15-8)
Byte 5 – Length Low (bits 7-0)
Byte 6 – First byte Host Data
Byte n – Last byte Host Data
Length High/Length Low is a 16-bit length value that represents the length of bytes 6 through n
inclusive. Both byte and packet gap times must be followed as specified in Table 6 – Baud
Rate/Timeout . The maximum length depends on the interface baud rate. The maximum transmit time
is 20 ms.
3.3.2 Host Receive Frame Format
The LT3124 transmits received RF data, beginning with the Length Bytes, to the Host following the
reception of a valid preamble. The preamble and the sync bytes are not transmitted to the Host. If valid
preamble bytes are not received, the transceiver will discard the data packet. The OEM Host is
responsible for performing validation/CRC on the Host Data if errors are undesirable.
Byte 0 – Length High
Byte 1 – Length Low
Byte 2 – First byte Host Data
Byte n – Last byte of Host Data
3.3.3 Hopping Status
If the SW_HOP_FRAME_ENABLE bit is set in EEPROM, the transceiver sends a XOFF character to the
Host when it is ready to hop. Following the completion of the hop, the transceiver sends a XON
character to inform the Host that the hop is completed. The Host must parse these bytes and assume if
a XOFF is received while transmitting a packet, the data did not reach the destination(s) and re-transmit
the packet.
XOFF = E2h Transmitted at the start of a frequency hop.
XON = ACh Transmitted at the completion of a frequency hop.
The Host can also detect hopping status by monitoring the HOP FRAME pin (Pin 6) on the connector.
The HOP FRAME pin is always enabled. HOP FRAME will transition logic Low at the start of a hop and
High at the completion of a hop.

LT3124 Specifications
1/7/03 11
3.3.4 In Range
The IN RANGE pin (Pin 20) at the connector will be driven logic Low when a Client is in range of a
Server on the same Channel. If a Client cannot hear a Server for 10s, it will drive the IN RANGE pin
logic High and enter a search mode looking for a Server. As soon as it detects a Server, the IN
RANGE pin will be driven logic Low. A Server Host can determine what Clients are in range by the
Server’s Host software polling a Client’s Host as the Server radio will always report in range.
3.3.5 RSSI
Received Signal Strength Indicator is used by the Host as an indication of instantaneous signal
strength at the receiver. The Host must calibrate RSSI without a signal being presented to the receiver.
Calibration is accomplished by following the steps listed below to find a minimum and maximum
voltage value.
1) Power up only one transceiver in the coverage area.
2) Measure the RSSI signal to obtain the minimum value with no other signal present.
3) Power up a transceiver that is the opposite type of the one measured in Step 2 (i.e. if the
transceiver was a Client, power up a Server, otherwise power up a Client). Make sure
the two transceivers are in close proximity and measure RSSI to obtain a maximum value
at full signal strength.

LT3124 Specifications
1/7/03 12
4. Configuring the LT3124
A Host can program various parameters that are stored in EEPROM and become active after a power-
on reset. Table 5 - EEPROM Parameters, gives the locations and functions of the parameters that can
be read or written by a Host. Factory default values are also shown.
Do not write to any EEPROM addresses other than those listed in Table 5 – EEPROM Parameters. Do
not copy a transceiver’s EEPROM data to another transceiver. Doing so may cause a transceiver to
malfunction.
Table 4 - EEPROM Parameters
Parameter EEPROM
Address
Default Function
Channel 40h 00h Byte range = 00h – 3Fh
Server/Client
Mode
41h 02h 01h = Server
02h = Client
BaudL 42h 0Ah Low Byte of the programmed baud rate
BaudH 43h 00h High Byte of the programmed baud rate
Control 45h 10h Radio Control Byte:
Bit 7 – Laird Technologies use only
Bit 6 – Laird Technologies use only
Bit 5 – Laird Technologies use only
Bit 4 – Laird Technologies use only
Bit 3 – DATA_FRAME
0 = Disable packet frame
1 = Enable packet frame
Bit 2 – Laird Technologies use only
Bit 1 – RADIO_ENABLE_ENABLED
0 = Disable RE
1 = Enable RE
Bit 0 – SW_HOP_FRAME_ENABLE
0 = Disable XON/XOFF
1 = Enable XONXOFF
Timeout 53h FDh Serial Byte Gap Timeout Value
Search Time 59h F3h Protocol parameter that varies with interface
baud rate

LT3124 Specifications
1/7/03 13
4.1 CHANNEL
A transceiver can be programmed to one of 64 different Channels. Clients will receive and transmit to
a Server programmed on the same Channel and vice versa. The Channel can be programmed with a
value ranging from 00h to 3Fh.
4.2 SERVER/CLIENT MODE
The Server/Client Mode byte tells a transceiver to operate in Client or Server Mode. See Section 5,
Interfacing to the LT3124 for more detail on the usage of this parameter.
4.3 BAUD RATE
This two-byte value determines the baud rate used for communicating over the serial interface to the
transceiver. Table 6 - Baud Rate/Timeout lists values for some common baud rates. Baud rates below
9600 are not supported.
When programming a baud rate, the associated Timeout and EEPROM address 59h values must also
be programmed for proper operation. If the Test Mode/Packet Frame pin (Pin 12) is pulled logic Low
at reset, the baud rate will be forced to 9600.
For Baud Rate values other than those shown in Table 6 - Baud Rate/Timeout, the following equations
can be used:
BAUD = (18.432E+06/(32*desired baud rate))
BaudH = High 8 bits of BAUD (base16)
BaudL = Low 8 bits of BAUD (base16)
Table 5 - Baud Rate/Timeout
Baud
Rate
BaudL
(42h)
BaudH
(43h)
Timeout
(53h)
Search Time
(59h)1
Delay
(ms)2
115200 05h 00h FEh F3h 1.4
57600 0Ah 00h FDh EBh 2.8
38400 0Fh 00h FCh E3h 4.2
28800 14h 00h FBh DAh 5.6
19200 1Eh 00h F9h CAh 8.3
14400 28h 00h F7h B9h 11.1
9600 3Ch 00h F3h 98h 16.7
1 EEPROM address 59h must be set to the value listed for each baud rate.
2 As a packet is received by a transceiver and is transmitted to its Host, a delay in the amount indicated
for each baud rate will be introduced between the two length bytes and the remainder of the
data packet.

LT3124 Specifications
1/7/03 14
4.4 CONTROL
The individual bits in the Control byte alter the operation of a transceiver. The Bit definitions follow:
Table 6 - Control Byte
Bit Definition
0 Controls if a transceiver sends XON and XOFF characters to the Host, XOFF at the start of the
hop and XON at the end of the hop.
1 When the RADIO_ENABLE_ENABLED bit is set to a value of 1, the transceiver will only allow
Host communications/control when RE (Pin 18) is pulled logic Low. If the
RADIO_ENABLE_ENABLED bit is cleared, the transceiver ignores the RE input.
2 Laird Technologies use only.
3 When the Data_Frame bit is set to a value of 1, the Test Mode/Packet Frame pin (Pin 12)
transitions logic Low at the start of a packet and logic High at the completion of a packet. The
completion of a packet is determined by the length specified in the Host transmit and receive
frame format as shown in Section 3.3.1, Host Transmit Frame Format and Section 3.3.2, Host
Receive Frame Format respectively. Therefore, this pin will not detect byte gaps, it will only
transition logic High after the correct number of bytes have been transmitted or received.
4 Laird Technologies use only.
5 Laird Technologies use only.
6 Laird Technologies use only.
7 Laird Technologies use only.
4.5 CONFIGURATION COMMAND SET
The configuration commands allow the Host to read and write EEPROM parameters. A transceiver
looks at the first byte of a sequence from the Host. If the first byte is the
Configuration Start Byte
(65h),
and the Test Mode/Packet Frame pin (Pin 12) is pulled logic Low, a transceiver will enter Configuration
Mode. The Host can then read and write parameters using the
EEPROM Byte Read
and
EEPROM
Byte Write
commands. The command begins with Byte 0. All bytes are echoed back to the Host as
they are received. The Host must not pull TE logic Low when using this mode. To exit Configuration
Mode, the Host must perform a hardware or power-on reset. See Section 5.1.3, Configuration Mode
for more information on how to program the LT3124.
4.5.1 Configuration Start Byte
The
Configuration Start Byte
command is sent once by the Host to enter Configuration Mode. After
receiving this byte from the Host with the Test Mode/Packet Frame pin (Pin 12) pulled logic Low,
EEPROM Byte Read
and
EEPROM Byte Write
commands can be sent to the Host.
Byte 0 = 65h

LT3124 Specifications
1/7/03 15
4.5.2 EEPROM Byte Read
The read routine includes the read command, address, and length bytes. Upon receiving this
command, a transceiver will transmit the desired data from the address requested by the Host. The
length byte must be set to 01h. Only single byte reads are allowed.
Byte 0 = C0h Read Command
Byte 1 = XXh Address (XX = EEPROM addresses from Table 5 - EEPROM
Parameters)
Byte 2 = 01h Length = 01h
4.5.3 EEPROM Byte Write
The write routine includes the write command, address, length, and data bytes. Upon receiving this
command, a transceiver will write the data byte to the address specified but will not echo it back to the
Host until the EEPROM write cycle is complete. The write can take as long as 10 ms to complete.
Following the write cycle, a transceiver will transmit the data byte to the Host. The Write Enable pin
(Pin 14) must be pulled logic Low to enable the write prior to issuing this command or the write will not
occur, requiring the transceiver to be reset. The length byte must be set to 01h. Only single byte writes
are allowed.
Byte 0 = C1h WRITE Command
Byte 1 = XXh Address (XX = EEPROM addresses from Table 5 - EEPROM
Parameters)
Byte 2 = 01h Length = 01h
Byte 3 = XXh Data (XX = Valid EEPROM address value)
Note: The Write Enable pin on the connector should only be pulled logic Low before sending an
EEPROM Byte Write
command and must be held logic Low until the data byte is echoed to the Host.
4.6 ON-THE-FLY CONTROL COMMAND REFERENCE
The LT3124 transceiver contains static memory that holds many of the parameters that control the
transceiver operation. Using the “CC” command set allows many of these parameters to be changed
during system operation. Because the memory these commands affect is static, when the transceiver
is reset, these parameters will revert back to the settings stored in the EEPROM. All “CC” commands
must be issued from the Host to the transceiver with both Test Mode/Packet Frame (pin 12) and TE
(Pin 17) pulled logic High.

LT3124 Specifications
1/7/03 16
4.6.1 Status Request
The Host issues this command to request the status of the transceiver.
Host Command:
Byte 1 = CCh
Byte 2 = 00h
Byte 3 = 00h
Transceiver Response:
Byte 1 = CCh
Byte 2 = Firmware version number
Byte 3 = Data1
Where:
Data1 =
00 for Server in Normal Operation
01 for Client in Normal Operation
02 for Server in Acquisition Sync
03 for Client in Acquisition Sync
4.6.2 Change Channel
The Host issues this command to change the channel of the transceiver.
Host Command:
Byte 1 = CCh
Byte 2 = 01h
Byte 3 = RF Channel Number (Hexadecimal)
Transceiver Response:
Byte 1 = CCh
Byte 2 = RF Channel Number (Hexadecimal)
4.6.3 Change Channel with Forced Acquisition Sync
The Host issues this command to change the channel of the transceiver and force the transceiver to
actively begin synchronization.
Host Command:
Byte 1 = CCh
Byte 2 = 02h
Byte 3 = RF Channel Number (Hexadecimal)
Transceiver Response:
Byte 1 = CCh
Byte 2 = RF Channel Number (Hexadecimal)

LT3124 Specifications
1/7/03 17
4.6.4 Server/Client Command
The Host issues this command to change the mode (Server or Client) of the transceiver and can force
the transceiver to actively begin synchronization.
Host Command:
Byte 1 = CCh
Byte 2 = 03h
Byte 3 = Data1
Where:
Data1 =
00 for Server in Normal Operation
01 for Client in Normal Operation
02 for Server in Acquisition Sync
03 for Client in Acquisition Sync
Transceiver Response:
Byte 1 = CCh
Byte 2 = Software Version Number
Byte 3 = Data1
Where:
Data1 = Data1 from Host Command

LT3124 Specifications
1/7/03 18
5. Interfacing to the LT3124
5.1 OPERATING MODES
The LT3124 uses an 8-bit programmable asynchronous serial interface to communicate to a Host. The
interface uses one start bit, eight data bits, one stop bit, and no parity. Only the interface baud rate is
programmable by the Host.
A typical system consists of one transceiver operating in Server Mode and one or many transceivers
operating in Client Mode. This Client/Server architecture does not allow Clients to communicate with
other Clients or Servers to communicate with other Servers. Data transmitted by a Server is broadcast
to all Clients that are in-range of that Server. A Server receives data sent by the Client(s). All protocol
functions (retries, addressing, CRCs, etc.) must be performed by the Host software. All frequency
hopping and synchronization is provided automatically by the transceiver without Host intervention.
The transceiver firmware is always operating in one of six modes. The Host can determine, through
hardware and/or software, what mode the transceiver is operating by using the HOP FRAME pin
(Pin 6) or the software XON/XOFF data.
5.1.1 Receive Mode
A transceiver is in Receive Mode by default when it is not in any other operating mode. While in this
mode, a transceiver is looking for valid preamble and sync data bytes from a transmitter. When valid
preamble and sync bytes are detected, a transceiver will transmit data received on the RF link to the
Host using the Host Receive Frame Format shown in Section 3.3.2, Host Receive Frame Format.
5.1.2 Transmit Mode
The transceiver must already be in Receive Mode before initiating Transmit Mode. The Host software
initiates transmission of a data packet on the RF link by taking TE logic Low, waiting for CTS to go logic
Low, followed by sending the specified preamble, sync, length, and data bytes. A Client will only
accept data from its Host when it is in-range of a valid Server. There must be no time gap in between
subsequent bytes and TE must be Low for a maximum of 20 ms. At the end of the transmission, TE
must promptly be taken logic High, after which, the transceiver will drive CTS logic High, returning it to
Receive Mode. The Host software must perform MAC layer functions (retries, addressing, CRCs, etc.).
If a Client is not in-range of a Server, CTS will remain logic High and Transmit Mode will not be entered.
The following sequence transmits a packet on the RF link:
1. The Host drives the TE pin (Pin 17) logic Low.
2. The transceiver responds by driving the CTS pin (Pin 7) logic Low.
3. The Host sends serial bytes as specified in the Host Transmit Frame Format shown in
Section 3.3.1, Host Transmit Frame Format. The transceiver transmits each byte over
the RF as it is received from the Host, not exceeding 20 ms in duration.
4. The Host drives TE logic High after the last byte is received by the transceiver.
5. The transceiver responds by driving CTS logic High and returns to Receive Mode.

LT3124 Specifications
1/7/03 19
5.1.3 Configuration Mode
The Configuration Mode is used to read and write the EEPROM parameters listed in
Table 5 - EEPROM Parameters. While in this mode, a transceiver will not receive any data over the RF
link. TE should be High and CTS should be ignored.
The Host enters this mode with the following sequence. See Section 4.5, Configuration Command Set
for valid command formats.
1. The Host pulls the Write Enable pin (Pin 14) logic Low (if writing).
2. The Host pulls the Test Mode/Packet Frame pin (Pin 12) logic Low.
3. The Host sends the
Configuration Start Byte
to the LT3124.
4. The transceiver echoes the
Configuration Start Byte
to the Host.
5. The Host sends the
EEPROM Byte Read
or the
EEPROM Byte Write
command.
6. Upon completing the read/write, the transceiver echoes the command to the Host.
7. The Host repeats steps 5 – 6 until done.
8. The Host drives the Test Mode/Packet Frame and Write Enable pins logic High.
9. The Host resets the transceiver.
Note: The Write Enable pin should not be permanently tied logic Low as brownout conditions can
corrupt EEPROM data.
5.1.4 On-the-Fly Configuration Mode
The On-the-Fly Configuration Mode is used to change certain static parameters on the fly. TE and Test
Mode/Packet Frame should be High while using this mode. CTS should be ignored.
1. The Host issues the CC Command.
2. The transceiver acts upon the command.
3. The transceiver sends the CC Command response when completed.
5.1.5 Hopping Mode
The Hopping Mode is controlled by the transceiver. The transceiver hops approximately every 100ms.
During this time, the transceiver is changing the frequency it will use to transmit and receive. The
transceiver informs the Host of the start of a hop by taking the HOP FRAME pin (Pin 6) logic Low and
sending the XOFF data byte, if enabled in the EEPROM. Once the hop has completed, a transceiver
will take HOP FRAME logic High and send the XON byte, if enabled in the EEPROM. When the Host
software detects the Hopping Mode during a transmission of a packet, it can be assumed the packet
did not reach it’s destination and the Host should resend the packet.

LT3124 Specifications
1/7/03 20
5.1.6 Beacon Mode
Beacon Mode only applies to a Server and is the default mode after a transceiver reset. In order to
synchronize the hopping of all transceivers in a system, a Server transmits beacon data consisting of
system timing information at a periodic rate. Beacons are sent after each hop. Beacons are also
transmitted when a Server is transmitting data over the RF link. The beacon data is not transmitted or
available to either the Client or Server Host. The beacon takes approximately 2 ms to complete. The
Server Host can ignore the hop if the Host software has retry capabilities or can tolerate non-delivery of
data. Empirical testing shows a 3 to 5 percent loss of data when ignoring the hop indicators.
5.2 DATA RATES
Various data rates, timings, and system architecture need to be considered when determining Overall
System Throughput in a RF data system. The Host controls the Serial Interface Data Rate; however,
the transceiver has a fixed RF Data Rate. The Effective Data Transmission Rate is determined from
both Host and transceiver operation.
5.2.1 Serial Interface Data Rate
The Serial Interface Data Rate is programmable by the Host. This is the rate the Host and transceiver
communicate over the serial bus. Typical values range from 9600 bps to 115200 bps. The only
supported mode is asynchronous – 8-bit, No Parity, 1 Start Bit, and 1 Stop Bit.

LT3124 Specifications
1/7/03 21
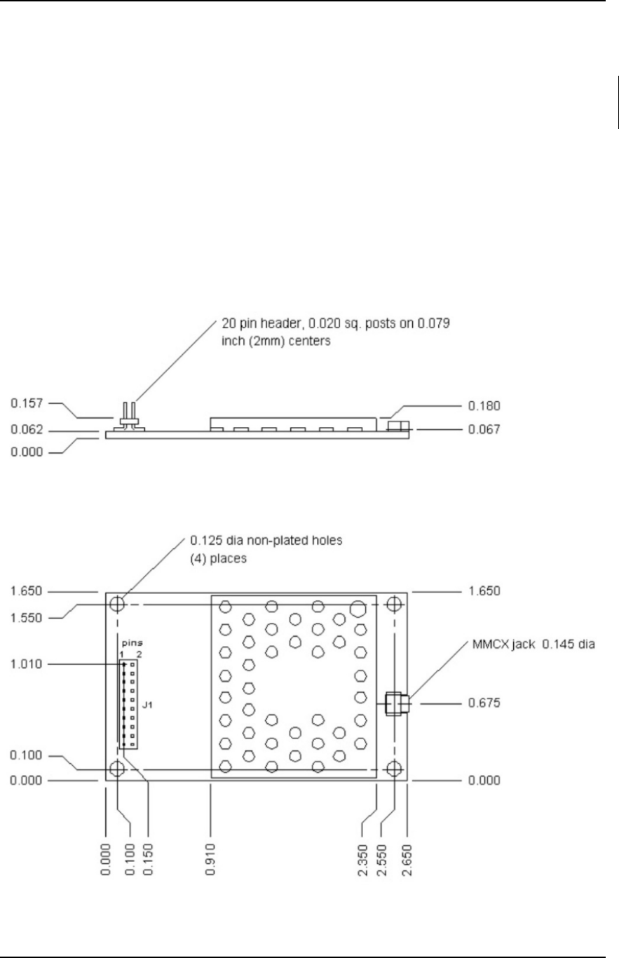
6. Mechanical Overview
6.1 TRANSCEIVER
All LT3124 products measure 1.65”W x 2.65”L. Critical parameters are as follows:
• J1 – 20 pin OEM interface connector (Samtec TMM-110-01-L-D-SM, mates with Samtec
SMM-110-02-S-D)
• MMCX Jack – Antenna connector (Telegartner P/N J01341C0081) mates with any
manufacturer’s MMCX plug
Figure 1 - LT3124 with MMCX

LT3124 Specifications
1/7/03 22
7. Ordering Information
7.1 PRODUCT PART NUMBERS
LT3124-200: LT3124 with 400 mW output power, interface data rates to 115.2 Kbps, MMCX antenna
connector, -40 °C to +80 °C.
7.2 DEVELOPER KIT PART NUMBERS
SDK-3124-200: Includes (2) LT3124-200 transceivers, (2) RS232 Serial Adapter Boards, (2) 7.5 Vdc
regulated power supplies, (2) Serial cables, (2) S151FL-5-RMM-2450S dipole
antennas with 5” pigtail and MMCX connector, configuration/testing software,
Integration engineering support.

LT3124 Specifications
1/7/03 23
8. Regulatory Information
8.1 AGENCY IDENTIFICATION NUMBERS
Part Number US/FCC CANADA/IC
LT3124-200 KQL-4424200 2268C-4424200
8.2 APPROVED ANTENNA LIST
Item Part Number Mfg. Type Gain (dBi)
1 MFB24008 Maxrad Omni 8
2 NZH2400-MMCX Laird Technologies Microstrip 1
3 ID2450-RS362 Laird Technologies Panel 9
4 S151FC-L-(132)PX-2450S Nearson Dipole 5
1. The OEM is free to choose another vendor’s antenna of like type and equal or lesser gain as
an antenna appearing in the table and still maintain compliance.
8.3 FCC/IC REQUIREMENTS FOR MODULAR APPROVAL
In general, there are two agency classifications of wireless applications; portable and mobile.
Portable – Portable is a classification of equipment where the user, in general, will be within 20 cm of
the transmitting antenna. Portable equipment is further broken down into two classes; within 2.5 cm of
human contact and beyond 2.5 cm. The LT3124 not agency approved for portable applications. The
OEM is required to have additional testing performed to receive this classification. Contact Laird
Technology for more details.
Mobile – Mobile defines equipment where the user will be 20 cm or greater from the transmitting
equipment. The antenna must be mounted in such a way that it cannot be moved closer to the user
with respect to the equipment, although the equipment may be moved.
This equipment has been approved for mobile applications where the equipment should be used at
distances greater than 20 cm from the human body. Operation at distances of less than 20 cm would
require additional RF exposure evaluation, including SAR requirement according to FCC RF Exposure
guideline.
NOTE: This equipment has been tested and found to comply with the limits for a Class B digital device,
pursuant to Part 15 of the FCC Rules. These limits are designed to provide reasonable protection
against harmful interference in a residential installation. This equipment generates, uses and can
radiate radio frequency energy and, if not installed and used in accordance with the instructions, may
cause harmful interference to radio communications. However, there is no guarantee that interference
will not occur in a particular installation. If this equipment does not cause harmful interference to radio
or television reception, which can be determined by turning the equipment off and on, the user in
encouraged to try to correct the interference by one or more of the following measures:
• Re-orient or relocate the receiving antenna
• Increase the separation between the equipment and the receiver

LT3124 Specifications
1/7/03 24
• Connect the equipment to an outlet on a circuit that is different from that to which the
receiver is connected.
• Consult the dealer or an experienced radio/TV technician for help.
8.4 OEM EQUIPMENT LABELING REQUIREMENTS
WARNING: The OEM must ensure that FCC labeling requirements are met. This includes a clearly visible
label on the outside of the OEM enclosure specifying the appropriate Laird Technology FCC identifier for
this product as well as the FCC notice below. The FCC identifiers are listed above.
Contains FCC ID:KQL-4424200
This enclosed device complies with Part 15 of the FCC Rules, Operation is subject to the following two
conditions: (1) This device may not cause harmful interference, and (2) This device must accept any
interference received, including interference that may cause undesired operation
Label and text information should be in a size of type large enough to be readily legible, consistent with
the dimensions of the equipment and the label. However, the type size for the text is not required to be
larger than eight point.
8.5 ANTENNA REQUIREMENTS
To reduce potential radio interference to other users, the antenna type and gain should be chosen so
that the equivalent isotropically radiated power (e.i.r.p.) is not more than that permitted for successful
communication.
WARNING: This device has been tested with an MMCX connector with the above listed antennas.
When integrated into the OEM’s product, these fixed antennas require professional installation
preventing end-users from replacing them with non-approved antennas. Any antenna not listed in the
above table must be tested to comply with FCC Section 15.203 for unique antenna connectors and
Section 15.247 for emissions. Contact Laird Technology for assistance.
Caution: Any changes or modifications not expressly approved by Laird Technology could void the
user’s authority to operate the equipment.
8.6 WARNINGS REQUIRED IN OEM MANUALS
WARNING: This equipment has been approved for mobile applications where the equipment should
be used at distances greater than 20cm from the human body. Operation at distances of less than
20cm is strictly prohibited and requires additional SAR testing.
