FKA Distributing WM1900D Bluetooth Speaker User Manual
FKA Distributing Co., LLC Bluetooth Speaker
User Manual

With col
o
LED
B
W
LED
o
r-changing 
lights
W
D19AAS12
lights
Ver.01 Rev.12/05/2018

Power
Power
Volume Down/
ik
Play/
P
POWER:
Press and hold the.      Power button for 2 
s
VOLUME +:
Short press (< 0.5s) the Volume Up + butt
+ button 
(
2s
)
 to 
g
o to the next track. 
Prev
i
ous Trac
k
() g
VOLUME - :
Short press (< 0.5s) the Volume Down – b
u
hold (2s) the – button to go to previous tr
a
INDICATOR LIGHT STATUS: 
Power on –
When the speaker is turned o
n
momentarily.
Bluetooth pairing indicator –
When the sp
e
indicates the speaker is ready to pair. Onc
e
turn off. 
Power Off -
when the speaker is turned of
f
solid blue, then turn off. 
Battery charging 
– when speaker is chargi
n
Once the speaker is fully charged, the ligh
t
LED Program selector
Volume Up/
k
P
ause
s
econds to turn device on or off.  
on to turn up volume. Press and hold the 
Next Trac
k
u
ttons to turn down volume.  Press and 
a
ck. 
n
, a solid blue light will appear 
e
aker is turned on, a flashing blue light 
e
 paired, the light will turn solid blue, then 
f
, the indicator light will momentarily turn 
n
g, the indicator light will turn solid red. 
t
 will turn off. 

SPEAKER PAIRING:
SPEAKER
PAIRING:
To pair the speaker: 
1. Make sure the smartphone, tablet, or computer 
y
2. Turn on the speaker (press and hold the power b
u
light. 
3. Find the BW COLOR SPK S speaker in your devic
The device and 
Bluetooth 
will find each other ever
y
and your device’s 
Bluetooth 
is on. If you’re conn
e
manual on how to sync your computer to 
Bluetoot
h
Auto-off: If the speaker is on but is not connected t
Once paired, the speaker will automatically shut do
w
DISCONNECTING DEVICE: 
Press the       
button
for up to 2 seconds to disco
pairing mode. 
LIGHT PROGRAMS
Ph b lhhhlih
P
ress t
h
e          
b
utton to cyc
l
e t
h
roug
h
 t
h
e 
li
g
h
t p
r
Program 1: Slow fade color transition.
Program 2: Fast Color change.
Program 3: Color select.  Stops on the current color 
Program 4: Move to the beat.
Program 5: Candle flicker.
P6Off
P
rogram 
6
: 
Off
y
ou’re using with the speaker has 
Bluetooth
. 
u
tton for 2 seconds) and look for the small blinking 
e’s 
Bluetooth 
list, and select.
y
 time, so long as the speaker is set to 
Bluetooth 
e
cting to a computer, consult with your owner’s 
h
. 
o 
Bluetooth
, it will shut down after 2 minutes. 
w
n if paused for 15 minutes or more. 
nnect the speaker from the device and enter into 
r
ograms.
displayed.

AUX
IN MODE:
USB Charging port
AUX
-
IN
MODE:
1. Plug one end of the cord in
t
into the headphone jack on 
(NOTE: The speaker must be o
n
USB CABLE: 
25 cm micro-USB cable. 
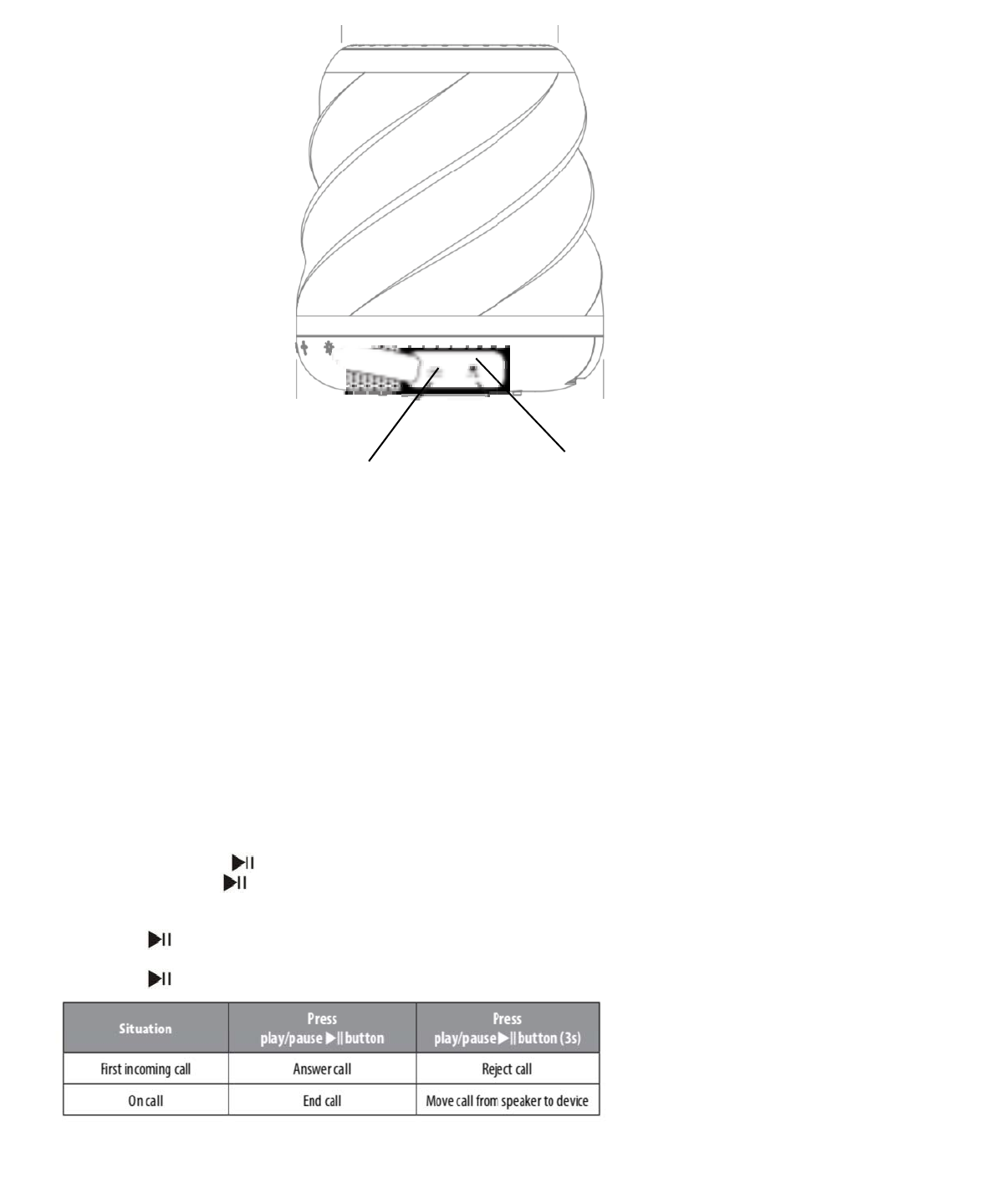
CALL HANDLING: 
INCOMING CALL: 
Answering and ending a call 
– When speaker is paired t
o
press the play/ pause
button to answer the call To
press
the
play/
pause
button
to
answer
the
call
. 
To
press the play/pause    button. 
Move call from speaker to device 
– If you are on the cal
move the call from the speaker to your device, press th
e
play/pause    button (3s). 
Reject an incoming call 
– To reject an incoming call, pre
play/pause    button (3s) 
AUX-IN
t
o the speaker and the other 
your device.  Press play.
n
 in order to play.)
o
 your phone, 
oendacall
o
end
a
call
, 
l and wish to 
e
ss the 

FCC WARNING: 
This equipment has been tested and found to comply with th
e
limits for a Class B digital device, pursuant to Part 15 of the F
C
Rules. These limits are designed to provide reasonable protec
t
against harmful interference in a residential installation. This 
equipment generates, uses, and can radiate radio frequency e
n
and, if not installed and used in accordance with the instructio
and,
if
not
installed
and
used
in
accordance
with
the
instructio
may cause harmful interference to radio communications. 
However, there is no guarantee that interference will not occu
particular installation. If this equipment does cause harmful 
interference to radio or television reception, which can be 
determined  by turning the equipment off and on, the user is 
encouraged to try to correct the interference by one or more 
o
the following measures: 
•Reorient or relocate the receiving antenna. 
Inc ease the sepa ation bet een the eq ipment and ecei e
•
Inc
r
ease
the
sepa
r
ation
bet
w
een
the
eq
u
ipment
and
 r
ecei
v
e
r.
•Connect the equipment into an outlet on a circuit different fr
o
that to which the receiver is connected. 
•Consult the dealer or an experienced radio/TV technician for 
Any changes or modifications not expressly approved by the 
p
responsible for compliance could void the user’s authority t
o
operate the equipment. 
This device complies with Part 15 of the FCC Rules. Operation 
subject to the following two conditions: (1) This device may n
o
cause harmful interference, and (2) This device must accept a
n
interference received, including interference that may cause 
undesired operation. 
FCC RF EXPOSURE STATEMENT: 
•This equipment complies with FCC radiation exposure limits 
s
forth for an uncontrolled environment. This transmitter must 
n
be co
located or operating in conjunction with any other ante
be
co
-
located
or
operating
in
conjunction
with
any
other
ante
or transmitter. 
ISEDC CAUTION: 
•This device complies with Innovation, Science, and Economic 
Development Canada license exempt RSS standard(s). Operati
subject to the following two conditions: (1) This device may n
o
cause interference, and (2) This device must accept any 
interference, including interference that may cause undesired 
operation of the device. 
ISEDC RF EXPOSURE STATEMENT: 
•The device is in compliance with RF exposure guidelines, use
r
obtain Canadian information on RF exposure and compliance. 
Blackweb is a trademark of Walmart Stores, Inc. Bluet
o
word mark and lo
g
os are re
g
istered trademarks ow
n
Bluetooth SIG, Inc., and any use of such marks by Black
w
under license. Distributed b
y
 Walmart Stores, Inc., Bent
o
AR 
© 2019 Walmart Stores, Inc. All ri
g
hts re
s
Walma
IB-W
M
e
C
C 
t
ion 
n
ergy 
ons,
SPLASH PROOF (IPX4 RATING): 
IPX4 rating means this speaker is splash proof. 
Water being splashed on the speaker from any 
direction will not cause any harm to the speaker 
or affect its performance. 
CLEANING:
ons,
r in a 
o
f 
CLEANING:
Use a soft, dry towel to clean the speaker. Using 
water, harsh cleaners, or anything else may cause 
harm to the mechanics inside. Remember to keep 
the charging and aux flap flush with the speaker 
for the best protection. 
IMPORTANT LEGAL INFORMATION 
IMPORTANT SAFEGUARDS: 
When sing an elect ical p od ct basic
o
m 
help. 
p
arty 
o
When
 u
sing
an
elect
r
ical
p
r
od
u
ct
, 
basic
precautions should always be followed, including 
the following: 
READ ALL INSTRUCTIONS BEFORE USING 
•WARNING: Listen responsibly. To avoid 
hearing damage, make sure the volume on 
your device is turned down before connecting 
to the speaker. After turning on your speaker, 
g
raduall
y
 turn u
p
 the volume until 
y
ou reach a 
is 
o
t 
n
y 
s
et 
n
ot 
nna
gyp y
comfortable listening volume. 
•Use this product only for its intended use as 
described in this manual. Do not use attachments 
not recommended by Blackweb. 
•Blackweb is not liable for any damage caused to 
martphones, iPod/MP3 players, or any other 
device. 
•Do not place or store this product where it can 
fall or be dropped into a tub or sink
nna
on is 
o
t 
fall
or
be
dropped
into
a
tub
or
sink
. 
•Do not place or drop into water or any other 
liquid. 
•Not for use by children. THIS IS NOT A TOY. 
•Never operate this product if it has a damaged 
cord, plug, cable, or housing. 
•Keep away from heated surfaces. 
•Only set on dry surfaces. Do not place on 
surfaces wet from water or cleaning solvents. 
r
s can  •A MESSAGE FROM THE ENVIRONMENT
WARNING: This product has an internal, non-
replaceable lithium battery. Please dispose of 
in accordance with your local, state, province, 
and country guidelines. This product contains 
small parts that may present a choking hazard 
for young children.
o
oth® 
n
ed b
y
w
eb is 
o
nville, 
72716 
•CAUTION: All servicing of this product must 
be performed by authorized audio Service 
personnel only. 
s
erved.
rt.com
M
1900