FLOWBIRD STRADA-RAPIDE PAY & PLAY MACHINE WITH WI-FI User Manual Wifi kit user s manual

PARKEON PAY & PLAY MACHINE WITH WI-FI Wifi kit user s manual

Contents

users manual 2

    MKL 05/018 Wifi kit Neops base terminals Operation manual
    WIFI kit - Neops base terminals - Operation manual 2    Original edition in French (ref. MKL 05/019) Translated into English in February 2006.  Copyright 2006 Parkeon. All rights reserved. Parkeon reserves all proprietary rights relating to the contents of this document. Parkeon reserves all rights over usage, reproduction, representation, marketing, translation, adaptation or modification, and generally all rights over present and future utilisation by any means, for any purpose and in any territory, throughout the period of protection. All use of the contents of this document requires the prior written permission of Parkeon. Parkeon reserves the right to change data, drawings and descriptions without prior notice. Certain characteristics may vary according to customer requirements and do not represent a commitment by Parkeon. Parkeon UK Ltd. Membrain House Ferndown Industrial Estate Wimborne, Dorset BH21 7PP - United Kingdom Phone +44 1202 850927 - Fax +44 1202 850903 Parkeon Inc. 40 Twosome Drive, Unit 7 Moorestown NJ 08057 - USA Phone +1 856 234 8000 - Fax +1 856 234 7178 Parkeon S.A.S. Parc La Fayette, 6 rue Isaac Newton, 25075 Besançon Cedex 9 - France Phone +33 (0)3 81 54 56 00 – Fax +33 (0)3 81 54 49 96 Head office: Le Barjac, 1 boulevard Victor, 75015 Paris - France  Phone +33 (0)1 58 09 81 10 – Fax +33 (0)1 58 09 81 26 Parkeon S.A.S au capital de 30.382.146 euros 444 719 272 R.C.S. Paris Printed in France.
    WIFI kit - Neops base terminals - Operation manual 3 Contents  1. ABOUT THIS DOCUMENT… ...................................................................................... 4 2. CHARACTERISTICS ..................................................................................................... 5 2.1  MAIN BOARD ............................................................................................................... 5 2.2  SLAVE BOARD ............................................................................................................. 6 2.3  DESCRIPTION OF FUNCTIONS ....................................................................................... 7
    WIFI kit - Neops base terminals - Operation manual 4 1.  About this document… This document describes the operation of the Wifi kit: •  Starting up, •  operation, •  maintenance, used to centralise Neops base terminals in Wifi.  Reference  ocument describing the configurations of centralised systems MKL 04/020  User manual of Parkfolio Neo On-Line  Document ref. 141596     FCC Compliance Statement  This device complies with part 15 of the FCC rules. Operation is subject to the following two conditions:  1. This device may not cause harmful interference, and 2. This device must accept any interference received, including interference that may cause undesired operation.  Note: The manufacturer is not responsible for any radio or tv interference caused by unauthorized modifications to this equipment. Such modifications could void the user's authority to operate the equipment.
    WIFI kit - Neops base terminals - Operation manual 5 2.  Characteristics 2.1  Main board         Socket A of rack's ribbon cable (for card reader and relay board) Earthing pins Socket B of rack's ribbon cable Main board protective cover On/off switch Battery socket Power sockets for peripherals Power socket 50-pin socket for display unit and keypad ribbon cable D4849 Datapack connector D4628 Centralisation connector Loader card connected to 20-pin socket Extraction lever Loader socket
    WIFI kit - Neops base terminals - Operation manual 6 2.2  Slave board The slave board is connected directly to the main board centralisation connector.      Slave board + modem (top view)  Slave board (bottom view)               D5336 D5335 Antenna Connector Antenna connector Centralisation connector (for main board) Slave board Wifi Modem Antenna Adaptator
    WIFI kit - Neops base terminals - Operation manual 7 2.3   Description of functions 2.3.1  Installation and initialisation The slave board and modem are mounted on the main board. Make sure the antenna is properly. Function 80: modem initialisation.  To initialise the modem, use on-site programming function 80 described below: 1. MODEM PRESENT YES: 1     NO: 2 Enter 1 to start initialising the modem. Modem initialisation: From that point on, the main board initialises the modem without any more user input. The main board displays progress of the initialisation stage: 2. PLEASE WAIT During this stage, the main board powers up the modem. 3. MODEM INITIALISATION During this stage, the modem sends initialisation. If the initialisation procedure fails at this point (message “Init. not completed”), that means the slave board is not answering the main board.  If the procedure is completed correctly, the main board moves on to the next stage.
    WIFI kit - Neops base terminals - Operation manual 8 4. NETWORK REGISTRATION During this stage, the main board waits for the modem to register on the Wifi network.  1.  If initialisation fails during this stage (message “Init. not completed”), that means that the modem cannot be registered on the Wifi network : check that the antenna is correctly connected to the modem and that the antenna cable is correctly screwed to the antenna adapter.  5. INITIALISATION COMPLETED When the main board displays this message, that means that the modem has been successfully initialised. Initialisation is used to: •  check assembly in the terminal; •  check that the modem is capable of registering with the network. That is why function 80 should be repeated every time, whenever: •  a new kit is installed; •  the kit is removed from then put back into the terminal; Once the modem has been initialised, it still needs initialising on the terminal: •  call numbers: server-side IP address (function 44); •  configuring whether or not alarms are sent to the server (function 42).
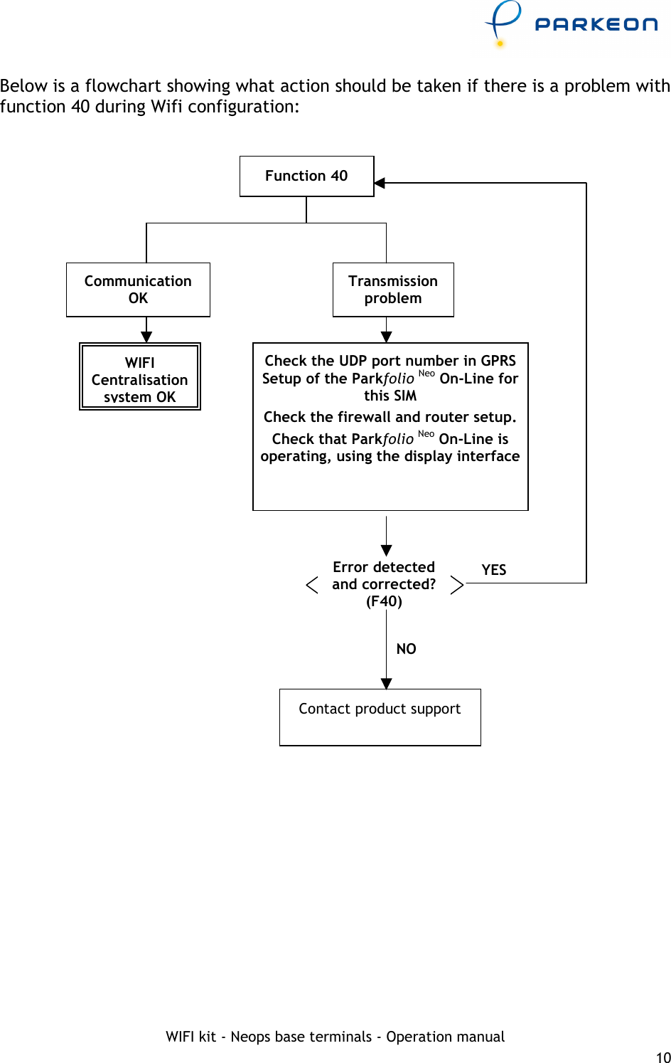
    WIFI kit - Neops base terminals - Operation manual 9 Programming Parkfolio Neo On-Line numbers (function 44) This function is used to save the Parkfolio Neo On-Line numbers in the memory of the main board. Numbers 1 to 10 are the server's IP address for Wifi. 2.3.2  Wifi communication To make a Wifi call, just use function 44 to programme the IP address of the Parkfolio Neo On-Line. In order to make a GPRS call, the terminal needs to know the server’s UDP Port number : this is the number of the port used to communicate with Parkfolio Neo On-Line. The port number entered while setting up Parkfolio Neo On-Line for Wifi communication is to be used here. Function 40: communication test Function 40 is used to test communication between the terminal and the communication server irrespective of the communication medium (Mobitex, GSM, SMS, GPRS and Wifi). 1.  If a GSM Data number is programmed, the main board will try and make a GSM Data call with Parkfolio Neo On-Line. If the call succeeds and communication with Parkfolio Neo On-Line is satisfactory, the main board displays the message "Communication test OK". 2.  If the programmed number is the IP address, the terminal tries to communicate via Wifi with Parkfolio Neo On-Line:  o  If the communication is satisfactory, the main board displays "Communication OK"; •  If the main board displays “Transmission problem”, there may be several reasons for such behaviour: 1.  The IP address of the server is incorrect; 2.  Parkfolio Neo On-Line is not receiving data from the terminal (incorrect firewall setup, incorrect router setup etc.); 3.  Parkfolio Neo On-Line is not responding (the Parkfolio Neo On-Line service is down).
    WIFI kit - Neops base terminals - Operation manual 10 Below is a flowchart showing what action should be taken if there is a problem with function 40 during Wifi configuration:                                 Function 40 Transmission problem  Check the UDP port number in GPRS Setup of the Parkfolio Neo On-Line for this SIM Check the firewall and router setup. Check that Parkfolio Neo On-Line is operating, using the display interface  NO Error detected and corrected? (F40) YES Contact product support Communication OK WIFI Centralisation system OK

Navigation menu