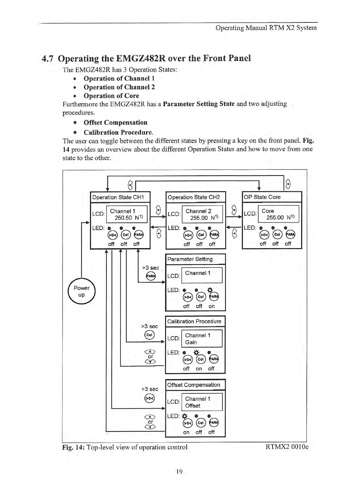
FMS Force Measurnig Systems EMGZ482R Radio Transmitted Tension Monitoring System - Control Unit User Manual
FMS Force Measurnig Systems AG Radio Transmitted Tension Monitoring System - Control Unit
UserManual.wiki
>
FMS Force Measurnig Systems
>
EMGZ482R User Manual HTML Version
User Manual
Navigation menu
Upload a User Manual
Namespaces
Wiki Guide
HTML
PDF
Info
Views
User Manual
Discussion / Help
Navigation