FUJIFILM Business Innovation RFGIFX Limited Modular Transmitter Approval User Manual Manual
Fuji Xerox Corporation Limited Limited Modular Transmitter Approval Manual
User Manual

FUJI XEROX
GIFX
User’s Manual
This manual explains the installation process and a function and
performance of Radio Frequency Identification system (GIFX).
This product doesn't permit a repair and an exchange by the end user.
Please contact our service office or a Fuji Xerox product handling Service
Company when the exchange of the device is necessary due to the trouble
and so on.
Also, please read this manual to the end surely, and use a product properly
before you install GIFX in your machine.
FUJI XEROX CO., LTD.
Introduction
This product uses the radio wave of 125kHz. (Inductive Loop System)
Therefore, this product takes a regulation and/or low such as output of the
RF power by each country and/or self-governing body.
Some cases, the final product (e.g. printer) adapts to the law of each
country, and type approval may be required.
The following shall be kept to use a product for the safety.
A cable and TAG shall use designation accessories.
A cable and TAG shall use designation accessories.
Do not remodel and/or dismantle this product.
Don't remodel this product because a Fire, Electric shock and Machine
trouble may be caused. Because this product uses a radio wave, law of the
country may punish so remodeling of the product.
Remove a power supply soon if you notice smoke or unusual smell.
Remove a power supply if you notice smoke or unusual smell, because it
short-circuits, and a fire and an electric shock may be caused.

Don't put wiring and/or other articles on this product.
This product builds in the antenna which radiates the radio wave.
Performance may not be able to be maintained when the wire etc. is
installed on the product and so on.
Don't install this product in the place to have the possibility for a liquid
and other material fall.
You may be struck by electricity or product may short-circuit.
Don't give this product an electric static discharge
This product may be damaged by the static electricity which accumulated
in the human body and so on. Connect a human body to the ground at the
time of the maintenance or discharge before the work.
Product use environment is to keep the following.
Guarantee temperature: 0 to 55 degrees C (when working)
Storage temperature: 0∼35℃ 12months, -20∼0℃ 35∼45℃ 48Hours
Humidity: 15∼80%RH 12months, 5∼15%RH 80∼95%RH 48Hours
Rated input power: DC +5V +/- 5%, DC +3.3V +/- 5%
How to scrap this product
Make contact with Fuji Xerox or our company agency when you scrap this
product. Or, follow ordinances such as each country and a local government.
Please ask each country and a self-governing body about the information of
the regulations.
Notice about the law and the standard
CE 0682
This product applies the European NB certificate where it followed the
99/5/ EEC.
An applicable standard is as follows;
EN 300 330 V1.3.2
EN 301 489 -1 and EN 301 489 -2
FCC ID: J2LRFGIFX, IC:xxxxxx-xxxx
This device complies with Part 15 of the FCC Rules. Operation is subject to
the following two conditions: (1) this device may not cause harmful
interference, and (2) this device must accept any interference received,
including interference that may cause undesired operation.
This product acquires the certification or approval of the wireless module.
However, a product (e.g. printer) that contains this module must apply the
various standards required to the product.

Outline of the product
Summary
GIFX Unit System is RFID (Radio Frequency Identification) device for an
Inductive loop coupling. This system has two modules of the Reader/Writer
(GIFX-C) and Tag (GIFX-T).
- GIFX generates a 125kHz signal on an internal looped antenna.
- Transmitted data are modulated using Amplitude Shift Keying (FSK)
modulation.
- Received data are demodulated from the Tag load variation signal,
generated on the antenna.
- Tag is battery less memory with a looped antenna.
- Communication distance between GIFX-C and GIFX-T is 4mm to
13mm.
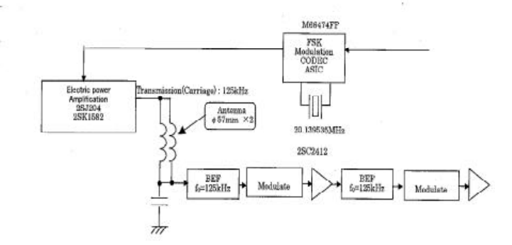
Block diagram of the product
System Requirement
The following condition shall be kept, that use GIFX unit system.
- GIFX-C must be used with the GIFX-T.
- GIFX must be internally installed in machine. (Printer)
- Supply DC Voltage must be 5V+/- 10% and 3.3V +/- 10%.
- The certification label and/or the notice of the manual may be
necessary for the final product enclosure, which contains this unit.
- Do not make the radiation time of the radio wave continue for more
than one second.
Specifications
The specifications of the product are as the following;
- Carrier Frequency: 125kHz +/- 200ppm
- Modulation: FSK
- Communication distance: 4mm to 13mm
(It means the distance of the Reader Writer Module ANT and Tag
Module ANT.)
- Supply Voltage: DC 5V +/- 10%
- Rated current: 160mA
- Signal Level: TTL (3.3V)
- Operating temperature: +5 to +32degrees C
- Maximum RF power: 14.12mW (Fixed for maximum power)

Layout of the module
Instillation example
The example used for the toner cartridge sensor of the printer is shown in
the following.
Installation of module to the Printer
Installation of Antenna to the Printer
Installation of TAG to the toner cartridge
Printer
GIFX-C
Printer
Antenna
Tag
Toner Cartridge
The explanation of the test mode
It is becoming an outside a company top-secret item about the action
method of a/the radio communication.
We disclose it about the communication method after purchase contract
completion.
FUJI XEROX CO., LTD.
2274 Hongo, Ebina-shi, Kanagawa-ken 243-0494
TEL: +81-46-238-3111
URL:http://www.fujixerox.co.jp/