Fargo Electronic Persona C10 Users Manual
M10 to the manual d36f307c-4d3f-4f0c-9404-32b847659fd8
2015-02-04
: Fargo-Electronic Fargo-Electronic-Persona-C10-Users-Manual-367105 fargo-electronic-persona-c10-users-manual-367105 fargo-electronic pdf
Open the PDF directly: View PDF
.
Page Count: 178 [warning: Documents this large are best viewed by clicking the View PDF Link!]
- Introduction
- Section 1: Specifications
- Section 2: Setup and Installation
- Safety Messages (review carefully)
- Introduction
- Connecting the Printer to the Computer
- Installing the Windows Printer Driver
- Loading Ribbon Into The Printer
- Powering-up the Printer
- Section 3: Troubleshooting the Printer
- Resolving problems with General Printer Operation
- Resolving problems with the flashing Online LED light
- Resolving problems with the flashing On/Cancel LED light
- Resolving problems with Windows 95/98 printing capabilities
- Resolving problems with Ribbon winding and printing
- Resolving problems with the Card Jams
- Resolving problems with the Ribbon Jams
- Resolving problems (related to the Printer stopping or making strange sounds)
- Resolving problems with Ribbon winding and printing
- Resolving problems with torn or broken Ribbons
- Resolving problems with streaks in Prints
- Resolving problems with Print blotches or small voids
- Resolving problems with pixelated Photos on ID cards
- Resolving problems with card feeding and Online LED blinking
- Section 4: Printer Driver Setup
- Safety Messages (review carefully)
- Installing the Printer Driver
- Using the Color ID Card II Printer Advanced Document Settings
- Selecting Paper/Output
- Document Options
- Selecting Ribbon Type
- Using the Image Controls
- Using the Magnetic Encoding Options
- Using the Magnetic Encoding Mode option
- Selecting the Magnetic Track Options
- Selecting the Track Bit Density option
- Selecting the Track LRC Generation option
- Selecting the Track Character Size option
- Selecting the Track Character Parity option
- Selecting the Track Character ASCII Offset option
- Selecting the Shift Data Left option
- Selecting the Verify Magnetic Encoding option
- Reviewing ISO Track Locations
- Sending Track Information
- Entering Track Information
- Reviewing Tracks 1, 2, and 3 (in Table format)
- Reviewing the Track Data Note
- Reviewing the ASCII Code and Character Table
- Selecting Smart Clipping Rectangle
- Selecting the Disable Printing option
- Selecting the Calibration window
- Printing a Card
- Section 5: Diagnostic Tools, Calibration, and Interface Information
- Safety Messages (review carefully)
- Calibrating the Printhead
- Adjusting the RP1 Potentiometer
- Aligning the Headlift Sensor
- Positioning the Headlift Cam
- Making Mechanical Adjustments to the Printhead
- Calibrating the Ribbon Sensor
- Adjusting the RP2 Potentiometer
- Adjusting the RP2 Potentiometer
- Calibrating the Left Card Sensor
- Adjusting the RP3 Potentiometer
- Aligning the Stepper Motor
- Calibrating the Ribbon ID Sensor Board
- Calibrating the Ribbon ID Sensor Board
- Calibrating the Ribbon ID Sensor Board
- Interfacing Information
- Section 6: Parts Replacement
- Safety Messages (review carefully)
- Reviewing the Part Number/Description and Drawing Number Table
- Reviewing the Drawing Index
- Reviewing the Print Circuit Board Cable Connector Locations
- Replacing the Rear Pivot Cover (830168)
- Replacing the Front Cover Assembly (830182-02)
- Replacing the Print Circuit Board (140300)
- Replacing the Power Circuit Board (140302)
- Replacing the Printhead Assembly (820102)
- Replacing the Printhead Harness Assembly (830162-00)
- Replacing the Ribbon Sensor Board Assembly (830151)
- Replacing the Cleaning Roller Assembly (830177)
- Replacing the Front Panel Board Assembly (830164)
- Replacing the Left Card Sensor Assembly (830135)
- Replacing the Headlift Motor Assembly (830143)
- Replacing the Card Feed Assembly (830145)
- Replacing the Ribbon Drive Assembly (830147)
- Replacing the Slotted Sensor Mount Assembly (830149)
- Replacing the Lid Sensor Assembly (830150)
- Replacing the Stepper Motor Assembly (810113)
- Replacing the Ribbon ID Sensor Board Assembly (763173-2)
- Replacing the Card Feed Switch Assembly (830136)
- Replacing the LED Board Assembly (830133)
- Replacing the Platen Roller (810261)
- Replacing the Card Input Roller (810262)
- Replacing the Left Card Input Roller
- Replacing the Card Feed Roller (810304)
- Replacing the Magnetic Head Assembly (High-Coercivity: 83019012 or Low Coercivity: 83019012)
- Installing the New Magnetic Head Assembly
- Safety Messages (review carefully)
- Section 7: Maintenance and Cleaning
- Section 8: Packing the C10/M10 Card Printer
- Section 9: Board Level Diagnostics
- Section 10: FARGO Technical Support
- Section 11: Reviewing C10 and M10 Spare Parts List
- Glossary of Terms
- Reviewing the Glossary of Terms (continued)
- Reviewing the Glossary of Terms (continued)
- Reviewing the Glossary of Terms (continued)
- Reviewing the Glossary of Terms (continued)
- Reviewing the Glossary of Terms (continued)
- Reviewing the Glossary of Terms (continued)
- Reviewing the Glossary of Terms (continued)
- Reviewing the Glossary of Terms (continued)
- Reviewing the Glossary of Terms (continued)
- Reviewing the Glossary of Terms (continued)
- Reviewing the Glossary of Terms (continued)
- Reviewing the Glossary of Terms (continued)
- Reviewing the Glossary of Terms (continued)
- Reviewing the Glossary of Terms (continued)
- Reviewing the Glossary of Terms (continued)
- Reviewing the Glossary of Terms (continued)
- Reviewing the Glossary of Terms (continued)
- Reviewing the Glossary of Terms (continued)
- Reviewing the Glossary of Terms (continued)
- Reviewing the Glossary of Terms (continued)
- Index

Persona® C10/M10 ID Card Printer Service
Manual (Rev. 4.0)
Part Number: L000527

RESTRICTED USE ONLY Fargo Electronics, Inc.
Persona C10/M10 ID Card Printer Service Manual (Rev. 4.0) 2
Persona C10/M10 ID Card Printer Service Manual (Rev. 4.0), property of FARGO
Electronics, Incorporated
Copyright2003, 2004, 2005, 2006 by FARGO Electronics, Incorporated. All rights
reserved. Printed in the United States of America. Exclusive permission is granted to
authorized resellers of FARGO products to reproduce and distribute this copyrighted
document to authorized FARGO customers, who have signed a no disclosure agreement
regarding the restricted, proprietary use of said document.
The revision number for this document will be updated to reflect changes, corrections,
updates and enhancements to this document.
Revision Control
Number
Date Document Title
Revision 4.0 1 May 2004 Persona C10/M10 ID ID Card Printer Service
Manual (Rev. 4.0)
These reference documents were thoroughly reviewed to provide FARGO with professional
and international standards, requirements, guidelines and models for our technical, training
and user documentation. At all times, the Copyright Protection Notice for each document was
adhered to within our FARGO documentation process. This reference to other documents
does not imply that FARGO is an ISO-certified company at this time.
Any questions regarding changes, corrections, updates or enhancements to this document.
Please contact:
FARGO Electronics, Incorporated
Support Services
6533 Flying Cloud Drive
Eden Prairie, MN 55344 (USA)
(952) 941-9470
(800) 459-5636
FAX: (952) 941-7836
www.fargo.com
E-mail: sales@fargo.com
•ANSI/ISO/ASQ Q9001-2000 American National Standard,(sub-title) Quality Management
Systems - Requirements (published by the American Society of Quality, Quality Press,
P.O. Box 3005, Milwaukee, Wisconsin 53201-3005)
•The ASQ ISO 9000:2000 Handbook (editors, Charles A. Cianfrani, Joseph J. Tsiakals
and John E. West. Second Edition. published by the American Society of Quality, Quality
Press, 600 N. Plankinton Avenue, Milwaukee, Wisconsin 53203)
•Juran's Quality Handbook (editors, Joseph M. Juran and A. Blanton Godfrey. Fifth
Edition, McGraw-Hill)
RESTRICTED USE ONLY Fargo Electronics, Inc.
Persona C10/M10 ID Card Printer Service Manual (Rev. 4.0) 3
Table of Contents
Introduction ___________________________________________________________________ 7
How to use the manual__________________________________________________________ 7
Safety Messages (review carefully)________________________________________________ 8
Section 1: Specifications _________________________________________________________ 9
Safety Messages (review carefully)________________________________________________ 9
Technical Specifications _______________________________________________________ 10
Functional Specifications_______________________________________________________ 12
Printer Components: Buttons, Hoppers and Cover_________________________________ 12
Printer Components: Ribbons and Cards ________________________________________ 14
Section 2: Setup and Installation_________________________________________________ 16
Safety Messages (review carefully)_______________________________________________ 16
Introduction _________________________________________________________________ 17
Choosing a Good Location ___________________________________________________ 17
About Moisture Condensation_________________________________________________ 17
Unpacking and Inspection ____________________________________________________ 17
Connecting the Printer to the Computer ___________________________________________ 18
Installing the Windows Printer Driver_____________________________________________ 19
Installing the Printer Driver from the Software Installation CD _______________________ 20
Installing Printer Driver Updates_______________________________________________ 22
Downloading Printer Driver files ______________________________________________ 22
Installing the 32-Bit Print Spooler for Windows 95/98______________________________ 23
Loading Ribbon Into The Printer_________________________________________________ 26
Loading Cards into the Printer_________________________________________________ 31
Powering-up the Printer________________________________________________________ 34
Applying Power ____________________________________________________________ 34
Printing a Self Test _________________________________________________________ 36
Section 3: Troubleshooting the Printer____________________________________________ 37
Resolving problems with General Printer Operation________________________________ 37
Resolving problems with the flashing Online LED light_____________________________ 38
Resolving problems with the flashing On/Cancel LED light _________________________ 39
Resolving problems with Windows 95/98 printing capabilities _______________________ 39
Resolving problems with Ribbon winding and printing _____________________________ 40
Resolving problems with the Card Jams _________________________________________ 41
Resolving problems with the Ribbon Jams _______________________________________ 42
Resolving problems (related to the Printer stopping or making strange sounds) __________ 43
Resolving problems with Ribbon winding and printing _____________________________ 44
Resolving problems with torn or broken Ribbons __________________________________ 45
Resolving problems with streaks in Prints________________________________________ 46
Resolving problems with Print blotches or small voids______________________________ 46
Resolving problems with pixelated Photos on ID cards _____________________________ 47
Resolving problems with card feeding and Online LED blinking______________________ 48
Section 4: Printer Driver Setup __________________________________________________ 49
Safety Messages (review carefully)_______________________________________________ 49
Installing the Printer Driver _____________________________________________________ 50
Using the Color ID Card II Printer Advanced Document Settings _______________________ 51
Selecting Paper/Output ________________________________________________________ 52
RESTRICTED USE ONLY Fargo Electronics, Inc.
Persona C10/M10 ID Card Printer Service Manual (Rev. 4.0) 4
Selecting Card Size _________________________________________________________ 52
Determining the number of Copies _____________________________________________ 53
Selecting the Default Graphic Resolution ________________________________________ 54
Document Options____________________________________________________________ 55
Selecting Ribbon Type_________________________________________________________ 55
Selecting from the Ribbon Type options _________________________________________ 56
Selecting from the Color Matching options_______________________________________ 58
Using the Image Controls ______________________________________________________ 60
Controlling the Dye-Sub Intensity (YMCB) ______________________________________ 61
Controlling the Resin Heat ___________________________________________________ 62
Using the default Dither Mode ________________________________________________ 63
Selecting the K Panel Graphics Mode option _____________________________________ 64
Selecting K Panel Only (95%) / (99%) __________________________________________ 65
Selecting the Print Edge-to-Edge option _________________________________________ 66
Selecting the Rotate 180 Degrees option_________________________________________ 67
Selecting the Overlay option __________________________________________________ 68
Using the Magnetic Encoding Options ____________________________________________ 70
Using the Magnetic Encoding Mode option ______________________________________ 71
Selecting the Magnetic Track Options___________________________________________ 72
Selecting the Track Bit Density option __________________________________________ 73
Selecting the Track LRC Generation option ______________________________________ 74
Selecting the Track Character Size option________________________________________ 75
Selecting the Track Character Parity option ______________________________________ 76
Selecting the Track Character ASCII Offset option ________________________________ 77
Selecting the Shift Data Left option ____________________________________________ 78
Selecting the Verify Magnetic Encoding option ___________________________________ 79
Reviewing ISO Track Locations _______________________________________________ 80
Sending Track Information ___________________________________________________ 81
Entering Track Information ___________________________________________________ 81
Reviewing Tracks 1, 2, and 3 (in Table format) ___________________________________ 82
Reviewing the Track Data Note________________________________________________ 82
Reviewing the ASCII Code and Character Table __________________________________ 83
Selecting Smart Clipping Rectangle ____________________________________________ 84
Selecting the Disable Printing option ___________________________________________ 85
Selecting the Calibration window ________________________________________________ 86
Using the Image Placement controls ____________________________________________ 87
Selecting the Self Test button _________________________________________________ 89
Selecting Write Direct to Port _________________________________________________ 89
Printing a Card_______________________________________________________________ 90
Section 5: Diagnostic Tools, Calibration, and Interface Information____________________ 91
Safety Messages (review carefully)_______________________________________________ 91
Calibrating the Printhead _______________________________________________________ 93
Adjusting the RP1 Potentiometer ______________________________________________ 93
Aligning the Headlift Sensor __________________________________________________ 94
Positioning the Headlift Cam__________________________________________________ 94
Making Mechanical Adjustments to the Printhead _________________________________ 95
Calibrating the Ribbon Sensor________________________________________________ 100
Adjusting the RP2 Potentiometer _____________________________________________ 101
Adjusting the RP2 Potentiometer _____________________________________________ 102
Calibrating the Left Card Sensor ______________________________________________ 103
RESTRICTED USE ONLY Fargo Electronics, Inc.
Persona C10/M10 ID Card Printer Service Manual (Rev. 4.0) 5
Adjusting the RP3 Potentiometer _____________________________________________ 103
Aligning the Stepper Motor __________________________________________________ 104
Calibrating the Ribbon ID Sensor Board________________________________________ 105
Calibrating the Ribbon ID Sensor Board________________________________________ 106
Calibrating the Ribbon ID Sensor Board________________________________________ 107
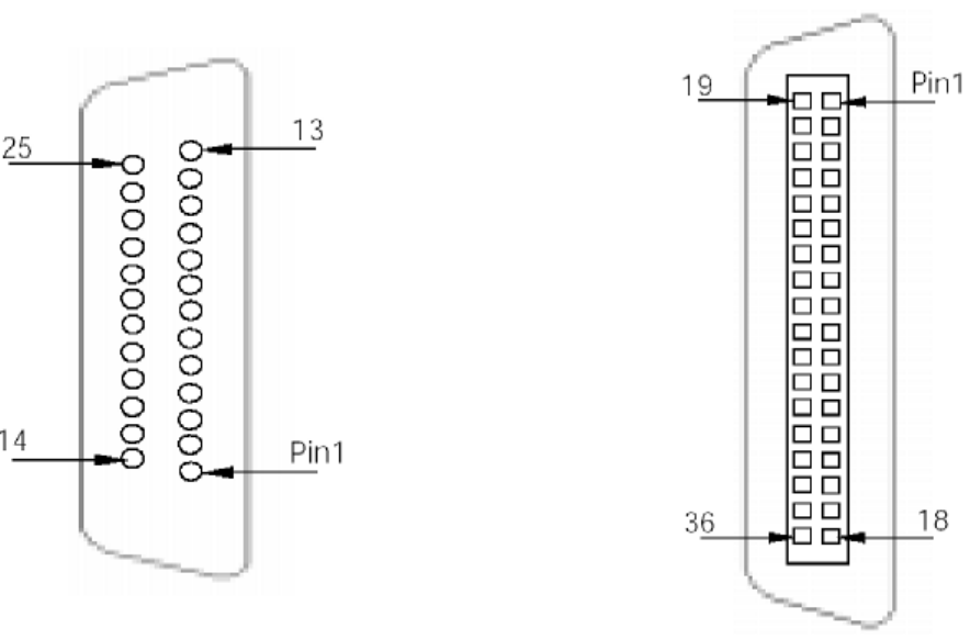
Interfacing Information _______________________________________________________ 108
Centronics-type Parallel Interface _____________________________________________ 108
Section 6: Parts Replacement __________________________________________________ 112
Safety Messages (review carefully)______________________________________________ 112
Reviewing the Drawing Index ________________________________________________ 114
Reviewing the Print Circuit Board Cable Connector Locations ______________________ 115
Replacing the Rear Pivot Cover (830168)_______________________________________ 116
Replacing the Front Cover Assembly (830182-02) ________________________________ 117
Replacing the Print Circuit Board (140300) _____________________________________ 118
Replacing the Power Circuit Board (140302) ____________________________________ 119
Replacing the Printhead Assembly (820102) ____________________________________ 120
Replacing the Printhead Harness Assembly (830162-00) ___________________________ 121
Replacing the Ribbon Sensor Board Assembly (830151) ___________________________ 123
Replacing the Cleaning Roller Assembly (830177) _______________________________ 124
Replacing the Front Panel Board Assembly (830164) _____________________________ 125
Replacing the Left Card Sensor Assembly (830135) ______________________________ 126
Replacing the Headlift Motor Assembly (830143) ________________________________ 127
Replacing the Card Feed Assembly (830145) ____________________________________ 128
Replacing the Ribbon Drive Assembly (830147) _________________________________ 129
Replacing the Slotted Sensor Mount Assembly (830149)___________________________ 130
Replacing the Lid Sensor Assembly (830150) ___________________________________ 131
Replacing the Stepper Motor Assembly (810113)_________________________________ 132
Replacing the Ribbon ID Sensor Board Assembly (763173-2)_______________________ 133
Replacing the Card Feed Switch Assembly (830136) ______________________________ 134
Replacing the LED Board Assembly (830133) ___________________________________ 134
Replacing the Platen Roller (810261) __________________________________________ 135
Replacing the Card Input Roller (810262)_______________________________________ 136
Replacing the Left Card Input Roller __________________________________________ 137
Replacing the Card Feed Roller (810304) _______________________________________ 138
Replacing the Magnetic Head Assembly (High-Coercivity: 83019012 or Low Coercivity:
83019012) _______________________________________________________________ 139
Installing the New Magnetic Head Assembly ____________________________________ 140
Section 7: Maintenance and Cleaning____________________________________________ 141
Safety Messages (review carefully)______________________________________________ 141
Supplies Required _________________________________________________________ 143
Standard Printhead Cleaning _________________________________________________ 144
Expanded Printhead Cleaning ________________________________________________ 145
Cleaning the Printer Case ___________________________________________________ 146
Cleaning the Inside of the Printer _____________________________________________ 146
Cleaning the Card Feed Rollers _______________________________________________ 147
Cleaning the Drive Roller ___________________________________________________ 148
Maintaining the Cleaning Rollers _____________________________________________ 149
Section 8: Packing the C10/M10 Card Printer_____________________________________ 150
Section 9: Board Level Diagnostics ______________________________________________ 151
RESTRICTED USE ONLY Fargo Electronics, Inc.
Persona C10/M10 ID Card Printer Service Manual (Rev. 4.0) 6
Sensor Testing ______________________________________________________________ 151
Reviewing the Motor Voltages (when active) ____________________________________ 151
Section 10: FARGO Technical Support __________________________________________ 152
Contacting FARGO Technical Support___________________________________________ 152
Section 11: Reviewing C10 and M10 Spare Parts List ______________________________ 153
Glossary of Terms ____________________________________________________________ 154
Index _______________________________________________________________________ 175

RESTRICTED USE ONLY Fargo Electronics, Inc.
Persona C10/M10 ID Card Printer Service Manual (Rev. 4.0) 7
Introduction
How to use the manual
The C10/M10 ID Card Printer Service Manual (Rev. 4.0) is, in fact, the troubleshooting and
field service manual for the entire C10/M10 Card Printer. The manual is designed to provide
installers and technicians with quick, efficient lookup of related procedures, components, and
terms. The manual can be used effectively in either soft or hard copy, depending on the
preference of the installer or technician.
Manual Description
Glossary of Terms, and
Technical/Functional
Specifications (hyper-linked)
You can go directly to the Glossary of Terms, Technical
Specifications, and Functional Specifications to learn how
to use the processes, procedures, functions, and windows
for the C10/M10 Card Printer within concise, correlative
Tables.
Table of Contents (hyper-
linked)
You can use the automated Table of Contents to quickly
locate, for example, an error message, a procedure, the
index, or an appendix.
Troubleshooting,
Replacement, Removal,
Diagnostic, and Navigation
Procedures (in hyper-linked
Sections)
You can go directly to Specifications, General
Troubleshooting, Printer Adjustments, Parts Replacement,
Printer Packing, and Board Level Diagnostics to find
troubleshooting, removal, and replacement procedures.
The section titles are always labeled according to their
function for consistent usage.
Cross-Referencing (hyper-
linked)
You can use the cross-referencing links to quickly locate,
for example, an error message or a procedure.
Comprehensive Index
(hyper-linked)
You can use the COMPREHENSIVE INDEX to quickly
locate information on the C10/M10 Card Printer, relating to
aspecification, a procedural step, a window or screen, a
component, a term, a qualifier, or a related feature to this
printer.
Appendices You can use Appendix A and B to locate information
relating to engineering drawings and technical updates,
which are specific to the C10/M10 Card Printer.

RESTRICTED USE ONLY Fargo Electronics, Inc.
Persona C10/M10 ID Card Printer Service Manual (Rev. 4.0) 8
Safety Messages (review carefully)
Symbol Critical Instructions for Safety purposes
Danger: Failure to follow these installation guidelines can result in death or
serious injury.
Information that raises potential safety issues is indicated by a warning
symbol (as shown to the below).
•To prevent personal injury,refer to the following safety messages
before performing an operation preceded by this symbol.
•To prevent personal injury,always remove the power cord prior to
performing repair procedures, unless otherwise specified.
•To prevent personal injury,make sure only qualified personnel
perform these procedures.
Caution: This device is electrostatically sensitive. It may be damaged if
exposed to static electricity discharges.
Information that raises potential electrostatic safety issues is indicated
by a warning symbol (as shown to the below).
•To prevent equipment or media damage,refer to the following
safety messages before performing an operation preceded by this
symbol.
•To prevent equipment or media damage,observe all established
Electrostatic Discharge (ESD) procedures while handling cables in
or near the Circuit Board and Printhead Assemblies.
•To prevent equipment or media damage,always wear an
appropriate personal grounding device (e.g., a high quality wrist
strap grounded to avoid potential damage).
•To prevent equipment or media damage,always remove the
C10/M10 Ribbon and Cards from the printer before making any
repairs, unless otherwise specified.
•To prevent equipment or media damage,take jewelry off of
fingers and hands, as well as thoroughly clean hands to remove oil
and debris before working on the printer.

RESTRICTED USE ONLY Fargo Electronics, Inc.
Persona C10/M10 ID Card Printer Service Manual (Rev. 4.0) 9
Section 1: Specifications
Safety Messages (review carefully)
Symbol Critical Instructions for Safety purposes
Danger: Failure to follow these installation guidelines can result in death or
serious injury.
Information that raises potential safety issues is indicated by a warning
symbol (as shown to the below).
•To prevent personal injury,refer to the following safety messages
before performing an operation preceded by this symbol.
•To prevent personal injury,always remove the power cord prior to
performing repair Instructions, unless otherwise specified.
•To prevent personal injury,make sure only qualified personnel
perform these Instructions.
Caution: This device is electrostatically sensitive. It may be damaged if
exposed to static electricity discharges.
Information that raises potential electrostatic safety issues is indicated
by a warning symbol (as shown to the below).
•To prevent equipment or media damage,refer to the following
safety messages before performing an operation preceded by this
symbol.
•To prevent equipment or media damage,observe all established
Electrostatic Discharge (ESD) Instructions while handling cables in
or near the Circuit Board and Printhead Assemblies.
•To prevent equipment or media damage,always wear an
appropriate personal grounding device (e.g., a high quality wrist
strap grounded to avoid potential damage).
•To prevent equipment or media damage,always remove the
Ribbon and Cards from the Printer before making any repairs,
unless otherwise specified.
•To prevent equipment or media damage,take jewelry off of
fingers and hands, as well as thoroughly clean hands to remove oil
and debris before working on the Printer.

RESTRICTED USE ONLY Fargo Electronics, Inc.
Persona C10/M10 ID Card Printer Service Manual (Rev. 4.0) 10
Technical Specifications
Term Description
Print Method Dye-sublimation / resin thermal transfer
Print Resolution 300 x 300 dpi
Print Speed Approximately 40 seconds per full-color card
Colors Up to 16.7 million or black, red, blue, green and gold
spot colors
Printing Area Standard CR-80 Card:
Card Size: 3.375L (86mm) x 2.125W (54mm)
Print Area: 3.375L (86mm) x 2.125W (54mm)
Accepted Card Width 2.1 to 2.13 W (53mm to 54mmW)
Accepted Card Length 3.25 to 3.37 L (82mm to 86mmL)
Accepted Card Thickness .010 to .040 (.254mm to 1.0mm)
Card Types PVC or Polyester cards with polished PVC finish
Card Capacity Accepts up to 50 standard CR-80 PVC Cards. auto or
manual feed
Software Driver Windows Driver included for IBM-PC’s and compatibles
Interface Standard 8-bit Centronics-type parallel (ECP
compatible)
Power Source 100/110/120 VAC, 50/60 Hz
Operating Temperature 65ºF to 80ºF (18ºC to 27ºC)
Humidity Non-condensing 20%-60%
Dimensions 12.19 L x 10.27 W x 5.88 H (310mmL x 261mmW x
149mmH)
Weight 15 lbs. (7 kg)

RESTRICTED USE ONLY Fargo Electronics, Inc.
Persona C10/M10 ID Card Printer Service Manual (Rev. 4.0) 11
Technical Specifications (continued)
Term Description
Agency Listings •Electrical: UL 1950, CUL C2.2 and TÜV-GS (IEC-950)
•EMI: FCC Class A, CRC c1374 Class A, CISPR 22-B, TÜV-
•EMCCE: Self-certified based on IEC 801-2-3-4,CISPR 22-B
and IEC-950 certification

RESTRICTED USE ONLY Fargo Electronics, Inc.
Persona C10/M10 ID Card Printer Service Manual (Rev. 4.0) 12
Functional Specifications
Printer Components: Buttons, Hoppers and Cover
This illustration shows the features found on the front of the Card Printer.
Term Description
On/Cancel
button
The On/Cancel button turns the Printer ON and OFF.
•It also serves to cancel the current print job and reset the Printer
for the next print job.
•If a card is left within the Printer after a print job is canceled, it will
automatically be ejected when the Printer is turned back ON.
On-line button The On-line button takes the Printer on and off-line.
•The Printer must have the on-line light illuminated in order to
print.
•When flashing, the on-line light also serves to indicate a print
error condition.
Card Input
Hopper
The Card Input Hopper is where blank cards are loaded.
Card Output
Hopper
The Card Output Hopper is where printed cards eject. An
Attachable Card Output Hopper is included with the Printer and
serves to catch cards once they have finished printing.
•To attach this hopper, simply open the Top Cover of the Printer
and slip it over the edge of the Printer’s baseplate.
•Once the Top Cover is closed, it will hold the hopper securely in
place.
Top Cover The Top Cover tilts from front-to-back to open and is how you
access the inside of the Printer to load cards and Ribbon. (Note:
The Top Cover must be shut in order for the Printer to print.)

RESTRICTED USE ONLY Fargo Electronics, Inc.
Persona C10/M10 ID Card Printer Service Manual (Rev. 4.0) 13
Printer Components: Buttons, Hoppers and Cover (continued)

RESTRICTED USE ONLY Fargo Electronics, Inc.
Persona C10/M10 ID Card Printer Service Manual (Rev. 4.0) 14
Printer Components: Ribbons and Cards
Please note that the Printer requires specialized Ribbons in order to function properly. To
order additional Ribbons, contact the authorized reseller.
Caution: Watches, rings, bracelets and other jewelry can damage the Printhead if
accidentally bumped against it. For best results, remove such items before installing or
removing Ribbons.
The Card Printer has the following Ribbon types available for printing:
Term Description
Standard Resin
Black (K) Ribbon
Standard Resin Black (K) Ribbon with no clear overlay panel
(produces 1,000 prints)
Colored Resin
Ribbons
Avariety of Colored Resin Ribbons with no clear overlay panel
(produce 1,000 prints)
Premium Resin
Black (K) Ribbon
Premium Resin Black (K) Ribbon with no clear overlay panel
(produces 1,000 prints)
Metallic Resin
Ribbons
Metallic Resin Ribbons with no clear overlay panel (produces 1,000
prints)
Scratch-off Resin
Ribbon
Scratch-off Resin Ribbon with no clear overlay panel (produces
1,000 prints)
Dye-Sublimation
Black (BO) Ribbon
Dye-Sublimation Black (BO) Ribbon with a clear overlay panel
(produces 500 prints)
Full-Color
(YMCBO) Ribbon
Full-Color (YMCBO) Ribbon with a dye-sublimation black panel and
aclear overlay panel (produces 250 prints)
Full-Color
(YMCKO) Ribbon
Full-Color (YMCKO) Ribbon with a resin black panel and a clear
overlay panel (produces 250 prints)

RESTRICTED USE ONLY Fargo Electronics, Inc.
Persona C10/M10 ID Card Printer Service Manual (Rev. 4.0) 15
Printer Components: Ribbons and Cards (continued)
Term Description
Clear Overlay
Panel
The Ribbons which have a clear overlay panel will print an ID card and
place a clear, protective overlay over the card’s printable area. All color or
monochrome dye-sublimation cards must have this overlay applied to
them.
If it is not applied, the card’s dye-sublimation image will quickly begin to
wear or fade.
Be sure the Overlay option within the Printer Driver setup window is
selected when printing with Ribbons which have a clear overlay panel.
Note: The only time you should not utilize a Ribbon’s clear overlay panel
is if you intend to apply a separate, custom overlaminate to a card
immediately after printing.
Resin Black The Ribbons which utilize a resin black, are intended for printing bar codes
onto cards which can be read by both infra-red and visible light bar code
scanners.
•Bar codes printed with a dye-sublimation black can only be read by a
visible light bar code scanner. Cards printed solely with monochrome
resin text, bar codes or images do not require any type of protective
overlay.
•The black monochrome resin Ribbons are available in both a premium
and standard quality. The premium resin black Ribbon provides
maximum durability and is ideal for applications (e.g., access control
where cards are repeatedly swiped through a magnetic stripe reader).
•The standard resin black Ribbon provides high durability ideal for most
general purpose ID card applications. In addition to a standard black
resin Ribbon, several other standard resin Ribbons are available in a
variety of spot colors including blue, green, red and metallic gold.
•All monochrome resin Ribbons provide 1,000 prints. The blue, green
and metallic Ribbons are capable of printing bar codes which can be
read by visible light bar code scanners only. Bar codes printed with the
red and scratch-off Ribbon are not readable.

RESTRICTED USE ONLY Fargo Electronics, Inc.
Persona C10/M10 ID Card Printer Service Manual (Rev. 4.0) 16
Section 2: Setup and Installation
Safety Messages (review carefully)
Symbol Critical Instructions for Safety purposes
Danger: Failure to follow these installation guidelines can result in death or
serious injury.
Information that raises potential safety issues is indicated by a warning
symbol (as shown to the below).
•To prevent personal injury,refer to the following safety messages
before performing an operation preceded by this symbol.
•To prevent personal injury,always remove the power cord prior to
performing repair Instructions, unless otherwise specified.
•To prevent personal injury,make sure only qualified personnel
perform these Instructions.
Caution: This device is electrostatically sensitive. It may be damaged if
exposed to static electricity discharges.
Information that raises potential electrostatic safety issues is indicated
by a warning symbol (as shown to the below).
•To prevent equipment or media damage,refer to the following
safety messages before performing an operation preceded by this
symbol.
•To prevent equipment or media damage,observe all established
Electrostatic Discharge (ESD) Instructions while handling cables in
or near the Circuit Board and Printhead Assemblies.
•To prevent equipment or media damage,always wear an
appropriate personal grounding device (e.g., a high quality wrist
strap grounded to avoid potential damage).
•To prevent equipment or media damage,always remove the
Ribbon and Cards from the Printer before making any repairs,
unless otherwise specified.
•To prevent equipment or media damage,take jewelry off of
fingers and hands, as well as thoroughly clean hands to remove oil
and debris before working on the Printer.
RESTRICTED USE ONLY Fargo Electronics, Inc.
Persona C10/M10 ID Card Printer Service Manual (Rev. 4.0) 17
Introduction
Thank you for choosing the color Card Printer. This fast, compact Printer has been designed
to print high-quality, full-color cards from virtually any Windows® application program. It
offers many features which easily allow you to create durable cards complete with high
resolution photos, graphics, text, bar codes and more.
To begin using the Printer, please refer to the remainder of this manual. This user’s manual
is the complete step-by-step guide to efficiently setting up and printing with the new Card
Printer.
Choosing a Good Location
•Place unit in a location with adequate air circulation to prevent internal heat build up.
•Do not place unit near heat sources such as radiators or air ducts or in a place subject to
direct sun-light, excessive dust, mechanical vibration or shock.
•Allow for adequate clearance above the unit to accommodate the height of the unit with
its Top Cover and Printhead Assembly open.
About Moisture Condensation
If the unit is brought directly from a cold to a warm location or is placed in a very damp room,
moisture may condense inside the unit. Should this occur, print quality may not be optimum.
Leave the unit turned OFF in a warm, dry room for several hours before using. (Note: This
will allow the moisture to evaporate.)
Unpacking and Inspection
While unpacking the Card Printer, inspect the carton to ensure that no damage occurred
during shipping. Also, make sure the following items are included:
•Printer
•Power Transformer
•Attachable Card Output Hopper
•Software Installation CD
•Warranty Statement and Registration Card

RESTRICTED USE ONLY Fargo Electronics, Inc.
Persona C10/M10 ID Card Printer Service Manual (Rev. 4.0) 18
Connecting the Printer to the Computer
The Card Printer is designed to be used with nearly any IBM-PC or compatible running
Windows 3.1x, Windows 95/98 or Windows NT. For best performance, a Pentium™ class
computer with 16 MB RAM or higher is recommended.
The Printer is equipped with an ECP-compatible, high-speed Centronics parallel port. (Note:
This port is the means through which the Printer receives data from the computer.)
Connect the Printer to the computer with a shielded, bi-directional parallel cable and refer to
the following steps:
Step Procedure
1Connect the Centronics-type parallel side to the Printer. Snap the fastening clips
into place.
2Connect the other side to the back of the PC at the PARALLEL connector. The
Printer must have its on-line light illuminated to receive data. If the light is not
ON, press the on-line button.
RESTRICTED USE ONLY Fargo Electronics, Inc.
Persona C10/M10 ID Card Printer Service Manual (Rev. 4.0) 19
Installing the Windows Printer Driver
The Card Printer can be used with virtually any Microsoft Windows 3.1x, Windows 95/98,
Windows NT 4.0 or Windows 2000 software application program. (Note: This is
accomplished through what is called a Printer Driver. The Printer Driver is simply software
which gives the Printer all the information needed for printing.)
The Printer Driver software is located on the Software Installation CD included with the
Printer.
•If you are reading this on the computer screen from the Online User's Guide, you have
already installed the Printer Driver and this guide using this CD.
•If you would like to provide others with these instructions, however, the following
describes how to install the Printer Driver for the first time. The latter part of this section
also describes how to install Printer Driver updates.
Note: The Windows 3.1 Printer Driver is not included with the Printer or on the Software
Installation CD. If you would like to use this Driver, please contact the authorized reseller.

RESTRICTED USE ONLY Fargo Electronics, Inc.
Persona C10/M10 ID Card Printer Service Manual (Rev. 4.0) 20
Installing the Printer Driver from the Software Installation CD
Step Procedure
1To install the Printer Driver, close down all other programs and insert the Software
Installation CD into the computer's CD drive. The CD will automatically open and
prompt you to click on the photo of the specific Printer model to begin installation.
2If the CD does not automatically open, use My Computer or Windows Explorer to
view the contents of the CD. Then, double-click on the Setup.exe file listed on the
CD.
Follow the on-screen instructions to complete installation. Once installed, the icon
for the specific Printer model will appear in the Printers folder.
3The Online User's Guide will also automatically install along with the Printer Driver.
An icon for this will appear in the Start->Programs->Card Printer folder. Select
this icon to open the Online User's Guide any time you have a question about
operating the Printer.

RESTRICTED USE ONLY Fargo Electronics, Inc.
Persona C10/M10 ID Card Printer Service Manual (Rev. 4.0) 21
Installing the Printer Driver from the Software Installation CD (continued)
Step Procedure
1Click the Start button, point to Settings and select Printers.
2Double-click on the Add Printer icon.
3Follow the on-screen instructions to begin installation. When prompted, click on
the Have Disk button. the Install From Disk window will appear.
4a. Click on Browse,navigate to the folder containing the Printer Driver files
you just downloaded and unzipped and click on OK.
b. Click on OK again to close the Install From Disk window, then click on
NEXT.
5a. Follow the remainder of the on-screen instructions to complete installation.
b. When prompted, do not have Windows print a test print, since you most
likely performed a Printer self test while you were setting up the Printer.
c. Once installed, the Driver's icon will appear in the Printers folder.

RESTRICTED USE ONLY Fargo Electronics, Inc.
Persona C10/M10 ID Card Printer Service Manual (Rev. 4.0) 22
Installing Printer Driver Updates
Occasionally, new Printer Driver versions are released which have new or updated features.
Before installing an updated Printer Driver version, always delete the existing Printer Driver
version from the system.
Step Procedure
1To do this, select Start, Programs and point to the Card Printer folder. Then,
select the Uninstall Printer Driver icon for the specific Printer model.
2Once the existing Printer Driver is deleted, the updated version can be installed.
The best way to get Printer Driver updates is to download them from the
reseller's or the Printer manufacturer's website. The following instructions explain
how to download and install updated Printer Drivers.
Downloading Printer Driver files
The downloadable Printer Driver files have names ending in .exe and are self-extracting
PKZip archives. A PKZip archive is a package, containing one or more files, that has been
zipped to make it smaller and provide easy downloading of numerous files simultaneously.
An archive that is self-extracting is capable of unzipping itself.
Step Procedure
1Download the latest Printer Driver version by clicking on the Printer Driver's
highlighted .exe file name on the web site.
2Save this program to the disk when you are prompted to do so.
3Click the OK button, then choose the folder in which you would like to save the
Printer Driver file. (Note: You may wish to save it in an empty folder to prevent
mingling its files with others already on the computer.)
4Once the file has completely downloaded to the computer, unzip the contents of
the file by simply double-clicking on it. (Note: The archive will unzip itself,
revealing its contents as a new list of files within the folder.)

RESTRICTED USE ONLY Fargo Electronics, Inc.
Persona C10/M10 ID Card Printer Service Manual (Rev. 4.0) 23
Installing the 32-Bit Print Spooler for Windows 95/98
The Card Printer ships with a print utility program called the 32-Bit Print Spooler. (Note: This
print spooler is for use only with Windows 95/98.)
•Once installed, the print spooler is located on the Software Installation CD and is able to
process the print jobs and send them to the Printer at consistently faster speeds than if
sending print jobs through the Windows print spooler. (Note: This is especially true if
printing with an ECP compatible parallel port or if printing off a network.)
•The 32-Bit Print Spooler is ideal for printing a large number of consecutive ID cards, for
printing larger file formats (1 MB or more) or if printing on a somewhat slower computer.
•The 32-Bit Print Spooler can be installed automatically from the Software Installation CD.
To do so, close down all other programs and insert the Software Installation CD into the
computer's CD drive.
•The CD will automatically open and prompt you to click on the photo of the specific
Printer model to begin installation. (Note: If the CD does not automatically open, use My
Computer or Windows Explorer to view the contents of the CD. Then, double-click on the
Setup.exe file listed on the CD.)
•Follow the on-screen instructions to complete installation. Once installed, the 32-Bit Print
Spooler icon will appear in the Start->Programs->Card Printer folder. (Note: Before
installing updated 32-Bit Print Spooler versions, always uninstall the existing print spooler
version from the system. To do this, simply select 32-Bit Print Spooler from the list of
programs in the Add/Remove Programs Properties window and click on the
Add/Remove button.)
•To print with the 32-Bit Print Spooler, you must select the Fast 32-bit Spooler option
from within the Printer Driver setup window as described in Section III. When this option
is selected, the print spooler will automatically open and close with the start and finish of
each print job. Note: You can also manually open the 32-Bit Print Spooler simply by
selecting its icon from the Start->Programs->Card Printer folder.

RESTRICTED USE ONLY Fargo Electronics, Inc.
Persona C10/M10 ID Card Printer Service Manual (Rev. 4.0) 24
Installing the 32-Bit Print Spooler for Windows 95/98 (continued)
When the 32-Bit Print Spooler is running, its icon will appear in the Windows Task Bar.
During a print job, it is sometimes helpful to click on this icon to bring the 32-Bit Print Spooler
status window to the foreground of the application. This window provides a number of details
about the print jobs being sent to the Printer.
Term Description
Current Job
tab
The Current Job tab tells you the name and size of the file printing, the
progress of the overall print job, as well as the total number of copies
left to print.
It also provides buttons which allow you to pause or cancel the print job
at any time during the printing process.
Settings tab The Settings tab tells you the port and Printer to which you are printing
and allows you to configure the timeout settings. In most instances,
these settings will rarely need to be changed.
This tab also provides two other options called Save last job for
reprint and Direct to Port Mode.
Save last job
for reprint
option
When the Save last job for reprint option is selected, the 32-Bit Print
Spooler will automatically save the last print job you sent to the Printer
and allow you to instantly reprint the job without the delay of having to
reprocess it.
The print job will be saved in the spooler until another print job is sent
and saved over it. If you do not wish to save the last print job for reprint,
deselect this option.
To print a saved job, simply select the Print button from the spooler’s
Current Job tab.
Direct to Port
Mode option
The Direct to Port Mode option is selected by default. In most
instances, this option allows the spooler to send data to the Printer at
its optimum speed. If, however, you experience problems when printing
with this option selected, simply deselect it and try the print job again.
Job Queue tab The Job Queue tab appears only when a print job is being sent to the
Printer. This tab tells you the name and status of each job in the queue
and shows you the order in which the jobs will print if you have sent
multiple jobs to the Printer. A control button is also provided which
allows you to delete every job listed in the queue.
To delete the job currently being printed, simply select the Cancel Print
button under the Current Job tab.

RESTRICTED USE ONLY Fargo Electronics, Inc.
Persona C10/M10 ID Card Printer Service Manual (Rev. 4.0) 25
Installing the 32-Bit Print Spooler for Windows 95/98 (continued)

RESTRICTED USE ONLY Fargo Electronics, Inc.
Persona C10/M10 ID Card Printer Service Manual (Rev. 4.0) 26
Loading Ribbon Into The Printer
Follow these steps to load Ribbon into the Printer:
Step Procedure
1Remove the Ribbon from its packaging. Do not touch the colored portion of the
Ribbon. Oil or dirt from the hands can impair print quality.
2The supply end of the Ribbon is the side with the fresh, unused Ribbon on it.
The Ribbon take-up is the other end. Note that the black plug in the supply
Ribbon core must be present in order for the Printer to print properly.

RESTRICTED USE ONLY Fargo Electronics, Inc.
Persona C10/M10 ID Card Printer Service Manual (Rev. 4.0) 27
Loading Ribbon Into The Printer (continued)
Step Procedure
3Open the Top Cover of the Printer by gently grasping the front sides of the
Cover and lifting upward. The Cover will tilt open from front-to-back.

RESTRICTED USE ONLY Fargo Electronics, Inc.
Persona C10/M10 ID Card Printer Service Manual (Rev. 4.0) 28
Loading Ribbon Into The Printer (continued)
Step Procedure
4Open the Printhead Assembly by gently pulling up on the assembly’s
Release Tab and lifting upward. Allow the assembly to swing completely
open.

RESTRICTED USE ONLY Fargo Electronics, Inc.
Persona C10/M10 ID Card Printer Service Manual (Rev. 4.0) 29
Loading Ribbon Into The Printer (continued)
Step Procedure
5a. Place the supply end of the Ribbon in between the two black Ribbon Drive
Hubs located on the right-hand side of the Printer’s interior.
b. Make certain that the Ribbon is fed from underneath the Ribbon roll. Hint:
The Ribbon Drive Hub nearest you, as you are looking into the Printer
from the front, is spring loaded.
c. Use the end of the ribbon supply core to push in this Ribbon Drive Hub
when inserting the ribbon.

RESTRICTED USE ONLY Fargo Electronics, Inc.
Persona C10/M10 ID Card Printer Service Manual (Rev. 4.0) 30
Loading Ribbon Into The Printer (continued)
Step Procedure
6Place the take-up end of the Ribbon roll in between the two black Ribbon Drive
Hubs located on the left-hand side of the Printer’s interior.
7Load the Ribbon take-up end of the Ribbon just as you loaded the Ribbon supply
end.
8When loaded properly, the Ribbon should feed underneath both ends of the
Ribbon roll. Grasp the Release Tab and gently lower the Printhead Assembly to
close it.
9Lift slightly on the Release Tab to latch the assembly shut. Close the Printer’s
Top Cover. When you start to print, the Ribbon Drive Hubs will automatically
engage the notches on both cores of the Ribbon roll.
Caution: Do not reverse the Ribbon. Damage may occur to the thermal Printhead!

RESTRICTED USE ONLY Fargo Electronics, Inc.
Persona C10/M10 ID Card Printer Service Manual (Rev. 4.0) 31
Loading Cards into the Printer
The Card Printer prints onto standard CR-80 size cards (3.375L x 2.125W x .030 / 86mmL x
54mmW x .75mm), which have a clean, level, polished PVC surface.
•Although the Printer is equipped with card cleaning Rollers, it is very important to always
print onto cards designed for direct-to-card, thermal printing. (Note: For this reason, a
special card stock is available which is specifically designed for printing with the Printer.)
•This card stock provides a level, polished PVC surface free of fingerprints, dust and any
other types of embedded contaminants.
•In addition, this card stock is packaged and shipped in dust-free plastic bags. To order
compatible card stock, contact the authorized reseller.
Caution: Never run cards with a contaminated, dull or uneven surface through the
Printer. Printing onto such cards will ultimately lead to poor print quality and will greatly
reduce the life of the Printhead. In addition, always store the card stock in its original
packaging or in a clean, dust-free environment. Do not print onto cards which have been
dropped or soiled. Printheads damaged by contaminated or poor quality cards will
automatically void the Printhead’s factory warranty.

RESTRICTED USE ONLY Fargo Electronics, Inc.
Persona C10/M10 ID Card Printer Service Manual (Rev. 4.0) 32
Loading Cards Into the Printer (continued)
The Printer holds a maximum of 50 CR-80 size cards in its Card Input Hopper. The Printer
will automatically feed each card off the top of the stack. To load the cards into the Printer,
refer to the following steps:
Step Procedure
1Open the Top Cover of the Printer by gently grasping the front sides of the
Cover and lifting upward.
The Cover will tilt open from front-to-back.

RESTRICTED USE ONLY Fargo Electronics, Inc.
Persona C10/M10 ID Card Printer Service Manual (Rev. 4.0) 33
Loading Cards into the Printer (continued)
Step Procedure
Remove a stack of 50 or fewer cards from the card packaging. Do not touch the
area of the cards on which you intend to print. Oil or dirt from the hands can
impair print quality. Handle cards only along the edges.
Load the stack of cards into the Printer by depressing the spring loaded Card
Input Tray and pushing the stack all the way to the front of the Card Input
Hopper. Always load cards with the top or primary print side facing up.
If inserting cards with a magnetic stripe, be sure the magnetic stripe is positioned
downward and that the stripe is oriented toward the rear of the Printer. If
inserting smart cards, be sure the end of the card containing the smart card chip
is inserted first.
Once the cards have been inserted, remove the top card and throw it away if you
suspect it has been contaminated with oil from the fingertips. Close the Printer’s
Top Cover.

RESTRICTED USE ONLY Fargo Electronics, Inc.
Persona C10/M10 ID Card Printer Service Manual (Rev. 4.0) 34
Powering-up the Printer
Applying Power
Locate the Desk-Top Transformer supplied with the system. Check that it is properly
configured for the power used in the country.
Caution No. 1: If you have any doubts about the plug configuration or the voltage,
do not attempt to use the Printer. Contact the authorized reseller for information on the
correct Transformer. Use the Printer only if you are certain that the plug and power rating are
correct.
Caution No. 2: The Transformer is designed for desktop use only.

RESTRICTED USE ONLY Fargo Electronics, Inc.
Persona C10/M10 ID Card Printer Service Manual (Rev. 4.0) 35
Applying Power (continued)
Step Procedure
2Plug the DC power plug end of the transformer cord into the Power Input Port
on the rear panel of the Printer. (Note: Optional external transformer must be a
Listed Class 2 device with an output rating of 16.5 volts and 3.5 amps AC
(alternating current).
The alternating current should be between 50 and 60 Hz.)
3Plug the AC power plug end of the transformer cord into an available wall outlet.
(Note: The wall outlet should be located near the Printer and should be easily
accessible.)
Power is automatically applied to the Printer when it is plugged in.
Press the On/Cancel button if you wish to turn the Printer OFF.

RESTRICTED USE ONLY Fargo Electronics, Inc.
Persona C10/M10 ID Card Printer Service Manual (Rev. 4.0) 36
Printing a Self Test
Now that Ribbon and cards are installed, a self test should be performed to check for proper
operation of the Printer. The standard self test function requires only that a full-color Ribbon
and at least one card is installed. A sample of the self test pattern is shown below.
Step Procedure
1•If power is ON, turn it OFF now by pressing the On/Cancel button. (Note:
The LED indicator lights should no longer be illuminated.)
•Verify that a full-color Ribbon is installed and that cards are properly
loaded.
2Press and hold the on-line button.
3While holding the on-line button down, turn the Printer power back ON by
quickly pressing and releasing the On/Cancel button.
4Release the on-line button. (Note: The gray scale self test pattern will begin
printing approximately 10 seconds after the on-line button is released.)
Self Test Example: (Actual size)

RESTRICTED USE ONLY Fargo Electronics, Inc.
Persona C10/M10 ID Card Printer Service Manual (Rev. 4.0) 37
Section 3: Troubleshooting the Printer
If you have difficulty operating the Card Printer, the troubleshooting suggestions in this
section should, in most cases, solve the problem. If you still have difficulty after trying these
suggestions, contact the authorized reseller for technical assistance.
Please refer to the following possible symptoms and solutions to troubleshoot the Card
Printer:
Resolving problems with General Printer Operation
Symptoms: Nothing happens or an error message comes up in the Windows application
program.
Step Procedure
1Make sure that the power cord is plugged in securely on both ends and that the
Printer is turned ON. Also, be sure the Printer is on-line. The green LED below
both the On/Cancel and the on-line buttons should be illuminated.
2Make certain the Printer’s interface cable is securely connected.
3Make certain the Top Cover and/or Printhead Assembly is securely shut.

RESTRICTED USE ONLY Fargo Electronics, Inc.
Persona C10/M10 ID Card Printer Service Manual (Rev. 4.0) 38
Resolving problems with the flashing Online LED light
This indicates a reCoverable printing error regarding the print media or supplies. Refer to the
following list for possible causes to this problem.
Step Procedure
1Once the problem is corrected, press the on-line button to resume printing. (Or, if
necessary, turn the print power ON and OFF by pressing the On/Cancel button
and send the print job again.)
2Check that cards and Ribbon are installed in the Printer. Also, check that cards
are pushed all the way into the Printer and that the Ribbon is installed properly.
3Check that the proper Ribbon type is installed according to the Ribbon type
option selected in the Printer Driver setup window.
4Are you using a Ribbon other than those sold specifically for use with the Card
Printer? Remember, the Printer requires specialized Ribbon rolls in order to
function properly.
5Check for a Ribbon or card jam.
6The Ribbon Sensor may need to be recalibrated.
7Symptom A: If the Printer has a magnetic encoding module installed and you
are attempting to encode magnetic information onto a card while printing, a
flashing on-line LED can also indicate an encoding mis-verify.
Symptom B: If information is not encoded properly or encoded onto a bad
magnetic stripe, the Printer is unable to verify the encoded data.
a. When this happens, the Printer will simply eject the card before printing
begins and the on-line LED will begin flashing.
b. Press the on-line button to resume encoding and printing with a new card.

RESTRICTED USE ONLY Fargo Electronics, Inc.
Persona C10/M10 ID Card Printer Service Manual (Rev. 4.0) 39
Resolving problems with the flashing On/Cancel LED light
Step Procedure
1If the On/Cancel LED is flashing, this indicates a possible error with the Printer’s
memory. Contact the authorized reseller for technical assistance.
Resolving problems with Windows 95/98 printing capabilities
Print with either the 32-Bit Print Spooler or the Write Direct to Port option selected from
within the Printer Driver setup. In most cases, one or the other of these options will provide
the best results when printing from Windows 95/98.
Due to the wide variety of PC hardware and software configurations, however, some systems
may print more effectively through the Windows 95/98 print spooler.
If you choose not to print with either the 32-Bit Print Spooler or the Write Direct to Port option
selected, but instead wish to print through the Windows print spooler, the following steps will
help you optimize the system for printing:
Step Procedure
1Click the Start button, point to Settings and select Printers.When the Printers
window appears, click on the Printer’s icon using the right mouse button and
select the Properties option.
2Select the Details tab, then select the Spool Settings button.
3Select the Print directly to the Printer option and click on OK.
4Again from the Details tab, select the Port Settings button.
5Deselect both the Check Port state before printing option and the Spool
MS-DOS print jobs option and click on OK.
6Increase the Transmission retry value of the Details tab from 45 to 900.Click
on OK to close the Properties window.

RESTRICTED USE ONLY Fargo Electronics, Inc.
Persona C10/M10 ID Card Printer Service Manual (Rev. 4.0) 40
Resolving problems with Ribbon winding and printing
Symptoms: The Printer skips Ribbon panels, prints Ribbon panels out of the usual YMCK
order (resulting in strangely colored output) or simply winds the Ribbon until the Printer’s on-
line LED light flashes.
Check that the proper Ribbon type is installed according to the Ribbon type option selected
in the Printer Driver setup window. See Ribbon Type. The Ribbon Sensor needs to be
recalibrated. This is a simple procedure which may be required every so often.
Refer to the following steps to recalibrate this sensor:
Step Procedure
1Install a Full-Color YMCKO Ribbon into the Printer and position an unused
Magenta (red colored) panel across the top of the light emitting portion of the
Ribbon Sensor.
2Close the Printhead Assembly securely, but leave the Top Cover open.
3With the Top Cover open, locate the rectangular opening on the left-hand side of
the Printer. Just inside this opening are four small, white switches aligned
vertically. The switches are labeled 1 through 4, with the top switch being
number 1.
4With the tip of a small flathead screw Driver, flip Switch 1 towards the rear of the
Printer to turn the switch ON.
5Disconnect the power cable from the back of the Printer and close the Printer’s
Top Cover.
6Press and hold the on-line button. Then, reconnect the power cable into the back
of the Printer while continuing to hold the on-line button.
7Release the finger from the on-line button once either of the Printer’s LED lights
turn ON. Notice that only one LED will be lit, either the on-line or the On/Cancel.
8On the right-hand side of the Printer, locate the three small holes toward the rear
of the Top Cover. Through the center hole, there is a potentiometer labeled RP2
which adjusts the sensitivity of the Ribbon Sensor.
Continued on the next page

RESTRICTED USE ONLY Fargo Electronics, Inc.
Persona C10/M10 ID Card Printer Service Manual (Rev. 4.0) 41
Resolving problems with the Card Jams
If a card becomes jammed inside the Printer, remove it through the following steps:
Step Procedure
1Leave the power ON and open the Printer’s Top Cover by gently grasping the
front sides of the Cover and lifting upward. (Note: The Cover will tilt open from
front-to-back.)
2a. Open the Printhead Assembly by gently pulling up on the assembly’s
Release Tab and lifting upward.
b. Allow the assembly to swing completely open.
3Remove the Ribbon.
4a. Press the On/Cancel button to advance the card.
b. Press the on-line button to reverse the card.
5a. Once the card is cleared, re-install the Ribbon and close the Printhead
Assembly and Top Cover.
b. If the on-line light is flashing, press and release it. (Note: The Printer will
save the print information and resume printing with a new card.)
c. Remember, both the On/Cancel and on-line lights must be ON solid in order
to print.

RESTRICTED USE ONLY Fargo Electronics, Inc.
Persona C10/M10 ID Card Printer Service Manual (Rev. 4.0) 42
Resolving problems with the Ribbon Jams
If the Ribbon becomes jammed in the drive Roller (visible when you open the Printer), use
the following procedure to correct the problem:
Step Procedure
1Leave the power ON.
2Remove the Take-Up core (the side with used Ribbon on it) from in between the
two black Ribbon Drive Hubs.
3Steadily pull the Ribbon up and out of the Printer as you press and hold down
the Printer’s on-line button. (Note: This will rotate the drive Roller backwards
and eject the Ribbon while you are pulling gently upwards.)
If the Ribbon breaks, simply tape it back together making sure that it is fed from
beneath both Ribbon cores.
4Once the jam is cleared, re-install the Ribbon and close the Printhead Assembly
and Top Cover.
•If the on-line light is flashing, press and release it. (Note: The Printer will
save the print information and resume printing with a new card. Remember,
both the On/Cancel and on-line lights must be ON solid in order to print.)
•If the drive Roller appears dirty after the jam is cleared, clean it according to
the steps in Section IX.

RESTRICTED USE ONLY Fargo Electronics, Inc.
Persona C10/M10 ID Card Printer Service Manual (Rev. 4.0) 43
Resolving problems (related to the Printer stopping or making
strange sounds)
Symptoms: Printer makes strange sounds or stops printing and the on-line LED light is
flashing.
Step Procedure
1Symptom: If the dye-sublimation Ribbon is sticking to the card, check to see
that you are using a card with a polished PVC finish.
Acard with a dull or sticky finish can cause the Ribbon to stick to its surface
causing the Ribbon to jam or even break See Card.
2Symptom: If you are using an acceptable video imaging card stock and the
Ribbon is still consistently being jammed down into the drive Roller, you may
need to reposition the Headlift Assembly.
a. To do this, open the Printer’s Top Cover (do not open the Printhead
Assembly).
b. With the Printer powered ON, push down both the On/Cancel and the on-line
buttons at the same time.
c. You should then hear the Headlift Assembly rotate and realign itself.
3Review the proper procedures for clearing Ribbon and card jams.

RESTRICTED USE ONLY Fargo Electronics, Inc.
Persona C10/M10 ID Card Printer Service Manual (Rev. 4.0) 44
Resolving problems with Ribbon winding and printing
Step Procedure
1Gently insert the tip of a small flathead screw Driver into the hole so it fits into the
slot of RP2. Slightly rotate RP2 in either direction until both the on-line and
On/Cancel LED’s turn OFF.
Caution: RP2 cannot be rotated all the way around. It has a stopping
point in each direction. Do not rotate RP2 beyond these points.
2Once both LED’s are OFF, Ribbon Sensor calibration is complete.
3Remove the power cable, open the Top Cover and flip Switch 1 toward the front
of the Printer to turn the switch back OFF. Close the Top Cover, reconnect the
power cable and try the print job again.

RESTRICTED USE ONLY Fargo Electronics, Inc.
Persona C10/M10 ID Card Printer Service Manual (Rev. 4.0) 45
Resolving problems with torn or broken Ribbons
Symptoms: Printer stops printing or simply continues to wind the take-up end of the roll
and the on-line LED light is flashing.
Step Procedure
1Symptom: If the dye-sublimation Ribbon is sticking to the card, check to see
that you are using a card with a polished PVC finish.
Acard with a dull or sticky finish can cause the Ribbon to stick to its surface
causing the Ribbon to jam or even break.
2Symptom: If you are using an acceptable video imaging card stock and the
Ribbon is still consistently being jammed down into the drive Roller, you may
need to reposition the Headlift Assembly.
a. To do this, simply open the Printer’s Top Cover (do not open the Printhead
Assembly). With the Printer powered ON, push down both the On/Cancel
and the on-line buttons at the same time.
b. You should then hear the Headlift Assembly rotate and realign itself.
3Symptom: You may have tried to feed in a card that was too thick or perhaps
two cards fed at once. This can sometimes cause the Ribbon to tear or break.
Remember, the Printer is designed to feed and print primarily onto a standard
CR-80 card size (3.375L x 2.125W x .030 / 86mmL x 54mmW x .75mm) and will
not accept cards with a thickness greater than .040 (1.0mm).
4Symptom: If you selected Calibrate in the Printer Driver setup window and
changed the Top Adjust value to an extreme negative number, such as -10, you
may have over-adjusted for the specific Printer. This can sometimes cause the
Ribbon to break just as printing begins.
Try entering another Top Adjust value which is not quite so extreme, such as -5.
5Symptom: If the Ribbon breaks, simply tape the broken end of the supply roll
directly onto the take-up roll. Then, wind a few inches worth of Ribbon from the
supply roll onto the take-up roll.
Be sure the Ribbon is passing beneath both the supply and take-up rolls.

RESTRICTED USE ONLY Fargo Electronics, Inc.
Persona C10/M10 ID Card Printer Service Manual (Rev. 4.0) 46
Resolving problems with streaks in Prints
Symptoms: Scratches or lines travel the entire length of the printed card.
Step Procedure
1Symptom: There may be dust on the Printhead.
2Symptom: There may be a scratch or a burned out element in the Printhead.
Contact the authorized reseller for technical assistance.
Resolving problems with Print blotches or small voids
Symptoms: There are small spots on the print with no ink or different colors of ink.
Step Procedure
1Most likely due to dust inside the Printer.
2Symptom: May also be caused by dust or embedded contaminants on the card.
Be sure the cards you are using are clean and stored in a dust free environment.
Some card stocks can have embedded contaminants in their polished surface
and should not be used. Only use card stock recommended for use with the
Card Printer.
3Symptom: May also be caused by a filthy Cleaning Roller.

RESTRICTED USE ONLY Fargo Electronics, Inc.
Persona C10/M10 ID Card Printer Service Manual (Rev. 4.0) 47
Resolving problems with pixelated Photos on ID cards
Symptoms: Photos do not look smooth or continuous, but rather grainy and unclear.
Step Procedure
1Some applications have selections you must enable in order for the Printer to
use its own dither patterns. For best output, you should always use the
Printer’s dither patterns.
2Refer to the application program’s instruction manual or contact the software
manufacturer for details on how such selections are enabled.
3For best photo-realistic output, you should always use high resolution, 24-bit
color images.
Be sure the image capture equipment is capturing at a high enough resolution
and at about the same size at which the image will be printing.
4If you stretch or blow up a small or low resolution image, you will always get a
pixelated or grainy effect when printing.

RESTRICTED USE ONLY Fargo Electronics, Inc.
Persona C10/M10 ID Card Printer Service Manual (Rev. 4.0) 48
Resolving problems with card feeding and Online LED blinking
Symptoms: The Printer starts to make noise like everything is fine, but no card feeds.
Step Procedure
1a. Be sure the cards are inserted all the way into the Printer and that you
haven’t inserted more than 50 standard sized cards. You are trying to feed a
card that is too thick.
b. Be sure the cards you are using fall within the .010 to .040 (.254mm to
1.0mm) accepted card thickness range.
c. The gray card Feed Rollers are extremely dirty. Clean these Rollers
according to the directions in Chapter 5, Section VIII.
2a. Be sure the top card is not sticking to the one below it. Manually separate the
cards if you suspect they are sticking to one another.
b. If separating cards, remember not to touch the surface of the card where you
intend to print, since dirt or oil from the hands will impair print quality. The
printing gets cut off or is not centered on the card.
3Check that the correct card size is selected in the Printer Driver setup. Improper
card size settings will always send the image to the wrong area of the card. Two
or more cards feed at the same time.
4a. Be sure the cards you are using are not sticking together.
b. Manually separate the cards if you suspect they are sticking to one another.
c. If separating cards, remember not to touch the surface of the card where you
intend to print, since dirt or oil from the hands will impair print quality.

RESTRICTED USE ONLY Fargo Electronics, Inc.
Persona C10/M10 ID Card Printer Service Manual (Rev. 4.0) 49
Section 4: Printer Driver Setup
Safety Messages (review carefully)
Symbol Critical Instructions for Safety purposes
Danger: Failure to follow these installation guidelines can result in death or
serious injury.
Information that raises potential safety issues is indicated by a warning
symbol (as shown to the below).
•To prevent personal injury,refer to the following safety messages
before performing an operation preceded by this symbol.
•To prevent personal injury,always remove the power cord prior to
performing repair procedures, unless otherwise specified.
•To prevent personal injury,make sure only qualified personnel
perform these procedures.
Caution: This device is electrostatically sensitive. It may be damaged if
exposed to static electricity discharges.
Information that raises potential electrostatic safety issues is indicated
by a warning symbol (as shown to the below).
•To prevent equipment or media damage,refer to the following
safety messages before performing an operation preceded by this
symbol.
•To prevent equipment or media damage,observe all established
Electrostatic Discharge (ESD) procedures while handling cables in
or near the Circuit Board and Printhead Assemblies.
•To prevent equipment or media damage,always wear an
appropriate personal grounding device (e.g., a high quality wrist
strap grounded to avoid potential damage).
•To prevent equipment or media damage,always remove the
Ribbon and Cards from the Printer before making any repairs,
unless otherwise specified.
•To prevent equipment or media damage,take jewelry off of
fingers and hands, as well as thoroughly clean hands to remove oil
and debris before working on the Printer.

RESTRICTED USE ONLY Fargo Electronics, Inc.
Persona C10/M10 ID Card Printer Service Manual (Rev. 4.0) 50
Installing the Printer Driver
Once the appropriate Printer Driver has been installed, you will need to set the Driver up with
the proper print options. Although each of the included Printer Drivers displays the print
options in a slightly different format, the basic options are the same.
For this reason, this section lists and describes each of the Printer driver options in
alphabetical order, rather than displaying them in the order in which they appear within any
one of the Printer Drivers.
To open the Printer Driver setup window, please refer to the following steps for the specific
operating system:
Step Procedure
1Windows 95/98
Click the Start button, point to Settings and select Printers.
2Windows NT
Click on the Card Printer icon with the right mouse button and select Properties.
3Click the Start button, point to Settings and select Printers.
4Click on the Card Printer icon with the right mouse button and select Document
Defaults.
5Click on the Advanced tab of the Document Settings window. (Note: Most
applications allow you to change these same Printer Driver options from their own
Print screens.
This means that you don’t have to go back to the main Printer setup window each
time you want to change a setting or option in the Printer Driver.
These applications will usually give you the same choices and options, but in a
slightly altered format.
6To change or verify the appropriate Printer Driver options for the print job, please
refer to the following descriptions given in alphabetical order:

RESTRICTED USE ONLY Fargo Electronics, Inc.
Persona C10/M10 ID Card Printer Service Manual (Rev. 4.0) 51
Using the Color ID Card II Printer Advanced
Document Settings
Access the Color ID Card II Printing Preferences window via Start > Settings > Printers >
C10/M10 Card Printer (icon) > Color ID Card Printer Printer Preferences window >
Advanced button (which brings up the Advanced Document Settings window).

RESTRICTED USE ONLY Fargo Electronics, Inc.
Persona C10/M10 ID Card Printer Service Manual (Rev. 4.0) 52
Selecting Paper/Output
Selecting Card Size
This option displays a list of the available card size selections. These selections prevent you
from printing over or damaging the area of the card containing the magnetic stripe, IC chip or
punched slot. Select the card size option that’s appropriate for the type of card you are using.
Step Description
1The Std CR-80 selection allows you to print and overlay the entire printable area
of a standard CR-80 size card.
The Smart Card, Magstripe and Punch Offset selections allow you to print and
overlay only within the given card areas.
The Smart Chip selection allows you to print and overlay anywhere on a card
except over the immediate location of a standard smart card chip or signature
panel.

RESTRICTED USE ONLY Fargo Electronics, Inc.
Persona C10/M10 ID Card Printer Service Manual (Rev. 4.0) 53
Determining the number of Copies
Use this function to indicate copies required.
Step Procedure
1Specify the number of copies to be printed by clicking on the up or down arrows.

RESTRICTED USE ONLY Fargo Electronics, Inc.
Persona C10/M10 ID Card Printer Service Manual (Rev. 4.0) 54
Selecting the Default Graphic Resolution
This is a default selection.

RESTRICTED USE ONLY Fargo Electronics, Inc.
Persona C10/M10 ID Card Printer Service Manual (Rev. 4.0) 55
Document Options
Step Procedure
1Use the Device options tab to select options that control the Printer’s
functions.
Selecting Ribbon Type
Step Procedure
1Use this option to select the Ribbon type option that is appropriate for the type
of Ribbon you are using.

RESTRICTED USE ONLY Fargo Electronics, Inc.
Persona C10/M10 ID Card Printer Service Manual (Rev. 4.0) 56
Selecting from the Ribbon Type options
Use the Ribbon Type dropdown menu to select the correct ribbon type.
Step Procedure
1Select Ribbon Type under Document options to change the setting.
2Select the correct Print Ribbon Type, as shown below. Adjust to match the
Ribbon Type selection with the Ribbon Type already loaded in the Printer.
•K - Standard Resin Black
•Colored Resin: Colored Resin is available in Red, Blue, Green, or White
•K - Premium Resin Black
•Metallic Resin: Metallic Resin is available in Gold or Silver
•Scratch-Off Resin
•BO: Dye Sub Black, Overlay
•YMCBO - Full Color/Dye-Sub Black/Overlay
•YMCKO - Full Color/Resin Black/Overly
•YMCKOK – Full Color/2 Resin Black/Overlay

RESTRICTED USE ONLY Fargo Electronics, Inc.
Persona C10/M10 ID Card Printer Service Manual (Rev. 4.0) 57
Selecting from the Ribbon Type options (continued)

RESTRICTED USE ONLY Fargo Electronics, Inc.
Persona C10/M10 ID Card Printer Service Manual (Rev. 4.0) 58
Selecting from the Color Matching options
Use this option to control where the resin black (K) panel of a full-color ribbon is printed.
When printing with a resin-only ribbon type or a ribbon type that does not have a K panel, all
KPanel Resin options will be grayed out. (Note: Resin black text is desirable due to its
sharp, saturated black coloring and resin black bar codes are often required to ensure
readability when scanned.)
Step Procedure
1Select None for print speed versus print color or for use of third party color
matching software.
OR
Select Algebraic to control the Contrast and Gamma of the printed image, as
well as the individual color balance of Yellow,Magenta and Cyan. (Note: In
most cases, the default settings of these options will suffice. When the
Algebraic color matching option is selected, all control options will display
and can be adjusted.)
OR
Select FargoColor to make appropriate adjustments.

RESTRICTED USE ONLY Fargo Electronics, Inc.
Persona C10/M10 ID Card Printer Service Manual (Rev. 4.0) 59
Selecting from the Color Matching options (continued)

RESTRICTED USE ONLY Fargo Electronics, Inc.
Persona C10/M10 ID Card Printer Service Manual (Rev. 4.0) 60
Using the Image Controls
Use the Custom Settings option under Image Controls to control the Contrast and Gamma
of the printed image, as well as the individual color balance of Yellow Balance,Magenta
Balance and Cyan Balance. (Note: In most cases, the default settings of these options will
suffice.)

RESTRICTED USE ONLY Fargo Electronics, Inc.
Persona C10/M10 ID Card Printer Service Manual (Rev. 4.0) 61
Controlling the Dye-Sub Intensity (YMCB)
Step Procedure
1Control the overall darkness and lightness of the printed image by adjusting
the Dye-Sub Intensity slide by clicking and dragging the slide's box or by
clicking on the left and right arrows.

RESTRICTED USE ONLY Fargo Electronics, Inc.
Persona C10/M10 ID Card Printer Service Manual (Rev. 4.0) 62
Controlling the Resin Heat
Step Procedure
1Control the amount of heat the Printer uses when printing with the resin black
panel(s) of a full-color ribbon or when printing with a resin-only ribbon by
adjusting the Resin Heat.
Note #1: This control can be helpful for fine-tuning the saturation of resin text
and bar codes.) Adjust the Resin Heat (K) setting (as needed), as shown below.
Note #2: This option only effects objects printed with a resin-only print ribbon or
those objects printed on the back side of a card with the resin black panel of a
YMCKO, YMCKOK, or YMCKK print ribbon.
Note #3: Use this option to control the amount of heat the Printer uses when
printing with the resin black panel(s) of a full-color ribbon or when printing with a
resin-only ribbon, adjust the Resin Heat slide.

RESTRICTED USE ONLY Fargo Electronics, Inc.
Persona C10/M10 ID Card Printer Service Manual (Rev. 4.0) 63
Using the default Dither Mode
This is a default selection.

RESTRICTED USE ONLY Fargo Electronics, Inc.
Persona C10/M10 ID Card Printer Service Manual (Rev. 4.0) 64
Selecting the K Panel Graphics Mode option
Use this option to control where the resin black (K) panel of a full-color ribbon is printed.
Step Procedure
1Select the KPanel Graphics Mode option to control where the resin black (K)
panel of a full-color ribbon is printed. (Note: If printing with a resin-only ribbon
type or a ribbon type that does not have a K panel, all K Panel Resin options will
be grayed out. Resin black text is desirable due to its sharp, saturated black
coloring and resin black bar codes are often required to ensure readability when
scanned.)

RESTRICTED USE ONLY Fargo Electronics, Inc.
Persona C10/M10 ID Card Printer Service Manual (Rev. 4.0) 65
Selecting K Panel Only (95%) / (99%)
These option are only active when the K Panel Graphics options is selected.
•Selecting either of the K Panel Only options forces all of the black within text bar codes
or bitmap images to be printed only with the Ribbon's resin black (K) panel (i.e. without
the YMC composite black underneath). (Note: This increases the precision of printed
bitmap bar codes, there by assuring greater accuracy when read by a bar code scanner.)
•The difference between these two option is that when KPanel Only (95%) is selected, all
95% black (or higher) bitmapped image pixels will be printed using only the Ribbon's
resin black (K) panel. (Note: When the KPanel Only (99%) is selected, all 99% black
(or higher) bitmapped image pixels will be printed using only the resin black (K) panel.)
•These options are useful if, for example, you have a bitmapped photograph with dark
areas in which you do not wish the resin black panel to print.
•In this case, the K Panel Only (99%) mode will eliminate the greatest amount of
unwanted resin black printing. (Note: Be sure, however, the object you do wish to print
with resin black has a black density of at least 99%.)

RESTRICTED USE ONLY Fargo Electronics, Inc.
Persona C10/M10 ID Card Printer Service Manual (Rev. 4.0) 66
Selecting the Print Edge-to-Edge option
Use this option for Edge-to-Edge type printing.
Step Procedure
1Select this option to adjust the maximum printable area on a card, which results
in printed cards with virtually no border.

RESTRICTED USE ONLY Fargo Electronics, Inc.
Persona C10/M10 ID Card Printer Service Manual (Rev. 4.0) 67
Selecting the Rotate 180 Degrees option
Use this option to rotate the image on the front of the card 180 degrees when printed.
Step Description
1Select this option to change the position of the printed image in relation to
the set location of a card's Magnetic Stripe or smart chip.

RESTRICTED USE ONLY Fargo Electronics, Inc.
Persona C10/M10 ID Card Printer Service Manual (Rev. 4.0) 68
Selecting the Overlay option
Use this option to automatically print Neither Side,Back Side Only,Front Side Only,or
Both Sides of a card.
Step Procedure
1Select this option in conjunction with any application program that supports a
multiple page document. (Note: In other words, the program must be able to
send down two or more separate pages to be printed within the same
document.)
•Select Neither Side for non-use of the Overlay option.
•Select the Front Side Only,Back Side Only,or Both Sides setting to
designate the side or sides of the card for the image to print on.
Note #1: Print a full-color ID format on the front of the card and monochrome
text or bar codes on the back by creating the full-color front side of the card (on
page 1) of the document and the monochrome backside (on page 2). (Note:
The Printer Driver always places the odd numbered pages on the front side of
the card and the even numbered pages on the backside.)
Note #2: To customize the overlay and/or print area, select one of the options
listed under Overlay. Use this option to control the overlay (O) panel and/or the
print area appearing on a card; also, use it to omit or block out the overlay or
printing around a card's smart chip or Magnetic Stripe. By default, this option is
set to print and overlay the entire card.

RESTRICTED USE ONLY Fargo Electronics, Inc.
Persona C10/M10 ID Card Printer Service Manual (Rev. 4.0) 69
Selecting the Overlay option (continued)

RESTRICTED USE ONLY Fargo Electronics, Inc.
Persona C10/M10 ID Card Printer Service Manual (Rev. 4.0) 70
Using the Magnetic Encoding Options
Use this option only if the Printer has an optional Magnetic Stripe Encoding Module installed.
(Note: This section describes these options and the Printer's Magnetic Encoding process.)
Step Procedure
1Select the Magnetic Encoding Options to change the encoding mode,
coercivity setting, or to modify the ISO Standards for Tracks 1, 2 and 3. (Note:
By default, the Printer Driver is set to encode according to ISO Standards onto
high-coercivity Magnetic Stripes.)
Continued on the next page

RESTRICTED USE ONLY Fargo Electronics, Inc.
Persona C10/M10 ID Card Printer Service Manual (Rev. 4.0) 71
Using the Magnetic Encoding Mode option
Use the Magnetic Encoding Mode option to specify the desired, Magnetic Encoding
standard.
Step Procedure
1Select the ISO option provides encoding capability for either high or low-
coercivity cards on Tracks 1, 2 and 3. (Note: The ISO option is the industry's
most standard mode of Magnetic Encoding.)
OR
Select the JIS II mode provides encoding compatibility with the JIS C 6220
Type II cards commonly used in Japan. When the JIS II mode is selected, only
Track 2 will be encoded. (Note: No encoding customization options are
available with the JIS II mode.)

RESTRICTED USE ONLY Fargo Electronics, Inc.
Persona C10/M10 ID Card Printer Service Manual (Rev. 4.0) 72
Selecting the Magnetic Track Options
Use the Magnetic Track options for these purposes:
•Customize the ISO encoded data format for each of the Magnetic Stripe's three Tracks.
•Customize each Track independently of the other two.
•Specify which of the three Tracks to customize by selecting one of the three Track
options.)
(Note #1: After making the required selection, the Magnetic Track options box displays the
current set of customization options for the selected Track.)
(Note #2: For most applications, the default settings for these options do not need to be
changed.)
Step Procedure
1Properly adjust the Magnetic Encoding options to change the ISO Standards
for Tracks 1, 2 and 3.

RESTRICTED USE ONLY Fargo Electronics, Inc.
Persona C10/M10 ID Card Printer Service Manual (Rev. 4.0) 73
Selecting the Track Bit Density option
Use this option to customize the Bit Recording Density (Bits per Inch) used to encode the
magnetic data on the currently selected Track. (Note: The default ISO Standard selections
for this option are Track 1: 210 BPI, Track 2: 75 BPI and Track 3: 210 BPI.)
Step Procedure
1Select 75 BPI to change the bits per inch to 75 BPI.
OR
Select 128 BPI to change the bits per inch to 128 BPI.
OR
Select 210 BPI to change the bits per inch to 210 BPI.

RESTRICTED USE ONLY Fargo Electronics, Inc.
Persona C10/M10 ID Card Printer Service Manual (Rev. 4.0) 74
Selecting the Track LRC Generation option
Use this option to customize the LRC Generation Mode (used to encode the magnetic data
on the currently selected Track). (Note: The default ISO Standard selections for this option
are Track 1: EVEN, Track 2: EVEN and Track 3: EVEN.)
Step Procedure
1Select NO LRC to change the LRC Generation to none.
OR
Select Even Parity to change the LRC Generation to Even Parity.
OR
Select Odd Parity to change the LRC Generation to Odd Parity.

RESTRICTED USE ONLY Fargo Electronics, Inc.
Persona C10/M10 ID Card Printer Service Manual (Rev. 4.0) 75
Selecting the Track Character Size option
Use this option to customize the Character Data Size (Bits per Character) used to encode
the magnetic data on the currently selected Track. (Note: This character size includes the
parity bit, if enabled.) (Note: The default ISO Standard selections for this option are Track
1: 7 BPC, Track 2: 5 BPC and Track 3: 5 BPC.)
Step Procedure
1Select 5 Bits to change the bits per character to 5 BPC.
OR
Select 7 BPI to change the bits per character to 7 BPC.
OR
Select 8 BPI to change the bits per character to 8 BPC.

RESTRICTED USE ONLY Fargo Electronics, Inc.
Persona C10/M10 ID Card Printer Service Manual (Rev. 4.0) 76
Selecting the Track Character Parity option
Use this option to customize the Character Data Parity (used to encode the magnetic data on
the currently selected Track). (Note: The default ISO Standard selections for this option are
Track 1: ODD, Track 2: ODD and Track 3: ODD.)
Step Procedure
1Select No Parity to change the Character Parity to none.
OR
Select Even Parity to change the Character Parity to Even Parity.
OR
Select Odd Parity to change the Character Parity to Odd Parity

RESTRICTED USE ONLY Fargo Electronics, Inc.
Persona C10/M10 ID Card Printer Service Manual (Rev. 4.0) 77
Selecting the Track Character ASCII Offset option
Use this option to customize the Character ASCII Offset used to encode the magnetic data
on the currently selected Track. This character offset value is subtracted from the ASCII
value of each Magnetic Stripe data character prior to encoding on the Track. (Note: The
default ISO Standard selections for this option are Track 1: SPACE, Track 2: ZERO and
Track 3: ZERO.)
Step Procedure
1Select NULL to change the ASCII Offset to NULL.
OR
Select SPACE to change the ASCII Offset to SPACE.
OR
Select ZERO to change the ASCII Offset to ZERO.

RESTRICTED USE ONLY Fargo Electronics, Inc.
Persona C10/M10 ID Card Printer Service Manual (Rev. 4.0) 78
Selecting the Shift Data Left option
Use this option to shift the recorded magnetic data to the left-hand side of the card's
Magnetic Stripe. (Note: This is useful in situations that require cards to be readable with
insert type readers that may not be able to read the right-hand side of the card.)
Step Procedure
1Select the Shift Data Left option to apply to all Tracks.

RESTRICTED USE ONLY Fargo Electronics, Inc.
Persona C10/M10 ID Card Printer Service Manual (Rev. 4.0) 79
Selecting the Verify Magnetic Encoding option
Use this option to verify the encoding settings.
Step Procedure
1Select this option to instruct the Printer to verify that all magnetic data has been
correctly encoded on each card. (Note: This option is selecTable for both ISO and
JIS II encoding modes.)
•If this option is selected, any verify errors will cause the Printer to signal an
error condition.
•If this option is not selected, the verify pass will not be executed.

RESTRICTED USE ONLY Fargo Electronics, Inc.
Persona C10/M10 ID Card Printer Service Manual (Rev. 4.0) 80
Reviewing ISO Track Locations
Review the Magnetic Encoding module, which encodes onto Tracks in accordance with an
ISO 7811-2 Magnetic Stripe. Refer to the diagram (below) for Track locations. (Note: All
standard Card Printers are capable of printing onto oversized cards; however, a special
version of the Printer is required to encode the Magnetic Stripe of oversized cards.)
TRACK1 0.110"
TRACK2 0.110"
TRACK3 0.110"
0.130"
0.140"
0.223" 0.353" 0.493"

RESTRICTED USE ONLY Fargo Electronics, Inc.
Persona C10/M10 ID Card Printer Service Manual (Rev. 4.0) 81
Sending Track Information
Magnetic Track data is sent in the form of text strings from the application software to the
Printer Driver along with all of the other printable objects within the card design.
•Magnetic Track Data added: In order for the Printer Driver to differentiate between
magnetic Track data and the rest of the printable objects, the magnetic Track data strings
must be uniquely tagged or added.
•Specific Characters added: In other words, specific characters must be added to the
magnetic Track data in order for the Printer Driver to know which data is to be encoded,
which Tracks to encode, when the Track data stops and starts and so forth.
•Manually or automatically added: In some cases, these specific characters are
automatically added to the string of Track data by customized ID software applications. In
most cases, however, the User must manually add these characters to the string of
magnetic Track data.
Entering Track Information
(Note: If these characters are not added to the Track data, the text intended for the
magnetic Track will most likely appear as printed text on the card.)
Step Procedure
1To avoid this symptom, Track information must be entered as follows.
When entering Track data, the "~" character is entered first, followed by the
desired Track number (1, 2, or 3) used to encode the data.
•The data to be encoded should then follow. (Note: The first character of this
data string must be the Track's specific Start Sentinel (SS) and the last
character must be the specific End Sentinel (ES).)
•The characters or data in between the SS and ES can include all of the valid
characters specific to each Track. (Note: The number of these characters is
limited by each Track's maximum character capacity.)
Caution: When segmenting Track data, strictly use the appropriate Field
Separator (FS).

RESTRICTED USE ONLY Fargo Electronics, Inc.
Persona C10/M10 ID Card Printer Service Manual (Rev. 4.0) 82
Reviewing Tracks 1, 2, and 3 (in Table format)
Review this Table, which displays the SS, ES, FS and the valid characters defined for each
Track.
Start
Sentinel
End
Sentinel
Field
Separator
Valid Characters Maximum
Number of
Characters
Track 1 % ? ^ 0-9, A-Z, Punct.
(ASCII 32-95)
(See the Table below.)
78
Track 2 ; ? = 0-9, ;, =, ?
(ASCII 48-63)
(See the Table below.)
39
Track 3 ; ? = 0-9, ;, =, ?
(ASCII 48-63)
(See the Table below.)
106
Reviewing the Track Data Note
Review this Table, which displays how Track Data should be entered for Tracks 1, 2 and 3.
Track Data Entry
Sending data to Track 1 ~1%JULIE ANDERSON^623-85-1253?
Sending data to Track 2 ~2;0123456789?
Sending data to Track 3 ~3;0123456789?

RESTRICTED USE ONLY Fargo Electronics, Inc.
Persona C10/M10 ID Card Printer Service Manual (Rev. 4.0) 83
Reviewing the ASCII Code and Character Table
ASCII Code Character ASCII Code Character ASCII Code Character
32 space 56 8 80 P
33 ! 57 9 81 Q
34 " 58 : 82 R
35 # 59 ; 83 S
36 $ 60 < 84 T
37 % 61 = 85 U
38 & 62 > 86 V
39 ' 63 ? 87 W
40 ( 64 @ 88 X
41 ) 65 A 89 Y
42 * 66 B 90 Z
43 + 67 C 91 [
44 ' 68 D 92 \
45 - 69 E 93 ]
46 . 70 F 94 ^
47 / 71 G 95 _
48 0 72 H
49 1 73 I
50 2 74 J
51 3 75 K
52 4 76 L
53 5 77 M
54 6 78 N
55 7 79 O

RESTRICTED USE ONLY Fargo Electronics, Inc.
Persona C10/M10 ID Card Printer Service Manual (Rev. 4.0) 84
Selecting Smart Clipping Rectangle

RESTRICTED USE ONLY Fargo Electronics, Inc.
Persona C10/M10 ID Card Printer Service Manual (Rev. 4.0) 85
Selecting the Disable Printing option
Use this option to disable the printing capabilities of the Printer and still allow the Printer to
encode cards.
Step Procedure
1Select this option:
•To encode or re-encode preprinted cards without wasting additional time,
effort, or printing supplies.
•To ensure that all encoding instructions will be sent according to how they
are configured within the software (even though all print data will not be
sent to the Printer).

RESTRICTED USE ONLY Fargo Electronics, Inc.
Persona C10/M10 ID Card Printer Service Manual (Rev. 4.0) 86
Selecting the Calibration window
Use this option to (a) control the position of the printable area in relation to the card, (b)
calibrate Sensors and (c) adjust the internal Printer settings.

RESTRICTED USE ONLY Fargo Electronics, Inc.
Persona C10/M10 ID Card Printer Service Manual (Rev. 4.0) 87
Using the Image Placement controls
Step Procedure
1Click on the Vertical and Horizontal adjustment arrows to adjust the Image
Position values.
•When adjusting these values, keep in mind that cards always remain in the
same position while moving through the Printer, regardless of image
orientation.
•To illustrate this, the card illustration shown in the Image Position box will flip
and rotate according to the Portrait,Landscape,or Rotate 180 Degrees
selection.
•The outline around the illustration will always remain in the same Landscape
orientation.

RESTRICTED USE ONLY Fargo Electronics, Inc.
Persona C10/M10 ID Card Printer Service Manual (Rev. 4.0) 88
Using Image Placement controls (continued)
Review the Image Position diagram, which displays how the printed image will move in
relation to the fixed card position as positive and negative image placement values are
entered.
Step Procedure
2Use the Vertical adjustment to move the image:
•Move toward the rear of the Printer if a positive number is entered.
•Move toward the front of the Printer if a negative number is entered.
OR
Use the Horizontal adjustment to move the image:
•Move toward the card output side of the Printer if a positive number is entered.
•Move toward the card input side of the Printer if a negative number is entered.
(Note #1: The maximum value for the Vertical and Horizontal adjustments is
±100 pixels (10 pixels = about .03"/. 8mm).)
(Note #2: The Vertical and Horizontal adjustment arrows point to within the
Image Position window, which represents the direction that the printed image
moves.

RESTRICTED USE ONLY Fargo Electronics, Inc.
Persona C10/M10 ID Card Printer Service Manual (Rev. 4.0) 89
Selecting the Self Test button
Use this option to send a Self Test page to the Printer.
Step Procedure
1Click on the Self Test button to print out a test page and ensure that the
computer is effectively communicating with the Printer and that the Printer is
functioning properly.
Selecting Write Direct to Port
Selecting this option provides the fastest print processing when printing exclusively from
Windows 3.1x.
•When selected, this option allows the Printer Driver to bypass the Windows 3.1x Print
Manager and to send all print data directly to the Printer.
•This option devotes all of the system resources to the current print job, thereby increasing
overall print speed.
Step Procedure
1When the print job is finished, the system resources will again be released and
devoted to the normal function of the on-screen applications.
2Depending upon the processing speed and brand of the computer, you may or
may not need to select this option when printing.
3For most computers with a non-ECP compatible parallel port, selecting this
option will enhance the speed of the rasterizing and printing process.
In this case, the Write Direct to Port option should be selected.
4For some computers, however, this option may either not be supported by the
particular brand of PC or simply may not be necessary due to the PC’s fast
processing speed.
In this case, the Write Direct to Port option should not be selected.
5This option will not function properly if using any type of external Printer buffer.
When using a Printer buffer, all print jobs should be sent through the system
print spooler or through the Printer’s 32-Bit Print Spooler for Windows 95/98.

RESTRICTED USE ONLY Fargo Electronics, Inc.
Persona C10/M10 ID Card Printer Service Manual (Rev. 4.0) 90
Printing a Card
Now that you have set up the Printer, loaded media and installed the Printer Driver, you are
ready to print an ID card. Follow these steps to print the first card:
Step Procedure
1Go to the Windows application program in which you will be creating the cards
and open it or create a card format.
2a. Once you are ready to print, select Print Setup (or the equivalent) from the
program’s File menu to verify that the Printer Driver settings are correct for
the card design.
b. Remember to select the proper card size and Ribbon type and, if applicable,
to verify that the proper magnetic encoding settings are selected.
c. After you have properly configured the Driver, select the Print button from
the application’s Print screen.
3The Printer’s RIP (raster image processing) begins. (Note: The image
processing time will vary depending upon the complexity of the image and the
processing speed of the computer. In most cases, this will only take a few
seconds.)
4a. After the image is processed and sent to the Printer, the Printer will feed in a
card, print and then eject the card.
b. If everything looks good, you have successfully completed set-up, initial
testing and printing with the Card Printer.

RESTRICTED USE ONLY Fargo Electronics, Inc.
Persona C10/M10 ID Card Printer Service Manual (Rev. 4.0) 91
Section 5: Diagnostic Tools, Calibration, and
Interface Information
Safety Messages (review carefully)
Symbol Critical Instructions for Safety purposes
Danger: Failure to follow these installation guidelines can result in death or
serious injury.
Information that raises potential safety issues is indicated by a warning
symbol (as shown to the below).
•To prevent personal injury,refer to the following safety messages
before performing an operation preceded by this symbol.
•To prevent personal injury,always remove the power cord prior to
performing repair Instructions, unless otherwise specified.
•To prevent personal injury,make sure only qualified personnel
perform these Instructions.
Caution: This device is electrostatically sensitive. It may be damaged if
exposed to static electricity discharges.
Information that raises potential electrostatic safety issues is indicated
by a warning symbol (as shown to the below).
•To prevent equipment or media damage,refer to the following
safety messages before performing an operation preceded by this
symbol.
•To prevent equipment or media damage,observe all established
Electrostatic Discharge (ESD) Instructions while handling cables in
or near the Circuit Board and Printhead Assemblies.
•To prevent equipment or media damage,always wear an
appropriate personal grounding device (e.g., a high quality wrist
strap grounded to avoid potential damage).
•To prevent equipment or media damage,always remove the
Ribbon and Cards from the Printer before making any repairs,
unless otherwise specified.
•To prevent equipment or media damage,take jewelry off of
fingers and hands, as well as thoroughly clean hands to remove oil
and debris before working on the Printer.

RESTRICTED USE ONLY Fargo Electronics, Inc.
Persona C10/M10 ID Card Printer Service Manual (Rev. 4.0) 92
Diagnostic Tools – Start by running a Self-Test
Perform a self test after initial setup of the printer, after a calibration procedure has been
conducted, or after a part has been replaced. The self test checks for proper operation of the
printer. The procedure described below is an alternative to method found in the User’s
Manual. A sample of the self test print is shown below.
Step Procedure
1Unplug the power cord from the rear panel.
2Install a full-color ribbon and cards in the Card Printer.
3Press and hold the on-line button; plug the power cord back into the rear panel
connection while holding down the on-line button.
4Release the on-line button once the printer begins to cycle the drive motor.

RESTRICTED USE ONLY Fargo Electronics, Inc.
Persona C10/M10 ID Card Printer Service Manual (Rev. 4.0) 93
Calibrating the Printhead
Caution No. 1: This device is electrostatic sensitive. It may be damaged if
exposed to static electrical discharges. (Discharges may be generated by various means,
such as walking on a carpeted floor.) Be sure to observe all established Electro-Static
Caution No. 2: Discharge (ESD) procedures while handling cables in or near the
Circuit Board and Printhead Assemblies. Always wear an appropriate personal grounding
device, such as a wrist strap with integral resistor, connected to an ESD ground to avoid
potential damage. At a minimum, make positive contact with the bare metal chassis of the
printer with the hand before proceeding with the procedure.
Adjusting the RP1 Potentiometer
The RP1 potentiometer controls the lightness and darkness of the printed image. When a
new printhead is installed, it may need to be adjusted. Follow the steps below to perform this
minor adjustment.
When the Printhead Harness is replaced (along with the power and data cables for the
printhead), the Board Assembly, Ribbon Sensor, and Headlift Sensor Switch are also
terminated in the Upper Imaging Assembly.
To calibrate the Ribbon Sensor, see Calibrate the Ribbon Sensor. (Note: Do not over-
tighten the mounting screw when installing the Headlift Sensor Switch. The screw should be
snug up to the plastic housing of the switch.)
Step Procedure
1Locate the three small holes on the right-hand side of the printer. RP1 is located
within the first hole down from the top.
2Run a self test. The self test will print 15 gray scale boxes.
3Turn RP1 clockwise in 1/8-turn increments if the output is too dark. Adjust RP1
counterclockwise in 1/8-turn increments if it is too light. Continue to adjust
RP1and run self tests until the desired intensity is achieved.
Consult Make Mechanical Adjustments to the Printhead if mechanical
adjustments are needed to achieve the correct intensity level.

RESTRICTED USE ONLY Fargo Electronics, Inc.
Persona C10/M10 ID Card Printer Service Manual (Rev. 4.0) 94
Aligning the Headlift Sensor
Step Procedure
1Close the Upper Imaging Assembly; leave the Top Cover open.
2Apply power to the printer; press both the on-line and on/cancel buttons at the
same time. You will hear the Headlift motor energize for a moment and then
stop — it sounds like a low-pitched winding noise.
Positioning the Headlift Cam
Step Procedure
1Examine the eccentric cam in the middle of the Headlift Shaft Assembly. The
cam is a black, semi-round cylinder ¾-inch wide positioned midway across the
width of the Upper Imaging Assembly, riding against the Cam Lift Plate and a
thin metal plate called a Cam Follower Spring.
2Run the Headlift Alignment procedure above.
3Watch the rotation of the eccentric cam.
•The eccentric cam will make one complete rotation (360°)
counterclockwise; it should come to rest with the fattest portion of the cam
face down, pushing the Cam Lift Plate to its lowest position.
•The lifter arm of the Headlift Switch should be depressed, opening the
contacts of the Headlift Switch. (It should be an open contact when
depressed; with the arm released the contacts will close.) The Headlift
Switch could be malfunctioning if the fat portion of the cam stops at the
highest point. Adjust the mounting screw of the Headlift Switch; it may be
too tight.
•Ensure that the switch is positioned correctly on the Print Assembly
Sideplate. Make sure the switch activates when the lifter arm is depressed.
This can be measured with an ohmmeter for continuity.
•Check the rotation of the cam during the Headlift Alignment procedure if
difficulty persists. Normally, the cam should rotate counterclockwise (from
the front of the printer).
•If the camis rotating clockwise, the HeadliftMotor cable connection (J15 on
the Print Circuit Board) is reversed.

RESTRICTED USE ONLY Fargo Electronics, Inc.
Persona C10/M10 ID Card Printer Service Manual (Rev. 4.0) 95
Making Mechanical Adjustments to the Printhead
Refer to the following troubleshooting tips if you feel the Printhead Assembly requires
additional adjustment.
Caution No. 1: DO NOT make mechanical adjustments to the Printhead unless
one of these troubleshooting symptoms is present. Keep close track of all adjustments so
you can reset the assembly to its original settings if needed. The adjustments described
below are very minute; be sure to turn the adjustment screws only the amount suggested.
Caution No. 2: This device is electrostatic sensitive. It may be damaged if
exposed to static electrical discharges. (Discharges may be generated by various means,
such as walking on a carpeted floor.) Be sure to observe all established Electro-Static
Discharge (ESD) procedures while handling cables in or near the Circuit Board and
Printhead Assemblies.
Caution No. 3: Always wear an appropriate personal grounding device, such as a
wrist strap with integral resistor, connected to an ESD ground to avoid potential damage. At a
minimum, make positive contact with the bare metal chassis of the printer with the hand
before proceeding with the procedure.

RESTRICTED USE ONLY Fargo Electronics, Inc.
Persona C10/M10 ID Card Printer Service Manual (Rev. 4.0) 96
Making Mechanical Adjustments to the Printhead (continued)
Symptom Overall printed image looks broken up and/or faded.
Solution: The ribbon deflector on the Printhead may be too low.
Step Procedure
1Open the Top Cover.
2Loosen the two Screws (Item 1, below) that hold the ribbon deflector (Item 2,
below) in place.
3Locate the adjustment screws for the ribbon deflector (Item 3, below).
4Turn each adjustment screw 1/8-turn clockwise if the entire card is faded. Turn
each screw the same amount. If one side of the card is faded, turn the
adjustment screw on that side of the card 1/8-turn clockwise.
5Tighten the screws loosened in step 2. Do not overtighten them.
6Close the Top Cover.
7Print a sample card.
8Repeat steps 1-7 until the image is correct.

RESTRICTED USE ONLY Fargo Electronics, Inc.
Persona C10/M10 ID Card Printer Service Manual (Rev. 4.0) 97
Making Mechanical Adjustments to the Printhead (continued)
Symptom: Printed image has a dark band across the card, about 1/8 in. (3mm) from the
card leading edge.
Solution: The ribbon deflector on the Printhead may be too low.
Step Procedure
1Open the Top Cover.
2Loosen the two Screws (Item 1, below) that hold the ribbon deflector (Item 2,
below) in place.
3Locate the adjustment screws for the ribbon deflector (Item 3, below).
4Turn each adjustment screw 1/8-turn clockwise. Turn each screw the same
amount.
5Tighten the screws loosened in step 2. Do not overtighten them.
6Close the Top Cover.
7Print a sample card.
8Repeat steps 1-7 until the image is correct.

RESTRICTED USE ONLY Fargo Electronics, Inc.
Persona C10/M10 ID Card Printer Service Manual (Rev. 4.0) 98
Making Mechanical Adjustments to the Printhead (continued)
Symptom: Printed image has discolored arcs across the card.
Solution: The ribbon deflector on the Printhead may be too high.
Step Procedure
1Open the Top Cover.
2Loosen the two Screws (Item 1, below) that hold the ribbon deflector (Item 2,
below) in place.
3Locate the adjustment screws for the ribbon deflector (Item 3, below).
4Turn each adjustment screw 1/8-turn counterclockwise if the entire card has
arcs. Turn each screw the same amount. If one side of the card has arcs, turn
the adjustment screw on that side of the card 1/8-turn counterclockwise.
5Tighten the screws loosened in step 2. Do not overtighten them.
6Close the Top Cover.
7Print a sample card.
8Repeat steps 1-7 until the image is correct.

RESTRICTED USE ONLY Fargo Electronics, Inc.
Persona C10/M10 ID Card Printer Service Manual (Rev. 4.0) 99
Making Mechanical Adjustments to the Printhead (continued)
Caution: In order for the printer to function properly with the new Printhead
Assembly, you MUST have firmware version 1.0.7. The firmware version of the printer is
shown on the edge of the Self Test print.
Contact FARGO Technical Support for a firmware update at (952) 941-0050 or FAX (952)
941-1852.
Note: Be sure to record the total number of passes the printer has made to date. This is
necessary for warranty purposes in order to accurately count the total number of passes
made by each new printhead. To have the printer report the total number of passes made to
date, press and hold the on-line button for 12 seconds. A card will be printed showing this
number. Store this card in a safe place so you can accurately determine the pass count of
the printhead if the need arises.
RESTRICTED USE ONLY Fargo Electronics, Inc.
Persona C10/M10 ID Card Printer Service Manual (Rev. 4.0) 100
Calibrating the Ribbon Sensor
Use this procedure (a) when colors on the printed card are out of alignment, (b) when a black
bar appears on the leading edge of the card or covers the entire card where the clear overlay
should be placed, or (c) when too many color panels are passed without being used.
Tools Needed
(1) Small standard screwdriver
(1) Full-color ribbon
(1) Dark colored note pad (or similar object)
Note: The Ribbon Sensor array can be affected by exposure to direct light. To ensure
proper operation, the Top Cover should be kept closed during normal operation. As it is
necessary to have the Top Cover open during the calibration procedure, place a dark colored
object such as a cardboard note pad over the Printhead Assembly to block light from
entering the printer.

RESTRICTED USE ONLY Fargo Electronics, Inc.
Persona C10/M10 ID Card Printer Service Manual (Rev. 4.0) 101
Adjusting the RP2 Potentiometer
Step Procedure
1Install the full-color ribbon in the printer.
2Position the Magenta panel, from the supply spool, across the top of the Light
Emitting portion of the Ribbon Sensor Array. (This is the short metal bar
protruding from the rear chassis wall just to the left of the ribbon supply spool.)
3Close the Printhead Assembly securely and leave the Top Cover open.
4Locate the rectangular opening on the left side of the machine. Just inside the
opening are four small white switches aligned in a row vertically. The switches
are labeled 1 through 4; the top switch is number one.
5Use the tip of the standard screwdriver to click switch number 1 towards the
rear of the printer; this turns the switch on.
6Locate the Lid Switch at the top and middle of the printer, just to the rear of the
Printhead Assembly.
7Use a piece of clear tape to secure the Lid Switch down.
8Disconnect all cables from the back of the printer.
9Place the note pad over the Printhead Assembly to shield the sensor array
from light.
10 Hold the on-line button down.
11 Plug in the power cable while continuing to hold the on-line button.
12 Release from the on-line button once the LED lights come on. You will notice
that one LED will be lit, either the on-line or the on/cancel.
13 Locate the RP2 Potentiometer on the right side of the printer, through the
opening in the middle.
14 Use the standard screwdriver to turn the RP2 potentiometer until both LEDs
are turned OFF.

RESTRICTED USE ONLY Fargo Electronics, Inc.
Persona C10/M10 ID Card Printer Service Manual (Rev. 4.0) 102
Adjusting the RP2 Potentiometer
Note: RP2 has two stops; do not turn the screw beyond these stops.
Once both LEDs are OFF, the ribbon sensor calibration is completed. Then, follow these
steps.
Step Procedure
1Remove the POWER cable, the tape from over the Lid Switch, and the note
pad.
2Return Switch number one to the OFF position; move it towards the front of the
printer.
3Replace the ribbon (if necessary).
4Close the Top Lid.
5Apply power when ready.

RESTRICTED USE ONLY Fargo Electronics, Inc.
Persona C10/M10 ID Card Printer Service Manual (Rev. 4.0) 103
Calibrating the Left Card Sensor
When this part is moved or replaced, the lengthwise print position on cards can be affected.
This sensor provides the precise position of the cards leading edge as it is presented to the
printhead. If the position is incorrect, it may cause ribbon breakage between the yellow and
clear panels of the ribbon.
Adjusting the RP3 Potentiometer
Step Procedure
1Locate RP3 by finding the three small holes on the right-hand side of the
printer; RP3 is located within the third hole down from the top.
2Install a full-color ribbon in the printer.
3Run a self test print.
4Measure the width of the colored bars at each end of the self test print. The
width of each bar should be close to equal.
5Adjust RP3 counterclockwise in 1/8-turn increments if the green bar on the
leading edge appears thinner. If the red bar on the trailing edge appears
thinner, adjust RP3 clockwise in 1/8-turn increments.
6Repeat steps 1-7 until the lines are of equal width.
Troubleshooting Tips
The slots of the Card Sensor may be obscured if the printer behaves as if a card is in the
feed path — the main stepper motor is activating when power is applied and then the on-line
light blinks.
To remove dust or debris from the card sensor, use a can of compressed air to blow between
the upper and lower portions of the Left Card Sensor.

RESTRICTED USE ONLY Fargo Electronics, Inc.
Persona C10/M10 ID Card Printer Service Manual (Rev. 4.0) 104
Aligning the Stepper Motor
The Stepper Motor Assembly may require alignment when replaced.
Step Procedure
1Examine the teeth on the pinion gear of the Stepper Motor. They should make
positive contact with the teeth of the idler gear. Note: The amount of contact
between the pinion gear and the idler gear is controlled by the positioning of
the Stepper Motor. Continue to step 2 if alignment is needed.
2Loosen the mounting screws that secure the Stepper Motor to the chassis.
3Adjust the Stepper Motor so the the pinion gear rests into the teeth of the idler
gear.
4Tighten the mounting screws.
5Turn the idler gear by hand; it should turn with relative ease. There should be
slight tension and positive contact from the Stepper Motor as the axle rotates.
6Apply a small amount of grease to the pinion gear for lubrication.

RESTRICTED USE ONLY Fargo Electronics, Inc.
Persona C10/M10 ID Card Printer Service Manual (Rev. 4.0) 105
Calibrating the Ribbon ID Sensor Board
The replacement Ribbon ID Sensor Board is calibrated by the factory; the procedure below is
not necessary in most cases. Because extreme precision is required, this procedure should
only be completed by a qualified electronics technician.
The printer will have difficulty reading the supply ribbon identification core if the Ribbon ID
Sensor is not calibrated correctly. It may print the first card in a series, but the second card
may stall in the printer and the on-line light will blink. If the on-line button is pressed, the
second card may print fine. (Note: This symptom is also identical to what occurs when the
wrong Ribbon Type is selected in the Printer Driver. Make sure the Ribbon Type selected in
the Printer Driver matches the ribbon installed in the printer.)
Caution: This device is electrostatic sensitive. It may be damaged if exposed to
static electrical discharges. (Discharges may be generated by various means, such as
walking on a carpeted floor.) Be sure to observe all established Electro-Static Discharge
(ESD) procedures while handling cables in or near the Circuit Board and Printhead
Assemblies. Always wear an appropriate personal grounding device, such as a wrist strap
with integral resistor, connected to an ESD ground to avoid potential damage. At a minimum,
make positive contact with the bare metal chassis of the printer with the hand before
proceeding with the procedure.
Tools Needed
(1) Digital volt meter
(1) Exacto knife (Precision-bladed knife)
(1) Phillips-head screwdriver
Continued on the next page

RESTRICTED USE ONLY Fargo Electronics, Inc.
Persona C10/M10 ID Card Printer Service Manual (Rev. 4.0) 106
Calibrating the Ribbon ID Sensor Board
Step Procedure
1Remove all external cables from the back of the printer.
2Remove the ribbon from the printer.
3Detach the print circuit board, RIP, power boards, and backplate from the printer
baseplate.
4Remove the two exterior, bottom corner Screws from the backplate and the two
Screws from each side of the power board.
5Guide the Circuit Board carefully away from the baseplate.
6Rest the circuit board assembly on the back plate; the connecting wires should be
long enough to accommodate this procedure. Keep the bottom side of the power
board from touching any bare metal of the printer’s chassis. Use a piece of
masking tape against the edge of the baseplate if necessary.
7Attach the printer Desktop Transformer to a switched power strip; turn the power
strip off.
8Attach the Desk Top Transformer output cable to the printer. See related Safety
Messages.
9Locate the J10 connector on the Print Circuit Board Assembly.
10 Set the digital volt meter to measure low-level dc voltage — in the range of + 0.01
to + 1.00 V dc.
11 Attach the black test lead of the meter to the bare metal back plate of the circuit
board.
12 Touch the red test lead to the lead on the left side on the R35 resistor.
13 Turn on the switched power strip to apply power to the printer.
Continued on the next page

RESTRICTED USE ONLY Fargo Electronics, Inc.
Persona C10/M10 ID Card Printer Service Manual (Rev. 4.0) 107
Calibrating the Ribbon ID Sensor Board
Step Procedure
14 Read the voltage at R35; it should read + 0.75 V dc. Note: If the voltage is lower
than + 0.75, the magnet of the ID sensor is too close to the hall - effect sensor.
15 Use the blade tip of the exacto knife to slide the magnetic cylinder held by the
plastic housing at the Ribbon ID Sensor Board. This process requires moderate-
to high-level coordination and dexterity. Patience and concentration are key.
16 Place the tip of the exacto blade at the forward side (towards the ribbon hub) of
the magnetic cylinder; slide it towards the front of the printer. The amount of
movement needed is very small, half the thickness of the exacto blade.
17 Remove the knife from the Ribbon ID Sensor Board.
18 Measure the voltage at R35. If the voltage is higher than + 0.75, the magnetic
cylinder is too far from the hall - effect sensor. The magnetic cylinder should be
moved towards the ribbon hub.

RESTRICTED USE ONLY Fargo Electronics, Inc.
Persona C10/M10 ID Card Printer Service Manual (Rev. 4.0) 108
Interfacing Information
The Card Printer is equipped with a standard 8-bit Centronics-type parallel data
communications port. This is the means by which the Printer receives data from the
computer. No options for serial data are available. This section describes the pin
assignments, protocol and signal specifications for the parallel data input port.
Centronics-type Parallel Interface
The Centronics-type parallel interface is the most widely used Printer interface due to its
simplicity, speed and standardization throughout the PC industry. The Printer’s parallel
interface connector is a standard 36-pin Amp type with two metal-wire retaining clips and is
ECP (Extended Capabilities Port) compatible. It mates with a shielded, bi-directional PC to
Printer parallel cable. Try to keep the interface cable to under 6 feet if possible.
Pin assignments are as follows:

RESTRICTED USE ONLY Fargo Electronics, Inc.
Persona C10/M10 ID Card Printer Service Manual (Rev. 4.0) 109
Centronics-type Parallel Interface (continued)
Wire Diagram of DB36P and DB25P

RESTRICTED USE ONLY Fargo Electronics, Inc.
Persona C10/M10 ID Card Printer Service Manual (Rev. 4.0) 110
Centronics-type Parallel Interface (continued)

RESTRICTED USE ONLY Fargo Electronics, Inc.
Persona C10/M10 ID Card Printer Service Manual (Rev. 4.0) 111
Centronics-type Parallel Interface (continued)

RESTRICTED USE ONLY Fargo Electronics, Inc.
Persona C10/M10 ID Card Printer Service Manual (Rev. 4.0) 112
Section 6: Parts Replacement
Safety Messages (review carefully)
Symbol Critical Instructions for Safety purposes
Danger: Failure to follow these installation guidelines can result in death or
serious injury.
Information that raises potential safety issues is indicated by a warning
symbol (as shown to the below).
•To prevent personal injury,refer to the following safety messages
before performing an operation preceded by this symbol.
•To prevent personal injury,always remove the power cord prior to
performing repair Instructions, unless otherwise specified.
•To prevent personal injury,make sure only qualified personnel
perform these Instructions.
Caution: This device is electrostatically sensitive. It may be damaged if
exposed to static electricity discharges.
Information that raises potential electrostatic safety issues is indicated
by a warning symbol (as shown to the below).
•To prevent equipment or media damage,refer to the following
safety messages before performing an operation preceded by this
symbol.
•To prevent equipment or media damage,observe all established
Electrostatic Discharge (ESD) Instructions while handling cables in
or near the Circuit Board and Printhead Assemblies.
•To prevent equipment or media damage,always wear an
appropriate personal grounding device (e.g., a high quality wrist
strap grounded to avoid potential damage).
•To prevent equipment or media damage,always remove the
Ribbon and Cards from the Printer before making any repairs,
unless otherwise specified.
•To prevent equipment or media damage,take jewelry off of
fingers and hands, as well as thoroughly clean hands to remove oil
and debris before working on the Printer.

RESTRICTED USE ONLY Fargo Electronics, Inc.
Persona C10/M10 ID Card Printer Service Manual (Rev. 4.0) 113
Reviewing the Part Number/Description and Drawing Number Table
This section guides you through replacement of key components of the card printer. It
includes disassembly, part removal, replacement, and installation. Be sure to reverse the
disassembly steps to reassemble the card printer.
Acomplete listing for each part is found below: part number, part description, quantity
needed, drawing reference number, page number, and TTR (Time to Repair).

RESTRICTED USE ONLY Fargo Electronics, Inc.
Persona C10/M10 ID Card Printer Service Manual (Rev. 4.0) 114
Reviewing the Drawing Index

RESTRICTED USE ONLY Fargo Electronics, Inc.
Persona C10/M10 ID Card Printer Service Manual (Rev. 4.0) 115
Reviewing the Print Circuit Board Cable Connector Locations

RESTRICTED USE ONLY Fargo Electronics, Inc.
Persona C10/M10 ID Card Printer Service Manual (Rev. 4.0) 116
Replacing the Rear Pivot Cover (830168)
It may be necessary to remove the Rear Pivot Cover or the Front Cover for many of the
replacement procedures in this section.
Refer To Drawing 8301XX.
TTR: 5 minutes.
Step Procedure
1Unplug the power cord from the printer.
2Stand at the rear of the printer and remove the top two corner Screws
(130971); loosen the bottom two corner Screws (130971).
3Raise the Rear Pivot Cover and open the Upper Imaging Assembly.
4Remove the top two mid-section Screws (130971); see drawing 830168.
5Close the Upper Imaging Assembly.
6Loosen the Screw (130971) by the Card Hopper and the Screw (130971) by
the Card Exit Ramp; see drawing 830168.
7Grasp the bottom lip of either side of the Rear Pivot Cover, spread the sides
carefully past the remaining loosened Screws (130971), and lift the cover
assembly from the printer.

RESTRICTED USE ONLY Fargo Electronics, Inc.
Persona C10/M10 ID Card Printer Service Manual (Rev. 4.0) 117
Replacing the Front Cover Assembly (830182-02)
Refer To Drawing 8301XX.
TTR: 5 minutes.
Step Procedure
1Unplug the power cord from the printer.
2Raise the Rear Pivot Cover and open the Upper Imaging Assembly.
3Loosen the top two corner Screws (130987) found just behind the top edge of
the Front Cover.
4Close the Upper Imaging Assembly.
5Remove the Screw (130987) by the Card Hopper and the Screw (130987) by the
Card Exit Ramp.
6Lift the front cover just enough so the top screws come away from the printer
chassis.
7Lay the front cover down.

RESTRICTED USE ONLY Fargo Electronics, Inc.
Persona C10/M10 ID Card Printer Service Manual (Rev. 4.0) 118
Replacing the Print Circuit Board (140300)
Refer To Drawing 830179.
TTR: 10 minutes
Step Procedure
1Unplug the power cord and any external cables from the printer.
2Refer to drawing 8301XX to remove the Screw (130971), Screw (130939), Washer
(130949), and Cable Clamp (140013) from the Power Circuit Board Power
(drawing 830179).
3Lift up on the Backplate; guide the Power Circuit Board over the lip of the printer
baseplate.
4Place a small piece of tape on each cable; write the cable connection location on
that tape.
5Remove all of the cables from the Circuit Boards.
6Remove the two Screws (130971) that secure the Print Circuit Board to the two
Standoff Screws (140047).
7Use the thumb and index fingers of both hands to carefully pry the Print Circuit
Board from the Power Circuit Board. (Note: Attach the cables. Be sure to calibrate
the printer so it functions properly. See related Safety Messages.)

RESTRICTED USE ONLY Fargo Electronics, Inc.
Persona C10/M10 ID Card Printer Service Manual (Rev. 4.0) 119
Replacing the Power Circuit Board (140302)
Refer To Drawing 830179.
TTR: 20 minutes.
Step Procedure
1Unplug the power cord and any external cables from the printer.
2Refer to drawing 8301XX to remove the Screw (130971), Screw
(130939),Washer (130949), and Cable Clamp (140013) from the Power Circuit
Board Power (drawing 830179).
3Lift up on the Backplate; guide the Power Circuit Board over the lip of the
printer baseplate.
4Place a small piece of tape on each cable; write the cable connection location
on that tape.
5Remove all of the cables from the Circuit Boards.
6Remove the two Screws (130971) that secure the Print Circuit Board to the two
Standoff Screws (140047).
7Use the thumb and index fingers of both hands to carefully pry the Print Circuit
Board from the Power Circuit Board.
8Take the two Screws (130971) screws from the heatsink and the two corner
Screws (130971).
9Remove the Power Circuit Board from the backplate. (Note: Apply a thin layer
of heatsink compound to the back of the heatsink for optimal heat transfer into
the backplate when replacing the Power Circuit Board. Attach the cables. Be
sure to calibrate the printer so it functions properly.)

RESTRICTED USE ONLY Fargo Electronics, Inc.
Persona C10/M10 ID Card Printer Service Manual (Rev. 4.0) 120
Replacing the Printhead Assembly (820102)
Refer To Drawing 830119-XX.
TTR: 5 minutes
Caution: If oil or debris makes contact with the Printhead elements, wipe the
glasscoated area of the printhead immediately with a clean cloth dampened with 99% pure
alcohol.
Step Procedure
1Unplug the power cord from the printer.
2Raise the Rear Pivot Cover.
3Lift the Head Latch Lever and raise the Upper Imaging Assembly.
4Unscrew the two Thumb Screws (130887).
5Remove the Head Cover Plate (820253).
6Raise the tip of Head Spring (810214) about ¼-inch above the Printhead
Assembly (820199).
7Grasp the two plastic forks on each side of the Printhead Assembly, pivot them
upward, and release the Head Spring.
8Disconnect the two cables from the printhead. Make a note as to how the
cables are oriented for installing the replacement Printhead.
9Guide the Printhead Assembly between the sideplates and out of the printer.
See related Safety Messages.

RESTRICTED USE ONLY Fargo Electronics, Inc.
Persona C10/M10 ID Card Printer Service Manual (Rev. 4.0) 121
Replacing the Printhead Harness Assembly (830162-00)
Refer To Drawing 830119-XX.
TTR: 15 minutes.
Note: The Printhead Harness Assembly includes the following cables: Data and Power Bus
cables for the Printhead, Cooling Fan, Ribbon Sensor Board Assembly, and the Headlift
Sensor Switch.
Step Procedure
1Unplug the power cord from the printer.
2Raise the Rear Pivot Cover.
3Lift the Head Latch Lever and raise the Upper Imaging Assembly.
4Unscrew the two Thumb Screws (130887).
5Remove the Head Cover Plate (820253).
6Raise the tip of the Head Spring (810214) about ¼-inch above the Printhead
Assembly (820199).
7Grasp the two plastic forks on each side of the Printhead Assembly, pivot them
upward, and release the Head Spring.
8Disconnect the two cables from the printhead. Make a note as to how the cables
are oriented for installing the replacement Printhead.
9Pivot the Printhead Assembly back to its normal position.
10 Take the two Screws (130990) from the Fan Guard (150312); lift the fan out of
the printer.
11 Remove the two Screws (130971) that secure the Shield Sensor (810303) to the
Sensor Mount Bracket (810221).
12 Take the Ribbon Sensor Assembly from the printer.

RESTRICTED USE ONLY Fargo Electronics, Inc.
Persona C10/M10 ID Card Printer Service Manual (Rev. 4.0) 122
Replacing the Printhead Harness Assembly (830162-00) (cont.)
Step Procedure
13 Remove the Screw (130972) that secures the Headlift Sensor Switch to the
Front Plate/Print Assembly Sideplate (830302).
14 Lift the Headlift Sensor Switch out of the printer.
15 Cut the Tie Wrap (140013) that attaches the Head Harness Assembly to the
Back Plate/Print Assembly Sideplate (830303).
16 Remove the Rear Pivot Cover.
17 Refer to drawing 8301XX to remove the Screw (130971), Screw (130939),
Washer (130949), and Cable Clamp (140013) from the Power Circuit Board
Power (drawing 830179).
18 Lift up on the Backplate; guide the Power Circuit Board over the lip of the printer
baseplate.
19 Locate the cable connections.
20 Place a small piece of tape on each cable; write the cable connection location on
that tape.
21 Disconnect the cable connections.
22 Take the Printhead Harness Assembly from the printer.

RESTRICTED USE ONLY Fargo Electronics, Inc.
Persona C10/M10 ID Card Printer Service Manual (Rev. 4.0) 123
Replacing the Ribbon Sensor Board Assembly (830151)
Caution: This device is electrostatic sensitive. It may be damaged if exposed to
static electrical discharges. (Discharges may be generated by various means, such as
walking on a carpeted floor.) Be sure to observe all established Electro-Static Discharge
(ESD) procedures while handling cables in or near the Circuit Board and Printhead
Assemblies. Always wear an appropriate personal grounding device, such as a wrist strap
with integral resistor, connected to an ESD ground to avoid potential damage. At a minimum,
make positive contact with the bare metal chassis of the printer with the hand before
proceeding with the procedure.
Sub-assembly of the Printhead Harness Assembly 830162-00.
Refer To Drawing 830119-XX.
TTR: 15 minutes.
Step Procedure
1Unplug the power cord from the printer.
2Raise the Rear Pivot Cover.
3Take the two Screws (130990) from the Fan Guard (150312); lift the fan out of
the printer.
4Remove the two Screws (130971) that secure the Shield Sensor (810303) to the
Sensor Mount Bracket (810221).
5Take the Ribbon Sensor Assembly from the printer.
6Use a wire cutting tool to severe the wires of the Ribbon Sensor Assembly, near
the opening of the Head Harness Assembly. Take care not to nick any other
wires.
7Remove the Print Circuit Board.
8Disconnect the Ribbon Sensor cable from J12, pins 3 and 4 on the Print Circuit
Board.
9Sever the wires of the Ribbon Sensor cable near the opening of the Printhead
Harness Assembly.
10 Use wire wraps to secure the Ribbon Sensor cable next to the Printhead
Harness Assembly.
11 Take the Ribbons Sensor Board Assembly from the printer.

RESTRICTED USE ONLY Fargo Electronics, Inc.
Persona C10/M10 ID Card Printer Service Manual (Rev. 4.0) 124
Replacing the Cleaning Roller Assembly (830177)
Refer To Drawing 830177.
TTR: 1 minute.
Step Procedure
1Unplug the power cord from the printer.
2Lift the Head Latch Lever (830312, drawing 830119-XX) and raise the Upper
Imaging Assembly.
3Locate the Cleaning Roller Assembly in the Card Feed Path beneath the
Lower Ribbon Sensor Assembly (drawing 830126). The Cleaning Roller
Assembly is held in place by two magnetic catches (130200, drawing 830131).
4Grasp the front corner of the Cleaning Roller Assembly and lift it from the
printer.

RESTRICTED USE ONLY Fargo Electronics, Inc.
Persona C10/M10 ID Card Printer Service Manual (Rev. 4.0) 125
Replacing the Front Panel Board Assembly (830164)
Caution: This device is electrostatic sensitive. It may be damaged if exposed to
static electrical discharges. (Discharges may be generated by various means, such as
walking on a carpeted floor.) Be sure to observe all established Electro-Static Discharge
(ESD) procedures while handling cables in or near the Circuit Board and Printhead
Assemblies. Always wear an appropriate personal grounding device, such as a wrist strap
with integral resistor, connected to an ESD ground to avoid potential damage. At a minimum,
make positive contact with the bare metal chassis of the printer with the hand before
proceeding with the procedure.
Refer To Drawing SK1741.
TTR: 15 minutes.
Step Procedure
1Unplug the power cord from the printer.
2Take the Front Cover Assembly.
3Remove the Screw that secures the Front Panel Board Assembly (830164) to
the Front Cover (SK1741).
4Lay the Front Cover face down.
5Lift and remove the Front Panel Board Assembly from the Front Cover.
6Remove the two control buttons (771617) are loose; remove and set them aside.
7Remove the item Panel Mount Bracket (830384) from the Front Panel Board.
8Remove the Rear Pivot Cover.
9Detach the Print Circuit Board.
10 Disconnect the cable from J2 on the Print Circuit Board.
11 Attach a piece of string to the end of the cable; use it as a means to feed the
new cable through the chassis. (See Drawing 830164 for specifications.)
12 Take the Front Panel Board Assembly from the printer.

RESTRICTED USE ONLY Fargo Electronics, Inc.
Persona C10/M10 ID Card Printer Service Manual (Rev. 4.0) 126
Replacing the Left Card Sensor Assembly (830135)
Caution: This device is electrostatic sensitive. It may be damaged if exposed to
static electrical discharges. (Discharges may be generated by various means, such as
walking on a carpeted floor.) Be sure to observe all established Electro-Static Discharge
(ESD) procedures while handling cables in or near the Circuit Board and Printhead
Assemblies. Always wear an appropriate personal grounding device, such as a wrist strap
with integral resistor, connected to an ESD ground to avoid potential damage. At a minimum,
make positive contact with the bare metal chassis of the printer with the hand before
proceeding with the procedure.
Refer To Drawing 830117-XX.
TTR: 15 minutes.
Step Procedure
1Unplug the power cord from the printer.
2Remove the Rear Pivot Cover.
3Detach the Print Circuit Board from the chassis without the removing wire
connectors.
4Remove the Screw (130939) from the Left Card Sensor Assembly (830135).
5Disconnect the cable connection from J8 on the Print Circuit Board.
6Attach a string to the cable connector; carefully draw it through the wire path.
7Take the Left Card Sensor Assembly from the printer. Note: Use the string as
ameans of guiding the new Left Card Sensor Assembly cable through the
printer.

RESTRICTED USE ONLY Fargo Electronics, Inc.
Persona C10/M10 ID Card Printer Service Manual (Rev. 4.0) 127
Replacing the Headlift Motor Assembly (830143)
Caution: This device is electrostatic sensitive. It may be damaged if exposed to
static electrical discharges. (Discharges may be generated by various means, such as
walking on a carpeted floor.) Be sure to observe all established Electro-Static Discharge
(ESD) procedures while handling cables in or near the Circuit Board and Printhead
Assemblies. Always wear an appropriate personal grounding device, such as a wrist strap
with integral resistor, connected to an ESD ground to avoid potential damage. At a minimum,
make positive contact with the bare metal chassis of the printer with the hand before
proceeding with the procedure.
Refer To Drawing 830117-XX.
TTR: 10 minutes.
Step Procedure
1Unplug the power cord from the printer.
2Remove the two Screws (130938) from the Headlift Motor Assembly. (Note:
The Headlift Motor Assembly is connected to the Headlift Motor Spacer and the
Headlift Gear; they will be loose once the Headlift Motor Assembly is removed.)
3Disconnect the cable connection from J15 on the Print Circuit Board. See
Drawing 830145 for specifications.
4Take the Headlift Motor Assembly from the printer. (Note: Apply a liberal
amount of grease to the teeth of the worm gear when installing the new Headlift
Motor Assembly. Be sure the dimples of the Headlift Motor Spacer are fitted to
the associated openings on the Chassis Assembly. Also be sure the end Shafts
of the Headlift Gear fit properly into the associated openings in the Chassis
Assembly, Headlift Motor Spacer, and the Headlift Motor Assembly before
tightening the two Screws.)

RESTRICTED USE ONLY Fargo Electronics, Inc.
Persona C10/M10 ID Card Printer Service Manual (Rev. 4.0) 128
Replacing the Card Feed Assembly (830145)
Caution: This device is electrostatic sensitive. It may be damaged if exposed to
static electrical discharges. (Discharges may be generated by various means, such as
walking on a carpeted floor.) Be sure to observe all established Electro-Static Discharge
(ESD) procedures while handling cables in or near the Circuit Board and Printhead
Assemblies. Always wear an appropriate personal grounding device, such as a wrist strap
with integral resistor, connected to an ESD ground to avoid potential damage. At a minimum,
make positive contact with the bare metal chassis of the printer with the hand before
proceeding with the procedure.
Refer To Drawing 830117-XX.
TTR: 10 minutes.
Step Procedure
1Unplug the power cord from the printer.
2Remove the three Screws (130938) from the Card Feed Assembly.
3Slide the Retainer Clip from the Card Feed Roller Shaft.
4Disconnect the cable connector from J16 on the Print Circuit Board. See
Drawing 830145 for specifications.
5Take the Card Feed Assembly from the printer. (Note: Take care to keep the
Card Feed Roller Shaft from binding with the casing of the Card Feed Assembly
before tightening the three Screws.)

RESTRICTED USE ONLY Fargo Electronics, Inc.
Persona C10/M10 ID Card Printer Service Manual (Rev. 4.0) 129
Replacing the Ribbon Drive Assembly (830147)
Caution: This device is electrostatic sensitive. It may be damaged if exposed to
static electrical discharges. (Discharges may be generated by various means, such as
walking on a carpeted floor.) Be sure to observe all established Electro-Static Discharge
(ESD) procedures while handling cables in or near the Circuit Board and Printhead
Assemblies. Always wear an appropriate personal grounding device, such as a wrist strap
with integral resistor, connected to an ESD ground to avoid potential damage. At a minimum,
make positive contact with the bare metal chassis of the printer with the hand before
proceeding with the procedure.
Refer To Drawing 830117-XX.
TTR: 10 minutes.
Step Procedure
1Unplug the power cord from the printer.
2Remove the three Screws (130938) from the Ribbon Drive Assembly.
3Disconnect the cable connector from J14 on the Power Circuit Board. See
Drawing 830147 for specifications.
4Take the Ribbon Drive Assembly from the printer. (Note: Take care to keep
the Shaft from binding with the casing of the Ribbon Drive Assembly before
tightening the three Screws.)

RESTRICTED USE ONLY Fargo Electronics, Inc.
Persona C10/M10 ID Card Printer Service Manual (Rev. 4.0) 130
Replacing the Slotted Sensor Mount Assembly (830149)
Caution: This device is electrostatic sensitive. It may be damaged if exposed to
static electrical discharges. (Discharges may be generated by various means, such as
walking on a carpeted floor.) Be sure to observe all established Electro-Static Discharge
(ESD) procedures while handling cables in or near the Circuit Board and Printhead
Assemblies. Always wear an appropriate personal grounding device, such as a wrist strap
with integral resistor, connected to an ESD ground to avoid potential damage. At a minimum,
make positive contact with the bare metal chassis of the printer with the hand before
proceeding with the procedure.
Refer To Drawing 830117-XX.
TTR: 5 minutes.
Step Procedure
1Unplug the power cord from the printer.
2Remove the Screw (130938) from the Slotted Sensor Mount Assembly.
3Disconnect the cable connector from J7 on the Print Circuit Board. See
Drawing 830149 for specifications.
4Take the Slotted Sensor Mount Assembly from the printer.

RESTRICTED USE ONLY Fargo Electronics, Inc.
Persona C10/M10 ID Card Printer Service Manual (Rev. 4.0) 131
Replacing the Lid Sensor Assembly (830150)
Caution: This device is electrostatic sensitive. It may be damaged if exposed to
static electrical discharges. (Discharges may be generated by various means, such as
walking on a carpeted floor.) Be sure to observe all established Electro-Static Discharge
(ESD) procedures while handling cables in or near the Circuit Board and Printhead
Assemblies. Always wear an appropriate personal grounding device, such as a wrist strap
with integral resistor, connected to an ESD ground to avoid potential damage. At a minimum,
make positive contact with the bare metal chassis of the printer with the hand before
proceeding with the procedure.
Refer To Drawing 830117-XX.
TTR: 5 minutes.
Step Procedure
1Unplug the power cord from the printer.
2Remove the Screw (130972) from the Lid Sensor Assembly.
3Disconnect the cable connector from J4 on the Print Circuit Board. See
Drawing 830150 for specifications.
4Take the Lid Sensor Assembly from the printer.

RESTRICTED USE ONLY Fargo Electronics, Inc.
Persona C10/M10 ID Card Printer Service Manual (Rev. 4.0) 132
Replacing the Stepper Motor Assembly (810113)
Caution: This device is electrostatic sensitive. It may be damaged if exposed to
static electrical discharges. (Discharges may be generated by various means, such as
walking on a carpeted floor.) Be sure to observe all established Electro-Static Discharge
(ESD) procedures while handling cables in or near the Circuit Board and Printhead
Assemblies. Always wear an appropriate personal grounding device, such as a wrist strap
with integral resistor, connected to an ESD ground to avoid potential damage. At a minimum,
make positive contact with the bare metal chassis of the printer with the hand before
proceeding with the procedure.
Refer To Drawing 830117-XX.
TTR: 5 minutes.
Step Procedure
1Unplug the power cord from the printer.
2Remove two Screws (130938) from the Stepper Motor Assembly that secures
the assembly to the printer chassis.
3Disconnect the cable connector from J17 on the Power Circuit Board. See
Drawing 810113 for specifications.
4Take the Stepper Motor Assembly from the printer. (Note: Be sure there is
adequate grease applied to the pinion gear of the Stepper Motor Assembly.
Also ensure that the gear mates properly with the Idler Gear before tightening
the two Screws.)

RESTRICTED USE ONLY Fargo Electronics, Inc.
Persona C10/M10 ID Card Printer Service Manual (Rev. 4.0) 133
Replacing the Ribbon ID Sensor Board Assembly (763173-2)
Caution: This device is electrostatic sensitive. It may be damaged if exposed to
static electrical discharges. (Discharges may be generated by various means, such as
walking on a carpeted floor.) Be sure to observe all established Electro-Static Discharge
(ESD) procedures while handling cables in or near the Circuit Board and Printhead
Assemblies. Always wear an appropriate personal grounding device, such as a wrist strap
with integral resistor, connected to an ESD ground to avoid potential damage. At a minimum,
make positive contact with the bare metal chassis of the printer with the hand before
proceeding with the procedure.
Refer To Drawing 830117-XX.
TTR: 15 minutes
Step Procedure
1Unplug the power cord from the printer.
2Take the Front Cover off.
3Remove the Retaining Ring (140009). Use a replacement Retaining Ring when
installing the new Ribbon ID Sensor Board Assembly.
4Extract the Right Ribbon Hub (763345) and the Clutch Spacer (760386) off of
the Hub Linkage Assembly (810115).
5Move the Ribbon ID Sensor Board Assembly off of the Hub Linkage Assembly.
Take care not to misplace the Spring; it can remain on the Hub Linkage
Assembly.
6Disconnect the cable connection from J10 on the Print Circuit Board. See
Drawing 763173-X for specifications.
7Tie a string to the cable connector and draw the string through the wire path.
Use the string as a means of routing the the new Ribbon ID Sensor Board
Assembly cable through the printer chassis.
8Take the Ribbon ID Sensor Board ASsembly from the printer.

RESTRICTED USE ONLY Fargo Electronics, Inc.
Persona C10/M10 ID Card Printer Service Manual (Rev. 4.0) 134
Replacing the Card Feed Switch Assembly (830136)
Refer To Drawing 830131, Item 12.
TTR: NA
In the unlikely event of failure, this cable is not field serviceable. Please contact the FARGO
Technical Support Group at (952) 941-0050 for assistance.
Replacing the LED Board Assembly (830133)
Caution: This device is electrostatic sensitive. It may be damaged if exposed to
static electrical discharges. (Discharges may be generated by various means, such as
walking on a carpeted floor.) Be sure to observe all established Electro-Static Discharge
(ESD) procedures while handling cables in or near the Circuit Board and Printhead
Assemblies. Always wear an appropriate personal grounding device, such as a wrist strap
with integral resistor, connected to an ESD ground to avoid potential damage. At a minimum,
make positive contact with the bare metal chassis of the printer with the hand before
proceeding with the procedure.
Sub-assembly of 830126, Item 13.
Refer To Drawing 830118-XX.
TTR: 15 minutes
Step Procedure
1Unplug the power cord from the printer.
2Take off the Rear Pivot Cover.
3Detach the Print Circuit Board from the chassis. Do not remove any wire
connectors unless indicated.
4Remove the Screw (130971) that holds the Lower Ribbon Sensor Assembly to
the Rear Side Plate. Refer to Drawing 830126.
5Disconnect the cable connector from J12, pins 1and 2 on the Print Circuit
Board.
6Remove the LED Board Assembly from the Bottom Sensor Bracket and the
printer. See Drawing 830133 for specifications.

RESTRICTED USE ONLY Fargo Electronics, Inc.
Persona C10/M10 ID Card Printer Service Manual (Rev. 4.0) 135
Replacing the Platen Roller (810261)
Refer To Drawing 830118-XX.
TTR: 15 minutes
Step Procedure
1Unplug the power cord from the printer.
2Remove the Front Cover.
3Take off the Rear Pivot Cover.
4Detach the Print Circuit Board from the chassis. Do not remove any wire
connectors unless indicated.
5Stand at the front of the Chassis Assembly; remove the Retaining Ring
(140048) from the Platen Roller Shaft.
6Remove the Platen Card Drive Gear. Be sure to note that the wide part of the
gear hub faces the Sideplate. Remember this when reinstalling it.
7Take off the Washer Spring (130951). Be sure to note that the wave of the
spring faces the Platen Card Drive Gear. Remember this when reinstalling it.
8Stand at the rear of the Chassis Assembly; remove the Retaining Ring
(140048) from the Platen Roller Shaft.
9Remove the Right Roller Gear (760400). Be sure to note that the flat part on
the gear hub faces away from the Sideplate. Remember this when reinstalling
it.
10 Stand at the front of the Chassis Assembly; remove the two Screws (130971)
that secure the Card Guide Assembly. The Card Guide Assembly does not
need to be removed; allow it to “float” so the Platen Roller can be removed
from the chassis.
11 Remove the two Drive Roller Bearings (760343) from the Platen Roller Shaft.
12 Guide the Platen Roller through the access opening in the front Sideplate and
out of the printer.

RESTRICTED USE ONLY Fargo Electronics, Inc.
Persona C10/M10 ID Card Printer Service Manual (Rev. 4.0) 136
Replacing the Card Input Roller (810262)
Refer To Drawing 830118-XX.
TTR: 15 minutes each roller.
Note: The following instructions are for the Card Input Roller near the center of the printer.
Use appropriate instructions for removing the Left Card Input Roller.
Step Procedure
1Unplug the power cord from the printer.
2Take off the Rear Pivot Cover.
3Detach the Print Circuit Board from the chassis. Do not remove any wire connectors
unless indicated.
4Stand at the front of the Chassis Assembly; remove the item; remove the Retaining
Ring (140048) from the Card Input Roller Shaft.
5Take the Transport Roller Gear (810266) out of the printer. Be sure to note that the
wide part of the gear hub faces the Sideplate. Remember this when reinstalling it.
6Remove the Washer Spring (130951). Be sure to note that the wave of the spring
faces the Transport Roller Gear. Remember this when reinstalling it.
7Stand at the rear of the Chassis Assembly; remove the Retaining Ring (140048)
from the Platen Roller Shaft; this is necessary for the removal of the Idler Gear.
8Take the Right Roller Gear from the printer. Be sure to note that the flat area on the
gear hub faces away from the Sideplate. Remember this when reinstalling it.
9Remove the Retaining Ring (140063) from the Idler Pivot Post Shaft.
10 Take out the Idler Gear (760401). Be sure to note that the gear teeth of the center
hub face away from the Chassis Assembly. Remember this when reinstalling it.
11 Remove the Retaining Ring (140062) from the Card Input Roller Shaft.
12 Take the two Drive Roller Bearings (7603433) from the Card Input Roller.
13 Guide the Shaft forward and out of the rear Sideplate.
14 Angle the Card Input Roller up.
15 Slide the Shaft out of the front Sideplate.
16 Take the Card Input Roller from the printer

RESTRICTED USE ONLY Fargo Electronics, Inc.
Persona C10/M10 ID Card Printer Service Manual (Rev. 4.0) 137
Replacing the Left Card Input Roller
Step Procedure
1Unplug the power cord from the printer.
2Take off the Rear Pivot Cover.
3Detach the Print Circuit Board from the chassis. Do not remove any wire
connectors unless indicated.
4Stand at the front of the Chassis Assembly; remove the Retaining Ring
(140048) from the Card Input Roller Shaft.
5Remove the Transport Roller Gear.Be sure to note that the wide part of the
gear hub faces the Sideplate. Remember this when reinstalling it.
6Remove the Washer Spring (130951). Be sure to note that the wave of the
spring faces out. Remember this when reinstalling it.
7Stand at the rear of the Chassis Assembly; remove the Ribbon Drive
Assembly.
8Remove the Retaining Ring (140062) from the Card Input Roller Shaft.
9Remove the two Drive Roller Bearings (760343) from the Card Input Roller.
10 Guide the Shaft forward and out of the rear Sideplate.
11 Angle the Card Input Roller up.
12 Slide the Shaft out of the front Sideplate.
13 Take the Card Input Roller out of the printer.

RESTRICTED USE ONLY Fargo Electronics, Inc.
Persona C10/M10 ID Card Printer Service Manual (Rev. 4.0) 138
Replacing the Card Feed Roller (810304)
Refer To Drawing 830118-XX.
TTR: 15 minutes.
Step Procedure
1Unplug the power cord from the printer.
2Take off the Rear Pivot Cover.
3Detach the Print Circuit Board from the chassis. Do not remove any wire
connectors unless indicated.
4Stand at the front of the Chassis Assembly; remove the Retaining Ring
(140062) from the Card Feed Roller Shaft.
5Remove the Drive Roller Bearing (760343) from the front Sideplate.
6Stand at the rear of the Chassis Assembly; remove the Retainer Clip (130950)
from the Card Feed Roller Shaft. Refer to Drawing 830117-XX.
7Slide the Card Feed Roller forward — away from the rear Sideplate. (Note:
The Card Feed Shaft Gear and Drive Roller Bearing are attached at the rear
Sideplate; they will be loose when the Card Feed Roller is removed. When
replacing the Card Feed Roller, hold the Card Feed Shaft Gear in place so the
notched end of the Shaft slides easily into the Card Feed Shaft Gear.)

RESTRICTED USE ONLY Fargo Electronics, Inc.
Persona C10/M10 ID Card Printer Service Manual (Rev. 4.0) 139
Replacing the Magnetic Head Assembly (High-Coercivity: 83019012
or Low Coercivity: 83019012)
Caution: This device is electrostatic sensitive. It may be damaged if exposed to
static electrical discharges. (Discharges may be generated by various means, such as
walking on a carpeted floor.) Be sure to observe all established Electro-Static Discharge
(ESD) procedures while handling cables in or near the Circuit Board and Printhead
Assemblies. Always wear an appropriate personal grounding device, such as a wrist strap
with integral resistor, connected to an ESD ground to avoid potential damage. At a minimum,
make positive contact with the bare metal chassis of the printer with the hand before
proceeding with the procedure.
Refer To Drawing SK1707.
TTR: 10 minutes
Step Procedure
1Unplug the power cord form the printer.
2Turn the printer upside down.
3Remove the two Screws attached to the Bottom Access Plate. Refer to Drawing
830171.
4Take out the two Screws that secure the Magnetic Head in place.
5Move the Magnetic Head out of position.
6Set the two Magnetic Head Spacers aside for replacement.
7Turn the printer upright.
8Take off the Rear Pivot Cover.
9Detach the Print Circuit Board fromthe baseplate. Do not remove any wire
connectors unless indicated.
10 Disconnect the cable connector from J18 on the Print Circuit Board.
11 Place the printer on the input end.
12 Work the cable connector through the opening to the Access Plate area.
14 Remove the Magnetic Head Assembly from the printer.

RESTRICTED USE ONLY Fargo Electronics, Inc.
Persona C10/M10 ID Card Printer Service Manual (Rev. 4.0) 140
Installing the New Magnetic Head Assembly
Step Procedure
1Position the new magnetic head in the Access Plate area.
2Work the cable connector through the opening to the baseplate area.
3Connect the cable connector at J18 on the Print Circuit Board.
4Attach the Print Circuit Board to the baseplate.
5Replace the Rear Pivot Cover.
6Turn the printer upside down.
7Position the two Magnetic Head Spacers if using 30 mil thick cards; they can
be removed for 10 mil thick cards.
8Remove the plastic cover from the Magnetic Head Assembly.
9Position the Magnetic Head Assembly in place.
10 Secure it with the two Screws.

RESTRICTED USE ONLY Fargo Electronics, Inc.
Persona C10/M10 ID Card Printer Service Manual (Rev. 4.0) 141
Section 7: Maintenance and Cleaning
Safety Messages (review carefully)
Symbol Critical Instructions for Safety purposes
Danger: Failure to follow these installation guidelines can result in death or
serious injury.
Information that raises potential safety issues is indicated by a warning
symbol (as shown to the below).
•To prevent personal injury,refer to the following safety messages
before performing an operation preceded by this symbol.
•To prevent personal injury,always remove the power cord prior to
performing repair Instructions, unless otherwise specified.
•To prevent personal injury,make sure only qualified personnel
perform these Instructions.
Caution: This device is electrostatically sensitive. It may be damaged if
exposed to static electricity discharges.
Information that raises potential electrostatic safety issues is indicated
by a warning symbol (as shown to the below).
•To prevent equipment or media damage,refer to the following
safety messages before performing an operation preceded by this
symbol.
•To prevent equipment or media damage,observe all established
Electrostatic Discharge (ESD) Instructions while handling cables in
or near the Circuit Board and Printhead Assemblies.
•To prevent equipment or media damage,always wear an
appropriate personal grounding device (e.g., a high quality wrist
strap grounded to avoid potential damage).
•To prevent equipment or media damage,always remove the
Ribbon and Cards from the Printer before making any repairs,
unless otherwise specified.
•To prevent equipment or media damage,take jewelry off of
fingers and hands, as well as thoroughly clean hands to remove oil
and debris before working on the Printer.

RESTRICTED USE ONLY Fargo Electronics, Inc.
Persona C10/M10 ID Card Printer Service Manual (Rev. 4.0) 142
Section 7: Maintenance and Cleaning (continued)
The Card Printer is built to require a minimum amount of maintenance. Nevertheless, there
are a few procedures you can perform on a regular basis or as needed to ensure the best
possible performance. Use the illustration below to locate the items discussed within this
section.

RESTRICTED USE ONLY Fargo Electronics, Inc.
Persona C10/M10 ID Card Printer Service Manual (Rev. 4.0) 143
Supplies Required
For the maintenance procedures outlined in this section, you will need the following items:
•Isopropyl alcohol
•Acetone
•Standard clear adhesive tape or masking tape
•Soft, lint-free cloth
Or, to make these maintenance procedures more convenient, a Printer Cleaning Kit is
available from the authorized reseller. This optional kit includes the following:
•Printhead Cleaning Pens pre-moistened with 99.99% isopropyl alcohol for cleaning the
Printer’s Printhead.
•Cleaning Cards with an adhesive backing for automatically cleaning the Printer’s gray
card Feed Rollers and cleaning Rollers.
•Cleaning Pads pre-moistened with 99.99% isopropyl alcohol for cleaning the Printer’s
drive Roller and general inside area.
Step Procedure
1Unplug the Printer’s main power cord before performing any type of maintenance
procedure unless otherwise indicated.
Also, never use a sharp tool or a metal object of any kind to clean the Printhead.
You will damage the Printhead!
2Watches, rings, bracelets and other jewelry can damage the Printhead if
accidentally bumped against it.
For best results, remove such items before touching any internal components of
Printer.
3Internal components of the Printer, such as the Printhead, may be damaged if
exposed to static electrical discharges generated by various means, such as
walking on a carpeted floor.
To avoid potential damage, always wear an appropriate personal grounding
device, such as a wrist strap (w/ integral resistor) connected to an ESD ground.
Or, at a minimum, make positive contact with the bare metal chassis of the
Printer with the hand prior to touching any internal electrical components.

RESTRICTED USE ONLY Fargo Electronics, Inc.
Persona C10/M10 ID Card Printer Service Manual (Rev. 4.0) 144
Standard Printhead Cleaning
This procedure should be performed if you notice a streak on the card where color was not
transferred. This procedure should also be performed during every Ribbon change or after
every 250 prints in order to maintain consistent print quality.
Step Procedure
1Open the Top Cover of the Printer by gently grasping the front sides of the Cover
and lifting upward. The Cover will tilt open from front-to-back.
2Open the Printhead Assembly by gently pulling up on the assembly’s Release
Tab and lifting upward.
Allow the assembly to swing completely open.
3If you observe dust and/or other particles laying on the top surface of the Ribbon,
manually roll it up into the take-up roll.
Occasionally, dust may settle on the top surface of the Ribbon and cause print
quality problems.
4Use a Printhead Cleaning Pen from the Printer Cleaning Kit or a soft, lint-free
cloth slightly moistened with isopropyl alcohol to wipe dust and other
accumulated particles off the surface of the Printhead.
If using a cloth, be extremely careful not to use too much alcohol. It must not be
allowed to drip into the Printer!
5Once the Printhead is completely dry, shut the Printhead Assembly and Top
Cover. If a streak persists, perform the steps in Section III.

RESTRICTED USE ONLY Fargo Electronics, Inc.
Persona C10/M10 ID Card Printer Service Manual (Rev. 4.0) 145
Expanded Printhead Cleaning
Perform if you have a streak on the printed output that can’t be solved by the Standard
Printhead Cleaning procedure. To maintain the Printer’s high quality of printing, this
procedure should also be performed approximately every 2,500 prints as part of the Printer’s
general maintenance program.
Step Procedure
1Open the Top Cover of the Printer by gently grasping the front sides of the
Cover and lifting upward. (Note: The Cover will tilt open from front-to-back._
2Open the Printhead Assembly by gently pulling up on the assembly’s Release
Tab and lifting upward. Allow the assembly to swing completely open.
3Use a soft, lint-free cloth slightly moistened with acetone to wipe off the surface
of the Printhead. Be extremely careful not to use too much acetone. It must not
be allowed to drip into the Printer!
Caution: Acetone is a very powerful solvent. Do not apply acetone
to any other area of the Printer, since it will destroy the finish of the paint,
rubber and plastic.
4Allow the Printhead to thoroughly dry before closing the Printhead Assembly
and Top Cover. If a streak persists, contact the authorized reseller for further
assistance.

RESTRICTED USE ONLY Fargo Electronics, Inc.
Persona C10/M10 ID Card Printer Service Manual (Rev. 4.0) 146
Cleaning the Printer Case
The Printer has a durable casing that should retain its luster and appearance for many years.
Clean it only with a soft cloth slightly moistened with water or a mild soap.
Do not use excess water or cleaning solvents of any kind. Never spray the cabinet with a
cleaner. Rather, spray the cloth first, then wipe down the Printer.
Cleaning the Inside of the Printer
Step Procedure
1As you use the Printer, dust and other foreign particles may accumulate inside
the Printer’s case. (Note: These particles are attracted to the underside of the
Ribbon by static produced during printing and can cause voids on the printed
image. Periodically, use the following procedure to remove dust and other
foreign particles:
2Open the Top Cover of the Printer by gently grasping the front sides of the Cover
and lifting upward. (Note: The Cover will tilt open from front-to-back.
3Open the Printhead Assembly by gently pulling up on the assembly’s Release
Tab and lifting upward.
Allow the assembly to swing completely open.
4Remove the Ribbon from the Printer and set it on the ends of its Ribbon cores.
5Use a Cleaning Pad from the Printer Cleaning Kit or a soft, lint-free cloth slightly
moistened with isopropyl alcohol to wipe out all visible areas inside the Printer.
Remove any debris that may be inside. Be extremely careful not to let any
alcohol drip inside the Printer’s case!
6Once the cleaned areas are completely dry and free of foreign debris, re-install
the Ribbon and close the Printhead Assembly and Top Cover.

RESTRICTED USE ONLY Fargo Electronics, Inc.
Persona C10/M10 ID Card Printer Service Manual (Rev. 4.0) 147
Cleaning the Card Feed Rollers
To assure consistent Printer operation, all of the gray card Feed Rollers within the Printer
should be cleaned during every Ribbon change (every 250 prints) or if the Rollers are
noticeably dirty.
To clean these Rollers, use the special adhesive-backed Cleaning Cards from the Printer
Cleaning Kit. Refer to the following steps to run a Cleaning Card through the Printer:
Step Procedure
1Remove the Ribbon and cards from the Printer. (Note: The Cleaning Roller
Assembly can remain within the Printer during this cleaning process.)
2With the Printer power ON, open the Top Cover, but leave the Printhead
Assembly latched shut.
3Remove the Cleaning Card’s adhesive backing paper.
4Press and hold the On/Cancel button down. You will hear the Feed Rollers
begin to turn.
5While holding down the On/Cancel button, insert the Cleaning Card into the
Card Input Hopper and manually push it into the Printer until you feel the
Printer’s middle Feed Roller grab and begin feeding the card.
When inserting the cleaning card, be sure that the shortest non-adhesive end of
the Cleaning Card enters the Printer first and that the side of the cleaning card
with the adhesive backing removed (the sticky side) is facing upward.
If the card is inserted with the sticky side facing downward, it will stick to the
Card Input Tray and will not feed.
6Keep pressing the On/Cancel button until the Cleaning Card has fed completely
through the Printer. Repeat this cleaning procedure if necessary.
After the cleaning procedure is finished, re-install Ribbon and cards and turn the
Printer power OFF and ON to reset the Printer. (Note: Once you have
completed the above cleaning procedure, you should also clean the Printer’s
Drive Roller according to the steps in the following section.)
Insert this end first

RESTRICTED USE ONLY Fargo Electronics, Inc.
Persona C10/M10 ID Card Printer Service Manual (Rev. 4.0) 148
Cleaning the Drive Roller
The Drive Roller should be cleaned during every Ribbon change or after every 250 prints.
This helps to prevent jams and maintain uninterrupted service. Also perform this procedure if
the Roller is noticeably dirty.
Use the following steps to clean the Roller:
Step Procedure
1Leave the power ON and open the Printer’s Top Cover by gently grasping the
front sides of the Cover and lifting upward. (Note: The Cover will tilt open from
front-to-back.)
2a. Open the Printhead Assembly by gently pulling up on the assembly’s
Release Tab and lifting upward.
b. Allow the assembly to swing completely open.
3Remove the Ribbon and locate the Drive Roller.
4a. Use a Cleaning Pad from the Printer Cleaning Kit or a soft, lint-free cloth
slightly moistened with isopropyl alcohol to wipe the Roller clean.
b. Press the On/Cancel and on-line buttons to move the Roller back and forth
while cleaning.
5After the Roller is clean and completely dry, re-install the Ribbon and close the
Printhead Assembly and Top Cover.

RESTRICTED USE ONLY Fargo Electronics, Inc.
Persona C10/M10 ID Card Printer Service Manual (Rev. 4.0) 149
Maintaining the Cleaning Rollers
The Cleaning Rollers remove dust particles from a blank card as it feeds into the Printer.
Cleaning these Rollers will help prevent contaminated cards from passing beneath the
Printhead, thus extending the Printhead’s life and allowing for higher quality output. The
Cleaning Rollers should be cleaned during every Ribbon change or after every 250 prints.
Use the following steps to clean the Rollers:
Step Procedure
1Open the Top Cover of the Printer by gently grasping the front sides of the Cover
and lifting upward. (Note: The Cover will tilt open from front-to-back.)
2a. Open the Printhead Assembly by gently pulling up on the assembly’s
Release Tab and lifting upward.
b. Allow the assembly to swing completely open.
3Remove the Ribbon.
4Locate the assembly labeled Cleaning Roller.
5a. Reach down and grasp the end of the Cleaning Roller Assembly which is
closest to the front of the Printer.
b. Lift this end first and gently maneuver the assembly out of the Printer.
6a. Once the Cleaning Roller Assembly is removed, clean the Rollers using one
of the adhesive-backed Cleaning Cards from the Printer Cleaning Kit.
b. With the card’s adhesive backing paper removed, slide the card between the
Rollers until all dust particles are removed.
c. If you do not have a Cleaning Card, use a piece of standard clear adhesive
tape. Use the sticky side of the tape to lift dust from the Rollers.
7Once all debris is removed from the Rollers, place the Roller assembly back into
the Printer, replace the Ribbon and close the Printer’s Printhead Assembly and
Top Cover.

RESTRICTED USE ONLY Fargo Electronics, Inc.
Persona C10/M10 ID Card Printer Service Manual (Rev. 4.0) 150
Section 8: Packing the C10/M10 Card Printer
The purpose of this section to provide the User with a specific packing procedure for the
C10/M10 Card Printer.
Follow this instruction to pack the Card Printer for transport.
Step Procedure
1Clean the inside of the Printer with deionized air. Wipe it down with a lint-free
cloth.
2Clean the Printhead with a Printhead pen.
3Pack the Printer in the original carton and packing materials.
4Be sure to enclose any necessary paperwork, test cards, etc.

RESTRICTED USE ONLY Fargo Electronics, Inc.
Persona C10/M10 ID Card Printer Service Manual (Rev. 4.0) 151
Section 9: Board Level Diagnostics
The purpose of this section to provide the User with specific Board Level Diagnostic
procedures for Board Errors and Sensor Testing for the C10/M10 Card Printer.
Sensor Testing
Step Procedure
1Check the voltage to determine if a Sensor is working.
2a. Test the voltage of each Sensor using ground (GRD = Chassis) to the
correct pin on each connector. See the Sensor Location and Voltages
table on the next page.
b. Block a Slot Sensor with a card.
c. Cover a reflective Sensor with a card.
Reviewing the Motor Voltages (when active)
Use this table as a reference tool for Board Level Diagnostics.
Motor Location Pin VDC
Print Drive Stepper J22 4 5
Print Headlift J27 1 17.0
Card Feed J28 4 20
Ribbon Drive J25 2 5

RESTRICTED USE ONLY Fargo Electronics, Inc.
Persona C10/M10 ID Card Printer Service Manual (Rev. 4.0) 152
Section 10: FARGO Technical Support
The purpose of this section to provide the User with an efficient, step-by-step procedure to
be used when contacting Fargo Technical Support as needed for the C10/M10 Card Printer.
Contacting FARGO Technical Support
Step Procedure
1Read the suggested Sections of the service manual in order to troubleshoot a
C10/M10 Card Printer. As needed, contact the Fargo Technical Support Group
by phone at (952) 941-0050 or by fax at (952) 941-1852 for additional, technical
assistance.
OR
Contact Fargo Technical Support via the Web:
http://www.fargo.com/tech_support/contact_tech_support.asp
2Position a phone near the Printer and Computer so Fargo technicians can help
to help troubleshoot the Printer(s).
3Please have a self-test and a sample card ready when calling Fargo Technical
Support.
RESTRICTED USE ONLY Fargo Electronics, Inc.
Persona C10/M10 ID Card Printer Service Manual (Rev. 4.0) 153
Section 11: Reviewing C10 and M10 Spare
Parts List
C10 and M10 ID Card Printer
Recommended Spare Parts List
Effective Date: April 2004
For current pricing see http://www.fargopartner.com/support_services/

RESTRICTED USE ONLY Fargo Electronics, Inc.
Persona C10/M10 ID Card Printer Service Manual (Rev. 4.0) 154
Glossary of Terms
Term Definition
24-bit color A color depth for an image that uses 8 bits for each color (red,
blue, green) combining the possible 256 shades to provide a color
depth of 16.7 million colors.
AC - Alternating
Current
An electrical current that reverses its direction at regular intervals
(typically 50 - 60 times a second).
Access Card The card for the SmartGuard security system. A cared with
embedded electronics that can be removed from the Printer,
locking the Printer and preventing unauthorized use.
Adhesion The firm attachment of a material to the card surface, confirmed
by using the Tape Test -pulling an applied piece of adhesive tape
(Scotch 600 or equivelent) off the card at 1 sec/in to see if any
material is pulled off by the tape.
Algebraic A type of color matching that takes the colors value of pixels and
applies them to an algebraic equation to adjust the levels of hue,
saturation and brightness.
ANSI (American
National Standards
Institute)
The United States Representative to ISO, providing
standardization for U.S. Manufactures prior, or in addition, to
acceptance by ISO.
AS400 An IBM operating system running on a main frame. DTC500
Fargo Printers are built with fonts saved in the Printer memory so
users of AS400 can write escape codes and print from the Printer.
ASCII (American
Standard Code for
Information
Interchange)
Astandard for processing information in computer processors.
An 8-bit character set of 255 decimal numbers, each assigned to
numbers, letters, punctuation and special characters.
AT Refers to an IBM standard in early computing with regard to the
chipset and function of the Parallel Port, set up in the BIOS.
B(Black) Black Dye-Sublimation panels are distinguished from the black
panel using resin by the use of B for dye-sublimation black. K
denotes resin black.
Continued on the next page

RESTRICTED USE ONLY Fargo Electronics, Inc.
Persona C10/M10 ID Card Printer Service Manual (Rev. 4.0) 155
Reviewing the Glossary of Terms (continued)
Term Definition
Barcodes A series of alternating black and white stripes, of varying widths
(each character denoted by a set number and width of black
stripes) that allows characters to be optically read by a computer.
Batch print A file sent down from the computer that contains commands to
print a number of cards, sequentially.
Battery Back-up A power supply that can keep AC electronic equipment running
for a short time when power is interrupted, allowing enough time
for the user to save data and close the machine properly.
Bi-directional A communication standard that allows two-way data transfer
between PC and Printer.
BIOS (Basic
Input/Output System)
The part of the operating system in a computer that handles
communication between the PC mainboard and its peripherals.
Typically residing in chip-based, non-volatile memory.
Bit An abbreviation for binary digital. Each bit is an element of
information that can have two states: off and on.
Bit map A graphic produced by an array of pixel elements with the color
hue, brightness and saturation information stored in bits. The
more bits, the more values and thus the greater variety. 1 bit color
is black and white, 8-bit color produces 256 shades of gray and
24-bit color can produce 16.7 million colors.
Board A term used for the circuit board, a hard Mylar plate made of
many layers, that holds the electronic circuit elements and wire
traces.
Boot-up A series of operations that the Printer runs through when power is
first applied including a series of initializing, status testing and a
diagnostics program to ensure a ready state.
Buffer A block of memory, in the Printer or PC, that holds print files until
the processor is ready to print them.
Cable A set of conductors wrapped together and often concealed within
insulation, used for signal transfer from one device to another,
with connectors on either end that allows the cable to be
removed.
Continued on the next page

RESTRICTED USE ONLY Fargo Electronics, Inc.
Persona C10/M10 ID Card Printer Service Manual (Rev. 4.0) 156
Reviewing the Glossary of Terms (continued)
Term Definition
Cache A type of memory buffer to store data temporarily, used to hold
information that is most often exchanged between contRoller and
peripheral, to expedite data transfer.
Calibrating A procedure to adjust an electro-mechanical device so that it
operates within established parameters.
Cleaning Roller High tack Rollers positioned just after the input Hopper to lift
debris off the card as it rolls over it. A clean card surface improves
print quality.
CD (Compact Disc) A 4.75-inch (12 cm) optical disk that stores data, written too and
read from using a laser.
DMA (Direct Memory
Access)
Channels designated within the Windows operating environment
that are used for dedicated high-speed communication between
the PC and the Printer port.
Centronics A parallel communications interface that has become the
standard for connections to Printers, designed by the Centronics
Corp.
Coercivity The property of a Magnetic Stripe that indicates the amount of
force needed before magnetic saturation, measured in Oersted
(Oe).
Color matching The process of adjusting color hue, saturation and brightness, to
duplicate a desired color. An algorithm within the Driver, which
adjusts the color balance and provides output with the desired
color, automates this process.
Compressed air Air stored in a tank or produced by an aerosol can, delivered by
through nozzle at a high speed. Used in the Printer to blow out
debris.
Contrast The degree of difference in luminance of two areas.
Control panel The panel on the Printer from which the user can control Printer
functions. The Printer is usually composed of the control buttons
and an LED or LCD display.
Continued on the next page

RESTRICTED USE ONLY Fargo Electronics, Inc.
Persona C10/M10 ID Card Printer Service Manual (Rev. 4.0) 157
Reviewing the Glossary of Terms (continued)
Term Definition
CR-79 A card dimension standard of 2.0625" L X 3.3125" W (+/-0.002"
W, +/-0.005" L) or 52.400 X 84.150 mm.
CR-80 A card dimension standard of 2.125" X 3.370" (+/-0.002" W, +/-
0.005" L) or 53.975 X 85.598 mm.
CR-90 A card dimension standard of 2.375" X 3.625" (+/-0.002" W, +/-
0.005" L) or 60.325 X 92.075 mm.
CR-100 A card dimension standard of 2.625" X 3.875" (+/-0.002" W, +/-
0.005" L) or 66.675 X 98.425 mm.
Cursor The marker in the LCD Display Window that indicates the active
selection.
Darkness A reference to color saturation.
DB-9 A 9 pin, D-shaped connector, typically used in serial port
interfaces.
DC Motor A Motor that works on DC with continuous motion.
DC (Direct Current) Electronic flow that is unidirectional, flowing from the positive (+)
to negative (-) of a power source.
Default A setting or parameter that comes preset from the factory in
Driver or firmware. Performance parameters may be customized
in the Driver, but can be reset to the factory values usually
through the push of the default button. The default values for the
firmware are usually denoted on a label attached to the Printer.
Defrag Abbreviation for defragmenting. The process of reformatting data
on a hard drive so that it uses space more efficiently.
DIP switches (Dual
In-line Package
Switches)
Asmall array of mechanical switches installed on the board that
can be configured to change Printer operations including
providing a variety of self-tests.
Continued on the next page

RESTRICTED USE ONLY Fargo Electronics, Inc.
Persona C10/M10 ID Card Printer Service Manual (Rev. 4.0) 158
Reviewing the Glossary of Terms (continued)
Term Definition
Direct-to-Card (DTC)
Printing
The Direct-to-Card printing process prints digital images directly
onto any plastic card with a smooth, clean, glossy PVC surface.
Dither A system of distributing dots to control the hue, brightness and/or
saturation. In monochrome printing, this controls the brightness.
In color printing, dithering can supply a larger color gamut than
non-dithering. In the Driver, dither modes can be selected to
provide better image quality depending on the type of image to be
printed.
Dongle A peripheral that attaches to a port to act as a key for an installed
application. The PC is able to run that application only when the
dongle is installed. Typically, it works as a pass-through device
and is connected in serial to the parallel cable.
Dot The smallest unit of an image that the Printer is able to produce.
The smaller the dot, see dot pitch, the sharper the image.
Dot pitch A measurement of image sharpness denoting the width of the
dots that makes up a pixel. The smaller the pitch, the sharper the
image.
Download The transfer of a data file from one device to the other over a
network or cable, typically from the Internet to a PC.
DPI (Dot Per Inch) A measurement of the Printer resolution indicating how many dots
aPrinter can produce in a linear inch.
DRAM (Dynamic
Random Access
Memory)
Amicrochip based volatile memory storage device. The Printer
uses this to buffer a print job, transferred from the PC, until the
Printer contRoller is able to process the packet.
Driver Software utility installed in Windows, that interfaces an application
to rasterize image data and include command codes so the
Printer can process the file.
Duplex Printing Printing on the front and the back of the card.
Continued on the next page

RESTRICTED USE ONLY Fargo Electronics, Inc.
Persona C10/M10 ID Card Printer Service Manual (Rev. 4.0) 159
Reviewing the Glossary of Terms (continued)
Term Definition
Dwell Time The speed at which the card moves across the lam Roller,
measured in seconds/inch (sec/in). This may be adjusted in the
Driver to ensure adhesion and card flatness.
Dye Migration The diffusion of dye out of the card surface and into another
receptive surface, such as a vinyl pouch card holder, resulting in a
faded image.
Dye-Sublimation Also called dye diffusion/thermal transfer, it is the process of
heating a dye suspended in a cellulous substrate until the dye can
flow, diffusing into the dye receptive surface of the card or InTM.
This produces the image in the surface of the card.
E-card An abbreviation for electronic card. A generic term used to
reference any card with built-in electronic devices such as smart
cards or prox cards.
E-card Docking
Station
The device in the Printer that accepts smart cards with an ISO
smart card contact station. This allows the user to write to the
smart card chip with a standard RS-232 interface in the back of
the Printer or with the optional built-in encoder.
Edge-to-Edge Refers to the maximum printable area on a card resulting in
printed cards with virtually no border.
ECP Mode
(Enhanced
Capabilities Port
Mode)
Atype of Parallel Port mode, developed by Microsoft, to increase
the port throughput and improve performance.
EE Memory An abbreviation for EEPROM.
EEPROM
(Electrically Erasable
Programmable Read
Only Memory)
Amicrochip based non-volatile memory storage device that can
be rewritten in the field. The chip can hold new values as the
Printer adapts its operational parameters.
Encoder (smart card) An electro-mechanical interface to transfer data from the PC to a
chip or Magnetic Stripe built into the card.
Continued on the next page

RESTRICTED USE ONLY Fargo Electronics, Inc.
Persona C10/M10 ID Card Printer Service Manual (Rev. 4.0) 160
Reviewing the Glossary of Terms (continued)
Term Definition
Encoder (wheel) An electromechanical device, attached to a shaft that detects the
change in rotational position, incremented to count ticks per
revolution. The Printer's encoder wheel both detects motion and
measures the amount of rotation in the movement of the ribbon.
Engine A generic term for a collection of systems and mechanisms that is
dedicated to executing a specific function. A Printer that also
laminates would have both a print engine and a engine.
EOF (End Of Form) The trailing edge of the card, detected to indicate when the Printer
should stop printing.
EPP (Enhanced
Parallel Port)
Atype of Parallel Port mode, developed by Intel, to increase the
port throughput.
EPROM
(Electronically
Programmable Read
Only Memory)
Amicrochip based non-volatile memory storage device that
cannot be rewritten in the field. Firmware for many Fargo Printers
is stored on these chips and so a change of the chip is necessary
for an upgrade.
Escape sequence A string or control character that indicates to the processor that
what follows is a command and not data.
ESD (ElectroStatic
Discharge)
The discharge of static electricity (high voltage, low current) that
can damage electronic devices.
Ethernet A system of networking a series of computers for the sharing of
data or peripherals.
Film A thin flexible transparent sheet used to carry dye-impregnated
material or resin to be transferred to the card.
Firmware The instruction set, stored in chip memory, inside the Printer that
controls functional and operational data. Some models require a
chip change for updates; some firmware can be changed by
reprogramming from the PC.
Continued on the next page

RESTRICTED USE ONLY Fargo Electronics, Inc.
Persona C10/M10 ID Card Printer Service Manual (Rev. 4.0) 161
Reviewing the Glossary of Terms (continued)
Term Definition
Flash Memory A microchip based non-volatile memory device that holds its data
when power is removed. This allows for field reprogramming of
the Printer commands, such as Printer firmware upgrades, without
the necessity of changing chips.
Font A character set similar in style and form. Fonts can be graphical
or mathematical constructs, represented by a series of dots or an
assembly of curves and lines.
FPGA (Field
Programmable Gate
Array)
Amicrochip with configurable logic circuits installed that is
programmed to act as the Printer's central processor.
Full bleed Printing that covers the entire card surface.
Gamma The degree of contrast of an image or the display of a monitor
determined by the slope of a characteristic curve relating optical
density to relative log exposure.
Glossy / Matte A smooth polished surface in comparison to a rougher matte
surface. Fargo matte cards have a surface index (Ra) of
approximately 65 micro inches while glossy have a Ra = 3.
Glossy PVC A card made of PVC with a smooth polished surface (Surface
roughness of approximately 0 - 10 micro-inches). This is required
for direct to card dye-sublimation printing.
Graphical Device
Interface (GDI)
AWindows standard for protocol between Drivers and
applications and the Windows interface. An application uses a
Driver to rasterize the data in the format necessary for the Printer
but also for the Windows interface to execute the print
commands.
Gray Scale A graduation through the various brightness levels from white to
black.
Halftoning A process in monochrome printing that simulates continuous tone
by using changes to the distribution of single dots. Increasing the
number of dots in a given area increases the darkness even
though the individual dots stay the same size.
Continued on the next page

RESTRICTED USE ONLY Fargo Electronics, Inc.
Persona C10/M10 ID Card Printer Service Manual (Rev. 4.0) 162
Reviewing the Glossary of Terms (continued)
Term Definition
Hard Drive A high capacity storage device in a PC consisting of non-
removable magnetically encodable platters.
Hardware Physical components of a system such as the Printer, the PC, the
power supply.
HDP (High Definition
Printing™)
The High-Definition Printing process prints full-color images onto
clear HDP transfer film (InTM). The HDP film is then fused to the
card through heat and pressure via a heated Roller. The
printhead is capable of 256 shades with a sharper print and better
color match.
Head Abbreviation for printhead.
Heat sink A device used to dissipate heat into the ambient.
Heat Seal A resinous film transferred by the printhead onto the back of an
HDP intermediate transfer film to facilitate adhesion.
HiCo (High
Coercivity)
The coercivity value of magnetic media between 2500 - 4000 Oe
(ISO 7811-6). Fargo's High Coercivity encodes at 2750 Oe.
HTML (HyperText
Markup Language)
Astandard protocol used to format text files for use in a browser
or on the Internet.
HTTP (HyperText
Transfer Protocol)
Astandard protocol by which computers can transfer data,
compatible through multiple platforms.
IC (Integrated Circuit) An electronic device that contains many individual circuits
interconnected and placed within a discrete package.
ID (Identification) An abbreviation for identification.
Continued on the next page

RESTRICTED USE ONLY Fargo Electronics, Inc.
Persona C10/M10 ID Card Printer Service Manual (Rev. 4.0) 163
Reviewing the Glossary of Terms (continued)
Term Definition
IEEE 1284 (Institute
of Electrical and
Electronics
Engineers 1284)
Astandard method of signaling for a bi-directional parallel
interface on personal computers. To ensure proper Printer
communications and image output, Fargo recommends a parallel
interface cable that complies with this specification.
Image A collection of pictures or graphical elements that compose the
visual features on a card. Also refers to the digital representation.
Input Any data or material being transferred to the Printer.
Input Hopper The area of the Printer that stores the blank cards, ready to print.
Intermediate Transfer
Media (InTM)
Athin flexible material coated with a resin material into which the
dye is transferred from the ribbon by the printhead. The film is
then transferred to the card surface by the hot Roller.
ISO For the Greek, "iso", meaning same. Used to represent data from
the International Organization for Standardization.
JIS II (Japanese
Industrial Standard)
The standard for encoding to a Magnetic Stripe provided by the
Japan Standards Association. The single Track is as wide as ISO
Tracks 1 and 2 combined and in the same approximate location
as those Tracks but on the front of the card. The coercivity level is
600 Oe.
KPanel An area of a multicolored ribbon (e.g., YMCK) that contains black
resin for transfer to the card surface. Also used in reference to the
application of preference to items printed on the card - those
using the black panel in lieu of a process (YMC) black.
Lamination The application of a film or resinous substance, fused by heat and
pressure, to the surface of a card.
LAN (Local Area
Network)
An array of several computers connected through a series of data
transfer cables for the sharing of data and peripherals.
Continued on the next page

RESTRICTED USE ONLY Fargo Electronics, Inc.
Persona C10/M10 ID Card Printer Service Manual (Rev. 4.0) 164
Reviewing the Glossary of Terms (continued)
Term Definition
Landscape A document layout that is viewed with the document's long axis in
ahorizontal orientation.
LCD (Liquid Crystal
Display)
Adevice that contains a liquid crystal between two pieces of
polarized film through which reflected or ambient light can pass.
When a current is applied, the liquid's polarity changes and blocks
the passage of the light resulting in an opaque area of the display.
The areas are arrayed to form characters.
LED (Light Emitting
Diode)
Asemiconductor that emits light when a current is applied.
Media A generic reference to anything onto which the Printer can
transfer an image including cards, ribbon and film.
LoCo (Low
Coercivity)
The coercivity value of magnetic media between 250 - 600 Oe
(ISO 7811-2). Fargo's Low Coercivity encodes at 300 Oe.
LPT Port (Line
Printer Port)
The system abbreviation for a PC's parallel Printer port.
Mag encoding The process of orienting successive magnetic bits to produce a
serial data string.
Magnetic Stripe An area of the card with an applied or impregnated ferrous
material that may hold encoded data through a series of
prescribed polarity changes.
Mag Track An area of a magnetic strip running the length of the card, with a
given width and position, constitutes a Track. This is the area
dedicated to one data string, restricted to specific rules of format.
ISO Standards specify three magnetic Tracks on the back of a
card. The JIS standard specifies one Track on the front.
Mag Verify A process to confirm proper Magnetic Encoding. After encoding,
the information is read off back and compared to the intended
string.
Continued on the next page

RESTRICTED USE ONLY Fargo Electronics, Inc.
Persona C10/M10 ID Card Printer Service Manual (Rev. 4.0) 165
Reviewing the Glossary of Terms (continued)
Term Definition
MB (Megabyte) A unit of storage that equals 1,048,576 bytes.
Memory A generic term for any device that stores digital information using
magnetic media or digital chip storage device.
Menu A descriptive list of headings above nested functions that aid
navigation to a specific operation. These are found in computer
applications, with the heading at the top of a subset of like
functions. They are also on the Printer LCD control panel.
Monochrome An image composed of a single color.
Network A series of computers connected by data transfer cable for
communication and sharing of functions and peripherals.
Oersted (Oe) The unit of magnetic field strength named after Dutch scientist
Hans Christian Oersted who found the science of
electromagnetism.
Offset The prescribed distance between a reference point and the target
point. The offset in card printing may refer to the position of the
image relative to the leading edge or the distance of the start of
Magnetic Encoding from the leading edge of the card.
O-Ring A rubber ring used as a belt in several media driving applications.
OS (Operating
System)
The instructions installed on the computer hard drive that run the
computer's operations and applications. The Driver used for any
given OS will differ from other platforms. The correct version
Driver must be loaded for the Printer to interface with the OS and
the application to print.
Output Any product of the Printer including card image, encoded data
and lamination.
Output Hopper The portion of the Printer that accepts the completed cards.
Overlay A resin-like substance that is transferred by the printhead to the
card surface over a printed dye image to prevent image fading,
increase abrasion durability and prevent dye migration.
Continued on the next page

RESTRICTED USE ONLY Fargo Electronics, Inc.
Persona C10/M10 ID Card Printer Service Manual (Rev. 4.0) 166
Reviewing the Glossary of Terms (continued)
Term Definition
Oversized Cards Oversized cards are used for more efficient visual identification
and are available in many non-standard sizes. The most popular
sizes are CR-90 (3.63" x 2.37"/92mm x 60mm) and CR-100 (3.88"
x2.63"/98.5mm x 67mm).
Overlaminate Protective clear or holographic material to increase security and
durability applied over the printed surface with a hot Roller.
Parallel A method of data transfer in which serial data is divided into
sections and sent simultaneously down parallel wires to speed
transfer rate.
Parallel Port A communication socket on a device that allows for parallel data
transfer.
PC (Personal
Computer)
Astand-alone, programmable, electronic device that can store,
retrieve and process data consisting of a CPU, mouse, keyboard
and monitor.
PCB (Printed Circuit
Board)
Asolid, multi-layered plate on which electronic elements are
attached, either through the board or on the surface.
Peel The removal of a film or ribbon from a card surface (at a
perpendicular angle) to ensure proper transfer, then separation,
from the card surface.
Peel-Off A bar on the section that holds the film at the correct position and
provides proper peel angle.
Peripheral Any device that is attached externally to a PC. These often share
the same data cable or port as a Printer and may be the source of
communication problem.
Continued on the next page

RESTRICTED USE ONLY Fargo Electronics, Inc.
Persona C10/M10 ID Card Printer Service Manual (Rev. 4.0) 167
Reviewing the Glossary of Terms (continued)
Term Definition
Pinch Roller A free spinning (non-driven) Roller that presses the card against
the drive Roller, on the opposite side, to ensure an adequate
normal force for proper traction.
Pixel Short for picture element. The smallest element of a graphic.
Platen The hard rubber Roller that drives the media through the Printer,
providing support to the backside of the media during printing or
laminating.
PET Abbreviation for polyester terephthalate, often called polyester.
Sheets of PET are laminated with sheets of PVC to produce
thermal acceptance composite cards.
Port A communication interface, serial or parallel, used for the
transference of data.
PolyGuard
Overlaminate
A1-mil or .6-mil thick polyester material that enhances card
security and durability applied over the printed surface with a hot
Roller. Available as clear or with embedded holographic-type
security images.
Portrait A document layout that is viewed with the document's long axis in
avertical orientation.
Potentiometer An electronic resistor with a variable resistance value that can be
mechanically set.
Print Driver A software utility that serves as an interface between the Printer
and the Windows GDI (Graphical Device Interface), making the
Printer's functions available through the software application. It
also provides the format information for the rasterizing of the print
file including any necessary escape or function commands.
Print Job A file of one or more cards for the Printer to print, including image
data and Printer functions, transmitted through the parallel
interface and at times stored temporarily in the print buffer and
spooler.
Print Server A device used to connect and control a Printer on a network.
Continued on the next page

RESTRICTED USE ONLY Fargo Electronics, Inc.
Persona C10/M10 ID Card Printer Service Manual (Rev. 4.0) 168
Reviewing the Glossary of Terms (continued)
Term Definition
Printhead The device on a Printer that produces the image on the media.
PVC Abbreviation for polyvinyl chloride, often called vinyl. PVC is the
component of the 0.002" thick clear, dye receptive film on the
surface of the identification card and is the primary component of
the identification card cores.
Queue A sequence of files or sets of data, awaiting transmission or
processing.
Proximity (“Prox”)
Card
Proximity cards allow access and Tracking utilizing contactless
technology, usually by communicating through a built-in antenna.
Prox Card Encoder The Fargo prox card encoder uses an HID ProxPoint® Plus
reader mounted on the e-card docking station inside the
Printer/encoder. The ProxPoint is a "read only" device producing
aWiegand signal that is converted to RS-232 using a Cypress
Computer Systems CVT-2232. Application programs can read
information from HID prox cards via a RS-232 signal through a
dedicated DB-9 port on the outside of the Printer labeled "Prox."
RAM (Random
Access Memory)
Astorage device for digital information to be held temporarily, to
facilitate processing.
Rasterize The process of converting the elements of a graphic into a bitmap
to be printed.
Reboot Cycling the power to the Printer so that it resets and reinitializes.
Registration The quality of the alignment of the separate primary-color images:
YMCK.
Resident Font A set of characters loaded into the Printer memory that can be
programmed to print those characters on the card without
rasterizing the image.
Resin A semi-solid material.
Continued on the next page

RESTRICTED USE ONLY Fargo Electronics, Inc.
Persona C10/M10 ID Card Printer Service Manual (Rev. 4.0) 169
Reviewing the Glossary of Terms (continued)
Term Definition
Resolution The number of individual pixels in a graphic, taken over a given
length, used to indicate the sharpness of the picture and the level
of detail. The number of elements in the printhead determines
Fargo Printer resolution.
RFI (Radio
Frequency
Interference)
Electromagnetic waves radiated by poorly shielded cables or
electronic devices that interferes with the operation or data
transfer of another device.
RFID (Radio
Frequency
Identification)
Indicates a way of transmitting information via radio frequency.
Data is sent from an RFID transceiver to an RFID tag that is
embedded in a Resin Ribbon.
RGB
(Red/Green/Blue)
The three primary colors of the luminance, or additive, model.
Combinations of these three colors can produce practically all the
colors of the spectrum that humans can detect. Computer
monitors operate on an RGB model.
Ribbon The dye impregnated film that is used for color printing.
Ribbon cable Parallel wires held flat in a row by plastic insulation.
RibbonTraq A Fargo Electronics method of placing bar code-like marks on the
transition area between color panels. These marks are arranged
for detection by a reflective Sensor array for the identification of
ribbon type and the ribbon position.
RMA number (Return
Merchandise
Authorization
number)
Anumber, acquired from Fargo Support, which authorizes the
return of merchandise for repair or credit.
Roller Elements of the Printer used for the transport of media consisting
of a rotating steel shaft (for ribbon) or a rotating steel shaft with a
rubber cylinder installed at the shaft midpoint (for moving cards).
Continued on the next page

RESTRICTED USE ONLY Fargo Electronics, Inc.
Persona C10/M10 ID Card Printer Service Manual (Rev. 4.0) 170
Reviewing the Glossary of Terms (continued)
Term Definition
RS-232 An interface standard, established in 1969 by the Electronic
Industries Association, regarding the connecting of computer
peripherals.
Saturation A measure of the degree of color, from gray, with the same
brightness.
Self-test A pre-determined print file used to confirm Printer operation
typically sent from the Driver or stored in the Printer's memory.
Sensor An electro-mechanical/electro-optical device used to indicate a
change in state in the Printer such as when a card reaches a
certain location.
Serial
communications
The transfer of data, one bit at a time and in sequential order,
using a single wire.
Serial interface A sub D 9 pin input/output port on the Printer, used for serial
communication with the PC for AS400 operating systems or for e
card encoding.
SIMM (Single In-Line
Memory Module)
An array of memory chips, attached to a printed circuit board that
installs in a slot on the main board.
Simplex Single-sided printing.
SmartGuard An application from Fargo Electronics that allows users to prevent
access to the Printer through the use of a personally encoded
smart card.
SmartGuard™ SmartGuard is a Printer security option that uses a custom access
card and a built-in reader to restrict Printer access. Only a valid
access card can enable the Printer to print cards.
SmartShield™ This option allows the Printer to print custom, security images on
the card that reflect under a black or UV light source.
Smart Card Smart cards have an embedded computer circuit that contains
either a memory chip or a microprocessor chip. There are several
types of smart cards: Memory, Contact, Contactless, Hybrid
(Twin), Combi (Dual Interface), Proximity and Vicinity.
Continued on the next page

RESTRICTED USE ONLY Fargo Electronics, Inc.
Persona C10/M10 ID Card Printer Service Manual (Rev. 4.0) 171
Reviewing the Glossary of Terms (continued)
Term Definition
Software Instructions saved in computer memory that directs the computer
to perform certain tasks and functions.
Spooler A computer application that allows the spooling of print jobs.
Spooling Rather than moving a print job directly to the Printer, the job is
written to the disk so that the user can access the application
faster while Windows takes care of printing in the background.
SS (Start Sentinel) The character denoting the end of a magnetic data string.
Stacker The device that moves the finished cards onto the output column,
ordering them First In, First Out.
Stepper Motor A Motor whose shaft turns in discrete steps, rather than
continuously.
String A sequence of characters that form a line of data.
Surface mount A method of mounting circuit elements onto the surface of a
circuit board, attached at solder pads, rather than through holes in
the board.
Surge Protector An electronic device, placed in serial to the Printer's power
supply, that prevents damage to the Printer from electronic surges
and electrical current that is outside of the normal parameters.
Switch box An electromechanical device to which a user may connect several
peripheral devices to the Parallel Port simultaneously, yet using
the selector switch to designate the active port.
TAC Thermal Acceptance Composite cards. Card stock produced by
laminating sheets of PVC with sheets of PET for better thermal
distortion resistance. Ultra III cards.
Temp file A temporary file, generated automatically by Windows, to store
the information for an active document. Windows should delete
these files when the application is closed.
Continued on the next page

RESTRICTED USE ONLY Fargo Electronics, Inc.
Persona C10/M10 ID Card Printer Service Manual (Rev. 4.0) 172
Reviewing the Glossary of Terms (continued)
Term Definition
Test-print A file stored in or generated through windows that is sent to the
Printer to test basic functionality.
Thermistor An electronic resistor on the printhead with a resistance value that
varies in proportion to the heat to which it is exposed.
Thermocouple A device for measuring temperature using a junction of two wires
of dissimilar metals that produce a voltage when heated that
varies proportionally with the temperature.
Thin Film
Overlaminate
A0.25-mil thick resin material that enhances card security and
durability applied over the printed surface with a hot Roller.
Available as clear or with embedded holographic-type security
images.
Through-hole A method of mounting circuit elements with the leads passing
through holes in the circuit board and soldered on the opposite
side.
Timeout An interruption of a print job that occurs when a function is not
completed in the time allotted by the operating system.
TOF (Top of Form) The leading edge of the card, as it travels through the Printer.
Track The area on a mag stripe designated to contain the magnetic data
string.
Troubleshooting The process of investigating and determining the cause of a
problem.
TrueType (TT) A font format that produces each character using a mathematical
equation, rather than a graphical representation, resulting in a
much sharper, cleaner image.
UltraCard The Fargo brand of card stock recommended for use in Fargo
Printers, with the necessary glossy surface and composed of
PVC.
UltraCard III The Fargo brand of card stock, recommended for use in Fargo
Printers that laminate, with the necessary glossy surface and
composed of PVC and PET to prevent heat distortion.
Continued on the next page

RESTRICTED USE ONLY Fargo Electronics, Inc.
Persona C10/M10 ID Card Printer Service Manual (Rev. 4.0) 173
Reviewing the Glossary of Terms (continued)
Term Definition
Update The process of installing a new revision of software or firmware to
implement new changes to the Printer's command codes and
procedures.
UPS (Un-interruptible
Power Supply)
An AC power supply, typically powered by batteries, which
provides temporary power to the PC or Printer during an
interruption of the supply voltage.
USB (Universal
Serial Bus)
A1.5M/sec (12Mbit/sec) serial communication interface that can
support 127 separate devices consisting of 4 wires: power,
ground, data in and data out.
Virtual Memory A technique used by Windows when chip memory is exhausted,
in which data is written to the hard to hold data temporarily and
support Window's operations.
Wrinkle The appearance in the card image of wavy or arched lines, either
colored or clear, caused by improper film or ribbon tension.
Write Direct to Port UI function for specific, older operating systems where it is
necessary to bypass the layers of the operating system in order to
connect directly to the Printer port. Do not use this option for
newer operating systems because it will disable the Printer
Management function.
YMC The designation of colored ribbon by the panels of color in the
order in which they are printed: Yellow (Y), Magenta (M) and
Cyan (C).
YMCK The designation of colored ribbon by the panels of color in the
order in which they are printed: Yellow (Y), Magenta (M), Cyan
(C) and Black (K).
YMCKH The designation of colored ribbon by the panels of color in the
order in which they are printed: Yellow (Y), Magenta (M), Cyan
(C), Black (K) and Heat Seal (H).
Continued on the next page

RESTRICTED USE ONLY Fargo Electronics, Inc.
Persona C10/M10 ID Card Printer Service Manual (Rev. 4.0) 174
Reviewing the Glossary of Terms (continued)
Term Definition
YMCKK The designation of colored ribbon by the panels of color in the
order in which they are printed: Yellow (Y), Magenta (M), Cyan
(C), Black (K), Black (K) (the second K is for backside, black only
printing).
YMCKO The designation of colored ribbon by the panels of color in the
order in which they are printed: Yellow (Y), Magenta (M), Cyan
(C), Black (K) and Overlay (O).
YMCKOK The designation of colored ribbon by the panels of color in the
order in which they are printed: Yellow (Y), Magenta (M), Cyan
(C), Black (K), Overlay (O) and Black (K) (used for backside,
black only printing).
RESTRICTED USE ONLY Fargo Electronics, Inc.
Persona C10/M10 ID Card Printer Service Manual (Rev. 4.0) 175
Index
A
AC - Alternating Current, 154
Access Card, 154
Adhesion, 154
Algebraic, 154
ANSI (American National Standards Institute),
154
AS400, 154
ASCII (American Standard Code for
Information Interchange), 154
ASCII Code, 82
ASCII Offset, 77
AT, 154
B
B (Black), 154
Barcodes, 155
Batch print, 155
Battery Back-up, 155
Bi-directional, 155
BIOS (Basic Input/Output System), 155
Bit, 155
Bit Density, 73
Bit map, 155
Board, 155
Boot-up, 155
Buffer, 155
C
C10/M10 Card Printer, 150
Cable, 155
Cache, 156
Calibrate tab, 86
Calibrating, 156
CD (Compact Disc), 156
Centronics, 156
Character, 82
Character ASCII Offset, 77
Character Parity, 76
Character Size option, 75
Cleaning Roller, 156
Coercivity, 156
Color matching, 156
Color Matching, 55
Color Matching options, 58
Color Matching software, 58
Compressed air, 156
Contrast, 156
Contrast / Gamma, printed image, 60
Control panel, 156
CR-100, 157
CR-79, 157
CR-80, 157
CR-90, 157
Cursor, 157
customized ID software applications, 81
D
Darkness, 157
DB-9, 157
DC (Direct Current), 157
DC Motor, 157
Default, 157
default ISO Standard selections, 73, 76
Defrag, 157
Device options tab, 55
DIP switches (Dual In-line Package Switches),
157
Direct-to-Card (DTC) Printing, 158
Disable Printing option, 85
Dither, 158
DMA (Direct Memory Access), 156
Dongle, 158
Dot, 158
Dot pitch, 158
Download, 158
DPI (Dot Per Inch), 158
DRAM (Dynamic Random Access Memory),
158
Drive, 151
Drive Stepper, 151
Driver, 158
Duplex Printing, 158
Dwell Time, 159
Dye Migration, 159
Dye-Sublimation, 159
E
E-card, 159
E-card Docking Station, 159
RESTRICTED USE ONLY Fargo Electronics, Inc.
Persona C10/M10 ID Card Printer Service Manual (Rev. 4.0) 176
ECP Mode (Enhanced Capabilities Port
Mode), 159
Edge-to-Edge, 66, 159
EE Memory, 159
EEPROM (Electrically Erasable
Programmable Read Only Memory), 159
Encoder (smart card), 159
Encoder (wheel), 160
Encoding Mode option, 71
End Sentinel (ES)., 81
Engine, 160
EOF (End Of Form), 160
EPP (Enhanced Parallel Port), 160
EPROM (Electronically Programmable Read
Only Memory), 160
Escape sequence, 160
ESD, 8, 49
ESD, 9, 16, 91, 112, 141
ESD (ElectroStatic Discharge), 160
Ethernet, 160
F
Fargo Technical Support, 152
Fargo Technical Support via the Web, 152
Field Separator (FS), 81
Film, 160
Firmware, 160
Flash Memory, 161
Font, 161
FPGA (Field Programmable Gate Array), 161
Full bleed, 161
full-color ID format, 68
full-color print ribbon installed, 89
G
Gamma, 161
Glossy / Matte, 161
Glossy PVC, 161
Graphical Device Interface (GDI), 161
Gray Scale, 161
H
Halftoning, 161
Hard Drive, 162
Hardware, 162
HDP (High Definition Printing™), 162
Head, 162
Heat Seal, 162
Heat sink, 162
HiCo (High Coercivity), 162
high-coercivity, 72
Horizontal adjustment, 88
HTML (HyperText Markup Language), 162
HTTP (HyperText Transfer Protocol), 162
I
IC (Integrated Circuit), 162
icon for printed card, 53
ID (Identification), 162
IEEE 1284 (Institute of Electrical and
Electronics Engineers 1284), 163
Image, 163
Image Position controls, 87
Input, 163
Input Hopper, 163
Intermediate Transfer Media (InTM), 163
internal Printer settings, 86
ISO, 163
ISO 7811-2 Magnetic Stripe, 80
ISO encoded data format, 72
ISO option, 71
ISO Standard selections, 76
ISO Standards, 72
ISO Track Locations, 80
J
JIS II (Japanese Industrial Standard), 163
JIS II option, 71
K
KPanel, 163
KPanel Graphics Mode, 64
L
LAN (Local Area Network), 163
Landscape, 164
Landscape orientation, 87
LCD (Liquid Crystal Display), 164
LED (Light Emitting Diode), 164
LoCo (Low Coercivity), 164
Low Coercivity Module, 72
LPT Port (Line Printer Port), 164
LRC Generation, 74
LRC Generation Mode, 74
M
Mag encoding, 164
Mag Track, 164
RESTRICTED USE ONLY Fargo Electronics, Inc.
Persona C10/M10 ID Card Printer Service Manual (Rev. 4.0) 177
Mag Verify, 164
Magnetic Encoding options, 72
Magnetic Stripe, 164
Magnetic Stripes interchangeable, 72
MB (Megabyte), 165
Media, 164
Memory, 165
Menu, 165
Monochrome, 165
monochrome text or bar codes, 68
Motor Voltages (when active), 151
Multiple Page Document, 68
N
Network, 165
None, 58
number of Copies, 53
O
Oersted (Oe), 165
Offset, 165
option to disable, 85
optional Magnetic Stripe Encoding Module, 70
O-Ring, 165
OS (Operating System), 165
Output, 165
Output Hopper, 165
Overlaminate, 166
Overlay, 165
Overlay option, 68
Oversized Cards, 166
P
Parallel, 166
Parallel Port, 166
PC (Personal Computer), 166
PCB (Printed Circuit Board), 166
Peel, 166
Peel-Off, 166
Peripheral, 166
PET, 167
Picture Controls tab, 61, 62
Pinch Roller, 167
Pixel, 167
Platen, 167
PolyGuard Overlaminate, 167
Port, 167
Portrait, 167
Portrait,Landscape,or Rotate 180 Degrees,
87
Potentiometer, 167
Print Drive Stepper, 151
Print Driver, 167
Print Edge-to-Edge, 66
Print Job, 167
Print Server, 167
printed image diagram, 88
Printer's memory, 86
Printhead, 168
PRO-LX Ribbon / Cards, 8
Prox Card Encoder, 168
PVC, 168
Q
Queue, 168
R
RAM (Random Access Memory), 168
Rasterize, 168
Reboot, 168
reflective Sensor, 151
Registration, 168
Resident Font, 168
Resin, 168
Resolution, 169
RFI (Radio Frequency Interference), 169
RFID (Radio Frequency Identification), 169
RGB (Red/Green/Blue), 169
Ribbon, 169
Ribbon, 9, 16, 91, 112, 141
Ribbon / Cards, 49
Ribbon cable, 169
Ribbon type, 55
RibbonTraq, 169
RMA number, 169
Roller, 169
Roller Lift, 151
Rotate Image 180 Degrees option, 67
RS-232, 170
S
safety, 9, 16, 91, 112, 141
safety issues, 8, 49
Saturation, 170
saturation, resin text / bar codes, 62
Self-test, 170
Sending data to Track 1, 82
RESTRICTED USE ONLY Fargo Electronics, Inc.
Persona C10/M10 ID Card Printer Service Manual (Rev. 4.0) 178
Sensor, 170
Sensor Location and Voltages table, 151
Sensor Testing, 151
Serial interface, 170
Shift Data Left checkbox, 78
Shift Data Left option, 78
SIMM, 170
Simplex, 170
Slot Sensor, 151
Smart Card, 170
SmartGuard, 170
SmartGuard™, 170
Software, 171
special, 9, 16, 91, 112, 141
special precautions, 8, 49
Spooler, 171
Spooling, 171
SS (Start Sentinel), 171
Stacker, 171
Start Sentinel (SS), 81
Stepper Motor, 171
String, 171
Surface mount, 171
Switch box, 171
T
TAC, 171
Temp file, 171
Test Print button, 89
Test-print, 172
Thermistor, 172
Thermocouple, 172
Through-hole, 172
Timeout, 172
TOF (Top of Form), 172
Track, 172
Track Data Note, 82
Track number (1, 2, or 3), 81
Tracks 1, 2 and 3, 72, 82
troubleshoot the Printer, 152
Troubleshooting, 172
TrueType (TT), 172
U
UltraCard, 172
UltraCard III, 172
Update, 173
UPS (Un-interruptible Power Supply), 173
USB (Universal Serial Bus), 173
V
Verification option, 79
Vertical / Horizontal adjustment arrows, 87
Vertical adjustment, 88
Virtual Memory, 173
W
Wrinkle, 173
Y
Yellow,Magenta and Cyan, 60
YMC, 173
YMCK, 173
YMCKH, 56, 173
YMCKK, 56, 174
YMCKO, 174
YMCKOK, 174