User Manual

ACIL H2
Wireless In-Ear Headphone
Owner’s Guide
4

• Do NOT use the headphones at a high volume for any
extended period.
–To avoid hearing damage, use your headphones at a
comfortable, moderate volume level.
–Turn the volume down on your device before placing the
headphones in/on your ears, then turn the volume up
gradually until you reach a comfortable listening level.
•Use caution and follow applicable laws regarding mobile
phone and headphone use if using the headphones for
phone calls while driving. Some jurisdictions impose
specific limitations, such as single earpiece configuration,
on the use of such products while driving. DON’T use the
headphones for any other purpose while driving.
•Focus on your safety and that of others if you use the
headphones while engaging in any activity requiring your
attention, e.g., while riding a bicycle or walking in or near
traffic, a construction site or railroad, etc. Remove the
headphones or adjust your volume to ensure you can
hear surrounding sounds, including alarms and warning
signals.
•Do NOT use the headphones if they emit any loud
unusual noise. If this happens, turn the headphones off
and contact ACIL customer service.
WARNINGS/CAUTIONS
Please read and keep all safety and
use instructions.
Languages
English
........................................................................1
German.......................................................................16
5
•Do NOT submerge or expose the headphones for
extended period to water, or wear while participating in
water sports, e.g., swimming, waterskiing, surfing, etc.
•Remove headphones immediately if you experience a
warming sensation or loss of audio.
•Do NOT use mobile phone adapters to connect
headphones to airplane seat jacks, as this could result
in injury or property damage due to overheating.
Contains small parts which may be a choking hazard.
Not suitable for children under age 3. This product
contains magnetic material.
Consult your physician on whether this might affect
your implantable medical device.
•Do NOT make unauthorized alterations to this product.
•Use this product only with an agency approved power
supply which meets local regulatory requirements (e.g.,
UL, CSA, VDE, CCC).
•Do not expose products containing batteries to
excessive heat (e.g. from storage in direct sunlight, fire
or the like).
2

Getting Started
Unpacking ......................................................................... 4
Headphone components ................................................... 6
Powering on/off ................................................................. 6
Charging the Battery
Connecting the USB cable ............................................... 7
Checking the battery ........................................................ 8
Importance of Proper Fit
Choosing the correct ear tips ............................................ 9
Fitting the earbuds to your ear .......................................... 9
Changing the ear tips ........................................................ 9
Bluetooth
About Bluetooth wireless technology ................................. 10
Pairing your Bluetooth device ............................................ 10
Disconnecting a Bluetooth device ...................................... 10
Headphone Controls
Media playback and volume functions ............................... 11
Call functions ...................................................................... 11
Care and Maintenance
Storing.................................................................................. 12
Cleaning............................................................................... 12
Customer service................................................................. 12
Limited Warranty.................................................................. 12
Technical information........................................................... 12
Troubleshooting
........................................................... 13
Specifications
................................................................ 15
3

1 pair of ACIL H2 wireless headphone
Carefully unpack the carton and confirm that the
following parts are included:
Unpacking
Getting Started
4
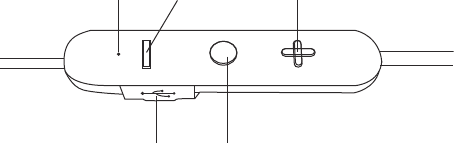
Ear Tips
Volume Up
Volume Down
MFB Button
LED Indicator
USB Connector

3 pairs of flexible liquid silicone ear tips of different size
1 USB cable
If any part of the product is damaged, do not use it.
Please contact customer service via email:
support@acilaudio.com
5

Headphone Components
Powering on/off
To power on:
Press and hold MFB button for 2 seconds until it blinks
blue and you hear the power-on tones.
To power off:
Press and hold MFB button for 4 seconds until it blinks
red and you hear the power-off tones.
Volume DownLED Indicator
MFB ButtonUSB Connector
Volume Up
6

Charging the Battery
Connecting the USB cable
1. Open the hinged door of the USB connector.
2. Plug the small end of the USB cable into the USB
connector.
3. Plug the other end into a USB wall charger or
computer that is powered on.
• While charging, the LED Indicator glows blue.
• When the battery is fully charged, the blue light
disappears.
• Allow up to two hours to fully charge the battery. A full
charge powers the headphones for up to 11 hours.
• The headphones will not play while charging.
• Use this product only with an agency approved power
supply which meets local regulatory requirements (e.g.,
UL, CSA, VDE, CCC).
• Before charging, be sure the headphones are at room
temperature, between 0°C and 45°C.
7

Charging the Battery
Checking the battery
• Each time you power on the headphones, the voice
prompt announces the Headphone battery charge
level.
•While the headphones are in use, the voice prompt
announces “ battery low” when the battery needs
charging.
•If you are connected to an Apple device, the device
displays the headphone battery
charge level near the upper right corner of the screen.
8

Importance of Proper Fit
Choosing the correct ear tips
Select the size that gives you the best comfort and fit in
each ear. To determine the best fit, you may need to try
all sizes. You may need a different size for each ear.
Note: To test the fit, try speaking aloud. Your voice
should sound muffled in both ears; if not, select another
tip size.
Fitting the earbuds to your ear
The ear tip allows the earbud to rest comfortably and
securely in your ear.
The tip wing fits just under your ear ridge.
1. Insert the earbud so the ear tip gently rests in the
opening of the ear canal.
2. Adjust the position of the earbud until it is secure.
Changing the ear tips
1. Holding the earbud by the stem, gently grasp the
attached ear tip and peel it away from the earbud.
2. Align the opening of the new ear tip with the earbud
nozzle and rotate the tip onto the nozzle. Press the base
of the tip until it clicks securely into place.
9

Bluetooth
About Bluetooth wireless technology
Bluetooth wireless technology lets you stream music from
Bluetooth smartphones,tablets, computers or other audio
devices to your headphones. Before you can stream music
from a Bluetooth device, you must pair the device with the
headphones.
You can pair your Bluetooth device with your headphones
using Bluetooth wireless Technology.
Pairing your Bluetooth device
Pairing
Press and hold MFB button for 4 seconds until it blinks
blue to enter pairing mode when power off.
Once paired, the LED Indicator blinks blue and you will
hear“Bluetooth Connected”.
Multipoint Pairing
1.Turns off the earphone after connected the first mobile
phone
2.Repeat above pairing process to connect the secondary
mobile phone
3.Select "ACIL H1" in the source device list of the first
mobile phone to connect the earphone
Disconnecting a Bluetooth device
Turn off the Bluetooth feature on your device.
Once turned off, the LED Indicator blinks blue and you will
hear “Bluetooth Disconnected”.
10

Headphone Controls
Media playback and volume functions
The headphone controls are located on the inline remote
below the right earbud.
Function What to do
Play/Pause Press MFB Button
Volume Up Press +
Volume Down Press -
Previous Track Press and hold + for 2 seconds
Next Track Press and hold - for 2 seconds
Function What to do
Answer a call Press MFB Button
End a call Press MFB Button
Redial Press MFB Button twice
Reject a call Press and hold MFB Button
for 2 seconds
11

Care and Maintenance
Storing
• Turn off the headphones when not in use.
• Before storing the headphones for more than a few
months, fully charge the battery.
• Place the headphones in a carry case for storage.
Cleaning
Your headphones may require periodic cleaning.
Ear tips: Remove the tips from the earbuds and wash
them with a mild detergent and water. Make sure you
thoroughly rinse and dry the tips before attaching them
to the earbuds.
Headphone nozzles: Clean only with a dry, soft cotton
swab or equivalent. Never insert any cleaning tool into
the nozzle.
Customer service
If there are any question, please contact us via email:
support@acilaudio.com
Limited warranty
We offer a free replacement policy without any costs
from your side and 1-year warranty!
Technical information
Input Rating: 5V /500mA
12

Troubleshooting
No sound
What to doProblem
• Power on the headphones .
• Charge the battery.
Headphones
don’t turn on
• On your Bluetooth device:
–– Turn the Bluetooth feature on and then off.
–– Delete your ACIL H2 headphones from the
Bluetooth list on your device. Pair again.
• Move your Bluetooth device closer to the
headphones and away from
any interference or obstructions.
• Pair a different Bluetooth device.
• Power on the headphones and charge the
battery.
• Increase the volume on your headphones and
Bluetooth device.
• Press the Power/Bluetooth button to hear the
connected device. Make sure you are using the
correct device.
• Move your Bluetooth device closer to the
headphones and away from any interference or
obstructions.
• Use a different music source.
• Pair a different Bluetooth device.
• If two Bluetooth devices are connected, pause
the first device and play the other device.
Headphones don’t
pair with Bluetooth
device
13

Headphones don’t
charge
• Use a different music source.
• Pair a different Bluetooth device.
• Disconnect the second device.
• Move the Bluetooth device closer to the
headphones, and away from any interference
or obstructions.
• Clear any debris or wax buildup from the
earbuds and headphone nozzles.
• Open the USB connector and securely
connect the small end of the USB cable to the
USB connector.Make sure the connector on the
cable is correctly aligned with the connector on
the headphones.
• Secure both ends of the USB cable.
• If your headphones have been exposed to
high or low temperatures, let the headphones
return to room temperature and then try
charging again.
Poor sound quality
14

Specifications
Specifications
Specifications ~30 +/-2g
HFP,HSP,A2DP,AVRCP
33 feet,support multipoint
Specifications
Acoustic
Battery Life
Operating Temp
Voice Reminder
Profile
Range
Frequency 15Hz-22kHz
up to 98% for high frequency
Passive noise
cancellation
Music,Talk time
Standby time
Charge time
Operating
temperature
Storage
temperature
up to 11 hrs(Mid-Vol)
up to 10 days
~2hrs
0 ℃ ~ 45℃
-20 ℃ ~ 65℃
English
15
• Verwenden Sie die Kopfhörer NICHT für zu lange Zeit
mit zu hoher Lautstärke.
–Um Gehörschäden zu vermeiden, verwenden Sie Ihre
Kopfhörer mit einer angenehmen, moderaten Lautstärke.
–Schalten Sie die Lautstärke auf Ihrem Gerät zuerst ab,
bevor Sie die Kopfhörer in / auf Ihre Ohren setzen, und
stellen Sie dann die Lautstärke schrittweise ein, bis Sie
eine angenehme Lautstärke erreicht haben.
• Beachten Sie die geltenden Gesetze Ihres Landes zur
Nutzung von Kopfhörern und Mobiltelefonen während der
Autofahrt.
• Konzentrieren Sie sich auf Ihre Sicherheit und die
Sicherheit anderer Personen, wenn Sie den Kopfhörer
während einer Tätigkeit verwenden, die Ihre Aufmerksam-
keit erfordert, z. B. beim Fahrradfahren, Autofahren oder
beim Gehen. Achten Sie immer auf den Verkehr und
nehmen Sie den Kopfhörer ab oder stellen Sie die
Lautstärke so ein, dass Sie Umgebungsgeräusche,
einschließlich Warnsignale gut hören können.
WARNHINWEISE / VORSICHTSMASSNAHMEN
Bitte lesen und bewahren Sie alle
Sicherheits- und Gebrauchsanweisungen auf.
16
•Verwenden Sie den Kopfhörer NICHT, wenn er laute
ungewöhnliche Geräusche erzeugt. Schalten Sie in
diesem Fall den Kopfhörer aus und wenden Sie sich an
den ACIL Kundenservice.
•Tauchen Sie den Kopfhörer NICHT in Wasser und
tragen Sie ihn nicht, wenn Sie Wassersport betreiben,
z. B. beim Schwimmen, Wasserskifahren, Surfen usw.
•Entfernen Sie Kopfhörer sofort, wenn Sie ein erhöhtes
Wärmegefühl oder einen Audioverlust verspüren.
•Verwenden Sie nur Ladebuchsen, die über eine
sichere Stromversorgung verfügen und vermeiden Sie
möglichst öffentliche Ladebuchsen, wie z.B. an
Flughäfen, an öffentlichen Plätzen, im Flugzeug etc.
•Enthält kleine Teile, die eine Erstickungsgefahr
darstellen können. Nicht geeignet für Kinder unter 3
Jahren. Dieses Produkt enthält magnetisches Material.
Fragen Sie Ihren Arzt, ob sich dies auf Ihr implantier-
bares medizinisches Gerät auswirken könnte.
•Nehmen Sie keine eigenmächtigen Änderungen an
diesem Produkt vor.
•Verwenden Sie dieses Produkt nur mit einer von der
Behörde zugelassenen Stromversorgung, die den
örtlichen Vorschriften entspricht.
17

Starten
Auspacken ........................................................................19
Ein- / Ausschalten .............................................................21
Aufladen
Anschließen des USB-Kabels ......................................... 22
Batterie prüfen ................................................................. 23
Bedeutung der richtigen Passform
Die richtigen Ohrstöpsel auswählen ............................... 24
Die Ohrhörer an Ihr Ohr anschließen ............................. 24
Austausch der Ohrstöpsel .............................................. 24
Bluetooth
Über die Bluetooth Funktechnologie .............................. 25
Pairing Ihres Bluetooth-Geräts ....................................... 25
Bluetooth-Gerät trennen ................................................. 25
Kopfhörer Tastenfunktionen
Medienwiedergabe und Lautstärkeeinstellungen............ 26
Anruffunktionen............................................................... 26
Pflege und Wartung
Schonen des Akkus ........................................................ 27
Reinigung ........................................................................ 27
Kundendienst .................................................................. 27
Eingeschränkte Garantie ................................................ 27
Technische Information ................................................... 27
Fehlerbehebung
............................................................ 28
Spezifikation
.................................................................. 30
18

1 Paar Bluetooth ACIL H2 Kopfhörer
Packen Sie den Karton vorsichtig aus und überprüfen
Sie, ob folgende Teile enthalten sind:
Starten
Starten
19
Ear Tips
Volume Up
Volume Down
MFB Button
LED Indicator
USB Connector

Starten
3 Paar flexible Flüssigsilikon-Ohrstöpsel
unterschiedlicher Größe
1 USB-Kabel
Bitte kontaktieren Sie den Kundenservice per E-Mail:
support@acilaudio.com
Wenn ein Teil des Produkts beschädigt ist, verwenden
Sie das Produkt bitte NICHT.
20

Kopfhörer-Komponenten
Volume -LED-Anzeige
MFB-TasteUSB-Anschluss
Volum +
Starten
Ein- / Ausschalten
Einschalten:
Halten Sie die MFB-Taste 2 Sekunden lang gedrückt,
bis sie blau blinkt und das Einschalt-Signal ertönt.
Ausschalten:
Halten Sie die MFB-Taste für 4 Sekunden gedrückt,
bis sie rot blinkt und das Ausschalt-Signal ertönt.
21

Aufladen
Anschließen des USB-Kabels
1.Öffnen Sie die Klappe des USB-Anschlusses (siehe
Abb.)
2. Verbinden Sie das kleine Ende des USB-Kabels mit
dem USB-Anschluss des Kopfhörers.
3. Verbinden Sie das andere Ende mit einem USB-Lade-
gerät oder einem eingeschalteten Computer.
• Während des Ladevorgangs leuchtet die LED-An-
zeige blau.
• Wenn die Batterie vollständig geladen ist, erlischt
die blaue LED-Anzeige.
• Die vollständige Aufladung des Akkus beträgt
ca. 2 Stunden. Die Nutzungszeit eines voll
aufgeladenen Akkus beträgt ca. 11 Stunden.
• Verwenden Sie das Produkt nur mit einer von den
Behörden zugelassenen Stromversorgung.
• Achten Sie beim Aufladen auf eine trockene
Umgebung und eine Temperatur zwischen 0℃ und
45℃.
22

Aufladen
Batterie prüfen
• Jedes Mal, wenn Sie den Kopfhörer einschalten, wird
Ihnen der Akkuladestand des Kopfhörers angezeigt.
• Während der Nutzung des Kopfhörer, wird der Status
des Akkus angezeigt („Batterie leer“). Der Akku muss
dann schnellsten aufgeladen werden.
• Bei einigen Apple-Geräten wir der Akku-Zustand des
Kopfhörers auf dem Display des Apple-Gerätes
angezeigt.
23

Bedeutung der richtigen Passform
Wählen Sie die richtigen Ohrstöpsel
Wählen Sie die Größe, die Ihnen den besten Komfort
bietet und sich Ihrem Ohr gut anpasst. Um die beste
Anpassung zu ermitteln, müssen Sie möglicherweise alle
Größen testen. Unter Umständen empfiehlt es sich für
beide Ohren unterschiedliche Stöpsel zu verwenden.
Die Ohrhörer an Ihrem Ohr befestigen
Mit der Stöpseloberseite sitzt der Ohrstöpsel bequem
und sicher im Ohr.
1. Setzen Sie den Ohrhörer so ein, dass die Stöpselo-
berseite sanft in der Öffnung des Gehörgangs liegt.
2. Passen Sie die Position des Ohrstöpsels an, bis er
sicher sitzt.
Austausch der Ohrstöpsel
1. Halten Sie den Ohrstöpsel am Stiel, fassen Sie ihn
vorsichtig an der Stöpseloberseite an und ziehen Sie ihn
von der Halterung ab.
2. Setzen Sie nun die ausgetauschten Ohrstöpsel auf die
Halterung auf, indem Sie die Ohrstöpsel mit der
Unterseite leicht auf die Halterung aufdrücken, bis die
Ohrstöpsel einrasten und sicher aufsitzen.
24

Bluetooth
Über die Bluetooth Funktechnik
Mit der Bluetooth-Technologie können Sie Musik von
Bluetoothfähigen Endgeräten wie Smartphones, Tablets,
Computern oder anderen Audiogeräten an Ihre Kopfhörer
streamen. Bevor Sie Musik von einem Bluetooth-Gerät
streamen können, müssen Sie das Gerät mit den
Kopfhörern koppeln (pairing).
Koppeln Ihres Bluetooth-Geräts
Pairing
Schalten Sie den Bluetooth-Modus Ihres Endgerätes ein.
Halten Sie nun die MFB-Taste für 4 Sekunden gedrückt,
bis sie blau blinkt, um das Pairing zu starten und die
Geräte zu verbinden (koppeln).
Wählen Sie aus der Liste der Quellgeräte den Kopfhörer
„ACIL H1“ aus.
Nach erfolgreichem Pairing hören Sie folgende Ansage:
"Bluetooth Connected".
Mehrpunkt-Paarung
1. Schalten Sie den Kopfhörer aus, nachdem das erste
Endgerät angeschlossen wurde.
2. Wiederholen Sie den obigen Pairing-Vorgang, um
weitere Endgeräte zu verbinden
Trennen eines Bluetooth-Geräts
Deaktivieren Sie die Bluetooth-Funktion auf Ihrem
Endgerät.
Nach erfolgter Deaktivierung hören Sie folgende Ansage:
"Bluetooth Disconnected".
25

Kopfhörer Tastenfunktionen
Medienwiedergabe und Lautstärke-Funktionen
Die Kopfhörersteuerungen befinden sich an der
Inline-Fernbedienung unter dem rechten Ohrhörer.
Funktion Methode
Play/Pause Drücken Sie die MFB-Taste
Lautstärke erhöhen Drücken Sie ‘+’
Lautstärke verringern Drücken Sie ‘-’
Vorheriges Lied Halten Sie ‘+’ 2 Sekunden lang
gedrückt
Nächster Lied Halten Sie ‘-’ 2 Sekunden lang
gedrückt
Funktion Methode
Anruf annehmen Drücken Sie die MFB-Taste
Anruf beenden Drücken Sie die MFB-Taste
Wahlwiederholung Drücken Sie die MFB-Taste
zweimal
Anruf ablehnen Halten Sie die MFB-Taste für 2
Sekunden gedrückt
Anruffunktionen
26

Pflege und Wartung
Schonen des Akkus
• Schalten Sie den Kopfhörer aus, wenn Sie ihn nicht
benutzen.
• Wenn Sie den Kopfhörer über einen längeren
Zeitraum nicht nutzen, laden Sie den Akku vorher
vollständig auf.
Reinigung
Ihre Kopfhörer müssen möglicherweise regelmäßig
gereinigt werden.
Ohrspitzen: Entfernen Sie die Spitzen von den
Ohrstöpseln und waschen Sie sie mit einem milden
Reinigungsmittel und Wasser. Stellen Sie sicher, dass
Sie die Spitzen gründlich ausspülen und trocknen,
bevor Sie diese wieder nutzen.
Kopfhörerdüsen: Nur mit einem trockenen, weichen
Wattestäbchen oder ähnlichem reinigen. Führen Sie
niemals ein Reinigungswerkzeug in die Düse ein.
Kundenservice
Wenn Sie Fragen haben, kontaktieren Sie uns bitte per
E-Mail:
support@acilaudio.com
Garantie
Wir bieten eine kostenlose 12 monatige Garantie!
Technische Information
Eingangsleistung: 5V / 500mA
27

Fehlerbehebung
Kein Ton
LösungProblem
• Schalten Sie die Kopfhörer ein.
• Laden Sie die Batterie auf.
Kopfhörer lassen sich
nicht einschalten
• Schalten Sie den Kopfhörer ein und laden
Sie den Akku.
• Erhöhen Sie die Lautstärke an Ihrem
Kopfhörer und Bluetooth-Gerät.
• Achten Sie darauf, dass der Abstand der
Kopfhörer und des Bluetooth Endgeräts nicht
zu weit entfernt ist. Vermeiden Sie Störungen
oder Hindernisse.
• Verwenden Sie eine andere Musikquelle.
• Koppeln Sie ein anderes Bluetooth-Gerät.
• Wenn zwei Bluetooth-Geräte verbunden
sind, schalten Sie eines der Geräte ab.
• Auf dem Bluetooth-Gerät:
–– Schalten Sie die Bluetooth-Funktion ein.
–– Löschen Sie Ihre ACIL H1 Kopfhörer aus
der Bluetooth-Liste auf Ihrem Gerät.
• Koppeln Sie danach erneut.
• Achten Sie darauf, dass der Abstand der
Kopfhörer und des Bluetooth Endgeräts
nicht zu weit entfernt ist. Vermeiden Sie
Störungen oder Hindernisse.
• Koppeln Sie ein anderes Bluetooth-Gerät.
Kopfhörer können
nichtmit einem
Bluetooth-Gerät
gekoppelt werden
28

Fehlerbehebung
Kopfhörer laden
nicht auf
• Verwenden Sie eine andere Musikquelle.
• Koppeln Sie ein anderes Bluetooth-Gerät.
• Trennen Sie das zweite Gerät.
• Achten Sie darauf, dass der Abstand der
Kopfhörer und des Bluetooth Endgeräts nicht
zu weit entfernt ist. Vermeiden Sie Störungen
oder Hindernisse.
• Reinigen Sie die Ohrstöpseln und
Kopfhörerdüsen.
• Öffnen Sie den USB-Anschluss und
verbinden Sie das kleine Ende des USB-
Kabels sicher mit dem USB-Anschluss.
• Stellen Sie sicher, dass der Anschluss am
Kabel korrekt mit dem Anschluss am
Kopfhörer ausgerichtet ist.
•Sichern Sie beide Enden des USB-Kabels.
•Wenn Ihr Kopfhörer hohen oder niedrigen
Temperaturen ausgesetzt war, lassen Sie den
Kopfhörer auf Raumtemperatur abkühl-en und
versuchen Sie es dann erneut.
Schlechte Tonqualität
29

Spezifikation
Spezifikation
Spezifikation ~30 +/-2g
HFP, HSP, A2DP, AVRCP
10 Meter
Spezifikation
Akustisch
Akkuleistung
Betriebs-
temperatur
Profil
Reichweite
Frequenz 15Hz-22kHz
bis zu 98% für Hochfrequenz
Passive
Geräuschunter-
drückung
Musik,
Gesprächszeit
Standby-Zeit
Ladezeit
Betriebstemperatur
Lagertemperatur
bis zu 11 Stunden
bis zu 10 Tagen
ca. 2 Stunden
0°~45° Celsius
0°~45° Celsius
30
FCC Statement
Any Changes or modifications not expressly approved by
the party responsible for compliance could void the
user’s authority to operate the equipment.
This device complies with part 15 of the FCC Rules.
Operation is subject to the following two conditions: (1)
This device may not cause harmful interference, and
(2) This device must accept any interference received,
including interference that may cause undesired
operation.
RF warning for Portable device:
The device has been evaluated to meet general RF
exposure requirment. The device can be used in portable
exposure condition without restriction.
31