Fidelity Comtech FCI3000 Phased Array WLAN terminal User Manual Phocus 62006
Fidelity Comtech, Inc. Phased Array WLAN terminal Phocus 62006
User Manual

Phocus Array™
System
Manual
Part Number FCI-3000-UM
Document Version/Revision 1.E

Phocus Array System Manual (FCI-3000-UM 1.E)
2
Information in this manual is subject to change without notice and does not represent a commitment on
the part of Fidelity Comtech, Inc. Portions of the software described in this document are copyrighted by
Fidelity Comtech, Inc and may not be copied or reproduced without written consent of Fidelity
Comtech, Inc. No part of this manual may be reproduced or transmitted in any form or by any means,
electronic or mechanical, including photocopying and recording, for any purpose without the express
written permission of Fidelity Comtech, Inc.
© Copyright 2006 Fidelity Comtech, Inc.
Fidelity Comtech, Inc
2400 Trade Centre Ave.
Longmont, Colorado, 80503, USA
General Information and Support: 303.678.8876
Fax 303.362.7545
Email: support@fidelity-comtech.com
This symbol indicates that this device provides a certain level of protection against
electric shock.
This symbol indicates that the user must read and understand all instructions and
warnings prior to use.
This symbol indicates that the associated jack is for a Universal Serial Bus
connection.
All rights reserved. Reproduction, adaptation, or translation without prior written permission is
prohibited, except as allowed under the copyright laws.
Phocus Array is a trademark of Fidelity Comtech, Inc.
All other brand and product names mentioned in this document are trademarks and/or registered
trademarks of their respective holders.

Phocus Array System Manual (FCI-3000-UM 1.E)
3
TABLE OF CONTENTS
1 INTRODUCTION.............................................................................................................................. 6
1.1 ABOUT THIS MANUAL .................................................................................................................... 8
1.1.1 Documentation Conventions................................................................................................... 8
1.1.2 Device Description and Specifications................................................................................... 8
1.1.3 Warnings and Precautions...................................................................................................... 9
1.1.4 Maintaining Device Effectiveness........................................................................................... 9
1.1.5 Definitions............................................................................................................................... 9
2 PRINCIPLES OF BEAM STEERING .......................................................................................... 11
2.1 THEORY........................................................................................................................................ 11
2.2 THE PHOCUS ARRAY SYSTEM IMPLEMENTATION ......................................................................... 11
2.3 ADDITIONAL BEAM PATTERNS ..................................................................................................... 14
3 INSTALLATION AND HARDWARE SET UP ........................................................................... 16
3.1 INSTALLATION CONSIDERATIONS ................................................................................................. 18
3.1.1 Safety..................................................................................................................................... 18
3.1.2 How to Install your Phocus Array System Safely ................................................................. 18
3.1.3 Placement and Performance................................................................................................. 19
3.2 INSTALLATION PROCEDURE.......................................................................................................... 20
4 CONFIGURATION AND SOFTWARE SETUP ......................................................................... 22
4.1 PERFORMING INITIAL CONFIGURATION ........................................................................................ 22
5 USING THE WEB INTERFACE................................................................................................... 25
5.1 USING THE WEB INTERFACE......................................................................................................... 25
5.2 GENERAL TAB.............................................................................................................................. 25
5.3 ANTENNA TAB.............................................................................................................................. 26
5.3.1 Configure Antenna................................................................................................................ 26
5.3.2 Monitor Antenna................................................................................................................... 30
5.3.3 Manage Stations.................................................................................................................... 32
5.4 INTERFACES TAB ......................................................................................................................... 33
5.5 STATUS TAB ................................................................................................................................ 36
6 USING THE SSH INTERFACE..................................................................................................... 37
6.1 PRECAUTIONS WHEN WORKING UNDER THE HOOD ..................................................................... 37
6.2 USEFUL LINUX COMMANDS ......................................................................................................... 38
6.3 CHANGING THE ROOT PASSWORD ................................................................................................ 38

Phocus Array System Manual (FCI-3000-UM 1.E)
4
6.4 KISMET......................................................................................................................................... 39
7 HARDWARE PLATFORM DETAILS ......................................................................................... 40
APPENDIX A - DETAILED DESCRIPTION OF THE PHOCUS ARRAY LINUX SOFTWARE
................................................................................................................................................................... 43
A.1 DISTRIBUTION ANCESTRY................................................................................................................ 43
A.2 USER ACCOUNTS ............................................................................................................................. 43
A.3 FILE SYSTEM.................................................................................................................................... 43
A.4 BOOT PROCESSES............................................................................................................................. 43
A.5 PACKAGES ....................................................................................................................................... 45
APPENDIX B - DEFAULT PASSWORDS AND IP PARAMETERS .............................................. 47
APPENDIX C - CONTACT INFORMATION.................................................................................... 48
Table of Figures
Figure 1 - Phocus Array Antenna System in a Wireless Access Point Application.....................................................................6
Figure 2 – Phocus Array System Block Diagram........................................................................................................................7
Figure 3 - Omni Antenna Pattern - State "0”.............................................................................................................................13
Figure 4 - Factory Default Antenna Patterns “State 12” and “State 15”....................................................................................14
Figure 5 - Sector Antenna Pattern..............................................................................................................................................15
Figure 6 - Two Lobe Pattern......................................................................................................................................................15
Figure 7 - Antenna in Outdoor Enclosure..................................................................................................................................16
Figure 8 – Power Cables, Software, and Accessories................................................................................................................17
Figure 9 - Right Angle Mounting Hardware..............................................................................................................................17
Figure 10 - Pole Mounting Hardware........................................................................................................................................17
Figure 11 - Bottom View showing Orientation Tab ..................................................................................................................20
Figure 12 – Power Connections.................................................................................................................................................21
Figure 13 - Phocus Array System Home Screen........................................................................................................................23
Figure 14 - Antenna Configure Page.........................................................................................................................................26
Figure 15 - Set Beamsteering Mode ..........................................................................................................................................28
Figure 16 - Upload New Patterns...............................................................................................................................................30
Figure 17 - Monitor Antenna.....................................................................................................................................................31
Figure 18 - Managing Associated Stations ................................................................................................................................33
Figure 19 - Interfaces Page - Upper Portion..............................................................................................................................34
Figure 20 - Interfaces Page - Lower Portion..............................................................................................................................35
Figure 21 - Status Page..............................................................................................................................................................36
Figure 22 – Internal System Block Diagram .............................................................................................................................41

Phocus Array System Manual (FCI-3000-UM 1.E)
5
Table of Tables
Table 1 – Device Description and Specifications........................................................................................................................8
Table 2 – Terms and Definitions .................................................................................................................................................9
Table 3 – Default Wired Interface Network Parameters............................................................................................................22
Table 4 – Default Wired Interface IP Address Parameters........................................................................................................47
Table 6 – Default Wireless Interface IP Address Parameters....................................................................................................47

Phocus Array System Manual
Phocus Array System Manual (FCI-3000-UM 1.E)
6
1 Introduction
This is the installation and user manual for Fidelity Comtech’s Phocus Array system. The
Phocus Array System is an IEEE 802.11b/g radio and phased array antenna system
designed for outdoor use and housed in one package that can act as an access point or as a
client station.
Figure 1 - Phocus Array Antenna System in a Wireless Access Point Application
The unique feature of the Phocus Array System is that its antenna is electronically
steerable. This means that by giving the Phocus Array System the appropriate software
commands it can configure its antenna to an omni pattern, a 45-degree directional pattern
in any direction, or many more complicated patterns.

Phocus Array System Manual
Phocus Array System Manual (FCI-3000-UM 1.E)
7
Figure 2 – Phocus Array System Block Diagram
The Phocus Array System consists of the following components contained in a sealed
outdoor enclosure:
An embedded single board computer (SBC) running Linux-based software
An IEEE 802.11b/g based radio module wireless LAN card (WLAN)
An 8:1 RF splitter
Eight T/R (transmit/receive) modules that control the beam steering
An array of eight antenna elements arranged in a circular pattern
Additionally, the system is shipped with an external power supply and Power Over
Ethernet (POE) Injector that combines Ethernet signals and the correct power supply
voltage to operate the unit. These two components should be mounted indoors separately
from the outdoor mounted Phocus Array enclosure.
There are several ways of managing the Phocus Array System. The primary one is the
Web interface. This interface should be used to configure the Phocus Array System and
for simple monitoring and maintenance. Additionally, there is a Secure Shell (SSH)
interface to the SBC as well as several TCP/UDP ports designed for direct software
access. The SSH interface requires considerable Linux expertise to use and must be used
with caution to avoid rendering the system inoperable and possibly unrecoverable. The
direct interfaces obviously require programming expertise.
The remainder of this manual gives a basic overview of beam steering, walks you
through the basic installation and configuration, explains the different interfaces and

Phocus Array System Manual
Phocus Array System Manual (FCI-3000-UM 1.E)
8
tools, and gives a much more detailed description of the internals of the Phocus Array
System. The appendices contain the default passwords, details of the customized Linux
distribution, and discussion of the direct software interfaces.
1.1 About this Manual
The instructions in the following chapters assume the user is adequately familiar with the
intended use and application of this device.
Knowledge of the IEEE 802.11 wireless standard as well as concepts, protocols, and
networking (e.g. TCP/IP and IEEE 802.3) are especially useful.
1.1.1 Documentation Conventions
The following format conventions are used in this document to identify special
information:
Warning statements identify conditions or practices that could result in personal injury.
Caution statements identify conditions or practices that could result in damage to
equipment or loss of data.
Notes: The displayed data in this document are for example purposes only.
The graphical illustrations in this document are for example purposes only and the
hardware illustrated may differ from your hardware.
1.1.2 Device Description and Specifications
Table 1 – Device Description and Specifications
Power Requirements: Supplied external 120 VAC Power Supply, 24 VDC
Output, 2.5 Amp
Dimensions (w/o attachment
hardware): 9.5” x 9.5” x 11” (24.1 cm x 24.1 cm x 28 cm)
Weight (w/o attachment
hardware): 10 lbs (4.5 kg)
External Construction: Outdoor mountable, sealed, high-impact, UV painted,
ABS plastic radome over a powder-coated cast aluminum
base. Base and radome are joined with a neoprene seal.
Operating Environment: 0°C to 60°C; 0 – 100% relative humidity. Not designed to
be immersed in liquid.
EMC Rating: Designed to comply with FCC Part 15

Phocus Array System Manual
Phocus Array System Manual (FCI-3000-UM 1.E)
9
Table 1 – Device Description and Specifications
Wireless Protocols IEEE 802.11 b/g
1.1.3 Warnings and Precautions
Cautions: Always use the AC adapter that accompanied the system. Using a
different AC adapter can cause permanent damage to your system.
Always use outdoor-rated CAT5 or better Ethernet cable in order to comply
with radiation and conducted emissions and immunity.
Do not attempt to immerse the device or accessories in water or cleaning fluid, as there
are electronic components inside that will be permanently damaged.
1.1.4 Maintaining Device Effectiveness
The recommended operating conditions for the device are 0° to 60°C, 0 to 100%
humidity. The recommended transport and storage conditions are -20°C to 50 °C; 0 to
95% non-condensing humidity; -1000 to 10,000 feet or 787.9-522.7 mm Hg.
Although the Phocus Array System is designed for outdoor use it should not be immersed
in water or other fluids. The housing may be wiped clean with a soft cloth dampened with
soapy water.
1.1.5 Definitions
The following acronyms, abbreviations, and terms are used in this manual:
Table 2 – Terms and Definitions
Term Definition
Azimuthally Along the horizon.
API Application Programming Interface
CF Compact Flash.
DHCP Dynamic Host Configuration Protocol. RFC 2131.
DNS Domain Name Server.
ESSID Extended Service Set IDentifier.
IP Internet Protocol.
LED Light Emitting Diode.

Phocus Array System Manual
Phocus Array System Manual (FCI-3000-UM 1.E)
10
Table 2 – Terms and Definitions
Term Definition
MAC Media Access Control
MADWiFi Multiband Atheros Driver for WiFi
WLAN Wireless Local Area Network
WEP Wired Equivalent Privacy
POE Power Over Ethernet
RSSI Receive Signal Strength Indication.
SBC Single Board Computer.
SSH Secure Shell
State An antenna configuration compromised of a set of weights, one for
each T/R module, plus system-level drive and gain parameters that
have been stored by the Phocus Array System and may be recalled.
T/R module Transmit/Receive module – a internal component of the Phocus Array
System that is responsible for adjusting phase and magnitude of RF
signals for one antenna element under the control of the SBC.
TCP Transmission Control Protocol. RFC 793.
UDP User Datagram Protocol. RFC 768.
Weight A particular set of the two parameters (magnitude and phase) that
determine the basic behavior of a T/R module.
WiFi Wireless Fidelity.

Phocus Array System Manual
Phocus Array System Manual (FCI-3000-UM 1.E)
11
2 Principles of Beam Steering
Before discussing the Phocus Array System, it is helpful to have a basic understanding of
this feature that differentiates the Phocus Array System from other IEEE 802.11 radios.
2.1 Theory
A phased array antenna is one that shapes its beam by applying the same signal to
different antennas in an antenna system using different phases. When the system
combines two radio waves of the same frequency, the result depends on the phase
difference. If the two radio waves are in phase (their positive peak occurs at the same
time), the radio waves add. If they are 180 degrees out of phase (the positive peak of one
occurs at the same time as the negative peak of the other), they reduce. In the latter case,
if the two waves are the same amplitude, they will completely cancel each other out. If
the phase difference is in between, the result will be in between.
If there are more than two antenna elements, it is possible to create very complex beam
patterns by choosing the amplitude and phase of the signal applied to each antenna
element. The Phocus Array System uses an eight-antenna element uniform circular array.
This provides the ability to create a directional beam (about 45 degrees wide) in any
direction azimuthally (i.e. along the horizon). It also has the ability to form an omni-
directional antenna, such that the signal can be transmitted in all directions
simultaneously. It can also form much more complex beam patterns. Finally, the system
can control a received signal in exactly the same way as it can a transmitted signal so that
it can selectively receive from any direction, all directions at once, etc.
2.2 The Phocus Array System Implementation
The Phocus Array System consists of a single radio (the IEEE 802.11b/g module) which
handles both transmit and receive functions (refer to Figure 2). The antenna terminal of
the radio connects to the common terminal of an eight-way splitter. Each of the other
terminals of the splitter connects to a T/R module that connects to an antenna. The T/R
module is a vector modulator and a bi-directional amplifier that is directed by the
software. The software can specify precisely how much gain there will be in each
direction, but also a precise phase delay.
Each T/R module can be programmed with four parameters: the phase, the magnitude,
the transmit drive, and the transmit gain. The Web interface enables you to specify the
phase and the magnitude individually for each T/R module, but requires the same drive
and gain for all the T/R modules. The phase and the magnitude are the primary adjustable
parameters of the Phocus Array System. The phase sets the phase delay for the T/R

Phocus Array System Manual
Phocus Array System Manual (FCI-3000-UM 1.E)
12
module; allowable values are between 0 and 359 degrees of phase delay. The magnitude
sets the amplification for the T/R module; allowable values are between 0 and 100
percent. The two additional parameters, the drive and the gain, are used in the exceptional
case when you want the T/R module to behave differently when it is in receive mode than
it does in transmit mode (normally it behaves identically in both modes).
Collectively a phase and magnitude set of these parameters for a T/R module is referred
to as a weight. Setting the weights for all the T/R modules plus the overall drive and gain
determines the beam pattern. The Phocus Array System is capable of storing the weights
and the drive and gain; this stored configuration is referred to as a state. The Phocus
Array System can store up to 169 states. Any state can be recalled to all the T/R modules
with one command. Using these stored states, the Phocus Array System can dynamically
change beam patterns much faster than it can if the SBC has to load the individual
parameters for each T/R modules. States can be recalled using the “Antenna” Tab page of
the Web interface (refer to section 5.3.1 Configure Antenna).
The Phocus Array System can also compute certain beam patterns automatically. The
“Antenna” page of the Web interface enables you to set a direction, and the Phocus Array
System will compute the necessary beam pattern to create a unidirectional beam in the
specified direction.
The Phocus Array System can control its beam patterns using two basic modes: static and
dynamic. In static mode, the beam pattern is configured and all radio operations are
conducted using that pattern. The system remains fixed in the designated beam pattern
until directed to change via the administration interface. In dynamic mode, the beam
pattern can be different for each radio communication (packet) with each client. The
dynamic mode obviously requires much closer cooperation between the radio and the
antenna.
Fidelity Comtech has pre-computed a number of beam patterns for the Phocus Array
System. Seventeen of these patterns come pre-loaded into the Phocus Array System as
States. You can load additional patterns. The following is brief description of some the
factory default patterns:
• Omni Pattern: Transmits/receives in a 360-degree circle. This pattern is pre-
programmed as State 0 and is illustrated in Figure 3.
Note: The pattern is illustrated by the blue line between the concentric green polar plot
divisions. The antenna is implied at the center of the plot.

Phocus Array System Manual
Phocus Array System Manual (FCI-3000-UM 1.E)
13
Figure 3 - Omni Antenna Pattern - State "0”
• Low Sidelobe Unidirectional Patterns (States 1-16): These patterns
transmit/receive primarily in one direction. Each of the 16 states has a beam that
is identical in shape (the half-power beamwidth for each is approximately 43
degrees), but each state is rotated 22.5 degrees more than the one before it. You
can change the direction the beam is pointing by changing the active state (e.g.:
from State 2 to State 5). The following example illustrates directional effect of
changing the antenna from pre-programmed beam pattern State 12 (225 degrees),
shown in red to State 15 (315 degrees) shown in blue.

Phocus Array System Manual
Phocus Array System Manual (FCI-3000-UM 1.E)
14
Figure 4 - Factory Default Antenna Patterns “State 12” and “State 15”
2.3 Additional Beam Patterns
The factory default antenna patterns provide a balance between beam width, reach, and
low sidelobe power, making them suitable for many applications.
Using the administration interface, you can steer the beam in a specific direction and the
Phocus Array will synthesize a pattern dynamically. These generated patterns have
different characteristics than the pre-computed “State” patterns. They are very efficient,
have higher sidelobes, and offer the most precise control over the direction of the beam.
This finer resolution (1 degree increments azimuthally) is not typically needed because
the beam width is 43 degrees, but may be desirable in some applications.
Finally, in addition to the factory default and the dynamically synthesized patterns
described above, custom beam patterns can be designed and installed with different trade
offs in mind. Two of the many possibly synthesizable patterns are illustrated in Figure 5
and Figure 6. Please contact Fidelity Comtech with your antenna pattern synthesis needs.

Phocus Array System Manual
Phocus Array System Manual (FCI-3000-UM 1.E)
15
Figure 5 - Sector Antenna Pattern
Figure 6 - Two Lobe Pattern

Phocus Array System Manual
Phocus Array System Manual (FCI-3000-UM 1.E)
16
3 Installation and Hardware Set Up
Unpack the Phocus Array System from its shipping container. The system should consist
of the following parts:
Phase array antenna in outdoor enclosure (see Figure 7)
Weatherproof Ethernet connector (see Figure 8)
Power injector (see Figure 8)
Power supply (see Figure 8)
CDROM with Phocus Array System software (see Figure 8)
Mounting bracket, either right angle (see Figure 9) or pole (see Figure 10)
Four bolts to attach bracket to antenna (see Figure 9 or Figure 10
Figure 7 - Antenna in Outdoor Enclosure

Phocus Array System Manual
Phocus Array System Manual (FCI-3000-UM 1.E)
17
Figure 8 – Power Cables, Software, and Accessories
Figure 9 - Right Angle Mounting Hardware
Figure 10 - Pole Mounting Hardware

Phocus Array System Manual
Phocus Array System Manual (FCI-3000-UM 1.E)
18
3.1 Installation Considerations
3.1.1 Safety
Warning: Installation of this product near power lines is dangerous! For your safety,
follow the installation directions.
3.1.2 How to Install your Phocus Array System Safely
The following installation precautions and guidelines are extracted from the
Recommendations of the U.S. Consumer Product Safety Commission on installing
antennas.
These safety recommendations apply to all antennas.
Each year, hundreds of people are killed, mutilated, or receive severe and permanent
injuries when attempting to install an antenna. In many of these cases, the victim was
aware of the danger of electrocution, but did not take adequate steps to avoid the hazard.
For your safety, and to help you achieve a good installation, please read and follow the
safety precautions below. They may save your life!
That this is not complete list of instructions, precautions, and installation guidelines
necessary to safely and effectively install the antenna. You should consult a professional,
as well as observe local and national code requirements.
1. If you are installing an antenna for the first time, please, for your own safety as
well as others, seek professional assistance. The professional can explain which
mounting method to use for the size and type of antenna you are about to install.
2. Select your installation site with safety, as well as performance, in mind.
REMEMBER: ELECTRIC POWER LINES AND PHONE LINES LOOK
ALIKE. FOR YOUR SAFETY, ASSUME THAT ANY OVERHEAD LINES
CAN KILL YOU.
3. Call your electric power company. Tell them your plans and ask them to come
take a look at your proposed installation. This is a small inconvenience,
considering YOUR LIFE IS AT STAKE.
4. Plan your installation procedure carefully and completely before you begin.
Successful raising of a mast or tower is largely a matter of coordination. Each
person should be assigned a specific task, and should know what to do and when
to do it. One person should be designated as the leader/coordinator of the
operation to call out instructions and watch for signs of trouble.
5. When installing your antenna, REMEMBER: DO NOT USE A METAL
LADDER. DO NOT WORK ON A WET OR WINDY DAY. DO DRESS
PROPERLY: shoes with rubber soles and heels, rubber gloves, long sleeved shirt
or jacket.

Phocus Array System Manual
Phocus Array System Manual (FCI-3000-UM 1.E)
19
6. If the assembly starts to drop, get away from it and let it fall. Remember, an
antenna, mast, cable, and metal guy wires are all excellent conductors of electrical
current. Even the slightest touch of any of these parts to a power line completes an
electrical path through the antenna and the installer – THAT’S YOU!
7. If ANY PART of the antenna system should come in contact with a power line,
DON’T TOUCH IT OR TRY TO REMOVE IT YOURSELF. CALL YOUR
LOCAL POWER COMPANY. They will remove it safely.
If an accident should occur with the power lines, call for qualified emergency help
IMMEDIATELY.
3.1.3 Placement and Performance
Placement of the Phocus Array System can affect performance. Keep in mind that the
number, thickness, and location of walls, buildings, trees, or other objects that wireless
signals pass through or reflect off, may limit the range. Typical ranges vary depending on
terrain, proximity to objects, types of materials and background RF noise. The key to
maximizing range is to follow these basic guidelines.
1. Clear line-of-sight between the Phocus Array System and your network devices
gives the best performance.
2. Keep the number of walls and ceilings between the Phocus Array System and
other network devices to a minimum - each wall or ceiling can reduce your range
from 3-90 feet (1-30 meters.) Position your devices so that the number of walls,
trees, etc. is minimized.
3. Be aware of the direct line between network devices. A wall that is 1.5 feet thick
(.5 meters), at a 45-degree angle appears to be just over 2 feet (.6 meters) thick. At
a 2-degree angle it looks over 42 feet (14 meters) thick! Position devices so that
the signal will travel straight through a wall or ceiling (instead of at an angle) for
better reception.
4. Building materials can impede the wireless signal - a solid metal door or
aluminum studs may have a negative effect on range. Try to position wireless
devices and computers with wireless adapters so that the signal passes through
drywall or open doorways and not other materials.
5. Keep your product away (at least 3-6 feet (1-2 meters)) from electrical devices or
appliances that generate extreme RF noise.

Phocus Array System Manual
Phocus Array System Manual (FCI-3000-UM 1.E)
20
3.2 Installation Procedure
1. Attach the antenna to the bracket using the supplied bolts and fasten the bracket
securely in its final location. There is an orientation tab on the bottom of the
Phocus Array system housing that marks the 0 degree direction (see Figure 11).
Notes: Washers are not supplied with these bolts because threads in the base of the Phocus
Array housing are self-locking.
The pole bracket requires a 1-inch pipe with an NPT thread.
If the Phocus Array System is to be used with the pole bracket, be aware that the
pipe threads in the bracket are tapered and the bracket should be attached to the
Phocus Array housing with the thicker center pad away from the housing.
Figure 11 - Bottom View showing Orientation Tab
2. Attach the supplied Ethernet connector to the end of a CAT5 (or better) cable. If
this is a temporary connection just to configure the antenna, an ordinary RJ45
connector will work. If the connection is permanent, use the supplied connector to
ensure a weatherproof connection.
Caution: Be sure to use outdoor rated CAT5 cable unless the antenna is to be
installed in a sheltered location (cable will not be exposed to moisture or
direct sunlight).
3. Put a standard RJ45 connector on the other end of the CAT5 cable.

Phocus Array System Manual
Phocus Array System Manual (FCI-3000-UM 1.E)
21
Caution: This cable should be no more than 100 feet in length. This limitation is
less than that normally specified for Ethernet because the Power over
Ethernet (POE) limits the length of the cable.
4. Plug this cable into the RJ45 port on the side of the power injector that has the
indicator lights (see Figure 12).
Figure 12 – Power Connections
5. Plug the power supply in to the power jack on the power injector. Use a standard
Ethernet cable to connect the other RJ45 connector on the power injector to the
network.
Note: If the antenna is going to be connected directly to a laptop or desktop computer to
configure it (as opposed to going through a switch or a hub), a crossover (reverse)
Ethernet cable will be necessary.

Phocus Array System Manual
Phocus Array System Manual (FCI-3000-UM 1.E)
22
4 Configuration and Software Setup
This section describes a startup procedure for those who want to immediately bring up a
Phocus Array on their network. For a complete overview of the Web interface that is used
to do this quick configuration, refer to section 5, Using the Web Interface.
The Phocus Array System comes pre-configured with the following wired interface
network parameters:
Table 3 – Default Wired Interface
Network Parameters
IP Address 192.168.1.1
Netmask 255.255.255.0
Gateway <nil>
4.1 Performing Initial Configuration
1. Setup a computer that will be used to administer the Phocus Array system on the
same local network as the Phocus Array System. This computer must have an IP
address in the same class C network as the Phocus Array System (e.g.,
192.168.1.100) as well as the appropriate Netmask and Gateway settings. Use the
appropriate commands/settings for your administration machine’s operating
system.
2. Open a Web browser and type the URL https://192.168.1.1.
3. If a message about an invalid certificate is displayed, proceed anyway.
4. When prompted for a username and password, type admin for username and
admin as the password. The home screen shown in Figure 13 should be
displayed.

Phocus Array System Manual
Phocus Array System Manual (FCI-3000-UM 1.E)
23
Figure 13 - Phocus Array System Home Screen
5. Enter a hostname, using alphanumeric characters (without spaces), for the Phocus
Array System. This is a name that will help you uniquely identify this system.
Change the password, if appropriate, and click on the “Apply” button.
Note: If the password is changed, you will have to login again with the new password.
6. Select the “Interfaces” tab. Select the System Function mode desired (Ad-hoc,
Access Point – Bridge, Access Point - Router), enter the appropriate Wired and
Wireless parameters as well as the 802.11 Configuration information (e.g. ESSID,
IEEE 802.11 channel ,etc), click on the “Apply” button.
Note: When applying changes in the Interfaces tab, the Phocus Array System will save the
changes, then reboot to make the changes take effect. This process can take up to a 2
minutes and will interrupt customer communications on both interfaces. You may
have to enter the address of the Phocus Array System in the address bar of your
browser.

Phocus Array System Manual
Phocus Array System Manual (FCI-3000-UM 1.E)
24
Note: When these changes are applied to the wired network, the IP Address of the Phocus
Array System will change, requiring reconfiguration of your administration
computer or network to continue communicating with the Phocus Array System.
Once the above steps have been completed, a wireless client should be able to find and
associate the Phocus Array System in AP Mode.

Phocus Array System Manual
Phocus Array System Manual (FCI-3000-UM 1.E)
25
5 Using the Web Interface
This section discusses the Web interface for the Phocus Array System. For a quick start
guide to simply getting a Phocus Array System up and running on a network, refer to
section 4, Configuration and Software Setup.
Most common tasks can be performed using the Web interface for the Phocus Array
System, making it the preferred method to access the System. Common tasks include:
Installation and setup of the wireless and network parameters.
Monitoring client associations.
5.1 Using the Web Interface
To access the Web interface, perform steps 1–4 in section 4.1 (page 22).
There are four different categories of settings, each accessible from a tab at the top of the
page:
General
Antenna
Interface
Status
These categories are discussed in the following subsections.
5.2 General Tab
The general setup tab enables you to set general parameters that apply to Phocus Array
system. These are: the hostname, username and password for the Web interface (these are
different than the name and password for Linux root access if you log directly into the
Linux system via a secure shell), and NTP services and time zone control.
To change any of these parameters, enter the new parameter into the field on the Web
page and click on “Apply.” Note, if you fail to click on the “Apply” button, the changes
will be lost (this is true for any page in the Web interface). The Timezone parameter for
the United States are: US/Alaska, US/Aleutian, US/Arizona, US/Central, US/East-
Indiana, US/Eastern, US/Hawaii, US/Indiana-Starke, US/Michigan, US/Mountain,
US/Pacific, and US/Samoa.

Phocus Array System Manual
Phocus Array System Manual (FCI-3000-UM 1.E)
26
5.3 Antenna Tab
The Antenna page has three buttons allowing user control of three antenna related
functions:
• Configure – to download and review new patterns, set the antenna mode
• Monitor – to monitor client associations and their direction
• Manage Stations – to managing naming of associated client stations
5.3.1 Configure Antenna
The Configure Antenna page, shown in
Figure 14, contains three separate but related functions allowing the user to configure and
review the antenna system behaviors. Using the controls on this page a user can
• Review graphic visualizations of loaded antenna patterns using the pane on the
right side titled “Review Loaded Patterns”,
• Set Beamsteering Mode, enabling either a “Static” antenna pattern (e.g. Omni,
State 1 – North, etc.) or a “Dynamic” mode.
• Upload new antenna patterns, replacing the factory default patterns.
Figure 14 - Antenna Configure Page

Phocus Array System Manual
Phocus Array System Manual (FCI-3000-UM 1.E)
27
Caution: Using the Configure Antenna feature can be harmful to your system.
Changing the States can lead to erratic behavior. Make sure you
understand what you’re doing. Consult with Fidelity Comtech if you need
assistance and required patterns beyond the factory installed states.
5.3.1.1 Review Loaded Antenna Patterns
You can review a graphic of each of the currently loaded patterns in the Phocus Array
System by clicking on the “Next” or “Previous” buttons. Clicking on these buttons does
not change the state or operation of the system. Keep in mind the orientation mark
illustrated in these graphics and their relationship to the actual orientation of the mark on
the Phocus Array System case. Dynamic mode is not illustrated in this pane.
5.3.1.2 Set Beamsteering Mode
Utilizing the Set Beamsteering Mode control the user can select the antenna system
configuration.
• A static state selection such as State 1 - North configures the antenna to a
particular pattern and leaves it that way until administered differently. Both
transmitted and received radio communications use the designated pattern.
• Dynamic mode allows the Phocus Array System to determine approximately
where the client radios are located and sends any transmissions to a client radio
using one of the system patterns for that client (receives are done with an omni-
directional pattern).
Defining custom patterns may improve your performance depending on your application.
See Section 2.3 for more on custom patterns.
5.3.1.2.1 Static States Selections
A user can select a static state, as shown in Figure 15, and thereby disable scanning of
client radios and fix the antenna in a predetermined pattern or azimuth.
• Omni is State 0 which is preset to the omni-directional pattern for the factory
configured patterns. All communications (transmit and receive) are performed
with this omni-directional pattern
• State 1 to State 16 creates an antenna pattern that optimizes transmissions and
receives in one direction. You can choose 0 to 359 degrees in 1-degree
increments. “0” degrees is indicated on the Phocus Array System by the
orientation tab that is stamped on the bottom of the housing (see Figure 11). If
you look down on the antenna from above as if it were a clock face, 90 degrees is
at 9 o’clock, 180 degrees is at 6 o’clock and 270 degrees is at 3 o’clock.

Phocus Array System Manual
Phocus Array System Manual (FCI-3000-UM 1.E)
28
The “Apply” button must be clicked for the new antenna pattern to take effect. This
setting will take effect immediately and remain effective even through system power
cycles.
Figure 15 - Set Beamsteering Mode
Generally you’ll get the best reception using the Phocus Array System in the following
modes (best first) and adhering to the installations recommendations in Section 3.1.3.
1) Custom Pattern (designed for your application).
2) State 1 to State 16 Patterns – The factory pre-defined patterns using States have
the following trade offs – good efficiency, slightly shorter reach with much
smaller sidelobes. They also generate less interference, provide better spectral
reuse, and afford more privacy.
3) Default Pattern (Omni mode).

Phocus Array System Manual
Phocus Array System Manual (FCI-3000-UM 1.E)
29
5.3.1.2.2 Dynamic Mode
In Dynamic Mode, the Phocus Array System periodically “scans” (every Scan Interval)
using all stored directional beam patterns (States) to determine which pattern results in
the best signal from the particular client’s radio. All signal values are stored, and the best
signal value determines the beam pattern that will be used for transmitting data to that
specific station.
If Dynamic Mode is selected, you should select the scan interval. Essentially, the scan
interval tells the Phocus Array System how often to stop and recompute the directional
optimization for each associated wireless client. The Scan Interval can be set to 1-300
seconds. Under normal circumstances Fidelity Comtech recommends that the scan time
be set at 5 seconds. Consult with Fidelity Comtech if you have special requirements for
scanning.
5.3.1.3 Upload New Patterns
By utilizing the “Upload New Pattern” control, a user can upload a new set of patterns
and replace the factory default patterns. Uploading a new set of patterns permanently
overwrites the factory default patterns. Contact Fidelity Comtech for custom patterns
such as those described in Section 2.3.
To upload a new patterns file, as illustrated in Figure 16, first select the “Browse” button
to navigate to the location of the file, select an appropriate file, and then press “Upload”.
The upload and programming of new patterns into the system takes about 1 minute, after
which the antenna system will be in the static “Default” state.
Review the newly download patterns using the Review Antenna Patterns control. Proceed
to the Set Beamsteering Mode pane to activate a different static pattern or Dynamic
mode.

Phocus Array System Manual
Phocus Array System Manual (FCI-3000-UM 1.E)
30
Figure 16 - Upload New Patterns
5.3.2 Monitor Antenna
When in Dynamic Mode the Phocus Array System periodically scans through all static
states (except the Default state) searching for the strongest RSSI value of associated
client stations and determines their approximate direction (or more precisely the Angle of
Arrival of its packets). Utilizing the Antenna Tab, Monitor button you can view the
results of the most recent antenna system scan in Dynamic mode.
After pressing the “Monitor” button in your browser, you may be asked to accept and
download a Java component from the Phocus Array System. This Fidelity Comtech
authored component is a graphic allows you to “see” a radar-like display of the direction
of 802.11-associated clients. Press “Yes” to accept the download of the component.
See Figure 17 for an example of the page, in this case, illustrating a single client station
(MAC 00:06:25:ac:df:ee) associated with the system. By clicking the “Plot” checkbox in
the first column, the radar display will draw a line illustrating the “angle of arrival” (i.e.
the approximate direction) of the station with relationship to the Phocus Array System.

Phocus Array System Manual
Phocus Array System Manual (FCI-3000-UM 1.E)
31
Note the green orientation mark at 0 degrees at the top of the radar display – it represents
the orientation mark on the Phocus Array System base, as if you are looking down on the
top system.
The “Refresh Screen” control at the top of this screen sets the rate at which the browser
asks the Phocus Array System for data to display, and thus updates the radar display.
(This is different than the Scan Interval described on the Antenna Configuration page,
which is how often the antenna system scans the for station position.) Ideally the Refresh
Screen setting should be the same or larger than the Scan Interval.
If a station is moving (e.g. a laptop PC or handheld pocket computer) the radar display
will up automatically update changes in apparent direction of the client. Note, even if a
client station is stationary, the display may occasionally show different directions for the
client. This is normal and reflects the changing conditions of the RF environment,
including reflections, obstructions, and possibly movement of other objects in the
environment or the fact that a client may be aligned between 2 antenna states.
Figure 17 - Monitor Antenna

Phocus Array System Manual
Phocus Array System Manual (FCI-3000-UM 1.E)
32
Note: Display of direction and RSSI values only is relevant to Dynamic mode. Even though
Station MAC addresses are listed in the Associated Stations Monitor table when Static
mode is selected; the radar plot produced is only relevant to the Dynamic mode scans.
Note: If a new station associates, its MAC will automatically appear in the Associated Stations
Monitor table.
If you download new antenna patterns with a greater or less number of states, the display
will adapt to however many states are loaded in the Phocus Array System.
If a new client station associates with the Phocus Array System, it’s MAC will
automatically appear in the Associated Stations Monitor Table with a name of
“unnamed”. The Phocus Array System then attempts to scan the new client station and if
successful, a direction will be established it. To display the direction, click the Plot
checkbox adjacent to the MAC. If the client station can’t be successfully scanned, it’s
MAC address still appears in the Associated Stations Monitor table, but with a 0 RSSI
value.
Note: With the antenna in DYNAMIC mode an associated client station with an
incomplete/indeterminate scan will appear as a MAC address or name in the center of
the radar display.
Note: With the antenna in STATIC mode an associated client station MAC/name will appear
in the center of the radar display.
An incomplete dynamic mode scan can be the result of a client station being turned off or
moving out of range.
5.3.3 Manage Stations
By utilizing the Manage Stations button on the Antenna Tab, as shown in Figure 18, you
can give a Nickname (name) to a client station. This name is local to the Phocus Array
System and is not related to 802.11 broadcast nickname.
Until a client station is given a name using this page, the Monitor described in Section
5.3.2 page only displays MAC addresses in the radar plot. Naming stations allows you to
assign meaningful names to clients in your network. It also makes it easy to see when a
new (perhaps unwelcome) station arrives in the network.
To assign a name, type a character string into the text box to the right of MAC address. It
can be anything you feel descriptive of the client such as “Ricks Laptop” or “Node in
Room 6”. After entering the desired names, press “Apply” to have the Phocus Array
System memorize the MAC/Name pair. This name will remain in the system associated
with the MAC through power cycles, and even if the client station becomes disassociated.
The next time station associates the system will automatically display the name on this
page as well as the Antenna Tab – Monitor page.

Phocus Array System Manual
Phocus Array System Manual (FCI-3000-UM 1.E)
33
Figure 18 - Managing Associated Stations
Note: After clicking “Apply” the names will be stored, but the screen may not refresh correctly
on this page. Press your browsers “Refresh” button to see the newly assigned names.
5.4 Interfaces Tab
The Interfaces page, shown in Figure 19, administers the overall function of the Phocus
Array System as an Access Point – Bridge, Access Point – Router, or Ad-hoc (Mesh)
Network. Once a system function is selected, the appropriate fields in the lower parts of
the page can be completed with information for your application.

Phocus Array System Manual
Phocus Array System Manual (FCI-3000-UM 1.E)
34
Figure 19 - Interfaces Page - Upper Portion
The Wired and Wireless interfaces can be configured with static IP addresses or utilizing
DHCP services. Additionally Wireless interface parameters are available configure the
radio mode, channel, ESSID and WEP security. An Access Control List (ACL) field
allows user entry of a list of MAC addresses for stations that are permitted to
communicate over the wireless interface. Entries should be comma-separated. An empty
list allows all stations with the appropriate configuration ( b/g/auto radio-mode, channel,
WEP key, ESSID) to associate and communicate.
Note: In Release 0.3.1 the RTS Threshold administration is not functional and will not activate
RTS/CTS protection of transmissions.

Phocus Array System Manual
Phocus Array System Manual (FCI-3000-UM 1.E)
35
In the lower portion of the page as shown in Figure 20 includes a DNS (Domain Name
Server) entry-field. Entries should be comma separated.
Figure 20 - Interfaces Page - Lower Portion
The “Submit” button must be pressed to save the modifications and make them take
effect. As a normal part of processing the settings the system will reboot after “Submit”
is pressed. After approximately 2 minutes the system will be in service again.
Warning: Pressing “Submit” on the Interfaces page will cause new setting to take effect and take
the system out of service for approximately 2 minutes. Subsequently you may have to
direct your browser back to the Phocus Array System home page.

Phocus Array System Manual
Phocus Array System Manual (FCI-3000-UM 1.E)
36
5.5 Status Tab
The Status page, shown in Figure 21, provides hardware and software information about
the system as well as the system up time. Most fields are determined at boot time, except
Date/Time and Up Time which are updated each time the page is accessed or refreshed.
The Wireless MAC address field is useful when administering the ACL list on other
meshing nodes.
Figure 21 - Status Page

Phocus Array System Manual
Phocus Array System Manual (FCI-3000-UM 1.E)
37
6 Using the SSH Interface
This section discusses the details of using the SSH (Secure Shell) interface.
The Phocus Array System runs a SSH server so that you can set up a Secure Shell
connection to directly log-in to the control computer. To do this there has to be an SSH
client that will run on the management machine. If your PC is running Windows, PuTTY
is a free SSH client. PuTTY can be found on the Web at
http://www.chiark.greenend.org.uk/~sgtatham/putty/. There are also other shareware and
commercial SSH clients available.
To log in, on your administration computer start the SSH client and enter the IP Address
of the Phocus Array System. Log-in with the name and password of any user on the
Linux on-board computer. The default password for “root” user is “fci3000”.
Note: If you are going to use this interface, it is important that you have a good understanding of
Linux and the particular variant that runs on the Phocus Array System (the Pebble
distribution of Debian Linux).
See http://www.debian.org for some information on Debian Linux and
http://nycwireless.net/tiki-index.php?page=PebbleLinux for information on the Pebble
distribution. Fidelity Comtech has made substantial modifications to this distribution. The
most important of these are discussed in Appendix A - Detailed Description of the
Phocus Array Linux .
6.1 Precautions When Working Under the Hood
At its core, the Phocus Array System is an embedded Debian Linux system. It boots as
any normal system using the configuration scripts found in /etc/rc3.d (/etc/init.d) and
various system configuration files (e.g. /etc/network/interfaces).
Utilizing the Web interface, users modify the underlying system configuration files when
they the press “Submit” or “Apply.” This is important to note if you use the SSH
interface and choose to hand modify the configuration files.
Caution: Users working via the SSH command line interface and modifying Linux
system configuration files should be aware the subsequent use of the Web
interface may overwrite their changes, rendering the system unusable or
inoperable.

Phocus Array System Manual
Phocus Array System Manual (FCI-3000-UM 1.E)
38
6.2 Useful Linux Commands
Linux commands that may be of particular interest in managing the Phocus Array System
include:
ifconfig Command to view or configure interfaces. Type “ifconfig” to
display the current configuration for active interfaces. Type
“ifconfig --help” for a list of options.
netstat Command to view interface statistics or routing tables. Type
“netstat -i” for statistics on interfaces. Type “netstat –
r” for a routing table. Type “netstat --help” for a list of
options.
iwconfig Command to view or configure wireless interfaces. Type
“iwconfig” to display the current configuration for wireless
interfaces. Type “iwconfig -–help” for a list of options.
iwlist Command to retrieve wireless statistics from an interface. Type
“iwlist ath0 <parameter>” for information about a
parameter. Type “iwlist -–help” for a list of parameters.
iwpriv Command to set and retrieve private (as opposed to generic)
parameters for a wireless interface. Type “iwpriv ath0” for a
list of parameters. Type “iwpriv -—help” for the command
line format.
remountrw Command script from Fidelity Comtech to mount the flash-based
file system as read/write.
remountro Command script from Fidelity Comtech to mount the flash-based
file system as read only.
6.3 Changing the Root Password
When you first use the system, you should change the root password from the default of
“fci3000” to something only you know. To do this, perform the following steps:
1. Log in as root.
2. Mount the basic file system as read/write (normally the Phocus Array System runs
with its file system as read-only) by running the script “remountrw”.
3. Run the “passwd” command and provide the requested information.
4. Run the script “remountro” to return the file system to read-only state.

Phocus Array System Manual
Phocus Array System Manual (FCI-3000-UM 1.E)
39
6.4 Kismet
Kismet is a publicly available wireless sniffer that comes already loaded on the Phocus
Array System. The home page for Kismet is http://www.kismetwireless.net. To run
Kismet, perform the following steps:
1. Connect using SSH into the Phocus Array System as root and type /etc/init.d/kismet
start. This will start the Kismet server. This window must be left open (unless the
server is put into the background).
Note: When the server starts, the Phocus Array System will be put into monitor mode; and when
it quits, the Phocus Array System will stay in that mode. You must either reboot the
Phocus Array System or change the mode directly with the iwconfig command before it
will perform as an access point again.
2. Open a second SSH window into the Phocus Array System and type kismet_client.
This will start the client.
3. Type h to display the available commands. Be sure to scroll down to the bottom of
the page to see all the commands.
4. You can run a Kismet client on a separate system from the Phocus Array System –
this will allow you to capture or log all the packets (the Phocus Array System does
not have the memory necessary to do this). Once you have captured packets you can
play the packets back with a tool like Ethereal (http://www.ethereal.com). To do this,
you will have to find the client or build it from the source on your client system.

Phocus Array System Manual
Phocus Array System Manual (FCI-3000-UM 1.E)
40
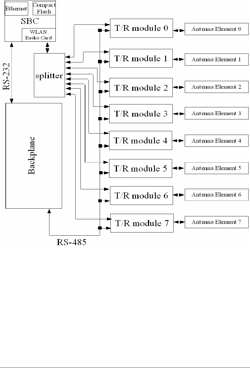
7 Hardware Platform Details
A block diagram of the Phocus system is shown in Figure 22. The system is comprised
of a single board PC with a flash file system and a wireless LAN card. The Phased array
subassembly connects to the antenna port of the wireless LAN card and uses the serial
port to send and receive commands.
A splitter, located between the WLAN card and the T/R modules, splits the signal from
the WLAN card into eight equal signals that are in phase. The splitter is a passive device
that splits the signals evenly apart when transmitting and combines them together when
receiving. Each of the eight outputs of the splitter is fed to the input of a T/R module.
The T/R module is responsible for applying the correct amplitude and phase to the signals
so that the desired beam is formed. Each of the eight antenna elements in the Phased
Array subassembly has a T/R module associated with it. Besides phase shifting, the T/R
module provides amplification during both transmission (high power amplification) and
reception (low noise amplification).

Phocus Array System Manual
Phocus Array System Manual (FCI-3000-UM 1.E)
41
Figure 22 – Internal System Block Diagram
The T/R modules are installed on a backplane that provides power and an RS-485 multi-
drop communications interface.
The single board computer (SBC) is a Soekris Net4511. This is a 100 MHz x86 class
processor based on the SC520 from AMD. It has 64MB of RAM. The Phocus software
executable normally ships on a 256MB Compact Flash card.
Each T/R Module includes a microcontroller that processes the commands from the
central CPU, applies a factory calibration factors, and converts them to analog readings
that set the phase and magnitude of the signal.

Phocus Array System Manual
Phocus Array System Manual (FCI-3000-UM 1.E)
42
There are two LEDs located on the T/R module. The bottom LED acts as a power
indicator. Once the T/R module microcontroller is powered up, the power LED is on.
The other LED acts as a synchronization indicator indicating communication between the
SBC and T/R modules.
The backplane provides the RS-232 to RS-485 conversion for the SBC to T/R modules
communication. The backplane also provides the location information for the T/R
modules. The T/R modules are numbered 0 through 7, which is based on the backplane
connection to the T/R module. This is necessary because each T/R module controls an
antenna element. The T/R module reads its number (0-7) based on its backplane
connection and then performs antenna element control based on this information. The
backplane provides power regulation for all T/R modules.
The wireless LAN card is an Atheros chipset based card in a mini-PCI format with the
driver based on the MADWiFi driver software.

Phocus Array System Manual
Phocus Array System Manual (FCI-3000-UM 1.E)
43
Appendix A - Detailed Description of the Phocus
Array Linux Software
Many aspects of the Phocus Array System Linux software will be familiar to anyone who
has experience with Linux systems. The Phocus system is simpler than many other
distributions in the sense that it has fewer daemons running than a typical graphics
workstation or server. This section describes the details of the configuration, user
accounts, and customizations delivered in this Linux-based system.
A.1 Distribution Ancestry
The Phocus Array System processor is running Linux, based on the Pebble Linux
distribution that is a variant of the Debian distribution. See http://www.debian.org for
some information on Debian Linux and http://nycwireless.net/tiki-
index.php?page=PebbleLinux for information on the Pebble distribution. Fidelity
Comtech has made substantial modifications to this distribution.
A.2 User Accounts
The Pebble distribution has user accounts typical of a GNU/Linux system. The ones that
are of special interest are root, kismet, and www-data.
• The root user is necessary for system administration and maintenance tasks. The
default root user password is fci3000. It is strongly recommended that you
modify this password immediately using good password techniques. Typical
administration and maintenance is performed via a SSH session over the wired
Ethernet interface.
• The kismet user is utilized when the Phocus system is placed in monitor mode.
All logging and server connections are made utilizing this user.
• The www-data user is for the Web management interface. All interactions via the
apache-ssl server are performed as this user.
A.3 File System
The filesystem is ext3 to provide a journaling filesystem for the compact flash card. The
filesystem is mounted read-only at startup with a small read-write partition (tmpfs) of
5MB for temporary files located at mount point /rw. There are two scripts, remountrw
and remountro, located in /usr/local/sbin to change the read-only filesystem to read-
write and read-only respectively.
A.4 Boot Processes
The boot process performs the same as a normal Pebble distribution until run-level 3 is
started. The run-level 3 startup scripts, found in /etc/rc3.d/, include:

Phocus Array System Manual
Phocus Array System Manual (FCI-3000-UM 1.E)
44
S10sysklogd
S11klogd
S20bridge
S20daemontools
S20ddclient
S20dhcp
S20inetd
S20makedev
S20snmpd
S20ssh
S41tr (FCI)
S60myroute (FCI)
S89cron
S91apache-ssl (FCI)
S92get_info (FCI)
S93proxyarp (FCI)
S94antenna (FCI)
S99rmnologin
The startup scripts marked (FCI) are created by Fidelity Comtech and differ from a
typical Pebble distribution startup.
The S41atheros script links to /etc/init.d/trmodules that enables the Fidelity
Transmit/Receive (T/R) modules that are part phased array antenna system.
The S60myroute script links to /etc/init.d/rc.myroute which sets up the iptables
configuration.
The S91apache-ssl script links to /etc/init.d/apache-ssl which starts apache-ssl
(http://www.apache-ssl.org). This allows for secure Web-based management of the unit.
The S92get_info script links to /etc/init.d/get_info which collects and formats system
information such as system software version and T/R module hardware revision for the
Status user interface web page.
The S93proxyarp script links to /etc/init.d/proxyarp which configures the network stack
to the correct proxy arp values. Proxy ARP is the technique in which one host, usually a
router, answers ARP requests intended for another machine. By "faking" its identity, the
router accepts responsibility for routing packets to the "real" destination.
The script S94antenna links to /etc/init.d/antenna which reads the state-based
information in the configuration file, configures the T/R modules with complete state
information, configures the scan interval, and configures the mode of the wireless driver.
The mode of the wireless driver indicates if the antenna direction/state is static or
dynamic. Dynamic mode enables the driver to transmit packets in the direction of the
intended target. The direction is determined by a scan process that occurs at the specified
scan interval. Static mode indicates that the phased array is pointing in a fixed direction

Phocus Array System Manual
Phocus Array System Manual (FCI-3000-UM 1.E)
45
and can only be changed manually. This is useful for “nomadic” networking application
where service in a specific geographic area is temporarily setup.
A.5 Packages
The following packages are used in support of the Phocus system
• adduser
• airsnort
• apache
• apache-common
• apache-ssl
• apt
• apt-utils
• base-files
• base-passwd
• bash
• binutils
• bridge-utils
• bsdutils
• cpp
• cpp-2.95
• cron
• daemontools
• ddclient
• debconf
• debianutils
• dhcp
• dhcp-client
• dhttpd
• diff
• djbdns
• dpkg
• e2fsprogs
• elvis-tiny
• esound-common
• ethereal
• ethereal-commo
• exim
• fileutils
• findutils
• ftp
• gcc
• gcc-2.95
• gdk-imlib1
• gnome-bin
• gnome-libs-dat
• gnupg
• grep
• gzip
• host
• hostname
• ifupdown
• imlib-base
• iproute
• iptables
• kernel-image-2
• kismet
• klogd
• libart2
• libaudiofile0
• libc6
• libc6-dev
• libcap1
• libdate-manip-
• libdb1-compat
• libdb2
• libdb3
• libdigest-md5-
• libesd0
• libexpat1
• libfreetype6
• libgdbmg1
• libglib1.2
• libgnome32
• libgnomesuppor
• libgnomeui32
• libgnorba27
• libgnorbagtk0
• libgtk1.2
• libgtk1.2-comm
• libhtml-clean-
• libhtml-parser
• libhtml-tagset
• libhtml-tree-p
• libident
• libjpeg62
• libldap2
• liblockfile1
• libmime-base64
• libncurses5
• libnet-perl
• libnewt0
• liborbit0
• libpam-modules
• libpam-runtime
• libpam0g
• libparse-yapp-
• libpcap0
• libpcre3
• libpng2
• libpopt0
• libreadline4
• libsasl7
• libsnmp-base
• libsnmp4.2
• libssl0.9.6
• libssl0.9.7
• libstdc++2.10-
• libstorable-pe
• libtiff3g
• libungif4g

Phocus Array System Manual
Phocus Array System Manual (FCI-3000-UM 1.E)
46
• liburi-perl
• libwrap0
• libwww-perl
• libxml-dom-per
• libxml-libxml-
• libxml-namespa
• libxml-node-pe
• libxml-parser-
• libxml-perl
• libxml-regexp-
• libxml-sax-exp
• libxml-sax-per
• libxml-simple-
• libxml-xpath-p
• libxml-xql-per
• libxml-xslt-pe
• libxml2
• lilo
• linux-kernel-h
• login
• logrotate
• lsof
• lynx
• mailx
• make
• makedev
• mawk
• mime-support
• minicom
• modutils
• mount
• nano
• ncurses-base
• ncurses-bin
• net-tools
• netbase
• netkit-inetd
• netkit-ping
• nmap
• ntpdate
• openssl
• passwd
• pciutils
• pcmcia-cs
• perl
• perl-base
• perl-modules
• ppp
• pppoe
• procps
• psmisc
• rsync
• sed
• shellutils
• slang1
• snmp
• snmpd
• ssh
• sudo
• sysklogd
• sysvinit
• tar
• tcpd
• tcpdump
• telnet
• textutils
• traceroute
• util-linux
• wget
• whiptail
• wireless-tools
• xfree86-common
• xlibs
• zebra
• zlib1g
To determine the version of each package, type the command in an SSH session:
dpkg –s <package_name>
Where package name is from the list above.

Phocus Array System Manual
Phocus Array System Manual (FCI-3000-UM 1.E)
47
Appendix B - Default Passwords and IP
Parameters
Default SSH interface login:
user: root
password: fci3000
Default Web Client login:
user: admin
password: admin
Default Wired Interface (eth0) IP Address parameters:
Table 4 – Default Wired Interface IP
Address Parameters
IP Address 192.168.1.1
Netmask 255.255.255.0
Gateway <nil>
Default Wireless Interface (ath0) IP Address parameters:
Table 5 – Default Wireless Interface IP
Address Parameters
IP Address 192.168.2.1
Netmask 255.255.255.0
Gateway <nil>

Phocus Array System Manual
Phocus Array System Manual (FCI-3000-UM 1.E)
48
Appendix C - Contact Information
Fidelity Comtech, Inc
2400 Trade Centre Ave.
Longmont, Colorado, 80503, USA
General Information and Support: 303.678.8876
Fax 303.362.7545
Email: support@fidelity-comtech.com