User Manual
Welcome
Thanks for purchasing this Action Camera
Please read this instruction manual to ensure correct use of
the product prior to use.
Please keep this instruction manual in a safe place.
Please ensure that the sales store fills out the warranty with
the date of purchase and the name of the store.
The warranty does not cover any damage that may occur
during a sport activity. It is the users responsibility to
secure the action cam securely to any sport equipment.
Contents
What’s in the Box
How to use
Action Camera Overview
Initial Set Up
Charging The Battery
Power on/off Your Action Camera
Card Slot Empty
APP Settings
Micro SD card Storage Chart
Basic Settings Via SETTINGS.TXT File
Take a Video
Take Still Pictures
Playback on your computer
On a Mac
LED Status Table
Removing/Installation Battery
LED Status
Wi-Fi Built In
Repairs
Technical Specifications
Warranty

What’s In The Box
1. Camcorder with Sound Cap (water resistant)
2. Camcorder Mount
3. Universal Mount
4. Roll Bar Mount
5. Curved Mount
6. Battery
7. USB Cable
8. Adhesive Stickers 5pcs
9. Magic Tape 2pcs
10. Hand Safety Strap
11. User Manual
12. Waterproof Cap
13. Rubber O-ring 6pcs
14. Silicon Grease

How to use
1. Camera on handlebar
2. Camera on vented helmet
3. Camera on top of helmet / any curved surface
4.Camera on any flat surface / tripod

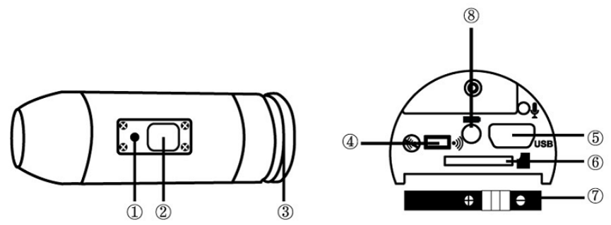
Action Camera OVERVIEW
① LED ② Power / Shutter ③ Rear Cap ④ WiFi OFF/WiFi On
⑤ USB ⑥ Micro SD Card Slot ⑦ Battery ⑧ Battery Charging LED
Initial Set Up
1. Make sure the Action Camera is OFF before adding or removing the
memory card!
2. Screw out the rear cap (open) located at the back of the Action
Camera ③.
3. Install a micro SD memory card (max up to 128GB(FAT32) into the
rear slot. To insert the micro SD card, slide the micro SD card into the
card slot on the back of the Action Camera with the card label facing
down. The micro SD card will click into place once it is inserted past
flush with the Action Camera. Use your fingernail to do this. Then
screw in the rear cap till is complete lock.
4. If no micro SD memory is inserted in the Action Camera, the LED on
top of the camera will blink red and blue.
5. When using a micro SD memory card in the Action Camera, there
should be no data from other devices on the card. If you are using a
micro SD memory card for the first time in the Action Camera, first you
should format the card in your computer.

Using Action Camera for Water Sports
Remind you to put some silicon grease to the rubber O-ring from time to
time, especially before using underwater. Make sure the rear cap ③ was
closed tight.
Charging The Battery
Screw out the rear cap located at the rear of the camera ③ and Plug the USB charger to
the camera. The charging LED⑧ is on while charging, goes off when the battery is fully
charged. On the first use charge the battery 10 hours before use! You can record up to 90
minutes with one charge.
Power on/off Your Action Camera
Turn Action Camera On Turn on the Action Camera by pressing the
Power/Shutter button ② for at least 3 seconds until the
blue LED turns on. The camera will vibrate once long.
After releasing the button the red LED flashes and beep
three times, indicating that the Action Camera is in
standby mode.
Turn Action Camera Off Turn the Action Camera off by pressing the
Power/Shutter button ② in standby mode until the red
LED flashes. The Action Camera will short vibrate twice
and beep 6 times and will switch off.
Card Slot Empty
If there is no Micro SD card in the camera, the red and red LED will
flash for 15 seconds. Then, the camera will switch off automatically.
Friendly reminder: Please insert the Micro SD card before using the
camera!

APP Settings
Video Resolution
4K@24fps
1080P@60fps (defaut)
1080P@30fps
720P@60fps
720P@30fps
Time Lapse
Off(default)
1 frame per second
1 frame per 2 second
1 frame per 5 second
1 frame per 10 second
1 frame per 30 second
1 frame per 60 second
Loop Record Off (defaut)
ON
Video time
3min
5min (defaut)
10min
15min
30min(4K\1080P@60fps)
Audio Record Off
ON (defaut)
Auto Recording Off
ON (defaut)
Date Stamp Off (defaut)
ON
Image Size 12M 4032x3024
5M 2593x1944 (defaut)
Quality Fine (defaut)
Good
Normal

Default Setting OK
Cancel
Auto Power Off
Off
3min (defaut)
5min
10min
Wi-Fi Name
Reset Password
Version
Remember to insert a micro SD card before you start taking videos or pictures!
Basic Settings Via SETTINGS.TXT File
You can also change the settings via the SETTINGS.TXT file, the file
will be created automatically on the micro SD sard after the camera is
turned ON

Take a Video
Turn on the Action Camera by pressing the Power button ②. Connect
the Action Camera to your smartphone via WiFi. Use “Action Camera”
APP to set to Photo Mode. Then, you can use APP to start taking
photos now. Or press the Power/Shutter Button ② shortly to start a
video recording. The red LED will blink while the video is recording.
Press the Power/Shutter Button ② again to stop recording.
Take Still Pictures
Turn on the Action Camera by pressing the Power button ②.
Press the Power/Shutter ② button to start taking photos, the red LED
will blink and it will beep once. Press the Power/Shutter button ② again
and it will beep twice to stop taking photos and to go back to the
standby mode.
In photo mode the Action Camera will take sequentially photos every 3
seconds. It stops automatically if the battery is empty or if the micro SD
card is full.

Playback On Your Computer
Power on the Action Camera and connect with your computer via
USB cable from the USB port ⑤. The camera will be recognized
automatically as USB Device. Or you can take out the micro SD
card and use your own card reader to connect with your computer
too.
The device must be power on while connected with
computer for data download. Don’t remove the
battery!
When you remove the battery while the video is
playing, damage to your video data could occur!
Don’t remove the USB cable under “Mass Storage”
status! Please switch off the camera before removing
the USB cable!
On a MAC
Simply plug the Action Camera into your MAC with the included USB
cable, turn your Action Camera on, and the MAC OS will recognize the
Action Camera as an external hard drive.
IMPORTANT TIP FOR MAC USERS
When deleting files from your Micro SD cards you must empty the trash
before removing it or unplugging the Action Camera. If you do not

empty your trash the photos and videos files will not be completely
erased from your cards.
Removing/Installation Battery
The battery is designed to have a very tight fix to maximize reliability in
high vibration activities. To remove the battery, pull it out with the
battery holder.
It is intentionally not easy to do, but the battery will come out.
Additional batteries and mount packages are available at www.Action
Camera.us
LED Status
REMARKS:
THE SPECIFICATION IS SUBJECT TO CHANGE WITHOUT NOTICE.

Repairs
Since most helmet cameras are used for recording extreme sports
or outdoors activity. Like this and you will probably end up with a
broken camera which warranty does not cover any damage that
may occur during a sport activity.
Check with us before giving up on your Action Camera!
http://www.Action Camera.us/repairs/
You might be able to fix your Action Camera even if you think they
are broken and beyond hope. We're the great problem-solvers, and
you are able to fix at home whatever is possible to repair your
Action Camera with your hands.
We want to help you get the full value from your camcorder; there
are tutorial videos to show you how to repair your cam at our
YouTube channel, http://www.youtube.com/Action Cameracam
This is easy and simply! We are users too!
Technical Specifications
Optics:
• WIDE ANGLE view
• f/2.0, fixed focus glass lens
Video:
• Resolution Settings: 4K: 3840x2160 @ 24fps
• Full HD Resolution Settings: 1080p: 1920x 1080 @ 60/30fps
• HD Resolution Settings: 720p: 1280 x 720 @60/30fps
• Sensor Type: 1 / 3” HD CMOS
• Light Sensitivity: 1.4 V/lux-sec (550nm)
• Video Format: MJPG codec, .MOV file format
• Exposure Control : Auto
• White Balance: Auto
Audio:
• Built-in microphone
Photo:
• Resolution: 2592 x 1944
• Camera: 5.0 Mega Pixels
• Format: JPEG
• Capture mode: Auto snap shot every 3 seconds
Storage:
• Memory: Micro SD card, up to 128GB capacity (no included)
(recommended Class 6 or above)
• Avg. Record Time: 10~15min/GB
Product size: 104 x 32 x 32 mm
Weight: 104g
Operating System (for USB drive):
Win ME, 2000, XP, Vista, Win 7, Win 8; Mac OS X 10.6+
Warranty:
Your Action Camera Wearable Sports Camcorder is covered by a
365 days Limited Warranty on parts and labor from the date of

original purchase, and purchases must be made through an
authorized dealer. The warranty covers defects in workmanship and
materials. The warranty does not apply to units, which have been
damaged or abused intentionally or unintentionally. Purchase from
individuals or unauthorized internet sites voids the warranty. The
warranty does not apply to units where the rear cap was incorrect
closed.
Tampering with or altering the unit will void the warranty. Any
unauthorized service will void the warranty. Original sales receipt
must be produced for any warranty service and a return
authorization must be obtained from our customer service points.
The warranty does not cover any damage that may occur during a
sport activity. It is the users responsibility to secure the Action
Camera securely to any sport equipment.
Warning:
The form and functions of ACTION CAMERA, accessories, logos,
and all graphics are the patented, protected property of Silver
Creation International Ltd. Any attempt by anyone other than our
authorized dealers to copy or reproduce any of the above without
permission of SCi will be met with legal action. SCi products are
available for purchase only from authorized dealers.

Technical changes and mistakes reserved!
Due to rapid technical development, products are under constant changes /
improvements
- please check www.Action Camera.us for current updates.


Environmental friendly
Let’s do something for our planet!!
Please download the drivers & software from
our official webpage:
www.Action Camera.us

Warning Statement
This device complies with part 15 of the FCC Rules. Operation is subject to the
following two conditions: (1) This device may not cause harmful interference, and (2)
this device must accept any interference received, including interference that may cause
undesired operation.
Any Changes or modifications not expressly approved by the party responsible for
compliance could void the user's authority to operate the equipment.
Note: This equipment has been tested and found to comply with the limits for a Class B
digital device, pursuant to part 15 of the FCC Rules. These limits are designed to
provide reasonable protection against harmful interference in a residential installation.
This equipment generates uses and can radiate radio frequency energy and, if not
installed and used in accordance with the instructions, may cause harmful interference
to radio communications. However, there is no guarantee that interference will not
occur in a particular installation. If this equipment does cause harmful interference to
radio or television reception, which can be determined by turning the equipment off and
on, the user is encouraged to try to correct the interference by one or more of the
following measures:
-Reorient or relocate the receiving antenna.
-Increase the separation between the equipment and receiver.
-Connect the equipment into an outlet on a circuit different from that to which the
receiver is connected.
-Consult the dealer or an experienced radio/TV technician for help.
The device has been evaluated to meet general RF exposure requirement. The device
can be used in portable exposure condition without restriction.