Fisher And Paykel 818S Users Manual 599033 Dishwasher 918TD Parts
918TD to the manual 490f5186-4b55-4091-b734-044203315260
2015-02-02
: Fisher-And-Paykel Fisher-And-Paykel-818S-Users-Manual-406054 fisher-and-paykel-818s-users-manual-406054 fisher-and-paykel pdf
Open the PDF directly: View PDF
.
Page Count: 21

Dishwashers
MODELS
918TD
818S
599033
MANUAL 599084
2
MANUAL 599033 February 1998 Reprinted 12 June 2002
Fisher & Paykel Customer Services
PO Box 798
19 Enterprise St
Cleveland, Queensland 4163
Australia
Tel: (07) 3826 9122
Fax: (07) 3826 9164
Email: parts@fp.com.au
A.C.N 003 335 171
COPYRIGHT FISHER & PAYKEL LTD 2002 3
PRODUCTS
Brand Fisher & Paykel
Voltage 220-240V 50Hz
Model Code
818S 87371 88209
918TD 87351 87378 87426 87477 87478 87479 87480 88205 88217
88218
MANUAL 599084
4

MANUAL 599033
GUIDE TO USING THIS MANUAL
The model(s) and/or series covered by this manual are listed on the front cover.
The information detailed in this manual is subject to change without notice, the latest version is
indicated by the reprint date and replaces any earlier editions.
The front cover picture shows the type of product and may not necessarily be an exact image of the
models covered by the manual.
Part References
Where a Model is shown, the part is exclusive to the Model(s) stated. Common parts relating to a part
reference are applicable to all other Model(s) which use the particular item.
Kit Parts
The components shown in italics are those parts in the kit which are available also as separate items. In
addition, some parts may be supplied with this kit which are not available as separate items and are
therefore not listed in this manual.
All details relating to Technical Bulletins or Notes are shown on a dedicated page. The Technical
Bulletin Number shown relates to the bulletin version which is produced for New Zealand Service
Centres.
Parts List Key
NOT USED As a part, indicates the diagram part reference is not used in this manual.
# Beside the part number, indicates the part is no longer available.
italics Kit components shown in italics are also available separately.
* Indicates a technical bulletin or note exists for the part or part reference.
NI As a part reference, indicates the part is not illustrated on the diagram.
5
CONTENTS
DOOR PANELS AND CONTROLS..........................................................................................................................................6
CABINET..................................................................................................................................................................................10
BASE AND COMPONENTS...................................................................................................................................................14
SUMP AND PUMPS ................................................................................................................................................................16
BASKETS.................................................................................................................................................................................18
NOTES......................................................................................................................................................................................21

MANUAL 599033
6
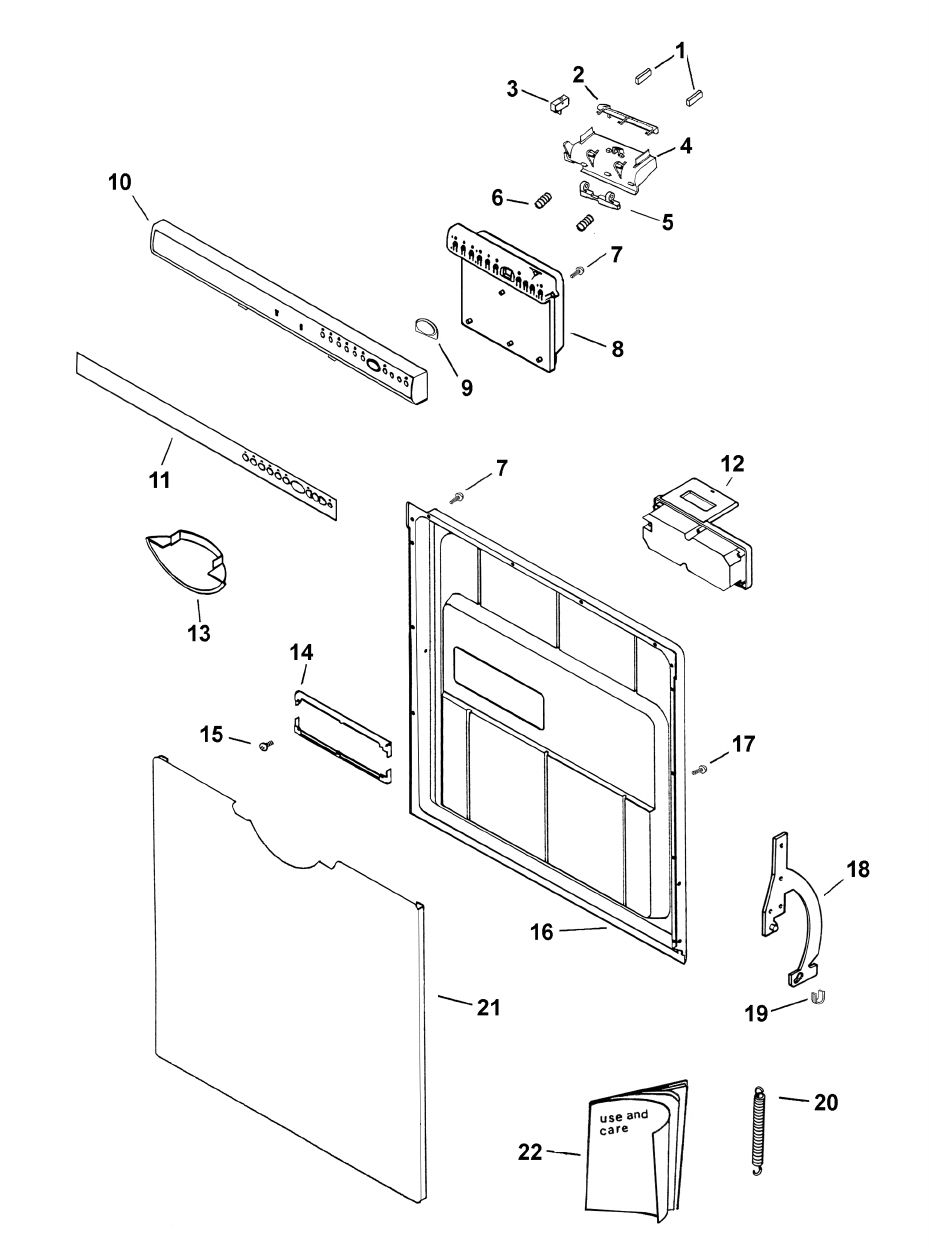
DOOR PANELS AND CONTROLS
MANUAL 599033
7
DOOR PANELS AND CONTROLS
REF PART DESCRIPTION MODEL
1 521089 STOP LATCH
2 521559 LEVER MICROSWITCH
3 521563 MICROSWITCH
4 521558 LATCH HANDLE
521710 LATCH HANDLE BLACK
5 521065 PIVOT LATCH 3887
6 521047 SPRING LATCH 3887
7 556068 SCREW ST K35 X 13 PT MTS TX SS
8 521560 CONTROLLER CONSOLE REBUILT/EXCHANGE 818S
521554 CONTROLLER CONSOLE REBUILT/EXCHANGE 918TD
9 521556 LENSE INSERT TIMER 918TD
10 521564 HANDLE MOULDING 818 818S
521557 HANDLE MOULDING 918 918TD
521713 HANDLE MOULDING BLACK 918TD
11 521680 INSERT HANDLE F&P 818S WW 818S
521677 INSERT HANDLE F&P 918TD WW 918TD
521711 INSERT HANDLE FP 918TD BK HP40 918TD
12 * 521269 DISPENSER D/RA ELTEK 100418.46
521322 LID ELTEK 25.0567.00
521323 O RING ELTEK 26.0163.00
521324 THERMO ACTUATOR ELTEK 10033130
521325 CAP FILLER ELTEK 25.0568.00
521326P LATCH & O RING
521327 O RING ELTEK 26.0164.00
13 521011 RECESS LATCH WHITE
521714 RECESS LATCH BLACK
14 521270 BRACKET FIXING ELTEK 100348.02
15 556086 SCREW ST 3.5X12.7 PLAS PNPZ ZP
16 521275 DOOR INNER PANEL SOUND DEADEND
17 556007 SCREW ST 8X12MM TA MTS PH SS
18 521357 KIT HINGE QUADRANT (RIVET) LH
521358 KIT HINGE QUADRANT (RIVET) RH
19 404045 GROMMET HINGE QUADRANT
20 521565 SPRING HINGE
21 521250 DOOR OUTER PANEL SOUND DEADEND
521702 DOOR OUTER PANEL SS (FORMED)
521719 DOOR OUTER PANEL BLACK(FORMED)

MANUAL 599033
8
DOOR PANELS AND CONTROLS
MANUAL 599033
9
DOOR PANELS AND CONTROLS
REF PART DESCRIPTION MODEL
22 521675 BOOK USE & CARE 918
NI 521679 LABEL WIRING DIAGRAM 918
NI 521676 CARD INSTAL INSTR 918/818/718
NI 571972 CARD WARRANTY (NEW ZEALAND)
NI 473664 CARD WARRANTY F&P AU

MANUAL 599033
10
CABINET
MANUAL 599033
11
CABINET
REF PART DESCRIPTION MODEL
1 473555 GUSSET GASKET CORNER RH
473556 GUSSET GASKET CORNER LH
2 388353 RETAINER GASKET UPPER
3 388370 RETAINER GASKET RH
388371 RETAINER GASKET LH
4 556007 SCREW ST 8X12MM TA MTS PH SS
5 473543 GASKET DOOR DW
6 521053 GASKET SOUND
521704 GASKET SOUND BLACK
7 521577 WRAPPER CABINET WHITE
8 521584 BRACKET CABINET REAR
9 611979P SCREW ST 8X3/8 TAB MUSH PH X10
10 521595 PANEL REAR 918TD
11 521542 CLAMP WIRE
12 521691 SENSOR ASSY TEMPERATURE 918
13 521548 FLAP FLOOD
14 521003 HINGE PLATE PRESSING
15 556045 SCREW MC M5X8 PAN PH MS NP
16 521193 GUIDE QUADRANT GREY
17 521090 BUFFER FRAME
18 556505 WASHER 5.3 15.0 BONDED SS/RUBR
19 521187 ROLLER TUB GREY
20 388245 ROLLER STUD TUB
21 521290 TONGUE LATCH 3887
22 556070 SCREW MC M5X12 PAN PH SS
23 556520 WASHER M5 13 20G 304 SS
24 388255 PLATE TAPPING
25 556094 SCREW MC M5X25 PAN PZ MS ZNPL
26 556511 WASHER LOCK 3/16 EXT SER ST BU
27 461571 TERM EARTH H1889ET
28 556105 NUT M5 HEX FS MS NIPL
29 521620 ELEMENT 918 U-4487
30 521381 ELEMENT GASKET 913
31 521389 ELEMENT RETAINING PLATE 913
32 556510 WASHER LOCK 6MM INT SERR ST BU
556516 WASHER SPRING 6MM ST ZNPL
33 556113 NUT 1/4UNC HEX FS MS NIPL

MANUAL 599033
12
CABINET
MANUAL 599033
13
CABINET
REF PART DESCRIPTION MODEL
34 521582 PIN SERVICE PANEL TOP
35 521581 PANEL SERVICE WHITE
521709 PANEL SERVICE SS
521715 PANEL SERVICE BLACK
36 521583 CLIP SERVICE PANEL
37 521578 PANEL DECORATIVE WH (SERVICE)
521705 PANEL DECORATIVE SS (SERVICE)
521718 PANEL DECORATIVE BK (SERVICE)
38 521579 ENDCAP DECOR PANEL RH WHITE
521580 ENDCAP DECOR PANEL LH WHITE
521716 ENDCAP DECOR PANEL LH BLACK
521717 ENDCAP DECOR PANEL RH BLACK
39 556011 SCREW ST 8X12MM TAB MTS PH NP
40 556104 NUT M4 HEX FS MS NIPL
41 556513 WASHER LOCK 5/32 EXT SER ST BU
42 556018 SCREW MC M4X8 HEX PH MS NP
NI * 521724 KIT SOUND DEADENING 918
521528 BLANKET SERVICE PANEL
521529 BLANKET CHASSIS
521596 BLANKET INNER DOOR

MANUAL 599033
14
BASE AND COMPONENTS
MANUAL 599033
15
BASE AND COMPONENTS
REF PART DESCRIPTION MODEL
1 521100 GAUZE FILL VENT
2 521616 FILL VENT WELDED ASSY
3 473677 CLAMP HOSE HERBIE TYPE F
4 521107 HOSE FILL LONG 3887
5 521033 SEAL FILL VENT
6 521032 CAP FILL VENT
7 * 422680 HOSE INLET LONG (2M)
521348 HOSE INLET ASSY WIRSBO HOT
521349 HOSE INLET ASSY WIRSBO COLD
8 400704A SEAL CONNECTOR PKT 2
9 521545 VALVE INLET 5L ELTEK 100500.13
10 521532 CHASSIS BASE
11 556036 SCREW ST 8X10MM TAB MTS PH NP
12 521536 FOOT HOUSING
13 521537 FOOT
14 521692 RFI FILTER 918 918TD
15 556037# SCREW ST 8X5/8 TAB PAN PH HS NIPL
16 525941 SWITCH FLOOD UL REC US
521539 SWITCH FLOOD FLOAT
17 521374 THERMOSTAT O/HEAT 85C AUTO RST
18 521371 CAPACITOR
19 473608 FLEX ASSY MAINS 10A 3886/7
NI * 422753 FILTER INLET

MANUAL 599033
16
SUMP AND PUMPS
MANUAL 599033
17
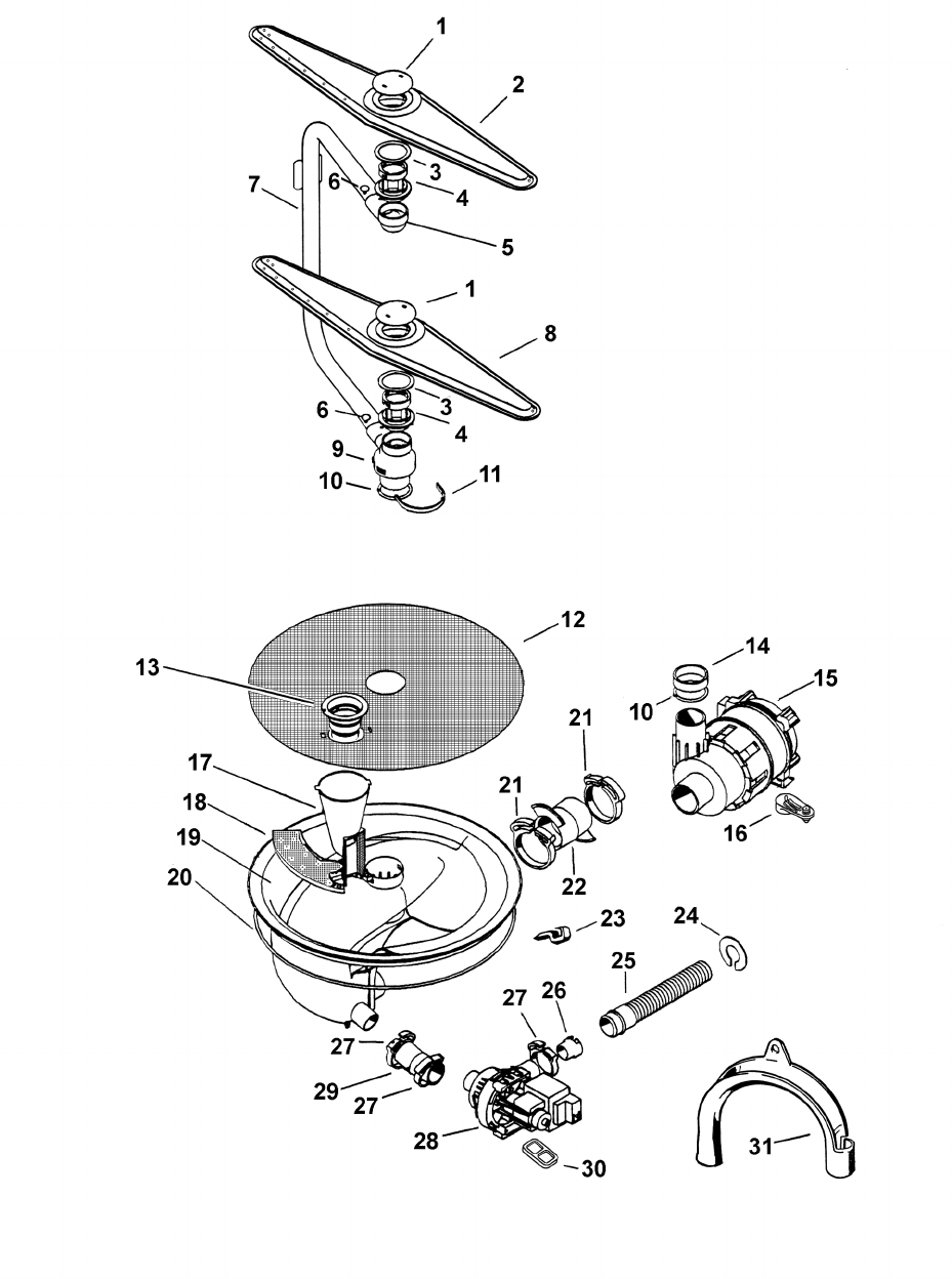
SUMP AND PUMPS
REF PART DESCRIPTION MODEL
1 521055 RETAINER SPRAY ARM
2 521068 TOP SPRAY ARM ASSY
3 521360 WASHER SPRAY ARM BEARING
4 521035 BEARING SPRAY ARM
5 521516 TOP TRANSITION
6 521015 PIN LOCKING
7 521603 PLUMBING W/ASSY (PURCHASED)
8 521067 BOTTOM SPRAY ARM ASSY
9 521515 FLOW DIVIDER
10 521071 O RING WASH PUMP/FLOW DIVIDER
11 521036 CLIP FLOW DIVIDER
12 521014 PLATE FILTER 3887
13 521185 STRAINER GREY
14 521723 SPACER WASH PUMP OUTLET SHORT
15 521506 PUMP WASH HANNING CP 35-110
16 * 521695 MOUNT WASH PUMP RUBBER
17 521056 FUNNEL FILTER
18 521509 LABYRINTH PLATE
19 521617 SUMP MOULDING 918
20 473816 O RING SUMP
21 473641 CLAMP HOSE HERBIE TYPE S
22 * 521610 HOSE WASH PUMP INLET
23 388898 WEDGE SUMP
24 473347 COLLAR DRAIN HOSE
25 473345 HOSE DRAIN
521287 HOSE DRAIN LONG (SPARES ONLY)
26 521084 VALVE NON RETURN ASSY
27 473678 CLAMP HOSE HERBIE TYPE M
28 521505 PUMP DRAIN HANNING DPS25-019
29 521508 HOSE DRAIN PUMP OUTLET
30 521543 MOUNT DRAIN PUMP RUBBER
31 473352 SUPPORT DRAIN HOSE

MANUAL 599033
18
BASKETS
MANUAL 599033
19
BASKETS
REF PART DESCRIPTION MODEL
1 521176 RACK GLASS RETAINING GREY
2 521175 BASKET ASSY TOP CROCK 3887 GY
3 521337 AXLE STUB GREY
4 521191 ROLLER BASKET GREY
5 521332 CAP RAIL TOP BASKET GREY
6 521373 RAIL TOP BASKET
7 521172 CUTLERY BASKET ASSY 3887 GREY
8 521171 DIVIDER CUTLERY BASKET GREY
9 521179 BASKET INSERT ASSY BACK GREY
10 521177 BASKET ASSY LOWER 3887 GREY
11 521178 BASKET INSERT ASSY FRONT GREY
12 521181 ROLLER LOWER BASKET 3887 GREY
MANUAL 599033
20
MANUAL 599033
21
NOTES
DOOR PANELS AND CONTROLS
Technical Bulletins
521269 DW55
CABINET
Technical Bulletins
521724 DW80
BASE AND COMPONENTS
Notes
7 422680 hose and 422753 filter ONLY used on Product 87480
990 422680 hose and 422753 filter ONLY used on Product 87480
SUMP AND PUMPS
Technical Bulletins
16 DW78
521610 DW79