Fluke 287 True Rms Users Manual
2015-09-09
: Fluke Fluke-287-True-Rms-Users-Manual-805391 fluke-287-true-rms-users-manual-805391 fluke pdf
Open the PDF directly: View PDF
.
Page Count: 90
- 287/289 Bruksanvisning
- Innledning
- Ta kontakt med Fluke
- Opplysninger om sikkerhet
- Farlig spenning
- Symboler
- Funksjoner
- Styre strømmen til måleinstrumentet
- Velge måleområde
- Kort om funksjonsmenyer
- Funksjonen Input Alert™
- Bruke informasjonsknappen
- Modusen Hold og AutoHold
- Måle amplitudefaktor
- Innhente minimums- og maksimumsverdier
- Innfange toppverdier
- Lavpassfilter (bare modell 289)
- Foreta relative målinger
- Foreta Målinger
- Måle AC-spenning
- Bruke LoZ for spenningsmåling (bare modell 289)
- Foreta dB-målinger
- Måle DC-spenning
- Måle AC- og DC-signaler
- Temperaturmåling
- Bruke (-funksjonen (bare modell 289)
- Teste for kontinuitet
- Bruke konduktans for testing av høy motstand
- Måle kapasitans
- Teste dioder
- Måle strøm
- Måle frekvens
- Måle driftssyklus
- Måle pulsbredde
- Endre oppsettalternativer for måleinstrumentet
- Tilbakestille oppsettalternativer for måleinstrumentet
- Innstille skjermkontrast
- Innstille måleinstrumentets språk
- Innstille dato og klokkeslett
- Innstille tidsavbrudd for skjermbelysning og automatisk avslåing
- Innstille en egendefinert dBm-referanse
- Deaktivere og aktivere lydsignalet
- Aktivere og deaktivere utjevningsmodusen
- Bruke andre konfigurasjonsvalg
- Bruke minne
- Registrere måledata
- Bruke kommunikasjon
- Feilmeldinger
- Vedlikehold
- Hvis det oppstår problemer
- Service og deler
- Generelle spesifikasjoner
- Detaljerte spesifikasjoner
- Spesifikasjoner for AC-spenning
- Spesifikasjoner for AC-strøm
- Spesifikasjon for DC-spenning
- Spesifikasjoner for DC-strøm
- Spesifikasjoner for motstand
- Spesifikasjoner for temperatur
- Spesifikasjoner for kapasitans- og diodetest
- Spesifikasjoner for frekvensteller
- Sensitivitet for frekvensteller
- MIN MAX, registrering og toppunkt spesifikasjoner
- Inngangskarakteristikker
- Spenningsfall (A, mA, μA)

®
287/289
True-rms Digital Multimeters
Bruksanvisning
June 2007, Rev. 2, 3/09 (Norwegian)
© 2007, 2008, 2009 Fluke Corporation. All rights reserved. Specifications subject to change without notice.
All product names are trademarks of their respective companies.

Livsvarig begrenset garanti
Hver DMM i Fluke-serien 20, 70, 80, 170, 180 og 280 bærer livstidsgaranti mot mangler i materiale og utførelse. Begrepet "livstid" betyr sju år etter at Fluke
slutter å produsere produktet, men garantiperioden skal omfatte minst ti år fra kjøpedatoen. Denne garantien dekker ikke sikringer, engangsbatterier og skade
som følge av forsømmelse, misbruk, kontaminering, endringer, uhell eller unormale driftsforhold eller unormal håndtering, innbefattet feil som skyldes bruk
utover produktets spesifikasjoner eller normal slitasje på mekaniske deler. Garantiendekningen gjelder bare for opprinnelig kjøper, og kan ikke overføres.
Denne garantien dekker også LCD-skjermen i ti år fra kjøpedataoen. Fluke vil deretter erstatte LCD-skjermen mot en avgift, basert på den aktuelle
anskaffelseskostnaden for den aktuelle komponenten, for hele levetiden til DMM.
Fyll ut og returner registreringskortet som følger med produktet, for å fastslå opprinnelig eierforhold og bevise kjøpedatoen. Registrer deretter produktet på
http://www.fluke.com.
Fluke vil, etter egen vurdering, reparere gratis, erstatte eller refundere kjøpeprisen av et defekt produkt som er kjøpt gjennom et av Flukes autoriserte
utsalgssteder til gjeldende internasjonale pris. Fluke reserverer seg retten til å ta betalt for importkostnader av reservedeler hvis produktet, som er kjøpt i ett
land, sendes til reparasjon i et annet.
Ta kontakt med nærmeste autoriserte Fluke-servicesenter for å få informasjon om returautorisasjon hvis produktet er defekt, og send deretter produktet til det
aktuelle servicesenteret med en beskrivelse av problemet og frakt og forsikring betalt (FOB bestemmelsesstedet). Fluke påtar seg intet ansvar for
transportskader. Fluke vil betale returfrakt for produkter som er reparert eller byttet innenfor garantiperioden. Fluke vil beregne kostnadene og få bekreftelse
før det blir utført eventuelt arbeid som ikke dekkes av garantien. Deretter blir kunden fakturert for reparasjon og returfrakt.
DENNE GARANTIEN ER KUNDENS ENESTE OPPREISNING. INGEN ANDRE GARANTIER, SOM FOR EKSEMPEL ANVENDELIGHET TIL ET BESTEMT FORMÅL, ER
UTTRYKT ELLER UNDERFORSTÅTT. FLUKE ER IKKE ANSVARLIG FOR EVENTUELLE SPESIELLE, INDIREKTE, TILFELDIGE ELLER KONSEKVENSSKADER
ELLER TAP, INKLUDERT TAP AV DATA, SOM FØLGE AV EVENTUELL ÅRSAK ELLER TEORI. GODKJENTE FORHANDLERE HAR INGEN FULLMAKT TIL Å LEGGE
TIL EVENTUELLE ANDRE GARANTIER SOM FLUKE SKAL VÆRE ANSVARLIG FOR. Siden noen stater ikke tillater utelatelser eller begrensninger av en garanti
eller av tilfeldige skader eller konsekvensskader, er det mulig at denne ansvarsbegrensningen ikke gjelder for alle kunder. Hvis noen av forutsetningene i
denne garantien ansees å være ugyldige eller umulig å håndheve av en rett eller annen myndighet i rettmessig rettskrets, vil slik holding ikke ha innvirkning på
gyldigheten eller håndhevelsen av noen av de andre bestemmelsene.
Fluke Corporation
P.O. Box 9090
Everett, WA 98206-9090
U.S.A.
Fluke Europe B.V.
P.O. Box 1186
5602 BD Eindhoven
The Netherlands
5/07
i
Innholdsfortegnelse
Tittel Side
Innledning....................................................................................................................... 1
Ta kontakt med Fluke..................................................................................................... 1
Opplysninger om sikkerhet............................................................................................. 1
Farlig spenning............................................................................................................... 3
Symboler ........................................................................................................................ 4
Funksjoner ..................................................................................................................... 5
Kort om knappene ..................................................................................................... 5
Bruke automatisk gjentakelse.................................................................................... 6
Kort om skjermen ...................................................................................................... 7
Søylediagram........................................................................................................ 8
Elementer på statuslinjen...................................................................................... 9
Sideområde .......................................................................................................... 9
Programtastetiketter ............................................................................................. 9
Justere skjermkontrast.......................................................................................... 9
Kort om dreiebryteren................................................................................................ 10
Bruke inngangsterminaler.......................................................................................... 11
Styre strømmen til måleinstrumentet.............................................................................. 12

287/289
Bruksanvisning
ii
Slå måleinstrumentet av og på manuelt .................................................................... 12
Batterinivåindikator.................................................................................................... 12
Automatisk utkobling................................................................................................. 12
Batterisparing............................................................................................................ 13
Styre skjermbelysningen........................................................................................... 13
Velge måleområde......................................................................................................... 13
Kort om funksjonsmenyer .............................................................................................. 14
Funksjonen Input Alert™ ............................................................................................... 15
Bruke informasjonsknappen .......................................................................................... 15
Modusen Hold og AutoHold ........................................................................................... 15
Måle amplitudefaktor...................................................................................................... 16
Innhente minimums- og maksimumsverdier .................................................................. 16
Innfange toppverdier...................................................................................................... 18
Lavpassfilter (bare modell 289)...................................................................................... 20
Foreta relative målinger ................................................................................................. 21
Foreta Målinger.............................................................................................................. 22
Måle AC-spenning..................................................................................................... 22
Bruke LoZ for spenningsmåling (bare modell 289) ................................................... 23
Foreta dB-målinger ................................................................................................... 23
Måle DC-spenning .................................................................................................... 25
Måle AC- og DC-signaler .......................................................................................... 26
Temperaturmåling..................................................................................................... 28
Bruke Y-funksjonen (bare modell 289)................................................................. 31
Teste for kontinuitet................................................................................................... 31
Bruke konduktans for testing av høy motstand ......................................................... 34
Måle kapasitans ........................................................................................................ 35
Teste dioder .............................................................................................................. 36
Måle strøm ................................................................................................................ 38

Innholdsfortegnelse (fortsatt)
iii
Måle frekvens ............................................................................................................ 42
Måle driftssyklus........................................................................................................ 43
Måle pulsbredde........................................................................................................ 45
Endre oppsettalternativer for måleinstrumentet.............................................................. 47
Tilbakestille oppsettalternativer for måleinstrumentet................................................ 47
Innstille skjermkontrast .............................................................................................. 47
Innstille måleinstrumentets språk .............................................................................. 47
Innstille dato og klokkeslett........................................................................................ 48
Innstille tidsavbrudd for skjermbelysning og automatisk avslåing.............................. 48
Innstille en egendefinert dBm-referanse.................................................................... 48
Deaktivere og aktivere lydsignalet ............................................................................. 49
Aktivere og deaktivere utjevningsmodusen ............................................................... 49
Bruke andre konfigurasjonsvalg ................................................................................ 49
Bruke minne ................................................................................................................... 49
Lagre individuelle datamålinger ................................................................................. 50
Navngi lagret data ..................................................................................................... 50
Vise data i minne....................................................................................................... 50
Vise øyeblikksbilde- og oppsummeringsdata........................................................ 51
Vise trenddata....................................................................................................... 51
Zoome inn på trenddata........................................................................................ 52
Slette lagrede måledata............................................................................................. 52
Registrere måledata ....................................................................................................... 52
Sette opp en registreringsøkt..................................................................................... 53
Innstille terskelverdien for hendelse .......................................................................... 54
Starte en registreringsøkt .......................................................................................... 55
Stoppe en registreringsøkt ........................................................................................ 55
Bruke kommunikasjon.................................................................................................... 56
Feilmeldinger.................................................................................................................. 57

287/289
Bruksanvisning
iv
Vedlikehold .................................................................................................................... 58
Generelt vedlikehold ................................................................................................. 58
Teste sikringer .......................................................................................................... 58
Bytte batteriene......................................................................................................... 60
Bytte sikringer ........................................................................................................... 60
Prøveledning – lagring .............................................................................................. 60
Hvis det oppstår problemer............................................................................................ 62
Service og deler............................................................................................................. 63
Generelle spesifikasjoner............................................................................................... 67
Detaljerte spesifikasjoner............................................................................................... 68
Spesifikasjoner for AC-spenning............................................................................... 69
Spesifikasjoner for AC-strøm .................................................................................... 70
Spesifikasjon for DC-spenning.................................................................................. 71
Spesifikasjoner for DC-strøm.................................................................................... 72
Spesifikasjoner for motstand..................................................................................... 73
Spesifikasjoner for temperatur .................................................................................. 73
Spesifikasjoner for kapasitans- og diodetest............................................................. 74
Spesifikasjoner for frekvensteller .............................................................................. 75
Sensitivitet for frekvensteller ..................................................................................... 76
MIN MAX, registrering og toppunkt spesifikasjoner................................................... 77
Inngangskarakteristikker ........................................................................................... 78
Spenningsfall (A, mA, μA)......................................................................................... 79
v
Liste over tabeller
Tabell Tittel Side
1. Symboler ............................................................................................................................... 4
2. Knapper................................................................................................................................. 5
3. Skjermfunksjoner................................................................................................................... 7
4. Dreiebryterens stillinger......................................................................................................... 10
5. Inngangsterminaler................................................................................................................ 11
6. Batterinivåindikator................................................................................................................ 12
7. Trenddatavisning................................................................................................................... 51
8. Registreringsvisning .............................................................................................................. 54
9. Skjermbilde for stoppet registrering....................................................................................... 55
10. Feilmeldinger......................................................................................................................... 57
11. Reservedeler ......................................................................................................................... 63
12. Tilbehør ................................................................................................................................. 66

287/289
Bruksanvisning
vi
vii
Liste over figurer
Figur Tittel Side
1. Knapper................................................................................................................................. 5
2. Skjermfunksjoner................................................................................................................... 7
3. Dreiebryter............................................................................................................................. 10
4. Inngangsterminaler................................................................................................................ 11
5. Funksjonsmeny ..................................................................................................................... 14
6. Visning av MIN MAX-registrering .......................................................................................... 17
7. Visning av toppunktregistrering ............................................................................................. 18
8. Lavpassfilter .......................................................................................................................... 20
9. Funksjoner i relativ modus..................................................................................................... 21
10. AC-spenningsmålinger .......................................................................................................... 22
11. dBm-visning........................................................................................................................... 23
12. DC-spenningsmålinger .......................................................................................................... 25
13. AC- og DC-visning................................................................................................................. 26
14. Temperaturmåling ................................................................................................................. 28
15. Motstandsmåling ................................................................................................................... 30
16. Indikator for kontinuitet .......................................................................................................... 31
17. Kontinuitetstesting ................................................................................................................. 32

287/289
Bruksanvisning
viii
18. Konduktansmåling ................................................................................................................ 34
19. Kapasitansmåling.................................................................................................................. 35
20. Diodetesting.......................................................................................................................... 37
21. Oppsett for strømmåling........................................................................................................ 40
22. Kretskobling for strømmåling ................................................................................................ 41
23. Funksjoner som tillater frekvensmåling................................................................................. 42
24. Frekvensvisning.................................................................................................................... 43
25. Driftsyklusmålinger................................................................................................................ 44
26. Driftsyklusvisning .................................................................................................................. 45
27. Pulsbreddemålinger .............................................................................................................. 46
28. Teste strømsikringene .......................................................................................................... 59
29. Prøveledning – lagring .......................................................................................................... 60
30. Skifte batterier og sikringer ................................................................................................... 61
31. Deler som kan skiftes............................................................................................................ 65

1
Innledning
XWAdvarsel
Les "Sikkerhetsinformasjon" før måleinstrumentet
tas i bruk.
Beskrivelsene og anvisningene i denne instruksjonsboken
gjelder de digitale universalmåleinstrumentene med sann rms,
modell 289 og 287 (heretter henvist til som ”måleinstrumentet”).
Modell 289 vises i alle illustrasjoner.
Ta kontakt med Fluke
Fluke kan kontaktes ved å ringe ett av følgende telefonnumre:
USA: 1-888-993-5853
Canada: 1-800-363-5853
Europa: +31 402-675-200
Japan: +81-3-3434-0181
Singapore: +65-738-5655
I hele verden: +1-425-446-5500
Besøk Flukes nettside på: www.fluke.com.
Registrer måleinstrumentet på: http://register.fluke.com.
Gå til for å se på, skrive ut eller laste ned siste bilag til
brukerveiledningen: http://us.fluke.com/usen/support/manuals.
Opplysninger om sikkerhet
Måleinstrumentet oppfyller kravene i følge:
• ANSI/ISA 82.02.01 (61010-1) 2004
• UL 61010B (2003)
• CAN/CSA-C22.2 nr. 61010-1-04
• IEC 61010-1 2. utgave, forurensningsgrad 2
• EMC EN 61326-1
• Målekategori III, 1000 V, forurensingsgrad 2
• Målekategori IV, 600 V, forurensingsgrad 2
I denne instruksjonsboken angir Advarsel farlige situasjoner og
handlinger som kan medføre personskade eller død. Symbolet
Obs angir situasjoner og handlinger som kan skade
måleinstrumentet og utstyret som testes, eller medføre
permanent tap av data.
XWAdvarsel
Unngå elektrisk støt eller personskade ved å følge
disse retningslinjene:
• Bruk dette måleinstrumentet bare som anvist i
denne håndboken, ellers kan beskyttelsen
som måleinstrumentet gir, bli svekket.
• Bruk ikke måleinstrumentet hvis det er skadet.
Før måleinstrumentet tas i bruk, skal hylstret
inspiseres. Se etter sprekker eller plastdeler
som mangler. Vær ekstra nøye med å
kontrollere isolasjonen rundt koblingene.

287/289
Bruksanvisning
2
• Kontroller at batteridekselet er lukket og låst
før måleinstrumentet tas i bruk.
• Fjern prøveledningene fra måleinstrumentet
før batteridekselet åpnes.
• Inspiser prøveledningene for skadet isolasjon
eller avdekket metall. Sjekk prøveledningene
for kontinuitet. Skift ødelagte prøveledninger
før måleinstrumentet tas i bruk.
• Det må ikke kobles til mer enn den
merkespenningen som er angitt på
måleinstrumentet, mellom klemmene eller
mellom en klemme og jord.
• Bruk aldri måleinstrumentet med dekselet
fjernet eller huset åpent.
• Vær forsiktig under arbeid med spenninger på
over 30 V AC rms, 42 V AC-toppverdi, eller
60 V DC. Slik spenning utgjør fare for elektrisk
støt.
• Bruk bare de sikringene som angitt i
brukerhåndboken.
• Bruk riktige terminaler, funksjoner og
verdiområder til målingene.
• Unngå å arbeide alene.
• Ved strømmåling skal strømtilførselen til
kretsen som testes, stenges av før
måleinstrumentet kobles til kretsen. Husk at
måleinstrumentet skal seriekobles med
strømkretsen.
• Ved tilkobling til elektrisitet skal den felles
prøveledningen tilkobles før den strømførende
ledningen. Ved frakobling skal den
strømførende prøveledningen frakobles før
den felles prøveledningen.
• Bruk ikke instrumentet dersom det ikke virker
som det skal. Beskyttelsen kan være ødelagt.
Send instrumentet til service hvis du er i tvil.
• Bruk ikke måleinstrumentet nær eksplosiv
gass, damp eller støv.
• Bruk bare 1,5 volts AA-batterier som
strømforsyning til måleinstrumentet.
• Bruk bare angitte reservedeler ved service på
måleinstrumentet.
• Hold fingrene bak fingervernet på probene.
• Bruk ikke alternativet Low Pass Filter
(lavpassfilter) til å kontrollere forekomst av
farlig spenning. Det kan forekomme høyere
spenninger enn det som er angitt. Foreta først
en måling av spenningen uten filteret for å
avdekke mulig tilstedeværelse av farlig
spenning. Velg deretter filterfunksjonen.
• Bruk bare prøveledninger med samme
klassifisering for spenning, kategori og
ampere som måleinstrumentet, og som er
godkjent av en sikkerhetsinstans.
• Bruk korrekt verneutstyr ifølge krav fra lokale
eller nasjonale myndigheter ved arbeid i farlige
områder.

True-rms Digital Multimeters
Farlig spenning
3
• Følg lokale og nasjonale sikkerhetsforskrifter
ved arbeid i farlige områder.
W Forsiktig
Unngå mulig skade på måleinstrumentet eller
utstyret under testing ved å følge disse
retningslinjene:
• Koble fra strømkretsen og lad ut alle
høyspente kondensatorer før testing av
motstand, kontinuitet, dioder eller kapasitans.
• Bruk riktige terminaler, funksjoner og
verdiområder for alle målingene.
• Ta ikke ut batteriene mens måleinstrumentet er
på, eller et signal tilføres måleinstrumentets
inngangskontakter.
• Kontroller måleinstrumentets sikringer før
strømmåling. (Se avsnittet ”Test av sikringer” i
håndboken på den vedlagte CDen.)
• Bruk ikke LoZ-modusen til å måle spenninger i
kretser som kan skades av modusens lave
inngangimpedans (≈3 kΩ). (Bare Model 289)
Farlig spenning
Symbolet Yvises for å varsle om potensiell farlig spenning når
måleinstrumentet registrerer en spenning på ≥30 V eller en
spenningsoverlast (OL).

287/289
Bruksanvisning
4
Symboler
Tabell 1 viser og beskriver symbolene på måleinstrumentet og i håndboken.
Tabell 1. Symboler
Symbol Beskrivelse Symbol Beskrivelse
B AC (vekselstrøm eller -spenning) I Sikring
F DC (likestrøm eller -spenning). T Dobbeltisolert
X Farlig spenning W Viktige opplysninger; se håndboken
E Batteri (Lav batterispenning når dette
symbolet vises) J Jord
R Kontinuitetstest eller pipetone for
kontinuitet $ Er i samsvar med aktuelle standarder i
Canada og USA
P Oppfyller kravene i EU-direktivene ;
N10140 Er i samsvar med aktuelle australske
standarder
› Oppført produkt hos Underwriters
Laboratory š Inspisert og lisensiert av TÜV Product
Services
CAT III
IEC-målekategori III CAT III-utstyr er
konstruert for å beskytte mot flyktige
signaler i utstyr i faste installasjoner, for
eksempel fordelingstavler,
tilførselssledninger og korte
forgreningskoplinger og lysopplegg i store
bygninger.
CAT IV
IEC-målekategori IV – CAT IV-utstyr er
konstruert for å beskytte mot flyktige
signaler fra hovedtilførselsnivået, for
eksempel et elektrisk måleinstrument eller
en overhengende eller underjordisk
strømledning.
~ Dette instrumentet skal ikke kastes sammen med husholdningsavfallet. Gå til Flukes nettsted for
informasjon om gjenvinning.

True-rms Digital Multimeters
Funksjoner
5
Funksjoner
Tabell 2 til og med 5 gir en kort beskrivelse av måleinstrumentets
funksjoner.
Kort om knappene
De 14 knappene foran på måleinstrumentet aktiverer egenskaper
som støtter funksjonen som er valgt med dreiebryteren,
navigeringsmenyer eller styrestrøm til måleinstrumentets kretser.
Knappene vises på figur 1 og er beskrevet i tabell 2.
est02.emf
Figur 1. Knapper
Tabell 2. Knapper
Tast Funksjon
O Slår måleinstrumentet av eller på.
12
34
Velger underfunksjoner og modi relatert til
funksjonsdreiebryteren.
Markørknapper velger et element på en
meny, justerer skjermkontrasten, blar
gjennom informasjon og foretar
datainnlegging.
H Fryser gjeldene måling på skjermen, slik
at visningen kan lagres. Gir også tilgang
til AutoHold.
R
Veksler måleinstrumentets
verdiområdemodus til manuell, og blar
deretter gjennom alle verdiområdene.
Hold knappen nede i 1 sekund for å gå
tilbake til automatisk verdiområde.
M Starter og stopper MIN MAX-registrering.
I Viser informasjon om gjeldende
funksjoner eller elementer på skjermen
idet du trykker på infoknappen.
G Veksler skjermens belysning mellom av,
lav og høy.

287/289
Bruksanvisning
6
Bruke automatisk gjentakelse
Ved å holde ned en programtast eller markørknapp for enkelte
menyvalg, vil det hele tiden endre (eller gå videre med) et valg til
knappen slippes opp. Hvert knappetrykk forårsaker vanligvis at
et valg endres én gang. Når det gjelder noen valg vil endringene
gå raskere hvis knappen holdes ned i mer enn to sekunder.
Dette er nyttig når du blar gjennom en liste med valg, for
eksempel en liste over lagrede målinger.

True-rms Digital Multimeters
Funksjoner
7
Kort om skjermen
Skjermfunksjonene på figur 2 og er beskrevet i tabell 3 og
følgende avsnitt.
1
3
4
5
6
10
9
87 11 12
13
14
15
2
AutoHOLD
mVAC
Crest Factor
Hz60.000
Save Setup
Auto Range
5 mVDC
500 VAC0
8:10pm 06/13/07
123.45 VAC
100 200 300 400
AutoSAVEHOLDREL
123.45
16
est01.eps
Figur 2. Skjermfunksjoner
Tabell 3. Skjermfunksjoner
Element Funksjon Indikasjon
A Programtastetiketter Angir knappens funksjon rett
nedenfor den viste etiketten.
B Søylediagram Analog visning av
inngangssignalet (Se
avsnittet “Søylediagram” for
mer informasjon).
C Relativ Angir at den viste verdien er
relativ til en referanseverdi.
D Minustegn Angir en negativ måling.
E Lynsymbol Angir at farlig spenning er til
stede ved måleinstrumentets
inngang.
F Fjernkommunikasjon Angir aktivitet over
kommunikasjonsforbindelsen.
G Batterinivå Angir ladenivået til de seks
AA-batteriene.
H Klokkeslett Angir tiden som er innstilt i
den interne klokken.
I Modusindikatorer Angir modusen til
måleinstrumentet.

287/289
Bruksanvisning
8
Tabell 3. Skjermfunksjoner (forts.)
Element Funksjon Indikasjon
J Minimåling Viser lynsymbolet (når det er
nødvendig) og inngangsverdien
når den primære og sekundære
skjermen er dekket med en
meny eller hurtigmelding.
K Dato Angir datoen som er innstilt i
den interne klokken.
L Signal Angir at måleinstrumentets
pipetone er aktivert (ikke
tilknyttet kontinuitetstonen).
M Måleenheter Angir måleenhetene.
N Tilleggsenheter Angir målinger uten måleenhet,
som amplitudefaktor.
O Indikator for
verdiområde
Angir hvilket verdiområde
måleinstrumentet er i, og modus
for verdiområde (automatisk
eller manuell).
P Sekundær skjerm Viser sekundær
måleinformasjon om
inngangssignalet.
Søylediagram
Det analoge søylediagrammet fungerer som nålen på et analogt
måleinstrument, men uten oversving. Søylediagrammet
oppdateres 30 ganger per sekund. Fordi diagrammet oppdateres
raskere enn den digitale skjermen, er den nyttig for å foreta topp-
og bunnjusteringer og observere inngangssignaler med raske
endringer. Når det gjelder funksjoner for frekvens, driftssyklus,
pulsbredde, dBm og amplitudefaktor, viser søylediagrammet
amplituden til inngangssignalet (volt eller ampere) og ikke
verdien på primærskjermen. Søylediagrammet vises ikke for
funksjonene kapasitans, temperatur, LoZ, AC+DC, AC over DC,
toppunkt eller min max.
Et nullsentrert søylediagram vises for dc-spenning, dc-strøm og
alle relative prosentmodi. Søylediagrammets verdiområde for dc-
spenning og -strøm er maksimum for det valgte verdiområdet. I
modus for relativ prosent går søylediagrammet til ±10 %.
Antall opplyste segmenter angir målt verdi og angis i forhold til
full skala for det valgte området. I verdiområdet for 50 Vac viser
for eksempel skalaens hovedinndelinger 0, 5, 10, 15, 20, 25, 30,
35, 40, 45 og 50 Vac. Et inngangssignal på 25 Vac slår på
segmenter opptil midten av skalaen.
Når det gjelder verdier utenfor skalaen, vises f til høyre for det
normale søylediagrammet. For det null-sentrerte
søylediagrammet vises e på den
venstre siden av søylediagrammet for negative verdier utenfor
skalaen, og f vises på den høyre siden for positive verdier
utenfor skalaen.

True-rms Digital Multimeters
Funksjoner
9
Elementer på statuslinjen
Statuslinjen øverst på måleinstrumentets skjerm inneholder
indikatorer for batteristrøm, klokkeslett på dagen,
minimåleskjerm, dags dato og ikon for lydsignal av/på.
Minimåleskjermen viser måleverdien til primærfunksjonen hvis
den ikke allerede vises i skjermens sideområde. Når for
eksempel skjermen er frosset for en HOLD-funksjon, fortsetter
minimåleskjermen å vise inngangssignalet (aktuelt) og en mini z.
Minimåleskjermen vil dessuten blinke, hvis z (for inngang over 30
volt) normalt ville vises i primærskjermbildet, men er skjult.
Minimålingsskjermen blinker også når strømmålinger overskrider
maksimumsnivåene for likestrøm for å varsle om muligheten for
at en sikring skal ryke (se spesifikasjonene).
Sideområde
Sideområdet i skjermbildet er der måleinstrumentets
hovedinnhold vises. Primærskjermbildet (øvre halvdel av
sideområdet) er der de viktigste verdiene for den valgte
funksjonen vises. Sekundærskjermbildet inneholder
søylediagrammet og eventuelle verdier som måles i tillegg til
verdien for primærfunksjonen. Hvis for eksempel frekvensmåling
er valgt i Vac, vil frekvensverdien vises i primærskjermbildet og
ac-spenningsverdien i det sekundære skjermbildet.
Programtastetiketter
Etiketter for de fire funksjonsprogramtastene (F1 til og med F4)
vises i den nederste raden i skjermbildet. Disse etikettene vil
endres basert på funksjonen og/eller menyvalget.
Justere skjermkontrast
Når du ikke velger elementer på en meny eller legger inn data,
økes skjermkontrasten ved å trykke på 7, og den senkes ved å
trykke på 8.

287/289
Bruksanvisning
10
Kort om dreiebryteren
Velg en primær målefunksjon ved å plassere dreiebryteren på ett
av ikonene rundt omkretsen. For hver funksjon presenterer
måleinstrumentet en standardvisning for den aktuelle funksjonen
(verdiområde, måleenheter, alternativer osv.). Knappevalgene
som gjøres i denne funksjonen, overføres ikke til en annen
funksjon. Modell 289 har ytterligere to funksjoner: lave ohm-
verdier (Y) og ac-spenning med lav impedans (LoZ). Hver
stilling som vises i figur 3, er beskrevet i tabell 4.
est03.emf
Figur 3. Dreiebryter
Tabell 4. Dreiebryterens stillinger
Bryterstilling Funksjon
L AC-spenningsmåling med en lav
inngangsimpedans (bare modell 289)
V AC-spenningsmålinger
T Målinger av AC millivolt
U DC og ac+dc-spenningsmåling
N DC millivolt, ac+dc millivolt og
temperaturmålinger
S Måling av motstand, kontinuitet og
konduktans
P Diodetest og kapasitansmåling
A Ampere og milliampere for AC, dc og
ac+dc
X Mikroamperemåling opptil 5,000 μA for
AC, dc og ac+dc
Y Motstandsmåling med verdiområde på
50e (bare modell 289)

True-rms Digital Multimeters
Funksjoner
11
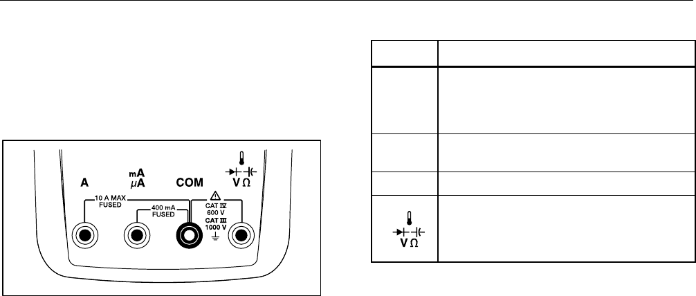
Bruke inngangsterminaler
Alle funksjoner, unntatt strøm, bruker inngangsterminalene
W og COM. De to strøminngangsterminalene (A og
mA/μA) brukes på følgende måte:
Strøm fra 0 til 400 mA, bruker inngangsterminalene € og COM.
Strøm mellom 0 til 10 A, bruker inngangsterminalene A og COM.
est04.emf
Figur 4. Inngangsterminaler
Tabell 5. Inngangsterminaler
Terminal Beskrivelse
A
Inngang for 0 A til 10,00 ampere strøm
(20 ampere overlast i maks. 30 sekunder på,
10 minutter av), strømfrekvens og målinger
av driftssyklus.
€ Inngang for 0 A til 400 mA strømmålinger,
frekvens og driftssyklus.
COM Fellesterminal for alle målinger.
Inngang for måling av spenning, kontinuitet,
motstand, diodetest, konduktans,
kapasitans, frekvens, temperatur, periode og
driftssyklus.

287/289
Bruksanvisning
12
Styre strømmen til måleinstrumentet
Seks AA-batterier forsyner måleinstrumentet med strøm, og det
styres med en strømbryter på frontpanelet og interne kretser som
er konstruert for å spare på batteristrømmen. Følgende avsnitt
beskriver flere måter for å styre strømmen til måleinstrumentet.
Slå måleinstrumentet av og på manuelt
Trykk på O for å slå på måleinstrumentet når det er av. Trykk på
O for å slå av måleinstrumentet når det er på.
Merk
Innsamlet data blir beholdt når måleinstrumentet slås
av i modiene for registrering, registrering av MIN MAX
eller registrering av toppunkt. Når måleinstrumentet
slås på neste gang, viser skjermbildet innsamlet data i
stoppet modus. Trykk på programtasten Save (Lagre)
vil lagre data.
Batterinivåindikator
Batterinivåindikatoren øverst i venstre hjørne av skjermbildet,
angir batterienes relative tilstand. Tabell 6 beskriver de ulike
batterinivåene indikatoren viser.
Tabell 6. Batterinivåindikator
Indikasjon Batterikapasitet
B Full kapasitet
C ¾ kapasitet
D ½ kapasitet
E ¼ kapasitet
F[1] Nesten tomt (mindre enn én dag)
[1] Når det er kritisk lite batteristrøm, vises meldingen "Replace
batteries" (Bytt batterier) 15 sekunder før måleinstrumentet
slås av.
Meldingen “Batteries low” (Lite batteristrøm) vil vises på
måleinstrumentet når det er for lite batteristrøm til å støtte en
valgt funksjon.
Automatisk utkobling
Måleinstrumentet slås av automatisk hvis dreiebryteren ikke
brukes eller det ikke trykkes på en knapp i løpet av 15 minutter
(standardinnstilling). Ved å trykke på O når måleinstrumentet er
slått av automatisk, vil det bli slått på igjen. Se under "Innstille
tidsavbrudd for skjermbelysning og automatisk avslåing" senere i
denne håndboken for å endre perioden for tidsavbrudd eller
deaktivere automatisk avslåing.

True-rms Digital Multimeters
Velge måleområde
13
Batterisparing
Hvis Auto off (Automatisk avslåing) er aktivert (innstilt på en
tidsperiode), og MIN MAX-registrering, Peak-registrering
(toppunktregistrering), Recording (Registrering) eller AutoHold er
aktivert, vil måleinstrumentet gå inn i batterisparemodus hvis det
ikke blir trykt på en knapp eller dreiebryteren ikke blir flyttet i en
angitt tidsperiode. Tidsperioden for registreringsmodus er fem
minutter. Tidsperioden for modiene MIN MAX, Peak (toppunkt)
og AutoHold er den samme som modusen Auto Off (Automatisk
avslåing) er innstilt på. Se avsnittet “Innstille tidsavbrudd for
skjermbelysning og automatisk avslåing” senere i denne
håndboken. Batterisparemodus sparer på batteristrømmen ved å
slå av kretser som ikke er nødvendige for den valgte funksjonen,
inkludert skjermen. Lysdioden som omkranser av/på-knappen
(O)vil imidlertid fortsette å blinke for å angi at måleinstrumentet
fremdeles samler inn data.
Måleinstrumentet ”vekkes” fra batterisparemodusen under
følgende forhold:
• Det trykkes på en knapp
• Det blir flyttet på dreiebryteren
• En ledning blir trukket ut eller satt i en kontakt for
strøminngang.
• Måleinstrumentet endrer verdiområde
• IR-kommunikasjon begynner
Under disse forholdene blir måleinstrumentet bare vekket, og
måleinstrumentets funksjon eller driftsmodus endres ikke.
Styre skjermbelysningen
Trykk på G for å aktivere LCD-lyset hvis det blir vanskelig å se
skjermen under svake lysforhold. Skjermbelysningsknappen
veksler skjermbelysningen gjennom følgende tre stadier: lav, høy
og av. En melding vil vises på måleinstrumentet hvis
batteristrømmen ikke vil støtte bruk av skjermbelysning.
Et brukerjusterbart tidsavbrudd styrer hvor lenge
skjermbelysningen er på, for å bevare batteriets levetid.
Standardinnstillingen for tidsavbrudd er 5 minutter. Se under
“Innstille tidsavbrudd for skjermbelysning og automatisk avslåing”
senere i denne håndboken for å endre perioden for tidsavbrudd.
Velge måleområde
Måleinstrumentets valgte verdiområde vises alltid over den høyre
siden av søylediagrammet som områdeindikatoren. Ved å trykke
på R, veksler måleinstrumentet mellom automatisk og
manuelt verdiområde. Det går også gjennom måleinstrumentets
verdiområder når manuelt verdiområde er aktivert.
Merk
Du kan ikke bruke R i funksjoner for konduktans,
diodetest, LoZ, Lave ohm og temperatur. Alle disse
funksjonene bruker et fast verdiområde.
Måleren velger det laveste verdiområdet i automatisk
verdiområde for å vise høyest mulig presisjon (oppløsning) for
inngangssignalet. Hvis manuelt verdiområde allerede er aktivert,
trykker og holder du R inne i ett sekund for å gå inn i
automatisk verdiområde.
Hvis automatisk verdiområde er aktivert, trykker du på R for å
gå inn i manuelt verdiområde. Hvert ekstra trykk på R innstiller

287/289
Bruksanvisning
14
måleinstrumentet på det neste verdiområdet oppover, med
mindre det allerede er i det høyeste verdiområdet, for da vil
verdiområdet veksle til det laveste verdiområdet.
Kort om funksjonsmenyer
Hver primære målefunksjon (dreiebryterstilling) har en rekke
valgfrie underfunksjoner eller modi som du får tilgang til ved å
trykke på programtasten Menu (F1). En typisk meny er vist i
figur 5.
VAC
Menu
REL
Peak, CF
Hz, %, mS
dBm
dBV
REL REL% Close
est05.eps
Figur 5. Funksjonsmeny
Menyvalg er angitt med den fylte, svarte firkanten (heretter kalt
menyvelgeren) til venstre for menyelementet. Bruk de fire
markørknappene på frontpanelet (5 6 7 8) til å plassere
menyvelgeren ved siden av et menyelement. Etter hvert som
menyvelgeren flyttes mellom menyelementer, endres de fire
programtastene og etikettene på dem for å gjengi de tilgjengelige
funksjonene og/eller tilgjengelige modi for det valgte
menyelementet.
Eksempelmenyen i figur 5 viser REL-funksjonen (Relative) som
det aktuelle valget. Funksjonen som er valgt når menyen åpnes,
er den funksjonen som var valgt den siste gangen menyen ble
brukt. Hvis du skal til Hz-menyelementet fra REL-elementet,
trykker du én gang på 6 etterfulgt av ett trykk med 7. Ettersom
menyvelgeren flytter mellom menyelementer, endres etikettene
på programtastene for å angi funksjonen til hver enkelt
programtast. Etter at den ønskede funksjonen eller modusen
vises på en av programtastetikettene, trykker du på den aktuelle
programtasten for å aktivere den. Hurtigmenyen lukkes, og
skjermen endres for å gjenspeile valget du nettopp gjorde. Ved å
trykke på programtasten Close (Lukk), lukkes hurtigmenyen og
etterlater måleinstrumentet i den tilstanden det var i før du trykte
på programtasten Menu .
I de fleste tilfeller opptrer programtastene, som fremkommer med
menyvalget, som vippebrytere. Eksempelmenyen i figur 5 viser
programtastene REL, REL%, og Close (Lukk). I dette
eksemplet er ikke måleinstrumentet i den relative modusen.
Trykk på programtasten REL , vil derfor aktivere, eller slå på den
relative modusen. Hvis måleinstrumentet derimot allerede var i
den relative modusen, ville den relative funksjonen bli deaktivert
ved å trykke på den samme programtasten.
I noen tilfeller blir den forrige funksjonen slått av ved å trykke på
en funksjon som ikke kan brukes med andre funksjoner som
vises på menyen. Hvis for eksempel måleinstrumentet i figur 5
allerede er i den relative funksjonen, vil måleinstrumentet slå av
relativ og vise relativ prosent når du trykker på REL% .
Når det er valgt flere modi, slås alltid alle andre funksjoner og
modi av når du velger det første (øverst til venstre)
menyelementet, og måleinstrumentet settes tilbake til
primærfunksjonen som er valgt med dreiebryteren. Sett at
måleinstrumentet for eksempel er innstilt for frekvens (Hz) og
viser i relativ modus, slik det er valgt på menyen i figur 5. Ved å
flytte menyvelgeren til menyelementet VAC, og trykke på

True-rms Digital Multimeters
Funksjonen Input Alert™
15
programtasten VAC, slettes både frekvens og relative valg og,
slik at måleinstrumentet bare blir værende i volt ac.
Menyvalg blir husket for hver dreiebryterstilling. Hvis du for
eksempel velger REL for stillingen volt ac, fører det til at REL
blir valgt neste gang menyen blir åpnet i volt ac, selv om
Hz,%,ms i mellomtiden ble valgt fra en lignende meny for
funksjonen millivolt ac.
Opptil to kolonner med fire elementer i hver vises samtidig. Hvis
mer enn åtte menyelementer er tilgjengelige for en
primærfunksjon, vises g nederst i høyre hjørne av sideområdet
på skjermen, noe som angir at flere menyelementer er
tilgjengelige. Mens menyvelgeren er på ett av elementene i den
venstre kolonnen, vil trykk på 5 rulle skjermbildet horisontalt og
avdekke menyelementene utenfor skjermbildet. Hvis
menyvelgeren er på ett av elementene i den høyre kolonnen, vil
trykk på 6 avdekke menyelementene utenfor skjermbildet.
Funksjonen Input Alert™
XWAdvarsel
Unngå å skade kretsen og overbelaste sikringen til
måleinstrumentet. Plasser ikke probene på tvers
(parallelt med) en strømførende krets når en
ledning er koblet til en strømterminal. Dette kan
kortslutte en krets, fordi motstanden gjennom
måleinstrumentets strømterminaler er svært lav.
Hvis en prøveledning er koblet til mA/μA - eller A -terminalen,
men dreiebryteren er ikke innstilt på riktig strømposisjon, blir du
advart med en skingrende pipetone og meldingen "Leads
connected incorrectly" (Ledninger er feil tilkoblet) vises på
skjermen. Denne advarselen er ment til å stoppe brukeren fra å
forsøke å måle verdier for spenning, kontinuitet, motstand,
kapasitans eller diode når ledningene er koblet til en
strømterminal.
Bruke informasjonsknappen
Ved bruk av måleinstrumentet kan det bli nødvendig med mer
informasjon om en valgt funksjon, knapp på frontpanelet eller et
menyelement. Trykk på I for å åpne et informasjonsvindu
med en oversikt over emner som dekker de funksjonene og
modifikatorene som er tilgjengelige på det tidspunktet du trykker
på knappen. Hvert emne gir en kort forklaring på en av
funksjonene eller egenskapene til måleinstrumentet.
Informasjonen som avdekkes gjennom I har ikke til hensikt å
erstatte den mer detaljerte informasjonen i håndboken.
Forklaringer for funksjoner og egenskaper er korte og er bare
ment å oppfriske en persons hukommelse.
Antallet informasjonsemner som vises på et tidspunkt, kan oppta
mer plass enn visningsområdet. Bruk programtastene merket
Next (Neste) og Prev (Forrige) til å flytte mellom emnene. Bruk
programtasten More (Mer) eller 7 og 8 for å bla gjennom
informasjonen med et helt skjermbilde om gangen.
Trykk på programtasten Close (Lukk) eller I , vil lukke
informasjonsvinduet.
Modusen Hold og AutoHold
Trykk på H for å fryse skjermen for en funksjon. Bare
minimåleskjermen og ikonet (z) for farlig spenning fortsetter å
angi den faktiske inngangen. Indikatoren for batteristrøm er også
aktiv. Måleinstrumentets programtaster blir merket på nytt for å
lagre den frosne målingen eller aktivere AutoHold-modusen.

287/289
Bruksanvisning
16
Hvis du trykker på H under MIN MAX-registrering,
toppunktregistrering eller mens en registreringsøkt pågår, fryser
skjermen, men datainnhenting fortsetter i bakgrunnen. Trykk på
H igjen oppdaterer skjermbildet, slik at det gjengir data som
ble innhentet mens måleinstrumentet var på hold.
Trykker du på programtasten AutoHOLD, aktiveres AutoHold
hvis måleinstrumentet ikke er i modusen toppunkt, MIN MAX
eller i registreringsmodus. AutoHold-operasjonen overvåker
inngangssignalet og oppdaterer skjermbildet og utløser
lydsignalet, hvis det er aktivert, hver gang det blir registrert en ny
stabil måling. En stabil måling betyr at den ikke varierer mer enn
en valgt justerbar prosent (terskelverdi for AutoHold) i minst ett
sekund. Måleinstrumentet filtrerer ut tilstander med åpen ledning,
slik at måleinstrumentets ledninger kan flyttes mellom
testpunkter uten at det blir utløst en skjermoppdatering.
Merk
Terskelverdien for AutoHold for temperaturmålinger er
en prosent av 100 grader. Standard terskelverdi for
AutoHold er 4 % av 100 grader, eller 4 grader Celsius
eller Fahrenheit.
Hvis du trykker på H i AutoHold-modusen, tvinges
måleinstrumentets skjermbilde til å oppdateres med gjeldende
måling, som om det er registrert en stabil måling.
Når du skal innstille terskelverdi for AutoHOLD, trykker du på
programtasten Setup (Oppsett) for å få tilgang til
konfigurasjonsmenyen. Flytt menyvelgeren ved siden av
menyelementet kalt Recording (Registrering) med
markørknappene, og trykk på programtasten Recording for å
åpne innstillingsskjermbildet for registrering. Flytt menyvelgeren
ved siden av menyelementet Event Threshold for AutoHOLD
(Terskelverdi for hendelse for AutoHOLD) med markørknappene,
og trykk deretter på programtasten Edit (Rediger). Trykk på 7
eller 8 for å bla gjennom terskelverdiene for AutoHold. Trykk på
programtasten Close (Lukk) når den aktuelle verdien er valgt.
Måle amplitudefaktor
Amplitudefaktor er en måling av signalfordreining og blir
beregnet som et signals toppunktverdi over dets rms-verdi. Dette
er en viktig måling med tanke på problemer med strømkvalitet.
Måleinstrumentets amplitudefaktorfunksjon er bare tilgjengelig
for ac-målingene: Vac, mVac, Aac, mAac og μAac. Trykk på
programtasten Menu mens måleinstrumentet er i en av
funksjonene for ac-måling. Flytt deretter menyvelgeren ved
siden av menyelementet Peak,CF og trykk på programtasten CF.
Amplitudefaktorverdien vises i primærskjermbildet mens ac-
målingen vises i det sekundære skjermbildet. Frekvens,
driftssyklus og pulsbredde er ikke tillatt under måling av
amplitudefaktor.
Innhente minimums- og
maksimumsverdier
Modusen MIN MAX-registrering innehenter inngangsverdiene
minimum, maksimum og gjennomsnitt. Når inngangssignalet går
under den registrerte minimumsverdien eller over den registrerte
maksimumsverdien, avgir måleinstrumentet et lydsignal og
registrerer den nye verdien. Måleinstrumentet lagrer samtidig
den forløpne tiden siden registreringsøkten ble startet. I MIN
MAX-modusen beregnes også et gjennomsnitt av alle målinger
som er foretatt siden MIN MAX-modusen ble aktivert.

True-rms Digital Multimeters
Innhente minimums- og maksimumsverdier
17
Denne modusen er for å innehente intermitterende målinger,
registrere minimums- og maksimumsmålinger uten tilsyn, eller
registrere målinger når bruk av utstyret hindrer at du kan følge
med på måleinstrumentet. MIN MAX-modusen passer best til å
registrere spenningsstøt i strømforsyninger, tilstrømmende strøm
og finne intermitterende feil.
Responstid er hvor lenge et inngangssignal må holde seg på den
nye verdien for å bli registrert som en mulig ny minimums- eller
maksimumsverdi. MIN MAX-responstiden til måleinstrumentet er
100 millisekunder. Et spenningsstøt, som for eksempel varer
100 millisekunder, vil bli innfanget, men ett som bare varer
50 millisekunder, vil kanskje ikke bli innfanget ved sin faktiske
toppverdi. Se spesifikasjonene for MIN MAX for mer informasjon.
Den sanne gjennomsnittsverdien som vises er det aritmetiske
middeltallet for alle målinger som er foretatt siden registreringen
begynte (overbelastninger blir forkastet).
Gjennomsnittsavlesningen er nyttig for å utjevne ustabile
inngangssignaler, beregne strømforbruk eller anslå tiden i
prosent som en krets er aktiv.
Merk
Aktiver utjevningsmodus for å vise en mer stabil
måling hvis det er støy på inngangssignalene eller de
endres raskt. Se under "Aktivere og deaktivere
utjevningsmodus" lenger bak i denne håndboken.
Måleinstrumentet vil gå inn i batterisparemodus for å forlenge
batteriets levetid under MIN MAX-registrering. Se under “Innstille
tidsavbrudd for skjermbelysning og automatisk avslåing” for mer
informasjon om batterisparemodusen.
Trykk på M for å aktivere MIN MAX-modusen. Som vist i
figur 6, viser måleinstrumentet e øverst på siden for
målinger, og startdatoen og klokkeslettet for MIN MAX langs
bunnen av siden. Verdien for registrert maksimum, gjennomsnitt
og minimum vises dessuten i det sekundære skjermbildet med
respektiv forløpt tid.
Restart
119.81
VAC
Stop
Start : 06/07/07 7:00 pm
Maximum
127.09
119.50
110.23
Average
Minimum
Auto Range
500 VAC
VAC
VAC
00:03:17
01:10:09
00:59:59
VAC
8:10pm 06/07/07
Min Max
est42.eps
Figur 6. Visning av MIN MAX-registrering
Trykk på M eller programtasten Stop for å stoppe en MIN
MAX-registreringsøkt. Oppsummeringen i skjermbildet fryser, og
programtastene endrer funksjon, slik at innsamlede data kan
lagres. Trykk på M igjen, eller på programtasten Close for å
avslutte MIN MAX-registreringsøkten uten å lagre innsamlede
data.

287/289
Bruksanvisning
18
Merk
Hvis du vrir dreiebryteren før du lagrer MIN MAX-
registreringsdata, vil all innsamlet data gå tapt.
Hvis du vil lagre MIN MAX-skjermdataene, skal MIN MAX-økten
avsluttes ved å trykke på programtasten Stop. Trykk deretter på
programtasten Save (Lagre). En dialogboks åpnes der du kan
velge det standardlagrede navnet eller et annet tilordnet navn.
Trykk på programtasten Save (Lagre) for å lagre MIN MAX-
skjermdataene. På dette tidspunktet kan du ikke fortsette MIN
MAX. Trykk på programtasten Close (Lukk) for å avslutte MIN
MAX-modusen.
Hvis du trykker på programtasten Restart (Omstart) mens MIN
MAX kjøres, stoppes MIN MAX-økten, alle MIN MAX-data blir
forkastet og en ny MIN MAX-registreringsøkt blir startet
umiddelbart.
Innfange toppverdier
Toppunktregistrering er nesten det samme som MIN MAX-
registrering, som forklart tideligere i håndboken. Den viktigste
forskjellen mellom de to registreringsfunksjonene er den kortere
responstiden for registrering av toppunkt: 250 μsek. Med denne
korte responstiden er den faktiske toppverdien til et sinusformet
signal målbart. Transiente signaler kan måles mer nøyaktig med
registreringsegenskapen for toppunkt.
Trykk på programtasten Menu for å aktivere modusen for
toppunkt. Flytt menyvelgeren ved siden av menyelementet
Peak,CF (Toppunkt, CF) eller Peak (Toppunkt). Trykk på
programtasten Peak for å starte registreringsøkten for toppunkt.
Restart
119.8
VAC
Stop
Start : 06/07/07 7:00 pm
Peak Max
168.2
118.9
-173.9
Average
Peak Min
Auto Range
500 VAC
V
VAC
00:03:17
01:10:59
01:10:09
V
8:10pm 06/07/07
Peak
est43.eps
Figur 7. Visning av toppunktregistrering
Som vist i figur 7, viser det primære skjermbildet den "aktuelle"
målingen som foreligger ved måleinstrumentets innganger. I det
sekundære området av skjermen, vises foruten maksimum og
minimum toppverdier, også gjennomsnittsverdien sammen med
de tilhørende tidsstemplene. Tidsstempelet ved siden av
gjennomsnittsverdien angir den forløpte tiden av
registreringsøkten for toppunkt. Starttiden for registreringsøkten
for toppunkt vises langs bunnen av sideområdet til skjermbildet.
Når toppverdien til inngangssignalet går under den registrerte
minimumsverdien eller over den registrerte maksimumsverdien,
avgir måleinstrumentet et lydsignal og registrerer den nye
verdien. Samtidig lagres den forløpte tiden siden
registreringsøkten for toppunkt startet som den registrerte
verdiens tidsstempel.

True-rms Digital Multimeters
Innfange toppverdier
19
Trykk på programtasten Stop vil avslutte registreringsøkten for
toppunkt. Oppsummeringen i skjermbildet fryser, og
programtastene endrer funksjon, slik at innsamlede data kan
lagres. Trykk på programtasten Close vil avslutte
registreringsøkten for toppunkt uten å lagre innsamlede data.
Merk
Hvis du vrir dreiebryteren før du lagrer registrerte data
for toppunkt, vil det føre til at all innsamlet data går
tapt.
Hvis du vil lagre skjermdataene for toppunkt, avslutter du økten
for innfanging av toppunkt ved å trykke på programtasten Stop.
Trykk deretter på programtasten Save. En dialogboks åpnes der
du kan velge det standardlagrede navnet eller et annet tilordnet
navn. Trykk på programtasten Save (Lagre) for å lagre dataene
på skjermen for toppunkt. På dette tidspunktet kan du ikke
fortsette innfanging av toppunkt. Trykk på programtasten Close
(Lukk) for å avslutte modusen for innfanging av toppunkt.
Hvis du trykker på programtasten Restart (Omstart) mens økten
for registrering av toppunkt kjøres, stoppes økten, alle data for
registrering av toppunkt blir forkastet og en ny registreringsøkt
for registrering av toppunkt blir startet umiddelbart.
Når du viser lagrede registreringer, ser øyeblikksbildet av
toppunktregistreringer akkurat ut som en stoppet
toppunktregistrering. Bruk derfor den forløpte tiden (tidsstempel
for gjennomsnittsverdi) til å skille mellom registreringer.
Måleinstrumentet vil gå inn i batterisparemodus etter en bestemt
tid som er angitt for Auto Off-funksjonen, for å forlenge batteriets
levetid under toppunktregistrering. Se under “Innstille
tidsavbrudd for skjermbelysning og automatisk avslåing” for mer
informasjon om batterisparemodusen.

287/289
Bruksanvisning
20
Lavpassfilter (bare modell 289)
Instrumentet er utstyrt med et lavpassfilter for AC. Ved måling av
ac-spenning eller Vac-frekvens, trykker du på programtasten
Menu for å åpne funksjonsmenyen og flytte menyvelgeren til
l -elementet. Trykk deretter på programtasten l for å
slå modusen for lavpassfilter av og på (l vises).
XWAdvarsel
Unngå mulig elektrisk støt eller personskade. Bruk
ikke alternativet for lavpassfilter til å kontrollere
tilstedeværelse av farlig spenning. Det kan
forekomme høyere spenninger enn det som er
angitt. Foreta først en måling av spenningen uten
filteret for å avdekke mulig tilstedeværelse av farlig
spenning. Velg deretter filterfunksjonen.
Måleinstrumentet fortsetter å måle i den valgte ac-modusen, men
signalet blir nå ledet gjennom et filter som blokkerer uønskede
spenninger over 1 kHZ, se figur 8. Lavpassfilteret kan forbedre
måleytelsen på sammensatte sinuskurver som vanligvis
genereres av inverterere og motordrev med variabel frekvens.
Merk
I lavpassmodus går måleinstrumentet til manuell
modus. Velg verdiområde ved å trykke på R.
Automatisk verdiområde er ikke tilgjengelig når
lavpassfilteret er aktivert.
1 kHz
100 Hz
aom11f.eps
Figur 8. Lavpassfilter

True-rms Digital Multimeters
Foreta relative målinger
21
Foreta relative målinger
Måleinstrumentet viser beregnede verdier som er basert på en
lagret verdi når det er innstilt til relativ- og relativ prosent-
modusen. Figur 9 viser funksjonene de to relative modiene er
tilgjengelige for. De to relative modiene er dessuten tilgjengelige i
modiene for frekvens, driftssyklus, pulsbredde, amplitydefaktor
og dB.
est29.eps
Figur 9. Funksjoner i relativ modus
Trykk på programtasten Menu for å aktivere relativ- eller relativ
prosent-modusen i én av funksjonene som vises i figur 9. Flytt
menyvelgeren til menyelementet REL. Trykk deretter på
programtasten REL eller REL%. Måleverdien på det tidspunktet
at enten Rel eller Rel % er aktivert, blir lagret som referanseverdi
og vist i det sekundære skjermbildet. Den nåværende eller
“aktuelle” målingen flyttes til det sekundære skjermbildet, og
forskjellen mellom nåværende måling og referanseverdien i
måleenheter for REL og som en prosent for REL %, blir angitt i
det primære skjermbildet.
Når relativ prosent er aktivert, er søylediagrammet et midtstilt
søylediagram som angir forskjellen i prosent. Søylediagrammets
verdiområde er begrenset til ±10 %, men visningen går til
±999,9 %. Ved 1000 % eller over, angis OL i skjermbildet. Når
referanseverdien er 0, vises OL på måleinstrumentet.
Med unntak av dB-målinger blir verdiområdet angitt til manuelt
og kan ikke endres. Både automatisk og manuelt verdiområde er
mulig når du foretar relative dB-målinger.
Når relativ modus blir aktivert under dBm- eller dBV-målinger,
endres måleenhetene på skjermen til dB.
I relativ- eller relativ prosent-modus angir programtasten for F3
REL eller REL%, avhengig av hvilken av de to modiene som er
valgt i øyeblikket. F3-knappen fungerer som en vippebryter og
veksler måleinstrumentet mellom de to modiene. Selv om du
flytter dreiebryteren mellom V og mV i relativ dBm- eller dBv-
modus, blir ikke dB-målingen deaktivert. Dette tillater målinger
over et bredt område med inngangsspenning.

287/289
Bruksanvisning
22
Foreta Målinger
De påfølgende avsnittene beskriver hvordan målinger skal
foretas med måleinstrumentet.
Måle AC-spenning
Måleinstrumentet viser ac-spenningsverdier som rms-målinger
(kvadratisk middelverdi). Rms-verdien er den ekvivalente dc-
spenningen som vil produsere samme mengde varme i en
motstand, som den målte spenningen. Sanne rms-målinger er
nøyaktige for sinuskurver og andre kurveformer (uten dc-avvik)
som f.eks. firkantkurver, trekantkurver og trappeformede kurver.
Se under “Måle AC- og DC-signaler” senere i denne håndboken
for ac med dc-avvik.
Vri dreiebryteren på måleinstrumentet til V eller T, og innstill
måleinstrumentet til å måle ac-spenning, som vist i figur 10.
Måleinstrumentets funksjon for ac-spenning tilbyr en rekke modi
for å gi flere detaljer om et ac-signal. Når du trykker på
programtasten Menu, åpnes en meny med elementer som kan
brukes til å endre den grunnleggende målingen for ac-spenning.
Se det aktuelle avsnittet i denne håndboken for å lære mer om
hvert enkelt menyelement.
Trykk på programtasten Menu for å slette alle modi og gå tilbake
til grunnleggende ac-måling. Flytt menyvelgeren til
menyelementet VAC. Trykk på programtasten VAC for å slette
alle funksjoner og modi.
eta07.eps
Figur 10. AC-spenningsmålinger

True-rms Digital Multimeters
Foreta Målinger
23
Bruke LoZ for spenningsmåling (bare modell
289)
W Forsiktig
Bruk ikke LoZ-modusen til å måle spenninger i
kretser som kan skades av modusens lave
inngangimpedans (≈3 kΩ).
Måleinstrumentets LoZ-funksjon presenterer en lav impedans
mellom ledningene for å oppnå en mer nøyaktig måling og
dermed utelukke skyggespenninger.
Innstill dreiebryteren til L for å foreta en LoZ-måling. AC-
spenningen vises i det primære skjermbildet på måleinstrumentet
og dc-spenningen i det sekundære skjermbildet. Under LoZ-
måling er måleinstrumentets verdiområde angitt til 1000 volt i
modusen for manuelt verdiområde.
I LoZ er både R og M deaktivert Det er ingen tilleggsmodi
for denne funksjonen, og programtasten Menu er derfor også
deaktivert.
Foreta dB-målinger
Måleinstrumentet har mulighet til å vise spenning som en dB-
verdi, enten relativt til 1 milliwatt (dBm), en referansespenning på
1 volt (dBV) eller en brukervalgt referanseverdi. Se avsnittet
“Innstille en egendefinert dBm-referanse” senere i denne
håndboken.
Menu
41.83 dBm
VAC123.45
Save Setup
1000 Reference
Auto Range
500 VAC0 100 200 300 400
Ref
8:10pm 06/13/07
est08.eps
Figur 11. dBm-visning
Når du skal innstille måleinstrumentet til å vise verdier i dBm, vrir
du dreiebryteren til V eller T og trykker på programtasten
Menu. Flytt menyvelgeren til menyelementet dBm. Trykk på
programtasten dBm. Menyvalget dBm, Hz erstatter det
sekundære skjermbildet (123,45 VAC i figur 11) med
frekvensmålingen. En spenningsmåling vises som en dBm-verdi,
som vist i figur 11.
En dBm-måling må bruke en referanseimpedans (motstand) til å
beregne en dB-verdi basert på 1 milliwatt. Når innstillingen er
600 Ω (standard), vises ikke referanseimpedansen under en
dBm-måling. For andre innstillinger enn 600 Ω, vises
referanseimpedansen rett over programtastetikettene.

287/289
Bruksanvisning
24
Hvis du skal velge en annen referanseverdi, trykker du på
programtasten Ref for å få frem en meldingsboks med gjeldende
referanseverdi. Trykk på 7 eller 8, for å rulle gjennom de ni
forhåndsdefinerte referanseverdiene: 4, 8, 16, 25, 32, 50, 75,
600 og 1000. Innstill referanseverdien ved å trykke på
programtasten OK. Se under “Innstille en egendefinert dBm-
referanse” senere i denne håndboken for å legge til en
egendefinert referanseimpedans.
En dBV-måling benytter en referansespenning på 1 volt for å
sammenligne gjeldende måling med. Differansen mellom de to
ac-signalene vises som en dBV-verdi. Innstillingen for
referanseimpedans er ikke en del av en dBV-måling.
Hvis du skal foreta en dBV-måling, vrir du dreiebyteren til V eller
T , og plasserer måleinstrumentets ledninger på spenningen
som skal måles. Trykk deretter på programtasten Menu. Flytt
menyvelgeren til menyelementet dBV, og trykk på programtasten
dBV. Måleinstrumentet viser spenningen i dBV.
Når du skal avslutte dBV- eller dBm-funksjonen, trykker du på
programtasten Menu (Meny) etterfult av programtasten merket
henholdsvis dBV eller dBm. Hvis du velger én av de andre
modifikatorene, for eksempel ms, % eller CF, avbrytes også dBV
eller dBm.

True-rms Digital Multimeters
Foreta Målinger
25
Måle DC-spenning
Verdier for dc-spenning og deres polaritet vises på
måleinstrumentet. Søylediagrammet for måling av dc-spenning
er et midtstilt søylediagram. Positive dc-spenninger fyller
søylediagrammet til høyre for midten, mens negative dc-
spenninger fyller søylediagrammet til venstre for midten.
Når du skal måle en dc-spenning med måleinstrumentet, vrir du
dreiebryteren til U- eller N-stillingen, som vist i figur 12.
Måleinstrumentets funksjon for dc-spenning tilbyr en rekke modi
for å gi flere detaljer om et dc-signal. Når du trykker på
programtasten Menu , åpnes en meny med elementer som kan
brukes til å endre den grunnleggende målingen for dc-spenning.
Se det aktuelle avsnittet i denne håndboken for å lære mer om
hvert enkelt menyelement.
Trykk på programtasten Menu for å slette alle modi og gå tilbake
til grunnleggende dc-måling. Flytt menyvelgeren til
menyelementet VDC. Trykk på programtasten VDC for å slette
alle funksjoner og modi.
Menu
VDC
Save Setup
Auto Range
50 VDC3020100-10-20-30-40-50 40
9.752
8:10pm 06/13/07
VV
est09.eps
Figur 12. DC-spenningsmålinger

287/289
Bruksanvisning
26
Måle AC- og DC-signaler
Måleinstrumentet har mulighet til å vise både ac- og dc-
signalkomponenter (spenning eller strøm) som to separate
målinger eller én kombinert AC+DC-verdi (rms). Som vist i
figur 13, viser måleinstrumentet ac- og dc-kombinasjoner på
følgende tre måter: ac vist over dc (AC,DC), dc vist over ac
(DC,AC) og ac kombinert med dc (AC+DC). Velg én av disse tre
visningene via funksjons- og modusmenyen.
Trykk på programtasten Menu mens dreiebryteren er innstilt på
U, N, A eller X . Flytt menyvelgeren til menyelementet
AC+DC. Tre ulike programtastetiketter angir nå AC+DC (F1),
AC,DC (F2), og DC,AC (F3). Trykk på den programtasten som
viser de to signalene du vil ha.
Når én av de tre AC+DC-modiene er aktiv, er ikke
toppunktmålinger, frekvens, driftssyklus og periodemåling tillatt. I
tillegg til disse modiene er ikke MIN MAX, relativ og relativ %
tillatt i modiene AC,DC eller DC,AC.
Merk
Søylediagrammet vises ikke når måleinstrumentet er i
ett av de tre AC+DC-modiene.
Menu
123.45 VAC
AC over DC DC over AC AC + DC
VDC23.45
Save Setup
Auto Range
500 VAC
Menu
125.66 V
VDC
23.45
Save Setup
AC + DC
500 V
Menu
23.45 VDC
VAC
123.45
Save Setup
Auto Range
500 V Auto Range
8:10pm 06/13/07
8:10pm 06/13/07
8:10pm 06/13/07
est30.eps
Figur 13. AC- og DC-visning
Både manuelt og automatisk verdiområde er tilgjengelig i ac+dc-
modiene. Det samme verdiområdet brukes for både ac- og dc-
signaler. I automatisk verdiområde inntreffer imidlertid
oppjustering av verdiområdet når enten ac- eller dc-signalet

True-rms Digital Multimeters
Foreta Målinger
27
overskrider gjeldende verdiområde. Nedjustering foregår bare
når både ac- og dc-signalene faller under 10 % av gjeldende
verdiområde. Verdiområdet for AC+DC styres av de
underliggende verdiene til ac- og dc-signalene og ikke av
summen av AC+DC-beregningen.
Når du skal avslutte AC+DC-modusen, trykker du på
programtasten Menu og velger standardmodusen for den valgte
funksjonen. Når det gjelder funksjoner for dc-spenning og dc
millivolt, flytter du menyvelgeren til VDC og trykker på
programtasten VDC. For strømfunksjoner flytter du
menyvelgeren til menyelementet AC,DC og trykker enten på
programtasten AC eller DC .

287/289
Bruksanvisning
28
Temperaturmåling
XWAdvarsel
Unngå fare for brann eller elektrisk støt. Koble ikke
termoelementet til strømførende kretser.
Måleinstrumentet benytter en integrert DMM-temperaturprobe av
typen 80BK-A eller annen type-K temperaturprobe til
temperaturmåling. Konfigurer måleinstrumentet som vist i
figur 14, for å måle temperatur. Trykk på programtasten Menu og
flytt menyvelgeren til menyelementet Temp. Trykk på
programtasten F for temperatur i Fahrenheit eller C for Celsius.
Merk
Et måleinstrument som er klassifisert som "SI", har
ikke et F-valg.
I det primære skjermbildet vises normalt temperatur eller
meldingen “Open Thermocouple” (Åpent termoelement).
Meldingen om åpent termoelement kan skyldes en ødelagt
(åpen) probe eller fordi det ikke er installert noen probe i
inngangskontakten på måleinstrumentet. Kortslutting av W
-terminalen til COM -terminalen vil vise temperaturen ved
måleinstrumentets terminaler.
Merk
R er deaktivert når måleinstrumentet er i
temperaturfunksjonen.
eta17.eps
Figur 14. Temperaturmåling

True-rms Digital Multimeters
Foreta Målinger
29
Hvis du skal legge inn en verdi for temperaturavvik, trykker du på
programtasten Offset for å åpne meldingsboksen med
gjeldende verdi for avvik. Bruk 6 og 5 til å plassere markøren
over ett av sifrene eller polaritetstegnet. Bruk 7 og 8 til å bla
gjennom tallene for hvert siffer i avviket eller bytte mellom et +
eller – avvik. Trykk på programtasten OK for å innstille
temperaturavviket når ønsket verdi vises. For andre innstillinger
enn 0,0, vises avviksverdien i det sekundære skjermbildet.
Måle motstand:
W Forsiktig
Unngå mulig skade på måleinstrumentet eller
utstyret under testing. Koble fra strømkretsen og
lad ut alle høyspente kondensatorer før måling av
motstand.
Måleinstrumentet måler motstand (motstand mot
strømgjennomgang) i ohm (Ω). Dette gjøres ved å sende litt
strøm ut gjennom prøveledningene til kretsen som testes.
Motstand måles ved å vri måleinstrumentets dreiebryter til S,
og innstille måleinstrumentet som vist i figur 15.
Vær oppmerksom på følgende ved måling av motstand.
Fordi måleinstrumentets teststrøm går gjennom alle mulige
baner mellom probetuppene, er den målte verdien av en
motstand i en krets ofte forskjellig fra motstandens nominelle
verdi.
Prøveledningene kan gi en feil på 0,1 Ω 0,2 Ω ved
motstandsmåling. Test ledningene ved å føre probetuppene så
vidt sammen og avlese motstanden til ledningene. Hvis du skal
fjerne ledningsmotstand fra målingen, fører du ledningsendene
sammen og trykker på programtasten Menu. Flytt deretter
menyvelgeren til menyelementet REL, og trykk på programtasten
REL. Alle fremtidige målinger som vises, angir motstanden ved
probetuppene.
Måleinstrumentets motstandsfunksjon omfatter modi som hjelper
til med motstandsmåling. Når du trykker på programtasten
Menu, åpnes en meny med elementer som kan brukes til å
endre den grunnleggende motstandsmålingen. Se det aktuelle
avsnittet i denne håndboken for å lære mer om hvert enkelt
menyelement.

287/289
Bruksanvisning
30
eta11.eps
Figur 15. Motstandsmåling

True-rms Digital Multimeters
Foreta Målinger
31
Bruke
Y
-funksjonen (bare modell 289)
W Forsiktig
Unngå å skade kretsen under testing. Vær
oppmerksom på at måleinstrumentet genererer
strøm opptil 10 mA ved en åpen kretsspenning
opptil 20 volt.
Innstill dreiebryteren til Y for å måle lave motstander med
måleinstrumentet. Denne funksjonen har ett enkelt verdiområde,
og R er derfor deaktivert når måleinstrumentet er i Y-
funksjonen.
Bare funksjonene for relativ og relativ prosent fungerer med Y
-funksjonen. Trykk på programtasten Menu for å tilgang til disse
to funksjonene.
Teste for kontinuitet
W Forsiktig
Unngå mulig skade på måleinstrumentet eller
utstyret under testing. Koble fra strømkretsen og
lad ut alle høyspente kondensatorer før testing av
kontinuitet.
Kontinuitet er nærvær av en komplett bane for
strømgjennomgang. Kontinuitetsfunksjonen registrerer
intermitterende åpninger og kortslutninger på helt ned til 1 ms.
Måleinstrumentet har følgende tre indikatorer for fravær eller
nærvær av kontinuitet: en motstandsmåling, en indikator for
åpen/kortsluttet og et pipesignal.
Motstandsmålingen er ganske enkelt måling av en ohmfunksjon.
Når det gjelder kontinuitetsoverganger som er veldig korte, vil
den langsomme måleresponsen til måleinstrumentet imidlertid
ikke vises i den digitale skjermvisningen. Kontinuitetsfunksjonen
benytter derfor en grafisk indikator for nærvær eller fravær av
kontinuitet. Figur 16 viser den kortsluttede og åpne
kontinuitetsindikasjonen.
eta36.eps
Figur 16. Indikator for kontinuitet
En kontinuitetstest utføres ved å vri dreiebryteren til S og
innstille måleinstrumentet som vist i figur 17. Trykk på
programtasten j. En kortslutning i forbindelse med kontinuitet
betyr en målt verdi under 8 % av full skala for 500 Ω-
verdiområdet, og mindre enn 4 % for andre verdiområder for
motstand.
Merk
Måleinstrumentet kan bare brukes i manuelt område
når kontinuitetsfunksjonen er valgt.

287/289
Bruksanvisning
32
eta13.eps
Figur 17. Kontinuitetstesting

True-rms Digital Multimeters
Foreta Målinger
33
Trykk på programtasten Menu for å endre hvorvidt lydsignalet
skal utløses ved kortslutning eller åpen stilling. Flytt
menyvelgeren til menyelementet Beeper (Lydsignal) og trykk på
programtasten Short/O… (Kortsluttet/Åpen). Valgene for
lydsignal er Beep on Short (Lydsignal ved kortslutning) eller
Beep on Open (Lydsignal ved åpen krets), vises rett ovenfor
kontinuitetsindikatoren. Kontinuitetssignalet er alltid aktivert i
kontinuitetsmodus hvis det først blir lagt inn.
Trykk på programtasten Menu for å aktivere eller deaktivere
lydsignalet for kontinuitet. Flytt menyvelgeren til menyelementet
Beeper (Lydsignal), og trykk på programtasten Beeper
(Lydsignal). Lydsignalstatusen for kontinuitet vises til høyre for
motstandsmålingen med j når det er aktivert, og i når det er
deaktivert. Denne innstillingen er uavhengig av
måleinstrumentets innstilling for aktivert/deaktivert lydsignal på
oppsettmenyen.
Bytt mellom kontinuitets- og ohm-funksjoner ved å trykke på
programtast F3, som alltid er merket med den alternative
funksjonen.

287/289
Bruksanvisning
34
Bruke konduktans for testing av høy motstand
Konduktans, det motsatte av motstand, er evnen en krets har til
å føre strøm. Høye konduktansverdier tilsvarer lave
motstandsverdier.
Måleenheten for konduktans er Siemens (S). Måleinstrumentets
50 nS-verdiområde måler konduktans i nanosiemen (1 nS =
0,000000001 siemen). Fordi så små mengder av konduktans
tilsvarer svært høy motstand, brukes nS-verdiområdet til å måle
motstanden til komponenter opp til 100,000 MΩ eller
100,000,000,000 Ω(1 nS = 1,000 M MΩ).
Konduktans måles ved å sette dreiebryteren på S og
konfigurere måleinstrumentet som vist i figur 18. Flytt
menyvelgeren til menyelementet Ohms,nS,j og trykk på
programtasten nS.
Det er normalt en avlesning av restkonduktans når
prøveledningene er åpne. Trykk på programtasten Menu for å
være sikker på at målingene er nøyaktige. Flytt menyvelgeren til
menyelementet REL , og trykk på programtasten REL for å
subtrahere restverdien mens prøveledningene er åpne.
Merk
Rer deaktivert når måleinstrumentet måler
konduktans.
est14.eps
Figur 18. Konduktansmåling

True-rms Digital Multimeters
Foreta Målinger
35
Måle kapasitans
W Forsiktig
Unngå mulig skade på måleinstrumentet eller
utstyret under testing. Koble fra strømkretsen og
lad ut alle høyspente kondensatorer før måling av
motstand. Bruk DC-spenningsfunksjonen til å
bekrefte at kondensatoren er utladet.
Kapasitans er evnen som en komponent har til å lagre en
elektrisk oppladning. Måleenheten for kapasitans er farad (F). De
fleste kondensatorer er innenfor verdiområdet nanofarad (nF) til
mikrofarad (μF).
Måleinstrumentet måler kapasitans ved å lade opp
kondensatoren med en kjent strøm i en angitt tidsperiode, måle
spenningen som fremkommer og deretter beregne kapasitansen.
Menu Save Setup
Auto Range
100 uF
26.52
8:10pm 06/13/07
+
+
+
+
+
+
+
+
+
est15.eps
Figur 19. Kapasitansmåling

287/289
Bruksanvisning
36
Kapasitans måles ved å sette dreiebryteren på P og konfigurere
måleinstrumentet som vist i figur 19. Hvis det ikke angis på
skjermen at måleinstrumentet måler kapasitans, trykker du på
programtasten Menu. Flytt deretter menyvelgeren til
menyelementet Diode,Cap , og trykk på programtasten Cap.
Merk
Hvis du vil forbedre målenøyaktigheten av
kondensatorer med lav verdi, trykker du på Menu og
flytter menyvelgeren til menyelementet REL. Trykk på
programtasten REL mens prøveledningene er åpne
for å subtrahere restkapasitansen til måleinstrumentet
og ledningene.
Teste dioder
W Forsiktig
Unngå mulig skade på måleinstrumentet eller
utstyret under testing. Koble fra strømkretsen og
lad ut alle høyspente kondensatorer før testing av
diodene.
Bruk diodetesten til å sjekke dioder, transistorer,
silikonkontrollerte likerettere (SCRs), og andre halvlederenheter.
Denne testen sender strøm gjennom en halvlederkobling, og
måler deretter spenningsfallet i koblingen. En typisk kobling faller
0,5 til 0,8 V.
En diode utenfor en krets testes ved å vri dreiebryteren til P og
konfigurere måleinstrumentet som vist i figur 20. Hvis det ikke
angis på skjermen at måleinstrumentet er i funksjonen for
diodetesting, trykker du på programtasten Menu. Flytt deretter
menyvelgeren til menyelementet Diode,Cap og trykk på
programtasten Diode.
Hvis lydsignalet er aktivert under diodetesting, vil den avgi et kort
signal for en normal kobling, og lyde kontinuerlig for en kortsluttet
kobling under 0,1 V. Se under "Deaktivere og aktivere
lydsignalet" for å deaktivere lydsignalet.
I en strømkrets skal en lignende diode fremdeles angi en måling
av forspenning på 0,5 til 0,8 V. Målingen kan imidlertid variere
avhengig av motstanden til andre baner mellom probetuppene.
Merk
R og MIN MAX blir deaktivert når måleinstrumentet
er konfigurert for diodetest.

True-rms Digital Multimeters
Foreta Målinger
37
eta16.eps
Figur 20. Diodetesting

287/289
Bruksanvisning
38
Måle strøm
XWAdvarsel
Unngå skade på måleinstrumentet og mulig
personskade. Forsøk aldri å måle direkte på
kretsløp der spenningen for åpen krets til jord er
større enn 1000 V.
W Forsiktig
Unngå mulig skade på måleinstrumentet eller
utstyret under testing. Sjekk måleinstrumentets
sikringer før strømmåling. Se avsnittet om
vedlikehold senere i denne håndboken. Bruk de
riktige terminalene, funksjonene og verdiområdene
til målingene. Plasser aldri probene på tvers av
(parallelt med) kretser eller komponenter når
ledningene er satt i strømterminalene.
Strøm er strømmen av elektroner gjennom en leder. Ved
strømmåling må kretsen som skal måles åpnes, og deretter sette
måleinstrumentet i serie med kretsen.
Merk
Ved måling av strøm vil skjermen blinke når
inngangsstrømmen overskrider 10 ampere for A -
terminalen og 400 mA for mA/μA-terminalen. Dette er
en advarsel om at strømmen nærmer seg sikringenes
grense for strøm.
Gå fram på følgende måte for å måle ac- eller dc-strøm:
1. Slå av strømmen til kretsen. Lad ut alle høy-
spenningskondensatorer.
2. Sett den svarte ledningen i COM -terminalen. Sett den røde
ledningen i en passende inngang for måleområdet.
Merk
Unngå at måleinstrumentets 440 mA-sikring ryker ved
å bare bruke mA/μA -terminalen hvis du er sikker på at
strømmen er lavere enn 400 mA.
3. Innstill dreiebryteren på A hvis du bruker A-terminalen.
Hvis du bruker terminalen for mA/μA, vrir du dreiebryteren
til X for strøm under 5000 μA (5 mA), eller A for
strøm over 5000 μA. Se figur 21 for prøveledningskoblinger
og funksjonsvalg. Se under “Input Alert-funksjonen” for
informasjon om hvordan måleinstrumentet varsler når
ledninger ikke brukes på riktig måte ved strømmåling.
4. pne strømkretsbanen som skal testes, som vist i figur 22.
Plasser den røde proben på den mer positive siden av
åpningen; plasser den svarte proben på den mer negative
siden av åpningen. Reversering av ledningene vil gi en
negativ avlesning, men skader ikke måleinstrumentet.
5. Slå på strømmen i kretsen og avles skjermen. Husk å legge
merke til måleenheten på høyre side i skjermbildet (μA, mA,
or A).
6. Slå av strømmen til kretsen og lad ut alle høy-
spenningskondensatorer. Fjern måleinstrumentet og
gjenopprett kretsen til normal drift.

True-rms Digital Multimeters
Foreta Målinger
39
Merk
Når måleinstrumentet er i en strømmålingsfunksjon, vil
det holde seg i den valgte modusen for AC- eller DC-
strømmåling når du bytter mellom n og €. Hver
gang måleinstrumentet blir vekslet til én av
funksjonene for strømmåling, vil det gå automatisk til
den siste strømtypen som var valgt (AC eller DC).

287/289
Bruksanvisning
40
est18.eps
Figur 21. Oppsett for strømmåling

True-rms Digital Multimeters
Foreta Målinger
41
eta19.eps
Figur 22. Kretskobling for strømmåling

287/289
Bruksanvisning
42
W Forsiktig
Hvis probene settes på tvers (parallelt med) en
strømførende krets når en ledning er koblet til en
strømterminal, kan dette skade kretsen som testes,
og overbelaste sikringen til måleinstrumentet.
Dette kan skje fordi motstanden gjennom
måleinstrumentets strømterminaler er svært lav,
slik at måleinstrumentet fungerer som en
kortslutningskrets.
Følgende tips gjelder måling av strøm:
En strømmåler mister litt spenning i seg selv, hvilket kan få
betydning for driften av kretsen. Dette spenningsfallet i
måleinstrumentet kan beregnes med verdiene som er oppført i
spesifikasjonene under Spenningsfall (A, mA, μA).
Måleinstrumentets strømfunksjon har en rekke modi for å gi flere
detaljer om et strømsignal. Når du trykker på programtasten
Menu, åpnes en meny med elementer som kan brukes til å
endre den grunnleggende strømmålingen Se det aktuelle
avsnittet i denne håndboken for å lære mer om hvert enkelt
menyelement.
Trykk på programtasten Menu for å slette alle modi og gå tilbake
til grunnleggende ac- eller dc-strømmåling. Flytt menyvelgeren til
menyelementet AC,DC. Trykk på programtasten AC for å slette
alle funksjoner og modi og foreta grunnleggende målinger av ac-
strøm, eller DC for grunnleggende målinger av dc-strøm.
Måle frekvens
Frekvens er antall sykluser et signal fullfører hvert sekund.
Måleinstrumentet måler frekvensen av en spenning eller
strømsignal ved å telle antall ganger signalet krysser et
terskelnivå i løpet av en angitt tidsperiod.
Figur 23 uthever de funksjonene som tillater frekvensmålinger.
est21.eps
Figur 23. Funksjoner som tillater frekvensmåling
Måleinstrumentet veksler automatisk verdiområde til ett av fem
frekvensområder: 99,999 Hz, 999,99 Hz, 9,9999 kHz,
99,999 kHz og 999,99 kHz. Figur 24 viser en typisk
frekvensvisning. Trykk på R styrer inngangsområdet til den
primære funksjonen (volt eller ampere) og ikke frekvensområdet.
Frekvens måles ved å vri bryteren til én av de primære
funksjonene som tillater frekvensmålinger, som er uthevet i
figur 23. Trykk på programtasten Menu og flytt menyvelgeren til
menyelementet Hz,%,ms. Trykk deretter på programtasten Hz.

True-rms Digital Multimeters
Foreta Målinger
43
Menu
60.050Hz
VAC123.45
Save Setup
Auto Range
500 VAC0 100 200 300 400
8:10pm
06/13/07
est22.eps
Figur 24. Frekvensvisning
Inngangssignalets frekvens vises i det primære skjermbildet,
som vist i figur 24. Volt- og ampereverdien til signalet vises i det
sekundære skjermbildet. Søylediagrammet angir ikke frekvens,
men angir inngangssignalets volt- og ampereverdi.
Valg mellom kanten til en stigende trigger c eller fallende trigger
d blir utført ved å trykke på programtasten c d.
Programtasten veksler triggerinnstillingen mellom de to valgene.
Følgende tips gjelder frekvensmåling:
Hvis en avlesning vises som 0 Hz eller er ustabil, kan
inngangssignalet være under eller nær triggernivået. Disse
problemene kan vanligvis rettes manuelt ved å velge et lavere
inngangsområde, noe som øker måleinstrumentets sensitivitet.
Hvis en avlesning synes å være mangedoblet i forhold til det som
antas, kan inngangssignalet være forvrengt. Forvrengning kan
føre til mangetriggering av frekvenstelleren. Hvis det velges et
høyere spenningsområde, kan dette løse problemet ved å
minske sensitiviteten til måleinstrumentet. Den laveste
frekvensen som vises er vanligvis den riktige.
Måle driftssyklus
Driftssyklus (eller driftsfaktor) er prosenten av den tiden et signal
er over eller under et triggernivå i løpet av én syklus, som vist i
figur 25.
Driftssyklusmodusen er optimalisert for måling av den tiden
logiske signaler og svitsjesignaler er av eller på. Systemer som
elektroniske drivstoffinnsprøytningssystemer og svitsjende
strømforsyninger kontrolleres av pulssignaler med forskjellig
bredde, som kan sjekkes ved måling av driftssyklus.

287/289
Bruksanvisning
44
eta28.eps
Figur 25. Driftsyklusmålinger

True-rms Digital Multimeters
Foreta Målinger
45
Driftssyklus måles ved å vri bryteren til én av funksjonene som
tillater frekvensmålinger, som vises i figur 23. Trykk på
programtasten Menu og flytt menyvelgeren til menyelementet
Hz,%,ms. Trykk deretter på programtasten %.
Menu
49.75%
Hz
59.756
Save Setup
Auto Range
500 VAC0
123.45 VAC
100 200 300 400
Duty Cycle
8:10pm
06/13/07
est29.eps
Figur 26. Driftsyklusvisning
Driftssyklusprosenten vises i det primære skjermbildet, mens
signalfrekvensen vises i det sekundære skjermbildet, som vist i
figur 26. Minimåleskjermen angir inngangssignalets volt- elle
ampereverdi. Søylediagrammet sporer volt- og ampereverdien til
signalet og ikke driftssyklusverdien.
Pulspolariteten vises til høyre for driftssyklusverdien.J angir en
positiv puls, og K angir en negativ puls. Trykk på
programtasten J K for å endre polariteten som måles.
Polaritetsindikatoren endres til motsatt polaritet.
Når det gjelder 5 V logiske signaler, skal 5 V DC-verdiområdet
brukes. For 12 V svitsjesignaler i biler, skal 50 V DC-
verdiområdet brukes. Bruk det laveste ac- eller dc-verdiområdet
for sinuskurver som ikke resulterer i mangedobbelt trigging. Et
lavere inngangsområde som velges manuelt, gir ofte bedre
måleresultater enn inngangsområdet som velges med AUTO.
Måle pulsbredde
Pulsbreddefunksjonen måler hvor lenge et signal er høyt eller
lavt, som vist i figur 27. Den målte kurven må være periodisk,
dvs. at mønstret må gjentas ved like tidsintervaller.
Måleinstrumentet måler pulsbredde i verdiområdene 0,025 eller
1250,0 ms.
Pulsbredde måles ved å vri dreiebryteren til én av funksjonene
som tillater frekvensmålinger, som vises i figur 23. Trykk på
programtasten Menu og flytt menyvelgeren til menyelementet
Hz,%,ms. Trykk deretter på programtasten ms.

287/289
Bruksanvisning
46
eta27.eps
Figur 27. Pulsbreddemålinger

True-rms Digital Multimeters
Endre oppsettalternativer for måleinstrumentet
47
Det primære skjermbildet angir pulsbredden for inngangssignaler
i millisekunder. Frekvensen til signalet vises i det sekundære
skjermbildet. Minimåleskjermen angir inngangssignalets volt- og
ampereverdi. Søylediagrammet sporer volt- og ampereverdien til
signalet og ikke pulsbreddeverdien.
Pulsbreddepolariteten vises til høyre for driftssyklusverdien. J
angir en positiv pulsbredde, og K angir en negativ puls. Trykk
på programtasten J K for å endre polariteten.
Polaritetsindikatoren endres til motsatt polaritet.
Polaritetsindikatoren endres til motsatt polaritet.
Endre oppsettalternativer for
måleinstrumentet
Måleinstrumentet har en rekke ferdiginnstilte funksjoner, for
eksempel dato- og klokkeslettformater, tidsavbrudd for belysning
og batterisparemodus og språket på skjermen. Disse variablene
omtales som måleinstrumentets oppsettalternativer. Mange
oppsettalternativer påvirker måleinstrumentets generelle
operasjoner, og er aktive i alle funksjoner. Andre er begrenset til
én funksjon eller gruppe med funksjoner.
Tilgang til oppsettalternativer er alltid tilgjengelig via
programtasten Setup (Oppsett). Informasjon om
måleinstrumentet, for eksempel serienummer og modell, er også
tilgjengelige via oppsettmenyen.
Tilbakestille oppsettalternativer for
måleinstrumentet
Måleinstrumentets oppsettalternativer kan tilbakestilles til
standardverdier via oppsettmenyen. Åpne oppsettmenyen ved å
trykke på programtasten Setup (Oppsett). Flytt menyvelgeren til
menyelementet Reset (Tilbakestill), og trykk på programtasten
Setup. En melding vises der du blir bedt om å bekrefte
tilbakestillingen. Trykk på programtasten OK for å foreta
tilbakestillingen.
Merk
En tilbakestilling av oppsett tilbakestiller også
temperaturavvik og dBm-refereranse til
standardverdiene.
I tillegg til å tilbakestille oppsettvariablene, vil trykk på
programtasten Meter også slette alle lagrede skjermbilder med
målinger, MIN MAX-skjermbilder, toppunkt-skjermbilder og
registreringer under registrering. Måleinstrumentets klokke blir
også tilbakestilt til en standardverdi.
Innstille skjermkontrast
Måleinstrumentets skjermkontrast kan justeres gjennom
oppsettmenyen. Åpne oppsettmenyen ved å trykke på
programtasten Setup , og plassere menyvelgeren ved siden av
menyelementet Contrast. Trykk på programtasten + (F1 øker
skjermkontrasten, mens programtasten– (F2) minsker
kontrasten.
Kontrast kan også innstilles med knappene 7 og 8 når de ikke
brukes til å flytte mellom menyvalg.
Innstille måleinstrumentets språk
Måleinstrumentet leveres fra fabrikken med skjermspråket innstilt
til engelsk. Hvis du vil velge et annet språk, åpner du
oppsettmenyen ved å trykke på programtasten Setup. Flytt
menyvelgeren til menyelementet Display (Skjerm). Trykk
deretter på programtasten Format (F2) for å åpne

287/289
Bruksanvisning
48
formatmenyen. Flytt menyvelgeren til menyelementet Language
(Språk) hvis dette ikke er valgt allerede, og trykk på
programtasten Edit (Rediger). Gjeldende språkvalg blir uthevet,
og f vises til høyre for språket. Bla gjennom de tilgjengelige
språkene med 7 og 8 ,og trykk deretter på programtasten OK
for å innstille måleinstrumentets skjermspråk. Trykk på
programtasten Close for å gå tilbake til normal bruk av
måleinstrumentet.
Innstille dato og klokkeslett
Måleinstrumentets interne klokke brukes på skjermen og til
tidsstempling av registrerte målinger. Trykk på programtasten
Setup for å endre dato og klokkeslett og skjermformat. Plasser
menyvelgeren ved siden av menyelementet Display. Trykk
deretter på programtasten Date/Time (Dato/klokkeslett) for å
åpne menyen for dato/klokkeslett. Plasser deretter menyvelgeren
ved siden av elementet merket Set Date (Innstill dato) eller Set
Time (Innstill klokkeslett), og trykk på programtasten Edit.
Plasser markøren på elementet for dato/klokkeslett med 5 og 6,
for å justere det. Bruk 7 og 8 for å endre det valgte elementet
for dato eller klokkeslett. Trykk på OK for å fullføre handlingen.
Innstille tidsavbrudd for skjermbelysning og
automatisk avslåing
Måleinstrumentets funksjon for skjermbelysning og automatisk
avslåing benytter tidtakere for å avgjøre når skjermbelysningen
skal slås av, når måleinstrumentet skal slås av automatisk eller
når batteriets strømsparingsmodus skal aktiveres. Disse
tidsavbruddene innstilles ved å trykke på programtasten Setup,
og plassere menyvelgeren ved siden av menyelementet
Instrument. Plasser menyvelgeren ved siden av menyelementet
Auto Backlight Timeout (Tidsavbrudd for skjermbelysning)
eller Auto Power Off (Automatisk avslåing) og trykk på
programtasten Edit. Juster tiden til en av de forhåndsinnstilte
verdiene med 7 og 8 . Trykk på OFF for å deaktivere
funksjonen for tidsavbrudd. Trykk på programtasten OK for å
innstille den valgte tiden. Trykk på programtasten Close for å gå
tilbake til normal bruk av måleinstrumentet.
Batterisparingsmodusen brukes når måleinstrumentet utfører en
registreringsøkt eller under MIN MAX, toppunktregistrering og
AutoHold. Batterisparemodusen slår av strømmen til de kretsene
som ikke brukes i disse registreringsøktene, inkludert skjermen.
Når det gjelder registreringsmodusen, er perioden før
tidsavbrudd innstilt på 5 minutter, og blir bare aktivert når
tidsavbrudd for funksjonen Auto Power Off er innstilt på en
annen verdi enn Off (Av). For MIN MAX, toppunkt og AutoHold er
tidsavbruddet tidsperioden som er innstilt for Auto Off
(Automatisk avslåing).
Innstille en egendefinert dBm-referanse
Hvis du vil legge til en egendefinert dBm-referanseverdi, trykker
du på programtasten Setup , og plasserer menyvelgeren ved
siden av menyelementet Instrument. Trykk deretter på
programtasten Instrument, og plasser menyvelgeren ved siden
av menyelementet dBm Reference (dBm-referanse). Trykk
deretter på programtasten Edit. Trykk på 5 og 6 for å plassere
markøren på et bestemt siffer. Trykk på 7 og 8 for å øke eller
minske sifferet. Trykk på programtasten OK for å legge til denne
verdien i dBm-referanselisten når ønsket referanse vises. Det er
bare tillatt med én egendefinert verdi. Trykk på programtasten
Close for å gå tilbake til normal bruk av måleinstrumentet.

True-rms Digital Multimeters
Bruke minne
49
Deaktivere og aktivere lydsignalet
Måleinstrumentets lydsignal varsler brukere om meldinger,
operatørfeil som feil ledningskoblinger for den valgte funksjonen,
og nylig registrerte verdier for MIN MAX- og toppunktregistrering.
Selv om lydsignalet også brukes til kontinuitetsfunksjonen, blir
ikke styring av lydsignalet for denne funksjonen foretatt gjennom
dette oppsettalternativet. Se under “Teste for kontinuitet” for
informasjon om lydsignalet for kontinuitet.
Hvis du vil aktivere eller deaktivere måleinstrumentets lydsignal,
trykker du på programtasten Setup, og plasserer menyvelgeren
ved siden av menyelementet Instrument. Trykk deretter på
programtasten Instrument, og plasser menyvelgeren ved siden
av menyelementet Beeper (Lydsignal). Trykk på programtasten
Edit for å flytte markøren til av eller på. Bruk 7 og 8 for å slå
lydsignalet på og av. Lydsignalstatusen blir angitt i statuslinjen
på skjermen (se punkt 12 i figur 2).
Aktivere og deaktivere utjevningsmodusen
Når det er støy på inngangssignalene eller de endres raskt, kan
målingen vises mer stabilt ved å aktivere utjevningsmodusen.
Hvis du vil aktivere eller deaktivere utjevningsmodusen, trykker
du på programtasten Setup (Oppsett), og plasserer
menyvelgeren ved siden av menyen Instrument. Trykk deretter
på programtasten Instrument, og plasser menyvelgeren ved
siden av menyelementet Smoothing (Utjevning). Trykk på
programtasten Edit for å flytte markøren til av eller på. Aktiver
eller deaktiver utjevningsmodusen med 7 og 8.
Bruke andre konfigurasjonsvalg
Andre konfigurasjonsvalg inneholder informasjon om måleren og
noen generelle instrumentfunksjoner. Valget Meter Info
(Informasjon for måleinstrumentet) viser serienummet,
modellnummeret, fastvareversjonen, kalibreringsdatoen og
kalibreringstelleren. Operatørens navn, firmanavn,
avdelingsnavn og kontaktinformasjon vises også når denne
informasjonen er lastet inn i måleinstrumentet med
programvaren FlukeView® Forms.
Med valget Calibration (Kalibrering) kan en kvalifisert
kalibreringstekniker angi et passord, slik at måleinstrumentet kan
bli kalibrert. Se dokumentet 287/289 Calibration Information
(Kalibreringsinformasjon for 287/289) for å kalibrere
måleinstrumentet.
Med valget Secure Erase (Sikker sletting) kan brukertilgjengelig
minne slettes i henhold til Homeland Securitys regler.
Måleinstrumentets kalibrering går ikke tapt når denne slettingen
på lavt nivå blir utført.
Etter hvert som det blir utviklet nye funksjoner på
måleinstrumentet, kan den nyeste programvareversjonen lastes
ned til måleinstrumentet fra Flukes webside for kundestøtte med
valget Software Update (Programvareoppdatering).
Bruke minne
Måleinstrumentet har et minne for å lagre individuelle målinger,
målinger som er innsamlet i en angitt periode og
målingshendelser.
All lagret data kan vises på måleinstrumentet eller lastes ned til
en PC via måleinstrumentets infrarøde (IR)
kommunikasjonskobling med FlukeView™ Forms. Se under
“Bruke kommunikasjon” for mer informasjon om kommunikasjon
med en PC ved hjelp av programvaren FlukeView Forms.

287/289
Bruksanvisning
50
Lagre individuelle datamålinger
Et øyeblikksbilde av data på skjermen blir for alle målefunksjoner
lagret ved å trykke på programtasten Save (Lagre). Med unntak
av minimålingen i statuslinjen, fryser skjermbildet og menyen
Save vises. To valg gjør det mulig å lagre dataene under et
tidligere valg navn, eller velge et annet navn ved å trykke på
programtasten +Name (+Navn). Se under ”Navngi lagret data”
senere i denne håndboken. Viste data blir lagret sammen med
datoen og klokkeslettet på dagen lagringen ble foretatt.
De viste oppsummeringsdata for MIN MAX og toppunkt kan
lagres når som helst ved å trykke på programtasten Save. Et
øyeblikksbilde av økten på det aktuelle tidspunktet blir dermed
bevart.
Navngi lagret data
Måleinstrumentet har en liste over 8 forhåndinnstilte navn som
målingsdata kan lagres under. Flere registreringer kan lagres
med det samme navnet. Ett forhåndsinnstilt navn er Save. Den
første gangen en lagringsoperasjon blir utført med dette navnet,
blir Save-1 brukt for å navngi registreringen i minnet. Neste gang
Save-navnet blir brukt, øker tallet til 2, og registreringen blir
lagret under navnet Save-2. Tallet som øker automatisk, kan
tilbakestilles til 1 ved å plassere menyvelgeren ved siden av
lagringsnavnet og deretter trykke på programtasten Reset #.
(Nullstill tall).
Trykk på programtasten Save for å lagre et øyeblikksbilde, en
registreringsøkt eller en registreringsøkt for MIN MAX- eller
toppunkt. Trykk på +Name for å velge navnet i listen med
forhåndsinnstillinger. Trykk på programtasten Save for å lagre til
det samme navnet som før, men med neste tall. Med denne
andre metoden er det lett å lagre en serie med målinger ved
ganske enkelt å trykke på programtasten Save to ganger for
hver lagringsoperasjon.
Når du skal velge navnet for en lagringsoperasjon, plasserer du
menyvelgeren ved siden av ønsket navn med markørknappene.
Trykk deretter på programtasten Save.
Vise data i minne
Visning av data som er lagret i måleinstrumentets minne, foregår
gjennom lagringsmenyen. Trykk på programtasten Save. Plasser
menyvelgeren ved siden av menyelementet View Memory (Vis
minne), og trykk på programtasten View (Vis).
Merk
Når du skal vise data lagret i minnet, kan ikke
måleinstrumentet registrere eller utføre en MIN MAX-
eller toppunktregistreringsøkt.
Måleinstrumentet inndeler lagret data i følgende fire kategorier:
Mål, MIN MAX, toppunkt og registrering. Bruk markørknappene
til å plassere menyvelgeren ved siden av den ønskede lagrede
datakategorien og trykk deretter på programtasten View.
Måleinstrumentet viser den siste registreringen som ble lagret for
den valgte datakategorien.
Hvis det er registreringer som er lagret tidligere, trykker du på
programtasten Preveller 5 for å gå sidevis bakover gjennom
lagrede registreringer. Trykk på programtasten Next (Neste) eller
6 for å gå sidevis den andre veien. Trykk på Close for å gå
tilbake til normal bruk av måleinstrumentet.

True-rms Digital Multimeters
Bruke minne
51
Vise øyeblikksbilde- og oppsummeringsdata
Etter at du har valgt kategorien MIN MAX, toppunkt eller mål,
som beskrevet i avsnittet "Vise data i minne" ovenfor, viser View
bare den informasjonen på det tidspunktet en lagring ble utført.
Skjermen blir rekonstruert fra disse dataene når de vises.
Vise trenddata
Når det gjelder kategorien for registrering, blir intervall- og
hendelsesdata lagret under en registreringsøkt vist på
måleinstrumentet via en trend-plot-visning lignende den på en
strimmelkurvemåler. Under ”Registrere måledata” senere i denne
håndboken finner du en forklaring på intervall- og hendelsesdata.
Etter at registreringskategorien som er beskrevet under "Vise
data i minne" ovenfor, og etter at det er trykt på View, vises
registreringsøktens oppsummeringsskjermbilde (se tabell 9).
Trykk på programtasten Trend for å vise dataregistreringene i
en trendplottvisning. Tabell 7 viser trendvisningen med en
beskrivelse av hver enkel komponent.
Når du skal se på data som er lagret i de enkelte registreringene
som til sammen utgjør en trend, flytter du markøren til et punkt
langs plottet ved å trykke på 6 eller 5. Verdien og tidsstempelet til
verdien for minimal, maksimum og avsluttende registrering for
den valgte registreringen, blir vist nederst på markøren. All data i
registreringen kan bare vises på en PC som kjører FlukeView
Forms.
Merk
Tidsmerkinger for X-aksen blir vist i forløpt tid , mens
tidsstemplet som vises under markøren, er den
absolutte tiden
Tabell 7. Trenddatavisning
Recording 5 6/28/07 07:42:55
40
0:15 0:30 0:45
HH:MM
23.456 VAC 08:13:05 6/28/07
1:00 1:15 1:30
30
20
VAC
10
0
6
123
4
5
est35.eps
Element Beskrivelse
A Markør
B Startdato og klokkeslett
C Trendlinje
D Zoomenivå.
E Forløpt tid. Måleenheter i timer og minutter,
eller minutter og sekunder.
F Tidsskalaangivelse (TT:MM eller MM:SS)
G Målt verdi og tidsstempel for valgt registrering.

287/289
Bruksanvisning
52
Zoome inn på trenddata
Ved å trykke på 7 eller 8 når du viser trenddata, blir det zoomet
henholdsvis inn eller ut på dataene rundt markøren. Hvert trykk
på 7 reduserer x-aksens tidsperiode med en halv for å avdekke
flere detaljer. Hvert trykk på 8 fordobler tidsperioden til alle de
registrerte dataene blir vist. Zoomenivået vises øverst i høyre
hjørne av skjermbildet. X1 angir trenden til den fullstendige
registreringsperioden som vises. X2 er halvparten av
registreringstiden. X3 er en firedel av registreringstiden.
Forstørringen kan fortsette til tidsperioden til x-aksen er ett
sekund.
Slette lagrede måledata
Sletting av data som er lagret i måleinstrumentets minne, foregår
gjennom lagringsmenyen. Trykk på programtasten Save. Bruk
programtasten Prev (Forrige) og Next (Neste) for å velge et
element for sletting.
Måleinstrumentet inndeler lagret data i følgende kategorier: Mål,
MIN MAX, toppunkt og registrering. Bruk markørknappene til å
plassere menyvelgeren ved siden av en ønsket datakategori som
er lagret, og trykk deretter på programtasten View for å vise
elementet.
Trykk på programtasten Delete All vil slette all lagret data under
den valgte datakategorien som er lagret. Du kan også trykke på
programtasten View. Etter at du har godtatt en
bekreftelsesmelding, velger du et element du vil slette med
programtastene Prev og Next (Forrige og Neste). Trykk deretter
på programtasten Delete (Slett). En melding der du blir bedt om
å bekrefte slettingen vises før noe blir slettet fra minnet.
Registrere måledata
Måleinstrumentets registreringsfunksjon samler inn
måleinformasjon gjennom en brukerspesifisert tidsperiod. Denne
innsamlingen av informasjon kalles en registreringsøkt. En
registreringsøkt er satt sammen av én eller flere
måleregistreringer. Hver registrering inneholder
oppsummeringsinformasjon for måling som dekker
registreringens varighet.
Hver registrering inneholder minimus-, maksimums- og
gjennomsnittsverdien som er registrert i løpet av registreringens
varighet. I tillegg til måleverdier blir også tidsstempler innfanget
og lagret med hver registrering. Tidsstemplene består av
registreringens starttid, tiden maksimumsverdien ble registrert,
tiden minimumsverdien ble registrert og registreringens sluttid.
Noe av en registrerings data kan vises via måleinstrumentets
funksjon for visning av trenddata. Visning av all data som utgjør
en registrering, kan bare vises på en PC som kjører FlukeView
Forms.
Følgende to typer måleregistrering innfanges under en
registreringsøkt: intervall og hendelse. En intervallregistrering
dekker et brukerspesifisert intervall. En hendelsesregistrering har
en varighet som blir bestemt av aktiviteten til det målte signalet
og kan avbryte en intervallregistrering. Selv om en
intervallregistrering blir avbrutt, vil en registrering avsluttes og en
ny intervallregistrering vil begynne når den oppsatte intervalltiden
utløper.
Hendelsesregistreringer blir trigget av det målte signalet når det
varierer mer enn en justerbar prosent av verdien som ble målt da
registreringen startet. Denne justerbare prosenten kalles
hendelsesterskelverdi for registrering. I tillegg til verdiene og

True-rms Digital Multimeters
Registrere måledata
53
tidsstemplene som er nevnt ovenfor, lagrer også en
hendelsesregistrering enten at signalet var stabilt eller ustabilt så
lenge hendelsesregistreringen varte. Det målte signalets verdi
må være innenfor den valgte prosenten av startverdien i minst ett
sekund for å bli klassifisert som stabilt. Målte signaler som
overskrider den prosentenvise terskelverdien i mindre enn ett
sekund, blir klassifisert som ustabile. Se under "Innstille
terskelverdien for hendelse" lenger bak i denne håndboken.
Merk
Terskelverdien for AutoHold for temperaturmålinger er
en prosent av 100 grader. Standard terskelverdi for
AutoHold er 4 % av 100 grader, eller 4 grader Celsius
eller Fahrenheit.
En registrering avsluttes når ett av følgende inntreffer:
• Starting av en ny intervallregistrering.
• En overlast av verdiområdet, som fører til at
måleinstrumentet endrer verdiområde.
• En overlast som ikke fører til endring av verdiområde, i
manuelt verdiområde eller i det høyeste verdiområdet.
• Den målte verdien endres mer enn 4 % av verdien som ble
målt da registreringen startet.
• Registreringsøkten avsluttes.
Avslutning av en registreringsøkt kan forårsakes av ett av
følgende:
• Registreringsøktens varighet utløper.
• Registreringsøkten stoppes manuelt.
Sette opp en registreringsøkt
Før du starter en registreringsøkt, må du konfigurere
måleinstrumentet for de målingene som skal registreres. Endre
eventuelt terskelverdien for hendelse (se under "Innstille
terskelverdien for hendelse" lenger bak i denne håndboken).
Trykk på programtasten Save (Lagre) for å åpne menyen for å
lagre. Flytt deretter menyvelgeren til menyelementet Record
med markørknappene, og trykk på programtasten Record for å
åpne konfigurasjonsvisningen.
Følgende to variabler finnes for å sette opp en registreringsøkt:
Registreringsøktens og prøveintervallets varighet. Begge
variablene påvirker lengden av registreringen og antallet
intervaller som blir registrert. Disse to variablene kan påvirke
hverandre på den måten at hvis du innstiller én variabel, kan den
andre bli justert til å passe sammen med registreringsøkten i det
tilgjengelige minnet. Prosent tilgjengelig minne i begynnelsen av
registreringsøkten, vises nedenfor innstillingene for varighet og
prøveintervall. Verdier for tilleggsutstyr kan justeres på følgende
måte:
Prøveintervallet kan innstilles fra ett sekund til 99 minutter og
59 sekunder. Varighet av registreringsøkt kan innstilles fra ett
minutt til 99 dager 23 timer og 59 minutter.

287/289
Bruksanvisning
54
Tabell 8. Registreringsvisning
VAC
Start Time:
Remaining Time: 2 Hrs 26 mins
Interval Samples: 47 Events:7
Reference: 121.70 VAC
06/10/07 07:23:55
Stop
Auto Range
500 VAC0
123.45 VAC
100 200 300 400
Recording
1.75
8:10pm
06/13/07
1
2
3
6
54
est31.eps
Element Beskrivelse
A Ikon for registreringsøkt pågår.
B Klokkeslett og dato da registreringsøkten
startet.
C Gjenværende tid til registreringsøkten stopper.
D Totalt antall hendelsesregistreringer som er
registrert til nå.
E Referanseverdi for relative målinger.
F Totalt antall intervallregistreringer som er
registrert til nå.
Måleinstrumentet tildeler minne på en slik måte for å garantere at
alle brukerspesifiserte prøveintervaller blir innfanget.
Hendelsesregistreringer vil også bli innfanget til
måleinstrumentet registrerer at det tildelte minnet er brukt opp.
Hendelser blir på dette tidspunktet ikke registrert, men
hendelsestelleren fortsetter videre for å angi totalt antall
hendelser som inntraff. Et plusstegn (+) vises etter
hendelsestellingen for å angi denne tilstanden.
Merk
Maksimalt antall registrerte prøveintervaller er 10 000.
Maksimum antall registrerte hendelser er 15 000
minus antallet prøveintervaller. Disse
maksimumsantallene blir senket proporsjonalt når det
er lite tilgjengelig minne.
Hvis du vil endre en av de to registreringsvariablene, bruker du
markørknappene til å plassere menyvelgeren ved siden av det
ønskede menyelementet og trykke på programtasten Edit
(Rediger). Bruk 5 6 7 og 8 til å flytte mellom og innstille hvert
siffer i den valgte variabele.
Hvis batterinivået er noe annet enn fullt, vises en melding
nederst i registreringsmenyen som påminner om batterinivået før
du begynner registreringsøkten.
Innstille terskelverdien for hendelse
Trykk på programtasten Setup (Oppsett) for å åpne
konfigurasjonsmenyen. Flytt menyvelgeren ved siden av
menyelementet Recording (Registrering) med markørknappene,
og trykk på programtasten Recording for å åpne
innstillingsskjermbildet for registrering. Flytt menyvelgeren ved
siden av menyelementet Event Threshold for Recording

True-rms Digital Multimeters
Registrere måledata
55
(Terskelverdi for registrering av hendelser) med
markørknappene, og trykk deretter på programtasten Edit
(Rediger). Trykk på 7 eller 8 for å bla gjennom terskelverdiene
for hendelse. Trykk på programtasten Close (Lukk) når den
aktuelle verdien er valgt.
Starte en registreringsøkt
Etter at variablene er innstilt, trykker du på programtasten Start.
Da vil s vises i skjermbildet, og den grønne indikatoren
rundt av/på-knappen (O) blinker. Tabell 8 viser
registreringsskjermbildet og beskriver informasjonen som vises.
Programtastfunksjonene for Menu, Setup, Reference og
Temperature Offset er ikke tilgjengelige så lenge
måleinstrumentet holder på å registrere. Dette sikrer at målinger
under en registreringsøkt blir overensstemmende.
Måleinstrumentet vil gå inn i batterisparemodus 5 minutter etter
at du har trykt på en knapp eller IR-kommunikasjonsaktiviteten
opphører, for å forlenge batteriets levetid under registrering. Hvis
tidsavbrudd for automatisk avslåing er innstilt på aldri,
deaktiveres batterisparemodusen.
Stoppe en registreringsøkt
Registreringsøkten vil fortsette til det tildelte minnet er oppbrukt,
batteriene blir tomme, dreiebryteren blir flyttet eller en probe blir
satt i eller fjernet fra A- eller mA/μA-kontaktene eller en økt blir
avsluttet ved å trykke på programtasten Stop.
Tabell 9 viser skjermbildet og beskriver informasjonen som vises
etter at en registreringsøkt blir stoppet.
Etter stopping av en registreringsøkt, velg å lagre
registreringsøkten, vise trenddata (se under ”Vise trenddata”)
eller lukke registreringsøkten. Hvis økten ikke ble lagret før du
trykte på programtasten Close , vil data gå tapt.
Tabell 9. Skjermbilde for stoppet registrering
VAC
Start Time :
Duration : 3 days 14 Hrs 47 mins
Interval Samples: 135 Events:53
Reference: 121.70 VAC
06/10/07 07:23:55
Save Trend Close
Auto Range
500 VAC0
123.45 VAC
100 200 300 400
RecordingStoppedREL
1.75
8:10pm 06/13/07
1
2
3
6
54
est34.eps
Element Beskrivelse
A Stoppet-ikon angir at registreringsøkten er
stoppet.
B Klokkeslett og dato da registreringen begynte.
C Hvor lenge (varighet) registreringsøkten
pågikk.

287/289
Bruksanvisning
56
Tabell 9. Skjermbilde for stoppet registrering (forts.)
Element Beskrivelse
D Antall hendelsesregistreringer som er
oppdaget.
E Referanseverdi for relative målinger.
F Antall intervallregistreringer som er oppdaget.
Bruke kommunikasjon
Du kan bruke IR-kommunikasjonsforbindelsen og programvaren
FlukeView Forms til å overføre innholdet av et måleinstruments
minne til en PC.
Ved bruk av en IR-kommunikasjonsforbindelse (infrarød) for PC-
til-måler, kan du slå opp i FlukeView Forms Installation Guide
(Installasjonsveiledning for FlukeView Forms) eller den
elektroniske hjelpefunksjonen.
Merk
Måleinstrumentet foretar logging i sanntidsmodus til en
tilkoplet datamaskin som kjører FlukeView Forms. På
måleinstrumentet kan brukeren dessuten foreta
logging til internminnet og senere kople seg til
datamaskinen for nedlasting
Med FlukeView Forms kan du plassere data i standard eller
tilpassede skjemaer. Skjemaene viser data i tabellform og grafisk
form, og viser dessuten brukerkommentarer. Disse skjemaene
kan brukes til å oppfylle ISO-9000 og andre krav til
dokumentasjon.

True-rms Digital Multimeters
Feilmeldinger
57
Feilmeldinger
Tabell 10 inneholder noen av feilmeldingene som kan vises på måleinstrumentet, samt tilstander som kan være årsaken til feilen.
Tabell 10. Feilmeldinger
Melding Tilstander
Leads connected incorrectly.
(Feil ledningstilkobling.) Ledningen i A- eller mA/μA-kontakten, men dreiebryteren er ikke i tilsvarende A/mA-
eller μA-stilling.
Ledninger i både A- og mA/μA-kontaktene.
Dreiebryteren er innstilt på å måle strøm, men ingen ledning i verken A- eller mA/μA-
kontakten.
Open Thermocouple (Åpent
termoelement)
Ledningen til termoelement er åpen, eller termoelementkoblingen er korrodert.
Et termoelement er ikke koblet til måleinstrumentets inngang.
Batteries low – function
unavailable. (Lite batteristrøm –
utilgjengelig funksjon.)
Den valgte funksjonen krever mer batteristrøm for å kunne fungere i henhold til
spesifikasjonene.
Error: Date and Time need to be
reset. (Feil: Dato og klokkeslett
må tilbakestilles.)
Batteriene var ute av måleinstrumentet for lenge, slik at dato og klokkeslett gikk tapt.
Not enough memory for
operation. (Ikke nok minne til
funksjonen.)
Når du starter en registreringsøkt eller lagrer data på skjermen, har ikke
måleinstrumentet nok minne til å lagre informasjonen.
Batteries critically low, replace
now. (Kritisk lite batteristrøm,
skift nå.)
For lite batteristrøm til å foreta målinger innenfor angitte spesifikasjoner.
Måleinstrumentet vil slås av innen 15 sekunder etter at denne meldingen vises for å
bevare dato og klokkeslett.

287/289
Bruksanvisning
58
Vedlikehold
XWAdvarsel
Unngå elektrisk støt eller personskade.
Reparasjoner og service som ikke er behandlet i
denne håndboken, skal bare utføres av kvalifiserte
serviceutøvere som beskrevet i 287/289 Service
Information.
Generelt vedlikehold
Huset må regelmessig tørkes med en fuktig klut og mildt
vaskemiddel. Bruk aldri slipemidler, isopropylalkohol eller
løsemidler.
Skitt eller fuktighet i terminalene kan innvirke på avlesninger og
kan utilsiktet aktivere Input Alert-funksjonen. Rengjør
terminalene på følgende måte:
1. Slå av måleinstrumentet og fjern alle prøveledninger.
2. Rist ut eventuell smuss i terminalene.
3. Dypp en ren vattpinne i mildt vaskemiddel og vann. Vri
vattpinnen rundt i hver terminal. Tørk hver terminal med
trykkluft på boks for å tvinge vannet og vaskemiddelet ut av
terminalene.
Teste sikringer
Sett en prøveledning i kontakten S og plasser probetuppen i
den andre enden av prøveledningen mot metallet i kontakten for
strøminngang mens måleinstrumentet er i W-funksjonen,
som vist i figur 28.
Hvis meldingen “Leads Connected Incorrectly” (Ledninger er
tilkoblet på feil måte) vises, er probetuppen blitt satt altfor lang
inn i kontakten for ampereinngang. Trekk ledningen litt ut til
meldingen forsvinner, og enten OL eller en motstandsmåling
vises i skjermbildet på måleinstrumentet. Verdien for motstand
bør være mellom 0,00 og 0,50 Ω for A-kontakten, og
10,00 ±0,05 kΩ for €-kontakten.
XWAdvarsel
Gjør følgende for å unngå elektrisk støt eller
personskade. Fjern prøveledningene og eventuelle
inngangssignaler før batteriet eller sikringer
byttes. Hindre skade eller personskade ved å bare
bruke Fluke-spesifiserte sikringer med amperetall,
spenning og hastighetsklassifiseringer som er vist
i Tabell 11.

True-rms Digital Multimeters
Vedlikehold
59
eta33.eps
Figur 28. Teste strømsikringene

287/289
Bruksanvisning
60
Bytte batteriene
Se figur 30 og bytt batteriene på følgende måte:
1. Slå av måleinstrumentet og fjern prøveledningene fra
terminalene.
2. Fjern batteridekselet med en vanlig skrutrekker, ved å vri
skruene på batteridekselet en halv omdreining mot venstre.
3. Skift ut batteriene med seks 1,5 volts AA-batterier (NEDA
15A IEC LR6). Kontroller at polariteten er riktig.
4. Sett tilbake batteridekselet og fest det ved å dreie skruene
en halv omdreining mot høyre.
Bytte sikringer
Inspiser eller skift måleinstrumentets sikringer på følgende måte i
henhold til figur 30:
1. Slå av måleinstrumentet og fjern prøveledningene fra
terminalene.
2. Fjern batteridekselet med en vanlig skrutrekker, ved å vri
skruene på batteridekselet en halv omdreining mot venstre.
3. Fjern sikringen ved å forsiktig lirke løs en av endene og
deretter skyve sikringen ut av holderklipset.
4. Installer bare Fluke-spesifiserte sikringer med amperetall,
spenning, og avbruddsklassifisering som vist i Tabell 11.
5. Sett tilbake batteridekselet og fest det ved å dreie skruene
en halv omdreining mot høyre.
Prøveledning – lagring
Figur 29 viser riktig måte å lagre prøveledningene på sammen
med måleinstrumentet.
est41.eps
Figur 29. Prøveledning – lagring

True-rms Digital Multimeters
Vedlikehold
61
eta32.eps
Figur 30. Skifte batterier og sikringer

287/289
Bruksanvisning
62
Hvis det oppstår problemer
Hvis måleinstrumentet ikke fungerer som det skal:
1. Kontroller at alle batterier er satt i med riktig polaritet.
2. Undersøk om huset er skadet. Ta kontakt med Fluke hvis
du oppdager skade. Se under ”Ta kontakt med Fluke”
tidligere i denne håndboken.
3. Sjekk og skift batteriene, sikringene og prøveledningene.
4. Se i håndboken for å bekrefte riktig drift.
5. Hvis måleinstrumentet fremdeles ikke fungerer, pakker du
det godt ned og sender det med porto betalt til det stedet
som oppgis av den aktuelle Fluke-kontakten. Send med en
beskrivelse av problemet. Fluke påtar seg intet ansvar for
transportskader.
Hvis garantien for måleinstrumentet fremdeles er gyldig, vil det
bli reparert eller byttet (etter Flukes vurdering) og returnert
vederlagsfritt. Se garantibetingelser på registreringskortet.

True-rms Digital Multimeters
Service og deler
63
Service og deler
Reservedeler og tilbehør er vist i tabell 11 og 12, og figur 31. Se under "Ta kontakt med Fluke" for å finne ut hvordan du bestiller deler eller
tilbehør.
Tabell 11. Reservedeler
Element Beskrivelse Ant.
Fluke dele-
/modellnummer
1 Knott 1 2798434
2 Skall 1 2798418 (289)
2798429 (287)
3 Tastatur 1 2578234
4 O-ring 1 2740185
5 Hus, topp 1 2578178
6 Stjerneskrue 5 2743764
7 Maske, LCD 1 2760673 (289)
2798407 (287)
8 LCD-modul 1 2734828
9 Støtdemper 3 2793516
10 Sperrehake for fjær 1 2723772
11 RSOB-hus, øvre 1 2578283
Øvre 1 2578252
12 Vern Nedre 1 2578265

287/289
Bruksanvisning
64
Tabell 11. Reservedeler (forts.)
Element Beskrivelse Ant. Fluke dele-/modellnummer
13 RSOB-hus, nedre 1 2578290
14 Hus, bunn 1 2578184
15 Støtdemper, batterirom 1 2793525
16 Batteripol, negativ 2 2578375
17 Batteripol, positiv 1 2578353
18 WSikring (F1), 0,440 A, 1000 V, FAST, avbruddsklassifisering
10 kA 1 943121
19 WSikring (F2), 11 A, 1000 V, FAST, avbruddsklassifisering 20 kA 1 803293
20 1,5 V batteri, NEDA 15C/15F eller IEC R6S 6 376756
21 Batterideksel (inkluderer vippebøyle) 1 2824477
22 Stjerneskrue 7 853668
23 TL71 høyrevinklet prøveledningssett 1 TL71
24 Alligatorklips, ett sort og ett rødt 2 1670652 (svart)
1670641 (rødt)
25 Håndbok, pakke med håndbok, Fluke 287/289 1 2748851
26 CD[1] med brukerhåndbok for 287/289 1 2748872
W Bruk bare identiske reservedeler for sikkerhetens skyld.
[1] Brukerhåndboken og hurtigveiledningen er tilgjengelige på www.Fluke.com. Klikk på Support og deretter Product Manuals
(Produkthåndbøker)

True-rms Digital Multimeters
Service og deler
65
1
14
23
24
26
25
15
18
19 20
21
22
17
16
3
4
2
5
6
4 PL
2 PL
6 PL
7
8
10
11
12
13
9
est40.eps
Figur 31. Deler som kan skiftes

287/289
Bruksanvisning
66
Tabell 12. Tilbehør
Element Beskrivelse
AC72 Alligatorklips for bruk med TL75-prøveledningssett
AC220 Sikkerhetshåndtak, alligatorklips med bred kjeft
80BK-A Integrert DMM-temperaturprobe av typen 80 BK-A
TPAK ToolPak magnetisk holder
C25 Myk bæreveske
TL76 Prøveledninger med 4 mm diameter
TL220 Industrielt prøveledningssett
TL224 Prøveledningssett, varmebestandig silikon
TP1 Testprober, flatbladet, slanke og langtrekkende
TP4 Testprober, 4 mm diameter, slanke og langtrekkende
Fluke-tilbehør kan fås hos nærmeste autoriserte Fluke-distributør.

True-rms Digital Multimeters
Generelle spesifikasjoner
67
Generelle spesifikasjoner
Maksimumsspenning mellom en terminal og jord:1000 V
W Sikringsbeskyttelse for mA- eller μA-inngangssignaler ..Sikring, 0,44 A (44/100 A, 440 mA), 1000 V FAST, bare Fluke-spesifisert del
W Sikringsbeskyttelse for A-inngangssignal ........................Sikring, 11 A, 1000 V FAST, bare Fluke-spesifisert del
Batteritype..................................................................................6 alkaliske AA-batterier, NEDA 15A IEC LR6
Batteriets levetid .......................................................................Minimum 100 timer. 200 timer i loggmodus
Temperatur
Bruk.........................................................................................-20 °C til 55 °C
Ved lagring: .............................................................................-40 °C til 60 °C
Relativ luftfuktighet...................................................................0 % til 90 % (0 °C til 37 °C), 0 % til 65 % (37 °C til 45 °C), 0 % til 45 % (45 °C
til 55 °C)
Høyde over havet
Bruk.........................................................................................3,000 m
Ved lagring: .............................................................................10,000 m
Temperaturkoeffisient...............................................................0,05 x (spesifisert nøyaktighet)//°C (<18 °C eller >28 °C)
Vibrasjon ....................................................................................Tilfeldig vibrasjon til klasse 2 per MIL-PRF-28800F
Støt .............................................................................................1 meter falltest, per IEC/EN 61010-1 2. utgave
Størrelse (HxBxL) ......................................................................22,2 x 10,2 x 6,0 cm (8,75 x 4,03 x 2,38 tommer)
Vekt.............................................................................................871 g (28,0 oz)
Sikkerhetsstandarder
US ANSI..................................................................................I samsvar med ANSI/ISA 82.02.01 (61010-1) 2004
CSA.........................................................................................CAN/CSA-C22.2 nr. 61010-1-04 til 1000 V målekategori III og 600 V
målekategori IV, forurensningsgrad 2
UL............................................................................................UL 61010 (2003)
CE europeisk...........................................................................IEC 61010-1 2. utgave, forurensningsgrad 2

287/289
Bruksanvisning
68
Elektromagnetisk kompatibilitetsstandarder (EMC)
Europeisk EMC ....................................................................... EN61326-1
Australsk EMC ........................................................................ ; N10140
US FCC................................................................................... FCC CFR47: Del 15, KLASSE A
Sertifiseringer............................................................................ UL, CE, CSA, ; (N10140), š
Detaljerte spesifikasjoner
Nøyaktighet:
Nøyaktighet er spesifisert for en periode på ett år etter kalibrering ved 18 °C til 28 °C (64 °F til 82 °F), med relativ fuktighet på 90 %.
Nøyaktighetsspesifikasjoner blir gitt som: ± ([ % av måling ] + [ antall sifre med minst betydning ]). Nøyaktighetsspesifikasjonene forutsetter
at omgivelsestemperaturen er stabil ved ±1 °C. Ved temperaturendringer på ±5 °C, gjelder klassifisert nøyaktighet etter 2 timer. Stabiliser
måleinstrumentet i 20 minutter etter bruk av LoZ for å oppnå helt nøyaktig måling av DC mV, temperatur, ohm og Lo (50) ohm.
Sann-rms:
Spesifikasjonene AC mV, AC V, AC μA, AC mA og AC A er ac-koblet, sann rms og er spesifisert fra 2 til 100 % av verdiområde, unntatt 10 A
området som er spesifisert fra 10 % til 100 % av verdiområde.
Amplitudefaktor:
Nøyaktighet blir spesifisert med AC-amplitudefaktor på ≤ 3,0 av full skala, og øker lineært til 5,0 ved halv skala, unntatt i 1000 V-
verdiområdet der den er 1,5 ved full skala og øker lineært til 3,0 ved halv skala og 500 mV og 5000 μA der det er ≤ 3,0 ved 80 % av full
skala, som øker lineært til 5,0 ved halv skala. Legg til ± (0,3 % av verdiområde og 0,1 % av måling) for ikke-sinusformede kurver.
AC-gulv:
Når inngangsledningene kortsluttes i vekselspenningsfunksjonene, kan instrumentet vise en restmåling opptil 200 tellinger. En restmåling på
200 tellinger vil utgjøre bare en endring på 20 tellinger for målinger på 2 % av verdiområdet. Når REL benyttes til eliminasjon av
restmålingen, kan dette resultere i en mye større konstantfeil ved senere målinger.
AC+DC:(vekselstrøm + likestrøm)
AC+DC er definert som 22 dcac +

True-rms Digital Multimeters
Detaljerte spesifikasjoner
69
Spesifikasjoner for AC-spenning
Nøyaktighet
Funksjon Verdiområde Oppløsning 20 til 45 Hz 45 til 65 Hz 65 Hz til 10 kHz 10 til 20 kHz 20 til 100 kHz
50 mV [1] 0,001 mV 1,5 % + 60 0,3 % + 25 0,4 % + 25 0,7 % + 40 3,5 % + 40 [5] AC mV
500 mV 0,01 mV 1,5 % + 60 0,3 % + 25 0,4 % + 25 0,7 % + 40 3,5 % + 40
5 V [1] 0,0001 V 1,5 % + 60 0,3 % + 25 0,6 % + 25 1,5 % + 40 3,5 % + 40 [5]
50 V [1] 0,001 V 1,5 % + 60 0,3 % + 25 0,4 % + 25 0,7 % + 40 3,5 % + 40
500 V [1] 0, 1 V 1,5 % + 60 0,3 % + 25 0,4 % + 25 Ikke spes. Ikke spes.
AC V
1000 volt 0,1 volt 1,5 % + 60 0,3 % + 25 0,4 % + 25 Ikke spes. Ikke spes.
-70 to -62 dB[3] 0,01 dB 3 dB 1,5 dB 2 dB 2 dB 3 dB
-62 to -52 dB[3] 0,01 dB 1,5 dB 1,0 dB 1 dB 1 dB 2 dB
-52 til -6 dB[3] 0,01 dB 0,2 dB 0,1 dB 0,1 dB 0,2 dB 0,8 dB
-6 til +34 dB[3] 0,01 dB 0,2 dB 0,1 dB 0,1 dB 0,2 dB 0,8 dB
dBV
34 til 60 dB[3] 0,01 dB 0,2 dB 0,1 dB 0,1 dB Ikke spes. Ikke spes.
Lavpassfilter[4] 2 % + 80 2 % + 40 2 % +10
-6 % -60 [2] Ikke spes. Ikke spes.
L[4] 1000 volt 0,1 volt 2 % + 80 2 % + 40 2 % + 40 [6] Ikke spes. Ikke spes.
[1] Lavere enn 5 % av verdiområdet, legg til 20 tellinger.
[2] Spesifikasjon øker lineært fra -2 % ved 200 Hz til -6 % ved 440 Hz. Verdiområde er begrenset til 440 Hz.
[3] dBm (600 Ω) er spesifisert ved å legge til +2,2 dB til dBV områdeverdiene.
[4] Kun 289.
[5] Legg til 2,5 % over 65 kHz.
[6] Verdiområde er begrenset til 440 Hz.
Se innledningen under Detaljerte spesifikasjoner for ytterligere informasjon.

287/289
Bruksanvisning
70
Spesifikasjoner for AC-strøm
Nøyaktighet
Funksjon Verdiområde Oppløsning
20 til 45 Hz 45 til 1 kHz 1 til 20 kHz 20 til 100 kHz[4]
500 μA 0,01 μA 1 % + 20 0,6 % + 20 0,6 % + 20 5 % + 40 AC μA[3]
5000 μA 0,1 μA 1 % + 5 0,6 % + 5 0,6 % + 10 5 % + 40
50 mA 0,001 mA 1 % + 20 0,6 % + 20 0,6 % + 20 5 % + 40 AC mA[3]
400 mA 0,01 mA 1 % + 5 0,6 % + 5 1,5 % + 10 5 % + 40
5 A 0,0001 A 1,5 % + 20 0,8 % + 20 3 % + 40 [4] Ikke spes. AC A[2]
10 A [1] 0,001 A 1,5 % + 5 0,8 % + 5 3 % + 10 [4] Ikke spes.
[1] 10 A-område (10 til 100 % av område).
[2] 20 A i 30 sekunder på, 10 minutter av. >10 A er ikke spesifisert.
[3] 400 mA kontinuerlig; 550 mA i 2 minutter på, 1 minutt av.
[4] Kontrollert ved design/ og typetester.
Se innledningen under Detaljerte spesifikasjoner for ytterligere informasjon.

True-rms Digital Multimeters
Detaljerte spesifikasjoner
71
Spesifikasjon for DC-spenning
Nøyaktighet
AC over DC, DC over AC, AC + DC[2]
Funksjon Verdiområde Oppløsning DC[2] 20 til 45 Hz 45 Hz til 1 kHz 1 til 20 kHz 20 til 35 kHz
50 mV [3] 0,001 mV 0,05 % + 20 [4] 1,5 % + 40 5 % + 40 DC mV
500 mV 0,01 mV 0,025 % + 2 [5] 1,5 % + 40 5 % + 40
5 V 0,0001 V 0,025 % + 2 1,5 % + 40 5 % + 40
50 volt 0,001 V 0,025 % + 2 1,5 % + 40 5 % + 40
500 volt 0, 1 V 0,03 % + 2 Ikke spes. Ikke spes.
DC V [1]
1000 volt 0,1 volt 0,03 % + 2
2 % + 80 0,5 % + 80
Ikke spes. Ikke spes.
L[1] 1000 volt 0,1 volt 1 % + 20 Ikke spes. Ikke spes. Ikke spes. Ikke spes.
[1] Legg til 20 tellinger ac over dc, dc over ac, eller ac-dc vist samtidig.
[2] AC+DC områder er spesifisert fra 2 % til 140 % av område, unntatt 1000 V som er spesifisert fra 2 % til 100 % av område.
[3] Ved bruk av den relative modusen (REL Q) til å kompensere for avvik.
[4] Legg til 4 tellinger/10 mV AC med ac over dc, dc over ac eller ac + dc vist samtidig.
[5] Legg til 10 tellinger/100 mV AC med ac over dc, dc over ac eller ac + dc vist samtidig.

287/289
Bruksanvisning
72
Spesifikasjoner for DC-strøm
Nøyaktighet
AC over DC, DC over AC, AC + DC[1]
Funksjon Verdiområde Oppløsning
Likestrøm[1][3] 20 til 45 Hz 45 Hz til 1 kHz 1 til 20 kHz 20 til 100 kHz[5]
500 μA 0,01 μA 0,075 % + 20 1 % + 20 0,6 % + 20 0,6 % + 20 5 % + 40 DC μA [4]
5000 μA 0,1 μA 0,075 % + 2 1 % + 5 0,6 % + 5 0,6 % + 10 5 % + 40
50 mA 0,001 mA 0,05 % + 10 [6] 1 % + 20 0,6 % + 20 0,6 % + 20 5 % + 40 DC mA [4]
400 mA 0,01 mA 0,15 % + 2 1 % + 5 0,6 % + 5 1,5 % + 10 5 % + 40
5 A 0,0001 A 0,3 % + 10 1,5 % + 20 0,8 % + 20 3 % + 40[5] Ikke spes. DC A [2]
10 A 0,001 A 0,3 % + 2 1,5 % + 10 0,8 % + 10 3 % + 10[5] Ikke spes.
[1] AC+DC-områder blir spesifisert fra 2 % til 140 % av område.
[2] 20 A i 30 sekunder på, 10 minutter av. >10 A er ikke spesifisert.
[3] Legg til 20 tellinger ac over dc, dc over ac, eller ac-dc vist samtidig.
[4] 400 mA kontinuerlig; 550 mA i 2 minutter på, 1 minutt av.
[5] Kontrollert ved design/ og typetester.
[6] Temperaturkoeffisient: 0,1 x (spesifisert nøyaktighet)/ °C (<18 °C or > 28 °C)

True-rms Digital Multimeters
Detaljerte spesifikasjoner
73
Spesifikasjoner for motstand
Funksjon Verdiområde Oppløsning Nøyaktighet
50 Ω [1][3] 0,001 Ω 0,15 % + 20
500 Ω [1] 0,01 Ω 0,05 % + 10
5 kΩ [1] 0,0001 kΩ 0,05 % + 2
50 kΩ [1] 0,001 kΩ 0,05 % + 2
500 kΩ 0,01 kΩ 0,05 % + 2
5 MΩ 0,0001 MΩ 0,15 % + 4
30 MΩ 0,001 MΩ 1,5 % + 4
50 MΩ 0,01 MΩ 1,5 % + 4
50 MΩ opptil 100 MΩ 0,1 MΩ 3,0 % + 2
Motstand
100 MΩ opptil 500 MΩ 0,1 MΩ 8 % + 2
Konduktans 50 nS
[2] 0,01 nS 1 % + 10
[1] Ved bruk av den relative modusen (REL Q) til å kompensere for avvik.
[2] Legg til 20 tellinger over 33 nS i 50 nS-område.
[3] Kun 289.
Spesifikasjoner for temperatur
Temperatur Oppløsning Nøyaktighet
[1,2]
-200 °C til 1350 °C 0,1 °C 1 % + 10
-328 °F til +2462 °F 0,1 °F 1 % + 18
[1] Inkluderer ikke feil fra termoelementproben.
[2] Nøyaktighetsspesifikasjonene forutsetter at omgivelsestemperaturen er stabil på ±1 °C. Ved temperaturendringer på ±5 °C, gjelder klassifisert
nøyaktighet etter 2 timer.

287/289
Bruksanvisning
74
Spesifikasjoner for kapasitans- og diodetest
Funksjon Verdiområde Oppløsning Nøyaktighet
1 nF [1] 0,001 nF 1 % + 5
10 nF [1] 0,01 nF 1 % + 5
100 nF [1] 0,1 nF 1 % + 5
1 μF 0,001 μF 1 % + 5
10 μF 0,01 μF 1 % + 5
100 μF 0,1 μF 1 % + 5
1000 μF 1 μF 1 % + 5
10 mF 0,01 mF 1 % + 5
Kapasitans
100 mF 0,1 mF 2 % + 20
Diodetest 3,1 V 0,0001 V 1 % + 20
[1] Med en filmkondensator eller bedre, ved bruk av relativ-modus (REL Δ) til å nullstille intern støy.

True-rms Digital Multimeters
Detaljerte spesifikasjoner
75
Spesifikasjoner for frekvensteller
Funksjon Verdiområde Oppløsning Nøyaktighet
99,999 Hz 0,001 Hz 0,02 % + 5
999,99 Hz 0,01 Hz 0,005 % + 5
9,9999 kHz 0,0001 kHz 0,005 % + 5
99,999 kHz 0,001 kHz 0,005 % + 5
Frekvens
(0,5 til 999,99 kHz, pulsbredde
>0,5 μs)
999,99 kHz 0,01 kHz 0,005 % + 5
Driftssyklus[1][2] 1,00 % til 99,00 % 0,01 % 0,2 % per kHz + 0,1 %
0,1000 ms 0,0001 ms 0,002 ms + 3 tellinger
1,000 ms 0,001 ms 0,002 ms + 3 tellinger
10,00 ms 0,01 ms 0,002 ms + 3 tellinger
Pulsbredde[1][2]
1999,9 ms 0,1 ms 0,002 ms + 3 tellinger
[1] For 64,000 kHz til 67,000 kHz, er nøyaktighet = ±5 Hz, ved -20 to +55 °C med relativ luftfuktighet til 90 % (0 °C til 37 °C), 0 % til 65 % (37 °C til 45 °C),
0 % til 45 % (45 °C til 55 °C).
[2] For stigningstid <1 μs. Signaler er sentrert omkring triggernivåer.
[3] 0,5 til 200 kHz, pulsbredde > 2 μs. Pulsbreddens område avgjøres av signalets frekvens.

287/289
Bruksanvisning
76
Sensitivitet for frekvensteller
Tilnærmet spenningssensitivitet
(rms-sinuskurve)[1]
Inngangsområde
15 Hz til 100 kHz
AC-båndbredde[2] Tilnærmede DC
-triggernivåer DC-båndbredde[2]
50 mV 5 mV 1 MHz -5 mV og 20 mV 600 kHz
500 mV 25 mV 1 MHz -20 mV og 60 mV 1 MHz
5 V 0,25 V 700 kHz 1,4 V og 2,0 V 80 kHz
50 volt 2,5 V 1 MHz 0,5 V og 6,5 V 1 MHz
500 volt 25 volt 300 kHz 5 V og 40 V 300 kHz
1000 volt 50 volt 300 kHz 5 V og 100 V 300 kHz
Tilnærmet strømsensitivitet (rms-
sinuskurve)
Inngangsområde
15 Hz til 10 kHz
AC-båndbredde Tilnærmede DC-
triggernivåer DC-båndbredde
500 μA 25 μA 100 kHz
5000 μA 250 μA 100 kHz
50 mA 2,5 mA 100 kHz
400 mA 25 mA 100 kHz
5 A 0,25 A 100 kHz
10 A 1,0 A 100 kHz
NA NA
[1] Maksimum innsignal = 10 x verdiområdet (maks. 1000 volt, maksimum produkt av 2 x 107 V-Hz). Støy ved lave frekvenser og amplituder kan påvirke
nøyaktigheten.
[2] Typisk frekvensbåndbredde med full skala (eller maksimum produkt av 2 x 107 V-Hz) rms-sinuskurve.

True-rms Digital Multimeters
Detaljerte spesifikasjoner
77
MIN MAX, registrering og toppunkt spesifikasjoner
Funksjon Nominell respons Nøyaktighet
200 ms til 80 % (dc-funksjon) Spesifisert nøyaktighet ± 12 tellinger for endringer > 425 ms varighet i
manuelt område.
MIN MAX, registrering
350 ms til 80 % (ac-funksjon) Spesifisert nøyaktighet ± 40 tellinger for endringer > 1,5 s varighet i
manuelt område.
Toppunkt 250 μS (toppunkt)[1]
Angitt nøyaktighet ±100 tellinger [2] opptil måling for 5000 tellinger (hele
måleområdet). Angitt nøyaktighet ± 2 % [3] av måling for høyere toppunkter
(opptil 12 000 tellinger).
Amplitudefaktor: 350 ms til 80 % For periodiske kurver fra 50 til 440 Hz ± (4 % + 1 telling).
[1] For repeterende toppunkter; 2,5 ms for enkelthendelser. Toppunkt er ikke angitt for 500 µA DC, 50 mA DC, 5 A DC.
[2] 200 tellinger i 500 mV AC, 500 μA AC, 50 mA AC, 5 A AC.
[3] 3 % i 500 mV AC, 500 μA AC, 50 mA AC, 5 A AC.

287/289
Bruksanvisning
78
Inngangskarakteristikker
Funksjon Overlastvern[1] Inngangsimpeda
ns
Avvisningsforhold for
Avvisningsforhold
(1 kΩ ubalanse)
Normalmodus dempningsforhold
L 1000 volt 10 MΩ <100 pF
> 120 dB ved DC, 50 Hz eller
60 Hz
>60 dB ved 50 Hz eller 60 Hz
F
mV 1000 V [2] 10 MΩ <100 pF
> 120 dB ved DC, 50 Hz eller
60 Hz
>60 dB ved 50 Hz eller 60 Hz
K 1000 volt 10 MΩ < 100 pF
(AC-koblet) > 60 dB, DC til 60 Hz
L 1000 volt 3,2 kΩ < 100 pF
(ac-koblet) Ikke spesifisert Ikke spesifisert
Spenning for full skala Normal strøm for kortsluttet krets
Funksjon Overlastvern[1]
Ved åpen krets
Testspenning Til 500 kΩ ≥5 MΩ eller
50 nS
500 Ω 5 kΩ 50 kΩ500 kΩ 5 MΩ 50 MΩ500 MΩ
e 1000 V [2] 5 V DC 550 mV <5 V 1 mA 100
μA 10 μA1 μA 0,3 μA 0,3 μA 0,3 μA
50e 1000 V
[2] 20 V minkende
til 2,5 V 500 mV 10 mA
G 1000 V [2] 5 V DC 3,1 V DC 1 mA
[1] Inngang er begrenset til produktet av en V rms-sinuskurve ganger frekvensen av 2 x 107 V-Hz.
[2] For kretsløp < 0,5 A kortslutningsstrøm. 660 V for kretser med høy energi.

True-rms Digital Multimeters
Detaljerte spesifikasjoner
79
Spenningsfall (A, mA, μA)
Funksjon Verdiområde Lastspenning
500 μA 102 μV/ μA
5000 μA 102 μV/ μA
50,000 mA 1,8 mV/mA
mA, μA
400,00 mA 1,8 mV/mA
5,0000 A 0,04 V/A A
10 000 A 0,04 V/A

287/289
Bruksanvisning
80