Freemotion Fmex825100 Owners Manual
2014-07-19
: Freemotion Freemotion-Fmex825100-Owners-Manual freemotion-fmex825100-owners-manual freemotion pdf
Open the PDF directly: View PDF
.
Page Count: 36

!"#$%"&'()!(*
!"#$%&'()*+"#'
,"-%&
'+,-.&)+/&0'#123456/6
"-789.&)+/&&&&&&&&&&&&&&&&&&&&&&&&&&&&&&&&&&
.#$/"'/0"'1"#$%&'2)*+"#'$2'/0"'13%-"'
%+45"'64#'#"6"#"2-"7
:::/;7--<+=8+>;8=>-??/@+<
A!#"BCD)"E
C;&F+G&H9I-&JG-?=8+>?K&+7&8;&L97=?&
97-&,9<9M-,&+7&<8??8>MK&L.-9?-&
?--&NDO&BD&PD)B(PB&
P!"BD'#$&P($#&+>&=H-&Q9@R&
@+I-7&+;&=H8?&<9>G9./&
&&&&P(!BCD)
$-9,&9..&L7-@9G=8+>?&9>,&8>?=7G@S
=8+>?&8>&=H8?&<9>G9.&Q-;+7-&G?8>M&
=H8?&-JG8L<->=/&T--L&=H8?&<9>G9.&
;+7&;G=G7-&7-;-7->@-/

3
B(U*#&D0&PD)B#)B"
.89(:(;',<=8>'?>8=<@<(A 7'7'7'7'7'7'7'7'7'7'7'7'7'7'7'7'7'7'7'7'7'7'7'7'7'7'7'7'7'7'7'7'7'7'7'7'7'7'7'7'7'7'7'7'7'7'7'7'7'7'7'7'7'7'7'7'7'7'7'7'7'7'7B
:@?C9A8(A'?9<=8DA:C(!'7'7'7'7'7'7'7'7'7'7'7'7'7'7'7'7'7'7'7'7'7'7'7'7'7'7'7'7'7'7'7'7'7'7'7'7'7'7'7'7'7'7'7'7'7'7'7'7'7'7'7'7'7'7'7'7'7'7'7'7'7'7'7'7'7'7E
F<GC9<'HCD'F<;:(7'7'7'7'7'7'7'7'7'7'7'7'7'7'7'7'7'7'7'7'7'7'7'7'7'7'7'7'7'7'7'7'7'7'7'7'7'7'7'7'7'7'7'7'7'7'7'7'7'7'7'7'7'7'7'7'7'7'7'7'7'7'7'7'7'7'7'7'7'7'7'7I
?89A':,<(A:G:=8A:C('=J89A7'7'7'7'7'7'7'7'7'7'7'7'7'7'7'7'7'7'7'7'7'7'7'7'7'7'7'7'7'7'7'7'7'7'7'7'7'7'7'7'7'7'7'7'7'7'7'7'7'7'7'7'7'7'7'7'7'7'7'7'7'7'7'7K
8!!<@F>H 7'7'7'7'7'7'7'7'7'7'7'7'7'7'7'7'7'7'7'7'7'7'7'7'7'7'7'7'7'7'7'7'7'7'7'7'7'7'7'7'7'7'7'7'7'7'7'7'7'7'7'7'7'7'7'7'7'7'7'7'7'7'7'7'7'7'7'7'7'7'7'7'7'7'7'7'7'7'7'7L
JC.'AC'D?;98,<'AJ<'=C(!C>< '7'7'7'7'7'7'7'7'7'7'7'7'7'7'7'7'7'7'7'7'7'7'7'7'7'7'7'7'7'7'7'7'7'7'7'7'7'7'7'7'7'7'7'7'7'7'7'7'7'7'7'7'7'7'7'7'7'7 MM
JC.'AC'D!<'AJ<'<N<9=:!<'F:O<7'7'7'7'7'7'7'7'7'7'7'7'7'7'7'7'7'7'7'7'7'7'7'7'7'7'7'7'7'7'7'7'7'7'7'7'7'7'7'7'7'7'7'7'7'7'7'7'7'7'7'7'7'7'7'7'7'7'7MB
G==':(GC9@8A:C( 7'7'7'7'7'7'7'7'7'7'7'7'7'7'7'7'7'7'7'7'7'7'7'7'7'7'7'7'7'7'7'7'7'7'7'7'7'7'7'7'7'7'7'7'7'7'7'7'7'7'7'7'7'7'7'7'7'7'7'7'7'7'7'7'7'7'7'7'7'7'7'7EP
@8:(A<(8(=<'8(,'A9CDF><!JCCA:(;''7'7'7'7'7'7'7'7'7'7'7'7'7'7'7'7'7'7'7'7'7'7'7'7'7'7'7'7'7'7'7'7'7'7'7'7'7'7'7'7'7'7'7'7'7'7'7'7'7'7'7'7EM
<N<9=:!<';D:,<>:(<!'7'7'7'7'7'7'7'7'7'7'7'7'7'7'7'7'7'7'7'7'7'7'7'7'7'7'7'7'7'7'7'7'7'7'7'7'7'7'7'7'7'7'7'7'7'7'7'7'7'7'7'7'7'7'7'7'7'7'7'7'7'7'7'7'7'7'7'7EB
?89A'>:!A7'7'7'7'7'7'7'7'7'7'7'7'7'7'7'7'7'7'7'7'7'7'7'7'7'7'7'7'7'7'7'7'7'7'7'7'7'7'7'7'7'7'7'7'7'7'7'7'7'7'7'7'7'7'7'7'7'7'7'7'7'7'7'7'7'7'7'7'7'7'7'7'7'7'7'7'7'7'7'7EE
<N?>C,<,',98.:(;7'7'7'7'7'7'7'7'7'7'7'7'7'7'7'7'7'7'7'7'7'7'7'7'7'7'7'7'7'7'7'7'7'7'7'7'7'7'7'7'7'7'7'7'7'7'7'7'7'7'7'7'7'7'7'7'7'7'7'7'7'7'7'7'7'7'7'7'7'7EI
JC.'AC'=C(A8=A'=D!AC@<9'=89< 7'7'7'7'7'7'7'7'7'7'7'7'7'7'7'7'7'7'7'7'7'7'7'7'7'7'7'7'7'7'7'7'7'7'7'7'7'7'7'7'7'7'7'7'7'7'7'7' F%-Q'=45"#
A0$1'R#%S$2T'104S1'/0"'&4-%/$42U1V'46'/0"'S%#2$2T'
R"-%&U1V7'C;&9&,-@9.&8?&<8??8>M&+7&8..-M8Q.-K&?--&=H-&
;7+>=&@+I-7&+;&=H8?&<9>G9.&9>,&7-JG-?=&9&;7--&
7-L.9@-<->=&,-@9./&(LL.F&=H-&,-@9.&8>&=H-&.+@9S
=8+>&?H+:>/&(4/"W'A0"'R"-%&U1V'*%X'24/'+"'104S2'%/'
%-/)%&'1$Y"7
O($)C)V&W#P(*&X*(P#'#)B
G9<<@CA:C('$1'%'#"T$1/"#"R'/#%R"*%#Q'46':=C(':?Z':2-7
?C>89'$1'%'#"T$1/"#"R'/#%R"*%#Q'46'?4&%#'<&"-/#4'CX7
'$?4R'$1'%'/#%R"*%#Q'46'833&"'=4*3)/"#Z':2-7Z'#"T$1/"#"R'$2'/0"'D7!7'%2R'4/0"#'-4)2/#$"17

Y
C'XD$B()B&X$#P(!BCD)"
&&&&O($)C)VZ&B+&7-,G@-&=H-&78?R&+;&?-78+G?&8>[G7FK&7-9,&9..&8<L+7=9>=&L7-@9G=8+>?&9>,&
8>?=7G@=8+>?&8>&=H8?&<9>G9.&9>,&9..&:97>8>M?&+>&F+G7&-\-7@8?-&Q8R-&Q-;+7-&G?8>M&F+G7&-\-7@8?-&Q8R-/&
07--'+=8+>&08=>-??&9??G<-?&>+&7-?L+>?8Q8.8=F&;+7&L-7?+>9.&8>[G7F&+7&L7+L-7=F&,9<9M-&?G?=98>-,&QF&
+7&=H7+GMH&=H-&G?-&+;&=H8?&L7+,G@=/
5/& C=&8?&=H-&7-?L+>?8Q8.8=F&+;&=H-&+:>-7&=+&->?G7-&
=H9=&9..&G?-7?&+;&=H-&-\-7@8?-&Q8R-&97-&9,-S
JG9=-.F&8>;+7<-,&+;&9..&L7-@9G=8+>?/&
3/& U-;+7-&Q-M8>>8>M&9>F&-\-7@8?-&L7+M79<K&
@+>?G.=&F+G7&LHF?8@89>/&BH8?&8?&-?L-@89..F&
8<L+7=9>=&;+7&L-7?+>?&+I-7&9M-&Y4&+7&L-7S
?+>?&:8=H&L7-S-\8?=8>M&H-9.=H&L7+Q.-<?/
Y/& !?-&=H-&-\-7@8?-&Q8R-&+>.F&9?&,-?@78Q-,&8>&
=H8?&<9>G9./
]/& T--L&=H-&-\-7@8?-&Q8R-&8>,++7?K&9:9F&;7+<&
<+8?=G7-&9>,&,G?=/&W+&>+=&LG=&=H-&-\-7@8?-&
Q8R-&8>&9&M979M-&+7&@+I-7-,&L9=8+K&+7&>-97&
:9=-7/&
4/& X.9@-&=H-&-\-7@8?-&Q8R-&+>&9&.-I-.&?G7;9@-&
:8=H&9=&.-9?=&3&;=/&^6/_&<`&+;&@.-979>@-&97+G>,&
=H-&-\-7@8?-&Q8R-/&B+&L7+=-@=&=H-&;.++7&+7&
@97L-=&;7+<&,9<9M-K&L.9@-&9&<9=&G>,-7&=H-&
-\-7@8?-&Q8R-/
_/& C>?L-@=&9>,&L7+L-7.F&=8MH=->&9..&L97=?&7-MGS
.97.F/&$-L.9@-&9>F&:+7>&L97=?&8<<-,89=-.F/
a/& T--L&@H8.,7->&G>,-7&9M-&53&9>,&L-=?&9:9F&
;7+<&=H-&-\-7@8?-&Q8R-&9=&9..&=8<-?/
2/& O-97&9LL7+L789=-&@.+=H-?&:H8.-&-\-7@8?8>Mb&
,+&>+=&:-97&.++?-&@.+=H-?&=H9=&@+G.,&Q-@+<-&
@9GMH=&+>&=H-&-\-7@8?-&Q8R-/&(.:9F?&:-97&
9=H.-=8@&?H+-?&;+7&;++=&L7+=-@=8+>/
c/& BH-&-\-7@8?-&Q8R-&?H+G.,&>+=&Q-&G?-,&QF&
L-7?+>?&:-8MH8>M&<+7-&=H9>&]66&.Q?/&
^525&RM`/
56/&BH-&H-97=&79=-&<+>8=+7&8?&>+=&9&<-,8@9.&
,-I8@-/&d978+G?&;9@=+7?K&8>@.G,8>M&=H-&G?-7%?&
<+I-<->=K&<9F&9;;-@=&=H-&9@@G79@F&+;&H-97=&
79=-&7-9,8>M?/&BH-&H-97=&79=-&<+>8=+7&8?&
8>=->,-,&+>.F&9?&9>&-\-7@8?-&98,&8>&,-=-7<8>S
8>M&H-97=&79=-&=7->,?&8>&M->-79./
55/&(.:9F?&R--L&F+G7&Q9@R&?=798MH=&:H8.-&G?8>M&
=H-&-\-7@8?-&Q8R-b&,+&>+=&97@H&F+G7&Q9@R/
53/&DI-7&-\-7@8?8>M&<9F&7-?G.=&8>&?-78+G?&8>[G7F&
+7&,-9=H/&C;&F+G&;--.&;98>=&+7&8;&F+G&-\L-78->@-&
L98>&:H8.-&-\-7@8?8>MK&?=+L&8<<-,89=-.F&9>,&
@++.&,+:>/

]
J"%#/'9%/"'@42$/4#
!"%/'J%2R&"
9"1$1/%2-"'=42/#4&
J%2R&"+%# =4214&"
.0""&
?"R%&[!/#%3
!"%/
F%-Q#"1/
8--"114#X'A#%X
8--"114#X'A#%X
>"5"&$2T'G44/
G%2
>"2T/0W' K'6/7'\'$27'UM\P'-*V
.$R/0W' B'6/7'K'$27'U\I'-*V
A0%2Q'X4)'64#'1"&"-/$2T'/0"'#"54&)/$42%#X'
G9<<@CA:C(]'='MM7L'"^"#-$1"'+$Q"7'A0"'='MM7L'
"^"#-$1"'+$Q"'3#45$R"1'%2'$*3#"11$5"'1"&"-/$42'46'6"%_
/)#"1'R"1$T2"R'/4'*%Q"'X4)#'S4#Q4)/1'*4#"'"66"-/$5"'
%2R'"2`4X%+&"7
0+7&F+G7&Q->-;8=K&7-9,&=H8?&<9>G9.&@97-;G..F&Q-;+7-&
F+G&G?-&=H-&-\-7@8?-&Q8R-/':6'X4)'0%5"'a)"1/$421'%6/"#'
#"%R$2T'/0$1'*%2)%&Z'3&"%1"'1""'/0"'+%-Q'-45"#'46'/0$1'
*%2)%&7'A4'0"&3')1'%11$1/'X4)Z'24/"'/0"'3#4R)-/'*4R"&'
2)*+"#'%2R'1"#$%&'2)*+"#'+"64#"'-42/%-/$2T')17'A0"'
*4R"&'2)*+"#'%2R'/0"'&4-%/$42'46'/0"'1"#$%&'2)*+"#'
R"-%&'%#"'104S2'42'/0"'6#42/'-45"#'46'/0$1'*%2)%&7
F"64#"'#"%R$2T'6)#/0"#Z'3&"%1"'6%*$&$%#$Y"'X4)#1"&6'S$/0'
/0"'3%#/1'/0%/'%#"'&%+"&"R'$2'/0"'R#%S$2T'+"&4S7
U#0D$#&eD!&U#VC)

4
bc_EB'^'M[Bd'
!-#"S'UIEVeI
K[MLd'^'B'M[Bd'!-#"S'UIMVeI
bc_EB'^'E[Id'
!-#"S'UccVeI
K[MLd'^'M'M[Bd'
!4-Q"/'!-#"S'UfMVeB
K[MLd'!/%#'
.%10"#'UKcVeI
&X($B&CW#)BC0CP(BCD)&PN($B
D1"'/0"'R#%S$2T1'+"&4S'/4'$R"2/$6X'/0"'1*%&&'3%#/1'2""R"R'64#'%11"*+&X7'A0"'2)*+"#'$2'3%#"2/0"1"1'+"&4S'"%-0'
R#%S$2T'$1'/0"'Q"X'2)*+"#'46'/0"'3%#/Z'6#4*'/0"'?89A'>:!A'2"%#'/0"'"2R'46'/0$1'*%2)%&7'A0"'2)*+"#'64&&4S$2T'/0"'
Q"X'2)*+"#'$1'/0"'a)%2/$/X'2""R"R'64#'%11"*+&X7')+=-Z&C;&9&L97=&8?&>+=&8>&=H-&H97,:97-&R8=K&@H-@R&=+&?--&8;&8=&
H9?&Q-->&L7-9??-<Q.-,/&#\=79&L97=?&<9F&Q-&8>@.G,-,/

_
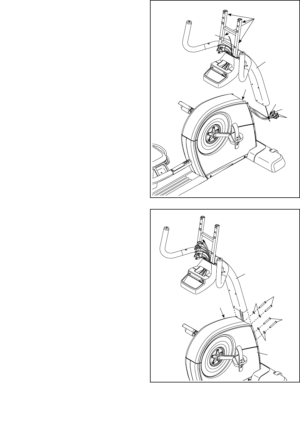
M7' J%5"'%'1"-42R'3"#142'04&R'/0"'!"%/'=%##$%T"'
UELV'2"%#'/0"'!"%/'9%$&'UKV'%1'104S27
' >4-%/"'/0"'S$#"'"^/"2R$2T'6#4*'/0"'!"%/'
=%##$%T"'UELV7':21"#/'/0"'S$#"'R4S2S%#R'$2/4'/0"'
43"2$2T'$2'/0"'/43'46'/0"'!"%/'9%$&'UKV')2/$&'/0"'
"2R'46'/0"'S$#"'%33"%#1'+"&4S'/0"'G#%*"'UMV'
U1""'R#%S$2T'B'+"&4SV7
'B8LZ&(I+8,&L8>@H8>M&=H-&:87-/'>$6/'/0"'!"%/'
J%2R&"'UMPV'%1'6%#'%1'3411$+&"Z'1&$R"'/0"'!"%/'
=%##$%T"'UELV'64#S%#R'42/4'/0"'!"%/'9%$&'UKVZ'%2R'
/0"2'#"&"%1"'/0"'!"%/'J%2R&"7
B7' ?#"11'/0"'9%$&'=%3'UKKV'$2/4'/0"'"2R'46'/0"'!"%/'
9%$&'UKV7'8//%-0'/0"'9%$&'=%3'S$/0'/S4'K[MLd'^'
M'M[Bd'!4-Q"/'!-#"S1'UfMV7
' ("^/Z'0%5"'%'1"-42R'3"#142'/$3'/0"'"^"#-$1"'+$Q"'
/4S%#R'42"'1$R"'%2R'04&R'$/7'
' =422"-/'/0"'S$#"'/0%/'X4)'$21"#/"R'$2'1/"3'M'/4'
/0"'>4S"#'.$#"'J%#2"11'UKPV7':21"#/'/0"'"^-"11'
S$#"'$2/4'/0"'%#"%'46'/0"'G#%*"'UMV'+"2"%/0'/0"'
F4//4*'!0$"&R'UM\V7
M
M
B
EL
MP
K
.$#"
g' 811"*+&X'#"a)$#"1'/S4'3"#14217
g' ?&%-"'%&&'3%#/1'$2'%'-&"%#"R'%#"%'%2R'#"*45"'/0"'
3%-Q$2T'*%/"#$%&17',4'24/'R$1341"'46'/0"'3%-Q$2T'
*%/"#$%&1')2/$&'X4)''2$10'%&&'%11"*+&X'1/"317
g' >"6/'3%#/1'%#"'*%#Q"R'h>i'4#'h>"6/i'%2R'#$T0/'3%#/1'
%#"'*%#Q"R'h9i'4#'h9$T0/7i
g' A4'$R"2/$6X'1*%&&'3%#/1Z'1""'3%T"'K7
g' :2'%RR$/$42'/4'/0"'$2-&)R"R'/44&U1VZ'%11"*+&X'
#"a)$#"1'/0"'64&&4S$2T'/44&1W
42"'?0$&&$31'1-#"SR#$5"#'
42"'%R`)1/%+&"'S#"2-0'
811"*+&X'*%X'+"'"%1$"#'$6'X4)'0%5"'%'1"/'46'
S#"2-0"17'A4'%54$R'R%*%T$2T'3%#/1Z'R4'24/')1"'
34S"#'/44&17
(""#'U*e
M
K
M\
KP
KK
fM
fM
.$#"
(I+8,&L8>@H8>M&
=H-&:87-

a
E7' 9"*45"'/0"'64)#'10$33$2T'1-#"S1'6#4*'/0"'
D3#$T0/'UEV'%2R'R$1-%#R'/0"*7'
' J%5"'%'1"-42R'3"#142'04&R'/0"'D3#$T0/'UEV'2"%#'
/0"'G#%*"'UMV7
' A$"'/0"'&4S"#'"2R'46'/0"'S$#"'/$"'$2'/0"'D3#$T0/'
UEV'/4'/0"'Aj'=%+&"'UBPVZ'/0"'@%$2'.$#"'J%#2"11'
UcKVZ'%2R'/0"'?)&1"'.$#"'J%#2"11'UfLV7'A0"2Z'
3)&&'/0"')33"#'"2R'46'/0"'S$#"'/$"')2/$&'/0"'Aj'
=%+&"Z'/0"'@%$2'.$#"'J%#2"11Z'%2R'/0"'?)&1"'
.$#"'J%#2"11'%#"'#4)/"R'/0#4)T0'/0"'D3#$T0/7
'B8LZ&B+&L7-I->=&=H-&:87-?&;7+<&;9..8>M&8>=+&=H-&
!L78MH=&^Y`K&?-@G7-&=H-&:87-?&:8=H&=H-&:87-&=8-/
I7' B8LZ&(I+8,&L8>@H8>M&=H-&:87-?/&:21"#/'/0"'
D3#$T0/'UEV'R4S2S%#R'$2/4'/0"'>"6/'%2R'9$T0/'
!0$"&R1'U\Z'cV7&8//%-0'/0"'D3#$T0/'/4'/0"'G#%*"'
U24/'104S2V'S$/0'64)#'K[MLd'^'B'M[Bd'!-#"S1'UIMV'
%2R'64)#'K[MLd'!/%#'.%10"#1'UKcV7
E
I
.$#"'
A$"
E
E
M
cK
fL
BP
Kc
IM
IM
Kc
(I+8,&L8>@H8>M&
=H-&:87-?
\
c
!0$33$2T'
!-#"S1

2
K
K7' ?#"11'/0"'G#42/'!0$"&R'ULMV'42/4'/0"'>"6/'%2R'
9$T0/'!0$"&R1'U\Z'cV7
LM
c
\
L
L7' D2/$"'%2R'R$1-%#R'/0"'S$#"'/$"'42'/0"'Aj'=%+&"'
UBPVZ'/0"'@%$2'.$#"'J%#2"11'UcKVZ'%2R'/0"'?)&1"'
.$#"'J%#2"11'UfLV7
' .0$&"'%'1"-42R'3"#142'04&R1'/0"'=4214&"'UIV'
2"%#'/0"'D3#$T0/'UEVZ'-422"-/'/0"'Aj'=%+&"'
UBPVZ'/0"'@%$2'.$#"'J%#2"11'UcKVZ'/0"'?)&1"'
.$#"'J%#2"11'UfLVZ'%2R'/0"'S$#"1'6#4*'/0"'
@"R$%'@4R)&"'UcEV'/4'/0"'*%/-0$2T'S$#"1'42'/0"'
=4214&"7''9R-&?G7-&=+&@+>>-@=&=H-&->,&+;&
=H-&XG.?-&O87-&N97>-??&=H9=&H9?&9&=9M&=+&=H-&
@+>?+.-&:87-&=H9=&H9?&9&=9M/&
' :21"#/'/0"'"^-"11'S$#"'$2/4'/0"'D3#$T0/'UEV7
BP
cK
fL
I
cE
E

c
c
\
\7' B8LZ&(I+8,&L8>@H8>M&=H-&:87-?/'8//%-0'/0"'
=4214&"'UIV'/4'/0"'D3#$T0/'UEV'S$/0'64)#'bc_EB'^'
M[Bd'!-#"S1'UIEV7
c7' 8//%-0'/0"'=4214&"'F%-Q'UMBV'/4'/0"'=4214&"'UIV'
S$/0'64)#'bceEB'^'E[Id'!-#"S1'UccV7
(I+8,&
L8>@H8>M&
=H-&:87-?
IE
cc
IE
cc
I
I
E
MB

56
MP7''9R-&?G7-&=H9=&9..&L97=?&97-&L7+L-7.F&=8MH=->-,&Q-;+7-&F+G&G?-&=H-&-\-7@8?-&Q8R-/&(4/"W'<^/#%'3%#/1'*%X'
+"'$2-&)R"R7'?&%-"'%'*%/'+"2"%/0'/0"'"^"#-$1"'+$Q"'/4'3#4/"-/'/0"'6&44#7
f7' ?&)T'/0"'?4S"#'=4#R'UEMV'$2/4'/0"'?4S"#'
9"-"3/%-&"'UBMV'42'/0"'6#%*"'46'/0"'"^"#-$1"'
+$Q"7
' (4/"W'A4'3&)T'/0"'?4S"#'=4#R'UEMV'$2/4'%2'4)/&"/Z'
1""'JC.'AC'?>D;':('AJ<'?C.<9'=C9,'42'
3%T"'MB7
EM
BM
f

55
&NDO&BD&!XV$(W#&BN#&PD)"D*#
U9?8@&P+>?+.- P+>?+.-&:8=H&5af&W8M8=9.&Bd
H4)#'-4214&"'0%1'+""2'3#"-426$T)#"R'/4'43"#%/"'S$/0'%'M\d',$T$/%&'Aj'U1""'/0"'R#%S$2T1'+"&4SV7'A4'&"%#2'%+4)/'
/0"'6"%/)#"1'46'/0"'+%1$-'-4214&"Z'1""'3%T"'MK7'A4'&"%#2'%+4)/'/0"'6"%/)#"1'46'/0"'M\d',$T$/%&'AjZ'1""'/0"')1"#k1'
*%2)%&'$2-&)R"R'S$/0'/0"'M\d',$T$/%&'Aj7')+=-Z&BH-&QG==+>?&>-97&=H-&=+L&+;&=H-&Q9?8@&@+>?+.-&;G>@=8+>&:8=H&
=H-&5af&W8M8=9.&Bd&+>.F/'A0"'+%1$-'-4214&"'0%1'24'/"&"5$1$42'-%3%+$&$/$"17
A4')3T#%R"'X4)#'-4214&"'S0"2"5"#'X4)'-0441"Z'3&"%1"'1""'/0"'+%-Q'-45"#'46'/0$1'*%2)%&7

53
NDO&BD&!"#&BN##$PC"#&UCT#
&NDO&BD&X*!V&C)&BN#&XDO#$&PD$W
BH8?&L7+,G@=&<G?=&Q-&M7+G>,-,/':6'$/'104)&R'*%&6)2-_
/$42'4#'+#"%Q'R4S2Z'T#4)2R$2T'3#45$R"1'%'3%/0'46'&"%1/'
#"1$1/%2-"'64#'"&"-/#$-'-)##"2/'/4'#"R)-"'/0"'#$1Q'46'
"&"-/#$-'104-Q7'A0"'34S"#'-4#R'0%1'%'3&)T'S$/0'%'
T#4)2R$2T'3$27
?&)T'/0"'
34S"#'-4#R'
$2/4'%2'
%33#43#$%/"'
4)/&"/'/0%/'
$1'3#43"#&X'
$21/%&&"R'%2R'
T#4)2R"R'$2'
%--4#R%2-"'
S$/0'%&&'&4-%&'
-4R"1'%2R'
4#R$2%2-"17'
A0"'4)/&"/'*)1/'+"'42'%'24*$2%&'MBP_54&/'-$#-)$/7'
8'/"*34#%#X'
%R%3/"#'*%X'
+"')1"R'/4'
-422"-/'/0"'
34S"#'-4#R'
/4'%'B_34&"'
#"-"3/%-&"'
%1'104S2'
%/'/0"'#$T0/'
$6'%'3#43"#&X'
T#4)2R"R'
4)/&"/'$1'24/'
%5%$&%+&"7'
A0"'&)T'4#'S$#"'"^/"2R$2T'6#4*'/0"'%R%3/"#'*)1/'
+"'-422"-/"R'S$/0'%'*"/%&'1-#"S'/4'%'3"#*%2"2/'
T#4)2R'1)-0'%1'%'3#43"#&X'T#4)2R"R'4)/&"/'+4^'-45"#7'
"+<-&3SL+.-&7-@-L=9@.-&+G=.-=&Q+\&@+I-7?&97-&>+=&
M7+G>,-,/&U-;+7-&G?8>M&9>&9,9L=-7K&@+>=9@=&9&JG9.8S
;8-,&-.-@=78@89>&=+&,-=-7<8>-&:H-=H-7&=H-&+G=.-=&
Q+\&@+I-7&8?&M7+G>,-,&Q-;+7-&G?8>M&9>&9,9L=-7/&
BH-&=-<L+797F&9,9L=-7&?H+G.,&Q-&G?-,&+>.F&G>=8.&
9&L7+L-7.F&M7+G>,-,&+G=.-=&@9>&Q-&8>?=9..-,&QF&9&
JG9.8;8-,&-.-@=78@89>/
O($$()Be&C)0D$'(BCD)
A0"'S%##%2/X'64#'/0$1'3#4R)-/'R4"1'24/'-45"#'R%*%T"'
4#'"a)$3*"2/'6%$&)#"'-%)1"R'+X'"&"-/#$-'S$#$2T'24/'$2'
-4*3&$%2-"'S$/0'"&"-/#$-%&'-4R"1'4#'/0"'13"-$6$-%/$421'
$2'/0$1'*%2)%&Z'4#'6%$&)#"'/4'3#45$R"'#"%142%+&"'%2R'
2"-"11%#X'*%$2/"2%2-"'%1'4)/&$2"R'$2'/0$1'*%2)%&7'
82X'6%$&)#"'4#'R%*%T"'-%)1"R'+X')2%)/04#$Y"R'1"#5$-"l'
*$1)1"l'%--$R"2/l'2"T&$T"2-"l'$*3#43"#'%11"*+&X'4#'
$21/%&&%/$42l'R"+#$1'#"1)&/$2T'6#4*'%2X'R"1/#)-/$42'%-/$5$_
/$"1'$2'/0"'3#4R)-/k1'"25$#42*"2/l'#)1/'4#'-4##41$42'%1'%'
#"1)&/'46'/0"'3#4R)-/k1'&4-%/$42l'%&/"#%/$421'4#'*4R$6$-%_
/$421'S$/04)/'S#$//"2'%)/04#$Y%/$42l'4#'6%$&)#"'42'X4)#'
3%#/'/4')1"Z'43"#%/"Z'%2R'*%$2/%$2'/0"'3#4R)-/'%1'1"/'
64#/0'$2'/0$1'*%2)%&'S$&&'54$R'/0"'S%##%2/X7
(..&=-7<?&+;&=H-&:9779>=F&97-&I+8,&8;&=H8?&L7+,S
G@=&8?&<+I-,&Q-F+>,&=H-&@+>=8>->=9.&Q+7,-7?&+;&
=H-&!>8=-,&"=9=-?&+;&(<-78@9&^-\@.G,8>M&(.9?R9K&
N9:988K&9>,&P9>9,9`&9>,&97-&=H->&?GQ[-@=&=+&=H-&
=-7<?&L7+I8,-,&QF&=H9=&@+G>=7F%?&.+@9.&9G=H+78g-,&
07--'+=8+>&08=>-??K&C>@/&7-L7-?->=9=8I-/
&&&&W()V#$Z&C<L7+L-7&@+>>-@=8+>&+;&
=H-&L+:-7&@+7,&8>@7-9?-?&=H-&78?R&+;&-.-@=78@&
?H+@R/&W+&>+=&<+,8;F&=H-&L.GMh8;&8=&:8..&>+=&;8=&
9>&+G=.-=K&H9I-&9&L7+L-7&+G=.-=&8>?=9..-,&QF&9&
JG9.8;8-,&-.-@=78@89>/&C;&F+G&97-&G>?G7-&:H-=H-7&
=H-&L7+,G@=&8?&L7+L-7.F&M7+G>,-,K&@+>=9@=&9&
JG9.8;8-,&-.-@=78@89>/
;#4)2R"R'C)/&"/
B_34&"'9"-"3/%-&"
;#4)2R$2T'?$2
8R%3/"#
>)T
@"/%&'!-#"S

5Y
NDO&BD&'Dd#&BN##$PC"#&UCT#
WG-&=+&=H-&?8g-&9>,&:-8MH=&+;&=H-&-\-7@8?-&Q8R-K&
<+I8>M&8=&7-JG87-?&=:+&L-7?+>?/'9"*45"'/0"'#"%#'
6#%*"'-45"#7'!/%2R'$2'6#42/'46'/0"'"^"#-$1"'+$Q"Z'04&R'
/0"')3#$T0/Z'%2R'3&%-"'42"'644/'%T%$21/'42"'46'/0"'
S0""&17'?)&&'42'/0"')3#$T0/'%2R'0%5"'%'1"-42R'3"#142'
&$6/'/0"'#"%#'46'/0"'6#%*"')2/$&'/0"'"^"#-$1"'+$Q"'S$&&'#4&&'
42'/0"'6#42/'S0""&17'=%#"6)&&X'*45"'/0"'"^"#-$1"'+$Q"'
/4'/0"'R"1$#"R'&4-%/$42Z'%2R'/0"2'&4S"#'$/'/4'/0"'6&44#7
NDO&BD&*#d#*&BN##$PC"#&UCT#
:6'/0"'"^"#-$1"'
+$Q"'#4-Q1'1&$T0/&X'
42'X4)#'6&44#'
R)#$2T')1"Z'/)#2'
42"'4#'+4/0'46'
/0"'&"5"&$2T'6""/'
+"2"%/0'/0"'#"%#'
1/%+$&$Y"#')2/$&'/0"'
#4-Q$2T'*4/$42'$1'
"&$*$2%/"R7
NDO&BD&(Wi!"B&BN#&"#(B
G4#'"66"-/$5"'"^"#-$1"Z'/0"'1"%/'104)&R'+"'$2'/0"'3#43"#'
341$/$427'81'X4)'3"R%&Z'/0"#"'104)&R'+"'%'1&$T0/'+"2R'$2'
X4)#'Q2""1'S0"2'/0"'3"R%&1'%#"'$2'/0"'64#S%#R'341$/$427'
A4'%R`)1/'/0"'341$_
/$42'46'/0"'1"%/Z'
3)&&'/0"'1"%/'0%2_
R&"')3S%#RZ'1&$R"'
/0"'1"%/'64#S%#R'
4#'+%-QS%#R'/4'/0"'
R"1$#"R'341$/$42Z'
%2R'/0"2'#"&"%1"'
/0"'1"%/'0%2R&"7'
'+I-&=H-&?-9=&
;+7:97,&+7&Q9@RS
:97,&?.8MH=.F&=+&
<9R-&?G7-&=H9=&
=H-&?-9=&H9>,.-&
8?&->M9M-,&8>&
+>-&+;&=H-&9,[G?=<->=&?.+=?&Q->-9=H&=H-&?-9=/&
>"5"&$2T'
G""/
!"%/'
J%2R&"
?&%-"'
X4)#'644/'
0"#"
?)&&'42'/0"'
)3#$T0/
>$6/'
0"#"
9"*45"

5]
NDO&BD&PD))#PB&(&P(Bd&P(U*#
C;&F+G7&-\-7@8?-&Q8R-&H9?&=H-&5af&W8M8=9.&BdK'%'=8Aj'
-%+&"'*)1/'+"'-422"-/"R'/4'/0"'"^"#-$1"'+$Q"'64#'-%+&"'
Aj'1/%/$421'/4'+"'5$"S"R7'
>4-%/"'/0"'-%+&"'`%-Q'42'/0"'6#42/'46'/0"'"^"#-$1"'+$Q"7'
=422"-/'/0"'=8Aj'-%+&"'/4'/0"'Aj'=%+&"'UBPV7'94)/"'
/0"'-%+&"'14'/0%/'$/'S$&&'24/'+"'3$2-0"R'4#'-#)10"R'+X'
/0"'"^"#-$1"'+$Q"7'
8'1%/"&&$/"'#"-"$5"#Z'j=9Z'4#',j,'3&%X"#'-%2'%&14'+"'
-422"-/"R'/4'/0"'"^"#-$1"'+$Q"7'=422"-/'%'=8Aj'-%+&"'
6#4*'/0"'-4%^$%&'4)/3)/'42'X4)#'"a)$3*"2/'U)1)%&&X'
&%+"&"R'Aj'CDA'4#'9G'CDAV'/4'/0"'-%+&"'`%-Q'42'/0"'
6#42/'46'/0"'"^"#-$1"'+$Q"7
(4/"W'8)R$4[5$R"4'"a)$3*"2/'S$/04)/'-4%^$%&'4)/3)/1'
U14*"'1%/"&&$/"'#"-"$5"#1'%2R',j,'3&%X"#1V'S$&&'#"a)$#"'
%2'9G'*4R)&%/4#'/4'S4#Q'-4##"-/&X7'9G'*4R)&%/4#1'%#"'
24/'%5%$&%+&"'6#4*'G#""@4/$42'G$/2"11Z'+)/'%#"'%5%$&_
%+&"'%/'"&"-/#42$-1'1/4#"17'!""'/0"')1"#k1'*%2)%&'64#'
/0"'"a)$3*"2/'X4)'S$10'/4'-422"-/'/4'R"/"#*$2"'$6'%2'
9G'*4R)&%/4#'$1'2""R"RZ'4#'-42/%-/'X4)#'&4-%&'%)R$4[
5$R"4'1"#5$-"'3#45$R"#7
BP

54
PD)"D*#&WC(V$('
&0#(B!$#"&D0&BN#&PD)"D*#&
A0"'-4214&"'466"#1'%2'$*3#"11$5"'%##%X'46'6"%/)#"1'
R"1$T2"R'/4'*%Q"'X4)#'S4#Q4)/1'*4#"'"66"-/$5"'%2R'
"2`4X%+&"7'
A0"'-4214&"'6"%/)#"1'#"54&)/$42%#X'$G$/'/"-024&4TX'/0%/'
"2%+&"1'/0"'-4214&"'/4'-4**)2$-%/"'S$/0'X4)#'S$#"&"11'
2"/S4#Q7'.$/0'$G$/'/"-024&4TXZ'X4)'-%2'R4S2&4%R'3"#_
142%&$Y"R'S4#Q4)/1Z'-#"%/"'X4)#'4S2'S4#Q4)/1Z'/#%-Q'
X4)#'S4#Q4)/'#"1)&/1Z'%2R'%--"11'*%2X'4/0"#'6"%/)#"17'
"--&:::/808=/@+<&;+7&@+<L.-=-&8>;+7<9=8+>/
:2'%RR$/$42Z'/0"'-4214&"'6"%/)#"1'%'1"&"-/$42'46'%/'
&"%1/'/S"2/X_64)#'42+4%#R'S4#Q4)/1'%2R'1$^'$G$/'R"*4'
S4#Q4)/17'<%-0'S4#Q4)/'%)/4*%/$-%&&X'-42/#4&1'/0"'
#"1$1/%2-"'46'/0"'3"R%&1'%1'$/'T)$R"1'X4)'/0#4)T0'%2'
"66"-/$5"'"^"#-$1"'1"11$427'H4)'-%2'%&14'1"/'%'-)1/4*_
$Y"R'S4#Q4)/'T4%&'S$/0'/0"'1"/_%_T4%&'S4#Q4)/7
.0"2'X4)')1"'/0"'*%2)%&'*4R"Z'X4)'-%2'-0%2T"'/0"'
#"1$1/%2-"'46'/0"'3"R%&1'S$/0'/0"'/4)-0'46'%'+)//427
81'X4)'"^"#-$1"Z'/0"'-4214&"'S$&&'R$13&%X'$21/%2/'"^"#_
-$1"'6""R+%-Q7'H4)'-%2'%&14'*"%1)#"'X4)#'0"%#/'#%/"'
)1$2T'/0"'0%2RT#$3'0"%#/'#%/"'*42$/4#'4#'%2'43/$42%&'
'?4&%#]_-4*3%/$+&"'-0"1/'0"%#/'#%/"'*42$/4#7
H4)'-%2'"5"2'+#4S1"'/0"':2/"#2"/'4#'&$1/"2'/4'X4)#'
6%54#$/"'S4#Q4)/'*)1$-'4#'%)R$4'+44Q1'S$/0'/0"'-4214&"'
14)2R'1X1/"*'S0$&"'X4)'"^"#-$1"7
B+&=G7>&+>&=H-&L+:-7K'1""'3%T"'ML7'B+&.-97>&H+:&
=+&G?-&=H-&=+G@H&?@7-->K'1""'3%T"'ML7'B+&?-=&GL&
=H-&@+>?+.-K'1""'3%T"'M\7

5_
&NDO&BD&B!$)&D)&BN#&XDO#$
C'XD$B()BZ&C;&=H-&-\-7@8?-&Q8R-&H9?&Q-->&-\L+?-,&
=+&@+.,&=-<L-79=G7-?K&9..+:&8=&=+&:97<&=+&7++<&
=-<L-79=G7-&Q-;+7-&=G7>8>M&+>&=H-&L+:-7/&C;&F+G&,+&
>+=&,+&=H8?K&F+G&<9F&,9<9M-&=H-&@+>?+.-&,8?L.9F?&
+7&+=H-7&-.-@=78@9.&@+<L+>->=?/
?&)T'$2'/0"'34S"#'-4#R'U1""'
JC.'AC'?>D;':('AJ<'
?C.<9'=C9,'42'3%T"'
MBV7'("^/Z'&4-%/"'/0"'
34S"#'1S$/-0'42'/0"'6#%*"'
2"%#'/0"'34S"#'-4#R7'?#"11'
/0"'34S"#'1S$/-0'/4'/0"'
#"1"/'341$/$427
A0"'R$13&%X'S$&&'/0"2'/)#2'42'%2R'/0"'-4214&"'S$&&'+"'
#"%RX'64#')1"7
&NDO&BD&!"#&BN#&BD!PN&"P$##)
A0"'-4214&"'6"%/)#"1'%'/%+&"/'S$/0'%'6)&&_-4&4#'/4)-0'
1-#""27'A0"'64&&4S$2T'$264#*%/$42'S$&&'0"&3'X4)'+"-4*"'
6%*$&$%#'S$/0'/0"'/%+&"/k1'%R5%2-"R'/"-024&4TXW'
g' 'A0"'-4214&"'6)2-/$421'1$*$&%#&X'/4'4/0"#'/%+&"/17'H4)'
-%2'1&$R"'4#'6&$-Q'X4)#'6$2T"#'%T%$21/'/0"'1-#""2'/4'
*45"'-"#/%$2'$*%T"1'42'/0"'1-#""2Z'1)-0'%1'/0"'
R$13&%X1'$2'%'S4#Q4)/'U1""'1/"3'I'42'3%T"'McV7'
J4S"5"#Z'X4)'-%224/'Y44*'$2'%2R'4)/'+X'1&$R$2T'
X4)#'6$2T"#1'42'/0"'1-#""27'
g' 'A0"'1-#""2'$1'24/'3#"11)#"'1"21$/$5"7'H4)'R4'24/'
2""R'/4'3#"11'0%#R'42'/0"'1-#""27
g' 'A4'/X3"'$264#*%/$42'$2/4'%'/"^/'+4^Z'/4)-0'/0"'/"^/'
+4^'/4'5$"S'/0"'Q"X+4%#R7'A4')1"'2)*+"#1'4#'4/0"#'
-0%#%-/"#1'42'/0"'Q"X+4%#RZ'/4)-0'/0"'mMBE'+)/_
/427'A4'5$"S'*4#"'-0%#%-/"#1Z'/4)-0'/0"'8&/'+)//427'
A4)-0'/0"'8&/'+)//42'%T%$2'/4'#"/)#2'/4'/0"'2)*+"#'
Q"X+4%#R7'A4'#"/)#2'/4'/0"'&"//"#'Q"X+4%#RZ'/4)-0'/0"'
8F='+)//427'A4')1"'%'-%3$/%&'-0%#%-/"#Z'/4)-0'/0"'
+)//42'S$/0'%2')3S%#R_6%-$2T'%##4S7'A4')1"'*)&/$3&"'
-%3$/%&'-0%#%-/"#1Z'/4)-0'/0"'%##4S'+)//42'%T%$27'A4'
#"/)#2'/4'/0"'&4S"#-%1"'Q"X+4%#RZ'/4)-0'/0"'%##4S'
+)//42'%'/0$#R'/$*"7'A4'-&"%#'/0"'&%1/'-0%#%-/"#Z'/4)-0'
/0"'+)//42'S$/0'%'+%-QS%#R_6%-$2T'%##4S'%2R'%2'N7
9"1"/'
?41$/$42

5a
&NDO&BD&"#B&!X&BN#&PD)"D*#&
F"64#"')1$2T'/0"'"^"#-$1"'+$Q"'64#'/0"'6$#1/'/$*"Z'1"/')3'
/0"'-4214&"7'
5/& P+>>-@=&=+&F+G7&:87-.-??&>-=:+7R/
''(4/"W':2'4#R"#'/4'%--"11'/0"':2/"#2"/Z'R4S2&4%R'
$G$/'S4#Q4)/1Z'%2R')1"'1"5"#%&'4/0"#'6"%/)#"1'46'
/0"'-4214&"Z'X4)'*)1/'+"'-422"-/"R'/4'%'S$#"&"11'
2"/S4#Q7'!""'JC.'AC'D!<'AJ<'.:9<><!!'
(<A.C9O'@C,<'42'3%T"'B\'/4'-422"-/'/0"'
-4214&"'/4'X4)#'S$#"&"11'2"/S4#Q7
3/& PH-@R&;+7&;87<:97-&GL,9=-?/
&'G$#1/Z'1""'1/"3'M'42'3%T"'BE'%2R'1/"3'B'42'3%T"'
BL'%2R'1"&"-/'/0"'*%$2/"2%2-"'*4R"7'A0"2Z'
1""'1/"3'E'42'3%T"'BL'%2R'-0"-Q'64#'6$#*S%#"'
)3R%/"17
Y/& P7-9=-&9>&808=&9@@+G>=/
&&A4)-0'/0"'T&4+"'+)//42'2"%#'/0"'&4S"#_&"6/'-4#2"#'46'
/0"'1-#""2'%2R'/4)-0'/0"'$G$/'+)//427
&&(4/"W'G4#'$264#*%/$42'%+4)/'2%5$T%/$2T'$2'/0"'
+#4S1"#Z'1""'3%T"'Bf7'A0"'+#4S1"#'S$&&'43"2'/4'
/0"'$G$/7-4*'04*"'3%T"7'A4)-0'/0"'9"T$1/"#'+)//42'
$2'/0"')33"#'#$T0/'-4#2"#'46'/0"'1-#""27
&&A0"':2/"#2"/'+#4S1"#'S$&&'43"2'/4'/0"'$G$/7-4*'#"T$1_
/#%/$42'3%T"7'!"&"-/'"$/0"#'/0"'+%1$-'4#'/0"'&$*$/&"11'
3&%27'(4/"W'G4#'*4#"'$264#*%/$42Z'#"%R'/0"'R"/%$&1'
)2R"#'"%-0'3&%27':6'X4)'0%5"'%2'%-/$5%/$42'-4R"Z'
1"&"-/'/0"'&$*$/&"11'3&%27'A0"2Z'64&&4S'/0"'3#4*3/1'
42'/0"'1-#""2'/4'1$T2')3'64#'X4)#'$G$/'3&%27
A0"'-4214&"'$1'24S'#"%RX'64#'X4)'/4'+"T$2'S4#Q$2T'4)/7'
A0"'64&&4S$2T'3%T"1'"^3&%$2'/0"'5%#$4)1'S4#Q4)/1'%2R'
4/0"#'6"%/)#"1'/0%/'/0"'-4214&"'466"#17
B+&G?-&=H-&<9>G9.&<+,-K&1""'3%T"'Mc7'B+&G?-&
9>&+>Q+97,&:+7R+G=K&1""'3%T"'BP7&B+&G?-&9&
?-=S9SM+9.&:+7R+G=K&1""'3%T"'BM7&B+&G?-&9>&808=&
:+7R+G=K&1""'3%T"'BB7
B+&G?-&=H-&-JG8L<->=&?-==8>M?&<+,-K&1""'
3%T"'BE7&B+&G?-&=H-&->=-7=98><->=&<+,-K&
1""'3%T"'BK7'B+&G?-&=H-&<98>=->9>@-&<+,-K&1""'
3%T"'BL7&B+&G?-&=H-&:87-.-??&>-=:+7R&<+,-K&
1""'3%T"'B\7&B+&G?-&=H-&?+G>,&?F?=-<K&1""'3%T"'
Bc7'B+&@H9>M-&=H-&9G,8+&?+G7@-K&1""'3%T"'Bc7&
B+&G?-&=H-&C>=-7>-=&Q7+:?-7K&1""'3%T"'Bf7
(4/"W':6'/0"#"'$1'%'10""/'46'3&%1/$-'42'/0"'R$13&%XZ'
#"*45"'/0"'3&%1/$-7'
(4/"W'A0"'-4214&"'-%2'R$13&%X'13""R'%2R'R$1/%2-"'$2'
"$/0"#'*$&"1'4#'Q$&4*"/"#17'A4'6$2R'S0$-0')2$/'46'*"%_
1)#"*"2/'$1'1"&"-/"RZ'1""'1/"3'c'42'3%T"'BE7'G4#'
1$*3&$-$/XZ'%&&'$21/#)-/$421'$2'/0$1'1"-/$42'#"6"#'/4'*$&"17

52
&NDO&BD&!"#&BN#&'()!(*&'DW#
&5/& &U-M8>&L-,9.8>M&+7&L7-??&9>F&QG==+>&+>&=H-&
@+>?+.-&=+&=G7>&+>&=H-&@+>?+.-/
''!""'JC.'AC'AD9('C('AJ<'?C.<9'42'3%T"'
ML7')+=-Z&C=&<9F&=9R-&9&<8>G=-&;+7&=H-&@+>?+.-&
=+&Q-&7-9,F&;+7&G?-/
&3/& &"-.-@=&=H-&<98>&<->G/
''.0"2'X4)'/)#2'
42'/0"'-42_
14&"Z'/0"'*%$2'
*"2)'S$&&'
%33"%#'42'/0"'
1-#""2'%6/"#'
/0"'-4214&"'
+44/1')37'
''(4/"W'A4)-0'/0"'04*"'+)//42'$2'/0"'&4S"#_&"6/'-4#_
2"#'46'/0"'1-#""2'U24/'104S2'0"#"V'/4'#"/)#2'/4'/0"'
*%$2'*"2)'%/'%2X'/$*"7
&Y/& &PH9>M-&=H-&7-?8?=9>@-&+;&=H-&L-,9.?&9?&,-?87-,/
''81'X4)'3"R%&Z'X4)'-%2'-0%2T"'/0"'#"1$1/%2-"'46'
/0"'3"R%&17'A4'-0%2T"'/0"'#"1$1/%2-"Z'3#"11'42"'
46'/0"'2)*+"#"R'9"1$1/%2-"'+)//421'4#'3#"11'/0"'
9"1$1/%2-"'$2-#"%1"'%2R'R"-#"%1"'+)//421'&4-%/"R'
42'/0"'-4214&"'4#'42'/0"'0%2R&"+%#17
''(4/"W'86/"#'X4)'3#"11'%'+)//42Z'$/'S$&&'/%Q"'%'
*4*"2/'64#'/0"'3"R%&1'/4'#"%-0'/0"'1"&"-/"R'#"1$1_
/%2-"'&"5"&7'
&]/& 0+..+:&F+G7&L7+M7-??/
''A0"'-4214&"'466"#1'1"5"#%&'R$13&%X'*4R"17'A0"'
R$13&%X'*4R"'/0%/'X4)'1"&"-/'S$&&'R"/"#*$2"'S0$-0'
S4#Q4)/'$264#*%/$42'$1'104S27'
''A4'1"&"-/'/0"'R"1$#"R'R$13&%X'*4R"Z'1$*3&X'6&$-Q'4#'
1&$R"'/0"'1-#""27'H4)'-%2'%&14'5$"S'%RR$/$42%&'S4#Q_
4)/'$264#*%/$42'+X'/4)-0$2T'/0"'#"R'+4^"1'42'/0"'
1-#""27'
'':6'R"1$#"RZ'%R`)1/'/0"'54&)*"'&"5"&'+X'3#"11$2T'/0"'
j4&'$2-#"%1"'%2R'R"-#"%1"'+)//421'42'/0"'-4214&"7'
''A4'3%)1"'/0"'S4#Q4)/Z'/4)-0'42"'46'/0"'*"2)'+)/_
/421'42'/0"'1-#""27'A4'-42/$2)"'/0"'S4#Q4)/Z'/4)-0'
/0"'9"1)*"'+)//427'A4'"2R'/0"'S4#Q4)/'1"11$42Z'
/4)-0'/0"'<2R'.4#Q4)/'+)//427
&4/& '-9?G7-&F+G7&H-97=&79=-&8;&,-?87-,/&
''H4)'-%2'S"%#'%2'43/$42%&'?4&%#_-4*3%/$+&"'-0"1/'
0"%#/'#%/"'*42$/4#'4#'X4)'-%2')1"'/0"'0%2RT#$3'
0"%#/'#%/"'*42$/4#'/4'*"%1)#"'X4)#'0"%#/'#%/"7
''C'XD$B()BZ&C;&F+G&G?-&Q+=H&H-97=&79=-&<+>8S
=+7?&9=&=H-&?9<-&=8<-K&=H-&@+>?+.-&:8..&>+=&
,8?L.9F&F+G7&H-97=&79=-&9@@G79=-.F/
&&A4')1"'/0"'0%2RT#$3'0"%#/'#%/"'*42$/4#Z'64&&4S'/0"'
$21/#)-/$421'+"&4S7
'&C;&=H-7-&97-&
?H--=?&+;&
L.9?=8@&+>&
=H-&<-=9.&
@+>=9@=?&+>&
=H-&H9>,S
M78L&H-97=&
79=-&<+>8S
=+7K&7-<+I-&
=H-&L.9?=8@/'
A4'*"%1)#"'
X4)#'0"%#/'
#%/"Z'04&R'/0"'
0%2RT#$3'0"%#/'#%/"'*42$/4#'S$/0'X4)#'3%&*1'#"1/$2T'
%T%$21/'/0"'-42/%-/17'(I+8,&<+I8>M&F+G7&H9>,?&
+7&M78LL8>M&=H-&@+>=9@=?&=8MH=.F/'
=42/%-/1

5c
''.0"2'X4)#'3)&1"'$1'R"/"-/"RZ'X4)#'0"%#/'#%/"'S$&&'+"'
104S27'0+7&=H-&<+?=&9@@G79=-&H-97=&79=-&7-9,S
8>MK&H+.,&=H-&@+>=9@=?&;+7&9=&.-9?=&54&?-@+>,?/'
'':6'/0"'R$13&%X'R4"1'24/'104S'X4)#'0"%#/'#%/"Z'*%Q"'
1)#"'/0%/'X4)#'0%2R1'%#"'341$/$42"R'%1'R"1-#$+"R7'
F"'-%#"6)&'24/'/4'*45"'X4)#'0%2R1'"^-"11$5"&X'4#'
/4'1a)""Y"'/0"'-42/%-/1'/$T0/&X7'G4#'43/$*%&'3"#64#_
*%2-"Z'-&"%2'/0"'-42/%-/1')1$2T'%'146/'-&4/0l'>-I-7&
G?-&9.@+H+.K&9Q79?8I-?K&+7&@H-<8@9.?&=+&@.-9>&
=H-&@+>=9@=?/
&_/& BG7>&+>&=H-&;9>&8;&,-?87-,/
''A0"'6%2'0%1'1"5"#%&'13""R'1"//$2T1Z'$2-&)R$2T'%2'
%)/4'*4R"7'.0$&"'/0"'%)/4'*4R"'$1'1"&"-/"RZ'/0"'
13""R'46'/0"'6%2'S$&&'%)/4*%/$-%&&X'$2-#"%1"'4#'
R"-#"%1"'%1'X4)'$2-#"%1"'4#'R"-#"%1"'X4)#'3"R%&_
$2T'13""R7'
''?#"11'/0"'G%2'$2-#"%1"'%2R'R"-#"%1"'+)//421'
#"3"%/"R&X'/4'1"&"-/'%'6%2'13""R'4#'/4'/)#2'466'/0"'
6%27'
''(4/"W':6'/0"'3"R%&1'R4'24/'*45"'64#'%'S0$&"Z'/0"'6%2'
S$&&'/)#2'466'%)/4*%/$-%&&X7'
&a/& &OH->&F+G&97-&;8>8?H-,&-\-7@8?8>MK&G>L.GM&=H-&
L+:-7&@+7,/
''.0"2'X4)'%#"'6$2$10"R'"^"#-$1$2TZ'/4)-0'/0"'04*"'
+)//42'4#'/0"'+%-Q'+)//427'8'S4#Q4)/'1)**%#X'S$&&'
%33"%#'42'/0"'1-#""27'86/"#'X4)'5$"S'/0"'S4#Q4)/'
1)**%#XZ'/4)-0'/0"'G$2$10'+)//42'/4'#"/)#2'/4'/0"'
*%$2'*"2)7'H4)'*%X'%&14'+"'%+&"'/4'"$/0"#'1%5"'4#'
3)+&$10'X4)#'#"1)&/1')1$2T'42"'46'/0"'43/$421'42'/0"'
1-#""27
&&?#"11'/0"'34S"#'1S$/-0'/4'/0"'466'341$/$42'%2R'
)23&)T'/0"'34S"#'-4#R7&C'XD$B()BZ&C;&F+G&,+&
>+=&,+&=H8?K&=H-&-.-@=78@9.&@+<L+>->=?&+>&=H-&
-\-7@8?-&Q8R-&<9F&:-97&L7-<9=G7-.F/

36
&NDO&BD&!"#&()&D)UD($W&OD$TD!B
5/& &U-M8>&L-,9.8>M&+7&L7-??&9>F&QG==+>&+>&=H-&
@+>?+.-&=+&=G7>&+>&=H-&@+>?+.-/
''!""'JC.'AC'AD9('C('AJ<'?C.<9'42'
3%T"'ML7
&3/& "-.-@=&=H-&<98>&<->G/&
''!""'1/"3'B'42'3%T"'Mc7'
Y/& "-.-@=&9>&+>Q+97,&:+7R+G=/
''A4'1"&"-/'%2'42+4%#R'S4#Q4)/Z'/4)-0'/0"'#)22"#'
+)//42'$2'/0"'&4S"#'&"6/'-4#2"#'46'/0"'1-#""27'A0"'
S4#Q4)/1'*"2)'S$&&'%33"%#'42'/0"'1-#""27
''!"&"-/'/0"'R"1$#"R'S4#Q4)/'-%/"T4#X'6#4*'/0"'
S4#Q4)/1'*"2)'%2R'/0"2'1"&"-/'/0"'R"1$#"R'S4#Q_
4)/7'A0"'1-#""2'S$&&'104S'/0"'2%*"Z'R)#%/$42Z'%2R'
R$1/%2-"'46'/0"'S4#Q4)/7'A0"'1-#""2'S$&&'%&14'104S'
/0"'%33#4^$*%/"'2)*+"#'46'-%&4#$"1'X4)'S$&&'+)#2'
R)#$2T'/0"'S4#Q4)/'%2R'%'3#46$&"'46'/0"'#"1$1/%2-"'
1"//$2T1'46'/0"'S4#Q4)/7
&]/& &"=97=&=H-&:+7R+G=/
''A4)-0'/0"'!/%#/'.4#Q4)/'+)//42'/4'1/%#/'/0"'S4#Q4)/7'
''<%-0'S4#Q4)/'$1'R$5$R"R'$2/4'1"T*"2/17'C2"'
#"1$1/%2-"'&"5"&'%2R'42"'/%#T"/'#3*'U13""RV'%#"'
3#4T#%**"R'64#'"%-0'1"T*"2/7'
'',)#$2T'/0"'S4#Q4)/Z'/0"'3#46$&"1'S$&&'104S'X4)#'
3#4T#"117'A4'5$"S'/0"'3#46$&"1Z'6&$-Q'4#'1&$R"'/0"'
1-#""27'
''81'X4)'"^"#-$1"Z'Q""3'X4)#'3"R%&$2T'13""R'2"%#'
/0"'/%#T"/'#3*'64#'/0"'-)##"2/'1"T*"2/7'A0"'/%#T"/'
Y42"'*"/"#'S$&&'3#4*3/'X4)'/4'$2-#"%1"Z'R"-#"%1"Z'
4#'*%$2/%$2'X4)#'3"R%&$2T'13""R7'A4'5$"S'/0"'/%#T"/'
Y42"'*"/"#Z'6&$-Q'4#'1&$R"'/0"'1-#""27
&&C'XD$B()BZ&BH-&=97M-=&7L<&8?&8>=->,-,&+>.F&=+&
L7+I8,-&<+=8I9=8+>/&e+G7&9@=G9.&L-,9.8>M&?L--,&
<9F&Q-&?.+:-7&=H9>&=H-&=97M-=&7L</&'9R-&?G7-&
=+&L-,9.&9=&9&?L--,&=H9=&8?&@+<;+7=9Q.-&;+7&F+G/&
'':6'/0"'#"1$1/%2-"'&"5"&'64#'/0"'-)##"2/'1"T*"2/'$1'
/44'0$T0'4#'/44'&4SZ'X4)'-%2'*%2)%&&X'45"##$R"'/0"'
1"//$2T'+X'3#"11$2T'/0"'9"1$1/%2-"'+)//4217'C;&F+G&
L7-??&9&$-?8?=9>@-&QG==+>K&X4)'-%2'/0"2'*%2)_
%&&X'-42/#4&'/0"'#"1$1/%2-"'U1""'1/"3'E'42'3%T"'
McV7'B+&7-=G7>&=+&=H-&L7+M79<<-,&7-?8?=9>@-&
?-==8>M?&+;&=H-&:+7R+G=K&'#1/Z'5$"S'/0"'3#4'&"7'
A0"2Z'/4)-0'/0"'G4&&4S'.4#Q4)/'+)//427
&&)+=-Z&BH-&@9.+78-&M+9.&8?&9>&-?=8<9=-&+;&=H-&
>G<Q-7&+;&@9.+78-?&=H9=&F+G&:8..&QG7>&,G78>M&
=H-&:+7R+G=/&BH-&9@=G9.&>G<Q-7&+;&@9.+78-?&=H9=&
F+G&QG7>&:8..&,-L->,&+>&I978+G?&;9@=+7?K&?G@H&
9?&F+G7&:-8MH=/&C>&9,,8=8+>K&8;&F+G&<9>G9..F&
@H9>M-&=H-&7-?8?=9>@-&,G78>M&=H-&:+7R+G=K&=H-&
>G<Q-7&+;&@9.+78-?&F+G&QG7>&:8..&Q-&9;;-@=-,/
''A4'3%)1"'/0"'S4#Q4)/Z'/4)-0'"$/0"#'/0"'+%-Q'+)//42'
4#'/0"'04*"'+)//42'%/'/0"'+4//4*'46'/0"'1-#""27'A4'
-42/$2)"'/0"'S4#Q4)/Z'/4)-0'/0"'9"1)*"'+)//427'A4'
"2R'/0"'S4#Q4)/Z'/4)-0'/0"'<2R'.4#Q4)/'+)//427
''A0"'S4#Q4)/'S$&&'-42/$2)"'$2'/0$1'S%X')2/$&'/0"'&%1/'
1"T*"2/'"2R17'8'S4#Q4)/'1)**%#X'S$&&'%33"%#'42'
/0"'1-#""27'86/"#'X4)'5$"S'/0"'S4#Q4)/'1)**%#XZ'
/4)-0'/0"'G$2$10'+)//42'/4'#"/)#2'/4'/0"'*%$2'*"2)7'
H4)'*%X'%&14'+"'%+&"'/4'"$/0"#'1%5"'4#'3)+&$10'X4)#'
#"1)&/1')1$2T'42"'46'/0"'43/$421'42'/0"'1-#""27
4/& 0+..+:&F+G7&L7+M7-??/&
' !""'1/"3'I'42'3%T"'Mc7
_/& '-9?G7-&F+G7&H-97=&79=-&8;&,-?87-,/
''!""'1/"3'K'42'3%T"'Mc7
a/& BG7>&+>&=H-&;9>&8;&,-?87-,/
''!""'1/"3'L'42'3%T"'Mf7
&2/& &OH->&F+G&97-&;8>8?H-,&-\-7@8?8>MK&G>L.GM&=H-&
L+:-7&@+7,/
&&!""'1/"3'\'42'3%T"'Mf7

35
&NDO&BD&!"#&(&"#BS(SVD(*&OD$TD!B
5/& &U-M8>&L-,9.8>M&+7&L7-??&9>F&QG==+>&+>&=H-&
@+>?+.-&=+&=G7>&+>&=H-&@+>?+.-/
''!""'JC.'AC'AD9('C('AJ<'?C.<9'42'
3%T"'ML7
&3/& "-.-@=&=H-&<98>&<->G/&
''!""'1/"3'B'42'3%T"'Mc7'
Y/& &"-.-@=&9&?-=S9SM+9.&:+7R+G=/
''A4'1"&"-/'%'1"/_%_T4%&'S4#Q4)/Z'/4)-0'/0"'!"/'8'
;4%&'+)//42'42'/0"'1-#""2'4#'3#"11'/0"'!"/'8';4%&'
+)//42'42'/0"'-4214&"7
''A4'1"/'%'-)1/4*$Y"R'T4%&'64#'X4)#'S4#Q4)/Z'/4)-0'
/0"'+)//42'64#'/0"'R"1$#"R'T4%&7'A0"2Z'/4)-0'/0"'
$2-#"%1"'%2R'R"-#"%1"'+)//421'42'/0"'1-#""2'/4'
"2/"#'X4)#'T4%&'%2R'/4'1"&"-/'4/0"#'5%#$%+&"1'64#'/0"'
S4#Q4)/7'A0"'1-#""2'S$&&'104S'/0"'R)#%/$42'%2R'R$1_
/%2-"'46'/0"'S4#Q4)/Z'%2R'/0"'%33#4^$*%/"'2)*+"#'
46'-%&4#$"1'X4)'S$&&'+)#2'R)#$2T'/0"'S4#Q4)/7'
]/& &"=97=&=H-&:+7R+G=/
''A4)-0'/0"'!/%#/'+)//42'/4'1/%#/'/0"'S4#Q4)/7'
''A0"'S4#Q4)/'S$&&'6)2-/$42'$2'/0"'1%*"'S%X'%1'/0"'
*%2)%&'*4R"'U1""'3%T"'McV7'
''81'X4)'"^"#-$1"Z'Q""3'X4)#'3"R%&$2T'13""R'2"%#'
/0"'/%#T"/'#3*7'A0"'/%#T"/'Y42"'*"/"#'S$&&'3#4*3/'
X4)'/4'$2-#"%1"Z'R"-#"%1"Z'4#'*%$2/%$2'X4)#'3"R%&_
$2T'13""R7'A4'5$"S'/0"'/%#T"/'Y42"'*"/"#Z'6&$-Q'4#'
1&$R"'/0"'1-#""27
&&C'XD$B()BZ&BH-&=97M-=&7L<&8?&8>=->,-,&+>.F&=+&
L7+I8,-&<+=8I9=8+>/&e+G7&9@=G9.&L-,9.8>M&?L--,&
<9F&Q-&?.+:-7&=H9>&=H-&=97M-=&7L</&'9R-&?G7-&
=+&L-,9.&9=&9&?L--,&=H9=&8?&@+<;+7=9Q.-&;+7&F+G/&
''A0"'S4#Q4)/'S$&&'-42/$2)"')2/$&'X4)'#"%-0'/0"'T4%&'
/0%/'X4)'1"/7'8'S4#Q4)/'1)**%#X'S$&&'%33"%#'42'
/0"'1-#""27'86/"#'X4)'5$"S'/0"'S4#Q4)/'1)**%#XZ'
/4)-0'/0"'G$2$10'+)//42'/4'#"/)#2'/4'/0"'*%$2'*"2)7'
H4)'*%X'%&14'+"'%+&"'/4'"$/0"#'1%5"'4#'3)+&$10'X4)#'
#"1)&/1')1$2T'42"'46'/0"'43/$421'42'/0"'1-#""27
&&)+=-Z&BH-&@9.+78-&M+9.&8?&9>&-?=8<9=-&+;&=H-&
>G<Q-7&+;&@9.+78-?&=H9=&F+G&:8..&QG7>&,G78>M&
=H-&:+7R+G=/&BH-&9@=G9.&>G<Q-7&+;&@9.+78-?&=H9=&
F+G&QG7>&:8..&,-L->,&+>&I978+G?&;9@=+7?K&?G@H&
9?&F+G7&:-8MH=/&C>&9,,8=8+>K&8;&F+G&<9>G9..F&
@H9>M-&=H-&7-?8?=9>@-&,G78>M&=H-&:+7R+G=K&=H-&
>G<Q-7&+;&@9.+78-?&F+G&QG7>&:8..&Q-&9;;-@=-,/
4/& 0+..+:&F+G7&L7+M7-??/&
' !""'1/"3'I'42'3%T"'Mc7
_/& '-9?G7-&F+G7&H-97=&79=-&8;&,-?87-,/
''!""'1/"3'K'42'3%T"'Mc7
a/& BG7>&+>&=H-&;9>&8;&,-?87-,/
''!""'1/"3'L'42'3%T"'Mf7
&2/& &OH->&F+G&97-&;8>8?H-,&-\-7@8?8>MK&G>L.GM&=H-&
L+:-7&@+7,/
&&!""'1/"3'\'42'3%T"'Mf7

33
&NDO&BD&!"#&()&C0CB&OD$TD!B
(4/"W'A4')1"'%2'$G$/'S4#Q4)/Z'X4)'*)1/'0%5"'%--"11'
/4'%'S$#"&"11'2"/S4#Q'U1""'JC.'AC'D!<'AJ<'
.:9<><!!'(<A.C9O'@C,<'42'3%T"'B\7'82'$G$/'
%--4)2/'$1'%&14'#"a)$#"R7
5/& &U-M8>&L-,9.8>M&+7&L7-??&9>F&QG==+>&+>&=H-&
@+>?+.-&=+&=G7>&+>&=H-&@+>?+.-/
''!""'JC.'AC'AD9('C('AJ<'?C.<9'42'
3%T"'ML7
&3/& "-.-@=&=H-&<98>&<->G/&
''!""'1/"3'B'42'3%T"'Mc7'
Y/& *+M&8>&=+&F+G7&808=&9@@+G>=/
'':6'X4)'0%5"'24/'%&#"%RX'R42"'14Z'/4)-0'/0"'>4T$2'
+)//42'/4'&4T'$2'/4'X4)#'$G$/'%--4)2/7'A0"'1-#""2'
S$&&'%1Q'64#'X4)#'$G$/7-4*')1"#2%*"'%2R'3%11S4#R7'
<2/"#'/0"*'%2R'/4)-0'/0"'>4T$2'+)//427'A4)-0'/0"'
=%2-"&'+)//42'/4'"^$/'/0"'&4T$2'1-#""27
''A4'1S$/-0')1"#1'S$/0$2'X4)#'$G$/'%--4)2/Z'/4)-0'/0"'
)1"#'+)//42'%/'/0"'+4//4*'46'/0"'1-#""27':6'*4#"'
/0%2'42"')1"#'$1'%114-$%/"R'S$/0'/0"'%--4)2/Z'%'&$1/'
46')1"#1'S$&&'%33"%#7'A4)-0'/0"'2%*"'46'/0"'R"1$#"R'
)1"#7
]/& "-.-@=&9>&808=&:+7R+G=/
''A4'R4S2&4%R'%2'$G$/'S4#Q4)/'$2'X4)#'1-0"R)&"Z'
/4)-0'/0"'@%3Z'A#%$2Z'j$R"4Z'4#'>41"'."$T0/'+)//42'
/4'R4S2&4%R'/0"'2"^/'S4#Q4)/'46'/0%/'/X3"'$2'X4)#'
1-0"R)&"7'(4/"W'H4)'*%X'+"'%+&"'/4'%--"11'R"*4'
S4#Q4)/1'/0#4)T0'/0"1"'43/$421Z'"5"2'$6'X4)'R4'24/'
&4T'$2'/4'%2'$G$/'%--4)2/7
''A4'-4*3"/"'$2'%'#%-"'/0%/'X4)'0%5"'3#"5$4)1&X'
1-0"R)&"RZ'/4)-0'/0"'=4*3"/"'+)//427'A4'5$"S'X4)#'
.4#Q4)/'J$1/4#XZ'/4)-0'/0"'A#%-Q'+)//427'A4')1"'%'
1"/_%_T4%&'S4#Q4)/Z'/4)-0'/0"'!"/'8';4%&'+)//42'
U1""'3%T"'BMV7'(4/"W'H4)'-%2'%&14'3#"11'42"'46'
/0"'$G$/'+)//421'42'/0"'-4214&"7
''F"64#"'14*"'S4#Q4)/1'S$&&'R4S2&4%RZ'X4)'*)1/'%RR'
/0"*'/4'X4)#'1-0"R)&"'42'$G$/7-4*7'
&&0+7&<+7-&8>;+7<9=8+>&9Q+G=&=H-&808=&:+7R+G=?K&
L.-9?-&?--&:::/808=/@+</
''.0"2'X4)'1"&"-/'%2'$G$/'S4#Q4)/Z'/0"'1-#""2'S$&&'
104S'/0"'2%*"Z'R)#%/$42Z'%2R'R$1/%2-"'46'/0"'S4#Q_
4)/7'A0"'1-#""2'S$&&'%&14'104S'/0"'%33#4^$*%/"'
2)*+"#'46'-%&4#$"1'X4)'S$&&'+)#2'R)#$2T'/0"'S4#Q_
4)/7':6'X4)'1"&"-/'%'-4*3"/$/$42'S4#Q4)/Z'/0"'R$13&%X'
S$&&'-4)2/'R4S2'/4'/0"'+"T$22$2T'46'/0"'#%-"7
4/& "=97=&=H-&:+7R+G=/
' !""'1/"3'I'42'3%T"'BP7
'',)#$2T'14*"'S4#Q4)/1Z'/0"'54$-"'46'%'3"#142%&'
/#%$2"#'S$&&'T)$R"'X4)'/0#4)T0'X4)#'S4#Q4)/'
U1""'JC.'AC'D!<'AJ<'!CD(,'!H!A<@'42'
3%T"'BcV7'
_/& 0+..+:&F+G7&L7+M7-??/&
''!""'1/"3'I'42'3%T"'Mc7'A0"'1-#""2'*%X'%&14'
104S'%'*%3'46'/0"'/#%$&'X4)'%#"'S%&Q$2T'4#'#)22$2T7
'',)#$2T'%'-4*3"/$/$42'S4#Q4)/Z'/0"'1-#""2'S$&&'104S'
/0"'13""R1'46'/0"'#%-"#1'%2R'/0"'R$1/%2-"1'/0"X'
0%5"'/#%5"&"R7'A0"'1-#""2'S$&&'%&14'104S'/0"'2)*_
+"#1'46'1"-42R1'/0%/'/0"'4/0"#'#%-"#1'%#"'%0"%R'46'
X4)'4#'+"0$2R'X4)7
a/& '-9?G7-&F+G7&H-97=&79=-&8;&,-?87-,/
''!""'1/"3'K'42'3%T"'Mc7
2/& BG7>&+>&=H-&;9>&8;&,-?87-,/
''!""'1/"3'L'42'3%T"'Mf7
c/& &OH->&F+G&97-&;8>8?H-,&-\-7@8?8>MK&G>L.GM&=H-&
L+:-7&@+7,/
&&!""'1/"3'\'42'3%T"'Mf7
0+7&<+7-&8>;+7<9=8+>&9Q+G=&=H-&808=&<+,-K&M+&=+&
:::/808=/@+</

3Y
&NDO&BD&!"#&BN#&#A!CX'#)B&"#BBC)V"&'DW#
A0"'-4214&"'6"%/)#"1'%2'"a)$3*"2/'1"//$2T1'*4R"'/0%/'
%&&4S1'X4)'/4'-0%2T"'5%#$4)1'1"//$2T1'64#'/0"'"^"#-$1"'
+$Q"7
&5/& "-.-@=&=H-&?-==8>M?&<98>&<->G/
''G$#1/Z'/)#2'42'/0"'-4214&"'%2R'1"&"-/'/0"'*%$2'*"2)'
U1""'1/"31'M'%2R'B'42'3%T"'McV7
''A0"2Z'R#%S'
%'1a)%#"'
-&4-QS$1"'42'
/0"'1-#""2'/4'
%--"11'/0"'
1"//$2T1'*%$2'
*"2)7
3/& "-.-@=&=H-&-JG8L<->=&?-==8>M?&<+,-/
'':2'/0"'1"//$2T1'*%$2'*"2)Z'/4)-0'/0"'<a)$3*"2/'
!"//$2T1'+)//427
Y/& "-.-@=&9&.9>MG9M-/
''A4'1"&"-/'%'&%2T)%T"Z'/4)-0'/0"'>%2T)%T"'+)//42'
%2R'1"&"-/'/0"'R"1$#"R'&%2T)%T"7'A0"2Z'/4)-0'/0"'
+%-Q'+)//42'/4'#"/)#2'/4'/0"'"a)$3*"2/'1"//$2T1'
*4R"7'(4/"W'A0$1'6"%/)#"'*%X'24/'+"'"2%+&"R7
]/& "-.-@=&9&=8<-g+>-/
'&A4'1"&"-/'%'/$*"Y42"Z'/4)-0'/0"'A$*"Y42"'+)//427'
!"&"-/'X4)#'&4-%&'/$*"Y42"'/4'0%5"'/0"'-4214&"'
1X2-'/4'X4)#'&4-%&'/$*"7'A0"2Z'/4)-0'/0"'+%-Q'
+)//427
4/& BG7>&+>&+7&=G7>&+;;&=H-&,8?L.9F&,-<+&<+,-/
''A0"'-4214&"'6"%/)#"1'%'R$13&%X'R"*4'*4R"Z'
R"1$T2"R'/4'+"')1"R'$6'/0"'"^"#-$1"'+$Q"'$1'R$1_
3&%X"R'$2'%'1/4#"7'.0$&"'/0"'R"*4'*4R"'$1'/)#2"R'
42Z'/0"'1-#""2'S$&&'104S'%'R"*4'3#"1"2/%/$427'
''A4'/)#2'42'4#'/)#2'466'/0"'R$13&%X'R"*4'*4R"Z'6$#1/'
/4)-0'/0"',"*4'@4R"'+)//427'("^/Z'/4)-0'/0"'C2'
-0"-Q+4^'4#'/0"'C66'-0"-Q+4^7'A0"2Z'/4)-0'/0"'
+%-Q'+)//427
_/& #>9Q.-&+7&,8?9Q.-&=H-&C>=-7>-=&Q7+:?-7/
''H4)'-%2'R$1%+&"'/0"':2/"#2"/'+#4S1"#Z'S0$-0'S$&&'
0"&3'/4'#"1/#$-/'/0"'+%2RS$R/0')1"R'42'X4)#'S$#"&"11'
2"/S4#Q7
''A4'"2%+&"'4#'R$1%+&"'/0"':2/"#2"/'+#4S1"#Z'6$#1/'
/4)-0'/0"'F#4S1"#'+)//427'("^/Z'/4)-0'/0"'<2%+&"'
-0"-Q+4^'4#'/0"',$1%+&"'-0"-Q+4^7'A0"2Z'/4)-0'/0"'
+%-Q'+)//427'
a/& "-=&9&=8<-&;+7&=H-&7-?-=&=8<-+G=/
''A0"'-4214&"'6"%/)#"1'%2'%)/4*%/$-'#"1"/'6"%/)#"l'$6'
24'+)//421'%#"'/4)-0"R'4#'3#"11"R'%2R'/0"'3"R%&1'
R4'24/'*45"'64#'%'1"/'%*4)2/'46'/$*"Z'/0"'-4214&"'
S$&&'%)/4*%/$-%&&X'#"1"/7
''A4'1"/'/0"'%*4)2/'46'/$*"'/0"'-4214&"'S$&&'S%$/'
+"64#"'$/'%)/4*%/$-%&&X'#"1"/1Z'6$#1/'/4)-0'/0"'9"1"/'
A$*"4)/'+)//42'/4'5$"S'%'&$1/'46'/$*"17'("^/Z'1"&"-/'
/0"'%*4)2/'46'/$*"'R"1$#"R7'A0"2Z'/4)-0'/0"'+%-Q'
+)//427
&2/& "-.-@=&=H-&G>8=&+;&<-9?G7-<->=/
''A4'5$"S'/0"'1"&"-/"R')2$/'46'*"%1)#"*"2/Z'/4)-0'
/0"'D
3]
56/&#>9Q.-&+7&,8?9Q.-&?=7--=&I8-:/
''H4)'-%2'R$1%+&"'/0"'1/#""/'5$"S'64#'*%31'S4#Q4)/1Z'
S0$-0'S$&&'0"&3'/4'#"1/#$-/'/0"'+%2RS$R/0')1"R'42'
X4)#'S$#"&"11'2"/S4#Q7
''A4'"2%+&"'4#'R$1%+&"'/0"'1/#""/'5$"SZ'6$#1/'/4)-0'/0"'
!/#""/'j$"S'+)//427'("^/Z'/4)-0'/0"'<2%+&"'-0"-Q_
+4^'4#'/0"',$1%+&"'-0"-Q+4^7'A0"2Z'/4)-0'/0"'+%-Q'
+)//427
55/&"-=&9&:+7R+G=&=8<-&.8<8=/
''H4)'-%2'1"/'%'/$*"'&$*$/'64#'S4#Q4)/1'/4'0"&3'#"1/#$-/'
/0"'%*4)2/'46'/$*"'"%-0')1"#'13"2R1'42'/0"'"^"#_
-$1"'+$Q"7
''A4'1"/'%'S4#Q4)/'/$*"'&$*$/Z'/4)-0'/0"'.4#Q4)/'A$*"'
>$*$/'+)//427'A4'"2%+&"'/0"'S4#Q4)/'/$*"'&$*$/Z'/4)-0'
/0"'<2%+&"'-0"-Q+4^7'A0"2Z'/4)-0'/0"'$2-#"%1"'
%2R'R"-#"%1"'+)//421'/4'1"&"-/'/0"'%*4)2/'46'/$*"'
%&&4S"R'64#'"%-0')1"#7'A0"2Z'/4)-0'/0"'+%-Q'+)//427
&&,)#$2T'%2X'S4#Q4)/Z'/0"'-4214&"'S$&&'24/$6X'X4)'
S0"2'42&X'/"2'1"-42R1'#"*%$2')2/$&'/0"'/$*"'&$*$/7'
.0"2'/0"'/$*"'&$*$/'$1'#"%-0"RZ'/0"'S4#Q4)/'S$&&'
%)/4*%/$-%&&X'"2R7
53/&#\8=&=H-&-JG8L<->=&?-==8>M?&<+,-/
''A4'"^$/'/0"'"a)$3*"2/'1"//$2T1'*4R"Z'/4)-0'/0"'
+%-Q'+)//427

34
&NDO&BD&!"#&BN#&#)B#$B(C)'#)B&'DW#
A0"'-4214&"'6"%/)#"1'%2'"2/"#/%$2*"2/'*4R"'/0%/'
%&&4S1'X4)'/4'-422"-/'/0"'-4214&"'/4'%'#"*4/"'Aj7'
:6'X4)'3)#-0%1"'/0"'M\d',$T$/%&'Aj'U1""'3%T"'MMVZ'
3&"%1"'1""'/0"'*%2)%&'$2-&)R"R'S$/0'/0"'M\d',$T$/%&'Aj'
/4'&"%#2'04S'/4')1"'/0"'"2/"#/%$2*"2/'*4R"'/4'1"/')3'
/0"'3"#142%&'M\d',$T$/%&'Aj7
&5/& "-.-@=&=H-&?-==8>M?&<98>&<->G/
' !""'1/"3'M'42'3%T"'BE7
3/& "-.-@=&=H-&->=-7=98><->=&<+,-/
'':2'/0"'1"//$2T1'*%$2'*"2)Z'/4)-0'/0"'<2/"#/%$2*"2/'
+)//42'/4'"2/"#'/0"'"2/"#/%$2*"2/'*4R"7
Y/& "-=&GL&=H-&:9..&+;&?@7-->?&7-@-8I-7&8;&,-?87-,/
''A4)-0'/0"'.%&&'46'!-#""21'+)//42'/4'5$"S'43/$421'
64#'1"//$2T')3'/0"'-4214&"'/4'43"#%/"'S$/0'%'S%&&'46'
1-#""217
''A4)-0'/0"'<2%+&"'-0"-Q+4^'/4'43"#%/"'/0"'-4214&"'
S$/0'%'S%&&'46'1-#""217
''A4)-0'/0"',"6%)&/'!"//$2T1'+)//42'/4'1"&"-/'%'
R"6%)&/'54&)*"7
''A4)-0'/0"'=)1/4*'!"//$2T1'+)//42'/4'1"&"-/'-)1_
/4*$Y"R'-0%22"&17'!"&"-/'X4)#'/#%21*$//"#'/X3"'6#4*'
/0"'R#43_R4S2'&$1/7'A0"2Z'1"&"-/'%'-0%22"&7'A4)-0'
/0"'8RR'+)//42'/4'-#"%/"'*)&/$3&"'/#%21*$//"#'%2R[4#'
-0%22"&'1"//$2T17
''(4/"W'.0"2'/0"'-4214&"'$1')1"R'S$/0'%'S%&&'46'
1-#""21Z'*%Q"'1)#"'/0%/'.%&&'46'Ajk1'$1'1"&"-/"R'
%1'/0"'%)R$4'14)#-"'U1""'JC.'AC'=J8(;<'AJ<'
8D,:C'!CD9=<'42'3%T"'BcV7
]/& "-=&GL&9&L-7?+>9.&Bd&8;&,-?87-,/
''A4)-0'/0"'?"#142%&'!"//$2T1'+)//42'/4'5$"S'43/$421'
64#'1"//$2T')3'/0"'-4214&"'/4'43"#%/"'S$/0'/0"'M\d'
,$T$/%&'Aj'4#'4/0"#'-4*3%/$+&"'3"#142%&'Aj7
''A4)-0'/0"',"6%)&/'!"//$2T1'+)//42'%2R'/0"2'1"&"-/'%'
R"6%)&/'-0%22"&'%2R'%'R"6%)&/'54&)*"'$6'R"1$#"R7
''A4)-0'/0"'=)1/4*'!"//$2T1'+)//42'%2R'/0"2'1"&"-/'
X4)#'Aj'/X3"'6#4*'/0"'R#43_R4S2'&$1/'$6'2"-"11%#X7'
D1"'/0"'Aj'1"/)3'-42/#4&1'%1'%'#"*4/"'-42/#4&'64#'
/0"'3"#142%&'Aj'$6'R"1$#"R7'
''(4/"W'.0"2'/0"'-4214&"'$1')1"R'S$/0'%'3"#142%&'
AjZ'*%Q"'1)#"'/0%/'?"#142%&'Aj'$1'1"&"-/"R'%1'/0"'
%)R$4'14)#-"'U1""'JC.'AC'=J8(;<'AJ<'8D,:C'
!CD9=<'42'3%T"'BcV7
4/& #\8=&=H-&->=-7=98><->=&<+,-/
''A4'"^$/'/0"'"2/"#/%$2*"2/'*4R"Z'/4)-0'/0"'+%-Q'
+)//427

3_
&NDO&BD&!"#&BN#&'(C)B#)()P#&'DW#
A0"'-4214&"'6"%/)#"1'%'*%$2/"2%2-"'*4R"'/0%/'%&&4S1'
X4)'/4')3R%/"'/0"'-4214&"'6$#*S%#"Z'5$"S'*%-0$2"'
$264#*%/$42Z'5$"S'%'+)//42k1'Q"X-4R"Z'#"T$1/"#'/0"'"^"#_
-$1"'+$Q"Z'%2R'"2/"#'%'-&)+'/4Q"27
&5/& "-.-@=&=H-&?-==8>M?&<98>&<->G/
' !""'1/"3'M'42'3%T"'BE7
&3/& "-.-@=&=H-&<98>=->9>@-&<+,-/
'':2'/0"'1"//$2T1'*%$2'*"2)Z'/4)-0'/0"'@%$2/"2%2-"'
+)//42'/4'"2/"#'/0"'*%$2/"2%2-"'*4R"7'
''A0"'*%$2/"2%2-"'*4R"'*%$2'1-#""2'S$&&'104S'
$264#*%/$42'%+4)/'/0"'*4R"&'%2R'5"#1$42'46'/0"'
-4214&"7
&Y/& !L,9=-&=H-&@+>?+.-&;87<:97-/
&&0+7&=H-&Q-?=&7-?G.=?K&7-MG.97.F&@H-@R&;+7&;87<S
:97-&GL,9=-?/
''A4)-0'/0"'G$#*S%#"'D3R%/"'+)//42'/4'-0"-Q'64#'
6$#*S%#"')3R%/"1')1$2T'X4)#'S$#"&"11'2"/S4#Q7'A0"'
)3R%/"'S$&&'+"T$2'%)/4*%/$-%&&X7'
&&B+&9I+8,&,9<9M8>M&=H-&-\-7@8?-&Q8R-K&,+&>+=&
=G7>&+;;&=H-&L+:-7&:H8.-&=H-&;87<:97-&8?&Q-8>M&
GL,9=-,/
''(4/"W'C--%1$42%&&XZ'%'6$#*S%#"')3R%/"'*%X'-%)1"'
X4)#'-4214&"'/4'6)2-/$42'1&$T0/&X'R$66"#"2/&X7'A0"1"'
)3R%/"1'%#"'%&S%X1'R"1$T2"R'/4'$*3#45"'X4)#'"^"#_
-$1"'"^3"#$"2-"7
''A0"'1-#""2'S$&&'104S'/0"'3#4T#"11'46'/0"')3R%/"7'
.0"2'/0"')3R%/"'$1'-4*3&"/"Z'/0"'"^"#-$1"'+$Q"'S$&&'
/)#2'466'%2R'/0"2'/)#2'+%-Q'427':6'$/'R4"1'24/Z'3#"11'
/0"'34S"#'1S$/-0'$2/4'/0"'466'341$/$427'.%$/'64#'1"5_
"#%&'1"-42R1Z'%2R'/0"2'3#"11'/0"'34S"#'1S$/-0'$2/4'
/0"'#"1"/'341$/$427'(4/"W':/'*%X'/%Q"'%'6"S'*$2)/"1'
64#'/0"'-4214&"'/4'+"'#"%RX'64#')1"7
]/& d8-:&<9@H8>-&8>;+7<9=8+>/
''A4)-0'/0"'@%-0$2"':264'+)//42'/4'5$"S'$264#*%/$42'
%+4)/'X4)#'"^"#-$1"'+$Q"7'86/"#'X4)'5$"S'/0"'$264#_
*%/$42Z'/4)-0'/0"'+%-Q'+)//427
4/& 08>,&R-F@+,-?/
''A0$1'43/$42'$1'$2/"2R"R'/4'+"')1"R'+X'1"#5$-"'
/"-02$-$%21'/4'$R"2/$6X'S0"/0"#'%'-"#/%$2'+)//42'$1'
S4#Q$2T'-4##"-/&X7
_/& $-M8?=-7&=H-&-\-7@8?-&Q8R-&+>&808=/@+</
''A0$1'43/$42'$1'$2/"2R"R'/4'+"')1"R'+X'6$/2"11'-&)+'
4S2"#1'/4'5$"S'%2R'/#%-Q'/0"')1%T"'0$1/4#X'46'/0"'
"^"#-$1"'+$Q"'42'$G$/7-4*7
''A4)-0'/0"'9"T$1/"#'<a)$3*"2/'+)//42Z'"2/"#'X4)#'
-&)+'/4Q"2Z'%2R'/0"2'/4)-0'/0"'!)+*$/'+)//427'
a/& #>=-7&@.GQ&=+R->/
''A0$1'43/$42'$1'$2/"2R"R'/4'+"')1"R'+X'6$/2"11'-&)+'
4S2"#17'A4)-0'/0"'<2/"#'A4Q"2'+)//42Z'"2/"#'X4)#'
-&)+'/4Q"2Z'%2R'/0"2'/4)-0'/0"'!)+*$/'+)//427
2/& #\8=&=H-&<98>=->9>@-&<+,-/
''A4'"^$/'/0"'*%$2/"2%2-"'*4R"Z'/4)-0'/0"'+%-Q'
+)//427

3a
&NDO&BD&!"#&BN#&OC$#*#""&)#BOD$T&'DW#
A0"'-4214&"'6"%/)#"1'%'S$#"&"11'2"/S4#Q'*4R"'/0%/'
%&&4S1'X4)'/4'1"/')3'%'S$#"&"11'2"/S4#Q'-422"-/$427
(4/"W'H4)'*)1/'0%5"'X4)#'4S2'S$#"&"11'2"/S4#Q'%2R'
%2'cPB7MM+[2'#4)/"#'S$/0'!!:,'+#4%R-%1/'"2%+&"R'U0$R_
R"2'2"/S4#Q1'%#"'24/'1)334#/"RV7
&5/& "-.-@=&=H-&?-==8>M?&<98>&<->G/
' !""'1/"3'M'42'3%T"'BE7
3/& "-.-@=&=H-&:87-.-??&>-=:+7R&<+,-/
'':2'/0"'1"//$2T1'*%$2'*"2)Z'/4)-0'/0"'("/S4#Q'
!"/)3'+)//42'%2R'/0"2'/4)-0'/0"'.$#"&"11'("/S4#Q'
+)//42'/4'"2/"#'/0"'S$#"&"11'2"/S4#Q'*4R"7
Y/& #>9Q.-&O8S08/
''@%Q"'1)#"'/0%/'/0"'.$_G$'-0"-Q+4^'$1'*%#Q"R'S$/0'
%'T#""2'-0"-Q*%#Q7':6'$/'$1'24/Z'/4)-0'/0"'.$_G$'
*"2)'43/$42'42-"'%2R'S%$/'64#'%'6"S'1"-42R17'A0"'
-4214&"'S$&&'1"%#-0'64#'%5%$&%+&"'S$#"&"11'2"/S4#Q17'
]/& &"-=&GL&9>,&<9>9M-&9&:87-.-??&>-=:+7R&
@+>>-@=8+>/
''.0"2'.$_G$'$1'"2%+&"RZ'/0"'1-#""2'S$&&'104S'%'&$1/'
46'%5%$&%+&"'2"/S4#Q17'(4/"W':/'*%X'/%Q"'1"5"#%&'
1"-42R1'64#'/0"'&$1/'46'S$#"&"11'2"/S4#Q1'/4'%33"%#7
''@%Q"'1)#"'/0%/'/0"'-0"-Q+4^'42'/0"'("/S4#Q'
24/$6$-%/$42'*"2)'43/$42'$1'*%#Q"R'S$/0'%'T#""2'
-0"-Q*%#Q'/4'0%5"'/0"'-4214&"'24/$6X'X4)'S0"2'%'
S$#"&"11'2"/S4#Q'$1'S$/0$2'#%2T"'%2R'%5%$&%+&"7
'''(4/"W'H4)'*)1/'0%5"'X4)#'4S2'S$#"&"11'2"/S4#Q'
%2R'%2'cPB7MM+[2'#4)/"#'S$/0'!!:,'+#4%R-%1/'
"2%+&"R'U0$RR"2'2"/S4#Q1'%#"'24/'1)334#/"RV7'
''.0"2'%'&$1/'46'2"/S4#Q1'%33"%#1Z'/4)-0'/0"'R"1$#"R'
2"/S4#Q7'(4/"W'H4)'S$&&'2""R'/4'Q24S'X4)#'2"/S4#Q'
2%*"'U!!:,V7':6'X4)#'2"/S4#Q'0%1'%'3%11S4#RZ'X4)'
S$&&'%&14'2""R'/4'Q24S'/0"'3%11S4#R7
''82'$264#*%/$42'+4^'S$&&'%1Q'$6'X4)'S%2/'/4'-422"-/'
/4'/0"'S$#"&"11'2"/S4#Q7'A4)-0'/0"'=422"-/'+)//42'
/4'-422"-/'/4'/0"'2"/S4#Q'4#'/4)-0'/0"'=%2-"&'+)/_
/42'/4'#"/)#2'/4'/0"'&$1/'46'2"/S4#Q17':6'/0"'2"/S4#Q'
0%1'%'3%11S4#RZ'/4)-0'/0"'3%11S4#R'"2/#X'+4^7'8'
Q"X+4%#R'S$&&'%33"%#'42'/0"'1-#""27'A4'5$"S'/0"'
3%11S4#R'%1'X4)'/X3"'$/Z'/4)-0'/0"'!04S'?%11S4#R'
-0"-Q+4^7
''A4')1"'/0"'Q"X+4%#RZ'1""'JC.'AC'D!<'AJ<'
ACD=J'!=9<<('42'3%T"'ML7
''.0"2'/0"'-4214&"'$1'-422"-/"R'/4'X4)#'S$#"&"11'
2"/S4#QZ'/0"'.$G$'*"2)'43/$42'%/'/0"'/43'46'/0"'
1-#""2'S$&&'R$13&%X'/0"'S4#R'=C((<=A<,7'A0"2Z'
/4)-0'/0"'+%-Q'+)//42'/4'#"/)#2'/4'/0"'S$#"&"11'2"/_
S4#Q'*4R"7
''A4'R$1-422"-/'6#4*'%'S$#"&"11'2"/S4#QZ'1"&"-/'/0"'
S$#"&"11'2"/S4#Q'%2R'/0"2'/4)-0'/0"'G4#T"/'+)//427
'':6'X4)'%#"'0%5$2T'3#4+&"*1'-422"-/$2T'/4'%2'
"2-#X3/"R'2"/S4#QZ'*%Q"'1)#"'/0%/'X4)#'3%11S4#R'
$1'-4##"-/7'(4/"W'?%11S4#R1'%#"'-%1"_1"21$/$5"7
''(4/"W'A0"'$G$/'*4R"'1)334#/1')21"-)#"R'%2R'
1"-)#"R'U.<?Z'.?8Z'%2R'.?8BV'"2-#X3/$427'8'
+#4%R+%2R'-422"-/$42'$1'#"-4**"2R"Rl'3"#64#_
*%2-"'R"3"2R1'42'-422"-/$42'13""R7'
&&)+=-Z&C;&F+G&H9I-&JG-?=8+>?&9;=-7&;+..+:8>M&
=H-?-&8>?=7G@=8+>?K&M+&=+&?GLL+7=/808=/@+<&;+7&
9??8?=9>@-/
4/& #\8=&=H-&:87-.-??&>-=:+7R&<+,-/
''A4'"^$/'/0"'S$#"&"11'2"/S4#Q'*4R"Z'/4)-0'/0"'+%-Q'
+)//427

32
&NDO&BD&!"#&BN#&"D!)W&"e"B#'
A4'&$1/"2'/4'/0"'-4214&"'%)R$4Z'#"*4/"'Aj'%)R$4Z'4#'
3"#142%&'M\d'R$T$/%&'Aj'%)R$4'S$/0'X4)#'3"#142%&'0"%R_
3042"1'4#'"%#'+)R1Z'3&)T'X4)#'0"%R3042"1'$2/4'/0"'
%)R$4'`%-Q'42'/0"'-4214&"'%2R'1"&"-/'%2'%)R$4'14)#-"'
U1""'JC.'AC'=J8(;<'AJ<'8D,:C'!CD9=<'%/'/0"'
#$T0/V7'(4/"W'A0$1'%)R$4'`%-Q'$1'64#'%)R$4'4)/3)/'42&X7'
NDO&BD&!"#&()&CXDW&OCBN&BN#&"D!)W&"e"B#'
A0$1'-4214&"'0%1'+""2'R"1$T2"R'13"-$6$-%&&X'/4'S4#Q'
S$/0'$?4R]'%2R'0%1'+""2'-"#/$6$"R'+X'/0"'R"5"&43"#'/4'
*""/'833&"'3"#64#*%2-"'1/%2R%#R17
A4'&$1/"2'/4'*)1$-'4#'%)R$4'+44Q1'S$/0'X4)#'$?4RZ'-42_
2"-/'X4)#'$?4R'/4'/0"'-%+&"'"^/"2R$2T'6#4*'/0"'-4214&"7'
A0"'-4214&"'S$&&'-0%#T"'X4)#'$?4R'S0$&"'X4)')1"'$/7'
'9R-&?G7-&=H9=&=H-&8X+,&8?&;G..F&L.GMM-,&8>/&
("^/Z'3#"11'/0"'3&%X'+)//42'42'X4)#'$?4R7'8R`)1/'/0"'
54&)*"'+X'3#"11$2T'/0"'j4&'$2-#"%1"'%2R'R"-#"%1"'+)/_
/421'42'/0"'-4214&"7'
(4/"W'A4'&$1/"2'/4'/0"'-4214&"'%)R$4Z'#"*4/"'Aj'%)R$4Z'
4#'3"#142%&'M\d'R$T$/%&'Aj'%)R$4Z'%2R'3&)T'X4)#'0"%R_
3042"1'$2/4'/0"'%)R$4'`%-Q'42'/0"'-4214&"7'A0"2Z'/4'
&$1/"2'/4'X4)#'$?4RZ'1"&"-/'$?4R'%1'/0"'%)R$4'14)#-"'
U1""'JC.'AC'=J8(;<'AJ<'8D,:C'!CD9=<'%/'/0"'
#$T0/V7
NDO&BD&PN($V#&(&W#dCP#
?&)T'X4)#'@?E'3&%X"#Z'1*%#/3042"Z'4#'4/0"#'D!F'
R"5$-"'$2/4'/0"'D!F'34#/'42'/0"'6#42/'46'/0"'-4214&"'/4'
-0%#T"'/0"'R"5$-"7
=422"-/'X4)#'$?4R'/4'/0"'-%+&"'"^/"2R$2T'6#4*'/0"'
-4214&"'/4'-0%#T"'/0"'$?4R7
&NDO&BD&PN()V#&BN#&(!WCD&"D!$P#
A4'1"&"-/'%'R$66"#"2/'%)R$4'14)#-"Z'/4)-0'/0"'*)1$-'
24/"1'+)//42'%/'/0"'+4//4*'46'/0"'1-#""27'A0"2Z'-0441"'
%2'%)R$4'14)#-"'6#4*'/0"'&$1/7
5/& O9..&+;&Bd%?/
''!"&"-/'/0$1'%)R$4'14)#-"'/4'&$1/"2'/4'/0"'%)R$4'6#4*'
%'#"*4/"'Aj7'(4/"W'A0"'-4214&"'*)1/'+"'-42_
2"-/"R'/4'/0"'#"*4/"'Aj'U1""'JC.'AC'D!<'AJ<'
<(A<9A8:(@<(A'@C,<'42'3%T"'BKV7
3/& X-7?+>9.&Bd/
''!"&"-/'/0$1'%)R$4'14)#-"'/4'&$1/"2'/4'/0"'%)R$4'6#4*'
/0"'3"#142%&'M\d',$T$/%&'Aj7'(4/"W'A0"'-4214&"'
*)1/'0%5"'%'M\d',$T$/%&'Aj'64#'/0$1'43/$42'/4'6)2-_
/$42'U1""'3%T"'MMV7
Y/& 8X+,/
''!"&"-/'/0$1'%)R$4'14)#-"'/4'&$1/"2'/4'X4)#'$?4R'
U1""'JC.'AC'D!<'8(':?C,'.:AJ'AJ<'!CD(,'
!H!A<@'%/'/0"'&"6/V7
]/& 0'&$9,8+/
''A0"'-4214&"'*%X'0%5"'%'+)$&/_$2'G@'#%R$47'!"&"-/'
/0$1'%)R$4'14)#-"'/4')1"'/0"'G@'#%R$4'/)2"#7

3c
&NDO&BD&!"#&BN#&C)B#$)#B&U$DO"#$
(4/"W'A4')1"'/0"'+#4S1"#Z'X4)'*)1/'0%5"'%--"11'/4'%'
S$#"&"11'2"/S4#Q'$2-&)R$2T'%2'cPB7MM+[2'#4)/"#'S$/0'
!!:,'+#4%R-%1/'"2%+&"R'U0$RR"2'2"/S4#Q1'%#"'24/'
1)334#/"RV7
A4'43"2'/0"'+#4S1"#Z'/4)-0'/0"'T&4+"'+)//42'2"%#'/0"'
&4S"#'&"6/'-4#2"#'46'/0"'1-#""27'A0"2Z'1"&"-/'%'S"+1$/"7
A4'#"/)#2'/4'/0"'3#"5$4)1'S"+'3%T"Z'/4)-0'/0"'F#4S1"#'
F%-Q'+)//427'A4'"^$/'/0"'+#4S1"#Z'/4)-0'/0"'9"/)#2'
+)//427
A4')1"'/0"'Q"X+4%#RZ'1""'JC.'AC'D!<'AJ<'ACD=J'
!=9<<('42'3%T"'ML7
A4'"2/"#'%'R$66"#"2/'S"+'%RR#"11'$2'/0"'D9>'+%#Z'6$#1/'
1&$R"'X4)#'6$2T"#'R4S2'/0"'1-#""2'/4'5$"S'/0"'D9>'+%#Z'
$6'2"-"11%#X7'A0"2Z'/4)-0'/0"'D9>'+%#Z')1"'/0"'Q"X_
+4%#R'/4'"2/"#'/0"'%RR#"11Z'%2R'/4)-0'/0"';4'+)//42'42'
/0"'Q"X+4%#R7
(4/"W'.0$&"'X4)'%#"')1$2T'/0"'+#4S1"#Z'/0"'#"1$1/%2-"Z'
6%2Z'%2R'54&)*"'+)//421'S$&&'1/$&&'6)2-/$42Z'+)/'/0"'S4#Q_
4)/'+)//421'S$&&'24/'6)2-/$427
)+=-Z&C;&F+G&H9I-&JG-?=8+>?&9;=-7&;+..+:8>M&=H-?-&
8>?=7G@=8+>?K&M+&=+&?GLL+7=/808=/@+<&;+7&9??8?=9>@-/

Y6
0PP&C)0D$'(BCD)
A0$1'"a)$3*"2/'0%1'+""2'/"1/"R'%2R'64)2R'/4'-4*3&X'S$/0'/0"'&$*$/1'64#'%'=&%11'F'R$T$/%&'R"5$-"Z'3)#1)%2/'/4'3%#/'
MK='46'/0"'G=='9)&"17'A0"1"'&$*$/1'%#"'R"1$T2"R'/4'3#45$R"'#"%142%+&"'3#4/"-/$42'%T%$21/'0%#*6)&'$2/"#6"#"2-"'
$2'%'#"1$R"2/$%&'$21/%&&%/$427'A0$1'"a)$3*"2/'T"2"#%/"1Z')1"1Z'%2R'-%2'#%R$%/"'#%R$4'6#"a)"2-X'"2"#TX'%2RZ'$6'24/'
$21/%&&"R'%2R')1"R'$2'%--4#R%2-"'S$/0'/0"'$21/#)-/$421Z'*%X'-%)1"'0%#*6)&'$2/"#6"#"2-"'/4'#%R$4'-4**)2$-%/$4217'
J4S"5"#Z'/0"#"'$1'24'T)%#%2/""'/0%/'$2/"#6"#"2-"'S$&&'24/'4--)#'$2'%'3%#/$-)&%#'$21/%&&%/$427':6'/0$1'"a)$3*"2/'R4"1'
-%)1"'0%#*6)&'$2/"#6"#"2-"'/4'#%R$4'4#'/"&"5$1$42'#"-"3/$42Z'S0$-0'-%2'+"'R"/"#*$2"R'+X'/)#2$2T'/0"'"a)$3*"2/'466'
%2R'42Z'/#X'/4'-4##"-/'/0"'$2/"#6"#"2-"'+X'42"'4#'*4#"'46'/0"'64&&4S$2T'*"%1)#"1W'
g' 9"4#$"2/'4#'#"&4-%/"'/0"'#"-"$5$2T'%2/"22%7
g' :2-#"%1"'/0"'1"3%#%/$42'+"/S""2'/0"'"a)$3*"2/'%2R'/0"'#"-"$5"#7
g' =422"-/'/0"'"a)$3*"2/'$2/4'%2'4)/&"/'42'%'-$#-)$/'R$66"#"2/'6#4*'/0%/'/4'S0$-0'/0"'#"-"$5"#'$1'-422"-/"R7'
g' =421)&/'/0"'R"%&"#'4#'%2'"^3"#$"2-"R'#%R$4[Aj'/"-02$-$%2'64#'0"&37'
0PP&P(!BCD)Z&B+&9??G7-&@+>=8>G-,&@+<L.89>@-K&G?-&+>.F&?H8-.,-,&8>=-7;9@-&@9Q.-?&:H->&@+>>-@=8>M&=+&
@+<LG=-7&+7&L-78LH-79.&,-I8@-?/&PH9>M-?&+7&<+,8;8@9=8+>?&>+=&-\L7-??.F&9LL7+I-,&QF&=H-&L97=F&7-?L+>S
?8Q.-&;+7&@+<L.89>@-&@+G.,&I+8,&=H-&G?-7%?&9G=H+78=F&=+&+L-79=-&=H8?&-JG8L<->=/
C'XD$B()BZ&B+&?9=8?;F&-\L+?G7-&@+<L.89>@-&7-JG87-<->=?K&=H-&9>=->>9&9>,&=79>?<8==-7&8>&=H-&@+>?+.-&
<G?=&Q-&9=&.-9?=&2&8>/&^36&@<`&;7+<&9..&L-7?+>?&9>,&<G?=&>+=&Q-&>-97&+7&@+>>-@=-,&=+&9>F&+=H-7&9>=->>9&+7&
=79>?<8==-7/
)+=-Z&BH-&@+>?+.-&@+>=98>?&0PP&CWZ&D'PY6]__3/

Y5
:213"-/'%2R'/$T0/"2'%&&'3%#/1'46'/0"'"^"#-$1"'+$Q"'#"T)_
&%#&X7'9"3&%-"'%2X'S4#2'3%#/1'$**"R$%/"&X7'
A4'-&"%2'/0"'"^"#-$1"'+$Q"Z')1"'%'R%*3'-&4/0'%2R'%'
1*%&&'%*4)2/'46'*$&R'14%37'C'XD$B()BZ&B+&9I+8,&
,9<9M-&=+&=H-&@+>?+.-K&R--L&.8JG8,?&9:9F&;7+<&
=H-&@+>?+.-&9>,&R--L&=H-&@+>?+.-&+G=&+;&,87-@=&
?G>.8MH=/
PD)"D*#&B$D!U*#"NDDBC)V
:6'/0"'-4214&"'R4"1'24/'R$13&%X'X4)#'0"%#/'#%/"'S0"2'
X4)'04&R'/0"'0%2RT#$3'0"%#/'#%/"'*42$/4#Z'4#'$6'/0"'R$1_
3&%X"R'0"%#/'#%/"'%33"%#1'/4'+"'/44'0$T0'4#'/44'&4SZ'1""'
1/"3'K'42'3%T"'Mc7
'(C)B#)()P#&()W&B$D!U*#"NDDBC)V&

Y3
#1#$PC"#&V!CW#*C)#"
A0"1"'T)$R"&$2"1'S$&&'0"&3'X4)'/4'3&%2'X4)#'"^"#-$1"'
3#4T#%*7'G4#'R"/%$&"R'"^"#-$1"'$264#*%/$42Z'4+/%$2'%'
#"3)/%+&"'+44Q'4#'-421)&/'X4)#'30X1$-$%27'9"*"*+"#Z'
3#43"#'2)/#$/$42'%2R'%R"a)%/"'#"1/'%#"'"11"2/$%&'64#'
1)--"116)&'#"1)&/17'
#1#$PC"#&C)B#)"CBe
.0"/0"#'X4)#'T4%&'$1'/4'+)#2'6%/'4#'/4'1/#"2T/0"2'X4)#'
-%#R$45%1-)&%#'1X1/"*Z'"^"#-$1$2T'%/'/0"'3#43"#'$2/"2_
1$/X'$1'/0"'Q"X'/4'%-0$"5$2T'#"1)&/17'H4)'-%2')1"'X4)#'
0"%#/'#%/"'%1'%'T)$R"'/4'6$2R'/0"'3#43"#'$2/"21$/X'&"5"&7'
A0"'-0%#/'+"&4S'104S1'#"-4**"2R"R'0"%#/'#%/"1'64#'
6%/'+)#2$2T'%2R'%"#4+$-'"^"#-$1"7
A4'6$2R'/0"'3#43"#'$2/"21$/X'&"5"&Z'6$2R'X4)#'%T"'%/'/0"'
+4//4*'46'/0"'-0%#/'U%T"1'%#"'#4)2R"R'466'/4'/0"'2"%#_
"1/'/"2'X"%#1V7'A0"'/0#""'2)*+"#1'&$1/"R'%+45"'X4)#'
%T"'R"6$2"'X4)#'h/#%$2$2T'Y42"7i'A0"'&4S"1/'2)*+"#'$1'
/0"'0"%#/'#%/"'64#'6%/'+)#2$2TZ'/0"'*$RR&"'2)*+"#'$1'/0"'
0"%#/'#%/"'64#'*%^$*)*'6%/'+)#2$2TZ'%2R'/0"'0$T0"1/'
2)*+"#'$1'/0"'0"%#/'#%/"'64#'%"#4+$-'"^"#-$1"7
UG7>8>M&09=nA4'+)#2'6%/'"66"-/$5"&XZ'X4)'*)1/'"^"#_
-$1"'%/'%'&4S'$2/"21$/X'&"5"&'64#'%'1)1/%$2"R'3"#$4R'46'
/$*"7',)#$2T'/0"'6$#1/'6"S'*$2)/"1'46'"^"#-$1"Z'X4)#'
+4RX')1"1'-%#+40XR#%/"'-%&4#$"1'64#'"2"#TX7'C2&X'%6/"#'
/0"'6$#1/'6"S'*$2)/"1'46'"^"#-$1"'R4"1'X4)#'+4RX'+"T$2'
/4')1"'1/4#"R'6%/'-%&4#$"1'64#'"2"#TX7':6'X4)#'T4%&'$1'/4'
+)#2'6%/Z'%R`)1/'/0"'$2/"21$/X'46'X4)#'"^"#-$1"')2/$&'X4)#'
0"%#/'#%/"'$1'2"%#'/0"'&4S"1/'2)*+"#'$2'X4)#'/#%$2$2T'
Y42"7'G4#'*%^$*)*'6%/'+)#2$2TZ'"^"#-$1"'S$/0'X4)#'
0"%#/'#%/"'2"%#'/0"'*$RR&"'2)*+"#'$2'X4)#'/#%$2$2T'
Y42"7
(-7+Q8@&#\-7@8?-n:6'X4)#'T4%&'$1'/4'1/#"2T/0"2'X4)#'
-%#R$45%1-)&%#'1X1/"*Z'X4)'*)1/'3"#64#*'%"#4+$-'
"^"#-$1"Z'S0$-0'$1'%-/$5$/X'/0%/'#"a)$#"1'&%#T"'%*4)2/1'
46'4^XT"2'64#'3#4&42T"R'3"#$4R1'46'/$*"7'G4#'%"#4+$-'
"^"#-$1"Z'%R`)1/'/0"'$2/"21$/X'46'X4)#'"^"#-$1"')2/$&'X4)#'
0"%#/'#%/"'$1'2"%#'/0"'0$T0"1/'2)*+"#'$2'X4)#'/#%$2$2T'
Y42"7'
OD$TD!B&V!CW#*C)#"
O97<8>M&!Ln!/%#/'S$/0'K'/4'MP'*$2)/"1'46'1/#"/-0_
$2T'%2R'&$T0/'"^"#-$1"7'8'S%#*_)3'$2-#"%1"1'X4)#'+4RX'
/"*3"#%/)#"Z'0"%#/'#%/"Z'%2R'-$#-)&%/$42'$2'3#"3%#%/$42'
64#'"^"#-$1"7'
B798>8>M&j+>-&#\-7@8?-n<^"#-$1"'64#'BP'/4'EP'*$2_
)/"1'S$/0'X4)#'0"%#/'#%/"'$2'X4)#'/#%$2$2T'Y42"7'U,)#$2T'
/0"'6$#1/'6"S'S""Q1'46'X4)#'"^"#-$1"'3#4T#%*Z'R4'24/'
Q""3'X4)#'0"%#/'#%/"'$2'X4)#'/#%$2$2T'Y42"'64#'&42T"#'
/0%2'BP'*$2)/"17V'F#"%/0"'#"T)&%#&X'%2R'R""3&X'%1'X4)'
"^"#-$1"'l'2"5"#'04&R'X4)#'+#"%/07'
P++.8>M&W+:>nG$2$10'S$/0'K'/4'MP'*$2)/"1'46'1/#"/-0_
$2T7'!/#"/-0$2T'$2-#"%1"1'/0"'6&"^$+$&$/X'46'X4)#'*)1-&"1'
%2R'0"&31'/4'3#"5"2/'341/_"^"#-$1"'3#4+&"*17
#1#$PC"#&0$#A!#)Pe
A4'*%$2/%$2'4#'$*3#45"'X4)#'-42R$/$42Z'-4*3&"/"'/0#""'
S4#Q4)/1'"%-0'S""QZ'S$/0'%/'&"%1/'42"'R%X'46'#"1/'
+"/S""2'S4#Q4)/17'86/"#'%'6"S'*42/01'46'#"T)&%#'"^"#_
-$1"Z'X4)'*%X'-4*3&"/"')3'/4'6$5"'S4#Q4)/1'"%-0'S""QZ'
$6'R"1$#"R7'9"*"*+"#Z'/0"'Q"X'/4'1)--"11'$1'/4'*%Q"'
"^"#-$1"'%'#"T)&%#'%2R'"2`4X%+&"'3%#/'46'X4)#'"5"#XR%X'
&$6"7
&&&&O($)C)VZ&U-;+7-&Q-M8>>8>M&=H8?&
+7&9>F&-\-7@8?-&L7+M79<K&@+>?G.=&F+G7&LHF?8S
@89>/&BH8?&8?&-?L-@89..F&8<L+7=9>=&;+7&L-7?+>?&
+I-7&9M-&Y4&+7&L-7?+>?&:8=H&L7-S-\8?=8>M&
H-9.=H&L7+Q.-<?/
BH-&H-97=&79=-&<+>8=+7&8?&>+=&9&<-,8@9.&,-I8@-/&
d978+G?&;9@=+7?&<9F&9;;-@=&=H-&9@@G79@F&+;&
H-97=&79=-&7-9,8>M?/&BH-&H-97=&79=-&<+>8=+7&8?&
8>=->,-,&+>.F&9?&9>&-\-7@8?-&98,&8>&,-=-7<8>S
8>M&H-97=&79=-&=7->,?&8>&M->-79./

YY
'' M' M' G#%*"
' B' M' G#42/'G#%*"'=45"#
' E' M' D3#$T0/
' I' M' =4214&"
' K' M' !"%/'9%$&
' L' M' G#42/'8--"114#X'A#%X
' \' M' >"6/'!0$"&R
' c' M' 9$T0/'!0$"&R
' f' M' !"%/
' MP' M' !"%/'J%2R&"
' MM' B' >%#T"';#$3':21"#/
' MB' M' =4214&"'F%-Q
' ME' M' G&XS0""&[@"-0%2$1*
' MI' M' 9"%#'G#%*"'=45"#
' MK' M' ,#$5"'F"&/
' ML' M' =42/#4&'F4%#R
' M\' M' F4//4*'!0$"&R
' Mc' B' >"5"&$2T'G44/
' Mf' B' =%##$%T"'F)10$2T
' BP' M' Aj'=%+&"
' BM' M' ?4S"#'9"-"3/%-&"
' BB' M' >"6/'?"R%&[!/#%3
' BE' M' 9$T0/'?"R%&[!/#%3
' BI' M' A43'!0$"&R
' BK' B' =#%2Q'=%3
' BL' B' bc'^'M'E[cd'!-#"S
' B\' M' >"6/'=#%2Q'8#*
' Bc' M' 9$T0/'=#%2Q'8#*
' Bf' M' F4//4*'F#%-Q"/
' EP' M' ?)&&"X
' EM' M' ?4S"#'=4#R
' EB' B' =#%2Q'8#*'!-#"S
' EE' B' .0""&
' EI' B' G#%*"'G44/
' EK' M' G$&/"#
' EL' M' !"%/'=%##$%T"
' E\' I' =42/%-/
' Ec' B' !*%&&';#$3':21"#/
' Ef' B' J%2RT#$3
' IP' B' @%T2"/
' IM' I' K[MLd'^'B'M[Bd'!-#"S
' IB' I' bc'^'M[Bd'!-#"S
' IE' ML' bc_EB'^'M[Bd'!-#"S
' II' M' ;#4)2R'.$#"
' IK' M' >"6/'=#%2Q',$1-
' IL' B' J%2RT#$3'=45"#
' I\' MP' M[Id'^'E[cd'!-#"S
' Ic' K' E[cd'^'Bd'!-#"S
' If' M' =42/#4&'F4%#R'F#%-Q"/
' KP' M' >4S"#'.$#"'J%#2"11
' KM' c' !/%2R466
' KB' M' =%##$%T"'=45"#
' KE' M' F%-Q#"1/'=45"#
' KI' B' J%2RT#$3'=%3
' KK' B' 9%$&'=%3
' KL' I' M[Id'^'B'M[Id'!-#"S
' K\' B' F)//42'?%R
' Kc' I' K[MLd'!/%#'.%10"#
' Kf' M' 9"%#'8--"114#X'A#%X
' LP' B' J%2R&"'!3#$2T
' LM' M' G#42/'!0$"&R
' LB' M' F%-Q#"1/
' LE' c' K[MLd'^'M'M[Bd'!-#"S
' LI' M' !"214#[.$#"
' LK' B' bL'()/
' LL' K' E[cd'^'E[Id'!-#"S
' L\' M' bc'()/
' Lc' M' bc'^'E[Id'F4&/
' Lf' M' !"214#'F#%-Q"/
' \P' ML' bI'!-#"S
' \M' c' 94&&"#
' \B' c' 94&&"#'F)10$2T
' \E' B' F4//4*'F#%-Q"/'!3%-"#
' \I' B' bL'^'M[Bd'!-#"S
' \K' M' :2&"/'F#%-Q"/
' \L' M' 8R`)1/*"2/'F#%-Q"/
' \\' B' E[cd'^'B'M[Id'F4&/
' \c' M' ?4S"#'!S$/-0
' \f' \' E[cd'o%*'()/
' cP' B' M[Id'^'Md'!-#"S
' cM' MB' bL'^'M[cd'!-#"S
' cB' f' bc'^'M[Bd'G$2"'?4$2/'!-#"S
' cE' M' @"R$%'@4R)&"
' cI' M' bc'^'M'E[Id'!-#"S
' cK' M' @%$2'.$#"'J%#2"11
' cL' c' bc'!/%#'.%10"#
' c\' MP' bc'^'K[cd'!-#"S
' cc' I' bceEB'^'E[Id'!-#"S
' cf' L' M[Id'>4-Q2)/
' fP' L' M[Id'^'M[Bd'F4&/
' fM' I' K[MLd'^'M'M[Bd'!4-Q"/'!-#"S
' fB' c' E[cd'^'M'M[Id'F4&/
' fE' c' E[cd'()/
' fI' B' M[Id'.%10"#
' fK' B' M[Id'^'M[Bd'!-#"S
' fL' M' ?)&1"'.$#"'J%#2"11
' p' e' D1"#k1'@%2)%&
'T-F&)+/& A=F/& W-?@78L=8+> 'T-F&)+/& A=F/& W-?@78L=8+>
X($B&*C"B @4R"&'(47'G@<NcBKMP7P'9PcMB8
(4/"W'!3"-$6$-%/$421'%#"'1)+`"-/'/4'-0%2T"'S$/04)/'24/$-"7&G4#'$264#*%/$42'%+4)/'4#R"#$2T'#"3&%-"*"2/'3%#/1Z'1""'
/0"'+%-Q'-45"#'46'/0$1'*%2)%&7'pA0"1"'3%#/1'%#"'24/'$&&)1/#%/"R7

Y]
M
K
ME
MK
Mc
Mc
BB
BE
Bc
Bf
EP BK
EB
EK
KL
EI
cB
cL
cL
cL
\K
EM
KP
\c
BM
cB
cB
KL
EI
IP
IP
\E
EE
KK
cf
fP
fP
fM
fM
fM
fM
KK
\L
c\
c\
Ic
I\
I\
cK
\\
\f
LK
cB
Lf
LI
IB
IB
IB
\I
I
Ic
BP
IL
B\
EB
BK
\E
LL
LL
IK
\f
ML
KM
\P
\P
KM
cE
E
L
Kc
Kc
IE
IL
KI
KI
cP
cP
IM
IM
\P
\P
Lc
L\
II
cL
If
fL
#1X*DW#W&W$(OC)V&( @4R"&'(47'G@<NcBKMP7P'9PcMB8

Y4
c
BI
MB
cc
\
MI
BL
cI
I\
I\
I\
B
LM
cc
f
Kf
KE
KB
LB
fB
c\
c\
\M \B
\B
fB
LP Mf
Mf
LE
LP
fE
fE
MP
Ef
IE
IE c\
c\
E\
E\
EL
fI
fK
MM
Ec
K\
cM
M\
I\
BL
IE
IE
LE
LE
fI
fK
X*DW#W&W$(OC)V&U @4R"&'(47'G@<NcBKMP7P'9PcMB8

?%#/'(47'EBPfBf'9PcMB8' ?#$2/"R'$2'D!8'q'BPMB':=C(':?Z':2-7
:6'X4)'0%5"'a)"1/$421'%6/"#'#"%R$2T'/0$1'*%2)%&Z'4#'$6'3%#/1'%#"'R%*%T"R'4#'*$11$2TZ'3&"%1"'-42/%-/'=)1/4*"#'
=%#"'%/'42"'46'/0"'3042"'2)*+"#1'4#'%RR#"11"1'&$1/"R'+"&4S7'X.-9?-&>+=-&=H-&<+,-.&>G<Q-7K&?-789.&>G<Q-7K&
9>,&>9<-&+;&=H-&L7+,G@=&^?--&=H-&;7+>=&@+I-7&+;&=H8?&<9>G9.`&Q-;+7-&@+>=9@=8>M&PG?=+<-7&P97-/&C;&F+G&97-&
+7,-78>M&7-L.9@-<->=&L97=?K&L.-9?-&9.?+&>+=-&=H-&R-F&>G<Q-7&9>,&,-?@78L=8+>&+;&-9@H&L97=&^?--&=H-&X($B&
*C"B&9>,&=H-X*DW#W&W$(OC)V&>-97&=H-&->,&+;&=H8?&<9>G9.`/
C>&=H-&!>8=-,&"=9=-?&9>,&P9>9,9
=%&&W'M_cPP_BPM_BMPfZ'@427eG#$7'c'%7*7eK'37*7'@A
.#$/"W'
G#""@4/$42'G$/2"11
MKPP'!4)/0'MPPP'."1/
>4T%2Z'DA'cIEBM_fcME
D2$/"R'!/%/"1'
DG=?8,-&=H-&!>8=-,&"=9=-?&9>,&P9>9,9
=%&&W'PPM_cPP_KB\_KIM\'4#'PPM_IEK_\cL_EKBMZ'
@427eG#$7'L'%7*7eL'37*7'D!8'@4)2/%$2'A$*"
<*%$&W'$2/&-)1/4*"#-%#"r6#""*4/$426$/2"117-4*
NDO&BD&PD)B(PB&P!"BD'#$&P($#