Furuno Pp 505 Users Manual
PP-505 to the manual 5e5d1cbb-b10c-4c77-9fe6-118f1cddd6d5
2015-02-02
: Furuno Furuno-Pp-505-Users-Manual-428955 furuno-pp-505-users-manual-428955 furuno pdf
Open the PDF directly: View PDF
.
Page Count: 20
- PP-505 OME
- SAFETY INSTRUCTIONS
- FOREWORD
- TABLE OF CONTENTS
- 1. OPERATION
- 1.1 General
- 1.2 Panel
- 1.3 Turning on the power
- 2. REPLACEMENT OF THERMAL PAPER
- 3. INSTALLATION
- 3.1 Complete Set
- 3.2 General mounting considerations
- 3.3 Tabletop/bulkhead mount
- 3.4 Flush mount
- 3.5 Wiring
- 4. MAINTENANCE
- APPENDIX REPLACEMENT OF PRINTER ASSEMBLY/POWER BOARD

PRINTER
PP-505
(For FE-700)

i
SAFETY INSTRUCTIONS
WARNING
Do not open the cover of
the equipment.
This equipment uses high
voltage electricity which can
shock or burn.
Only qualified personnel
should work inside the
equipment.
Do not disassemble or modify the
equipment.
Fire, electrical shock or serious injury can
result.
Immediately turn off the power at the
ship's mains switchboard if water or
foreign object falls into the equipment
or the equipment is emitting smoke or
fire.
Continued use of the equipment can cause
fire, electrical shock or serious injury.
Do not place liquid-filled containers on
the top of the equipment.
Fire or electrical shock can result if a liquid
spills into the equipment.
Do not place heater near the equipment.
Heat can melt the power cord, which can
result in fire or electrical shock.
Do not operate the unit with wet hands.
Electrical shock can result.
Use the correct fuse.
Use of the wrong fuse can cause fire or
damage the equipment.
WARNING
ELECTRICAL SHOCK HAZARD
Only qualified personnel
should work inside the
equipment.
This equipment uses high
voltage electricity which can
shock or burn.
Turn off the power at the ship's mains
switchboard before beginning the
installation. Post a warning sign near
the switchboard to ensure that the
power will not be applied while the
equipment is being installed.
Serious injury can result if the power is
not turned off, or is applied while the
equipment is being installed.
CAUTION
Observe the following compass safe
distances to prevent interference to a
magnetic compass:
CAUTION
PP-505 1.1 m 0.8 m
standard
compass steering
compass
Safety Information for Operator Safety Information for Installer

ii
A warning label is attached to the
printer. Do not remove the label.
If the label is missing or damaged,
contact your dealer about replacement.
WARNING
To avoid electrical shock, do not
remove cover. No user-serviceable
parts inside.
Name: Warning Label (1)
Type: 86-003-1011
Code No.: 100-236-231
WARNING LABEL

iii
FOREWORD
A Word to the Owner of the PP-505
Congratulations on your choice of the FURUNO PP-505 Printer.
For over 50 years FURUNO Electric Company has enjoyed an enviable reputation for innovative
and dependable marine electronics equipment. This dedication to excellence is furthered by our
extensive global network of agents and dealers.
Your printer is designed and constructed to meet the rigorous demands of the marine
environment. However, no machine can perform its intended function unless installed, operated
and maintained properly. Please carefully read and follow the recommended procedures for
installation, operation and maintenance.
We would appreciate hearing from you, the end-user, about whether we are achieving our
purposes.
Thank you for considering and purchasing FURUNO equipment.
The PP-505 prints a depth graph or a log consisting of date, time, depth, draft, latitude,
longitude and heading.
You can choose which to print with the [MODE] key.
The main features are
•
Automatic operation; just turn on the power and the printer readies itself for printing.
•
Selectable printing interval.
•
LEDs show equipment status.

iv
TABLE OF CONTENTS
1. OPERATION.................................................................................................. 1
1.1 General..............................................................................................................................1
1.2 Panel .................................................................................................................................1
1.3 Turning on the Power.........................................................................................................2
2. REPLACEMENT OF THERMAL PAPER .................................................... 3
3. INSTALLATION ........................................................................................... 4
3.1 Complete Set.....................................................................................................................4
3.2 General Mounting Considerations......................................................................................4
3.3 Tabletop/Bulkhead Mount .................................................................................................5
3.4 Flush Mount .....................................................................................................................5
3.5 Wiring ................................................................................................................................6
4. MAINTENANCE .......................................................................................... 7
APPENDIX REPLACEMENT OF PRINTER ASSEMBLY/THERMAL HEAD AP-1
SPECIFICATIONS........................................................................................... SP-1
PACKING LIST
OUTLINE DRAWING
INTERCONNECTION DIAGRAM

1
1. OPERATION
1.1 General
Operation of the PP-505 is simple; just turn
on the power. The depth graph or the log,
whichever is selected for printing, is printed
out at the interval set.
Below are example printouts.
60m 80m 100m20m 40m
Marker
2003/12/01 13:05:00 038.6m/01.0m 35 20.02’N/135 45.15’E 15.1kt 008.0deg
2003/12/01 13:05:00 038.6m/01.0m 35 20.02’N/135 45.15’E 15.1kt 008.0deg
2003/12/01 13:05:00 038.6m/01.0m 35 20.02’N/135 45.15’E 15.1kt 008.0deg
2003/12/01 13:05:00 038.6m/01.0m 35 20.02’N/135 45.15’E 15.1kt 008.0deg
2003/12/01 13:05:00 038.6m/01.0m 35 20.02’N/135 45.15’E 15.1kt 008.0deg
M
Date Time
Depth,
Draft
Latitude
Longitude
Heading
Speed
Depth graph
Depth data log
2003/12/01 13:05:00 038.6m/01.0m 35 20.02’N/135 45.15’E 15.1kt 008.0deg
M
13:05:00
1.2 Panel
PRINTER
PP-505
POWER
ON
GRAPH
LOG
PAPER
MODE
INTERVAL
RANGE
FEED/MARK
Power Switch
Thermal Paper
Cover
GRAPH
MODE
INTERVAL
RANGE
FEED/MARK
LOG
PAPER
LED
Key
Indicators
There are three (red) LEDs on the front
panel which light or blink according to
equipment status.
! GRAPH
Lights while the depth graph is being
printed.
" LOG
Lights while the depth data log is being
printed.
# PAPER
Blinks when the paper has run out, and is
accompanied by the audible alarm. The
audible alarm sounds for five seconds; you
may silence it sooner by hitting any key.
OPERATION
2
Changing the mode
Press the [MODE] key to change the printing
mode from depth graph to log printing
alternately.
The printing interval setting is printed
whenever the [MODE] key is pressed.
Changing the printing interval
Press the [INTERVAL] key to choose printing
interval.
Depth graph: 9 s → 45 s → 90 s → 450 s
Log: 10 s → 30 s → 1 m → 10 m
The latest data of the printing interval is
printed.
When the printing interval is changed, the
printing interval setting is printed and marked
with an asterisk.
Note: You can skip over setting(s) by
pressing the key consecutively within
one second.
Changing the depth range
Press the [RANGE] key to change the depth
range.
When the depth range is changed, the depth
is printed and marked with an asterisk.
Range: 5 m → 10 m → 20 m → 40 m →
100 m → 200 m → 400 m→ 800 m
Note1: Depth range automatically changes
depending on the depth range on the
navigational echo sounder.
Note2: You can skip over setting(s) by
pressing the key consecutively within
one second.
Feeding the paper/Printing the marker
To feed the paper, press and hold down the
[FEED/MARK] key.
Press the [FEED/MARK] key momentarily to
print the marker.
1.3 Turning on the Power
Flip down the thermal paper cover and turn
on the [POWER] switch. The PP-505 then
carries out the diagnostic test. After the test
has been completed, the printer is ready to
print depth data.
Note: “Disconnect” is printed if data from the
navigation echo sounder is not being
received during printing or the
navigation echo sounder is displaying
the system menu.
To turn off the power, press the [POWER]
switch.

3
2. REPLACEMENT OF THERMAL
PAPER
When the thermal paper runs out, the PAPER
LED blinks, printing stops automatically and
the audible alarm sounds for five seconds.
With 1 m of paper remaining, a red paper end
mark appears on the paper. When the red
mark appears, replace the thermal paper as
shown in the procedure below.
REQUIRED THERMAL PAPER
Type: TP0340 (112 mm × 40 m)
Code No.: 000-801-765
(One roll supplied.)
1. Press the [FEED/MARK] key to draw out
the remaining thermal paper.
2. Pull the thermal paper cover forward and
take out the paper spool.
3. Curve the leading edge of the new roll
paper to ensure smooth feeding, and set
the paper spool to the new roll paper.
Red mark
Reel
Thermal paper cover
Tape
Adhesive
Adhesive may
remain on the paper
after tape is removed.
This may cause a
paper jam, so cut
paper to remove
adhesive.
4. Insert the paper into the paper insertion
slot just above the paper container and
press the [FEED/MARK] key to feed out
the paper.
5. Set the paper in the paper container.
Confirm that
paper is fed out
through the slot. Insertion slot
6. Press the [FEED/MARK] key to confirm
that the paper is properly aligned.
If the paper comes out with its edges
wrinkled, continue to press the
[FEED/MARK] key. Correct alignment will
be made automatically.
7. Close the thermal paper cover.
8. Press the [MODE] key to complete the
replacement of thermal paper. (The
PAPER LED goes off.)
Note: If the PP-505 receives data when there
is no paper it doesn’t print them out
after replacing the thermal paper.
Remedy for paper jam
If the paper is jammed cut it off at the front
panel and rewind it into the paper container.

4
3. INSTALLATION
3.1 Complete Set
Name Type Mass Qty Remark
Main Unit PP-505 3.1 kg
(with hanger) 1
Spare Parts SP08-01600 1
Installation
Materials CP16-00800 1
Accessories FP08-00500 1
Flush Mount Kit OP08-4 1 Option (004-511-330)
3.2 General Mounting
Considerations
This equipment can perform its intended
functions only if it is installed properly. Keep
in mind the following when selecting a
mounting location.
Water spray
The PP-505 is designed and constructed to
be able to withstand the humidity and
corrosive atmosphere common to the
pilothouse, but it is not designed to be used
outside, directly exposed to the environment.
Salt water spray will most assuredly cause
damage to the sensitive components inside.
Mechanical shock and vibration
The PP-505 is constructed to withstand minor
shocks and engine vibration, but excessive
and continued shock can shorten the life of
the precision printer mechanism. Shock may
also degrade the print quality due to uneven
contact between the printer head and the
thermal paper.
Heat accumulation
The PP-505 consumes very little power, so
there is no need for forced air ventilation.
However, it is recommended to provide at
least some space around the unit to allow for
circulation of cooling air.
The unit should be kept out of direct sunlight
because of heat that can build up inside the
cabinet. Excessive heat can darken the
thermal paper.
Onboard noise
To avoid mutual interference with other power
equipment, do not install this unit near a
power cable or equipment having a motor.
Compass safe distance
A magnetic compass will be affected if the
printer is placed too close to the compass.
Observe the following compass safe
distances to prevent deviation to the
compass.
Standard: 1.1 m
Steering: 0.8 m

3. INSTALLATION
5
3.3 Tabletop/Bulkhead
Mount
The main unit can be mounted on a desktop,
bulkhead, or in a panel. Make sure the
selected location is strong enough to support
the main unit against possible vibration and
shock. If necessary, appropriate
reinforcement measures should be made on
the mounting area.
Tabletop mount
1. Drill four pilot holes for the hanger.
2. Fix the hanger with the tapping screws
(5×20) supplied.
3. Place the unit in the hanger and tighten
knobs.
Knob bolt
Hanger washer
Hanger
Tapping screw
Flat washer
2.9 kg
268
107
141
480
0.2 kg
90
60
120
200
Bulkhead mount
When the unit is installed on the bulkhead, fix
the hanger as shown below.
3.4 Flush Mount
Flush mount panel kit is optionally supplied.
Flush mount kit OP08-4
(Code No.: 004-511-330)
Name Type Code No. Qty
Flush
mount
panel
22-008-0125 100-103-351 1
Tapping
screw
5X20 000-800-488 4
Nylon
washer
2.8X7X0.5 000-800-728 4
Pan head
screw
M3X8 000-861-495 4
Hex. bolt M8X16 000-862-145 2
Flat
washer
M5 000-864-128 4
Flat
washer
M8 000-864-130 2
Spring
washer
M8 000-864-262 2
Rosette
washer
M3 000-864-900 4
Flush
mount
angle
22-008-0126 100-103-361 2
Liner 22-008-0127 100-103-371 2

3. INSTALLATION
6
1. Referring to the illustration below, prepare
a cutout in the mounting area and drill four
pilot holes for the flush mount angles.
Refer to the outline drawing at end of manual.
2. Fix the liner and the flush mount angles to
the main unit.
3. Connect the cables at the rear of main
unit.
4. Fix the main unit to the panel cutout with
four tapping screws.
5. Fix the flush mount panel to the flush
mount angles with the screws and
washers supplied.
Tapping screws Pan head screw
Flat washer
Nylon washer
Rosette washer
Flush mount
panel
Flush mount angle
Flat
washer
Spring
washer
Hex. bolt
295
280 156
7
10
Liner
116
3.5 Wiring
Refer to the interconnection diagram at end
of manual for connection.

7
4. MAINTENANCE
Checking the power connector
Check for loosened or disconnected power
connector.
WARNING
Do not open the cover of
the equipment.
This equipment uses high
voltage electricity which
can shock or burn.
Only qualified personnel
should work inside the
equipment.
Do not disassemble or modify the
equipment.
Fire, electrical shock or serious injury
can result.
Diagnostic test
When turning on the power, if any fault is
detected, the appropriate LED lights.
GRAPH: ROM error
LOG: RAM1 error
PAPER: RAM2 error
If any LEDs light, contact your dealer.
Cleaning
Accumulated dust should be regularly
removed from both exterior surfaces and the
interior. The only recommended cleaning
material for exterior surfaces is a soft cloth.
For the interior, use a handheld vacuum. BE
SURE TO TURN OFF THE POWER
BEFORE CLEANING THE INSIDE OF THE
UNIT. Do not use chemical-based cleaners to
clean the display unit-they can remove paint
and markings.
Fuse Replacement
To protect the equipment from serious
damage, a 3A fuse is provided on the rear
cabinet of the main unit. The fuse protects
against overvoltage/reverse polarity of the
ship’s mains or internal fault of the equipment.
If the fuse has blown, first find out the cause
of the trouble before replacing it. A fuse rated
for more than 3 A should not be used, since it
may permanently damage the equipment.
Damage due to overfusing is not covered by
the warranty.
CAUTION
Use the correct fuse.
Use of the wrong fuse can cause fire
or damage the equipment.

A
P-1
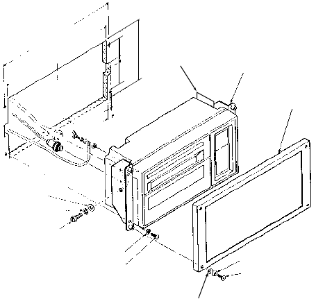
APPENDIX REPLACEMENT OF
PRINTER ASSEMBLY/TERMAL HEAD
1. Loosen the four M4 × 15 screws fixing the
rear cabinet to the main unit assembly.
2. Disconnect the connectors connected to
the rear cabinet to detach the rear
cabinet.
Rear
Cabinet
Main Unit Assembly
P1
NH
4P P5
NH
6P M4 × 15
screw
(4 pcs.)
3. Separate the panel assembly from the
main unit assembly by removing the
recording paper from the paper container.
Main Unit
Assembly
Printer
Assembly
PANEL CPU Board
Do not
Disconnect.
Panel
Assembly
P4
PH
12P P8
PH
10P
P10
PH12P
M4 × 8
screw
(4 pcs.)
4. Move the carriage to position
A
by
rotating the carriage shaft by fingers, as
shown below, where the thermal head
assembly can be replaced easily.
Carriage Shaft Carriage
A
5. Remove the flexible cable support from
the carriage by lifting it toward direction
B
as in the figure below.
Flexible Cable Support
Carriage

A
P-2
6. Pull out the connector end of the flexible
cable from the connector. Take care not to
damage the flexible cable.
End of Flexible
Cable (Connector) 180°
7. Remove the thermal head from the head
holder with a screwdriver as shown below,
and then take the thermal head assembly
out of the printer assembly.
Thermal Head
Head Holder
Screwdriver
8. As shown below, pass the flexible cable
(connector side) of a new thermal head
assembly beneath the guide pins.
End of Flexible
Cable
Guide Pin
9. Hold the flexible cable end with a
tweezers and pull it out until it is
positioned as shown below.
Thermal
Head
Head Holder
90°
10. Turn the head by 90° so that it is parallel
with the head holder as shown below.
While pulling the head holder toward you,
insert the head into the head holder.
Head Holder
Flexible Cable
Head
Hole
Projection
Carriage

A
P-3
11. Fix the flexible cable to the carriage with
the flexible cable support, inserting the
projection on the carriage into the hole of
the cable.
Flexible Cable Support
Carriage
Projection
12. Fold back the end of the cable and insert
it into the connector.
End of Flexible
Cable
180°
FURUNO
SP - 1
E5540S03-1
SPECIFICATIONS OF PRINTER
PP-505
1 DATA FORMAT
1.1 Receiving System RS-232C
1.2 Speed 9600 bps
1.3 Data Length 8 bits
1.4 Parity Non
1.5 Stop Bit 1 bit
2 PRINTER SECTION
2.1 Printing System 9 dots serial thermal head printing system
2.2 Character Alphanumeric
2.3 Dot Pitch 0.28 mm/ dot
2.4 Number of Dot in Line 300 dots
2.5 Number of Characters Max. 80 characters/ line
2.6 Print Speed 31 characters/second
2.7 Roll Paper TP-0340, 112 mm (W) x 40 m (L)
3 RATED VOLTAGE/CURRENT
12-32 VDC, 0.72-0.28 A
4 ENVIRONMENTAL CONDITION
4.1 Ambient Temperature -15°C to +55°C
4.2 Relative Humidity 95% at 40°C
4.3 Waterproofing IPX0
4.4 Vibration IEC 60945
5 COATING COLOR
Chassis: 2.5GY5/1.5, Panel: N3.0


Takahashi T.
Takahashi T.

Takahashi T.
Takahashi T.

243
A
1
B
C
DRAWN
CHECKED
APPROVED
DWG.No.
TITLE
NAME
名称
相互結線図
INTERCONNECTION DIAGRAM
PRINTER
08S0087
1
2
SHIP'S MAINS
船内電源
12-32 VDC
5
4
3
2
1
6
7
RXD (H)
TXD (H)
TXD (C)
RXD (C)
0V
+12V
N.C.
FM14-2P
08S0157
4
6
5
EIA232-TD
EIA232-RD
GND
DISTRIBUTION BOX
分配箱
FE-702
TB1
FM14-7P
*2
*3
1. LOCAL SUPPLY.
NOTE
2. MAX 15m.
3. FITTED AT FACTORY.
C2366-C03-A 16-006-3022-0
プリンタ
PRINTER
FE-700
P
PP-505
CO-SPEVV-SD-C0.2x2P, φ13.5
*4
注記
2)最大15m。
3)工場にて取付済み。
1) 現地手配。
4. GROUNDING WITH CONNECTOR HOUSING.
4) コネクタケースでアース。
PP-505
*1
P
プリンタ
July, 23 2003
H. Maki
Takahashi T.
Takahashi T.