GE Power Electronics BLST-SPXXX Electronic Ballast for Fluorescent Lamp User Manual User s Manual
GE Power Electronics (Shanghai) Co., Ltd. Electronic Ballast for Fluorescent Lamp User s Manual
User Manual

Electronic Ballast For Electrodeless Fluorescent Lamp
1.Product code.
80W SP758-Y01A AJA-LINEAGE-WJY-QB7C
100W-120W SP759-Y01A AJA-LINEAGE-WJY-QB7C
2.Outside characteristic.
The outside picture of Electronic Ballast For Electrodeless Fluorescent Lamp as below,
there are three wires at input port, L line is blue,N line is gray, GND line is yellow and green.
There are two white wires at output port. The input wires connect to the power grid, and the
output wires connect to the Electrodeless Fluorescent Lamp.
Outside picture
Inside picture
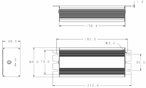
Size:

Size picture
3.Electrical characteristic.
1) Input Voltage 100V-277V
2)Input Rating Current
0.92/0.75/0.40/0.33A @100/120V/230V/277V--electrodeless lamp 80W
1.13/0.94/0.5/0.41A @/100/120V/230V/277V--electrodeless lamp 100W
1.36/1.13/0.59/0.49A @100/120V/230V/277V--electrodeless lamp 120W
3)Output Rating Current
0.63A (load,electrodeless lamp 80W)
0.65A (load,electrodeless lamp 100W)
0.68A (load,electrodeless lamp 120W)
4)Output Rating Voltage
134V (load,electrodeless lamp 80W)
180V (load,electrodeless lamp 100W)
185V (load,electrodeless lamp 120W)
5)Start Trigger Voltage
1500±100Vop (load,electrodeless lamp 80W)
1650±100Vop (load,electrodeless lamp 100W)
1690±100Vop (load,electrodeless lamp 120W)
6)Output Frequency
230K±30kHz(load,electrodeless lamp 80W)
230K±30kHz(load,electrodeless lamp 100W)
230K±30kHz(load,electrodeless lamp 120W)
7)Not load, removing lamp and load short protection
4.Ambient temperature.
Generally the ballast is set up in the lamps and lanterns to use, the ambient temperature of
ballast is -40--60℃ in
inin
in lamps and lanterns.
5. Those devices have been evaluated to comply with the requirements of FCC Part 18, UL935,
CAN/CSA C22.2 No.74-96, IEC61347-1, IEC61347-2-3, EN55015, EN61547, EN61000-3-2,
EN61000-3-3, GB19510.1-2004, GB19510.4-2005, GB17743-2007, GB17625.1-2003 and ROHS.
Warning: This product may cause interference to radio equipment and should not be installed
near maritime safety communications equipment or other critical navigation or communication
equipment operating between 0.45–30 MHz.