GTO Access Systems GTOFM200202 Gate Opener Control Box User Manual
GTO Access Systems, LLC Gate Opener Control Box
Users Manual

©2009 GTO, Inc.
rev- 11/16/09
R202INST
Installation Manual for the
This product meets and exceeds the requirements of UL 325, the standard which regulates gate opener safety,
as established and made effective March 1, 2000, by Underwriters Laboratories Inc.
WARNING!
This equipment is similar to other gate or door equipment and meets or exceeds
Underwriters Laboratory Standard 325 (UL 325). However, gate equipment has
hazards associated with its use and therefore by installing this product the installer
and user accept full responsibility for following and noting the installation and
safety instructions. Failure to follow installation and safety instructions can result
in hazards developing due to improper assembly. You agree to properly install this
product and that if you fail to do so GTO, Inc. shall in no event be liable for direct,
indirect, incidental, special or consequential damages or loss of profits whether
based in contract tort or any other legal theory during the course of the warranty
or at any time thereafter. The installer and/or user agree to assume responsibility
for all liability and use of this product releasing GTO, Inc. from any and all liability.
If you are not in agreement with this disclaimer or do not feel capable of properly
following all installation and safety instructions you may return this product for full
replacement value.
READ ALL INSTRUCTIONS CAREFULLY AND COMPLETELY before attempting to
install and use this automatic gate opener. This gate opener produces a high level
of force. Stay clear of the unit while it is operating and exercise caution at all times.
All automatic gate openers are intended for use on vehicular gates only.
(504BMFT("5&PSt'BYPS
GTO Technical Service (800) 543-1236 or (850) 575-4144
For 24 hour/day, 7 day/week Technical Service visit http://support.gtoinc.com/support/troubleshooter.aspx
For more information on Mighty Mule’s full line of Automatic Gate Openers and Access Controls visit our website at www.mightymule.com

VEHICULAR GATE OPENER CLASS CATEGORIES
Residential Vehicular Gate Opener-Class I: A vehicular gate opener (or system) intended for use in a
home of one-to-four single family dwelling, or a garage or parking area associated therewith.
Commercial/General Access Vehicular Gate Opener-Class II: A vehicular gate opener (or system)
intended for use in a commercial location or building such as a multifamily housing unit (five or more
single family units), hotel, garages, retail store, or other building servicing the general public.
Industrial/Limited Access Vehicular Gate Opener–Class III: A vehicular gate opener (or system)
intended for use in an industrial location or building such as a factory or loading dock area or other
locations not intended to service the general public.
The Mighty Mule® Gate Opener is intended for use with vehicular swing gates. The opener can be used in
Class I, Class II and Class III applications.
FOR YOUR RECORDS
Please record the product serial number (located on the rear of opener arm),
and the date and place of purchase in the spaces provided below. Refer to this
information when calling GTO for service or assistance with your automatic
gate opener.
Serial Number ____________________ Date of Purchase ____________________
Place of Purchase ____________________
Remember to keep all receipts for proof of purchase.
Converting Metric Units to English Equivalents
When You Know Multiply By To Find Symbol
centimeters 0.3937 inches in. (or ")
NFUFST GFFU GUPSh
kilograms 2.2046 pounds lb. (or #)
Converting English Units to Metric Equivalents
When You Know Multiply By To Find Symbol
inches 2.5400 centimeters cm
feet 0.3048 meters m
pounds 0.4535 kilograms kg
Converting Temperature
EFH$FMTJVT $Y EFH'BISFOIFJU '
EFH'BISFOIFJU 'Ø EFH$FMTJVT $
Conversion Chart
Gate Opener Class Categories ------------------------------------------------------------ inside cover
Units and Standards Conversion Chart ------------------------------------------------ inside cover
PLEASE READ THIS FIRST! ------------------------------------------------- page iii
Important Safety Instructions ---------------------------------------------- page 1
Disconnecting the Opener ------------------------------------------------------------- page 1
Important Safety Instructions for the Consumer ------------------------------- page 2
Secondary Means of Protection Against Entrapment ------------------------ page 5
Required Safety Precautions for Gates -------------------------------------------- page 6
Warning Signs and Labels ------------------------------------------------------------- page 7
Installation ------------------------------------------------------------------------ page 8
Parts List ------------------------------------------------------------------------------------- page 8
Tools and Items Needed for Installation ------------------------------------------- page 9
Technical Specifications ------------------------------------------------------------- page 10
Preparation of the Gate ---------------------------------------------------------------- page 11
Installation Overview for Pull-To-Open Gates ----------------------------------- page 11
Installation of the First Gate Opener ----------------------------------------------- page 13
Mounting the Opener -------------------------------------------------------------------- page 17
Installation of the Closed Position Stop ------------------------------------------- page 18
Mounting the Control Box -------------------------------------------------------------- page 20
Connecting the Battery ---------------------------------------------------------------- page 20
Connecting the Battery Wires to Control Board ------------------------------- page 21
Connecting Opener Power Cables ------------------------------------------------ page 22
Powering Options: Transformer or Solar -------------------------------- page 23
Solar Panel and Gate Activity Chart ------------------------------------------------ page 23
Connecting Solar Panel(s) ------------------------------------------------------------- page 24
Connecting the Transformer ---------------------------------------------------------- page 25
Setting the Closed Position Limit --------------------------------------------------- page 27
Control Board Settings ------------------------------------------------------ page 28
Stall Force and Auto-Close ------------------------------------------------------------ page 28
Setting Your Personal Transmitter Code ------------------------------- page 29
Push-To-Open Installation -------------------------------------------------- page 30
Setting the Open Position Limit ----------------------------------------------------- page 32
Connecting Additional Safety Devices --------------------------------- page 33
Control Board Connections ------------------------------------------------ page 34
Connecting Accessories ---------------------------------------------------- page 35
Visual and Audible Diagnostic Indicators ----------------------------- page 36
Warranty Service --------------------------------------------------------------- page 38
Accessory Catalog ------------------------------------------------------------ page 39
Table of Contents
KEEP THESE INSTRUCTIONS FOR FUTURE REFERENCE

PLEASE READ THIS FIRST!
iii
BEFORE YOU BEGIN TO INSTALL YOUR AUTOMATIC GATE OPENER:
watch the enclosed video and read these instructions carefully and completely
to become familiar with all parts and installation steps. The video is only designed
as an overview of the installation procedure. You must read the installation manual
for detailed instructions on gate opener safety and proper use of the gate opener.
Thank you for purchasing a Mighty Mule® 202 E-Z Gate Opener(50hTEPJUZPVSTFMGBVUPNBUJDHBUF
opener! When correctly installed and properly used, your Mighty Mule® E-Z Gate Opener will give you many
years of reliable service. Please read the following information and watch the enclosed video to ensure you have
the correct system for your particular needs. Furthermore, this manual and the video will enable you to properly
install your Mighty Mule® E-Z Gate Opener.
The Mighty Mule® 202 Gate Opener is designed for installation on pull-to-open dual gate leafs (gates that
open into the property). By purchasing an accessory bracket (FM148), the Mighty Mule® 202 Gate Opener
can accommodate push-to-open dual gate leafs (gates that open out from the property). The gates must not
exceed 12 feet and 300 pounds per leaf (please see Technical Specifications on page 10). The Mighty Mule®
E-Z Gate Opener can be used on vinyl, aluminum, chain link, farm tube, and wrought iron gates. Use on solid
gates is not recommended. Solid surface gates have a high resistance to the wind.
The Mighty Mule® E-Z Gate Opener accommodates extra transmitters, digital keypads, solar panels, push
buttons, automatic gate locks, and other access control products. These optional accessories (see the enclosed
Mighty Mule® Accessory Catalog) are available at most stores. Your store should be able to special order any
accessory not in stock. If your store cannot special order accessories, please call the GTO Sales Department
(800-543-GATE).
The Mighty Mule® E-Z Gate Opener features adjustable obstruction sensing. This safety feature makes
the gate stop and reverse direction within 2 seconds when it comes in contact with an obstruction. MIN is the
factory setting; meaning the gate will exert the minimum force on an obstruction before it stops and reverses
direction.
The Mighty Mule® E-Z Gate Opener also has an adjustable auto-close feature. After the gate reaches the
fully open position, it can be set to remain open up to 120 seconds before automatically closing. Pressing the
transmitter button at any time after the gate opens fully will cause it to close immediately. OFF is the factory
setting; meaning the gate will stay open until you press the transmitter (or keypad, etc.) again.
PLEASE NOTE—If your application requires any of the following:
Column Mounting;
Slide gates;
Swing gates longer than 12 feet or weighing more than 300 pounds;
Professional installation;
please call GTO at (800) 543-GATE [4283] or (850) 575-0176 for information about our GTO/PRO professional
line of gate openers and accessories. Our Sales Department will be glad to give you the name and phone
number of a GTO/PRO dealer near you.
®
E-Z GATE OPENERS
Use on solid (surface) gates is not recommended. Solid surface gates have a high
resistance to the wind. If the wind is strong enough, the opener will obstruct and
stop, blow fuses, or may damage the equipment.

IMPORTANT SAFETY INSTRUCTIONS
Mighty Mule 202
1
Because automatic gate openers produce high levels of force, consumers need to know the potential
hazards associated with improperly designed, installed, and maintained automated gate opener systems.
Keep in mind that the gate opener is just one component of the total gate operating system. Each
component must work in unison to provide the consumer with convenience, security, and safety.
This manual contains various safety precautions and warnings for the consumer. Because there are many
possible applications of the gate opener, the safety precautions and warnings contained in this manual
cannot be completely exhaustive in nature. They do, however, provide an overview of the safe design,
installation, and use of this product. CAREFULLY READ AND FOLLOW ALL SAFETY PRECAUTIONS,
WARNINGS, AND INSTALLATION INSTRUCTIONS TO ENSURE THE SAFE SYSTEM DESIGN,
INSTALLATION, AND USE OF THIS PRODUCT.
Precautions and warnings in this manual are identified with this warning symbol. The symbol
identifies conditions that can result in damage to the opener or its components, serious injury, or death.
Because GTO automatic gate openers are only part of the total gate operating system, it is the
responsibility of the consumer to ensure that the total system is safe for its intended use.
Disconnecting the Opener
1. Turn opener power switch OFF.
2. Remove hairpin clip, clevis pin, and
bushing from the front mounting point.
3. Remove the opener from the mount.
The gate can be opened and closed
manually when the opener is disconnected.
NOTE: Substitute a Pin Lock (FM133) for the clevis pin on
the front mount only of the gate opener to prevent unauthorized
removal of the opener from the gate
(see Accessory Catalog).
To Manually Open and Close the
Gate, Follow the Procedure Below:
CAUTION: The gate will move freely and uncontrolled when the gate opener
is removed from the gate. ONLY disconnect the opener when the opener power
switch is OFF and the gate is NOT moving.
Clevis
Pin
Hairpin Clip
Gate Bracket
Front Mount
Bushing
CAUTION: Because the Mighty Mule gate opener
is battery powered, disconnect the opener ONLY when the
power switch on the opener is turned OFF. Unplugging the
transformer does not turn power to the opener OFF.
IMPORTANT: NEVER allow opener arm to hang
by the front mount - it will break from the arm weight.

IMPORTANT SAFETY INSTRUCTIONS
2
Mighty Mule 202
For The Consumer
WARNING: To reduce the risk of injury or death:
1. READ AND FOLLOW ALL INSTRUCTIONS. Failure to meet the requirements set forth in the instruction
manual could cause severe injury and/or death, for which the manufacturer cannot be held responsible.
2. When designing a system that will be entered from a highway or main thoroughfare, make sure the
system is placed far enough from the road to prevent traffic congestion.
3. The gate must be installed in a location that provides adequate clearance between it and adjacent
structures when opening and closing to reduce the risk of entrapment. Swinging gates must not open
into public access areas.
4. The gate and gate opener installation must comply with any applicable local codes.
I. Before Installation
1. Verify this opener is proper for the type and size of gate, its frequency of use and the proper class rating.
2. Make sure the gate has been properly installed and swings freely in both directions. Repair or replace
all worn or damaged gate hardware prior to installation. A freely moving gate will require less force to
operate and will enhance the performance of the opener and safety devices used with the system.
3. Review the operation of the system to become familiar with its safety features. Understand how to
disconnect the opener for manual gate operation (see page 1).
4. This gate opener is intended for vehicular gates ONLY. A separate entrance or gate must be installed
for pedestrian use (see page 6).
5. Always keep people and objects away from the gate and its area of travel. NO ONE SHOULD CROSS
THE PATH OF A MOVING GATE.
6. Pay close attention to the diagram below and be aware of these areas at all times.
5ObSW\bVS
=^S\>]aWbW]\
5ObSW\bVS
=^S\>]aWbW]\
ZONE 2
ZONE 3
ZONE 4
ZONE 5
2`WdSeOg
ZONE 1
ZONE 2
ZONE 4
ZONE 5
ZONE 3
Entrapment Zones for a
Pull-To-Open Application

IMPORTANT SAFETY INSTRUCTIONS
Mighty Mule 202
3
Entrapment Zones for a proper Pull-To-Open installation:
Zone 1 – leading edge of the gate and the fence post.
Zone 2 – between the gate and the gate post.
Zone 3 – the path of the gate.
Zone 4 – the space between the gate in the open position and any object such as a wall, fence, tree, etc.
Zone 5 – pinch points between the opener and gate.
II. During Installation
1. Install the gate opener on the inside of the property and fence line. DO NOT install an opener on the
outside of the gate where the public has access to it.
2. Be careful with moving parts and avoid close proximity to areas where fingers or hands could be pinched.
3. Devices such as contact sensors (safety edges) and non contact sensors (photo beams) provide
additional protection against entrapment.
4. If push buttons or key switches are installed, they should be within sight of the gate, yet located at least
10 feet from any moving part of the gate (see diagram below). Never install any control device where a
user will be tempted to reach through the gate to activate the gate opener.
5. Do not activate your gate opener unless you can see it and can determine that its area of travel is clear of
people, pets, or other obstructions. Watch the gate through its entire movement.
6. Secure outdoor or easily accessed gate opener controls in order to prohibit unauthorized use of the gate.
Moving Gate
Area
Moving Gate
Area
2`WdSeOg
NEVER INSTALL
any control device
within gray area
Pull-To-Open Application

IMPORTANT SAFETY INSTRUCTIONS
4
Mighty Mule 202
III. After Installation
1. Attach the warning signs (included) to each side of the gate to alert the public of auto matic gate
operation. It is your responsibility to post warning signs on both sides of your gate. If any of these signs
or warning decals become damaged, illegible or missing, replace them immediately. Contact GTO for
free replacements.
2. The gate is automatic and could move at any time, posing a serious risk of entrapment. No one should
be in contact with an activated gate when it is moving or stationary.
3. Do not attempt to drive into the gate area while the gate is moving; wait until the gate comes to a
complete stop.
4. Do not attempt to "beat the gate" while the gate is closing. This is extremely dangerous.
5. Do not allow children or pets near your gate. Never let children operate or play with gate controls.
Keep the remote controls away from children and unauthorized users; store controls where children and
unauthorized users do not have access to them.
6. KEEP GATE AND GATE OPENER PROPERLY MAINTAINED. Always turn power to opener OFF before
performing any maintenance. Regularly grease the gate hinges. Clean the push-pull tube with a soft, dry
cloth and apply silicone spray to it at least once per month.
7. To operate this equipment safely, YOU must know how to disconnect the opener for manual gate
operation (see page 1). If you have read the instructions and still do not understand how to disconnect
the opener, contact the GTO Service Department.
8. Disconnect the opener ONLY when the power is TURNED OFF and the gate is NOT moving.
9. Make arrangements with local fire and law enforcement for emergency access.
10. Distribute and discuss copies of the IMPORTANT SAFETY INSTRUCTIONS section of this manual with
all persons authorized to use your gate.
11. IMPORTANT: Save these safety instructions. Make sure everyone who
is using or will be around the gate and gate opener are aware of the
dangers associated with automated gates. In the event you sell the
property with the gate opener or sell the gate opener, provide a copy
of these safety instructions to the new owner.
Should you lose or misplace this manual, a copy can be obtained by
downloading one from the Mighty Mule® web site (www.mightymule.
com), by contacting GTO, Inc., at 3121 Hartsfield Road, Tallahassee,
Florida 32303 or by calling 1-800-543-4283 and requesting a duplicate
copy. One will be provided to you free of charge.

IMPORTANT SAFETY INSTRUCTIONS
Mighty Mule 202
5
ENTRAPMENT ALARM (UL 325; 30A.1.1A)
The Mighty Mule® E-Z Gate Opener is designed to stop and reverse within 2 seconds when the
gate comes in contact with an obstruction. Additionally, these openers are equipped with an audio
entrapment alarm which will activate if the unit obstructs twice while opening or closing. This alarm
will sound for a period of 5 minutes, or until the opener receives an intended signal from a hard wired
entry/exit source (e.g. push button control or keypad) and the gate returns to a fully open or fully closed
position. Turning the power switch on the control box OFF and back ON will also deactivate the alarm.
Wireless controls such as transmitters and wireless keypads will not deactivate the alarm.
Secondary Means of Protection Against
Entrapment
As specified by Gate Opener Safety Standard, UL 325 (30A.1.1), automatic gate openers shall have
an inherent entrapment sensing system, and shall have provisions for, or be supplied with, at least one
independent secondary means to protect against entrapment. The Mighty Mule® utilizes Type A, an
inherent (i.e., built-in) entrapment sensing system as the primary type of entrapment protection. Also, the
Mighty Mule® has provisions for the connection of Type B2 protection to be used as the secondary type
of entrapment protection, if desired.
1. For gate openers utilizing a contact sensor (e.g., safety edge sensor– Type B2) in accordance with UL
325 (51.8.4 [i]):
A. One or more contact sensors shall be located at the leading edge, bottom edge, and post edge,
both inside and outside of a vehicular swing gate system.
B. A hard wired contact sensor shall be located and its wiring arranged so that the communication
between the sensor and the gate opener is not subjected to mechanical damage.
C. A wireless contact sensor such as one that transmits radio frequency (RF) signals to the gate
opener for entrapment protection functions shall be located where the transmission of the signals are
not obstructed or impeded by building structures, natural landscaping or similar obstruction. A wireless
contact sensor shall function under the intended end-use conditions.
Leading Edge Contact Sensor
on both sides of the gate
Post Edge Contact Sensor
on both sides of the gate
Bottom Edge Contact Sensor
on both sides of the gate
Post Edge Contact Sensor
on both sides of the gate

IMPORTANT SAFETY INSTRUCTIONS
6
Mighty Mule 202
Install Warning Signs
Entrapment Protection
GTO’s inherent obstruction settings, even when properly adjusted, may not be sensitive enough to
prevent bodily injury in some circumstances. For this reason, safety devices such as safety edge
sensors (or photoelectric sensors), which stop and reverse gate direction upon sensing an obstruction,
are suggested for enhanced protection against entrapment.
Required Safety Precautions for Gates
Warning Signs
The warning signs (at right) must
be installed on both sides of the
gate (see page 7 for details).
Warning signs alert people of automatic gate operation and are required when installing the Mighty Mule®
E-Z Gate Opener. Furthermore, a walk-through gate must be installed if pedestrian traffic is expected near
the vehicular gate. We recommend using the GTO Bulldog Pedestrian Gate Lock (Call the GTO Sales
Department) for controlled access.
1. KEEP CLEAR! Gate may move at any time.
2. Do not allow children to operate gate or
play in gate area.
3. This gate is for vehicles only. Pedestrians
must use a separate entrance.
Moving Gate Can Cause
Injury Or Death
WARNING
!
Warning Sign Warning Sign Contact Sensor
(
recommended, not included
)
Contact Sensor
(
recommended, not included
)
Pedestrian Gate
Bulldog Pedestrian
Gate Lock
(recommended, not included
)
Vehicular Gate Vehicular Gate
Contact Sensor
(
recommended, not included
)
Contact Sensor
(
recommended, not included
)

IMPORTANT SAFETY INSTRUCTIONS
Mighty Mule 202
7
Warning signs (4 enclosed) to be installed on both sides
of each gate (3–5 feet above the bottom of the gate)
!
Product identification label (2)
installed under rear mount of each arm
Control box label (1)
installed on front of the control box
Logo and warning labels (4)
installed on each side of opener housings
GTO DC SW200 Series
Conforms to UL325
5th Edition Standards
Serial No. MM202-0000000
mm/dd/yy
GTO, Inc. - Tallahassee, Florida USA
TO MANUALLY OPEN AND CLOSE THE GATE
1. Turn opener power switch OFF.
2. Disconnect front or rear mount from mounting bracket.
3. Pull opener away from mounting bracket and move gate.
Disconnect opener ONLY when the power switch is
OFF and the gate is not moving.
®
E-Z GATE OPENER
®
202
DUAL
1. KEEP CLEAR! Gate may move at any time.
2. Do not allow children to operate gate or play in gate area.
3. This gate is for vehicles only. Pedestrians must use separate entrance.
.BYJNVN(BUFMCTLHGUNt7oltage: 12 Vdc;
Frequency: 0Hz; PPXFS8t$MBTT***BOE***7ehicular Swing Gate Operator
®
E-Z GATE OPENER
®
202
DUAL
These warning labels should
be found at the locations
specified below. If any are
missing, immediately contact
GTO for replacements.

8
Mighty Mule 202
Parts List - Opener and Mounting Hardware
Hairpin Clip (4)
3/8" x 1-1/2" Clevis Pin (4)
5/16" x 1-1/2" Bolt (2)
3/8" x 1-1/2" Bolt (2)
3/8" x 2-3/4" Bolt (4)
3/8" x 8" Bolt (4)
8" Nylon Cable Tie (14)
3/8" Washer (12)
5/16" Washer (2)
3/8" Lock Nut (10)
5/16" Lock Nut (2)
Hardware Bag Contents
Gate Opener (2)
Installation DVD (1)
Gate Bracket (2)
Post Pivot Bracket (2)
3/8" Bushings (2)
Customer Support Card (1)
Post Bracket (2)
Closed Position
Stop Plate (2)
2" Mounting Screw (6)
Transformer (1)
RB502
Battery Wire
Harness (1)
Warning Signs (4)
GTO Transmitter(1)
FM135
1. KEEP CLEAR! Gate may move at any time.
2. Do not allow children to operate gate or
play in gate area.
3. This gate is for vehicles only. Pedestrians
must use a separate entrance.
Moving Gate Can Cause
Injury Or Death
WARNING
!
Control Box (1)

Mighty Mule 202
9
Tools Needed
t1PXFS%SJMM
t0QFO&OE8SFODIFT1/2", and 9/16"
t"EKVTUBCMF8SFODI
t3/8" Drill Bit
t)BDLTBXPS)FBWZ%VUZ#PMU$VUUFST
t4NBMM'MBU#MBEFE4DSFXESJWFS
t1IJMMJQT4DSFXESJWFS-BSHF
t5BQF.FBTVSF
t-FWFM
t8JSF4USJQQFST
t$$MBNQTTNBMMNFEJVNBOEMBSHF
t$FOUFS1VODI
t&YUSBQFSTPOXJMMCFIFMQGVM
t)BNNFSGPSDFOUFSQVODI
YOU MAY ALSO NEED THESE ITEMS BEFORE YOU BEGIN THE INSTALLATION
(Some of these items can be found in the Accessory Catalog page 39):
t Low voltage wire (RB509) will be needed to run from the transformer to the opener control board;
length depends upon the distance between the transformer power supply and the control box. See
Powering Options: Transformer or Solar on page 23, and the Accessory Catalog.
t7%$EFFQDZDMFNBSJOFCBUUFSZOPUJODMVEFEJTSFRVJSFEUPQPXFSUIFPQFOFSQBHF
t"8(TQBEFUPOHVFUFSNJOBMQBHF
t *GZPVSHBUFJTNPSFUIBOhBXBZGSPN"$QPXFSTPVSDFZPVXJMMOFFEUPVTFBUMFBTUPOFMighty
Mule® 10 watt Solar Panel (FM123) (not included) to charge the 12 Volt battery (not included). See
the Accessory Catalog.
t *GZPVSGFODFQPTUJTNBEFPGXPPEBOEJTMFTTUIBOJOEJBNFUFSPSTRVBSFQBHF
t /PUSFDPNNFOEFEGPSHBUFQPTUPWFSQBHF
t17$DPOEVJUGPSQSPUFDUJOHJOHSPVOEXJSJOH
t *GZPVIBWFUIJOXBMMFEUVCFPSQBOFMHBUFTTFFRecommended Reinforcement Examples page 13.
t %FQFOEJOHPOUIFUZQFPGHBUFa horizontal cross member or mounting plate may be needed to
mount the front of the opener and gate bracket to the gate. See page 11 and page 13.
t4VSHFQSPUFDUJPOGPSUSBOTGPSNFS
t4PNFUZQFTPGJOTUBMMBUJPOTSFRVJSF6#PMUTGPSTUPQQMBUFOPUJODMVEFE4FFQBHF
t 4PNFJOTUBMMBUJPOTNBZSFRVJSFNVGnFSDMBNQTGPSUIFHBUFCSBDLFU4FF1BHF
t1VTI5P0QFO#SBDLFUT'.BSFSFRVJSFEJGHBUFTPQFOPVUGSPNQSPQFSUZ4FFQBHF
t"MPXQSPmMFHBUFTUPQJTSFRVJSFEGPSEVBMHBUFTXIFOVTJOHUIF.JHIUZ.VMFHBUFMPDL4FFQBHF
t 8FBUIFSQSPPGPVUMFUJTSFRVJSFEJGUSBOTGPSNFSJTQMVHHFEJOUPPVUTJEFPVUMFU4FFQBHF

10
Mighty Mule 202
DRIVE
t-PXGSJDUJPOTDSFXESJWFMJOFBSBDUVBUPSSBUFEGPS'UP'$UP$
t1PXFSFECZB7NPUPSXJUIJOUFHSBMDBTFIBSEFOFETUFFMHFBSSFEVDFS.PUPSTQFFESFEVDFEUPSQN
Generates 520 inch lb. of torque at 12 V.
t.BYJNVNPQFOJOHBSDPG"QQSPYJNBUFPQFOJOHUJNFTFDPOETEFQFOEJOHPOXFJHIUPGHBUF
POWER
t5IFTZTUFNJTQPXFSFECZB7EDBVUPNPUJWFPSNBSJOFCBUUFSZ
t#BUUFSZDIBSHFJTNBJOUBJOFECZB7BD7BDPVUQVUUSBOTGPSNFS7"UISPVHIUIF(50DPOUSPMCPBSE>
or by optional GTO Solar Panels [the panel should generate minimum of 10 W atts (600 mA). A diode on the
control board prevents battery discharge.
IMPORTANT: Never use both transformer and solar panel - this will damage the battery and control board.
t0OFCMBEFTUZMFGVTFJTSBUFEGPS"
NOTE: The transformer should not be directly connected to any battery. Do not replace fuses with
higher ampere rated fuses; doing so will void your warranty and may damage your control board.
CONTROL
t GTO microprocessor-based control board is set for dual leaf, pull-to-open gate installations. Jumper can be
removed to accommodate an optional kit for push-to-open gates (see Accessory Catalog).
t$POUSPMCPBSEIBTUFNQFSBUVSFDPNQFOTBUFEDJSDVJUT
t"DJSDVJUPOUIFDPOUSPMCPBSESFHVMBUFTDIBSHJOH4MFFQESBXJTN"BDUJWFESBXJTUP"
t"VUPNFNPSJ[BUJPOPGEJHJUBMUSBOTNJUUFSDPEF
t GTO RF receiver tuned to 318 MHz.
t0QFOFSMFOHUIXJUIQVTIQVMMUVCFGVMMZSFUSBDUFEJT3/8", mounting point to mounting point. Maximum
stroke is 13".
t"EKVTUBCMFBVUPDMPTFUJNFS0''UPTBOEPCTUSVDUJPOTFOTJUJWJUZ
t1PXFSUFSNJOBMCMPDLBDDPNNPEBUFTBUSBOTGPSNFSPSTPMBSQBOFMT
t"DDFTTPSZUFSNJOBMCMPDLGVMMZDPNQBUJCMFXJUIBMM.JHIUZ.VMFBDDFTTDPOUSPMT
t$POUSPMCPBSEBMMPXTDPOOFDUJPOPGTBGFUZFEHFTFOTPSTBOEQIPUPFMFDUSJDTFOTPST
t"VEJPFOUSBQNFOUBMBSNTPVOETJGVOJUFODPVOUFSTBOPCTUSVDUJPOUXJDFXIJMFPQFOJOHPSDMPTJOH
OPERATIONAL CAPACITY
t5IF(BUF$BQBDJUZ$IBSUTIPXTBQQSPYJNBUFDZDMFTQFSEBZZPVDBOFYQFDUGSPNUIF.JHIUZ.VMF
Automatic Gate Opener when powered with a transformer. Actual cycles may vary slightly depending upon
the type and condition of gate and installation.
MIGHTY MULE® 202 E-Z GATE OPENER
Technical Specifications
* These specifications are subject
to change without notice.
Gate Weight
Gate Length
Number of Cycles Per Day
Mighty Mule 202 Gate Capacity /Cycle Chart
Estimated number of daily cycles, based on use with a transformer.
300 lbs.
150 lbs.
100 lbs.
50 lbs.
39
41
44
46
5’ - 6’
36
39
41
44
8’
34
36
39
42
10’
31
34
36
39
12’
NOTE: BALL BEARING HINGES SHOULD BE USED ON ALL GATES WEIGHING OVER 250 LB.
To determine the number of cycles the gate opener will perform using solar panels, please see the specifications
listed on page 22 or call (800) 543-1236 or (850) 575-4144 for more information.
* An operation cycle is one full opening and closing of the gate.

Mighty Mule 202
11
Preparation of the Gate
The gate must be plumb, level, and swing freely
on its hinges. Wheels must not be attached to
the gate. The gate must move throughout its arc
without binding or dragging on the ground.
Note that gates over 250 lb.. should have ball
bearing hinges with grease fittings.
The fence post should be no larger than 6" in
diameter and must be secured in the ground
XJUIDPODSFUFTPJUXJMMNJOJNJ[FUXJTUPSnFY
when the opener is activated. We recommend
you position the opener near the centerline
of the gate to keep the gate from twisting and
nFYJOHBOEUPBWPJECBDLTQMBTIGSPNSBJOXBUFS
The addition of a horizontal or vertical cross
member (if one is not already in place) to provide
a stable area for mounting the gate bracket is
also important.
32 foot power cable allows the
control board to control the
SECOND gate openers (run in
PVC conduit)
You will need to trench across the
driveway in order to lay conduit for
the second opener power cable.
120 Volt indoor
Transformer
(surge protector
not supplied)
Fence Post
Set in Concrete
Run 500' (max.) of low
voltage wire to control box
from transformer
(wire not included).
PVC conduit (not included)
to protect wire from lawn
mowers and weed eaters.
Gate Swings Evenly and Freely
Hung Firmly and Plumb
Control Box
First Opener Second Opener
Closed Position Positive Stop Plates
Gate Bracket
Installation Overview for Pull-To-Open Gates
Horizontal Cross Member
Vertical Cross Member
The diagrams shown below are examples of an installation on a chain link fence.
IMPORTANT: You need to determine which side of the driveway you will mount the control
box. From this point on the gate and gate opener on the same side as the control box will be
referred to as the FIRST gate and gate opener. The gate and gate opener on the opposite side of
the driveway from the control box will be referred to as the SECOND gate and gate opener.

12
Mighty Mule 202
1" minimum
Gate in the
OPENED POSITION
Pinch Area
Gate in the
CLOSED POSITION
Pinch Area
1" minimum
13” or less
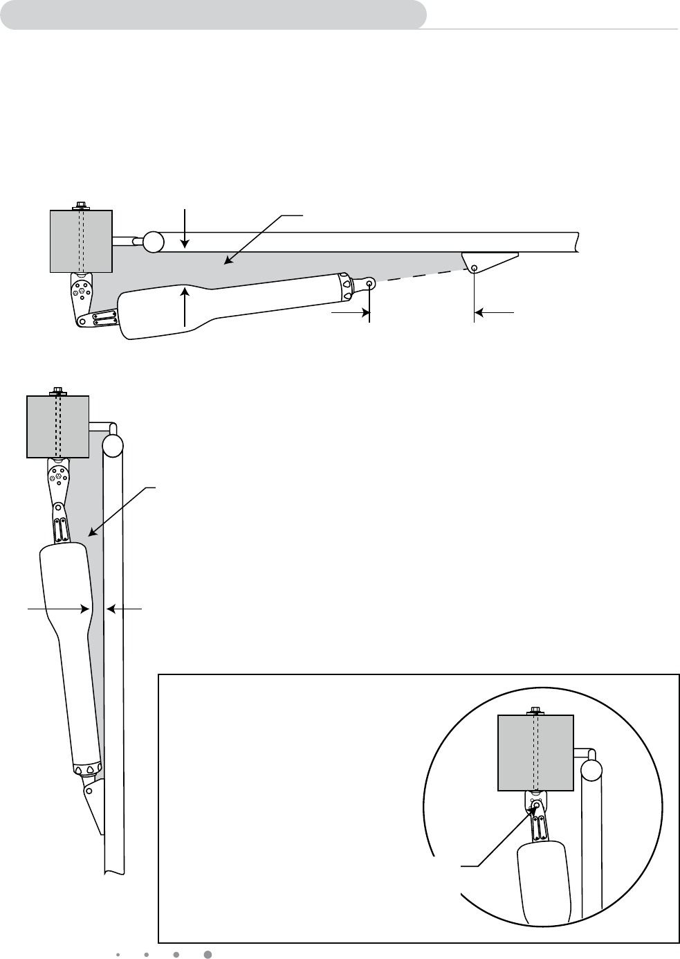
IMPORTANT: To achieve optimum leverage for the gate opener and ensure long trouble free service, the
gate opener needs to be installed within the following perameters.
The diagram below shows the optium position for gate opener arm in relation to the gate in the open and
close positions.
Installation Overview (continued)
If the gate post is larger
than 6 inches the Post Pivot
Bracket can be removed and
the center hole of the Post
Bracket can be the mounting
point for the gate opener.
NOT RECOMMENDED
FOR GATE POST LARGER
THAN 8 INCHES.
Center hole of
gate opener
pivot bracket
Be sure the position of the gate opener and brackets allows for 1 inch of
clearance between the gate and the opener in both the open and closed
position, at the same time maintaining a maximum distance of 13 inches
from the end of the opener arm to the gate bracket with the gate in the
closed position.

Mighty Mule 202
13
Installation of the FIRST Gate Opener
IMPORTANT: The gate on the side where the control box is to be mounted will be the FIRST gate
opener to install.
The position of the post bracket determines the leverage and efficiency of the opener. The post bracket
position also sets the clearance between the opener and gate in the open and closed positions.
The post bracket works well for installations
on round and square fence posts. Because
the post bracket carries the entire thrust of
the active opener, bolts that completely
penetrate the fence post must be used.
On wooden posts, place a metal plate or
washer (not supplied) between the nuts and
the fence post to prevent the thrust of the
opener from pulling the bolts and washers
out of the wood.
NOTE: A fence post smaller than 6" in
diameter or 6" square should be made of
metal instead of wood so that it will remain
stable while the opener is moving the gate.
Post
Bracket
Post
Pivot Bracket
Metal Plate
Wooden Post
Post
Bracket
Post
Pivot Bracket
Metal Plat
e
Wooden Post
Muffler Clamp for Gate Bracket
Wood or Metal Reinforcement 1" x 6" Wood Reinforcement
IMPORTANT:
We recommendVTJOHBNVGnFSDMBNQXPPEPSNFUBMOPUJODMVEFEUPSFJOGPSDFUIJOXBMMFEUVCFHBUFTPS
wood to reinforce panel gates as shown. These reinforcement methods will prevent damage to the opener
and gate when the opener is installed. Additional hardware may be needed depending on the installation.
Gate Bracket
Wood or Metal
Reinforcement
(not supplied)
Gate
Bracket
Panel
Gate
1" x 6"
Wood
Reinforcement
NOTE: The post pivot bracket may not need to be necessary on post larger than 6" in diameter.
Thin Walled
Tube Gate
Gate Bracket
Muffler Clamp
(not supplied)

14
Mighty Mule 202
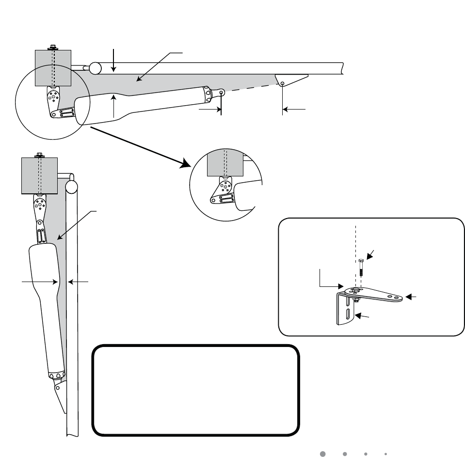
Determining the Mounting Position
of the Post Bracket Assembly and the Gate Bracket
Step 3
8JUIUIFHBUFJOUIFPQFOQPTJUJPOVQUPGSPNJUTDMPTFEQPTJUJPOBOEUIFPQFOFSGVMMZSFUSBDUFE
adjust the post bracket assembly and gate bracket until the opener is level. While holding the opener level,
use C-clamps to temporarily keep the post bracket assembly and gate bracket in their respective positions
on the fence post and gate.
Step 1
Insert the 3/8" x 11/2"
bolt through the center
hole of the post brackets
and post pivot bracket
as shown. Fasten a 3/8"
washer and 3/8" lock nut
on the end of the bolt.
DO NOT overtighten the
lock nut because the
post pivot bracket will
have to be adjusted later.
Step 2
Attach post bracket assembly to the rear mount of the opener with a clevis pin and a 3/8" washer. Secure
the clevis pin with a hairpin clip. Attach gate bracket to the front mount of the opener with a clevis pin and a
3/8" bushing. Secure the clevis pin with a hairpin clip
3/8" x 1-1/2" Bolt
3/8" Lock Nut
Post Pivot Bracket
Post Bracket
Post Bracket Assembly
3/8" Washer
REMINDER:
The following steps are
intended for pull-to-open
gate installations only.
Clevis Pin
Hairpin Clip
Post Bracket Assembly
3/8” Washer
Rear Mount
Opener
Clevis
Pin
Hairpin Clip
Gate Bracket
Front Mount
Bushing
Fence Post
Gate In Open Position
LEVEL horizontal cross member
Post Bracket Assembly
Gate Bracket
Level Opener

Mighty Mule 202
15
1" minimum
Gate in the
OPENED POSITION
Pinch Area
Gate in the
CLOSED POSITION
Pinch Area
1" minimum
13” or less
Be sure gate opener
and bracket don't bind.
Step 4
After verifying that you have the best position for the post pivot bracket in the open position, insert the
5/16" x 1-1/2" bolt through the aligned holes of the post bracket and post pivot bracket to hold it in place.
Remove the clevis pin from the front mount and while supporting the gate opener, swing the gate and gate
opener to the closed position. With the gate and gate opener in the closed position check the clearance
and be sure that the gate opener is not binding at the post pivot bracket.
*GZPVEPOhUIBWFJODIPGDMFBSBODFUIFHBUFPQFOFSJTCJOEJOHPOUIFQPTUQJWPUCSBDLFUPSZPVEPOhU
IBWFhPSMFTTGSPNUIFGSPOUNPVOUUPUIFHBUFCSBDLFUJOUIFDMPTFEQPTJUJPOSFNPWFUIFY
bolt and readjust the pivot bracket until you can achieve these important clearances and distance.
With the post pivot bracket in the optimum position for clearance and freedom of movement, reattach
the opener to the gate bracket in the open position and recheck the gate opener level and make sure the
brackets are clamped securely.
IMPORTANT: While determining the mounting point for the post pivot bracket assembly, be sure that the
position allows for minimum 1 inch of clearance between the gate and the opener in both the open and
closed positions, as well as maintaining the maximum 13" distance explained in the gate installation overview
earlier. This position will give the opener the most efficient leverage point for opening and closing the gate
and more importantly provides the least possible pinch area.
TIP: Turning the pivot bracket over gives
more hole alignment options for the post
pivot bracket assembly. You can also move
the entire post pivot bracket assembly to
different positions on the gate post to help
achieve the proper clearances.
5/16" x 1-1/2"
Bolt
Post Pivot
Bracket
Determine Best
Hole Alignment
to Achieve
1” Clearance
Post Bracket
Post Pivot Bracket
Alignment Options

16
Mighty Mule 202
Installing the Post Bracket Assembly and Gate Bracket
Step 5
Mark reference points for bolt holes
on the fence post through middle
of bracket slots. Marking reference
points in this manner allows room for
adjustment when mounting the post
bracket assembly and gate bracket.
After marking your reference points,
remove the opener and brackets
from the fence and gate.
Step 6
Drill 3/8" holes through fence post as
marked.
Step 7
Fasten post bracket assembly to the
fence post using (2) 3/8" x 8" bolts,
washers and lock nuts (provided).
Remove excess bolt length
extending beyond the tightened nuts
with a hacksaw or bolt cutters.
NOTE: In cases where the fence
post has a diameter larger than 6",
threaded rods or carriage bolts
longer than 8" (not supplied) must
be used.
Step 8
Mark reference points for bolt holes
on the gate cross member through
middle of gate bracket slots. Drill
3/8" holes through the gate cross
member as marked.
Mount gate bracket using (2)
3/8" x 2-3/4" bolts, washers,
and lock nuts (provided). Cut off
excess bolt length extending beyond
the tightened nuts.
Gate Bracket Mounting Examples
Round Tube & Chain Link Gate
Square Tube Gate
Mounting Plate
Created for
Decorative Gate
(required but not
supplied)
Remove excess bolt length
with hacksaw or bolt cutters
FRONT VIEW SIDE VIEW
FRONT VIEW
SIDE VIEW
Round Metal Post
Round Wood Post
Square Metal Post
Square Wood Post
Remove excess bolt length
with hacksaw or bolt cutters
SIDE VIEW
TOP VIEW
EXAMPLES
Post Bracket
Assembly
Mark fence post through
middle of bracket slots
and drill 3/8" holes
Gate In Open Position
LEVEL horizontal cross member
Mark cross member through middle of
gate bracket slots and drill 3/8" holes

Mighty Mule 202
17
Mounting the Opener
Level Opener
Gate In Open Position
LEVEL horizontal cross member
Post Bracket Assembly
bolted to fence post
Clevis Pin, Bushing, and Hairpin Clip
Clevis Pin, Washer, and Hairpin Clip
Gate Bracket bolted
to gate cross member
Fence Post
Installation of the SECOND Gate Opener
Step 9
Attach the opener to the securely bolted post bracket assembly and gate bracket using clevis pins, bushings,
and hairpin clips, or optional Pin Locks (see Accessory Catalog). Verify that the opener is level and adjust the
post bracket assembly if necessary.
Install the SECOND gate opener and hardware on the SECOND gate following the same procedures as the
FIRST gate opener and hardware (Step 1 - Step 9).
The power cable for the Second Opener should be run in PVC conduit under te driveway to protect it from
damage due to lawnmowers, heavy equipment and other damaging forces. It will also make it simple to
remove or replace the Second Opener if it is ever damaged.
NEVER SPLICE opener arm POWER CABLES. This will cause performance problems and may damage the
opener.

18
Mighty Mule 202
Installation of the Closed Position Stops
The Mighty Mule® Gate Opener firmly holds the gate in the closed position using the
positive stop plate. The positive stop helps stabilize the gate leaf in the closed position.
To further enhance the stability and security of your gate, install the optional
Mighty Mule® Automatic Gate Lock (see Accessory Catalog).
Step 1
Detach the gate operators from the gates
and move the gates to their closed position
(Illustration A). Using appropriate hardware
for your type of gate (U-bolts for tube or chain
link; screw or bolts for wood or metal - this
hardware is not included) attach the closed
position stop plate (horizontally) about mid
height on the FIRST gate frame. Do not
tighten it completely at this time. Slide the
stop plate toward the frame of the SECOND
gate leaf until they touch (Illustration B). Once
you have moved the stop plate to the correct
position, tighten its hardware completely.
1Z]aSR>]aWbW]\
Ab]^>ZObSa
5ObS6W\US
1=<B@=:0=F
5ObS6W\US
BVSUObSZSOTQO\]^S\
c^b]Ò[Of
=^bW]\OZ5`]c\RAb]^
PS\SObVUObS
BVSUObSZSOTQO\]^S\
c^b]Ò[Of
47@AB5/B3 A31=<25/B3
IMPORTANT: You need
to determine which side of the
driveway you will mount the control
box. From this point on the gate and
gate opener on the same side as
the control box will be referred to
as the FIRST gate and gate opener.
The gate and gate opener on the
opposite side of the driveway from
the control box will be referred to as
the SECOND gate and gate opener.
Illustration A
NOTE: The optional ground stop post is used to provide a secure point for the
SECOND gate to close against. If you will be using the Mighty Mule Gate Lock
accessory with your gate opener system, the closed position ground stop is
REQUIRED, as shown in Steps 2 and 3 on the next page.
Closed Position Stop Plate mounted
horizontally on metal post with U-bolts.
SECOND Gate Frame
FIRST Gate Frame
TOP VIEW
FRONT VIEW
Illustration B

Mighty Mule 202
19
Closed Position
Positive Stop Plates OPTIONAL Closed Position
Ground Stop Post
Post Bracket Assembly
Gate Bracket
At this stage of the installation, the openers should be installed on the
gate leaves and the open and closed position stops should be in place.
Step 3
Attach a vertical closed position stop plate to the
SECOND gate.
Using appropriate hardware for your type of gate
attach the vertical closed position stop plate to
the SECOND gate frame at the point where it will come in contact with the ground stop post.. Do not tighten it
completely at this time. You must slide the closed position stop plate toward the ground stop until they touch
(Illustration C). Once you have moved the stop plate to the correct position, tighten its hardware completely.
NOTE: For a push-to-open installation (gate opens out from the property) attach the closed position stop plate
to the outside of the gate.
Step 2
Install a low profile ground stop (not provided)
beneath the SECOND gate stop plate.
The ground stop needs to be positioned near the
end of the gate as shown in Illustration A and may
be made of metal or concrete and should be firmly
secured in the ground (we recommend setting it in
concrete).
1Z]aSR>]aWbW]\Ab]^>ZObS[]c\bSR
]\bVSA31=<25/B3
1Z]aSR>]aWbW]\Ab]^>ZObS
:]e>`]TWZS Ground Stop
W\<SO`bVS1S\bS`]T2`WdSeO
g
FRONT VIEW
SIDE VIEW
;]c\bDS`bWQOZZg
Illustration C
CHECK LIST
t5IFHBUFTBSFQMVNCMFWFMBOETXJOHTTNPPUIMZPOJUTIJOHFT
t"QMBUFPSTVQQPSUXBTBEEFEGPSUIFHBUFCSBDLFUJGOFDFTTBSZ
t5IFPQFOFSJTMFWFMBOENPVOUFEPOUIFDFOUFSMJOFPGUIFHBUF
t5IFDMPTFEQPTJUJPOTUPQQMBUFJTJOTUBMMFEJOQMBDF
Step 4
Return the gates to their open positions and reconnect the gate openers front mounts to the gate brackets
using the bushings, clevis pins and hairpin clips. Check the checklist below to be sure that you have
completed the important installation steps.

20
Mighty Mule 202
Step 1
Mount the Battery Box using the screws (provided) or another
secure mounting method. The control box must be mounted
at least 3 feet above the ground to protect it from rain splash,
snow, etc., and at least 3 feet from an AC power source to
prevent electrical interference.
Moving Gate Can Cause
Injury Or Death
WARNING
!
Control Box
Piece of Wood
for Mounting
Control Box
D
to POSITIVE
BLACK to NEGATIVE
Battery Cable
from Control Box
Step 1
Place the 12 Volt automotive or marine type battery
and its weatherproof case within 6 feet of where the
control box is mounted.
Step 2
Attach the battery wires provided to the terminals
of the battery. Take care to attach the BLACK wire
to the NEGATIVE terminal and the RED wire to the
POSITIVE terminal. Reverse connection will cause
damage to the control board.
12 Volt automotive or marine
type battery in weather proof
housing (not included).
Gate Opener
Control Box
With-in
6 feet
Mounting the Control Box
Connecting the Battery

Mighty Mule 202
21
Step 1
Remove the CONTROL BOX cover by removing the four
(4) screws to access the CONTROL BOARD.
Connecting the Battery Wires to Control Board
VAR5
VAR6
K1
PF1
K2
BATT +
BATT –
K3
K4
VAR4
VAR3
VAR2
VAR1
MIN MAX OFF
JP1
REMOVE JUMPER FOR
PUSH TO OPEN OPTION
120
SEC.
GTO Inc. Tallahassee, FL
R4722
STALL FORCE
OPEN < JOG > CLOSE
PWR. SET
LIMIT
1st OPR.
2nd OPR.
STATUS
AUTO CLOSE
SFTY.
EXIT
CYCLE
EDGE
SENSOR
COMMON
LOCK+
LOCK–
WHT
GRN
RED
BLK
WHT
GRN
SECOND OPR.FIRST OPR.
RED
BLK
14 VAC
OR
SOLAR
ON OFF
VAR5
VAR6
K1
PF1
K2
VAR4
VAR3
VAR2
VAR1
MIN
MAX
OFF
JP1
REMOVE JUMPER FOR
PUSH TO OPEN OPTION
120
SEC.
GTO Inc
FL
R472
STALL FORCE
OPEN < JOG > CLOSE
PWR.
SET
LIMIT
1st OPR.
2nd OPR.
STATUS
AUTO CLOSE
SFTY.
EXIT
CYCLE
EDGE
SENSOR
COMMON
LOCK+
LOCK–
WHT
GRN
RED
BLK
WHT
GRN
SECOND OPR.
FIRST OPR.
RED
BLK
14 VAC
OR
SOLAR
ON OFF
Strain Relief Slots
Battery Harness Cable
from Battery
Step 2
Locate the BATTERY wires from on the CONTROL
BOARD marked "BATT +" and "BATT –".
Step 3
Run the Harness wires through the control box
STRAIN RELIEF SLOT as shown, leaving enough
wire to reach the BATTERY WIRE PLUGS from the
control board.
Step 4
Plug the BLACK wire into the BLACK wire fron
"BATT ––" terminal and the RED wire to the RED
wire from "BATT +" terminal. Reverse connection
will cause damage to the control board.

22
Mighty Mule 202
Step 1
Strip approximately 3/16" of insulation from each wire of
the FIRST opener power cable. Insert the power cable into
a strain relief slot. Bring approximately 4" of wire into the
control box. Insert the stripped power cable wires into the
appropriate terminals on the FIRST OPR. terminal block.
The white wire should be inserted into the WHT terminal, the
green wire into GRN, the red wire into RED, and the black
wire into the BLK, terminals.
Tighten the set screws against the end of the wires. A dab of
petroleum jelly on each terminal will help prevent corrosion.
Step 3
Strip approximately 3/16" of insulation from each wire of the 32 foot power cable. Twist each exposed wire
tightly. Insert the power cable into a strain relief slot. Bring approximately 4" of wire into the control box. Insert
the stripped power cable wires into the appropriate terminals on the SECOND OPR. terminal block. The white
wire should be inserted into the WHT terminal, the green wire into GRN, the red wire into RED, and the black
wire into the BLK, terminals.
Tighten the set screws against the end of the wires. A dab of petroleum jelly on each terminal will help prevent
corrosion.
Step 2
Review the Installation Overview illustration on page 11
before proceeding.
Cut a slot into the driveway to accommodate PVC
conduit (not provided). The buried conduit will protect
the 32 foot power cable from automobile tires, lawn
mower blades, weed eaters, and grazing animals.
PVC conduit also allows for easy removal of power
cable in the event the SECOND opener needs to be
replaced. Pull the 32 foot second opener power cable
through the conduit and secure them into the slot in the
driveway.
Connecting Opener Power Cables
FIRST Opener
Power Cable
SECOND Opener
Power Cable
Strain Relief Slots
VAR5
VAR6
K1
PF1
K2
BATT +
BATT –
K3
K4
VAR4
VAR3
VAR2
VAR1
MIN MAX OFF
JP1
REMOVE JUMPER FOR
PUSH TO OPEN OPTION
120
SEC.
GTO Inc. Tallahassee, FL
R4722
STALL FORCE
OPEN < JOG > CLOSE
PWR. SET
LIMIT
1st OPR.
2nd OPR.
STATUS
AUTO CLOSE
SFTY.
EXIT
CYCLE
EDGE
SENSOR
COMMON
LOCK+
LOCK–
WHT
GRN
RED
BLK
WHT
GRN
SECOND OPR.FIRST OPR.
RED
BLK
14 VAC
OR
SOLAR
ON OFF
2^aaTRc Fa^]V Fa^]V
FXaT CTa\X]P[
1[^RZ CTa\X]P[
1[^RZ CTa\X]P[
1[^RZ
FXaT FXaT

Mighty Mule 202
23
Powering Options: Transformer or Solar
IMPORTANT
t 5IF.JHIUZ.VMFJTEFTJHOFEBOEJOUFOEFEGPSVTFXJUIB7PMUBVUPNPUJWFPSNBSJOFUZQF
battery. The battery must be placed inside a weatherproof case and located within 6 feet of the
control box. The 8 foot harness supplied connects the battery to the control board.
t 5IFCBUUFSZDIBSHFJTNBJOUBJOFECZUIF7PMUUSBOTGPSNFSJODMVEFEor by using optional solar
panel(s). The transformer or solar panel is connected to the opener arm control board using
low voltage, 16 gauge, dual conductor, multi-stranded, direct burial wire (RB509) (see the
Accessory Catalog).
t "MMMPXWPMUBHFXJSFVTFEXJUIUIF.JHIUZ.VMFÑ(BUF0QFOFSNVTUCFHBVHFEVBM
conductor, multi-stranded, direct burial wire (see page 39 and the Accessory Catalog). Do not
run more than 500 feet of wire.
t 5IFUSBOTGPSNFSJTEFTJHOFEBOEJOUFOEFEGPSindoor use. If the transformer can be plugged
only into an outside electrical outlet, a weatherproof cover or housing (available at local
electrical supply stores) must be used.
t *GZPVSHBUFJTNPSFUIBOGUGSPNBO"$QPXFSTPVSDFZPVXJMMOFFEUPVTFBUMFBTUPOF
watt Solar Panel to charge the battery (see Accessory Catalog). Refer to the Solar Panels and
Gate Activity chart below.
Single Gate Winter Ratings Zone 1 Zone 2 Zone 3
dual gate (10 watts) solar charger 8 16 26
dual gate (15 watts) solar charger 11 20 30
dual gate (20 watts) solar charger 14 28 38
The table and
map illustrate the
maximum number
of gate cycles to
expect per day in
a particular area
when using from 10
to 20 watts of solar
charging power. (see Accessory
Catalog). The figures shown are
for winter (minimum sunlight) and
do not account for the use of any
accessory items.
Accessories connected to your
system will draw additional
power from the battery and will
require additional solar panels.
Solar Panel and Gate Activity Chart
NEVER USE TRANSFORMER AND SOLAR PANEL(S) AT THE SAME TIME
– it will damage the control board –
NOTE: UP to 250 feet of dual conductor 16 guage multi stranded wire
may be used to allow installation of solar panels in direct sunlight.

24
Mighty Mule 202
Connecting Solar Panel(s)
IMPORTANT: Never connect the transformer and a solar
panel to the opener control board at the same time. It will
damage the control board.
If you are using the transformer included with the Mighty
Mule 202 to charge the opener battery, skip this section
and go to "CONNECTING BATTERY".
Strip 3/16" off the ends of the low voltage
wire and twist tightly. Attach these
ends to the '14VAC or SOLAR'
terminals located on the terminal block
(see illustration at right). Be certain not
to let the exposed wires touch each
other!
Insert one solar panel wire into a
'14VAC or SOLAR' terminal. Insert
the other solar panel wire into the
remaining '14VAC or SOLAR'
terminal. The wires can be connected
to the '14VAC or SOLAR' terminals
regardless of color.
Tighten set screws against exposed end of
wires. A dab of household petroleum jelly on
each terminal will help prevent corrosion.
NOTE: For multiple panels wire the panels in
parallel as shown in this diagram.
RED RED
BLACK BLACK
attach BLACK to the ‘COM’ terminal on the control board
attach RED to the ‘CHGR’ terminal on the control board
Solar Panels connect in PARALLEL
IMPORTANT INFORMATION ABOUT LOW VOLTAGE WIRE
The only wire acceptable for use with GTO products is 16 gauge multi-stranded, low voltage,
PVC sheathed wire. This particular gauge enables the transformer to provide an adequate
charge through the control board to the battery at distances up to 500 ft.
DO NOT use telephone wire or solid core wire. Unlike multi-stranded wire, these types of wire
are inadequate for use with your gate opener system.
NEVER splice wires together. Splicing permits corrosion and seriously degrades the wire's
ability to carry an adequate current.
VAR5
VAR6
K1
PF1
K2
BATT +
BATT –
K3
K4
VAR4
VAR3
VAR2
VAR1
MIN MAX OFF
JP1
REMOVE JUMPER FOR
PUSH TO OPEN OPTION
120
SEC.
GTO Inc. Tallahassee, FL
R4722
STALL FORCE
OPEN < JOG > CLOSE
PWR. SET
LIMIT
1st OPR.
2nd OPR.
STATUS
AUTO CLOSE
SFTY.
EXIT
CYCLE
EDGE
SENSOR
COMMON
LOCK+
LOCK–
WHT
GRN
RED
BLK
WHT
GRN
SECOND OPR.FIRST OPR.
RED
BLK
14 VAC
OR
SOLAR
ON OFF
Low Voltage Wire from
Transformer or Solar
VAR6
B
K3
K4
WHT
GRN
SECOND OPR.
RED
BLK
14 VAC
OR
SOLAR
ON OFF
Low Voltage Wire
from Transformer
or Solar Panel

Mighty Mule 202
25
Connecting the Transformer
Step 1
Make sure the power switch is OFF before proceeding to
the next step.
IMPORTANT: Use either transformer or solar panel. DO NOT connect both transformer and solar panels to
the opener control board at the same time. It will damage the control board.
ON/OFF
Switch
ON/OFF
Step 2
Select the electrical outlet where you will plug the
transformer. Measure the distance from this outlet to the
control box following the path where the wire will be laid.
After you have measured how much wire is needed, cut the
wire to the appropriate length - up to 500 feet.
Step 3
Lay the measured length of low voltage wire in a trench following a path from the selected electrical outlet to
the control box. Wires coming up from the ground should be run through PVC conduit to protect them from
lawn mower blades, weed eaters, and grazing animals. Be sure to bury the wire laid in the trench.
Gate Opener
Run 500' (max.) of low
voltage wire to control
box from transformer
(wire not included).
120 Volt indoor
Transformer
(surge protector
not supplied)
PVC conduit (not included)
to protect wire from lawn
mowers and weed eaters.
Control Box
12 Volt automotive or marine
type battery in weather proof
housing (not included).
Step 4
Bring enough wire up through the PVC conduit to reach the control box.

26
Mighty Mule 202
Step 7
Plug the transformer into the electrical outlet. (Use
of a surge protector with the transformer is strongly
recommended - not included)
If electrical outlet is located outdoors, outlet and
transformer should be protected by a weatherproof
cover.
Step 6
At the AC outlet strip 1/2" of insulation from the ends
of the low voltage wire. Attach these stripped ends to
the transformer terminals.
A dab of household petroleum jelly on each terminal
will help prevent corrosion.
We suggest crimping a spade tongue terminal (not
provided) to the end of each wire before attaching it to
the transformer.
Make sure the exposed wires do not touch each
other!
Step 5
Strip 3/16" off the ends of the low voltage wire and twist
tightly. Attach these ends to the '14VAC or SOLAR'
terminals located on the terminal block (see illustration
at right). Be certain not to let the exposed wires
touch each other!
Insert one transformer wire into a '14VAC or SOLAR'
terminal. Insert the other transformer wire into the
remaining '14VAC or SOLAR'
terminal. The transformer wires
can be connected to the '14VAC
or SOLAR' terminals regardless of
color.
Tighten set screws against exposed
end of wires. A dab of household
petroleum jelly on each terminal will
help prevent corrosion.
SURGE PROTECTOR
Transformer
VAR5
VAR6
K1
PF1
K2
BATT +
BATT –
K3
K4
VAR4
VAR3
VAR2
VAR1
MIN MAX OFF
JP1
REMOVE JUMPER FOR
PUSH TO OPEN OPTION
120
SEC.
GTO Inc. Tallahassee, FL
R4722
STALL FORCE
OPEN < JOG > CLOSE
PWR. SET
LIMIT
1st OPR.
2nd OPR.
STATUS
AUTO CLOSE
SFTY.
EXIT
CYCLE
EDGE
SENSOR
COMMON
LOCK+
LOCK–
WHT
GRN
RED
BLK
WHT
GRN
SECOND OPR.FIRST OPR.
RED
BLK
14 VAC
OR
SOLAR
ON OFF
Low Voltage Wire from
Transformer or Solar
VAR6
B
K3
K4
WHT
GRN
SECOND OPR.
RED
BLK
14 VAC
OR
SOLAR
ON OFF
Low Voltage Wire
from Transformer
or Solar Panel

Mighty Mule 202
27
Your Mighty Mule 202 has two Limits
1. OPEN Limit setting: (Gate in the OPEN POSITION / FACTORY SET & NOT ADJUSTABLE) The open limit is
when the opener is fully retracted and the gate is in the full open position.
2. CLOSED Limit setting: The CLOSED Limit setting (gate in the CLOSED POSITION). To achieve optimum
closed position, you are required to complete the following STEPS:
Step 1
If not already ON slide the ON/OFF switch on the Control Box to the ON position and make sure the
arms are in the OPEN POSITION (fully retracted).
Step 2
Press and HOLD the 2nd Opener CLOSE button on the control board and be prepared to RELEASE
the button when the gates reached the desired closed position/limit. Use the JOG OPEN and CLOSE
buttons to "fine tune" the gate position if neccessary.
Step 3
Repeat STEP 2 for the 1st Operator
Step 4
NOTE: The opener Push-Pull tubes must be extended more than 7 inches to set limits.
With the gates in in the desired closed positions PRESS and HOLD the SET LIMIT button until the
buzzer and RED Light come on. Then release the button.
Step 5
NOTE: When the control box cover is removed the receiver range is reduced to less than 5 feet.
Press the transmitter button once (within 5 feet of the control board) and allow the gates to fully open.
The alarm will beep once when both gates reach the OPEN LIMIT. This indicates the LIMITS for both
arms are learned and stored in memory
Step 6
Press the transmitter button and allow the gates to fully close to verify that they stop at the desired
positions. Repeat STEPS 2-5 if correction is needed.
Setting the Closed Position Limit
Must have a transmitter that operates the gate. If not see 'Setting Your Personal Transmitter Code' on page 29.
MIN MAX OFF
REMOVE JUMPER FOR
PUSH TO OPEN OPTION
120
SEC.
STALL FORCE
OPEN < JOG > CLOSE
PWR. SET
LIMIT
1st OPR.
2nd OPR.
STATUS
AUTO CLOSE
FIRST Opener
JOG Buttons
SET LIMIT Button SET LIMIT Light
SECOND Opener
JOG Buttons
for PULL-TO-OPEN installation

28
Mighty Mule 202
Stall Force Potentiometer Setting
IMPORTANT: For safety reasons the obstruction set-
ting or Stall Force on the Mighty Mule® control board
comes from the factory set at MIN (minimum). In
many gate installations this setting will
need to be adjusted to overcome the
weight and size of the gates.
The Stall Force potentiometer on the
control board operates like a volume
control on a radio. It controls the
obstruction sensitivity (or the amount
of force the opener will apply to an
obstruction) before it automatically
stops and reverses direction for
approximately two (2) seconds.
Use a small slotted screwdriver to turn the arrow in the center
of the potentiometer. Adjust the sensitivity from the MINIMUM
position where the gate operates without obstructing from its
own weight or the wind conditions in your area.
NOTE: You may need to increase the stall force in cold weath-
er due to increased resistance from gate hinges.
Setting Auto-Close Time
CLOSE TIME (auto close timer): Determines how
long the gate will remain open before it automati-
cally closes. The limits are OFF and
3 - 120 seconds. The factory setting is
OFF.
NOTE: Auto-Close timer is disabled
(gate will not automatically close) if gate
is not in the open limit.
ALWAYS KEEP SAFETY AT THE TOP OF YOUR LIST
WHEN ADJUSTING OR
SERVICING YOUR AUTOMATIC GATE OPENER!
s
truction set
-
c
ontrol board
m
um). In
MIN MAX OFF
REMOVE JUMPER FOR
PUSH TO OPEN OPTION
120
SEC.
STALL FORCE
G > CLOSE
SET
LIMIT
OPR.
OPR.
STATUS
AUTO CLOSE
MIN MAX
STALL FORCE
n
es h
ow
u
tomat
i
-
MIN MAX OFF
REMOVE JUMPER FOR
PUSH TO OPEN OPTION
120
SEC.
STALL FORCE
G > CLOSE
SET
LIMIT
OPR.
OPR.
STATUS
AUTO CLOSE
OFF 120
SEC.
AUTO CLOSE

Mighty Mule 202
29
3. “Learn” the New Code to Control Board Memory
A. Slide the ON/OFF switch to the OFF position.
B. Press and hold the hand held transmitter
button while sliding the ON/OFF switch
to the ON position.
$ $POUJOVFUPIPMEUIFUSBOTNJUUFShTCVUUPO
until the alarm sounds (3-5 seconds).
% 3FMFBTFUIFUSBOTNJUUFShTCVUUPO5IFOFX
USBOTNJUUFSDPEFJThMFBSOFEh
E. Verify that the transmitter operates the gate.
NOTE: It is NOT necessary to remove the cover of the control box to 'learn' the new transmitter
code, but when the control box cover is removed the receiver range is reduced to less than 5 feet.
2. Set the Transmitter DIP Switches
There are nine (9) transmitter DIP switches; each can be placed in three
different positions (+, 0, –). DO NOT set all the switches in the same
position, such as all +, all 0, or all –. Once the DIP switches have been
set to a personal code, replace and close the access cover.
WARNING: No other adjustments should be made inside the transmitter.
1. Remove the Transmitter Cover
On the back of the transmitter use a small phillips head screw driver
to remove the two screws on the sides of the visor clip and separate
the front cover from the transmitter. With the front cover removed,
the battery and the DIP switches will be exposed. To set a new code,
use a small screwdriver to move the switches.
All GTO transmitters are set to a standard code at the factory and are
ready to operate your Mighty Mule® Gate Opener®. For your safety and
security, however, we strongly recommend that you replace the factory
setting with your own personal code. Follow the directions below:
0
ECE
1 2 3 4 5 6 7 8 9
1 2 3 4 5 6 7 8 9
ECE
A23S 12V
ALKALINE BATTERY
+
0
–
LED
Setting Your Personal Transmitter Code
ON/OFF
Switch
ON/OFF
FCC WARNING: Changes or modifications to this unit not expressly approved by the party responsible for compliance could void
the user’s authority to operate the equipment. In accordance with FCC Part 15, Section 15.21, the manufacturer is not responsible
for any radio or TV interference caused by unauthorized modifications to this equipment. Such modifications could VOID the user
authority to operate the equipment.
NOTE: This equipment has been tested and found to comply with the limits for a Class B digital device, pursuant to Part 15 of the
FCC Rules. These limits are designed to provide reasonable protection against harmful interference in a residential installation.
This equipment generates, uses and can radiate radio frequency energy and, if not installed and used in accordance with the
instructions, may cause harmful interference to radio communications. The external solid wire antenna (10”) was assembled in the
equipment under FCC tested and marketing.
However, there is no guarantee that interference will not occur in particular installations. If this equipment does cause harmful
interference to radio or television reception, which can be determined by turning the equipment off and on, the user is encouraged
UPUSZUPDPSSFDUUIFJOUFSGFSFODFCZPOFPSNPSFPGUIFGPMMPXJOHNFBTVSFTt3FPSJFOUPSSFQMBDFUIFSFDFJWFSBOUFOOBt*ODSFBTF
UIFTFQBSBUJPOCFUXFFOUIFFRVJQNFOUBOEUIFSFDFJWFSt$POOFDUUIFFRVJQNFOUJOUPBOPVUMFUPOBDJSDVJUEJGGFSFOUGSPNUIBU
XIJDIUIFSFDFJWFSJTDPOOFDUFEt$POTVMUUIFEFBMFSPSBOFYQFSJFODFESBEJP57UFDIOJDJBOGPSIFMQ

30
Mighty Mule 202
Gate in the Closed Position
Pinch Area (gray)
Gate in the Open Position
Pinch Area (gray)
1" minimum
1" minimum
Determining The Mounting Position of The Post Bracket Assembly
Step 1
8JUIUIFHBUFJOUIFDMPTFEQPTJUJPOVQUPGSPNJUTPQFO
position), and the opener fully retracted, adjust the post bracket
assembly and gate bracket until the opener is level. While
holding the opener level, use C-clamps to temporarily keep
the post bracket assembly and gate bracket in their respective
positions on the fence post and gate.
Push to Open Installation
Swinging gates MUST NEVER open into public access areas!
"Push-to-Open" gates open out from the property.
Push-to-Open Brackets are required for this type of
installation (see Accessory Catalog). If you have pull-to-open
gates (gate opens into the property), return to page 13;
In a PUSH-TO-OPEN installation the opener is installed while the
gate is in the closed position and the opener fully retracted .
!&f 0]Zb
!&<cb
>caVB]=^S\0`OQYSb
]^bW]\OZOQQSaa]`g
>]ab0`OQYSb
!&:]QYEOaVS`
Push-To-Open Bracket Assembly
!&EOaVS`
Step 2
After verifying that you have the best
position for the post pivot bracket, insert the
5/16" x 1 3/4" bolt through the aligned holes
of the post bracket and post pivot bracket
and fasten it with the 5/16" washer and nut.
IMPORTANT: If you loosened the clamp on
the post bracket to achieve the optimum
position, tighten it in its new position and
recheck the gate bracket with the gate in
the open position (move the gate bracket
and re-clamp it if necessary).
IMPORTANT: While determining the mounting point for the
post pivot bracket assembly, be sure that the position allows for
minimum 2 inches of clearance between the gate and the opener
in both the open and closed positions, as shown in the diagrams
below. This clearance will give the opener the most efficient
leverage point for opening and closing the gate and more
importantly provides the least possible pinch area.

Mighty Mule 202
31
Step 3
With the gate in the fully closed position and the opener retracted, swing the opener to the gate. Mark
reference points for bolt holes on gate cross member through middle of gate bracket slots. The opener
must be level. (Some vertical adjustment is possible by sliding the post bracket assembly up and down.)
Drill 3/8" holes into the gate cross member as marked. Fasten gate bracket to cross member using (2)
3/8" x 3" bolts, washers, lock washers, and nuts. Attach the opener to the post bracket assembly and gate
bracket using clevis pins, bushings, and hairpins clips.
Step 4
Make sure the control box power switch is OFF. Use small pliers to remove the JUMPER for PUSH-TO-OPEN
applications (shown to the right). Turn power switch ON. The control board is now configured to push the gate
open.
Fence Post
Gate Post and Gate Cross Member
(In Closed Position)
LEVEL
LEVEL
LEVEL
MIN MAX OFF
REMOVE JUMPER FOR
PUSH TO OPEN OPTION
120
SEC.
STALL FORCE
OPEN < JOG > CLOSE
PWR. SET
LIMIT
1st OPR.
2nd OPR.
STATUS
AUTO CLOSE
Push-To-Open Jumper

32
Mighty Mule 202
Setting the Open Position Limit
In the PUSH-TO-OPEN application your Mighty Mule 202 has two Limits...
1. CLOSED Limit setting: (Gate in the CLOSED POSITION / FACTORY SET & NOT ADJUSTABLE) The closed
limit is the opener fully retracted and thegate in the closed position.
2. OPEN Limit setting: The OPEN Limit setting (gate in the OPEN POSITION). To achieve optimum open
position, you are required to complete the following STEPS:
Step 1
If not already ON slide the ON/OFF switch on the Control Box to the ON position and make sure the
arms are in the CLOSED POSITION (fully retracted).
Step 2
Press and HOLD the FIRST Opener OPEN button on the control board and be prepared to RELEASE
the button when the gates reached the desired open position/limit. Use the JOG OPEN and CLOSE
buttons to "fine tune" the gate position if neccessary.
Step 3
Repeat STEP 2 for the SECOND Opener.
Step 4
NOTE: The opener Push-Pull tubes must be extended more than 7 inches to set limits.
With the gates in in the desired open positions PRESS and HOLD the SET LIMIT button until the buzzer
and RED Light come on. Then release the button.
Step 5
NOTE: When the control box cover is removed the receiver range is reduced to less than 5 feet.
Press the transmitter button once and allow the gates to fully close. The alarm will beep once when
both gates reach the CLOSED LIMIT. This indicates the LIMITS for both arms are learned and stored in
memory
Step 6
Press the transmitter button and allow the gates to fully open to verify that they stop at the desired
positions. Repeat STEPS 2-5 if correction is needed.
Note: Must have a transmitter that operates the gate. If not see 'Setting Your Personal
Transmitter Code' on page 29.
MIN MAX OFF
REMOVE JUMPER FOR
PUSH TO OPEN OPTION
120
SEC.
STALL FORCE
OPEN < JOG > CLOSE
PWR. SET
LIMIT
1st OPR.
2nd OPR.
STATUS
AUTO CLOSE
FIRST Opener
JOG Buttons
SET LIMIT Button SET LIMIT Light
SECOND Opener
JOG Buttons
for PUSH-TO-OPEN installation

Mighty Mule 202
33
Connecting Additional Safety Devices
Although GTO strongly recommends the use of additional safety devices, we do not endorse any
specific brand names. Only use products that are certified and listed to be in compliance with any
applicable UL standards (Underwriters Laboratories) and national and regional safety codes.
Call GTO Sales at 1-800-543-4283 for information on compatible
products for your specific application.
Make sure the power to the opener is turned off before connecting safety device wiring to the
terminal blocks. Unplugging the transformer does not turn power to the opener OFF.
Wiring Accessories
VAR5
VAR6
K1
PF1
K2
BATT +
BATT –
K3
K4
VAR4
VAR3
VAR2
VAR1
MIN MAX OFF
JP1
REMOVE JUMPER FOR
PUSH TO OPEN OPTION
120
SEC.
GTO Inc. Tallahassee, FL
R4722
STALL FORCE
OPEN < JOG > CLOSE
PWR. SET
LIMIT
1st OPR.
2nd OPR.
STATUS
AUTO CLOSE
SFTY.
EXIT
CYCLE
EDGE
SENSOR
COMMON
LOCK+
LOCK–
WHT
GRN
RED
BLK
WHT
GRN
SECOND OPR.FIRST OPR.
RED
BLK
14 VAC
OR
SOLAR
ON OFF
Accessory Wire
Run wires from safety devices and other accessories
through the strain relief openings in the bottom of the
control box.
The Connecting Accessories chart on page 35 will
show where different accessories are connected to
the control board.

34
Mighty Mule 202
1 CHGR: Power Input Terminals:
t *OQVUUFSNJOBMTGPSUSBOTGPSNFSPSTPMBSQBOFM
t /POQPMBSJUZTFOTJUJWF
2 SAFETY: (Typically for use with photo beam device,
loop detector or other non-contact sensors)
t "DUJWBUJPOPGUIJTJOQVUXIJMFUIFHBUFJTDMPTJOHXJMMDBVTF
the gate to stop and return to the opened position.
t "DUJWBUJPOPGUIJTJOQVUXIJMFUIFHBUFJTPQFOJOHIBT
no effect. (gate will continue to open)
t "DUJWBUJPOPGUIJTJOQVUXIJMFHBUFJTJEMFXJMMQSFWFOUHBUF
from closing.
t "DUJWBUJPOPGUIJTJOQVUXIJMFBUPQFOMJNJUXJMMSFTUBSUUIF
auto close time (if enabled).
3 EXIT: (Typically for use with exit loop or wand)
t "DUJWBUJPOPGUIJTJOQVUXJMMPQFOUIFHBUFJGJUTOPUBMSFBEZ
at the open position.
t "DUJWBUJPOPGUIJTJOQVUXIJMFBUPQFOMJNJUXJMMSFTUBSUUIF
auto close time (if enabled).
t "DUJWBUJPOPGUIJTJOQVUXIJMFHBUFJTJEMFXJMMQSFWFOUHBUF
from closing.
4 CYCLE: (Typically for use with doorbell button or hardwired
keypad)
t &BDIBDUJWBUJPOBUUIJTJOQVUXJMMDZDMFUIFPQFSBUJPO
as follows:
…. OPEN STOP CLOSE STOP OPEN …
5 EDGE: (Typically for use with contact edge sensor)
t "DUJWBUJPOPGUIJTJOQVUXIJMFHBUFJTNPWJOHXJMMDBVTFJUUP
reverse direction for 2 seconds.
t "DUJWBUJPOPGUIJTJOQVUXIJMFJEMFXJMMQSFWFOUHBUFGSPNSVOOJOH
6 COM:
t $PNNPO/FHBUJWFUFSNJOBMGPSBDDFTTPSZEFWJDFT
7 LOCK +: Positive terminal to connect GTO electro-mechanical lock. (FM143)
8 LOCK - : Negative terminal to connect GTO electro-mechanical lock. (FM143)
H
VAR6
PF
K2
K3
K4
REMOVE
PUSH TO
SET
LIMIT
SFTY.
EXIT
CYCLE
EDGE
SENSOR
COMMON
LOCK+
LOCK–
WHT
GRN
RED
BLK
WHT
GRN
SECOND OPR.FIRST OPR.
RED
BLK
14 VAC
OR
SOLAR
ON OFF
1
8
7
6
5
4
3
2
NOTE:
t "MMBDDFTTPSZJOQVUTBSFESZDPOUBDUOPSNBMMZPQFOJOQVUT%0/05BQQMZFYUFSOBMWPMUBHFTPVSDFT
to these inputs.
t "MMBDDFTTPSZJOQVUTBSFDPOOFDUFEXJUISFTQFDUUPCOMMON terminal.
Control Board Connections
LOCK OUTPUTS12 VOLT POWER
CHARGE POWER
INPUTS
ACCESSORY INPUTS
6 COM: Common/Negative terminal for accessory power source.
7 LOCK +: Power source for GTO / Mighty Mule accessories, i.e. Driveway Sensor

Mighty Mule 202
35
GTO Photo Beams
GTO Loop Detector
Mighty Mule
Push Button Control
According to
Application
Mighty Mule
Vehicle Sensor
Refer to Vehicle Sensor
manual for additional
information if needed.
Edge Sensor
GTO Lock
ON
1 2 3 4 5 6 7 8 9 10
DIP
NO
COM
NC
V +
V –
LOOP
LOOP
LOOP
NOTE: Connections are for typical applications.
For additional connection options not illustrated
here refer to the accessory manual for details.
4
6
6
6
2
6
Mighty Mule Keypad
2
3
6
4
12
ABC 3
DEF
4
GHI 5
JKL 6
MNO
7
PRS 8
TUV 9
WXY
0
5
STA
SET
LIMIT
SFTY.
EXIT
CYCLE
EDGE
SENSOR
COMMON
LOCK+
LOCK–
WHT
GRN
RED
BLK
WHT
GRN
SECOND OPFIRST OPR.
RED
78
65432
AUTOMATIC
GATE LOCK
®
ELECTRONIC SECURITY LOCK
7
8
3
6
+-
Red
Blue
Black
Shield
Yellow
Connecting Accessories

36
Mighty Mule 202
1. Visual Indicators:
a. Power LED (Green):
t 0/"$QPXFSPS4PMBSQPXFSJTQSFTFOU
t 0''5IFSFJTOP"$JOQVUQPXFS
b. Status LED (Yellow): (while unit is running this LED will be OFF)
t 3BQJECMJOLJOHJOSBOEPNQBUUFSO(50TUSBOTNJUUFS.)[TJHOBMJTEFUFDUFE
t $POUJOVPVTMZ0/#BUUFSZJTJOGBTUDIBSHFNPEF
t #MJOLFWFSZTFDPOET#BUUFSZJTJOnPBUDIBSHFNPEFCBUUFSZJTGVMMZDIBSHFE
t 0''4XJUDIJTJOUIF0''QPTJUJPOPSUIFSFJTOPJOQVUQPXFSGPSBUMFBTUTFDPOET
2. Audible Indicator (Alarm/Buzzer):
a. 1 Beep upon power up:
t 5IJTJTOPSNBMTFMGUFTUXIFOUIFVOJUJTUVSOFEPO
b. Continuous beep after power up:
t 6OJUIBTMFBSOFEOFXUSBOTNJUUFSDPEFSFMFBTJOHUIFUSBOTNJUUFSCVUUPOXJMMTIVUPGG
the alarm or…
t 6OJUIBTFOUFSFEA-&"3/-*.*5NPEFSFMFBTJOHUIFUSBOTNJUUFSCVUUPOXJMMTIVUPGGUIFBMBSN
c. Rapid beeping:
t 6OJUIBTFODPVOUFSFEUXPPCTUSVDUJPOTXJUIPVUSFBDIJOHFJUIFSMJNJU1PXFSDZDMFUP
reset the alarm)
t 5SBOTNJUUFSXJMMOPUPQFSBUFUIFHBUF
t "MBSNXJMMBVUPNBUJDBMMZTIVUPGGBGUFSNJOVUFT
d. 1 beep every 20 seconds:
t -PXCBUUFSZJTEFUFDUFE
e. 1 beep every 2 second:
t 1PTJUJPOTFOTPSJTPQFODJSDVJU$BMM(50TFSWJDFEFQBSUNFOU
f. 2 beeps every 2 second:
t 1PTJUJPOTFOTPSJTTIPSUDJSDVJU$BMM(50TFSWJDFEFQBSUNFOU
g. 1 beep when attempting to run the gate:
t #MPXOGVTF
t #BUUFSZJTFYUSFNFMZMPXPSEBNBHFE
t -PPTFDPOOFDUJPOGSPNCBUUFSZUPDJSDVJUCPBSE
Visual and Audible Diagnostic Indicators
If your gate opener does not function properly after it is installed, use this guide or use the online
troubleshooter at http://support.gtoinc.com/support/troubleshooter.aspx before calling the
GTO Service Department.
t On all gates weighing 250 lb. or more, routinely grease the ball bearing hinges at least 4 times a year;
more frequently if the gates are in a coastal area.
t Clean the push-pull tube with a soft, dry cloth and apply silicone spray to it at least once a month.

Mighty Mule 202
37
The Gate CLOSES Then Opens Again on its Own:
1. Check the position of the mounting brackets and readjust if necessary.
2. Check the gate for binding or hinge damage.
3. Adjust stall force if necessary.
4. Reprogram closed position limits.
The Gate OPENS Then Closes Again on its Own:
1. Check the position of the mounting brackets and readjust if necessary.
2. Check the gate for binding or hinge damage.
3. Adjust stall force if necessary.
VOLTAGE RATINGS
14 Vac Transformer _________________________10.0 to 16.0 Vac
10 W Solar panel (single) ____________________18.0 to 22.0 Vdc 600 mA
measure voltage at panel and control box.
12 V Battery ________________________________12.5 to 13.5 Vdc
Charging circuit ____________________________13.8 to 14.8 Vdc
measure voltage with battery connected

38
Mighty Mule 202
If your Mighty Mule® Gate Opener is not operating properly, please follow the steps below:
1. First use the procedures found in the Visual and Audible Diagnostic Indicators section (see page 34).
2. Use the Online Troubleshooter at http://support.gtoinc.com/support/troubleshooter.aspx.
3. If you are unable to solve the problem, call the GTO Service Department at (800) 543-1236, or
(850) 575-4144. Refer to the serial number (located on the back of opener arm) and date of purchase
when calling for assistance.
4. If replacement of your gate opener is necessary, the Service Department will assign a
Return Goods Authorization (RGA) number to you for all warranty repairs
5. Securely pack the component(s) authorized for return to the factory. Write the RGA number issued to
you on the outside of the package in LARGE BOLD PRINT and include a copy of the receipt for proof
of purchase. Ship the package(s) freight prepaid to:
GTO, Inc., 3121 Hartsfield Road, Tallahassee, Florida, USA 32303.
NOTE: Products returned to GTO without a Return Goods Authorization (RGA) number in
LARGE BOLD PRINT on the outside of the package WILL NOT be accepted. Also, items
returned to GTO freight collect WILL NOT be accepted.
Warranty Service
GTO, Inc.
For sales call toll free:
1-800-543-GATE (4283)
3121 Hartsfield Road t Tallahassee, Florida, USA 32303 t (850) 575-0176
Fax (850) 575-8912 t www.mightymule.com
®
E-Z GATE OPENERS
For 24 hour/day, 7 day/week Technical Service visit
http://support.gtoinc.com/support/troubleshooter.aspx
The GTO, Inc. Technical Service Department is open
Monday – Friday 8:00 A.M. – 7:00 P.M. (Eastern Time)
1-800-543-1236
For more information on Mighty Mule’s full line of Automatic Gate Openers and Access Controls visit our website at www.mightymule.com

Mighty Mule 202
39
Accessories are Available From Your Retail Store
®
E-Z GATE OPENERS
ACCESSORIES
AUTOMATIC
GATE LOCK
Solar Panel (FM123) 10 watt
This solar powered battery charger is for use with the FM202 gate operator system. Particularly
suited for remote installations, each Solar Panel comes with tubular steel support, mounting clips,
wire connectors, and 8 ft. of low voltage wire (see Low Voltage Wire for additional wire). The Mighty
Mule® control board has clearly labeled terminal connections for easy installation of the Solar
Panel. Installation in some regions of the world will require multiple solar panels for adequate
charging power.
Push Button Control (FM132)
Unlit doorbell button for remote entry or exit control. Wires directly to the control board and uses 16
gauge multi-stranded, dual conductor low voltage wire (sold separately).
Pin Lock (FM133)
The Pin Lock substitutes for the clevis pin at the front end of the Mighty Mule® gate openers. Helps
prevent theft of the operator from the gate, while allowing quick release of the operator.
Key Chain Two Button Transmitter (FM134)
The Key Chain Transmitter is a dual button version of the Mighty Mule® single button entry
transmitter and has the same adjustable code settings. Used for 2 gates or 1 gate and garage door
using the GTO garage door receiver (RB709U). (battery is included)
Single Button Transmitter (FM135)
The Mighty Mule® entry transmitter, with adjustable code settings, is standard equipment with all
Mighty Mule® systems. (battery is included)
Digital Keypad (FM137)
The specially designed digital keypad can be easily installed as a wireless or wired keypad. It can
be programmed to use up to 25 different personal identification number (PIN) codes. Each code is
face programmable with additional security features built in. Wired installations require 16 gauge,
low voltage, multi-stranded, dual conductor, direct burial wire (sold separately). Requires 3 AA
batteries (not included).
Mounting Post (FM100) - In Ground
This black powder coated pedestal is designed to provide convenient access to your keypad,
wireless intercom, or other access control device from your vehicle. With its break down design it
is easy to install and works well in most standard applications. Surface Mount Flanges (F102) and
Extensions (F103) for added height are available.
Mighty Mule® Vehicle Sensor (FM138)
The Gate Opening Sensor is designed for residential and agricultural applications and is compatible
with most Mighty Mule® automatic gate opener models (see Sensor Box for model compatibility).
5IF4FOTPSJTBOFMFDUSPNBHOFUJDTFOTPSXIJDIPGGFSThIBOETGSFFhPQFSBUJPOPGUIF.JHIUZ.VMFÑ
Gate Operator with a 12 ft. radius of detection of vehicles in motion. A wireless version of the Gate
Opening Sensor is available. (FM130)
Automatic Gate Lock (FM143)
A MUST for added security. Solenoid driven, with a steel housing. Unlocks and locks automatically
as gates open and close. Used with Mighty Mule® DC swing gate operating systems for maximum
stability and security. Comes with a keyed manual release. Recommended for gates over 8 ft. long.
Ideal for animal enclosures or high wind areas.
123
456
789
0

If you have a question about any special order item,
just call 1-800-543-GATE!
Accessories are Available From Your Retail Store (con't)
The contents of all material available on this installation manual are copyrighted by GTO, Inc. (“GTO”), unless otherwise indicated. All rights are reserved by GTO, and content may not be
reproduced, downloaded, disseminated, published, or transferred in any form or by any means, except with the prior, written permission of GTO. Any reprinting of GTO publications is by
permission only. Copyright infringement is a violation of federal law.
Mighty Mule¨, E-Z Gate¨, GTO¨, are registered trademarks of GTO, Inc. America’s DIY Automatic Gate Openers is a trademark of GTO, Inc. and are the exclusive property of GTO, Inc.
(“GTO”).
All rights are reserved by GTO, and these marks may not be used, in any for without the prior, written permission of GTO.
Replacement Transformer (RB502)
Standard 14 volt, 720 mA, AC transformer for maintaining the battery included with the Mighty Mule®
gate operator. This is the only transformer approved for use with Mighty Mule 202 gate operator systems.
Garage Door Receiver (RB709U-NB)
The Garage Door Receiver allows you to use the same Mighty Mule® entry transmitter to operate your
gate operator and your garage door operator. Compatible with most garage door operators.
Push to Open Bracket (FM148)
Required when Mighty Mule® 202 gate operator(s) must push the gate open, such as on a sloping
driveway or where space prevents gate(s) from opening inward (pulled open). Order two PTO brackets for
conversion of a dual swing gate installation.
Wireless Entry Intercom / Keypad (FM136)
Allows owner to screen guest at the gate before allowing access to the property. Keypad also allows
owner to give up to 25 programmable entry codes to family, friends or approved delivery personnel.
Codes can be permanent or temporary. Can be wireless up to 500 feet.
Additional base stations available (F3101MBC).
Driveway Alarm (FM131)
Keep track of the comings and goings on your property with this electromagnetic sensor alert
system. When a vehicle passes the sensor, the receiver emits an audible tone and lets you know
someone’s there. Functional range of up to 400 ft. Easy-to-install and stake is included in kit.
Transmitter requires 2 “C” batteries (not included)
Wireless Driveway Vehicle Sensor (FM130)
The wireless gate opening sensor offers hands free operation of the Mighty Mule Gate Opener. Works
wirelessly up to 100 feet from the gate. Transmitter, receiver and two AA batteries are included.
Low Voltage Wire (RB509)
The 16 gauge, multi-stranded, dual conductor Low Voltage Wire is for connecting the AC powered
transformer, or the Solar Panel to the control board. Also used for the connection of accessories,
such as locks, keypads, push buttons and other wired control devices. This specially designed wire
JT67USFBUFE17$DPBUFEBOESFBEZGPSEJSFDUCVSJBM"WBJMBCMFJOhSPMMTPSTQFDJBMMFOHUIT