Users Manual

G
P
P
R-
W
Home
W
IF
page:
Ver 0.1
I-0
0
htt
p
F
A
0
1
M
G
p
://ww
w
TEL
:
A
X : +8
M
an
u
U
NPO
W
w
.gun
p
:
+82-
1
2
-063
-
1 |
u
al
W
ER C
p
ower.
c
1
688-
9
-
278-
9
페이지
orp.
c
om
9
373
9
374

Revisi
o
Revisio
n
Ver 0.1
(C) C
o
All rig
h
This e
m
legally
p
recipien
intende
d
You sh
o
prohibit
o
n History
n
Da
t
20
1
o
pyright
G
h
ts reserv
e
m
ail (includin
p
rivileged i
n
t is not a
w
d
recipient,
o
uld not di
s
ed and ma
y
t
e
1
6-06-09
G
unpower
e
d
g any earli
e
n
formation.
T
w
aiver of th
e
please do
n
s
close copy
y
be unlawfu
Descre
p
Draft
Co., Ltd.
2
e
r correspo
n
T
he sendin
g
e
privilege
o
ot read this
or distribu
t
l. Thank yo
u
p
tion
2
015
n
dence or a
t
g
of this e
m
o
r confident
s
email and
t
e this ema
i
u
for your c
o
t
tachment)
m
m
ail to any
p
iality that a
t
notify us i
m
i
l. Any such
o
operation.
Director
Sung-Jun
e
m
ay contain
p
erson othe
t
taches to i
t
m
mediately a
action tak
e
2 |
e
Yoo
n
confidenti
a
e
r than the
t
. If you ar
e
a
nd delete t
h
e
n by you
i
페이지
a
l and/or
intended
e
not the
h
e email.
i
s strictly

List
o
1. Gen
e
1.1 Ov
e
1.2 Fea
t
1.3 Mai
2. Conf
i
2.1 Co
m
2.2 Di
m
2.2 Pin
3 Funct
4. Pow
e
5. Elect
r
5.1 Ele
c
5.2 Po
w
o
f Conte
n
e
ral ...........
.
e
rview .…….
.
t
ure.……......
n Technical
i
guration ...
m
ponent ....
.
m
ension ......
.
Assign .......
ional Descr
i
e
r Manage
m
r
ical Specifi
c
trical Speci
f
w
er Consum
n
ts
.
....................
.
.
....................
....................
.
Specificati
o
....................
.
.
....................
.
....................
....................
.
i
ption ........
.
m
ent .........
.
cation ........
f
ication ......
ption .........
.
.
....................
....................
.
.
....................
o
ns .............
.
.
....................
.
.
....................
.
...................
.
.
....................
....................
.
.
....................
.
...................
.
....................
.
.
....................
.
....................
.
.
....................
....................
.
.
....................
....................
.
.
.................,..
.
.
....................
....................
.
.
....................
....................
.
.
....................
.
....................
....................
.
.
....................
....................
.
.
....................
....................
.
.
....................
.
.
...................
.
.
...................
.
.
....................
....................
.
.
....................
....................
.
....................
.
.
....................
....................
.
.
....................
.
.
....................
.
....................
.
.
....................
....................
.
....................
.
.
...................
.
.
....................
.
...................
.
....................
.
.
....................
.
.
...................
.
3 |
.
....................
....................
.
.
....................
....................
.
.
....................
.
.
...................
.
.
...................
.
.
....................
....................
.
.
....................
....................
.
....................
.
.
....................
페이지
........... 4
.
.......... 4
.
.......... 4
.
........... 5
.
.......... 6
........... 6
.......... 7
.......... 8
.
.......... 9
......... 10
......... 11
.
........ 11
......... 11

1. Ge
n
1.1 O
GPR-W
I
WIFI-0
0
You ca
n
With t
h
perfor
m
GPR-W
I
highsp
e
cache
h
Also, G
P
SPI / S
D
1.2 F
e
• 802.1
1
• Wi-Fi
• P2P
D
• Infras
t
• Hard
w
WEP (
R
• WPA/
W
• Seam
l
n
eral
verview
I
FI-001 has
0
1 to an exi
n
connect t
o
h
e complete
m
either as
a
I
FI-001 hos
t
e
ed
h
elps to inc
r
PR
-WIFI-00
1
D
IO or I2C
/
e
ature
1
b suppor
t
Direct (P2
P
D
iscovery, P
2
t
ructure BS
S
w
are accele
r
R
C4), CRC.
/
WPA2 PSK,
l
ess roamin
g
a built-in
w
sting serial
o
the netw
o
and self-c
o
a
standalon
t
s the appli
c
r
ease the s
y
1
can be a
p
/
UART inte
t
.
P
) support.
2
P Group
O
S
Station
m
r
ators for C
C
and WPS
d
g
support.
w
ireless LA
N
devices ea
s
o
rk.
o
ntained W
i
e
applicati
o
c
ation, it p
r
y
stem perfo
r
p
plied to an
y
rfaces.
O
wner mod
e
m
ode / P2P
m
C
MP (CBC-
M
d
river
N
↔ serial c
o
s
ily without
i
-Fi networ
k
o
n or as the
r
omptly bo
o
rmance an
d
y
micro-co
n
e
, P2P Pow
e
m
ode / sof
t
M
AC, count
o
nverter.
W
any softw
a
k
ing capabi
l
slave to a
o
ts up from
d
optimize
t
n
troller des
i
e
r Manage
m
t
AP mode s
er mode),
T
W
hen you c
o
re changes
ities, GPR-
W
h
ost MCU.
W
the flash.
T
he system
m
gn as a Wi
-
m
ent.
u
pport.
T
KIP (MIC,
R
4 |
o
nnect the
G
W
IFI-001 ca
W
hen
T
he integra
t
m
emory.
-
Fi adaptor
R
C4), WAPI
페이지
G
P
R
-
n
t
ed
through
(SMS4),

1.3
M
Categ
Wi-
Hard
w
Soft
w
M
ain Te
c
ories
-
Fi
w
are
w
are
c
hnical
I
S
t
P
r
Freq
u
T
x
Rx
S
A
Periph
Oper
a
Oper
a
Operating T
e
Storage Te
Pa
c
Exter
n
Wi
S
E
n
Firm
w
Softwar
e
Netw
o
User
C
< Tab
l
Specifi
I
tems
t
andards
r
otocols
ency Range
x
Power
S
ensitivity
A
ntenna
CPU
e
ral Interface
a
ting Voltage
a
ting Current
e
mperature
R
mperature R
a
c
kage Size
n
al Interface
-Fi Mode
S
ecurity
n
cryption
are Upgrade
e
Developme
n
o
rk Protocols
C
onfiguration
l
e 1. Mai
n
cation
s
R
ange
a
nge
n
t
A
n
Technica
s
.
2.4 G
~
80
2
Tensili
c
UART/SDI
O
A
Q
F
stat
UART
D
Supports Cl
o
SDK f
o
IP
v
A
T Instruction
l Specifica
t
Parame
t
FCC
802.11
~
2.5 G (240
0
802.11 b: +
2
2
.11 b: -91 db
m
Extern
a
c
a L106 32-bit
O
/SPI/I2C/I2
S
3.0 V ~ 3
A
verage valu
e
-40°C ~ 1
2
-40°C ~ 1
2
F
N32-pin (5
m
i
on/softAP/So
WPA/W
P
WEP/TKI
P
D
ownload / O
T
ud Server De
v
and
o
r fast on-chi
p
v
4, TCP/UDP
/
Set, Cloud S
e
t
ions >
5 |
e
ters
b
0
M ~ 2483.5
M
2
0 dBm
m
(11 Mbps)
al
t
micro control
S
/IR Remote
C
3
.6 V
e
: 80 mA
25°C
25°C
m
m x 5 mm)
o
ftAP+station
P
A2
P
/AES
T
A (via netwo
v
elopment /
F
p
programmin
/
HTTP/FTP
e
rver, Androi
d
페이지
M
)
ler
C
ontrol
rk)
F
irmware
g
d
/iOS App

2. Co
n
2.1 C
o
Prod
u
GPR-
W
(ON-b
o
An
t
n
figurat
i
o
mpone
u
ct name
W
IFI-001
o
ard Chip
t
enna)
i
on
nt
< Figur
Figure
r
e 1. Comp
onent >
6 |
Quantit
y
1 E
A
페이지
y
(EA)
A

2.2 Dimensio
n
n
< Figu
TOP
BOTT
O
re 2. Dim
e
O
M
e
nsion>
7 |
페이지

2.3 P
i
N
O
1
2
3
4
5
6
7
8
9
1
0
11
1
2
1
3
1
4
1
5
1
6
1
7
1
8
1
9
2
0
21
2
2
2
3
2
4
i
n Assig
n
O
. Pin n
a
GN
D
RES
E
X
MO
D
RX
D
TX
D
X
X
VCC
_
0
DEBUG
_
DEBUG
2
GN
D
3
GN
D
4
IO_
1
5
IO_
1
6
IO_
1
7
VCC
_
8
IO_
1
9
GN
D
0
AD
C
GN
D
2
IO_
3
IO_
4
4
GN
D
n
a
me
D
E
T
D
E
D
D
_
3
_
TXD
RXD
D
D
1
3
1
2
1
4
_
3
1
6
D
C
D
5
4
D
< Tabl
e
< Figu
Type
P
I/O
-
I/O
I/O
I/O
-
-
P
I/O
I/O
P
P
I/O
I/O
I/O
P
I/O
P
I/O
P
I/O
I/O
P
e
2. I/O
R
re 3. PIN
A
Ground
External res
e
-
High : On, c
h
Low : Off, s
m
UART Rx du
UART Tx du
r
-
-
Amplifier P
o
UART Tx DE
UART Rx DE
Ground
Ground
HSPI_MOSI;
HSPI_MISO
HSPI_CLK
Amplifier P
o
Deep-sleep
w
Ground
ADC pin
Ground
GPIO5
GPIO4
Ground
R
ediretion
&
A
ssign>
F
u
e
t signal (Low
h
ip works pro
p
m
all current c
o
ring flash pro
g
r
ing flash pro
g
o
wer 3.0 V ~ 3
BUG flash pro
g
BUG flash pro
UART0_CTS
o
wer 3.0 V ~ 3
w
akeup
&
Functio
n
u
nction
voltage level:
p
erly
o
nsumed
g
ramming
g
amming;
.
6 V
g
ramming
g
ramming
.
6 V
n
>
8 |
Active)
페이지

3. Fu
n
2.4 G
H
• 2.4 G
H
• High
s
• Real t
• Bias
a
•
Powe
n
ctional
H
z receive
r
H
z transmit
t
s
peed cloc
k
ime clock
a
nd regulat
o
r manage
m
<
Descrip
t
< F
i
t
e
r
k
generator
s
o
rs
m
ent
Table 3. F
t
ion
i
gure 4. Fu
s
and cryst
a
requency
C
u
nctional B
a
l oscillato
r
C
hannel D
o
lock Diagr
a
o
not use
(
a
m>
(
12, 13,14)
9 |
>
페이지

4. Po
w
GPR-WI
Interne
t
The lo
w
sleep
m
clock s
t
connec
w
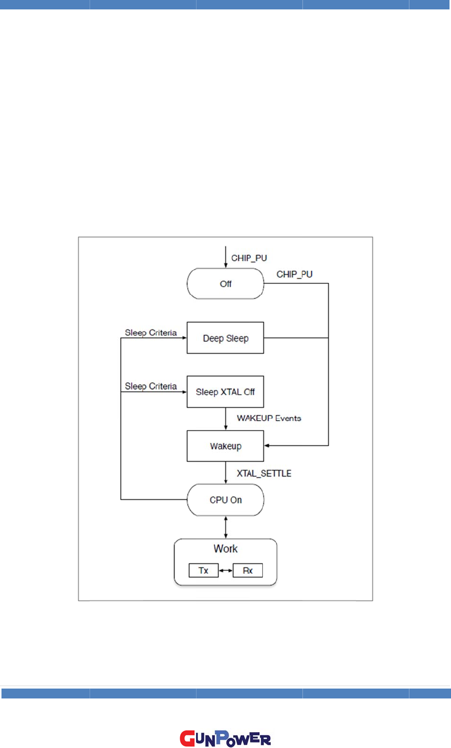
er Ma
n
FI-001 is d
e
t
of Things
w
-power ar
c
m
ode. GPR-
W
t
ill running
)
ted to the
n
ageme
n
e
dicated d
e
applicatio
n
c
hitecture
o
W
IFI-001
c
)
and less
t
access poi
n
<
n
t
signed for
n
s with ad
v
o
perates in
c
onsumes
a
t
han 1.0m
A
n
t.
Figure 5.
mobile de
v
v
anced po
w
n
3 modes:
a
bout than
A
(DTIM=3)
Power Ma
v
ices, wear
a
w
er manag
e
active mo
d
20μA in d
e
or less tha
nagement
a
ble electr
o
e
ment tech
d
e, sleep m
e
ep sleep
m
n 0.6mA (
D
>
10 |
o
nics and t
nologies.
ode and d
e
m
ode (with
D
TIM=10) t
페이지
h
e
e
ep
RTC
o stay

5. Ele
5.1 El
5.2 P
o
Tx80
2
Rx 802.
ctrical S
ectrical
o
wer Co
Par
a
2
.11b, CCK 1
1
11b, 1024 by
t
Mod
Lig
De
e
P
o
pecifica
t
Specific
a
<
nsumpti
a
meters
1
Mbps, P OU
T
t
es packet le
n
em-Sleep
ht-Sleep
e
p-Sleep
o
wer Off
<
t
ion
a
tion
Table 4. E
l
on
T
=+17dBm
gth , -80dBm
<
Table 5.
C
lectrical S
p
Min
Current Co
n
p
ecificatio
n
Ty
p
1
7
5
1
0
1
0
n
sumption
>
n
>
p
ical
7
0
0
5
.
9
0
.
5
>
11 |
Max
페이지
Unit
mA
mA
mA
mA
μA
μA

FCC In
f
This eq
device,
reason
a
equip
m
and us
e
comm
u
particu
l
televisi
o
user is
• Reori
• Incre
a
• Conn
receive
• Cons
u
*The pr
o
from th
e
*For sy
s
this sec
*In cas
e
disk or
o
in that
a
access
Cautio
n
Modifi
c
the us
e
FCC C
o
Operat
i
harmfu
interfe
r
Includi
n
approv
e
equip
m
text m
u
Contai
n
f
ormation
uipment h
a
pursuant t
a
ble prote
c
m
ent gener
a
e
d in acco
r
u
nications.
H
l
ar installat
o
n recepti
o
encourage
d
ent or relo
a
se the se
p
n
ect the eq
u
r is connec
ult the dea
o
visions of
p
e
technical
s
s
tems incor
p
c
tion needs
t
e
s where th
e
o
ver the Int
e
a
lternative f
o
information
n
c
ations not
e
r’s authori
t
o
mpliance
i
on is subj
e
l interfere
n
r
ence that
m
n
g interfer
e
e
d by the
m
m
ent under
u
st be plac
e
n
s Transm
i
to User
a
s been te
s
o Part 15
o
c
tion again
s
a
tes, uses
a
r
dance wit
h
H
owever, t
h
ion. If this
o
n, which c
a
d
to try to
cate the re
p
aration be
u
ipment in
t
ted.
ler or an e
x
p
aragraphs
s
tandards u
n
p
orating se
v
t
o be contai
n
e
manual is
e
rnet, the i
n
o
rm, provid
e
in that form
expressly
a
t
y to opera
Informati
o
e
ct to the f
o
n
ce, and (2)
m
ay cause
e
nce that
m
m
anufactu
r
FCC rules.
e
d on the
e
i
tter Mod
u
s
ted and f
o
o
f the FCC
s
t harmful i
a
nd can ra
d
h
the instru
c
h
ere is no
g
e
quipment
a
n be dete
correct th
e
ceiving an
t
t
ween the
t
o an outle
x
perienced
(a) and (b)
o
n
der the pro
v
eral digital
d
n
ed only in
t
provided o
n
n
formation r
e
e
d the user
.
a
pproved
b
te the equ
i
o
n : This d
e
o
llowing t
w
this devic
e
undesired
o
m
ay cause
u
r
er could v
o
To satisfy
F
e
xterior of
t
u
le FCC ID
o
und to co
m
Rules. The
s
i
nterferenc
e
d
iate radio
f
c
tions, ma
y
g
uarantee
t
does caus
rmined by
e
interferen
t
enna.
equipmen
t
e
t on a circ
u
radio/TV
t
o
f this secti
o
o
visions of §
d
evices, th
e
t
he instructi
o
nly in a for
m
e
quired by
t
can reaso
n
b
y the part
y
i
pment.
e
vice comp
l
w
o conditi
o
e
must acc
e
operation
u
ndesired
o
o
id the use
F
CC exteri
o
t
he end pr
o
: 2AIHIGP
R
m
ply with t
s
e limits ar
e
e
in a resid
f
requency
e
y
cause har
t
hat interf
e
e harmful i
turning th
e
ce by one
and recei
v
u
it differen
t
echnician
f
o
n do not a
p
15.103.
e
statement
s
o
n manual f
o
m
other tha
n
t
his section
n
ably be ex
p
y
responsi
b
l
ies with P
a
o
ns: (1) Thi
s
e
pt any int
e
o
peration.
M
r’s authori
t
o
r labeling
r
o
duct.
R
-WIFI-00
1
he limits f
o
e
designed
ential insta
e
nergy and
mful interf
e
e
rence will
n
nterferenc
e
e
equipme
n
of the foll
o
v
er.
t
from that
or help.
p
ply to digit
a
s
hown in p
a
o
r the main
n
paper, su
c
may be inc
p
ected to h
a
le for com
p
a
rt 15 of th
e
device m
a
e
rference r
e
M
odificatio
n
y To opera
r
equireme
n
1
12 |
o
r a Class
B
to provid
e
a
llation. Thi
s
d
, if not ins
t
e
rence to r
n
ot occur i
e
to radio
o
n
t off and
o
o
wing mea
s
t
to which
t
a
l devices e
x
a
ragraph (a)
control unit
.
c
h as on a
c
c
luded in th
e
a
ve the cap
pliance co
u
e FCC Rul
e
a
y not caus
e
ceived, in
c
n
s not exp
r
a
ted the
n
ts, the foll
o
페이지
B
digital
e
s
t
alled
adio
n a
o
r
o
n, the
s
ures:
t
he
x
empted
or (b) of
.
c
omputer
e
manual
ability to
u
ld void
e
s.
e
c
luding
r
essly
o
wing

CAUTI
O
conjun
c
transm
i
operat
e
This m
o
The O
E
to rem
o
In the
e
Part 15
IMPO
R
FCC R
F
This e
q
uncont
r
minim
u
must
n
transm
i
This d
e
1)The t
2)OEM
chang
e
As lon
g
Howev
e
additio
digital
d
The O
E
to rem
o
separat
e
Require
d
Antenn
a
(For ex
a
separati
any oth
e
User m
a
device:
t
O
N : This
d
c
tion with
a
i
tter devic
e
e
this devic
o
dule is li
m
E
M integrat
o
ve or inst
a
e
vent that
t
subpart B,
R
TANT NO
T
F
Radiatio
n
q
uipment
rolled env
i
u
m distanc
e
n
ot be c
o
i
tter
e
vice is int
e
ransmitter
shall not s
e
.
g
as 2 con
d
e
r, the OE
M
nal compli
a
d
evice emi
s
E
M integrat
o
ve or inst
a
e
section sh
o
d
operating
a
/or transmi
t
a
mple: whe
t
on distance
e
r antenna
o
a
nual must
c
t
ype, gain,
a
d
evice and
i
a
ny other
a
e
. Any unau
e.
m
ited to ins
t
or is respo
a
ll module.
t
he Host
M
the Grant
e
T
E:
n
Exposure
complies
i
ronment.
T
e
of 20 cen
o
-located
o
e
nded onl
y
module m
a
upply any
t
d
itions abo
v
M
integrato
a
nce requi
r
s
sions, PC
p
or is respo
a
ll module.
o
uld clearly
conditions
f
t
ter installat
t
her the ant
e
of at least
2
o
r transmitt
e
c
ontain the
i
a
nd manufa
c
i
ts antenna
a
ntenna or
thorized
m
t
allation in
nsible for
e
M
anufactur
e
e
e will offe
Statemen
t
w
ith FCC
T
his equi
p
timeters b
e
o
r operati
n
y
for OEM
a
y not be
c
t
ool or inf
o
v
e are met,
r is still re
s
ements re
q
p
eripheral
r
nsible for
e
state “FCC
f
or end use
r
i
on require
m
e
nna used
w
2
0 cm from
e
r.)
nformation
c
turer or mo
a
(s) must n
o
transmitte
r
m
odification
mobile or
e
nsuring th
e
r requires
a
r assistanc
e
t
:
RF radiat
i
p
ment sho
u
e
tween the
n
g in co
n
integrato
r
c
o-located
w
o
to the en
d
further tr
a
s
ponsible f
o
q
uired with
requireme
n
e
nsuring th
RF Exposur
e
r
s
m
ents, wher
e
w
ith this mo
d
all persons,
for the ant
e
o
del number
.
o
t be co-lo
r
. End user
s
could voi
d
fixed appli
e end-user
a
ssistance
i
e
i
on expos
u
u
ld be in
s
radiator a
n
n
junction
w
r
s under t
h
w
ith any o
t
d
-user reg
a
a
nsmitter t
e
o
r testing t
h
this modu
n
ts, etc.).
e end-user
e
requireme
n
e
relevant
d
ule must
b
and must n
e
nna propos
e
.
c
ated or o
p
s
cannot m
o
d
the user’
s
c
ations.
has no m
a
n ensuring
u
re limits
talled and
n
d your bo
w
ith any
o
h
e followin
g
t
her trans
m
a
rding to R
e
st will not
h
eir end-p
r
le installed
has no m
a
n
ts: “
e installed t
o
t transmit
s
e
d for use
w
13 |
p
erated in
odify this
s
authority
a
nual instr
u
complian
c
set forth
operated
o
dy.This tra
n
o
ther ant
e
g conditio
m
itter or an
t
R
egulatory
D
be require
d
r
oduct for
a
(for exam
p
a
nual instr
u
t
o provide a
simultaneo
u
w
ith this mo
d
페이지
to
u
ction
c
e with
for an
with a
n
smitter
e
nna or
ns:
t
enna,
D
omain
d
.
a
ny
p
le,
u
ction
u
sly with
d
ule

IMPO
certain
authori
produc
t
the en
d
Manua
l
inform
a
user’s
m
shall in
Manua
The O
E
regardi
produc
t
regulat
o
RTANT N
O
laptop c
o
zation is n
o
t
. In these
d
product (
l
Informati
o
a
tion to th
m
anual of
clude all r
e
l Informat
i
E
M integrat
ng how to
t
which int
e
ory inform
a
O
TE:
In th
e
o
nfiguratio
n
o
longer c
o
circumsta
n
including t
o
n To the
E
e end use
r
the end
p
e
quired reg
i
on To the
or has to
b
install or r
e
e
grates thi
s
a
tion/warni
e
event th
a
n
s or co-l
o
o
nsidered
v
ces, the O
E
h
e transmi
t
E
nd User T
h
r
regardin
g
p
roduct wh
ulatory inf
o
End User
b
e aware n
o
e
move this
s
module.
T
ng as sho
w
a
t these c
o
o
cation wi
t
v
alid and t
h
E
M integra
t
ter) and o
b
h
e OEM in
t
g
how to i
n
ich integr
a
o
rmation/
w
o
t to provi
d
s
RF modul
e
T
he end us
w
in this m
a
o
nditions c
t
h anothe
r
h
e FCC ID
tor will be
b
taining a
s
t
egrator ha
n
stall or r
e
a
tes this m
w
arning as
s
d
e informa
t
e
in the us
e
er manual
a
nual.
a
n not be
r
transmitt
e
can not b
e
responsibl
e
s
eparate F
C
s to be a
w
move this
o
dule. The
s
how in thi
s
t
ion to the
e
r’s manua
l
shall inclu
d
14 |
met (for
e
e
r), then
t
e
used on
t
e for re-ev
C
C authori
z
w
are not to
RF modul
e
e
end user
s
manual.
end user
l of the en
d
d
e all requi
페이지
e
xample
t
he FCC
t
he final
aluating
z
ation.
provide
e
in the
manual
d
r
ed