Gateway 7250R Users Manual Server Rackmount Installation Guide
7250R to the manual 9b4e92a0-7f74-4e0c-ab24-b0167da1bfac
2015-02-02
: Gateway Gateway-7250R-Users-Manual-403407 gateway-7250r-users-manual-403407 gateway pdf
Open the PDF directly: View PDF
.
Page Count: 26
- All rights reserved
- Trademark acknowledgments
- Preface
- Installation
- Installing the system drawer side rails
- Installing the cabinet mounting brackets and mounting rails
- Installing Gateway mounting brackets
- 1 If you received a mounting template with your cabinet, use it to locate the exact position of t...
- 2 Position the front mounting bracket (labeled FRONT) on the front vertical mounting rail.
- 3 Attach the front mounting bracket to the front vertical mounting rail using two screws from the...
- 4 Position the back mounting bracket (labeled REAR) on the back vertical mounting rail.
- 5 Attach the back mounting bracket to the back vertical mounting rail using two screws from the a...
- 6 Mount the second set of brackets on the opposite side of the cabinet by repeating Steps 2 throu...
- 1 If you received a mounting template with your cabinet, use it to locate the exact position of t...
- Installing the cabinet mounting rails onto Gateway brackets
- 1 Align the back end of the cabinet mounting rail to the back mounting bracket by sliding the inn...
- 2 Attach the back end of the cabinet mounting rail to the back mounting bracket using a screw fro...
- 3 Align the front of the cabinet mounting rail to the front mounting bracket by sliding the inner...
- 4 Attach the front of the cabinet mounting rail to the front mounting bracket using a screw from ...
- 5 Attach the second screw to the front mounting bracket by repeating Steps3 and 4.
- 6 Mount the second cabinet mounting rail on the opposite side of the cabinet by repeating Steps 1...
- 7 Go to “Mounting the system drawer in the cabinet” on page9.
- 1 Align the back end of the cabinet mounting rail to the back mounting bracket by sliding the inn...
- Installing generic mounting brackets
- 1 If you received a mounting template with your cabinet, use it to locate the exact position of t...
- 2 Position the front mounting bracket (shorter bracket) on the front vertical mounting rail.
- 3 Attach the front mounting bracket to the front vertical mounting rail using two screws from the...
- 4 Position the back mounting bracket (longer bracket) on the back vertical mounting rail.
- 5 Attach the back mounting bracket to the back vertical mounting rail using two screws from the a...
- 6 Mount the second set of brackets on the opposite side of the cabinet by repeating Steps 2 throu...
- 1 If you received a mounting template with your cabinet, use it to locate the exact position of t...
- Installing the cabinet mounting rails onto generic brackets
- 1 Align the back end of the cabinet mounting rail to the back mounting bracket by sliding the inn...
- 2 Attach the back end of the cabinet mounting rail to the back mounting bracket using two screws,...
- 3 Align the front of the cabinet mounting rail to the front mounting bracket by sliding the inner...
- 4 Attach the front of the cabinet mounting rail to the front mounting bracket using a screw from ...
- 5 Slide the inner rail and the inner slide again until the rail screw hole opening lines up with ...
- 6 Attach the front of the cabinet mounting rail to the front mounting bracket using a screw from ...
- 7 Mount the second cabinet mounting rail on the opposite side of the cabinet by repeating Steps 1...
- 1 Align the back end of the cabinet mounting rail to the back mounting bracket by sliding the inn...
- Installing Gateway mounting brackets
- Mounting the system drawer in the cabinet
- 1 Pull both of the inner rails forward until the spring latches on each side lock.
- Warning
- 4 Push the system drawer evenly into the cabinet until the latches on the system drawer side rail...
- 5 Press the latches on both sides of the system drawer side rails, then push the system drawer ba...
- 6 From the back side of the cabinet, release the spring latch on the inner rail while pushing the...
- Installing the cable retractor
- Completing the connections
- Turning on the system drawer
- 1 If using a UPS, turn it on first.
- Important
- 5 Listen for alarms which may indicate power problems.
- 6 Make sure the power indicator is illuminated. The monitor should display the normal Power On Se...
- 7 When the system drawer starts successfully, install the operating system, if necessary.
- 8 Turn on the other system drawers by repeating Steps 3 through 7 for each additional system draw...
- 1 Turn on devices and drawers attached to the system drawer first.
- Turning off the system drawer
- Securing the system drawer in the cabinet

A MAN US 7250R RACKMOUNT GDE R0 4/00 7250R
Server Rackmount
Installation Guide
i
Contents
Preface. . . . . . . . . . . . . . . . . . . . . . . . . . . . . . . . . . . . . . . . . . . . . . . . . . . . . . . . . . . . . iii
Conventions used in this manual . . . . . . . . . . . . . . . . . . . . . . . . . . . . . . . . . . . . . . . iii
Information about your system . . . . . . . . . . . . . . . . . . . . . . . . . . . . . . . . . . . . . . . . . iv
Accessing the server system manual . . . . . . . . . . . . . . . . . . . . . . . . . . . . . . . . . iv
Getting additional information . . . . . . . . . . . . . . . . . . . . . . . . . . . . . . . . . . . . . . . iv
1 Installation . . . . . . . . . . . . . . . . . . . . . . . . . . . . . . . . . . . . . . . . . . . . . . . . . . . . . . 1
Installing the system drawer side rails . . . . . . . . . . . . . . . . . . . . . . . . . . . . . . . . . . . 2
Installing the cabinet mounting brackets and mounting rails . . . . . . . . . . . . . . . . . . 3
Installing Gateway mounting brackets . . . . . . . . . . . . . . . . . . . . . . . . . . . . . . . . 3
Installing the cabinet mounting rails onto Gateway brackets . . . . . . . . . . . . . . . 4
Installing generic mounting brackets . . . . . . . . . . . . . . . . . . . . . . . . . . . . . . . . . 5
Installing the cabinet mounting rails onto generic brackets . . . . . . . . . . . . . . . . 7
Mounting the system drawer in the cabinet . . . . . . . . . . . . . . . . . . . . . . . . . . . . . . . 9
Installing the cable retractor . . . . . . . . . . . . . . . . . . . . . . . . . . . . . . . . . . . . . . . . . . 12
Installing a cable retractor in a Gateway cabinet . . . . . . . . . . . . . . . . . . . . . . . 12
Installing a cable retractor in a non-Gateway cabinet . . . . . . . . . . . . . . . . . . . 13
Attaching the cables to the retractor . . . . . . . . . . . . . . . . . . . . . . . . . . . . . . . . 14
Completing the connections . . . . . . . . . . . . . . . . . . . . . . . . . . . . . . . . . . . . . . . . . . 15
Connecting a single system drawer . . . . . . . . . . . . . . . . . . . . . . . . . . . . . . . . . 15
Connecting multiple system drawers . . . . . . . . . . . . . . . . . . . . . . . . . . . . . . . . 16
Connecting the power . . . . . . . . . . . . . . . . . . . . . . . . . . . . . . . . . . . . . . . . . . . . 18
Turning on the system drawer . . . . . . . . . . . . . . . . . . . . . . . . . . . . . . . . . . . . . . . . 19
Turning off the system drawer . . . . . . . . . . . . . . . . . . . . . . . . . . . . . . . . . . . . . . . . 20
Securing the system drawer in the cabinet . . . . . . . . . . . . . . . . . . . . . . . . . . . . . . 20
8506163.book Page i Wednesday, May 10, 2000 11:40 AM
ii
Notices
Copyright © 2000 Gateway, Inc.
All Rights Reserved
4545 Town Centre Court
San Diego, CA 92121 USA
All rights reserved
This publication is protected by copyright and all rights are reserved. No part of it may be reproduced or
transmitted by any means or in any form, without prior consent in writing from Gateway.
The information in this manual has been carefully checked and is believed to be accurate. However, changes
are made periodically. These changes are incorporated in newer publication editions. Gateway may improve
and/or change products described in this publication at any time. Due to continuing system improvements,
Gateway is not responsible for inaccurate information which may appear in this manual. For the latest product
updates, consult the Gateway Web site at www.gateway.com. In no event will Gateway be liable for direct, indirect,
special, exemplary, incidental, or consequential damages resulting from any defect or omission in this manual,
even if advised of the possibility of such damages.
In the interest of continued product development, Gateway reserves the right to make improvements in this manual
and the products it describes at any time, without notices or obligation.
Trademark acknowledgments
AnyKey, black-and-white spot design, CrystalScan, Destination, EZ Pad, EZ Point, Field Mouse, Solo, TelePath,
Vivitron, stylized “G” design, and “You’ve got a friend in the business” slogan are registered trademarks and
GATEWAY, Gateway Profile, Gateway Solo, Gateway Astro, green stylized GATEWAY, green stylized Gateway
logo, and the black-and-white spotted box logo are trademarks of Gateway, Inc. Intel, Intel Inside logo, and
Pentium are registered trademarks and MMX is a trademark of Intel Corporation. Microsoft, MS, MS-DOS, and
Windows are trademarks or registered trademarks of Microsoft Corporation. All other product names mentioned
herein are used for identification purposes only, and may be the trademarks or registered trademarks of their
respective companies.
8506163.book Page ii Wednesday, May 10, 2000 11:40 AM

Conventions used in this manual iii
Preface
Conventions used in this manual
Throughout this manual, you will see the following conventions:
Convention Description
ENTER Keyboard key names are printed in small capitals.
CTRL+ALT+DEL A plus sign means to press the keys at the same time.
Setup Commands to be entered, options to select, and messages that
appear on your monitor are printed in bold.
User’s Guide Names of publications are printed in italic.
Important A note labeled important informs you of special
circumstances.
Caution A caution warns you of possible damage to equipment or
loss of data.
Warning A warning indicates the possibility of personal injury.
8506163.book Page iii Wednesday, May 10, 2000 11:40 AM
iv
Information about your system
Accessing the server system manual
A comprehensive 7250R Server System Manual is located on the
Server Companion CD, which accompanied this system. To access this
document (in PDF format), place the 7250R Companion CD into the CD drive
on a system running a Windows-based operating system, then follow the
instructions on the Welcome screen. To get the latest updates to your system
documentation, visit the technical support area of www.gatewayatwork.com.
Getting additional information
Visit the technical support area of www.gatewayatwork.com to find
information about your system or other Gateway products. Some types of
information you can access are:
■Hardware driver and program updates
■Technical tips
■Service agreement information
■Technical documents and component information
■Frequently asked questions (FAQs)
■Documentation for peripherals or optional components
■Online technical support
8506163.book Page iv Wednesday, May 10, 2000 11:40 AM

1
1
Installation
This guide provides information on installing your Gateway server in a third
party cabinet. The rackmount accessory kit includes:
■2 pairs of generic mounting brackets (short and long)
■2 28-inch (71.12 cm) cabinet slide rail assemblies
■1 cable retractor assembly
■Assorted size screws
■Miscellaneous hardware
If you are installing the system drawer in a Gateway rack cabinet, you will
need a separate mounting kit. The Gateway rackmount accessory kit (Part
Number: 2509860) includes:
■2 pairs of Gateway mounting brackets (labeled FRONT and REAR)
■2 Gateway 28-inch (71.12 cm) cabinet slide rail assemblies
■1 cable retractor assembly
■Assorted size screws
■Miscellaneous hardware
If you intend to install the 7250R Server in a Gateway rack cabinet and you
did not receive the Gateway rackmount accessory kit, contact client care to
get the correct accessory kit.
8506163.book Page 1 Wednesday, May 10, 2000 11:40 AM

2 Installation
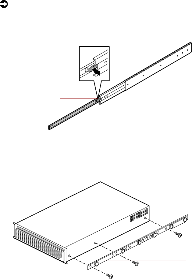
Installing the system drawer side rails
Before installing the server (system drawer) in the cabinet, you need to install
the system drawer side rails on the server.
To install the system drawer side rails:
1Remove the system drawer side rails from the cabinet mounting rails by
depressing the retention clips on the inside of the system drawer side
rails, then sliding the rails off.
2Mount the system drawer side rail on the server using three screws from
the accessory kit. Make sure the retention clips are toward the back of
the server.
3Mount the second rail on the opposite side of the server.
Retention clip
System drawer
side rail
Retention clip
8506163.book Page 2 Wednesday, May 10, 2000 11:40 AM

Installing the cabinet mounting brackets and mounting rails 3
Installing the cabinet mounting
brackets and mounting rails
If you are installing the server in a Gateway cabinet, refer to the following
section. If you are installing the server in a non-Gateway cabinet, go to
“Installing generic mounting brackets” on page 5.
Installing Gateway mounting brackets
If Gateway mounting brackets are already installed in the cabinet, go to
“Installing the cabinet mounting rails onto Gateway brackets” on page 4.
To install the Gateway mounting brackets in the cabinet:
1If you received a mounting template with your cabinet, use it to locate
the exact position of the cabinet mounting brackets.
2Position the front mounting bracket (labeled FRONT) on the front
vertical mounting rail.
3Attach the front mounting bracket to the front vertical mounting rail
using two screws from the accessory kit.
Back mounting
bracket
Front vertical
mounting rail
Front mounting
bracket Back vertical
mounting rail
8506163.book Page 3 Wednesday, May 10, 2000 11:40 AM

4 Installation
4Position the back mounting bracket (labeled REAR) on the back vertical
mounting rail.
5Attach the back mounting bracket to the back vertical mounting rail
using two screws from the accessory kit.
6Mount the second set of brackets on the opposite side of the cabinet by
repeating Steps 2 through 5.
Installing the cabinet mounting rails onto
Gateway brackets
To install the cabinet mounting rails onto Gateway brackets:
1Align the back end of the cabinet mounting rail to the back mounting
bracket by sliding the inner rail forward (if the spring latch locks the inner
rail into place, free the rail by releasing the spring latch).
2Attach the back end of the cabinet mounting rail to the back mounting
bracket using a screw from the accessory kit.
Front vertical
mounting rail
Spring latch
Back vertical
mounting rail
Back mounting
bracket
Inner rail
Front mounting
bracket
8506163.book Page 4 Wednesday, May 10, 2000 11:40 AM

Installing the cabinet mounting brackets and mounting rails 5
3Align the front of the cabinet mounting rail to the front mounting
bracket by sliding the inner rail and inner slide until the rail screw hole
opening lines up with one of the front mounting bracket screw holes.
4Attach the front of the cabinet mounting rail to the front mounting
bracket using a screw from the accessory kit.
5Attach the second screw to the front mounting bracket by repeating
Steps 3 and 4.
6Mount the second cabinet mounting rail on the opposite side of the
cabinet by repeating Steps 1 through 5.
7Go to “Mounting the system drawer in the cabinet” on page 9.
Installing generic mounting brackets
If you are installing the server in a non-Gateway cabinet, use the generic
mounting brackets. These brackets allow for different cabinet depths. If
generic mounting brackets are already installed in the cabinet, go to
“Installing the cabinet mounting rails onto generic brackets” on page 7.
Spring latch
Back mounting
bracket
Inner rail
Front mounting
bracket
Screw
8506163.book Page 5 Wednesday, May 10, 2000 11:40 AM

6 Installation
To install the generic mounting brackets in the cabinet:
1If you received a mounting template with your cabinet, use it to locate
the exact position of the cabinet mounting brackets.
2Position the front mounting bracket (shorter bracket) on the front vertical
mounting rail.
3Attach the front mounting bracket to the front vertical mounting rail
using two screws from the accessory kit.
If screw holes in the front vertical mounting rail are not threaded, attach
the front mounting bracket by using the screws and bar nut from the
accessory kit.
4Position the back mounting bracket (longer bracket) on the back vertical
mounting rail.
5Attach the back mounting bracket to the back vertical mounting rail
using two screws from the accessory kit.
If screw holes in the back vertical mounting rail are not threaded, attach
the back mounting bracket by using the screws and bar nut from the
accessory kit.
6Mount the second set of brackets on the opposite side of the cabinet by
repeating Steps 2 through 5.
Back mounting
bracket
Bar nuts
Front mounting
bracket
8506163.book Page 6 Wednesday, May 10, 2000 11:40 AM

Installing the cabinet mounting brackets and mounting rails 7
Installing the cabinet mounting rails onto
generic brackets
To install the cabinet mounting rails onto generic brackets:
1Align the back end of the cabinet mounting rail to the back mounting
bracket by sliding the inner rail forward (if the spring latch locks the inner
rail into place, free the rail by releasing the spring latch).
2Attach the back end of the cabinet mounting rail to the back mounting
bracket using two screws, hex nuts, and star washers from the accessory
kit.
One screw must be located in the last back bracket screw hole. The second
screw can be located in any of the other back bracket long screw holes.
Inner slide
Spring latch
Back mounting
bracket
Inner rail
Hex nut
Star washer
8506163.book Page 7 Wednesday, May 10, 2000 11:40 AM

8 Installation
3Align the front of the cabinet mounting rail to the front mounting
bracket by sliding the inner rail and inner slide until the rail screw hole
opening lines up with the first inner rail screw hole and with the second
screw hole on the front mounting bracket.
4Attach the front of the cabinet mounting rail to the front mounting
bracket using a screw from the accessory kit.
5Slide the inner rail and the inner slide again until the rail screw hole
opening lines up with the front mounting bracket long screw hole.
6Attach the front of the cabinet mounting rail to the front mounting
bracket using a screw from the accessory kit.
7Mount the second cabinet mounting rail on the opposite side of the
cabinet by repeating Steps 1 through 6.
Inner rail
Inner slide
Cabinet mounting rail
Front mounting
bracket Screw
8506163.book Page 8 Wednesday, May 10, 2000 11:40 AM

Mounting the system drawer in the cabinet 9
Mounting the system drawer in the
cabinet
To mount the system drawer in the cabinet:
1Pull both of the inner rails forward until the spring latches on each side
lock.
2Pull the inner slides all the way forward.
Inner rail
Spring latch
Inner slide
8506163.book Page 9 Wednesday, May 10, 2000 11:40 AM

10 Installation
3Lift the system drawer to the same height as the inner rails, then align
the system drawer side rails with the inner rails.
4Push the system drawer evenly into the cabinet until the latches on the
system drawer side rails lock.
Warning In order to avoid injury or dropping the server, Gateway
recommends that two people lift the system drawer.
Inner rail
System drawer side rail
8506163.book Page 10 Wednesday, May 10, 2000 11:40 AM

Mounting the system drawer in the cabinet 11
5Press the latches on both sides of the system drawer side rails, then push
the system drawer back until the inner rail spring latches lock.
6From the back side of the cabinet, release the spring latch on the inner
rail while pushing the system drawer to the back of the cabinet.
The first time the system drawer is pushed back into the cabinet there
may be some restriction of movement. The drawer should move
smoothly, without binding or restriction thereafter. If there is still
restriction of movement, make sure all rails and brackets are aligned
properly.
System drawer side rail latch
8506163.book Page 11 Wednesday, May 10, 2000 11:40 AM

12 Installation
Installing the cable retractor
Cable retractors reduce strain on the drawer cables and connectors and
simplify maintenance because they keep the cables out of the way. If you are
installing a cable retractor in a Gateway cabinet, refer to the following section.
If you are installing a cable retractor in a non-Gateway cabinet, go to
“Installing a cable retractor in a non-Gateway cabinet” on page 13.
Installing a cable retractor in a Gateway
cabinet
To install a cable retractor in a Gateway cabinet:
1Position the cable retractor adapter bracket on the back vertical mounting
rail, then align the mounting holes on both the adapter bracket and the
back vertical mounting rail.
2Attach the adapter bracket to the back vertical mounting rail using two
screws from the accessory kit.
3Go to “Attaching the cables to the retractor” on page 14.
Cable retractor
Back vertical mounting rail
Adapter bracket
8506163.book Page 12 Wednesday, May 10, 2000 11:40 AM

Installing the cable retractor 13
Installing a cable retractor in a non-Gateway
cabinet
To install a cable retractor in a non-Gateway cabinet:
1Remove the adapter bracket from the cable retractor straight bracket.
2Position the cable retractor straight bracket on the back vertical mounting
rail, then align the mounting holes on both the cable retractor bracket
and the back vertical mounting rail.
3Attach the bracket to the back vertical mounting rail using a bar nut and
screws from the accessory kit.
Straight bracket
Adapter bracket
Cable retractor
Back vertical
mounting rail
Straight bracket
Bar nut
8506163.book Page 13 Wednesday, May 10, 2000 11:40 AM

14 Installation
Attaching the cables to the retractor
To attach the cables:
1Route the cables from the rear of the system drawer to the cable retractor.
2Attach the cables to the cable retractor, making sure the cables have
sufficient slack when the system drawer is pulled forward and pushed
back into place.
3Route the cables to their destinations and attach as necessary.
4If necessary, bundle any excess cable.
Cable
Cable retractor
8506163.book Page 14 Wednesday, May 10, 2000 11:40 AM

Completing the connections 15
Completing the connections
When the system drawer is installed in the cabinet, make the system
connections.
Connecting a single system drawer
To connect the peripherals:
1Turn off all system drawers and devices in the cabinet before attaching
any of the system drawer cables.
2Connect all I/O device cables (keyboard, mouse, video, serial, and
parallel) to their respective ports on the back of the system drawer.
The system board connectors may appear different than in the
illustration, depending on your system board.
Important A wide variety of system connections are possible. Your
actual system connections may be different from the
following examples.
To power
source
SCSI bus
Mouse
Keyboard
KVM or
keyboard tray
Tape storage
drawer
To printer
To monitor or KVM tray
8506163.book Page 15 Wednesday, May 10, 2000 11:40 AM

16 Installation
Connecting multiple system drawers
Multiple system drawers installed in a cabinet can share a single set of
peripherals if a switch box, such as an autoswitcher, is installed. The
autoswitcher gives control of the monitor and routes the keyboard and mouse
inputs to the currently selected system drawer. Installation of the autoswitcher
is relatively simple and covered in detail in the autoswitcher user manual.
To connect multiple system drawers:
1Turn off all system drawers and devices in the cabinet before attaching
any of the system drawer cables.
2If the newly installed system drawer will control other drawers in the
cabinet, connect the external data cables of the controller cards to the
controlled devices.
3Connect all I/O device cables (keyboard, mouse, video, serial, and
parallel) to their respective ports on the back of the system drawer.
The system I/O connectors may appear different than in the illustration,
depending on the system board installed in the server.
If connecting multiple system drawers, use extender cables to link each system
drawer to the autoswitcher. You must also attach the peripherals to the
appropriate I/O ports on the back of the autoswitcher. Refer to the following
figure for connection details.
8506163.book Page 16 Wednesday, May 10, 2000 11:40 AM

Completing the connections 17
To power
To printer
To power source
VGA video
signal
Mouse
Keyboard
Tape storage drawer
Autoswitcher
To power source
KVM tray
7250R
SCSI channel 1
VGA video signal
Tape storage
drawer
SCSI channel 2
SCSI channel 1
DataStation 8
storage drawer
8506163.book Page 17 Wednesday, May 10, 2000 11:40 AM

18 Installation
Connecting the power
Gateway recommends that a licensed electrician install a dedicated 230 VAC
line, with sufficient amperage rating for the system drawer, to a breaker box
or distribution panel. The power cords must be wired directly into the breaker
box.
If you use 115 VAC, make sure not to overload any power strip or wall outlet.
Observe the following guidelines:
■Only one system drawer per power strip (15 or 20 amps) or wall outlet
(15 or 20 amps). For critical applications, plug the system drawer power
cords into separate circuits.
■If an uninterruptible power supply (UPS) is installed, plug only one CPU
drawer into it.
The power cords must be routed through the cabinet floor opening and to
the system drawer. Make sure that the electrical current demands are balanced
and that the system is properly grounded.
Depending on the plug-in configuration, the following devices may share the
same power strip:
Plug-in
Configuration
Power Strip Total Supported Devices
230 VAC 15 amp ■System drawer
■QHS storage drawer
■Tape storage drawer
Total must not exceed 12 amps
20 amp ■System drawer
■QHS storage drawer
■Tape storage drawer
■Monitor
■autoswitcher
Total must not exceed 12 amps
115 VAC 15 amp ■System drawer only
20 amp ■System drawer with other
peripherals not to exceed a total of
16 amps for the whole strip.
8506163.book Page 18 Wednesday, May 10, 2000 11:40 AM

Turning on the system drawer 19
Turning on the system drawer
To turn on the system drawer for the first time:
1If using a UPS, turn it on first.
2Turn on the monitor and any additional devices connected to the system
drawer. Listen for alarms which may indicate power problems.
3If multiple system drawers and a switch box are installed, press the switch
box button that corresponds to the system drawer being turned on.
4Press the ON/OFF button on the system drawer.
5Listen for alarms which may indicate power problems.
6Make sure the power indicator is illuminated. The monitor should display
the normal Power On Self-Test (POST) information. If the monitor does
not display information or the system drawer indicates an error has
occurred, refer to the server system manual troubleshooting section.
7When the system drawer starts successfully, install the operating system,
if necessary.
8Turn on the other system drawers by repeating Steps 3 through 7 for each
additional system drawer installed.
After this procedure, the system drawer can be turned on using normal start
sequences.
To turn on the system drawer using normal start sequences:
1Turn on devices and drawers attached to the system drawer first.
2When the devices and drawers attached to the system drawer are running,
turn on the system drawer.
Important If multiple system drawers are installed, you must turn on
each system drawer and wait for it to start completely
before turning on the next system drawer.
8506163.book Page 19 Wednesday, May 10, 2000 11:40 AM

20 Installation
Turning off the system drawer
To turn off the system drawer:
1Close all programs.
2If necessary, issue a “flush” command to write the contents of any caches
or buffers to disk.
3If necessary, issue a command to exit or quit the operating system.
4Press the on/off switch on the system drawer.
5Turn off any other devices connected to the system drawer.
Securing the system drawer in the
cabinet
To secure the system drawer:
1Close the back door of the system cabinet, then lock it if necessary.
2Push the system drawer all the way back into the cabinet until the front
panel presses against the front vertical mounting rails.
3Secure the system drawer to the front vertical mounting rails using four
screws from the accessory kit.
4Close the front cabinet door, then lock it if necessary.
8506163.book Page 20 Wednesday, May 10, 2000 11:40 AM

A MAN US 7250R RACKMOUNT GDE R0 4/00 7250R
Server Rackmount
Installation Guide