Gemalto M2M PXS8 GSM/GPRS/EDGE/CDMA/UMTS/HSPA Module User Manual hid

Gemalto M2M GmbH GSM/GPRS/EDGE/CDMA/UMTS/HSPA Module hid

Contents

integration manual

PXS8Version: 00.110aDocId: PXS8_HIO_v00.110a Hardware Interface Overview
GENERAL NOTE THE USE OF THE PRODUCT INCLUDING THE SOFTWARE AND DOCUMENTATION (THE "PROD-UCT") IS SUBJECT TO THE RELEASE NOTE PROVIDED TOGETHER WITH PRODUCT. IN ANYEVENT THE PROVISIONS OF THE RELEASE NOTE SHALL PREVAIL. THIS DOCUMENT CON-TAINS INFORMATION ON CINTERION PRODUCTS. THE SPECIFICATIONS IN THIS DOCUMENTARE SUBJECT TO CHANGE AT CINTERION'S DISCRETION. CINTERION WIRELESS MODULESGMBH GRANTS A NON-EXCLUSIVE RIGHT TO USE THE PRODUCT. THE RECIPIENT SHALL NOTTRANSFER, COPY, MODIFY, TRANSLATE, REVERSE ENGINEER, CREATE DERIVATIVE WORKS;DISASSEMBLE OR DECOMPILE THE PRODUCT OR OTHERWISE USE THE PRODUCT EXCEPTAS SPECIFICALLY AUTHORIZED. THE PRODUCT AND THIS DOCUMENT ARE PROVIDED ON AN"AS IS" BASIS ONLY AND MAY CONTAIN DEFICIENCIES OR INADEQUACIES. TO THE MAXIMUMEXTENT PERMITTED BY APPLICABLE LAW, CINTERION WIRELESS MODULES GMBH DIS-CLAIMS ALL WARRANTIES AND LIABILITIES. THE RECIPIENT UNDERTAKES FOR AN UNLIMITEDPERIOD OF TIME TO OBSERVE SECRECY REGARDING ANY INFORMATION AND DATA PRO-VIDED TO HIM IN THE CONTEXT OF THE DELIVERY OF THE PRODUCT. THIS GENERAL NOTESHALL BE GOVERNED AND CONSTRUED ACCORDING TO GERMAN LAW.CopyrightTransmittal, reproduction, dissemination and/or editing of this document as well as utilization of its con-tents and communication thereof to others without express authorization are prohibited. Offenders willbe held liable for payment of damages. All rights created by patent grant or registration of a utility modelor design patent are reserved. Copyright © 2012, Cinterion Wireless Modules GmbH Trademark NoticeMicrosoft and Windows are either registered trademarks or trademarks of Microsoft Corporation in theUnited States and/or other countries. CDMA2000 is a registered certification mark of the Telecommuni-cations Industry Association. All other registered trademarks or trademarks mentioned in this documentare property of their respective owners.PXS8_HIO_v00.110a Page 2 of 41 2012-06-27Confidential / PreliminaryPXS8 Hardware Interface Overview2Document Name: PXS8 Hardware Interface Overview Version: 00.110aDate: 2012-06-27DocId: PXS8_HIO_v00.110aStatus Confidential / Preliminary
PXS8 Hardware Interface Overview Contents41PXS8_HIO_v00.110a Page 3 of 41 2012-06-27Confidential / PreliminaryContents1 Introduction ................................................................................................................. 61.1 Related Documents ........................................................................................... 61.2 Terms and Abbreviations................................................................................... 61.3 Regulatory and Type Approval Information ..................................................... 101.3.1 Directives and Standards.................................................................... 101.3.2 SAR requirements specific to portable mobiles .................................. 131.3.3 SELV Requirements ........................................................................... 141.3.4 Safety Precautions.............................................................................. 142 Product Concept ....................................................................................................... 162.1 Key Features at a Glance ................................................................................ 162.2 PXS8 System Overview................................................................................... 193 Application Interface................................................................................................. 203.1 Operating Modes ............................................................................................. 213.2 Power Supply................................................................................................... 223.3 USB Interface................................................................................................... 233.4 Serial Interface ASC0 ...................................................................................... 243.5 UICC/SIM/USIM Interface................................................................................ 263.6 Analog Audio Interface..................................................................................... 283.7 Digital Audio Interface...................................................................................... 284 GPS Receiver............................................................................................................. 295 Antenna Interfaces.................................................................................................... 305.1 GSM/UMTS/CDMA Antenna Interface............................................................. 305.1.1 Antenna Installation ............................................................................ 315.2 GPS Antenna Interface.................................................................................... 326 Mechanics, Mounting and Packaging ..................................................................... 346.1 Mechanical Dimensions of PXS8..................................................................... 347 Sample Application................................................................................................... 368 Reference Approval .................................................................................................. 388.1 Reference Equipment for Type Approval......................................................... 388.2 Compliance with FCC and IC Rules and Regulations ..................................... 399 Appendix.................................................................................................................... 409.1 List of Parts and Accessories........................................................................... 40
PXS8 Hardware Interface Overview Tables41PXS8_HIO_v00.110a Page 4 of 41 2012-06-27Confidential / PreliminaryTablesTable 1: Directives .......................................................................................................  10Table 2: Standards of North American type approval ..................................................  10Table 3: Standards of European type approval............................................................  10Table 4: Requirements of quality .................................................................................  11Table 5: Standards of the Ministry of Information Industry of the People’s Republic of China............................................................................  11Table 6: Toxic or hazardous substances or elements with defined concentration limits...............................................................................................................  12Table 7: Overview of operating modes ........................................................................  21Table 8: DCE-DTE wiring of ASC0 ..............................................................................  25Table 9: Signals of the SIM interface (SMT application interface) ...............................  26Table 10: Return loss in the active band........................................................................  30Table 11: List of parts and accessories..........................................................................  40Table 12: Molex sales contacts (subject to change) ......................................................  41Table 13: Hirose sales contacts (subject to change) .....................................................  41
PXS8 Hardware Interface Overview Figures41PXS8_HIO_v00.110a Page 5 of 41 2012-06-27Confidential / PreliminaryFiguresFigure 1: PXS8 system overview ..................................................................................  19Figure 2: Decoupling capacitor(s) for BATT+................................................................  22Figure 3: USB circuit .....................................................................................................  23Figure 4: Serial interface ASC0.....................................................................................  24Figure 5: UICC/SIM/USIM interface ..............................................................................  27Figure 6: Supply voltage for active GPS antenna .........................................................  32Figure 7: ESD protection for passive GPS antenna......................................................  33Figure 8: PXS8 – top and bottomview...........................................................................  34Figure 9: Dimensions of PXS8 (all dimensions in mm) .................................................  35Figure 10: PXS8 sample application ...............................................................................  37Figure 11: Reference equipment for type approval.........................................................  38
PXS8 Hardware Interface Overview1 Introduction15PXS8_HIO_v00.110a Page 6 of 41 2012-06-27Confidential / Preliminary1 IntroductionThe document1 describes the hardware of the PXS8 module, designed to connect to a cellular device application and the air interface. It helps you quickly retrieve interface specifications, electrical and mechanical details and information on the requirements to be considered for in-tegrating further components.1.1 Related Documents[1] PXS8 AT Command Set[2] PXS8 Release Notes[3] DSB75 Support Box - Evaluation Kit for Cinterion Wireless Modules[4] Application Note 48: SMT Module Integration1.2 Terms and Abbreviations1. The document is effective only if listed in the appropriate Release Notes as part of the technicaldocumentation delivered with your Cinterion Wireless Modules product.Abbreviation DescriptionAGPS Assisted GPSANSI American National Standards InstituteAMR Adaptive MultirateARP Antenna Reference PointBB BasebandBC Band ClassBEP Bit Error ProbabilityBTS Base Transceiver StationCB or CBM Cell Broadcast MessageCDMA Code Division Multiple AccessCE Conformité Européene (European Conformity)CS Coding SchemeCS Circuit SwitchedCSD Circuit Switched DataCTM Cellular Text ModemDAC Digital-to-Analog ConverterDCS Digital Cellular SystemDL Download
PXS8 Hardware Interface Overview1.2 Terms and Abbreviations15PXS8_HIO_v00.110a Page 7 of 41 2012-06-27Confidential / PreliminaryDRX Discontinuous ReceptionDSB Development Support BoardDSP Digital Signal ProcessorDTMF Dual Tone Multi FrequencyDTX Discontinuous TransmissionEDGE Enhanced Data rates for GSM EvolutionEFR Enhanced Full RateEGSM Extended GSMEMC Electromagnetic CompatibilityERP Effective Radiated PowerESD Electrostatic DischargeETS European Telecommunication StandardETSI European Telecommunications Standards InstituteEVRC Enhanced Variable Rate CodecFCC Federal Communications Commission (U.S.)FDD Frequency Division DuplexFDMA Frequency Division Multiple AccessFL Forward LinkFR Full RateGPRS General Packet Radio ServiceGPS Global Positioning SystemGSM Global Standard for Mobile CommunicationsHiZ High ImpedanceHSDPA High Speed Downlink Packet AccessHR Half RateI/O Input/OutputIF Intermediate FrequencyIMEI International Mobile Equipment IdentityISO International Standards OrganizationITU International Telecommunications Unionkbps kbits per secondLED Light Emitting DiodeLGA Land Grid ArrayMBB Moisture barrier bagMbps Mbits per secondMCS Modulation and Coding SchemeAbbreviation Description
PXS8 Hardware Interface Overview1.2 Terms and Abbreviations15PXS8_HIO_v00.110a Page 8 of 41 2012-06-27Confidential / PreliminaryMO Mobile OriginatedMS Mobile Station, also referred to as TEMSL Moisture Sensitivity LevelMT Mobile TerminatedNB Narrow BandNMEA National Marine Electronics AssociationNTC Negative Temperature CoefficientPBCCH Packet Switched Broadcast Control ChannelPCB Printed Circuit BoardPCL Power Control LevelPCM Pulse Code ModulationPCS Personal Communication System, also referred to as GSM 1900PD Pull Down resistor (appr. 100k)PDU Protocol Data UnitPS Packet SwitchedPSK Phase Shift KeyingPU Pull Up resistor (appr. 100k)QAM Quadrature Amplitude ModulationR&TTE Radio and Telecommunication Terminal EquipmentRF Radio FrequencyRL Reverse LinkROPR Radio Output Power ReductionRTC Real Time ClockRx Receive DirectionSAR Specific Absorption RateSELV Safety Extra Low VoltageSIM Subscriber Identification ModuleSLIC Subscriber Line Interface Circuit SMPL Sudden Momentary Power LossSMD Surface Mount DeviceSMS Short Message ServiceSMT Surface Mount TechnologySNR Signal-to-Noise RatioSRAM Static Random Access MemorySRB Signalling Radio BearerSUPL Secure User Plane LocationAbbreviation Description
PXS8 Hardware Interface Overview1.2 Terms and Abbreviations15PXS8_HIO_v00.110a Page 9 of 41 2012-06-27Confidential / PreliminaryTDMA Time Division Multiple AccessTE Terminal EquipmentTPC Transmit Power ControlTS Technical SpecificationTTFF Time To First FixTx Transmit DirectionUL UploadUMTS Universal Mobile Telecommunications SystemURC Unsolicited Result CodeUSB Universal Serial BusUICC USIM Integrated Circuit CardUSIM UMTS Subscriber Identification ModuleWCDMA Wideband Code Division Multiple AccessAbbreviation Description
PXS8 Hardware Interface Overview1.3 Regulatory and Type Approval Information15PXS8_HIO_v00.110a Page 10 of 41 2012-06-27Confidential / Preliminary1.3 Regulatory and Type Approval Information1.3.1 Directives and StandardsPXS8 has been designed to comply with the directives and standards listed below.It is the responsibility of the application manufacturer to ensure compliance of the final product with all provisions of the applicable directives and standards as well as with the technical spec-ifications provided in the "PXS8 Hardware Interface Description".11. Manufacturers of applications which can be used in the US shall ensure that their applications have aPTCRB approval. For this purpose they can refer to the PTCRB approval of the respective module. Table 1:  Directives99/05/EC Directive of the European Parliament and of the council of 9 March 1999 on radio equipment and telecommunications terminal equipment and the mutual recognition of their conformity (in short referred to as R&TTE Direc-tive 1999/5/EC).The product is labeled with the CE conformity mark   2002/95/EC  Directive of the European Parliament and of the Council of 27 January 2003 on the restriction of the use of certain haz-ardous substances in electrical and electronic equipment (RoHS)Table 2:  Standards of North American type approvalCFR Title 47 Code of Federal Regulations, Part 22, Part 24 and Part 27; US Equipment Authorization FCCOET Bulletin 65(Edition 97-01) Evaluating Compliance with FCC Guidelines for Human Exposure to Radio-frequency Electromagnetic FieldsUL 60 950-1 Product Safety Certification (Safety requirements) NAPRD.03 V5.11 Overview of PCS Type certification review board Mobile Equipment Type Certification and IMEI controlPCS Type Certification Review board (PTCRB)RSS132, RSS133, RSS139 Canadian StandardTable 3:  Standards of European type approval3GPP TS 51.010-1 Digital cellular telecommunications system (Release 7); Mobile Station (MS) conformance specification;ETSI EN 301 511 V9.0.2 Global System for Mobile communications (GSM); Harmonized standard for mobile stations in the GSM 900 and DCS 1800 bands covering essential requirements under article 3.2 of the R&TTE directive (1999/5/EC)GCF-CC V3.45  Global Certification Forum - Certification CriteriaETSI EN 301 489-01 V1.8.1 Electromagnetic Compatibility and Radio spectrum Matters (ERM); Electro-magnetic Compatibility (EMC) standard for radio equipment and services; Part 1: Common Technical Requirements
PXS8 Hardware Interface Overview1.3 Regulatory and Type Approval Information15PXS8_HIO_v00.110a Page 11 of 41 2012-06-27Confidential / PreliminaryETSI EN 301 489-03 V1.4.1 Electromagnetic Compatibility and Radio spectrum Matters (ERM); Electro-magnetic Compatibility (EMC) standard for radio equipment and services; Part 3: Specific conditions for Short-Range Devices (SRD) operating on fre-quencies between 9 kHz and 40 GHz ETSI EN 301 489-07 V1.3.1 Electromagnetic Compatibility and Radio spectrum Matters (ERM); Electro-magnetic Compatibility (EMC) standard for radio equipment and services; Part 7: Specific conditions for mobile and portable radio and ancillary equip-ment of digital cellular radio telecommunications systems (GSM and DCS)ETSI EN 301 489-24 V1.4.1 Electromagnetic Compatibility and Radio spectrum Matters (ERM); Electro-magnetic Compatibility (EMC) standard for radio equipment and services; Part 24: Specific conditions for IMT-2000 CDMA Direct Spread (UTRA) for Mobile and portable (UE) radio and ancillary equipmentETSI EN 301 908-01 V4.2.1 Electromagnetic compatibility and Radio spectrum Matters (ERM); Base Stations (BS) and User Equipment (UE) for IMT-2000 Third Generation cel-lular networks; Part 1: Harmonized EN for IMT-2000, introduction and com-mon requirements of article 3.2 of the R&TTE DirectiveETSI EN 301 908-02 V4.2.1 Electromagnetic compatibility and Radio spectrum Matters (ERM); Base Stations (BS) and User Equipment (UE) for IMT-2000 Third Generation cel-lular networks; Part 2: Harmonized EN for IMT-2000, CDMA Direct Spread (UTRA FDD) (UE) covering essential requirements of article 3.2 of the R&TTE DirectiveEN 300 440-02 V1.3.1  Electromagnetic compatibility and Radio spectrum Matters (ERM); Short range devices; Radio equipment to be used in the 1 GHz to 40 GHz fre-quency range; Part 2: Harmonized EN covering essential requirements of article 3.2 of the R&TTE Directive EN 62311:2008 Assessment of electronic and electrical equipment related to human expo-sure restrictions for electromagnetic fields (0 Hz - 300 GHz)IEC/EN 60950-1:2006 Safety of information technology equipmentTable 4:  Requirements of qualityIEC 60068 Environmental testingDIN EN 60529 IP codesTable 5:  Standards of the Ministry of Information Industry of the People’s Republic of ChinaSJ/T 11363-2006  “Requirements for Concentration Limits for Certain Hazardous Substances in Electronic Information Products” (2006-06).SJ/T 11364-2006 “Marking for Control of Pollution Caused by Electronic Information Products” (2006-06).According to the “Chinese Administration on the Control of Pollution caused by Electronic Information Products” (ACPEIP) the EPUP, i.e., Environmental Protection Use Period, of this product is 20 years as per the symbol shown here, unless otherwise marked. The EPUP is valid only as long as the product is operated within the operating limits described in the Cinterion Hardware Interface Description.Please see Table 6 for an overview of toxic or hazardous substances or ele-ments that might be contained in product parts in concentrations above the limits defined by SJ/T 11363-2006. Table 3:  Standards of European type approval
PXS8 Hardware Interface Overview1.3 Regulatory and Type Approval Information15PXS8_HIO_v00.110a Page 12 of 41 2012-06-27Confidential / PreliminaryTable 6:  Toxic or hazardous substances or elements with defined concentration limits
PXS8 Hardware Interface Overview1.3 Regulatory and Type Approval Information15PXS8_HIO_v00.110a Page 13 of 41 2012-06-27Confidential / Preliminary1.3.2 SAR requirements specific to portable mobilesMobile phones, PDAs or other portable transmitters and receivers incorporating a GSM/CDMA module must be in accordance with the guidelines for human exposure to radio frequency en-ergy. This requires the Specific Absorption Rate (SAR) of portable PXS8 based applications to be evaluated and approved for compliance with national and/or international regulations. Since the SAR value varies significantly with the individual product design manufacturers are advised to submit their product for approval if designed for portable use. For European and US-markets the relevant directives are mentioned below. It is the responsibility of the manufacturer of the final product to verify whether or not further standards, recommendations or directives are in force outside these areas. Products intended for sale on US marketsES 59005/ANSI C95.1 Considerations for evaluation of human exposure to electromagneticfields (EMFs) from mobile telecommunication equipment (MTE) in thefrequency range 30MHz - 6GHz Products intended for sale on European marketsEN 50360 Product standard to demonstrate the compliance of mobile phones withthe basic restrictions related to human exposure to electromagneticfields (300MHz - 3GHz)IMPORTANT:Manufacturers of portable applications based on PXS8 modules are required to have their final product certified and apply for their own FCC Grant and Industry Canada Certificate related to the specific portable mobile.
PXS8 Hardware Interface Overview1.3 Regulatory and Type Approval Information15PXS8_HIO_v00.110a Page 14 of 41 2012-06-27Confidential / Preliminary1.3.3 SELV RequirementsThe power supply connected to the PXS8 module shall be in compliance with the SELV re-quirements defined in EN 60950-1.1.3.4 Safety PrecautionsThe following safety precautions must be observed during all phases of the operation, usage, service or repair of any cellular terminal or mobile incorporating PXS8. Manufacturers of the cellular terminal are advised to convey the following safety information to users and operating personnel and to incorporate these guidelines into all manuals supplied with the product. Fail-ure to comply with these precautions violates safety standards of design, manufacture and in-tended use of the product. Cinterion Wireless Modules assumes no liability for customer’s failure to comply with these precautions.When in a hospital or other health care facility, observe the restrictions on the use of mobiles. Switch the cellular terminal or mobile off, if instructed to do so by the guide-lines posted in sensitive areas. Medical equipment may be sensitive to RF energy.The operation of cardiac pacemakers, other implanted medical equipment and hearing aids can be affected by interference from cellular terminals or mobiles placed close to the device. If in doubt about potential danger, contact the physician or the manufac-turer of the device to verify that the equipment is properly shielded. Pacemaker patients are advised to keep their hand-held mobile away from the pacemaker, while it is on. Switch off the cellular terminal or mobile before boarding an aircraft. Make sure it can-not be switched on inadvertently. The operation of wireless appliances in an aircraft is forbidden to prevent interference with communications systems. Failure to observe these instructions may lead to the suspension or denial of cellular services to the offender, legal action, or both.Do not operate the cellular terminal or mobile in the presence of flammable gases or fumes. Switch off the cellular terminal when you are near petrol stations, fuel depots, chemical plants or where blasting operations are in progress. Operation of any electri-cal equipment in potentially explosive atmospheres can constitute a safety hazard.Your cellular terminal or mobile receives and transmits radio frequency energy while switched on. Remember that interference can occur if it is used close to TV sets, radios, computers or inadequately shielded equipment. Follow any special regulations and always switch off the cellular terminal or mobile wherever forbidden, or when you suspect that it may cause interference or danger.Road safety comes first! Do not use a hand-held cellular terminal or mobile when driv-ing a vehicle, unless it is securely mounted in a holder for speakerphone operation. Before making a call with a hand-held terminal or mobile, park the vehicle. Speakerphones must be installed by qualified personnel. Faulty installation or opera-tion can constitute a safety hazard.
PXS8 Hardware Interface Overview1.3 Regulatory and Type Approval Information15PXS8_HIO_v00.110a Page 15 of 41 2012-06-27Confidential / PreliminaryIMPORTANT!Cellular terminals or mobiles operate using radio signals and cellular networks. Because of this, connection cannot be guaranteed at all times under all conditions. Therefore, you should never rely solely upon any wireless device for essential com-munications, for example emergency calls. Remember, in order to make or receive calls, the cellular terminal or mobile must be switched on and in a service area with adequate cellular signal strength.Some networks do not allow for emergency calls if certain network services or phone features are in use (e.g. lock functions, fixed dialing etc.). You may need to deactivate those features before you can make an emergency call.Some networks require that a valid SIM card be properly inserted in the cellular termi-nal or mobile.Bear in mind that exposure to excessive levels of noise can cause physical damage to users! With regard to acoustic shock, the cellular application must be designed to avoid unintentional increase of amplification, e.g. for a highly sensitive earpiece. A pro-tection circuit should be implemented in the cellular application.
PXS8 Hardware Interface Overview2 Product Concept19PXS8_HIO_v00.110a Page 16 of 41 2012-06-27Confidential / Preliminary2 Product Concept2.1 Key Features at a GlanceFeature ImplementationGeneralFrequency bands GSM/GPRS/EDGE: Quad band, 850/900/1800/1900MHzUMTS/HSPA+: Five band, 800/850/900/1900/2100MHzCDMA: Dual band (BC0/BC1), 800/1900MHzGSM class Small MSOutput power (according to Release 99) Class 4 (+33dBm ±2dB) for EGSM850Class 4 (+33dBm ±2dB) for EGSM900Class 1 (+30dBm ±2dB) for GSM1800Class 1 (+30dBm ±2dB) for GSM1900Class E2 (+27dBm ± 3dB) for GSM 850 8-PSKClass E2 (+27dBm ± 3dB) for GSM 900 8-PSKClass E2 (+26dBm +3 /-4dB) for GSM 1800 8-PSKClass E2 (+26dBm +3 /-4dB) for GSM 1900 8-PSKClass 3 (+24dBm +1/-3dB) for UMTS 2100, WCDMA FDD BdIClass 3 (+24dBm +1/-3dB) for UMTS 1900,WCDMA FDD BdIIClass 3 (+24dBm +1/-3dB) for UMTS 900, WCDMA FDD BdVIIIClass 3 (+24dBm +1/-3dB) for UMTS 850, WCDMA FDD BdVClass 3 (+24dBm +1/-3dB) for UMTS 800, WCDMA FDD BdVIPower supply 3.3V < VBATT+ < 4.2VOperating temperature (board temperature) Normal operation: -30°C to +85°CRestricted operation: -40°C to +95°CPhysical Dimensions: 33mm x 29mm x 2mmWeight: approx. 5gRoHS All hardware components fully compliant with EU RoHS DirectiveCDMA features3GPP2 CDMA2000 EV-DO Rev.A data rates:FL max. 3.1Mbps, RL max. 1.8Mbps1xRTT Advanced data rates:FL max. 307.2kbps, RL max. 307.2kbpsHSPA features3GPP Release 6, 7 DL 14.4Mbps, UL 5.7MbpsUE CAT. 1-12 supportedCompressed mode (CM) supported according to 3GPP TS25.212UMTS features3GPP Release 4 PS data rate – 384 kbps DL / 384 kbps ULCS data rate – 64 kbps DL / 64 kbps UL
PXS8 Hardware Interface Overview2.1 Key Features at a Glance19PXS8_HIO_v00.110a Page 17 of 41 2012-06-27Confidential / PreliminaryGSM / GPRS / EGPRS featuresData transfer GPRS:• Multislot Class 12• Full PBCCH support• Mobile Station Class B• Coding Scheme 1 – 4EGPRS:• Multislot Class 12• EDGE E2 power class for 8 PSK• Downlink coding schemes – CS 1-4, MCS 1-9• Uplink coding schemes – CS 1-4, MCS 1-9• SRB loopback and test mode B• 8-bit, 11-bit RACH• PBCCH support• 1 phase/2 phase access procedures• Link adaptation and IR• NACC, extended UL TBF• Mobile Station Class BCSD:• V.110, RLP, non-transparent• 14.4kbps• USSDSMS Point-to-point MT and MOCell broadcastText and PDU modeGPS FeaturesProtocol NMEAModes Standalone GPSAssisted GPS - Control plane - E911- User plane - gpsOneXTRA™General Power saving modesSoftwareAT commands Hayes, 3GPP TS 27.007 and 27.005, and proprietary Cinterion Wireless Modules commands as well as Verizon specific CDMA commands.SIM Application Toolkit SAT Release 99Audio Audio speech codecsGSM: AMR, EFR, FR, HR3GPP: AMR3GPP2: EVRC, EVRC-B (4GV-NB), QCELP, AMR-NBSpeakerphone operation, echo cancellation, noise suppression, 9 ringing tones, TTY supportSoftware update Generic firmware update from host application over ASC0 or USB.Feature Implementation
PXS8 Hardware Interface Overview2.1 Key Features at a Glance19PXS8_HIO_v00.110a Page 18 of 41 2012-06-27Confidential / PreliminaryInterfacesModule interface Surface mount device with solderable connection pads (SMT application interface).Land grid array (LGA) technology ensures high solder joint reliability and provides the possibility to use an optional module mounting socket.For more information on how to integrate SMT modules see also [4]. This application note comprises chapters on module mounting and application layout issues as well as on additional SMT application development equipment.Antenna 50Ohms. GSM/UMTS/CDMA main antenna, UMTS/CDMA diversity antenna, GPS antenna (active/passive) USB USB 2.0 High Speed (480Mbit/s) device interface, Full Speed (12Mbit/s) compliantSerial interface ASC0:• 8-wire modem interface with status and control lines, unbalanced,asynchronous• Adjustable baud rates from 9,600bps up to 921,600bps• Supports RTS0/CTS0 hardware flow control• Multiplex ability according to GSM 07.10 Multiplexer ProtocolUICC interface Supported chip cards: UICC/SIM/USIM 3V, 1.8VStatus Signal line to indicate network connectivity stateAudio 1 analog interface with microphone feeding1 digital interface: PCM or I2SPower on/off, ResetPower on/off Switch-on by hardware signal IGTSwitch-off by AT command (AT^SMSO)Automatic switch-off in case of critical temperature or voltage conditionsReset Orderly shutdown and reset by AT commandEmergency-off Emergency-off by hardware signal EMERG_OFF if IGT is not activeSpecial FeaturesPhonebook SIM and phoneTTY/CTM support Integrated CTM modemAntenna SAIC (Single Antenna Interference Cancellation) / DARP (Downlink Advanced Receiver Performance)Rx diversity (receiver type 3i - 16-QAM)Over-the-air provisioning Verizon specific OTASP (Over-the-Air Service Provisioning) and OTAPA (Over-the-Air Parameter Administration)Evaluation kitEvaluation module PXS8 module soldered onto a dedicated PCB that can be connected to an adapter in order to be mounted onto the DSB75.DSB75  DSB75 Development Support Board designed to test and type approve Cinterion Wireless Modules and provide a sample configuration for appli-cation engineering. A special adapter is required to connect the PXS8 evaluation module to the DSB75.Feature Implementation
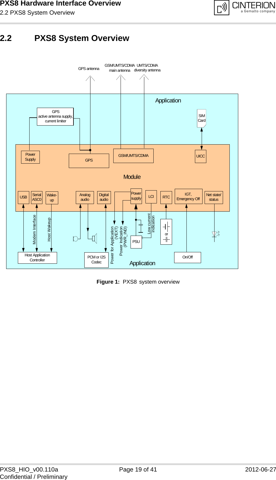
PXS8 Hardware Interface Overview2.2 PXS8 System Overview19PXS8_HIO_v00.110a Page 19 of 41 2012-06-27Confidential / Preliminary2.2 PXS8 System OverviewFigure 1:  PXS8 system overviewUSB SerialASC0UICCAnalogaudioPowersupply RTC IGT,Emergency Off Net state/statusSIMCardHost ApplicationController On/OffModuleApplicationPSUorUMTS/CDMAdiversity antennaPower for Application (VEXT)Power Indication(PWR_IND)Modem InterfaceDigitalaudioPCM or I2SCodecGSM/UMTS/CDMAGPSGPS antennaLCILow current indicationGSM/UMTS/CDMA main antennaWake-upHost WakeupGPSactive antenna supply,current limiterPowerSupplyApplication
PXS8 Hardware Interface Overview3 Application Interface29PXS8_HIO_v00.110a Page 20 of 41 2012-06-27Confidential / Preliminary3 Application InterfacePXS8 is equipped with an SMT application interface that connects to the external application. The host interface incorporates several sub-interfaces described in the following sections:• Operating modes - see Section 3.1• Power supply  - see Section 3.2• Serial interface USB - see Section 3.3• Serial interface ASC0 - Section 3.4• UICC/SIM/USIM interface - see Section 3.5• Analog audio interface - see Section 3.6• Digital audio interface (PCM or I2S) - see Section 3.7
PXS8 Hardware Interface Overview3.1 Operating Modes29PXS8_HIO_v00.110a Page 21 of 41 2012-06-27Confidential / Preliminary3.1 Operating ModesThe table below briefly summarizes the various operating modes referred to in the following chapters.Table 7:  Overview of operating modesMode FunctionNormal operation GSM / GPRS / UMTS / HSPA / CDMA SLEEPPower saving set automatically when no call is in progress and the USB connection is suspended by host or not present and no active commu-nication via ASC0. GSM / GPRS / UMTS / HSPA / CDMA IDLEPower saving disabled (see [1]: AT^SCFG "MEopMode/PwrSave",<PwrSaveMode>) or an USB connection not suspended, but no call in progress.GSM TALK/GSM DATA Connection between two subscribers is in progress. Power consump-tion depends on the GSM network coverage and several connection settings (e.g. DTX off/on, FR/EFR/HR, hopping sequences and antenna connection). The following applies when power is to be mea-sured in TALK_GSM mode: DTX off, FR and no frequency hopping.GPRS DATA GPRS data transfer in progress. Power consumption depends on net-work settings (e.g. power control level), uplink / downlink data rates and GPRS configuration (e.g. used multislot settings).EGPRS DATA EGPRS data transfer in progress. Power consumption depends on net-work settings (e.g. power control level), uplink / downlink data rates and EGPRS configuration (e.g. used multislot settings).UMTS TALK/UMTS DATA UMTS data transfer in progress. Power consumption depends on net-work settings (e.g. TPC Pattern) and data transfer rate.HSPA DATA HSPA data transfer in progress. Power consumption depends on net-work settings (e.g. TPC Pattern) and data transfer rate.CDMA TALK/CDMA DATA CDMA data transfer in progress. Power consumption depends on net-work settings and data transfer rate.Power Down Normal shutdown after sending the AT^SMSO command. Only a voltage regulator is active for powering the RTC. Software is not active. Interfaces are not accessible. Operating volt-age (connected to BATT+) remains applied.Airplane mode Airplane mode shuts down the radio part of the module, causes the module to log off from the GSM/GPRS/CDMA network and disables all AT commands whose execution requires a radio connection.Airplane mode can be controlled by AT command (see [1]).
PXS8 Hardware Interface Overview3.2 Power Supply29PXS8_HIO_v00.110a Page 22 of 41 2012-06-27Confidential / Preliminary3.2 Power SupplyPXS8 needs to be connected to a power supply at the SMT application interface - 6 lines each BATT+ and GND. There are three separate voltage domains for BATT+:• BATT+_PA1 with 2 lines for the first power amplifier supply • BATT+_PA2 with 2 lines for the second power amplifier supply • BATT+ with 2 lines for the general power management. The main power supply from an external application has to be a single voltage source and has to be expanded to three sub paths (star structure). Capacitors should be placed as close as possible to the BATT+ pads. Figure 2 shows two sample circuits (minimum requirement and recommended alternative) for decoupling capacitors for BATT+. Figure 2:  Decoupling capacitor(s) for BATT+The power supply of PXS8 must be able to provide the peak current during the uplink transmis-sion. All key functions for supplying power to the device are handled by the power management IC. It provides the following features:• Stabilizes the supply voltages for the baseband using switching regulators and low drop lin-ear voltage regulators.• Switches the module's power voltages for the power-up and -down procedures.• Delivers, across the VEXT line, a regulated voltage for an external application. This voltageis not available in Power-down mode and can be reduced via AT command to save power.• SIM switch to provide SIM power supply.BATT+BATT+BATT+_PA1BATT+_PA2222Decoupling capacitore.g. 100…220µFUltra-low ESRModuleGNDSMT interface+Minimum requirementBATT+222Decoupling capacitorse.g. 47µF X5R MLCC3xGNDBATT+BATT+_PA1BATT+_PA2ModuleSMT interfaceRecommended alternative
PXS8 Hardware Interface Overview3.3 USB Interface29PXS8_HIO_v00.110a Page 23 of 41 2012-06-27Confidential / Preliminary3.3 USB InterfacePXS8 supports a USB 2.0 High Speed (480Mbit/s) device interface that is Full Speed (12Mbit/s) compliant. The USB interface is primarily intended for use as command and data interface and for downloading firmware. The USB host is responsible for supplying the VUSB_IN line. This line is for voltage detection only. The USB part (driver and transceiver) is supplied by means of BATT+. This is because PXS8 is designed as a self-powered device compliant with the “Universal Serial Bus Specifica-tion Revision 2.0”1.Figure 3:  USB circuitTo properly connect the module's USB interface to the host a USB 2.0 compatible connector is required. Furthermore, the USB modem driver distributed with PXS8 needs to be installed.While the USB connection is active, the module will not change into SLEEP Mode. To enable switching into SLEEP mode the USB host must bring its USB interface into Suspend state. Al-so, VUSB_IN should always be kept enabled for this functionality. See “Universal Serial Bus Specification Revision 2.0“1 for a description of the Suspend state. On incoming calls PXS8 will then generate a remote wake up request to resume the USB connection (active low). As an alternative to the regular USB remote wakeup mechanism it is possible to employ the RING0 or WAKEUP line to wake up the host application. The benefit is that the RING0 or WAKEUP lines can wake up the host application in case of incoming calls or other events sig-nalized by URCs while the USB interface is suspended or shut down. 1. The specification is ready for download on http://www.usb.org/developers/docs/VBUSDPDNVREG (3V075)BATT+USB_DP2)lin. reg. GNDModuleDetection only VUSB_INUSB part1)RING0Host wakeup1) All  serial and pull-up resistors for data lines are implemented.USB_DN2)2) If the USB interface is operated in High Speed mode (480MHz), it is recommended to take special care routing the data lines USB_DP and USB_DN. Application layout should in this case implement a differential impedance of 90Ohm for proper signal integrity.WAKEUPSMT
PXS8 Hardware Interface Overview3.4 Serial Interface ASC029PXS8_HIO_v00.110a Page 24 of 41 2012-06-27Confidential / Preliminary3.4 Serial Interface ASC0PXS8 offers an 8-wire unbalanced, asynchronous modem interface ASC0 conforming to ITU-T V.24 protocol DCE signalling. The electrical characteristics do not comply with ITU-T V.28. The significant levels are 0V (for low data bit or active state) and 1.8V (for high data bit or in-active state). PXS8 is designed for use as a DCE. Based on the conventions for DCE-DTE connections it communicates with the customer application (DTE) using the following signals:• Port TXD @ application sends data to the module’s TXD0 signal line• Port RXD @ application receives data from the module’s RXD0 signal lineFigure 4:  Serial interface ASC0Features:• Includes the data lines TXD0 and RXD0, the status lines RTS0 and CTS0 and, in addition,the modem control lines DTR0, DSR0, DCD0 and RING0.• ASC0 is designed for controlling GSM/UMTS/CDMA voice calls, transferring data and forcontrolling the module with AT commands.• Full multiplexing capability allows the interface to be partitioned into virtual channels.• The RING0 signal serves to indicate incoming calls and other types of URCs (UnsolicitedResult Code). It can also be used to send pulses to the host application, for example towake up the application from power saving state. See [1] for details on how to configure theRING0 line by AT^SCFG.• Configured for 8 data bits, no parity and 1 stop bit. • ASC0 can be operated at fixed bit rates from 9600bps up to 921600bps.• Supports RTS0/CTS0 hardware flow control.• Wake up from SLEEP mode by RTS0 activation (high to low transition). Note. If the ASC0 serial interface is the application’s only interface, it is suggested to connect test points on the USB signal lines as a potential tracing possibility.
PXS8 Hardware Interface Overview3.4 Serial Interface ASC029PXS8_HIO_v00.110a Page 25 of 41 2012-06-27Confidential / PreliminaryTable 8:  DCE-DTE wiring of ASC0V.24 circuit DCE DTELine function Signal direction Line function Signal direction103 TXD0 Input TXD Output104 RXD0 Output RXD Input105 RTS0 Input RTS Output106 CTS0 Output CTS Input108/2 DTR0 Input DTR Output107 DSR0 Output DSR Input109 DCD0 Output DCD Input125 RING0 Output RING Input
PXS8 Hardware Interface Overview3.5 UICC/SIM/USIM Interface29PXS8_HIO_v00.110a Page 26 of 41 2012-06-27Confidential / Preliminary3.5 UICC/SIM/USIM InterfacePXS8 has an integrated UICC/SIM/USIM interface compatible with the 3GPP 31.102 and ETSI 102 221. This is wired to the host interface in order to be connected to an external SIM card holder. Five pads on the SMT application interface are reserved for the SIM interface. The UICC/SIM/USIM interface supports 3V and 1.8V SIM cards. The CCIN signal serves to detect whether a tray (with SIM card) is present in the card holder. Using the CCIN signal is mandatory for compliance with the GSM 11.11 recommendation if the mechanical design of the host application allows the user to remove the SIM card during oper-ation. To take advantage of this feature, an appropriate SIM card detect switch is required on the card holder. For example, this is true for the model supplied by Molex, which has been test-ed to operate with PXS8 and is part of the Cinterion reference equipment submitted for type approval. See Chapter 9 for Molex ordering numbers.Note: No guarantee can be given, nor any liability accepted, if loss of data is encountered after removing the SIM card during operation. Also, no guarantee can be given for properly initializ-ing any SIM card that the user inserts after having removed the SIM card during operation. In this case, the application must restart PXS8.Table 9:  Signals of the SIM interface (SMT application interface)Signal DescriptionGND Ground connection for SIM. Optionally a separate SIM ground line using e.g., pad J13 may be used to improve EMC.CCCLK Chipcard clockCCVCC SIM supply voltage.CCIO Serial data line, input and output.CCRST Chipcard resetCCIN Input on the baseband processor for detecting a SIM card tray in the holder. If the SIM is removed during operation the SIM interface is shut down immediately to prevent destruc-tion of the SIM. The CCIN signal is active low.The CCIN signal is mandatory for applications that allow the user to remove the SIM card during operation. The CCIN signal is solely intended for use with a SIM card. It must not be used for any other purposes. Failure to comply with this requirement may invalidate the type approval of PXS8.
PXS8 Hardware Interface Overview3.5 UICC/SIM/USIM Interface29PXS8_HIO_v00.110a Page 27 of 41 2012-06-27Confidential / PreliminaryFigure 5:  UICC/SIM/USIM interfaceThe total cable length between the SMT application interface pads on PXS8 and the pads of the external SIM card holder must not exceed 100mm in order to meet the specifications of 3GPP TS 51.010-1 and to satisfy the requirements of EMC compliance.To avoid possible cross-talk from the CCCLK signal to the CCIO signal be careful that both lines are not placed closely next to each other. A useful approach is using the GND line to shield the CCIO line from the CCCLK line.Moduleopen: Card removedclosed: Card insertedCCRSTCCVCCCCIOCCCLKCCINSIM /UICC1n220nSMT application interfaceGND
PXS8 Hardware Interface Overview3.6 Analog Audio Interface29PXS8_HIO_v00.110a Page 28 of 41 2012-06-27Confidential / Preliminary3.6 Analog Audio InterfacePXS8 has an analog audio interface with a balanced analog microphone input and a balanced analog earpiece output. A supply voltage and an analog ground connection are provided at dedicated lines.PXS8 offers eight audio modes which can be selected with the AT^SNFS command. The elec-trical characteristics of the voiceband part vary with the audio mode. For example, sending and receiving amplification, sidetone paths, noise suppression etc. depend on the selected mode and can in parts be altered with AT commands (except for mode 1).When shipped from factory, all audio parameters of PXS8 are set to audio mode 1. This is the default configuration optimised for the Votronic HH-SI-30.3/V1.1/0 handset and used for type approving the Cinterion Wireless Modules reference configuration. Audio mode 1 has fix pa-rameters which cannot be modified. To adjust the settings of the Votronic handset simply change to another audio mode.3.7 Digital Audio InterfacePXS8 supports a digital audio interface that can be employed either as pulse code modulation or as inter IC sound interface. Operation of these interface variants is mutually exclusive.
PXS8 Hardware Interface Overview4 GPS Receiver29PXS8_HIO_v00.110a Page 29 of 41 2012-06-27Confidential / Preliminary4 GPS ReceiverPXS8 integrates a GPS receiver that offers the full performance of GPS technology. The GPS receiver is able to continuously track all satellites in view, thus providing accurate satellite posi-tion data. The integrated GPS receiver supports the NMEA protocol via USB or ASC0 interface1. NMEA is a combined electrical and data specification for communication between various (marine) electronic devices including GPS receivers. It has been defined and controlled by the US-based National Marine Electronics Association. For more information on the NMEA Standard please refer to http://www.nmea.org.Depending on the receiver’s knowledge of last position, current time and ephemeris data, the receiver’s startup time (i.e., TTFF = Time-To-First-Fix) may vary: If the receiver has no knowl-edge of its last position or time, a startup takes considerably longer than if the receiver has still knowledge of its last position, time and almanac or has still access to valid ephimeris data and the precise time. By default, the GPS receiver is switched off. It has to be switched on and configured using AT commands. For more information on how to control the GPS interface via the AT command AT^SGPSC see [1].1. Using the serial ASC0 interface NMEA data is transmitted at a fixed speed of 115200bps.
PXS8 Hardware Interface Overview5 Antenna Interfaces33PXS8_HIO_v00.110a Page 30 of 41 2012-06-27Confidential / Preliminary5 Antenna Interfaces5.1 GSM/UMTS/CDMA Antenna InterfaceThe PXS8 GSM/UMTS/CDMA antenna interface comprises a main GSM/UMTS/CDMA anten-na as well as an optional UMTS/CDMA Rx diversity antenna to improve signal reliability and quality1. The interface has an impedance of 50. PXS8 is capable of sustaining a total mis-match at the antenna interface without any damage, even when transmitting at maximum RF power.The external antenna must be matched properly to achieve best performance regarding radi-ated power, modulation accuracy and harmonic suppression. Matching networks are not in-cluded on the PXS8 PCB and should be placed in the host application, if the antenna does not have an impedance of 50.Regarding the return loss PXS8 provides the following values in the active band:1. By delivery default the optional UMTS/CDMA Rx diversity antenna is configured as available for the mo-dule. To avoid negative side effects and performance degradation it is recommended to disable the di-versity antenna path if - the host application does not support a diversity antenna- the host application includes a diversity antenna - but a 3G network simulator is used for developmentand performance tests.Please refer to [1] for details on how to configure antenna settings. Table 10:  Return loss in the active bandState of module Return loss of module Recommended return loss of applicationReceive > 8dB > 12dBTransmit not applicable  > 12dBIdle < 5dB not applicable
PXS8 Hardware Interface Overview5.1 GSM/UMTS/CDMA Antenna Interface33PXS8_HIO_v00.110a Page 31 of 41 2012-06-27Confidential / Preliminary5.1.1 Antenna InstallationThe antenna is connected by soldering the antenna pads and their neighboring ground padsdirectly to the application’s PCB.The distance between the antenna pads and their neighboring GND pads has been optimizedfor best possible impedance. To prevent mismatch, special attention should be paid to thesepads on the application’ PCB.The wiring of the antenna connection, starting from the antenna pad to the application’s anten-na should result in a 50 line impedance. Line width and distance to the GND plane need tobe optimized with regard to the PCB’s layer stack. To prevent receiver desensitization due to interferences generated by fast transients like highspeed clocks on the external application PCB, it is recommended to realize the antenna con-nection line using embedded Stripline rather than Micro-Stripline technology. For type approval purposes, the use of a 50 coaxial antenna connector (U.FL-R-SMT) mightbe necessary. In this case the U.FL-R-SMT connector should be placed as close as possibleto PXS8‘s antenna pad.
PXS8 Hardware Interface Overview5.2 GPS Antenna Interface33PXS8_HIO_v00.110a Page 32 of 41 2012-06-27Confidential / Preliminary5.2 GPS Antenna InterfaceIn addition to the RF antenna interface PXS8 also has a GPS antenna interface. The GPS an-tenna installation and connector are the same as for the RF antenna interface (see Section 5.1.1). It is possible to connect active or passive GPS antennas. In either case they must have 50 Ohm impedance. The simultaneous operation of GSM/CDMA and GPS has been implemented. For electrical characteristics see Section 6.9.PXS8 provides the supply voltage VGPS for the GPS active antenna (3.05V). It has to be en-abled by software when the GPS-receiver shall becomes active, otherwise VGPS should be off (power saving). VGPS is not short circuit protected. This will have to be provided for by an ex-ternal application. The DC voltage should be fed back via ANT_GPS_DC for coupling into the GPS antenna path. Figure 6 shows the flexibility in realizing the power supply for an active GPS antenna by giving two sample circuits realizing the supply voltage for an active GPS antenna - one with short circuit protection and one with an external LDO employed.Figure 6:  Supply voltage for active GPS antennaShort circuit protection(Imax=50mA)VGPSANT_GPSActive GPS antenna10nH47pF2p2ModuleSMT interfaceANT_GPS_DCtyp 3.05V max. 300mANot short circuit protected!1uF(Optional)ESDprotection10kSupply with short circuit protectionLDOVGPSANT_GPSActive GPS antenna10nH47pF2p2ModuleSMT interfaceANT_GPS_DC1uF(Optional)ESDprotection10kEnableExternal voltageSupply with external LDO employed
PXS8 Hardware Interface Overview5.2 GPS Antenna Interface33PXS8_HIO_v00.110a Page 33 of 41 2012-06-27Confidential / PreliminaryFigure 7 shows sample circuits realizing ESD protection for a passive GPS antenna.Figure 7:  ESD protection for passive GPS antennaVGPSANT_GPSPassive GPS antenna10nH47pF2p2ModuleSMT interfaceANT_GPS_DC (Optional)ESDprotection0RNot used
PXS8 Hardware Interface Overview6 Mechanics, Mounting and Packaging35PXS8_HIO_v00.110a Page 34 of 41 2012-06-27Confidential / Preliminary6 Mechanics, Mounting and Packaging6.1 Mechanical Dimensions of PXS8Figure 8 shows a 3D view1 of PXS8 and provides an overview of the board's mechanical di-mensions. For further details see Figure 9. Length: 33mmWidth: 29mmHeight: 2mmFigure 8:  PXS8 – top and bottomview1. The coloring of the 3D view does not reflect the module’s real color.Top viewBottom view
PXS8 Hardware Interface Overview6.1 Mechanical Dimensions of PXS835PXS8_HIO_v00.110a Page 35 of 41 2012-06-27Confidential / PreliminaryFigure 9:  Dimensions of PXS8 (all dimensions in mm)Internal use; Not to be solderedPosition marker
PXS8 Hardware Interface Overview7 Sample Application37PXS8_HIO_v00.110a Page 36 of 41 2012-06-27Confidential / Preliminary7 Sample ApplicationFigure 10 shows a typical example of how to integrate an PXS8 module with an application. The audio interface demonstrates the balanced connection of microphone and earpiece. This solution is particularly well suited for internal transducers.The PWR_IND line is an open collector that needs an external pull-up resistor which connects to the voltage supply VCC µC of the microcontroller. Low state of the open collector pulls the PWR_IND signal low and indicates that the PXS8 module is active, high level notifies the Pow-er-down mode. If the module is in Power-down mode avoid current flowing from any other source into the mod-ule circuit, for example reverse current from high state external control lines. Therefore, the controlling application must be designed to prevent reverse flow. If an external level controller is required, this can be done by using for example a 5V I/O tolerant buffer/driver like a "74AVC4T245" with OE (Output Enable) controlled by PWR_IND.While developing SMT applications it is strongly recommended to provide test pointsfor certain signals resp. lines to and from the module - for debug and/or test purposes.The SMT application should allow for an easy access to these signals. For details onhow to implement test points see [4].The EMC measures are best practice recommendations. In fact, an adequate EMC strategy for an individual application is very much determined by the overall layout and, especially, the po-sition of components. Disclaimer:No warranty, either stated or implied, is provided on the sample schematic diagram shown in Figure 10 and the information detailed in this section. As functionality and compliance with na-tional regulations depend to a great amount on the used electronic components and the indi-vidual application layout manufacturers are required to ensure adequate design and operating safeguards for their products using PXS8 modules.
PXS8 Hardware Interface Overview7 Sample Application37PXS8_HIO_v00.110a Page 37 of 41 2012-06-27Confidential / PreliminaryFigure 10:  PXS8 sample application47k100kVCC µC47kEMERG_RSTPWR_INDCCCLKCCRSTCCINCCVCC220nFAGNDEPP1k1kBC847BC8471nFPXS8  ApplicationSample2222470R8FB*FB*FB*LevelController8VEXT (1.8V)1µF1µFVCCBVCCAVCC µCVDD(1.8V)100µF...220µFultra low ESRANT_DRXANT_MAINANT_GPSCurrentlimiter<60mAVGPSOE51R51R51R
PXS8 Hardware Interface Overview8 Reference Approval39PXS8_HIO_v00.110a Page 38 of 41 2012-06-27Confidential / Preliminary8 Reference Approval8.1 Reference Equipment for Type ApprovalThe Cinterion Wireless Modules reference setup submitted to type approve PXS8 is shown in Figure 11. The module (i.e., the evaluation module) is connected to the DSB75 by means of a flex cable and a special DSB75 adapter. The GSM/UMTS/CDMA/GPS test equipment is con-nected via edge mount SMA connectors soldered to the module’s antenna pads.For ESD tests and evaluation purposes, it is also possible connect the module to the GSM/UMTS/CDMA/GPSS test equipment through an SMA-to-Hirose-U.FL antenna cable and the SMA antenna connectors of the DSB75 adapter. A further option is to mount the evaluation module directly onto the DSB75 adapter’s 80-pin board-to-board connector and to connect the test equipment as shown below.Figure 11:  Reference equipment for type approvalDSB75Standard80 polig FlexPCGSM/UMTS/CDMAtest equipmentGPStest equipmentGSM/UMTS/CDMA MainRS232cableUSBcableAudio test equipmentVotronichandsetPowersupplyCOM1(ASC0)PowerGNDUSBANT3ANT2ANT1AudioUranusAudioDSB75 adapterPXS8evaluationmoduleDetail:SMA to Hirose U.FL cableUMTS/CDMA DrxGPSIf using analog audioPXS8evaluationmoduleEdge mount SMA connectorsmanually soldered to antenna pads
PXS8 Hardware Interface Overview8.2 Compliance with FCC and IC Rules and Regulations39PXS8_HIO_v00.110a Page 39 of 41 2012-06-27Confidential / Preliminary8.2 Compliance with FCC and IC Rules and Regulations The Equipment Authorization Certification for the Cinterion Wireless Modules reference appli-cation described in Section 8.1 will be registered under the following identifiers:FCC Identifier QIPPXS8Industry Canada Certification Number: 7830A-PXS8Granted to Cinterion Wireless Modules GmbH Manufacturers of mobile or fixed devices incorporating PXS8 modules are authorized to use the FCC Grants and Industry Canada Certificates of the PXS8 modules for their own final prod-ucts according to the conditions referenced in these documents. In this case, the FCC label of the module shall be visible from the outside, or the host device shall bear a second label stating "Contains FCC ID QIPPXS8" and accordingly “Contains IC 7830A-PXS8“. The integration is limited to fixed or mobile categorised host devices, where a separation distance between the antenna and any person of min. 20cm can be assured during normal operating conditions. For mobile and fixed operation configurations the antenna gain, including cable loss, must not ex-ceed the limits 3.92 dBi (850 MHz) and 2.51 dBi (1900 MHz).IMPORTANT:Manufacturers of portable applications incorporating PXS8 modules are required to have their final product certified and apply for their own FCC Grant and Industry Canada Certificate relat-ed to the specific portable mobile. This is mandatory to meet the SAR requirements for portable mobiles (see Section 1.3.1 for detail).Changes or modifications not expressly approved by the party responsible for compliance could void the user's authority to operate the equipment.Note: This equipment has been tested and found to comply with the limits for a Class B digital device, pursuant to part 15 of the FCC Rules and with Industry Canada licence-exempt RSS standard(s). These limits are designed to provide reasonable protection against harmful inter-ference in a residential installation. This equipment generates, uses and can radiate radio fre-quency energy and, if not installed and used in accordance with the instructions, may cause harmful interference to radio communications. However, there is no guarantee that interference will not occur in a particular installation. If this equipment does cause harmful interference to radio or television reception, which can be determined by turning the equipment off and on, the user is encouraged to try to correct the interference by one or more of the following measures: • Reorient or relocate the receiving antenna. • Increase the separation between the equipment and receiver. • Connect the equipment into an outlet on a circuit different from that to which the receiver is connected. • Consult the dealer or an experienced radio/TV technician for help.This Class B digital apparatus complies with Canadian ICES-003.
PXS8 Hardware Interface Overview9 Appendix41PXS8_HIO_v00.110a Page 40 of 41 2012-06-27Confidential / Preliminary9 Appendix9.1 List of Parts and AccessoriesTable 11:  List of parts and accessoriesDescription Supplier Ordering informationPXS8 Cinterion Standard module Cinterion Wireless Modules IMEI:Ordering number: L30960-N2600-A100PXS8 Evaluation Module Cinterion Ordering number: L30960-N2601-A100DSB75 Support Box Cinterion Ordering number: L36880-N8811-A100DSB75 adapter for mounting the PXS8 evaluation module Cinterion Ordering number: L30960-N2301-A100Votronic Handset VOTRONIC Votronic HH-SI-30.3/V1.1/0VOTRONIC Entwicklungs- und Produktionsgesellschaft für elek-tronische Geräte mbHSaarbrücker Str. 866386 St. IngbertGermanyPhone:  +49-(0)6 89 4 / 92 55-0Fax:  +49-(0)6 89 4 / 92 55-88Email:  contact@votronic.comSIM card holder incl. push button ejector and slide-in trayMolex Ordering numbers:  91228 91236Sales contacts are listed in Table 12.U.FL antenna connector Hirose or Molex Sales contacts are listed in Table 12 and Table 13.
PXS8 Hardware Interface Overview9.1 List of Parts and Accessories41PXS8_HIO_v00.110a Page 41 of 41 2012-06-27Confidential / PreliminaryTable 12:  Molex sales contacts (subject to change)MolexFor further information please click:http://www.molex.comMolex Deutschland GmbHOtto-Hahn-Str. 1b69190 WalldorfGermanyPhone: +49-6227-3091-0Fax: +49-6227-3091-8100Email:  mxgermany@molex.comAmerican HeadquartersLisle, Illinois 60532U.S.A.Phone: +1-800-78MOLEXFax: +1-630-969-1352Molex China DistributorsBeijing, Room 1311, Tower B, COFCO PlazaNo. 8, Jian Guo Men Nei Street, 100005BeijingP.R. ChinaPhone:  +86-10-6526-9628 Fax:  +86-10-6526-9730Molex Singapore Pte. Ltd.110, International RoadJurong Town, Singapore 629174Phone:  +65-6-268-6868Fax: +65-6-265-6044Molex Japan Co. Ltd.1-5-4 Fukami-Higashi,Yamato-City,Kanagawa, 242-8585 JapanPhone:  +81-46-265-2325Fax: +81-46-265-2365Table 13:  Hirose sales contacts (subject to change)Hirose Ltd.For further information please click: http://www.hirose.comHirose Electric (U.S.A.) Inc2688 Westhills CourtSimi Valley, CA 93065U.S.A.Phone:  +1-805-522-7958Fax: +1-805-522-3217Hirose Electric Europe B.V.German Branch:Herzog-Carl-Strasse 473760 OstfildernGermany Phone: +49-711-456002-1Fax: +49-711-456002-299Email: info@hirose.deHirose Electric Europe B.V.UK Branch:First Floor, St. Andrews House,Caldecotte Lake Business Park,Milton Keynes MK7 8LEGreat BritainPhone:  +44-1908-369060Fax: +44-1908-369078Hirose Electric Co., Ltd.5-23, Osaki 5 Chome, Shinagawa-KuTokyo 141JapanPhone:  +81-03-3491-9741Fax: +81-03-3493-2933Hirose Electric Europe B.V. Hogehillweg 81101 CC Amsterdam Z-ONetherlandsPhone:  +31-20-6557-460Fax: +31-20-6557-469

Navigation menu