Gigabyte Ga M59Sli S4 Users Manual S5(S4)_1002_i.p65
GA-M59SLI-S4 to the manual 60d32549-13aa-40e0-b2ad-8b9a8d931106
2015-01-29
: Gigabyte Gigabyte-Ga-M59Sli-S4-Users-Manual-220763 gigabyte-ga-m59sli-s4-users-manual-220763 gigabyte pdf
Open the PDF directly: View PDF
.
Page Count: 120 [warning: Documents this large are best viewed by clicking the View PDF Link!]

GA-M59SLI-S5 /
GA-M59SLI-S4
AMD Socket AM2 Processor Motherboard
User's Manual
Rev. 1003
12ME-M59SLIS5-1003R
* The WEEE marking on the product indicates this product must not be disposed of with user's other household waste
and must be handed over to a designated collection point for the recycling of waste electrical and electronic equipment!!
* The WEEE marking applies only in European Union's member states.

Motherboard
GA-M59SLI-S5 /
GA-M59SLI-S4
Jun. 8, 2006
Jun. 8, 2006
Motherboard
GA-M59SLI-S5 / GA-M59SLI-S4
Copyright
© 2006 GIGA-BYTE TECHNOLOGY CO., LTD. All rights reserved.
The trademarks mentioned in the manual are legally registered to their respective companies.
Notice
The written content provided with this product is the property of Gigabyte.
No part of this manual may be reproduced, copied, translated, or transmitted in any form or by any
means without Gigabyte's prior written permission. Specifications and features are subject to
change without prior notice.
Product Manual Classification
In order to assist in the use of this product, Gigabyte has categorized the user manual in the
following:
For quick installation, please refer to the "Hardware Installation Guide" included with the
product.
For detailed product information and specifications, please carefully read the
"Product User Manual".
For detailed information related to Gigabyte's unique features, please go to the
"Technology Guide" section on Gigabyte's website to read or download the information
you need.
For more product details, please click onto Gigabyte's website at www.gigabyte.com.tw

- 4 -
Table of Contents
Item Checklist ................................................................................................................. 6
Optional Accessories ...................................................................................................... 6
GA-M59SLI-S5 Motherboard Layout ............................................................................. 7
GA-M59SLI-S4 Motherboard Layout ............................................................................. 8
Block Diagram ................................................................................................................ 9
Chapter 1 Hardware Installation ...................................................................................11
1-1 Considerations Prior to Installation ................................................................... 11
1-2 Feature Summary .......................................................................................... 12
1-3 Installation of the CPU and CPU Cooler ....................................................... 15
1-3-1 Installation of the CPU ......................................................................................... 15
1-3-2 Installation of the CPU Cooler ............................................................................ 16
1-4 Installation of Memory .................................................................................... 17
1-5 Installation of Expansion Cards ...................................................................... 19
1-6 Setup of SLI (Scalable Link Interface) Configuration ....................................... 20
1-7 I/O Back Panel Introduction ........................................................................... 23
1-8 Connectors Introduction .................................................................................. 24
Chapter 2 BIOS Setup ................................................................................................ 37
The Main Menu (For example: BIOS Ver. : F2) ....................................................... 38
2-1 Standard CMOS Features ............................................................................. 40
2-2 Advanced BIOS Features .............................................................................. 43
2-3 Integrated Peripherals ..................................................................................... 45
2-4 Power Management Setup ............................................................................. 49
2-5 PnP/PCI Configurations ................................................................................. 51
2-6 PC Health Status ........................................................................................... 52
2-7 MB Intelligent Tweaker(M.I.T.) ....................................................................... 53
2-8 Load Fail-Safe Defaults ................................................................................... 56
2-9 Load Optimized Defaults ................................................................................. 56
2-10 Set Supervisor/User Password ..................................................................... 57
2-11 Save & Exit Setup ......................................................................................... 58
2-12 Exit Without Saving ....................................................................................... 58

- 5 -
Chapter 3 Drivers Installation ...................................................................................... 61
3-1 Install Chipset Drivers .................................................................................... 61
3-2 Software Applications ..................................................................................... 62
3-3 Driver CD Information .................................................................................... 62
3-4 Hardware Information ..................................................................................... 63
3-5 Contact Us ..................................................................................................... 63
Chapter 4 Appendix ................................................................................................... 65
4-1 Unique Software Utilities ................................................................................ 65
4-1-1 EasyTune 5 Introduction ..................................................................................... 65
4-1-2 Xpress Recovery2 Introduction ......................................................................... 66
4-1-3 Flash BIOS Method Introduction ........................................................................ 68
4-1-4 Configuring SATA Hard Drive(s) ........................................................................ 79
A. nVIDIA® nForce 590SLI Southbridge ......................................................................... 79
B. GIGABYTE SATA2 Controller .................................................................................. 92
4-1-5 2- / 4- / 6- / 8- Channel Audio Function Introduction .................................... 104
A. Realtek ALC888DD CODEC ................................................................................. 104
B. Realtek ALC883 CODEC ....................................................................................... 111
4-2 Troubleshooting .............................................................................................. 116
Only for GA-M59SLI-S5.
Only for GA-M59SLI-S4.

- 6 -
Item Checklist
IDE Cable x 1 & FDD Cable x 1
SATA 3Gb/s Cable x 4
eSATA adapter package x 1
I/O Shield
SLI Bridge (GC-DGBR2-RH) x 1
Retention Bracket x 1
* The items listed above are for reference only, and are subject to change without notice.
Optional Accessories
2 Ports USB2.0 Cable (Part Number: 12CR1-1UB030-51/R)
4 Ports USB2.0 Cable (Part Number: 12CR1-1UB030-21/R)
2 Ports IEEE1394 Cable (Part Number: 12CF1-1IE008-01R)
Only for GA-M59SLI-S5.

- 7 -
GA-M59SLI-S5 Motherboard Layout
KB_MS
R_1394
LPT
ATX
Socket AM2
COMA
SPDIF_I
CODEC
F_PANEL
FDD
CD_IN
GA-M59SLI-S5
IDE1
F1_1394
nVIDIA®
nForce 590SLI
Southbridge
PWR_LED
CLR_CMOS
SYS_FAN
F2_1394
PCI1
PCI2
TSB43AB23
JSATAII0
IT8716
JSATAII1
ATX_12V_2X
CPU_FAN
nVIDIA®
nForce 590SLI
Northbridge
USB
LAN1
F_AUDIO
BAT
PCIE_16_1
DDRII1
DDRII2
DDRII3
DDRII4
PCIE_2
AUDIO
Marvell
88E1116
PCIE_1
OPTICAL
USB
LAN2
PWR_FAN
SATAII5
SATAII4
Backup
BIOS
Main
BIOS
SATAII0
SATAII1
SATAII2
SATAII3
F_USB3
F_USB2
F_USB1
GIGABYTE
SATA2
PCIE_8
PCIE_16_2
TPM
PCIE_12V
Marvell
88E1116
CI

- 8 -
GA-M59SLI-S4 Motherboard Layout
KB_MS
R_1394
LPT
ATX
Socket AM2
COMA
SPDIF_I
CODEC
F_PANEL
FDD
CD_IN
GA-M59SLI-S4
IDE1
F1_1394
PWR_LED
CLR_CMOS
F2_1394
PCI1
PCI2
TSB43AB23
IT8716
ATX_12V
CPU_FAN
USB
F_AUDIO
BAT
PCIE_16_1
PCIE_2
AUDIO
Marvell
88E1116
PCIE_1
OPTICAL
USB
LAN2
SATAII5
SATAII4
BIOS
SATAII0
SATAII1
SATAII2
SATAII3
F_USB3
F_USB2
F_USB1
PCIE_8
PCIE_16_2 SB_FAN
DDRII1
DDRII2
DDRII3
DDRII4
CI
SYS_FAN
PWR_FAN
nVIDIA®
nForce 590SLI
Southbridge
nVIDIA®
nForce 590SLI
Northbridge
PCIE_12V

- 9 -
Block Diagram
Only for GA-M59SLI-S5.
AMD
Socket AM2
CPU
CPUCLK+/-(200MHz)
Hyper Transport Bus
2 PCI
PCI Bus
2 PCI Express x1
3 IEEE1394a
TSB43AB23
DDRII 800/667/533/400MHz DIMM
Dual Channel Memory
6 SATA 3Gb/s
10 USB
Ports
Line-Out
MIC
CODEC
Line-In
SPDIF In
SPDIF Out
Side Speaker Out
Center/Subwoofer Speaker Out
Surround Speaker Out
ATA33/66/100/133
IDE Channel
PCI-ECLK
(100MHz)
PCI-ECLK
(100MHz)
PCI Express x16
Hyper Transport Bus
LAN1
RJ45
LPC BUS
Floppy
LPT Port
COM Port
PS/2 KB/Mouse
2 SATA 3Gb/s
GIGABYTE
SATA2
nVIDIA®
nForce 590SLI
Northbridge
PCI Express x1 Dual BIOS
PCI Express x8
IT8716
PCI Express x16
nVIDIA®
nForce 590SLI
Southbridge
LAN2
RJ45
Marvell
88E1116 x 2

- 10 -

Hardware Installation- 11 -
English
1-1 Considerations Prior to Installation
Preparing Your Computer
The motherboard contains numerous delicate electronic circuits and components which can
become damaged as a result of electrostatic discharge (ESD). Thus, prior to installation, please
follow the instructions below:
1. Please turn off the computer and unplug its power cord.
2. When handling the motherboard, avoid touching any metal leads or connectors.
3. It is best to wear an electrostatic discharge (ESD) cuff when handling electronic components
(CPU, RAM).
4. Prior to installing the electronic components, please have these items on top of an antistatic
pad or within a electrostatic shielding container.
5. Please verify that the power supply is switched off before unplugging the power supply connector
from the motherboard.
Installation Notices
1. Prior to installation, please do not remove the stickers on the motherboard. These stickers
are required for warranty validation.
2. Prior to the installation of the motherboard or any hardware, please first carefully read the
information in the provided manual.
3. Before using the product, please verify that all cables and power connectors are connected.
4. To prevent damage to the motherboard, please do not allow screws to come in contact with
the motherboard circuit or its components.
5. Please make sure there are no leftover screws or metal components placed on the motherboard
or within the computer casing.
6. Please do not place the computer system on an uneven surface.
7. Turning on the computer power during the installation process can lead to damage to system
components as well as physical harm to the user.
8. If you are uncertain about any installation steps or have a problem related to the use of the
product, please consult a certified computer technician.
Instances of Non-Warranty
1. Damage due to natural disaster, accident or human cause.
2. Damage as a result of violating the conditions recommended in the user manual.
3. Damage due to improper installation.
4. Damage due to use of uncertified components.
5. Damage due to use exceeding the permitted parameters.
6. Product determined to be an unofficial Gigabyte product.
Chapter 1Hardware Installation

GA-M59SLI-S5/GA-M59SLI-S4 Motherboard - 12 -
English
1-2 Feature Summary
CPU Socket AM2 for AMD AthlonTM 64 FX / AthlonTM 64 X2 Dual-Core /
AthlonTM 64 / SempronTM processor
Front Side Bus 2000MHz
Chipset nVIDIA® nForce 590SLI
LAN Marvell 88E1116 phy (10/100/1000 Mbit)
Audio Onboard Realtek ALC888DD CODEC chip
Onboard Realtek ALC883 CODEC chip
Supports High Definition Audio
Supports 2 / 4 / 6 / 8 channel audio
Supports SPDIF In / Out connection
Supports CD In connection
IEEE 1394 Onboard T.I. TSB43AB23 chip
3 IEEE1394a ports
Storage nVIDIA® nForce 590SLI Southbridge
- 1 FDD connector, allowing connection of 2 FDD device
- 1 IDE connectors (IDE1) with UDMA 33/ATA 66/ATA 100/ATA 133
support, allowing connection of 2 IDE devices
- 6 SATA 3Gb/s connectors (SATAII0, SATAII1, SATAII2, SATAII3, SATAII4
, SATAII5), allowing connection of 6 SATA 3Gb/s devices
- Supports data striping (RAID 0), mirroring (RAID 1), striping+mirroring
(RAID 0+1), RAID 5 and JBOD for Serial ATA
GIGABYTE SATA2 Controller
- 2 SATA 3Gb/s connectors (JSATAII0, JSATAII1), allowing
connection of 2 SATA 3Gb/s devices
- Supports data striping (RAID 0), mirroring (RAID 1) and JBOD for
Serial ATA
O.S Support Microsoft Windows 2000/XP
Memory 4 DDRII DIMM memory slots (supports up to 16GB memory)(Note 1)
Supports dual channel DDRII 800/667/533/400 DIMMs
Supports 1.8V DDRII DIMMs
Supports ECC Memory
Expanstion Slots 2 PCI Express x16 slot
1 PCI Express x8 slot
2 PCI Express x1 slots
2 PCI slots
Only for GA-M59SLI-S5.
Only for GA-M59SLI-S4.

Hardware Installation- 13 -
English
Internal Connectors 1 24-pin ATX power connector
1 8-pin ATX 12V power connector
1 4-pin ATX 12V power connector
1 4-pin PCIE 12V power connector
1 floppy connector
1 IDE connector
8 SATA 3Gb/s connectors
6 SATA 3Gb/s connectors
1 CPU fan connector
1 system fan connector
1 power fan connector
1 SB fan connector
1 front panel connector
1 front audio connector
1 CD In connector
1 power LED connector
3 USB 2.0/1.1 connectors for additional 6 USB 2.0/1.1 ports by cables
2 IEEE1394a connectors for additional 2 ports by cable
1 SPDIF In connector
1 TPM connector
Rear Panel I/O 1 PS/2 keyboard port
1 PS/2 mouse port
1 parallel port
1 IEEE1394a port
1 OPTICAL port
1 COMA port
4 USB 2.0/1.1 ports
2 RJ-45 ports
1 RJ-45 port
6 audio jacks (Line In / Line Out / MIC In/Surround Speaker Out (Rear
Speaker Out)/Center/Subwoofer Speaker Out/Side Speaker Out)
I/O Control IT8716 chip
Hardware Monitor System voltage detection
CPU / System temperature detection
CPU / Power / System fan speed detection
System / CPU warning temperature
CPU fan failure warning
Supports CPU Smart Fan function(Note 2)
BIOS 2 4Mbit flash ROM
Use of licensed AWARD BIOS
Supports DualBIOS
Only for GA-M59SLI-S5.
Only for GA-M59SLI-S4.

GA-M59SLI-S5/GA-M59SLI-S4 Motherboard - 14 -
English
Additional Features Supports @BIOS
Supports Download Center
Supports Q-Flash
Supports EasyTune(Note 3)
Supports Xpress Install
Supports Xpress Recovery2
Supports Xpress BIOS Rescue
Bundle Software Norton Internet Security (OEM version)
Form Factor ATX form factor; 30.5cm x 24.4cm
(Note 1) Due to the limitation of Windows 32-bit operating system, when more than 4GB of physical
memory is installed, the actual memory available for the operating system will be less than
4GB; Windows 64-bit operating system doesn't have such limitation.
(Note 2) Whether the CPU Smart FAN Control function is supported will depend on the CPU you install.
(Note 3) EasyTune functions may vary depending on different motherboards.
(Note 4) Silent Pipe only for GA-M59SLI-S5.

Hardware Installation- 15 -
English
1-3 Installation of the CPU and CPU Cooler
1-3-1 Installation of the CPU
Fig.1
Position lever at a 90 degree angle.
Please use extra care when installing the CPU. The CPU will not fit if positioned incorrectly.
Rather than applying force, please change the positioning of the CPU.
Before installing the CPU, please comply with the following conditions:
1. Please make sure that the motherboard supports the CPU.
2. Please take note of the pin 1 marking (the small triangle) on the CPU. If you install the
CPU in the wrong direction, the CPU will not insert properly. If this occurs, please
change the insert direction of the CPU.
3. Please add an even layer of heat paste between the CPU and CPU cooler.
4. Please make sure the CPU cooler is installed on the CPU prior to system use,
otherwise overheating and permanent damage of the CPU may occur.
5. Please set the CPU host frequency in accordance with the processor specifications. It
is not recommended that the system bus frequency be set beyond hardware specifica-
tions since it does not meet the required standards for the peripherals. If you wish to set
the frequency beyond the proper specifications, please do so according to your hard-
ware specifications including the CPU, graphics card, memory, hard drive, etc.
Fig.2
Pin 1 location on the socket and CPU.
Gently place the CPU into position making sure that the CPU pins fit
perfectly into their holes. Once the CPU is positioned into its socket,
place one finger down on the middle of the CPU and gently press the
metal lever back into its original position.
Pin One
Check the CPU pins to see that none are bent. Move the socket lever to the unlocked position as shown
in Fig. 1 (90o to the plane of the motherboard) prior to inserting the CPU. The pin 1 location is designated
on the CPU by a small triangle that corresponds to a triangle marking on the socket as shown in
Fig. 2. Align the CPU to the socket and gently lower it into place. Do not force the CPU into the socket.
Socket Lever

GA-M59SLI-S5/GA-M59SLI-S4 Motherboard - 16 -
English
1-3-2 Installation of the CPU Cooler
The CPU cooler may adhere to the CPU as a result of hardening of the heat paste. To prevent
such an occurrence, it is suggested that either thermal tape rather than heat paste be used for
heat dissipation or using extreme care when removing the CPU cooler.
Fig.1
Before installing the CPU cooler, please first add an even layer of heat
paste on the surface of the CPU. Install all the CPU cooler components
(Please refer to the cooler manual for detailed installation instructions).
Fig.2
Please connect the CPU cooler power connector to the CPU_FAN
connector located on the motherboard so that the CPU cooler can
properly function to prevent CPU overheating.

Hardware Installation- 17 -
English
Before installing the memory modules, please comply with the following conditions:
1. Please make sure that the memory used is supported by the motherboard. It is
recommended that memory of similar capacity, specifications and brand be used.
2. Before installing or removing memory modules, please make sure that the computer power
is switched off to prevent hardware damage.
3. Memory modules have a foolproof insertion design. A memory module can be installed in
only one direction. If you are unable to insert the module, please switch the direction.
1-4 Installation of Memory
The motherboard supports DDRII memory modules, whereby BIOS will automatically detect memory
capacity and specifications. Memory modules are designed so that they can be inserted only in one direction.
The memory capacity used can differ with each slot.
Fig.1
The DIMM socket has a notch, so the DIMM memory module can
only fit in one direction. Insert the DIMM memory module vertically
into the DIMM socket. Then push it down.
Fig.2
Close the plastic clip at both edges of the DIMM sockets to lock the
DIMM module.
Reverse the installation steps when you wish to remove the
DIMM module.
Notch
DDRII

GA-M59SLI-S5/GA-M59SLI-S4 Motherboard - 18 -
English
Dual Channel Memory Configuration
The GA-M59SLI-S5/GA-M59SLI-S4 supports the Dual Channel Technology.
After operating the Dual Channel Technology, the bandwidth of Memory Bus
will double.
Due to CPU limitation, if you wish to operate the Dual Channel Technology, follow the guidelines below:
1. Dual Channel mode will not be enabled if only one memory module is installed.
2. To enable Dual Channel mode with two memory modules (it is recommended to use memory
modules of identical brand, size, chips, and speed), you must install them into DIMM sockets
of the same color.
3. To enable Dual Channel mode with four memory modules, it is recommended to use memory
modules of identical brand, size, chips, and speed.
The following is a Dual Channel Memory configuration table:
(DS: Double Side, SS: Single Side, "--": Empty)
DIMM Socket
2 memory modules
4 memory modules
DDRII1 DDRII2 DDRII 3 DDRII4
DS/SS DS/SS - - - -
- - - - DS/SS DS/SS
DS/SS DS/SS DS/SS DS/SS
If two memory modules are to be used to achieve Dual Channel mode, we recommend
installing them in DDRII1 and DDRII2 DIMM sockets.

Hardware Installation- 19 -
English
1-5 Installation of Expansion Cards
You can install your expansion card by following the steps outlined below:
1. Read the related expansion card's instruction document before install the expansion card into the
computer.
2. Remove your computer's chassis cover, screws and slot bracket from the computer.
3. Press the expansion card firmly into expansion slot in motherboard.
4. Be sure the metal contacts on the card are indeed seated in the slot.
5. Replace the screw to secure the slot bracket of the expansion card.
6. Replace your computer's chassis cover.
7. Power on the computer, if necessary, setup BIOS utility of expansion card from BIOS.
8. Install related driver from the operating system.
Installing a PCI Express x16 expansion card:
Please align the VGA card to the onboard
PCI Express x16 slot and press firmly
down on the slot. Make sure your VGA
card is locked by the latch at the end of
the PCI Express x16 slot. When you try
uninstall the VGA card, please press the
latch as the picture to the left shows to
release the card.

GA-M59SLI-S5/GA-M59SLI-S4 Motherboard - 20 -
English
1-6 Setup of SLI (Scalable Link Interface) Configuration
nVIDIA® nForce 590SLI offers blistering graphics performance with the ability to bridge two NVIDIA SLI-
ready PCI ExpressTM graphics cards! The SLI design takes advantage of the increased bandwidth of
the PCI ExpressTM bus architecture, features hardware and software innovations within NVIDIA GPU
(graphics processing unit) and the nVIDIA® nForce 590SLI chipset. Together, the NVIDIA SLI technolo-
gies work seamlessly to allow two graphics cards to operate in parallel and share the work and deliver
heart-pounding PC performance. This section introduces steps to configure an SLI system on the GA-
M59SLI-S5/GA-M59SLI-S4 motherboard.
The exact power requirements will depend on your overall system configurations. You need
a power supply that can provide sufficient and stable power to your system and the two SLI
graphics cards. Please refer to the table below to check recommended power for different
systems.
Before you begin--
If you wish to enable the SLI function, install two SLI-ready graphics cards into the PCIE_16_1 and
PCIE_16_2 slots. (It is recommended to use graphics cards of identical brand and chips. For example:
GIGABYTE GV-NX76T256D-RH).
If you want to set up a single graphics card system, we recommend installing the graphics card on the
PCIE_16_1 slot to ensure better display performance.

Hardware Installation- 21 -
English
place this part on the top of
the bridge connector.
retention bracket
Connecting Two Graphics Cards:
Step 1: Observe the steps in "1-5 Installation of Expansion Cards"
and install two SLI-ready graphics cards of the same
model to the PCIE_16_1 and PCIE_16_2 slots.
Step 3: In order to securely fix the bridge connector beween the
two cards, you must install the retention bracket in-
cluded with the motherboard and secure the retention
bracket to the chassis back panel with a screw.
Gold edge connector on the top
of graphics card
Female slots on the bridge
connector
Step 2: Insert the SLI bridge (the GC-DGBR2-RH) to the SLI gold
edge connector on top of both cards. Make sure the two
mini female slots on the bridge connector securely fit
onto the SLI gold edge connetors of both cards.
Step 4: Plug the display cable into the graphics card which on
the PCIE_16_1 slot(Note).
(Note) If you want to enable the SLI function, you must plug the display cable into the graphics card
which on the PCIE_16_1 slot.

GA-M59SLI-S5/GA-M59SLI-S4 Motherboard - 22 -
English
Graphics Card Driver Setting:
Step 1: After installing graphics card driver in operating system,
right-click the NVIDIA icon in your system tray and then
select NVIDIA Display. The NVIDIA control panel will
appear.
Step 2: Select SLI multi-GPU from the side menu and then
select the Enable SLI multi-GPU checkbox in the SLI
multi-GPU dialog box. System will restart after you
click Apply. Then the SLI configuration is completed.

Hardware Installation- 23 -
English
1-7 I/O Back Panel Introduction
PS/2 Keyboard and PS/2 Mouse Connector
To install a PS/2 port keyboard and mouse, plug the mouse to the upper port (green) and the
keyboard to the lower port (purple).
Parallel Port
The parallel port allows connection of a printer, scanner and other peripheral devices.
IEEE 1394 Port (4 Pins Connector)
Serial interface standard set by Institute of Electrical and Electronics Engineers, which has features
like high speed, high bandwidth and hot plug.
OPTICAL
The SPDIF optical output port is capable of providing digital audio to external speakers or com
pressed AC3 data to an external Dolby Digital Decoder via an optical cable.
COMA (Serial Port)
Connects to serial-based mouse or data processing devices.
LAN Port
The provided Internet connection is Gigabit Ethernet , providing data transfer speeds of 10/100/
1000Mbps.
USB port
Before you connect your device(s) into USB connector(s), please make sure your device(s) such
as USB keyboard, mouse, scanner, zip, speaker...etc. have a standard USB interface.
Also make sure your OS supports USB controller. If your OS does not support USB controller,
please contact OS vendor for possible patch or driver upgrade. For more information please
contact your OS or device(s) vendors.
Center/Subwoofer Speaker Out
The default Center/Subwoofer Speaker Out jack. Center/Subwoofer speakers can be connected to
Center/Subwoofer Speaker Out jack.
Surround Speaker Out (Rear Speaker Out)
The default Surround Speaker Out (Rear Speaker Out) jack. Rear surround speakers can be
connected to Surround Speaker Out (Rear Speaker Out) jack.
Side Speaker Out
The default Side Speaker Out jack. Surround side speakers can be connected to Side Speaker Out
jack.
Line In
The default Line In jack. Devices like CD-ROM, walkman etc. can be connected to Line In jack.
Only for GA-M59SLI-S5.

GA-M59SLI-S5/GA-M59SLI-S4 Motherboard - 24 -
English
1-8 Connectors Introduction
Line Out (Front Speaker Out)
The default Line Out (Front Speaker Out) jack. Stereo speakers, earphone or front surround
speakers can be connected to Line Out (Front Speaker Out) jack.
MIC In
The default MIC In jack. Microphone must be connected to MIC In jack.
In addition to the default speakers settings, the ~ audio jacks can be reconfigured to
perform different functions via the audio software. Only microphones still MUST be connected
to the default Mic In jack ( ). Please refer to the 2-/4-/6-/8- channel audio setup steps for
detailed software configuration information.
1) ATX_12V_2X / ATX_12V
2) ATX (Power Connector)
3) PCIE_12V
4) CPU_FAN
5) SYS_FAN
6) PWR_FAN
7) SB_FAN
8) IDE1
9) FDD
10) SATAII0 / SATAII1 /S ATAII2 / SATAII3 /
SATAII4 / SATAII5
11) JSATAII0 / JSATAII1
12) PWR_LED
13) F_PANEL
14) F_AUDIO
15) CD_IN
16) SPDIF_I
17) F_USB1 / F_USB2 / F_USB3
18) F1_1394 / F2_1394
19) TPM
20) CLR_CMOS
21) CI
22) BAT
Only for GA-M59SLI-S5. Only for GA-M59SLI-S4.
1
3
2
17
13
5
6
15
4
16
19
11 12
8
14
9
10
18
20
22
21
7

Hardware Installation- 25 -
English
Pin No. Definition
1 GND
2 GND
3 +12V
4 +12V
1/2) ATX_12V_2X / ATX_12V (Power Connector)
ATX (Power Connector)
With the use of the power connector, the power supply can supply enough stable power to all
the components on the motherboard. Before connecting the power connector, please make sure
that all components and devices are properly installed. Align the power connector with its
proper location on the motherboard and connect tightly.
The ATX_12V power connector mainly supplies power to the CPU. If the ATX_12V power
connector is not connected, the system will not start. If you wish to install a power supply
that provides ATX 12V (2x2) power connector, please connect the ATX 12V power connector to
the Pin 3, 4, 7, 8 of the onboard ATX_12V power connector according to the pin definitions.
Caution! Please use a power supply that is able to handle the system voltage requirements. It
is recommended that a power supply that can withstand high power consumption be used
(400W or greater). If a power supply is used that does not provide the required power, the result
can lead to an unstable system or a system that is unable to start. If you use a power supply
that provides a 24-pin ATX or 2x4 pin ATX 12V power connector, please remove the small
cover on the power connector on the motherboard before plugging in the power cord ; otherwise,
please do not remove it.
Only for GA-M59SLI-S5. Only for GA-M59SLI-S4.
5
1
8
4
3
1
4
2
Pin No. Definition
1 GND
2 GND
3 GND
4 GND
5 +12V
6 +12V
7 +12V
8 +12V
ATX_12V_2X
ATX_12V

GA-M59SLI-S5/GA-M59SLI-S4 Motherboard - 26 -
English
ATX (Power Connector)
13 1
24 12
Pin No. Definition
13 3.3V
14 -12V
15 GND
16 PS_ON(soft On/Off)
17 GND
18 GND
19 GND
20 -5V
21 +5V
22 +5V
23 +5V (Only for 24-pin ATX)
24 GND(Only for 24-pin ATX)
Pin No. Definition
1 3.3V
2 3.3V
3 GND
4 +5V
5 GND
6 +5V
7 GND
8 Power Good
9 5V SB(stand by +5V)
10 +12V
11 +12V(Only for 24-pin ATX)
12 3.3V(Only for 24-pin ATX)

Hardware Installation- 27 -
English
3) PCIE_12V (Power Connector)
The PCIE_12V power connector supplies extra power to the PCIE x16 slot. Connect this
connector depending on your system requirements.
PIin No. Definition
1NC
2 GND
3 GND
4 +12V
1
4/5/6) CPU_FAN / SYS_FAN / PWR_FAN (Cooler Fan Power Connector)
The cooler fan power connector supplies a +12V power voltage via a 3-pin/4-pin (only for
CPU_FAN) power connector and possesses a foolproof connection design.
Most coolers are designed with color-coded power connector wires. A red power connector
wire indicates a positive connection and requires a +12V power voltage. The black connector
wire is the ground wire (GND).
Remember to connect the CPU/system fan cable to the CPU_FAN/SYS_FAN connector to prevent
CPU damage or system hanging caused by overheating.
Pin No. Definition
1 GND
2 +12V
3 Sense
4 Speed Control
(Only for CPU_FAN)
1
1
CPU_FAN
SYS_FAN/PWR_FAN

GA-M59SLI-S5/GA-M59SLI-S4 Motherboard - 28 -
English
8) IDE1 (IDE Connector)
An IDE device connects to the computer via an IDE connector. One IDE connector can connect to one
IDE cable, and the single IDE cable can then connect to two IDE devices (hard drive or optical drive). If
you wish to connect two IDE devices, please set the jumper on one IDE device as Master and the other
as Slave (for information on settings, please refer to the instructions located on the IDE device).
Before attaching the IDE cable, please take note of the foolproof groove in the IDE connector.
2
40
1
39
7) SB_FAN (Chip Fan Connector)
If you installed wrong direction, the chip fan will not work. Sometimes will damage the chip fan.
(Usually black cable is GND)
Pin No. Definition
1 +12V
2 GND
1
Only for GA-M59SLI-S4.

Hardware Installation- 29 -
English
Pin No. Definition
1 GND
2 TXP
3 TXN
4 GND
5 RXN
6 RXP
7 GND
10) SATAII0 / SATAII1 / SATAII2 / SATAII3 / SATAII4 / SATAII5 (SATA 3Gb/s Connectors,
Controlled by nVIDIA® nForce 590SLI Southbridge)
11) JSATAII0 / JSATAII1 (SATA 3Gb/s Connectors, Controlled by GIGABYTE SATA2)
SATA 3Gb/s can provide up to 300MB/s transfer rate. Please refer to the BIOS setting for the
SATA 3Gb/s and install the proper driver in order to work properly.
17
71
SATAII5
SATAII4
17
71
SATAII3
SATAII2
17
71
SATAII1
SATAII0
1
7
JSATAII1
1
7
JSATAII0
Only for GA-M59SLI-S5.
9) FDD (FDD Connector)
The FDD connector is used to connect the FDD cable while the other end of the cable connects to the
FDD drive. The types of FDD drives supported are: 360KB, 720KB, 1.2MB, 1.44MB and 2.88MB.
Before attaching the FDD cable, please take note of the foolproof groove in the FDD connector.
1
2
33
34

GA-M59SLI-S5/GA-M59SLI-S4 Motherboard - 30 -
English
13) F_PANEL (Front Panel Jumper)
Please connect the power LED, PC speaker, reset switch and power switch etc of your chassis
front panel to the F_PANEL connector according to the pin assignment below.
1
2
19
20
HD-
HD+
RES+
RES-
NC
IDE Hard Disk Active LED
Reset Switch
SPEAK-
MSG-
MSG+
PW-
PW+
Message LED/
Power/
Sleep LED
Speaker Connector
SPEAK+
Power
Switch
HD (IDE Hard Disk Active LED) Pin 1: LED anode(+)
(Blue) Pin 2: LED cathode(-)
SPEAK (Speaker Connector) Pin 1: Power
(Amber) Pin 2- Pin 3: NC
Pin 4: Data(-)
RES (Reset Switch) Open: Normal
(Green) Close: Reset Hardware System
PW (Power Switch) Open: Normal
(Red) Close: Power On/Off
MSG (Message LED/Power/Sleep LED) Pin 1: LED anode(+)
(Yellow) Pin 2: LED cathode(-)
NC ( Purple) NC
12) PWR_LED
The PWR_LED connector is connected with the system power indicator to indicate whether the
system is on/off. It will blink when the system enters suspend mode.
Pin No. Definition
1 MPD+
2 MPD-
3 MPD-
1

Hardware Installation- 31 -
English
14) F_AUDIO (Front Audio Connector)
This connector supports either HD (High Definition) or AC97 front panel audio module. If you wish
to use the front audio function, connect the front panel audio module to this connector. Check the pin
assignments carefully while you connect the front panel audio module. Incorrect connection
between the module and connector will make the audio device unable to work or even damage it.
For optional front panel audio module, please contact your chassis manufacturer.
By default, the audio driver is configured to support HD Audio. To connect an AC97 front panel
audio module to this connector, please refer to the instructions on Page 106 about the software
settings.
AC'97 Audio:
HD Audio:
1
2
910
Pin No. Definition
1 MIC
2 GND
3 MIC Power
4NC
5 Line Out (R)
6NC
7NC
8 No Pin
9 Line Out (L)
10 NC
Pin No. Definition
1 MIC2_L
2 GND
3 MIC2_R
4 -ACZ_DET
5 LINE2_R
6 FSENSE1
7 FAUDIO_JD
8 No Pin
9 LINE2_L
10 FSENSE2

GA-M59SLI-S5/GA-M59SLI-S4 Motherboard - 32 -
English
16) SPDIF_I (SPDIF In)
Use SPDIF IN feature only when your device has digital output function.
Be careful with the polarity of the SPDIF_IN connector. Check the pin assignment carefully while
you connect the SPDIF cable, incorrect connection between the cable and connector will make the
device unable to work or even damage it. For optional SPDIF cable, please contact your local
dealer.
Pin No. Definition
1 Power
2 SPDIFI
3 GND
1
15) CD_IN (CD In Connector)
Connect CD-ROM or DVD-ROM audio out to the connector.
Pin No. Definition
1 CD-L
2GND
3GND
4 CD-R
1

Hardware Installation- 33 -
English
19
210
18) F1_1394 / F2_1394(IEEE 1394 Connector)
Serial interface standard set by Institute of Electrical and Electronics Engineers, which has features
like high speed, highbandwidth and hot plug. Be careful with the polarity of the IEEE1394 connector.
Check the pin assignment carefully while you connect the IEEE1394 cable, incorrect connection
between the cable and connector will make the device unable to work or even damage it. For
optional IEEE1394 cable, please contact your local dealer.
Pin No. Definition
1TPA+
2TPA-
3 GND
4 GND
5 TPB+
6 TPB-
7 Power (12V)
8 Power (12V)
9 No Pin
10 GND
17) F_USB1/F_USB2/F_USB3 (Front USB Connectors)
Be careful with the polarity of the front USB connector. Check the pin assignment carefully while you
connect the front USB cable, incorrect connection between the cable and connector will make the
device unable to work or even damage it. For optional front USB cable, please contact your local
dealer.
Pin No. Definition
1 Power (5V)
2 Power (5V)
3 USB DX-
4 USB Dy-
5 USB DX+
6 USB Dy+
7 GND
8 GND
9 No Pin
10 NC
2
10
1
9

GA-M59SLI-S5/GA-M59SLI-S4 Motherboard - 34 -
English
Open: Normal
Short: Clear CMOS
20) CLR_CMOS (Clear CMOS)
You may clear the CMOS data to its default values by this header. To clear CMOS, temporarily
short the two pins. Default doesn't include the jumper to avoid improper use of this header.
19) TPM Connector (Trusted Platform Module)
Please contact your nearest dealer for optional TPM cable.
Pin No. Definition
1 LCLK
2 GND
3 LFRAME
4 No Pin
5 LRESET
6 VCC5
7 LAD3
8 LAD2
9 VCC3
10 LAD1
Pin No. Definition
11 LAD0
12 GND
13 RSVO
14 RSV1
15 SB3V
16 SERIRQ
17 GND
18 CLKRUN
19 LPCPD
20 RSV2
Only for GA-M59SLI-S5.
1
2
19
20

Hardware Installation- 35 -
English
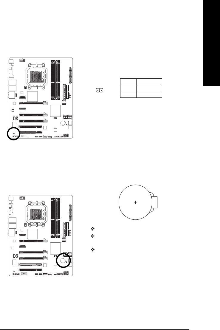
22) BATTERY
Danger of explosion if battery is incorrectly replaced.
Replace only with the same or equivalent type recommended
by the manufacturer.
Dispose of used batteries according to the manufacturer's
instructions.
If you want to erase CMOS...
1. Turn off the computer and unplug the power cord.
2. Gently take out the battery and put it aside for about one minute.
(Or you can use a metal object to connect the positive and
negative pins in the battery holder to makethem short for five
seconds.)
3. Re-install the battery.
4. Plug the power cord in and turn on the computer.
21) CI (Chassis Intrusion, Case Open)
This 2-pin connector allows your system to detect if the chassis cover is removed. You can check
the "Case Opened" status in BIOS Setup.
1
Pin No. Definition
1 Signal
2 GND

GA-M59SLI-S5/GA-M59SLI-S4 Motherboard - 36 -
English

BIOS Setup- 37 -
English
BIOS (Basic Input and Output System) includes a CMOS SETUP utility which allows user to configure
required settings or to activate certain system features.
The CMOS SETUP saves the configuration in the CMOS SRAM of the motherboard.
When the power is turned off, the battery on the motherboard supplies the necessary power to the
CMOS SRAM.
When the power is turned on, pressing the <Del> button during the BIOS POST (Power-On Self Test) will
take you to the CMOS SETUP screen. You can enter the BIOS setup screen by pressing "Ctrl + F1".
If you wish to upgrade to a new BIOS, either Gigabyte's Q-Flash or @BIOS utility can be used.
Q-Flash allows the user to quickly and easily update or backup BIOS without entering the operating
system.
@BIOS is a Windows-based utility that does not require users to boot to DOS before upgrading BIOS but
directly download and update BIOS from the Internet.
CONTROL KEYS
<> < > < > < > Move to select item
<Enter> Select Item
<Esc> Main Menu - Quit and not save changes into CMOS Status Page Setup Menu
and Option Page Setup Menu - Exit current page and return to Main Menu
<Page Up> Increase the numeric value or make changes
<Page Down> Decrease the numeric value or make changes
<F1> General help, only for Status Page Setup Menu and Option Page Setup Menu
<F2> Item Help
<F5> Restore the previous CMOS value from CMOS, only for Option Page Setup
Menu
<F6> Load the fail-safe default CMOS value from BIOS default table
<F7> Load the Optimized Defaults
<F8> Dual BIOS / Q-Flash utility
<F9> System Information
<F10> Save all the CMOS changes, only for Main Menu
<F11> Save CMOS to BIOS - CMOS Profiles
<F12> Load CMOS from BIOS - CMOS Profiles
Main Menu
The on-line description of the highlighted setup function is displayed at the bottom of the screen.
Status Page Setup Menu / Option Page Setup Menu
Press <F1> to pop up a small help window that describes the appropriate keys to use and the possible
selections for the highlighted item. To exit the Help Window press <Esc>.
Chapter 2 BIOS Setup
Because BIOS flashing is potentially risky, please do it with caution and avoid inadequate
operation that may result in system malfunction.
Only for GA-M59SLI-S5.

GA-M59SLI-S5/GA-M59SLI-S4 Motherboard - 38 -
English
<F12> : For Boot Menu
Select boot sequence for onboard (or add-on cards) device. Boot Menu
== Select a Boot First device ==
:Move Enter:Accept ESC:Exit
Floppy
LS120
Hard Disk
CDROM
ZIP
USB-FDD
USB-ZIP
USB-CDROM
USB-HDD
Legacy LAN
The BIOS Setup menus described in this chapter are for reference only and may differ from the
exact settings for your motherboard.
Press <F12> to enter the Boot Menu and use < > or < > to select a device, then press enter to accept.
Press <ESC> to exit this menu.
If you can't find the setting you want, please press "Ctrl+F1" to search the advanced option
hidden.Please Load Optimized Defaults in the BIOS when somehow the system works not
stable as usual. This action makes the system reset to the default for stability.
CMOS Setup Utility-Copyright (C) 1984-2006 Award Software
Standard CMOS Features
Advanced BIOS Features
Integrated Peripherals
Power Management Setup
PnP/PCI Configurations
PC Health Status
MB Intelligent Tweaker(M.I.T.)
Load Fail-Safe Defaults
Load Optimized Defaults
Set Supervisor Password
Set User Password
Save & Exit Setup
Exit Without Saving
ESC: Quit : Select Item F11: Save CMOS to BIOS
F8: Dual BIOS 1/Q-Flash F10: Save & Exit Setup F12: Load CMOS from BIOS
Time, Date, Hard Disk Type...
The Main Menu (For example: BIOS Ver. : F2)
Once you enter Award BIOS CMOS Setup Utility, the Main Menu (as figure below) will appear on the
screen. Use arrow keys to select among the items and press <Enter> to accept or enter the sub-menu.
BIOS Setting Recovery
F11 : Save CMOS to BIOS
This function allows you to make a record of the current CMOS settings as a profile.
You can create up to 8 profiles (Profile 1-8) and give each of them a name.
F12 : Load CMOS from BIOS
If your system becomes unstable and you load the default BIOS settings, you can use this function
to reload the CMOS settings with a CMOS settings profile created before, without the hassles of
resetting the CMOS configurations.
Only for GA-M59SLI-S5.
Press F12
Award Modular BIOS v6.00PG, An Energy Star Ally
Copyright (C) 1984-2006, Award Software, Inc.
GA-M59SLI-S5 F2
.
.
.
.
<DEL>:BIOS Setup/Q-Flash, <F9>: XpressRecovery2, <F12>For Boot Menu
05/29/2006-C51/MCP55-6A61JG03C-00

BIOS Setup- 39 -
English
Standard CMOS Features
This setup page includes all the items in standard compatible BIOS.
Advanced BIOS Features
This setup page includes all the items of Award special enhanced features.
Integrated Peripherals
This setup page includes all onboard peripherals.
Power Management Setup
This setup page includes all the items of Green function features.
PnP/PCI Configuration
This setup page includes all the configurations of PCI & PnP ISA resources.
PC Health Status
This setup page is the System auto detect Temperature, voltage, fan, speed.
MB Intelligent Tweaker(M.I.T.)
This setup page is control CPU clock and frequency ratio.
Load Fail-Safe Defaults
Fail-Safe Defaults indicates the value of the system parameters which the system would be in safe
configuration.
Load Optimized Defaults
Optimized Defaults indicates the value of the system parameters which the system would be in
best performance configuration.
Set Supervisor Password
Change, set, or disable password. It allows you to limit access to the system and Setup, or just
to Setup.
Set User Password
Change, set, or disable password. It allows you to limit access to the system.
Save & Exit Setup
Save CMOS value settings to CMOS and exit setup.
Exit Without Saving
Abandon all CMOS value changes and exit setup.

GA-M59SLI-S5/GA-M59SLI-S4 Motherboard - 40 -
English
2-1 Standard CMOS Features
Date
The date format is <week>, <month>, <day>, <year>.
Week The week, from Sun to Sat, determined by the BIOS and is display only
Month The month, Jan. Through Dec.
Day The day, from 1 to 31 (or the maximum allowed in the month)
Year The year, from 1999 through 2098
CMOS Setup Utility-Copyright (C) 1984-2006 Award Software
Standard CMOS Features
Date (mm:dd:yy) Tue, Mar 28 2006
Time (hh:mm:ss) 14:42:37
IDE Channel 0 Master [None]
IDE Channel 0 Slave [None]
IDE Channel 2 Master [None]
IDE Channel 3 Master [None]
IDE Channel 4 Master [None]
IDE Channel 5 Master [None]
IDE Channel 6 Master [None]
IDE Channel 7 Master [None]
Drive A [1.44M, 3.5"]
Drive B [None]
Floppy 3 Mode Support [Disabled]
Halt On [All, But Keyboard]
Base Memory 640K
: Move Enter: Select +/-/PU/PD: Value F10: Save ESC: Exit F1: General Help
F11/12: Profile F5: Previous Values F6: Fail-Safe Defaults F7: Optimized Defaults
Item Help
Menu Level
Change the day, month,
year
<Week>
Sun. to Sat.
<Month>
Jan. to Dec.
<Day>
1 to 31 (or maximum
allowed in the month)
<Year>
1999 to 2098
CMOS Setup Utility-Copyright (C) 1984-2006 Award Software
Standard CMOS Features
: Move Enter: Select +/-/PU/PD: Value F10: Save ESC: Exit F1: General Help
F11/12: Profile F5: Previous Values F6: Fail-Safe Defaults F7: Optimized Defaults
Item Help
Menu Level
Extended Memory 511M

BIOS Setup- 41 -
English
Time
The times format in <hour> <minute> <second>. The time is calculated base on the 24-hour military-
time clock. For example, 1 p.m. is 13:00:00.
IDE Channel 0 Master, Slave
IDE HDD Auto-Detection Press "Enter" to select this option for automatic device detection.
IDE Device Setup. You can use one of three methods:
Auto Allows BIOS to automatically detect IDE devices during POST(default)
None Select this if no IDE devices are used and the system will skip the automatic
detection step and allow for faster system start up.
Manual User can manually input the correct settings
Access Mode Use this to set the access mode for the hard drive. The four options are:
CHS/LBA/Large/Auto(default:Auto)
IDE Channel 2/3/4/5/6/7 Master
IDE HDD Auto-Detection Press "Enter" to select this option for automatic device detection.
Extended IDE Drive You can use one of the two methods:
Auto Allows BIOS to automatically detect IDE devices during POST.
(Default value)
None Select this if no IDE devices are used and the system will skip the
automatic detection step and allow for faster system start up.
Access Mode Use this to set the access mode for the hard drive. The two options are:
Large/Auto(default:Auto)
Capacity Capacity of currently installed hard disk.
Hard drive information should be labeled on the outside drive casing. Enter the appropriate option
based on this information.
Cylinder Number of cylinders
Head Number of heads
Precomp Write precomp
Landing Zone Landing zone
Sector Number of sectors
Drive A / Drive B
The category identifies the types of floppy disk drive A or drive B that has been installed in the
computer.
None No floppy drive installed
360K, 5.25" 5.25 inch PC-type standard drive; 360K byte capacity.
1.2M, 5.25" 5.25 inch AT-type high-density drive; 1.2M byte capacity
(3.5 inch when 3 Mode is Enabled).
720K, 3.5" 3.5 inch double-sided drive; 720K byte capacity
1.44M, 3.5" 3.5 inch double-sided drive; 1.44M byte capacity. (Default value)
2.88M, 3.5" 3.5 inch double-sided drive; 2.88M byte capacity.

GA-M59SLI-S5/GA-M59SLI-S4 Motherboard - 42 -
English
Floppy 3 Mode Support (for Japan Area)
Disabled Normal Floppy Drive. (Default value)
Drive A Drive A is 3 mode Floppy Drive.
Drive B Drive B is 3 mode Floppy Drive.
Both Drive A & B are 3 mode Floppy Drives.
Halt on
The category determines whether the computer will stop if an error is detected during power up.
No Errors The system boot will not stop for any error that may be detected and you
will be prompted.
All Errors Whenever the BIOS detects a non-fatal error the system will be stopped.
All, But Keyboard The system boot will not stop for a keyboard error; it will stop for all other
errors. (Default value)
All, But Diskette The system boot will not stop for a disk error; it will stop for all other errors.
All, But Disk/Key The system boot will not stop for a keyboard or disk error; it will stop for all
other errors.
Memory
The category is display-only which is determined by POST (Power On Self Test) of the BIOS.
Base Memory
The POST of the BIOS will determine the amount of base (or conventional) memory installed in the
system.
The value of the base memory is typically 512K for systems with 512K memory installed on the
motherboard, or 640K for systems with 640K or more memory installed on the motherboard.
Extended Memory
The BIOS determines how much extended memory is present during the POST.
This is the amount of memory located above 1 MB in the CPU's memory address map.

BIOS Setup- 43 -
English
2-2 Advanced BIOS Features
Hard Disk Boot Priority
Select boot sequence for onboard(or add-on cards) SCSI, RAID, etc.
Use < > or < > to select a device, then press<+> to move it up, or <-> to move it down the list. Press
<ESC> to exit this menu.
First / Second / Third Boot Device
Floppy Select your boot device priority by Floppy.
LS120 Select your boot device priority by LS120.
Hard Disk Select your boot device priority by Hard Disk.
CDROM Select your boot device priority by CDROM.
ZIP Select your boot device priority by ZIP.
USB-FDD Select your boot device priority by USB-FDD.
USB-ZIP Select your boot device priority by USB-ZIP.
USB-CDROM Select your boot device priority by USB-CDROM.
USB-HDD Select your boot device priority by USB-HDD.
Legacy LAN Select your boot device priority by Legacy LAN.
Disabled Disable this function.
Boot Up Floppy Seek
During POST, BIOS will determine the floppy disk drive installed is 40 or 80 tracks. 360K type is 40
tracks 720K, 1.2M and 1.44M are all 80 tracks.
Enabled BIOS searches for floppy disk drive to determine it is 40 or 80 tracks. Note that
BIOS can not tell from 720K, 1.2M or 1.44M drive type as they are all 80 tracks.
Disabled BIOS will not search for the type of floppy disk drive by track number. Note that
there will not be any warning message if the drive installed is 360K.
(Default value)
CMOS Setup Utility-Copyright (C) 1984-2006 Award Software
Advanced BIOS Features
Hard Disk Boot Priority [Press Enter]
First Boot Device [Floppy]
Second Boot Device [Hard Disk]
Third Boot Device [CDROM]
Boot Up Floopy Seek [Disabled]
Password Check [Setup]
Away Mode [Disabled]
Init Display First [PEG]
: Move Enter: Select +/-/PU/PD: Value F10: Save ESC: Exit F1: General Help
F11/12: Profile F5: Previous Values F6: Fail-Safe Defaults F7: Optimized Defaults
Item Help
Menu Level
Select Hard Disk Boot
Device Priority

GA-M59SLI-S5/GA-M59SLI-S4 Motherboard - 44 -
English
Password Check
System The system can not boot and can not access to Setup page will be denied if the
correct password is not entered at the prompt.
Setup The system will boot, but access to Setup will be denied if the correct password
is not entered at the prompt. (Default value)
Away Mode
Disabled Disable this function. (Default value)
Enabled Enable Away Mode in Windows XP Media Center operating system.
(Away Mode: Enables the system to silently perform unattended tasks
while in a low-power mode that appears off. )
Init Display First
This feature allows you to select the first initiation of the monitor display from which card when you
install a PCI card and a PCI Express VGA card on the motherboard.
PCI slot Set Init display first to PCI.
PEG Set Init display first to PCI Express VGA card. (Default value)
PEG (Slot2) Set Init display first to PCI Express VGA card(Slot2).
PEG (Slot3) Set Init display first to PCI Express VGA card(Slot3).

BIOS Setup- 45 -
English
2-3 Integrated Peripherals
Serial-ATA RAID Config
CMOS Setup Utility-Copyright (C) 1984-2006 Award Software
Serial-ATA RAID Config
Item Help
Menu Level
NV SATA RAID function [Disabled]
x NV SATA 1 Primary RAID Disabled
x NV SATA 1 Secondary RAID Disabled
x NV SATA 2 Primary RAID Disabled
x NV SATA 2 Secondary RAID Disabled
x NV SATA 3 Primary RAID Disabled
x NV SATA 3 Secondary RAID Disabled
: Move Enter: Select +/-/PU/PD: Value F10: Save ESC: Exit F1: General Help
F11/12: Profile F5: Previous Values F6: Fail-Safe Defaults F7: Optimized Defaults
CMOS Setup Utility-Copyright (C) 1984-2006 Award Software
Integrated Peripherals
Serial-ATA RAID Config [Press Enter]
On-Chip IDE Channel0 [Enabled]
On-Chip MAC Lan [Auto]
On-Chip MAC1 Lan 1[Auto]
NV Serial-ATA Controller [All Enabled]
IDE Prefetch Mode [Enabled]
Onboard Audio Function [Auto]
SMART LAN [Press Enter]
Onboard 1394 [Enabled]
Onboard LAN Boot ROM [Disabled]
Onboard SATA/IDE Ctrl Mode 1[IDE]
Onboard Serial Port 1 [3F8/IRQ4]
Onboard Parallel Port [378/IRQ7]
Parallel Port Mode [SPP]
x ECP Mode Use DMA 3
On-Chip USB [V1.1+V2.0]
USB Keyboard Support [Disabled]
USB Mouse Support [Disabled]
Legacy USB Storage detect [Enabled]
: Move Enter: Select +/-/PU/PD: Value F10: Save ESC: Exit F1: General Help
F11/12: Profile F5: Previous Values F6: Fail-Safe Defaults F7: Optimized Defaults
Item Help
Menu Level
Only for GA-M59SLI-S5.

GA-M59SLI-S5/GA-M59SLI-S4 Motherboard - 46 -
English
NV SATA RAID function
Enabled Enable NV SATA RAID function.
Disabled Disable NV SATA RAID function. (Default value)
NV SATA 1 Primary RAID
Enabled Enable NV SATA 1 primary RAID function.
Disabled Disable this function. (Default value)
NV SATA 1 Secondary RAID
Enabled Enable NV SATA 1 secondary RAID function.
Disabled Disable this function. (Default value)
NV SATA 2 Primary RAID
Enabled Enable NV SATA 2 primary RAID function.
Disabled Disable this function. (Default value)
NV SATA 2 Secondary RAID
Enabled Enable NV SATA 2 secondary RAID function.
Disabled Disable this function. (Default value)
NV SATA 3 Primary RAID
Enabled Enable NV SATA 3 primary RAID function.
Disabled Disable this function. (Default value)
NV SATA 3 Secondary RAID
Enabled Enable NV SATA 3 secondary RAID function.
Disabled Disable this function. (Default value)
On-Chip IDE Channel0
Enabled Enable onboard 1st channel IDE port. (Default value)
Disabled Disable onboard 1st channel IDE port.
On-Chip MAC Lan
Auto Auto-detect onboard LAN chip function. (Default value)
Disabled Disable onboard LAN chip function.
On-Chip MAC1 Lan
Auto Auto-detect onboard LAN1 chip function. (Default value)
Disabled Disable onboard LAN1 chip function.
NV Serial-ATA Controller
All Enabled Enable NV Serial-ATA Controller function. (Default value)
SATA-1 Enable NV SATA-1 function.
SATA-1+2 Enable NV SATA-1+2 function
Disabled Disable this function.
IDE Prefetch Mode
Enabled Enable IDE Prefetch mode. (Default value)
Disabled Disable IDE Prefetch mode.
Onboard Audio Function
Auto Auto-detect onboard audio function. (Default value)
Disabled Disable this function.
Only for GA-M59SLI-S5.

BIOS Setup- 47 -
English
Onboard 1394
Enabled Enable onboard IEEE1394 function. (Default value)
Disabled Disable onboard IEEE1394 function.
Onboard LAN Boot ROM
This function decide whether to invoke the boot ROM of the onboard LAN chip.
Enabled Enable this function.
Disabled Disable this function. (Default value)
SMART LAN (LAN Cable Diagnostic Function)
This motherboard incorporates cable diagnostic feature designed to detect the status of the attached LAN
cable. This feature will detect cabling issue and report the approximate distance to the fault or short.
Refer to the following information for diagnosing your LAN cable:
When LAN Cable Is Functioning Normally...
1. If no cable problem is detected on the LAN cable connected to a Gigabit hub, the Status fields
of Pair 1-2, Pair 3-6, Pair 4-5, and Pair 7-8 will show Normal and the Length fields will show
N/A, as shown in the figure above.
2. If no cable problem is detected on the LAN cable connected to a 10/100 Mbps hub, the Status
fields of Pair 1-2 and Pair 3-6 will show Normal and the Length fields will show N/A.
However, because Pair 4-5 and Pair 7-8 are not used in a 10/100 Mbps environment, their
Status fields will show Short or Open, and the length shown is the approximate length of the
attached LAN cable.
When a Cable Problem Occurs...
If a cable problem occurs on a specified pair of wires, the Status field will show Short or Open
and the length shown will be the approximate distance to the fault or short.
For example, if it shows Pair1-2 Status = Short / Length = 1.6m,
it means that a fault or short might occur at about 1.6m on Pair 1-2.
When No LAN Cable Is Attached...
If no LAN cable is attached to the motherboard, the Status fields of all four pairs of wires will show
Open.
CMOS Setup Utility-Copyright (C) 1984-2006 Award Software
SMART LAN
Item Help
Menu Level
Start detecting at Port 0.
Pair1-2 Status = Normal / Length = N/A
Pair3-6 Status = Normal / Length = N/A
Pair4-5 Status = Normal / Length = N/A
Pair7-8 Status = Normal / Length = N/A
Start detecting at Port 1. 1
Pair1-2 Status = Normal / Length = N/A
Pair3-6 Status = Normal / Length = N/A
Pair4-5 Status = Normal / Length = N/A
Pair7-8 Status = Normal / Length = N/A
: Move Enter: Select +/-/PU/PD: Value F10: Save ESC: Exit F1: General Help
F11/12: Profile F5: Previous Values F6: Fail-Safe Defaults F7: Optimized Defaults
Only for GA-M59SLI-S5.

GA-M59SLI-S5/GA-M59SLI-S4 Motherboard - 48 -
English
Onboard SATA/IDE Ctrl Mode
RAID Set the onboard SATA controller to RAID mode.
AHCI Set the onboard SATA controller to AHCI mode. Advanced Host Controller
Interface (AHCI) is an interface specification that allows the storage driver to
enable advanced Serial ATA features such as Native Command Queuing and
hot plug. For more details about AHCI, please visit Intel's website.
IDE Set the onboard SATA controller to IDE mode. (Default value)
Onboard Serial Port 1
Auto BIOS will automatically setup the Serial port 1 address.
3F8/IRQ4 Enable onboard Serial port 1 and address is 3F8/IRQ4. (Default value)
2F8/IRQ3 Enable onboard Serial port 1 and address is 2F8/IRQ3.
3E8/IRQ4 Enable onboard Serial port 1 and address is 3E8/IRQ4.
2E8/IRQ3 Enable onboard Serial port 1 and address is 2E8/IRQ3.
Disabled Disable onboard Serial port 1.
Onboard Parallel Port
Disabled Disable onboard LPT port.
378/IRQ7 Enable onboard LPT port and address is 378/IRQ7. (Default value)
278/IRQ5 Enable onboard LPT port and address is 278/IRQ5.
3BC/IRQ7 Enable onboard LPT port and address is 3BC/IRQ7.
Parallel Port Mode
SPP Using Parallel port as Standard Parallel Port. (Default value)
EPP Using Parallel port as Enhanced Parallel Port.
ECP Using Parallel port as Extended Capabilities Port.
ECP+EPP Using Parallel port as ECP and EPP mode.
ECP Mode Use DMA
3 Set ECP Mode Use DMA to 3. (Default value)
1 Set ECP Mode Use DMA to 1.
On-Chip USB
Disabled Disable this function if you are not using onboard USB function.
V1.1+V2.0 Enable USB 1.1 and USB 2.0 controller. (Default value)
V1.1 Enable only USB 1.1 controller.
USB Keyboard Support
Enabled Enable USB keyboard support.
Disabled Disable USB keyboard support. (Default value)
USB Mouse Support
Enabled Enable USB mouse support.
Disabled Disable USB mouse support. (Default value)
Legacy USB Storage detect
Enabled Enable USB storage detect function. (Default value)
Disabled Disable this function.
Only for GA-M59SLI-S5.

BIOS Setup- 49 -
English
2-4 Power Management Setup
ACPI Suspend Type
S1(POS) Set ACPI suspend type to S1/POS(Power On Suspend). (Default value)
S3(STR) Set ACPI suspend type to S3/STR(Suspend To RAM).
Soft-Off by Power button
Instant-off Press power button then Power off instantly. (Default value)
Delay 4 Sec Press power button 4 seconds to Power off. Enter suspend if button is pressed
less than 4 seconds.
PME Event Wake Up
This feature requires an ATX power supply that provides at least 1A on the 5VSB lead.
Disabled Disable this function. (Default value)
Enabled Enable PME as wake up event.
Modem Ring On
An incoming call via modem can awake the system from any suspend state.
Disabled Disable Modem Ring on function. (Default value)
Enabled Enable Modem Ring on function.
USB Resume from Suspend
Disabled Disable this function. (Default value)
Enabled Enable USB device wake up system from suspend type.
Power-On by Alarm
You can set "Resume by Alarm" item to enabled and key in Date/Time to power on system.
Disabled Disable this function. (Default value)
Enabled Enable alarm function to POWER ON system.
If Power-On by Alarm is Enabled.
Day of Month Alarm : Everyday, 1~31
Time (hh: mm: ss) Alarm : (0~23) : (0~59) : (0~59)
CMOS Setup Utility-Copyright (C) 1984-2006 Award Software
Power Management Setup
ACPI Suspend Type [S1(POS)]
Soft-Off by Power button [Instant-off]
PME Event Wake Up [Disabled]
Modem Ring On [Disabled]
USB Resume from Suspend [Disabled]
Power-On by Alarm [Disabled]
x Day of Month Alarm Everyday
x Time (hh:mm:ss) Alarm 0 : 0 : 0
Power On By Mouse [Disabled]
Power On By Keyboard [Disabled]
x KB Power ON Function Enter
AC BACK Function [Soft-Off]
: Move Enter: Select +/-/PU/PD: Value F10: Save ESC: Exit F1: General Help
F11/12: Profile F5: Previous Values F6: Fail-Safe Defaults F7: Optimized Defaults
Item Help
Menu Level

GA-M59SLI-S5/GA-M59SLI-S4 Motherboard - 50 -
English
Power On By Mouse
Disabled Disable this function. (Default value)
Double Click Double click on PS/2 mouse left button to power on the system.
Power On By Keyboard
Disabled Disable this function. (Default value)
Password Enter from 1 to 5 characters to set the Keyboard Power On Password.
Any KEY Press any key to power on the system.
Keyboard 98 If your keyboard have "POWER Key" button, you can press the key to power
on the system.
KB Power ON Password
When "Power On by Keyboard" set at Password, you can set the password here.
Enter Input password (from 1 to 5 characters) and press Enter to set the Keyboard
Power On password.
AC BACK Function
Soft-Off When AC-power back to the system, the system will be in "Off" state.
(Default value)
Full-On When AC-power back to the system, the system always in "On" state.

BIOS Setup- 51 -
English
2-5 PnP/PCI Configurations
PCI 2 IRQ Assignment
Auto Auto assign IRQ to PCI 2. (Default value)
3,4,5,7,9,10,11,12,14,15 Set IRQ 3,4,5,7,9,10,11,12,14,15 to PCI 2.
PCI 1 IRQ Assignment
Auto Auto assign IRQ to PCI 1. (Default value)
3,4,5,7,9,10,11,12,14,15 Set IRQ 3,4,5,7,9,10,11,12,14,15 to PCI 1.
CMOS Setup Utility-Copyright (C) 1984-2006 Award Software
PnP/PCI Configurations
PCI 2 IRQ Assignment [Auto]
PCI 1 IRQ Assignment [Auto]
: Move Enter: Select +/-/PU/PD: Value F10: Save ESC: Exit F1: General Help
F11/12: Profile F5: Previous Values F6: Fail-Safe Defaults F7: Optimized Defaults
Item Help
Menu Level

GA-M59SLI-S5/GA-M59SLI-S4 Motherboard - 52 -
English
2-6 PC Health Status
Reset Case Open Status
Disabled Don't reset case open status. (Default value)
Enabled Clear case open status at next boot.
Case Opened
If the case is closed, "Case Opened" will show "No".
If the case have been opened, "Case Opened" will show "Yes".
If you want to reset "Case Opened" value, set "Reset Case Open Status" to "Enabled" and save
CMOS, your computer will restart.
Current Voltage(V) Vcore / DDR18V / +3.3V / +12V
Detect system's voltage status automatically.
Current System/CPU Temperature
Detect System/CPU temperature automatically.
Current CPU / POWER / SYSTEM FAN Speed (RPM)
Detect CPU / POWER / SYSTEM fan speed status automatically.
System/CPU Warning Temperature
60oC / 140oF Monitor System/CPU temperature at 60oC / 140oF.
70oC / 158oF Monitor System/CPU temperature at 70oC / 158oF.
80oC / 176oF Monitor System/CPU temperature at 80oC / 176oF.
90oC / 194oF Monitor System/CPU temperature at 90oC / 194oF.
Disabled Disable this function. (Default value)
CPU FAN Fail Warning
Disabled Disable CPU fan fail warning function. (Default value)
Enabled Enable CPU fan fail warning function.
CMOS Setup Utility-Copyright (C) 1984-2006 Award Software
PC Health Status
Reset Case Open Status [Disabled]
Case Opened Yes
Vcore OK
DDR18V OK
+3.3V OK
+12V OK
Current System Temperature 25oC
Current CPU Temperature 40oC
Current CPU FAN Speed 3183 RPM
Current POWER FAN Speed 0 RPM
Current SYSTEM FAN Speed 0 RPM
System Warning Temperature [Disabled]
CPU Warning Temperature [Disabled]
CPU FAN Fail Warning [Disabled]
CPU Smart FAN Control [Enabled]
CPU Smart FAN Mode [Auto]
: Move Enter: Select +/-/PU/PD: Value F10: Save ESC: Exit F1: General Help
F11/12: Profile F5: Previous Values F6: Fail-Safe Defaults F7: Optimized Defaults
Item Help
Menu Level

BIOS Setup- 53 -
English
2-7 MB Intelligent Tweaker(M.I.T.)
CPU Frequency(MHz)
Auto BIOS will automatically setup the CPU Frequency(MHz).
100 ~ 500 Set CPU frequency from 100MHz to 500MHz.
PCIE Clock(SB) MHz
Auto BIOS will automatically setup the PCIE Clock(SB) MHz.
100Mhz ~ 200Mhz Set PCIE Clock(SB) MHz) from 100Mhz to 200Mhz.
NB<->SB Reference clock
Auto BIOS will automatically setup the NB<->SB reference clock.
100 ~ 500 Set NB<->SB reference clock from 200.0 to 500.0.
PCIE Clock(NB) MHz
Auto BIOS will automatically setup the PCIE Clock(NB) MHz.
100Mhz ~ 200Mhz Set PCIE Clock(NB) MHz from 100Mhz to 200Mhz.
Incorrect using these features may cause your system broken. For power end-user use only.
CPU Smart FAN Control(Note)
Disabled Disable this function.
Enabled When this function is enabled, CPU fan will run at different speed depending
on CPU temperature. Users can adjust the fan speed with Easy Tune
based on their requirements. (Default value)
CPU Smart FAN Mode
This option is available only when CPU Smart FAN Control is enabled.
Auto BIOS autodetects the type of CPU fan you installed and sets the optimal
CPU Smart FAN control mode for it. (Default Value)
Voltage Set to Voltage when you use a CPU fan with a 3-pin fan power cable.
PWM Set to PWM when you use a CPU fan with a 4-pin fan power cable.
(Note) Whether the CPU Smart FAN Control function is supported will depend on the CPU you install.
CMOS Setup Utility-Copyright (C) 1984-2006 Award Software
MB Intelligent Tweaker(M.I.T.)
CPU Frequency (MHz) [Auto]
PCIE Clock(SB) NHz [Auto]
NB<->SB Reference clock [Auto]
PCIE Clock(NB) NHz [Auto]
CPU Clock Ratio [Auto]
Robust Graphics Booster [Auto]
DDR2 OverVoltage Control [Normal]
S-Chipset/PCIE Voltage [Normal]
CPU HT-Link Voltage [Normal]
HT-Link Voltage [Normal]
N-Chipset/PCIE Voltage [Normal]
CPU Voltage Control [Normal]
Normal CPU Vcore 1.350V
: Move Enter: Select +/-/PU/PD: Value F10: Save ESC: Exit F1: General Help
F11/12: Profile F5: Previous Values F6: Fail-Safe Defaults F7: Optimized Defaults
Item Help
Menu Level

GA-M59SLI-S5/GA-M59SLI-S4 Motherboard - 54 -
English
CPU Clock Ratio
This setup option will automatically assign by CPU detection. The option will display "Locked" and
read only or will not show up if the CPU ratio is not changeable.
Robust Graphics Booster
Select the options can enhance the VGA graphics card bandwidth to get higher performance.
Auto Set Robust Graphics Booster to Auto. (Default value)
Fast Set Robust Graphics Booster to Fast.
Turbo Set Robust Graphics Booster to Turbo.
DDR2 OverVoltage Control
Please note that by overclocking your system through the increase of the DDR2 voltage, damage
to the memory may occur.
Normal Set DDR2 voltage to Normal. (Default value)
+0.1V Set DDR2 voltage to +0.1V.
+0.2V Set DDR2 voltage to +0.2V.
+0.3V Set DDR2 voltage to +0.3V.
+0.4V Set DDR2 voltage to +0.4V.
+0.5V Set DDR2 voltage to +0.5V.
+0.6V Set DDR2 voltage to +0.6V.
+0.7V Set DDR2 voltage to +0.7V.
S-Chipset/PCIE Voltage
Set the voltage settings for Southbridge, its PCI Express bus voltage.
Normal Set Southbridge/PCIE voltage to Normal. (Default value)
+0.1V Set Southbridge/PCIE voltage to +0.1V.
+0.2V Set Southbridge/PCIE voltage to +0.2V.
+0.3V Set Southbridge/PCIE voltage to +0.3V.
CPU HT-Link Voltage
Set the voltage settings for the HT-Link between CPU and Northbridge.
Normal Set CPU HT-Link voltage to Normal. (Default value)
+0.1V Set CPU HT-Link voltage to +0.1V.
+0.2V Set CPU HT-Link voltage to +0.2V.
+0.3V Set CPU HT-Link voltage to +0.3V.
HT-Link Voltage
Set the voltage settings for the HT-Link between Southbridge and Northbridge.
Normal Set HT-Link voltage to Normal. (Default value)
+0.1V Set HT-Link voltage to +0.1V.
+0.2V Set HT-Link voltage to +0.2V.
+0.3V Set HT-Link voltage to +0.3V.

BIOS Setup- 55 -
English
N-Chipset/PCIE Voltage
Set the voltage settings for Northbridge, its PCI Express bus voltage.
Normal Set Northbridge/PCIE voltage to Normal. (Default value)
+0.1V Set Northbridge/PCIE voltage to +0.1V.
+0.2V Set Northbridge/PCIE voltage to +0.2V.
+0.3V Set Northbridge/PCIE voltage to +0.3V.
CPU Voltage Control
Supports adjustable CPU Vcore from 0.800V to 1.550V. (Default value: Normal)
Normal CPU Vcore
Display your CPU Vcore voltage.

GA-M59SLI-S5/GA-M59SLI-S4 Motherboard - 56 -
English
2-9 Load Optimized Defaults
Selecting this field loads the factory defaults for BIOS and Chipset Features which the system automatically
detects.
2-8 Load Fail-Safe Defaults
Fail-Safe defaults contain the most appropriate values of the system parameters that allow minimum
system performance.
CMOS Setup Utility-Copyright (C) 1984-2006 Award Software
Standard CMOS Features
Advanced BIOS Features
Integrated Peripherals
Power Management Setup
PnP/PCI Configurations
PC Health Status
MB Intelligent Tweaker(M.I.T.)
ESC: Quit : Select Item F11: Save CMOS to BIOS
F8: Dual BIOS 1/Q-Flash F10: Save & Exit Setup F12: Load CMOS from BIOS
Load Fail-Safe Defaults
Load Fail-Safe Defaults
Load Optimized Defaults
Set Supervisor Password
Set User Password
Save & Exit Setup
Exit Without Saving
Load Fail-Safe Defaults (Y/N)? N
CMOS Setup Utility-Copyright (C) 1984-2006 Award Software
Standard CMOS Features
Advanced BIOS Features
Integrated Peripherals
Power Management Setup
PnP/PCI Configurations
PC Health Status
MB Intelligent Tweaker(M.I.T.)
ESC: Quit : Select Item F11: Save CMOS to BIOS
F8: Dual BIOS 1/Q-Flash F10: Save & Exit Setup F12: Load CMOS from BIOS
Load Optimized Defaults
Load Fail-Safe Defaults
Load Optimized Defaults
Set Supervisor Password
Set User Password
Save & Exit Setup
Exit Without Saving
Load Optimized Defaults (Y/N)? N
Only for GA-M59SLI-S5.

BIOS Setup- 57 -
English
2-10 Set Supervisor/User Password
When you select this function, the following message will appear at the center of the screen to assist you in
creating a password.
Type the password, up to eight characters, and press <Enter>. You will be asked to confirm the password.
Type the password again and press <Enter>. You may also press <Esc> to abort the selection and not enter
a password.
To disable password, just press <Enter> when you are prompted to enter password. A message
"PASSWORD DISABLED" will appear to confirm the password being disabled. Once the password is disabled,
the system will boot and you can enter Setup freely.
The BIOS Setup program allows you to specify two separate passwords:
SUPERVISOR PASSWORD and a USER PASSWORD. When disabled, anyone may access all BIOS Setup
program function. When enabled, the Supervisor password is required for entering the BIOS Setup program
and having full configuration fields, the User password is required to access only basic items.
If you select "System" at "Password Check" in Advance BIOS Features Menu, you will be prompted for the
password every time the system is rebooted or any time you try to enter Setup Menu.
If you select "Setup" at "Password Check" in Advance BIOS Features Menu, you will be prompted only when
you try to enter Setup.
CMOS Setup Utility-Copyright (C) 1984-2006 Award Software
Standard CMOS Features
Advanced BIOS Features
Integrated Peripherals
Power Management Setup
PnP/PCI Configurations
PC Health Status
MB Intelligent Tweaker(M.I.T.)
ESC: Quit : Select Item F11: Save CMOS to BIOS
F8: Dual BIOS 1/Q-Flash F10: Save & Exit Setup F12: Load CMOS from BIOS
Change/Set/Disable Password
Load Fail-Safe Defaults
Load Optimized Defaults
Set Supervisor Password
Set User Password
Save & Exit Setup
Exit Without Saving
Enter Password:
Only for GA-M59SLI-S5.

GA-M59SLI-S5/GA-M59SLI-S4 Motherboard - 58 -
English
2-11 Save & Exit Setup
Type "Y" will quit the Setup Utility and save the user setup value to RTC CMOS.
Type "N" will return to Setup Utility.
2-12 Exit Without Saving
Type "Y" will quit the Setup Utility without saving to RTC CMOS.
Type "N" will return to Setup Utility.
CMOS Setup Utility-Copyright (C) 1984-2006 Award Software
Standard CMOS Features
Advanced BIOS Features
Integrated Peripherals
Power Management Setup
PnP/PCI Configurations
PC Health Status
MB Intelligent Tweaker(M.I.T.)
ESC: Quit : Select Item F11: Save CMOS to BIOS
F8: Dual BIOS 1/Q-Flash F10: Save & Exit Setup F12: Load CMOS from BIOS
Save Data to CMOS
Load Fail-Safe Defaults
Load Optimized Defaults
Set Supervisor Password
Set User Password
Save & Exit Setup
Exit Without Saving
Save to CMOS and EXIT (Y/N)? Y
CMOS Setup Utility-Copyright (C) 1984-2006 Award Software
Standard CMOS Features
Advanced BIOS Features
Integrated Peripherals
Power Management Setup
PnP/PCI Configurations
PC Health Status
MB Intelligent Tweaker(M.I.T.)
ESC: Quit : Select Item F11: Save CMOS to BIOS
F8: Dual BIOS 1/Q-Flash F10: Save & Exit Setup F12: Load CMOS from BIOS
Abandon all Data
Load Fail-Safe Defaults
Load Optimized Defaults
Set Supervisor Password
Set User Password
Save & Exit Setup
Exit Without Saving
Quit Without Saving (Y/N)? N
Only for GA-M59SLI-S5.

BIOS Setup- 59 -
English

GA-M59SLI-S5/GA-M59SLI-S4 Motherboard - 60 -
English

Drivers Installation- 61 -
English
Pictures below are shown in Windows XP.
Insert the driver CD-title that came with your motherboard into your CD-ROM drive, the driver
CD-title will auto start and show the installation guide. If not, please double click the CD-ROM
device icon in "My computer", and execute the Run.exe.
Chapter 3Drivers Installation
3-1 Install Chipset Drivers
After insert the driver CD, "Xpress Install" will scan automatically the system and then list all the drivers that
recommended to install. Please pick the item that you want and press "install" followed the item; or you can
press "Xpress Install" to install all items defaulted.
Some device drivers will restart your system automatically. After restarting
your system the "Xpress Install" will continue to install other drivers.
System will reboot automatically after install the drivers, afterward you can
install others application.
For USB2.0 driver support under Windows XP operating system, please
use Windows Service Pack. After install Windows Service Pack, it will show
a question mark "?" in "Universal Serial Bus controller" under "Device
Manager". Please remove the question mark and restart the system (System
will auto-detect the right USB2.0 driver).

GA-M59SLI-S5/GA-M59SLI-S4 Motherboard - 62 -
English
3-2 Software Applications
This page displays all the tools that Gigabyte developed and some free software, you can choose anyone
you want and press "install" to install them.
3-3 Driver CD Information
This page lists the contents of software and drivers in this CD-title.

Drivers Installation- 63 -
English
3-4 Hardware Information
This page lists all device you have for this motherboard.
3-5 Contact Us
Please see the last page for details.

GA-M59SLI-S5/GA-M59SLI-S4 Motherboard - 64 -
English

Appendix- 65 -
English
Chapter 4 Appendix
4-1 Unique Software Utilities
(Not all model support these Unique Software Utilities, please check your MB features.)
4-1-1 EasyTune 5 Introduction
EasyTune 5 presents the most convenient Windows based system performance enhancement and
manageability utility. Featuring several powerful yet easy to use tools such as 1) Overclocking for enhancing
system performance, 2) C.I.A. and M.I.B. for special enhancement for CPU and Memory, 3) Smart-Fan
control for managing fan speed control of both CPU cooling fan and North-Bridge Chipset cooling fan, 4) PC
health for monitoring system status.(Note)
User Interface Overview
(Note) EasyTune 5 functions may vary depending on different motherboards.
Button / Display Description
1. Overclocking Enters the Overclocking setting page
2. C.I.A./C.I.A.2 and M.I.B. Enters the C.I.A./2 and M.I.B. setting page
3. Smart-Fan Enters the Smart-Fan setting page
4. PC Health Enters the PC Health setting page
5. GO Confirmation and Execution button
6. "Easy Mode" & "Advance Mode" Toggles between Easy and Advance Mode
7. Display screen Display panel of CPU frequency
8. Function display LEDs Shows the current functions status
9. GIGABYTE Logo Log on to GIGABYTE website
10. Help button Display EasyTuneTM 5 Help file
11. Exit or Minimize button Quit or Minimize EasyTuneTM 5 software

GA-M59SLI-S5/GA-M59SLI-S4 Motherboard - 66 -
English
4-1-2 Xpress Recovery2 Introduction
Xpress Recovery2 is designed to provide quick backup and restora-
tion of hard disk data. Supporting Microsoft operating systems including
Windows XP/2000/NT/98/Me and DOS, and file systems including
FAT16, FAT32, and NTFS, Xpress Recovery2 is able to back up data
How to use the Xpress Recovery2
Initial access by booting from CD-ROM and subsequent access by pressing the F9 key:
Steps: After entering BIOS Setup, go to Advanced BIOS Feature and set to boot from CD-ROM. Save
the settings and exit the BIOS Setup. Insert the provided driver CD into your CD-ROM drive. Upon
system restart, the message which says "Boot from CD/DVD:" will appear in the bottom left corner
of the screen. Press any key to enter Xpress Recovery2.
After the steps above are completed, subsequent access to Xpress Recovery2 can be made
by simply pressing the <F9> key during system power-on.
Boot from CD/DVD:
.
.
Boot from CD/DVD:
Press any key to startup XpressRecovery2.....
1. If you have already entered Xpress Recovery2 by booting from the CD-ROM, you can
enter Xpress Recovery2 by pressing the <F9> key in the future.
2. System storage capacity and the reading/writing speed of the hard disk will affect
the data backup speed.
3. It is recommended that Xpress Recovery2 be immediately installed once you com-
plete installations of OS and all required drivers as well as software.
on hard disks on PATA and SATA IDE controllers. After Xpress Recovery2 is executed from CD-ROM
for the first time, it will stay permanent in your hard disk. If you wish to run Xpress Recovery2 later, you
can simply press F9 during system bootup to enter Xpress Recovery2 without the CD-ROM.
System requirements:
1. Intel x86 platforms
2. At least 64M bytes of system memory
3. VESA-supported VGA cards
<F9> Xpress Recovery2
Award Modular BIOS v6.00PG, An Energy Star Ally
Copyright (C) 1984-2006, Award Software, Inc.
GA-M59SLI-S5 E18
.
.
.
.
<DEL>:BIOS Setup/Q-Flash, <F9>: Xpress Recovery2, <F12>For Boot Menu
05/02/2006-C51/MCP55-6A61JG03C-00

Appendix- 67 -
English
1. RESTORE:
Restore the backed-up data to your hard disk.
(This button will not appear if there is no backup
file.)
2. BACKUP:
Back up data from hard disk.
3. REMOVE:
Remove previously-created backup files
to release disk space.
(This button will not appear if there is no backup
file.)
4. REBOOT:
Exit the main screen and restart the system.
The Main Screen of Xpress Recovery2
Limitations:
1. Not compatible to Xpress Recovery.
2. For the use of Xpress Recovery2, a primary partition must be reserved.
3. Xpress Recovery2 will store the backup file at the end of the hard disk, so free space available
on the hard disk for the backup file must be allocated in advance. (A minimum 4GB is recom-
mended but the actual space is dependent on the size of the data to be backed up)
4. Capable of backing up hard disks installed with Windows operating systems including DOS and
Windows XP/2000/NT/9x/Me.
5. USB hard disks are currently not supported.
6. Does not support RAID/AHCI (class code 0104/0106) hard disks.
7. Capable of backing up and restoring only the first physical hard disk.
Hard disks detection sequence is as follows:
a. PATA IDE primary channel
b. PATA IDE secondary channel
c. SATA IDE channel 1
d. SATA IDE channel 2
e. SATA IDE channel 3
f. SATA IDE channel 4
Precautions:
1. When using hard disks with more than 128G under Windows 2000, be sure to execute the
EnableBigLba.exe program from the driver CD before data backup.
2. It is normal that data backup takes longer time than data restoration.
3. Xpress Recovery2 is compliant with the GPL regulations.
4. On a few motherboards based on Nvidia chipsets, BIOS update is required for Xpress Recovery2
to correctly identify RAID and SATA IDE mode. Please contact your motherboard manufacturer.

GA-M59SLI-S5/GA-M59SLI-S4 Motherboard - 68 -
English
4-1-3 Flash BIOS Method Introduction
A. What is Dual BIOS Technology ?
Dual BIOS means that there are two system BIOS (ROM) on the
motherboard, one is the Main BIOS and the other is Backup BIOS.
B. How to use Dual BIOS and Q-Flash Utility?
a. After power on the computer, pressing <Del> immediately during POST (Power On Self Test) it will
allow you to enter Award BIOS CMOS SETUP, then press <F8> to enter Flash utility.
Under the normal circumstances, the system works on the Main BIOS. If the Main BIOS is corrupted or
damaged, the Backup BIOS can take over while the system is powered on. This means that your PC
will still be able to run stably as if nothing has happened in your BIOS.
b. Dual BIOS / Q-Flash Programming Utility
Dual BIOS Utility V1.33
Boot From................................................. Main Bios
Main ROM Type/Size............................... SST 49LF004A 512K
Backup ROM Type/Size........................... SST 49LF004A 512K
Wide Range Protection Disable
Boot From Main Bios
Auto Recovery Enable
Halt On Error Disable
Keep DMI Data Enable
Copy Main ROM Data to Backup
Load Default Settings
Save Settings to CMOS
Q-Flash Utility
Update Main BIOS from Floppy
Update Backup BIOS from Floppy
Save Main BIOS to Floppy
Save Backup BIOS to Floppy
PgDn/PgUp: Modify : Move ESC: Reset F10: Power Off
CMOS Setup Utility-Copyright (C) 1984-2006 Award Software
Standard CMOS Features
Advanced BIOS Features
Integrated Peripherals
Power Management Setup
PnP/PCI Configurations
PC Health Status
MB Intelligent Tweaker(M.I.T.)
Load Fail-Safe Defaults
Load Optimized Defaults
Set Supervisor Password
Set User Password
Save & Exit Setup
Exit Without Saving
ESC: Quit : Select Item F11: Save CMOS to BIOS
F8: Dual BIOS 1/Q-Flash F10: Save & Exit Setup F12: Load CMOS from BIOS
Time, Date, Hard Disk Type...
Only for GA-M59SLI-S5.

Appendix- 69 -
English
c. Dual BIOS Item explanation:
Wide Range Protection: Disable(Default), Enable
Status 1:
If any failure (ex. Update ESCD failure, checksum error or reset? occurs in the Main BIOS, just before
the Operating System is loaded and after the power is on, and that the Wide Range Protection is set to
"Enable", the PC will boot from Backup BIOS automatically.
Status 2:
If the ROM BIOS on peripherals cards(ex. SCSI Cards, LAN Cards,..) emits signals torequest restart
of the system after the user make any alteration on it, the boot up BIOS will not be changed to the
Backup BIOS.
Boot From : Main BIOS(Default), Backup BIOS
Status 1:
The user can set to boot from main BIOS or Backup BIOS.
Status 2:
If one of the main BIOS or the Backup BIOS fails, this item "Boot From : Main BIOS(Default)" will
become gray and will not be changed by user.
Auto Recovery : Enable(Default), Disable
When one of the Main BIOS or Backup BIOS occurs checksum failure, the working BIOS will automati-
cally recover the BIOS of checksum failure.
(In the Power Management Setup of the BIOS Setting, if ACPI Suspend Type is set to Suspend to RAM,
the Auto Recovery will be set to Enable automatically.)
(If you want to enter the BIOS setting, please press "Del" key when the boot screen appears.)
Halt On Error : Disable(Default), Enable
If the BIOS occurs a checksum error or the Main BIOS occurs a WIDE RANGE PROTECTION error and
Halt On Error set to Enable, the PC will show messages on the boot screen, and the system will pause
and wait for the user's instruction.
If Auto Recovery :Disable, it will show <or the other key to continue.>
If Auto Recovery :Enable, it will show <or the other key to Auto Recover.>
Keep DMI Data : Enable(Default), Disable
Enable: The DMI data won't be replaced by flashing new BIOS.(recommend)
Disable: The DMI data will be replaced by flashing new BIOS.
Copy Main ROM Data to Backup
(If you boot from Backup ROM, this item will change to Copy Backup ROM Data to Main)
Auto recovery message:
BIOS Recovery: Main to Backup
The means that the Main BIOS works normally and could automatically recover the Backup BIOS.
BIOS Recovery: Backup to Main
The means that the Backup BIOS works normally and could automatically recover the Main BIOS.
(This auto recovery utility is set by system automatically and can’t be changed by user.)
Load Default Settings
Load dual BIOS default value.
Save Settings to CMOS
Save revised setting.

GA-M59SLI-S5/GA-M59SLI-S4 Motherboard - 70 -
English
Method 1 : Q-FlashTM Utility
Q-FlashTM is a BIOS flash utility embedded in Flash ROM. With this
utility, users only have to stay in the BIOS menu when they want to
update BIOS. Q-Flash?allows users to flash BIOS without any utility
in DOS or Windows. Using Q-FlashTM indicating no more fooling around with any complicated instruc-
tions and
operating system since it is in the BIOS menu.
Please note that because updating BIOS has potential risk, please do it with caution!! We are
sorry that Gigabyte Technology Co., Ltd is not responsible for damages of system because
of incorrect manipulation of updating BIOS to avoid any claims from end-users.
Before You Begin:
Before you start updating BIOS with the Q-FlashTM utility, please follow the steps below first.
1. Download the latest BIOS for your motherboard from Gigabyte's website.
2. Extract the BIOS file downloaded and save the BIOS file (the one with model name.Fxx. For
example, 8KNXPU.Fba) to a floppy disk.
3. Reboot your PC and press Del to enter BIOS menu.
The BIOS upgrading guides below are separated into two parts.
If your motherboard has dual-BIOS, please refer to Part One.
If your motherboard has single-BIOS, please refer to Part Two.
Part One:
Updating BIOS with Q-FlashTM Utility on Dual BIOS Motherboards.
Some of Gigabyte motherboards are equipped with dual BIOS. In the BIOS menu of the motherboards
supporting Q-Flash and Dual BIOS, the Q-Flash utility and Dual BIOS utility are combined in the same
screen. This section only deals with how to use Q-Flash utility.
In the following sections, we take GA-8KNXP Ultra as the example to guide you how to flash
BIOS from an older version to the latest version. For example, from Fa3 to Fba.
The BIOS file is Fa3
before updating
Intel i875P AGPset BIOS for 8KNXP Ultra Fa3
Check System Health OK , VCore = 1.5250
Main Processor : Intel Pentium(R) 4 1.6GHz (133x12)
<CPUID : 0F27 Patch ID : 0027>
Memory Testing : 131072K OK
Memory Frequency 266 MHz in Single Channel
Primary Master : FUJITSU MPE3170AT ED-03-08
Primary Slave : None
Secondary Master : CREATIVEDVD-RM DVD1242E BC101
Secondary Slave : None
Press DEL to enter SETUP / Dual BIOS / Q-Flash / F9 For
Xpress Recovery
08/07/2003-i875P-6A79BG03C-00
Award Modular BIOS v6.00PG, An Energy Star
Ally
Copyright (C) 1984-2003, Award Software, Inc.

Appendix- 71 -
English
Entering the Q-FlashTM utility:
CMOS Setup Utility-Copyright (C) 1984-2004 Award Software
Standard CMOS Features
Advanced BIOS Features
Integrated Peripherals
Power Management Setup
PnP/PCI Configurations
PC Health Status
MB Intelligent Tweaker(M.I.T.)
Select Language
Load Fail-Safe Defaults
Load Optimized Defaults
Set Supervisor Password
Set User Password
Save & Exit Setup
Exit Without Saving
ESC: Quit F3: Change Language
F8: Dual BIOS/Q-Flash F10: Save & Exit Setup
Time, Date, Hard Disk Type...
Step 2: Press F8 button on your keyboard and then Y button to enter the Dual BIOS/Q-Flash utility.
Step1: To use Q-Flash utility, you must press Del in the boot screen to enter BIOS menu.
Exploring the Q-FlashTM / Dual BIOS utility screen
The Q-Flash / Dual BIOS utility screen consists of the following key components.
Task menu for Dual BIOS utility:
Contains the names of eight tasks and two item showing information about the BIOS ROM type.
Blocking a task and pressing Enter key on your keyboard to enable execution of the task.
Task menu for Q-Flash utility:
Contains the names of four tasks. Blocking a task and pressing Enter key on your keyboard to enable
execution of the task.
Action bar:
Contains the names of four actions needed to operate the Q-Flash/Dual BIOS utility. Pressing the buttons
mentioned on your keyboards to perform these actions.
Dual BIOS Utility
Boot From......................................... Main Bios
Main ROM Type/Size.............................SST 49LF004A 512K
Backup ROM Type/Size.........................SST 49LF004A 512K
Wide Range Protection Disable
Boot From Main Bios
Auto Recovery Enable
Halt On Error Disable
Copy Main ROM Data to Backup
Load Default Settings
Save Settings to CMOS
Q-Flash Utility
Load Main BIOS from Floppy
Load Backup BIOS from Floppy
Save Main BIOS to Floppy
Save Backup BIOS to Floppy
Enter : Run :Move ESC:Reset F10:Power Off
Task menu for
Dual BIOS
utility
Task menu for
Q-FlashTM utility
Dual BIOS utility bar
Q-FlashTM utility title
bar
Action bar

GA-M59SLI-S5/GA-M59SLI-S4 Motherboard - 72 -
English
Dual BIOS Utility
Boot From......................................... Main Bios
Main ROM Type/Size.............................SST 49LF004A 512K
Backup ROM Type/Size.........................SST 49LF004A 512K
Wide Range Protection Disable
Boot From Main Bios
Auto Recovery Enable
Halt On Error Disable
Copy Main ROM Data to Backup
Load Default Settings
Save Settings to CMOS
Q-Flash Utility
Load Main BIOS from Floppy
Load Backup BIOS from Floppy
Save Main BIOS to Floppy
Save Backup BIOS to Floppy
Enter : Run :Move ESC:Reset F10:Power Off
Using the Q-FlashTM utility:
This section tells you how to update BIOS using the Q-Flash utility. As described in the "Before you
begin" section above, you must prepare a floppy disk having the BIOS file for your motherboard and
insert it to your computer. If you have already put the floppy disk into your system and have entered
the Q-Flash utility, please follow the steps below to flash BIOS.
Steps:
1. Press arrow buttons on your keyboard to move the light bar to "Load Main BIOS from Floppy" item
in the Q-Flash menu and press Enter button.
Later, you will see a box pop up showing the BIOS files you previously downloaded to the floppy
disk.
If you want to save the current BIOS for backup purpose, you can begin Step 1 with "Save
Main BIOS to Floppy" item.
2. Move to the BIOS file you want to flash and press Enter.
In this example, we only download one BIOS file to the floppy disk so only one BIOS file,
8KNXPU.Fba, is listed.
Please confirm again you have the correct BIOS file for your motherboard.
1 file(s) found
8KNXPU.Fba 512K
Total size : 1.39M Free size : 911.50K
F5 : Refresh DEL : Delete
BIOS file in the floppy
disk.
Dual BIOS Utility
Boot From......................................... Main Bios
Main ROM Type/Size.............................SST 49LF004A 512K
Backup ROM Type/Size.........................SST 49LF004A 512K
Wide Range Protection Disable
Boot From Main Bios
Auto Recovery Enable
Halt On Error Disable
Copy Main ROM Data to Backup
Load Default Settings
Save Settings to CMOS
Q-Flash Utility
Load Main BIOS from Floppy
Load Backup BIOS from Floppy
Save Main BIOS to Floppy
Save Backup BIOS to Floppy
Enter : Run :Move ESC:Reset F10:Power Off
Reading BIOS file from floppy ...
>>>>>>>>>>>>>>.....................
Don't Turn Off Power or Reset System
Do not turn off power or
reset your system at this
stage!!
After pressing Enter, you'll then see the progress of reading the BIOS file from the floppy disk.
After BIOS file is read, you'll see a confirmation dialog box asking you "Are you sure to update BIOS?"

Appendix- 73 -
English
3. Press Y button on your keyboard after you are sure to update BIOS.
Then it will begin to update BIOS. The progress of updating BIOS will be displayed.
Dual BIOS Utility
Boot From......................................... Main Bios
Main ROM Type/Size.............................SST 49LF004A 512K
Backup ROM Type/Size.........................SST 49LF004A 512K
Wide Range Protection Disable
Boot From Main Bios
Auto Recovery Enable
Halt On Error Disable
Copy Main ROM Data to Backup
Load Default Settings
Save Settings to CMOS
Q-Flash Utility
Load Main BIOS from Floppy
Load Backup BIOS from Floppy
Save Main BIOS to Floppy
Save Backup BIOS to Floppy
Enter : Run :Move ESC:Reset F10:Power Off
!! Copy BIOS completed - Pass !!
Please press any key to continue
Please do not take out the floppy disk when it begins flashing BIOS.
4. Press any keys to return to the Q-Flash menu when the BIOS updating procedure is completed.
You can repeat Step 1 to 4
to flash the backup BIOS,
too.
Dual BIOS Utility
Boot From......................................... Main Bios
Main ROM Type/Size.............................SST 49LF004A 512K
Backup ROM Type/Size.........................SST 49LF004A 512K
Wide Range Protection Disable
Boot From Main Bios
Auto Recovery Enable
Halt On Error Disable
Copy Main ROM Data to Backup
Load Default Settings
Save Settings to CMOS
Q-Flash Utility
Load Main BIOS from Floppy
Load Backup BIOS from Floppy
Save Main BIOS to Floppy
Save Backup BIOS to Floppy
Enter : Run :Move ESC:Reset F10:Power Off
Are you sure to RESET ?
[Enter] to continure or [Esc] to abort...
5. Press Esc and then Y button to exit the Q-Flash utility. The computer will restart automatically after
you exit Q-Flash.
After system reboots, you may find the BIOS version on your boot screen becomes the one you
flashed.
The BIOS file
becomes Fab after
updating.
Intel i875P AGPset BIOS for 8KNXP Ultra Fba
Check System Health OK , VCore = 1.5250
Main Processor : Intel Pentium(R) 4 1.6GHz (133x12)
<CPUID : 0F27 Patch ID : 0027>
Memory Testing : 131072K OK
Memory Frequency 266 MHz in Single Channel
Primary Master : FUJITSU MPE3170AT ED-03-08
Primary Slave : None
Secondary Master : CREATIVEDVD-RM DVD1242E BC101
Secondary Slave : None
Press DEL to enter SETUP / Dual BIOS / Q-Flash / F9 For
Xpress Recovery
09/23/2003-i875P-6A79BG03C-00
Award Modular BIOS v6.00PG, An Energy Star
Ally
Copyright (C) 1984-2003, Award Software, Inc.

GA-M59SLI-S5/GA-M59SLI-S4 Motherboard - 74 -
English
6. Press Del to enter BIOS menu after system reboots. When you are in BIOS menu, move to
Load Optimized Defaults item and press Enter to load BIOS Optimized Defaults. Normally the
system redetects all devices after BIOS has been upgraded. Therefore, we highly recommend
reloading the BIOS defaults after BIOS has been upgraded.
Press Y on your keyboard to load defaults.
7. Select Save & Exit Setup item to save the settings to CMOS and exit the BIOS menu.
System will reboot after you exit the BIOS menu. The procedure is completed.
Press Y on your keyboard to save and exit.
Part Two:
Updating BIOS with Q-FlashTM Utility on Single-BIOS Motherboards.
This part guides users of single-BIOS motherboards how to update BIOS using the Q-FlashTM utility.
CMOS Setup Utility-Copyright (C) 1984-2004 Award Software
Standard CMOS Features
Advanced BIOS Features
Integrated Peripherals
Power Management Setup
PnP/PCI Configurations
PC Health Status
MB Intelligent Tweaker(M.I.T.)
Top Performance
Load Fail-Safe Defaults
Load Optimized Defaults
Set Supervisor Password
Set User Password
Save & Exit Setup
Exit Without Saving
ESC: Quit F3: Change Language
F8: Q-Flash F10: Save & Exit Setup
Time, Date, Hard Disk Type...
CMOS Setup Utility-Copyright (C) 1984-2004 Award Software
Standard CMOS Features
Advanced BIOS Features
Integrated Peripherals
Power Management Setup
PnP/PCI Configurations
PC Health Status
MB Intelligent Tweaker(M.I.T.)
ESC: Quit F3: Change Language
F8: Dual BIOS/Q-Flash F10: Save & Exit Setup
Load Optimized Defaults
Select Language
Load Fail-Safe Defaults
Load Optimized Defaults
Set Supervisor Password
Set User Password
Save & Exit Setup
Exit Without Saving
Load Optimized Defaults (Y/N)? Y
CMOS Setup Utility-Copyright (C) 1984-2004 Award Software
Standard CMOS Features
Advanced BIOS Features
Integrated Peripherals
Power Management Setup
PnP/PCI Configurations
PC Health Status
MB Intelligent Tweaker(M.I.T.)
ESC: Quit F3: Change Language
F8: Dual BIOS/Q-Flash F10: Save & Exit Setup
Save Data to CMOS
Select Language
Load Fail-Safe Defaults
Load Optimized Defaults
Set Supervisor Password
Set User Password
Save & Exit Setup
Exit Without Saving
Save to CMOS and EXIT (Y/N)? Y

Appendix- 75 -
English
Exploring the Q-FlashTM utility screen
The Q-FlashBIOS utility screen consists of the following key components.
Task menu for Q-Flash utility:
Contains the names of three tasks. Blocking a task and pressing Enter key on your keyboard to enable
execution of the task.
Action bar:
Contains the names of four actions needed to operate the Q-Flash utility. Pressing the buttons mentioned
on your keyboards to perform these actions.
Using the Q-FlashTM utility:
This section tells you how to update BIOS using the Q-Flash utility. As described in the "Before you
begin" section above, you must prepare a floppy disk having the BIOS file for your motherboard and
insert it to your computer. If you have already put the floppy disk into your system and have entered
the Q-Flash utility, please follow the steps below to flash BIOS.
Steps:
1. Press arrow buttons on your keyboard to move the light bar to "Update BIOS from Floppy" item in
the Q-Flash menu and press Enter button.
Later, you will see a box pop up showing the BIOS files you previously downloaded to the floppy
disk.
If you want to save the current BIOS for backup purpose, you can begin Step 1 with "Save
BIOS to Floppy" item.
2. Move to the BIOS file you want to flash and press Enter.
In this example, we only download one BIOS file to the floppy disk so only one BIOS file,
8GE800.F4, is listed.
Please confirm again you have the correct BIOS file for your motherboard.
Q-Flash Utility V1.30
Flash Type/Size.................................SST 49LF002A 256K
Keep DMI Data Enable
Update BIOS from Floppy
Save BIOS to Floppy
Enter : Run :Move ESC:Reset F10:Power Off
1 file(s) found
8GE800.F4 256K
Total size : 1.39M Free size : 1.14M
F5 : Refresh DEL : Delete
BIOS file in the floppy
disk.
Q-Flash Utility V1.30
Flash Type/Size.................................SST 49LF002A 256K
Keep DMI Data Enable
Update BIOS from Floppy
Save BIOS to Floppy
Enter : Run :Move ESC:Reset F10:Power Off
Reading BIOS file from floppy ...
>>>>>>>>>>>>>>.....................
Don't Turn Off Power or Reset System
Do not turn off power or
reset your system at this
stage!!
After BIOS file is read, you'll see a confirmation dialog box asking you "Are you sure to update BIOS?"
Please do not take out the floppy disk when it begins flashing BIOS.
Q-Flash Utility V1.30
Flash Type/Size.................................SST 49LF003A 256K
Keep DMI Data Enable
Update BIOS from Floppy
Save BIOS to Floppy
Enter : Run :Move ESC:Reset F10:Power Off
Task menu for
Q-FlashTM utility
Q-FlashTM utility bar
Action bar

GA-M59SLI-S5/GA-M59SLI-S4 Motherboard - 76 -
English
3. Press Y button on your keyboard after you are sure to update BIOS.
Then it will begin to update BIOS. The progress of updating BIOS will be shown at the same time.
Q-Flash Utility V1.30
Flash Type/Size.................................SST 49LF002A 256K
Keep DMI Data Enable
Update BIOS from Floppy
Save BIOS to Floppy
Enter : Run :Move ESC:Reset F10:Power Off
Updating BIOS Now
>>>>>>>>>>>>>>>>>>>.........................
Don't Turn Off Power or Reset System
Do not turn off power or
reset your system
at this stage!!
4. Press any keys to return to the Q-Flash menu when the BIOS updating procedure is completed.
Q-Flash Utility V1.30
Flash Type/Size.................................SST 49LF002A 256K
Keep DMI Data Enable
Update BIOS from Floppy
Save BIOS to Floppy
Enter : Run :Move ESC:Reset F10:Power Off
!! Copy BIOS completed - Pass !!
Please press any key to continue
5. Press Esc and then Y button to exit the Q-Flash utility. The computer will restart automatically after
you exit Q-Flash.
Q-Flash Utility V1.30
Flash Type/Size.................................SST 49LF002A 256K
Keep DMI Data Enable
Update BIOS from Floppy
Save BIOS to Floppy
Enter : Run :Move ESC:Reset F10:Power Off
Are you sure to RESET ?
[Enter] to continure or [Esc] to abort...
After system reboots, you may find the BIOS version on your boot screen becomes the one you
flashed.
The BIOS file
becomes F4 after
updating
6. Press Del to enter BIOS menu after system reboots and "Load BIOS Fail-Safe Defaults". See how
to Load BIOS Fail-Safe Defaults, please kindly refer to Step 6 to 7 in Part One.
Congratulation!! You have updated BIOS successfully!!
Intel 845GE AGPSet BIOS for 8GE800 F4
Check System Health OK
Main Processor : Intel Pentium(R) 4 1.7GHz (100x17.0)
<CPUID : 0F0A Patch ID : 0009>
Memory Testing : 122880K OK + 8192K Shared Memory
Primary Master : FUJITSU MPE3170AT ED-03-08
Primary Slave : None
Secondary Master : CREATIVEDVD-RM DVD1242E BC101
Secondary Slave : None
Press DEL to enter SETUP / Q-Flash
03/18/2003-I845GE-6A69YG01C-00
Award Modular BIOS v6.00PG, An Energy Star
Ally
Copyright (C) 1984-2003, Award Software, Inc.

Appendix- 77 -
English
Method 2 : @BIOSTM Utility
If you do not have a DOS startup disk, we recommend that you use the
new @BIOS utility. @BIOS allows users to update their BIOS under
Windows. Just select the desired @BIOS server to download the latest
version of BIOS.
1. Methods and steps:
I. Update BIOS through Internet
a. Click "Internet Update" icon
b. Click "Update New BIOS" icon
c. Select @BIOSTM sever
d. Select the exact model name on your motherboard
e. System will automatically download and update the BIOS.
II. Update BIOS NOT through Internet:
a. Do not click "Internet Update" icon
b. Click "Update New BIOS"
c. Please select "All Files" in dialog box while opening the old file.
d. Please search for BIOS unzip file, downloading from internet or any other methods (such
as: M59SLI-S5.F2).
e. Complete update process following the instruction.
Fig 1. Installing the @BIOS utility Fig 2. Installation Complete and Run @BIOS
Fig 3. The @BIOS Utility Fig 4. Select the desired @BIOS server
Click Sart/ Programs/ GIGABYTE/@BIOS
Click ""Click "Update New BIOS"
Select @BIOS item than click Install

GA-M59SLI-S5/GA-M59SLI-S4 Motherboard - 78 -
English
III. Save BIOS
In the very beginning, there is "Save Current BIOS" icon shown in dialog box. It means to save the
current BIOS version.
IV. Check out supported motherboard and Flash ROM:
In the very beginning, there is "About this program" icon shown in dialog box. It can help you check out
which kind of motherboard and which brand of Flash ROM are supported.
2. Note:
I. In method I, if it shows two or more motherboard's model names to be selected, please make
sure your motherboard's model name again. Selecting wrong model name will cause the
system unbooted.
II. In method II, be sure that motherboard's model name in BIOS unzip file are the same as your
motherboard's. Otherwise, your system won't boot.
III. In method I, if the BIOS file you need cannot be found in @BIOSTM server, please go onto
Gigabyte's web site for downloading and updating it according to method II.
IV. Please note that any interruption during updating will cause system unbooted.
V. Do not use @BIOS and C.O.M. (Corporate Online Management) at the same time.

Appendix- 79 -
English
"*" Skip this step if you do not want to create RAID array on the SATA controller.
To configure SATA hard drive(s), follow the steps below:
(1) Install SATA hard drive(s) in your system.
(2) Configure SATA controller mode and boot sequence in BIOS Setup.
(3)* Configure RAID set in RAID BIOS.
(4) Make a floppy disk containing the SATA controller driver.
(5) Install the SATA controller driver during OS installation.
Before you begin
Please prepare:
(a) At least two SATA hard drives (to ensure optimal performance, it is recommended that you use two
hard drives with identical model and capacity). If you do not want to create RAID, you may prepare
only one hard drive.
(b) An empty formatted floppy disk.
(c) Windows XP/2000 setup disk.
(d) Driver CD for your motherboard.
A. nVIDIA® nForce 590SLI Southbridge
(1) Installing SATA hard drive(s) in your computer
Attach one end of the SATA signal cable to the rear of the SATA hard drive and the other end to available
SATA port(s) on the motherboard. If there are more than one SATA controller on your motherboard, you
may refer to the motherboard user's manual to identify the SATA controller for the connector. Then
connect the power connector from your power supply to the hard drive.
4-1-4 Configuring SATA Hard Drive(s)

GA-M59SLI-S5/GA-M59SLI-S4 Motherboard - 80 -
English
Figure 1
Ensure that NV SATA RAID function is enabled (Figure 2). For example, if you wish to create RAID
with hard disks on the SATAII0 and SATAII1 connectors, ensure that NV SATA 1 Primary/Secondary
RAID are enabled (Figure 2).
The BIOS Setup menus described in this section may not show the exact settings for your
motherboard. The actual BIOS Setup menu options you will see shall depend on the motherboard
you have and the BIOS version.
Figure 2
(2) Configuring SATA controller mode and boot sequence in BIOS Setup
You have to make sure whether the SATA controller is configured correctly in system BIOS Setup and
set BIOS boot sequence for the SATA hard drive(s)/RAID array.
Step 1:
Turn on your computer and press Del to enter BIOS Setup during POST (Power-On Self Test). In BIOS
Setup, go to Integrated Periperals --> Serial-ATA RAID Config (Figure 1).
CMOS Setup Utility-Copyright (C) 1984-2006 Award Software
Integrated Peripherals
Serial-ATA RAID Config [Press Enter]
On-Chip IDE Channel0 [Enabled]
On-Chip MAC Lan [Auto]
On-Chip MAC1 Lan [Auto]
NV Serial-ATA Controller [All Enabled]
IDE Prefetch Mode [Enabled]
Onboard Audio Function [Auto]
SMART LAN [Press Enter]
Onboard 1394 [Enabled]
Onboard LAN Boot ROM [Disabled]
Onboard SATA/IDE Ctrl Mode 1[IDE]
Onboard Serial Port 1 [3F8/IRQ4]
Onboard Parallel Port [378/IRQ7]
Parallel Port Mode [SPP]
x ECP Mode Use DMA 3
On-Chip USB [V1.1+V2.0]
USB Keyboard Support [Disabled]
USB Mouse Support [Disabled]
Legacy USB Storage detect [Enabled]
: Move Enter: Select +/-/PU/PD: Value F10: Save ESC: Exit F1: General Help
F11/12: Profile F5: Previous Values F6: Fail-Safe Defaults F7: Optimized Defaults
Item Help
Menu Level
CMOS Setup Utility-Copyright (C) 1984-2006 Award Software
Serial-ATA RAID Config
Item Help
Menu Level
NV SATA RAID function [Enabled]
NV SATA 1 Primary RAID [Enabled]
NV SATA 1 Secondary RAID [Enabled]
NV SATA 2 Primary RAID [Disabled]
NV SATA 2 Secondary RAID [Disabled]
NV SATA 3 Primary RAID [Disabled]
NV SATA 3 Secondary RAID [Disabled]
: Move Enter: Select +/-/PU/PD: Value F10: Save ESC: Exit F1: General Help
F11/12: Profile F5: Previous Values F6: Fail-Safe Defaults F7: Optimized Defaults

Appendix- 81 -
English
Step 2:
To boot from Windows installation CD-ROM, set First Boot Device under the Advanced BIOS
Features menu to CDROM (Figure 3).
Step 3:
Save and exit BIOS Setup.
Figure 3
CMOS Setup Utility-Copyright (C) 1984-2006 Award Software
Advanced BIOS Features
Hard Disk Boot Priority [Press Enter]
First Boot Device [CDROM]
Second Boot Device [Hard Disk]
Third Boot Device [CDROM]
Boot Up Floopy Seek [Disabled]
Password Check [Setup]
Away Mode [Disabled]
Init Display First [PCI Slot]
: Move Enter: Select +/-/PU/PD: Value F10: Save ESC: Exit F1: General Help
F11/12: Profile F5: Previous Values F6: Fail-Safe Defaults F7: Optimized Defaults
Item Help
Menu Level
Select Hard Disk Boot
Device Priority

GA-M59SLI-S5/GA-M59SLI-S4 Motherboard - 82 -
English
(3) Configuring RAID set in RAID BIOS
Enter the RAID BIOS setup utility to configure a RAID array. Skip this step and proceed to Section 4 if
you do not want to create RAID.
Step 1:
After the POST memory test begins and before the operating system boot begins, look for a message
which says "Press F10 to enter RAID setup utility" (Figure 4). Hit the F10 key to enter the RAID BIOS
setup utility.
Figure 4
Step 2:
The Define a New Array screen is the first option screen when you enter the NVIDIA RAID setup utility.
(Figure 5). You can press the TAB key to highlight through options.
Step 3:
In the RAID Mode field, use the UP or DOWN ARROW key to select a RAID mode. The supported RAID
modes include Mirroring (default), Striping, Stripe Mirroring, Spanning and RAID 5. The following is an
example of RAID 0 array creation.
Step 4:
If RAID 0 (Striping) is selected, you can manually set the striping block size. In the Striping Block field,
use the UP or DOWN ARROW key to set the Striping Block size. The KB is the standard unit of Striping
Block size. We recommend you leaving it to the default setting--Optimal (64K). The size range is from
4K to 128K.
Figure 5
MediaShield IDE ROM BIOS 6.55
Copyright (C) 2006 NVIDIA Corp.
Detecting array ...
Press F10 to enter RAID setup utility ...
MediaShield Utility Mar 22 2006
- Define a New Array -
RAID Mode: Striping Striping Block: Optimal
Free Disks
Loc Disk Model Capacity
1.0.M ST3120026AS 111.78GB
2.1.M ST3120026AS 111.78GB
Array Disks
Loc Disk Model Capacity
[
] Add
[
] Del
[ESC] Quit [F6] Back [F7] Finish [TAB] Navigate [
] Select [ENTER] Popup

Appendix- 83 -
English
Step 6:
Press F7 after selecting the target hard disks. A message which says "Clear disk data?" will appear
(Figure 7). If you are sure to clear the data in the selected hard drives, press Y. (If the hard drives
contain previously created RAID array, you need to press Y to clear the data from the hard drives.)
Figure 7
Figure 6
Step 5:
Next, select the hard drives which you wish to be included in the disk array. The Free Disks section
displays the information about the currently installed SATA hard drives. Press the TAB key to move to
the Free Disks section. Select the target hard drives using the UP or DOWN ARROW key and use the
RIGHT ARROW key to add the hard drives to the Array Disks section (Figure 6).
MediaShield Utility Mar 22 2006
- Define a New Array -
RAID Mode: Striping Striping Block: Optimal
[
] Add
[
] Del
[ESC] Quit [F6] Back [F7] Finish [TAB] Navigate [
] Select [ENTER] Popup
1.0.M ST3120026AS 111.78GB
2.1.M ST3120026AS 111.78GB
Free Disks
Loc Disk Model Capacity
Array Disks
Loc Disk Model Capacity
Clear disk data ?
[Y] YES [N] NO
RAID Mode: Striping Striping Block: Optimal
[
] Add
[
] Del
[ESC] Quit [F6] Back [F7] Finish [TAB] Navigate [
] Select [ENTER] Popup
1.0.M ST3120026AS 111.78GB
2.1.M ST3120026AS 111.78GB
MediaShield Utility Mar 22 2006
- Define a New Array -
Array Disks
Loc Disk Model Capacity
Free Disks
Loc Disk Model Capacity
Clear disk data ?
[Y] YES [N] NO

GA-M59SLI-S5/GA-M59SLI-S4 Motherboard - 84 -
English
To read more information about the RAID array, press ENTER to enter the Array Detail screen (Figure
9), where you should see detailed information about RAID mode, disk block size, disk model name,
and disk capacity, etc.
Figure 9
Figure 8
After that, the Array List screen displaying the RAID array you created will appear (Figure 8).
If you want to set the disk array as boot device, use the UP or DOWN ARROW key to select the array
and press B. The Boot section will show Yes.
To delete the array, press D in the Array Detail screen. When the "Delete this array?" message appears,
press Y to confirm or N to cancel. Press ENTER to return to the Array List screen.
To exit the Nvidia RAID utility, press ESC in the main menu or Ctrl+X in the Array List screen.
Now, you can proceed to install the SATA controller driver and operating system.
MediaShield Utility Mar 22 2006
- Array Detail -
RAID Mode: Striping
Striping Width : 2 Striping Block: 64K
Adapt Channel M/S Index Disk Model Capacity
1 0 Master 0 ST3120026AS 111.78GB
2 1 Master 1 ST3120026AS 111.78GB
[R] Rebuild [D] Delete [C] Clear Disk [ENTER] Return
MediaShield Utility Mar 22 2006
- Array List -
[Ctrl-X] Exit [
] Select [B] Set Boot [N] New Array [ENTER] Detail
Boot Status Vendor Array Model Name
BBS Healthy NVIDIA STRIPE 223.57G

Appendix- 85 -
English
(4) Making a SATA Driver Disk
To install operating system onto a serial ATA hard disk successfully, you need to install the SATA
controller driver during OS installation. Without the driver, the hard disk may not be recognized during
the Windows setup process. First of all, copy the driver for the SATA controller from the motherboard
driver CD-ROM to a floppy disk. See the instructions below about how to copy the driver in MS-DOS
mode(Note1). Prepare a startup disk that has CD-ROM support and a blank formatted floppy disk.
Step 1: Insert the prepared startup disk and motherboard driver CD-ROM in your system. Boot from the
startup disk. Once at the A:\> prompt, change to the CD-ROM drive (example: D:\>). At the D:\>
prompt, type the following two commands. Press ENTER after each command (Figure 10):
cd bootdrv
menu
(Note 1) For users without a startup disk:
Use an alternative system and insert the GIGABYTE motherboard driver CD-ROM. From the
CD-ROM drive folder, double click the MENU.exe file in the BootDrv folder (Figure 12). A
command prompt window will open similar to that in Figure 11.
Figure 10 Figure 11
Step 2: When the controller menu (Figure 11) appears, remove the startup disk and insert the blank
formatted disk. Select the controller driver by pressing the corresponding letter from the menu.
For example, from the menu in Figure 11, press I to select H) nVIDIA MCP55 Series Raid (XP) if you
wish to install Windows XP. Your system will then automatically zip and transfer this driver file to the
floppy disk. Press 0 to exit when finished.
Figure 12

GA-M59SLI-S5/GA-M59SLI-S4 Motherboard - 86 -
English
Figure 13
Windows Setup
Press F6 if you need to install a 3rd party SCSI or RAID driver.
Figure 14
Windows Setup
S=Specify Additional Device ENTER=Continue F3=Exit
Setup could not determine the type of one or more mass storage devices
installed in your system, or you have chosen to manually specify an adapter.
Currently, Setup will load support for the following mass storage devices(s)
<none>
* To specify additional SCSI adapters, CD-ROM drives, or special
disk controllers for use with Windows, including those for
which you have a device support disk from a mass storage device
manufacturer, press S.
* If you do not have any device support disks from a mass storage
device manufacturer, or do not want to specify additional
mass storage devices for use with Windows, press ENTER.
(5) Installing SATA controller driver during OS installation
Now that you have prepared the SATA driver disk and configured BIOS settings, you are ready to install
Windows 2000/XP onto your SATA hard drive with the SATA driver. The following is an example of
Windows XP installation.
Step 1: Restart your system to boot from the Windows 2000/XP Setup disk and press F6 as soon as
you see the "Press F6 if you need to install a 3rd party SCSI or RAID driver" message (Figure 13). After
pressing F6, there will be a few moments of some files being loaded before you see the next screen.
Step 2:
When a screen similar to that below appears, insert the floppy disk containing the SATA driver and press
S (Figure 14).

Appendix- 87 -
English
Step 3:
If Setup correctly recognizes the driver in the floppy disk, a controller menu similar to Figure 15 below
will appear. Use the ARROW keys to select NVIDIA RAID CLASS DRIVER* (Figure 15) and press
ENTER. Later, when a screen similar to Figure 18 appears, you must press S to select additional
driver. The screen will return to previous screen as shown in Figure 15. Select NVIDIA nForce
Storage Controller and press ENTER.
Figure 15
"*" If you want to create RAID, select both NVIDIA RAID CLASS DRIVER and then NVIDIA
nForce Storage Controller.
If you do not create RAID, select NVIDIA nForce Storage Controller only.
Figure 16
Windows Setup
S=Specify Additional Device Enter=Continue F3=Exit
Setup will load support for the following mass storage device(s):
NVIDIA RAID CLASS DRIVER (required)
* To specify additional SCSI adapters, CD-ROM drives, or special
disk controllers for use with Windows, including those for
which you have a device support disk from a mass storage device
manufacturer, press S.
* If you do not have any device support disks from a mass storage
device manufacturer, or do not want to specify additional
mass storage devices for use with Windows, press ENTER.
If a message appears saying one or some file(s) cannot be found, please check the floppy disk
or copy the correct SATA driver again from the motherboard driver CD.
Windows Setup
ENTER=Select F3=Exit
You have chosen to configure a SCSI Adapter for use with Windows,
using a device support disk provided by an adapter manufacturer.
Select the SCSI Adapter you want from the following list, or press ESC
to return to the previous screen.
NVIDIA RAID CLASS DRIVER (required)
NVIDIA nForce Storage Controller (required)

GA-M59SLI-S5/GA-M59SLI-S4 Motherboard - 88 -
English
After the SATA controller driver installation is completed, you can proceed with the Windows 2000/XP
installation.
Figure 18
WindowsXP Professional Setup
Welcome to Setup.
This port of the Setup program prepares Microsoft(R)
Windows (R) XP to run on your computer.
To set up Windows XP now, press ENTER.
To repair a Windows XP installation using
Recovery Console, press R.
To quit Setup without installing Windows XP, press F3.
Enter= Continue R=Repair F3=Exit
(Note: Each time you add a new hard drive to a RAID array, the RAID driver will have to be installed
under Windows once for that hard drive. After that, the driver will not have to be installed.)
Step 4:
When the next screen (Figure 17) appears, press ENTER to continue the SATA driver installation from
the floppy disk.
Figure 17
Windows Setup
S=Specify Additional Device ENTER=Continue F3=Exit
Setup will load support for the following mass storage device(s):
NVIDIA RAID CLASS DRIVER (required)
NVIDIA nForce Storage Controller (required)
* To specify additional SCSI adapters, CD-ROM drives, or special
disk controllers for use with Windows, including those for
which you have a device support disk from a mass storage device
manufacturer, press S.
* If you do not have any device support disks from a mass storage
device manufacturer, or do not want to specify additional
mass storage devices for use with Windows, press ENTER.

Appendix- 89 -
English
(6) Configuring a bootable RAID array with Microsoft Windows 2000
Problem: Users cannot install Windows 2000 with Service Pack 2 (or previous versions) to a bootable
RAID volume.
There are two solutions to resolve this issue.
Solutions 1:
Use the NVRAID tool (nForce Driver Version 5.xx) to convert the boot volume to a RAID array. Here
are the detailed step-by-step instructions:
Step 1:
Install Windows 2000 onto a selected hard drive. Download and install Windows 2000 Service Pack 4
from Microsoft's website.
Step 2:
After system restarts, press Del to enter system BIOS Setup during POST (Power-On Self Test). Under
the Integrated Peripherals menu (Figure 19) assure the SATA port connecting the SATA hard disk (the
one containing the Windows 2000) is Enabled (Figure 19/20). Save settings and exit the BIOS setup.
Figure 19
Figure 20
CMOS Setup Utility-Copyright (C) 1984-2006 Award Software
Serial-ATA RAID Config
Item Help
Menu Level
NV SATA RAID function [Enabled]
NV SATA 1 Primary RAID [Enabled]
NV SATA 1 Secondary RAID [Enabled]
NV SATA 2 Primary RAID [Disabled]
NV SATA 2 Secondary RAID [Disabled]
NV SATA 3 Primary RAID [Disabled]
NV SATA 3 Secondary RAID [Disabled]
: Move Enter: Select +/-/PU/PD: Value F10: Save ESC: Exit F1: General Help
F11/12: Profile F5: Previous Values F6: Fail-Safe Defaults F7: Optimized Defaults
CMOS Setup Utility-Copyright (C) 1984-2006 Award Software
Integrated Peripherals
Serial-ATA RAID Config [Press Enter]
On-Chip IDE Channel0 [Enabled]
On-Chip MAC Lan [Auto]
On-Chip MAC1 Lan [Auto]
NV Serial-ATA Controller [All Enabled]
IDE Prefetch Mode [Enabled]
Onboard Audio Function [Auto]
SMART LAN [Press Enter]
Onboard 1394 [Enabled]
Onboard LAN Boot ROM [Disabled]
Onboard SATA/IDE Ctrl Mode 1[IDE]
Onboard Serial Port 1 [3F8/IRQ4]
Onboard Parallel Port [378/IRQ7]
Parallel Port Mode [SPP]
x ECP Mode Use DMA 3
On-Chip USB [V1.1+V2.0]
USB Keyboard Support [Disabled]
USB Mouse Support [Disabled]
Legacy USB Storage detect [Enabled]
: Move Enter: Select +/-/PU/PD: Value F10: Save ESC: Exit F1: General Help
F11/12: Profile F5: Previous Values F6: Fail-Safe Defaults F7: Optimized Defaults
Item Help
Menu Level

GA-M59SLI-S5/GA-M59SLI-S4 Motherboard - 90 -
English
Step 3:
After system restarts, press F10 to enter the NVIDIA RAID setup utility. Select Striping in the RAID Mode
filed (Figure 21). Move to the Free Disks section with the TAB key. Select the desired disk and use the
RIGHT ARROW key to add it to Array Disks menu.
Figure 21
Step 4:
After all the settings, press F7 to complete the configuration. When prompted to Clear Disk Data (Figure
22), press N. Then press CTRL+X to exit the NVIDIA RAID BIOS. Restart the computer to boot into
Windows 2000.
Figure 22
MediaShield Utility Sep 21 2005
- Define a New Array -
RAID Mode: Striping Striping Block: Optimal
[
] Add
[
] Del
[ESC] Quit [F6] Back [F7] Finish [TAB] Navigate [
] Select [ENTER] Popup
2.0.M ST3120026AS 111.78G
2.1.M ST3120026AS 111.78G
Free Disks
Loc Disk Model Capacity
Array Disks
Loc Disk Model Capacity
RAID Mode: Striping Striping Block: Optimal
[
] Add
[
] Del
[ESC] Quit [F6] Back [F7] Finish [TAB] Navigate [
] Select [ENTER] Popup
1.0.M ST3120026AS 111.79G
1.1.M ST3120026AS 111.79G
MediaShield Utility Sep 21 2005
- Define a New Array -
Array Disks
Loc Disk Model Capacity
Free Disks
Loc Disk Model Capacity
Clear disk data ?
[Y] YES [N] NO

Appendix- 91 -
English
Step 5:
Install the NVIDIA nForce Driver Package while in Windows 2000 and reboot the system. Go to START>
Programs>Nvidia Corporation and select NVRAID manager. You should see the single disk RAID
array (in striping mode) that was created from the boot disk. Select the single boot disk RAID Array by
clicking on it. Select Convert Array under the System Tasks and select Next following the instructions.
Select the desired type of RAID array you want to convert and then select Next. You are prompted to
select the desired Free Disk(s) to add to the bootable RAID array. Press Finish then NVRAID will start
converting the single disk RAID array into a multi-disk RAID array in a bootable format.
Note: Conversion may take 1~2 hours depending on disk size.
Solutions 2:
Users must create a combination installation CD that includes Windows 2000 and Service Pack 3 or
Service Pack 4 fixes integrated in. To create the combination installation CD, refer to the following
website:
http://www.microsoft.com/windows2000/downloads/servicepacks/sp4/HFdeploy.htm
Note: If users choose not to install Windows 2000 Service Pack 3 or 4, RAID is still supported on
Windows 2000. However, users will not be able to create a bootable RAID volume.

GA-M59SLI-S5/GA-M59SLI-S4 Motherboard - 92 -
English
B. GIGABYTE SATA2 Controller
(1) Installing SATA hard drive(s) in your computer
Attach one end of the SATA signal cable to the rear of the SATA hard drive and the other end to available
SATA port(s) on the motherboard. If there are more than one SATA controller on your motherboard, you
may refer to the motherboard user's manual to identify the SATA controller for the connector. Then
connect the power connector from your power supply to the hard drive.
Only for GA-M59SLI-S5.
Figure 1
(2) Configuring SATA controller mode and boot sequence in BIOS Setup
You have to make sure whether the SATA controller is configured correctly in system BIOS Setup and
set BIOS boot sequence for the SATA hard drive(s)/RAID array.
Step 1:
Turn on your computer and press Del to enter BIOS Setup during POST (Power-On Self Test). In BIOS
Setup, go to Integrated Periperals, set Onboard SATA/IDE Ctrl Mode to RAID before configuring
RAID. If you do not want to create RAID, set this item to IDE or AHCI, depending on your need
(Figure 1).
CMOS Setup Utility-Copyright (C) 1984-2006 Award Software
Integrated Peripherals
Serial-ATA RAID Config [Press Enter]
On-Chip IDE Channel0 [Enabled]
On-Chip MAC Lan [Auto]
On-Chip MAC1 Lan [Auto]
NV Serial-ATA Controller [All Enabled]
IDE Prefetch Mode [Enabled]
Onboard Audio Function [Auto]
SMART LAN [Press Enter]
Onboard 1394 [Enabled]
Onboard LAN Boot ROM [Disabled]
Onboard SATA/IDE Ctrl Mode 1[RAID]
Onboard Serial Port 1 [3F8/IRQ4]
Onboard Parallel Port [378/IRQ7]
Parallel Port Mode [SPP]
x ECP Mode Use DMA 3
On-Chip USB [V1.1+V2.0]
USB Keyboard Support [Disabled]
USB Mouse Support [Disabled]
Legacy USB Storage detect [Enabled]
: Move Enter: Select +/-/PU/PD: Value F10: Save ESC: Exit F1: General Help
F11/12: Profile F5: Previous Values F6: Fail-Safe Defaults F7: Optimized Defaults
Item Help
Menu Level
The BIOS Setup menus described in this section may not show the exact settings for your
motherboard. The actual BIOS Setup menu options you will see shall depend on the motherboard
you have and the BIOS version.

Appendix- 93 -
English
Step 2:
To boot from Windows installation CD-ROM disk, set First Boot Device under the Advanced BIOS
Features menu to CD-ROM (Figure 2).
Step 3:
Save and exit BIOS Setup.
Figure 2
CMOS Setup Utility-Copyright (C) 1984-2006 Award Software
Advanced BIOS Features
Hard Disk Boot Priority [Press Enter]
First Boot Device [CDROM]
Second Boot Device [Hard Disk]
Third Boot Device [CDROM]
Boot Up Floopy Seek [Disabled]
Password Check [Setup]
Away Mode [Disabled]
Init Display First [PCI Slot]
: Move Enter: Select +/-/PU/PD: Value F10: Save ESC: Exit F1: General Help
F11/12: Profile F5: Previous Values F6: Fail-Safe Defaults F7: Optimized Defaults
Item Help
Menu Level
Select Hard Disk Boot
Device Priority

GA-M59SLI-S5/GA-M59SLI-S4 Motherboard - 94 -
English
(3) Configuring RAID array in RAID BIOS
Enter the RAID BIOS setup utility to configure a RAID array. Skip this step if you do not want to create
RAID.
Step 1:
After the POST memory test begins and before the operating system boot begins, look for a message
which says "Press <Ctrl-G> to enter RAID Setup Utility" (Figure 3). Press CTRL+ G to enter the
GIGABYTE SATA2 RAID BIOS setup utility.
Figure 3
Figure 4
GIGA-BYTE Technology Corp. PCIE-to-SATAII/IDE RAID Controller BIOS v1.06.12
Copyright (C) 2005 GIGA-BYTE Technology. http://www.giga-byte.com
HDD0 : ST3120026AS 120 GB Non-RAID
HDD1 : ST3120026AS 120 GB Non-RAID
Press <Ctrl-G> to enter RAID Setup Utility ...
In the main screen of the GIGABYTE SATA2 RAID BIOS utility (Figure 4), use the UP or DOWN ARROW
key to highlight through choices. Highlight the item that you wish to execute and press ENTER.
GIGA-BYTE Technology Corp. PCIE-to-SATAII/IDE RAID Controller BIOS V1.06.12
[ Main Menu ]
Create RAID Disk Drive
Delete RAID Disk Drive
Revert HDD to Non-RAID
Solve Mirror Conflict
Rebuild Mirror Drive
Save And Exit Setup
Exit Without Saving
[ RAID Disk Drive List ]
[TAB]-Switch Window []-Select ITEM [ENTER]-Action [ESC]-Exit
[ Hard Disk Drive List ]
Mode Name Capacity Type/Status
HDD0: ST3120026AS 120 GB Non-RAID
HDD1: ST3120026AS 120 GB Non-RAID
Note: In the main screen, you can select a hard disk in the Hard Disk Drive List block and press
ENTER. This allows you to check detailed information about the selected hard disk.

Appendix- 95 -
English
Figure 6
A. Create Array:
In the main screen, press ENTER on the Create RAID Disk Drive item. Then the RAID creation screen
appears (Figure 5).
GIGA-BYTE Technology Corp. PCIE-to-SATAII/IDE RAID Controller BIOS V1.06.12
[ Create New RAID ]
Name: JRAID
Level: 0-Stripe
Disks: Select Disk
Block: 128KB
Size: 240GB
Confirm Creation
[ RAID Disk Drive List ]
[]-Move Cursor [DEL,BS]-Delete Character [ENTER]-Next [ESC]-Abort
[ Hard Disk Drive List ]
Mode Name Available Type/Status
HDD0: ST3120026AS 120 GB Non-RAID
HDD1: ST3120026AS 120 GB Non-RAID
[ Help ]
Enter RAID Name
Enter a string between 1 to 16 characters
in length for the created RAID drive to be
identified by system BIOS or OS.
Figure 5
GIGA-BYTE Technology Corp. PCIE-to-SATAII/IDE RAID Controller BIOS V1.06.12
[ Create New RAID ]
Name: JRAID
Level: 0-Stripe
Disks: Select Disk
Block: 128KB
Size: 240GB
Confirm Creation
[ RAID Disk Drive List ]
[]-Switch RAID Level [ENTER]-Next [ESC]-Abort
[ Hard Disk Drive List ]
Mode Name Available Type/Status
HDD0: ST3120026AS 120 GB Non-RAID
HDD1: ST3120026AS 120 GB Non-RAID
[ Help ]
Select RAID Level
RAID 0 - Data striped for performance
RAID 1 - Data mirrored for redundancy
JBOD - Data concatenated for huge
temporarily disk required
In the RAID creation screen, the Create New RAID block displays all the items that need to be set for
creating an array (Figure 5). The following procedure uses RAID 0 creation as an example.
Steps:
1. Enter Array Name: Under the Name item, enter an array name with 1~16 letters (letters cannot be
special characters) and press ENTER.
2. Select RAID Mode: Under the Level item, use UP or DOWN ARROW key to select RAID 0 (Stripe),
RAID 1 (Mirror), or JBOD (Figure 6). Then press ENTER to move onto the next step.

GA-M59SLI-S5/GA-M59SLI-S4 Motherboard - 96 -
English
Figure 7
Figure 8
3. Assign Array Disks: After RAID mode is selected, RAID BIOS automatically assigns the two hard
disks installed as the RAID disks.
4. Set Block Size (only for RAID 0): Under the Block item, use the UP or DOWN ARROW key to
select the block size (Figure 7), ranging from 4K to 128K. Press ENTER when finished.
GIGA-BYTE Technology Corp. PCIE-to-SATAII/IDE RAID Controller BIOS V1.06.12
[ Create New RAID ]
Name: JRAID
Level: 0-Stripe
Disks: Select Disk
Block: 128KB
Size: 240GB
Confirm Creation
[ RAID Disk Drive List ]
[]-Switch RAID Block Size [ENTER]-Next [ESC]-Abort
[ Hard Disk Drive List ]
Mode Name Available Type/Status
HDD0: ST3120026AS 120 GB Non-RAID
HDD1: ST3120026AS 120 GB Non-RAID
[ Help ]
Setting Stripe Block
Select a stripe size which will be used to
divide data from/to seperate RAID members.
The following are typical values:
RAID 0-128KB
5. Set Array Size: Under the Size item, type the size of the array (Figure 8), and press ENTER.
GIGA-BYTE Technology Corp. PCIE-to-SATAII/IDE RAID Controller BIOS V1.06.12
[ Create New RAID ]
Name: JRAID
Level: 0-Stripe
Disks: Select Disk
Block: 128KB
Size: 240GB
Confirm Creation
[ RAID Disk Drive List ]
[]-Switch Unit [DEL,BS]-Delete Number [ENTER]-Next [ESC]-Abort
[ Hard Disk Drive List ]
Mode Name Available Type/Status
HDD0: ST3120026AS 120 GB Non-RAID
HDD1: ST3120026AS 120 GB Non-RAID
[ Help ]
Setting RAID Capacity
Enter the RAID capacity. The default value
indicates the maximum capacity determined
by the selected members. If less than the
maximum capacity is chosen, the remaining
capacity would be no used.

Appendix- 97 -
English
Figure 9
Figure 10
6. Confirm Creation: After all of the items are configured, the selection bar automatically jumps to the
Confirm Creation item. When prompted to confirm your selections (Figure 9), press Y to confirm
or N to abort.
GIGA-BYTE Technology Corp. PCIE-to-SATAII/IDE RAID Controller BIOS V1.06.12
[ Create New RAID ]
Name: JRAID
Level: 0-Stripe
Disks: Select Disk
Block: 128KB
Size: 240GB
Confirm Creation
[ RAID Disk Drive List ]
[ Hard Disk Drive List ]
Mode Name Available Type/Status
HDD0: ST3120026AS 120 GB Non-RAID
HDD1: ST3120026AS 120 GB Non-RAID
[ Help ]
CONFIRM RAID CREATION
ALL DATA ON THE SELECTED HARD DISK
WILL BE LOST WHEN EXIT WITH SAVING
Create RAID on the select HDD(Y/N)?Y
[]-Switch Unit [DEL,BS]-Delete Number [ENTER]-Next [ESC]-Abort
GIGA-BYTE Technology Corp. PCIE-to-SATAII/IDE RAID Controller BIOS V1.06.12
[ Main Menu ]
Create RAID Disk Drive
Delete RAID Disk Drive
Revert HDD to Non-RAID
Solve Mirror Conflict
Rebuild Mirror Drive
Save And Exit Setup
Exit Without Saving
[ RAID Disk Drive List ]
[TAB]-Switch Window []-Select RAID [ENTER]-Action [ESC]-Exit
[ Hard Disk Drive List ]
Mode Name Capacity Type/Status
HDD0: ST3120026AS 120 GB RAID Inside
HDD1: ST3120026AS 120 GB RAID Inside
Model Name RAID Level Capacity Status Members(HDDx)
RDD0: JRAID 0-Stripe 240 GB Normal 01
When finished, the new RAID array will be displayed in the RAID Disk Drive List block (Figure 10).

GA-M59SLI-S5/GA-M59SLI-S4 Motherboard - 98 -
English
Figure 11
Figure 12
GIGA-BYTE Technology Corp. PCIE-to-SATAII/IDE RAID Controller BIOS V1.06.12
[ Main Menu ]
Create RAID Disk Drive
Delete RAID Disk Drive
Revert HDD to Non-RAID
Solve Mirror Conflict
Rebuild Mirror Drive
Save And Exit Setup
Exit Without Saving
[ RAID Disk Drive List ]
[TAB]-Switch Window []-Select RAID [ENTER]-Detail [ESC]-Exit
[ Hard Disk Drive List ]
Mode Name Capacity Type/Status
HDD0: ST3120026AS 120 GB RAID Inside
HDD1: ST3120026AS 120 GB RAID Inside
Model Name RAID Level Capacity Status Members(HDDx)
RDD0: JRAID 0-Stripe 240 GB Normal 01
[ RAID Information ]
Name: JRAID
Level: 0-Stripe
Block: 128KB
Capacity: 81GB
Members: HDD 01
Status: Normal
To check more detailed information about the array, use the TAB key while in the Main Menu block to
move the selection bar to the RAID Disk Drive List block. Select the array and press ENTER.
A small window displaying the array information will appear in the center of the screen (Figure 11).
GIGA-BYTE Technology Corp. PCIE-to-SATAII/IDE RAID Controller BIOS V1.06.12
[ Main Menu ]
Create RAID Disk Drive
Delete RAID Disk Drive
Revert HDD to Non-RAID
Solve Mirror Conflict
Rebuild Mirror Drive
Save And Exit Setup
Exit Without Saving
[ RAID Disk Drive List ]
[ Hard Disk Drive List ]
Mode Name Capacity Type/Status
HDD0: ST3120026AS 120 GB RAID Inside
HDD1: ST3120026AS 120 GB RAID Inside
Model Name RAID Level Capacity Status Members(HDDx)
RDD0: JRAID 0-Stripe 240 GB Normal 01
Save to Disk & Exit (Y/N)?Y
[TAB]-Switch Window []-Select ITEM [ENTER]-Action [ESC]-Exit
After configuring the RAID array, select the Save And Exit Setup item in the main screen to save your
settings if you wish to exit the RAID BIOS utility, then press Y (Figure 12).

Appendix- 99 -
English
GIGA-BYTE Technology Corp. PCIE-to-SATAII/IDE RAID Controller BIOS V1.06.12
[ Main Menu ]
Create RAID Disk Drive
Delete RAID Disk Drive
Revert HDD to Non-RAID
Solve Mirror Conflict
Rebuild Mirror Drive
Save And Exit Setup
Exit Without Saving
[ RAID Disk Drive List ]
[]-Select RAID [SPACE]-Mark Delete [DEL]-Confirm [ESC]-Abort
[ Hard Disk Drive List ]
Mode Name Capacity Type/Status
HDD0: ST3120026AS 120 GB Inside
HDD1: ST3120026AS 120 GB Inside
Model Name RAID Level Capacity Status Members(HDDx)
RDD0: JRAID 0-Stripe 240 GB Normal 01
GIGA-BYTE Technology Corp. PCIE-to-SATAII/IDE RAID Controller BIOS V1.06.12
[ Main Menu ]
Create RAID Disk Drive
Delete RAID Disk Drive
Revert HDD to Non-RAID
Solve Mirror Conflict
Rebuild Mirror Drive
Save And Exit Setup
Exit Without Saving
[ RAID Disk Drive List ]
[]-Select RAID [SPACE]-Mark Delete [DEL]-Confirm [ESC]-Abort
[ Hard Disk Drive List ]
Mode Name Capacity Type/Status
HDD0: ST3120026AS 120 GB Inside
HDD1: ST3120026AS 120 GB Inside
Model Name RAID Level Capacity Status Members(HDDx)
RDD0: JRAID 0-Stripe 240 GB Normal 01
ALL DATA ON THE RAID WILL LOST!!
ARE YOU SURE TO DELETE (Y/N)? N
Figure 13
Figure 14
B. Delete Array:
To delete the array, select Delete RAID Disk Drive in the main menu and press ENTER. The selection
bar will move to the RAID Disk Drive List block. Press the SPACEBAR on the array to be deleted; a
small triangle will appear to mark the selected array (Figure 13). Press Del.
Press Y to confirm yes to the following message (Figure 14) or N to cancel.

GA-M59SLI-S5/GA-M59SLI-S4 Motherboard - 100 -
English
(4) Making a SATA Driver Disk (Required for AHCI and RAID Mode)
To install operating system onto a serial ATA hard disk successfully, you need to install the SATA
controller driver during OS installation. Without the driver, the hard disk may not be recognized during
the Windows setup process. First of all, copy the driver for the SATA controller from the motherboard
driver CD-ROM to a floppy disk. See the instructions below about how to copy the driver in MS-DOS
mode(Note1). Prepare a startup disk that has CD-ROM support and a blank formatted floppy disk.
Step 1: Insert the prepared startup disk and motherboard driver CD-ROM in your system. Boot from the
startup disk. Once at the A:\> prompt, change to the CD-ROM drive (example: D:\>). At the D:\>
prompt, type the following two commands. Press ENTER after each command (Figure 15):
cd bootdrv
menu
(Note 1) For users without a startup disk:
Use an alternative system and insert the GIGABYTE motherboard driver CD-ROM. From the
CD-ROM drive folder, double click the MENU.exe file in the BootDrv folder (Figure 17). A
command prompt window will open similar to that in Figure 16.
Figure 15 Figure 16
Step 2: When the controller menu (Figure 16) appears, remove the startup disk and insert the blank
formatted disk. Select the controller driver by pressing the corresponding letter from the menu.
For example, from the menu in Figure 16, press J to select J) GIGABYTE SATA-RAID Driver if you
wish to install Windows XP. Your system will then automatically zip and transfer this driver file to the
floppy disk. Press 0 to exit when finished.
Figure 17

Appendix- 101 -
English
Figure 18
Windows Setup
Press F6 if you need to install a 3rd party SCSI or RAID driver.
Figure 19
Windows Setup
S=Specify Additional Device ENTER=Continue F3=Exit
Setup could not determine the type of one or more mass storage devices
installed in your system, or you have chosen to manually specify an adapter.
Currently, Setup will load support for the following mass storage devices(s)
<none>
* To specify additional SCSI adapters, CD-ROM drives, or special
disk controllers for use with Windows, including those for
which you have a device support disk from a mass storage device
manufacturer, press S.
* If you do not have any device support disks from a mass storage
device manufacturer, or do not want to specify additional
mass storage devices for use with Windows, press ENTER.
(5) Installing SATA controller driver during OS installation
(Required for AHCI and RAID Mode)
Now that you have prepared the SATA driver disk and configured BIOS settings, you are ready to install
Windows 2000/XP onto your SATA hard drive with the SATA driver. The following is an example of
Windows XP installation.
Step 1: Restart your system to boot from the Windows 2000/XP Setup disk and press F6 as soon as
you see the "Press F6 if you need to install a 3rd party SCSI or RAID driver" message (Figure 18). After
pressing F6, there will be a few moments of some files being loaded before you see the next screen.
Step 2:
When a screen similar to that below appears, insert the floppy disk containing the SATA driver and press
S (Figure 19).

GA-M59SLI-S5/GA-M59SLI-S4 Motherboard - 102 -
English
Step 3:
If Setup correctly recognizes the driver in the floppy disk, a controller menu similar to Figure 20 below
will appear. Use the ARROW keys to select
GIGABYTE GBB363 RAID Controller(Windows 2K/XP/2003)* and press ENTER.Then it will begin
to load the SATA driver from the floppy disk.
Figure 20
"*" If you wish to install 64-bit Windows Operating System,
select GIGABYTE GBB363 RAID Controller(Windows XP/2003 64bit).
Figure 21
If a message appears saying one or some file(s) cannot be found, please check the floppy disk
or copy the correct SATA driver again from the motherboard driver CD.
Step 4:
When the next screen (Figure 21) appears, press ENTER to continue the SATA driver installation from
the floppy disk.
Windows Setup
S=Specify Additional Device ENTER=Continue F3=Exit
Setup will load support for the following mass storage device(s):
GIGABYTE GBB363 RAID Controller(Windows 2K/XP/2003)
* To specify additional SCSI adapters, CD-ROM drives, or special
disk controllers for use with Windows, including those for
which you have a device support disk from a mass storage device
manufacturer, press S.
* If you do not have any device support disks from a mass storage
device manufacturer, or do not want to specify additional
mass storage devices for use with Windows, press ENTER.
Windows Setup
ENTER=Select F3=Exit
You have chosen to configure a SCSI Adapter for use with Windows,
using a device support disk provided by an adapter manufacturer.
Select the SCSI Adapter you want from the following list, or press ESC
to return to the previous screen.
GIGABYTE GBB363 RAID Controller(Windows 2K/XP/2003)
GIGABYTE GBB363 RAID Controller(Windows XP/2003 64bit)

Appendix- 103 -
English
Step 5:
After the SATA controller driver installation is completed, you can proceed with the Windows XP
installation.
Figure 22
WindowsXP Professional Setup
Welcome to Setup.
This port of the Setup program prepares Microsoft(R)
Windows (R) XP to run on your computer.
To set up Windows XP now, press ENTER.
To repair a Windows XP installation using
Recovery Console, press R.
To quit Setup without installing Windows XP, press F3.
Enter= Continue R=Repair F3=Exit

GA-M59SLI-S5/GA-M59SLI-S4 Motherboard - 104 -
English
4-1-5 2- / 4- / 6- / 8- Channel Audio Function
Introduction
STEP 1 :
After installation of the audio driver, you should find
an Audio Manager icon in your system tray (you
can also find the icon in Control Panel). Double-
click the icon to open the Audio Control Panel.
Note that if you wish to connect a microphone, you MUST connect it to the default Mic In jack
for the microphone to work correctly.
The default speaker settings for the 6 audio jacks are
as shown in the picture to the right. The jack
retasking capability supported by HD Audio allows
users to change the function for each audio jack by
the audio software provided. For example, if a
rear speaker is plugged into the center/subwoofer
speaker out jack, you can change the center/
subwoofer speaker out jack to fucntion as a rear
speaker out jack via the audio software.Please
follow the steps to install the function. (Following
pictures are in Windows XP)
HD Audio
With multiple built-in high quality digital-to-analog converters (DACs) that support audio output at up to
192 kHz/24-bit quality and multi-streaming applications, HD Audio is able to handle multiple audio
streams (in and out) simultaneously. Multi-channel audio experiences have become a reality so you
can, for instance, listen to MP3 music, have an Internet chat, make a telephone call over the Internet,
and etc. all at the same time.
Stereo Speakers Connection and Settings:
We recommend that you use the speaker with amplifier to acquire the best sound effect if the stereo
output is applied.
Line In
Line Out
(Front Speaker Out)
Mic In
Rear Speaker Out
Center/Subwoofer
Speaker Out
Side Speaker
Out
A. Realtek ALC888DD CODEC
Only for GA-M59SLI-S5.

Appendix- 105 -
English
STEP 3:
After a speaker or headphone is plugged into the
rear Line Out jack, a small window will pop up and
ask you what type of equipment is connected.
Choose Headphone or Line Out depending on
the device connected and click OK. The 2-chan-
nel audio setup is completed.
4 Channel Audio Setup
STEP 1 :
After installation of the audio driver, you should find
an Audio Manager icon in your system tray (you
can also find the icon in Control Panel). Double-
click the icon to open the Audio Control Panel.
STEP 2:
In the Audio Control Panel, click the Audio I/O tab.
In the upper left list, click 4CH Speaker.
STEP 2:
In the Audio Control Panel, click the Audio I/O tab.
In the upper left list, click 2CH Speaker.

GA-M59SLI-S5/GA-M59SLI-S4 Motherboard - 106 -
English
6 Channel Audio Setup
STEP 1 :
After installation of the audio driver, you should find
an Audio Manager icon in your system tray (you
can also find the icon in Control Panel). Double-
click the icon to open the Audio Control Panel.
STEP 2:
In the Audio Control Panel, click the Audio I/O tab.
In the upper left list, click 6CH Speaker.
STEP 3:
After plugging in 6-channel speakers to the rear
speaker jacks, a small window will pop up and
ask you what type of equipment is connected.
Choose a device depending on the type of speaker
connected (6-channel audio consists of Front
Speaker Out (Line Out), Rear Speaker Out, and
Center/Subwoofer Speaker Out) then click OK.
The 6-channel audio setup is completed.
STEP 3:
After plugging in 4-channel speakers to the rear
speaker jacks, a small window will pop up and
ask you what type of equipment is connected.
Choose a device depending on the type of speaker
connected (4-channel audio consists of Front
Speaker Out (Line Out) and Rear Speaker Out) and
then click OK. The 4-channel audio setup is
completed.

Appendix- 107 -
English
STEP 2:
In the Audio Control Panel, click the Audio I/O tab.
In the upper left list, click 8CH Speaker.
STEP 3:
After plugging in 8-channel speakers to the rear
speaker jacks, a small window will pop up and
ask you what type of equipment is connected.
Choose a device depending on the type of speaker
connected (8-channel audio consists of Front
Speaker Out (Line Out), Rear Speaker Out, Cen-
ter/Subwoofer Speaker Out, and Side Speaker Out)
then click OK. The 8-channel audio setup is
completed.
8 Channel Audio Setup
STEP 1 :
After installation of the audio driver, you should find
an Audio Manager icon in your system tray (you
can also find the icon in Control Panel). Double-
click the icon to open the Audio Control Panel.

GA-M59SLI-S5/GA-M59SLI-S4 Motherboard - 108 -
English
Sound Effect Configuration:
At the Sound Effect menu, users can adjust sound
option settings as desired.
AC'97 Audio Configuration:
To enable the front panel audio connector to
support AC97 Audio mode, go to the Audio Control
Panel and click the Audio I/O tab. In the
ANALOG area, click the Tool icon and then select
the Disable front panel jack detection check
box. This action completes the AC'97 Audio
configuration.

Appendix- 109 -
English
Enabling the DTS (Digital Theater Systems) function
Before DTS is enabled, you would get only 2-channel output signals (from the
front speakers) when playing 2-channel music. You must play 4-, 6-, or 8-
channel music sources to produce 4-, 6-, or 8- channel audio effects.
DTS control button
1. : This button provides you more controls over "dts NEO:PC".
Music Mode ; Cinema Mode
2. "dts NEO : PC" :
Press this button to enable or disable the dts NEO : PC function.
Enabling dts NEO : PC allows the system to transform ordinary 2-channel stereo content into
4-, 6-, or 8- channel surround sound, depending on your speaker configurations.
3. "dts INTERACTIVE" :
If your surround sound system is connected via an external decoder, click the Audio I/O tab in the
Audio Control Panel. Either click DTS Interactive in the upper left list or click the dts INTERACTIVE
button at the center bottom of the Audio Control
Panel. And click the dts NEO : PC button.
The system will then simulate 5.1 channel
surround sound playback from two-channel
content.
With DTS enabled, the system will transform two-channel stereo source material into multi-channel
audio output, creating a virtual surround sound environment.
After installing the audio driver, at the center bottom of the Audio Control
Panel, you should find the DTS control button as shown below:

GA-M59SLI-S5/GA-M59SLI-S4 Motherboard - 110 -
English
In the Audio Control Panel, click the Audio I/O tab.
Either click Dolby Digital 5.1 in the upper left list
or click the Dolby Digital Live button at the center
bottom of the Audio Control Panel.
In the Audio Control Panel, click the Audio I/O tab.
In the upper left list, click Digital PCM Output.
Enable this function to allow digital audio sources
that are not digitally processed by Dolby or DTS
encoding to be output from the SPDIF OUT.
Digital PCM Output Setup:
Introduction of Dolby Digital Live:
A real-time encoding technology, Dolby Digital Live converts any
audio signal into a Dolby Digital bitstream for transport and playback
through a home theater system. With it, your PC or game console can
be hooked up to your Dolby Digital-equipped audio/video receiver or
digital speaker system via a single digital connection, eliminating the confusion of multiple cables and
ensuring the integrity of the audio signal.

Appendix- 111 -
English
STEP 1 :
After installation of the audio driver, you should find
an Audio Manager icon in your system tray (you
can also find the icon in Control Panel). Double-
click the icon to open the Audio Control Panel.
Note that if you wish to connect a microphone, you MUST connect it to the default Mic In jack
for the microphone to work correctly.
The default speaker settings for the 6 audio jacks are
as shown in the picture to the right. The jack
retasking capability supported by HD Audio allows
users to change the function for each audio jack by
the audio software provided. For example, if a
rear speaker is plugged into the center/subwoofer
speaker out jack, you can change the center/
subwoofer speaker out jack to fucntion as a rear
speaker out jack via the audio software.Please
follow the steps to install the function. (Following
pictures are in Windows XP)
HD Audio
With multiple built-in high quality digital-to-analog converters (DACs) that support audio output at up to
192 kHz/24-bit quality and multi-streaming applications, HD Audio is able to handle multiple audio
streams (in and out) simultaneously. Multi-channel audio experiences have become a reality so you
can, for instance, listen to MP3 music, have an Internet chat, make a telephone call over the Internet,
and etc. all at the same time.
Stereo Speakers Connection and Settings:
We recommend that you use the speaker with amplifier to acquire the best sound effect if the stereo
output is applied.
B. Realtek ALC883 CODEC
Line In
Line Out
(Front Speaker Out)
Mic In
Rear Speaker Out
Center/Subwoofer
Speaker Out
Side Speaker
Out
Only for GA-M59SLI-S4.

GA-M59SLI-S5/GA-M59SLI-S4 Motherboard - 112 -
English
STEP 3:
After a speaker or headphone is plugged into the
rear Line Out jack, a small window will pop up and
ask you what type of equipment is connected.
Choose Headphone or Line Out depending on
the device connected and click OK. The 2-chan-
nel audio setup is completed.
4 Channel Audio Setup
STEP 1 :
After installation of the audio driver, you should find
an Audio Manager icon in your system tray (you
can also find the icon in Control Panel). Double-
click the icon to open the Audio Control Panel.
STEP 2:
In the Audio Control Panel, click the Audio I/O
tab. In the upper left list, click 4CH Speaker.
STEP 2:
In the Audio Control Panel, click the Audio I/O
tab. In the upper left list, click 2CH Speaker.

Appendix- 113 -
English
6 Channel Audio Setup
STEP 1 :
After installation of the audio driver, you should find
an Audio Manager icon in your system tray (you
can also find the icon in Control Panel). Double-
click the icon to open the Audio Control Panel.
STEP 2:
In the Audio Control Panel, click the Audio I/O
tab. In the upper left list, click 6CH Speaker.
STEP 3:
After plugging in 6-channel speakers to the rear
speaker jacks, a small window will pop up and
ask you what type of equipment is connected.
Choose a device depending on the type of speaker
connected (6-channel audio consists of Front
Speaker Out (Line Out), Rear Speaker Out, and
Center/Subwoofer Speaker Out) then click OK.
The 6-channel audio setup is completed.
STEP 3:
After plugging in 4-channel speakers to the rear
speaker jacks, a small window will pop up and
ask you what type of equipment is connected.
Choose a device depending on the type of speaker
connected (4-channel audio consists of Front
Speaker Out (Line Out) and Rear Speaker Out) and
then click OK. The 4-channel audio setup is
completed.

GA-M59SLI-S5/GA-M59SLI-S4 Motherboard - 114 -
English
STEP 2:
In the Audio Control Panel, click the Audio I/O
tab. In the upper left list, click 8CH Speaker.
STEP 3:
After plugging in 8-channel speakers to the rear
speaker jacks, a small window will pop up and
ask you what type of equipment is connected.
Choose a device depending on the type of speaker
connected (8-channel audio consists of Front
Speaker Out (Line Out), Rear Speaker Out, Cen-
ter/Subwoofer Speaker Out, and Side Speaker Out)
then click OK. The 8-channel audio setup is
completed.
8 Channel Audio Setup
STEP 1 :
After installation of the audio driver, you should find
an Audio Manager icon in your system tray (you
can also find the icon in Control Panel). Double-
click the icon to open the Audio Control Panel.

Appendix- 115 -
English
Sound Effect Configuration:
At the Sound Effect menu, users can adjust sound
option settings as desired.
AC'97 Audio Configuration:
To enable the front panel audio connector to sup-
port AC97 Audio mode, go to the Audio Control
Panel and click the Audio I/O tab. In the ANA-
LOG area, click the Tool icon and then select the
Disable front panel jack detection check box.
This action completes the AC'97 Audio configuration.

GA-M59SLI-S5/GA-M59SLI-S4 Motherboard - 116 -
English
4-2 Troubleshooting
Below is a collection of general asked questions. To check general asked questions based on a specific
motherboard model, please log on to GIGABYTE's website.
Question 1: I cannot see some options that were included in previous BIOS after updating BIOS. Why?
Answer: Some advanced options are hidden in new BIOS version. Please press Ctrl and F1 keys after
entering BIOS menu and you will be able to see these options.
Questions 2: Why is the light of my keyboard/optical mouse still on after computer shuts down?
Answer: In some boards, a small amount of electricity is kept on standby after computer shuts down and
that's why the light is still on.
Question 3: How do I clear CMOS?
Answer: If your board has a Clear CMOS jumper, please refer to the Clear CMOS steps in the manual. If your
board doesn't have such jumper, you can take off the on-board battery to leak voltage to clear CMOS.
Please refer to the steps below:
Steps:
1. Turn off power.
2. Disconnect the power cord from MB.
3. Take out the battery gently and put it aside for about 1 minute (Or you can use a metal object
to connect the positive and negative pins in the battery holder to makethem short for 5
seconds).
4. Re-insert the battery to the battery holder.
5. Connect power cord to MB again and turn on power.
6. Press Del to enter BIOS and load Fail-Safe Defaults(or load Optimized Defaults).
7. Save changes and reboot the system.
Question 4: Why do I still get a weak sound after turning up the speaker to the maximum volume?
Answer: Please make sure the speaker you are using is equipped with an internal amplifier. If not, please
change another speaker with power/amplifier and try again later.
Question 5: Sometimes I hear different continuous beeps from computer after system boots up. What do
these beeps usually stand for?
Answer: The beep codes below may help you identify the possible computer problems. However, they are
only for reference purposes. The situations might differ from case to case.
AWARD BIOS Beep Codes
1 short: System boots successfully
2 short: CMOS setting error
1 long 1 short: DRAM or M/B error
1 long 2 short: Monitor or display card error
1 long 3 short: Keyboard error
1 long 9 short: BIOS ROM error
Continuous long beeps: DRAM error
Continuous short beeps: Power error

Appendix- 117 -
English

GA-M59SLI-S5/GA-M59SLI-S4 Motherboard - 118 -
English
Contact Us
yy
yy
yTaiwan (Headquarters)
GIGA-BYTE TECHNOLOGY CO., LTD.
Address: No.6, Bau Chiang Road, Hsin-Tien,
Taipei 231, Taiwan
TEL: +886-2-8912-4888
FAX: +886-2-8912-4003
Tech. and Non-Tech. Support (Sales/Marketing) :
http://ggts.gigabyte.com.tw
WEB address (English): http://www.gigabyte.com.tw
WEB address (Chinese): http://www.gigabyte.tw
yy
yy
yU.S.A.
G.B.T. INC.
TEL: +1-626-854-9338
FAX: +1-626-854-9339
Tech. Support:
http://rma.gigabyte-usa.com
Web address: http://www.gigabyte.us
yy
yy
yMexico
G.B.T Inc (USA)
Tel: +1-626-854-9338 x 215 (Soporte de habla hispano)
FAX: +1-626-854-9339
Correo: soporte@gigabyte-usa.com
Tech. Support:
http://rma.gigabyte-usa.com
Web address: http://www.gigabyte-latam.com
yy
yy
yJapan
NIPPON GIGA-BYTE CORPORATION
WEB address : http://www.gigabyte.co.jp
yy
yy
ySingapore
GIGA-BYTE SINGAPORE PTE. LTD.
WEB address : http://www.gigabyte.com.sg
yy
yy
yChina
NINGBO G.B.T. TECH. TRADING CO., LTD.
WEB address : http://www.gigabyte.cn
Shanghai
TEL: +86-21-63410999
FAX: +86-21-63410100
Beijing
TEL: +86-10-62102838
FAX: +86-10-62102848
Wuhan
TEL: +86-27-87851061
FAX: +86-27-87851330
GuangZhou
TEL: +86-20-87540700
FAX: +86-20-87544306 ext. 333
Chengdu
TEL: +86-28-85236930
FAX: +86-28-85256822 ext. 814
Xian
TEL: +86-29-85531943
FAX: +86-29-85539821
Shenyang
TEL: +86-24-83992901
FAX: +86-24-83992909
yy
yy
yIndia
GIGABYTE TECHNOLOGY (INDIA) LIMITED
WEB address : http://www.gigabyte.in
yy
yy
yAustralia
GIGABYTE TECHNOLOGY PTY. LTD.
WEB address : http://www.gigabyte.com.au

Appendix- 119 -
English
yy
yy
yGermany
G.B.T. TECHNOLOGY TRADING GMBH
WEB address : http://www.gigabyte.de
yy
yy
yU.K.
G.B.T. TECH. CO., LTD.
WEB address : http://www.giga-byte.co.uk
yy
yy
yThe Netherlands
GIGA-BYTE TECHNOLOGY B.V.
WEB address : http://www.giga-byte.nl
yy
yy
yFrance
GIGABYTE TECHNOLOGY FRANCE
WEB address : http://www.gigabyte.fr
yy
yy
yItaly
WEB address : http://www.giga-byte.it
yy
yy
ySpain
GIGA-BYTE SPAIN
WEB address : http://www.giga-byte.es
yy
yy
yCzech Republic
Representative Office Of GIGA-BYTE Technology Co., Ltd.
in CZECH REPUBLIC
WEB address : http://www.gigabyte.cz
yy
yy
yTurkey
Representative Office Of GIGA-BYTE Technology Co., Ltd.
in TURKEY
WEB address : http://www.gigabyte.com.tr
To submit a technical or non-technical (Sales/
Marketing) question, please link to :
http://ggts.gigabyte.com.tw
Then select your language to enter the system.
yy
yy
yRussia
Moscow Representative Office Of GIGA-BYTE Technology
Co., Ltd.
WEB address : http://www.gigabyte.ru
yy
yy
yLatvia
GIGA-BYTE Latvia
WEB address : http://www.gigabyte.com.lv
yy
yy
yPoland
Office of GIGA-BYTE TECHNOLOGY Co., Ltd. in POLAND
WEB address : http://www.gigabyte.pl
yy
yy
yUkraine
WEB address : http://www.gigabyte.kiev.ua
yy
yy
yRomania
Representative Office Of GIGA-BYTE Technology Co., Ltd.
in Romania
WEB address : http://www.gigabyte.com.ro
yy
yy
ySerbia & Montenegro
Representative Office Of GIGA-BYTE Technology Co., Ltd.
in SERBIA & MONTENEGRO
WEB address : http://www.gigabyte.co.yu
yy
yy
yGIGABYTE Global Service System

- 120 -