Golds Gym Ggccbe08670 Owners Manual
2014-07-19
: Golds-Gym Golds-Gym-Ggccbe08670-Owners-Manual golds-gym-ggccbe08670-owners-manual golds-gym pdf
Open the PDF directly: View PDF
.
Page Count: 20

Model No. GGCCBE0867.0
Serial No.
Write the serial number in the
space above for future reference.
QUESTIONS?
As a manufacturer, we are commit-
ted to providing complete customer
satisfaction. If you have questions,
or if parts are missing, PLEASE DO
NOT CONTACT THE STORE;
please contact Customer Care.
IMPORTANT: You must note the
product model number and
serial number (see the drawing
above) before contacting us:
CALL TOLL-FREE:
1-888-936-4266
Mon.–Fri., 8:00 until 17:00 EST
(excluding holidays)
OR E-MAIL US:
customerservice@iconcanada.ca
USERʼS MANUAL
CAUTION
Read all precautions and instruc-
tions in this manual before using
this equipment. Save this manual
for future reference.
Serial Number Decal
www.workoutwarehouse.com
Visit our website at

2
WARNINGDECALPLACEMENT .............................................................2
IMPORTANTPRECAUTIONS ................................................................3
BEFOREYOUBEGIN ......................................................................4
PARTIDENTIFICATIONCHART ..............................................................5
ASSEMBLY ..............................................................................6
ADJUSTMENT ...........................................................................12
ROTATINGONTHEINVERSIONSYSTEM ....................................................15
DEVELOPINGAPROGRAM ................................................................16
PARTLIST ..............................................................................18
EXPLODEDDRAWING ....................................................................19
ORDERINGREPLACEMENTPARTS ..................................................BackCover
LIMITEDWARRANTY..............................................................BackCover
TABLE OF CONTENTS
GOLD'S GYM is a registered trademark of Gold's Gym International, Inc. This product is manufactured and
distributed under license from Gold's Gym International, Inc.
WARNING DECAL PLACEMENT
This drawing shows the location(s) of the warning
decal(s). If a decal is missing or illegible, call the
telephone number on the front cover of this man-
ual and request a free replacement decal. Apply
the decal in the location shown. Note: The
decal(s) may not be shown at actual size.

3
1. Before beginning any exercise program, con-
sult your physician. This is especially impor-
tant for persons over the age of 35 or per-
sons with pre-existing health problems.
2. Use the inversion system only as described
in this manual.
3. It is the responsibility of the owner to ensure
that all users of the inversion system are
adequately informed of all precautions.
4. The inversion system is intended for home
use only. Do not use the inversion system in
any commercial, rental, or institutional set-
ting.
5. Keep the inversion system indoors, away
from moisture and dust. Do not put the inver-
sion system in a garage or covered patio or
near water.
6. Use the inversion system only on a level sur-
face. Cover the floor beneath the inversion
system to protect the floor.
7. Make sure that all parts are properly tight-
ened each time the inversion system is used.
Replace any worn parts immediately.
8. Keep children under age 12 and pets away
from the inversion system at all times.
9. The inversion system is designed to support
a maximum user weight of 300 lbs. (136 kg).
Do not use weights with the inversion sys-
tem.
10. Always wear athletic shoes with laces to help
secure your feet in the inversion system, and
for foot protection while exercising.
11. The inversion system should be used only by
persons 6 ft. 6 in. (198 cm) tall or less.
12. Keep hands and feet away from moving
parts.
13. Always make sure that the ankle lock is
secured snugly against your ankles and that
the short adjustment knob is fully tightened
before you use the inversion system.
14. Perform all activities on the inversion system
in a slow, controlled manner. Aggressive
exercise can cause the inversion system to
tip over.
15. Always exercise with a partner.
Your partner
should be ready to return the backrest to the
upright position if you cannot complete the
rotation.
16. If you feel pain or dizziness while exercising,
stop immediately and cool down.
17. Following is a list of factors and conditions
that may make inverting inadvisable (this list
is not exhaustive; it is intended only for refer-
ence). If one or more factors or conditions
apply to you, consult your physician before
using the inversion system.
• Pregnancy
• Hiatal hernia or ventral hernia
• Glaucoma, retinal detachment, or conjunc-
tivitis
• High blood pressure, hypertension, or
recent stroke or transient ischemic attack
• Heart or circulatory disorders for which
you are being treated
• Middle ear infection and extreme obesity
• Spinal injury, cerebral sclerosis, or acutely
swollen joints
• Bone weakness (osteoporosis), recent
unhealed fractures, medullary pins, or sur-
gically implanted orthopedic supports
• The use of anticoagulants, including high
doses of aspirin
WARNING: To reduce the risk of serious injury, read all important precautions and
instructions in this manual and all warnings on your inversion system before using your inversion
system. ICON assumes no responsibility for personal injury or property damage sustained by or
through the use of the inversion system.
IMPORTANT PRECAUTIONS

4
Handle
Pin (under the Backrest)
Long Adjustment Knob
Adjustment Frame
Backrest
Ankle Lock
Foot Frame
Short Adjustment Knob
Link Bar
Pivot Bar
BEFORE YOU BEGIN
Thank you for selecting the versatile GOLDʼS GYM®
INVERSION SYSTEM. The inversion system will
increase your intervertebral dimension, decrease pres-
sure on intervertebral discs, stretch and relax your
muscles, and temporarily relieve back pain associated
with these conditions.
For your benefit, read this manual carefully before
using the inversion system. If you have questions
after reading this manual, please see the front cover of
this manual. To help us assist you, note the product
model number and serial number before contacting us.
The model number and the location of the serial num-
ber decal are shown on the front cover of this manual.
Before reading further, please review the drawing
below and familiarize yourself with the parts that are
labeled.
ASSEMBLED DIMENSIONS:
Height: 4 ft. 9 in. (145 cm)
Width: 2 ft. 4 in. (71 cm)
Depth: 4 ft. 1 in. (125 cm)

5
M8 Nylon
Locknut (54)
M4 x 15mm
Screw (61)
M8 x 45mm Button Bolt (43)
M8 x 20mm
Button Bolt (64)
M6 x 18mm
Button Screw (50)
M6 Flat
Washer (51) M8 Flat
Washer (52) M8 Curved Washer (53)
M8 x 15mm
Button Screw (47)
M8 x 50mm Button Bolt (58)
M6 x 37mm Bolt (65)
M6 Nylon
Locknut (55)
PART IDENTIFICATION CHART
See the drawings below to identify small parts used in assembly. The number in parentheses by each drawing is
the key number of the part, from the PART LIST near the end of this manual. Note: Some small parts may
have been preattached. If a part is not in the hardware kit, check to see if it has been preattached.

6
1.
Open the Front and Rear Legs (1, 2, 3), and
push down on the Link Bars (10, 11, 12) so
that they are straight across as shown.
1
Before beginning assembly, make sure
that you understand the information in
the box above.
3
3
12
10
2
1
Before beginning assembly, carefully read the
following information and instructions:
• Assembly requires two persons.
• Because of its weight and size, the inversion sys-
tem should be assembled in the location where it
will be used. Make sure that there is enough
clearance to walk around the inversion system as
you assemble it.
• Place all parts in a cleared area and remove the
packing materials. Do not dispose of the packing
materials until assembly is completed.
• For help identifying small parts, see the PART
IDENTIFICATION CHART on page 5.
•As you assemble the inversion system, make sure
that all parts are oriented as shown in the draw-
ings.
• Tighten all parts as you assemble them, unless
instructed to do otherwise.
• In addition to the included hex key and
grease packets, assembly may require the follow-
ing tools (not included):
one adjustable wrench
one rubber mallet
one standard screwdriver
one Phillips screwdriver
Assembly will be more convenient if you have a
socket set, a set of open-end or closed-end
wrenches, or a set of ratchet wrenches.
Make Assembly Easier
This manual is designed to ensure that the
inversion system can be assembled successfully
by almost anyone. Most people find that if they
set aside plenty of time, assembly goes smoothly.
ASSEMBLY
12
11

7
2. Attach the Front Leg Frame (5) to the Front
Legs (1, 2) with four M8 x 45mm Button Bolts
(43), four M8 Curved Washers (53), and four
M8 Nylon Locknuts (54). Do not tighten the
Nylon Locknuts yet.
3. Attach the two Bases (4) to the Front and Rear
Legs (1, 2, 3) as shown with four M8 x 45mm
Button Bolts (43).
2
54
43
43
53
5
153
2
53
54
54
54
53
3
43
4
3
43
1
43
4
3
2
43
4
54
54
43
58
6
52
13
4. Attach the Backrest Frame (6) to the Center
Frame (13) as shown with an M8 x 50mm
Button Bolt (58), two M8 x 45mm Button Bolts
(43), two M8 Flat Washers (52), and three M8
Nylon Locknuts (54).

8
5. Attach the Foot Frame (8) to the Adjustment
Frame (7) with three M8 x 15mm Button
Screws (47).
6. Slide the two Large Foam Pads (32) onto the
Ankle Lock (9).
Next, pull the Long Adjustment Knob (20),
insert the Ankle Lock (9) into the Adjustment
Frame (7), and then release the Long
Adjustment Knob. Make sure that the Long
Adjustment Knob is engaged in the indicat-
ed adjustment hole in the Ankle Lock.
Insert an M6 x 37mm Bolt (65) into the
Adjustment Frame (7) and into the loop on
the end of the Spring (41). Tighten an M6
Nylon Locknut (55) onto the Bolt.
7. Insert the Pad Tube (17) into the welded tube
on the Adjustment Frame (7). Next, tighten two
M4 x 15mm Screws (61) into the Pad Tube.
Then, slide two Small Foam Pads (33) onto the
Pad Tube.
5
7
47
47
8
6
7
55
65
9
41
Hole
32
32
20
7
7
33
33
17
61

9
8. Orient the two Pivot Bars (14) so that the
Pulleys (22) face away from the Center Frame
(13). Then, insert the Pivot Bars into the brack-
ets on the ends of the Center Frame, and
press the pins on the brackets into the center
adjustment holes in the Pivot Bars.
Insert the two Pulleys (22) down into the slots
in the Saddle Plates (18).
See step 2. Tighten the four M8 Nylon
Locknuts (54).
9. Pull the Short Adjustment Knob (19), and
insert the end of the Adjustment Frame (7) a
few inches into the Backrest Frame (6).
See the inset drawing. Press the round tab
on the Backrest Frame Bushing (25), and
press the Backrest Frame Bushing into the
Backrest Frame (6). Make sure that the
round tab is in the indicated hole in the
Backrest Frame.
Next, insert the Adjustment Frame (7) farther
into the Backrest Frame (6), and engage the
Short Adjustment Knob (19) in one of the
adjustment holes in the Adjustment Frame.
Then, insert the Pin (24) into the Backrest
Frame (6) and the Adjustment Frame (7), and
attach the Pin Clip (63) to the Pin.
Use the inversion system with the Adjustment
Frame (7) adjusted to a few different lengths to
determine which length is the best for you.
8
14
22
22
13
18
14
18
Pin
Pin
9
7
Adjustment
Holes
19
6
24
63
6
25
Tab
Hole

10
10. Attach the Backrest (23) to the Backrest Frame
(6) with four M6 x 18mm Button Screws (50)
and four M6 Flat Washers (51).
11. Attach the Right and Left Handles (15, 16) to
the Legs (1, 2, 3) with four M8 Nylon Locknuts
(54).
10
6
23
50
51
11
2
1
54
3
15
16
3
54
51

11
12. Slide the Left Cover (31) onto the left Saddle
Plate (18). Attach the Left Cover with a Small
Knob (42).
Attach the Right Cover (30) in the same
way.
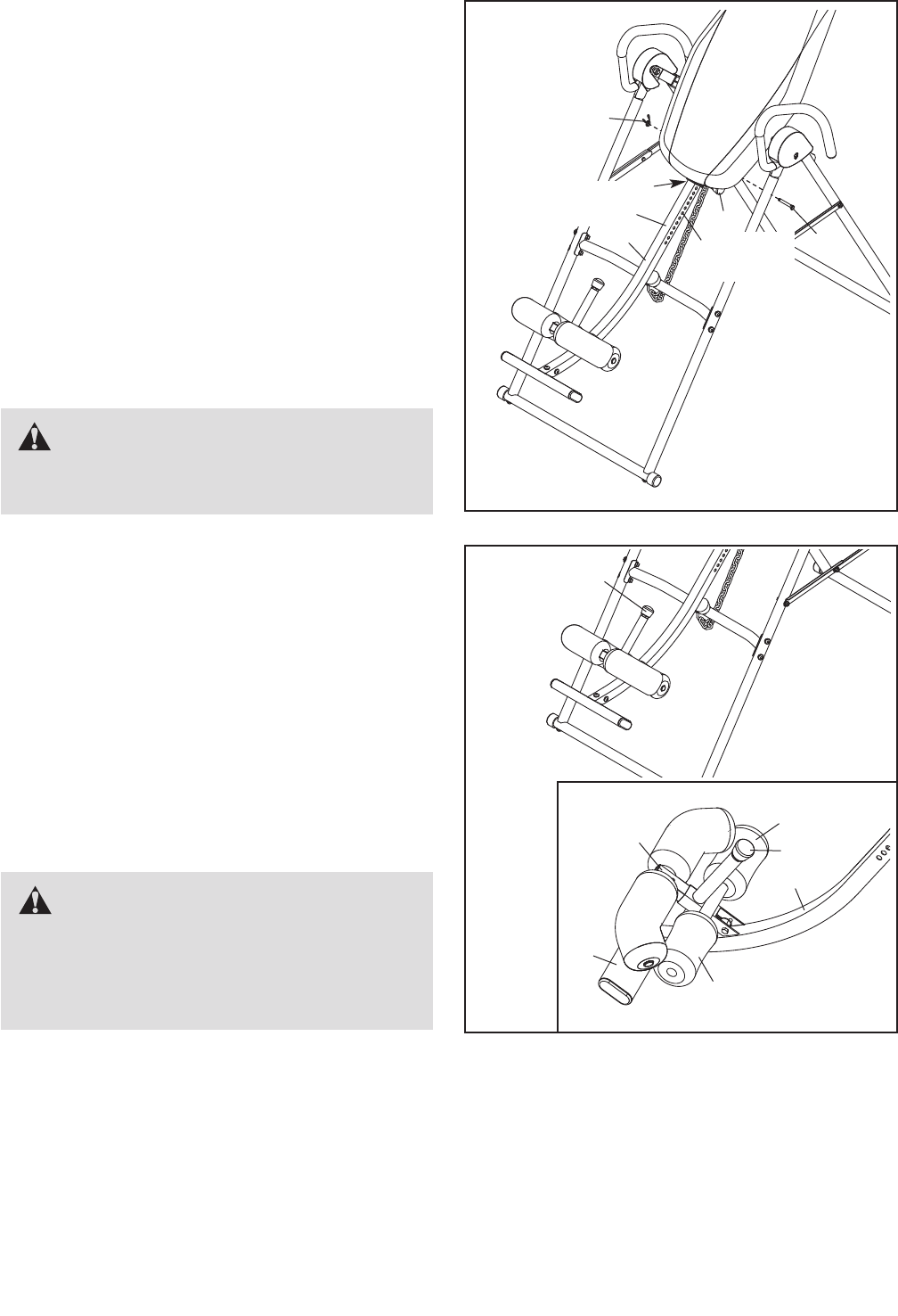
13. See the inset drawings. Open the Quick
Link (29) by turning the quick link nut.
Then, attach one end of the included Chain
(28) to the indicated bracket on the Front Leg
Frame (5) with the Quick Link (29). Close the
Quick Link by turning the quick link nut.
Attach the other end of the Chain (28) to the
hook on the Backrest Frame (6) with the Clip
(27). Make sure that the Quick Link (29) is
attached to the Frame and that the Clip is
attached to the Backrest Frame.
Make sure that all parts are properly tight-
ened before you use the inversion system.
12
30
31
18
42
62
5
7
64
54
WARNING:
HOW TO LOCK THE INVERSION SYSTEM
FOR STORE DISPLAY OR TO PREVENT
UNSUPERVISED USE
When the inversion system is displayed in
a store, or when it is not in use, it should
be locked to prevent unsupervised use.
Wrap the Lock Cable (62) around the Front
Leg Frame (5) and the Adjustment Frame
(7) as shown. Then, connect the ends of
the Lock Cable with an M8 x 20mm Button
Bolt (64) and an M8 Nylon Locknut (54).
27
5
Bracket
6
Closed Open
13
29
29 Nut
28

12
This section explains how to adjust the inversion system. See DEVELOPING A PROGRAM on page 16 for
important information about how to get the most benefit from your exercise program.
Make sure all parts are properly tightened each time the inversion system is used. Replace any worn parts immedi-
ately. Clean the inversion system with a damp cloth and a mild, non-abrasive detergent; do not use solvents.
SELECTING A PIVOT BAR POSITION
See the inset drawing. Each Pivot Bar (14) has
three adjustment holes. The correct adjustment hole
to use will depend on your body weight and the
desired level of responsiveness. See the chart at the
right to determine which adjustment hole to use.
To adjust the Pivot Bars (14), first remove the two
Small Knobs (42) and the two Covers (30, 31). Next,
lift the two Pulleys (22) out of the Saddle Plates (18).
Move the Pivot Bars upward or downward so that the
pins on the Center Frame (13) are engaged in the
desired adjustment holes. Then, insert the Pulleys into
the Saddle Plates, and attach the Covers.
Try the inversion system with the Pivot Bars (14)
adjusted to each position to determine which one is
best for you. 42
14
22
Hole A
Hole B
Hole C
42
31
18
22
30
WARNING: Always engage the
pins on the Center Frame (13) in the same
adjustment holes in both Pivot Bars (14).
ADJUSTMENT
ADJUSTING THE LENGTH OF THE CHAIN
The Chain (28) can be used to stop the inversion sys-
tem from becoming inverted more than desired. To
adjust the Chain, remove it from the Clip (27) on the
Backrest Frame (6). Rotate the Backrest (23) to the
most inverted position to which you want it to move.
Then, have a second person tighten the Chain and
reattach it to the Clip on the Backrest Frame.
For the first week or two of use, adjust the Chain (28)
to stop the Backrest (23) from rotating more than
15–20 degrees. Lengthen the Chain to allow the
Backrest to rotate a few more degrees as you
become accustomed to using the inversion system.
14
14
Pin
13
Note: 1 lb. = 2.2 kg
27
23
6
28

13
ADJUSTING THE ANKLE LOCK
To secure your ankles in the inversion system, first
pull the Long Adjustment Knob (20) as far as possi-
ble. See the inset drawing. Next, pull the Ankle Lock
(9) away from the Adjustment Frame (7). Stand on
the Foot Frame (8) with the backs of your legs
against the Small Foam Pads (33) and your toes
under the Ankle Lock. Then, push the Ankle Lock
against your ankles and engage the Long Adjustment
Knob into one of the adjustment holes in the Ankle
Lock. Make sure that the Long Adjustment Knob is
engaged in one of the adjustment holes in the
Ankle Lock.
ADJUSTING THE ADJUSTMENT FRAME
The length of the Adjustment Frame (7) can be
adjusted to correspond to your height. First, remove
the Pin (24) from the Backrest Frame (6) and the
Adjustment Frame. Pull the Short Adjustment Knob
(19) as far as possible. Slide the Adjustment Frame
into or out of the Backrest Frame so that the first or
second measurement greater than your height is cov-
ered by the Backrest Frame. Next, engage the Short
Adjustment Knob in one of the adjustment holes in
the Adjustment Frame. Then, insert the Pin into the
Backrest Frame and the Adjustment Frame, and
attach the Pin Clip (63) to the Pin.
Use the inversion system with the Adjustment Frame
(7) adjusted to a few different lengths to determine
which length is best for you.
WARNING: The inversion system
is designed to be used by persons 6 ft. 6 in.
(198 cm) tall or less.
WARNING: Make sure that the
Ankle Lock (9) is secured snugly against your
ankles before you use the inversion system.
Always wear athletic shoes with laces to help
secure your feet in the inversion system.
Adjustment
Hole
Height
Measurements
20
9
7
8
33
33
20
724
63
19
6

14
7
11
1
2
9
3
10
3
STORING THE INVERSION SYSTEM
To store the inversion system, first adjust the
Adjustment Frame (7) to the shortest length (see
ADJUSTING THE ADJUSTMENT FRAME on page
13). Next, adjust the Ankle Lock (9) to the position
closest to the Adjustment Frame (see ADJUSTING
THE ANKLE LOCK on page 13). Then, lift on the Link
Bars (10, 11, 12), and fold the Legs (1, 2, 3) together.
LOCKING THE INVERSION SYSTEM
When the inversion system is not in use, it should be
locked to prevent unsupervised use. Wrap the Lock
Cable (62) around the Front Leg Frame (5) and the
Adjustment Frame (7) as shown. Then, connect the
ends of the Lock Cable with an M8 x 20mm Button
Bolt (64) and an M8 Nylon Locknut (54).
WARNING: Always make sure that
the Link Bars (10, 11, 12) are straight across
before you use the inversion system.
12
12
62
5
7
64
54

15
This section explains how to rotate back on the inversion system, and then return to the starting position. Before
using the inversion system, see the ADJUSTMENT section starting on page 12 to correctly set up the
inversion system. It may be helpful to have a second person ready to assist you as you learn to use the inver-
sion system.
ROTATING ON THE INVERSION SYSTEM
ROTATING BACK ON THE INVERSION SYSTEM
To rotate back on the inversion system, slowly lift your
arms over your head until you reach the desired posi-
tion. The speed at which you lift your arms will deter-
mine how quickly the inversion system will rotate. Rest
your arms in a comfortable position that does not
cause the inversion system to rotate. Note: The inver-
sion system will rotate only to the degree setting
allowed by the chain.
ROTATING UP ON THE INVERSION SYSTEM
To return to the starting position, move your hands
toward your waist until you rotate to a horizontal posi-
tion. Rest in a horizontal position for 30 to 60 seconds
before rotating to the starting position. This will allow
your body to readjust. Return to the starting position
slowly. Dizziness, after using the inversion system, is
an indication that you have returned to the starting
position too quickly.
To rotate up from the fully inverted position, pull your-
self up using the handles.
Do not sit up to return to the starting position.

16
BENEFITING FROM USING THE INVERSION
SYSTEM
If you feel nauseated while using the inversion system,
return to the starting position. Be aware that it may take
a few weeks of use for your inner ear to become accus-
tom to being inverted.
Do not use the inversion system right after you have
eaten.
Moving while using the inversion system may make it a
more comfortable experience, and may help joints and
muscles stretch and relax. Always move in a slow, con-
trolled manner.
The greater the angle at which the inversion system is
used, the shorter the time that you should rotate back
before rotating up. Increase the amount of inverted time
and the angle of use gradually.
Always pay attention to how your body feels as you use
the inversion system. Increase the level of intensity only
as it is comfortable for you. When you feel like you have
had enough, return to the starting position.
BEGINNER PROGRAM
The following are suggestions for persons who are just
starting to use the inversion system.
Adjust the chain to allow the backrest frame to rotate
to 15 degrees or less for the first one or two weeks.
This will allow your body time to adjust to the change
in gravitational pull.
Use the inversion system for one or two minutes at a
time, two or three times a day.
Stay inverted only for as long as it is comfortable. This
may be only a few seconds at first.
INTERMEDIATE PROGRAM
The following are suggestions for persons who have
become comfortable using the inversion system as
described under the BEGINNER PROGRAM.
Increase the angle to which the inversion system can
rotate, as it is comfortable. Adjust the chain to allow
the inversion system to rotate to up to 60 degrees, a
few degrees at a time.
Start to do gentle stretching while using the inversion
system.
Gradually increase the amount of time that you use
the inversion system to ten minutes or more, two or
three times a day. Routines can be varied from rotat-
ing back for one or two minutes and then up for 30
seconds, to rotating back and up for equal amounts of
time.
FULL INVERSION PROGRAM
The following are suggestions for persons who have
become comfortable using the inversion system as
described under the INTERMEDIATE PROGRAM and
desire to rotate to greater angles. Note that all the
benefits of inversion can be gained by rotating to 60
degrees. Do not attempt to do sit-ups.
Increase the angle to which the inversion system can
rotate, as it is comfortable.
Adjust the pivot bars so that the pins on the backrest
frame are in the top holes in the pivot bars (see
SELECTING A PIVOT BAR POSITION on page 12). If
you weigh 220 lbs. (100 kg) or more, adjust the pivot
bars so that the pins on the backrest frame are in the
center holes in the pivot bars. Rotate back and up as
described on page 15.
This section contains information and suggestions about using the inversion system. Make sure that all parts are
properly tightened each time you use the inversion system. Replace any worn parts immediately. See the
ADJUSTMENT section starting on page 12 to identify parts referred to in this section.
DEVELOPING A PROGRAM

17
NOTES

18
Key No. Qty. Description Key No. Qty. Description
11Right Front Leg
21Left Front Leg
32Rear Leg
42Base
51Front Leg Frame
61Backrest Frame
71Adjustment Frame
81Foot Frame
91Ankle Lock
10 1 Right Link Bar
11 1 Left Link Bar
12 2 Rear Link Bar
13 1 Center Frame
14 2 Pivot Bar
15 1 Right Handle
16 1 Left Handle
17 1 Pad Tube
18 2 Saddle Plate
19 1 Short Adjustment Knob
20 1 Long Adjustment Knob
21 2 Spacer
22 2 Pulley
23 1 Backrest
24 1 Pin
25 1 Backrest Frame Bushing
26 1 34mm Square Inner Cap
27 1 Clip
28 1 Chain
29 1 Quick Link
30 1 Right Cover
31 1 Left Cover
32 2 Large Foam Pad
33 2 Small Foam Pad
34 4 32mm Round Outer Cap
35 1 Bumper
36 2 25mm Round Inner Cap
37 2 30mm x 70mm Inner Cap
38 2 Foam Grip
39 4 19mm Round Inner Cap
40 1 25mm Square Inner Cap
41 1 Spring
42 2 Small Knob
43 10 M8 x 45mm Button Bolt
44 2 M12 x 50mm Bolt
45 4 M6 x 40mm Bolt
46 2 M6 x 15mm Bolt
47 3 M8 x 15mm Button Screw
48 2 M8 x 20mm Button Bolt
49 4 M8 x 30mm Button Bolt
50 4 M6 x 18mm Button Screw
51 10 M6 Flat Washer
52 4 M8 Flat Washer
53 4 M8 Curved Washer
54 14 M8 Nylon Locknut
55 8 M6 Nylon Locknut
56 2 M12 Nut
57 4 M8 Nut
58 1 M8 x 50mm Button Bolt
59 1 M6 x 33mm Bolt
60 1 45mm Square Inner Cap
61 4 M4 x 15mm Screw
62 1 Lock Cable
63 1 Pin Clip
64 1 M8 x 20mm Button Bolt
65 1 M6 x 37mm Bolt
*–Userʼs Manual
PART LIST—Model No. GGCCBE0867.0 R0708A
Note: Specifications are subject to change without notice. See the back cover of this manual for information
about ordering replacement parts. *These parts are not illustrated.

EXPLODED DRAWING—Model No. GGCCBE0867.0 R0708A
60
51
51
51
50
50
6
23
24
19
43
25
58
14
21
22
44
56 13
54
52 54
15
52
54
54
54 57
42
57 36 18
48
49
45
3
30
55
38
51
55
51
46
12
10
45
53
53
43
54
35
554
54
54
27
28
29 2
53
53
43
1
34
43 4
43 34
31
45
51
55
11
55
46
51
3
38
16
54
36
42
54
57
54
52
18
48
49
45
12
55
51
61 26
61
7
20
61
33
39
17
47
47
33
39
44
22
21
14
56
37
8
37
32
39
41
9
55
32
39 40 59
43
43
4
34
34
64
54 62
63
65
55
51
19

Part No. 268496 R0708A Printed in China © 2008 ICON IP, Inc.
To order replacement parts, please see the front cover of this manual. To help us assist you, be prepared to pro-
vide the following information when contacting us:
• the model number and serial number of the product (see the front cover of this manual)
• the name of the product (see the front cover of this manual)
• the key number and description of the replacement part(s) (see the PART LIST and the EXPLODED DRAW-
ING near the end of this manual)
ORDERING REPLACEMENT PARTS
LIMITED WARRANTY
ICON of Canada, Inc. (ICON) warrants this product to be free from defects in workmanship and materi-
al, under normal use and service conditions. Parts and labor are warranted for ninety (90) days from
the date of purchase.
This warranty extends only to the original purchaser. ICONʼs obligation under this warranty is limited to
repairing or replacing, at ICONʼs option, the product through one of its authorized service centers. All
repairs for which warranty claims are made must be preauthorized by ICON. This warranty does not
extend to any damage to a product caused by or attributable to freight damage, abuse, misuse, improp-
er or abnormal usage, or repairs not provided by an ICON authorized service center; products used for
commercial or rental purposes; or products used as store display models. No other warranty beyond
that specifically set forth above is authorized by ICON.
ICON is not responsible or liable for indirect, special, or consequential damages arising out of or in con-
nection with the use or performance of the product; damages with respect to any economic loss, loss of
property, loss of revenues or profits, loss of enjoyment or use, or costs of removal or installation; or
other consequential damages of whatsoever nature. Some provinces do not allow the exclusion or limi-
tation of incidental or consequential damages. Accordingly, the above limitation may not apply to you.
The warranty extended hereunder is in lieu of any and all other warranties, and any implied warranties
of merchantability or fitness for a particular purpose are limited in their scope and duration to the terms
set forth herein. Some provinces do not allow limitations on how long an implied warranty lasts.
Accordingly, the above limitation may not apply to you.
This warranty gives you specific legal rights. You may also have other rights that vary from province to
province.
ICON of Canada, Inc., 900 de lʼIndustrie, St. Jérôme, QC J7Y 4B88