Graco 307427Zaa 1 Ratio Fast Flo Pumps Users Manual
03761B to the manual 5e7891af-7b96-4526-b2b5-24fb6a2b4db3
2015-04-02
: Graco Graco-307427Zaa-1-1-Ratio-Fast-Flo-Pumps-Users-Manual-686413 graco-307427zaa-1-1-ratio-fast-flo-pumps-users-manual-686413 graco pdf
Open the PDF directly: View PDF
.
Page Count: 40

1:1 RATIO
Fast–FloR Pump
Air–operated piston transfer pump for low viscosity fluids. For professional use only.
Only models that are EX certified are approved for use in European explosive atmosphere
locations (see page 4).
1.2 MPa, 12.4 bar (180 psi) Maximum Air Input Pressure
1.2 MPa, 12.4 bar (180 psi) Maximum Fluid Working Pressure
For models that are certified, see page 4.
This symbol on the nameplate means the
product is listed by ETL.
(UL Standard No. 79, Standard for Power-Operated
Pumps for Petroleum Product Dispensing Systems).
Table of Contents
Symbols 2. . . . . . . . . . . . . . . . . . . . . . . . . . . . . . . . . . . . . .
Warnings 2. . . . . . . . . . . . . . . . . . . . . . . . . . . . . . . . . . . . . .
Pump Models 4. . . . . . . . . . . . . . . . . . . . . . . . . . . . . . . . . .
Installation 5. . . . . . . . . . . . . . . . . . . . . . . . . . . . . . . . . . . . .
Operation 8. . . . . . . . . . . . . . . . . . . . . . . . . . . . . . . . . . . . .
Maintenance 9. . . . . . . . . . . . . . . . . . . . . . . . . . . . . . . . . . .
Troubleshooting 10. . . . . . . . . . . . . . . . . . . . . . . . . . . . . . .
Pump Service 11. . . . . . . . . . . . . . . . . . . . . . . . . . . . . . . . .
Pump Parts 12. . . . . . . . . . . . . . . . . . . . . . . . . . . . . . . . . . .
Displacement Pump Service 17. . . . . . . . . . . . . . . . . . . .
Displacement Pump Parts 18. . . . . . . . . . . . . . . . . . . . . .
Accessories 35. . . . . . . . . . . . . . . . . . . . . . . . . . . . . . . . . .
Dimensions 37. . . . . . . . . . . . . . . . . . . . . . . . . . . . . . . . . . .
Technical Data 38. . . . . . . . . . . . . . . . . . . . . . . . . . . . . . . .
Warranty 40. . . . . . . . . . . . . . . . . . . . . . . . . . . . . . . . . . . . .
Graco Information 40. . . . . . . . . . . . . . . . . . . . . . . . . . . . .
Instructions–Parts List
307427ZAA
EN
Stubby Pump
Bung-Mounted
Drum Length Pump
Bung-Mounted
Adjustable Length Pump
03761B
03761B
Important Safety Instructions
Read all warnings and instructions in this manual.
Save these instructions.
Refer to page 4 for a list of pump models.
0359

2 307427
Symbols
Warning Symbol
WARNING
This symbol alerts you to the possibility of serious
injury or death if you do not follow the instructions.
Caution Symbol
CAUTION
This symbol alerts you to the possibility of damage to
or destruction of equipment if you do not follow the
instructions.
WARNING
INSTRUCTIONS
EQUIPMENT MISUSE HAZARD
Equipment misuse can cause the equipment to rupture or malfunction and result in serious injury.
DThis equipment is for professional use only.
DRead all instruction manuals, tags, and labels before operating the equipment.
DUse the equipment only for its intended purpose. If you are uncertain about usage, call your Graco
distributor.
DDo not alter or modify this equipment. Use only genuine Graco parts and accessories.
DCheck equipment daily. Repair or replace worn or damaged parts immediately.
DDo not exceed the maximum working pressure stated on the equipment or in the Technical Data
for your equipment. Do not exceed the maximum working pressure of the lowest rated component
in your system.
DUse fluids and solvents which are compatible with the equipment wetted parts. Refer to the Tech-
nical Data section of all equipment manuals. Read the fluid and solvent manufacturer’s warnings.
DSecurely mount the pump. Do not attempt to operate it while holding it.
DDo not use hoses to pull equipment.
DRoute hoses away from traffic areas, sharp edges, moving parts, and hot surfaces. Do not expose
Graco hoses to temperatures above 82_C (180_F) or below –40_C (–40_F).
DWear hearing protection when operating this equipment.
DDo not lift pressurized equipment.
DComply with all applicable local, state, and national fire, electrical, and safety regulations.

307427 3
WARNING
FIRE AND EXPLOSION HAZARD
Improper grounding, poor ventilation, open flames or sparks can cause a hazardous condition and re-
sult in a fire or explosion and serious injury.
DGround the equipment and the object being sprayed. Refer to Grounding the System on page 5.
DIf there is any static sparking or you feel an electric shock while using this equipment, stop spray-
ing/dispensing immediately. Do not use the equipment until you identify and correct the problem.
DProvide fresh air ventilation to avoid the buildup of flammable fumes from solvents or the fluid be-
ing sprayed/dispensed.
DKeep the spray/dispense area free of debris, including solvent, rags, and gasoline.
DElectrically disconnect all equipment in the spray/dispense area.
DExtinguish all open flames or pilot lights in the spray/dispense area.
DDo not smoke in the spray/dispense area.
DDo not turn on or off any light switch in the spray/dispense area while operating or if fumes are
present.
DDo not operate a gasoline engine in the spray/dispense area.
TOXIC FLUID HAZARD
Hazardous fluid or toxic fumes can cause serious injury or death if splashed in the eyes or on the skin,
inhaled, or swallowed.
DKnow the specific hazards of the fluid you are using.
DStore hazardous fluid in an approved container. Dispose of hazardous fluid according to all local,
state and national guidelines.
DAny additives to the air supply, such as oil or anti–freeze will be exhausted into the atmosphere.
DAlways wear protective eyewear, gloves, clothing and respirator as recommended by the fluid and
solvent manufacturer.
MOVING PARTS HAZARD
Moving parts can pinch or amputate your fingers.
DKeep clear of all moving parts when starting or operating the pump.
DBefore servicing the equipment, follow the Pressure Relief Procedure on page 8 to prevent the
equipment from starting unexpectedly.

4 307427
Pump Models
ETL LISTED PUMPS
The following pumps are ETL listed for light viscosity
paints, lacquers, varnishes, thinners, solvents when
installed in accordance with NFPA (National Fire
Protection Association) Standards No. 30, Flammable
and Combustible Liquids Code, and No. 33 Spray
Finishing Using Flammable Materials. The ETL listed
pumps have been evaluated using ASTM Reference
Fuels A, C, H, I, and IRM No. 3 Oil and that any fluid
used in these pumps should be reviewed against these
fluids to determine suitability. The carbon steel pumps
are for non-corrosive fluids, and the stainless steel
pumps are for corrosives.
Stubby Pumps
Model
No.
Displacement
Pump No. Description
Parts
Pages
**226943
Series B
215956
Series C
Carbon Steel,
Leather Packings
14, 18
*226944
Series B
215957
Series C
Carbon Steel,
Polyethylene
Packings
14, 19
*226945
Series B
215958
Series B
Stainless Steel,
Polyethylene
Packings
15, 28
Bung-Mounted Drum Length Pumps
Model
No.
Displacement
Pump No. Description
Parts
Pages
**226940
Series B
215953
Series D
Carbon Steel,
Leather Packings
12, 18
**226941
Series B
215954
Series D
Carbon Steel,
Polyethylene
Packings
12, 19
**226942
Series B
215955
Series B
Stainless Steel,
Polyethylene
Packings
13, 27
686445
Series A}
215954
Series D
Carbon Steel,
Polyethylene
Packings
12, 19
} Model 686445 includes a spout, part no. 206265.
*This model is II 2 G T6 certified.
**This model is
II 1/2 G T6
ITS03ATEX11227 certified.
NON-LISTED PUMPS
These pumps are for non-corrosive light viscosity fluids
such as anti-freeze, windshield washer solvent, ATF,
motor oil, and hydraulic oil.
Stubby Pumps
Model
No.
Displacement
Pump No. Description
Parts
Pages
226948
Series B
218114
Series A
Carbon Steel,
Rubber Packings
14, 24
226952
Series B
220439
Series A
Stainless Steel,
Rubber Packings
15, 34
Bung-Mounted Drum Length Pumps
Model
No.
Displacement
Pump No. Description
Parts
Pages
226947
Series B
218113
Series A
Carbon Steel,
Rubber Packings
12, 24
226951{
Series B
218116
Series A
Carbon Steel,
Rubber Packings
16, 25
226953
Series B
220440
Series A
Stainless Steel,
Rubber Packings
13, 33
{ Model 226951 has a suction tube that can be ex-
tended 457 mm (18 in.). Non-extended pump length is
724 mm (28.5 in.). Fully extended pump length is 1180
mm (46.4 in.).
NON-LISTED PUMPS
These pumps are for general fluid transfer applica-
tions.
Stubby Pumps
Model
No.
Displacement
Pump No. Description
Parts
Pages
*237130
Series A
237254
Series A
Carbon Steel,
Leather Packings
14, 20
*237131
Series A
237255
Series A
Carbon Steel,
PTFE Packings
14, 22
*237132
Series A
237256
Series A
Stainless Steel,
PTFE Packings
15, 31
Bung-Mounted Drum Length Pumps
Model
No.
Displacement
Pump No. Description
Parts
Pages
**237133
Series A
215953
Series D
Carbon Steel,
Leather Packings
12, 18
**237134
Series A
237449
Series A
Carbon Steel,
PTFE Packings
12, 21
**237129
Series A
237253
Series A
Stainless Steel,
PTFE Packings
13, 30

307427 5
Installation
General Information
DThe Typical Installation shown in Fig. 2 is only a
guide for selecting and installing system compo-
nents. Contact your Graco distributor for assistance
in planning a system to suit your needs.
DAlways use Genuine Graco Parts and Accessories.
DReference numbers and letters in parentheses refer
to the callouts in the figures and the parts lists on
pages 12–34.
DFor ETL listed pumps. All pipe joints are to be
made tight with ETL listed gasoline–resistant pipe
compound.
Grounding the System
WARNING
FIRE AND EXPLOSION HAZARD
This pump must be grounded. Before
operating the pump, ground the system
as explained below. Also read the sec-
tion FIRE AND EXPLOSION HAZARD
on page 3.
To reduce the risk of static sparking, ground the pump
and all other equipment used or located in the pumping
area. Check your local electrical code for detailed
grounding instructions for your area and type of equip-
ment. Ground all of this equipment.
1. ETL–Listed Pumps: Use a ground wire, connector,
and clamp. See Fig. 1. Loosen screw (X). Insert
one exposed end of a 12 ga (1.5 mm2) minimum
ground wire (Y) through the eye of the ground
terminal connector (W) and tighten screw (X)
securely. Connect the other end of the wire to a
true earth ground. Order Part No. 237569 Ground
Wire and Clamp.
2. Non ETL–Listed Pumps: See Fig. 1. Remove the
ground screw (Z). Fasten the ground connector
(W) onto the pump with the ground screw (Z) and
tighten securely. Loosen screw (X). Insert one
exposed end of a 12 ga (1.5 mm2) minimum
ground wire (Y) through the eye of the ground
terminal connector (W) and tighten screw (X)
securely. Connect the other end of the wire to a
true earth ground. Order Part No. 222011 Ground
Connector/Wire and Clamp.
Fig. 1 TI1052
Y
Z
X
W
3. Air and fluid hoses: use only electrically conductive
hoses.
4. Air compressor: according to manufacturer’s
recommendations.
5. Dispensing valve: grounding is obtained through
connection to a properly grounded fluid hose and
pump.
6. Fluid supply container: according to local code.
7. Object being sprayed: according to local code.
8. All solvent pails used when flushing, according to
local code. Use only metal pails, which are con-
ductive. Do not place the pail on a non-conductive
surface, such as paper or cardboard, which inter-
rupts the grounding continuity.

6 307427
Installation
03762
Fig. 2
KEY
A Vent Plug
B Bung Adapter
C Air Line Lubricator
D Bleed-type Master Air Valve
E Air Line Filter
F Grounded Air Hose
G Fluid Drain Valve
H Fluid Outlet
J Pin Fitting
K Air Control Valve
(All Models except 226951)
L Air Line Coupler
M Grounded Fluid Hose
CC Air Regulator Kit
(Model 226951 only)
E
A
DF
K
JL
H
G
MC
B
13 mm (0.5”)
Model 226951 only
C
DCC
EJ L
Mounting the Pump
Always rigidly mount the pump to suit the type of in-
stallation planned. Graco mounting accessories are
shown in the Accessories section. With 200 liter (55
gallon) drum length pumps, screw the bung adapter
(B) tightly into the bung hole of the drum and adjust to
hold the pump 13 mm (0.5 in.) off the bottom of the
drum. Loosen the vent plug (A) to prevent formation of
a vacuum in the drum. Stubby pumps may be mounted
on a wall or on the side of a drum with a clamp. Drum
pumps can also be mounted to the side of a drum.
NOTE: Refer to Dimensions on page 37 for pump
dimensions, and air inlet and fluid outlet sizes.

307427 7
Installation
System Accessories
Refer to Fig. 2 and the Accessories section.
NOTE: To ensure maximum pump performance, be
sure that all accessories used are properly sized to
meet your system’s requirements.
Most models are supplied with a needle-type air con-
trol valve (K) at the pump air inlet. Model 226951 is
equipped with an air regulator kit (CC) instead (see
Fig. 3). All models are supplied with an air line quick
disconnect coupler (L) to connect the air line to the
pump and accessories.
WARNING
A bleed-type master air valve (D) and a fluid drain
valve (G) are required in your system, to help re-
duce the risk of serious injury, including splashing
fluid in the eyes or on the skin, and injury from
moving parts if you are adjusting or repairing the
pump.
The bleed-type master air valve (D) relieves air
trapped between this valve and the pump after the
pump is shut off. Trapped air can cause the pump
to cycle unexpectedly and result in serious injury,
including amputation. Locate the valve close to the
pump.
The fluid drain valve (G) helps relieve pressure in
the displacement pump, hose, and dispensing
valve when shutting off the pump. Actuating the
dispensing valve to relieve pressure may not be
sufficient, especially if there is a clog in the hose or
the dispensing valve.
For automatic air motor lubrication, install an air line
lubricator (C) downstream from the air regulator (if
supplied) and all other accessories. Install a bleed-type
master air valve (D) close to the pump. Next, install the
air regulator (CC), if supplied. Install an air line filter (E)
upstream from all other accessories, to remove harm-
ful dirt and moisture from the compressed air supply.
Using a suitable adapter, install the male disconnect
pin fitting (J) in the air filter inlet. Install the air line
quick disconnect coupler (L) on the air hose (F), but do
not connect it to the pin fitting yet.
Connect an electrically conductive fluid hose (M) to the
3/4 npt(f) fluid outlet.
Model 226951 Only
Using moderate force, extend the pump suction tube,
insert the pump into the drum or tank bung hole, and
screw the bung adapter (B) tightly into the bung hole.
Lift the pump about 13 mm (0.5 in.) and tighten the
bung adapter (B) screw to hold the pump. Loosen the
vent plug (A). Refer to Fig. 2.
CAUTION
To prevent damaging the o-ring seals inside the suc-
tion tube, do not use excessive force when extending
the suction tube.
All Other Models
Refer to Fig. 2 and to the mounting accessories shown
on page 35 for pump mounting methods.
03763
Fig. 3
CC
JL
B
Model
226951
Shown

8 307427
Operation
Pressure Relief Procedure
WARNING
PRESSURIZED EQUIPMENT HAZARD
The system pressure must be manually relieved to
prevent the system from starting or spraying acci-
dentally. To reduce the risk of an injury from acci-
dental spray from the gun, splashing fluid, or
moving parts, follow the Pressure Relief Proce-
dure whenever you:
Dare instructed to relieve the pressure,
Dstop spraying,
Dcheck or service any of the system equipment,
Dor install or clean the spray nozzle.
1. Shut off the air to the pump.
2. Close the bleed-type master air valve (required in
your system).
3. Hold a metal part of the dispensing valve firmly to
the side of a grounded metal pail, and trigger the
valve to relieve pressure.
4. Open the fluid drain valve (required in your sys-
tem) to relieve all fluid pressure, having a contain-
er ready to catch the drainage.
5. Leave the drain valve open until you are ready to
dispense again.
If you suspect that the nozzle or hose is completely
clogged, or that pressure has not been fully relieved
after following the steps above, very slowly loosen the
hose end coupling and relieve pressure gradually, then
loosen completely. Now clear the nozzle or hose.
Flush the Pump Before Using
The pump was tested in lightweight oil, which was left
in to protect pump parts. To prevent contamination of
the fluid you are pumping, flush the pump with a com-
patible solvent before using it.
To flush the pump, connect a short hose to the pump
outlet, insert the pump intake into a pail of compatible
solvent, direct the hose into a pail, and start the pump
as explained at right.
Cycle the pump slowly for at least 5 minutes, then stop
and disconnect the air hose. Push up on the ball of the
intake valve (N) to drain the lower part of the pump.
See Fig. 4. Turn the pump over to drain the upper part
of the pump.
03765
Fig. 4
N
Starting and Adjusting the Pump
With the air valve (K) or regulator (CC) closed, turn on
the air supply and connect the air line coupler (L). See
Figs. 3 or 5. Make sure all dispensing valves are open.
Slowly open the air valve (K) or regulator (CC) until the
pump cycles 5 to 20 cycles per minute. The pump it-
self only takes a few strokes to prime. In a large sys-
tem, however, the pump may have to be cycled for
several minutes to fill all the lines. Once the entire sys-
tem is primed, use the air valve or regulator to control
pump speed and cycle rate; always use the lowest
pressure necessary to get the desired results.
When used for transfer and supply operations with no
dispensing valve, the pump will run whenever air is
supplied.
Pump Shutdown
WARNING
To reduce the risk of serious injury whenever you
are instructed to relieve pressure, always follow the
Pressure Relief Procedure at left.
1. Disconnect the air line coupler (L).
2. Relieve the pressure.

307427 9
Maintenance
Fill the wet-cup (P) 1/2 full of Graco Throat Seal Liquid
(TSL) or compatible solvent and keep it 1/2 full to keep
fluid from drying on the displacement rod and damag-
ing pump throat packings. See Fig. 5.
Lubricate the throat packings frequently when you are
pumping a non-lubricating fluid, or are shutting down
for more than a few days. Some pumps have a grease
fitting (DD) for this purpose. See Fig. 5.
The accessory air line lubricator (C) provides automat-
ic air motor lubrication. To manually lubricate the mo-
tor, disconnect the air line at the air motor inlet, put
about 15 drops of lightweight oil in the inlet, reconnect
the air line and turn on the air to blow oil into the motor.
Never allow the pump to run dry of fluid being pumped.
A dry pump will quickly accelerate to a high speed,
possibly damaging itself. If your pump accelerates
quickly, or is running too fast, stop it immediately and
check the fluid supply. If the supply container is empty
and air has been pumped into the lines, prime the
pump and lines with fluid, or flush and leave filled with
compatible solvent. Be sure to eliminate all air from the
fluid system.
WARNING
To reduce the risk of serious injury whenever you
are instructed to relieve pressure, always follow the
Pressure Relief Procedure on page 8.
WARNING
Do not attempt to adjust the packing nut with the
pump operating.
Periodically, check the tightness of the packing nut (P).
Relieve the pressure, then tighten enough to prevent
leakage; no tighter. See Fig. 5. If the leakage can not
be stopped, change the packings to prevent exposure
to the fluid being pumped.
Fig. 5
P
H
DD
K
J
L
03764B

10 307427
Troubleshooting
WARNING
To reduce the risk of serious injury whenever you
are instructed to relieve pressure, always follow the
Pressure Relief Procedure on page 8.
1. Relieve the pressure.
2. Check all other possible remedies before disas-
sembling the pump.
PROBLEM CAUSE SOLUTION
The pump fails to operate. Dirty or worn air motor. Clean, service; see the separate motor
manual 307456.
Inadequate air supply or restricted
lines.
Clean lines or increase the air supply
(see Technical Data).
Closed or clogged air valves. Open or clear the valves.
Clogged fluid hose or valve. Clear the hose or valves.
Worn or damaged valves or seals. Service the valves or seals.
The pump operates, but the output
is low on both strokes.
Clogged fluid hose or valve. Clear the hose or valves.
Exhausted fluid supply. Refill the fluid supply and reprime the
pump.
Worn or damaged valves or seals. Service the valves or seals.
The pump operates, but the output
is low on the downstroke.
Held open or worn intake valve. Clear or service the valve.
Worn or damaged valves or seals. Service the valves or seals.
The pump operates, but the output
is low on the upstroke.
Held open or worn piston valve. Clear or service the valve.
Worn or damaged valves or seals. Service the valves or seals.
Erratic or accelerated operation. Exhausted fluid supply. Refill the fluid supply and reprime the
pump.
Broken air motor compression spring. Replace the spring.

307427 11
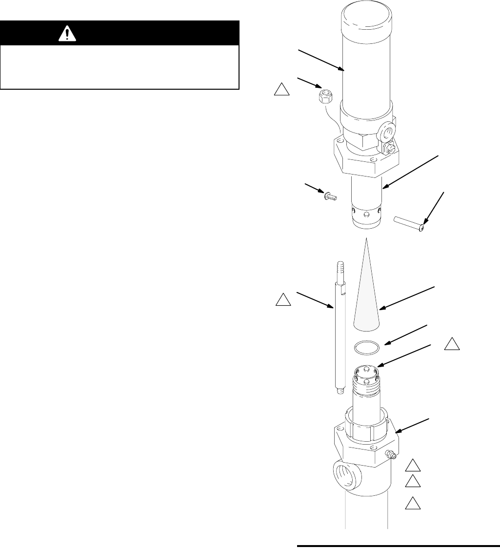
Pump Service
Disconnecting the Air Motor
WARNING
To reduce the risk of serious injury whenever you
are instructed to relieve pressure, always follow the
Pressure Relief Procedure on page 8.
1. Flush the pump.
2. Relieve the pressure. Remove the pump from its
mounting.
3. See Fig. 6. Unscrew the tie rod locknuts (103).
4. Unscrew and remove the screw (105) and barrel
(104).
5. Raise the air motor (115) away from the displace-
ment pump (114). Unscrew the displacement rod
(15) from the air motor connecting rod (S).
6. To order pump parts, refer to the parts lists on
pages 12–16. Refer to pages 17–34 for displace-
ment pump service and parts information. Refer to
manual 307456 for air motor service and parts in-
formation.
Reconnecting the Air Motor
1. When reconnecting the air motor, use lithium base
grease on the threads of the displacement rod
(15). Make sure the o-ring (14) is in place on the
rod.
2. Insert the muffler (T) into the air motor connecting
rod (S) as shown in Fig. 6.
3. Tighten the displacement rod (15) into the air mo-
tor connecting rod hand tight, and install the barrel
and screw set (104 and 105).
4. Apply thread sealant to the threads of the tie rods
(106). To ensure proper alignment, first thread the
tie rod locknuts (106) loosely onto the tie rods,
then torque evenly to 15 NSm (8 ft–lb).
NOTE: Removing the muffler (T) will increase both
pump flow rate and exhaust noise.
5. Reconnect the groundwire if it was disconnected
during service.
Fig. 6
1
3
2
115
103
105 104
106
114
14
S
T
15
Grease the threads.
Apply thread sealant.
Torque evenly to
15 NSm (8 ft–lb).
3
2
1
03766B

115
103
106
114
105
113
107
104
108 (Includes items
109–112, 116, 117;
see detail below.)
110
111
109
112
116
117
Model 226940 Shown
ti12378A
12 307427
Pump Parts
Bung Mount Drum-Length Pumps,
Carbon Steel Models
Model 226940, Series B, leather packed
Model 226941, Series B, polyethylene packed
Model 226947, Series B, rubber packed
Model 237133, Series A, leather packed
Model 237134, Series A, PTFE packed
Model 686445, Series A, polyethylene packed, with
spout
Ref.
No. Part No. Description Qty.
103 104541 NUT, lock; M8; w/nylon insert 3
104n15B249 PIN, barrel 1
105n15B250 SCREW 1
106 177171 TIE ROD 3
107 190165 FITTING, air line; for Models
237133 and 237134 only 1
169969 FITTING, air line
for all other models 1
108 206264 NEEDLE VALVE ASSY
Includes items 109–112, 116, 117 1
109n157628 . PACKING, o-ring; nitrile rubber 1
110 165722 . BODY 1
111 166531 . RING, friction washer 1
112 166529 . NEEDLE 1
113 190164 COUPLER, air line; for Models
237133 and 237134 only 1
114558 COUPLER, air line
for all other models 1
114 215953 DISPLACEMENT PUMP, for
Models 226940 and 237133;
see page 18 1
215954 DISPLACEMENT PUMP
for Model 226941; see page 19 1
237449 DISPLACEMENT PUMP
for Model 237134; see page 21 1
218113 DISPLACEMENT PUMP
for Model 226947; see page 24 1
115 223099 AIR MOTOR KIT
See instruction manual 307456 1
116 166532 NUT, packing 1
117 164698 KNOB, adjusting 1
118 206265 SPOUT; Model 686445 only
(not shown) 1
nKeep these spare parts on hand to reduce down
time.

115
103
106
114
105
113
107
104
108 (Includes items
109–112, 116, 117;
see detail below.)
110
111
109
112
116
117
Ref. No. 102 Mounting Kit
includes items 103, 113, 116, 117.
Model 226953 Shown
03772B
307427 13
Pump Parts
Bung Mount Drum-Length Pumps,
Stainless Steel Models
Model 226942, Series B, polyethylene packed
Model 226953, Series B, rubber packed
Model 237129, Series A, PTFE packed
Ref.
No. Part No. Description Qty.
102 215961 MOUNTING KIT
for Stainless Steel Pumps;
includes items 103, 113, 116,117 1
103 104541 . NUT, lock; M8; w/nylon insert 3
104n15B249 . PIN, barrel 1
105n15B250 . SCREW 1
106 177170 . TIE ROD 3
107 190165 . FITTING, air line
for Model 237129 only 1
169969 . FITTING, air line
for all other models 1
108 206264 . NEEDLE VALVE ASSY
Includes items 109–112,
116, 117 1
109n157628 . . PACKING, o-ring; nitrile rubber 1
110 165722 . . BODY 1
111 166531 . . RING, friction washer 1
112 166529 . . NEEDLE 1
113 190164 . COUPLER, air line;
For Model 237129 only 1
114558 . COUPLER, air line
for all other models 1
114 215955 DISPLACEMENT PUMP
For Model 226942; see page 27 1
220440 DISPLACEMENT PUMP
For Model 226953; see page 33 1
237253 DISPLACEMENT PUMP
For Model 237129; see page 30 1
115 223099 AIR MOTOR KIT
See instruction manual 307456 1
116 166532 NUT, packing 1
117 164698 KNOB, adjusting 1
nKeep these spare parts on hand to reduce down
time.

ti1379A
115
103
106
114
105
113
107
104
108 (Includes items
109–112, 116, 117;
see detail below.)
110
111
109
112
116
117
Model 226943 Shown
14 307427
Pump Parts
Stubby Length Pumps,
Carbon Steel Models
Model 226943, Series B, leather packed
Model 226944, Series B, polyethylene packed
Model 226948, Series B, rubber packed
Model 237130, Series A, leather packed
Model 237131, Series A, PTFE packed
Ref.
No. Part No. Description Qty.
103 104541 NUT, lock; M8; w/nylon insert 3
104n15B249 PIN, barrel 1
105n15B250 SCREW 1
106 177171 TIE ROD 3
107 190165 FITTING, air line;
For Models 237130 and
237131 only 1
169969 FITTING, air line
for all other models 1
108 206264 NEEDLE VALVE ASSY
Includes items 109–112, 116, 117 1
109n157628 . PACKING, o-ring; nitrile rubber 1
110 165722 . BODY 1
111 166531 . RING, friction washer 1
112 166529 . NEEDLE 1
113 190164 COUPLER, air line;
For Models 237130 and
237131 only 1
114558 COUPLER, air line
for all other models 1
114 215956 DISPLACEMENT PUMP
For Model 226943; see page 18 1
215957 DISPLACEMENT PUMP
For Model 226944; see page 19 1
218114 DISPLACEMENT PUMP
For Model 226948; see page 24 1
237254 DISPLACEMENT PUMP
For Model 237130; see page 20 1
237255 DISPLACEMENT PUMP
For Model 237131; see page 22 1
115 223099 AIR MOTOR KIT
See instruction manual 307456 1
116 166532 NUT, packing 1
117 164698 KNOB, adjusting 1
nKeep these spare parts on hand to reduce down
time.

115
103
106
114
105
113
107
104
108 (Includes items
109–112, 116, 117;
see detail below.)
110
111
109
112
116
117
Ref. No. 102 Mounting Kit
includes items 103, 113, 116, 117.
Model 226945 Shown
03778B
307427 15
Pump Parts
Stubby Length Pumps,
Stainless Steel Models
Model 226945, Series B, polyethylene packed
Model 226952, Series B, rubber packed
Model 237132, Series A, PTFE packed
Ref.
No. Part No. Description Qty.
102 215961 MOUNTING KIT
for Stainless Steel Pumps;
includes items 103–113,
116, 117 1
103 104541 . NUT, lock; M8; w/nylon insert 3
104n15B249 PIN, barrel 1
105n15B250 SCREW 1
106 177170 . TIE ROD 3
107 190165 FITTING, air line
for Model 237132 only 1
169969 . FITTING, air line
for all other models 1
108 206264 . NEEDLE VALVE ASSY
Includes items 109–112,
116, 117 1
109n157628 . . PACKING, o-ring; nitrile rubber 1
110 165722 . . BODY 1
111 166531 . . RING, friction washer 1
112 166529 . . NEEDLE 1
113 190164 COUPLER, air line;
For Model 237132 only 1
114558 . COUPLER, air line
for all other models 1
114 215958 DISPLACEMENT PUMP
For Model 226945; see page 28 1
220439 DISPLACEMENT PUMP
For Model 226952; see page 34 1
237256 DISPLACEMENT PUMP
For Model 237132; see page 31 1
115 223099 AIR MOTOR KIT
See instruction manual 307456 1
116 166532 NUT, packing 1
117 164698 KNOB, adjusting 1
nKeep these spare parts on hand to reduce down
time.

03784
03783B
115
103
106
114
105
113
107
104
118 (Includes items
107, 113, 119–123;
see detail below.)
119
122
121
120
123
16 307427
Pump Parts
Bung Mount Adjustable Length Pump, Carbon Steel Model
Fits bung type containers from 724 mm (28.5 in.) to 1180 mm (46.4 in.) deep
(maximum 456 mm [18 in.] adjustment).
Model 226951, Series B, rubber packed
Ref.
No. Part No. Description Qty.
103 104541 NUT, lock; M8; w/nylon insert 3
104n15B249 PIN, barrel 1
105n15B250 SCREW 1
106 177171 TIE ROD 3
107 169969 FITTING, air line 1
113 114558 COUPLER, air line 1
114 218116 DISPLACEMENT PUMP
for Model 226951; see page 25 1
115 223099 AIR MOTOR KIT
See instruction manual 307456 1
118 218316 AIR REGULATOR KIT
Includes items 107, 113,
119–123 1
119 100403 PLUG, pipe; 1/8 npt 1
120 104655 GAUGE, air pressure; 0–60 psi
(0–0.4 MPa, 0–4.2 bar);
1/8 npt inlet 1
121 104815 REGULATOR, air; 0–60 psi
(0–0.4 MPa, 0–4.2 bar);
see 308167 1
122 103656 NIPPLE, pipe; 1/8 npt 1
123 100030 BUSHING, pipe;
1/4 npt(m) x 1/8 npt(f) 1
nKeep these spare parts on hand to reduce down
time.

307427 17
Displacement Pump Service
CARBON STEEL DISPLACEMENT PUMPS,
with leather, polyethylene, or
PTFE packings
This procedure covers the following displacement
pumps. Refer to the parts drawings on the indicated
pages for an illustration of your pump.
DModel 215953, page 18.
DModel 215956, page 18.
DModel 215954, page 19.
DModel 215957, page 19.
DModel 237254, page 20.
DModel 237449, page 21.
DModel 237255, page 22.
Before You Start
1. Disconnect the displacement pump from the air
motor as explained on page 11.
2. Be sure you have all the necessary repair parts on
hand to reduce downtime.
3. Repair Kits are available. For best results, use all
the new parts in the kit even if the old parts look
good. Refer to the parts drawing for your pump.
Intake Valve
1. Unscrew the intake valve housing (23) from the
cylinder (13), using a strap wrench. Disassemble
the valve and clean and inspect all parts.
NOTE: On Models 237254 and 237255, inspect the
ball (28) and seat in the housing (23) for wear or nicks.
2. Replace parts as necessary. Reassemble as
shown in the applicable parts drawing.
Piston Valve
1. Using a strap wrench, grip the cylinder (13) near
the outlet housing (6) and unscrew it from the
housing. Pull the cylinder down off the piston.
Check the inner surface of the cylinder for scoring
or wear by running a finger over the surface or
holding the part up to the light at an angle.
2. Loosen the lower nut (16) and unscrew the valve
housing (18) from the connecting rod (17). Un-
screw the piston stud (22).
3. Clean and inspect all piston parts. Replace parts
as necessary. Reassemble the piston parts as
shown, being sure that the lips of the u-cup pack-
ing (21) are facing up. Screw the piston stud (22)
into the valve housing (18) and torque to 31 NSm
(23 ft–lb).
4. When reassembling the piston to the connecting
rod (17), screw the connecting rod all the way into
the displacement rod (15). Tighten the upper nut
(16) against the displacement rod and torque to 33
NSm (24 ft–lb). Adjust the lower nut (16) to allow
3.1 mm (0.125 in.) free travel for the disk (19).
Throat Packings
1. Remove the cylinder (13) and piston as explained
previously. Remove the packing nut (1) and pull
the displacement rod (15) out of the top of the out-
let housing (6). Inspect the outer surface of the
displacement rod for scoring or wear by running a
finger over the surface or holding it up to the light
at an angle.
2. Remove the throat packings from the outlet hous-
ing (6).
3. Clean and inspect the parts for wear or damage.
Lubricate the packings before reassembly. Install
the parts one at a time, in the same position as
before. The lips of the v-packings must face down
against fluid pressure.
NOTE: On displacement pumps 215953, 215956, and
237254, install the two leather v-packings (4) below the
single PTFE v-packing (3).
4. Leave the packing nut (1) loose until the displace-
ment rod (15) has been installed.
CAUTION
Insert the displacement rod from the top of the outlet
housing to prevent shearing of the packings.
5. Tighten the packing nut just enough to prevent
leaking. Overtightening can damage the packings.
6. Reconnect the displacement pump to the air motor
as explained on page 11.

18 307427
Displacement Pump Parts
Model 215953 Displacement Pump, Series D
200 Liter (55 Gallon) Size, Carbon Steel, Leather Packed
Model 215956 Displacement Pump, Series C
Stubby Size, Carbon Steel, Leather Packed
Ref.
No. Part No. Description Qty.
1 177152 NUT, packing 1
2* 178543 GLAND, female; stainless steel 1
3* 172487 V-PACKING; PTFE 1
4* 172384 V-PACKING; leather 2
5* 172385 GLAND, male; stainless steel 1
6 178542 HOUSING, outlet 1
7 101281 FITTING, grease 1
8 104537 O-RING; PTFE 2
9 214583 BUNG ADAPTER ASSY
Includes items 10 and 12
(used on Model 215953 only) 1
10 172405 . BUSHING; nylon 1
12 222308 . ADAPTER, bung; carbon steel 1
13 172416 CYLINDER (Model 215953) 1
177165 CYLINDER (Model 215956) 1
14 177156 O-RING; fluoroelastomer 1
15 217189 ROD, displacement 1
16 105775 NUT, hex; M14 x 1.5 2
17 177150 ROD, connecting
(Model 215953) 1
177160 ROD, connecting
(Model 215956) 1
18 177168 HOUSING, valve, piston 1
19 177155 VALVE, piston 1
20 172393 WASHER; stainless steel 1
21* 172392 CUP, piston; leather 1
22 177151 PISTON, pump 1
23 217102 VALVE, intake 1
* These parts are included in Repair Kit 213012,
which may be purchased separately.
03773
1
3
4
2
Torque to 31 NSm (23 ft–lb).
6
1
*5
8
10
12
13
23
8
20
19
18
17
15
14
Lips of v-packings must face down.
7
22
16
*2
4*
3*
*21
Torque to 33 NSm (24 ft–lb).
Lips of packing must face up.
1
4
3
3
2
Model 215953 Shown
5Used on Model 215953 only.
5
5

307427 19
Displacement Pump Parts
Model 215954 Displacement Pump, Series D
200 Liter (55 Gallon) Size, Carbon Steel, Polyethylene Packed
Model 215957 Displacement Pump, Series C
Stubby Size, Carbon Steel, Polyethylene Packed
Ref.
No. Part No. Description Qty.
1 177152 NUT, packing 1
2* 178543 GLAND, female; stainless steel 1
3* 177164 V-PACKING; polyethylene 3
5* 172385 GLAND, male; stainless steel 1
6 178542 HOUSING, outlet 1
7 101281 FITTING, grease 1
8 104537 O-RING; PTFE 2
9 214583 BUNG ADAPTER ASSY
Includes items 10 and 12
(used on Model 215954 only) 1
10 172405 . BUSHING; nylon 1
12 222308 . ADAPTER, bung; carbon steel 1
13 172416 CYLINDER (Model 215954) 1
177165 CYLINDER (Model 215957) 1
14 177156 O-RING; fluoroelastomer 1
15 217189 ROD, displacement 1
16 105775 NUT, hex; M14 x 1.5 2
17 177150 ROD, connecting
(Model 215954) 1
177160 ROD, connecting
(Model 215957) 1
18 177168 HOUSING, valve, piston 1
19 177155 VALVE, piston 1
20 172393 WASHER; stainless steel 1
21* 177159 CUP, piston; polyethylene 1
22 177151 PISTON, pump 1
23 217102 VALVE, intake 1
* These parts are included in Repair Kit 215964,
which may be purchased separately.
03773
6
1
*5
8
10
12
13
23
8
20
19
18
17
15
14
7
22
16
*2
3*
*21
1
4
3
2
1
3
4
2
Torque to 31 NSm (23 ft–lb).
Lips of v-packings must face down.
Torque to 33 NSm (24 ft–lb).
Lips of packing must face up.
Model 215954 Shown
5Used on Model 215954 only.
5
5

20 307427
Displacement Pump Parts
Model 237254 Displacement Pump, Series A
Stubby Size, Carbon Steel, Leather Packed
Ref.
No. Part No. Description Qty.
1 177152 NUT, packing 1
2* 178543 GLAND, female; stainless steel 1
3* 172487 V-PACKING; PTFE 1
4* 172384 V-PACKING; leather 2
5* 172385 GLAND, male; stainless steel 1
6 178542 HOUSING, outlet 1
7 101281 FITTING, grease 1
8 104537 O-RING; PTFE 1
13 190063 CYLINDER 1
14 177156 O-RING; fluoroelastomer 1
15 217189 ROD, displacement 1
16 105775 NUT, hex; M14 x 1.5 2
17 177160 ROD, connecting 1
18 177168 HOUSING, valve, piston 1
19 177155 VALVE, piston 1
20 172393 WASHER; stainless steel 1
21* 172392 CUP, piston; leather 1
22 177151 PISTON, pump 1
23 237493 VALVE, intake 1
26 172399 PIN, ball stop 1
27 177230 GUIDE, ball 1
28 104586 BALL, intake; 32 mm dia. 1
* These parts are included in Repair Kit 213012,
which may be purchased separately.
04473
1
3
4
2
Torque to 31 NSm (23 ft–lb).
6
1
*5
8
13
23
20
19
18
17
15
14
Lips of v-packings must face down.
7
22
16
*2
4*
3*
*21
Torque to 33 NSm (24 ft–lb).
Lips of packing must face up.
1
4
3
32
27
28
26

307427 21
Displacement Pump Parts
Model 237449 Displacement Pump, Series A
200 Liter (55 Gallon) Size, Carbon Steel, PTFE Packed
Ref.
No. Part No. Description Qty.
1 177152 NUT, packing 1
2* 178543 GLAND, female; stainless steel 1
3* 172487 V-PACKING; PTFE 3
5* 172385 GLAND, male; stainless steel 1
6 178542 HOUSING, outlet 1
7 101281 FITTING, grease 1
8 104537 O-RING; PTFE 2
9 214583 BUNG ADAPTER ASSY
Includes items 10 and 12 1
10 172405 . BUSHING; nylon 1
12 222308 . ADAPTER, bung; carbon steel 1
13 172416 CYLINDER 1
14 177156 O-RING; fluoroelastomer 1
15 217189 ROD, displacement 1
16 105775 NUT, hex; M14 x 1.5 2
17 177150 ROD, connecting 1
18 177168 HOUSING, valve, piston 1
19 177155 VALVE, piston 1
20 172393 WASHER; stainless steel 1
21* 172489 CUP, piston; PTFE 1
22 177151 PISTON, pump 1
23 217102 VALVE, intake 1
* These parts are included in Repair Kit 213013,
which may be purchased separately.
03773
6
1
*5
8
10
12
13
23
8
20
19
18
17
15
14
7
22
16
*2
3*
*21
1
4
3
2
1
3
4
2
Torque to 31 NSm (23 ft–lb).
Lips of v-packings must face down.
Torque to 33 NSm (24 ft–lb).
Lips of packing must face up.
5
5

22 307427
Displacement Pump Parts
Model 237255 Displacement Pump, Series A
Stubby Size, Carbon Steel, PTFE Packed
Ref.
No. Part No. Description Qty.
1 177152 NUT, packing 1
2* 178543 GLAND, female; stainless steel 1
3* 172487 V-PACKING; PTFE 3
5* 172385 GLAND, male; stainless steel 1
6 178542 HOUSING, outlet 1
7 101281 FITTING, grease 1
8 104537 O-RING; PTFE 1
13 190063 CYLINDER 1
14 177156 O-RING; fluoroelastomer 1
15 217189 ROD, displacement 1
16 105775 NUT, hex; M14 x 1.5 2
17 177160 ROD, connecting 1
18 177168 HOUSING, valve, piston 1
19 177155 VALVE, piston 1
20 172393 WASHER; stainless steel 1
21* 172489 CUP, piston; PTFE 1
22 177151 PISTON, pump 1
23 237493 VALVE, intake 1
26 172399 PIN, ball stop 1
27 177230 GUIDE, ball 1
28 104586 BALL, intake; 32 mm dia. 1
* These parts are included in Repair Kit 213013,
which may be purchased separately.
04473
1
3
4
2
Torque to 31 NSm (23 ft–lb).
6
1
*5
8
13
23
20
19
18
17
15
14
Lips of v-packings must face down.
7
22
16
*2
3*
*21
Torque to 33 NSm (24 ft–lb).
Lips of packing must face up.
1
4
3
2
27
28
26

307427 23
Displacement Pump Service
CARBON STEEL DISPLACEMENT PUMPS,
with rubber packings
This procedure covers the following displacement
pumps. Refer to the parts drawings on the indicated
pages for an illustration of your pump.
DModel 218113, page 24.
DModel 218114, page 24.
DModel 218116, page 25.
Before You Start
1. Disconnect the displacement pump from the air
motor as explained on page 11.
2. Be sure you have all the necessary repair parts on
hand to reduce downtime.
3. Repair Kit 218112 is available. For best results,
use all the new parts in the kit even if the old parts
look good.
Intake Valve
1. Unscrew the intake valve housing (23) from the
cylinder (13), using a strap wrench. Disassemble
the valve and clean and inspect all parts.
2. Replace parts as necessary. Reassemble as
shown in the applicable parts drawing.
Piston Valve
1. Using a strap wrench, grip the cylinder (13) near
the outlet housing (6) and unscrew it from the
housing. Pull the cylinder down off the piston.
Check the inner surface of the cylinder for scoring
or wear by running a finger over the surface or
holding the part up to the light at an angle.
2. Loosen the lower nut (16) and unscrew the valve
housing (18) from the connecting rod (17). Un-
screw the piston stud (22).
3. Clean and inspect all piston parts. Replace parts
as necessary. Reassemble the piston parts as
shown, being sure that the lips of the u-cup pack-
ing (21) are facing up. Screw the piston stud (22)
into the valve housing (18) and torque to 31 NSm
(24 ft–lb).
4. When reassembling the piston to the connecting
rod (17), screw the connecting rod all the way into
the displacement rod (15). Tighten the upper nut
(16) against the displacement rod and torque to 33
NSm (24 ft–lb). Adjust the lower nut (16) to allow
3.1 mm (0.125 in.) free travel for the disk (19).
Throat Packings
1. Remove the cylinder (13) and piston as explained
previously. Remove the packing nut (1) and pull
the displacement rod (15) out of the top of the out-
let housing (6). Inspect the outer surface of the
displacement rod for scoring or wear by running a
finger over the surface or holding it up to the light
at an angle.
2. Remove the throat packings from the outlet hous-
ing (6).
3. Clean and inspect the parts for wear or damage.
Lubricate the packings before reassembly. Install
the parts one at a time, in the same position as
before. The lips of the u-cup must face down
against fluid pressure.
4. Leave the packing nut (1) loose until the displace-
ment rod (15) has been installed.
CAUTION
Insert the displacement rod from the top of the outlet
housing to prevent shearing of the packings.
5. Tighten the packing nut just enough to prevent
leaking. Overtightening can damage the packings.
6. Reconnect the displacement pump to the air motor
as explained on page 11.

24 307427
Displacement Pump Parts
Model 218113 Displacement Pump, Series A
200 Liter (55 Gallon) Size, Carbon Steel, Rubber Packed
Model 218114 Displacement Pump, Series A
Stubby Size, Carbon Steel, Rubber Packed
Ref.
No. Part No. Description Qty.
1 177152 NUT, packing 1
2* 179925 BEARING; acetal 1
3* 107228 PACKING, u-cup; buna-N 3
4* 107227 O-RING; buna-N 1
5* 179924 WASHER; stainless steel 1
6 178542 HOUSING, outlet 1
7 101281 FITTING, grease 1
8 104537 O-RING; PTFE 2
9 214583 BUNG ADAPTER ASSY
Includes items 10 and 12
(used on Model 218113 only) 1
10 172405 . BUSHING; nylon 1
12 222308 . ADAPTER, bung; carbon steel 1
13 172416 CYLINDER (Model 218113) 1
177165 CYLINDER (Model 218114) 1
14 177156 O-RING; fluoroelastomer 1
15 217189 ROD, displacement 1
16 105775 NUT, hex; M14 x 1.5 2
17 177150 ROD, connecting
(Model 218113) 1
177160 ROD, connecting
(Model 218114) 1
18 177168 HOUSING, valve, piston 1
19 177155 VALVE, piston 1
20 172393 WASHER; stainless steel 1
21* 177159 CUP, piston; polyethylene 1
22 177151 PISTON, pump 1
23 217102 VALVE, intake 1
* These parts are included in Repair Kit 218112,
which may be purchased separately.
03774
6
1
*5
8
10
12
13
23
8
20
19
18
17
15
14
7
22
16
*2
3*
*21
1
4
3
2
*4
1
3
4
2
Torque to 31 NSm (23 ft–lb).
Torque to 33 NSm (24 ft–lb).
Lips of packing must face up.
Model 218113 Shown
5Used on Model 218113 only.
Lips of packing must face down.
5
5

307427 25
Displacement Pump Parts
Model 218116 Displacement Pump, Series A
Adjustable Length, Carbon Steel, Rubber Packed
Ref.
No. Part No. Description Qty.
Ref.
No. Part No. Description Qty.
1 177152 NUT, packing 1
2* 179925 BEARING; acetal 1
3* 107228 PACKING, u-cup; buna-N 3
4* 107227 O-RING; buna-N 1
5* 179924 WASHER; stainless steel 1
6 178542 HOUSING, outlet 1
7 101281 FITTING, grease 1
8 104537 O-RING; PTFE 2
9 214583 BUNG ADAPTER ASSY
Includes items 10 and 12 1
10 172405 BUSHING; nylon 1
12 222308 ADAPTER, bung; carbon steel 1
13 177165 CYLINDER 1
14 177156 O-RING; fluoroelastomer 1
15 217189 ROD, displacement 1
16 105775 NUT, hex; M14 x 1.5 2
17 177160 ROD, connecting 1
18 177168 HOUSING, valve, piston 1
19 177155 VALVE, piston 1
20 172393 WASHER; stainless steel 1
21* 177159 CUP, piston; polyethylene 1
22 177151 PISTON, pump 1
23 217102 VALVE, intake 1
33 179929 BUSHING, pipe; 1–1/2” x 3/4 npt 1
34 179931 TUBE, suction, stationary 1
35 179930 TUBE, suction, movable 1
36 104093 O-RING; buna-N 2
* These parts are included in Repair Kit 218112,
which may be purchased separately.
03785A
1
3
4
2
Torque to 31 NSm (23 ft–lb).
6
1
*5
8
10
12
13
23
8
20
19
18
17
15
14
Lips of packing must face down.
7
22
16
*2
*21
Torque to 33 NSm (24 ft–lb).
Lips of packing must face up.
1
4
3
2
*4 33
35
34
36
*3

26 307427
Displacement Pump Service
STAINLESS STEEL DISPLACEMENT
PUMPS, with polyethylene, leather,
or PTFE packings
This procedure covers the following displacement
pumps. Refer to the parts drawings on the indicated
pages for an illustration of your pump.
DModel 215955, page 27.
DModel 215958, page 28.
DModel 237253, page 30.
DModel 237256, page 31.
Before You Start
1. Disconnect the displacement pump from the air
motor as explained on page 11.
2. Be sure you have all the necessary repair parts on
hand to reduce downtime.
3. Repair Kits are available. For best results, use all
the new parts in the kit even if the old parts look
good. Refer to the parts drawing for your pump.
Intake Valve
1. Unscrew the intake valve housing (23) from the
cylinder (13), using a strap wrench. Disassemble
the valve and clean and inspect all parts.
2. Inspect the ball (28) and seat in the housing (23)
for wear or nicks.
3. Replace parts as necessary. Reassemble as
shown in the applicable parts drawing.
Piston Valve
1. Using a strap wrench, grip the cylinder (13) near
the outlet housing (6) and unscrew it from the
housing. Pull the cylinder down off the piston.
Check the inner surface of the cylinder for scoring
or wear by running a finger over the surface or
holding the part up to the light at an angle.
2. On Models 215955 and 237253, loosen the lower
nut (16) and unscrew the valve housing (18) from
the connecting rod (17). Unscrew the piston stud
(22).
On Models 215958 and 237256, remove the cotter
pins (29) from the ball stop pin (30). Remove the
ball stop pin and unscrew the piston stud (22) from
the displacement rod (15). Be careful not to drop
the ball (25).
3. Clean and inspect all piston parts. Be sure to in-
spect the ball (25) and its seat on the piston stud
(22) for wear or nicks. Replace parts as necessary.
Reassemble the piston parts as shown, being sure
that the lips of the u-cup packing (21) are facing
up. Torque as specified on the applicable illustra-
tion. Using a strap wrench, grip the cylinder (13)
near the outlet housing (6) and screw it into the
housing.
NOTE: On Models 215955 and 237253, when reas-
sembling the piston to the connecting rod (17), screw
the connecting rod all the way into the displacement
rod (15). Tighten the upper nut (16) against the dis-
placement rod and torque to 33 NSm (24 ft–lb). Adjust
the lower nut (16) to allow 3.1 mm (0.125 in.) free trav-
el for the ball (25).
Also, when installing the cylinder (13), make sure that
the knurled end is at the bottom.
Throat Packings
1. Remove the cylinder (13) and piston as explained
previously. Remove the packing nut (1) and pull
the displacement rod (15) out of the top of the out-
let housing (6). Inspect the outer surface of the
displacement rod for scoring or wear by running a
finger over the surface or holding it up to the light
at an angle.
2. Remove the throat packings from the outlet hous-
ing (6).
3. Clean and inspect the parts for wear or damage.
Lubricate the packings before reassembly. Install
the parts one at a time, in the same position as
before. The lips of the v-packings must face down
against fluid pressure.
4. Leave the packing nut (1) loose until the displace-
ment rod (15) has been installed.
CAUTION
Insert the displacement rod from the top of the outlet
housing to prevent shearing of the packings.
5. Tighten the packing nut just enough to prevent
leaking. Overtightening can damage the packings.
6. Reconnect the displacement pump to the air motor
as explained on page 11.

307427 27
Displacement Pump Parts
Model 215955 Displacement Pump, Series B
200 Liter (55 Gallon) Size, Stainless Steel, Polyethylene Packed
Ref.
No. Part No. Description Qty.
1 180049 NUT, packing; stainless steel 1
2* 178543 GLAND, female; stainless steel 1
3* 177164 V-PACKING; polyethylene 3
5* 172385 GLAND, male; stainless steel 1
6 210876 HOUSING, outlet 1
8 104537 O-RING; PTFE 1
9 214592 BUNG ADAPTER ASSY
Includes items 10 and 12 1
10 172405 . BUSHING; nylon 1
12 210877 . ADAPTER, bung; stainless steel 1
13 178863 CYLINDER, 55 gal.; stainless steel 1
14 177156 O-RING; fluoroelastomer 1
15 217211 ROD, displacement 1
16 105776 NUT, hex; M14 x 1.5 2
17 177149 ROD, connecting 1
18 177175 HOUSING, valve, piston 1
20 172393 WASHER; stainless steel 1
21* 177159 CUP, piston; polyethylene 1
22 172495 STUD, piston; stainless steel 1
23 218427 VALVE, intake; stainless steel 1
24 172391 SPACER, piston; PTFE 1
25 104585 BALL, piston; 22 mm dia. 1
26 172399 PIN, ball stop 1
27 177230 GUIDE, ball 1
28 104586 BALL, intake; 32 mm dia. 1
* These parts are included in Repair Kit 215964,
which may be purchased separately.
03775A
1
3
4
2
Torque to 65 NSm (47 ft–lb).
6
1
*5
8
10
12
13
26
18
17
15
14
Lips of packing must face down.
22
16
*2
3*
20
Torque to 33 NSm (24 ft–lb).
Lips of packing must face up.
1
4
3
2
*21
24
25
27
28
23
5Knurl is at the bottom end.
5

28 307427
Displacement Pump Parts
Model 215958 Displacement Pump, Series B
Stubby Size, Stainless Steel, Polyethylene Packed
Ref.
No. Part No. Description Qty.
1 180049 NUT, packing; stainless steel 1
2* 178543 GLAND, female; stainless steel 1
3* 177164 V-PACKING; polyethylene 3
5* 172385 GLAND, male; stainless steel 1
6 210876 HOUSING, outlet 1
8 104537 O-RING; PTFE 1
13 172494 CYLINDER, stubby 1
14 177156 O-RING; fluoroelastomer 1
15 217212 ROD, displacement 1
20 172393 WASHER; stainless steel 1
21* 177159 CUP, piston; polyethylene 1
22 172495 STUD, piston 1
23 218427 VALVE, intake; stainless steel 1
24 172391 SPACER, piston; PTFE 1
25 104585 BALL, piston; 22 mm dia. 1
26 172399 PIN, ball stop 1
27 177230 GUIDE, ball 1
28 104586 BALL, intake; 32 mm dia. 1
29 100063 PIN, cotter 2
30 172389 PIN, ball stop 1
* These parts are included in Repair Kit 215964,
which may be purchased separately.
03781
1
3
4
2
Torque to 31 NSm (23 ft–lb).
1
15
Lips of v-packings must face down.
22
3*
*21
Torque to 33 NSm (24 ft–lb).
Lips of packing must face up.
1
4
3
2*
5*
6
8
13
20
23
24
25
26
27
28
29
30
14

307427 29
Notes

30 307427
Displacement Pump Parts
Model 237253 Displacement Pump, Series A
200 Liter (55 Gallon) Size, Stainless Steel, PTFE Packed
Ref.
No. Part No. Description Qty.
1 180049 NUT, packing; stainless steel 1
2* 178543 GLAND, female; stainless steel 1
3* 172487 V-PACKING; PTFE 3
5* 172385 GLAND, male; stainless steel 1
6 210876 HOUSING, outlet 1
8 104537 O-RING; PTFE 1
10 172405 BUSHING; nylon 1
12 210877 ADAPTER, bung; stainless steel 1
13 178863 CYLINDER, 55 gal.; stainless steel 1
14 177156 O-RING; fluoroelastomer 1
15 217211 ROD, displacement 1
16 105776 NUT, hex; M14 x 1.5 2
17 177149 ROD, connecting 1
18 177175 HOUSING, valve, piston 1
20 172393 WASHER; stainless steel 1
21* 172489 CUP, piston; PTFE 1
22 172495 STUD, piston; stainless steel 1
23 218427 VALVE, intake; stainless steel 1
24 172391 SPACER, piston; PTFE 1
25 104585 BALL, piston; 22 mm dia. 1
26 172399 PIN, ball stop 1
27 177230 GUIDE, ball 1
28 104586 BALL, intake; 32 mm dia. 1
* These parts are included in Repair Kit 213013,
which may be purchased separately.
03775A
1
3
4
2
Torque to 65 NSm (47 ft–lb).
6
1
*5
8
10
12
13
26
18
17
15
14
Lips of packing must face down.
22
16
*2
3*
20
Torque to 33 NSm (24 ft–lb).
Lips of packing must face up.
1
4
3
2
*21
24
25
27
28
23
5Knurl is at the bottom end.
5

307427 31
Displacement Pump Parts
Model 237256 Displacement Pump, Series A
Stubby Size, Stainless Steel, PTFE Packed
Ref.
No. Part No. Description Qty.
1 180049 NUT, packing; stainless steel 1
2* 178543 GLAND, female; stainless steel 1
3* 172487 V-PACKING; PTFE 3
5* 172385 GLAND, male; stainless steel 1
6 210876 HOUSING, outlet 1
8 104537 O-RING; PTFE 1
13 172494 CYLINDER, stubby 1
14 177156 O-RING; fluoroelastomer 1
15 217212 ROD, displacement 1
20 172393 WASHER; stainless steel 1
21* 172489 CUP, piston; PTFE 1
22 172495 STUD, piston 1
23 218427 VALVE, intake; stainless steel 1
24 172391 SPACER, piston; PTFE 1
25 104585 BALL, piston; 22 mm dia. 1
26 172399 PIN, ball stop 1
27 177230 GUIDE, ball 1
28 104586 BALL, intake; 32 mm dia. 1
29 100063 PIN, cotter 2
30 172389 PIN, ball stop 1
* These parts are included in Repair Kit 213013,
which may be purchased separately.
03781
1
3
4
2
Torque to 31 NSm (23 ft–lb).
1
15
Lips of v-packings must face down.
22
3*
*21
Torque to 33 NSm (24 ft–lb).
Lips of packing must face up.
1
4
3
2*
5*
6
8
13
20
23
24
25
26
27
28
29
30
14

32 307427
Displacement Pump Service
STAINLESS STEEL DISPLACEMENT
PUMPS, with rubber packings
This procedure covers the following displacement
pumps. Refer to the parts drawings on the indicated
pages for an illustration of your pump.
DModel 220440, page 33.
DModel 220439, page 34.
Before You Start
1. Disconnect the displacement pump from the air
motor as explained on page 11.
2. Be sure you have all the necessary repair parts on
hand to reduce downtime.
3. Repair Kit 218112 is available. For best results,
use all the new parts in the kit even if the old parts
look good.
Intake Valve
1. Unscrew the intake valve housing (23) from the
cylinder (13), using a strap wrench. Disassemble
the valve and clean and inspect all parts.
2. Inspect the ball (28) and seat in the housing (23)
for wear or nicks.
3. Replace parts as necessary. Reassemble as
shown in the applicable parts drawing.
Piston Valve
1. Using a strap wrench, grip the cylinder (13) near
the outlet housing (6) and unscrew it from the
housing. Pull the cylinder down off the piston.
Check the inner surface of the cylinder for scoring
or wear by running a finger over the surface or
holding the part up to the light at an angle.
2. On Model 220440, loosen the lower nut (16) and
unscrew the valve housing (18) from the connect-
ing rod (17). Unscrew the piston stud (22).
On Model 220439, remove the cotter pins (29)
from the ball stop pin (30). Remove the ball stop
pin and unscrew the piston stud (22) from the dis-
placement rod (15). Be careful not to drop the ball
(25).
3. Clean and inspect all piston parts. Be sure to in-
spect the ball (25) and its seat on the piston stud
(22) for wear or nicks. Replace parts as necessary.
Reassemble the piston parts as shown, being sure
that the lips of the u-cup packing (21) are facing
up. Torque as specified on the applicable illustra-
tion. Using a strap wrench, grip the cylinder (13)
near the outlet housing (6) and screw it into the
housing.
NOTE: On Model 220440, when reassembling the pis-
ton to the connecting rod (17), screw the connecting
rod all the way into the displacement rod (15). Tighten
the upper nut (16) against the displacement rod and
torque to 33 NSm (24 ft–lb). Adjust the lower nut (16) to
allow 3.1 mm (0.125 in.) free travel for the ball (25).
Also, when installing the cylinder (13), make sure that
the knurled end is at the bottom.
Throat Packings
1. Remove the cylinder (13) and piston as explained
previously. Remove the packing nut (1) and pull
the displacement rod (15) out of the top of the out-
let housing (6). Inspect the outer surface of the
displacement rod for scoring or wear by running a
finger over the surface or holding it up to the light
at an angle.
2. Remove the throat packings from the outlet hous-
ing (6).
3. Clean and inspect the parts for wear or damage.
Lubricate the packings before reassembly. Install
the parts one at a time, in the same position as
before. The lips of the u-cup must face down
against fluid pressure.
4. Leave the packing nut (1) loose until the displace-
ment rod (15) has been installed.
CAUTION
Insert the displacement rod from the top of the outlet
housing to prevent shearing of the packings.
5. Tighten the packing nut just enough to prevent
leaking. Overtightening can damage the packings.
6. Reconnect the displacement pump to the air motor
as explained on page 11.

307427 33
Displacement Pump Parts
Model 220440 Displacement Pump, Series A
200 Liter (55 Gallon) Size, Stainless Steel, Rubber Packed
Ref.
No. Part No. Description Qty.
1 180049 NUT, packing; stainless steel 1
2* 179925 BEARING; acetal 1
3* 107228 PACKING, u-cup; rubber 1
4* 107227 O-RING; buna-N 1
5* 179924 WASHER; stainless steel 1
6 210876 HOUSING, outlet 1
8 104537 O-RING; PTFE 1
9 214592 BUNG ADAPTER ASSY
Includes items 10 and 12 1
10 172405 . BUSHING; nylon 1
12 210877 . ADAPTER, bung; stainless steel 1
13 178863 CYLINDER, 55 gal.; stainless steel 1
14 177156 O-RING; fluoroelastomer 1
15 217211 ROD, displacement 1
16 105776 NUT, hex; M14 x 1.5 2
17 177149 ROD, connecting 1
18 177175 HOUSING, valve, piston 1
20 172393 WASHER; stainless steel 1
21* 177159 CUP, piston; polyethylene 1
22 172495 STUD, piston; stainless steel 1
23 218427 VALVE, intake; stainless steel 1
24 172391 SPACER, piston; PTFE 1
25 104585 BALL, piston; 22 mm dia. 1
26 172399 PIN, ball stop 1
27 177230 GUIDE, ball 1
28 104586 BALL, intake; 32 mm dia. 1
* These parts are included in Repair Kit 218112,
which may be purchased separately.
03776A
1
3
4
2
Torque to 65 NSm (47 ft–lb).
6
1
*5
8
10
12
13
26
18
17
15
14
Lips of packing must face down.
22
16
*2
3*
20
Torque to 33 NSm (24 ft–lb).
Lips of packing must face up.
1
4
3
2
*21
24
25
27
28
23
*4
5Knurl is at the bottom end.
5

34 307427
Displacement Pump Parts
Model 220439 Displacement Pump, Series A
Stubby Size, Stainless Steel, Rubber Packed
Ref.
No. Part No. Description Qty.
1 180049 NUT, packing; stainless steel 1
2* 179925 BEARING; acetal 1
3* 107228 PACKING, u-cup; rubber 1
4* 107227 O-RING; buna-N 1
5* 179924 WASHER; stainless steel 1
6 210876 HOUSING, outlet 1
8 104537 O-RING; PTFE 1
13 172494 CYLINDER, stubby 1
14 177156 O-RING; fluoroelastomer 1
15 217212 ROD, displacement 1
20 172393 WASHER; stainless steel 1
21* 177159 CUP, piston; polyethylene 1
22 172495 STUD, piston 1
23 218427 VALVE, intake; stainless steel 1
24 172391 SPACER, piston; PTFE 1
25 104585 BALL, piston; 22 mm dia. 1
26 172399 PIN, ball stop 1
27 177230 GUIDE, ball 1
28 104586 BALL, intake; 32 mm dia. 1
29 100063 PIN, cotter 2
30 172389 PIN, ball stop 1
* These parts are included in Repair Kit 218112,
which may be purchased separately.
03782
1
3
4
2
Torque to 31 NSm (23 ft–lb).
1
15
Lips of v-packings must face down.
22
3*
*21
Torque to 33 NSm (24 ft–lb).
Lips of packing must face up.
1
4
3
2*
5*
6
8
13
20
23
24
25
26
27
28
29
30
14
4*

307427 35
Accessories
210881 Wall Mounting Bracket
Carbon Steel. See manual 307458.
1 107558 SCREW, hex hd cap; M8 x 1.25 2
2 104572 LOCKWASHER, spring, Size 8 2
3 172405 BUSHING 1
4 172428 BRACKET 1
5 172429 CLAMP 1
2
1
5
3
4
210880 Open Tank Mounting Clamp
Carbon Steel.
1 107558 SCREW, hex hd cap; M8 x 1.25 2
2 104572 LOCKWASHER, spring, Size 8 2
3 159056 PAD, screw mounting 1
4 159057 RETAINER 1
5 172405 BUSHING 1
6 172427 BRACKET 1
7 172429 CLAMP 1
8 210879 HANDLE, tee 1
8
6
3
4
5
7
21
Bung Adapters
Included with all 210 liter (55 gallon) drum size pumps.
214583 Carbon Steel
214592 Stainless Steel
1 172405 BUSHING, nylon 1
2 222308 ADAPTER, bung, cst 1
210877 ADAPTER, bung, sst 1
1
2

36 307427
Accessories
222011 Ground Wire and Clamp
7.6 m (25 ft) long.
237569 Ground Wire and Clamp
7.6 m (25 ft) long.
Bleed-Type Master Air Valve (Required)
2.1 MPa, 21 bar (300 psi) Maximum Working Pressure
Relieves air trapped in the air line between the pump
air inlet and this valve when closed.
107141 3/4 npt(m x f) inlet and outlet.
107142 1/2 npt(m x f) inlet and outlet.
106149 Air LIne Filter
1.8 MPa, 18 bar (250 psi) Maximum Working Pressure
1/2 npt(f) inlet and outlet.
214848 Air LIne Lubricator
1.8 MPa, 18 bar (250 psi) Maximum Working Pressure
1/2 npt(f) inlet and outlet.
218316 Air Regulator Kit
Includes 1/8” size, 0–0.4 MPa, 0–4.2 bar (0–60 psi) air
regulator and air pressure gauge, and air quick cou-
pler. See page 16.
206994 Throat Seal Liquid (TSL)
Solvent for wet-cup. 0.24 liter (8 oz.).
204574 Drum Cover
40 liter (10 gallon) size and 60 liter (16 gallon) size.
Drum cover mounts on top of an open drum, with
mounting holes for 1:1 metric pump. Includes thumb-
screws and a rubber gasket.
200326 Drum Cover
200 liter (55 gallon) size. Drum cover mounts on top of
an open drum, with mounting for 1:1 metric pump.
101078 Y Line Strainer
3.5 MPa, 35 bar (500 psi) Maximum Working Pressure
3/4 npt(f) ports; no. 20 mesh screen.
206265 Spout
For directing fluid into pails.
Carbon steel; 3/4 npt inlet.
215965 Intake Extension Tube
Intake tube 265 mm (10.4 in.) long; screws into bottom
1–1/2 npt(f) thread of 1:1 metric pump.
Carbon steel. See manual 307459.
214951 Hose and 238651 Valve
1.2 MPa, 12 bar (175 psi) Maximum Working Pressure
7.6 m (25 ft) long, 1/2 npt(m) x 3/4 npt(m), electrically
conductive.

307427 37
Dimensions
03783
A
B
C
D
C
D
A
B
2” npt(m)
Bung
Adapter
226943
226944
226945
226948
226952 (Shown)
237130
237131
237132
226940
226941
226942
226947
226953 (Shown)
237129
237133
237134
686445
226951
03761B
03761B
Pump No.
A
Overall Length
B
Pump Length
C
Fluid Inlet
D
Fluid Outlet
226943, 226944, 226948, 237130, 237131 615 mm (34 in.) 181 mm (7.1 in.) 1–1/2 in. npt(f) 3/4 in. npt(f)
226945, 226952, 237132 685 mm (27 in.) 250 mm (9.8 in.) 1–1/2 in. npt(f) 3/4 in. npt(f)
226940, 226941, 226942, 226947, 226953,
237129, 237133, 237134, 686445
1315 mm (51.7 in.) 880 mm (34.6 in.) 1–1/2 in. npt(f) 3/4 in. npt(f)
226951 1158 mm (45.6 in.) 724 mm* (28.5 in.) Suction Tube 3/4 in. npt(f)
*Extends to 1614 mm (63.5 in.) overall; the pump length to 1180 mm (46.4 in.)

38 307427
Technical Data
Category Data
Recommended air operating range Model 226951: 0.3 to 0.4 MPa, 3 to 4.2 bar (0 to 60 psi)
All Other Models: 0.3 to 1.2 MPa, 3 to 12 bar (40 to 180 psi)
Air consumption Approx. 0.05 m#/min (1.5 cfm/gal) at 4 liters/min (1 gpm)
at 0.5 MPa, 5.6 bar (80 psi) input
Maximum recommended pump speed 100 cycles/min: 15.1 liters/min (4 gpm)
Air inlet size 1/4 npt(f)
Fluid inlet size 1–1/2 npt(f)
Fluid outlet size 3/4 npt(f)
Maximum Operating Temperature 120_F (49_C)
Sound Pressure Level at 100 psi (0.7 MPa, 7 bar): 72 dB(A)
at 65 psi (0.45 MPa, 4.5 bar): 70 dB(A)
Sound Power Level at 100 psi (0.7 MPa, 7 bar): 82 dB(A)
at 65 psi (0.45 MPa, 4.5 bar): 81 dB(A)
Weight Stubby Pump: 11 lbs (5 kg)
Drum Pump: 20 lbs (9 kg)
Wetted parts Models 226940, 226943, 237130, and 237133:
Carbon Steel, 303, 304 and 316 Stainless Steel, Leather,
Cadmium-Plated Ductile Iron, Chrome and Zinc-Plated Steel, PTFE,
fluoroelastomer
Models 226941, 226944, and 686445: Carbon Steel, 303, 304 and
316 Stainless Steel, Cadmium-Plated Ductile Iron, Chrome and
Zinc-Plated Steel, PTFE, fluoroelastomer, Polyethylene
Model 237131 and 237134: Carbon Steel, 303, 304 and 316
Stainless Steel, Cadmium-Plated Ductile Iron, Chrome and
Zinc-Plated Steel, PTFE, fluoroelastomer
Models 226942 and 226945: 303, 304 and 316 Stainless Steel,
Chrome, PTFE, fluoroelastomer, Polyethylene
Models 237129 and 237132: 303, 304 and 316 Stainless Steel,
Chrome, PTFE, fluoroelastomer, Polyethylene
Models 226947, 226948, and 226951: 303, 304 and 316 Stainless
Steel, Buna-N, Cadmium-Plated Ductile Iron, Chrome and
Zinc-Plated Steel, PTFE, fluoroelastomer, Polyethylene
Models 226952 and 226953: 303, 304 and 316 Stainless Steel,
Chrome, PTFE, Rubber

307427 39
Notes

40 307427
The Graco Standard Warranty
Graco warrants all equipment manufactured by Graco and bearing its name to be free from defects in material and workmanship on the
date of sale to the original purchaser for use. With the exception of any special, extended, or limited warranty published by Graco,
Graco will, for a period of twelve months from the date of sale, repair or replace any part of the equipment determined by Graco to be
defective. This warranty applies only when the equipment is installed, operated and maintained in accordance with Graco’s written
recommendations.
This warranty does not cover, and Graco shall not be liable for general wear and tear, or any malfunction, damage or wear caused by
faulty installation, misapplication, abrasion, corrosion, inadequate or improper maintenance, negligence, accident, tampering, or sub-
stitution of non–Graco component parts. Nor shall Graco be liable for malfunction, damage or wear caused by the incompatibility of
Graco equipment with structures, accessories, equipment or materials not supplied by Graco, or the improper design, manufacture,
installation, operation or maintenance of structures, accessories, equipment or materials not supplied by Graco.
This warranty is conditioned upon the prepaid return of the equipment claimed to be defective to an authorized Graco distributor for
verification of the claimed defect. If the claimed defect is verified, Graco will repair or replace free of charge any defective parts. The
equipment will be returned to the original purchaser transportation prepaid. If inspection of the equipment does not disclose any defect
in material or workmanship, repairs will be made at a reasonable charge, which charges may include the costs of parts, labor, and
transportation.
THIS WARRANTY IS EXCLUSIVE, AND IS IN LIEU OF ANY OTHER WARRANTIES, EXPRESS OR IMPLIED, INCLUDING BUT
NOT LIMITED TO WARRANTY OF MERCHANTABILITY OR WARRANTY OF FITNESS FOR A PARTICULAR PURPOSE.
Graco’s sole obligation and buyer’s sole remedy for any breach of warranty shall be as set forth above. The buyer agrees that no other
remedy (including, but not limited to, incidental or consequential damages for lost profits, lost sales, injury to person or property, or any
other incidental or consequential loss) shall be available. Any action for breach of warranty must be brought within two (2) years of the
date of sale.
Graco makes no warranty, and disclaims all implied warranties of merchantability and fitness for a particular purpose in connection
with accessories, equipment, materials or components sold but not manufactured by Graco. These items sold, but not manufactured
by Graco (such as electric motors, switches, hose, etc.), are subject to the warranty, if any, of their manufacturer. Graco will provide
purchaser with reasonable assistance in making any claim for breach of these warranties.
In no event will Graco be liable for indirect, incidental, special or consequential damages resulting from Graco supplying equipment
hereunder, or the furnishing, performance, or use of any products or other goods sold hereto, whether due to a breach of contract,
breach of warranty, the negligence of Graco, or otherwise.
FOR GRACO CANADA CUSTOMERS
The parties acknowledge that they have required that the present document, as well as all documents, notices and legal proceedings
entered into, given or instituted pursuant hereto or relating directly or indirectly hereto, be drawn up in English. Les parties reconnais-
sent avoir convenu que la rédaction du présente document sera en Anglais, ainsi que tous documents, avis et procédures judiciaires
exécutés, donnés ou intentés à la suite de ou en rapport, directement ou indirectement, avec les procedures concernées.
Graco Information
For the latest information about Graco products, visit www.graco.com.
TO PLACE AN ORDER, contact your Graco distributor or call to identify the distributor closest to you:
Phone: 612–623–6921 or Toll Free: 1–800–328–0211 Fax: 612–378–3505
All written and visual data contained in this document reflects the latest product information available at the time of publication.
Graco reserves the right to make changes at any time without notice.
Original instructions. This manual contains English. MM 307427
Graco Headquarters: Minneapolis
International Offices: Belgium, China, Japan, Korea
GRACO INC. AND SUBSIDIARIES S P.O. BOX 1441 S MINNEAPOLIS MN 55440–1441 S USA
Copyright 1980, Graco Inc. All Graco manufacturing locations are registered to ISO 9001.
www.graco.com
Revised 09/2011