Graco 307456U Fast Flo Air Motor Users Manual 307456U, Instructions Parts Manual, English
215963 to the manual ddba8da9-d0bd-404d-87de-8328e138cb0f
2015-04-02
: Graco Graco-307456U-Fast-Flo-Air-Motor-Users-Manual-686414 graco-307456u-fast-flo-air-motor-users-manual-686414 graco pdf
Open the PDF directly: View PDF
.
Page Count: 12

Instructions – Parts List
Fast-FloR Air Motor
12.5 bar (1.25 MPa, 180 psi) Maximum Air Working Pressure
Model 215963, Series A
101.6 mm (4 in.) stroke
NOTE: To replace Air Motor 215963,
order Motor Replacement Kit 223099.
See manual 307977 for parts.
307456U
Model 215963 Shown
03652B
Important Safety instructions
Read all warnings and instructions in this manual.
Save these instructions.
See page 2 for table of contents.

3074562
Table of Contents
Warnings 2. . . . . . . . . . . . . . . . . . . . . . . . . . . . . . . . . . . . . .
Installation 5. . . . . . . . . . . . . . . . . . . . . . . . . . . . . . . . . . . . .
Operation 5. . . . . . . . . . . . . . . . . . . . . . . . . . . . . . . . . . . . .
Troubleshooting 6. . . . . . . . . . . . . . . . . . . . . . . . . . . . . . . .
Service 7. . . . . . . . . . . . . . . . . . . . . . . . . . . . . . . . . . . . . . .
Parts 9. . . . . . . . . . . . . . . . . . . . . . . . . . . . . . . . . . . . . . . . .
Dimensional Drawings 10. . . . . . . . . . . . . . . . . . . . . . . . .
Mounting Hole Layout 10. . . . . . . . . . . . . . . . . . . . . . . . . .
Technical Data 11. . . . . . . . . . . . . . . . . . . . . . . . . . . . . . . .
Graco Warranty 12. . . . . . . . . . . . . . . . . . . . . . . . . . . . . . .
Graco Information 12. . . . . . . . . . . . . . . . . . . . . . . . . . . . .
Symbols
Caution Symbol
CAUTION
This symbol alerts you to the possibility of damage to
or destruction of equipment if you do not follow the
instructions.
Warning Symbol
WARNING
This symbol alerts you to the possibility of serious
injury or death if you do not follow the instructions.
WARNING
INSTRUCTIONS
EQUIPMENT MISUSE HAZARD
Equipment misuse can cause the equipment to rupture or malfunction and result in serious injury.
DThis equipment is for professional use only.
DRead all instruction manuals, tags, and labels before operating the equipment.
DUse the equipment only for its intended purpose. If you are not sure, call your Graco distributor.
DDo not alter or modify this equipment. Use only genuine Graco parts and accessories.
DCheck equipment daily. Repair or replace worn or damaged parts immediately.
DDo not exceed the maximum working pressure stated on the equipment or in the Technical Data
section for your equipment. Do not exceed the maximum working pressure of the lowest rated
component in your system.
DHandle hoses carefully. Do not use hoses to pull equipment.
DRoute hoses away from traffic areas, sharp edges, moving parts, and hot surfaces. Do not expose
Graco hoses to temperatures above 66_C (150_F) or below –40_C (–40_F).
DWear hearing protection when operating this equipment.
DComply with all applicable local, state, and national fire, electrical, and safety regulations.

307456 3
WARNING
SKIN INJECTION HAZARD
Spray from the gun, leaks, or ruptured components can inject fluid into your body and cause extremely
serious injury, including the need for amputation. Fluid splashed in the eyes or on the skin can also
cause serious injury.
DFluid injected into the skin might look like just a cut, but it is a serious injury. Get immediate
surgical treatment.
DDo not point the gun at anyone or at any part of the body.
DDo not put your hand or fingers over the spray tip/nozzle.
DDo not stop or deflect leaks with your hand, body, glove, or rag.
DAlways have the tip guard and the trigger guard on the gun when spraying.
DBe sure the gun trigger safety operates before spraying.
DClose the gun ball valves when you stop spraying.
DLock the gun trigger safety when you stop spraying.
DFollow the Pressure Relief Procedure on page 5 if the spray tip/nozzle clogs and before clean-
ing, checking, or servicing the equipment.
DTighten all fluid connections before operating the equipment.
DCheck the hoses, tubes, and couplings daily. Replace worn or damaged parts immediately.
Do not repair high pressure couplings; you must replace the entire hose.

3074564
WARNING
FIRE AND EXPLOSION HAZARD
Improper grounding, poor ventilation, open flames, or sparks can cause a hazardous condition and
result in a fire or explosion and serious injury.
DGround the equipment and the object being sprayed/dispensed. Refer to Grounding on
page 5.
DIf there is any static sparking or you feel an electric shock while using this equipment, stop spray-
ing immediately. Do not use the equipment until you identify and correct the problem.
DProvide fresh air ventilation to avoid the buildup of flammable fumes from solvents or the fluid
being sprayed/dispensed.
DKeep the spray/dispensing area free of debris, including solvent, rags, and gasoline.
DBefore operating this equipment, extinguish all open flames or pilot lights in the spray/dispensing
area.
DDo not smoke in the spray/dispensing area.
DDo not turn on or off any light switch in the spray/dispensing area while operating or if fumes are
present.
DDo not operate a gasoline engine in the spray/dispensing area.
TOXIC FLUID HAZARD
Hazardous fluid or toxic fumes can cause serious injury or death if splashed in the eyes or on the skin,
inhaled, or swallowed.
DKnow the specific hazards of the fluid you are using.
DStore hazardous fluid in an approved container. Dispose of hazardous fluid according to all local,
state, and national guidelines.
DAlways wear protective eyewear, gloves, clothing, and respirator as recommended by the fluid and
solvent manufacturer.

307456 5
Installation
Grounding
Proper grounding is an essential part of maintaining a
safe system.
To reduce the risk of static sparking, ground the pump.
Check your local electrical code for detailed grounding
instructions for your area and type of equipment. Be
sure to ground all of this equipment:
DPump: Use a ground wire and clamp as shown in
Fig. 1.
DAir compressor: Follow manufacturer’s recommen-
dations.
DObject being sprayed: Follow your local code.
DAll solvent pails used when flushing or relieving
pressure, always hold a metal part of the gun firmly
to the side of a grounded metal pail, then trigger the
gun.
DTo maintain grounding continuity when flushing or
relieving pressure, always hold a metal part of the
spray gun firmly to the side of a grounded metal
pail, then trigger the spray gun.
To ground the pump:
1. UL–Listed Pumps: Use a ground wire, connector,
and clamp. See Fig. 1. Loosen screw (X). Insert
one exposed end of a 12 ga (1.5 mm2) minimum
ground wire (Y) through the eye of the ground
terminal connector (W) and tighten screw (X)
securely. Connect the other end of the wire to a
true earth ground. Order Part No. 237569 Ground
Wire and Clamp.
2. Non UL–Listed Pumps: See Fig. 1. Remove the
ground screw (Z). Fasten the ground connector
(W) onto the pump with the ground screw (Z) and
tighten securely. Loosen screw (X). Insert one
exposed end of a 12 ga (1.5 mm2) minimum
ground wire (Y) through the eye of the ground
terminal connector (W) and tighten screw (X)
securely. Connect the other end of the wire to a
true earth ground. Order Part No. 222011 Ground
Connector/Wire and Clamp.
Fig. 1 TI1052
Y
Z
X
W
Operation
Pressure Relief Procedure
WARNING
INJECTION HAZARD
The system pressure must be manually
relieved to prevent the system from
starting or spraying accidentally. Fluid
under high pressure can be injected through the
skin and cause serious injury. To reduce the risk of
an injury from injection, splashing fluid, or moving
parts, follow the Pressure Relief Procedure
whenever you:
Dare instructed to relieve the pressure,
Dstop spraying/dispensing,
Dcheck or service any of the system equipment,
Dor install or clean the spray tips or nozzles.
1. Shut off the air to the pump.
2. Close the bleed-type master air valve (required in
your system).
3. Hold a metal part of the gun to the side of a
grounded metal pail and trigger the gun to relieve
pressure.
4. Open the fluid drain valve (required in your sys-
tem), having a container ready to catch the drain-
age.
5. Leave the drain valve open until you are ready to
spray/dispense again.
If you suspect that the spray tip/nozzle or hose is
clogged or that fluid pressure is not fully relieved after
following the steps above, very slowly loosen the tip
guard retaining nut or hose end coupling and relieve
pressure gradually. Clear the tip or hose obstruction.

3074566
Troubleshooting
WARNING
To reduce the risk of serious injury whenever you
are instructed to relieve pressure, always follow the
Pressure Relief Procedure on page 5.
Relieve the Pressure before you check or service any
system equipment.
NOTE: Check all other possible problems and solu-
tions before disassembling the pump.
Problem Solution
Air motor stalls Turn off and relieve air pressure to the motor. Turn on the air
supply . If the motor does not start, service the air piston (11)
or springs (5 and 20).
Air leaks down along the piston shaft (23) Replace the v-block packing (9).
Air leaks from the piston shaft relief holes (23a) Clean and service the piston (11).
Slow operation Icing; allow the air motor to thaw.
Muffler (26) clogged. Clean the muffler with mineral spirits. See
Cleaning the Muffler on page 7.

307456 7
Service
NOTE: Repair Kit 214584 is available. For best results,
use all the new parts in the kit, even if the old parts
look good. Parts included in the kit are marked with a
dagger, for example (6†), in the text and illustrations.
Air Piston and Lower Spring Service
WARNING
To reduce the risk of injury from trapped air pres-
sure when servicing the air motor, always remove
air cap (7) from air cylinder (8) before removing air
cylinder from base (22).
1. Unscrew the cylinder cap (7) from the cylinder (8).
To remove the spring (5), pry gently under the coils
in the direction of the helix.
2. Unscrew the cylinder (8) from the base (22) and lift
the cylinder off the air piston (11). Using a pliers
(B) on the air exhaust plate (16) and a wrench (C)
on the piston shaft (23), unscrew the piston from
the shaft. See Fig. 2.
CAUTION
Ketone fumes may damage the piston o-rings. When
pumping ketones (such as acetone, MEK, etc.), use
Conversion Kit 221038. This kit replaces the stan-
dard fluoroelastomer o-rings with EPDM o-rings
which are resistant to ketones.
3. Disassemble the piston and wash all parts in
compatible solvent. Refer to the parts list on
page 9. Blow parts dry and inspect for wear or
damage. If any of the valve plate spacers (13) are
damaged, replace all three to maintain proper
clearance between the valve plates and the seats.
4. Remove and inspect the lower spring (20). Re-
place if necessary, and reinstall.
5. A decrease in performance accompanied by a
slower than normal cycle rate is commonly caused
by icing. It is recommended that the pump is shut
down, and the ice is allowed to thaw.
6. Reassemble the air piston (11), using new parts as
needed. Apply a good grade of thread sealant to
the threads of the screws (12). and torque evenly
to 1.1–1.6 NSm (10–14 in-lb). With the washer (4)
in place, apply thread sealant to the threads of the
piston. Carefully screw the piston (11) onto the
shaft (23) by hand so it is securely fastened. Do
not use pliers on the air exhaust plate while tight-
ening. When installed, there should be 0.8 mm
(0.032 in.) minimum clearance between the wash-
er (4) and the piston shaft shoulder. See Fig. 2.
Packing Replacement
1. Unscrew the cylinder cap (7) from the cylinder (8).
To remove the spring (5), pry gently under the coils
in the direction of the helix.
2. Unscrew the cylinder (8) from the base (22) and lift
the cylinder off the air piston (11). Disconnect the
piston shaft (23) from the pump connecting rod
and pull the shaft up out of the air motor base.
Remove and inspect the packing (9†), being
careful not to mar the inner lip. See Fig. 2.
NOTE: Fluoroelastomer packing 111383 is available as
an accessory, for use with solvents not compatible with
the standard nitrile rubber packing.
3. Replace the packing and reassemble the air motor
in the reverse order of disassembly.
Upper Spring Replacement
Unscrew the cylinder cap (7) from the cylinder (8). To
remove the spring (5), pry gently under the coils in the
direction of the helix.
Cleaning the Muffler
To clean the muffler (26), remove it from the unit and
soak it in mineral spirits, then blow dry with air to
remove excess solvent.

3074568
Service
03654
Piston Detail
Use pliers (B) only when removing
piston. Do not use when tightening
piston to rod (23).
220168 Air Valve and
Piston Assembly (11)
Piston Rod and Base
1
2
Apply Sealant
Torque to 1.3–1.6 NSm (10–14 in-lb)
*16
*14
27
*13
28
15
*12
1
8
23a
23
20
†9
22
26
7
5
6†
8
B 16*
2
4
C
23
0.8 mm (0.032 in.) Min.
Fig. 2
Motor Cap and Cylinder

307456 9
Parts
03655B
*16
*14
27
*13
28
15
*12
7
5
†6
8
6†
4
20
23
9†
22
1
26
1
2
1 2
Apply Sealant
Torque to 1.3–1.6
NSm (10–14 in-lb)
10†
2
3
Ref
No. Part No. Description Qty.
Ref
No. Part No. Description Qty.
1 116343 SCREW, grounding,
for non–listed pumps 1
2 104029 LUG, grounding, for UL–listed pumps 1
3 104582 WASHER, tab, for UL–listed pumps 1
4 157872 WASHER, valve 1
5 178866 SPRING, compression 1
6† 172404 GASKET, neoprene 2
7 172406 GAP, cylinder 1
8 172407 CYLINDER 1
9† 172585 PACKING, v-block; nitrile rubber 1
10† 172595 WASHER, backup
11 220168 AIR VALVE & PISTON ASSEMBLY
Includes items 12–16, 27 & 28 1
12* 220884 . SCREW, socket hd cap; No. 6–32
25 mm (1 in.) lg; with copper gasket 3
13* 181485 . SPACER, valve plate 3
14* 189210 . PISTON, air, aluminum 1
15 181487 . PLATE, air intake valve 1
16* 162729 . PLATE, air exhaust valve 1
20 178780 SPRING, compression 1
22 215946 BASE, air motor (include item 9) 1
23 215947 SHAFT, piston (Includes item 26) 1
26 178490 . MUFFLER 1
27 108357 O-RING; fluoroelastomer 1
28 108358 O-RING; fluoroelastomer 3
* Recommended tool box spare parts. Keep these spare
parts on hand to reduce downtime.
† Supplied in Repair Kit 214584.

30745610
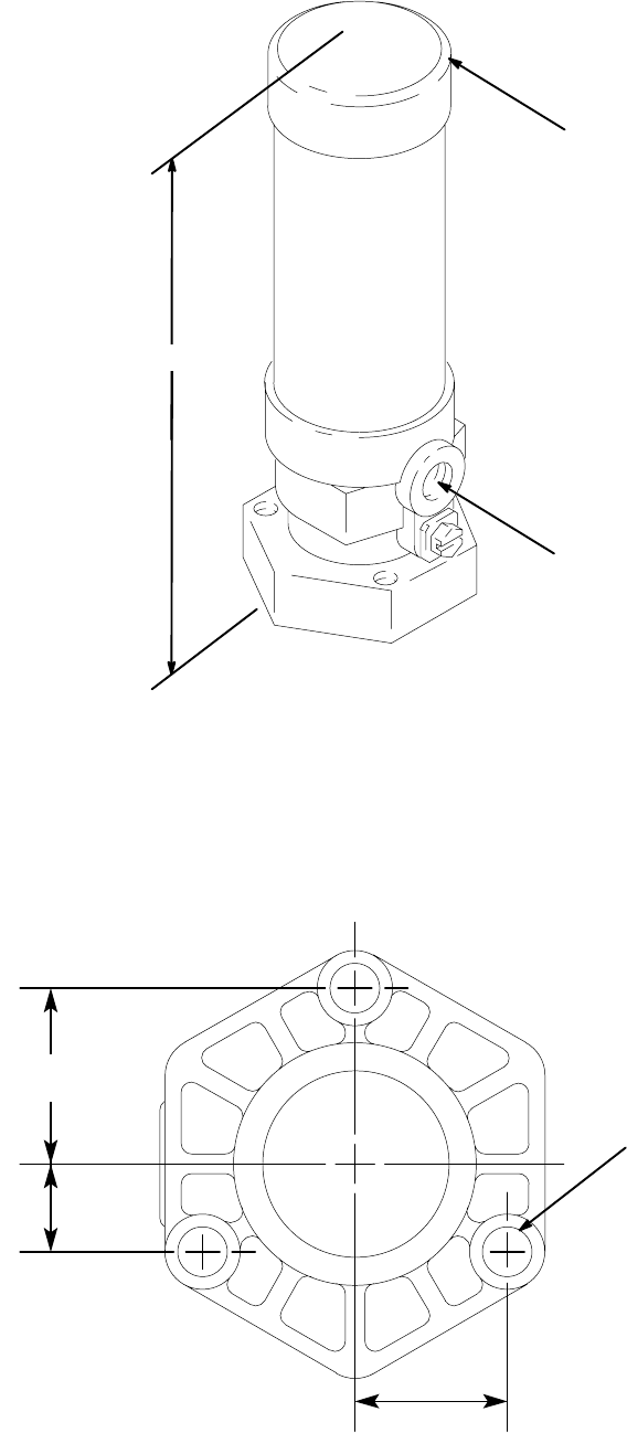
Dimensions
Mounting Hole Layout
03652B
201 mm (7.9 in.)
1/4–18 npt(f)
59 mm (2.32 in.) diameter
32 mm
(1.26 in.)
16 mm
(0.63 in.)
27.71 mm
(1.09 in.)
8.50 mm (0.33 in.)
Diameter
307456 11
Technical Data
Maximum inbound air pressure 12.5 bar (1.25 MPa,180 psi). . . . . . . . . . . . . . . . . . . . . . . . . . . . . . . . . . . . . . . . . . . . . . . . .
Air inlet size 1/4 npt (f). . . . . . . . . . . . . . . . . . . . . . . . . . . . . . . . . . . . . . . . . . . . . . . . . . . . . . . . . . . . . . . . . . . . . . . . . . . . . . . . .
Effective piston area 10 cm2 (1.6 sq. in.). . . . . . . . . . . . . . . . . . . . . . . . . . . . . . . . . . . . . . . . . . . . . . . . . . . . . . . . . . . . . . . . .
Effective piston diameter 35.2 mm (1.4 in.). . . . . . . . . . . . . . . . . . . . . . . . . . . . . . . . . . . . . . . . . . . . . . . . . . . . . . . . . . . . . . .
Stroke length 101.6 (4 in.). . . . . . . . . . . . . . . . . . . . . . . . . . . . . . . . . . . . . . . . . . . . . . . . . . . . . . . . . . . . . . . . . . . . . . . . . . . .
Weight 1.8 kg (4 lb). . . . . . . . . . . . . . . . . . . . . . . . . . . . . . . . . . . . . . . . . . . . . . . . . . . . . . . . . . . . . . . . . . . . . . . . . . . . . . . . . . . .

30745612
The Graco Standard Warranty
Graco warrants all equipment manufactured by Graco and bearing its name to be free from defects in material and workmanship on the
date of sale to the original purchaser for use. With the exception of any special, extended, or limited warranty published by Graco,
Graco will, for a period of twelve months from the date of sale, repair or replace any part of the equipment determined by Graco to be
defective. This warranty applies only when the equipment is installed, operated and maintained in accordance with Graco’s written
recommendations.
This warranty does not cover, and Graco shall not be liable for general wear and tear, or any malfunction, damage or wear caused by
faulty installation, misapplication, abrasion, corrosion, inadequate or improper maintenance, negligence, accident, tampering, or sub-
stitution of non-Graco component parts. Nor shall Graco be liable for malfunction, damage or wear caused by the incompatibility of
Graco equipment with structures, accessories, equipment or materials not supplied by Graco, or the improper design, manufacture,
installation, operation or maintenance of structures, accessories, equipment or materials not supplied by Graco.
This warranty is conditioned upon the prepaid return of the equipment claimed to be defective to an authorized Graco distributor for
verification of the claimed defect. If the claimed defect is verified, Graco will repair or replace free of charge any defective parts. The
equipment will be returned to the original purchaser transportation prepaid. If inspection of the equipment does not disclose any defect
in material or workmanship, repairs will be made at a reasonable charge, which charges may include the costs of parts, labor, and
transportation.
THIS WARRANTY IS EXCLUSIVE, AND IS IN LIEU OF ANY OTHER WARRANTIES, EXPRESS OR IMPLIED, INCLUDING BUT
NOT LIMITED TO WARRANTY OF MERCHANTABILITY OR WARRANTY OF FITNESS FOR A PARTICULAR PURPOSE.
Graco’s sole obligation and buyer’s sole remedy for any breach of warranty shall be as set forth above. The buyer agrees that no other
remedy (including, but not limited to, incidental or consequential damages for lost profits, lost sales, injury to person or property, or any
other incidental or consequential loss) shall be available. Any action for breach of warranty must be brought within two (2) years of the
date of sale.
Graco makes no warranty, and disclaims all implied warranties of merchantability and fitness for a particular purpose in connection
with accessories, equipment, materials or components sold but not manufactured by Graco. These items sold, but not manufactured
by Graco (such as electric motors, switches, hose, etc.), are subject to the warranty, if any, of their manufacturer. Graco will provide
purchaser with reasonable assistance in making any claim for breach of these warranties.
In no event will Graco be liable for indirect, incidental, special or consequential damages resulting from Graco supplying equipment
hereunder, or the furnishing, performance, or use of any products or other goods sold hereto, whether due to a breach of contract,
breach of warranty, the negligence of Graco, or otherwise.
FOR GRACO CANADA CUSTOMERS
The parties acknowledge that they have required that the present document, as well as all documents, notices and legal proceedings
entered into, given or instituted pursuant hereto or relating directly or indirectly hereto, be drawn up in English. Les parties reconnais-
sent avoir convenu que la rédaction du présente document sera en Anglais, ainsi que tous documents, avis et procédures judiciaires
exécutés, donnés ou intentés à la suite de ou en rapport, directement ou indirectement, avec les procedures concernées.
Graco Information
For the latest information about Graco products, visit www.graco.com.
TO PLACE AN ORDER, contact your Graco distributor, or call one of the following numbers
to identify the distributor closest to you:
1–800–328–0211 Toll Free
612–623–6921
612–378–3505 Fax
All written and visual data contained in this document reflects the latest product information available at the time of publication.
Graco reserves the right to make changes at any time without notice.
This manual contains English. MM 307456
Graco Headquarters: Minneapolis
International Offices: Belgium, Korea, China, Japan
GRACO INC.ąP.O. BOX 1441ąMINNEAPOLIS, MNą55440-1441
Copyright 1980, Graco Inc. is registered to ISO 9001
Revised 04/2009