Graco 311484J Gh833 Sprayer Users Manual Sprayer, Parts (English) Noptc
aa583f20-8dcb-4be1-835b-ed240e0616db Graco Paint Sprayer 16U287 User Guide |
2015-04-02
: Graco Graco-311484J-Gh833-Sprayer-Users-Manual-686434 graco-311484j-gh833-sprayer-users-manual-686434 graco pdf
Open the PDF directly: View PDF
.
Page Count: 12

Models: 249318, 249617, 253471, 253472, 16U287, 16U288, 16V258, 16V260
Maximum Working Pressure 4000 psi (27.6 MPa, 276 bar)
Related Manuals
Important Safety Instructions. Read all
warnings and instructions in operation and repair
manuals. Save these instructions.
311279
311283
311485
311254
ti7107b
311484J
Parts
GH™ 833 Sprayers
EN

Parts - Frame
2311484J
Parts - Frame
25
145
144 92
146
143
176
172
22
23
2
72
77 69
70
68
71
78 79
1
86
120
153
32
89
102
128
138
20
148
95
84
86
115
147
36, page 8 and
manual 311485
129
147
137
199
116
178
154
184
ti7684a
171
Parts - Frame
311484J 3
Parts List - Frame
▲Replacement Danger and Warning labels, tags, and cards
are available at no cost.
❖ Available with models 249617 and 253472 only.
Ref. Part Description Qty.
1 15G839 FRAME, GH833, painted 1
2 119509 WHEEL, pneumatic 2
20 15G547 SPACER, axel 2
22 154628 WASHER 2
23 120211 RING, retaining, e-ring 2
25 287797 KIT, handle, includes 92, 143,
144, 145, 146
1
32 120068 FITTING, hydraulic 1
68 801504 FOOT, rubber 2
69 100454 SCREW, cap hex hd 2
70 100132 WASHER, flat 4
71 101566 NUT, lock 2
72 287925 COOLER, oil 1
77 15H480 BAR, support 1
78 120339 WASHER, fender 4
79 C20474 SCREW, self taping 6
84 110996 NUT, hex, flanged 2
86 110963 SCREW, cap, flng hd 4
89 120137 FILTER, suction 1
92 15G797 SLEEVE, handle, included in 25 2
95 237686 WIRE, ground assembly w/clam 1
102 124489 PLUG, pipe 1
115 245440 KIT, hose drain, includes 138 1
116 206994 TSL, 8-oz 1
120 120314 PLUG, tube 2
128 198542 CLIP, spring 1
129 287796 KIT, suction tube, includes 148 1
137 15G813 HOSE, coupled 1
138 241920 DEFLECTOR, threaded 1
143 109032 SCREW, mach, pnh 4
144 112827 BUTTON, snap 2
145 108068 PIN, spring straight 2
146 116891 WASHER 2
147 KIT, suction hose, includes 148 1
147a 287916 standard, non-slvt res 1
147b 287915 slvt rest, optional 1
147c 287936 2-inch, non-slvt 1
148 237840 STRAINER 1
153 15G541 TUBE, J suction 1
154 101818 CLAMP, hose 1
171 15G879 LABEL, side, GH833 2
166 222385 TAG, warning 1
▲
172 15G906 LABEL, lift here 2
▲
178 194317 LABEL, danger, English 1
▲
184 15F146 LABEL set 1
199 KIT, gun and hose 1
❖199a 287850 silver, optional 1
199b 287851 flex, optional 1
199c 287852 texture, hd, optional 1
Ref. Part Description Qty.

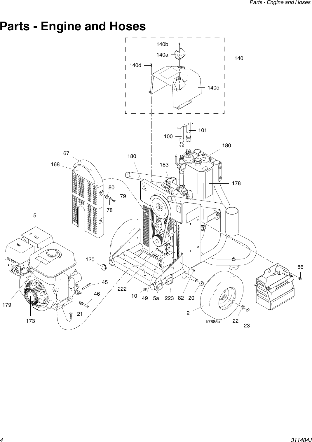
Parts - Engine and Hoses
4311484J
Parts - Engine and Hoses
100
101
140b
140a
140d
140c
67
168
79
78
80
120
173
21
10 20
2
22
23
86
46
45
178
183
179
5
82
5a
180
180
223
49
222
140
ti7685c
Parts - Engine and Hoses
311484J 5
Parts List - Engine and Hoses
▲Replacement Danger and Warning labels, tags, and cards
are available at no cost.
† Used on models
16U287, 16U288, 16V258, 16V260
only.
Ref. Part Description Qty.
2 119509 WHEEL, pneumatic 2
†
5 114703 ENGINE, gas, 13 hp, Honda 1
16U399 ENGINE, gas, 13 hp, Honda,
electric start
1
†
5a VOLTAGE REGULATOR
(see Honda manual)
1
10 112958 NUT 1
20 15G547 SPACER, axle 2
21 116780 SCREW, hex hd, flanged 4
22 154628 WASHER 2
23 120211 RING, retaining, e-ring 2
†
45 113951 CABLE, electric, neg 1
†
46 107073 CABLE, electric, positive 1
†
49 110755 WASHER 2
67 288099 KIT, cover, pulley fan, includes 78,
79, 80
1
78 120339 WASHER, fender 4
80 120415 GROMMET 4
†
82 102040 WASHER, lock 2
†
86 110963 SCREW, cap, flange head 12
100 15G781 HOSE, coupled 1
101 15G783 HOSE, coupled 1
120 120314 PLUG, tube 4
140 288098 KIT, cover, pump, includes 79 1
140a COVER, pump, knob 1
140b SCREW, hi/lo, phlps, pwhd 1
140c COVER, hydr pump 1
140d SCREW, self tapping 4
168 15G876 LABEL, back, GH833 1
†
171 16U578 LABEL, side, top, GH833 1
173 15G907 LABEL, Honda GX390 13 hp 1
▲178 15D523 LABEL, warning, EN/FR/ES 1
▲
179 194126 LABEL, warning 1
▲180 189285 LABEL, caution 1
▲
183 198492 LABEL, warning 1
†
222 120444 SCREW 2
†
223 101345 NUT 2
Ref. Part Description Qty.

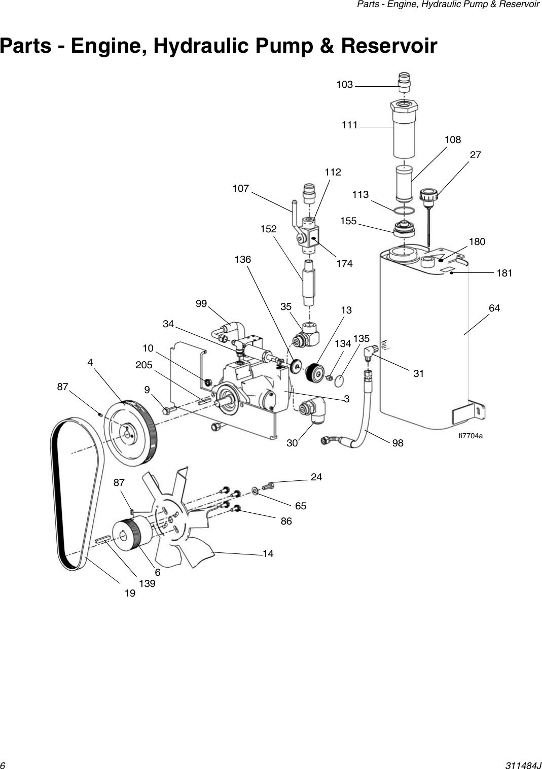
Parts - Engine, Hydraulic Pump & Reservoir
6311484J
Parts - Engine, Hydraulic Pump & Reservoir
19
139
6
14
86
65
24
87
4
64
31
98
13
134 135
136
35
99
34
180
181
3
9
30
10
205
152
107
174
112
27
155
113
108
111
103
87
ti7704a
Parts - Engine, Hydraulic Pump & Reservoir
311484J 7
Parts List - Engine, Hydraulic Pump & Reservoir
▲Replacement Danger and Warning labels, tags, and cards
are available at no cost.
Ref. Part Description Qty.
3 288105 KIT, pump, hydraulic, includes 9,
10, 13, 134, 135, 136
1
4 15G812 PULLEY, pump 1
6 15G811 PULLEY, drive, engine 1
9 111193 SCREW, cap, flang hd 2
10 112958 NUT, hex, flanged 2
13 15B438 KNOB, pressure 1
14 119971 FAN 1
19 120172 BELT, poly-V 11
24 116596 SCREW, cap, hex, hd 1
27 116915 CAP, breather/fill 1
30 120066 FITTING, elbow, hydraulic 1
31 120064 FITTING, elbow, hydraulic 1
34 116793 FITTING, elbow, hydraulic 1
35 120067 FITTING, elbow, hydraulic 1
64 15G545 RESERVOIR, painted 1
65 100731 WASHER 1
86 110963 SCREW, cap, flng hd 4
87 100002 SCREW, set, sch 3
98 15G784 HOSE, coupled 1
99 15G782 HOSE, coupled 1
103 120063 FITTING, 1
107 120140 VALVE, ball 1
108 287871 KIT, hydraulic oil filter, includes 113 1
111 15H246 HOUSING, filter 1
112 120304 FITTING, nipple 1
113 120315 O-RING
134 117560 SCREW, set, socket hd 1
135 15A464 LABEL, control 1
136 15G767 COLLAR, locking, pressure knob 1
139 801137 KEY, engine pulley 1
152 120175 FITTING, ball valve 1
155 15H247 CAP, filter housing 1
174 15G908 LABEL, hdry lever ON/OFF 1
▲
180 189285 LABEL, caution 1
181 198585 LABEL, hydraulic fluid 1
205 183401 KEY, pump pulley 1
Ref. Part Description Qty.

Parts - Pump Stackup & Hydraulic Motor
8311484J
Parts - Pump Stackup & Hydraulic Motor
90
104
91
45
48
106
97
105
122
141
36
73
74
7
125
121
76
52
62
75
169
170
46
175
124
63
44
43
42
53 abc
53 def
163
165
164
62
66
182
ti7686a
Parts - Pump Stackup & Hydraulic Motor
311484J 9
Parts List - Pump Stackup & Hydraulic Motor
▲Replacement Danger and Warning labels, tags, and cards
are available at no cost.
‡ Use on models 253471, 253472, 16V258, and 16V260 only.
Ref. Part Description Qty.
7 120226 SCREW, hex hd, flange 4
36 287834
KIT, pump, displacement, includes
141
Manual 311485
1
42 15G501 SLEEVE, valve, hydr, motor 1
43 15G503 STOP, valve, hydraulic motor 1
44 15D256 SCREW, cap, sch 2
45 101947 BALL, bearing 2
46 15G270 YOKE, arm, hydraulic motor 2
48 105270 SCREW, shoulder, sch 4
52 287869 CYLINDER, hydraulic motor 1
53 287870 KIT, repair, packing, hydraulic,
includes 62
1
53a BEARING, piston
53b O-RING, piston
53c SEAL, piston, hydraulic motor
53d SEAL, rod
53e BEARING, rod
53f WIPER, rod
62 116084 PACKING, o-ring 2
63 15G559 HOUSING, hydraulic motor, lower 1
66 101970 PLUG, pipe 1
73 15G639 ADAPTER, hydraulic motor/pump 1
74 120202 SCREW, cap sch 3
75 288061 CAP, hydraulic head, includes
175
1
76 287868 PISTON, hydraulic 1
90 120138 SCREW, cap, socket head 3
91 120146 SPRING, compression 1
97 287841 TUBE 1
104 120065 FITTING, hydraulic 1
105 117607 FITTING, elbow std thd 1
106 117609 FITTING, tee, branch, str thd 1
121 116407 CLIP, hairpin 1
122 15G204 NUT, retaining 1
124 197340 COVER, coupler 1
125 244819 COUPLING, assembly 1
141 15H335 FITTING, nipple, 1 in. npt, 1
▲
169 15G877 LABEL, front 1
▲
170 15G878 LABEL, Graco logo 1
▲
175 15B063 LABEL, included with 75 1
‡✟163 15H201 SHIELD, pump 1
‡164 111235 SCREW, mach, pnh 1
‡165 120317 NUT, wing 1
▲182 192840 LABEL, warning 1
Ref. Part Description Qty.

Parts - Filter
10 311484J
Parts - Filter
Parts List - Filter
‡ Use on models 253471 and 253472 only.
131
160
159
161
162
157
158
115
151
142
133
130
110
117
127
109
206
200
202
201
207
ti7686b
Ref. Part Description Qty.
109 15C766 TUBE, diffusion 1
110 15G649 BASE, filter 1
115 245440 KIT, hose, drain 1
117 244067 FILTER, fluid 1
127 117285 PACKING, o-ring 1
130 124488 BUSHING, pipe 2
131 15C765 CAP, filter 1
133 16F255 FITTING, nipple, rdcg 1
142 287968 FITTING, union, adapter 1
151 124489 PLUG, pipe 1
157 193709 SEAT, valve 1
158 193710 SEAL, seat, valve 1
159 15G563 HANDLE, valve 1
160 116424 NUT, cap 1
161 114708 SPRING, compression 1
162 245103 KIT, valve, drain, includes 157,
158, 159, 160, 161, 162, 200
1
200 114797 GASKET 1
201 102814 GAUGE 1
202 119969 FITTING, reducer 1
206 287285 KIT, cap filter, includes 109, 127,
131
1
‡207 288097 KIT, gauge kit, includes 201, 202 1
Ref. Part Description Qty.

Battery (Models 16U287, 16U288, 16V258, and 16V260 Only)
311484J 11
Battery
(Models 16U287, 16U288, 16V258, and 16V260 Only)
Parts List
237
285
239
233
238
249
258
248
245
246
243
244
247
286
250
ti20817a
Ref. Part Description Qty.
233 115753 BATTERY, 33 AH, sealed 1
237 16U412 TRAY, battery, gh-es, painted 1
238 107068 HOOK, bolt 2
239 801972 PAD, battery 1
243 801958 PROTECTOR, terminal, red 1
244 801959 TERMINAL, protector, black 1
245 113951 CABLE, electric, neg (black) 1
246 107073 CABLE, electric, positive (red) 1
247 107069 CLAMP, battery 1
248 100011 NUT, wing 2
249 110755 WASHER, plain 2
250 15F366 PAD, foam 1
258 100016 WASHER, lock 2
285 16U559 LABEL, brand, es, side 1
286 110963 SCREW, cap, flange head 12
Ref. Part Description Qty.

Graco Standard Warranty
12 311484J
Graco Standard Warranty
Graco warrants all equipment referenced in this document which is manufactured by Graco and bearing its name to be free from defects in
material and workmanship on the date of sale to the original purchaser for use. With the exception of any special, extended, or limited warranty
published by Graco, Graco will, for a period of twelve months from the date of sale, repair or replace any part of the equipment determined by
Graco to be defective. This warranty applies only when the equipment is installed, operated and maintained in accordance with Graco’s written
recommendations.
This warranty does not cover, and Graco shall not be liable for general wear and tear, or any malfunction, damage or wear caused by faulty
installation, misapplication, abrasion, corrosion, inadequate or improper maintenance, negligence, accident, tampering, or substitution of
non-Graco component parts. Nor shall Graco be liable for malfunction, damage or wear caused by the incompatibility of Graco equipment with
structures, accessories, equipment or materials not supplied by Graco, or the improper design, manufacture, installation, operation or
maintenance of structures, accessories, equipment or materials not supplied by Graco.
This warranty is conditioned upon the prepaid return of the equipment claimed to be defective to an authorized Graco distributor for verification of
the claimed defect. If the claimed defect is verified, Graco will repair or replace free of charge any defective parts. The equipment will be returned
to the original purchaser transportation prepaid. If inspection of the equipment does not disclose any defect in material or workmanship, repairs
will be made at a reasonable charge, which charges may include the costs of parts, labor, and transportation.
THIS WARRANTY IS EXCLUSIVE, AND IS IN LIEU OF ANY OTHER WARRANTIES, EXPRESS OR IMPLIED, INCLUDING BUT NOT LIMITED
TO WARRANTY OF MERCHANTABILITY OR WARRANTY OF FITNESS FOR A PARTICULAR PURPOSE.
Graco’s sole obligation and buyer’s sole remedy for any breach of warranty shall be as set forth above. The buyer agrees that no other remedy
(including, but not limited to, incidental or consequential damages for lost profits, lost sales, injury to person or property, or any other incidental or
consequential loss) shall be available. Any action for breach of warranty must be brought within two (2) years of the date of sale.
GRACO MAKES NO WARRANTY, AND DISCLAIMS ALL IMPLIED WARRANTIES OF MERCHANTABILITY AND FITNESS FOR A
PARTICULAR PURPOSE, IN CONNECTION WITH ACCESSORIES, EQUIPMENT, MATERIALS OR COMPONENTS SOLD BUT NOT
MANUFACTURED BY GRACO. These items sold, but not manufactured by Graco (such as electric motors, switches, hose, etc.), are subject to
the warranty, if any, of their manufacturer. Graco will provide purchaser with reasonable assistance in making any claim for breach of these
warranties.
In no event will Graco be liable for indirect, incidental, special or consequential damages resulting from Graco supplying equipment hereunder, or
the furnishing, performance, or use of any products or other goods sold hereto, whether due to a breach of contract, breach of warranty, the
negligence of Graco, or otherwise.
FOR GRACO CANADA CUSTOMERS
The Parties acknowledge that they have required that the present document, as well as all documents, notices and legal proceedings entered into,
given or instituted pursuant hereto or relating directly or indirectly hereto, be drawn up in English. Les parties reconnaissent avoir convenu que la
rédaction du présente document sera en Anglais, ainsi que tous documents, avis et procédures judiciaires exécutés, donnés ou intentés, à la suite
de ou en rapport, directement ou indirectement, avec les procédures concernées.
Graco Information
For the latest information about Graco products, visit www.graco.com.
TO PLACE AN ORDER, contact your Graco distributor or call 1-800-690-2894 to identify the nearest distributor.
All written and visual data contained in this document reflects the latest product information available at the time of publication.
Graco reserves the right to make changes at any time without notice.
This manual contains English. MM 311484
Graco Headquarters: Minneapolis
International Offices: Belgium, China, Japan, Korea
GRACO INC. AND SUBSIDIARIES • P.O. BOX 1441 • MINNEAPOLIS MN 55440-1441 • USA
Copyright 2012, Graco Inc. All Graco manufacturing locations are registered to ISO 9001.
www.graco.com
Revised February 2013