Graco 312862F Oil Pump System Users Manual System, Instructions Parts List, English
2015-04-02
: Graco Graco-312862F-Oil-Pump-System-Users-Manual-686376 graco-312862f-oil-pump-system-users-manual-686376 graco pdf
Open the PDF directly: View PDF
.
Page Count: 8

Instructions - Parts List
Oil Pump System
See page 2 for model information, including maximum working pressure.
Important Safety Instructions
Read all warnings and instructions in this manual. Save these instructions.
See supplied pump and motor manuals for important Safety and Warnings information and installation,
operation and service instructions for those components.
Models 247888, 247889,
ti11724
24D602 and 24D603 Shown
312862F
EN

Models
2312862F
Models
Packages With DataTrak
System Maximum Working
Pressure
Air Fluid
System
Part No.
Sub
Level
Part
No.
Pump
Air
Motor
Size
Lower
Size
Pump
Manual
Pump
Lower
Manual
Floor or
Wall
Mount
psi (MPa,
bar)
psi (MPa,
bar)
247888 24D590 3.5:1,
High-Flo
NXT340
02000 cc 3A2024 3A2023
255143
Wall
100 (0.7, 7.0) 350 (.4, 24)
247889 24D591 4.5:1,
High-Flo
NXT340
0
1500 cc 3A2024 3A2023 100 (0.7, 7.0) 450 (3.1, 31)
247890 24D592 6:1,
Dura-Flo
NXT340
0
1000 cc 311833 311717 100 (0.7, 7.0) 620 (4.3, 43)
247891 24D593 12:1,
Dura-Flo
NXT340
0
580 cc 311826 311825 100 (0.7, 7.0) 1190 (8.2, 82)
247983 12:1
Dura-Flo
, SST
NXT340
0
580 cc 311826 311825 100 (0.7, 7.0) 1190 (8.2, 82)
247892 24D594 6:1,
High-Flo
NXT650
0
2000 cc 3A2024 3A2023 75 (0.5, 5.2) 500 (3.4, 34)
247893 24D594 6:1,
High-Flo
NXT650
0
2000 cc 3A2024 3A2023 218742
Floor
75 (0.5, 5.2) 500 (3.4, 34)
247894 24D595 10:1,
Dura-Flo
NXT650
0
1000 cc 311833 311717
255143
Wall
100 (0.7, 7.0) 1180 (8.1, 81)
247895 23:1,
Dura-Flo
NXT650
0
580 cc 311826 311825 75 (0.5, 5.2) 1725 (11.9,
119)
Packages Without DataTrak
24D602 24J092 3.5:1,
High-Flo
NXT340
02000 cc 3A2024 3A2023
255143
Wall
100 (0.7, 7.0) 350 (.4, 24)
24D603 24J091 4.5:1,
High-Flo
NXT340
0
1500 cc 3A2024 3A2023 100 (0.7, 7.0) 450 (3.1, 31)
24D604 24D598 6:1,
Dura-Flo
NXT340
0
1000 cc 311833 311717 100 (0.7, 7.0) 620 (4.3, 43)
24D605 24D599 12:1,
Dura-Flo
NXT340
0
580 cc 311826 311825 100 (0.7, 7.0) 1190 (8.2, 82)
24D606 24J093 6:1,
High-Flo
NXT650
0
2000 cc 3A2024 3A2023 75 (0.5, 5.2) 500 (3.4, 34)
24D607 24J093 6:1,
High-Flo
NXT650
0
2000 cc 3A2024 3A2023 218742
Floor
100 (0.7, 7.0) 500 (3.4, 34)
24D608 24D601 10:1,
Dura-Flo
NXT650
0
1000 cc 311833 311717 255143
Wall
100 (0.7, 7.0) 1180 (8.1, 81)

Setup and Parts
312862F 3
Setup and Parts
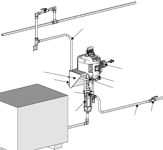
Models: 247888, 247889, 24D602, 24D603 - Wall Mount
2
9
5
4
6
1
8
3
7
ti11724
10†
Ref.
No. Part No. Description Qty.
1 102806 FITTING, union, adapter 90° 1
2 110048 HOSE, air, coupled, 48 inch 1
3 115042 HOSE, fluid, coupled, 6 foot 1
4 157785 FITTING, air, swivel 1
5 244524 WIRE, ground, assembly, with
clamp
1
6 255143 KIT, bracket, wall mounting 1
7 512152 VALVE, ball, 1” NPT(F) 1
8 24D590 PUMP, LR 4-ball, 3400/2000
(model 247888)
1
24D591 PUMP, LR 4-ball, 3400/1500
(model 247889)
1
24J091 PUMP, MR4-ball, 3400/1500
(model 24D603)
1
24J092 PUMP, MR4-ball, 3400/2000
(model 24D602)
1
9 NXT011 CONTROL, air integrated, locking 1
10† 247887 CE Identification label 1
†Attention: To comply with CE directives, the CE
identification label must be affixed to the wall
bracket as shown. Permanently mark the date of
assembly on the label.
Ref.
No. Part No. Description Qty.

Setup and Parts
4312862F
Models: 247890, 247894 - Wall Mount
2
9
5
4
6
11, 1
87
3
ti115726
10†
Ref.
No. Part No. Description Qty.
1 102806 FITTING, union, adapter 90° 1
2 110048 HOSE, air, coupled, 48 inch 1
3 115042 HOSE, fluid, coupled, 6 foot, 1
4 157785 FITTING, air, swivel 1
5 244524 WIRE, ground, assembly, with
clamp
1
6 255143 KIT, bracket, wall mounting 1
7 512152 VALVE, ball, 1” NPT(F) 1
8 24D592 PUMP, Dura-Flo, 3400/1000
(model 247890)
1
24D595 PUMP, Dura-Flo, 6500/1000
(model 247894)
1
9 NXT011 CONTROL, air integrated, locking 1
10† CE Identification label 1
11 C19668 FITTING, bushing, reducing 1
†Attention: To comply with CE directives, the CE
identification label must be affixed to the wall
bracket as shown. Permanently mark the date of
assembly on the label.

Setup and Parts
312862F 5
Models: 247891, 247983, 247895 - Wall Mount
7
3
8
11, 1 4
5
9
6
2
ti11725
10†
Ref.
No. Part No. Description Qty.
1 160022 FITTING, union, adapter, straight 1
2 110048 HOSE, air, coupled, 48 inch 1
3 115042 HOSE, fluid, coupled, 6 foot 1
4 157785 FITTING, air, swivel 1
5 244524 WIRE, ground, assembly, with
clamp
1
6 255143 KIT, bracket, wall mounting 1
7 512152 VALVE, ball, 1” NPT(F) 1
8 24D593 PUMP, Dura-Flo, 3400/580
(model 247891)
1
P12MSA PUMP, Dura-Flo, 3400/580
(model 247983)
1
P23MCD PUMP, Dura-Flo, 6500/580
(model 247895)
1
9 NXT011 CONTROL, air integrated, locking
(models 247891and 247983)
1
NXT031 CONTROL, air integrated locking
(model 247895)
1
10† CE Identification label 1
11 116650 COUPLING, 1 inch x 1-1/2 inch,
(model 247891)
1
†Attention: To comply with CE directives, the CE
identification label must be affixed to the wall
bracket as shown. Permanently mark the date of
assembly on the label.

Setup and Parts
6312862F
Model: 247892, 24D606 - Wall Mount
ti11727
6
8
37
5
9
2
4
1
10†
Ref.
No. Part No. Description Qty.
1 121476 FITTING, swivel, 90°, 2 inch 1
2 110048 HOSE, air, coupled, 48 inch 1
3 247969 HOSE, fluid, coupled, 6 foot 1
4 157785 FITTING, air, swivel 1
5 244524 WIRE, ground, assembly, with
clamp
1
6 255143 KIT, bracket, wall mounting 1
7 512213 VALVE, ball, 2” NPT(F) 1
8 JC60M1 PUMP, LR, 4-ball, 6500/2000
(model 247892)
1
24J093 PUMP, LR-4 ball, 6500/2000
(model 24D606)
1
9 NXT031 CONTROL, air integrated, locking 1
10† 247887 CE Identification label 1
†Attention: To comply with CE directives, the CE
identification label must be affixed to the wall
bracket as shown. Permanently mark the date of
assembly on the label.

Setup and Parts
312862F 7
Model: 247893, 24D607 - Floor Mount
2
9
5
7
3
6
8
4
ti11728
1
10†
Ref.
No. Part No. Description Qty.
1 121476 FITTING, swivel, 90°, 2 inch 1
2 110048 HOSE, air, coupled, 48 inch 1
3 247969 HOSE, fluid, coupled, 6 foot 1
4 157785 FITTING, air, swivel 1
5 244524 WIRE, ground, assembly, with
clamp
1
6 218742 KIT, stand mounting 1
7 512213 VALVE, ball, 2” NPT(F) 1
8 JC60M1 PUMP, LR 4-ball, 6500/2000
(model 247893)
1
24J093 PUMP, LR-4 ball, 6400/2000
(24D607)
9 NXT031 CONTROL, air integrated, locking 1
10† CE Identification label 1
†Attention: To comply with CE directives, the CE
identification label must be affixed to the floor
stand as shown. Permanently mark the date of
assembly on the label.

All written and visual data contained in this document reflects the latest product information available at the time of publication.
Graco reserves the right to make changes at any time without notice.
For patent information, see www.graco.com/patents.
Original instructions. This manual contains English. MM 312862
Graco Headquarters: Minneapolis
International Offices: Belgium, China, Japan, Korea
GRACO INC. AND SUBSIDIARIES • P.O. BOX 1441 • MINNEAPOLIS MN 55440-1441 • USA
Copyright 2008, Graco Inc. All Graco manufacturing locations are registered to ISO 9001.
www.graco.com
Revised August 2012
Graco Standard Warranty
Graco warrants all equipment referenced in this document which is manufactured by Graco and bearing its name to be free from defects in
material and workmanship on the date of sale to the original purchaser for use. With the exception of any special, extended, or limited warranty
published by Graco, Graco will, for a period of twelve months from the date of sale, repair or replace any part of the equipment determined by
Graco to be defective. This warranty applies only when the equipment is installed, operated and maintained in accordance with Graco’s written
recommendations.
This warranty does not cover, and Graco shall not be liable for general wear and tear, or any malfunction, damage or wear caused by faulty
installation, misapplication, abrasion, corrosion, inadequate or improper maintenance, negligence, accident, tampering, or substitution of
non-Graco component parts. Nor shall Graco be liable for malfunction, damage or wear caused by the incompatibility of Graco equipment with
structures, accessories, equipment or materials not supplied by Graco, or the improper design, manufacture, installation, operation or
maintenance of structures, accessories, equipment or materials not supplied by Graco.
This warranty is conditioned upon the prepaid return of the equipment claimed to be defective to an authorized Graco distributor for verification of
the claimed defect. If the claimed defect is verified, Graco will repair or replace free of charge any defective parts. The equipment will be returned
to the original purchaser transportation prepaid. If inspection of the equipment does not disclose any defect in material or workmanship, repairs will
be made at a reasonable charge, which charges may include the costs of parts, labor, and transportation.
THIS WARRANTY IS EXCLUSIVE, AND IS IN LIEU OF ANY OTHER WARRANTIES, EXPRESS OR IMPLIED, INCLUDING BUT NOT LIMITED
TO WARRANTY OF MERCHANTABILITY OR WARRANTY OF FITNESS FOR A PARTICULAR PURPOSE.
Graco’s sole obligation and buyer’s sole remedy for any breach of warranty shall be as set forth above. The buyer agrees that no other remedy
(including, but not limited to, incidental or consequential damages for lost profits, lost sales, injury to person or property, or any other incidental or
consequential loss) shall be available. Any action for breach of warranty must be brought within two (2) years of the date of sale.
GRACO MAKES NO WARRANTY, AND DISCLAIMS ALL IMPLIED WARRANTIES OF MERCHANTABILITY AND FITNESS FOR A
PARTICULAR PURPOSE, IN CONNECTION WITH ACCESSORIES, EQUIPMENT, MATERIALS OR COMPONENTS SOLD BUT NOT
MANUFACTURED BY GRACO. These items sold, but not manufactured by Graco (such as electric motors, switches, hose, etc.), are subject to
the warranty, if any, of their manufacturer. Graco will provide purchaser with reasonable assistance in making any claim for breach of these
warranties.
In no event will Graco be liable for indirect, incidental, special or consequential damages resulting from Graco supplying equipment hereunder, or
the furnishing, performance, or use of any products or other goods sold hereto, whether due to a breach of contract, breach of warranty, the
negligence of Graco, or otherwise.
FOR GRACO CANADA CUSTOMERS
The Parties acknowledge that they have required that the present document, as well as all documents, notices and legal proceedings entered into,
given or instituted pursuant hereto or relating directly or indirectly hereto, be drawn up in English. Les parties reconnaissent avoir convenu que la
rédaction du présente document sera en Anglais, ainsi que tous documents, avis et procédures judiciaires exécutés, donnés ou intentés, à la suite
de ou en rapport, directement ou indirectement, avec les procédures concernées.
Graco Information
For the latest information about Graco products, visit www.graco.com.
TO PLACE AN ORDER, contact your Graco distributor or call to identify the nearest distributor.
Phone: 612-623-6928 or Toll Free: 1-800-533-9655, Fax: 612-378-3590