Graco 313227C Pro Xs Users Manual Auto Waterborne Electrostatic Air Spray Gun, Instructions/Parts, English
2015-04-02
: Graco Graco-313227C-Pro-Xs-Users-Manual-686489 graco-313227c-pro-xs-users-manual-686489 graco pdf
Open the PDF directly: View PDF .
Page Count: 48
- Warnings
- Overview
- Installation
- Install the System
- Warning Signs
- Ventilate the Spray Booth
- Connect the Charging Probe
- Install the Air Line Accessories
- Install the Fluid Line Accessories
- Install the Gun and Mounting Bracket
- Connect the Air and Fluid Lines
- Manifold Connections
- Optional Fiber Optic Cable Connection
- Grounding
- Check Electrical Grounding
- Check Fluid Resistivity
- Check Fluid Viscosity
- Install the Fabric Cover
- Operation
- Maintenance
- Electrical Tests
- Troubleshooting
- Gun Repair
- Prepare the Gun for Repair
- Remove the Gun from the Manifold
- Install the Gun on the Manifold
- Replace Air Cap/Nozzle
- Replace Electrode Needle
- Remove Fluid Packing Rod
- Repair Packing Rod
- Piston Repair
- Adjust the Actuator Arm
- Remove Barrel
- Install Barrel
- Power Supply Removal and Replacement
- Turbine Alternator Removal and Replacement
- Parts
- Accessories
- Technical Data
- Graco Warranty
- Graco Information

Instructions/Parts
Automatic Electrostatic
PRO™ Xs Auto Waterborne
Air Spray Gun 313227C
ENG
For use with conductive spray materials (waterborne and other materials
less than 1 megohm-cm).
Part No. 24A206
100 psi (0.7 MPa, 7 bar) Maximum Air Inlet Pressure
100 psi (0.7 MPa, 7 bar) Maximum Working Fluid Pressure
For use in Class I, Div. I hazardous locations using Group D spray materials.
For use in Group II, Zone 1 areas using Group IIA spray materials.
For Professional Use ONLY.
U.S. Patent Pending
Important Safety Instructions
Read all warnings and instructions in this
manual. Save these instructions.
See page 2 for Table of Contents.
II 2 G EEx 0.24 mJ T6
FM08ATEX0075
#53
TI13395a
0359
2313227C
Table of Contents
Warnings . . . . . . . . . . . . . . . . . . . . . . . . . . . . . . . . . 3
Overview . . . . . . . . . . . . . . . . . . . . . . . . . . . . . . . . . . 5
How the Electrostatic Air Spray Gun Works . . . . 5
Operating the Spray Function . . . . . . . . . . . . . . . 5
Operating the Electrostatics . . . . . . . . . . . . . . . . 5
Gun Features and Options . . . . . . . . . . . . . . . . . 5
Changing the kV Setting . . . . . . . . . . . . . . . . . . . 5
Installation . . . . . . . . . . . . . . . . . . . . . . . . . . . . . . . . 7
Install the System . . . . . . . . . . . . . . . . . . . . . . . . 7
Warning Signs . . . . . . . . . . . . . . . . . . . . . . . . . . . 7
Ventilate the Spray Booth . . . . . . . . . . . . . . . . . . 7
Connect the Charging Probe . . . . . . . . . . . . . . . 9
Install the Air Line Accessories . . . . . . . . . . . . . . 9
Install the Fluid Line Accessories . . . . . . . . . . . . 9
Install the Gun and Mounting Bracket . . . . . . . . 10
Connect the Air and Fluid Lines . . . . . . . . . . . . 10
Manifold Connections . . . . . . . . . . . . . . . . . . . . 11
Optional Fiber Optic Cable Connection . . . . . . . 11
Grounding . . . . . . . . . . . . . . . . . . . . . . . . . . . . . 12
Check Electrical Grounding . . . . . . . . . . . . . . . . 13
Check Fluid Resistivity . . . . . . . . . . . . . . . . . . . 14
Check Fluid Viscosity . . . . . . . . . . . . . . . . . . . . 14
Install the Fabric Cover . . . . . . . . . . . . . . . . . . . 14
Operation . . . . . . . . . . . . . . . . . . . . . . . . . . . . . . . . 15
Pressure Relief Procedure . . . . . . . . . . . . . . . . 15
Operating Checklist . . . . . . . . . . . . . . . . . . . . . . 15
Select a Fluid Nozzle and Air Cap . . . . . . . . . . 16
Adjust the Spray Pattern . . . . . . . . . . . . . . . . . . 16
Adjust the Electrostatics . . . . . . . . . . . . . . . . . . 17
Spraying . . . . . . . . . . . . . . . . . . . . . . . . . . . . . . 18
Triggering the Fluid Alone . . . . . . . . . . . . . . . . . 18
Shutdown . . . . . . . . . . . . . . . . . . . . . . . . . . . . . 18
Maintenance . . . . . . . . . . . . . . . . . . . . . . . . . . . . . . 19
Clean the Gun Daily . . . . . . . . . . . . . . . . . . . . . 19
Clean the Air Cap and Fluid Nozzle . . . . . . . . . 20
Check for Fluid Leakage . . . . . . . . . . . . . . . . . . 21
Electrical Tests . . . . . . . . . . . . . . . . . . . . . . . . . . . . 22
Test Total Gun Resistance . . . . . . . . . . . . . . . . . 22
Test Gun Resistance . . . . . . . . . . . . . . . . . . . . . 23
Test Charging Probe Resistance . . . . . . . . . . . . 23
Test Power Supply Resistance . . . . . . . . . . . . . 24
Test Barrel Resistance . . . . . . . . . . . . . . . . . . . . 24
Troubleshooting . . . . . . . . . . . . . . . . . . . . . . . . . . . 25
Spray Pattern Troubleshooting . . . . . . . . . . . . . 25
Gun Operation Troubleshooting . . . . . . . . . . . . . 26
Electrical Troubleshooting . . . . . . . . . . . . . . . . . 27
Gun Repair . . . . . . . . . . . . . . . . . . . . . . . . . . . . . . . 28
Prepare the Gun for Repair . . . . . . . . . . . . . . . . 28
Remove the Gun from the Manifold . . . . . . . . . . 29
Install the Gun on the Manifold . . . . . . . . . . . . . 29
Replace Air Cap/Nozzle . . . . . . . . . . . . . . . . . . 30
Replace Electrode Needle . . . . . . . . . . . . . . . . . 31
Remove Fluid Packing Rod . . . . . . . . . . . . . . . . 32
Repair Packing Rod . . . . . . . . . . . . . . . . . . . . . . 33
Piston Repair . . . . . . . . . . . . . . . . . . . . . . . . . . . 34
Adjust the Actuator Arm . . . . . . . . . . . . . . . . . . 35
Remove Barrel . . . . . . . . . . . . . . . . . . . . . . . . . . 36
Install Barrel . . . . . . . . . . . . . . . . . . . . . . . . . . . . 37
Power Supply Removal and Replacement . . . . 38
Turbine Alternator Removal and Replacement . 39
Parts . . . . . . . . . . . . . . . . . . . . . . . . . . . . . . . . . . . . 40
Accessories . . . . . . . . . . . . . . . . . . . . . . . . . . . . . . 44
Air Line Accessories . . . . . . . . . . . . . . . . . . . . . 44
Fluid Line Accessories . . . . . . . . . . . . . . . . . . . 44
Miscellaneous Accessories . . . . . . . . . . . . . . . . 45
Gun Accessories . . . . . . . . . . . . . . . . . . . . . . . . 46
Technical Data . . . . . . . . . . . . . . . . . . . . . . . . . . . . 47
Graco Warranty . . . . . . . . . . . . . . . . . . . . . . . . . . . 48
Graco Information . . . . . . . . . . . . . . . . . . . . . . . . . 48

Warnings
313227C 3
Warnings
Warning Symbol
This symbol alerts you to the possibility of serious injury
or death if you do not follow the instructions.
Notice
The following warnings are for the setup, use, grounding, maintenance, and repair of this equipment. The exclama-
tion point symbol alerts you to a general warning and the hazard symbol refers to procedure-specific risk. Refer back
to these warnings. Additional, product-specific warnings may be found throughout the body of this manual where
applicable.
WARNING NOTICE
A NOTICE alerts you to the possibility of damage to
or destruction of equipment if you do not follow the
instructions.
WARNINGWARNINGWARNING
WARNING
FIRE AND EXPLOSION HAZARD
Flammable fumes, such as solvent and paint fumes, in work area can ignite or explode. To help prevent
fire and explosion:
•Electrostatic equipment must be used only by trained, qualified personnel who understand the
requirements of this manual.
•Ground equipment, personnel, object being sprayed, and conductive objects in work area. See
Grounding instructions.
•Only use grounded Graco conductive air supply hoses.
•Check gun and hose resistance and electrical grounding daily.
•Use and clean equipment only in well ventilated area.
•Interlock the gun air supply to prevent operation unless ventilating fans are on.
•Use cleaning solvents with the highest possible flash point when flushing or cleaning equipment.
•To comply with EN50050, cleaning solvents must have a flash point at least 5° C above ambient
temperature.
•Always turn the electrostatics off when flushing, cleaning or servicing equipment.
•If there is static sparking or you feel a shock, stop operation immediately. Do not use equipment
until you identify and correct the problem.
•Eliminate all ignition sources; such as pilot lights, cigarettes, portable electric lamps, and plastic drop
cloths (potential static arc).
•Do not plug or unplug power cords or turn lights on or off when flammable fumes are present.
•Keep work area free of debris, including solvent, rags and gasoline.
•Keep a working fire extinguisher in the work area.
ELECTRIC SHOCK HAZARD
This equipment must be grounded. Improper grounding, setup, or usage of the system can cause electric
shock.
•Turn off air supply before servicing equipment.
•All electrical wiring must be done by a qualified electrician and comply with all local codes and
regulations.
•Do not touch gun electrode when electrostatics are on.
•Do not expose to rain. Store indoors.

Warnings
4313227C
PRESSURIZED EQUIPMENT HAZARD
Fluid from the gun/dispense valve, leaks, or ruptured components can splash in the eyes or on skin and
cause serious injury.
•Follow Pressure Relief Procedure in this manual, when you stop spraying and before cleaning,
checking, or servicing equipment.
•Tighten all fluid connections before operating the equipment.
•Check hoses, tubes, and couplings daily. Replace worn or damaged parts immediately.
EQUIPMENT MISUSE HAZARD
Misuse can cause death or serious injury.
•Do not operate the unit when fatigued or under the influence of drugs or alcohol.
•Do not exceed the maximum working pressure or temperature rating of the lowest rated system
component. See Technical Data in all equipment manuals.
•Do not leave the work area while equipment is energized or under pressure. Turn off all equipment
and follow the Pressure Relief Procedure in this manual when equipment is not in use.
•Check equipment daily. Repair or replace worn or damaged parts immediately with genuine
manufacturer’s replacement parts only.
•Do not alter or modify equipment.
•Use equipment only for its intended purpose. Call your distributor for information.
•Route hoses and cables away from traffic areas, sharp edges, moving parts, and hot surfaces.
•Do not kink or over bend hoses or use hoses to pull equipment.
•Keep children and animals away from work area.
•Comply with all applicable safety regulations.
TOXIC FLUID OR FUMES HAZARD
Toxic fluids or fumes can cause serious injury or death if splashed in the eyes or on skin, inhaled, or
swallowed.
•Read MSDS’s to know the specific hazards of the fluids you are using.
•Store hazardous fluid in approved containers, and dispose of it according to applicable guidelines.
•Always wear impervious gloves when spraying or cleaning equipment.
PERSONAL PROTECTIVE EQUIPMENT
You must wear appropriate protective equipment when operating, servicing, or when in the operating area
of the equipment to help protect you from serious injury, including eye injury, inhalation of toxic fumes,
burns, and hearing loss. This equipment includes but is not limited to:
•Protective eyewear
•Clothing and respirator as recommended by the fluid and solvent manufacturer
•Gloves
•Hearing protection
WARNINGWARNINGWARNING
WARNING

Overview
313227C 5
Overview
How the Electrostatic Air Spray
Gun Works
The automatic electrostatic air spray gun operates very
similar to a traditional air spray gun. The atomization
and fan air are emitted from the air cap. The atomization
air breaks up the fluid stream and controls the droplet
size. The fan air controls the shape and width of the
spray pattern. The fan and atomization air can be
adjusted independently.
Operating the Spray Function
Applying a minimum of 50 psi (0.35 MPa, 3.5 bar) air
pressure to the gun manifold’s cylinder air fitting (CYL)
will retract the gun piston, which opens the air valves
and a short time later opens the fluid needle. This pro-
vides the proper air lead and lag when triggering the
gun. A spring returns the piston when the cylinder air is
shut off.
Operating the Electrostatics
To operate the electrostatics, apply air pressure to the
gun manifold’s turbine air fitting (TA) through a Graco
grounded air hose. The air enters the manifold and is
directed to the inlet of the power supply turbine. The air
spins the turbine, which then provides electrical power
to the internal high voltage power supply and external
charging probe. Atomized fluid particles become
charged as they pass by the external probe, and are
attracted to the grounded workpiece, evenly coating all
surfaces. The external charging allows the fluid supply
to remain grounded at all times, eliminating the need for
an isolation system.
The turbine air is exhausted into the shroud and out the
back of the manifold through the exhaust fitting (EXH).
The exhaust air helps keep contaminants out and helps
keep the gun clean.
Gun Features and Options
•The gun is designed for use with a reciprocator, and
can be mounted directly on a 1/2 in. (13 mm) rod.
With additional brackets, the gun can be mounted
for robotic applications.
•The gun’s quick-disconnect design enables its
removal without disconnecting the fluid and air lines
to the gun.
•Gun functions are activated from a separate control-
ler that sends the appropriate signal to the actuating
solenoids.
•The optional fiber optic readout system can be
installed to monitor the gun’s spraying voltage. A
fiber optic cable connected to the gun manifold car-
ries the signal from the gun to a remote display
module. Part No. 224117 Display Module displays
the gun’s spraying voltage and current. Bat-
tery-operated Display Module 189762 displays the
gun’s spraying voltage only.
Changing the kV Setting
For this external charge gun it is recommended that the
gun be left at full voltage, but if needed the voltage can
be reduced.
The gun’s full voltage setting is 60 kV. Three lower volt-
age settings are possible by actuating the KV1 and KV2
switches. Supply 50 psi (0.35 MPa, 3.5 bar) air pressure
to the KV1 and KV2 ports. Turn the air on or off as
shown in Table 1 to set the desired voltage.
NOTE: The solenoid valves used to activate the KV1
and KV2 switches must bleed the air out of the lines for
the switches to draw back to the higher voltage setting.
Table 1: KV1 and KV2 Switch Settings
KV1 Air KV2 Air Output Voltage (kV)
OFF OFF 60
OFF ON 50
ON OFF 40
ON ON 35

Overview
6313227C
Key
FIG. 1. Gun Overview
TI1577A
Manifold Back View
A1 A2
CYL
EXH
FO
KV2
P1
TA
KV1
TI13395a
A
B
CDE
F
G
H
J
TI13426a
A Air Cap
B Fluid Nozzle
C Retaining Ring
D Shroud
E Mounting Bracket
F Manifold
G Turbine
H Power Supply
J External Charging Probe
Manifold Markings
A1 Atomization Air Inlet Fitting
A2 Fan Air Inlet Fitting
CYL Cylinder Air Inlet Fitting
EXH Shroud Exhaust Outlet Fitting
FO Fiber Optic Fitting (shipped unassembled)
KV1 kV Switch 1 Air Inlet
KV2 kV Switch 2 Air Inlet
P1 Fluid Supply Inlet Fitting
TA Turbine Air Inlet Fitting

Installation
313227C 7
Installation
Install the System
FIG. 2 shows a typical electrostatic air spray system, and
FIG. 3 shows possible system options. It is not an actual
system design. For assistance in designing a system to
suit your particular needs, contact your Graco distribu-
tor.
Warning Signs
Mount warning signs in the spray area where they can
easily be seen and read by all operators. An English
Warning Sign is provided with the gun.
Ventilate the Spray Booth
Electrically interlock the gun air supply with the ventila-
tors to prevent gun operation without ventilating fans
operating. Check and follow all National, State, and
Local codes regarding air exhaust velocity require-
ments.
High velocity air exhaust will decrease the operating effi-
ciency of the electrostatic system. Air exhaust velocity of
100 ft/min (31 linear meters/minute) should be sufficient.
Key to FIG. 2 and FIG. 3
Installing and servicing this equipment requires
access to parts which may cause electric shock or
other serious injury if work is not performed properly.
•Do not install or service this equipment unless
you are trained and qualified.
•Be sure your installation complies with National,
State and Local codes for the installation of
electrical apparatus in a Class I, Div. I, Group D or
a Group II, Category 2G Hazardous Location.
•Comply with all applicable local, state, and
national fire, electrical, and other safety
regulations.
Provide fresh air ventilation to avoid the buildup of
flammable or toxic vapors when spraying, flushing, or
cleaning the gun. Do not operate the gun unless
ventilation fans are operating.
A Air Hose Ground Wire
B Graco Grounded Turbine Air Hose (TA)
C Atomizing Air Hose, 3/8 in. (10 mm) OD (A1)
D Fan Air Hose, 3/8 in. (10 mm) OD (A2)
E Cylinder Air Hose, 5/32 in. (4 mm) OD (CYL)
F Fluid Hose, 1/4-18 npsm gun fluid inlet (P1)
G To Fluid Supply
H Auto PRO Xs Air Spray Gun
J Mounting Bracket for 1/2 in. (13 mm) rod
K Solenoid Valve, requires quick exhaust port
L Bleed-Type Master Air Valve
M Air Pressure Regulator
N True Earth Ground
P 24 Volt Power Supply
Q 4-20 microampere Outputs
R Full Feature ES Display Module
S kV Only ES Display Module (battery operated)
T Fiber Optic Y Cable
U Bulkhead
V Fiber Optic Cable
W Main Air Line
XkV Switch Air Hose, 5/32 in. (4 mm) OD (optional; plug KV1
fitting if not used)
YkV Switch Air Hose, 5/32 in. (4 mm) OD (optional; plug KV2
fitting if not used)

Installation
8313227C
FIG. 2. Typical Installation
TI1712A
A
BCD
EF
J
K
M
N
G
NOTE:
* The turbine air supply (TA) must be electrically interlocked with the spray booth ventilation fans to prevent
the power supply from operating without ventilating fans on.
Non-Hazardous Area Hazardous Area
Y
W
P1
CYL
A2A1
KV2
TA
K
K
See *
above
K
X
KV1
L
L
L
Manifold Back View
FIG. 3. Optional Fiber Optic Connection to Voltage Display Module
KV
μA
85.0 KV
Q
T
NOTE:
** A maximum of two splices with a total of 108 ft (33 m) of cable can be used. For the stron-
gest light signals, use a minimum number of bulkhead splices. See Accessories on page 45.
Non-Hazardous Area Hazardous Area
H
U**R
P
S
V**
TI13427a

Installation
313227C 9
Connect the Charging Probe
1. Apply dielectric grease to the charging probe
socket. See FIG. 4.
2. Install the charging probe in the Connect/Discon-
nect position shown in FIG. 5.
3. Rotate the charging probe to spray position.
NOTE: For proper performance, do not operate electro-
statics if the charging probe is not in spray position.
Install the Air Line Accessories
1. Install a bleed-type air valve (L) on the main air line
(W) to shut off all air to the gun (H).
2. Install an air line filter/water separator on the gun air
line to ensure a dry, clean air supply to the gun. Dirt
and moisture can ruin the appearance of your fin-
ished workpiece and can cause the gun to malfunc-
tion.
3. Install a bleed-type air regulator (M) on each of the
air supply lines (B, C, D, E, X, Y) to control air pres-
sure to the gun.
4. Install a solenoid valve (K) on the cylinder air line (E)
to actuate the gun. The solenoid valve must have a
quick exhaust port.
Install the Fluid Line
Accessories
1. Install a fluid filter and drain valve at the pump out-
let.
2. Install a fluid regulator on the fluid line to control
fluid pressure to the gun.
FIG. 4. Probe Socket
FIG. 5. Charging Probe Positions
NOTICE
The external charging probe rotates easily. Do not
press too hard when rotating it or it could be dam-
aged.
ti13446a
Probe
Socket
Connect/Disconnect
Position
ti13447a
Spray
Position
Trapped air can cause the gun to spray
unexpectedly, which can result in serious injury,
including splashing fluid in the eyes or on the skin.
The solenoid valves (K) must have a quick exhaust
port so trapped air will be relieved between the valve
and gun when the solenoids are shut off.
The fluid drain valve is required in your system to
assist in relieving fluid pressure in the displacement
pump, hose, and gun. Triggering the gun to relieve
pressure may not be sufficient. Install a drain valve
close to the pump's fluid outlet. The drain valve
reduces the risk of serious injury, including splashing
in the eyes or on the skin.

Installation
10 313227C
Install the Gun and Mounting
Bracket
1. Loosen the mounting bracket’s two set screws (103)
and slide the bracket (102) onto a 1/2 in. (13 mm)
mounting rod. See FIG. 6.
2. Position the gun and tighten the two set screws.
NOTE: For added positioning reliability, insert a 1/8 in.
(3 mm) locating pin (NN) into the slot in the bracket and
through a hole in the rod. See the detail in FIG. 6.
Connect the Air and Fluid Lines
FIG. 2 shows a schematic of air and fluid line connec-
tions, and FIG. 7 shows the manifold connections. Con-
nect the air and fluid lines as instructed.
1. Connect the Graco Grounded Air Supply Hose (B)
to the gun's turbine air inlet (TA) and connect the
hose ground wire (A) to a true earth ground (N). The
gun turbine air inlet fitting has left-hand threads to
prevent connecting another type of air hose to the
turbine air inlet. See Accessories on page 44 for
further information about the hose.
2. Check the electrical grounding of the gun as
instructed on page 13.
3. Before connecting the fluid line (P1), blow it out with
air and flush it with solvent. Use solvent which is
compatible with the fluid to be sprayed.
FIG. 6. Mounting Bracket
03460
103
102
NN
7.39 in.
(187.7 mm)
TI13428a
2.88 in.
(73.2 mm)
8.75 in.
(222.3 mm)
To nozzle tip
To reduce the risk of electric shock or other serious
injury, the turbine air supply hose must be electrically
connected to a true earth ground. Use only Graco
Grounded Air Supply Hose.

Installation
313227C 11
Manifold Connections Optional Fiber Optic Cable
Connection
An optional fiber optic fitting is shipped unassembled
with the gun. If an ES (kV) display module is used,
install the fitting in the FO port of the manifold. See FIG.
3, page 8, for a schematic of the fiber optic connections.
1. Remove the plug (120) from the fiber optic port, and
install the fiber optic fitting (5, shipped loose with the
gun). See FIG. 8.
2. Remove the nut (AA) from the fiber optic fitting (5)
and slide the nut over the end of the fiber optic cable
(BB). See FIG. 9.
3. Push the cable (BB) into the fitting (5) until it bot-
toms out. Tighten the nut (AA) to secure the cable.
4. Most of the fiber optic light transmission loss occurs
at the bulkhead splices. For the strongest light sig-
nals, use a minimum number of bulkhead splices. A
maximum of two splices, with a total of 108 ft (33 m)
of cable, is recommended.
5. See manual 308265 to install a Graco ES Display
Module.
A1 Atomization Air Inlet Fitting
Connect a 3/8 in. (10 mm) OD tube between this fitting and
the air supply.
A2 Fan Air Inlet Fitting
Connect a 3/8 in. (10 mm) OD tube between this fitting and
the air supply.
CYL Cylinder Air Inlet Fitting
Connect a 5/32 in. (4 mm) OD tube between this fitting and
the solenoid. For quicker response, use the shortest hose
length possible.
EXH Shroud Exhaust Outlet Fitting
Connect a 1/4 in. (6 mm) OD x 4 ft (1.22 m) long tube to
this fitting.
FO Fiber Optic Fitting (Optional)
Connect the Graco Fiber Optic cable (see page 11).
KV1 kV Switch 1 Air Inlet Fitting
Connect a 5/32 in. (4 mm) OD tube between this fitting and
the solenoid.
KV2 kV Switch 2 Air Inlet Fitting
Connect a 5/32 in. (4 mm) OD tube between this fitting and
the solenoid.
P1 Fluid Supply Inlet Fitting
Connect a 1/4 npsm swivel fitting between this fitting and
the fluid supply.
TA Turbine Air Inlet Fitting
Connect the Graco Electrically Conductive Air Hose
between this fitting (left-hand thread) and the solenoid.
Connect the air hose ground wire to a true earth ground.
FIG. 7. Manifold Connections
TI1577A
A1 A2
CYL
EXH
FO
KV2
P1
TA
KV1
FIG. 8. Fiber Optic Fitting
FIG. 9. Fiber Optic Cable
TI1580A
120
5
TI1581A
AA
5
BB

Installation
12 313227C
Grounding
The following are minimum grounding requirements for
a basic electrostatic system. Your system may include
other equipment or objects which must be grounded.
Check your local electrical code for detailed grounding
instructions. Your system must be connected to a true
earth ground.
•Pump: ground the pump by connecting a ground
wire and clamp as described in your separate pump
instruction manual.
•Electrostatic Air Spray Gun: ground the gun by con-
necting the Graco Grounded Air Hose to the turbine
air inlet and connecting the air hose ground wire to a
true earth ground. See Check Electrical Ground-
ing, page 13.
•Air compressors and hydraulic power supplies:
ground the equipment according to the manufac-
turer's recommendations.
•All air and fluid lines must be properly grounded.
•All electrical cables must be properly grounded.
•All persons entering the spray area: shoes must
have conductive soles, such as leather, or personal
grounding straps must be worn. Do not wear shoes
with non-conductive soles such as rubber or plastic.
•Object being sprayed: keep the workpiece hangers
clean and grounded at all times. Resistance must
not exceed 1 megohm.
•The floor of the spray area: must be electrically con-
ductive and grounded. Do not cover the floor with
cardboard or any non-conductive material which
would interrupt grounding continuity.
•Flammable liquids in the spray area: must be kept in
approved, grounded containers. Do not use plastic
containers. Do not store more than the quantity
needed for one shift.
•All electrically conductive objects or devices in the
spray area: including fluid containers and wash
cans, must be properly grounded.
When operating the electrostatic gun, any
ungrounded objects in the spray area (people,
containers, tools, etc.) can become electrically
charged. Improper grounding can result in static
sparking, which can cause a fire, explosion, or
electric shock. Follow the grounding instructions
below.

Installation
313227C 13
Check Electrical Grounding
1. Have a qualified electrician check the electrical
grounding continuity of the spray gun and turbine air
hose.
2. Make sure the turbine air hose (B) is connected and
the hose ground wire is connected to a true earth
ground.
3. Turn off the air and fluid supply to the gun. The fluid
hose must not have any fluid in it.
4. Measure the resistance between the turbine air inlet
fitting (TA) and a true earth ground (N).
a. If using a black or grey turbine air hose, use a
megohmmeter to measure the resistance. Use
an applied voltage of 500 minimum to 1000
volts maximum. The resistance should not
exceed 1 megohm.
b. If using a red turbine air hose, use an ohmmeter
to measure the resistance. The resistance
should not exceed 100 ohms.
5. If the resistance is greater than the maximum read-
ing specified above for your hose, check the tight-
ness of the ground connections and be sure the
turbine air hose ground wire is connected to a true
earth ground. If the resistance is still too high,
replace the turbine air hose.
Fire, Explosion, and Electric Shock Hazard
Megohmmeter Part No. 241079 (AA-see FIG. 10) is
not approved for use in a hazardous area. To reduce
the risk of sparking, do not use the megohmmeter to
check electrical grounding unless:
•The gun has been removed from the hazardous
area;
•or all spraying devices in the hazardous area are
turned off, ventilation fans in the hazardous area
are operating, and there are no flammable vapors
in the area (such as open solvent containers or
fumes from spraying).
Failure to follow this warning could cause fire,
explosion, and electric shock and result in serious
injury and property damage.
FIG. 10. Check Gun Grounding
TI1584A
B
AA
TA
N

Installation
14 313227C
Check Fluid Resistivity
Graco Part No. 722886 Resistance Meter and 722860
Probe are available as accessories to check that the
resistivity of the fluid being sprayed meets the require-
ments of an electrostatic air spray system.
Follow the instructions included with the meter and
probe. If the material is above 1 megohm-cm, then a Pro
Xs Auto HC gun may be a better option. The Pro Xs WB
gun is intended to spray very conductive waterborne
materials and other materials less than 1 megohm-cm.
Check Fluid Viscosity
To check fluid viscosity you will need:
•a viscosity cup
•a stopwatch.
1. Completely submerge the viscosity cup in the fluid.
Lift the cup out quickly, starting the stopwatch as
soon as the cup is completely removed.
2. Watch the stream of fluid coming from the bottom of
the cup. As soon as there is a break in the stream,
shut off the stopwatch.
3. Record the fluid type, elapsed time, and size of the
viscosity cup.
4. If the viscosity is too high or too low, contact the
material supplier. Adjust as necessary.
Install the Fabric Cover
1. Install a fabric cover (XX) over the front of the gun
and slide it back to cover the exposed tubing and
hoses at the back of the manifold. See FIG. 11.
2. Route the exhaust tube (YY) outside the cover. This
enables you to monitor the exhaust tube for the
presence of any paint or solvent. See Check for
Fluid Leakage on page 21. Strap down the exhaust
tube to prevent it from moving around.
Fire, Explosion, and Electric Shock Hazard
Check the fluid resistivity in a non-hazardous area
only. Resistance Meter 722886 and Probe 722860 are
not approved for use in a hazardous area.
Failure to follow this warning could cause fire,
explosion, or electric shock and result in serious injury
and property damage.
FIG. 11. Fabric Cover
TI1579A
YY
YY
XX
TI13429a

Operation
313227C 15
Operation
Pressure Relief Procedure
1. Turn off all the air to the spray gun except the cylin-
der air, which triggers the gun. If an air pilot fluid
regulator is used in the system, the air pressure is
needed at the regulator air inlet.
2. Turn off the fluid supply to the gun.
3. Trigger the gun into a grounded metal waste con-
tainer to relieve the fluid pressure.
4. If an air pilot fluid regulator is used, turn off the air
pressure at the regulator air inlet.
5. Relieve fluid pressure in the fluid supply equipment
as instructed in its instruction manual.
6. Turn off the main air supply by closing the
bleed-type master air valve on the main air supply
line. Leave the valve closed until you are ready to
spray again.
Operating Checklist
Check the following list daily, before starting to operate
the system, to help ensure you of safe, efficient opera-
tion.
The system pressure must be manually relieved to
prevent the system from starting or spraying
accidentally. To reduce the risk of an injury from
electric shock, accidental spray from the gun,
splashing fluid, or moving parts, follow the Pressure
Relief Procedure whenever you:
•are instructed to relieve the pressure
•stop spraying
•check or service any of the system equipment
•or install or clean the fluid nozzle.
All operators are properly trained to safely
operate an automatic electrostatic air spray
system as instructed in this manual.
All operators are trained in the Pressure
Relief Procedure on page 15.
The warning sign provided with the gun is
mounted in the spray area where it can be
easily seen and read by all operators.
The system is thoroughly grounded and the
operator and all persons entering the spray
area are properly grounded. See Grounding
on page 12.
The condition of the gun’s electrical compo-
nents has been checked as instructed in Elec-
trical Tests on page 22.
Ventilation fans are operating properly.
Workpiece hangers are clean and grounded.
All debris, including flammable fluids and rags,
is removed from the spray area.
All flammable fluids in the spray booth are in
approved, grounded containers.
All conductive objects in the spray area are
electrically grounded and the floor of the spray
area is electrically conductive and grounded.
The manifold exhaust tubes have been
checked for the presence of any fluid as
instructed in Check for Fluid Leakage on
page 21.

Operation
16 313227C
Select a Fluid Nozzle and Air
Cap
The gun is supplied with Part No. 197266 Nozzle and
24A276 Air Cap. If you require a different size, refer to
Table 2 and instruction manual 309419, or consult with
your Graco distributor. See Replace Air Cap/Nozzle on
page 30.
NOTE: Due to the larger needle diameter, use a nozzle
one size larger than you would use with a standard PRO
Xs gun (i.e., 1.5 mm = 1.2 mm flow area).
* Glass-reinforced acetal construction.
Adjust the Spray Pattern
Follow the steps below to establish the correct fluid flow
and air flow. Do not turn on the turbine air (TA) yet.
1. Relieve pressure, page 15.
2. Loosen the air cap retaining ring, and rotate the air
cap for a vertical or horizontal spray pattern. See
FIG. 12. Tighten the retaining ring until the air cap is
held firmly in place; you should not be able to rotate
the air cap horns by hand.
3. Adjust the fluid flow with the fluid pressure regulator.
Refer to instruction manual 309419 to set the fluid
pressure for various fluid flows, according to the size
of the fluid nozzle being used.
4. Use the air pressure regulator on the atomization air
supply line (A1) to adjust the degree of atomization.
See FIG. 13. For example, for a fluid flow rate of 10
ounces per minute (0.3 liters per minute), a typical
atomization pressure would be 20-30 psi (1.4-2.1
bar, 0.14-0.21 MPa) at the gun manifold.
To reduce the risk of an injury, follow the Pressure
Relief Procedure procedure on page 15 before
removing or installing a fluid nozzle and/or air cap.
Table 2: Fluid Nozzles
Part No. Orifice Size
197265 1.2 mm (.047 in.)
197266 1.5 mm (.055 in.)
197267 1.8 mm (.070 in.)
249922* 1.2 mm (.047 in.)
249923* 1.5 mm (.055 in.)
249924* 1.8 mm (.070 in.)
FIG. 12. Air Cap Positions
Vertical Pattern
Horizontal Pattern

Operation
313227C 17
5. Use the air pressure regulator on the fan air supply
line (A2) to adjust the pattern size.
•For the most efficiency, always use the lowest air
pressure possible.
•When increasing to a wide, flat pattern, it may be
necessary to increase the supply of fluid to the gun
to maintain the same amount of coverage over a
large area.
•See Spray Pattern Troubleshooting on page 25 to
correct spray pattern problems.
Adjust the Electrostatics
1. Shut off the fluid supply.
2. Trigger the gun, then turn on the turbine air (TA).
See FIG. 13.
3. Refer to Table 3 to set the proper pressure at the
turbine air hose inlet when air is flowing.
4. Check the voltage output of the gun using a high
voltage probe and meter or by reading the ES (kV)
Display Module.
The gun’s normal spraying voltage reading is 30-40
kV. If a ball end high voltage measurement probe is
used, the gun voltage will rise to about 60 kV. This
will happen with all resistive electrostatic guns.
See Electrical Troubleshooting on page 27 to cor-
rect voltage problems.
FIG. 13. Manifold Air Connections
TI1577A
A1 A2
CYL
KV2
TA
KV1
NOTICE
Do not exceed these pressures as there is no
added benefit and turbine life could be reduced.
Table 3: Dynamic Turbine Air Pressures
Turbine Air
Hose Length
ft (m)
Air pressure at turbine air hose
inlet for full voltage
psi (bar, MPa)
15 (4.6) 54 (3.8, 0.38)
25 (7.6) 55 (3.85, 0.38)
36 (11) 56 (3.9, 0.39)
50 (15.3) 57 (4.0, 0.40)
75 (22.9) 59 (4.1, 0.41)
100 (30.5) 61 (4.3, 0.43)

Operation
18 313227C
Spraying
1. Apply a minimum of 50 psi (3.5 bar, 0.35 MPa) air
pressure to the cylinder air fitting (CYL) to activate
the on/off sequence of atomization air (A1), fan air
(A2), and fluid (P1). See FIG. 13.
2. Turn the gun functions on and off by using the air
solenoid valves on the cylinder (CYL) and turbine
(TA) air supply lines.
3. To change to a lower voltage setting, activate the
solenoids controlling the KV1 and KV2 ports. See
Changing the kV Setting on page 5.
Triggering the Fluid Alone
1. Shut off and relieve the air pressure to the atomiza-
tion (A1) and fan (A2) air lines, using the bleed-type
air shutoff valves.
2. Apply 50 psi (3.5 bar, 0.35 MPa) air pressure to the
cylinder air fitting (CYL) to trigger the fluid.
Shutdown
1. Relieve pressure, page 15.
2. Flush and clean the equipment. See Maintenance
on page 19.
To reduce the risk of electric shock, do not touch the
gun electrode or come within 4 in. (10 cm) of the
nozzle during gun operation.
If any fluid leakage from the gun is detected, stop
spraying immediately. Fluid leakage into the gun
shroud could cause fire or explosion and result in
serious injury and property damage. See Check for
Fluid Leakage on page 21.

Maintenance
313227C 19
Maintenance
Clean the Gun Daily
1. Flush the gun.
2. Relieve pressure, page 15.
3. Clean the outside of the gun as follows:
•Clean all parts with a non-conductive, compatible
solvent. Conductive solvents can cause the gun to
malfunction.
•Do not use methylene chloride as a flushing or
cleaning solvent with this gun as it will damage
nylon components.
•Fluid in the air passages could cause the gun to
malfunction and could draw current and reduce the
electrostatic effect. Fluid in the power supply cavity
can reduce the alternator life. Whenever possible,
point the gun down when cleaning it. Do not use any
cleaning method which could allow fluid into the gun
air passages.
•Do not point the gun up while cleaning it.
•Do not immerse the gun in fluid.
•Do not wipe the gun with a cloth that is heavily satu-
rated; wring out the excess fluid.
4. Clean charging probe with soft brush and compati-
ble solvent.
Turn off the turbine air before flushing the gun or any
part of the system.
TI1574A
TI13430a
02027A
ti13448a

Maintenance
20 313227C
5. Clean the air cap and fluid nozzle daily, minimum.
Some applications require more frequent cleaning.
Replace the fluid nozzle and air cap if they are dam-
aged. See Clean the Air Cap and Fluid Nozzle,
page 20.
6. Check the electrode and replace if broken or dam-
aged. See Prepare gun for repair, page 28. on
page 31.
7. Check for fluid leakage from the gun and fluid
hoses. See Check for Fluid Leakage on page 21.
Tighten fittings or replace equipment as needed.
8. Clean fluid and air filters.
9. Flush the gun before changing colors and whenever
you are done operating the gun.
Clean the Air Cap and Fluid
Nozzle
Equipment Needed
•soft bristle brush
•compatible solvent
Procedure
1. Relieve the pressure, page 15.
2. Remove the charging probe (2), see page 9.
3. Remove the air cap assembly (1, 3) and shroud
(48). See FIG. 14.
4. Wipe the fluid nozzle (4), shroud (48), and exterior
of the gun clean with a cloth dampened in solvent.
Avoid getting any solvent into the air passages.
Whenever possible, point the gun down when clean-
ing it.
5. If it appears that there is paint inside the fluid nozzle
(4) air passages, remove the gun from the line for
servicing.
6. Clean the air cap (3) with the soft bristle brush and
solvent or submerge the air cap in suitable solvent
and wipe it clean.
7. Slide the shroud (48) onto the gun.
8. Carefully install the air cap (3). Be sure to insert the
electrode (7) through the center hole of the air cap.
Rotate the air cap to the desired position.
9. Make sure the u-cup (1a) is in place on the retaining
ring (1). The lips must face forward. Tighten the
retaining ring until the air cap is held firmly in place;
you should not be able to rotate the air cap horns by
hand.
10. Install the charging probe (2), see page 9.
11. Test gun resistance, page 22.
To reduce the risk of an injury, follow the Pressure
Relief Procedure on page 15 when you stop
spraying and whenever you are instructed to relieve
the pressure.
NOTICE
Do not use metal tools to clean the
air cap or fluid nozzle holes as this
could scratch them. Make sure the
electrode is not damaged.
Scratches in the air cap or nozzle or a
damaged electrode can distort the
spray pattern.

Maintenance
313227C 21
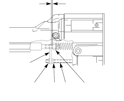
Check for Fluid Leakage
During operation, periodically check the manifold
exhaust tube (YY) and both ends of the gun shroud (ZZ)
for the presence of fluid. See FIG. 15. Fluid in these
areas indicates leakage into the shroud, which could be
caused by leaks at the fluid tube connections or fluid
packing leakage.
If fluid is seen in these areas, stop spraying immedi-
ately. Relieve the pressure, then remove the gun for
repair.
FIG. 14. Clean Air Cap and Fluid Nozzle
If any fluid leakage from the gun is detected, stop
spraying immediately. Fluid leakage into the gun
shroud could cause fire or explosion and result in
serious injury and property damage.
48
4
1
3
1a TI13431a
7
To reduce the risk of an injury, follow the Pressure
Relief Procedure on page 15 when you stop
spraying and whenever you are instructed to relieve
the pressure.
FIG. 15. Check for Fluid Leakage
TI1579A
YY
YY
ZZ TI13429a
ZZ

Electrical Tests
22 313227C
Electrical Tests
Electrical components inside the gun affect performance
and safety. The following procedures test the condition
of the power supply (12), barrel (9) and external charg-
ing probe (2), and electrical continuity between compo-
nents.
Use megohmmeter Part No. 241079 (AA) and an
applied voltage of 500 V. Connect the leads as shown.
Test Total Gun Resistance
1. Flush and dry the fluid passage.
2. Measure resistance between the electrode needle
tip (2) and the gun body (15) or the turbine air inlet
fitting (TA); it should be 90-130 megohms. If outside
this range, remove the gun for service (page 28)
and go to the next test. If in range, refer to Electrical
Troubleshooting on page 27 for other possible
causes of poor performance.
Fire, Explosion, and Electric Shock Hazard
Megohmmeter Part No. 241079 (AA-see FIG. 16
through FIG. 20) is not approved for use in a
hazardous area. To reduce the risk of sparking, do not
use the megohmmeter to check electrical grounding
unless:
•The gun has been removed from the hazardous
area;
•or all spraying devices in the hazardous area are
turned off, ventilation fans in the hazardous area
are operating, and there are no flammable vapors
in the area (such as open solvent containers or
fumes from spraying).
Failure to follow this warning could cause fire,
explosion, and electric shock and result in serious
injury and property damage.
FIG. 16. Test Gun Resistance
TI13432a
TI1577A
AA
2
TA
TA

Electrical Tests
313227C 23
Test Gun Resistance
Measure resistance between the turbine air inlet fitting
(TA) and the charging probe socket (CC) (see FIG. 17); it
should be 70-95 megohms. If outside this range, check
the power supply and barrel resistance. If in range, test
the charging probe resistance.
Test Charging Probe Resistance
Measure resistance between the metal spring in the
charging probe (DD) and the charging probe tip (BB)
(see FIG. 17); it should be 15-30 megohms. If outside
this range, replace the charging probe. If in range,
inspect the spring and barrel socket for possible causes
of poor continuity. Reassemble the charging probe and
retest the gun resistance.
FIG. 17. Test Gun Resistance
ti13449a
AA
TA
CC
FIG. 18. Test Charging Probe Resistance ti13732
AA
BB DD

Electrical Tests
24 313227C
Test Power Supply Resistance
1. Remove the power supply (18), page 38.
2. Remove the turbine alternator (19) from the power
supply, page 39.
3. Measure resistance from the power supply's ground
strips (EE) to the conductive contact in the center of
the power supply seal (FF). See FIG. 19
4. The resistance should be 55-70 megohms. If out-
side this range, replace the power supply. If in
range, proceed to the next test.
Test Barrel Resistance
1. Insert a conductive rod (GG) into the gun barrel
(removed for the power supply test) and against the
metal contact (HH) in the front of the barrel.
2. Measure the resistance between the conductive rod
(GG) and the charging probe socket (CC). See FIG.
20 The resistance should be 15-30 megohms.
3. If the resistance is outside the range, replace barrel.
4. If resistance is in range, reassemble the gun and
test the gun resistance.
5. If you still have problems, refer to Gun Repair on
page 28 for other possible causes of poor perfor-
mance, or contact your Graco distributor.
FIG. 19. Test Power Supply Resistance
ti1599a
EE
FF
AA
FIG. 20. Test Barrel Resistance
CC
HH
AA
GG
ti12821

Troubleshooting
313227C 25
Troubleshooting
NOTE: Check all possible remedies in the Troubleshoot-
ing Chart before disassembling the gun.
Spray Pattern Troubleshooting
NOTE: Some spray pattern problems are caused by the improper balance between air and fluid.
To reduce the risk of an injury, follow the Pressure
Relief Procedure on page 15 when you stop
spraying and whenever you are instructed to relieve
the pressure.
Problem Cause Solution
Fluttering or spitting spray. No fluid. Refill supply.
Loose, dirty, damaged nozzle/seat. Clean or replace nozzle, page 30.
Air in fluid supply. Check fluid source. Refill.
Improper spray pattern. Damaged nozzle or air cap. Replace, page 30.
Fluid buildup on air cap or nozzle. Clean. See page 20.
Fan air pressure too high. Decrease.
Fluid too thin. Increase viscosity.
Fluid pressure too low. Increase.
Fan air pressure too low. Increase.
Fluid too thick. Reduce viscosity.
Too much fluid. Decrease flow.
Streaks. Did not apply 50% overlap. Overlap strokes 50%.
Dirty or damaged air cap. Clean or replace, page 30.

Troubleshooting
26 313227C
Gun Operation Troubleshooting
Problem Cause Solution
Excessive spray fog. Atomizing air pressure too high. Decrease air pressure as low as
possible.
Fluid too thin. Increase viscosity.
“Orange Peel” finish. Atomizing air pressure too low. Increase air pressure; use lowest air
pressure necessary.
Poorly mixed or filtered fluid. Remix or refilter fluid.
Fluid too thick. Reduce viscosity.
Fluid leaks from the fluid packing
area
Worn packings or rod. Replace packings or rod; see pages
32 or 33.
Air leaks from the air cap Worn piston stem o-rings (16e, 16f). Replace; see page 34.
Fluid leakage from the front of the
gun
Worn or damaged packing rod (8). Replace; see page 32
Worn fluid seat. Replace fluid nozzle (4) and/or elec-
trode needle (7); see pages 30 to
31.
Loose fluid nozzle (4). Tighten; see page 30.
Damaged nozzle o-ring (4b). Replace; see page 30.
Gun does not spray Low fluid supply. Add fluid if necessary.
Damaged air cap (3). Replace; see page 30.
Dirty or clogged fluid nozzle (4). Clean; see page 30.
Damaged fluid nozzle (4). Replace; see page 30.
Piston (16) not actuating. Check cylinder air. Check piston
u-cup (16d); see page 34.
Actuator arm (29) is out of position. Check actuator arm and nuts. See
page 35.
Dirty air cap Misaligned air cap (3) and fluid noz-
zle (4).
Clean fluid buildup off air cap and
fluid nozzle seat; see page 20.
Damaged nozzle orifice. Replace nozzle (4); see page 30.
Fluid is coming on before the air. Check actuator arm and nuts. See
page 35.
Air leaks from manifold Manifold is not tight. Tighten manifold screws (106).
Fluid leaks at the quick-disconnect. Manifold is not tight. Tighten manifold screws (106).
Fluid hose o-rings are worn or miss-
ing.
Inspect or replace o-rings.

Troubleshooting
313227C 27
Electrical Troubleshooting
Installing and servicing this equipment requires
access to parts which may cause an electric shock or
other serious injury if the work is not performed
properly. Do not install or repair this equipment
unless you are trained and qualified.
Problem Cause Solution
Poor wrap. Turbine air is not turned on. Turn on.
(In general, a Pro Xs Waterborne
gun will have less wrap than a Pro
Xs
solventborne gun.)
Booth exhaust velocity is too high. Reduce velocity to within code lim-
its.
Atomizing air pressure too high. Decrease.
Fluid pressure too high. Decrease.
Incorrect distance from gun to part. Should be 8-12 in. (200-300 mm).
Poorly grounded parts. Resistance must be 1 megohm or
less. Clean workpiece hangers.
Faulty gun resistance. See Test Total Gun Resistance on
page 22.
Low fluid resistivity. Check fluid resistivity, page 14.
Fluid leaks from the packing (8d)
and causes a short.
Clean the packing rod cavity.
Replace the packing rod. See page
33.
Faulty turbine alternator. Be sure the plug is in place on the
back of the turbine alternator hous-
ing. Remove and test the turbine
alternator. See page 39.
The KV switch is stuck on low. Check the switch actuation; replace
if needed.
No power. Replace power supply. See page 38.
No voltage or low voltage reading on
the gun ES display module
Damaged fiber optic cable or con-
nection.
Check; replace damaged parts.
Turbine air is not turned on. Turn on.
Poor wrap. See causes and solutions under
Poor Wrap, above.
Operator gets mild shock. Operator not grounded or is near
ungrounded object.
See Grounding on page 12.
Gun not grounded. See Check Electrical Grounding
on page 13 and Test Total Gun
Resistance on page 22.
Operator gets shock from work-
piece.
Workpiece not grounded. Resistance must be 1 megohm or
less. Clean workpiece hangers.

Gun Repair
28 313227C
Gun Repair
Prepare the Gun for Repair •Check all possible remedies in Gun Operation
Troubleshooting before disassembling the gun.
•Use a vise with padded jaws to prevent damage to
plastic parts.
•Lubricate the power supply seal (12a), some pack-
ing rod parts (8), and certain fluid fittings with dielec-
tric grease (49), as specified in the text.
•Lightly lubricate o-rings and seals with non-silicone
grease. Order Part No. 111265 Lubricant. Do not
over-lubricate.
•Only use genuine Graco parts. Do not mix or use
parts from other PRO Gun models.
•Fluid Seal Repair Kit 244911 is available. The kit
must be purchased separately. Kit parts are marked
with a symbol, for example (8a†).
1. Flush and clean the gun, page 19.
2. Relieve the pressure, page 15.
3. Disconnect the gun air and fluid lines.
4. Remove the gun from the worksite. Repair area
must be clean.
Installing and repairing this equipment requires
access to parts that may cause electric shock or
other serious injury if the work is not performed
properly. Do not install or service this equipment
unless you are trained and qualified.
To reduce the risk of injury, follow the Pressure
Relief Procedure procedure on page 15 before
checking or servicing any part of the system and
whenever you are instructed to relieve the pressure.

Gun Repair
313227C 29
Remove the Gun from the
Manifold
1. Loosen but do not remove the bottom gun screw
(31) until the gun sits loosely in the mounting
bracket slot (A). See FIG. 21.
2. Holding the gun firmly in hand, loosen the three
screws (106) from the back of the manifold.
3. Remove the gun from the manifold and take it to the
service area.
Install the Gun on the Manifold
1. Make sure the gasket (112) and spring (105) are in
place on the manifold. See FIG. 21. Inspect the parts
for damage and replace them as needed.
2. Secure the gun to the manifold by tightening the
three screws (106).
3. Secure the gun to the mounting bracket (102) by
tightening the bottom screw (31).
NOTICE
The piston return spring (105) is compressed
between the manifold and the gun body when they
are assembled. To avoid sudden movement of the
gun body, loosen the bottom gun screw (31) before
loosening the three manifold screws (106). This
allows the gun to move forward gradually as the
manifold screws are loosened. Hold the gun firmly in
hand while loosening the manifold screws.
FIG. 21. Remove Gun from Manifold
TI13433a
106
105
112
102A31

Gun Repair
30 313227C
Replace Air Cap/Nozzle
1. Prepare gun for repair, page 28.
2. Remove the charging probe (2), see page 9.
3. Remove the retaining ring (1), air cap (3), and gun
shroud (48).
4. See FIG. 22. Point gun up while removing the fluid
nozzle (4) assembly with the multi-tool (37).
NOTE: Use non-silicone grease, Part No. 111265, on
the small o-ring (4b). Do not over-lubricate. Do not lubri-
cate the contact ring (4a).
5. Lightly lubricate the o-ring (4b). Install it and the
contact ring (4a) on the nozzle (4).
6. Make sure the electrode needle (7) is finger-tight
(page 31).
7. Trigger gun while installing the fluid nozzle (4) with
the multi-tool (37). Tighten until the fluid nozzle
seats in the gun barrel (1/8 to 1/4 turn past
hand-tight).
8. Install the gun shroud (48), air cap (3), and retaining
ring (1). Make sure the u-cup (1a*) is in place with
the lips facing forward.
9. Install the charging probe (2), see page 9.
10. Test gun resistance, page 22.
NOTICE
Hold the front end of the gun up and trigger the
gun while removing the nozzle to help drain the
gun and prevent any paint or solvent left in the gun
from entering the air passages.
FIG. 22. Replace Air Cap/Nozzle
1, 3
3
4
1a
4b
4a
37
TI13434a
1
4
Fire, Explosion, and Electric Shock Hazard
The nozzle contact ring (4a) is a conductive contact
ring, not a sealing o-ring. To reduce the risk of
sparking or electric shock, do not remove the nozzle
contact ring (4a) except to replace it and never operate
the gun without the contact ring in place. Do not
replace the contact ring with anything but a genuine
Graco part.

Gun Repair
313227C 31
Replace Electrode Needle
1. Prepare gun for repair, page 28.
2. Remove the charging probe (2), see page 9.
3. Remove the air cap and nozzle, page 30. Remove
the gun shroud (48).
4. Unscrew the electrode needle (7) with the multi-tool
(37). Hold the packing rod end (8h) to prevent it from
turning, FIG. 23.
5. Apply low-strength (purple) Loctite® or equivalent
thread sealant to the electrode needle and packing
rod threads. Install the electrode needle finger-tight.
Do not overtighten.
6. Install the fluid nozzle (4), page 30.
7. Install the gun shroud (48) and air cap (3), page 30.
8. Install the charging probe (2), see page 9.
9. Test gun resistance, page 22.
10. Install the gun onto the manifold and bracket. See
page 29.
NOTICE
To avoid damaging the plastic threads, be very
careful when installing the electrode needle.
FIG. 23. Replace Electrode Needle
TI1567A
37
8h
TI13435a
7

Gun Repair
32 313227C
Remove Fluid Packing Rod
NOTE: You may replace the packing rod as an assem-
bly, as described below, or as individual parts (see page
33). The assembly is pre-adjusted at the factory.
1. Prepare gun for repair, page 28.
2. Remove the charging probe (2), see page 9.
3. Remove the air cap (3), fluid nozzle (4), and gun
shroud (48), page 30.
4. Remove the jam nut (28) and actuator arm (29). See
page 34.
NOTE: The fluid nozzle (4) must be in place when
removing or installing the jam nut and actuator arm.
5. Remove the fluid nozzle (4) and electrode needle
(7). See pages 30 and 31.
6. Remove the packing rod (8), using the multi-tool
(37).
7. Check all parts for wear or damage and replace if
necessary.
8. Before installing the packing rod, clean the internal
surface of the barrel (9) with a soft cloth or brush.
Check for marks from high voltage arcing. If marks
are present, replace the barrel, page 36.
9. Install the gun shroud (48) and air cap (3), page 30.
10. Install the charging probe (2), see page 9.
11. Test gun resistance, page 22.
12. Install the gun onto the manifold and bracket. See
page 29.
NOTICE
Clean all parts in non-conductive solvent compati-
ble with the fluid being used, such as xylol or min-
eral spirits. Use of conductive solvents can cause
the gun to malfunction.
FIG. 24. Remove Fluid Packing Rod
37
8
9
TI13436a

Gun Repair
313227C 33
Repair Packing Rod
You may replace the packing rod as individual parts or
as an assembly. The assembly is pre-adjusted at the
factory.
NOTE: Before installing the fluid packing rod into the
gun barrel, make sure the internal surfaces of the barrel
are clean. Remove any residue with a soft brush or
cloth. Check the inside of the barrel for marks from high
voltage arcing. If marks are present, replace the barrel.
To assemble the individual parts:
1. Place the packing nut (8e) and seal (8b†) on the
fluid rod (8h). Flats on the packing nut must face the
back of the fluid rod. The seal o-ring must face away
from the packing nut. See FIG. 25
2. Fill the inner cavity of the spacer (8g†) with dielec-
tric grease (49). Place the spacer on the fluid rod
(8h) in the direction shown. Generously apply
dielectric grease to the outside of the spacer.
3. Place the u-cup packing (8c†), packing spreader
(8d†), and housing (8f) on the packing rod (8h).
4. Lightly tighten the packing nut (8e). The packing nut
is properly tightened when there is 3 lb (13.3 N) of
drag force when sliding the packing housing (8f)
assembly along the rod. Tighten or loosen the pack-
ing nut as needed.
5. Install the o-ring (8a†) on the outside of housing
(8f). Lubricate the o-ring with non-silicone grease,
Part No. 111265. Do not over-lubricate.
6. Install the spring (25) against the nut (E) as shown.
7. Install the packing rod assembly (8) into the gun
barrel. Using the multi-tool (37), tighten the assem-
bly until just snug.
8. Install the electrode needle (7), page 31.
9. Install the nozzle (4), gun shroud (48), and air cap
(3), page 30.
10. Install the charging probe (2), see page 9.
11. Test gun resistance, page 22.
FIG. 25. Packing Rod
8a†
8b†
8d†
8c
†
8e
8f
8g†
8h
E
25
TI12719a

Gun Repair
34 313227C
Piston Repair
1. Prepare gun for repair, page 28.
2. Remove the charging probe (2), see page 9.
3. Remove the air cap, page 30. Remove the gun
shroud (48).
4. Remove the jam nut (28), actuator arm (29), and
adjustment nut (30). See FIG. 26. The fluid nozzle
(4) must be in place when removing or installing the
jam nut and actuator arm.
5. Push on the piston rod (16b) to push the piston out
the back of the gun.
6. Inspect the o-rings (16e, 16f, 16g) and u-cup pack-
ing (16d) for damage. See Table 4 and FIG. 27.
7. Lubricate the o-rings (16e, 16f, 16g) and u-cup
packing (16d) with non-silicone grease, Part No.
111265. Do not over-lubricate.
8. Align the two stems (16c) with the holes in the gun
body and press the piston assembly into the back of
the gun until it bottoms.
9. Install and adjust the actuator arm, page 35.
FIG. 26. Actuator Arm
TI13437a
28 29 30 16b
Table 4: Piston O-Rings
Description Function
Shaft O-Ring
(16g)
Seals cylinder air along the piston rod
(16b). Replace if air leaks along rod.
Front O-Ring
(16e)
Air shutoff seal. Replace if air leaks from
air cap when gun is de-triggered.
Back O-Ring
(16f)
Separates cylinder air from fan and
atomizing air.
U-Cup (16d) Replace if air leaks from small vent hole
at back of manifold when gun is trig-
gered.
FIG. 27. Piston O-Rings
TI1575A
TI1576A
16a
16d
16c
16f
16e
16g
16b
16e
16g
16f
16d
Atomizing Air Side
Fan Air Side

Gun Repair
313227C 35
Adjust the Actuator Arm
The fluid nozzle (4) must be in place when removing or
installing the jam nut and actuator arm.
1. Install the adjustment nut (30), actuator arm (29),
and jam nut (28) onto the piston rod (16b). Note that
the jam nut (28) has a slightly larger hex and a thin-
ner profile than the adjustment nut (30). See FIG. 26
on page 34.
2. Position the parts so there is a 0.125 in. (3 mm) gap
between the actuator arm (29) and the fluid packing
rod nut (E), which allows the atomizing air to actuate
before the fluid. See FIG. 28.
3. Tighten the adjustment nut (30) against the actuator
arm (29). Check that the 0.125 in. (3 mm) gap has
been maintained. In addition, there should be 3-4
mm of electrode needle travel when the gun is trig-
gered. Adjust the jam nut position to obtain these
dimensions.
4. Install the gun shroud (48) and air cap (3), page 30.
5. Install the charging probe (2), see page 9.
6. Test gun resistance, page 22.
7. Install the gun onto the manifold and bracket. See
page 29.
FIG. 28. Actuator Arm Adjustment
TI1567A
28
29
30 16b E
0.125 in. (3 mm) gap

Gun Repair
36 313227C
Remove Barrel
1. Prepare gun for repair, page 28.
2. Remove the charging probe (2), see page 9.
3. Remove the air cap, page 30. Remove the gun
shroud (48).
4. Carefully loosen the fluid fitting nut (20). Pull the
tube (19) out of the fitting (23). Make sure both fer-
rules (21, 22) and the nut stay with the tube.
5. Remove the jam nut (28) and actuator arm (29). See
page 34.
6. Loosen the three screws (10, 32). See FIG. 29.
7. Hold the gun body (15) with one hand and pull the
barrel (9) straight off the body. See FIG. 29.
NOTICE
To avoid damaging the power supply (12), pull the
gun barrel (9) straight away from the gun body
(15). If necessary, gently move the gun barrel from
side to side to free it from the gun body.
FIG. 29. Barrel Removal
10
15
9
32
TI13438a
FIG. 30. Disconnect Fluid Tube
TI13437a
28 29 30 19
15
9
20 23

Gun Repair
313227C 37
Install Barrel
1. Be sure the gasket (11) and grounding spring (14)
are in place. Make sure the air holes are aligned
properly. Replace if damaged. See FIG. 31.
2. Place the barrel (9) over the power supply (12) and
onto the gun body (15).
3. Tighten the three screws (10, 32) oppositely and
evenly (about a half turn past snug).
4. Assemble the fluid tube (19) into the fluid fitting (23).
Ensure that the ferrules (21, 22) are in place.
Tighten the nut (20).
5. Install and adjust the actuator arm (29) and jam nut
(28). See page 35.
6. Install the gun shroud (48) and air cap (3), page 30.
7. Install the charging probe (2), see page 9.
8. Test gun resistance, page 22.
9. Install the gun onto the manifold and bracket. See
page 29.
NOTICE
Do not over-tighten the screws (10, 32).
FIG. 31. Install Barrel
9
11
10
12
15
14
28
29
19 20
23
32
TI13439a
19 (Ref)

Gun Repair
38 313227C
Power Supply Removal and
Replacement
•Inspect the gun body power supply cavity for dirt or
moisture. Clean with a clean, dry rag.
•Do not expose gasket (11) to solvents.
1. Prepare gun for repair, page 28.
2. Remove the barrel (9), page 36.
3. Grasp the power supply (12) with your hand. With a
gentle side to side motion, free the power sup-
ply/alternator assembly from the gun body (15),
then carefully pull it straight out. Disconnect the flex-
ible circuit (36) from the socket at the top of the body
(15). See FIG. 32.
4. Disconnect the 3-wire connector (GG) from the
power supply. Slide the alternator up and off the
power supply. Inspect the power supply and alterna-
tor for damage. Disconnect the 6-pin flexible circuit
(36) from the power supply.
5. Check the power supply resistance, page 24.
Replace if necessary. Before installing the power
supply, make sure the o-rings (12a, 13a), spring
(12b), and pads (13e) are in place.
6. Connect the 6-pin flexible circuit (36) to the power
supply.
7. Connect the 3-wire connector (GG). Slide the alter-
nator (13) down onto the power supply (12).
8. Lubricate the alternator o-ring (13a) with non-sili-
cone grease, Part No. 111265. Do not over-lubri-
cate.
9. Lubricate the power supply o-ring (12a) with dielec-
tric grease.
10. Insert the power supply/alternator assembly in the
gun body (15). Make sure the ground strips make
contact with the body. Connect the flexible circuit
(36) to the socket at the top of the body. Push the
6-pin connector into the socket to ensure it is prop-
erly connected.
11. Install the barrel (9), page 37.
12. Test gun resistance, page 22.
NOTICE
Be careful when handling the power supply (12) to
avoid damaging it.
FIG. 32. Power Supply
TI13440a
13
12a 12b
11
13a
GG
12
13e
15
36
Gun Repair
313227C 39
Turbine Alternator Removal and
Replacement
Replace turbine alternator bearings after 2000 hours of
operation. Order Part No. 223688 Bearing Kit.
1. Prepare gun for repair, page 28.
2. Remove the power supply/alternator assembly,
page 38.
3. Disconnect the alternator from the power supply,
page 39.
4. Measure resistance between the two outer termi-
nals of the 3-wire connector (GG); it should be
2.5-3.5 ohms. If outside this range, replace the alter-
nator coil.
5. Follow the bearing replacement procedure in the
bearing kit manual 308034.
6. Install the alternator on the power supply, page 39.
7. Install the power supply/alternator assembly, page
38.

Parts
40 313227C
Parts
Part No. 24A206 PRO Auto Xs Electrostatic Gun, Series A, for standard coatings
7
18
12
19
16a
9
4a
4b
14
15
16d†
1
3
4
20
21
16c
†16f
†16e
16g†
16b
30
27
26
29
28
24
23
25
20 21
†1a
37
38
32
22
22
TI13396a
12a
2
10
†11
31
36
See Ref. No. 8: Packing Rod Detail
on page 42
See Ref. No. 13:
Alternator Detail
on page 42
Supplied Tools
See Ref. No. 17:
Manifold Detail
on page 43
48
50
Parts
313227C 41
Part No. 24A206 PRO Auto Xs Electrostatic Gun, Series A, for standard coatings
*Recommended spare parts. Keep on hand to reduce
downtime.
†Included in repair kit 15D592. (The kit includes one 103337
o-ring not used with this gun.)
▲Replacement Warning labels, signs, tags, and cards are
available at no cost.
Ref.
No. Part No. Description Qty
1 24B548 RING, retaining, air cap; includes
1a
1
1a*† 198307 . U-CUP 1
2 24A328 PROBE, external (one spare is
provided)
2
3 24A276 AIR CAP 1
4 197266 NOZZLE; 1.5 mm orifice; includes
4a and 4b
1
4a 111261 . O-RING, conductive 1
4b 111507 . O-RING; fluoroelastomer 1
5 198486 CONNECTOR, tube, fiber optic;
pictured on page 43 (unassem-
bled)
1
7 24A338 NEEDLE, electrode 1
8 24A331 NEEDLE ASSEMBLY; includes
8a-8h
1
8a* 111316 . O-RING; fluoroelastomer 1
8b* 116905 . SEAL 1
8c* 178409 . PACKING, u-cup; uhmwpe 1
8d* 178763 . SPREADER, packing; acetal 1
8e 197641 . NUT, packing 1
8f 185495 . HOUSING, packing 1
8g* 186069 . SPACER, packing; acetal 1
8h 24A330 . ROD, packing 1
9 24A329 BARREL, gun 1
10 197518 SCREW; socket-hd; 10-24 x 3/4 in.
(19 mm)
1
11*† 197517 GASKET, barrel 1
12 24A332 POWER SUPPLY, 85 kV; includes
12a-12b
1
12a* 256267 . SEAL 1
13 244555 TURBINE, alternator; includes
13a-13e
1
13a*† 110073 . O-RING; fluoroelastomer 1
13b 223688 . BEARING KIT; includes front and
rear bearings and fan
1
13c 244577 . COIL 1
13d 111745 . RING, retaining 1
13e 198821 . PAD, pressure 2
14 197624 SPRING, grounding 1
15 245662 BODY, gun 1
16 244702 PISTON; includes 16a-16g 1
16a 197920 . PISTON 1
16b 189754 . ROD, piston 1
16c 189355 . STEM, piston 2
16d*† 189752 . PACKING, u-cup 1
16e*† 111504 . O-RING 2
16f*† 112319 . O-RING 2
16g*† 111508 . O-RING 1
17 244586 MANIFOLD; see separate parts list
on page 43
1
18 24B699 CONNECTOR, elbow; includes
items 20, 21, 22
1
19 198043 TUBE, fluid 1
20 112644 NUT 1
21* 111285 FERRULE, back 1
22* 111286 FERRULE, front 1
23 189549 FITTING, fluid, quick-disconnect 1
24* 111450 O-RING 1
25 185111 SPRING, compression 1
26 189367 CAP, exhaust 1
27 185122 MUFFLER 1
28 101324 NUT, jam, hex 1
29 197919 ARM, actuator 1
30 102025 NUT, hex 1
31 112689 SCREW, button-hd; 1/4-20 x 3/4 in.
(19 mm)
1
32 116575 SCREW, cap, socket-hd; 10-24; 3
in. (76 mm)
2
36 245265 CIRCUIT, flexible 1
37 276741 MULTI-TOOL 1
38 107460 WRENCH, ball end; 4 mm 1
39▲179791 TAG, warning (not shown) 1
40▲180060 SIGN, warning (not shown) 1
41 239945 COVER, gun; box of 10 (not
shown)
1
48 24B531 COVER ASSEMBLY 1
49 116553 GREASE, dielectric, tube (not
shown)
1
50 248130 O-RING; chemically resistant fluo-
rocarbon (pack of 6)
1
Ref.
No. Part No. Description Qty

Parts
42 313227C
†13a
13b
13c
Ref. No. 13: Alternator Detail
13d
13e 8a
8b
8d
8c
8e
8f
8g
8h
Ref. No. 8: Packing Rod Detail
TI13397a
TI12719a

Parts
313227C 43
Ref. No. 17: Manifold Detail
Part No. 244586, Series A
†Included in repair kit 15D592. (The kit includes one
103337 o-ring not used with this gun.)
TI1582A
TI1578A
101
101 (Ref)
102
103
104
105
106 (Ref)
107
106
111
110
118
119 114
†112
117
109
113
116
116a†
120
108
115
5 (see page 41)
Ref.
No. Part No. Description Qty
101 198216 MANIFOLD 1
102 189581 BRACKET, reciprocator 1
103 110465 SCREW, set 2
104 112689 SCREW, button-hd 2
105 112640 SPRING, compression 1
106 197518 SCREW; socket-hd; 10-24 x 3/4 in.
(19 mm)
3
107 111157 FITTING, tube, exhaust 1
108 186845 FITTING, turbine, air 1
109 110078 FITTING, tube, air 2
110 112646 PLUG 1
111 189551 FITTING, quick-disconnect, fluid 1
112† 197925 GASKET, manifold 1
113 108290 SCREW, machine 2
114 189365 CAP, kV, HI/LO 2
115 198764 RESTRICTOR 1
116 244772 PISTON; includes 116a 2
116a† 112085 . O-RING (1 per piston) 2
117 114263 FITTING, tube, air 3
118 111450 O-RING 1
119 116621 SPRING, compression 2
120 112645 PLUG 1
Ref.
No. Part No. Description Qty
Accessories
44 313227C
Accessories
Air Line Accessories
AirFlex™ Flexible Grounded Air Hose
100 psi (7 bar, 0.7 MPa) Maximum Working Pressure
0.315 in. (8 mm) ID; 1/4 npsm(f) x 1/4 npsm(f) left-hand
thread
244963 6 ft (1.8 m)
244964 15 ft (4.6 m)
244965 25 ft (7.6 m)
244966 36 ft (11 m)
244967 50 ft (15 m)
244968 75 ft (23 m)
244969 100 ft (30.5 m)
Standard Grounded Air Hose (Grey)
100 psi (7 bar, 0.7 MPa) Maximum Working Pressure
0.315 in. (8 mm) ID; 1/4 npsm(f) x 1/4 npsm(f) left-hand
thread
223068 6 ft (1.8 m)
223069 15 ft (4.6 m)
223070 25 ft (7.6 m)
223071 36 ft (11 m)
223072 50 ft (15 m)
223073 75 ft (23 m)
223074 100 ft (30.5 m)
Bleed-Type Master Air Valve
300 psi (21 bar, 2.1 MPa) Maximum Working Pressure
Relieves air trapped in the air line between this valve
and the pump air motor when closed.
107141 3/4 npt
Air Line Shutoff Valve
150 psi (10 bar, 1.0 MPa) Maximum Working Pressure
For turning air to gun on or off.
224754 1/4 npsm(m) x 1/4 npsm(f) left-hand thread.
Fluid Line Accessories
Fluid Hose
225 psi (14 bar, 1.4 MPa) Maximum Working Pressure
FM Approved; nylon; 3/8 npsm(fbe)
215637 1/4 in. (6 mm) ID x 25 ft (7.6 m)
215638 1/4 in. (6 mm) ID x 50 ft (15.2 m)
Fluid Shutoff/Drain Valve
500 psi (35 bar, 3.5 MPa) Maximum Working Pressure
For turning fluid on or off to the gun and for relieving
fluid line pressure at the pump.
208630 1/2 npt(m) x 3/8 npt(f); carbon steel and
PTFE; for non-corrosive fluids
Drain Valve
300 psi (21 bar, 2.1 MPa) Maximum Working Pressure
236853 Mounts directly to gun manifold for faster
flushing and color changes. Must be used
with 233676 Fluid Recirculation Kit.
Gun Mounted Fluid Regulator
100 psi (7 bar, 0.7 MPa) Maximum Working Pressure
236854 Air-piloted fluid regulator mounts directly to
gun manifold for precise fluid control.
Accessories
313227C 45
Miscellaneous Accessories
Ground Wire and Clamp
222011 For grounding pump and other components
and equipment in the spray area.
12 gauge, 25 ft (7.6 m).
Megohmmeter
241079 500 Volt output; 0.01-2000 megohms.
Not for use in hazardous areas.
Paint Resistance Meter
722886 Use with 722860 Paint Probe to measure
resistance of paint.
Not for use in hazardous areas.
Paint Probe
722860 Use with 722886 Paint Resistance Meter to
measure resistance of paint.
Not for use in hazardous areas.
Safety Warning Signs
180060 English Warning Sign. FM Approved. Avail-
able at no charge from Graco.
ES Display Module
224117 Receives fiber optic transmission from the
PRO Auto Xs gun and displays the gun’s
output voltage and current. Mounts in a
standard 19 in. DIN rack. See 308265.
Fiber Optic Y Cables
See item T in FIG. 2 on page 8. For use with 224117
Display Module only. Connect gun manifold and display
module, or bulkhead connector and display module. See
308265.
224682 25 ft (7.6 m)
224684 50 ft (15 m)
224686 100 ft (30.5 m)
Fiber Optic Cables
See item V in FIG. 2 on page 8. Connect gun manifold
and remote voltage display, bulkhead connector and
remote display, or bulkhead connector and gun mani-
fold. See 308265.
224672 25 ft (7.6 m)
224674 50 ft (15 m)
224676 100 ft (30.5 m)
Power Supply
235301 Supplies low voltage DC power to 224117
Display Module. See 308265.
Remote Voltage Display
189762 Battery-operated meter displays actual
spraying voltage. remote mount outside
hazardous area. Connects to gun via fiber
optic cable. See 308265.
Remote Voltage Display Kits
Include 189762 Remote Voltage Display and fiber optic
cable.
236917 25 ft (7.6 m)
236919 50 ft (15 m)
236921 100 ft (30.5 m)
Bulkhead Connector
189870 For connecting two fiber optic cables.
Accessories
46 313227C
Gun Accessories
Dielectric Grease
116553 1 oz (28 g) tube of dielectric grease for the
power supply o-ring (12a), some packing
rod parts (8), and certain fluid fittings.
Gun Valve Lubricant
111265 4 oz (113 g) tube of sanitary (non-silicone)
lubricant for fluid seals and wear areas.
Alternator Bearing Kit
223688 To repair the turbine alternator.
Cleaning Brush
105749 For cleaning air cap and fluid nozzle.
Technical Data
313227C 47
Technical Data
Loctite® is a registered trademark of the Loctite Corporation.
Category Data
Maximum Working Fluid Pressure 100 psi (0.7 MPa, 7 bar)
Maximum Working Air Pressure 100 psi (0.7 MPa, 7 bar)
Minimum Air Pressure at Turbine Air Inlet 40 psi (0.28 MPa, 2.8 bar)
Maximum Fluid Operating Temperature 120°F (48°C)
Paint Resistivity Range < 1 megohm/cm
Short Circuit Current Output 125 microamperes
Voltage Output 60 kV
Sound Power (measured per ISO Standard 9216) at 40 psi (0.28 MPa, 2.8 bar): 90.4 dB(A)
at 100 psi (0.7 MPa, 7 bar): 105.4 dB(A)
Sound Pressure (measured 1 m from gun) at 40 psi (0.28 MPa, 2.8 bar): 87 dB(A)
at 100 psi (0.7 MPa, 7 bar): 99 dB(A)
Turbine air inlet fitting, left-hand thread 1/4 npsm(m)
Atomizing air inlet fitting 3/8 in. OD nylon tube
Fan air inlet fitting 3/8 in. OD nylon tube
Cylinder air inlet fitting 5/32 in. OD nylon tube
Hi/Lo voltage selector air inlet fittings 5/32 in. OD nylon tube
Fluid inlet fitting 1/4-18 npsm(m)
Gun Weight 3.41 lb (1.53 kg)
Gun Length 10.4 in. (26.4 cm)
Wetted Parts Stainless Steel; Nylon, Acetal, Ultra-High Molecular
Weight Polyethylene, Fluoroelastomer, PEEK, Tungsten
Wire, Polyethylene
All written and visual data contained in this document reflects the latest product information available at the time of publication.
Graco reserves the right to make changes at any time without notice.
Original Instructions. This manual contains English. MM 313227
Graco Headquarters: Minneapolis
International Offices: Belgium, China, Japan, Korea
GRACO INC. P.O. BOX 1441 MINNEAPOLIS, MN 55440-1441
Copyright 2009, Graco Inc. is registered to ISO 9001
www.graco.com
Revised 06/2010
Graco Warranty
Graco warrants all equipment manufactured by Graco and bearing its name to be free from defects in material and workmanship
on the date of sale to the original purchaser for use. With the exception of any special, extended, or limited warranty published by
Graco, Graco will, for a period of twelve months or two thousand hours of operation from the date of sale, repair or replace any
part of the equipment determined by Graco to be defective. However, any deficiency in the barrel, handle, trigger, hook, internal
power supply, and alternator (excluding turbine bearings) will be repaired or replaced for thirty-six months or six thousand hours of
operation from the date of sale. This warranty applies only when the equipment is installed, operated and maintained in
accordance with Graco's written recommendations.
This warranty does not cover, and Graco shall not be liable for general wear and tear, or any malfunction, damage or wear caused
by faulty installation, misapplication, abrasion, corrosion, inadequate or improper maintenance, negligence, accident, tampering,
or substitution of non-Graco component parts. Nor shall Graco be liable for malfunction, damage or wear caused by the
incompatibility of Graco equipment with structures, accessories, equipment or materials not supplied by Graco, or the improper
design, manufacture, installation, operation or maintenance of structures, accessories, equipment or materials not supplied by
Graco.
This warranty is conditioned upon the prepaid return of the equipment claimed to be defective to an authorized Graco distributor
for verification of the claimed defect. If the claimed defect is verified, Graco will repair or replace free of charge any defective parts.
The equipment will be returned to the original purchaser transportation prepaid. If inspection of the equipment does not disclose
any defect in material or workmanship, repairs will be made at a reasonable charge, which charges may include the costs of parts,
labor, and transportation.
THIS WARRANTY IS EXCLUSIVE, AND IS IN LIEU OF ANY OTHER WARRANTIES, EXPRESS OR IMPLIED, INCLUDING BUT
NOT LIMITED TO WARRANTY OF MERCHANTABILITY OR WARRANTY OF FITNESS FOR A PARTICULAR PURPOSE.
Graco's sole obligation and buyer's sole remedy for any breach of warranty shall be as set forth above. The buyer agrees that no
other remedy (including, but not limited to, incidental or consequential damages for lost profits, lost sales, injury to person or
property, or any other incidental or consequential loss) shall be available. Any action for breach of warranty must be brought within
two (2) years of the date of sale.
Graco makes no warranty, and disclaims all implied warranties of merchantability and fitness for a particular purpose in connection
with accessories, equipment, materials or components sold but not manufactured by Graco. These items sold, but not
manufactured by Graco (such as electric motors, switches, hose, etc.), are subject to the warranty, if any, of their manufacturer.
Graco will provide purchaser with reasonable assistance in making any claim for breach of these warranties.
In no event will Graco be liable for indirect, incidental, special or consequential damages resulting from Graco supplying
equipment hereunder, or the furnishing, performance, or use of any products or other goods sold hereto, whether due to a breach
of contract, breach of warranty, the negligence of Graco, or otherwise.
FOR GRACO CANADA CUSTOMERS
The parties acknowledge that they have required that the present document, as well as all documents, notices and legal
proceedings entered into, given or instituted pursuant hereto or relating directly or indirectly hereto, be drawn up in English. Les
parties reconnaissent avoir convenu que la rédaction du présente document sera en Anglais, ainsi que tous documents, avis et
procédures judiciaires exécutés, donnés ou intentés à la suite de ou en rapport, directement ou indirectement, avec les
procedures concernées.
Graco Information
For the latest information about Graco products, visit www.graco.com.
TO PLACE AN ORDER, contact your Graco distributor or call to identify the nearest distributor.
Phone: 612-623-6921 or Toll Free: 1-800-328-0211 Fax: 612-378-3505