Graco 3A0732J Merkur Es Spray Packages Users Manual 3A0732J, Packages, Instructions/Parts Manual, English
2015-04-02
: Graco Graco-3A0732J-Merkur-Es-Spray-Packages-Users-Manual-685938 graco-3a0732j-merkur-es-spray-packages-users-manual-685938 graco pdf
Open the PDF directly: View PDF .
Page Count: 44

Instructions/Parts
Merkur® ES
Spray Packages
For low-volume fine finish spray applications. For professional use only.
15:1 Spray Packages
30:1 Spray Packages
100 psi (0.7 MPa, 7.0 bar) Maximum Air Inlet Pressure
See page 3 for model information, including maximum fluid
working pressure.
Important Safety Instructions
Read all warnings and instructions in this
manual. Save these instructions.
ti15590a
ti15589a
3A0732J
EN
II 2 G c T5 X
23A0732J
Contents
Models . . . . . . . . . . . . . . . . . . . . . . . . . . . . . . . . . . . 3
Warnings . . . . . . . . . . . . . . . . . . . . . . . . . . . . . . . . . 4
Installation . . . . . . . . . . . . . . . . . . . . . . . . . . . . . . . . 7
Prepare the Operator . . . . . . . . . . . . . . . . . . . . . 7
Prepare the Site . . . . . . . . . . . . . . . . . . . . . . . . . 7
Supplied Components . . . . . . . . . . . . . . . . . . . . . 7
Inline Fluid Filter Kits . . . . . . . . . . . . . . . . . . . . . . 7
Air Line Accessories . . . . . . . . . . . . . . . . . . . . . . 7
Wall Mount Packages . . . . . . . . . . . . . . . . . . . . . 8
Grounding . . . . . . . . . . . . . . . . . . . . . . . . . . . . . . 8
Flush Before Using Equipment . . . . . . . . . . . . . . 8
Setup . . . . . . . . . . . . . . . . . . . . . . . . . . . . . . . . . . 9
Operation . . . . . . . . . . . . . . . . . . . . . . . . . . . . . . . . 10
Pressure Relief Procedure . . . . . . . . . . . . . . . . 10
Trigger Lock . . . . . . . . . . . . . . . . . . . . . . . . . . . 10
Prime the Pump . . . . . . . . . . . . . . . . . . . . . . . . 10
Install the Spray Tip . . . . . . . . . . . . . . . . . . . . . 11
Adjust the Atomization . . . . . . . . . . . . . . . . . . . 11
Adjust the Spray Pattern . . . . . . . . . . . . . . . . . . 12
Shutdown . . . . . . . . . . . . . . . . . . . . . . . . . . . . . 12
Maintenance . . . . . . . . . . . . . . . . . . . . . . . . . . . . . . 13
Tighten Threaded Connections . . . . . . . . . . . . . 13
Flush the Pump . . . . . . . . . . . . . . . . . . . . . . . . . 13
Troubleshooting . . . . . . . . . . . . . . . . . . . . . . . . . . 14
Repair . . . . . . . . . . . . . . . . . . . . . . . . . . . . . . . . . . . 15
General Information . . . . . . . . . . . . . . . . . . . . . . 15
To Remove Intake Valve Only . . . . . . . . . . . . . . 15
Disconnect the Displacement Pump . . . . . . . . . 15
Disassemble the Pump . . . . . . . . . . . . . . . . . . . 16
Reassemble the Pump . . . . . . . . . . . . . . . . . . . 16
Reconnect the Displacement Pump . . . . . . . . . 16
Repair Air Valve . . . . . . . . . . . . . . . . . . . . . . . . . 18
Replace Pilot Valves . . . . . . . . . . . . . . . . . . . . . 20
Disconnect the Air Motor . . . . . . . . . . . . . . . . . . 21
Reconnect the Air Motor . . . . . . . . . . . . . . . . . . 21
Repair Air Motor . . . . . . . . . . . . . . . . . . . . . . . . 22
Parts . . . . . . . . . . . . . . . . . . . . . . . . . . . . . . . . . . . . 25
Package Parts . . . . . . . . . . . . . . . . . . . . . . . . . . 25
Hose and Gun . . . . . . . . . . . . . . . . . . . . . . . . . . 29
Displacement Pump Parts . . . . . . . . . . . . . . . . . 30
Air Motor Parts . . . . . . . . . . . . . . . . . . . . . . . . . . 32
Air Valve Parts . . . . . . . . . . . . . . . . . . . . . . . . . . 34
Air Control Parts . . . . . . . . . . . . . . . . . . . . . . . . 36
Kits and Accessories . . . . . . . . . . . . . . . . . . . . . . . 38
Package Dimensions . . . . . . . . . . . . . . . . . . . . . . . 39
Package Weights . . . . . . . . . . . . . . . . . . . . . . . . . . 39
Wall Bracket Mounting Hole Diagram . . . . . . . . . 40
Technical Data . . . . . . . . . . . . . . . . . . . . . . . . . . . . 41
Performance Charts . . . . . . . . . . . . . . . . . . . . . . . . 42
15:1 Ratio Pumps . . . . . . . . . . . . . . . . . . . . . . . 42
30:1 Ratio Pumps . . . . . . . . . . . . . . . . . . . . . . . 43
Graco Standard Warranty . . . . . . . . . . . . . . . . . . . 44
Graco Information . . . . . . . . . . . . . . . . . . . . . . . . . 44

Models
3A0732J 3
Models
* Part No. 24N548 is used as a supply pump in the WB3000 Waterborne Isolation System. It includes a pump
bracket and items 7-19, 21, 23, and 28-42 on page 25. See manual 3A2497 for warnings and instructions for a
waterborne system.
Package Series Ratio
Maximum Fluid
Working Pressure
psi (MPa, bar) Package Type Gun Mounting Material
24F150 A 15:1 1500 (10.3, 103) Air-assisted G15 Carbide Wall Plated Steel
24F151 A 15:1 1500 (10.3, 103) Air-assisted G15 Carbide Stand Plated Steel
24F152 A 30:1 3000 (20.7, 207) Air-assisted G40 Wall Stainless Steel
24F153 A 30:1 3000 (20.7, 207) Air-assisted G40 Stand Stainless Steel
24F154 A 30:1 3000 (20.7, 207) Airless Silver Plus Wall Plated Steel
24F155 A 30:1 3000 (20.7, 207) Airless Silver Plus Stand Plated Steel
24F156 A 30:1 3000 (20.7, 207) Air-assisted G40 Wall Plated Steel
24F157 A 30:1 3000 (20.7, 207) Air-assisted G40 Stand Plated Steel
24F158 A 15:1 1500 (10.3, 103) Air-assisted G15 Carbide Wall Stainless Steel
24F159 A 15:1 1500 (10.3, 103) Air-assisted G15 Carbide Stand Stainless Steel
24N548* A 30:1 3000 (20.7, 207) WB3000 ----- ----- Stainless Steel
24W281 A 15:1 1500 (10.3, 103) Air-assisted G15 Carbide Stand Plated Steel
24W283 A 15:1 1500 (10.3, 103) Air-assisted G15 Carbide Stand Stainless Steel
24W285 A 30:1 3000 (20.7, 207) Air-assisted G40 Stand Plated Steel
24W287 A 30:1 3000 (20.7, 207) Air-assisted G40 Stand Stainless Steel

Warnings
43A0732J
Warnings
The following warnings are for the setup, use, grounding, maintenance, and repair of this equipment. The exclama-
tion point symbol alerts you to a general warning and the hazard symbols refer to procedure-specific risks. When
these symbols appear in the body of this manual, refer back to these Warnings. Product-specific hazard symbols and
warnings not covered in this section may appear throughout the body of this manual where applicable.
WARNINGWARNINGWARNING
WARNING
FIRE AND EXPLOSION HAZARD
Flammable fumes, such as solvent and paint fumes, in work area can ignite or explode. To help prevent
fire and explosion:
• Use equipment only in well ventilated area.
• Eliminate all ignition sources; such as pilot lights, cigarettes, portable electric lamps, and plastic drop
cloths (potential static arc).
• Keep work area free of debris, including solvent, rags and gasoline.
• Do not plug or unplug power cords, or turn power or light switches on or off when flammable fumes are
present.
• Ground all equipment in the work area. See Grounding instructions.
• Use only grounded hoses.
• Hold gun firmly to side of grounded pail when triggering into pail.
• If there is static sparking or you feel a shock, stop operation immediately. Do not use equipment
until you identify and correct the problem.
• Keep a working fire extinguisher in the work area.
SPECIAL CONDITIONS FOR SAFE USE
Static charge may build up on plastic parts during cleaning and could discharge and ignite flammable
vapors. To help prevent fire and explosion:
• Clean plastic parts only in well ventilated area.
• Do not clean with a dry cloth.
• Do not operate electrostatic guns in equipment work area.
SKIN INJECTION HAZARD
High-pressure fluid from gun, hose leaks, or ruptured components will pierce skin. This may look like just
a cut, but it is a serious injury that can result in amputation. Get immediate surgical treatment.
• Do not spray without tip guard and trigger guard installed.
• Engage trigger lock when not spraying.
• Do not point gun at anyone or at any part of the body.
• Do not put your hand over the spray tip.
• Do not stop or deflect leaks with your hand, body, glove, or rag.
• Follow the Pressure Relief Procedure when you stop spraying and before cleaning, checking, or
servicing equipment.
• Tighten all fluid connections before operating the equipment.
• Check hoses and couplings daily. Replace worn or damaged parts immediately.

Warnings
3A0732J 5
EQUIPMENT MISUSE HAZARD
Misuse can cause death or serious injury.
• Do not operate the unit when fatigued or under the influence of drugs or alcohol.
• Do not exceed the maximum working pressure or temperature rating of the lowest rated system
component. See Technical Data in all equipment manuals.
• Use fluids and solvents that are compatible with equipment wetted parts. See Technical Data in all
equipment manuals. Read fluid and solvent manufacturer’s warnings. For complete information about
your material, request MSDS from distributor or retailer.
• Do not leave the work area while equipment is energized or under pressure. Turn off all equipment
and follow the Pressure Relief Procedure when equipment is not in use.
• Check equipment daily. Repair or replace worn or damaged parts immediately with genuine
manufacturer’s replacement parts only.
• Do not alter or modify equipment.
• Use equipment only for its intended purpose. Call your distributor for information.
• Route hoses and cables away from traffic areas, sharp edges, moving parts, and hot surfaces.
• Do not kink or over bend hoses or use hoses to pull equipment.
• Keep children and animals away from work area.
• Comply with all applicable safety regulations.
MOVING PARTS HAZARD
Moving parts can pinch, cut or amputate fingers and other body parts.
• Keep clear of moving parts.
• Do not operate equipment with protective guards or covers removed.
• Pressurized equipment can start without warning. Before checking, moving, or servicing equipment,
follow the Pressure Relief Procedure and disconnect all power sources.
TOXIC FLUID OR FUMES HAZARD
Toxic fluids or fumes can cause serious injury or death if splashed in the eyes or on skin, inhaled, or
swallowed.
• Read MSDSs to know the specific hazards of the fluids you are using.
• Store hazardous fluid in approved containers, and dispose of it according to applicable guidelines.
PERSONAL PROTECTIVE EQUIPMENT
You must wear appropriate protective equipment when operating, servicing, or when in the operating area
of the equipment to help protect you from serious injury, including eye injury, hearing loss, inhalation of
toxic fumes, and burns. This equipment includes but is not limited to:
• Protective eyewear, and hearing protection.
• Respirators, protective clothing, and gloves as recommended by the fluid and solvent manufacturer.
WARNINGWARNINGWARNING
WARNING

Warnings
63A0732J
Installation
3A0732J 7
Installation
Prepare the Operator
All persons who operate the equipment must be trained
in the safe, efficient operation of all system components
as well as the proper handling of all fluids. All operators
must thoroughly read all instruction manuals, tags, and
labels before operating the equipment.
Prepare the Site
Ensure that you have an adequate compressed air
supply.
Bring a compressed air supply line from the air com-
pressor to the pump location. Be sure all air hoses are
properly sized and pressure-rated for your system. Use
only electrically conductive hoses. The air hose should
have a 3/8 npt(m) thread. A quick disconnect coupling is
recommended.
Keep the site clear of any obstacles or debris that could
interfere with the operator's movement.
Have a grounded, metal pail available for use when
flushing the system.
Supplied Components
See F
IG
. 2 on page 9.
• The red-handled bleed-type master air valve (D)
is required in your system to relieve air trapped
between it and the air motor and gun when the valve
is closed. Do not block access to the valve.
• The pump air regulator (F) controls pump speed
and outlet pressure by adjusting the air pressure to
the pump.
• The air pressure relief valve (P) opens automati-
cally to prevent overpressurization of the pump.
•The gun air regulator (E) adjusts the air pressure
to the air-assisted spray gun.
•The spray gun (H) dispenses the fluid. The gun
houses the spray tip (not shown), which is available
in a wide range of sizes for different spray patterns
and rates of flow. Refer to gun manual for tip instal-
lation.
•The red hose (G) provides the gun air supply.
•The blue hose (K) provides the gun fluid supply.
•The suction kit with strainer (J) allows the pump
to draw fluid from a 5 gallon (19 liter) pail.
Inline Fluid Filter Kits
Inline fluid filter kits are available as an accessory in
stainless steel (24F271) or aluminum (24F272), to filter
particles from fluid as it leaves the pump. Kits include a
60 mesh (250 micron) stainless steel element.
Air Line Accessories
Install the following accessories in the order shown in
F
IG
. 2, using adapters as necessary.
•An air-line filter (C) removes harmful dirt and mois-
ture from the compressed air supply.
• A second bleed-type air shutoff valve (B) isolates
the air line accessories for servicing. Locate
upstream from all other air line accessories.

Installation
83A0732J
Wall Mount Packages
1. Be sure the wall can support the weight of the
pump, bracket, hoses and accessories, as well as
the stress caused during operation.
2. Position the wall bracket at a convenient height. Do
not stretch the suction hose tight; let it hang to assist
fluid flow into the pump. For ease of operation and
service, make sure the pump air inlet, fluid inlet, and
fluid outlet ports are easily accessible.
3. Using the wall bracket as a template, drill mounting
holes in the wall. Hole diameters and wall mounting
dimensions are shown on page 40.
4. Attach the bracket to the wall. Use screws that are
long enough to keep the pump from vibrating during
operation.
NOTE: Be sure the bracket is level.
Grounding
1. Pump: See F
IG
. 1. Verify that the ground wire (26)
is attached to the ground screw (23), and the screw
is tightened securely to the adapter plate (10). Use
any of the three threaded holes in the adapter plate.
Connect the other end of the ground wire to a true
earth ground.
2. Air and fluid hoses: Static electricity may build up
when fluids flow through pumps, hoses, and spray-
ers. At least one hose must be electrically conduc-
tive, with a maximum of 500 ft. (150 m) combined
hose length to ensure grounding continuity. Check
electrical resistance of hoses. If total resistance to
ground exceeds 25 megohms, replace hose imme-
diately.
3. Air compressor: follow manufacturer's recommen-
dations.
4. Spray gun: ground through connection to a prop-
erly grounded fluid hose and pump.
5. Fluid supply container: follow your local code.
6. Object being sprayed: follow your local code.
7. Solvent pails used when flushing: follow your
local code. Use only metal pails, which are conduc-
tive, placed on a grounded surface. Do not place the
pail on a nonconductive surface, such as paper or
cardboard, which interrupts the grounding continu-
ity.
8. To maintain grounding continuity when flushing or
relieving pressure, hold a metal part of the spray
gun firmly to the side of a grounded metal pail, then
trigger the gun.
Flush Before Using Equipment
The equipment was tested with lightweight oil, which is
left in the fluid passages to protect parts. To avoid con-
taminating your fluid with oil, flush the equipment with a
compatible solvent before using the equipment. See
Prime the Pump, page 10.
The equipment must be grounded. Grounding
reduces the risk of static and electric shock by
providing an escape wire for the electrical current
due to static build up or in the event of a short circuit.
F
IG
. 1. Ground Wire
23
26
ti16282a
10

Installation
3A0732J 9
Setup
1. See F
IG
. 2. Attach one end of fluid hose (K) to pump
outlet (or optional inline fluid filter outlet).
2. Attach other end of fluid hose to gun fluid inlet at
base of gun (H).
3. Attach one end of the air hose (G) to gun air regula-
tor (E).
4. Attach remaining end of the air hose to air inlet at
base of gun (H).
5. Clip fluid and air hoses together with the supplied
hose clips (qty. of 7). Space clips as needed.
6. Attach the fluid suction kit (J) to the pump inlet.
F
IG
. 2. Typical Installation (Air-Assisted Stand Mount Package Shown)
A
B
C
DF
E
G
N
J
K
L
ti15591a
H
M
P
Key:
A Main Air Supply Line
B Air Shutoff Valve
C Air Filter
D Bleed-type Master Air Valve (required)
E Gun Air Pressure Regulator
F Pump Air Pressure Regulator
G Gun Air Supply Line
H Spray Gun
J Fluid Suction Kit
K Gun Fluid Supply Line
L Pump Ground Wire (required)
M Mounting Bracket (used for wall mounting or stand)
N Pump Stand
P Air Pressure Relief Valve

Operation
10 3A0732J
Operation
Pressure Relief Procedure
1. Lock the gun trigger.
2. See F
IG
. 2. Turn off the bleed-type master air valve
(D).
3. Unlock the gun trigger.
4. Hold a metal part of the gun firmly to a grounded
metal waste container. Trigger the gun to relieve
fluid pressure.
5. Lock the gun trigger.
6. If you suspect that pressure has not been fully
relieved after following the steps above, check the
following:
a. The spray tip may be completely clogged. Very
slowly loosen the air cap retaining ring to relieve
pressure in the cavity between the ball/seat
shutoff and the plugged tip. Clear the tip orifice.
b. The gun fluid filter or the fluid hose may be com-
pletely clogged. Very slowly loosen the hose
end coupling at the gun and relieve pressure
gradually. Then loosen completely to clear the
obstruction.
c. After following the steps above, if the spray tip
or hose still seems completely clogged, very
slowly loosen the tip guard retaining nut or hose
end coupling and relieve pressure gradually,
then loosen completely. With tip removed, trig-
ger gun into waste container.
Trigger Lock
See F
IG
. 3. Always engage gun trigger lock when you
stop spraying to prevent gun from being triggered acci-
dentally by hand or if dropped or bumped.
Prime the Pump
1. See F
IG
. 3. Lock gun trigger. Remove tip guard and
spray tip from gun. Refer to gun manual.
Trapped air can cause the pump to cycle unexpect-
edly, which could result in serious injury from skin
injection, splashing or moving parts.
F
IG
. 3. Trigger Lock
Have safety spring (9) in place during operation to
reduce risk of pinching or loss of fingers.
tiI6581A
ti6582A
Gun Trigger
Locked
Gun Trigger
Unlocked

Operation
3A0732J 11
2. See F
IG
. 2. Close gun air regulator (E) and pump air
regulator (F) by turning knobs counterclockwise
reducing pressure to zero. Close bleed-type air
valve (D).
3. Connect air line to bleed type air valve.
4. Check that all fittings throughout system are tight-
ened securely.
5. Position pail close to pump. Suction hose is 3 ft
(0.9 m) long. Do not stretch hose tight; let it hang to
assist fluid flow into pump.
6. Hold metal part of gun firmly to side of grounded
metal pail, unlock trigger, and hold trigger open.
7. Open bleed-type air valve. Slowly turn pump air reg-
ulator clockwise, increasing pressure until pump
starts.
8. Cycle pump slowly until all air is pushed out and
pump and hoses are fully primed.
9. Release gun trigger and lock trigger safety. Pump
should stall against pressure.
Install the Spray Tip
Follow Pressure Relief Procedure, page 10. Install the
spray tip and tip guard as explained in your separate
gun manual, supplied.
The fluid output and pattern width depend on the size of
the spray tip, the fluid viscosity, and the fluid pressure.
Use the Spray Tip Selection Chart in your gun instruc-
tion manual as a guide for selecting an appropriate
spray tip for your application.
NOTE: The maximum recommended spray tip size is
.019 in. (0.483 mm).
Adjust the Atomization
NOTE: Use this procedure with airless and air-assisted
spray guns.
1. Do not turn on atomizing air supply. Fluid pressure
is controlled by the air pressure supplied to the
pump (pump air regulator). Set fluid pressure at low
starting pressure. For low viscosity fluids (less than
25 sec, #2 Zahn cup) with lower percent solids (typi-
cally less than 40%), start at 300 psi (2.1 MPa, 21
bar) at pump outlet. For fluids with higher viscosity
or higher solids content, start at 600 psi (4.2 MPa,
42 bar). Refer to the following example.
Example:
2. Hold gun perpendicular and approximately 12
inches (304 mm) from surface.
3. Move gun first, then pull gun trigger to spray onto
test paper.
4. Increase fluid pressure in 100 psi (0.7 MPa, 7 bar)
increments, just to the point where a further
increase in fluid pressure does not significantly
improve fluid atomization. Refer to the following
example.
Example:
5. If you are using an air-assisted spray gun, see
Adjust the Spray Pattern on page 12.
Pump
Ratio
Pump Air
Regulator Setting
psi (MPa, bar)
Approximate
Fluid Pressure
psig (MPa, bar)
15:1 x 20 (0.14, 1.4) = 300 (2.1, 21)
30:1 x 20 (0.14, 1.4) = 600 (4.2, 42)
Pump
Ratio
Pump Air Regulator
Increment
psi (MPa, bar)
Incremental
Fluid Pressure
psi (MPa, bar)
15:1 x 7 (.05, 0.5) = 100 (0.7, 7.0)
30:1 x 3.3 (0.02, 0.2) = 100 (0.7, 7.0)

Operation
12 3A0732J
Adjust the Spray Pattern
NOTE: Use this procedure with air-assisted spray guns
only.
1. See F
IG
. 4. Close off pattern adjustment air by turn-
ing knob (AA) clockwise (in) all the way. This sets
gun for its widest pattern.
2. See F
IG
. 5. Set atomizing air pressure at about 5 psi
(0.35 bar, 35 kPa) when triggered. Check spray pat-
tern, then slowly increase air pressure until tails are
completely atomized and pulled into spray pattern.
Do not exceed 100 psi (0.7 MPa, 7 bar) air pressure
to gun.
3. See F
IG
. 4. For narrower pattern, turn pattern
adjustment valve knob (AA) counterclockwise (out).
If pattern is still not narrow enough, increase air
pressure to gun slightly or use different size tip.
Shutdown
Follow Pressure Relief Procedure, page 10.
Always flush the pump before the fluid dries on the dis-
placement rod. See Flush the Pump on page 13.
F
IG
. 4. Pattern Air Knob
ti6559A
OUT (narrower
pattern) IN (wider
pattern)
AA
AA
F
IG
. 5. Spray Pattern Problems
no air too little air correct
amount of
air
TI0792A

Maintenance
3A0732J 13
Maintenance
Tighten Threaded Connections
Before each use, check all hoses for wear or damage.
Replace as necessary. Check that all threaded connec-
tions are tight and leak-free.
Flush the Pump
Flush the pump:
• Before first use
• When changing colors or fluids
• Before repairing equipment
• Before fluid dries or settles out in a dormant pump
(check the pot life of catalyzed fluids)
• At the end of the day
• Before storing the pump.
Flush at the lowest pressure possible. Flush with a fluid
that is compatible with the fluid you are pumping and
with the wetted parts in your system. Check with your
fluid manufacturer or supplier for recommended flushing
fluids and flushing frequency.
1. Follow Pressure Relief Procedure, page 10.
2. Remove tip guard and spray tip from gun. Refer to
separate gun manual.
3. Place suction tube in grounded metal pail containing
cleaning fluid.
4. Set pump to lowest possible fluid pressure, and start
pump.
5. Hold a metal part of the gun firmly to a grounded
metal pail.
6. Trigger gun. Flush system until clear solvent flows
from gun.
7. Follow Pressure Relief Procedure, page 10.
8. Clean the tip guard, spray tip, and fluid filter element
separately, then reinstall them.
9. Clean inside and outside of suction tube and suction
hose.
Read all Warnings. Follow all Grounding instruc-
tions. See page 8.

Troubleshooting
14 3A0732J
Troubleshooting
NOTE: Check all possible problems and causes before
disassembling the pump.
Relieve the pressure before checking or servicing
the equipment.
Problem Cause Solution
Air motor will not run. Damaged air valve (214). Replace or service air valve (214). See
page 18.
Damaged pilot valve (213). Replace pilot valves (213). See page 20.
Air continuously exhausting around air
motor piston rod.
Damaged u-cups (207). Replace piston rod u-cups (207). See
page 22.
Air continuously exhausting from muf-
fler.
Damaged air valve plate (305) or cup
(312).
Replace or service air valve (214). See
page 18.
Air motor “bounces” at top of stroke. Damaged bottom pilot valve (213). Replace bottom pilot valve (213). See
page 20.
Air motor “bounces” at bottom of
stroke.
Damaged top pilot valve (213). Replace top pilot valve (213). See page
20.
Icing inside motor. Air motor operating at high pressure or
high cycle rate.
Reduce pressure, cycle rate, or duty
cycle of motor.
Reduce dew point of compressed air in
moisture coalescing filter.
Pump fails to operate. Restricted line or inadequate air supply;
closed or clogged valves.
Clear line or increase air supply. Check
that the valves are open.
Obstructed fluid hose or gun; fluid hose ID
is too small.
Open, clear*; use hose with larger ID.
Fluid dried on the displacement rod (119). Clean; keep the packing nut wet-cup filled
with Graco throat seal liquid (TSL).
Pump operates but does not prime. Held open or worn ball check valves or pis-
ton packings.
Clear valve; replace packings. See page
16.
Worn suction hose o-ring (38). Replace suction hose o-ring (38).
Pump operates, but output is low on
both strokes.
Restricted line or inadequate air supply;
closed or clogged valves.
Clear line or increase air supply. Check
that the valves are open.
Obstructed fluid hose or gun; fluid hose ID
is too small.
Open, clear*; use hose with larger ID.
Worn packings in displacement pump. Replace packings. See page 16.
Pump operates, but output is low on
downstroke.
Held open or worn ball check valves or pis-
ton packings.
Clear valve; replace packings. See page
16.
Erratic or accelerated pump speed. Exhausted fluid supply. Refill and prime.
Held open or worn ball check valves or
packings.
Clear valve, replace packings. See page
16.
Fluid being pumped is visible in the
packing nut wet-cup.
Worn throat packings. Tighten packing nut.
Replace throat packings. See page 16.
Bad spray pattern. Clean or repair spray gun or tip. See G15/G40 air-assisted gun manual or
Silver Plus airless gun manual.

Repair
3A0732J 15
Repair
General Information
• Reference numbers and letters in parentheses in
the text refer to the callouts in the figures and the
parts drawing.
• Always use Genuine Graco Parts and Accessories,
available from your Graco distributor. If you supply
your own accessories, be sure they are adequately
sized and pressure rated for your system.
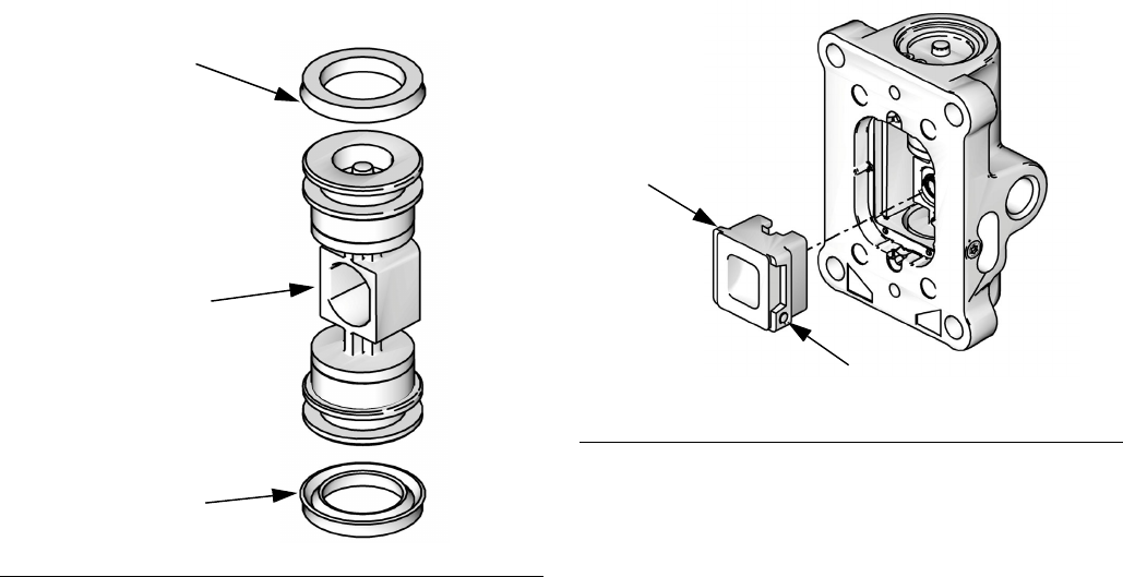
To Remove Intake Valve Only
The intake ball and seat may be cleaned or serviced
without disconnecting the displacement pump.
1. Stop the pump.
2. Flush the pump, if possible (see page 13). Follow
Pressure Relief Procedure, page 10.
3. Disconnect the suction hose.
4. Remove the intake housing (110). See F
IG
. 7.
5. Clean or replace the ball guide (109), ball (116),
seat (117), and o-ring (111).
6. Install the o-ring (111‡), seat (117), intake ball
(116‡), and ball guide (109) in the intake housing
(110).
7. Screw the intake housing (110) onto the cylinder
(105). Torque to 70-80 ft-lb (95-108 N•m).
Disconnect the Displacement
Pump
1. Stop the pump.
2. Flush the pump, if possible (see page 13). Follow
Pressure Relief Procedure, page 10.
3. Disconnect the air hose, fluid hose, and suction
hose.
4. See F
IG
. 6. Push the safety spring (9) down and
hold to access the coupling pin (18). Push the
retaining spring (19) up and push out the pin, using
a screwdriver or punch.
5. Loosen the jam nut (13).
6. Unscrew the displacement pump by hand and place
on work bench.
F
IG
. 6. Safety Spring and Connecting Pin
19
9
18
TI16261A
13
10

Repair
16 3A0732J
Disassemble the Pump
NOTE: Pump Repair Kits are available. See page 31 to
order the correct kit for your pump. Parts are marked
with an ‡.
1. Follow the instructions under Disconnect the Dis-
placement Pump, page 15.
1. See F
IG
. 7. Loosen the packing nut (103), using a
screwdriver and hammer. Remove the o-ring (104).
2. Unscrew the cylinder (105) from the intake housing
(110). The rod and piston assembly will come with
the cylinder.
3. Remove the ball guide (109), intake ball (116), seat
(117), and o-ring (111) from the intake housing
(110).
4. Drive the rod and piston assembly out the bottom of
the cylinder. Remove the o-ring (107) from the cylin-
der.
5. Insert a plastic rod in the bottom of the cylinder and
drive the throat packings and glands out the top.
6. Put the rod (119) in a vise and unscrew the piston
(124). Be careful not to drop the piston ball (120).
Disassemble the piston packings from the piston.
7. Clean and inspect all parts. Replace any damaged
parts.
Reassemble the Pump
NOTE: Soak the leather packings (113‡, 125‡) in
hydraulic oil for one hour before installing them in the
pump.
1. Install the piston wiper (123‡) on the piston (124),
with the lips facing down. Install the female gland
(122‡). Install the piston packings in the following
order with the lips facing up: blue UHMWPE (126‡),
leather (125‡), UHMWPE, leather, UHMWPE.
Install the male gland (121‡).
2. Put the displacement rod (119) in a vise. Place the
piston ball (120‡) in the cavity of the rod. Screw the
piston assembly into the rod. Torque to 24-30 ft-lb
(33-40 N•m).
3. Install the male gland (114‡) in the cylinder (105).
Install the throat packings in the following order with
the lips facing down: blue UHMWPE (106‡), leather
(113‡), UHMWPE, leather, UHMWPE. Install the
female gland (112‡).
4. Install the o-ring (104‡) on the packing nut (103).
Loosely install the packing nut in the cylinder.
5. Liberally lubricate the piston packings and the top 2
in. (51 mm) of the displacement rod (119).
6. Push the displacement rod (119) into the cylinder
(105) from the bottom until the piston is completely
in the cylinder and the rod protrudes from the pack-
ing nut (103).
7. Grease the o-ring (107‡) and install it on the cylin-
der (105).
8. Install the o-ring (111‡), seat (117), intake ball
(116‡), and ball guide (109) in the intake housing
(110).
9. Place the intake housing (110) in a vise. Screw the
cylinder (105) into the intake housing. Torque to
70-80 ft-lb (95-108 N•m).
10. Tighten the packing nut (103) 1/2 turn past hand-
tight, or torque to 60-80 in-lb (6.7-9.0 N•m).
11. Ensure that the button plug (102‡) is in place on the
packing nut (103).
12. Follow the instructions under Reconnect the Dis-
placement Pump, page 16.
Reconnect the Displacement
Pump
1. Screw the displacement pump into the adapter plate
(10) until it stops. Back off pump less than 1 turn, to
align pump outlet as desired.
NOTICE
The displacement pump can be damaged if the stroke
is not centered when the pump is reconnected. Be
sure to fully screw the displacement pump into the
adapter plate (10).

Repair
3A0732J 17
2. Tighten the jam nut (13). Torque to 65-75 ft-lb
(88-102 N•m).
3. Align the hole in the displacement rod with the hole
in the air motor rod. Use a screwdriver to push in the
pin (18).
4. Push the retaining spring (19) into place to cover the
pin.
5. Fill throat packing nut wet-cup with TSL to prevent
premature packing wear.
F
IG
. 7. Displacement Pump
TI16131a
119
125‡
117❖
116‡❖
110
113‡
‡123
‡102
‡106
103
‡112
107‡
111‡❖
109❖
‡122
‡121
‡120
‡114
105
124
‡104
‡126
15
1
Lips must face down.
Lips must face up.
1
2
1
1
2
2

Repair
18 3A0732J
Repair Air Valve
Replace Complete Air Valve
1. Stop the pump. Follow Pressure Relief Procedure,
page 10.
2. Disconnect the air line to the motor.
3. See F
IG
. 14 on page 23. Remove four screws (211).
Remove the air valve (214) and gasket (209*◆).
4. To repair the air valve, go to Disassemble the Air
Valve, page 18. To install a replacement air valve,
continue with step 5.
5. Align the new air valve gasket (209*◆) on the mani-
fold, then attach the air valve (214). Torque screws
(211) to 95-105 in-lb (11-12 N•m).
6. Reconnect the air line to the motor.
Replace Seals or Rebuild Air Valve
NOTE: Air Valve Seal Kits are available. See page 35.
Parts are marked with an †.
Air Valve Repair Kits are available. See page 35. Parts
are marked with an ◆.
Air Valve End Cap Kits are available. See page 35.
Parts are marked with an ✠.
Disassemble the Air Valve
1. Perform steps 1-3 under Replace Complete Air
Valve, page 18.
2. See F
IG
. 8. Use a 2 mm or 5/64 hex key to remove
two screws (309†◆). Remove the valve plate
(305◆), cup (312◆), and spring (311◆).
3. See F
IG
. 9. Remove the snap ring (310✠) from each
end. Use the piston to push the end caps (307✠) out
of the ends. Remove end cap o-rings (306†✠◆).
4. Remove the piston (302◆). Remove the u-cup seals
(308†◆) from each end and the detent assembly
(303◆) and detent cam (304◆) from the center.
F
IG
. 8. Air Plate Removal
309†◆
305◆
312◆311◆
ti16284a

Repair
3A0732J 19
F
IG
. 9. Air Valve Assembly
1
Apply lubricant.
◆✠
310
✠307
✠
307
†◆309
◆305
◆312
◆311
◆303
◆302
†◆308
†◆
308
301
◆304
◆✠ 310
ti16213a
†✠◆306
†✠◆306
1
1
1
1
1
1
1
1

Repair
20 3A0732J
Reassemble the Air Valve
1. See F
IG
. 9. Lubricate detent cam (304◆) and install
into housing.
2. See F
IG
. 10. Lubricate the u-cups (308†◆) and
install on the piston (302◆) with lips facing toward
the center of the piston.
3. See F
IG
. 9. Lubricate both ends of the piston (302◆)
and install it in the housing.
4. Lubricate and install the detent assembly (303◆)
into the piston.
5. Lubricate new o-rings (306†✠◆) and install on the
end caps (307✠). Install the end caps into the hous-
ing.
6. Install a snap ring (310◆✠ ) on each end to hold end
caps in place.
7. Install the spring (311◆). Lubricate and install the air
valve cup (312◆), see F
IG
. 11. Align the small round
magnet with the air inlet.
8. Install the valve plate (305◆). Tighten the screws
(309†◆) to hold it in place.
Replace Pilot Valves
1. Stop the pump. Follow Pressure Relief Procedure,
page 10.
2. Disconnect the air line to the motor.
3. See F
IG
. 12. Push the safety spring (9) down and
hold to access the pilot valve on the bottom cover.
4. See F
IG
. 14 on page 23. Use a 10 mm wrench to
remove the old pilot valves (213) from the top and
bottom covers.
5. Lubricate and install the new pilot valves (213).
Torque to 95-105 in-lb (11-12 N•m).
F
IG
. 10. Air Valve U-cup Installation
Lips face down
Lips face up
†◆308
†◆308
◆302
ti12754a
F
IG
. 11. Air Valve Cup Installation
312◆
ti16283a
Magnet

Repair
3A0732J 21
Disconnect the Air Motor
1. Stop the pump.
2. Flush the pump, if possible (see page 13). Follow
Pressure Relief Procedure, page 10.
3. Disconnect the air hose, fluid hose, and suction
hose.
4. See F
IG
. 12. Push the safety spring (9) down and
hold to access the coupling pin (18). Push the
retaining spring (19) up and push out the pin, using
a screwdriver or punch.
5. Remove the nuts (11) from the bottom of the tie rods
(8).
6. Remove the pump lower (12). The adapter plate
(10) will remain attached to the lower.
7. Remove the safety spring (9).
8. Loosen the nuts (17) at the top of the tie rods, then
remove the tie rods. The mounting bracket (1) is
loosened from the motor as the tie rods are
removed.
9. Take the motor to a work bench. See Repair Air
Motor on page 22.
Reconnect the Air Motor
1. Replace the motor on the mounting bracket (1).
2. Screw the tie rods into the motor, with the top hex
nuts (17) attached. Torque the tie rods to 5-10 ft-lb
(7-13 N•m).
NOTE: Always tighten the tie rods before tightening the
top hex nuts (17).
3. Tighten the top hex nuts (17) to secure the mount-
ing bracket (1).
4. Slide the pump with the adapter plate (10) attached
onto the tie rods (8). Ensure that the safety spring
(9) is in place and the pump outlet is oriented as
desired.
5. Install the tie rod nuts (11). Torque to 100 in-lb (11
N•m).
6. Align the hole in the displacement rod with the hole
in the air motor rod. Use a screwdriver to push in the
pin (18).
7. Push the retaining spring (19) into place to cover the
pin.
F
IG
. 12. Disconnect the Air Motor
19
9
18
TI16261A
11
8
10
117

Repair
22 3A0732J
Repair Air Motor
NOTE: Complete Air Motor Replacement Kits are avail-
able. Order 24G693 (2.5 in. motor) or 24G694 (3.5 in.
motor).
NOTE: Air Motor Seal Kits are available. See page 33
for the correct kit for your motor. Parts included in the kit
are marked with an asterisk (*). For best results, use all
the parts in the kit.
Disassemble the Air Motor
1. See F
IG
. 14. Use a 10 mm socket wrench to remove
four screws (211). Remove the air valve (214) and
gasket (209*◆†).
2. Remove four screws (211) and remove the manifold
(220) and two gaskets (208*).
3. Use a 10 mm socket wrench to remove the pilot
valves (213) from the top and bottom cover.
4. Use a 13 mm socket wrench to remove the tie bolts
(212).
5. Remove the top cover (210). Remove the o-ring
(202*).
On 3.5 in. motors only,
remove the plug
(231) and o-ring (230*).
6. Remove the shield (206) and cylinder (205).
7. Remove the o-ring (204*) from the piston.
8. Secure the piston (219) in a vise with soft jaws. Use
a wrench on the flats of the rod (218) to remove the
rod and bottom cover assembly (201) from the pis-
ton.
9. Remove the rod from the bottom cover assembly.
10. Remove retaining ring (217), u-cup seals (207*),
and o-ring (202*) from the bottom cover.
Reassemble the Air Motor
NOTE: For easier reassembly, start with the top cover
(210) turned over on the workbench and assemble the
air motor upside-down.
1. Lubricate and install the o-ring (202*) on the top
cover (210).
2. Lubricate the inside of the cylinder (205). Lower the
cylinder onto the top cover (210).
3. Install the shield (206) around the cylinder (205) and
in the groove on the top cover (210).
4. See F
IG
. 13. Lubricate and install new u-cup seal
(207*) in the bottom of the bearing in the bottom
cover (201). The lips must face down. Lubricate and
install new u-cup seal (207*) in the top of the bear-
ing. Lips must face up Install retaining ring (217).
F
IG
. 13. Air Motor U-cup Installation
*207
*207
ti16285a
Lips face up
Lips face down.

Repair
3A0732J 23
F
IG
. 14. Air Motor Assembly
TI16130a
201
215
214
213 211
202*
203
204*
219
209*◆†
208*
*207
205
206
210
212
220
*202
208*
211
213
*217
218
*207
*230
231
1
1
1
1
1
1
1
1
Apply lubricant.
1
1

Repair
24 3A0732J
5. Lubricate and install the o-ring (202*) on the bottom
cover (201).
6. Carefully push the threaded end of the rod (218) up
through the bottom cover (201).
7. Apply 16G561 adhesive to the threads of the rod
(218). Screw the piston (219) onto the rod. Place
the piston in a vise with soft jaws and torque to
35-40 ft-lb (47-54 N•m).
8. Lubricate and install the o-ring (204*) on the piston
(219).
9. See F
IG
. 15. Carefully place the bottom cover/piston
assembly on the cylinder (205), sliding the piston
(219) into the cylinder. The manifold surfaces of the
top and bottom covers must align. Be sure the
shield (206) is in the groove on both the top and bot-
tom covers.
10. Install the tie bolts (212) hand tight.
11. Install two gaskets (208*) on the manifold (220).
Install the manifold (220). Torque screws (211) to
95-105 in-lb (10.7-11.9 N•m).
NOTE: The manifold is reversible for ease of placement
of muffler or remote exhaust.
12. Align the air valve gasket (209*◆†) on the manifold,
then attach the air valve (214). Torque screws (211)
to 95-105 in-lb (11-12 N•m).
13. Tighten the tie bolts (212) halfway. Work in a criss-
cross pattern. Check that the shield (206) remains in
the grooves on both covers. Continue tightening the
bolts in pattern to 11-13 ft-lb (15-18 N•m).
14.
On 3.5 in. motors only,
lubricate the o-ring (230*).
Install it and the plug (231) in the top cover (210).
15. Lubricate and install pilot valves (213) in top and
bottom cover. Torque to 95-105 in-lb (11-12 N•m).
16. See Reconnect the Air Motor on page 21.
F
IG
. 15. Align Shield in Grooves on Covers
groove
groove
201
206
ti16281a
210

Parts
26 3A0732J
Package Parts 15:1 Ratio Pumps
‡
Included in Pump Lower Rebuild Kit. See page 31.
* Not shown. See Merkur ES Hopper Kit manual 334011 for more information.
Ref.
No. Description
Package
Qty24F150 24F151 24W281 24F158 24F159 24W283
1 BRACKET, wall 24H102 24H102 24H102 24H102 24H102 24H102 1
2 KIT, stand; includes items 3, 4, 5, 6, and 43
below, and 418 on page 36
24F164 24F164 24F164 24F164 1
3 PLUG 108175 108175 108175 108175 4
4 SCREW, cap, hex hd; 1/4-20 x 1.5 in. (38 mm) 100058 100058 100058 100058 6
5 SPACER, tube
--- --- --- ---
4
6 NUT, hex; 1/4-20 100015 100015 100015 100015 6
7 MOTOR, air; see page 32 24G693 24G693 24G693 24G693 24G693 24G693 1
8 KIT, rod, tie; includes rods and items 11 and 17
(3 of each)
24G707 24G707 24G707 24G707 24G707 24G707 1
9 SPRING, safety 24H103 24H103 24H103 24H103 24H103 24H103 1
10 ADAPTER, pump lower 24H104 24H104 24H104 24H104 24H104 24H104 1
11 NUT, lock 104541 104541 104541 104541 104541 104541 3
12 LOWER, pump; see page 30;
also includes items 15, 18, and 19
24G701 24G701 24G701 24G702 24G702 24G702 1
13 NUT, jam 195150 195150 195150 195150 195150 195150 1
15
‡
NIPPLE; 1/4 npsm x 1/4 npt; plated steel 162453 162453 162453 1
NIPPLE; 1/4 npsm x 1/4 npt; sst 166846 166846 166846 1
16 KIT, suction hose, 5 gal. (19 l); 3/8 in. (10 mm)
OD; includes items 37 (qty 1), 38, and 42
24F148 24F148 24F148 24F148 1
17 NUT, hex; 7/16-20 Not sold separately. Order Tie Rod Kit, item 8. 3
18
‡
PIN, straight 196762 196762 196762 196762 196762 196762 1
19
‡
SPRING, retaining 196750 196750 196750 196750 196750 196750 1
20 AIR CONTROL ASSEMBLY; see page 36 24H162 24H163 24H163 24H162 24H163 24H163 1
21 ELBOW, swivel;
1/4 npt(m) x 3/8 in. (10 mm) OD tube
121141 121141 121141 121141 121141 121141 1
22 TUBE, polyurethane; 3/8 in. (10 mm) OD; 2 ft
(0.61 m)
24H008 24H008 24H008 24H008 24H008 24H008 1
23 SCREW, ground 116343 116343 116343 116343 116343 116343 1
26 WIRE, grounding 238909 238909 238909 238909 238909 238909 1
28 THROAT SEAL LIQUID; 4 oz (not shown) 238049 238049 238049 238049 238049 238049 1
37 STRAINER, suction; 3/8 in. (10 mm) OD tube;
pack of 3
24F160 24F160 24F160 24F160 1
38 O-RING; fluoroelastomer 117559 117559 117559 117559 1
42 NUT, jam, suction 15E813 15E813 15E813 15E813 1
43 WASHER, lock; 1/4; part of stand kit (2)
--- --- --- ---
6
44* HOPPER, kit 17A493 17A493 1

Parts
3A0732J 27
Package Parts 30:1 Ratio Pumps
‡
Included in Pump Lower Rebuild Kit. See page 31.
* Not shown. See Merkur ES Hopper Kit manual 334011 for more information.
Ref.
No. Description
Package
Qty24F152 24F153 24W287 24F154 24F155 24F156 24F157 24W285
1 BRACKET, wall 24H102 24H102 24H102 24H102 24H102 24H102 24H102 24H102 1
2 KIT, stand; includes items 3, 4, 5, 6, and
43 below, and 418 on page 36
24F164 24F164 24F164 24F164 24F164 1
3 PLUG 108175 108175 108175 108175 108175 4
4 SCREW, cap, hex hd; 1/4-20 x 1.5 in. (38
mm)
100058 100058 100058 100058 100058 6
5 SPACER, tube
--- --- --- --- ---
4
6 NUT, hex; 1/4-20 100015 100015 100015 100015 100015 6
7 MOTOR, air; see page 32 24G694 24G694 24G694 24G694 24G694 24G694 24G694 24G694 1
8 KIT, rod, tie; includes rods and items 11
and 17 (3 of each)
24G707 24G707 24G707 24G707 24G707 24G707 24G707 24G707 1
9 SPRING, safety 24H103 24H103 24H103 24H103 24H103 24H103 24H103 24H103 1
10 ADAPTER, pump lower 24H104 24H104 24H104 24H104 24H104 24H104 24H104 24H104 1
11 NUT, lock 104541 104541 104541 104541 104541 104541 104541 104541 3
12 LOWER, pump; see page 30;
also includes items 15, 18, and 19
24G702 24G702 24G702 24G701 24G701 24G701 24G701 24G701 1
13 NUT, jam 195150 195150 195150 195150 195150 195150 195150 195150 1
15
‡
NIPPLE; 1/4 npsm x 1/4 npt; plated steel 162453 162453 162453 162453 162453 1
NIPPLE; 1/4 npsm x 1/4 npt; sst 166846 166846 166846 1
16 KIT, suction hose, 5 gal. (19 l);
3/8 in. (10 mm) OD; includes items 37 (qty
1), 38, and 42
24F148 24F148 24F148 24F148 24F148 24F148 1
17 NUT, hex; 7/16-20 Not sold separately. Order Tie Rod Kit, item 8. 3
18
‡
PIN, straight 196762 196762 196762 196762 196762 196762 196762 196762 1
19
‡
SPRING, retaining 196750 196750 196750 196750 196750 196750 196750 196750 1
20 AIR CONTROL ASSEMBLY; see page 36 24H162 24H163 24H163 24H164 24H165 24H162 24H163 24H163 1
21 ELBOW, swivel; 1/4 npt(m) x 3/8 in. (10
mm) OD tube
121141 121141 121141 121141 121141 121141 121141 121141 1
22 TUBE, polyurethane; 3/8 in. (10 mm) OD;
2 ft (0.61 m)
24H008 24H008 24H008 24H008 24H008 24H008 24H008 24H008 1
23 SCREW, ground 116343 116343 116343 116343 116343 116343 116343 116343 1
26 WIRE, grounding 238909 238909 238909 238909 238909 238909 238909 238909 1
28 THROAT SEAL LIQUID; 4 oz (not shown) 238049 238049 238049 238049 238049 238049 238049 238049 1
37 STRAINER, suction; 3/8 in. (10 mm) OD
tube; pack of 3
24F160 24F160 24F160 24F160 24F160 24F160 1
38 O-RING; fluoroelastomer 117559 117559 117559 117559 117559 117559 1
42 NUT, jam, suction 15E813 15E813 15E813 15E813 15E813 15E813 1
43 WASHER, lock; 1/4; part of stand kit (2)
--- --- --- --- ---
6
44* HOPPER, kit 17A493 17A493 1

Parts
28 3A0732J

Parts
3A0732J 29
Hose and Gun
★
Additional tip sizes are available. See manual 3A0149 for G15 and G40 AA Guns.
See tip manual 306686 for Silver Plus Airless Guns.
TI16230a
37
TI16231a
30
32
30
32
29
36 36
33
Air-Assisted Packages Airless Packages
Ref. No. Description
Package
Qty
24F150
24F151
24W281
24F152
24F153
24W287
24F154
24F155
24F156
24F157
24W285
24F158
24F159
24W283
29 HOSE, air, gun 241811 241811 241811 241811 1
30 GUN, air-assisted, G15; see 3A0149 24C853 24C853 1
GUN, air-assisted, G40; see 3A0149 24C855 24C855 1
GUN, airless; see 311254 235460 1
32 HOSE, fluid; 1/8 in. (3 mm) ID nylon;
1/4 npsm(f) plated steel couplings;
25 ft (7.6 m) long
24F165 24F165 24F165 1
HOSE, fluid; 1/8 in. (3 mm) ID nylon;
1/4 npsm(f) sst couplings; 25 ft (7.6 m)
long
24F166 24F166 1
33 CLIP, hose; pack of 7 24H005 24H005 24H005 24H005 7
36★TIP; G15, G40 AAF412 AAF412 AAF412 AAF412 1
TIP; airless 163515 1

Parts
3A0732J 31
Displacement Pump Parts
Part No. 24G701, Plated Steel
Part No. 24G702, Stainless Steel
‡
Included in Pump Lower Rebuild Kit. Order Kit 24H006 for Pump 24G701, or Kit 24G705 for Pump 24G702.
❖
Included in Intake Check Valve Kit 246429.
Ref. Description 24G701 24G702 Qty
102‡ BUTTON, plug --- --- 1
103 NUT, packing; plated steel 193047 1
NUT, packing; sst 24H161 1
104‡ O-RING; buna-N; 1.262 in. (32.05 mm) OD --- --- 1
105 CYLINDER, pump 243176 24G706 1
106‡ V-PACKING, throat; V-Max
™
UHMWPE --- --- 3
107‡ O-RING; PTFE; 1.254 in. (31.85 mm) OD --- --- 1
109❖GUIDE, ball 15C011 15C011 1
110 VALVE, intake housing; plated steel 15B611 1
VALVE, intake housing; sst 24H007 1
111‡
❖
O-RING; PTFE; 0.941 in. (23.90 mm) OD --- --- 1
112‡ GLAND, female, throat; acetal --- --- 1
113‡ V-PACKING, throat; leather --- --- 2
114‡ GLAND, male, throat; acetal --- --- 1
116‡
❖
BALL, intake; sst; 0.500 in. (13 mm) dia. 105445 105445 1
117❖SEAT, carbide 15A968 15A968 1
119 KIT, rod, displacement; Chromex
™
; includes item 124, and items 18 and 19
on page 25
24G703 24G704 1
120‡ BALL, piston; sst; 0.3125 in. (7.94 mm) dia. 105444 105444 1
121‡ GLAND, male, piston; plated steel --- 1
GLAND, male, piston; sst --- 1
122‡ GLAND, female, piston; plated steel --- 1
GLAND, female, piston; sst --- 1
123‡ WIPER, piston --- --- 1
124 VALVE, piston; plated steel Order
item 119
1
VALVE, piston; sst Order
item 119
1
125‡ V-PACKING, piston; leather --- --- 2
126‡ V-PACKING, piston; V-Max
™
UHMWPE --- --- 3

Parts
32 3A0732J
Air Motor Parts
Part No. 24G693, 2.5 in. (63.5 mm)
Part No. 24G694, 3.5 in. (88.9 mm), shown
TI16130a
201
215
214
213 211
202*
203
204*
219
209*◆†
208*
*207
205
206
210
212
220
*202
208*
211
213
*217
218
*207
*230
231

Parts
3A0732J 33
Air Motor Parts
Part No. 24G693, 2.5 in. (63.5 mm)
Part No. 24G694, 3.5 in. (88.9 mm), shown
▲
Replacement Danger and Warning labels, tags, and cards are available at no cost.
† Included in Air Valve Seal Kit 24A535. See page 35.
◆
Included in Air Valve Repair Kit 24A537. See page 35.
* Included in Air Motor Seal Kit:
Ref. Description 24G693 24G694 Qty
201 KIT, cover, bottom; includes 202 (qty 1),
203, 207, 213 (qty 1), and 217
24G695 24G696 1
202* O-RING, cover Not sold separately. See Air Motor Seal Kit (below), Bottom Cover Kit
(201, this table), or Top Cover Kit (210, this table)
2
203 BEARING Not sold separately. See Bottom Cover Kit (201, this table) 1
204* O-RING, piston Not sold separately. See Air Motor Seal Kit (below) or
Piston Kit (219, this table)
1
205 CYLINDER, motor 15M289 15M211 1
206▲COVER, cylinder (includes English
warning label)
15M302 15M212 1
207* SEAL, u-cup Not sold separately. See Air Motor Seal Kit (below) or
Bottom Cover Kit (201, this table)
2
208* GASKET, manifold Not sold separately. See Air Motor Seal Kit (below) or
Manifold Assembly (220, this table)
2
209*◆† GASKET, air valve Not sold separately. See Air Motor Seal Kit, Valve Repair Kit 24A537,
Valve Seal Kit 24A535 (below), or Manifold Assembly (220, this table)
1
210 KIT, cover, top; includes 202 and 213
(qty 1 of each). 15X353 also includes
230 and 231.
24H004 15X353 1
211 SCREW, M6 x 25 Not sold separately. See Manifold Assembly (220, this table) or
Air Valve Replacement Kit (page 35)
8
212 BOLT, tie, hex head 15M314 2
BOLT, tie, hex head 15M314 3
213 VALVE, pilot (pack of 2) 24A366 24A366 1
214 VALVE, air; includes items 209 and 211
(qty 4)
24A351 24A351 1
215 MUFFLER 15M213 15M213 1
217* RING, retaining Not sold separately. See Air Motor Seal Kit (below) or
Bottom Cover Kit (201, this table)
1
218 ROD, air motor Not sold separately. See Motor Piston Kit (219, this table) 1
219 KIT, piston, motor; includes 204 and
218, and 16G561 adhesive.
24G697 24G698 1
220 MANIFOLD, assembly, includes 208,
209, and 211 (qty. 4)
24A579 24A579 1
229▲LABEL, warning (French and
Spanish)
15W719 15W719 1
230* O-RING, top plug (24G694 only) Not sold separately. See Air Motor
Seal Kit (below)
1
231 PLUG, top cover (24G694 only) Not sold separately. See Top
Cover Kit (210, this table)
1
24G693
(2.5 in. Motor)
24G694
(3.5 in. Motor)
24G699 24G700

Parts
34 3A0732J
Air Valve Parts
✠
310
✠307
✠
307
†◆309
◆305
◆312
◆311
◆303
◆302
†◆308
†◆
308
301
◆304
✠310
ti16213a
†✠◆306
†✠◆306

Parts
3A0732J 35
Air Valve Parts
Complete Air Valve Replacement Kit 24A351
To replace the complete air valve, order Air Valve Replacement Kit 24A351. The kit includes items 301-312 below,
and items 209 and 211 on page 33.
Air Valve Repair Kits
Air valve parts are not sold individually. The table below shows possible kit options for each part.
† Included in Air Valve Seal Kit 24A535.
◆
Included in Air Valve Repair Kit 24A537.
✠
Included in Air Valve End Cap Kit 24A360.
Replacement screws (309) are available in a pack of 10. Order Kit 24A359.
Ref. Description
Qty
.
Air Valve
Repair Kit
24A537
Air Valve
Seal Kit
24A535
Air Valve
End Cap Kit
24A360
301 HOUSING 1
302◆AIR VALVE PISTON 1 ✔
303◆DETENT PISTON ASSEMBLY 1✔
304◆DETENT CAM 1 ✔
305◆PLATE, air valve 1✔
306†✠◆ O-RING 2 ✔✔✔
307✠CAP 2✔
308†◆U-CUP 2 ✔✔
309†◆SCREW 2✔ ✔
310✠SNAP RING 2 ✔✔
311◆DETENT SPRING 1✔
312◆CUP 1 ✔

Parts
36 3A0732J
Air Control Parts
TI16132a
404
420
401
402
403 402
405 404
407
408
409
410
411
412
413
Part of 402
1
Connect tubing (406) between these two fittings.
Used on stand mount units only.
1
2
1
Part No. 24H162, Air-Assisted, Wall Mount
Part No. 24H163, Air-Assisted, Stand Mount
Part No. 24H164, Airless, Wall Mount
Part No. 24H165, Airless, Stand Mount
TI16229a
420
402
405
404
407
409
410
411
412
413
1
1
Connect tubing (406) between these two fittings.
Used on stand mount units only.
1
2
401
418
418
418
2
2
2
421
422
422

Parts
3A0732J 37
Air Control Parts
Part No. 24H162, Air-Assisted, Wall Mount
Part No. 24H163, Air-Assisted, Stand Mount
Part No. 24H164, Airless, Wall Mount
Part No. 24H165, Airless, Stand Mount
Ref. Description 24H162 24H163 24H164 24H165 Qty
401 BRACKET, handle 24H105 24H105 24H105 24H105 1
402 REGULATOR, air 15T499 15T499 2
REGULATOR, air 15T499 15T499 1
403 TEE; 1/4 npt(m) 115219 115219 1
404 GAUGE, air pressure 108190 108190 2
GAUGE, air pressure 108190 108190 1
405 ELBOW, tube; 1/4 npt(f) x 3/8 in. (10 mm) OD tube C38161 C38161 1
FITTING, tube; 1/4 npt(m) x 3/8 in. (10 mm) OD tube 120389 120389 1
406 TUBE, polyurethane; 3/8 in. (10 mm) OD tube; 2 ft (0.61 m) 24H008 24H008 24H008 24H008 1
407 VALVE, ball, air; 3/8 npt(fbe) 114362 114362 114362 114362 1
408 NIPPLE; 1/4 npsm x 1/4 npt 162453 162453 1
409 ELBOW, swivel; 3/8 npt(m) x 3/8 in. (10 mm) OD tube 16F151 16F151 16F151 16F151 1
410 ELBOW; 1/4 npt(f) x 1/8 npt(m) 121150 121150 121150 121150 1
411 VALVE, safety relief; 110 psi 113498 113498 113498 113498 1
412 ELBOW, swivel; 1/4 npt(m) x 3/8 in. (10 mm) OD tube 121141 121141 121141 121141 1
413 NUT, regulator 115244 115244 2
NUT, regulator 115244 115244 1
418 ELBOW, street, 45°; 1/8 npt (mxf) 113630 2
ELBOW, street, 45°; 1/8 npt (mxf) 113630 1
420 SCREW, cap, button-hd; 10-24 x 3/8 in. (10 mm) 114381 114381 114381 114381 2
421 PLUG, panel 16F547 16F547 1
422 RING, grounding 24P812 24P812 24P812 24P812 1

Kits and Accessories
38 3A0732J
Kits and Accessories
Kit Description Part No.
Airless to Air-Assisted Conversion Kit 24F161
Inline Fluid Filter, stainless steel 24F271
Inline Fluid Filter, aluminum 24F272
Standard Suction Hose, 5 gal. (19 l), 3/8 in. (10 mm) OD 24F148
Suction Hose, 5 gal. (19 l), 5/8 in. (16 mm) OD 24F149
Suction Tube, 1 gal. (3.8 l), 11/32 in. (9 mm) OD 24F147
Standard Push-on Strainer Kit 24F160
Screw-on Strainer Kit (for 24F149 5/8 in. Suction Hose Kit) 256426
Air Gauge Lens Cover Kit (sheet of 12 covers) 193199
Throat Seal Liquid (TSL); 4 oz (118 ml) 238049
Throat Seal Liquid (TSL); 8 oz (236 ml) 206994
Alternate U-Cup Pump Packing Kit (UHMWPE) 24H665
Hopper Kit 17A493
Hopper Screens (Pack of 5) 17B207
Hopper O-Ring Kit 17B208
Hopper Bungee Cord Kit 17C166

Package Dimensions
3A0732J 39
Package Dimensions
Package Weights
Package
A, inch
(mm)
B, inch
(mm)
C
inch (mm)
D
inch (mm)
Wall Mount 20.2 (513)
Stand Mount 29.0 (737) 17.4 (442) 18.4 (467)
Stand Mount
with Hopper
29.0 (737) 17.4 (442) 26.5 (673)
ti16287a
A
B
ti16288a
C
D
Front View Top View
Package Description lb kg
24F150 15:1 plated steel, AA, wall 20 9
24F151 15:1 plated steel, AA, stand 23 10
24F152 30:1 stainless steel, AA, wall 23 10
24F153 30:1 stainless steel, AA, stand 26 12
24F154 30:1 plated steel, airless, wall 22 10
24F155 30:1 plated steel, airless, stand 25 11
24F156 30:1 plated steel, AA, wall 23 10
24F157 30:1 plated steel, AA, stand 26 12
24F158 15:1 stainless steel, AA, wall 20 9
24F159 15:1 stainless steel, AA, stand 23 10
24W281 15:1 plated steel, AA, stand, hopper 32 15
24W283 15:1 stainless steel, AA, stand,
hopper
32 15
24W285 30:1 plated steel, AA, stand, hopper 35 16
24W287 30:1 stainless steel, AA, stand,
hopper
35 16
Package Description lb kg

Wall Bracket Mounting Hole Diagram
40 3A0732J
Wall Bracket Mounting Hole Diagram
2 x 0.281 (9/32) in. (7 mm).
For wall mount only.
TI16289a
4.40 in. (112 mm)
2 x 0.312 (5/16) in. (8 mm).
For wall mount or to attach
stand to bracket.
5.10 in. (130 mm)
2.69 in.
(68 mm)
2 x 0.48 in.
(12 mm)
2 x 0.62 in.
(16 mm)
2 x 0.35 in.
(9 mm)
Technical Data
3A0732J 41
Technical Data
* Sound power at 70 psi (0.48 MPa, 4.8 bar), 80 cpm. Sound power measured per ISO-9614-2.
** Sound pressure was tested 3.28 feet (1 m) from equipment.
Maximum fluid working pressure
15:1 Pumps. . . . . . . . . . . . . . . . . . . . . . . . . . . .
30:1 Pumps. . . . . . . . . . . . . . . . . . . . . . . . . . . .
1500 psi (10.3 MPa, 103 bar)
3000 psi (20.7 MPa, 207 bar)
Maximum air inlet pressure . . . . . . . . . . . . . . . . . . . 100 psi (0.7 MPa, 7.0 bar)
Ratio . . . . . . . . . . . . . . . . . . . . . . . . . . . . . . . . . . . . 15:1 or 30:1 (see Models, page 3)
Maximum fluid temperature. . . . . . . . . . . . . . . . . . . 160°F, 71°C
Ambient air temperature range . . . . . . . . . . . . . . . . 35-120°F, 2-49°C
Package air inlet size . . . . . . . . . . . . . . . . . . . . . . . 3/8 npt(f)
Package fluid outlet size . . . . . . . . . . . . . . . . . . . . . 1/4 npsm(m)
Maximum motor speed . . . . . . . . . . . . . . . . . . . . . .
(Do not exceed maximum recommended speed of
fluid pump, to prevent premature pump wear.)
240 cycles per minute
Maximum spray tip orifice size . . . . . . . . . . . . . . . . .019 in. (0.483 mm)
Sound data
24G693 Air Motor
Sound power* . . . . . . . . . . . . . . . . . . . . . . .
Sound pressure**. . . . . . . . . . . . . . . . . . . . .
83.2 dBA
76.5 dBA
24G694 Air Motor
Sound power* . . . . . . . . . . . . . . . . . . . . . . .
Sound pressure**. . . . . . . . . . . . . . . . . . . . .
84.5 dBA
77.9 dBA
Wetted parts
Plated steel pumps . . . . . . . . . . . . . . . . . . . . . . Stainless steel, nickel plated carbon steel, tungsten
carbide, ptfe, acetal, leather, ultra-high molecular
weight polyethylene
Stainless steel pumps . . . . . . . . . . . . . . . . . . . . Stainless steel, tungsten carbide, ptfe, acetal,
leather, ultra-high molecular weight polyethylene
Spray guns . . . . . . . . . . . . . . . . . . . . . . . . . . . . . See manual 3A0149 (G15 and G40 AA guns) or
311254 (Silver Plus airless gun)
Fluid hose. . . . . . . . . . . . . . . . . . . . . . . . . . . . . . Nylon, plated or stainless steel
Suction assembly . . . . . . . . . . . . . . . . . . . . . . . . Stainless steel, nylon, acetal, fluoroelastomer,
polyethylene

Performance Charts
42 3A0732J
Performance Charts
15:1 Ratio Pumps
A = 100 psi (0.7 MPa, 7 bar)
B = 70 psi (0.5 MPa, 5 bar)
C = 40 psi (0.3 MPa, 3 bar)
= fluid flow
= air flow
A
B
C
A
B
C
30 60 90 120 150 180 210
Cycles per Minute
Air Flow scfm (m
3
/min)
Fluid Outlet Pressure psi (MPa, bar)
Fluid Flow gpm (lpm) tested in No. 10 weight oil
KEY
240
10.5
(0.3)
1400
(10, 100)
0.05
(0.2)
9.0
(0.25)
7.5
(0.2)
6.0
(0.17)
4.5
(0.13)
3.0
(0.08)
1.5
(0.04)
0.15
(0.6)
0.10
(0.4)
0.20
(0.75)
0.25
(0.9)
0.30
(1.1)
0.35
(1.3)
0.40
(1.5)
1200
(8, 80)
1000
(7, 70)
800
(5.5, 55)
600
(4, 40)
400
(3, 30)
200
(1.4, 14)
0
0

Performance Charts
3A0732J 43
30:1 Ratio Pumps
A = 100 psi (0.7 MPa, 7 bar)
B = 70 psi (0.5 MPa, 5 bar)
C = 40 psi (0.3 MPa, 3 bar)
= fluid flow
= air flow
A
B
C
A
B
C
Cycles per Minute
Air Flow scfm (m
3
/min)
Fluid Outlet Pressure psi (MPa, bar)
Fluid Flow gpm (lpm) tested in No. 10 weight oil
KEY
30 60 90 120 150 180 210 240
0.05
(0.2)
0.15
(0.6)
0.10
(0.4)
0.20
(0.75)
0.25
(0.9)
0.30
(1.1)
0.35
(1.3)
0.40
(1.5)
0
18.0
(0.5)
3000
(21, 210)
9.0
(0.25)
15
(0.42)
12.0
(0.34)
6.0
(0.17)
3.0
(0.08)
2500
(17.5, 175)
2000
(14, 140)
1500
(10.5, 105)
1000
(7, 70)
500
(3.5, 35)
0

All written and visual data contained in this document reflects the latest product information available at the time of publication.
Graco reserves the right to make changes at any time without notice.
This manual contains English. MM 3A0732
Graco Headquarters: Minneapolis
International Offices: Belgium, China, Japan, Korea
GRACO INC. AND SUBSIDIARIES • P.O. BOX 1441 • MINNEAPOLIS MN 55440-1441 • USA
Copyright 2010, Graco Inc. All Graco manufacturing locations are registered to ISO 9001.
www.graco.com
Revision G - July 2014
Graco Standard Warranty
Graco warrants all equipment referenced in this document which is manufactured by Graco and bearing its name to be free from defects in
material and workmanship on the date of sale to the original purchaser for use. With the exception of any special, extended, or limited warranty
published by Graco, Graco will, for a period of twelve months from the date of sale, repair or replace any part of the equipment determined by
Graco to be defective. This warranty applies only when the equipment is installed, operated and maintained in accordance with Graco’s written
recommendations.
This warranty does not cover, and Graco shall not be liable for general wear and tear, or any malfunction, damage or wear caused by faulty
installation, misapplication, abrasion, corrosion, inadequate or improper maintenance, negligence, accident, tampering, or substitution of
non-Graco component parts. Nor shall Graco be liable for malfunction, damage or wear caused by the incompatibility of Graco equipment with
structures, accessories, equipment or materials not supplied by Graco, or the improper design, manufacture, installation, operation or
maintenance of structures, accessories, equipment or materials not supplied by Graco.
This warranty is conditioned upon the prepaid return of the equipment claimed to be defective to an authorized Graco distributor for verification of
the claimed defect. If the claimed defect is verified, Graco will repair or replace free of charge any defective parts. The equipment will be returned
to the original purchaser transportation prepaid. If inspection of the equipment does not disclose any defect in material or workmanship, repairs
will be made at a reasonable charge, which charges may include the costs of parts, labor, and transportation.
THIS WARRANTY IS EXCLUSIVE, AND IS IN LIEU OF ANY OTHER WARRANTIES, EXPRESS OR IMPLIED, INCLUDING BUT NOT
LIMITED TO WARRANTY OF MERCHANTABILITY OR WARRANTY OF FITNESS FOR A PARTICULAR PURPOSE.
Graco’s sole obligation and buyer’s sole remedy for any breach of warranty shall be as set forth above. The buyer agrees that no other remedy
(including, but not limited to, incidental or consequential damages for lost profits, lost sales, injury to person or property, or any other incidental or
consequential loss) shall be available. Any action for breach of warranty must be brought within two (2) years of the date of sale.
GRACO MAKES NO WARRANTY, AND DISCLAIMS ALL IMPLIED WARRANTIES OF MERCHANTABILITY AND FITNESS FOR A
PARTICULAR PURPOSE, IN CONNECTION WITH ACCESSORIES, EQUIPMENT, MATERIALS OR COMPONENTS SOLD BUT NOT
MANUFACTURED BY GRACO. These items sold, but not manufactured by Graco (such as electric motors, switches, hose, etc.), are subject to
the warranty, if any, of their manufacturer. Graco will provide purchaser with reasonable assistance in making any claim for breach of these
warranties.
In no event will Graco be liable for indirect, incidental, special or consequential damages resulting from Graco supplying equipment hereunder, or
the furnishing, performance, or use of any products or other goods sold hereto, whether due to a breach of contract, breach of warranty, the
negligence of Graco, or otherwise.
FOR GRACO CANADA CUSTOMERS
The Parties acknowledge that they have required that the present document, as well as all documents, notices and legal proceedings entered into,
given or instituted pursuant hereto or relating directly or indirectly hereto, be drawn up in English. Les parties reconnaissent avoir convenu que la
rédaction du présente document sera en Anglais, ainsi que tous documents, avis et procédures judiciaires exécutés, donnés ou intentés, à la suite
de ou en rapport, directement ou indirectement, avec les procédures concernées.
Graco Information
For the latest information about Graco products, visit www.graco.com.
For patent information, see www.graco.com/patents.
TO PLACE AN ORDER,
contact your Graco distributor or call to identify the nearest distributor.
Phone: 612-623-6921 or Toll Free: 1-800-328-0211 Fax: 612-378-3505