Graco 3A1450D President 4 Ball Pumps Users Manual 3A1450D, Instruction Parts Manual, Pumps, English
3A1450D to the manual d6080679-274f-4223-b2b5-31d993404499
2015-04-02
: Graco Graco-3A1450D-President-4-Ball-Pumps-Users-Manual-686385 graco-3a1450d-president-4-ball-pumps-users-manual-686385 graco pdf
Open the PDF directly: View PDF
.
Page Count: 20

II 2 G
c IIB T3
Instructions - Parts List
President® 4-Ball
Pumps 3A1450D
EN
Air-powered pumps for low pressure, high volume circulation of finishing materials.
Do not use for flushing or purging lines with caustics, acids, abrasive line strippers, and
other similar fluids. For professional use only.
See page 2 for model information, including
maximum working pressure.
Important Safety Instructions
Read all warnings and instructions in this
manual. Save these instructions.
TI16614a

Models
23A1450D
Contents
Models . . . . . . . . . . . . . . . . . . . . . . . . . . . . . . . . . . . 2
Related Manuals . . . . . . . . . . . . . . . . . . . . . . . . . . . 2
Warnings . . . . . . . . . . . . . . . . . . . . . . . . . . . . . . . . . 3
Installation . . . . . . . . . . . . . . . . . . . . . . . . . . . . . . . . 5
Grounding . . . . . . . . . . . . . . . . . . . . . . . . . . . . . . 5
Stand Mount . . . . . . . . . . . . . . . . . . . . . . . . . . . . 5
Wall Mount . . . . . . . . . . . . . . . . . . . . . . . . . . . . . 5
Plumbing . . . . . . . . . . . . . . . . . . . . . . . . . . . . . . . 6
Flush Before Using Equipment . . . . . . . . . . . . . . 6
Accessories . . . . . . . . . . . . . . . . . . . . . . . . . . . . . 6
Operation . . . . . . . . . . . . . . . . . . . . . . . . . . . . . . . . . 8
Pressure Relief Procedure . . . . . . . . . . . . . . . . . 8
Prime the Pump . . . . . . . . . . . . . . . . . . . . . . . . . 8
Stop the Pump at the Bottom of Its Stroke . . . . . 8
Shutdown . . . . . . . . . . . . . . . . . . . . . . . . . . . . . . 8
Maintenance . . . . . . . . . . . . . . . . . . . . . . . . . . . . . . . 9
Preventive Maintenance Schedule . . . . . . . . . . . 9
Flushing . . . . . . . . . . . . . . . . . . . . . . . . . . . . . . . . 9
Air Line Filter . . . . . . . . . . . . . . . . . . . . . . . . . . . . 9
Mix Tank Volume . . . . . . . . . . . . . . . . . . . . . . . . . 9
Stall Test . . . . . . . . . . . . . . . . . . . . . . . . . . . . . . . 9
Changing the TSL . . . . . . . . . . . . . . . . . . . . . . . 10
Troubleshooting . . . . . . . . . . . . . . . . . . . . . . . . . . . 11
Repair . . . . . . . . . . . . . . . . . . . . . . . . . . . . . . . . . . . 12
Disassembly . . . . . . . . . . . . . . . . . . . . . . . . . . . 12
Reassembly . . . . . . . . . . . . . . . . . . . . . . . . . . . . 12
Reassemble the Coupling Adapter and
Tie Rods to the Motor . . . . . . . . . . . . . . . . . 13
Parts . . . . . . . . . . . . . . . . . . . . . . . . . . . . . . . . . . . . 15
Dimensions . . . . . . . . . . . . . . . . . . . . . . . . . . . . . . . 16
Mounting Hole Layouts . . . . . . . . . . . . . . . . . . . . . 17
Performance Charts . . . . . . . . . . . . . . . . . . . . . . . . 18
Technical Data . . . . . . . . . . . . . . . . . . . . . . . . . . . . 19
Graco Standard Warranty . . . . . . . . . . . . . . . . . . . 20
Graco Information . . . . . . . . . . . . . . . . . . . . . . . . . 20
Models
Related Manuals
Model No. Series
Pump
Length
Maximum Fluid
Working Pressure
psi (MPa, bar)
Maximum Air Inlet
Pressure
psi (MPa, bar) Ratio Lower Size
Connection
Style Material
24H627 A standard 460 (3.2, 32.0) 150 (1.0, 10) 3:1 750cc npt cst
24H628 A standard 460 (3.2, 32.0) 150 (1.0, 10) 3:1 750cc npt sst
24H629 A standard 460 (3.2, 32.0) 180 (1.2, 12) 2:1 1000cc npt sst
24H997 A standard 460 (3.2, 32.0) 180 (1.2, 12) 2:1 1000cc npt cst
24J074 A stubby 460 (3.2, 32.0) 150 (1.0, 10) 3:1 750cc npt cst
24J075 A stubby 460 (3.2, 32.0) 150 (1.0, 10) 3:1 750cc npt sst
Part No. Description
306982 President Air Motor manual
3A0539 4-Ball Lower manual

Warnings
3A1450D 3
Warnings
The following warnings are for the setup, use, grounding, maintenance, and repair of this equipment. The exclama-
tion point symbol alerts you to a general warning and the hazard symbols refer to procedure-specific risks. When
these symbols appear in the body of this manual, refer back to these Warnings. Product-specific hazard symbols and
warnings not covered in this section may appear throughout the body of this manual where applicable.
WARNINGWARNINGWARNING
WARNING
FIRE AND EXPLOSION HAZARD
Flammable fumes, such as solvent and paint fumes, in work area can ignite or explode. To help prevent
fire and explosion:
• Use equipment only in well ventilated area.
• Eliminate all ignition sources; such as pilot lights, cigarettes, portable electric lamps, and plastic drop
cloths (potential static arc).
• Keep work area free of debris, including solvent, rags and gasoline.
• Do not plug or unplug power cords, or turn power or light switches on or off when flammable fumes are
present.
• Ground all equipment in the work area. See Grounding instructions.
• Use only grounded hoses.
• Hold gun firmly to side of grounded pail when triggering into pail.
• If there is static sparking or you feel a shock, stop operation immediately. Do not use equipment until
you identify and correct the problem.
• Keep a working fire extinguisher in the work area.
Static charge may build up on plastic parts during cleaning and could discharge and ignite flammable
vapors. To help prevent fire and explosion:
• Clean plastic parts only in a well ventilated area.
• Do not clean with a dry cloth.
• Do not operate electrostatic guns in equipment work area.
PRESSURIZED EQUIPMENT HAZARD
Fluid from the gun/dispense valve, leaks, or ruptured components can splash in the eyes or on skin and
cause serious injury.
• Follow the Pressure Relief Procedure when you stop spraying and before cleaning, checking, or
servicing equipment.
• Tighten all fluid connections before operating the equipment.
• Check hoses, tubes, and couplings daily. Replace worn or damaged parts immediately.
TOXIC FLUID OR FUMES HAZARD
Toxic fluids or fumes can cause serious injury or death if splashed in the eyes or on skin, inhaled, or
swallowed.
• Read MSDSs to know the specific hazards of the fluids you are using.
• Store hazardous fluid in approved containers, and dispose of it according to applicable guidelines.

Warnings
43A1450D
PERSONAL PROTECTIVE EQUIPMENT
You must wear appropriate protective equipment when operating, servicing, or when in the operating area
of the equipment to help protect you from serious injury, including eye injury, hearing loss, inhalation of
toxic fumes, and burns. This equipment includes but is not limited to:
• Protective eyewear, and hearing protection.
• Respirators, protective clothing, and gloves as recommended by the fluid and solvent manufacturer.
EQUIPMENT MISUSE HAZARD
Misuse can cause death or serious injury.
• Do not operate the unit when fatigued or under the influence of drugs or alcohol.
• Do not exceed the maximum working pressure or temperature rating of the lowest rated system
component. See Technical Data in all equipment manuals.
• Use fluids and solvents that are compatible with equipment wetted parts. See Technical Data in all
equipment manuals. Read fluid and solvent manufacturer’s warnings. For complete information about
your material, request MSDS from distributor or retailer.
• Do not leave the work area while equipment is energized or under pressure. Turn off all equipment and
follow the Pressure Relief Procedure when equipment is not in use.
• Check equipment daily. Repair or replace worn or damaged parts immediately with genuine
manufacturer’s replacement parts only.
• Do not alter or modify equipment.
• Use equipment only for its intended purpose. Call your distributor for information.
• Route hoses and cables away from traffic areas, sharp edges, moving parts, and hot surfaces.
• Do not kink or over bend hoses or use hoses to pull equipment.
• Keep children and animals away from work area.
• Comply with all applicable safety regulations.
MOVING PARTS HAZARD
Moving parts can pinch, cut or amputate fingers and other body parts.
• Keep clear of moving parts.
• Do not operate equipment with protective guards or covers removed.
• Pressurized equipment can start without warning. Before checking, moving, or servicing equipment,
follow the Pressure Relief Procedure and disconnect all power sources.
WARNINGWARNINGWARNING
WARNING

Installation
3A1450D 5
Installation
Grounding
Pump: use a ground wire and clamp (Y). See FIG. 1.
Loosen the grounding lug locknut (W) and washer.
Insert one end of the ground wire into the slot in the lug
and tighten the locknut securely. Connect the ground
clamp to a true earth ground. Order Part No. 237569,
Ground Wire and Clamp.
Air and fluid hoses: use only electrically conductive
hoses with a maximum of 500 ft. (150 m) combined
hose length to ensure grounding continuity. Check the
electrical resistance of hoses. If total resistance to
ground exceeds 25 megohms, replace hose immedi-
ately.
Air compressor: follow manufacturer’s recommenda-
tions.
Surge tank: use a ground wire and clamp.
Dispense valve: ground through a connection to a
properly grounded fluid hose and pump.
Fluid supply container: follow local code.
Object being sprayed: follow local code.
Solvent pails used when flushing: follow local code.
Use only conductive metal pails, placed on a grounded
surface. Do not place the pail on a nonconductive sur-
face, such as paper or cardboard, which interrupts
grounding continuity.
To maintain grounding continuity when flushing or
relieving pressure: hold metal part of the spray gun
firmly to the side of a grounded metal pail, then trigger
the gun.
Stand Mount
Order Part No. 253692 Pump Stand Kit (accessory).
Mount the pump in the pump stand and secure with the
four screws and lockwashers supplied in the kit.
See Mounting Hole Layouts on page 17. Secure the
stand to the floor with M19 (5/8 in.) bolts which engage
at least 152 mm (6 in.) into the concrete floor to prevent
the pump from tipping.
Wall Mount
Order Part No. 255143 Wall Bracket Kit (accessory).
1. Ensure the wall is strong enough to support the
weight of the pump assembly and accessories, fluid,
hoses, and stress caused during pump operation.
2. Ensure that the mounting location has sufficient
clearance for easy operator access.
3. Position the wall bracket at a convenient height,
ensuring that there is sufficient clearance for the
fluid suction line and for servicing the lower.
4. Drill four 7/16 in. (11 mm) holes using the bracket as
a template. Use either of the two mounting hole
groupings in the bracket. See Mounting Hole Lay-
outs, page 17.
5. Bolt the bracket securely to the wall using bolts and
washers designed to hold in the wall’s construction.
6. Attach the pump assembly to the mounting bracket.
7. Connect air and fluid hoses.
The equipment must be grounded. Grounding
reduces the risk of static and electric shock by
providing an escape wire for the electrical current
due to static build up or in the event of a short circuit.
FIG. 1. Ground Wire
TI0720a
W
Y

Installation
63A1450D
Plumbing
See FIG. 2. Install a fluid shutoff valve (D) between the
mix tank (A) and the pump.
When using a stainless steel pump, use stainless steel
plumbing to maintain a corrosion-resistant system.
Flush Before Using Equipment
The equipment was tested with lightweight oil, which is
left in the fluid passages to protect parts. To avoid con-
taminating your fluid with oil, flush the equipment with a
compatible solvent before using the equipment. See
Flushing, page 9.
Accessories
Install the following accessories in the order shown in
FIG. 2, using adapters as necessary.
Air Line
•Bleed-type master air valve (M): required in your
system to relieve air trapped between it and the air
motor when the valve is closed.
•Pump air regulator (L): to control pump speed and
outlet pressure. Locate close to the pump.
•Air line filter (K): removes harmful dirt and mois-
ture from compressed air supply.
•Second bleed-type air valve (H): isolates air line
accessories for servicing. Locate upstream from all
other air line accessories.
Fluid Line
•Fluid filter: with a 60 mesh (250 micron) stainless
steel element to filter particles from the fluid as it
leaves the pump.
•Fluid drain valve (N): required in your system, to
relieve fluid pressure in the hose and gun.
•Fluid shutoff valve (D): shuts off fluid flow.
Trapped air can cause the pump to cycle unexpect-
edly, which could result in serious injury from splash-
ing or moving parts. Be sure the valve is easily
accessible from the pump and located downstream
from the air regulator. Be sure the air bleed hole
points away from the operator.
To help prevent fluid overpressurization, do not
exceed the maximum air inlet pressure rating to the
air motor (see page 2). If you can apply more than
the maximum air input pressure to the system, install
a safety relief valve between the bleed-type master
air valve and the air motor. The safety relief valve
must be set to open if the air inlet pressure to the
motor exceeds the motor rating.

Installation
3A1450D 7
Key:
AMix Tank
B 255143 Wall Bracket Accessory (253692 Pump Stand
Accessory is also available)
C Fluid Supply Line; 1-1/2 in. (38 mm) minimum diameter
D Fluid Shutoff Valve
E Fluid Line
F Surge Tank Stand
G Surge Tank
H Air Shutoff Valve (bleed-type)
J Air Supply Line
K Air Line Filter
L Air Regulator and Gauge
M Bleed-Type Master Air Valve
N Fluid Drain Valve
P Air Line Drain Valve
Y Pump Ground Wire (required see page 5 for installation)
FIG. 2. Typical Installation
TI16616a
A
B
F
G DD
H
M
KL
N
DC
E
P
J
Y
J
N

Operation
83A1450D
Operation
Pressure Relief Procedure
1. Close the bleed-type master air valve (M).
2. Open the dispensing valve, if used.
3. Open all fluid drain valves (N) in the system, having
a waste container ready to catch drainage. Leave
drain valve(s) open until you are ready to pump
again.
Prime the Pump
1. Fill the TSL reservoir to the Maximum fill line with
Throat Seal Liquid (TSL). See FIG. 3 on page 10.
NOTE: During operation the TSL level in the reservoir
will fluctuate slightly at pump changeover.
2. Close pump air regulator (L) by turning knob coun-
terclockwise reducing pressure to zero. Close
bleed-type air valve (M). Also verify that all drain
valves (N) are closed.
3. Connect air line (J) to bleed type air valve (M).
4. Check that all fittings throughout system are tight-
ened securely.
5. Connect the fluid supply line (C) from the mix tank
shutoff valve (D) to the pump.
6. Connect the fluid line (E) to the pump outlet.
7. Open bleed-type air valve (M). Slowly turn pump air
regulator (L) clockwise, increasing pressure until
pump starts.
8. Cycle pump slowly until all air is pushed out and
pump and hoses are fully primed.
9. Verify that pump actuations are priming the pump
wet-cup. If not, confirm that the TSL pump piston is
being depressed at bottom changeover, and that
reservoir check valves are not stuck closed.
10. Close the fluid shutoff valve (D) downstream of the
pump. The pump should stall against pressure.
NOTE: In a circulation system, the pump operates con-
tinuously until the power supply is shut off. In a
direct-supply system, the pump starts when the dis-
pense valve is opened, and stops when the dispense
valve is closed.
Stop the Pump at the Bottom of
Its Stroke
Relieve the pressure when you stop the pump for any
reason. Stop the pump on the downstroke, before the air
motor changes over.
Shutdown
Follow Pressure Relief Procedure, page 8.
Always flush the pump before the fluid dries on the dis-
placement rod. See Flushing on page 9.
NOTICE
Failure to stop the pump at the bottom of its stroke
allows fluid to dry on the piston rod, which can dam-
age the throat packings and the TSL pump piston seal
when the pump is restarted.

Maintenance
3A1450D 9
Maintenance
Preventive Maintenance
Schedule
The operating conditions of your particular system
determine how often maintenance is required. Establish
a preventive maintenance schedule by recording when
and what kind of maintenance is needed, and then
determine a regular schedule for checking your system.
Your maintenance schedule should include the follow-
ing:
Flushing
• Flush before changing colors, before fluid can dry in
the equipment, at the end of the day, before storing,
and before repairing equipment.
• Flush at the lowest pressure possible. Check con-
nectors for leaks and tighten as necessary.
• Flush with a fluid that is compatible with the fluid
being dispensed and the equipment wetted parts.
Air Line Filter
Drain and clean as necessary.
Mix Tank Volume
Do not let the mix tank run dry. When the tank is empty,
the pump demands more power as it tries to suck in
some fluid. This causes the pump to run too fast, which
can seriously damage the pump.
Stall Test
Perform a stall test periodically to ensure the piston seal
is in good working condition and prevent system over-
pressurization:
Close the fluid shutoff valve (D) closest to the pump on
the downstroke and be sure that the pump stalls. Open
the fluid shutoff valve to restart the pump. Close the fluid
shutoff valve (D) closest to the pump on the upstroke
and be sure that the pump stalls.
NOTICE
Do not allow the pump to run quickly for a long period
of time as this may damage the packings.

Maintenance
10 3A1450D
Changing the TSL
Check the condition of the TSL and the level in the res-
ervoir every week, minimum. TSL should be changed at
least every month.
Part No. 206995 Throat Seal Liquid (TSL) carries resi-
due from the pump rod into the reservoir. Discoloration
of the TSL fluid is to be expected during normal opera-
tion. After some time the TSL will thicken and darken,
and must be replaced. Thick, dirty TSL will not pump
through the lines and will harden in the pump wet-cup.
How long TSL lasts depends on which chemicals are
used, how much is used, what pressure, and condition
of the pump seal and rod.
A drop in the level of TSL in the reservoir indicates that
the throat packings are starting to wear. Add TSL to the
reservoir and keep the level above the Minimum fill line.
Monitor the usage and condition of the TSL. If pumped
material bypasses the throat packings and enters the
TSL reservoir, replace the packings.
To change the TSL:
1. Shut off the pump.
2. Remove and empty the reservoir bottle. Clean any
residue.
3. Clean screen (Z) of inlet check valve (VI). If check
valves are not sealing and dirty TSL is getting into
the wet-cup, replace the check valves (VI, VO). See
FIG. 3.
4. Fill the reservoir to the Maximum fill line with Throat
Seal Liquid (TSL).
5. Run pump. Each time pump rod reaches bottom of
stroke, check that some TSL is pumped from reser-
voir through wet-cup and back to reservoir.
To avoid the buildup of static charge, do not rub the
plastic bottle with a dry cloth while it is attached to the
pump. Remove the bottle to clean, if needed.
FIG. 3. Cutaway of TSL Reservoir, and Fill Lines
TI15853b
VO
VI
Z
TI15857
Maximum Fill Line
Minimum Fill Line

Troubleshooting
3A1450D 11
Troubleshooting
Problem Cause Solution
Pump output low on both strokes. Restricted air supply lines. Clear any obstructions; be sure all shutoff
valves are open; increase pressure, but
do not exceed maximum working pres-
sure.
Exhausted fluid supply. Refill and reprime pump.
Clogged fluid outlet line, valves, etc. Clear.
Worn piston packing. Replace. See lower manual.
Pump output low on only one stroke. Held open or worn ball check valves. Check and repair.
Worn piston packings. Replace. See lower manual.
No output. Improperly installed ball check valves. Check and repair.
Pump operates erratically. Exhausted fluid supply. Refill and reprime pump.
Held open or worn ball check valves. Check and repair.
Worn piston packing. Replace. See lower manual.
Pump will not operate. Restricted air supply lines. Clear any obstructions; be sure all shut
off valves are open; increase pressure,
but do not exceed maximum working
pressure.
Exhausted fluid supply. Refill and reprime pump.
Clogged fluid outlet line, valves, etc. Clear.
Damaged air motor. See air motor manual.
Fluid dried on piston rod. Disassemble and clean pump. See lower
manual. In future, stop pump at bottom of
stroke.
TSL pump not pumping TSL fluid. Plugged manifold. Clear the manifold. Verify that the mani-
fold is clear by blowing compressed air
through the opening.
Plugged check valves. Clear obstruction in check valves.
Plugged inlet strainer. Clear strainer mesh.
Damaged TSL pump piston. Replace TSL pump piston.

Repair
12 3A1450D
Repair
Disassembly
1. Relieve the pressure, see Pressure Relief Proce-
dure page 8.
2. Disconnect the hoses from the lower and plug the
ends to prevent fluid contamination.
3. See FIG. 4. Remove the 2-piece shield (109) by
inserting a screwdriver straight into the slot, and
using it as a lever to release the tab. Repeat for all
tabs. Do not use the screwdriver to pry the shields
apart.
4. Loosen the coupling nut (110) and remove the col-
lars (111). Remove the coupling nut from the piston
rod (R). Unscrew the locknuts (105) from the tie
rods (104). Separate the motor (101) and lower
(102). See FIG. 5.
5. To repair the air motor or lower, see the separate
manuals listed under Related Manuals on page 2.
Reassembly
NOTE: If the coupling adapter (108) and tie rods (104)
have been disassembled from the motor, see Reassem-
ble the Coupling Adapter and Tie Rods to the Motor
on page 13.
1. See FIG. 5. Assemble the coupling nut (110) to the
piston rod (R).
2. Orient the lower (102) to the motor (101). Position
the lower on the tie rods (104). Lubricate the
threads of the tie rods. Screw the tie rod locknuts
(105) onto the tie rods. Tighten the locknuts and
torque to 50-55 ft-lb (68-75 N•m).
3. Insert the collars (111) into the coupling nut (110).
Tighten the coupling nut onto the coupling adapter
(108) and torque to 75-80 ft-lb (102-109 N•m).
4. See FIG. 4. Install the shields (109) by engaging the
bottom lips with the groove in the wet-cup cap. Snap
the two shields together.
5. Flush and test the pump before reinstalling it in the
system. Connect hoses and flush the pump. While it
is pressurized, check for smooth operation and
leaks. Adjust or repair as necessary before reinstall-
ing in the system. Reconnect the pump ground wire
before operating.
FIG. 4. Disassembly and Reassembly of the Shields
ti15759a
Shield Disassembly
ti15770a
ti15757a
ti15758a
Shield Reassembly

Repair
3A1450D 13
Reassemble the Coupling
Adapter and Tie Rods to the
Motor
NOTE: Use this procedure only if the coupling adapter
(108) and tie rods (104) have been disassembled from
the motor, to ensure proper alignment of the motor shaft
to the piston rod (R).
1. See FIG. 5. Screw the tie rods (104) into the motor
(101) and torque to 50-55 ft-lb (68-75 N•m).
2. Fill the cavity in the bottom of the motor shaft with
grease. Lubricate the threads of the coupling
adapter (105). Screw the adapter into the motor
shaft and install the pin (106).
3. Assemble the coupling nut (110) to the piston rod
(R).
4. Orient the lower (102) to the motor (101). Position
the lower on the tie rods (104). Lubricate the
threads of the tie rods. Screw the tie rod locknuts
(105) onto the tie rods. Tighten the locknuts and
torque to 50-55 ft-lb (68-75 N•m).
5. Insert the collars (111) into the coupling nut (110).
Tighten the coupling nut onto the coupling adapter
(108) and torque to 75-80 ft-lb (102-109 N•m).
FIG. 5. Reassembly
Torque to 75-80 ft-lb (102-109 N•m).
Torque to 50-55 ft-lb (68-75 N•m).
Apply lubricant.
Torque to 15-17 ft-lb (20-23 N•m).
1
2
3
4
2
3
1
101
109
102
108
TI16615a
103
111
104
105
110
106
113
112
2
4
3
R

Repair
14 3A1450D

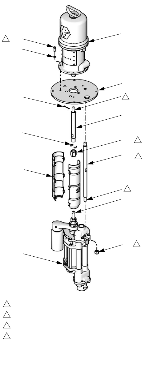
Parts
3A1450D 15
Parts
24H627 3:1 Ratio Pump with 750cc CST Lower
24H628 3:1 Ratio Pump with 750cc SST Lower
24H629 2:1 Ratio Pump with 1000cc SST Lower
24H997 2:1 Ratio Pump with 1000cc CST Lower
24J074 3:1 Ratio Pump (stubby size) with 750cc CST Lower
24J075 3:1 Ratio Pump (stubby size) with 750cc SST Lower
101
109
102
108
TI16615a
103
111
104
105
110
106
113
112
Ref.
No. Part No. Description Qty.
101 205038 MOTOR, air, President; see man-
ual 306982
1
102 LOWER, 4-Ball, see manual
3A0539
1
24F420 750cc carbon steel, used on Model
24H627 and 24J074
24F413 750cc stainless steel, used on
Model 24H628 and 24J075
24F424 1000cc stainless steel, used on
Model 24H629
24F431 1000cc carbon steel, used on
Model 24H997
103 186071 PLATE, adapter 1
104 15G924 TIE ROD, 14.25 in. (362 mm)
between shoulders
3
16H434 TIE ROD, 8.375 in. (213 mm)
between shoulders, used on Model
24J074 and 24J075 only
3
105 108683 NUT, lock, hex; 9/16-12 unc 3
106 101946 PIN, cotter; stainless steel 1
108 16C373 ADAPTER, coupling 1
16H375 ADAPTER, coupling, used on
Model 24J074 and 24J075 only
1
109 24F252 SHIELD KIT; includes 2 shields 1
24A640 SHIELD KIT; includes 2 shields,
used on Model 24J074 and
24J075 only
1
110 15T311 NUT, coupling 1
111 184128 COLLAR, coupling 2
112 100214 WASHER, lock 3
113 100450 SCREW, cap, hex hd; 5/16-18 x 1
in. (25 mm)
3

Dimensions
16 3A1450D
Dimensions
A
B
C
Model Lower Size
A
in. (mm)
B
in. (mm)
C
in. (mm)
D
in. (mm)
Approx.
Weight
lb (kg)
24H627 750cc
46.3 (1176) 29.8 (757)
17.5 (445) 11.5 (292)
73 (33)
24H628 750cc
24H629 1000cc 74 (34)
24H997 1000cc
24J074 750cc 40.4 (1026) 24.0 (610) 71 (32)
24J075 750cc
TI16614a
D

Mounting Hole Layouts
3A1450D 17
Mounting Hole Layouts
TI16666a
17.75 in.
(451 mm)
Four 7/16 in. (11 mm)
diameter holes for
mounting to wall
9.0 in.
(229 mm)
11.75 in.
(299 mm)
12.375 in.
(314 mm)
7.375 in.
(187 mm)
16.88 in.
(428.8 mm)
253692 Floor Stand Accessory
14.50 in.
(368.3 mm)
17.0 in.
(431.8 mm)
19.88 in.
(505.0 mm)
TI15859a
255143 Wall Bracket Accessory
Four 9/16 in. (14 mm)
diameter holes for
mounting to stand
2.69 in.
(68 mm)
1.625 in.
(41 mm)
5.375 in.
(137 mm)
5.25 in.
(133 mm)
2.0 in.
(51 mm)
14.5 in.
(368 mm)
4.375 in.
(111 mm)
1.0 in.
(25 mm)

Performance Charts
18 3A1450D
Performance Charts
Fluid Outlet Pressure
To find fluid outlet pressure (MPa/bar/psi) at a specific flow
(lpm/gpm) and operating pressure (A/B/C):
1. Locate desired flow at bottom of chart.
2. Follow vertical line up to intersection with selected operat-
ing pressure curve (solid line). Follow left to scale to read
fluid outlet pressure.
Air Consumption
To find air consumption (l/min. or gpm) at a specific fluid flow
(l/min. or gpm) and operating pressure (A/B/C):
1. Locate desired flow along bottom of chart.
2. Read vertical line up to intersection with selected air con-
sumption curve (dashed line). Follow left to scale to read
air consumption.
Key
A0.7 MPa, 7 bar (100 psi) air pressure
B0.5 MPa, 4.9 bar (70 psi) air pressure
C0.3 MPa, 2.8 bar (40 psi) air pressure
Test Fluid: No. 10 Weight Oil
3:1 President with 750cc Lower
500
(3.5, 35)
A
B
A
B
C
Fluid Pressure
psi (MPa, bar)
300
(2.0, 20)
200
(1.3, 13)
100
(0.69, 6.9)
Air Consumption
40
(1.12)
C
0
30
(0.84)
20
(0.56)
10
(0.28)
scfm (m3/min)
50
(1.40)
2.0
(7.5)
6.0
(22.7)
10.0
(37.8)
14.0
(53.0)
4.0
(15.1)
8.0
(30.2)
12.0
(45.4)
Fluid Flow in gpm (lpm)
02.0
(7.5)
6.0
(22.7)
10.0
(37.8)
14.0
(53.0)
4.0
(15.1)
8.0
(30.2)
12.0
(45.4)
Fluid Flow in gpm (lpm)
400
(2.7, 27)
2:1 President with 1000cc Lower
400
(2.7, 27)
2.0
(7.5)
6.0
(22.7)
10.0
(37.8)
14.0
(53.0)
4.0
(15.1)
8.0
(30.2)
12.0
(45.4)
A
B
A
B
C
Fluid Pressure
psi (MPa, bar)
300
(2.0, 20)
200
(1.3, 13)
100
(0.69, 6.9)
0
Fluid Flow in gpm (lpm)
Air Consumption
40
(1.12)
C
0
30
(0.84)
20
(0.56)
10
(0.28)
16.0
(60.8)
50
(1.40)
2.0
(7.5)
6.0
(22.7)
10.0
(37.8)
14.0
(53.0)
4.0
(15.1)
8.0
(30.2)
12.0
(45.4)
Fluid Flow in gpm (lpm)
16.0
(60.8)
scfm (m3/min)
12 25 37 49 61 73 86
cycles per minute
12 25 37 49 61 73 86
cycles per minute
9 18 28 3746 5564
cycles per minute
749 18 28 3746 5564
cycles per minute
74

Technical Data
3A1450D 19
Technical Data
Air inlet size: 1/2 npt(f)
Fluid inlet size: 1-1/2 npt(f)
Fluid outlet size: 1 npt(f)
Wetted parts: See Lower manual 3A0539.
Sound Pressure Levels (measured at 1 meter from unit)
Sound Power Levels (tested in accordance with ISO 9614-2)
NOTE: See President motor manual 306982 for sound data at higher air pressures.
Model
Maximum Fluid
Working Pressure
psi (MPa, bar)
Maximum
Air Input Pressure
psi (MPa, bar) Air Consumption
Fluid Flow at 60
cycles per minute
gpm (lpm)
Output per Cycle
gal. (cc)
Maximum
Fluid
Temperature
Rating
°F (°C)
24H627 460 (3.2, 32.0) 150 (1.0, 10)
See Performance
Charts
9.6 (36.4) 0.16 (610)
150° (66°)
24H628 460 (3.2, 32.0) 150 (1.0, 10) 9.6 (36.4) 0.16 (610)
24H629 460 (3.2, 32.0) 180 (1.2, 12) 14.1 (53.5) 0.23 (890)
24H997 460 (3.2, 32.0) 180 (1.2, 12) 14.1 (53.5) 0.23 (890)
24J074 460 (3.2, 32.0) 150 (1.0, 10) 9.6 (36.4) 0.16 (610)
24J075 460 (3.2, 32.0) 150 (1.0, 10) 9.6 (36.4) 0.16 (610)
Air Motor
Input Air Pressures at 15 cycles per minute
40 psi (0.28 MPa, 2.8 bar) 70 psi (0.48 MPa, 4.8 bar) 100 psi (0.7 MPa, 7.0 bar)
President 73.6 dB(A) 78.3 dB(A) 80.9 dB(A)
Air Motor
Input Air Pressures at 15 cycles per minute
40 psi (0.28 MPa, 2.8 bar) 70 psi (0.48 MPa, 4.8 bar) 100 psi (0.7 MPa, 7.0 bar)
President 87.4 dB(A) 92.1 dB(A) 94.6 dB(A)
All written and visual data contained in this document reflects the latest product information available at the time of publication.
Graco reserves the right to make changes at any time without notice.
Original instructions. This manual contains English. MM 3A1450
Graco Headquarters: Minneapolis
International Offices: Belgium, China, Japan, Korea
GRACO INC. AND SUBSIDIARIES • P.O. BOX 1441 • MINNEAPOLIS MN 55440-1441 • USA
Copyright 2011, Graco Inc. All Graco manufacturing locations are registered to ISO 9001.
www.graco.com
Revision D, January 2014
Graco Standard Warranty
Graco warrants all equipment referenced in this document which is manufactured by Graco and bearing its name to be free from defects in
material and workmanship on the date of sale to the original purchaser for use. With the exception of any special, extended, or limited warranty
published by Graco, Graco will, for a period of twelve months from the date of sale, repair or replace any part of the equipment determined by
Graco to be defective. This warranty applies only when the equipment is installed, operated and maintained in accordance with Graco’s written
recommendations.
This warranty does not cover, and Graco shall not be liable for general wear and tear, or any malfunction, damage or wear caused by faulty
installation, misapplication, abrasion, corrosion, inadequate or improper maintenance, negligence, accident, tampering, or substitution of
non-Graco component parts. Nor shall Graco be liable for malfunction, damage or wear caused by the incompatibility of Graco equipment with
structures, accessories, equipment or materials not supplied by Graco, or the improper design, manufacture, installation, operation or
maintenance of structures, accessories, equipment or materials not supplied by Graco.
This warranty is conditioned upon the prepaid return of the equipment claimed to be defective to an authorized Graco distributor for verification of
the claimed defect. If the claimed defect is verified, Graco will repair or replace free of charge any defective parts. The equipment will be returned
to the original purchaser transportation prepaid. If inspection of the equipment does not disclose any defect in material or workmanship, repairs will
be made at a reasonable charge, which charges may include the costs of parts, labor, and transportation.
THIS WARRANTY IS EXCLUSIVE, AND IS IN LIEU OF ANY OTHER WARRANTIES, EXPRESS OR IMPLIED, INCLUDING BUT NOT LIMITED
TO WARRANTY OF MERCHANTABILITY OR WARRANTY OF FITNESS FOR A PARTICULAR PURPOSE.
Graco’s sole obligation and buyer’s sole remedy for any breach of warranty shall be as set forth above. The buyer agrees that no other remedy
(including, but not limited to, incidental or consequential damages for lost profits, lost sales, injury to person or property, or any other incidental or
consequential loss) shall be available. Any action for breach of warranty must be brought within two (2) years of the date of sale.
GRACO MAKES NO WARRANTY, AND DISCLAIMS ALL IMPLIED WARRANTIES OF MERCHANTABILITY AND FITNESS FOR A
PARTICULAR PURPOSE, IN CONNECTION WITH ACCESSORIES, EQUIPMENT, MATERIALS OR COMPONENTS SOLD BUT NOT
MANUFACTURED BY GRACO. These items sold, but not manufactured by Graco (such as electric motors, switches, hose, etc.), are subject to
the warranty, if any, of their manufacturer. Graco will provide purchaser with reasonable assistance in making any claim for breach of these
warranties.
In no event will Graco be liable for indirect, incidental, special or consequential damages resulting from Graco supplying equipment hereunder, or
the furnishing, performance, or use of any products or other goods sold hereto, whether due to a breach of contract, breach of warranty, the
negligence of Graco, or otherwise.
FOR GRACO CANADA CUSTOMERS
The Parties acknowledge that they have required that the present document, as well as all documents, notices and legal proceedings entered into,
given or instituted pursuant hereto or relating directly or indirectly hereto, be drawn up in English. Les parties reconnaissent avoir convenu que la
rédaction du présente document sera en Anglais, ainsi que tous documents, avis et procédures judiciaires exécutés, donnés ou intentés, à la suite
de ou en rapport, directement ou indirectement, avec les procédures concernées.
Graco Information
For the latest information about Graco products, visit www.graco.com.
For patent information, see www.graco.com/patents.
TO PLACE AN ORDER, contact your Graco distributor or call to identify the nearest distributor.
Phone: 612-623-6921 or Toll Free: 1-800-328-0211 Fax: 612-378-3505