HARRIS TR-0046-E P5400 UHF-H Portable Radio User Manual TYPE CERTIFICATION REPORT
HARRIS CORPORATION P5400 UHF-H Portable Radio TYPE CERTIFICATION REPORT
  
    HARRIS   >  
Manual
Rhein Tech Laboratories                                               Client:  M/A-COM, Inc. 
360 Herndon Parkway                                                                 Model:  P5400 UHF-H Portable Radio 
Suite 1400                                             ID’s:  OWDTR-0046-E/3636B-0046 
Herndon, VA 20170                                               Standards:  Part 90/RSS-119 
http://www.rheintech.com                               Report #:  2007218 
Appendix J:  User Manual 
Please refer to the following pages for the operator’s manual and the product safety manual. 
 45 of 62  

Operator’s Manual 
MM-012099-001 
Rev. Ap1, Oct/07 
M/A-COM 
P5400 Series 
Portable Radio 

MM-012099-001, Rev. A 
2 
MANUAL REVISION HISTORY 
REV  DATE  REASON FOR REVISION 
- Sep/07 Initial release. 
Rev. A  Oct/07   
M/A-COM Technical Publications would particularly appreciate feedback on any errors found in this document and suggestions on how 
the document could be improved. Submit your comments and suggestions to: 
Tyco Electronics Wireless Systems Segment 
M/A-COM, Inc.         Fax your comments to:  1-434-455-6851 
Technical Publications    or 
221 Jefferson Ridge Parkway      e-mail us at:  techpubs@tycoelectronics.com 
Lynchburg, VA 24501 
ACKNOWLEDGEMENTS 
The software contained in this device is copyrighted by M/A-COM, Inc. Unpublished rights are reserved under the copyright laws of the 
United States. 
This device is made under license under one or more of the following U.S. Patents: 4,590,473; 4,636,791; 5,148,482; 5,185,796; 5,271,017; 
5,377,229; 4,716,407; 4,972,460; 5,502,767; 5,146,497; 5,164,986; 5,185,795. 
CREDITS! 
EDACS are registered trademarks of M/A-COM, Inc.  
TORX is a registered trademark of CAMCAR division of TEXTRON, Inc. 
All other product and brand names are trademarks, registered trademarks, or service marks of their respective holders. 
NOTICE! 
This manual covers M/A-COM products manufactured and sold by M/A-COM, Inc. 
This product conforms to the European Union WEEE Directive 2002/96/EC. Do not dispose of this product in a public 
landfill. Take it to a recycling center at the end of its life. 
The voice coding technology embodied in this product is protected by intellectual property rights including patent rights, copyrights, and 
trade secrets of Digital Voice Systems, Inc. The user of this technology is explicitly prohibited from attempting to decompile, reverse 
engineer, or disassemble the Object Code, or in any other way convert the Object Code into human-readable form. 
Repairs to this equipment should be made only by an authorized service technician or facility designated by the supplier. Any repairs, 
alterations, or substitution of recommended parts made by the user to this equipment not approved by the manufacturer could void the 
user’s authority to operate the equipment in addition to the manufacturer’s warranty. 
This manual is published by M/A-COM, Inc., without any warranty. Improvements and changes to this manual necessitated by typographical errors, 
inaccuracies of current information, or improvements to programs and/or equipment, may be made by M/A-COM, Inc., at any time and without notice. 
Such changes will be incorporated into new editions of this manual. No part of this manual may be reproduced or transmitted in any form or by any means, 
electronic or mechanical, including photocopying and recording, for any purpose, without the express written permission of M/A-COM, Inc. 
Copyright© 2007 M/A-COM, Inc. All rights reserved. 

MM-012099-001, Rev. A 
3 
TABLE OF CONTENTS  Page 
1 SAFETY CONVENTIONS..................................................................................................................10 
2 SAFETY TRAINING INFORMATION ............................................................................................11 
2.1 RF EXPOSURE GUIDELINES.................................................................................................11 
2.2 ELECTROMAGNETIC INTERFERENCE/COMPATIBILITY...............................................12 
3 OPERATING TIPS ..............................................................................................................................13 
3.1 EFFICIENT RADIO OPERATION...........................................................................................13 
3.1.1 Antenna Care and Replacement.....................................................................................13 
3.1.2 Electronic Devices.........................................................................................................13 
3.1.3 Aircraft...........................................................................................................................14 
3.1.4 Electric Blasting Caps ...................................................................................................14 
3.1.5 Potentially Explosive Atmospheres...............................................................................14 
4 BATTERIES .........................................................................................................................................15 
4.1 CONDITIONING BATTERY PACKS......................................................................................15 
4.1.1 Conditioning NiMH Battery Packs................................................................................15 
4.1.2 Conditioning NiCD Battery Packs.................................................................................15 
4.1.3 Additional Information..................................................................................................16 
4.2 CHARGING BATTERY PACKS..............................................................................................16 
4.2.1 Charging Guidelines......................................................................................................16 
4.3 BATTERY PACK USAGE........................................................................................................16 
4.3.1 Usage Guidelines...........................................................................................................16 
4.4 CHANGING THE BATTERY PACK .......................................................................................17 
4.4.1 Removing the Battery Pack ...........................................................................................17 
4.4.2 Attaching the Battery Pack............................................................................................18 
4.5 BATTERY DISPOSAL..............................................................................................................18 
5 INTRODUCTION ................................................................................................................................20 
5.1 WATER RESISTANCE.............................................................................................................20 
6 OPTIONS AND ACCESSORIES .......................................................................................................21 
7 USER INTERFACE.............................................................................................................................23 
7.1 CONTROLS...............................................................................................................................24 
7.1.1 Buttons and Knobs.........................................................................................................24 
7.1.2 Keypad...........................................................................................................................26 
7.1.3 Display...........................................................................................................................28 
7.1.4 Tri-Color LED...............................................................................................................30 
7.2 UNIVERSAL DEVICE CONNECTOR.....................................................................................30 
8 EDACS OPERATION..........................................................................................................................32 
8.1 CONTROLS...............................................................................................................................32 
8.1.1 Buttons and Knobs.........................................................................................................32 
8.1.2 Keypad...........................................................................................................................33 
8.2 DISPLAY ...................................................................................................................................35 
8.3 RADIO STATUS ICONS...........................................................................................................36 
8.4 TRI-COLOR LED......................................................................................................................37 
8.5 STATUS MESSAGES ...............................................................................................................37 
8.6 ERROR MESSAGES.................................................................................................................38 
8.7 ALERT TONES .........................................................................................................................39 

MM-012099-001, Rev. A 
4 
TABLE OF CONTENTS  Page 
8.8 TURNING ON THE RADIO .....................................................................................................39 
8.9 SYSTEM SELECTION..............................................................................................................40 
8.10 GROUP/CHANNEL SELECTION............................................................................................40 
8.11 MODIFY SCAN LIST ...............................................................................................................41 
8.11.1 P5470 Model..................................................................................................................41 
8.11.2 P5450 Model..................................................................................................................41 
8.12 MENU ........................................................................................................................................41 
8.12.1 Menu Item Selection Process.........................................................................................42 
8.13 BACKLIGHT ON/OFF..............................................................................................................44 
8.14 CONTRAST ADJUST ...............................................................................................................44 
8.15 DECLARING AN EMERGENCY.............................................................................................45 
8.16 LOCKING/UNLOCKING KEYPAD ........................................................................................45 
8.17 HIGH/LOW POWER ADJUSTMENT......................................................................................45 
8.17.1 Using the Menu Button..................................................................................................45 
8.17.2 Using the Pre-Programmed Option Button....................................................................45 
8.18 DIGITAL VOICE OPERATION ...............................................................................................45 
8.18.1 Clear Mode ....................................................................................................................46 
8.18.2 Digital Mode..................................................................................................................46 
8.18.3 Private Mode..................................................................................................................46 
8.18.4 Private Operation...........................................................................................................47 
8.19 SCANNING TRUNKED GROUPS...........................................................................................48 
8.19.1 Turning Scan On and Off ..............................................................................................49 
8.19.2 Adding Groups to a Scan List........................................................................................49 
8.19.3 Deleting Groups from a Scan List .................................................................................50 
8.19.4 Nuisance Delete.............................................................................................................51 
8.20 SCANNING TRUNKED SYSTEMS.........................................................................................51 
8.20.1 Wide Area System Scanning .........................................................................................51 
8.20.2 Priority System Scan......................................................................................................51 
8.20.3 ProScan..........................................................................................................................52 
8.21 EMERGENCY OPERATION....................................................................................................52 
8.21.1 Receiving an Emergency Call .......................................................................................52 
8.21.2 Declaring an Emergency Call........................................................................................52 
8.22 INDIVIDUAL CALLS...............................................................................................................53 
8.22.1 Receiving and Responding to an Individual Call ..........................................................53 
8.22.2 Sending an Individual Call ............................................................................................54 
8.22.3 Call Storage Lists...........................................................................................................54 
8.23 TELEPHONE INTERCONNECT CALLS................................................................................55 
8.23.1 Receiving a Telephone Interconnect Call......................................................................55 
8.23.2 Sending a Telephone Interconnect Call.........................................................................55 
8.23.3 Dual-Tone Multi-Frequency: Overdial/Conventional Mode.........................................56 
8.24 PROGRAMMABLE ENTRIES .................................................................................................57 
8.24.1 Pre-Storing Individual and Telephone Interconnect Calls from the Keypad.................57 
8.25 STATUS/MESSAGE OPERATION..........................................................................................58 
8.25.1 Status Operation ............................................................................................................58 
8.25.2 Message Operation ........................................................................................................59 
8.26 DYNAMIC REGROUP OPERATION......................................................................................59 
8.26.1 Emergency Operation....................................................................................................59 
8.27 MACRO KEY OPERATION.....................................................................................................59 

MM-012099-001, Rev. A 
5 
TABLE OF CONTENTS  Page 
8.28 PORTABLE DATA....................................................................................................................59 
8.28.1 Displays .........................................................................................................................60 
8.28.2 DATA OFF Operation...................................................................................................60 
8.28.3 DATA ON Operation ....................................................................................................60 
8.28.4 Exiting Data Cells..........................................................................................................60 
8.28.5 Scan Lockout Mode.......................................................................................................60 
8.28.6 Data Lockout Mode.......................................................................................................61 
9 CONVENTIONAL OPERATION......................................................................................................64 
9.1 CONTROLS...............................................................................................................................64 
9.1.1 Buttons and Knobs.........................................................................................................65 
9.1.2 Keypad...........................................................................................................................66 
9.2 DISPLAY ...................................................................................................................................68 
9.2.1 Radio Status Icons .........................................................................................................68 
9.3 TRI-COLOR LED......................................................................................................................69 
9.4 STATUS MESSAGES ...............................................................................................................70 
9.4.1 Error Messages ..............................................................................................................70 
9.5 ALERT TONES .........................................................................................................................70 
9.6 TURNING ON THE RADIO.....................................................................................................71 
9.7 SYSTEM SELECTION..............................................................................................................71 
9.8 GROUP/CHANNEL SELECTION............................................................................................72 
9.9 MODIFY SCAN LIST ...............................................................................................................72 
9.9.1 P5470 Model..................................................................................................................72 
9.9.2 P5450 Model..................................................................................................................73 
9.10 NUISANCE DELETE................................................................................................................73 
9.11 MENU ........................................................................................................................................73 
9.12 BACKLIGHT ON/OFF..............................................................................................................76 
9.13 CONTRAST ADJUST ...............................................................................................................76 
9.14 DECLARING AN EMERGENCY.............................................................................................76 
9.15 LOCKING/UNLOCKING KEYPAD ........................................................................................77 
9.16 HIGH/LOW POWER ADJUSTMENT......................................................................................77 
9.17 DIGITAL VOICE OPERATION ...............................................................................................77 
9.17.1 Clear Mode....................................................................................................................77 
9.17.2 Digital Mode..................................................................................................................78 
9.17.3 Private Mode..................................................................................................................78 
9.17.4 Private Operation...........................................................................................................79 
9.18 RECEIVING A CALL ...............................................................................................................80 
9.19 SENDING A CALL ...................................................................................................................80 
10 P25 OPERATION.................................................................................................................................82 
10.1 CONTROLS...............................................................................................................................82 
10.1.1 Buttons and Knobs.........................................................................................................83 
10.1.2 Keypad...........................................................................................................................84 
10.2 DISPLAY ...................................................................................................................................86 
10.3 RADIO STATUS ICONS...........................................................................................................87 
10.4 TRI-COLOR LED......................................................................................................................88 
10.5 STATUS MESSAGES ...............................................................................................................88 
10.5.1 Error Messages ..............................................................................................................89 
10.6 ALERT TONES .........................................................................................................................90 

MM-012099-001, Rev. A 
6 
TABLE OF CONTENTS  Page 
10.7 TURNING ON THE RADIO .....................................................................................................90 
10.8 SYSTEM SELECTION..............................................................................................................90 
10.8.1 GROUP/CHANNEL SELECTION...............................................................................91 
10.9 MODIFY SCAN LIST ...............................................................................................................91 
10.9.1 P5470 Model..................................................................................................................91 
10.9.2 P5450 Model..................................................................................................................92 
10.10 MENU ........................................................................................................................................92 
10.10.1 Menu Item Selection Process.........................................................................................92 
10.11 BACKLIGHT ON/OFF..............................................................................................................95 
10.12 CONTRAST ADJUST ...............................................................................................................95 
10.13 DECLARING AN EMERGENCY.............................................................................................95 
10.14 LOCKING/UNLOCKING KEYPAD ........................................................................................95 
10.15 HIGH/LOW POWER ADJUSTMENT......................................................................................95 
10.15.1 Using the Menu Button..................................................................................................95 
10.15.2 Using the Pre-Programmed Option Button....................................................................96 
10.16 DIGITAL VOICE OPERATION ...............................................................................................96 
10.16.1 Clear Mode ....................................................................................................................96 
10.16.2 Digital Mode..................................................................................................................96 
10.16.3 Private Mode..................................................................................................................96 
10.16.4 Private Operation...........................................................................................................98 
10.17 SCANNING TRUNKED GROUPS...........................................................................................99 
10.17.1 Turning Scan On and Off ..............................................................................................99 
10.17.2 Adding Groups to a Scan List........................................................................................99 
10.17.3 Deleting Groups from a Scan List ...............................................................................101 
10.17.4 Nuisance Delete...........................................................................................................101 
10.18 SCANNING TRUNKED SYSTEMS.......................................................................................101 
10.18.1 Wide Area System Scanning .......................................................................................101 
10.18.2 Priority System Scan....................................................................................................102 
10.18.3 ProScan........................................................................................................................102 
10.19 EMERGENCY OPERATION..................................................................................................102 
10.19.1 Receiving an Emergency Call .....................................................................................102 
10.19.2 Declaring an Emergency Call......................................................................................103 
10.20 INDIVIDUAL CALLS.............................................................................................................103 
10.20.1 Receiving and Responding to an Individual Call ........................................................103 
10.20.2 Sending an Individual Call ..........................................................................................104 
10.20.3 Call Storage Lists.........................................................................................................105 
10.21 TELEPHONE INTERCONNECT CALLS..............................................................................105 
10.21.1 Receiving a Telephone Interconnect Call....................................................................105 
10.21.2 Sending a Telephone Interconnect Call.......................................................................106 
10.21.3 Dual-Tone Multi-Frequency: Overdial/Conventional Mode.......................................106 
10.22 PROGRAMMABLE ENTRIES...............................................................................................108 
10.22.1 Pre-Storing Individual and Telephone Interconnect Calls from the Keypad...............108 
10.23 STATUS/MESSAGE OPERATION........................................................................................108 
10.23.1 Status Operation ..........................................................................................................109 
10.23.2 Message Operation ......................................................................................................109 
10.24 MACRO KEY OPERATION...................................................................................................109 
10.25 PORTABLE DATA..................................................................................................................110 
10.25.1 Displays .......................................................................................................................110 

MM-012099-001, Rev. A 
7 
TABLE OF CONTENTS  Page 
10.25.2 DATA OFF Operation.................................................................................................110 
10.25.3 DATA ON Operation ..................................................................................................110 
10.25.4 Exiting Data Calls........................................................................................................111 
10.25.5 Scan Lockout Mode.....................................................................................................111 
10.25.6 Data Lockout Mode.....................................................................................................111 
10.26 GROUP CALLS IN P25 MODE..............................................................................................111 
10.26.1 Transmitting a Group Call...........................................................................................111 
10.26.2 Receiving a Group Call ...............................................................................................112 
10.27 INDIVIDUAL CALLS IN P25 MODE....................................................................................112 
10.27.1 Transmitting an Individual Call...................................................................................112 
10.27.2 Receiving an Individual Call .......................................................................................112 
10.28 EMERGENCY GROUP CALLS IN P25 MODE....................................................................112 
10.28.1 Declaring an Emergency Group Call...........................................................................112 
10.28.2 Receiving an Emergency Group Call ..........................................................................113 
11 TECHNICAL ASSISTANCE............................................................................................................116 
12 BASIC TROUBLESHOOTING........................................................................................................117 
FIGURES 
Figure 4-1: Removing the Battery Pack.........................................................................................................17 
Figure 4-2: Attaching the Battery Pack..........................................................................................................18 
Figure 7-1: P5400 Portable Radio..................................................................................................................23 
Figure 7-2: Top View.....................................................................................................................................24 
Figure 7-3: Side View....................................................................................................................................24 
Figure 7-4: P5450 “Scan” Radio Front Panel................................................................................................26 
Figure 7-5: P5470 “System” Model Front Panel ...........................................................................................26 
Figure 7-6: Sample Display EDACS Mode...................................................................................................28 
Figure 7-7: Full Cycle Battery Charge Indicator ...........................................................................................29 
Figure 7-8: Tri-Color LED.............................................................................................................................30 
Figure 8-1: P5450 “Scan” Radio Front Panel................................................................................................33 
Figure 8-2: P5470 “System” Radio Front Panel ............................................................................................34 
Figure 8-3: Radio Display in EDACS Mode .................................................................................................35 
Figure 8-4: Full Cycle Battery Charge Indicator ...........................................................................................37 
Figure 8-5: Tri-Color LED.............................................................................................................................37 
Figure 8-6: Menu Display..............................................................................................................................41 
Figure 8-7: Backlight Menu Item Selection Parameter..................................................................................42 
Figure 8-8: Backlight Menu Display .............................................................................................................42 
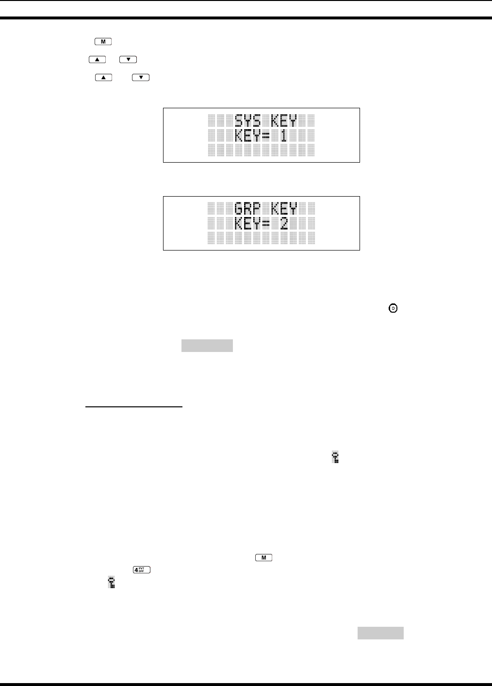
Figure 8-9: System Encryption Key Display .................................................................................................47 
Figure 8-10: Group/Channel Encryption Key Display ..................................................................................47 
Figure 8-11: Calls Received Lists..................................................................................................................53 
Figure 8-12: WHC Individual Call Display...................................................................................................54 
Figure 8-13: Calls Received and Personality Lists ........................................................................................55 
Figure 9-1: Top View.....................................................................................................................................64 
Figure 9-2: Side View....................................................................................................................................64 
Figure 9-3: P5450 “Scan” Radio Front Panel................................................................................................66 
Figure 9-4: P5470 “System” Radio Front Panel ............................................................................................67 
Figure 9-5: Radio Display..............................................................................................................................68 
Figure 9-6: Battery Charge Icons (Full Cycle) ..............................................................................................69 

MM-012099-001, Rev. A 
8 
TABLE OF CONTENTS  Page 
Figure 9-7: Tri-Color LED.............................................................................................................................69 
Figure 9-8: Menu Display..............................................................................................................................73 
Figure 9-9: Backlight Menu Item Parameter .................................................................................................74 
Figure 9-10: Backlight Menu Display............................................................................................................74 
Figure 9-11: System Encryption Key Display ...............................................................................................79 
Figure 9-12: Group/Channel Encryption Key Display ..................................................................................79 
Figure 10-1: Top View...................................................................................................................................82 
Figure 10-2: Side View..................................................................................................................................82 
Figure 10-3: P5450 “Scan” Radio Front Panel ..............................................................................................84 
Figure 10-4: P5470 “System” Radio Front Panel ..........................................................................................85 
Figure 10-5: Radio Display............................................................................................................................86 
Figure 10-6: Full Cycle Battery Charge Indicator .........................................................................................88 
Figure 10-7: Tri-Color LED...........................................................................................................................88 
Figure 10-8: Menu Display............................................................................................................................92 
Figure 10-9: Backlight Menu Item Selection Parameter................................................................................93 
Figure 10-10: Backlight Menu Display..........................................................................................................93 
Figure 10-11: System Encryption Key Display .............................................................................................97 
Figure 10-12: Group/Channel Encryption Key Display ................................................................................97 
Figure 10-13: Calls Received Lists..............................................................................................................104 
Figure 10-14: WHC Individual Call Display...............................................................................................104 
Figure 10-15: Calls Received and Personality Lists ....................................................................................105 
TABLES 
Table 2-1: RF Exposure Compliance Testing Distances ...............................................................................12 
Table 6-1: Options and Accessories...............................................................................................................21 
Table 7-1: P5400 Front Keypad Functions....................................................................................................26 
Table 7-2: Status Icons Descriptions..............................................................................................................28 
Table 8-1: P5400 Keypad Functions..............................................................................................................33 
Table 8-2: Status Icon Descriptions...............................................................................................................36 
Table 8-3: Alert Tones...................................................................................................................................39 
Table 8-4: Menu Item Information ................................................................................................................43 
Table 8-5: Information Display......................................................................................................................44 
Table 8-6: Transmit/Receive Mode Compatibility for Digital Voice Operation...........................................48 
Table 9-1: Status Icon Descriptions...............................................................................................................68 
Table 9-2: Alert Tones...................................................................................................................................71 
Table 9-3: Menu Item Information ................................................................................................................75 
Table 9-4: Information Display......................................................................................................................76 
Table 9-5: Transmit/Receive Mode Compatibility for Digital Voice Operation...........................................80 
Table 10-1: P5400 Keypad Functions............................................................................................................84 
Table 10-2: P5470 “System” Keypad Functions ...........................................................................................85 
Table 10-3: Display Descriptions ..................................................................................................................87 
Table 10-4: Alert Tones.................................................................................................................................90 
Table 10-5: Menu Item Information ..............................................................................................................93 
Table 10-6: Information Display....................................................................................................................94 
Table 10-7: Transmit/Receive Mode Compatibility for Digital Voice Operation.........................................98 
Table 12-1: Troubleshooting........................................................................................................................117 

MM-012099-001, Rev. A 
9 
SAFETY SECTION 

MM-012099-001, Rev. A 
10 
1 SAFETY CONVENTIONS 
The following conventions are used throughout this manual to alert the user to general safety precautions 
that must be observed during all phases of operation, service, and repair of this product. Failure to comply 
with these precautions or with specific warning elsewhere in this manual violates safety standards of 
design, manufacture, and intended use of the product. M/A-COM, Inc. assumes no liability for the 
customer’s failure to comply with these standards. 
The WARNING symbol calls attention to a procedure, practice, or the like, which, if 
not correctly performed or adhered to, could result in personal injury. Do not 
proceed beyond a WARNING symbol until the conditions identified are fully 
understood or met. 
CAUTION
The CAUTION symbol calls attention to an operating procedure, practice, or the like, 
which, if not performed correctly or adhered to, could result in damage to the equipment 
or severely degrade the equipment performance. 
The NOTE symbol calls attention to supplemental information, which may improve 
system performance or clarify a process or procedure. 
The ESD symbol calls attention to procedures, practices, or the like, which could expose 
equipment to the effects of Electro-Static Discharge. Proper precautions must be taken to 
prevent ESD when handling circuit modules. 
WARNING - The electrical hazard symbol indicates there is an electrical hazard 
present. 

MM-012099-001, Rev. A 
11 
2  SAFETY TRAINING INFORMATION 
The M/A-COM P5400 portable radio generates RF electromagnetic energy during 
transmit mode. This radio is designed for and classified as “Occupational Use 
Only,” meaning it must be used only during the course of employment by 
individuals aware of the hazards and the ways to minimize such hazards. This radio 
is NOT intended for use by the “General Population” in an uncontrolled 
environment. 
The P5400 portable radio has been tested and complies with the FCC RF exposure limits for 
“Occupational Use Only.”  In addition, this M/A-COM radio complies with the following Standards and 
Guidelines with regard to RF energy and electromagnetic energy levels and evaluation of such levels for 
exposure to humans: 
• FCC OET Bulletin 65 Edition 97-01 Supplement C, Evaluating Compliance with FCC Guidelines for 
Human Exposure to Radio Frequency Electromagnetic Fields. 
• American National Standards Institute (C95.1 – 1992), IEEE Standard for Safety Levels with Respect 
to Human Exposure to Radio Frequency Electromagnetic Fields, 3 kHz to 300 GHz. 
• American National Standards Institute (C95.3 – 1992), IEEE Recommended Practice for the 
Measurement of Potentially Hazardous Electromagnetic Fields – RF and Microwave. 
2.1 RF EXPOSURE GUIDELINES 
CAUTION  
To ensure that exposure to RF electromagnetic energy is within the FCC allowable 
limits for occupational use, always adhere to the following guidelines: 
• DO NOT operate the radio without a proper antenna attached, as this may damage the radio and may 
also cause the FCC RF exposure limits to be exceeded. A proper antenna is the antenna supplied with 
this radio by M/A-COM or an antenna specifically authorized by M/A-COM for use with this radio. 
(Refer to Table 6-1.) 
• DO NOT transmit for more than 50% of total radio use time (“50% duty cycle”). Transmitting more 
than 50% of the time can cause FCC RF exposure compliance requirements to be exceeded. The radio 
is transmitting when the “TX” indicator appears in the display. The radio will transmit by pressing the 
“PTT” (Push-To-Talk) button. 
• Always transmit using low power when possible. In addition to conserving battery charge, low power 
can reduce RF exposure. 
• ALWAYS use M/A-COM authorized accessories (antennas, batteries, belt clips, speaker/mics, etc). 
Use of unauthorized accessories may cause the FCC Occupational/Controlled Exposure RF 
compliance requirements to be exceeded. (Refer to Table 2-1.) 

MM-012099-001, Rev. A 
12 
• As noted in Table 2-1, ALWAYS keep the device and its antenna AT LEAST 1.1 cm (0.43 inches) 
from the body and at least 2.5 cm (1.0 inch) from the face when transmitting to ensure FCC RF 
exposure compliance requirements are not exceeded. However, to provide the best sound quality to 
the recipients of your transmission, M/A-COM recommends you hold the microphone at least 5 cm (2 
inches) from mouth, and slightly off to one side. 
Table 2-1: RF Exposure Compliance Testing Distances 
TESTED DISTANCES 
(worst case scenario) 
RADIO FREQUENCY 
Body  Face 
378-430 MHz  1.1 cm  2.5 cm 
440-512 MHz  1.1 cm  2.5 cm 
The information in this section provides the information needed to make the user aware of RF exposure, 
and what to do to assure that this radio operates within the FCC RF exposure limits of this radio. 
2.2 ELECTROMAGNETIC INTERFERENCE/COMPATIBILITY 
During transmissions, this M/A-COM radio generates RF energy that can possibly cause interference with 
other devices or systems. To avoid such interference, turn off the radio in areas where signs are posted to 
do so. DO NOT operate the transmitter in areas that are sensitive to electromagnetic radiation such as 
hospitals, aircraft, and blasting sites. 

MM-012099-001, Rev. A 
13 
3 OPERATING TIPS 
Antenna location and condition are important when operating a portable radio. Operating the radio in low 
lying areas or terrain, under power lines or bridges, inside of a vehicle or in a metal framed building can 
severely reduce the range of the unit. Mountains can also reduce the range of the unit.  
In areas where transmission or reception is poor, some improvement may be obtained by ensuring that the 
antenna is vertical. Moving a few yards in another direction or moving to a higher elevation may also 
improve communications. Vehicular operation can be aided with the use of an externally mounted 
antenna.  
Battery condition is another important factor in the trouble free operation of a portable radio. Always 
properly charge the batteries.  
3.1  EFFICIENT RADIO OPERATION 
For optimum audio clarity at the receiving radio(s), hold the portable radio approximately two inches 
from your mouth and speak into the microphone at a normal voice level.  
Keep the antenna in a vertical position when receiving or transmitting a message.  
Do not hold the antenna when receiving a message and, especially, do not hold when transmitting a 
message.  
Do NOT hold onto the antenna when the radio is powered on! 
3.1.1  Antenna Care and Replacement 
Do not use the portable radio with a damaged or missing antenna. A minor burn 
may result if a damaged antenna comes into contact with the skin. Replace a 
damaged antenna immediately. Operating a portable radio with the antenna missing 
could cause personal injury, damage the radio, and may violate FCC regulations. 
Use only the supplied or approved antenna. Unauthorized antennas, modifications, 
or attachments could cause damage to the radio unit and may violate FCC 
regulations. (Refer to Table 6-1.) 
3.1.2 Electronic Devices 
CAUTION
RF energy from portable radios may affect some electronic equipment. Most modern 
electronic equipment in cars, hospitals, homes, etc. is shielded from RF energy. However, 
in areas in which you are instructed to turn off two-way radio equipment, always observe 
the rules. If in doubt, turn it off! 

MM-012099-001, Rev. A 
14 
3.1.3 Aircraft 
• Always turn off a portable radio before boarding any aircraft! 
• Use it on the ground only with crew permission. 
• DO NOT use while in-flight!! 
3.1.4  Electric Blasting Caps  
To prevent accidental detonation of electric blasting caps, DO NOT use two-way 
radios within 1000 feet of blasting operations. Always obey the "Turn Off Two-Way 
Radios" signs posted where electric blasting caps are being used. (OSHA Standard: 
1926.900) 
3.1.5  Potentially Explosive Atmospheres 
Areas with potentially explosive atmospheres are often, but not always, clearly 
marked. These may be fuelling areas, such as gas stations, fuel or chemical transfer or 
storage facilities, and areas where the air contains chemicals or particles, such as 
grain, dust, or metal powders. 
Sparks in such areas could cause an explosion or fire resulting in bodily injury or even 
death. 
Turn OFF two-way radios when in any area with a potentially explosive atmosphere. 
It is rare, but not impossible that a radio or its accessories could generate sparks. 

MM-012099-001, Rev. A 
15 
4 BATTERIES 
The P5400 series portable radios use rechargeable, recyclable Nickel Cadmium (NiCd), Nickel Metal 
Hydride (NiMH), or Lithium Ion (Li Ion) batteries. Please follow the directions below to maximize the 
useful life of each type of battery. 
Do not disassemble or modify Lithium Ion battery packs.  The Lithium Ion battery packs 
are equipped with built-in safety and protection features.  Should these features be 
disabled or tampered with in any way, the battery pack can leak acid, overheat, emit 
smoke, burst, and/or, ignite. 
If the battery is ruptured or is leaking electrolyte that results in skin or eye contact with 
the electrolyte, immediately flush the affected area with water. If the battery electrolyte 
gets in the eyes, flush with water for 15 minutes and consult a physician immediately. 
4.1 CONDITIONING BATTERY PACKS 
4.1.1  Conditioning NiMH Battery Packs 
Condition a new NiMH battery before putting into use. This also applies to rechargeable NiMH batteries 
that have been stored for long periods (weeks, months, or longer). Conditioning requires fully charging 
and fully discharging the battery three (3) times using the tri-chemistry charger.  The first time the battery 
is put into the charger, this unit will condition Nickel-based battery packs by automatically charging and 
discharging (cycling) the battery.  Refer to the appropriate charger manual for details. 
CAUTION  
Failure to properly condition NiMH battery packs before initial use will result in 
shortened performance by the battery. 
4.1.2  Conditioning NiCD Battery Packs 
A new NiCD battery does not require conditioning before use.  However, M/A-COM recommends 
periodically conditioning NiCD batteries to avoid the memory effect which results when a NiCD battery 
is repeatedly charged and not fully discharged, further resulting in a lower voltage and a lower capacity. 
Fortunately, both nominal voltage and capacity are restored through battery conditioning.   
Conditioning requires fully charging and fully discharging the battery three (3) times using the tri-
chemistry charger.  The first time the battery is put into the charger, this unit will condition Nickel-based 
battery packs by automatically charging and discharging (cycling) the battery.  Refer to the appropriate 
charger manual for details.  

MM-012099-001, Rev. A 
16 
CAUTION  
Always use M/A-COM authorized chargers and conditioners. Use of unauthorized 
chargers and conditioners may void the warranty. 
4.1.3 Additional Information 
For more information regarding the proper care of portable radio batteries or establishing a battery 
maintenance program, refer to ECR-7367 which may be ordered by calling toll free 1-800-368-3277, then 
select option 7. 
4.2 CHARGING BATTERY PACKS 
Battery chargers are available from M/A-COM with nominal charge times. Combinations include single 
and multi-position charge units.  
M/A-COM chargers are specifically designed for charging nickel-based and lithium ion battery packs. 
The chargers are chemistry-specific for the battery packs and automatically adjust the charging profiles 
accordingly.  Refer to the appropriate charger manual for specific operating instructions.  
4.2.1 Charging Guidelines 
Observe the following guidelines when charging a battery pack: 
• Avoid high temperature during charging.  
• Discontinue use if the charger is overheating. 
• Only charge M/A-COM battery packs using a charger approved for use by M/A-COM. 
• Do not leave batteries in the charger indefinitely. For best results leave the battery in the charger for 
two to six hours after the Green Ready LED comes on. Then place the battery pack into service and 
fully discharge (as indicated by the radio low battery warning) before re-charging. 
If any faults are encountered while charging the battery pack, consult the charger’s manual to determine 
the cause and possible corrective action. 
4.3  BATTERY PACK USAGE 
Both Nickel-based and Lithium ion batteries vary in capacity and life cycle. For instance, NiCd batteries 
have a longer life cycle than NiMH batteries whereas NiMH batteries have a larger capacity. However, 
both Nickel-based and Lithium ion type batteries require basic usage guidelines be followed in order to 
optimize the battery runtime or shift life. 
4.3.1 Usage Guidelines 
The following guidelines will help optimize the battery runtime or shift life: 
• Ensure Nickle-based battery packs are fully discharged (as indicated by the radio low battery 
warning) before re-charging.  Full discharge is not required for Lithium Ion battery packs. 
• Periodically condition Nickel-based battery packs.  The frequency should be determined based on 
usage patterns (refer to ECR-7367). If the battery is fully discharged (to radio Low Battery warning) 
during routine use, the frequency of conditioning may be reduced.  Lithium Ion batteries do not suffer 
from memory-effect and therefore do not require conditioning. 

MM-012099-001, Rev. A 
17 
Do not leave any M/A-COM rechargeable batteries in a charger for more than a few days.  
4.4  CHANGING THE BATTERY PACK 
4.4.1  Removing the Battery Pack 
Make sure the power to the radio is turned OFF. 
CAUTION
Although the P5400 has been designed to tolerate changing the battery pack without 
turning power off, M/A-COM, Inc. recommends turning the radio off before changing 
battery packs to ensure safety and best operation. 
1. Press or pull both latches on either side of the battery pack  toward the bottom of the radio 
simultaneously.  
2. Pull the battery  away from the radio. 
3. Remove the battery pack from the radio. 
Figure 4-1: Removing the Battery Pack 

MM-012099-001, Rev. A 
18 
4.4.2  Attaching the Battery Pack 
Make sure the power to the radio is turned OFF. 
1. Align the tabs at each side on the bottom of the battery pack with the slots at the bottom of the battery 
cavity . 
2. Push the top of the battery pack  down until the latches click to attach the battery to the radio. 
3. Tug gently to verify that the latches are secure and the battery pack is properly attached to the radio. 
Figure 4-2: Attaching the Battery Pack 
4.5 BATTERY DISPOSAL 
CAUTION
In no instance should a battery be incinerated. Disposing of a battery by burning will 
cause an explosion. 
RECHARGEABLE BATTERY PACK DISPOSAL – The product you have 
purchased contains a rechargeable battery. The battery is recyclable. At the end of its 
useful life, under various state and local laws, it may be illegal to dispose of this 
battery into the municipal waste stream. Check with your local solid waste officials for 
details in your area for recycling options or proper disposal.  Canadian and U.S. users 
may call Toll Free 1-800-8-BATTERY® for information and/or procedures for 
returning rechargeable batteries in your locality. 

MM-012099-001, Rev. A 
19 
PRODUCT INFORMATION 

MM-012099-001, Rev. A 
20 
5 INTRODUCTION 
The P5400 series portable radio is available in two models: the P5450 Scan model with a limited 6-button 
front-mounted keypad and the P5470 System model with a 15-button DTMF front-mounted keypad. The 
UHF P5400 portable radio delivers end-to-end encrypted digital voice and IP data communications. It is 
designed to support multiple operating modes including: 
• EDACS® (Enhanced Digital Access Communications System) or ProVoice™ Trunked mode 
• P25 Trunked Mode 
• P25 Digital Conventional Mode 
• Conventional Analog mode 
The P5400 portables can include all of these modes or just one. Additional modes of operation can be 
added with software updates. 
The P5400 supports a full range of advanced digital trunking features, including voice group calls, 
priority scanning, emergency calls, late call entry, and dynamic reconfiguration. It performs autonomous 
roaming for wide area applications. High quality voice coding and robust audio components assure 
speech clarity. 
In the trunked modes, the user selects a communications “operating” system (i.e., EDACS, ProVoice, or 
P25) and group. While communicating in a trunked mode, channel selection is transparent to the user and 
is controlled via digital communication with the system controller (e.g. a CSD in an EDACS system). 
This provides advanced programmable features and fast access to communication channels. 
In Conventional Analog mode, the user selects a channel and communicates directly on that channel. A 
channel is a transmit/receive radio frequency pair. 
The exact operation of the radio will depend on the operating mode, the radio’s programming, and the 
particular radio system. Most features described in this manual can be enabled through programming. 
Consult your System Administrator for the particular features programmed into your P5400.  Then refer 
to the corresponding section(s) within this manual for feature and operation information. 
5.1 WATER RESISTANCE 
The P5400 series portable radios operate reliably even under adverse conditions. These radios meet MIL-
STD-810F specifications for wind driven rain, humidity, and salt fog.  

MM-012099-001, Rev. A 
21 
6  OPTIONS AND ACCESSORIES 
Table 6-1 lists the Options and Accessories tested for use with the P5400 series portable radios.  
Refer to the maintenance manual or to M/A-COM’s Products and Services Catalog for a complete list of 
options and accessories, including those items that do not adversely affect the RF energy exposure. 
Always use M/A-COM authorized accessories (antennas, batteries, belt clips, 
speaker/mics, etc). Use of unauthorized accessories may cause the FCC 
Occupational/Controlled Exposure RF compliance requirements to be exceeded. 
(Refer to Table 2-1.) 
CAUTION
Always use the correct options and accessories (battery, antenna, speaker/mic, etc.) for the 
radio. Intrinsically safe options must be used with intrinsically safe radios. (Refer to Table 
6-1.) 
Table 6-1: Options and Accessories 
DESCRIPTION  PART NUMBER 
ANTENNAS 
Helical Coil 378-403 MHz  KRE 101 1219/9 
Helical Coil 403-430 MHz  KRE 101 1219/10 
¼ λ Whip 378-430 MHz  KRE 101 1223/10 
Helical Stub 440 494 MHz  KRE 101 1219/12 
Helical Stub 470 512 MHz  KRE 101 1219/14 
¼ λ Whip 440 512 MHz  KRE 101 1223/12 
BATTERIES (IMMERSION-RATED) 
7.5V Nickel Cadmium (NiCd) Battery, Immersible, non-<IS>  BT-023406-001 
7.5V Nickel Cadmium (NiCd) Battery, Immersible, <IS>  BT-023406-002 
7.5V Nickel Metal Hydride (NiMH) Battery, Immersible, non-<IS>  BT-023406-003 
7.5V Nickel Metal Hydride (NiMH) Battery, Immersible, <IS>  BT-023406-004 
7.5V Lithium Ion (Li Ion) Battery, Immersible, non-<IS>  BT-023406-005 
7.5V Lithium Ion (Li Ion) Battery, Immersible, <IS>  BT-023406-006 
MISCELLANEOUS ACCESSORIES 
Speaker Mic without Antenna (cc) provision, <IS>  MC-023933-001 
Speaker Mic with Antenna (cc) provision, <IS>  MC-023933-002 
Earphone for Speaker Mic <IS>  LS103239V1 
DROP SHIP AUDIO ACCESSORIES 
Earphone Kit, Black  EA-009580-001 
Earphone Kit, Beige  EA-009580-002 
2-Wire Kit, Palm Mic, Black  EA-009580-003 
2-Wire Kit, Palm Mic, Beige  EA-009580-004 
3-Wire Kit, Mini-Lapel Mic, Black  EA-009580-005 
3-Wire Kit, Mini-Lapel Mic, Beige  EA-009580-006 
Explorer Headset with PTT  EA-009580-007 
Lightweight Headset Single Speaker with PTT  EA-009580-008 
Breeze Headset with PTT  EA-009580-009 

MM-012099-001, Rev. A 
22 
DESCRIPTION  PART NUMBER 
Headset, Heavy Duty, N/C Behind-the-Head, with PTT  EA-009580-010 
Ranger Headset with PTT  EA-009580-011 
Skull Mic with Body PTT and Earcup  EA-009580-012 
Headset, Heavy Duty, N/C Over-the-Head, with PTT  EA-009580-013 
Throat Mic with Acoustic Tube and Body PTT  EA-009580-014 
Throat Mic with Acoustic Tube, Body PTT, and Ring PTT  EA-009580-015 
Breeze Headset with PTT and Pigtail Jack  EA-009580-016 
Hurricane Headset with PTT  EA-009580-017 
Hurricane Headset with PTT and Pigtail Jack  EA-009580-018 
CARRYING CASE ACCESSORIES 
Leather Carrying Case without D-Rings Kit, consists of:  
  Leather Case without D-rings 
 Elastic Strap 
 Swivel Mount, 
used with Belt Loop 
Kit: CC-023931-003, incl: 
 CC-023931-001 
 FM-011820 
  KRY 101 1608/2 
used with: KRY 101 1609/1 
Leather Carrying Case with D-Rings Kit, consists of: 
  Leather Case with D-rings 
 Elastic Strap 
 Swivel Mount 
used with Belt Loop 
Kit: CC-023931-004 
 CC-023931-002 
 FM-011820 
  KRY 101 1608/2 
used with: KRY 101 1609/1 
Leather Carrying Case with D-rings 
 Elastic Strap 
  and Shoulder Strap 
CC-023931-002 
FM-011820 
CC103333V1 
Swivel Mount and Belt Loop  KRY 101 1608/2 
  KRY 101 1609/1 
Nylon Case (black) with Belt Loop  CC-023932-001 
  KRY 101 1609/1 
Nylon Case (orange) with Belt Loop  CC-023932-002 
  KRY 101 1609/1 
Metal Belt Clip (standard)  CC23894  
Metal Belt Clip (alternate)  CC-011318  
“T” Strap Holder  KRY 101 1656/1 

MM-012099-001, Rev. A 
23 
7 USER INTERFACE 
This section describes the primary user interface; the buttons, knob controls, indicators, and display.   
Figure 7-1: P5400 Portable Radio 

MM-012099-001, Rev. A 
24 
7.1 CONTROLS 
7.1.1  Buttons and Knobs 
The P5400 portable radios feature two rotary control knobs, an emergency button, and a dual-position 
A/B switch located on the top of the radio (Figure 7-2).  The Push-To-Talk (PTT) button and two option 
buttons are located on the side (Figure 7-3). 
Figure 7-2: Top View  Figure 7-3: Side View 
The functions of the button and knob controls vary depending on the mode of operation.  The primary 
functions of the button and knob controls when in the EDACS mode of operation are listed in the 
following paragraphs.  The functions while in other modes are discussed in the specific sections. 

MM-012099-001, Rev. A 
25 
POWER ON-OFF/VOLUME 
KNOB  Applies power to the radio and adjusts audio volume. 
Rotating the control clockwise applies power to the radio. A single 
alert tone (if enabled through programming) indicates the radio is 
operational. 
Rotating the control clockwise increases the volume level. 
Minimum volume levels may be programmed into the radio to 
prevent missed calls due to a low volume setting. While adjusting 
the volume, the display will momentarily indicate the volume level 
(i.e. VOL=31). The volume range is from a minimum programmed 
level of zero (displayed as OFF in the display) up to 40, which is 
the loudest level. 
VOICE GROUP SELECTION 
CONTROL KNOB  Used to select groups/channels. This is a 16-position rotary knob.  
Note:  A mechanical stop, used to limit the number of accessible 
positions, is shipped with the radio but must be installed. To install 
the mechanical stop, remove the Voice Group Selection control 
knob, loosen the set screw on the Voice Group Selection control 
knob metal base (using a 1.27mm hex wrench), and remove the 
Voice Group Selection control knob metal base. Replace the 16 
channel ring with the channel stop ring located at the desired 
channel. Re-install the Voice Group Selection control knob metal 
base, tighten the set screw, and re-install the Voice Group 
Selection control knob. 
EMERGENCY BUTTON  Used to declare an emergency by pressing and holding for a 
programmed duration.  
PTT BUTTON  The Push-To-Talk button must be pressed before voice 
transmission begins. 
SIDE OPTION BUTTON 1   
SIDE OPTION BUTTON 2   
Scrolls UP or DOWN thru available items within a sub-menu 
(available talk groups, pre-programmed speed dial numbers, 
canned alert messages, etc.). 

MM-012099-001, Rev. A 
26 
7.1.2 Keypad 
The front mounted keypad of the P5450 “Scan” model has six buttons and P5470 “System” model has 15 
buttons.  Refer to Figure 7-4: P5450 “Scan” Radio Front Panel and Figure 7-5: P5470 “System” Model 
Front Panel, respectively. 
Figure 7-4: P5450 “Scan” Radio Front Panel  Figure 7-5: P5470 “System” Model Front Panel 
Alpha-numeric character entry is the secondary function of most of the P5400 keypad keys in the EDACS 
mode of operation.  In addition, the   (*) and   (#) keys are also available.  The primary and 
secondary functions of each key, where applicable, are described in Table 7-1 and the following section. 
Table 7-1: P5400 Front Keypad Functions 
KEY  FUNCTION 
Primary Function: Accesses the pre-stored menu.  
Secondary Function: Activates a selected item within the menu. This is similar to an 
“Enter” key. 
Primary Function: Allows the user to scroll through available systems, groups, or 
channels, depending on personality programming.  
Secondary Function: Changes the selection for an item within a list. 
(P5450 only) In EDACS and Conventional Analog modes, Adds/Deletes selected groups or channels 
from SCAN list of the currently selected system.   
(P5450 only) In EDACS and Conventional Analog modes, toggles SCAN operation ON and OFF.   
(P5450 only) 
In EDACS and Conventional Analog modes, activates one of any programmable 
software options selected during the PC programming, including: high/low TX power 
and talkaround.   

MM-012099-001, Rev. A 
27 
KEY  FUNCTION 
 Primary function: Selects a specific system. If the rotary knob is used to select the 
system and more than 16 systems are programmed in the radio, the   key is used to 
select additional banks (groupings) of systems. 
 Primary function: Selects a specific group. 
 Primary function: Turns the Scan operation ON and OFF. 
 Primary function: Enables or disables Private Mode for the system/group/channel 
displayed. 
 Primary function: Adds groups or channels from the currently selected system to the 
Scan list. 
 Primary function: Status key. Access to the status list (0-9). The Status key permits the 
transmission of a pre-programmed status message to an EDACS site. 
 Primary function: Message key. Access to the message list (0-9). The Message key 
permits the transmission of a pre-programmed message to an EDACS site. 
 Primary function: Deletes selected groups or channels of the currently selected system 
from the Scan list. 
(P5470 Only) 
Secondary function: In EDACS mode the secondary function of these keys is much as 
a typical DTMF telephone pad 0-9, *, and # keys; and are used to place telephone 
interconnect and individual (unit-to-unit) calls.  (See individual listings for primary 
functions.) 
(P5470 Only) Primary function: In EDACS mode, initiates telephone interconnect calls.   
(P5470 Only) Primary function: In EDACS mode, initiates individual, unit-to-unit calls.   

MM-012099-001, Rev. A 
28 
7.1.3 Display 
The P5400 display is made up of 3 lines.  Lines 1 and 2 contain twelve alpha-numeric character blocks 
each.  The 3rd line also contains twelve blocks, each used to display radio status icons. If programmed, the 
display backlighting will illuminate upon power up or when radio controls are operated.  Specific display 
characteristics will be discussed in following sub-sections. 
Figure 7-6: Sample Display EDACS Mode 
7.1.3.1 Radio Status Icons 
Status Icons represent various operating characteristics of the radio and appear on the third line of the 
display.  Each of the icons will be discussed in further detail in the corresponding modes of operation; 
EDACS and Conventional icons will be discussed in the EDACS or Conventional Operation sections, and 
P25 icons will be discussed in the P25 Operation section. 
Table 7-2: Status Icons Descriptions 
STATUS ICON DESCRIPTIONS 
EDACS, CONVENTIONAL, AND P25 ICONS 
 Steady – “Busy” transmitting or receiving.  Appears in the 2nd position of the display. 
 Steady – special call mode (telephone).  Appears in the 11th position of the display. 
Steady – during all radio transmissions.  Appears in the 1st position of the display. 
Steady – transmit at low power.  Appears in the 5th position of the display. 
If icon is not visible – transmit at high power 
Steady – battery charge indicator (refer to Figure 9-6). Appears in the 12th position of the 
display. 
Flashing – Low battery indicator (refer to Figure 9-6).   
Steady – Indicates the current channel is set up as an analog channel. Appears in the 7th 
position of the display. 

MM-012099-001, Rev. A 
29 
STATUS ICON DESCRIPTIONS 
EDACS, CONVENTIONAL, AND P25 ICONS 
Steady – group or channel in scan list.  Appears in the 10th position of the display. 
Steady – priority 2 group or channel.  Appears in the 10th position of the display. 
Steady – priority 1 group or channel.  Appears in the 10th position of the display. 
Steady (rotates clockwise) – scan mode enabled.  Appears in the 9th position of the display. 
If icon is not visible – scan is disabled 
Steady – Channel Guard enabled.  Appears in the 4th position of the display. 
If icon is not visible – Channel Guard is disabled 
Steady – transmit in encrypt mode.  Appears in the 6th position of the display. 
Flashing – receiving an encrypted call 
Steady – Indicates the current channel is set up as a Project 25 (P25) channel. 
Steady – Indicates the current channel is set up as a ProVoice channel.  Appears in the 7th 
position of the display. 
Figure 7-7: Full Cycle Battery Charge Indicator 
The battery charge indicators illustrate approximate level only, based on battery voltage.  Refer to Figure 
7-7.  

MM-012099-001, Rev. A 
30 
Figure 7-8: Tri-Color LED 
7.1.4 Tri-Color LED 
The Tri-Color LED changes color to indicate radio status and is visible from both the front and top of the 
radio (see Figure 7-2).  In addition, the mode of operation may also help determine what the color of the 
LED represents.   
In EDACS, Conventional, or P25 modes 
Green:   Receiving 
Red:   Transmitting Unencrypted 
Orange: Transmitting Encrypted 
7.2  UNIVERSAL DEVICE CONNECTOR 
The Universal Device Connector (UDC) provides connections for external accessories such as a headset, 
a speaker-microphone, audio test box, audio test cables, and programming cables.  The UDC is located on 
the right side of the radio, opposite the PTT Button.  The UDC facilitates programming and testing the 
radio.  The UDC pins perform different functions depending on the accessory attached to the UDC.   

MM-012099-001, Rev. A 
31 
EDACS OPERATION 

MM-012099-001, Rev. A 
32 
8 EDACS OPERATION 
8.1 CONTROLS 
The radio features two rotary control knobs and an emergency button mounted on the top of the radio. 
Push-To-Talk and option buttons are mounted on the side. The front mounted keypad has six buttons on 
the P5450 Scan model and 15 buttons on the P5470 System Radio. 
8.1.1  Buttons and Knobs 
This section describes the primary function of the button and knob controls (see Figure 7-2 and Figure 
7-3). Other functions associated with these controls are detailed in later sections. 
POWER ON-OFF 
VOLUME KNOB  Applies power to and adjusts the receiver’s volume.  Rotating the control 
clockwise applies power to the radio.  A single alert tone (if enabled through 
programming) indicates the radio is operational. 
Rotating the control clockwise increases the volume level.  Minimum volume 
levels may be programmed into the radio to prevent missed calls due to a low 
volume setting.  While adjusting the volume the display will momentarily 
indicate the volume level (i.e. VOL=31).  The volume range is from a minimum 
programmed level of zero (displayed as OFF in the display) up to 40, which is 
the loudest level. 
VOICE GROUP 
SELECTION 
CONTROL KNOB 
Selects systems or group/channels (depending on programming).  This is a 16-
position rotary knob.  
Note: A mechanical stop, which can limit the positions accessed, is shipped with 
the radio but must be installed. To install the mechanical stop, remove the Voice 
Group Selection control knob, loosen the set screw on the Voice Group 
Selection control knob metal base (using a 1.27 mm hex wrench), and remove 
the Voice Group Selection control knob metal base. Replace the 16 channel ring 
with the channel stop ring located at the desired channel. Reinstall the Voice 
Group Selection control knob metal base, tighten the set screw, and reinstall the 
Voice Group Selection control knob. 
EMERGENCY/ 
HOME BUTTON  Automatically selects the pre-programmed Group/System by pressing and 
holding for a programmed duration. It can also be used to declare an emergency 
by pressing and holding for a programmed duration. The button must be pre-
programmed for either operation, but not both. 
PTT BUTTON  Push-To-Talk must be pressed before voice transmission begins. In trunked 
mode the radio’s ID is transmitted upon depression of the PTT button.  
SIDE OPTION 
BUTTON 1   Exits the current operation (removing all displays associated with it) and returns 
the radio to the selected talk group. Terminates individual and telephone 
interconnect calls. 
SIDE OPTION 
BUTTON 2   Activates one of a number of programmable software options selected during 
PC programming. Programmable options include hi/low power settings, keypad 
lock, LCD contrast, LCD and keypad back lighting. 

MM-012099-001, Rev. A 
33 
8.1.2 Keypad 
The keys on the keypad have special functions and are labeled using a symbol or abbreviated word 
describing its primary function. Alpha-numeric entry is a secondary function of the keys. Each key is 
described in the following subsections. 
Figure 8-1: P5450 “Scan” Radio Front Panel 
Table 8-1: P5450 Keypad Functions 
KEY  FUNCTION 
Primary Function: Accesses the pre-stored menu.  
Secondary Function: Activates a selected item within the menu. This is similar to an 
“Enter” key. 
    Scrolls thru available menu items. 
(P5450 only) Adds/Deletes selected groups or channels from SCAN list of the currently selected 
system. 
(P5450 only) Toggles SCAN operation ON and OFF. 
(P5450 only) Activates one of any programmable software options selected during the PC 
programming, including: high/low TX power and talkaround. 

MM-012099-001, Rev. A 
34 
Figure 8-2: P5470 “System” Radio Front Panel 
Table 8-2: P5470 Keypad Functions 
KEY  FUNCTION 
Primary Function: Accesses the pre-stored menu.  
Secondary Function: Activates a selected item within the menu. This is similar to an “Enter” 
key. 
Primary Function: Allows the user to scroll through available systems, groups, or channels, 
depending on personality programming.  
Secondary Function: Changes the selection for an item within a list. 
Primary Function:  Refer to the separate key definitions within this table. 
Secondary Function: These keys function much as a typical DTMF telephone pad 0-9, *, and # 
keys; and are used to place telephone interconnect and individual (unit-to-unit) calls. 
Selects a specific system. If the rotary knob is used to select the system and more than 16 
systems are programmed in the radio, the   key is used to select additional banks 
(groupings) of systems. 
 Selects a specific group. 
 Turns the Scan operation ON and OFF. 
 Enables or disables Private Mode for the system/group/channel displayed. 
 Adds groups or channels from the currently selected system to the Scan list. 
 Status. Access to the status list (0-9). The Status key permits the transmission of a pre-
programmed status message to an EDACS site. 
 Message. Access to the message list (0-9). The Message key permits the transmission of a pre-
programmed message to an EDACS site. 
 Deletes selected groups or channels of the currently selected system from the Scan list. 
 Initiates telephone interconnect calls. 
 Initiates individual unit-to-unit calls. 

MM-012099-001, Rev. A 
35 
8.2 DISPLAY 
The radio Display is made up of 3 lines (see Figure 8-3). Lines 1 and 2 contain eight alphanumeric 
character blocks and are used primarily to display system and group names. Line 1 also displays radio 
status messages. The 3rd line is used primarily to display radio status icons. All three lines are used to 
display menu options when in the menu mode. If programmed, the display backlighting will illuminate 
upon power up or when radio controls are operated.  
Figure 8-3: Radio Display in EDACS Mode 

MM-012099-001, Rev. A 
36 
8.3  RADIO STATUS ICONS 
Status Icons indicate the various operating characteristics of the radio. The icons show operating modes 
and conditions and appear on the third line of the display (see Table 8-3). 
Table 8-3: Status Icon Descriptions 
Steady – “Busy” transmitting or receiving.  Appears in the 2nd position of the display. 
Flashing – call queued 
Steady – special call mode (individual or telephone).  Appears in the 11th position of the 
display. 
Steady – during all radio transmissions.  Appears in the 1st position of the display 
Steady – transmit at low power.  Appears in the 5th position of the display. 
If icon is not visible – transmit at high power 
 Steady – battery charge indicator.  Appears in the 12th position of the display. 
 Flashing – Low battery indicator. 
Steady – Indicates the current channel is set up as an analog channel.  Appears in the 7th 
position of the display. 
 Steady – trunked system in Failsoft™ mode.  Appears in the 4th position of the display. 
 Steady – group or channel in scan list.  Appears in the 10th position of the display. 
 Steady – priority 2 group or channel.  Appears in the 10th position of the display. 
 Steady – priority 1 group or channel. Appears in the 10th position of the display. 
Steady (rotates clockwise) – scan mode enabled. Appears in the 9th position of the display. 
If icon is not visible – scan is disabled 
Steady – transmit in encrypt mode.  Appears in the 6th position of the display. 
Flashing – receiving an encrypted call 
Steady – Indicates the current channel is set up as a Project 25 (P25) channel. 
Steady – Indicates the current channel is set up as a ProVoice channel. Appears in the 7th 
position of the display. 

MM-012099-001, Rev. A 
37 
Figure 8-4: Full Cycle Battery Charge Indicator 
The battery charge indicators illustrate approximate level only, based on battery voltage.  Refer to Figure 
8-4.  
8.4 TRI-COLOR LED 
Figure 8-5: Tri-Color LED 
The Tri-Color LED changes color to indicate radio status and is visible from both the front and top of the 
radio (see Figure 8-5). The colors of the LED and the status they represent while operating in EDACS and 
P25 modes are defined below.  
Green:   Receiving 
Red:   Unencrypted transmission 
Orange:   Encrypted  transmission 
8.5 STATUS MESSAGES 
During radio operation, various radio Status Messages can be displayed. The messages are described 
below.  
MESSAGE NAME DESCRIPTION 
QUEUED Call Queued  Indicates the system has placed the call in a request queue.  
SYS BUSY System Busy  Indicates the system is busy, no channels are currently available, the queue 
is full, or an individual call is being attempted to a radio that is currently 
transmitting. 

MM-012099-001, Rev. A 
38 
MESSAGE NAME DESCRIPTION 
DENIED Call Denied  Indicates the radio or talkgroup is not authorized to operate on the selected 
system and/or talkgroup.  
CC SCAN Control 
Channel Scan  Indicates the control channel is lost and the radio has entered the Control 
Channel Scan mode to search for the control channel (usually out of range 
indication). 
WA SCAN Wide Area 
Scan  Indicates the radio has entered the Wide Area Scan mode to search for a 
new system (if enabled through programming).  
SYSC ON System Scan 
Features On  Indicates the System Scan features are enabled.  
SYSC OFF  System Scan 
Features Off  Indicates the System Scan features are disabled.  
LOW BATT  Low Battery  Battery voltage has dropped to the point to where the radio is no longer able 
to transmit. The radio will still receive calls until the battery is discharged 
beyond the point of operation at which time the radio automatically shuts 
down.  
RXEMER  Receive 
Emergency  Indicates an emergency call is being received. This message will be 
flashing on line two.  
TXEMER  Transmit 
Emergency  Indicates an emergency call has been transmitted on this radio. This 
message will be flashing on line two.  
VOL=31  Volume Level  Indicates the current volume level.  The volume level display ranges from 
OFF (muted) to 40 (loudest).  
WHC Who Has 
Called  Indicates an individual call has been received, but not responded to.  The 
indicator turns OFF if the individual call mode is entered, the system is 
changed, or the radio is turned off and then on again.  
UNKNOWN Unknown ID  Indicates an individual call is being received from an unknown ID.  
8.6 ERROR MESSAGES 
If either of the Error Messages shown below is displayed, the radio is programmed incorrectly or needs 
servicing.  
DSP  ERR 
ERR=XXXX 
(PowerUp 
only)  
or  DIG V  x 
ERR    x 
Where xxxx is the error code and DSP ERR or DIG V ERR is the message. 

MM-012099-001, Rev. A 
39 
8.7 ALERT TONES 
The P5400 radio provides audible Alert Tones or “beeps” to indicate the various operating conditions (see 
Table 8-4). 
Table 8-4: Alert Tones 
NAME  TONE  DESCRIPTION 
Call Originate  one short mid-pitched  OK to talk after pressing the push-to-talk button 
Call Queued  one high-pitched  Call queued for processing 
Autokey one mid-pitched  Queued call received channel assignment 
System Busy  three low-pitched  System busy or unable to complete call 
Call Denied  one low-pitched  Radio is not authorized on the system or group 
Carrier Control Timer  five high-pitched/one long 
low-pitched 
PTT depressed for maximum length of time 
Low Battery  one low-pitched/one short 
mid-pitched 
Low battery 
TX Low Battery Alert  one low-pitched  After PTT - battery too low to transmit 
8.8  TURNING ON THE RADIO 
1. Power ON the radio by rotating the POWER ON-OFF/VOLUME knob clockwise. A short alert 
signal (if enabled through programming) indicates the radio is ready to use.  
2. The display shows the last selected system and group or a default system and group (depending on 
programming).  
3. Adjust the POWER ON-OFF/VOLUME knob to the desired volume level.  
4. Select the desired system and group. The display indicates the current system and group names.  
5. The radio is now ready to transmit and receive calls. 
In the trunked environment, CC SCAN will be displayed if communication with the 
system's control channel cannot be established. This may occur if, for example, the 
radio is out of range of the trunking site. It may be necessary to move to another 
location or select another trunking system to re-establish the control channel link for 
trunked mode operations. CC SCAN is displayed on the group line until a control 
channel is accessed. 

MM-012099-001, Rev. A 
40 
8.9 SYSTEM SELECTION 
METHOD 1:   From the control knob: If system selection is programmed to the Voice 
Group Selection control knob, select a system by turning the knob to the 
desired system number position (1-16).  The display registers the new 
system name on line one.  The   button can be programmed to provide 
access to a “2nd bank” of 16 system number positions (17-32). 
METHOD 2:   From the keypad: If system selection is programmed as the primary function
of  and  select a system by pressing   or  to scroll through the 
system list. The display registers the new system name on line one.  
METHOD 3:   (P5470 model radios only) Direct Access: Press  to enter the system 
select mode. Press the numeric key, which is mapped to the desired system.
Press  .  The radio will move to the selected system.  
If system selection is programmed to the Voice Group Selection control knob, direct 
access to systems will not be available.  Pressing   or  will scroll through 
different sets of 16 systems each (banks) if more than 16 systems are programmed into 
the radio.  The systems within each bank are then selectable via the Voice Group 
Selection control knob as described previously in METHOD 1. 
Example:  
System: 1 = North  Group:  1 = Group 1 
  2 = South    2 = Group 2 
  3 = East    3 = Group 3 
  4 = West    4 = Group 4  
1. Press  . (South is the currently selected system.)  
2. Press  . (Press 4 to select “West” system.) 
3. Press  . (West is the newly selected system.) 
8.10 GROUP/CHANNEL SELECTION 
Several methods can be used to select a new group or channel.  
METHOD 1:   From the Control knob: If group selection is programmed to the Voice Group Selection 
control knob, select a group by turning the Voice Group Selection control knob to the 
desired group number position. The display registers the new group name on line two.
If the knob is moved to a position greater than the number of programmed groups, the
highest programmed group will remain selected. The  button can be programmed to 
provide access to a “2nd bank” of 16 group number positions (17-32). 
METHOD 2:   From keypad: If group selection is programmed as the primary function of  and 
select a group by pressing  or  to scroll through the group list. The display 
registers the new group name on line two.  
METHOD 3:   (P5470 model radios only) Direct Access: Press  to enter the group select mode. 
Press the numeric key mapped to the desired group.  Press .  The radio will move to 
the selected group.  

MM-012099-001, Rev. A 
41 
8.11  MODIFY SCAN LIST  
8.11.1 P5470 Model 
1. Press   to toggle scan OFF and verify   is not displayed. 
2. Select group or channel. 
3. Press   once to remove group or channel from list. 
4. Press   once to add as a normal group or channel. 
5. Press   twice to add as a Priority 2 group. 
6. Press   three times to add as a Priority 1 group. 
7. Press   to re-start scanning. 
8.11.2 P5450 Model 
1. Press   to toggle scan OFF and verify   is not displayed. 
2. Select group or channel. 
3. Press   once to remove group or channel from the list. 
4. Press   once to add as a normal group or channel. 
5. Press   twice to add as a Priority 2 group. 
6. Press   three times to add as a Priority 1 group. 
7. Press   to re-start scanning. 
8.12 MENU 
The Menu function accesses features that are not available directly from the keypad. The order and actual 
menu items available is configurable through programming. Upon radio power up, the menu item that is 
at the top of the menu list will always be displayed first. Subsequent access to the menu function will 
return the last menu item that was shown in the display and cursor position. 
1. To enter the menu mode, then press  . 
2. Upon entering the menu selection mode, Menu options will appear in the display (see Figure 8-6). 
Figure 8-6: Menu Display 
3. The radio will continue to receive and transmit normally while in the menu function. 
4. To scroll through the menu options use the   or  keys. When the required menu item has been 
found align the cursor with the option then press   to select it. The menu item's parameter setting 
shown in the display can now be changed by using   or  to scroll through the list of parameter 
values.  

MM-012099-001, Rev. A 
42 
5. Once the desired setting is reached press   to store the value and return the menu option selection 
level.  
For menu items that display radio information, pressing   or  will scroll through a list of 
informational displays.  Possible menu items are listed in Table 8-5. 
8.12.1  Menu Item Selection Process 
An example of the backlight menu item selection process and menu item parameter change is shown in 
Figure 8-7. 
1. Press  . The menu mode is entered.  
2. Press   or  until the display shows: 
Figure 8-7: Backlight Menu Item Selection Parameter 
3. Press  .  The backlight menu item is activated. Line one shows the active menu item and its 
current parameter setting. Line two shows the currently selected system or group name (see Figure 
8-8). 
Figure 8-8: Backlight Menu Display 
4. The menu item's parameter setting shown in the display can now be changed by using   or  . 
5. Once the desired setting is reached press   to store the value and return the menu option selection 
level. 
For menu items that display radio information pressing   or  will scroll through a list of 
informational displays. An example of information displays is shown in Table 8-5. 
The TX POWER menu item, when selected, toggles LOW/HIGH power. It does not use 
 or  to scroll nor is an additional press of the   button required. 

MM-012099-001, Rev. A 
43 
Table 8-5: Menu Item Information 
FEATURE  DISPLAY  PARAMETER 
SETTING  COMMENT 
Keypad Lock  Menu Item: 
KEY LOCK 
Once Selected: 
LOCKED 
Locked 
Unlocked 
Locks the keypad. To unlock; press and release  then within 
1 second press the option button NOTE: This sequence is also a 
short cut to locking the keypad. 
Backlight Adjust  Menu Item: 
BCK LIGHT 
Once Selected: 
BCKL= 
OFF/ON  Selects the light level for backlighting. 
Contrast Adjust  Menu Item: 
CONTRAST 
Once Selected: 
CNTRST= 
1, 2, 3, 4  Selects the display contrast level. 
Transmit Power Select  Menu Item:  
TX POWER   
Once Selected: 
POWER= 
HIGH or LOW  Selects radio output power mode. 
Radio Revision Information  Menu Item: 
REVISION 
N/A  Selects the information display to view. Informational display only 
(see Table 8-6). No user selectable settings. 
Toggle Scan On/Off  SCAN  ON/OFF  Toggles Scan operation ON/OFF. 
Toggle Private Mode  PRIVATE  ON/OFF  Toggles Private Mode ON/OFF.  
Display Current Encryption 
Key 
DISP KEY  N/A  Displays current encryption key. Informational display only. No 
selectable settings. 
Display Current Home 
Group/Channel 
HOME  N/A  Selects Home Group/Channel 
Select Desired System  SYS SEL  N/A  Selects a new system. 
Add Group/Channel to Scan 
List 
SCAN ADD  N/A  Adds to Scan List. 
Delete Group/Channel  SCAN DEL  N/A  Deletes Group or Channel from Scan List. 
Add/Delete Scan List  SCAN A/D  N/A  Add or Delete from Scan List. 
Select Telephone Numbers 
From Phone List 
PHN CALL  N/A  Trunked Only. 
Data Operation  NO DATA  ON/OFF  Trunked Only. Toggles Data Operation ON/OFF. 
Select Individual Call from 
IC List 
IND CALL  N/A  Trunked Only. 
Select Group  GRP SEL  N/A  Trunked Only. 
Feature Encryption Display  Menu Item: 
FEATURES 
N/A  Indicates current features programmed into the radio as well as 
certain information required to add features to the radio. 
Informational display only. No user selectable settings. 
System Scan Enable  Menu Item: 
SYS SCAN 
Once Selected: 
SYSC ON or SYSC 
OFF 
ON/OFF  Toggles System Scan feature ON/OFF. 

MM-012099-001, Rev. A 
44 
Table 8-6: Information Display 
RADIO ID 
XXXXXXXX 
LID in EDACS/EA In CONV it has no 
meaning. 
RAM SIZ  RAM Size 
FLSH SIZ  Flash Size 
RF BAND  Frequency Band 
PERS VER  Software Version 
DSP DATE  Date DSP code was built. 
DSP TIME  Time DSP code was built. 
DSP FEAT  The DSP Features supported by the 
DSP code, in Hexadecimal. 
Bit mapped (see IPC spec for details): 
• 0x0001 – Conventional 
• 0x0002 – EDACS 
• 0x0010 – AMPF 
• 0x0020 – undefined 
DSP VER  DSP Software Version 
FLSH VER  FLASH Software 
ex: P54U0102 
P=portable, 54=5400 radio, 
U=unencrypted, 01=major revision (>50 
means unreleased code), 02=minor 
revision 
M/A-COM 
(C) 2007 
Copyright 
PERSNLTY Personality Name 
BLD DATE  Date host (ARM) code was built. 
BLD TIME  Time host (ARM) code was built. 
8.13 BACKLIGHT ON/OFF 
1. Press   to access the menu. 
2. Press   or  to scroll through menu until “BCKLGHT” appears. 
3. Press   to select Backlight menu. 
4. Press   or  to toggle backlight ON and OFF. 
5. Press   to select new backlight setting. 
8.14 CONTRAST ADJUST 
1. Press   to access the menu. 
2. Press   or  to scroll through menu until “CONTRAST” appears. 
3. Press   to select Contrast menu. 
4. Press   or  to adjust contrast setting from 1 - 4. 
5. Press   to select new contrast setting. 

MM-012099-001, Rev. A 
45 
8.15  DECLARING AN EMERGENCY 
1. Press and hold the red Emergency/Home button (the length of time is programmable; check with the 
system administrator). 
2. *TXEMER* will flash in the display, plus   and   will be displayed. After 2-3 seconds the 
transmit icon   will turn off. 
3. *TXEMER* and   will remain until the emergency is cleared.  See Section 8.21 for additional 
emergency operation. 
4. Press the PTT and   will reappear. 
5. Release PTT when the transmission is complete.  
8.16 LOCKING/UNLOCKING KEYPAD 
1. Press   button. 
2. Within 1 second, press the   button on the side of the radio. 
8.17  HIGH/LOW POWER ADJUSTMENT 
Transmit power adjustment is possible if enabled through programming. Within conventional systems, 
transmit power is adjustable on a per channel basis. Within EDACS trunking systems, transmit power is 
adjustable on a per system basis.  
There are two ways to toggle between high and low power, described in Sections 8.17.1 and 8.17.2. 
8.17.1  Using the Menu Button 
1. Press  . 
2. Using the   or  keys, scroll until the cursor (>) appears to the left of “TX POWER” in the 
display. 
3. Press   again to toggle between High and Low power. 
4. “POWER = HIGH” or “POWER = LOW” will appear momentarily on the top line of the display. 
8.17.2  Using the Pre-Programmed Option Button 
Press the Option button. “POWER = HIGH” or “POWER = LOW” will appear momentarily on the top 
line of the display. 
8.18 DIGITAL VOICE OPERATION 
Digital voice programmed systems have three (3) different voice modes: clear (analog), digital, and 
private (encrypted). The voice modes are programmed on a per-group basis within each trunked system 
and on a per-channel basis within each conventional system. 

MM-012099-001, Rev. A 
46 
8.18.1 Clear Mode 
The Clear Mode is a voice mode in which the radio transmits and receives only clear (analog) voice 
signals. These analog signals are non-digitized and non-encrypted. Clear mode transmissions can be 
monitored easily by unauthorized persons.  
Groups or channels programmed for clear operation cannot transmit or receive digital or 
private messages. 
8.18.2 Digital Mode 
The Digital Mode allows the radio to transmit and receive digitized voice signals. Digital signals provide 
improved weak signal performance and cannot be easily monitored with a standard receiver. Groups or 
channels programmed for digital operation transmit only digital signals. Message trunked group calls and 
individual phone calls (I-Calls) are answered back in the mode in which they were received assuming the 
call or hang time is still active. Individual phone, all call, and emergency calls are transmitted clear if the 
digital mode is disabled or inoperative. 
1. If receiving an analog message trunked call, the radio responds in the analog mode during the 
hang time on the working channel. 
2. If receiving an analog I-Call, the radio responds in the analog mode during the hang time. 
3. When using the *WHC* feature to respond to an I-Call (after the hang time has expired), the call 
is transmitted in the mode defined by the system mode as programmed for the current system if 
the ID being called is not in the I-Call list. If the ID is in the I-Call list, then the call is transmitted 
as defined by the I-Call mode programmed in the list for that ID. 
The overdial DTMF tones are not available while in the Digital Mode. 
8.18.3 Private Mode 
The Private Mode allows the radio to transmit encrypted messages and receive clear or private 
transmissions. The radio transmits private if the group/channel is programmed for private operation and 
forced operation is pre-programmed. If auto-select operation is pre-programmed and the radio is in the 
Private Mode, the radio transmits in the mode of the received call if the hang time is active. If no hang 
time is active, the radio transmits private.  
Cryptographic keys are transferred to the radio using a cryptographic Keyloader.  Up to seven (7) 
different cryptographic keys, numbered 1-7, can be transferred from a Keyloader and stored in the radio.  
An individual key is automatically selected on a per-group/channel basis according to the radio 
programming.  Groups and channels within the digital system can be programmed for keys 1-7 (private). 
Up to 8 banks of 7 keys can be stored for private systems.  The bank is specified per system.  
When operating on a group or channel programmed for Private Mode, all transmissions are private 
transmissions and the radio receives clear and private signals.  The status icon   is displayed when the 
Private Mode is enabled. If the selected group or channel is programmed for auto-select capability, the 
mode may be toggled between private and clear with the   key, then following the selection mode 
rules.  Radios programmed for forced private operation do not allow a change of the transmit mode. 

MM-012099-001, Rev. A 
47 
8.18.3.1 Displaying the Currently Used Cryptographic Key Number 
To Display the Currently Used Cryptographic Key Number for either the system encryption key (for 
special call such as individual, phone, all, agency or fleet) or the group/channel key (for group or 
conventional calls), perform the following procedure: 
1. Press the   button. 
2. Use the   or   button to select "DISP KEY." 
3. Use the   or   button to toggle between displaying the system key (Figure 8-9) or the 
group/channel key (Figure 8-10). 
Figure 8-9: System Encryption Key Display 
Figure 8-10: Group/Channel Encryption Key Display 
8.18.3.2 Key Zero 
All cryptographic keys can be zeroed (erased from radio memory) by pressing the   button and while still 
pressing this button, press and hold the OPTION button. Press both buttons for 2 seconds.  A series of 
beeps will begin at the start of the 2 second period and then switch to a solid tone after the keys have been 
zeroed.  The display will indicate KEY ZERO. 
If the cryptographic key(s) are zeroed, one or more keys must be transferred from the Keyloader into the 
radio before private communications may continue. 
8.18.4 Private Operation 
8.18.4.1 Receiving an Encrypted Call 
When receiving, the radio automatically switches between clear or private operation.  If the transmission 
being received is an encrypted transmission, it will be decrypted, the   icon will be displayed, the receiver 
will unsquelch, and the message will be heard in the speaker.  For this to occur, the selected group or 
channel must be programmed for private operation and the correct cryptographic key must be loaded into 
the radio. 
8.18.4.2 Transmitting an Encrypted Call 
1. Select the desired group or channel. 
2. Place the radio in Private Mode by pressing   key; then follow the selection mode rules. On a 
System radio, the   key can be used to toggle the Private Mode ON/OFF. When Private Mode is 
enabled, the   icon is displayed. 

MM-012099-001, Rev. A 
48 
3. If the last state of the radio was Private Mode, the Private Mode will be enabled on power up. Also, 
the Private Mode will be enabled if forced operation has been programmed in the radio.  
If a group or channel is not programmed for Private Mode operation, PVT DIS will be displayed if 
an attempt is made to enable private transmit mode. It is not possible to operate on this group/channel 
in Private Mode.  
If the radio does not have the correct encryption key loaded, NO KEY# will be displayed and the call 
will not be transmitted. 
4. Continue with standard transmission procedures. A Private Mode access tone will be heard when the 
PTT button is pressed. 
8.18.4.3 Scanned Group Calls 
Receiving a Scanned Group Call is the same as receiving a selected group call. During the scan hang 
time, if the radio was programmed for auto-select, it will transmit back in the same mode it received the 
call. For example, if a clear group is entered in the scan list, it will only receive clear calls. If the same 
group was available in private and entered in the scan list, it can receive clear and private calls, provided 
auto-select was programmed in the radio. The user can select transmitting on the scanned or selected 
group. If a group is entered in the scan list more than once and under different modes, (clear, digital, or 
private), then only the first occurrence of the group will be used. 
Table 8-7: Transmit/Receive Mode Compatibility for Digital Voice Operation 
GROUP/CHANNEL 
PROGRAMMING 
(TRANSMIT) 
CLEAR 
RECEIVE  DIGITAL  
RECEIVE  PRIVATE 
RECEIVE 
CLEAR Yes No No 
DIGITAL Yes Yes No 
PRIVATE Yes No Yes* 
*assumes the proper cryptographic key is loaded 
Conventional digital or encrypted channels require Channel Guard on the channel to 
operate correctly. 
The voice coding technology embodied in this product is protected by intellectual 
property rights including patent rights, copyrights, and trade secrets of Digital Voice 
Systems, Inc.  The user of this technology is explicitly prohibited from attempting to de-
compile, reverse engineer, or to disassemble the Object Code, or in any other way 
convert the Object Code into a human-readable form. 
8.19  SCANNING TRUNKED GROUPS 
Groups that have been previously added to the scan list on a per system basis may be scanned.  Each 
system's group scan list is retained in memory when the radio is powered OFF or when the battery pack is 
removed.  

MM-012099-001, Rev. A 
49 
8.19.1  Turning Scan On and Off 
1. Toggle Scan operation ON by pressing   (P5450 model) or   (P5470 model).   icon rotates 
clockwise to indicate radio is scanning.  
2. Toggle Scan operation OFF by again pressing   (P5450 model) or   (P5470 model).   will 
disappear.  
• If the radio scans to a group other than the selected group then receives a call on the selected 
group, the radio will switch to the selected group. However, if the “scanned-to” group is 
programmed at a higher priority the radio will remain on the “scanned-to” group. 
• The radio will continue scanning if a new group is selected when scan is ON.  
3. Pressing the PTT button when scan is ON will cause the radio to transmit on the displayed group or to 
the currently selected group (depending on programming). 
8.19.2  Adding Groups to a Scan List 
P5450 Model Radio 
1. Scan must be OFF to add/delete groups to/from the scan list. If the Scan icon   is ON, press the   
key to turn Scan OFF.  
2. Select the desired group using the Voice Group Selection control knob and/or the   or  keys. If 
the selected group is currently on the list, pressing   will display   on line three.  
3. If the scan list status icon is blank ( ), the group can be added to the scan list by pressing the   key. 
 will be displayed on line three. 
4. Press the   key a second time to set the group to Priority 2. A   is displayed on line three.  
5. Press   a third time to set the group to Priority 1. A   is displayed on line three. The priority level 
section sequence only advances the group to the next high priority level and stops at priority level 1. 
To select a lower priority level, the group must be deleted from the scan list and then added back to 
the scan list. Each new group added to the scan list starts at the lowest priority. If the Priority 1 and 
Priority 2 groups are already set and a new group is assigned as Priority 1 or Priority 2, the previously 
assigned group will change to non-priority scanning. One of the following messages may be 
momentarily displayed. 
SCAN DIS The radio is not programmed to scan.  
FIXED P1 A Priority 1 group has been pre-programmed into the radio. A new Priority 1 group 
cannot be selected.  
FIXD LST A fixed scan list has been pre-programmed into the radio. It is not possible to change 
the list without reprogramming the radio.  
To quickly view multiple group scan status, press   then slowly but consistently rotate 
the group knob. Each group status will appear on the display. 

MM-012099-001, Rev. A 
50 
P5470 Model Radio 
1. With scan operation turned OFF, select the desired group to add to the selected trunked system group 
scan list.  
2. Press  . The current priority status of the group will be displayed in column 10 of line three for a 
time-out period. If the group is not part of the scan list the status will be blank.  
3. While the status is displayed, press   to add the group to the scan list.   is displayed on line three.  
4. Press   a second time to set the group to Priority 2. A   is displayed on line three.  
5. Press   a third time to set the group to Priority 1. A   is displayed on line three. The priority level 
selection sequence only advances the group to next higher priority level and stops at priority level 1. 
To select a lower priority level, the group must be deleted from the scan list and then added back to 
the scan list. Each new group added to the scan list starts at the lowest priority. If the Priority 1 and 
Priority 2 groups are already set and a new group is assigned as Priority 1 or Priority 2, the previously 
assigned group will change to non-priority scanning. One of the following messages may be 
momentarily displayed. 
SCAN DIS The radio is not programmed to scan.  
FIXED P1 A Priority 1 group has been pre-programmed into the radio. A new Priority 1 group 
cannot be selected.  
FIXD LST A fixed scan list has been pre-programmed into the radio. It is not possible to change
the list without reprogramming the radio.  
To quickly view multiple group scan status, press either   or the   key. Then slowly 
but consistently rotate the group knob. Each group status will appear on the display. 
8.19.3  Deleting Groups from a Scan List 
P5450 Model Radio 
1. With scan operation turned OFF, select the desired group to delete from the selected trunked system 
group scan list.  
2. Press  . The current status of the group is displayed for a time-out period.  
3. While the current status is displayed, press  . until the group from the scan list is "blank". The 
sequence is "blank",   ,   ,   ,"blank". Any group that is not in a trunked system group scan list will 
show a "blank" for the time-out period when it is the selected channel. 
P5470 Model Radio 
1. With scan operation turned OFF, select the desired group to delete from the selected trunked system's 
group scan list.  
2. Press  . The current status of the group is displayed for a time-out period.  
3. While the status is displayed, press   to delete the group from the scan list.   ,   ,or   turns OFF. 
Any group that is not in a trunked system group scan list will show a "blank" for the time out period 
when it is the selected channel. 

MM-012099-001, Rev. A 
51 
8.19.4 Nuisance Delete  
A group can also be deleted from the scan list, if it is not the currently selected group, by pressing the   
key (P5450 model) or the   key (P5470 model) during scan operation while the radio is displaying the 
unwanted group. The group will be deleted from the system's group scan list in the same manner as if 
done using the steps above. Deletions done in this manner will not remain deleted if the radio is powered 
OFF and then powered ON. 
8.20 SCANNING TRUNKED SYSTEMS 
The radio can be programmed using Radio Personality Manager (RPM) with the following System Scan 
features. Then these features are automatically enabled when the radio is powered ON. A key or menu 
option is also defined to allow the System Scan features to be toggled during radio operation. The System 
Scan state will be maintained through system changes but will default to ON when the radio is powered 
ON. 
Enable/Disable via Menu Selection 
Press   and then use the   or  buttons to scroll through the selections until SYS SCAN is 
displayed. Then press   to toggle the System Scan state. The SYSC ON or SYSC OFF display 
message is displayed for two seconds to show the new state. 
Enable/Disable via Pre-Programmed Keypad Key 
Press the key pre-programmed to toggle System Scan and the SYSC ON or SYSC OFF display message 
is displayed for two seconds to show the new state. 
8.20.1  Wide Area System Scanning 
The P5400 series radio can be pre-programmed through RPM for Wide Area System Scan operation for 
roaming across mobile systems.  EDACS radio systems manage the radios assigned to the system via a 
control channel (CC).  Upon the loss of the currently selected system's control channel, radios can be 
programmed to automatically scan the control channels of other systems. If a new control channel is 
found, the radio will switch to the new system and sound an alert tone. 
8.20.2  Priority System Scan 
The radio can also be pre-programmed for Priority System Scan.  The priority system is the desired or 
preferred system.  While receiving the control channel of the selected system, the radio will periodically 
leave the selected system and search for the control channel of the priority system.  This is done at a pre-
programmed rate defined by the value in the Priority Scan Time control, unless the ProScan™ algorithm is 
enabled, as explained in the following sections.  This priority scan timer is reset each time the PTT button 
is pressed or when the call is received.  If the priority system control channel is found, or meets the 
predefined criteria (ProScan), the radio will automatically switch to the priority system. 
8.20.2.1 Enabling the Wide Area System Scan Function 
If the radio cannot find the control channel of the selected system and begins to wide area system scan, 
the radio will only scan for the priority system control channel if the priority system is in the wide area 
scan list. 
8.20.2.2 When ProScan is Enabled 
The radio monitors the priority system and will switch to the priority system if the pre-preogrammed 
criteria ProScan options are met.  If ProScan is enabled, the rate at which the radio will scan for the 

MM-012099-001, Rev. A 
52 
priority system is defined by the System Sample Time control, set in RPM, (refer to RPM On-Line Help).  
See Section 8.20.3 for more information on ProScan. 
8.20.3 ProScan 
The radio may be programmed for ProScan system scan operation for multi-site applications.  ProScan is 
a multi-site system scanning algorithm.  ProScan provides the radio with the ability to select a new 
system for the radio to communicate on, when the selected system drops below a predefined level.  This 
algorithm enables each radio to analyze the signal quality of its current control channel and compare it 
with the signal quality of the control channel for each site in its adjacent scan list.  The signal quality 
metric used for the ProScan algorithm is based on a combination of both Received  Signal  Strength 
Indicator (RSSI) and Control Channel Verification (CCV) measurements.  When the selected system 
degrades to a pre-programmed level, the radio will begin to look for a better control channel.  Once a 
control channel that exceeds the pre-programmed parameters is found, the radio will change to the new 
system and emit a tone (if enabled through programming).  If the control channel is completely lost, the 
radio will enter Wide Area System scanning and search the programmed adjacent systems until a suitable 
control channel is found. 
8.21 EMERGENCY OPERATION 
The radio's ability to declare an emergency, clear an emergency, remain locked on an emergency system 
and group, and the emergency audio and display freeze can each be enabled or disabled through 
programming.  When an emergency is declared scanning will stop and restarts only after the emergency 
has been cleared. 
8.21.1 Receiving an Emergency Call 
When receiving an Emergency Call on the selected group and system, an alert beep is heard and   is 
displayed. The message *RXEMER* flashes in the display on line two until the emergency condition is 
cleared. 
8.21.2 Declaring an Emergency Call 
Perform the following steps to send an emergency call to a selected system and group (or on an optionally 
pre-programmed group).  
1. Press and hold the red EMERGENCY button that is on top of the radio in front of the antenna for 
approximately one second (this time is programmable and therefore could be longer or shorter; check 
with the system administrator). The radio will transmit an emergency call request with the radio ID 
until an emergency channel assignment is received.  
2. When the working channel assignment is received, the radio sounds a single beep indicating the radio 
has auto keyed (see Table 8-4) and is ready for voice transmission. *TXEMER* flashes on line two in 
the display until the emergency is cleared.  
3. Press PTT and speak into the microphone in a normal voice.   and   momentarily turn ON.  
4. Release PTT when the transmission is complete.  
To clear the emergency first press and hold the   button. While continuing to hold the   button, press the 
EMERGENCY button. (This will work if the radio is programmed to clear emergencies.) 

MM-012099-001, Rev. A 
53 
8.22 INDIVIDUAL CALLS 
8.22.1  Receiving and Responding to an Individual Call 
When the radio receives an individual call (a call directed only to the user's radio), it un-mutes on the 
assigned working channel and displays  . The first line on the display shows the logical ID number of the 
unit sending the message, or the associated name if the ID number is found in the individual call list. The 
radio can be programmed to ring when an individual call is received. If enabled, the ring begins five 
seconds after the caller un-keys and will continue until the PTT button, the   button or the individual call 
mode is entered. 
The volume of the ring is adjustable through the volume control levels. 
If a response is made by pressing the PTT to the call prior to the programmed call-back time-out, the call 
will automatically be directed to the originating unit. If a response is not made before the call-back time-
out, the radio will return to normal receive display, and *WHC* will appear on the first line of the LCD.  
To respond after the call-back time-out, press the   key. The radio's display will show the callers ID on 
the first line and WHCI=1 on the second line. Pressing the PTT button at this point will initiate an 
individual call back to the original caller.  
The radio stores the IDs of the last 10 callers in the Calls Received List as shown. Individual calls are 
stored in the top half of the list (1-10) and Group calls are stored in the bottom half of the list (1-10). The 
most recent call is stored in position 1, the second most recent call is stored in position 2, etc. 
Figure 8-11: Calls Received Lists 
To access the Calls Received List, press the   key twice. Use the   or  buttons to scroll through 
the list. Pressing the   key will display the time elapsed since the call was received. After pressing   
the display will appear similar to Figure 8-12. 

MM-012099-001, Rev. A 
54 
Figure 8-12: WHC Individual Call Display 
Pressing the PTT will initiate an individual call to the displayed logical ID. Powering the radio OFF and 
ON will clear this list. 
8.22.2  Sending an Individual Call 
8.22.2.1 Pre-Stored Individual Calls 
The following procedures describe how to initiate and complete a Pre-Stored Individual Call. 
P5470 Model Radio 
1. To select a pre-stored individual phone number, enter the individual call mode using the   key.   is 
displayed. Then scroll through the list of stored numbers using the   or  keys.  
2. Press the PTT button; when the radio is clear to transmit,   turns ON,   turns OFF and the channel 
access tone sounds. Line one shows the called individual's name if found in the list of stored 
individuals or LID followed by the logical ID number of the unit being called. The message *INDV* 
displays on line two. 
P5450 Model Radio 
1. To select a pre-stored individual number, enter the menu mode by pressing the   key. Scroll 
through the mode list using the   or  buttons.  
2. Press  .   is displayed. Scroll through the list of stored phone numbers using the   or  
buttons until the desired number is displayed. Press  . 
3. Press the PTT button; when the radio is clear to transmit   turns ON,   turns OFF and the channel 
access tone sounds. Line one shows the called individual's name or LID. The message *INDV* 
displays on line two. 
8.22.2.2 Direct Dial Individual Calls (P5470 Model Only) 
1. The following procedure describes how to initiate and complete a Direct Dial Individual Call. 
2. The individual call ID is not stored in the pre-stored list of call IDs but the individual unit ID is 
known, it can be entered directly from the keypad. 
3. Press and hold the PTT button to transmit.   will turn ON,   will turn OFF, and the channel access 
tone will sound. Line one shows the called individual's ID followed by the logical ID number of the 
unit being called. The message *INDV* displays on line two. Proceed talking into the microphone. 
8.22.3  Call Storage Lists 
There are two lists available for call storage in the P5400 series radios, the calls received list (1 - 10) and 
the personality list (1 - 99 as defined by the user). When the individual call mode is entered by pressing 
, the calls received list is available. The user can toggle to the personality list by selecting any index 
other than 0 or toggle between the two lists by pressing the   key. If wrap is enabled, the calls received 
list wraps on itself and not into the other list. 

MM-012099-001, Rev. A 
55 
Figure 8-13: Calls Received and Personality Lists 
The saved call list shows all ten storage locations. If no calls have been received, the saved call list will be 
empty and the pre-stored list will be available upon entering the individual call mode.  
When in the saved call list, pressing the   key toggles the time stamp ON and OFF. The time stamp 
indicates how long ago the call was received. When in the pre-stored list pressing the   key toggles the 
Logical IDentification (LID) ON and OFF. 
8.23  TELEPHONE INTERCONNECT CALLS 
8.23.1  Receiving a Telephone Interconnect Call 
When the radio receives a telephone interconnect call (a call directed only to the user's radio), it un-mutes 
on the assigned working channel and displays  . The first line displays *PHONE*. The second line 
displays *INDV*. Proceed with the call. Press the PTT to talk, release the PTT to listen. 
8.23.2  Sending a Telephone Interconnect Call 
8.23.2.1 Pre-Stored Number 
Use the following procedures to initiate and complete a Telephone Interconnect call.  
1. P5470 Model: To select a previously stored phone number, press the   key. Use the   or  
buttons to scroll through the list of stored numbers.  
P5450 Model: To select a previously stored phone number, press the   key. Use the   or  
buttons to select the menu option PHN CALL. Press the   key again then use the   or  
buttons to scroll through the list of pre-stored numbers.  
2. Press and release the PTT button. When the radio is clear to transmit,   turns ON,   turns OFF and 
the channel access tone sounds. Line one shows the accompanying name selected from the list of 
stored numbers. The message *PHONE* appears on line two of the display. The radio then 
automatically transmits the programmed number stored in the special call queue.  
3. A telephone ring will be heard from the speaker. When someone answers the phone, press the PTT 
button and speak into the microphone. Release the PTT button to listen to the callee. Unsuccessful 
interconnect signaling returns the radio to the normal receive mode and the number remains displayed 
until the special call is cleared or the time-out expires or another group or system is selected. 
Terminate a call by pressing the   button. 

MM-012099-001, Rev. A 
56 
In half-duplex mode, only one person may talk at a time. The radio PTT button needs 
to be pressed in order to communicate to the individual called and released for the 
individual called to be heard. 
8.23.2.2  Direct Dialing of Phone Calls (P5470 Model Only) 
1. If the phone number is not stored in the pre-stored list of phone numbers, but the phone number is 
known, it can be entered directly from the keypad. Start by pressing the   key, then enter the 
required number from the keypad.  Press and release the PTT button. 
The last number directly entered can be recalled by first pressing   then pressing the 
PTT button. 
2. A telephone ring can be heard from the speaker. When someone answers the phone, press and hold 
the PTT button and speak into the microphone. Release the PTT button to listen to the individual 
called. Unsuccessful interconnect signaling returns the radio to the normal receive mode and the 
number remains displayed until the special call is cleared or the time-out expires or another group or 
system is selected. 
3. To terminate the call, momentarily press the   button. 
8.23.3 Dual-Tone Multi-Frequency: Overdial/Conventional Mode 
Once the radio has established a connection to the public telephone system, it may be necessary to “over-
dial” more digits to access banking services, answering machines, credit card calls, or other types of 
systems that require Dual-Tone Multi-Frequency (DTMF) access digits. 
Overdial operation can also be used to initiate a telephone interconnect call via DTMF signaling if a dial 
tone has already been accessed on the system. This method makes a telephone interconnect call while 
operating in the conventional mode but will also function in trunked mode if a dial tone is directly 
accessible. 
Telephone numbers and other number sequences for overdialing can be stored in the phone list when 
programming the radio. These numbers are accessed by pressing the   key, then following the selection 
mode rules. Perform the following procedures to access and dial these stored numbers. 
P5450 Model Radio 
1. Follow the procedure in Section 8.23.2 to establish a connection to the telephone system or consult 
the system administrator for the procedure to access a dial tone on the trunked or conventional 
system.  
2. Enter selection mode first to enable entry of Overdial numbers by pressing the   button.  
3. Follow the selection mode rules to call up a stored number from the phone list: Use the   or  
buttons to scroll through the list of stored numbers.   is displayed. Press the PTT to send the overdial 
sequence once. If the number needs to be transmitted again it must be selected or entered again (this 
prevents unwanted numbers from being sent the next time the PTT button is pressed during the call).  
Overdial select/entry mode remains active until the call is dropped, cleared, or   is pressed. The 
overdial select/entry mode can be re-entered if the call is still active by pressing  . 

MM-012099-001, Rev. A 
57 
P5470 Model Radio 
1. Follow the procedure in Section 8.23.2 to establish a connection to the telephone system or consult 
the system administrator for the procedure to access a dial tone on the trunked or conventional 
system.  
2. Overdial numbers are transmitted using one of the following methods: 
METHOD 1:   1. Enter the overdial selection mode by pressing the   button.   
2. Use the   or  buttons to scroll through the list of stored numbers.  is 
displayed. Press the PTT to send the overdial sequence once. If the numbe
r
needs to be transmitted again it must be selected or entered again (this
prevents unwanted numbers from being sent the next time the PTT button
is pressed during the call).  
Overdial select/entry mode remains active until the call is dropped, cleared, o
r
 is pressed. The overdial select/entry mode can be re-entered if the call is 
still active by pressing  . 
METHOD 2:   (P5470 model radios only) 
1. Enter the overdial selection mode by pressing the   button.   
2. Press and hold the PTT button while entering the overdial number
sequence from the keypad.  This method sends DTMF tones during
individual, telephone interconnect, trunked group, or conventional channel
calls.  Press the PTT to send the overdial sequence once. If the numbe
r
needs to be transmitted again it must be selected or entered again (this 
prevents unwanted numbers from being sent the next time the PTT button
is pressed during the call).  Note: Anytime the PTT button is pressed an
d
held, the keypad is enabled for DTMF entry. 
Overdial select/entry mode remains active until the call is dropped, cleared, o
r
 is pressed. The overdial select/entry mode can be re-entered if the call is 
still active by pressing  . 
This overdial select/entry mode remains active until dropped, cleared, or   is pressed. The overdial 
select/entry mode can be re-entered if the call is still active by pressing the   button. 
8.24 PROGRAMMABLE ENTRIES 
8.24.1 Pre-Storing Individual and Telephone Interconnect Calls from the 
Keypad 
Individual Call ID numbers, telephone numbers, and other number sequences for overdialing are stored in 
the special calls lists when programming the radio. The first ten entry locations of these lists can be 
changed by the radio operator. The keypad is used when adding, changing, and storing numbers in these 
entry locations.  
Use the following procedure to store a number in one of the first ten entries of a special call list:  
1. Press the   or   button to enter the individual call list or the phone call list.   is displayed. 
2. Scroll through the list using the   or  keys until one of the first ten entries is reached. NO 
ENTRY is displayed if the location is empty.  
3. Enter the desired number. If necessary, a pause can be entered by pressing and holding 0-9,  , or 
 until an underscore appears in the display (telephone interconnect only). The individual call list 

MM-012099-001, Rev. A 
58 
entries will accept up to 5 digits. The phone call list entries accept a combination of up to 31 digits 
and pauses.  
4. Press and hold the   key until the display changes indicating that the number has been stored.  
Repeat steps 1-4 to store additional numbers, to change numbers already stored, or to change the storage 
location of a number. 
8.25 STATUS/MESSAGE OPERATION 
The Status and Message operations allow for the transmission of a pre-programmed status or a pre-
programmed message to an EDACS site.  Each Status and Message is assigned an ID then cross-
referenced with the representative status condition (“Off Duty,” for example) or a message (“Call home”).  
In addition, Status conditions can also be associated with a programmable Menu entry (required for 
second method of transmitting a Status condition (see Section 8.25.1). 
8.25.1 Status Operation 
P5470 Model Radio 
One of two methods can be used to transmit a status condition. 
METHOD 1:   1. Press the   key, then use the   or  buttons to scroll to the pre-programmed 
status condition. STATUS and 0 through 9 pre-programmed status selections are 
available from the menu.   
2. If STATUS is selected, you need to enter the number of the status condition you
intend to transmit. If no status has been programmed for the selected number key,
the radio will display NO ENTRY. A valid selection will display the status for a pre-
programmed time. 
After the time-out expires or the   key has been pressed (the   key will override the 
time-out period), the status is selected and will be transmitted to the site or stored in the
radio memory where it can be polled by the site at a future time.  
METHOD 2:  1. Press the   key.  
2. Press the corresponding pre-programmed 0 through 9 status condition key.  If no 
status has been programmed for the selected number key, the radio will display
NO ENTRY. A valid selection will permit the status condition to appear in the top 
line of the display and the status ID to appear in the second line of the display for a 
pre-programmed time.   
After the time-out expires or the   key has been pressed (the   key will override the 
time-out period), the status is selected and will be transmitted to the site or stored in the 
radio memory where it can be polled by the site at a future time. 
View the currently selected status after it has been transmitted by pressing the   key and then the   
key and then the   button prior to the time-out period. If the status was not sent successfully to the site, 
the text associated with the status condition will flash in the display. 
The status selection can be changed by pressing a different status key 0 through 9, or the status operation 
can be cancelled by pressing Option Button 2  .  Both operations must be carried out prior to the time-
out period.  

MM-012099-001, Rev. A 
59 
8.25.2 Message Operation 
The following method can be used to transmit a Message using the Message Operation. 
1. Press the   key. 
2. Press the corresponding pre-programmed 0 through 9 pre-programmed “message” key.  If no message 
has been programmed for the selected number key, the radio will display NO ENTRY. A valid 
selection will permit the message to appear in the top line of the display and the message ID to appear 
in the second line of the display for a pre-programmed time.   
The message selection can be changed by pressing a different message key 0 through 9, or the message 
operation can be cancelled by pressing Option Button 2  .  Both operations must be carried out prior to 
the pre-programmed time-out period.  
8.26  DYNAMIC REGROUP OPERATION 
Dynamic Regroup Operation permits multiple talk groups (up to eight) to be added to a radio via the 
system manager. The radio must be pre-programmed to respond to regrouping. Dynamic regrouping will 
not be activated in a radio until the system manager sends an activation message. Each radio that receives 
and acknowledges the regrouping instructions is successfully regrouped.  
Pressing and holding the   button for 2.5 seconds toggles the user into and out of the dynamic regroup 
groupset. A double beep will sound for entry or exit. The display will indicate REGRP_0x where "x" is a 
digit of 1 to 8 indicating the group (when dynamic regroup has been enabled by the user). If the radio is in 
dynamic regroup and the user selects a group that has not been regrouped, the display will show NO 
ENTRY. The radio will be prevented from transmitting and receiving calls in this condition except for 
scanned groups.  
After the time-out expires or the   key has been pressed (the   key will override the time-out 
period), the status is selected and will be transmitted to the site or stored in the radio memory where it can 
be polled by the site at a future time. 
8.26.1 Emergency Operation  
If the pre-programmed groupset on the currently selected system contains an EMER/HOME group and 
the radio is in dynamic regroup, the radio will declare the emergency on the currently selected dynamic 
group. 
8.27 MACRO KEY OPERATION 
Macro key operation permits the user to accomplish a series of keystrokes with a single "macro" 
keystroke. Each Macro Key is capable of executing up to twenty (20) keystrokes, to any push button input 
(i.e., keypad keys, OPTION buttons, etc.). Each macro key can be pre-programmed to activate when 
pressed or when released.  
A macro key may also be pre-programmed to change the key stroke sequence the next time the macro key 
is activated.  
For detailed operation and assignment of macro keys, contact your communications supervisor or 
administrator. 
8.28 PORTABLE DATA 
The P5400 series portable radios, when operating in the EDACS Trunked configuration, permit both 
voice and data calls to be transmitted and received. The radio can handle only one type of call at a time; 

MM-012099-001, Rev. A 
60 
however, either data or voice is selected transparently by the operator through normal usage of the radio. 
Data communications is not supported in conventional mode.  
The radios can be connected to a Mobile Data Terminal (MDT) or to a host computer. Any RS-232 
compatible device that supports the Radio Data Interface (RDI) protocol (Version 1.91 or greater) may be 
connected to the radio. Support for MDTs or host computers is a programmable option per radio. 
Additionally, radios may also be programmed for data only operation (no voice calls transmitted or 
received). 
8.28.1 Displays 
The following will be displayed during the various states of data mode of operation: 
TX DATA Appears on top line of display when the radio is transmitting a data call.  
RX DATA Appears on top line of display when the radio is receiving a data call.  
DATA OFF Appears on top line of display when the radio is in the data disabled state.  
DATA ON Appears for two seconds on top line of display when the radio is toggled to the data
enabled state.  
8.28.2  DATA OFF Operation 
The radio can be placed in the data disabled state by any of the following methods. When the data state is 
disabled, DATA OFF appears on the top line of the display.  
• Declaring an emergency (not to be used unless an actual emergency condition exists). Alert tone will 
sound.  
• Pressing Option Button 1   (if pre-programmed as “no data” key). Alert tone will sound.  
• Pressing the pre-programmed “no data” (ND) key.  Refer to previous bullet. 
8.28.3 DATA ON Operation 
The data state is enabled by one of the following (depending on how it was disabled). DATA ON will 
appear on the top line in the display for two seconds then the display will return to normal.  
• Pressing the pre-programmed “no data” (ND) key toggles data state ON or OFF.  
• Clearing an emergency. This is valid only if the emergency caused “DATA OFF” operation. 
8.28.4  Exiting Data Cells 
Under normal conditions, the radio enters the scan lockout mode and returns to the control channel after 
completion of a data call (transmit or receive). If, during a data call, one of the following operations 
occurs, the data call is immediately terminated and the radio performs the desired function:  
• If the PTT is activated. 
• If an Emergency is declared by pressing the pre-programmed emergency button. 
• If a group or system is changed. 
8.28.5  Scan Lockout Mode 
Following the transmission or reception of a data call, if scan is enabled, scanning will stop temporarily.  
There are two independent pre-programmed times associated with this mode; one after a received data 

MM-012099-001, Rev. A 
61 
call and one after a transmitted data call. During this time the scan indicator will flash to indicate that scan 
is enabled but temporarily suspended. This condition typically returns to normal scan operation when the 
pre-programmed time expires; however, the following operations and conditions will terminate the scan 
lockout mode before the timeout has expired. 
• Press the   button.  
• Press the PTT.  
• Change a group or system.  
• Enter Telephone Interconnect mode.  
• Enter Individual call mode.  
• Receive a new emergency assignment.  
• Declare or clear an emergency.  
• Receive an individual or phone call.  
• Receive an Agency, Fleet, or System All Call. 
• Press   (P5450 model) or   (P5470 model) to toggle Scan ON or OFF. 
8.28.6  Data Lockout Mode 
During the voice call scan hang time (pre-programmed) the radio will not receive data calls. 

MM-012099-001, Rev. A 
62 
  This page intentionally left blank 

MM-012099-001, Rev. A 
63 
CONVENTIONAL OPERATION 

MM-012099-001, Rev. A 
64 
9 CONVENTIONAL OPERATION 
The radio functions in the conventional mode when using conventional communications channels (non-
trunked).  
9.1 CONTROLS 
The radio features two rotary control knobs and an emergency button mounted on the top of the radio. 
Push-To-Talk and option buttons are mounted on the side. The front mounted keypad has six buttons on 
the P5450 Scan model and 15 buttons on the P5470 System model. 
Figure 9-1: Top View  Figure 9-2: Side View 

MM-012099-001, Rev. A 
65 
9.1.1  Buttons and Knobs 
This section describes the primary function of the button and knob controls.  Refer to Figure 9-1 and 
Figure 9-2. 
POWER ON-OFF 
VOLUME KNOB  Applies power to and adjusts the receiver’s volume.  Rotating the control 
clockwise applies power to the radio. A single alert tone (if enabled through 
programming) indicates the radio is operational. 
Rotating the control clockwise increases the volume level.  Minimum 
volume levels may be programmed into the radio to prevent missed calls 
due to a low volume setting.  While adjusting the volume the display will 
momentarily indicate the volume level (i.e. VOL=31).  The volume range is 
from a minimum programmed level of zero (displayed as OFF in the display) 
up to 40, which is the loudest level. 
VOICE GROUP 
SELECTION 
CONTROL KNOB 
Selects pre-programmed channels.  This is a 16-position rotary knob.  
Note: A mechanical stop, which can limit the positions accessed, is shipped 
with the radio but must be installed. To install the mechanical stop, remove 
the Voice Group Selection control knob, loosen the set screw on the Voice 
Group Selection control knob metal base (using a 1.27mm hex wrench), and 
remove the Voice Group Selection control knob metal base.  Replace the 16 
channel ring with the channel stop ring located at the desired channel. Re-
install the Voice Group Selection control knob metal base, tighten the set 
screw, and re-install the Voice Group Selection control knob. 
EMERGENCY/ 
HOME BUTTON 
Automatically selects the pre-programmed Group/System by pressing and 
holding for a programmed duration.  It can also be used to declare an 
emergency by pressing and holding for a programmed duration.  The button 
must be pre-programmed for either operation, but not both. 
PTT BUTTON  Push-To-Talk must be pressed before voice transmission begins.  
SIDE OPTION 
BUTTON 1   Unsquelches the receiver and allows channel monitoring prior to 
transmission. Momentarily removes the Receiver Channel Guard decoding 
from the channel. 
SIDE OPTION  
BUTTON 2   Activates one of a number of programmable software options selected 
during PC programming. Programmable options include hi/low power 
settings, keypad lock, LCD contrast, and LCD and keypad back lighting. 

MM-012099-001, Rev. A 
66 
9.1.2 Keypad 
The keys on the keypad have special functions and are labeled using a symbol or abbreviated word 
describing its primary function. Numeric entry is a secondary function of the keys. Each key is described 
in the following subsections. 
Figure 9-3: P5450 “Scan” Radio Front Panel 
KEY  FUNCTION 
Primary Function: Allows the user to scroll through available systems, groups, or channels, depending 
on personality programming.  
Secondary Function: Changes the selection for an item within a list. 
 Primary Function: Accesses the pre-stored menu.  
Secondary Function: Activates a selected item within a list. This is similar to an “Enter” key. 
 Adds/Deletes selected groups or channels from the Scan list of the currently selected system. 
 Turns the Scan operation ON and OFF. 
 Activates one of a number of pre-programmed software options. 

MM-012099-001, Rev. A 
67 
Figure 9-4: P5470 “System” Radio Front Panel 
KEY  FUNCTION 
 Primary Function: Allows the user to scroll through available systems, groups, or channels, 
depending on personality programming.  
Secondary Function: Changes the selection for an item within a list. 
 Primary Function: Accesses the pre-stored menu.  
Secondary Function: Activates a selected item within a list. This is similar to an “Enter” key. 
Primary Function:  Refer to the separate key definitions within this table. 
Secondary Function: These keys function much as a typical DTMF telephone pad 0-9, *, and # 
keys; and are used to place telephone interconnect calls and individual unit-to-unit calls.  
 Selects a specific system. If the rotary knob is programmed to select the system and more than 16 
systems are programmed in the radio, the   key is used to select additional banks (groupings) 
of systems. 
 Selects a specific group. 
 Turns the Scan operation ON and OFF. 
 Adds groups or channels from the currently selected system to the Scan list. 
 Deletes selected groups or channels of the currently selected system from the Scan list. 
 Places telephone interconnect calls. 
 Initiates individual calls. 

MM-012099-001, Rev. A 
68 
9.2 DISPLAY 
The radio display is made up of 3 lines (see Figure 9-5). Lines 1 and 2 contain eight alphanumeric 
character blocks and are used primarily to display system or group/channel names. Line 1 also displays 
radio status messages. The 3rd line is used primarily to display radio status icons. All three lines are used 
to display menu options when in the menu mode. If programmed, the display backlighting will illuminate 
upon power up or when radio controls are operated.  
Figure 9-5: Radio Display 
9.2.1  Radio Status Icons 
Status Icons indicate the various operating characteristics of the radio. The icons show operating modes 
and conditions and appear on the third line of the display (see Table 9-1). 
Table 9-1: Status Icon Descriptions 
Status Icon Descriptions 
 Steady – “Busy” transmitting or receiving.  Appears in the 2nd position of the display. 
 Steady – special call mode (telephone).  Appears in the 11th position of the display. 
 Steady – during all radio transmissions.  Appears in the 1st position of the display. 
Steady – transmit at low power.  Appears in the 5th position of the display. 
If icon is not visible – transmit at high power 
Steady – battery charge indicator (refer to Figure 9-6). Appears in the 12th position of the 
display. 
 Flashing – Low battery indicator (refer to Figure 9-6).   
Steady – Indicates the current channel is set up as a Project 25 (P25) channel. 

MM-012099-001, Rev. A 
69 
Status Icon Descriptions 
Steady – Indicates the current channel is set up as an analog channel. Appears in the 7th 
position of the display. 
Steady – Indicates the current channel is set up as a ProVoice channel.  Appears in the 7th 
position of the display. 
 Steady – group or channel in scan list.  Appears in the 10th position of the display. 
 Steady – priority 2 group or channel.  Appears in the 10th position of the display. 
 Steady – priority 1 group or channel.  Appears in the 10th position of the display. 
Steady (rotates clockwise) – scan mode enabled.  Appears in the 9th position of the display. 
If icon is not visible – scan is disabled 
Steady – transmit in encrypt mode.  Appears in the 6th position of the display. 
Flashing – receiving an encrypted call 
Steady – Channel Guard enabled.  Appears in the 4th position of the display. 
If icon is not visible – Channel Guard is disabled 
Figure 9-6: Battery Charge Icons (Full Cycle) 
The battery icons (see Figure 9-6) indicate approximate level only, based on battery voltage. 
9.3 TRI-COLOR LED 
Figure 9-7: Tri-Color LED 
The Tri-Color LED changes color to indicate radio status and is visible from both the front and top of the 
radio (see Figure 9-7). The colors of the LED and the status they represent are:  

MM-012099-001, Rev. A 
70 
Green:   Receiving 
Red:   Transmitting Unencrypted 
Orange: Transmitting Encrypted 
9.4 STATUS MESSAGES 
During radio operation, various radio Status Messages can be displayed. The messages are described 
below.  
MESSAGE NAME DESCRIPTION 
TALKARND Talkaround  Indicates the radio is operating on conventional channels in talkaround 
mode (no repeater).  
LOW BATT  Low 
Battery  Battery voltage has dropped to the point to where the radio is no longer able 
to transmit. The radio will still receive calls until the battery is discharged 
beyond the point of operation at which time the radio will automatically 
shutdown.  
VOL=31  Volume 
Level  Indicates the current volume level.  The volume level display ranges from 
OFF (silent) to 40 (loudest).  
9.4.1 Error Messages 
If either of the Error Messages shown below is displayed, the radio is programmed incorrectly or needs 
servicing.  
DSP  ERR 
ERR=XXXX 
(PowerUp 
only)  
or  DIG V  x 
ERR    x 
Where: xxxx is the error code and DSP ERR or DIG V ERR is the message. 
9.5 ALERT TONES 
The P5400 radio provides audible Alert Tones or “beeps” to indicate the various operating conditions (see 
Table 9-2). 

MM-012099-001, Rev. A 
71 
Table 9-2: Alert Tones 
NAME  TONE  DESCRIPTION 
Call Originate  one short mid-pitched  OK to talk after pressing the push-to-talk 
button 
Call Queued  one high-pitched  Call queued for processing 
Autokey one mid-pitched  Queued call received channel assignment 
System Busy  three low-pitched  System busy or unable to complete call 
Call Denied  one low-pitched  Radio is not authorized on the system or 
group 
Carrier Control Timer  five high-pitched/one long low-
pitched 
PTT depressed for maximum length of time 
Low Battery  one low-pitched/one short mid-
pitched 
Low battery 
TX Low Battery Alert  one low-pitched  After PTT - battery too low to transmit 
9.6  TURNING ON THE RADIO 
1. Power ON the radio by rotating the POWER ON-OFF/VOLUME knob clockwise. A short alert 
signal (if enabled through programming) indicates the radio is ready to use.  
2. The display shows the last selected system and group/channel or a default system and group/channel 
(depending on programming).  
3. Adjust the POWER ON-OFF/VOLUME knob to the desired volume level.  
4. Select the desired system, group/channel. The display indicates the current system and group/channel 
names.  
5. The radio is now ready to transmit and receive calls. 
9.7 SYSTEM SELECTION 
METHOD 1:   From the control knob: If system selection is programmed to the Voice Group 
Selection control knob, select a system 
b
y turning the knob to the desired numbe
r
position (1-16).  The display registers the new system name on line one.  The   
b
utton 
can be programmed to provide access to a “2nd bank” of 16 system number positions 
(17-32). 
METHOD 2:   From the keypad: If system selection is programmed as the primary function of 
and , select a system by pressing   or  to scroll through the system list.  The 
display registers the new system name on line one.  
METHOD 3:   (P5470 model radios only) Direct Access: Press  to enter the system select mode.
Press the numeric key, which is mapped to the desired system.  Press  . The radio 
will move to the selected system.  

MM-012099-001, Rev. A 
72 
If system selection is programmed to the Voice Group Selection control knob, direct 
access to systems will not be available.  Pressing   or  will scroll through different 
sets of 16 systems each (banks) if more than 16 systems are programmed into the radio. 
The systems within each bank are then selectable via the Voice Group Selection control 
knob as described previously in METHOD 1. 
Example:  
System: 1 = North  Group:  1 = Group 1 
  2 = South    2 = Group 2 
  3 = East    3 = Group 3 
  4 = West    4 = Group 4  
1. Press  . (South is the currently selected system.)  
2. Press  . (Press 4 to select the “West” system.) 
3. Press  . (West is the newly selected system.) 
9.8 GROUP/CHANNEL SELECTION 
Several methods can be used to select a new group/channel.  
METHOD 1:   From the Control knob: If group selection is programmed to the Voice Group Selection 
control knob, select a group by turning the Voice Group Selection control knob to the 
desired group number position.  The display registers the new group name on line two.
If the knob is moved to a position greater than the number of programmed group, the 
highest programmed group will remain selected.  The   
b
utton can be programmed to 
provide access to a “2nd bank” of 16 group number positions (17-32) 
METHOD 2:   From the keypad: If group selection is programmed as the primary function of  and
, select a group by pressing  or  to scroll through the list.  The display 
registers the new group name on line two.  
METHOD 3:   (P5470 model radios only) Direct Access: Press  to enter the group select mode. 
Press the numeric key mapped to the desired group.  Press .  The radio will move to 
the selected group.  
9.9  MODIFY SCAN LIST  
9.9.1 P5470 Model 
1. Press   to toggle scan OFF and verify   is not displayed. 
2. Select group or channel. 
3. Press   once to remove group or channel from list. 
4. Press   once to add as a normal group or channel. 
5. Press   twice to add as a Priority 2 group or channel. 
6. Press   three times to add as a Priority 1 group or channel. 
7. Press   to re-start scanning. 

MM-012099-001, Rev. A 
73 
9.9.2 P5450 Model 
1. Press   to toggle scan OFF and verify   is not displayed. 
2. Select group or channel. 
3. Press   once to remove group or channel from the list. 
4. Press   once to add as a normal group or channel. 
5. Press   twice to add as a Priority 2 group or channel. 
6. Press   three times to add as a Priority 1 group or channel. 
7. Press   to re-start scanning. 
9.10  NUISANCE DELETE  
A channel can temporarily be deleted from the scan list, if it is not the currently selected channel, by 
pressing the   key (P5450 model) or the   key (P5470 model) during scan operation while the radio 
is displaying the unwanted channel. The channel will be deleted from the scan list in the same manner as 
if done using the steps above. Deletions done in this manner will not remain deleted if the radio is 
powered OFF and then powered ON. 
9.11 MENU 
The Menu function accesses features that are not available directly from the keypad. The order and actual 
menu items available is configurable through programming. At radio power up, the menu item that is at 
the top of the menu list will always be displayed first. Subsequent access to the menu function will return 
the last menu item that was shown in the display and cursor position. 
1. To enter the menu mode, press the   key. 
2. Upon entering the menu selection mode, Menu options will appear in the display (see Figure 9-8). 
Figure 9-8: Menu Display 
3. The radio will continue to receive and transmit normally while in the menu function. 
4. To scroll through the menu options use the   or  keys. When the required menu item has been 
found align the cursor with the option then press   to select it. The menu item's parameter setting 
shown in the display can now be changed by using   or  to scroll through the list of parameter 
values.  
5. Once the desired setting is reached press   to store the value and return the menu option selection 
level.  
6. For menu items that display radio information, pressing   or  will scroll through a list of 
informational displays.  Possible menu items are listed in Table 9-3. 
An example of the backlight menu item selection process and menu item parameter change is shown in 
Figure 9-9. 
1. Press   to enter the menu mode.  

MM-012099-001, Rev. A 
74 
2. Press   or  until the display shows: 
Figure 9-9: Backlight Menu Item Parameter 
3. Press  .  The backlight menu item is activated. Line one shows the active menu item and its 
current parameter setting. Line two shows the currently selected system or group name (see Figure 
9-10). 
Figure 9-10: Backlight Menu Display 
4. The menu item's parameter setting shown in the display can now be changed by using   or . 
5. Once the desired setting is reached press   to store the value and return the menu option selection 
level. 
For menu items that display radio information, pressing   or  will scroll through a list of 
informational displays. An example of information displays is shown in Table 9-4. 
The TX POWER menu item, when selected, toggles LOW/HIGH power.  It does not use 
 or  to scroll nor is an additional press of the   button required. 

MM-012099-001, Rev. A 
75 
Table 9-3: Menu Item Information 
FEATURE  DISPLAY  PARAMETER 
SETTING  COMMENT 
Keypad Lock  Menu Item: 
KEY LOCK 
Once Selected: 
LOCKED 
Locked 
Unlocked 
Locks the keypad. To unlock; press and release   then within 1 
second press the option button (NOTE: this sequence is also a short cut 
to locking the keypad.) 
Backlight Adjust  Menu Item: 
BCK LIGHT 
Once Selected: 
BCKL= 
OFF/ON  Selects the light level for backlighting. 
Contrast Adjust  Menu Item: 
CONTRAST 
Once Selected: 
CNTRST= 
1, 2, 3, 4  Selects the display contrast level. 
Transmit Power Select  Menu Item:  
TX POWER   
Once Selected: 
POWER= 
HIGH or LOW  Selects radio output power mode. 
Radio Revision 
Information 
Menu Item: 
REVISION 
N/A  Selects the information display to view. Informational display only (see 
Table 9-4).  No user selectable settings. 
Toggle Scan On/Off  SCAN  ON/OFF  Toggles Scan operation ON/OFF. 
Display Current Home 
Group/Channel 
HOME  N/A  Selects Home Group/Channel 
Select Desired System  SYS SEL  N/A  Selects a new system. 
Add Group/Channel to 
Scan List 
SCAN ADD  N/A  Adds to Scan List. 
Delete Group/Channel  SCAN DEL  N/A  Deletes Group or Channel from Scan List. 
Add/Delete Scan List  SCAN A/D  N/A  Add or Delete from Scan List. 
Talkaround  TALKARND  ON/OFF  Toggles Talkaround feature ON/OFF. 
Select Channel  CHN SEL  N/A  Conventional Only. 
Feature Encryption 
Display 
Menu Item: 
FEATURES 
Once Selected: 
(See Feature 
Encryption Display 
Section) 
N/A  Indicates current features programmed into the radio as well as certain 
information required to add features to the radio.  Informational display 
only.  No user selectable settings. 

MM-012099-001, Rev. A 
76 
Table 9-4: Information Display 
RADIO ID 
XXXXXXXX 
LID in EDACS/EA.  In CONV it has no 
meaning. 
RAM SIZ  RAM Size 
FLSH SIZ  Flash Size 
RF BAND  Frequency Band 
PERS VER  Software Version 
DSP DATE  Date DSP code was built. 
DSP TIME  Time DSP code was built. 
DSP FEAT  The DSP Features supported by the 
DSP code, in Hexadecimal. 
Bit mapped (see IPC spec for details): 
• 0x0001 – Conventional 
• 0x0002 – EDACS 
• 0x0010 – AMPF 
• 0x0020 – undefined 
DSP VER  DSP Software Version 
FLSH VER  FLASH Software 
ex: P54U0102 
P=portable, 54=5400 radio, 
U=unencrypted, 01=major revision (>50 
means unreleased code), 02=minor 
revision 
M/A-COM 
(C) 2007 
Copyright 
PERSNLTY Personality Name 
BLD DATE  Date host (ARM) code was built. 
BLD TIME  Time host (ARM) code was built. 
9.12 BACKLIGHT ON/OFF 
1. Press   to access the menu. 
2. Press   or  to scroll through menu until “BCKLGHT” appears. 
3. Press   to select Backlight menu. 
4. Press   or  to toggle backlight ON and OFF. 
5. Press   to select new backlight setting. 
9.13 CONTRAST ADJUST 
1. Press   to access the menu. 
2. Press   or  to scroll through menu until “CONTRAST” appears. 
3. Press   to select Contrast menu. 
4. Press   or  to adjust contrast setting from 1 - 4. 
5. Press   to select new contrast setting. 
9.14  DECLARING AN EMERGENCY 
1. Press and hold the red Emergency/Home button (the length of time is programmable; check with the 
system administrator). 

MM-012099-001, Rev. A 
77 
2. *TXEMER* will flash in the display, plus   and   will be displayed. After 2-3 seconds the 
transmit icon   will turn off. 
3. *TXEMER* and   will remain until the emergency is cleared.  (Refer to Section 8.21 for more 
detail concerning emergency operation.) 
4. Press the PTT and   will reappear. 
5. Release PTT when the transmission is complete.  
9.15 LOCKING/UNLOCKING KEYPAD 
1. Press   button. 
2. Within 1 second, press the Option button on the side of the radio. 
9.16  HIGH/LOW POWER ADJUSTMENT 
Transmit power adjustment is possible if enabled through programming. Within conventional systems, 
transmit power is adjustable on a per channel basis. Within EDACS trunking systems, transmit power is 
adjustable on a per system basis.  
There are two ways to toggle between high and low power: 
Using the Menu Button: 
1. Press  . 
2. Using the   or  key, scroll until the cursor (>) appears to the left of “TX POWER” in the 
display. 
3. Press   again to toggle between High and Low power. 
4. “POWER = HIGH” or “POWER = LOW” will appear momentarily on the top line of the display. 
Using the Pre-Programmed Option Button: 
Press the Option button. “POWER = HIGH” or “POWER = LOW” will appear momentarily on the top 
line of the display. 
9.17 DIGITAL VOICE OPERATION 
Digital voice programmed systems have three (3) different voice modes: clear (analog), digital, and 
private (encrypted). The voice modes are programmed on a per-group basis within each trunked system 
and on a per-channel basis within each conventional system. 
9.17.1 Clear Mode 
The Clear Mode is a voice mode in which the radio transmits and receives only clear (analog) voice 
signals. These analog signals are non-digitized. Clear mode transmissions can be monitored easily by 
unauthorized persons.  
Groups or channels programmed for clear operation cannot transmit or receive digital or 
private messages. 

MM-012099-001, Rev. A 
78 
9.17.2 Digital Mode 
The Digital Mode allows the radio to transmit and receive digitized voice signals. Digital signals provide 
improved weak signal performance and cannot be easily monitored with a standard receiver. Groups and 
channels programmed for digital operation transmit only digital signals. Individual phone calls (I-Calls) 
are answered back in the mode in which they were received assuming the call or hang time is still active. 
Individual phone, all call, and emergency calls are transmitted clear if the digital mode is disabled or 
inoperative. 
1. If receiving an analog message trunked call, the radio responds in the analog mode during the 
hang time on the working channel. 
2. If receiving an analog I-Call, the radio responds in the analog mode during the hang time. 
3. When using the *WHC* feature to respond to an I-Call (after the hang time has expired), the call 
is transmitted in the mode defined by the system mode as programmed for the current system if 
the ID being called is not in the I-Call list. If the ID is in the I-Call list, then the call is transmitted 
as defined by the I-Call mode programmed in the list for that ID. 
The overdial DTMF tones are not available while in the Digital Mode. 
9.17.2.1 Scanned Group Calls 
Receiving a Scanned Group Call is the same as receiving a selected group call.  During the scan hang 
time, if the radio was programmed for auto-select, it will transmit back in the same mode it received the 
call.  For example, if a clear group is entered in the scan list, it will only receive clear calls. If the same 
group was available in digital and entered in the scan list, it can receive clear and digital calls, provided 
auto-select was programmed in the radio.  The user can choose to transmit on the scanned or selected 
group.  If a group is entered in the scan list more than once under different modes (clear and digital), only 
the first occurrence of the group will be used. 
9.17.3 Private Mode 
The Private Mode allows the radio to transmit encrypted messages and receive clear or private 
transmissions. The radio transmits private if the group/channel is programmed for private operation and 
forced operation is pre-programmed. If auto-select operation is pre-programmed and the radio is in the 
Private Mode, the radio transmits in the mode of the received call if the hang time is active. If no hang 
time is active, the radio transmits private.  
Cryptographic keys are transferred to the radio using a cryptographic Keyloader.  Up to seven (7) 
different cryptographic keys, numbered 1-7, can be transferred from a Keyloader and stored in the radio.  
An individual key is automatically selected on a per-group/channel basis according to the radio 
programming.  Groups and channels within the digital system can be programmed for keys 1-7 (private). 
Up to 8 banks of 7 keys can be stored for private systems.  The bank is specified per system.  
When operating on a group or channel programmed for Private Mode, all transmissions are private 
transmissions and the radio receives clear and private signals.  The status icon   is displayed when the 
Private Mode is enabled. If the selected group or channel is programmed for auto-select capability, the 
mode may be toggled between private and clear with the   key, then following the selection mode 
rules.  Radios programmed for forced private operation do not allow a change of the transmit mode. 
9.17.3.1 Displaying the Currently Used Cryptographic Key Number 
To Display the Currently Used Cryptographic Key Number for either the system encryption key (for 
special call such as individual, phone, all, agency or fleet) or the group/channel key (for group or 
conventional calls), perform the following procedure: 

MM-012099-001, Rev. A 
79 
1. Press the   button. 
2. Use the   or   button to select "DISP KEY." 
3. Use the   or   button to toggle between displaying the system key (Figure 8-9) or the 
group/channel key (Figure 8-10). 
Figure 9-11: System Encryption Key Display 
Figure 9-12: Group/Channel Encryption Key Display 
9.17.3.2 Key Zero 
All cryptographic keys can be zeroed (erased from radio memory) by pressing the   button and while still 
pressing this button, press and hold the OPTION button. Press both buttons for 2 seconds.  A series of 
beeps will begin at the start of the 2 second period and then switch to a solid tone after the keys have been 
zeroed.  The display will indicate KEY ZERO. 
If the cryptographic key(s) are zeroed, one or more keys must be transferred from the Keyloader into the 
radio before private communications may continue. 
9.17.4 Private Operation 
9.17.4.1 Receiving an Encrypted Call 
When receiving, the radio automatically switches between clear or private operation.  If the transmission 
being received is an encrypted transmission, it will be decrypted, the   icon will be displayed, the receiver 
will unsquelch, and the message will be heard in the speaker.  For this to occur, the selected group or 
channel must be programmed for private operation and the correct cryptographic key must be loaded into 
the radio. 
9.17.4.2 Transmitting an Encrypted Call 
1. Select the desired group or channel. 
2. Place the radio in Private Mode by pressing   key; then follow the selection mode rules. On a 
System radio, the   key can be used to toggle the Private Mode ON/OFF. When Private Mode is 
enabled, the   icon is displayed. 
3. If the last state of the radio was Private Mode, the Private Mode will be enabled on power up. Also, 
the Private Mode will be enabled if forced operation has been programmed in the radio.  
If a group or channel is not programmed for Private Mode operation, PVT DIS will be displayed if 
an attempt is made to enable private transmit mode. It is not possible to operate on this group/channel 
in Private Mode.  

MM-012099-001, Rev. A 
80 
If the radio does not have the correct encryption key loaded, NO KEY# will be displayed and the call 
will not be transmitted. 
4. Continue with standard transmission procedures. A Private Mode access tone will be heard when the 
PTT button is pressed. 
9.17.4.3 Scanned Group Calls 
Receiving a Scanned Group Call is the same as receiving a selected group call. During the scan hang 
time, if the radio was programmed for auto-select, it will transmit back in the same mode it received the 
call. For example, if a clear group is entered in the scan list, it will only receive clear calls. If the same 
group was available in private and entered in the scan list, it can receive clear and private calls, provided 
auto-select was programmed in the radio. The user can select transmitting on the scanned or selected 
group. If a group is entered in the scan list more than once, and in different modes (clear, digital, or 
private), only the first occurrence of the group will be used. 
Table 9-5: Transmit/Receive Mode Compatibility for Digital Voice Operation 
GROUP/CHANNEL 
PROGRAMMING 
(TRANSMIT) 
CLEAR 
RECEIVE  DIGITAL  
RECEIVE  PRIVATE 
RECEIVE 
CLEAR Yes No No 
DIGITAL Yes Yes No 
PRIVATE Yes No Yes* 
*assumes the proper cryptographic key is loaded 
Conventional digital or encrypted channels require Channel Guard on the channel to 
operate correctly. 
The voice coding technology embodied in this product is protected by intellectual 
property rights including patent rights, copyrights, and trade secrets of Digital Voice 
Systems, Inc.  The user of this technology is explicitly prohibited from attempting to de-
compile, reverse engineer, or to disassemble the Object Code, or in any other way 
convert the Object Code into a human-readable form. 
9.18 RECEIVING A CALL 
1. Select the desired conventional system/channel or turn scan ON and make sure desired channel is in 
scan list. 
2. When the radio receives a call, the radio will unmute and the channel name will appear in the display. 
9.19  SENDING A CALL 
1. Select desired system/channel.  
2. Ensure the channel is not busy by pressing the   button momentarily.  If audio is heard or if the   
icon is on, the channel is busy. 
3. When you’re sure that the channel is not busy, press the PTT button and speak into the microphone. 

MM-012099-001, Rev. A 
81 
P25 OPERATION 

MM-012099-001, Rev. A 
82 
10 P25 OPERATION 
Once a P25 system has been selected from the available systems on your P5400 series portable radio, the 
characteristics described in the following sections will govern operation. 
10.1 CONTROLS 
The radio features two rotary control knobs and an emergency button mounted on the top of the radio. 
Push-To-Talk and option buttons are mounted on the side. The front mounted keypad has six buttons on 
the P5450 Scan model and 15 buttons on the P5470 System Radio. 
Figure 10-1: Top View  Figure 10-2: Side View 

MM-012099-001, Rev. A 
83 
10.1.1  Buttons and Knobs 
This section describes the primary function of the button and knob controls.  Refer to Figure 10-1 and 
Figure 10-2. 
POWER ON-OFF 
VOLUME KNOB  Applies power to and adjusts the receiver’s volume.  Rotating the control 
clockwise applies power to the radio.  A single alert tone (if enabled through 
programming) indicates the radio is operational. 
Rotating the control clockwise increases the volume level.  Minimum volume 
levels may be programmed into the radio to prevent missed calls due to a low 
volume setting.  While adjusting the volume the display will momentarily 
indicate the volume level (i.e. VOL=31).  The volume range is from a minimum 
programmed level of zero (displayed as OFF in the display) up to 40, which is 
the loudest level. 
VOICE GROUP 
SELECTION 
CONTROL KNOB 
Selects systems or groups/channels (depending on programming).  This is a 16-
position rotary knob.  
Note: A mechanical stop, which can limit the positions accessed, is shipped with 
the radio but must be installed.  To install the mechanical stop, remove the Voice 
Group Selection control knob, loosen the set screw on the Voice Group 
Selection control knob metal base (using a 1.27 mm hex wrench), and remove 
the Voice Group Selection control knob metal base.  Replace the 16 channel ring 
with the channel stop ring located at the desired channel.  Reinstall the Voice 
Group Selection control knob metal base, tighten the set screw, and reinstall the 
Voice Group Selection control knob. 
EMERGENCY/ 
HOME BUTTON  Automatically selects the pre-programmed Group/System by pressing and 
holding for a programmed duration.  It can also be used to declare an emergency 
by pressing and holding for a programmed duration.  The button must be pre-
programmed for either operation, but not both. 
PTT BUTTON  Push-To-Talk must be pressed before voice transmission begins.  In trunked 
mode the radio’s ID is transmitted upon depression of the PTT button.  
SIDE OPTION 
BUTTON 1   Exits the current operation (removing all displays associated with it) and returns 
the radio to the selected talk group.  Terminates individual and telephone 
interconnect calls. 
SIDE OPTION 
BUTTON 2   Activates one of a number of programmable software options selected during PC 
programming.  Programmable options include hi/low power settings, keypad 
lock, LCD contrast, and LCD and keypad back lighting. 

MM-012099-001, Rev. A 
84 
10.1.2 Keypad 
The keys on the keypad have special functions and are labeled using a symbol or abbreviated word 
describing its primary function.  Alpha-numeric entry is a secondary function of the keys. Each key is 
described in the following subsections. 
Figure 10-3: P5450 “Scan” Radio Front Panel 
Table 10-1: P5400 Keypad Functions 
KEY  FUNCTION 
Primary Function: Accesses the pre-stored menu.  
Secondary Function: Activates a selected item within the menu. This is similar to an 
“Enter” key. 
    Scrolls thru available menu items. 
(P5450 only) Adds/Deletes selected groups or channels from SCAN list of the currently selected 
system. 
(P5450 only) Toggles SCAN operation ON and OFF. 
(P5450 only) Activates one of any programmable software options selected during the PC 
programming, including: high/low TX power and talkaround. 

MM-012099-001, Rev. A 
85 
Figure 10-4: P5470 “System” Radio Front Panel 
Table 10-2: P5470 “System” Keypad Functions 
KEY  FUNCTION 
Primary Function: Accesses the pre-stored menu.  
Secondary Function: Activates a selected item within the menu. This is similar to an 
“Enter” key. 
Primary Function: Allows the user to scroll through available systems, groups, or 
channels, depending on personality programming.  
Secondary Function: Changes the selection for an item within a list. 
Primary Function:  Refer to the separate key definitions within this table. 
Secondary Function: These keys function much as a typical DTMF telephone pad 0-9, 
*, and # keys; and are used to place telephone interconnect and individual (unit-to-
unit) calls. 
Selects a specific system. If the rotary knob is used to select the system and more than 
16 systems are programmed in the radio, the   key is used to select additional 
banks (groupings) of systems. 
 Selects a specific group. 
 Turns the Scan operation ON and OFF. 
 Enables or disables Private Mode for the system/group/channel displayed. 
 Adds groups or channels from the currently selected system to the Scan list. 
 Status. Access to the status list (0-9). The Status key permits the transmission of a pre-
programmed status message to an EDACS site. 
 Message. Access to the message list (0-9). The Message key permits the transmission 
of a pre-programmed message to an EDACS site. 
 Deletes selected groups or channels of the currently selected system from the Scan list.
 Initiates telephone interconnect calls. 
 Initiates individual unit-to-unit calls. 

MM-012099-001, Rev. A 
86 
10.2 DISPLAY 
The radio display is made up of 3 lines (see Figure 10-5). Lines 1 and 2 contain eight alphanumeric 
character blocks and are used primarily to display system and group names.  Line 1 also displays radio 
status messages.  The 3rd line is used primarily to display radio status icons.  All three lines are used to 
display menu options when in the menu mode.  If programmed, the display backlighting will illuminate 
upon power up or when radio controls are operated.  
Figure 10-5: Radio Display 

MM-012099-001, Rev. A 
87 
10.3  RADIO STATUS ICONS 
Status Icons indicate the various operating characteristics of the radio. The icons show operating modes 
and conditions and appear on the third line of the display (see Table 10-3). 
Table 10-3: Display Descriptions 
Steady – “Busy” transmitting or receiving.  Appears in the 2nd position of the display. 
Flashing – call queued 
Steady – special call mode (individual or telephone).  Appears in the 11th position of the display. 
Steady – during all radio transmissions.  Appears in the 1st position of the display 
Steady – transmit at low power.  Appears in the 5th position of the display. 
If icon is not visible – transmit at high power 
 Steady – battery charge indicator.  Appears in the 12th position of the display. 
 Flashing – Low battery indicator. 
Steady – Indicates the current channel is set up as an analog channel.  Appears in the 7th 
position of the display. 
 Steady – trunked system in Failsoft™ mode.  Appears in the 4th position of the display. 
 Steady – group or channel in scan list.  Appears in the 10th position of the display. 
 Steady – priority 2 group or channel.  Appears in the 10th position of the display. 
 Steady – priority 1 group or channel. Appears in the 10th position of the display. 
Steady (rotates clockwise) – scan mode enabled. Appears in the 9th position of the display. 
If icon is not visible – scan is disabled 
Steady – transmit in encrypt mode.  Appears in the 6th position of the display. 
Flashing – receiving an encrypted call 
Steady – Indicates the current channel is set up as a Project 25 (P25) channel. 
Steady – Indicates the current channel is set up as a ProVoice channel. Appears in the 7th 
position of the display. 

MM-012099-001, Rev. A 
88 
Figure 10-6: Full Cycle Battery Charge Indicator 
The battery charge indicators illustrate approximate level only, based on battery voltage.  Refer to Figure 
10-6.  
10.4 TRI-COLOR LED 
Figure 10-7: Tri-Color LED 
The Tri-Color LED changes color to indicate radio status and is visible from both the front and top of the 
radio (see Figure 10-7). The colors of the LED and the status they represent while operating in EDACS 
and P25 modes are defined below.  
Green:   Receiving 
Red:   Unencrypted transmission 
Orange:   Encrypted  transmission 
10.5 STATUS MESSAGES 
During radio operation, various radio Status Messages can be displayed. The messages are described 
below.  
MESSAGE NAME DESCRIPTION 
QUEUED Call Queued  Indicates the system has placed the call in a request queue.  
SYS BUSY System Busy  Indicates the system is busy, no channels are currently available, the queue 
is full, or an individual call is being attempted to a radio that is currently 
transmitting. 

MM-012099-001, Rev. A 
89 
MESSAGE NAME DESCRIPTION 
DENIED Call Denied  Indicates the radio or talkgroup is not authorized to operate on the selected 
system and/or talkgroup.  
CC SCAN Control 
Channel Scan  Indicates the control channel is lost and the radio has entered the Control 
Channel Scan mode to search for the control channel (usually out of range 
indication). 
WA SCAN Wide Area 
Scan  Indicates the radio has entered the Wide Area Scan mode to search for a 
new system (if enabled through programming).  
SYSC ON System Scan 
Features On  Indicates the System Scan features are enabled.  
SYSC OFF  System Scan 
Features Off  Indicates the System Scan features are disabled.  
LOW BATT  Low Battery  Battery voltage has dropped to the point to where the radio is no longer able 
to transmit. The radio will still receive calls until the battery is discharged 
beyond the point of operation at which time the radio automatically shuts 
down.  
RXEMER  Receive 
Emergency  Indicates an emergency call is being received.  This message will be 
flashing on line two.  
TXEMER  Transmit 
Emergency  Indicates an emergency call has been transmitted on this radio.  This 
message will be flashing on line two.  
VOL=31  Volume Level  Indicates the current volume level.  The volume level display ranges from 
OFF (silent) to 40 (loudest).  
WHC Who Has 
Called  Indicates an individual call has been received, but not responded to.  The 
indicator turns OFF if the individual call mode is entered, the system is 
changed, or the radio is turned off and then on again.  
UNKNOWN Unknown ID  Indicates an individual call is being received from an unknown ID. 
10.5.1 Error Messages 
If either of the Error Messages shown below is displayed, the radio is programmed incorrectly or needs 
servicing.  
DSP  ERR 
ERR=XXXX 
(PowerUp 
only)  
or  DIG V  x 
ERR    x 
Where: xxxx is the error code and DSP ERR or DIG V ERR is the message. 

MM-012099-001, Rev. A 
90 
10.6 ALERT TONES 
The P5400 series radios provide audible Alert Tones or “beeps” to indicate the various operating 
conditions (see Table 10-4). 
Table 10-4: Alert Tones 
NAME  TONE  DESCRIPTION 
Call Originate  one short mid-pitched  OK to talk after pressing the push-to-talk 
button 
Call Queued  one high-pitched  Call queued for processing 
Autokey one mid-pitched  Queued call received channel assignment 
System Busy  three low-pitched  System busy or unable to complete call 
Call Denied  one low-pitched  Radio is not authorized on the system or 
group 
Carrier Control 
Timer 
five high-pitched/one long low-
pitched 
PTT depressed for maximum length of time 
Low Battery  one low-pitched/one short mid-
pitched 
Low battery 
TX Low Battery 
Alert 
one low-pitched  After PTT - battery too low to transmit 
10.7  TURNING ON THE RADIO 
1. Power ON the radio by rotating the POWER ON-OFF/VOLUME knob clockwise. A short alert 
signal (if enabled through programming) indicates the radio is ready to use.  
2. The display shows the last selected system and group or a default system and group (depending on 
programming).  
3. Adjust the POWER ON-OFF/VOLUME knob to the desired volume level.  
4. Select the desired system and group. The display indicates the current system and group names.  
5. The radio is now ready to transmit and receive calls. 
10.8 SYSTEM SELECTION 
METHOD 1:   From the Control knob: If system selection is programmed to the Voice 
Group Selection control knob, select a system by turning the knob to the 
desired system number position (1-16).  The display registers the new 
system name on line one.  The  button can be programmed to provide 
access to a “2nd bank” of 16 system number positions (17-32). 
METHOD 2:   From the keypad: If system selection is programmed as the primary function
of  and  select a system by pressing   or  to scroll through the 
system list. The display registers the new system name on line one.  
METHOD 3:   (P5470 model radios only) Direct Access: Press  to enter the system 
select mode. Press the numeric key, which is mapped to the desired system.
Press  .  The radio will move to the selected system.  

MM-012099-001, Rev. A 
91 
If system selection is programmed to the Voice Group Selection control knob, direct 
access to systems will not be available.  Pressing   or  will scroll through 
different sets of 16 systems each (banks) if more than 16 systems are programmed into 
the radio.  The systems within each bank are then selectable via the Voice Group 
Selection control knob as described previously in METHOD 1. 
Example:  
System: 1 = North  Group:  1 = Group 1 
  2 = South    2 = Group 2 
  3 = East    3 = Group 3 
  4 = West    4 = Group 4  
1. Press  . (South is the currently selected system.)  
2. Press  . (Press 4 to select “West” system.) 
3. Press  . (West is the newly selected system.) 
10.8.1 GROUP/CHANNEL SELECTION 
Several methods can be used to select a new group or channel.  
METHOD 1:   From the Control knob: If group selection is programmed to the Voice Group Selection 
control knob, select a group by turning the Voice Group Selection control knob to the 
desired group number position.  The display registers the new group name on line two. 
If the knob is moved to a position greater than the number of programmed groups, the
highest programmed group will remain selected.  The   button can be programmed to
provide access to a “2nd bank” of 16 group number positions (17-32). 
METHOD 2:   From keypad: If group selection is programmed as the primary function of  and , 
select a group by pressing  or  to scroll through the group list.  The display 
registers the new group name on line two. 
METHOD 3:   (P5470 model radios only) Direct Access: Press  to enter the group select mode. 
Press the numeric key mapped to the desired group.  Press . The radio will move to 
the selected group.  
10.9 MODIFY SCAN LIST 
10.9.1 P5470 Model 
1. Press   to toggle scan OFF and verify   is not displayed. 
2. Select group or channel. 
3. Press   once to remove group from list. 
4. Press   once to add as a normal group. 
5. Press   twice to add as a Priority 2 group. 
6. Press   three times to add as a Priority 1 group. 
7. Press   to re-start scanning. 

MM-012099-001, Rev. A 
92 
10.9.2 P5450 Model 
1. Press   to toggle scan OFF and verify   is not displayed. 
2. Select group or channel. 
3. Press   once to remove group from the list. 
4. Press   once to add as a normal group. 
5. Press   twice to add as a Priority 2 group. 
6. Press   three times to add as a Priority 1 group. 
7. Press   to re-start scanning. 
10.10 MENU 
The Menu function accesses features that are not available directly from the keypad.  The order and actual 
menu items available is configurable through programming.  Upon radio power up, the menu item that is 
at the top of the menu list will always be displayed first.  Subsequent access to the menu function will 
return the last menu item that was shown in the display and cursor position. 
1. To enter the menu mode, press  . 
2. Upon entering the menu selection mode, Menu options will appear in the display (see Figure 10-8). 
Figure 10-8: Menu Display 
3. The radio will continue to receive and transmit normally while in the menu function. 
4. To scroll through the menu options use the   or  keys.  When the required menu item has been 
found align the cursor with the option then press   to select it.  The menu item's parameter setting 
shown in the display can now be changed by using   or  to scroll through the list of parameter 
values.  
5. Once the desired setting is reached press   to store the value and return the menu option selection 
level.  
For menu items that display radio information, pressing   or  will scroll through a list of 
informational displays.  Possible menu items are listed in Table 10-5. 
10.10.1  Menu Item Selection Process 
An example of the backlight menu item selection process and menu item parameter change is shown in 
Figure 10-9. 
1. Press  .  The menu mode is entered.  
2. Press   or  until the display shows: 

MM-012099-001, Rev. A 
93 
Figure 10-9: Backlight Menu Item Selection Parameter 
3. Press  .  The backlight menu item is activated.  Line one shows the active menu item and its 
current parameter setting.  Line two shows the currently selected system or group name (see Figure 
10-10). 
Figure 10-10: Backlight Menu Display 
4. The menu item's parameter setting shown in the display can now be changed by using   or  . 
5. Once the desired setting is reached press   to store the value and return the menu option selection 
level. 
For menu items that display radio information pressing   or  will scroll through a list of 
informational displays.  An example of information displays is shown in Table 10-6. 
The TX POWER menu item, when selected, toggles LOW/HIGH power.  It does not use 
 or  to scroll nor is an additional press of the   button required. 
Table 10-5: Menu Item Information 
FEATURE  DISPLAY  PARAMETER 
SETTING  COMMENT 
Keypad Lock  Menu Item: 
KEY LOCK 
Once Selected: 
LOCKED 
Locked 
Unlocked 
Locks the keypad.  To unlock; press and release  then within 1 
second press the option button NOTE: This sequence is also a short 
cut to locking the keypad. 
Backlight Adjust  Menu Item: 
BCK LIGHT 
Once Selected: 
BCKL= 
OFF/ON  Selects the light level for backlighting. 
Contrast Adjust  Menu Item: 
CONTRAST 
Once Selected: 
CNTRST= 
1, 2, 3, 4  Selects the display contrast level. 
Transmit Power Select  Menu Item:  
TX POWER   
Once Selected: 
POWER= 
HIGH or LOW  Selects radio output power mode. 
Radio Revision Information  Menu Item: 
REVISION 
N/A  Selects the information display to view.  Informational display only. No 
user selectable settings. 
Toggle Scan On/Off  SCAN  ON/OFF  Toggles Scan operation ON/OFF. 
Toggle Private Mode  PRIVATE  ON/OFF  Toggles Private Mode ON/OFF. 
Display Current Encryption 
Key 
DISP KEY  N/A  Displays current encryption key.  Informational display only. No 
selectable settings. 

MM-012099-001, Rev. A 
94 
FEATURE  DISPLAY  PARAMETER 
SETTING  COMMENT 
Display Current Home 
Group/Channel 
HOME  N/A  Selects Home Group/Channel 
Select Desired System  SYS SEL  N/A  Selects a new system. 
Add Group/Channel to 
Scan List 
SCAN ADD  N/A  Adds to Scan List. 
Delete Group/Channel  SCAN DEL  N/A  Deletes Group or Channel from Scan List. 
Add/Delete Scan List  SCAN A/D  N/A  Add or Delete from Scan List. 
Select Telephone 
Numbers From Phone List 
PHN CALL  N/A  Trunked Only. 
Data Operation  NO DATA  ON/OFF  Trunked Only.  Toggles Data Operation ON/OFF. 
Select Individual Call from 
IC List 
IND CALL  N/A  Trunked Only. 
Select Group  GRP SEL  N/A  Trunked Only. 
Feature Encryption Display  Menu Item: 
FEATURES 
N/A  Indicates current features programmed into the radio as well as certain 
information required to add features to the radio.  Informational display 
only.  No user selectable settings. 
System Scan Enable  Menu Item: 
SYS SCAN 
Once Selected: 
SYSC ON or SYSC 
OFF 
ON/OFF  Toggles System Scan feature ON/OFF. 
Table 10-6: Information Display 
RADIO ID 
XXXXXXXX 
LID in EDACS/EA In CONV it has no 
meaning. 
RAM SIZ  RAM Size 
FLSH SIZ  Flash Size 
RF BAND  Frequency Band 
PERS VER  Software Version 
DSP DATE  Date DSP code was built. 
DSP TIME  Time DSP code was built. 
DSP FEAT  The DSP Features supported by the 
DSP code, in Hexadecimal. 
Bit mapped (see IPC spec for details): 
• 0x0001 – Conventional 
• 0x0002 – EDACS 
• 0x0010 – AMPF 
• 0x0020 – undefined 
DSP VER  DSP Software Version 
FLSH VER  FLASH Software 
ex: P54U0102 
P=portable, 54=5400 radio, 
U=unencrypted, 01=major revision (>50 
means unreleased code), 02=minor 
revision 
M/A-COM 
(C) 2007 
Copyright 
PERSNLTY Personality Name 
BLD DATE  Date host (ARM) code was built. 
BLD TIME  Time host (ARM) code was built. 

MM-012099-001, Rev. A 
95 
10.11 BACKLIGHT ON/OFF 
1. Press   to access the menu. 
2. Press   or  to scroll through menu until “BCKLGHT” appears. 
3. Press   to select Backlight menu. 
4. Press   or  to toggle backlight ON and OFF. 
5. Press   to select new backlight setting. 
10.12 CONTRAST ADJUST 
1. Press   to access the menu. 
2. Press   or  to scroll through menu until “CONTRAST” appears. 
3. Press   to select Contrast menu. 
4. Press   or  to adjust contrast setting from 1 - 4. 
5. Press   to select new contrast setting. 
10.13  DECLARING AN EMERGENCY 
1. Press and hold the red Emergency/Home button (the length of time is programmable; check with the 
system administrator). 
2. *TXEMER* will flash in the display, plus   and   will be displayed. After 2-3 seconds the 
transmit icon   will turn off. 
3. *TXEMER* and   will remain until the emergency is cleared.  Refer to Section 10.19 for more 
detail regarding emergency operation. 
4. Press the PTT and   will reappear. 
5. Release PTT when the transmission is complete.  
10.14 LOCKING/UNLOCKING KEYPAD 
1. Press   button. 
2. Within 1 second, press the   button on the side of the radio. 
10.15  HIGH/LOW POWER ADJUSTMENT 
Transmit power adjustment is possible if enabled through programming. Within conventional systems, 
transmit power is adjustable on a per channel basis. Within EDACS trunking systems, transmit power is 
adjustable on a per system basis.  
There are two ways to toggle between high and low power, described in Sections 10.15.1and 10.15.2. 
10.15.1  Using the Menu Button 
1. Press  . 

MM-012099-001, Rev. A 
96 
2. Using the   or  keys, scroll until the cursor (>) appears to the left of “TX POWER” in the 
display. 
3. Press   again to toggle between High and Low power. 
4. “POWER = HIGH” or “POWER = LOW” will appear momentarily on the top line of the display. 
10.15.2  Using the Pre-Programmed Option Button 
Press the Option button.  “POWER = HIGH” or “POWER = LOW” will appear momentarily on the top 
line of the display. 
10.16 DIGITAL VOICE OPERATION 
Digital voice programmed systems have three (3) different voice modes: clear (analog), digital, and 
private (encrypted). The voice modes are programmed on a per-group basis within each trunked system 
and on a per-channel basis within each conventional system. 
10.16.1 Clear Mode 
The Clear Mode is a voice mode in which the radio transmits and receives only clear (analog) voice 
signals.  These analog signals are non-digitized and non-encrypted.  Clear mode transmissions can be 
monitored easily by unauthorized persons.  
Groups or channels programmed for clear operation cannot transmit or receive digital or 
private messages. 
10.16.2 Digital Mode 
The Digital Mode allows the radio to transmit and receive digitized voice signals.  Digital signals provide 
improved weak signal performance and cannot be easily monitored with a standard receiver. Groups 
programmed for digital operation transmit only digital signals.  Message trunked group calls and 
individual phone calls (I-Calls) are answered back in the mode in which they were received assuming the 
call or hang time is still active.  Individual phone, all call, and emergency calls are transmitted clear if the 
digital mode is disabled or inoperative. 
1. If receiving an analog message trunked call, the radio responds in the analog mode during the 
hang time on the working channel. 
2. If receiving an analog I-Call, the radio responds in the analog mode during the hang time. 
3. When using the *WHC* feature to respond to an I-Call (after the hang time has expired), the call 
is transmitted in the mode defined by the system mode as programmed for the current system if 
the ID being called is not in the I-Call list.  If the ID is in the I-Call list, then the call is 
transmitted as defined by the I-Call mode programmed in the list for that ID. 
The overdial DTMF tones are not available while in the Digital Mode. 
10.16.3 Private Mode 
The Private Mode allows the radio to transmit encrypted messages and receive clear or private 
transmissions.  The radio transmits private if the group is programmed for private operation and forced 
operation is pre-programmed.  If auto-select operation is pre-programmed and the radio is in the Private 

MM-012099-001, Rev. A 
97 
Mode, the radio transmits in the mode of the received call if the hang time is active.  If no hang time is 
active, the radio transmits private.  
Cryptographic keys are transferred to the radio using a cryptographic Keyloader.  Up to seven (7) 
different cryptographic keys, numbered 1-7, can be transferred from a Keyloader and stored in the radio.  
An individual key is automatically selected on a per-group basis according to the radio programming. 
Groups and channels within the digital system can be programmed for keys 1-7 (private).  Up to 8 banks 
of 7 keys can be stored for private systems.  The bank is specified per system.  
When operating on a group programmed for Private Mode, all transmissions are private transmissions and 
the radio receives clear and private signals.  The status icon   is displayed when the Private Mode is 
enabled.  If the selected group is programmed for auto-select capability, the mode may be toggled 
between private and clear with the   key, then following the selection mode rules.  Radios programmed 
for forced private operation do not allow a change of the transmit mode. 
10.16.3.1 Displaying the Currently Used Cryptographic Key Number 
To Display the Currently Used Cryptographic Key Number for either the system encryption key (for 
special call such as individual, phone, all, agency or fleet) or the group key (for group calls), perform the 
following procedure: 
1. Press the   button. 
2. Use the   or   button to select "DISP KEY." 
3. Use the   or   button to toggle between displaying the system key (Figure 10-11) or the 
group/channel key (Figure 10-12). 
Figure 10-11: System Encryption Key Display 
Figure 10-12: Group/Channel Encryption Key Display 
10.16.3.2 Key Zero 
All cryptographic keys can be zeroed (erased from radio memory) by pressing the   button and while still 
pressing this button, press and hold the OPTION button.  Press both buttons for 2 seconds.  A series of 
beeps will begin at the start of the 2 second period and then switch to a solid tone after the keys have been 
zeroed.  The display will indicate KEY ZERO. 
If the cryptographic key(s) are zeroed, one or more keys must be transferred from the Keyloader into the 
radio before private communications may continue. 

MM-012099-001, Rev. A 
98 
10.16.4 Private Operation 
10.16.4.1 Receiving an Encrypted Call 
When receiving, the radio automatically switches between clear or private operation.  If the transmission 
being received is an encrypted transmission, it will be decrypted, the   icon is displayed, the receiver will 
unsquelch and the message will be heard in the speaker.  For this to occur, the selected group or channel 
must be programmed for private operation and the correct cryptographic key must be loaded into the 
radio. 
10.16.4.2 Transmitting an Encrypted Call 
1. Select the desired group or channel. 
2. Place the radio in Private Mode by pressing   key; then follow the selection mode rules. On a 
System radio, the   key can be used to toggle the Private Mode ON/OFF.  When Private Mode is 
enabled, the   icon is displayed. 
3. If the last state of the radio was Private Mode, the Private Mode will be enabled on power up. Also, 
the Private Mode will be enabled if forced operation has been programmed in the radio.  
If a group is not programmed for Private Mode operation, PVT DIS will be displayed if an attempt is 
made to enable private transmit mode. It is not possible to operate on this group in Private Mode.  
If the radio does not have the correct encryption key loaded, NO KEY# will be displayed and the call 
will not be transmitted. 
4. Continue with standard transmission procedures.  A Private Mode access tone will be heard when the 
PTT button is pressed. 
10.16.4.3 Scanned Group Calls 
Receiving a Scanned Group Call is the same as receiving a selected group call. During the scan hang 
time, if the radio was programmed for auto-select, it will transmit back in the same mode it received the 
call.  For example, if a clear group is entered in the scan list, it will only receive clear calls.  If the same 
group was available in private and entered in the scan list, it can receive clear and private calls, provided 
auto-select was programmed in the radio.  The user can select transmitting on the scanned or selected 
group.  If a group is entered in the scan list more than once, and in different modes (clear, digital, or 
private), only the first occurrence of the group will be used. 
Table 10-7: Transmit/Receive Mode Compatibility for Digital Voice Operation 
GROUP 
PROGRAMMING 
(TRANSMIT) 
CLEAR 
RECEIVE  DIGITAL  
RECEIVE  PRIVATE 
RECEIVE 
CLEAR Yes No No 
DIGITAL Yes Yes No 
PRIVATE Yes No Yes* 
*assumes the proper cryptographic key is loaded 
Conventional digital or encrypted channels require Channel Guard on the channel to 
operate correctly.  

MM-012099-001, Rev. A 
99 
The voice coding technology embodied in this product is protected by intellectual 
property rights including patent rights, copyrights, and trade secrets of Digital Voice 
Systems, Inc.  The user of this technology is explicitly prohibited from attempting to 
de-compile, reverse engineer, or to disassemble the Object Code, or in any other way 
convert the Object Code into a human-readable form. 
10.17  SCANNING TRUNKED GROUPS 
Groups that have been previously added to the scan list on a per system basis may be scanned.  Each 
system's group scan list is retained in memory when the radio is powered OFF or when the battery pack is 
removed.  
10.17.1  Turning Scan On and Off 
1. Toggle Scan operation ON by pressing   (P5450 model) or   (P5470 model).  The   icon rotates 
clockwise to indicate radio is scanning.  
2. Toggle Scan operation OFF by again pressing   (P5450 model) or   (P5470 model).  The   will 
disappear.  
• If the radio scans to a group other than the selected group then receives a call on the selected 
group, the radio will switch to the selected group. However, if the “scanned-to” group is 
programmed at a higher priority the radio will remain on the “scanned-to” group. 
• The radio will continue scanning if a new group is selected when scan is ON.  
3. Pressing the PTT button when scan is ON will cause the radio to transmit on the displayed group or to 
the currently selected group (depending on programming). 
10.17.2  Adding Groups to a Scan List 
P5450 Model Radio 
1. Scan must be OFF to add/delete groups to/from the scan list. If the Scan icon   is ON, press the   
key to turn Scan OFF.  
2. Select the desired group using the Voice Group Selection control knob and/or the   or  keys.  If 
the selected group is currently on the list, pressing   will display   on line three.  
3. If the scan list status icon is blank ( ), the group can be added to the scan list by pressing the   key. 
 will be displayed on line three. 
4. Press the   key a second time to set the group to Priority 2. A   is displayed on line three.  

MM-012099-001, Rev. A 
100 
5. Press   a third time to set the group to Priority 1. A   is displayed on line three.  The priority level 
section sequence only advances the group to the next high priority level and stops at priority level 1.  
To select a lower priority level, the group must be deleted from the scan list and then added back to 
the scan list.  Each new group added to the scan list starts at the lowest priority.  If the Priority 1 and 
Priority 2 groups are already set and a new group is assigned as Priority 1 or Priority 2, the previously 
assigned group will change to non-priority scanning.  One of the following messages may be 
momentarily displayed. 
SCAN DIS The radio is not programmed to scan.  
FIXED P1 A Priority 1 group has been pre-programmed into the radio.  A new Priority 1 group 
cannot be selected.  
FIXD LST A fixed scan list has been pre-programmed into the radio.  It is not possible to change 
the list without reprogramming the radio.  
To quickly view multiple group scan status, press   then slowly but consistently rotate 
the group knob. Each group status will appear on the display. 
P5470 Model Radio 
1. With scan operation turned OFF, select the desired group to add to the selected trunked system group 
scan list.  
2. Press  .  The current priority status of the group will be displayed in column 10 of line three for a 
time-out period.  If the group is not part of the scan list the status will be blank.  
3. While the status is displayed, press   to add the group to the scan list.   is displayed on line three.  
4. Press   a second time to set the group to Priority 2.  A   is displayed on line three.  
5. Press   a third time to set the group to Priority 1.  A   is displayed on line three.  The priority level 
selection sequence only advances the group to next higher priority level and stops at priority level 1.  
To select a lower priority level, the group must be deleted from the scan list and then added back to 
the scan list.  Each new group added to the scan list starts at the lowest priority.  If the Priority 1 and 
Priority 2 groups are already set and a new group is assigned as Priority 1 or Priority 2, the previously 
assigned group will change to non-priority scanning.  One of the following messages may be 
momentarily displayed. 
SCAN DIS The radio is not programmed to scan.  
FIXED P1 A Priority 1 group has been pre-programmed into the radio.  A new Priority 1 group 
cannot be selected.  
FIXD LST A fixed scan list has been pre-programmed into the radio.  It is not possible to change 
the list without reprogramming the radio.  
To quickly view multiple group scan status, press either   or the   key.  Then 
slowly but consistently rotate the group knob.  Each group status will appear on the 
display. 

MM-012099-001, Rev. A 
101 
10.17.3  Deleting Groups from a Scan List 
P5450 Model Radio 
1. With scan operation turned OFF, select the desired group to delete from the selected trunked system 
group scan list.  
2. Press  .  The current status of the group is displayed for a time-out period.  
3. While the current status is displayed, press   until the group from the scan list is "blank."  The 
sequence is "blank",   ,   ,   ,"blank."  Any group that is not in a trunked system group scan list will 
show a "blank" for the time-out period when it is the selected channel. 
P5470 Model Radio 
1. With scan operation turned OFF, select the desired group to delete from the selected trunked system's 
group scan list.  
2. Press  .  The current status of the group is displayed for a time-out period.  
3. While the status is displayed, press   to delete the group from the scan list.   ,   ,or   turns OFF.  
Any group that is not in a trunked system group scan list will show a "blank" for the time out period 
when it is the selected channel. 
10.17.4 Nuisance Delete  
A group can also be deleted from the scan list, if it is not the currently selected group, by pressing the   
key (P5450 model) or the   key (P5470 model) during scan operation while the radio is displaying the 
unwanted group. The group will be deleted from the system's group scan list in the same manner as if 
done using the steps above. Deletions done in this manner will not remain deleted if the radio is powered 
OFF and then powered ON. 
10.18 SCANNING TRUNKED SYSTEMS 
The radio can be programmed with the following System Scan features. These features are automatically 
enabled when the radio is powered ON. A key or menu option is also defined to allow the System Scan 
features to be toggled during radio operation. The System Scan state will be maintained through system 
changes but will default to ON when the radio is powered ON. 
Enable/Disable via Menu Selection 
Press   and then use the   or  buttons to scroll through the selections until SYS SCAN is 
displayed. Then press   to toggle the System Scan state. The SYSC ON or SYSC OFF display 
message is displayed for two seconds to show the new state. 
Enable/Disable via Pre-Programmed Keypad Key 
Press the key pre-programmed to toggle System Scan and the SYSC ON or SYSC OFF display message 
is displayed for two seconds to show the new state. 
10.18.1  Wide Area System Scanning 
The P5400 series radio can be programmed for Wide Area System Scan operation for roaming across 
mobile systems. Upon the loss of the currently selected system's control channel, radios can be 
programmed to automatically scan the control channels of other systems. If a new control channel is 
found, the radio will switch to the new system and sound an alert tone. 

MM-012099-001, Rev. A 
102 
10.18.2  Priority System Scan 
The radio can also be programmed for Priority System Scan. The priority system is the desired or 
preferred system. While receiving the control channel of the selected system, the radio will periodically 
leave the selected system and search for the control channel of the priority system. This is done at a 
programmable rate defined by the value in the Priority Scan Time control (unless the ProScan™ algorithm 
is enabled, as explained in the following sections). This priority scan timer is reset each time the PTT 
button is pressed or when the call is received. If the priority system control channel is found, (or meets the 
predefined criteria <ProScan>), the radio will automatically switch to the priority system. 
10.18.2.1 Enabling the Wide Area System Scan Function 
If the radio cannot find the control channel of the selected system and begins to wide area system scan, 
the radio will only scan for the priority system control channel if the priority system is in the wide area 
scan list. 
10.18.2.2 When ProScan is Enabled 
The radio monitors the priority system and will switch to the priority system if the criteria defined by the 
controls in the ProScan Options dialog box are met. If ProScan is enabled, the rate at which the radio will 
scan for the priority system is defined by the System Sample Time control, located in the ProScan 
Options dialog box. See Section 8.20.3 for more information on ProScan. 
10.18.3 ProScan 
The radio may be programmed for ProScan system scan operation for multi-site applications depending 
on the version of radio flash code. ProScan is an improved multi-site system scanning algorithm designed 
to replace ProSound™ scanning. ProScan provides the radio with the ability to select a new system for the 
radio to communicate on, when the selected system drops below a predefined level. This is accomplished 
by enabling each radio to analyze the signal quality of its current control channel and compares it with the 
signal quality of the control channel for each site in its adjacent scan list. (The signal quality metric used 
for the ProScan algorithm is based on a combination of both Received Signal Strength Indicator (RSSI) 
and Control Channel Verification (CCV) measurements.) When the selected system degrades to a pre-
programmed level, the radio will begin to look for a better control channel. Once a control channel that 
exceeds the pre-programmed parameters is found, the radio will change to the new system and emit a tone 
(if enabled through programming). If the control channel is completely lost, the radio will enter Wide 
Area System scanning and search the programmed adjacent systems until a suitable control channel is 
found. 
10.19 EMERGENCY OPERATION 
The radio's ability to declare an emergency, clear an emergency, remain locked on an emergency system 
and group, and the emergency audio and display freeze can each be enabled or disabled through 
programming. When an emergency is declared scanning will stop and restarts only after the emergency 
has been cleared. 
10.19.1 Receiving an Emergency Call 
When receiving an Emergency Call on the selected group and system, an alert beep is heard and   is 
displayed. The message *RXEMER* flashes in the display on line two until the emergency condition is 
cleared. 

MM-012099-001, Rev. A 
103 
10.19.2 Declaring an Emergency Call 
Perform the following steps to send an emergency call to a selected system and group (or on an optionally 
pre-programmed group).  
1. Press and hold the red EMERGENCY button that is on top of the radio in front of the antenna for 
approximately one second (this time is programmable and therefore could be longer or shorter; check 
with the system administrator). The radio will transmit an emergency call request with the radio ID 
until an emergency channel assignment is received.  
2. When the working channel assignment is received, the radio sounds a single beep indicating the radio 
has auto keyed (see Table 8-4) and is ready for voice transmission. *TXEMER* flashes on line two in 
the display until the emergency is cleared.  
3. Press PTT and speak into the microphone in a normal voice.   and   momentarily turn ON.  
4. Release PTT when the transmission is complete.  
To clear the emergency first press and hold the   button. While continuing to hold the   button, press the 
EMERGENCY button. (This will work if the radio is programmed to clear emergencies.) 
10.20 INDIVIDUAL CALLS 
10.20.1  Receiving and Responding to an Individual Call 
When the radio receives an individual call (a call directed only to the user's radio), it un-mutes on the 
assigned working channel and displays  . The first line on the display shows the logical ID number of the 
unit sending the message, or the associated name if the ID number is found in the individual call list. The 
radio can be programmed to ring when an individual call is received. If enabled, the ring begins five 
seconds after the caller un-keys and will continue until the PTT button, the   button or the individual call 
mode is entered. 
The volume of the ring is adjustable through the volume control levels. 
If a response is made by pressing the PTT to the call prior to the programmed call-back time-out, the call 
will automatically be directed to the originating unit. If a response is not made before the call-back time-
out, the radio will return to normal receive display, and *WHC* will appear on the first line of the LCD.  
To respond after the call-back time-out, press the   key. The radio's display will show the callers ID on 
the first line and WHCI=1 on the second line. Pressing the PTT button at this point will initiate an 
individual call back to the original caller.  
The radio stores the IDs of the last 10 callers in the Calls Received List as shown. Individual calls are 
stored in the top half of the list (1-10) and Group calls are stored in the bottom half of the list (1-10). The 
most recent call is stored in position 1, the second most recent call is stored in position 2, etc. 

MM-012099-001, Rev. A 
104 
Figure 10-13: Calls Received Lists 
To access the Calls Received List, press the   key twice. Use the   or  buttons to scroll through 
the list. Pressing the   key will display the time elapsed since the call was received. After pressing   
the display will appear similar to Figure 10-14. 
Figure 10-14: WHC Individual Call Display 
Pressing the PTT will initiate an individual call to the displayed logical ID. Powering the radio OFF and 
ON will clear this list. 
10.20.2  Sending an Individual Call 
10.20.2.1 Pre-Stored Individual Calls 
The following procedures describe how to initiate and complete a Pre-Stored Individual Call. 
P5470 Model Radio 
1. To select a pre-stored individual phone number, enter the individual call mode using the   key.   is 
displayed. Then scroll through the list of stored numbers using the   or  keys.  
2. Press the PTT button; when the radio is clear to transmit,   turns ON,   turns OFF and the channel 
access tone sounds. Line one shows the called individual's name if found in the list of stored 
individuals or LID followed by the logical ID number of the unit being called. The message *INDV* 
displays on line two. 
P5450 Model Radio 
1. To select a pre-stored individual number, enter the menu mode by pressing the   key. Scroll 
through the mode list using the   or  buttons.  
2. Press  .   is displayed. Scroll through the list of stored phone numbers using the   or  
buttons until the desired number is displayed. Press  . 

MM-012099-001, Rev. A 
105 
3. Press the PTT button; when the radio is clear to transmit   turns ON,   turns OFF and the channel 
access tone sounds. Line one shows the called individual's name or LID. The message *INDV* 
displays on line two. 
10.20.2.2 Direct Dial Individual Calls (P5470 Model Only) 
1. The following procedure describes how to initiate and complete a Direct Dial Individual Call. 
2. The individual call ID is not stored in the pre-stored list of call IDs but the individual unit ID is 
known, it can be entered directly from the keypad. 
3. Press and hold the PTT button to transmit.   will turn ON,   will turn OFF, and the channel access 
tone will sound. Line one shows the called individual's ID followed by the logical ID number of the 
unit being called. The message *INDV* displays on line two. Proceed talking into the microphone. 
10.20.3  Call Storage Lists 
There are two lists available for call storage in the P5400 series radios, the calls received list (1 - 10) and 
the personality list (1 - 99 as defined by the user). When the individual call mode is entered by pressing 
, the calls received list is available. The user can toggle to the personality list by selecting any index 
other than 0 or toggle between the two lists by pressing the   key. If wrap is enabled, the calls received 
list wraps on itself and not into the other list. 
Figure 10-15: Calls Received and Personality Lists 
The saved call list shows all ten storage locations. If no calls have been received, the saved call list will be 
empty and the pre-stored list will be available upon entering the individual call mode.  
When in the saved call list, pressing the   key toggles the time stamp ON and OFF. The time stamp 
indicates how long ago the call was received. When in the pre-stored list pressing the   key toggles the 
Logical IDentification (LID) ON and OFF. 
10.21  TELEPHONE INTERCONNECT CALLS 
10.21.1  Receiving a Telephone Interconnect Call 
When the radio receives a telephone interconnect call (a call directed only to the user's radio), it un-mutes 
on the assigned working channel and displays  . The first line displays *PHONE*. The second line 
displays *INDV*. Proceed with the call. Press the PTT to talk, release the PTT to listen. 

MM-012099-001, Rev. A 
106 
10.21.2  Sending a Telephone Interconnect Call 
10.21.2.1 Pre-Stored Number 
Use the following procedures to initiate and complete a Telephone Interconnect call.  
1. P5470 Model: To select a previously stored phone number, press the   key. Use the   or  
buttons to scroll through the list of stored numbers.  
P5450 Model: To select a previously stored phone number, press the   key. Use the   or  
buttons to select the menu option PHN CALL. Press the   key again then use the   or  
buttons to scroll through the list of pre-stored numbers.  
2. Press and release the PTT button. When the radio is clear to transmit,   turns ON,   turns OFF and 
the channel access tone sounds. Line one shows the accompanying name selected from the list of 
stored numbers. The message *PHONE* appears on line two of the display. The radio then 
automatically transmits the programmed number stored in the special call queue.  
3. A telephone ring will be heard from the speaker. When someone answers the phone, press the PTT 
button and speak into the microphone. Release the PTT button to listen to the callee. Unsuccessful 
interconnect signaling returns the radio to the normal receive mode and the number remains displayed 
until the special call is cleared or the time-out expires or another group or system is selected. 
Terminate a call by pressing the   button. 
In half-duplex mode, only one person may talk at a time. The radio PTT button needs 
to be pressed in order to communicate to the individual called and released for the 
individual called to be heard. 
10.21.2.2  Direct Dialing of Phone Calls (P5470 Model Only) 
1. If the phone number is not stored in the pre-stored list of phone numbers, but the phone number is 
known, it can be entered directly from the keypad. Start by pressing the   key, then enter the 
required number from the keypad.  Press and release the PTT button. 
The last number directly entered can be recalled by first pressing   then pressing the 
PTT button. 
2. A telephone ring can be heard from the speaker. When someone answers the phone, press and hold 
the PTT button and speak into the microphone. Release the PTT button to listen to the individual 
called. Unsuccessful interconnect signaling returns the radio to the normal receive mode and the 
number remains displayed until the special call is cleared or the time-out expires or another group or 
system is selected. 
3. To terminate the call, momentarily press the   button. 
10.21.3 Dual-Tone Multi-Frequency: Overdial/Conventional Mode 
Once the radio has established a connection to the public telephone system, it may be necessary to “over-
dial” more digits to access banking services, answering machines, credit card calls, or other types of 
systems that require Dual-Tone Multi-Frequency (DTMF) access digits. 

MM-012099-001, Rev. A 
107 
Overdial operation can also be used to initiate a telephone interconnect call via DTMF signaling if a dial 
tone has already been accessed on the system. This method makes a telephone interconnect call while 
operating in the conventional mode but will also function in trunked mode if a dial tone is directly 
accessible. 
Telephone numbers and other number sequences for overdialing can be stored in the phone list when 
programming the radio. These numbers are accessed by pressing the   key, then following the selection 
mode rules. Perform the following procedures to access and dial these stored numbers. 
P5450 Model Radio 
1. Follow the procedure in Section 10.21.3 to establish a connection to the telephone system or consult 
the system administrator for the procedure to access a dial tone on the trunked or conventional 
system.  
2. Enter selection mode first to enable entry of Overdial numbers by pressing the   button.  
3. Follow the selection mode rules to call up a stored number from the phone list: Use the   or  
buttons to scroll through the list of stored numbers.   is displayed. Press the PTT to send the overdial 
sequence once. If the number needs to be transmitted again it must be selected or entered again (this 
prevents unwanted numbers from being sent the next time the PTT button is pressed during the call).  
Overdial select/entry mode remains active until the call is dropped, cleared, or   is pressed. The 
overdial select/entry mode can be re-entered if the call is still active by pressing  . 
P5470 Model Radio 
1. Follow the procedure in Section 8.23.2 to establish a connection to the telephone system or consult 
the system administrator for the procedure to access a dial tone on the trunked or conventional 
system.  
2. Overdial numbers are transmitted using one of the following methods: 
METHOD 1:   1. Enter the overdial selection mode by pressing the   button.   
2. Use the   or  buttons to scroll through the list of stored numbers.  is 
displayed. Press the PTT to send the overdial sequence once. If the numbe
r
needs to be transmitted again it must be selected or entered again (this
prevents unwanted numbers from being sent the next time the PTT button
is pressed during the call).  
Overdial select/entry mode remains active until the call is dropped, cleared, o
r
 is pressed. The overdial select/entry mode can be re-entered if the call is 
still active by pressing  . 

MM-012099-001, Rev. A 
108 
METHOD 2:   (P5470 model radios only) 
1. Enter the overdial selection mode by pressing the   button.   
2. Press and hold the PTT button while entering the overdial numbe
r
sequence from the keypad.  This method sends DTMF tones during
individual, telephone interconnect, trunked group, or conventional channel
calls.  Press the PTT to send the overdial sequence once. If the numbe
r
needs to be transmitted again it must be selected or entered again (this
prevents unwanted numbers from being sent the next time the PTT button
is pressed during the call).  Note: Anytime the PTT button is pressed an
d
held, the keypad is enabled for DTMF entry. 
Overdial select/entry mode remains active until the call is dropped, cleared, o
r
 is pressed. The overdial select/entry mode can be re-entered if the call is 
still active by pressing  . 
This overdial select/entry mode remains active until dropped, cleared, or   is pressed. The overdial 
select/entry mode can be re-entered if the call is still active by pressing the   button. 
10.22 PROGRAMMABLE ENTRIES 
10.22.1 Pre-Storing Individual and Telephone Interconnect Calls from the 
Keypad 
Individual Call ID numbers, telephone numbers, and other number sequences for overdialing are stored in 
the special calls lists when programming the radio. The first ten entry locations of these lists can be 
changed by the radio operator. The keypad is used when adding, changing, and storing numbers in these 
entry locations.  
Use the following procedure to store a number in one of the first ten entries of a special call list:  
1. Press the   or   button to enter the individual call list or the phone call list.   is displayed. 
2. Scroll through the list using the   or  keys until one of the first ten entries is reached. NO 
ENTRY is displayed if the location is empty.  
3. Enter the desired number. If necessary, a pause can be entered by pressing and holding 0-9,  , or 
 until an underscore appears in the display (telephone interconnect only). The individual call list 
entries will accept up to 5 digits. The phone call list entries accept a combination of up to 31 digits 
and pauses.  
4. Press and hold the   key until the display changes indicating that the number has been stored.  
Repeat steps 1-4 to store additional numbers, to change numbers already stored, or to change the storage 
location of a number. 
10.23 STATUS/MESSAGE OPERATION 
The Status and Message operations allow for the transmission of a pre-programmed status or a pre-
programmed message to an EDACS site.  Each Status and Message is assigned an ID then cross-
referenced with the representative status condition (“Off Duty,” for example) or a message (“Call home”).  
In addition, Status conditions can also be associated with a programmable Menu entry (required for 
second method of transmitting a Status condition (see Section 8.25.1). 

MM-012099-001, Rev. A 
109 
10.23.1 Status Operation 
P5470 Model Radio 
One of two methods can be used to transmit a status condition. 
METHOD 1:   1. Press the   key, then use the   or  buttons to scroll to the pre-programmed 
status condition. STATUS and 0 through 9 pre-programmed status selections are 
available from the menu.   
2. If STATUS is selected, you need to enter the number of the status condition you
intend to transmit. If no status has been programmed for the selected number key,
the radio will display NO ENTRY. A valid selection will display the status for a pre-
programmed time. 
After the time-out expires or the   key has been pressed (the   key will override the 
time-out period), the status is selected and will be transmitted to the site or stored in the 
radio memory where it can be polled by the site at a future time.  
METHOD 2:  1. Press the   key.  
2. Press the corresponding pre-programmed 0 through 9 status condition key.  If no 
status has been programmed for the selected number key, the radio will display 
NO ENTRY. A valid selection will permit the status condition to appear in the top 
line of the display and the status ID to appear in the second line of the display for a 
pre-programmed time.   
After the time-out expires or the   key has been pressed (the   key will override the 
time-out period), the status is selected and will be transmitted to the site or stored in the
radio memory where it can be polled by the site at a future time. 
View the currently selected status after it has been transmitted by pressing the   key and then the   
key and then the   button prior to the time-out period. If the status was not sent successfully to the site, 
the text associated with the status condition will flash in the display. 
The status selection can be changed by pressing a different status key 0 through 9, or the status operation 
can be cancelled by pressing Option Button 2  .  Both operations must be carried out prior to the time-
out period.  
10.23.2 Message Operation 
The following method can be used to transmit a Message using the Message Operation. 
1. Press the   key. 
2. Press the corresponding pre-programmed 0 through 9 pre-programmed “message” key.  If no message 
has been programmed for the selected number key, the radio will display NO ENTRY. A valid 
selection will permit the message to appear in the top line of the display and the message ID to appear 
in the second line of the display for a pre-programmed time.   
The message selection can be changed by pressing a different message key 0 through 9, or the message 
operation can be cancelled by pressing Option Button 2  .  Both operations must be carried out prior to 
the pre-programmed time-out period.  
10.24 MACRO KEY OPERATION 
Macro key operation permits the user to accomplish a series of keystrokes with a single "macro" 
keystroke. Each Macro Key is capable of executing up to twenty (20) keystrokes, to any push button input 

MM-012099-001, Rev. A 
110 
(i.e., keypad keys, OPTION buttons, etc.). Each macro key can be pre-programmed to activate when 
pressed or when released.  
A macro key may also be pre-programmed to change the key stroke sequence the next time the macro key 
is activated.  
For detailed operation and assignment of macro keys, contact your communications supervisor or 
administrator. 
10.25 PORTABLE DATA 
The P5400 series portable radios, when operating in the EDACS Trunked configuration, permit both 
voice and data calls to be transmitted and received. The radio can handle only one type of call at a time; 
however, either data or voice is selected transparently by the operator through normal usage of the radio. 
Data communications is not supported in conventional mode.  
The radios can be connected to a Mobile Data Terminal (MDT) or to a host computer. Any RS-232 
compatible device that supports the Radio Data Interface (RDI) protocol (Version 1.91 or greater) may be 
connected to the radio. Support for MDTs or host computers is a programmable option per radio. 
Additionally, radios may also be programmed for data only operation (no voice calls transmitted or 
received). 
10.25.1 Displays 
The following will be displayed during the various states of data mode of operation: 
TX DATA Appears on top line of display when the radio is transmitting a data call.  
RX DATA Appears on top line of display when the radio is receiving a data call.  
DATA OFF Appears on top line of display when the radio is in the data disabled state.  
DATA ON Appears for two seconds on top line of display when the radio is toggled to the data
enabled state.  
10.25.2  DATA OFF Operation 
The radio can be placed in the data disabled state by any of the following methods. When the data state is 
disabled, DATA OFF appears on the top line of the display.  
• Declaring an emergency (not to be used unless an actual emergency condition exists). Alert tone will 
sound.  
• Pressing Option Button 1   (if pre-programmed as “no data” key). Alert tone will sound.  
• Pressing the pre-programmed “no data” (ND) key.  Refer to previous bullet. 
10.25.3 DATA ON Operation 
The data state is enabled by one of the following (depending on how it was disabled). DATA ON will 
appear on the top line in the display for two seconds then the display will return to normal.  
• Pressing the pre-programmed “no data” (ND) key toggles data state ON or OFF.  
• Clearing an emergency. This is valid only if the emergency caused “DATA OFF” operation. 

MM-012099-001, Rev. A 
111 
10.25.4  Exiting Data Calls 
Under normal conditions, the radio enters the scan lockout mode and returns to the control channel after 
completion of a data call (transmit or receive). If, during a data call, one of the following operations 
occurs, the data call is immediately terminated and the radio performs the desired function:  
• If the PTT is activated. 
• If an Emergency is declared by pressing the pre-programmed emergency button. 
• If a group or system is changed. 
10.25.5  Scan Lockout Mode 
Following the transmission or reception of a data call, if scan is enabled, scanning will stop temporarily.  
There are two independent pre-programmed times associated with this mode; one after a received data 
call and one after a transmitted data call. During this time the scan indicator will flash to indicate that scan 
is enabled but temporarily suspended. This condition typically returns to normal scan operation when the 
pre-programmed time expires; however, the following operations and conditions will terminate the scan 
lockout mode before the timeout has expired. 
• Press the   button.  
• Press the PTT.  
• Change a group or system.  
• Enter Telephone Interconnect mode.  
• Enter Individual call mode.  
• Receive a new emergency assignment.  
• Declare or clear an emergency.  
• Receive an individual or phone call.  
• Receive an Agency, Fleet, or System All Call. 
• Press   (P5450 model) or   (P5470 model) to toggle Scan ON or OFF. 
10.25.6  Data Lockout Mode 
During the voice call scan hang time (pre-programmed) the radio will not receive data calls. 
10.26 GROUP CALLS IN P25 MODE 
10.26.1  Transmitting a Group Call 
1. Select the desired P25 system. (P25 icon will appear in display.) 
2. Select the Talk Group/Conventional Channel. (Selected simultaneously using either the Voice Group 
Selection control knob or the group key.) 
3. Press and hold the PTT. 
4. When a grant tone is received (if enabled through programming) speak into the microphone. 
5. Release PTT and wait for response. 

MM-012099-001, Rev. A 
112 
10.26.2  Receiving a Group Call 
1. The radio will unmute according to the squelch mode defined in the radio personality (monitor, 
normal, selective). 
2. Select the desired P25 system and Talk Group/Channel or turn scan on and make sure the desired 
channel is in the scan list. 
3. When the radio receives a P25 call, the radio will unmute and the channel name will appear in the 
display. 
4. Press the PTT button to respond. 
10.27 INDIVIDUAL CALLS IN P25 MODE 
10.27.1  Transmitting an Individual Call 
1. Select the desired P25 system. (The P25 icon will appear in the display.) 
2. Select the radio unit to call (callee source ID) from the pre-programmed individual call list or enter 
the ID number on the radio keypad. 
3. Press and hold the PTT. 
4. When grant tone is received (if enabled through programming) speak into the microphone. 
5. Release the PTT. 
10.27.2  Receiving an Individual Call 
1. The radio will unmute according to the squelch mode defined in the radio personality (monitor, 
normal, selective). 
2. Select the desired P25 system and Talk Group/Channel or turn scan on and make sure the desired 
channel is in the scan list. 
3. When the radio receives a P25 call, the radio will unmute and the ID of the transmitting radio will 
appear in the display. 
4. Press the PTT button to respond. 
5. Unanswered calls will appear in the Who Has Called (WHC) list. 
10.28 EMERGENCY  GROUP  CALLS IN P25 MODE 
There is no method available for a system-wide Emergency clear. An emergency group call 
must be cleared on each individual radio. 
10.28.1  Declaring an Emergency Group Call 
1. Select the desired P25 system and Talk Group/Channel. 
2. Press the red emergency button on the top of the radio. The radio will broadcast a short emergency 
transmission with the emergency bit set. “TXEMER” will appear in the display of the transmitting 
radio. 

MM-012099-001, Rev. A 
113 
3. While the PTT is NOT pressed, the mic will be open and the radio will broadcast an approximately 2 
second transmission (e.g., background noise) which will be repeated at 10-30 second intervals. 
4. Press the PTT to stop the short transmissions. 
5. To send a voice message, press the PTT and speak into the microphone. 
6. To clear an emergency from the transmitting radio, perform one of the following steps: 
• Change systems. 
• Change channels (if not prohibited by programming). 
• Cycle power by turning radio off and then back on. 
• Press the Clear and Emergency buttons simultaneously, providing the Clear Emergency option is 
enabled in the Supervisory Options in the personality. 
10.28.2  Receiving an Emergency Group Call 
1. Select the desired P25 System and Talk Group/Channel. 
2. When the radio detects an incoming Emergency Group Call, the radio will sound an alert tone and 
“RXEMER” will appear in the display. 
3. Voice or emergency transmissions will be heard at the receiving radio. 
4. To clear an emergency from the receiving radio, perform one of the following steps: 
• Change systems. 
• Change channels (if not prohibited by programming). 
• Cycle power by turning radio off and then back on. 
• Press the Clear and Emergency buttons simultaneously, providing the Clear Emergency option is 
enabled in the Supervisory Options in the personality. 

MM-012099-001, Rev. A 
114 
This page intentionally left blank 

MM-012099-001, Rev. A 
115 
TECHNICAL ASSISTANCE 
 AND 
WARRANTY INFORMATION 

MM-012099-001, Rev. A 
116 
11 TECHNICAL ASSISTANCE 
The Technical Assistance Center's (TAC) resources are available to help with overall system operation, 
maintenance, upgrades and product support. TAC is the point of contact when answers are needed to 
technical questions. 
Product specialists, with detailed knowledge of product operation, maintenance and repair provide 
technical support via a toll-free (in North America) telephone number. Support is also available through 
mail, fax and e-mail.  
For more information about technical assistance services, contact your sales representative, or call the 
Technical Assistance Center at: 
North America:   1-800-528-7711 
International:   1-434-385-2400 
Fax:   1-434-455-6712 
E-mail:     tac@tycoelectronics.com 

MM-012099-001, Rev. A 
117 
12 BASIC TROUBLESHOOTING 
Use Table 12-1 as a troubleshooting guide if the radio is not functioning properly. If additional assistance 
is required, contact a qualified service technician or call M/A-COM at 1-800-528-7711.  
Table 12-1: Troubleshooting 
SYMPTOM  POSSIBLE CAUSE  POSSIBLE SOLUTION 
Radio will not turn 
on  Low battery charge  Change the battery pack to a fully charged pack. 
No Audio  Speaker volume is muted.  Increase the volume level. 
Poor Audio  User is in a poor coverage 
area or not on the 
network. 
Move to a better coverage area. 
Radio powers off for 
no apparent reason.  Radio may be 
experiencing very low 
voltage.  
Have the battery checked by an authorized 
technician. 
Radio will not 
transmit.  Radio may be out of 
coverage area or may be 
overheated. 
Return to coverage area if possible. If overheated, 
let radio cool before retrying transmission. Report 
this failure to an authorized technician. 

MM-012099-001, Rev. A 
118 
NOTES 

MM-012099-001, Rev. A 
119 
BATTERY WARRANTY 
A. M/A-COM, Inc. (hereinafter "Seller") warrants to the original purchaser for use (hereinafter 
"Buyer") that nickel-cadmium and nickel-metal hydride batteries supplied by Seller shall be free 
from defects in material and workmanship, and shall conform to its published specifications for a 
period of twelve (12) months from the date of purchase. 
B.  For purposes of this warranty, batteries shall be deemed defective if (1) the battery capacity is 
less than 80% rated capacity, or (2) the battery develops leakage. 
C.  If any battery fails to meet the foregoing warranty, Seller shall correct the failure by issuing a 
replacement battery upon receipt of the defective battery at an Authorized Service Center (ASC) 
or M/A-COM factory (for OpenSky® Equipment only). 
D.  Replacement batteries shall be warranted only for the remaining unexpired warranty period of the 
original battery. This warranty becomes void if: 
1.  The battery has been subjected to any kind of misuse, detrimental exposure, or has been 
involved in an accident. 
2.  The battery is used in equipment or service other than the radio equipment for which it is 
specified. 
E.  The preceding paragraphs set forth the exclusive remedies for claims based upon defects in or 
non-conformity of any battery, whether the claim is in contract, warranty, tort (including 
negligence), strict liability or otherwise, and however instituted. Upon the expiration of the 
warranty period, all such liability shall terminate. The foregoing warranties are exclusive and in 
lieu of all other warranties, whether oral, written, expressed, implied or statutory. NO IMPLIED 
OR STATUTORY WARRANTIES OF MERCHANTABILITY OR FITNESS FOR PARTICULAR 
PURPOSE SHALL APPLY. IN NO EVENT SHALL THE COMPANY BE LIABLE FOR ANY 
INCIDENTAL, CONSEQUENTIAL, SPECIAL, INDIRECT OR EXEMPLARY DAMAGES. 
This warranty applies only within the United States. 
M/A-COM, Inc.    M/A-COM, Inc.
1011 Pawtucket Blvd.    221 Jefferson Ridge Parkway
Lowell, MA  01853    Lynchburg, VA 24501
1-877-OPENSKY   1-800-528-7711
ECR-7048B 

MM-012099-001, Rev. A 
120 
WARRANTY 
A.  M/A-COM, Inc. (hereinafter "Seller") warrants to the original purchaser for use (hereinafter "Buyer") that 
Equipment manufactured by or for the Seller shall be free from defects in material and workmanship, and 
shall conform to its published specifications. With respect to all non-M/A-COM Equipment, Seller gives no 
warranty, and only the warranty, if any, given by the manufacturer shall apply. Rechargeable batteries are 
excluded from this warranty but are warranted under a separate Rechargeable Battery Warranty (ECR-
7048). 
B.  Seller’s obligations set forth in Paragraph C below shall apply only to failures to meet the above warranties 
occurring within the following periods of time from date of sale to the Buyer and are conditioned on 
Buyer’s giving written notice to Seller within thirty (30) days of such occurrence: 
1.  for fuses and non-rechargeable batteries, operable on arrival only. 
2.  for parts and accessories (except as noted in B.1) sold by Seller’s Service Parts Operation, ninety (90) 
days. 
3. for PANTHER™ Series hand portable and mobile radios, two (2) years. 
4.  for all other equipment of Seller’s manufacture, one (1) year. 
C.  If any Equipment fails to meet the foregoing warranties, Seller shall correct the failure at its option (i) by 
repairing any defective or damaged part or parts thereof, (ii) by making available at Seller’s factory any 
necessary repaired or replacement parts, or (iii) by replacing the failed Equipment with equivalent new or 
refurbished Equipment. Any repaired or replacement part furnished hereunder shall be warranted for the 
remainder of the warranty period of the Equipment in which it is installed. Where such failure cannot be 
corrected by Seller’s reasonable efforts, the parties will negotiate an equitable adjustment in price. Labor 
to perform warranty service will be provided at no charge during the warranty period only for the 
Equipment covered under Paragraph B.3 and B.4. To be eligible for no-charge labor, service must be 
performed at a M/A-COM factory, by an Authorized Service Center (ASC) or other Servicer approved for 
these purposes either at its place of business during normal business hours, for mobile or personal 
equipment, or at the Buyer’s location, for fixed location equipment. Service on fixed location equipment 
more than thirty (30) miles from the Service Center or other approved Servicer’s place of business will 
include a charge for transportation. 
D.  Seller’s obligations under Paragraph C shall not apply to any Equipment, or part thereof, which 
(i) has been modified or otherwise altered other than pursuant to Seller’s written instructions or 
written approval or, (ii) is normally consumed in operation or, (iii) has a normal life inherently 
shorter than the warranty periods specified in Paragraph B, or (iv) is not properly stored, 
installed, used, maintained or repaired, or, (v) has been subjected to any other kind of misuse or 
detrimental exposure, or has been involved in an accident. 
E.  The preceding paragraphs set forth the exclusive remedies for claims based upon defects in or 
nonconformity of the Equipment, whether the claim is in contract, warranty, tort (including negligence), 
strict liability or otherwise, and however instituted. Upon the expiration of the warranty period, all such 
liability shall terminate. The foregoing warranties are exclusive and in lieu of all other warranties, whether 
oral, written, expressed, implied or statutory. NO IMPLIED OR STATUTORY WARRANTIES OF 
MERCHANTABILITY OR FITNESS FOR PARTICULAR PURPOSE SHALL APPLY. IN NO EVENT 
SHALL THE SELLER BE LIABLE FOR ANY INCIDENTAL, CONSEQUENTIAL, SPECIAL, INDIRECT OR 
EXEMPLARY DAMAGES. 
This warranty applies only within the United States. 
M/A-COM, Inc.  M/A-COM, Inc. 
1011 Pawtucket Blvd.  221 Jefferson Ridge Parkway 
Lowell, MA  01853  Lynchburg, VA 24501 
1-877-OPENSKY 1-800-528-7711 
ECR-7047C

Tyco Electronics Wireless Systems Segment 
221 Jefferson Ridge Parkway 
Lynchburg, Virginia 24501 
(Outside USA, 1-434-385-2400) Toll Free 1-800-528-7711 
www.macom-wireless.com Printed in U.S.A. 

P5400 Product Safety Manual 
MM-012100-001 
Rev. Ap1, Sep/07 
This booklet contains important safety information regarding 
specific absorption rate (SAR) and RF exposure limits included in 
United States and international standards.  Read the information 
in this booklet before operating your radio. 
M/A-COM 
P5400 Series 
Portable Radios 

2 
MANUAL REVISION HISTORY 
REV  DATE  DESCRIPTION 
- Sep/07 Initial release 
Rev. A  Oct/07  Add UHF-H SAR information. 
ACKNOWLEDGEMENTS 
The software contained in this device is copyrighted by M/A-COM, Inc. Unpublished 
rights are reserved under the copyright laws of the United States. 
This device is made under license under one or more of the following U.S. Patents: 
4,590,473; 4,636,791; 5,148,482; 5,185,796; 5,271,017; 5,377,229; 4,716,407; 
4,972,460; 5,502,767; 5,146,497; 5,164,986; 5,185,795. 
CREDITS 
EDACS is a registered trademark of M/A-COM, Inc.  
RBRC and 1-800-8-BATTERY are registered trademarks of Rechargeable Battery 
Recycling Corporation. 
All other product and brand names are trademarks, registered trademarks, or service 
marks of their respective holders. 
NOTICE 
This product conforms to the European Union WEEE Directive 
2002/96/EC.  Do not dispose of this product in a public landfill.  This 
product should be taken to a recycling center at the end of its life. 
The voice coding technology embodied in this product is protected by intellectual 
property rights including patent rights, copyrights, and trade secrets of Digital Voice 
Systems, Inc. The user of this technology is explicitly prohibited from attempting to 
decompile, reverse engineer, or disassemble the Object Code, or in any other way 
convert the Object Code into human-readable form. 
Repairs to this equipment should be made only by an authorized service technician or 
facility designated by the supplier. Any repairs, alterations, or substitution of 
recommended parts made by the user to this equipment not approved by the 
manufacturer could void the user’s authority to operate the equipment in addition to the 
manufacturer’s warranty. 
This manual is published by M/A-COM, Inc., without any warranty. Improvements and changes 
to this manual necessitated by typographical errors, inaccuracies of current information, o
r
improvements to programs and/or equipment, may be made by M/A-COM, Inc., at any time and 
without notice. Such changes will be incorporated into new editions of this manual. No part o
f
this manual may be reproduced or transmitted in any form or by any means, electronic o
r
mechanical, including photocopying and recording, for any purpose, without the express written
p
ermission of M/A-COM, Inc. 
Copyright © 2007 M/A-COM, Inc.  All rights reserved. 

3 
TABLE OF CONTENTS  Page 
1 SAFETY SYMBOL CONVENTIONS ..................................... 3 
2 SAFETY TRAINING INFORMATION...................................4 
3 OPERATING TIPS................................................................... 5 
4 OPTIONS AND ACCESSORIES............................................. 7 
5 BATTERIES.............................................................................. 7 
6 TECHNICAL ASSISTANCE ................................................... 7 
7 BATTERY WARRANTY....................................................... 10 
8 WARRANTY.......................................................................... 11 
1 SAFETY SYMBOL CONVENTIONS 
The following conventions are used to alert the user to general safety precautions that 
must be observed during all phases of operation, service, and repair of this product.  
Failure to comply with these precautions or with specific warnings elsewhere violates 
safety standards of design, manufacture, and intended use of the product.  M/A-COM, 
Inc. assumes no liability for the customer's failure to comply with these standards. 
The WARNING symbol calls attention to a procedure, practice, 
or the like, which, if not correctly performed or adhered to, could 
result in personal injury.  Do not proceed beyond a WARNING 
symbol until the conditions identified are fully understood or met.  
CAUTION  
The  CAUTION symbol calls attention to an operating procedure, 
practice, or the like, which, if not performed correctly or adhered to, 
could result in a risk of danger, damage to the equipment, or severely 
degrade the equipment performance. 
The NOTE symbol calls attention to supplemental information, which 
may improve system performance or clarify a process or procedure. 
The ESD symbol calls attention to procedures, practices, or the like, 
which could expose equipment to the effects of Electro-Static 
Discharge. Proper precautions must be taken to prevent ESD when 
handling circuit modules. 

4 
2 SAFETY TRAINING INFORMATION 
The M/A-COM P5400 portable radio generates RF electromagnetic 
energy during transmit mode.  This radio is designed for and 
classified as “Occupational Use Only,” meaning it must be used only 
during the course of employment by individuals aware of the 
hazards and the ways to minimize such hazards.  This radio is NOT 
intended for use by the “General Population” in an uncontrolled 
environment. 
The P5400 portable radio has been tested and complies with the FCC RF exposure 
limits for “Occupational Use Only.”  In addition, this M/A-COM radio complies with 
the following Standards and Guidelines with regard to RF energy and electromagnetic 
energy levels and evaluation of such levels for exposure to humans: 
• FCC OET Bulletin 65 Edition 97-01 Supplement C, Evaluating Compliance with 
FCC Guidelines for Human Exposure to Radio Frequency Electromagnetic Fields. 
• American National Standards Institute (C95.1 – 1992), IEEE Standard for Safety 
Levels with Respect to Human Exposure to Radio Frequency Electromagnetic 
Fields, 3 kHz to 300 GHz. 
• American National Standards Institute (C95.3 – 1992), IEEE Recommended 
Practice for the Measurement of Potentially Hazardous Electromagnetic Fields – 
RF and Microwave. 
2.1  RF EXPOSURE GUIDELINES 
CAUTION  
To ensure that exposure to RF electromagnetic energy is within the 
FCC allowable limits for occupational use, always adhere to the 
following guidelines: 
• DO NOT operate the radio without a proper antenna attached, as this may damage 
the radio and may also cause the FCC RF exposure limits to be exceeded.  A 
proper antenna is the antenna supplied with this radio by M/A-COM or an antenna 
specifically authorized by M/A-COM for use with this radio. 
• DO NOT transmit for more than 50% of total radio use time (“50% duty cycle”).  
Transmitting more than 50% of the time can cause FCC RF exposure compliance 
requirements to be exceeded.  The radio is transmitting when the “TX” indicator 
appears in the display.  The radio will transmit by pressing the “PTT” (Push-To-
Talk) button. 
• Always transmit using low power when possible.  In addition to conserving 
battery charge, low power can reduce RF exposure. 
• ALWAYS use M/A-COM authorized accessories (antennas, batteries, belt clips, 
speaker/mics, etc).  Use of unauthorized accessories may cause the FCC 
Occupational/Controlled Exposure RF compliance requirements to be exceeded. 
• As noted in Table 1-1, ALWAYS keep the device and its antenna AT LEAST 1.1 
cm (0.43 inches) from the body and at least 2.5 cm (1.00 inch) from the face when 
transmitting to ensure FCC RF exposure compliance requirements are not 
exceeded.  However, to provide the best sound quality to the recipients of your 

5 
transmission, M/A-COM recommends you hold the microphone at least 5 cm (2 
inches) from your mouth, and slightly off to one side. 
Table 1-1: RF Exposure Compliance Testing Distances 
TESTED DISTANCES 
(worst case scenario) 
RADIO FREQUENCY 
Body  Face 
378-430 MHz  1.1 cm  2.5 cm 
440-512 MHz  1.1 cm  2.5 cm 
The information in this section provides the information needed to make the user aware 
of a RF exposure, and what to do to assure that this radio operates within the FCC RF 
exposure limits of this radio. 
2.2 ELECTROMAGNETIC 
INTERFERENCE/COMPATIBILITY 
During transmissions, M/A-COM radios generate RF energy that can possibly cause 
interference with other devices or systems.  To avoid such interference, turn off the 
radios in areas where signs are posted to do so.  DO NOT operate the transmitter in 
areas that are sensitive to electromagnetic radiation such as hospitals, aircraft, and 
blasting sites. 
3 OPERATING TIPS 
Antenna location and condition are important when operating a portable radio. 
Operating the radio in low lying areas or terrain, under power lines or bridges, inside of 
a vehicle or in a metal framed building can severely reduce the range of the unit. 
Mountains can also reduce the range of the unit.  
In areas where transmission or reception is poor, some improvement may be obtained 
by ensuring that the antenna is vertical. Moving a few yards in another direction or 
moving to a higher elevation may also improve communications. Vehicular operation 
can be aided with the use of an externally mounted antenna.  
Battery condition is another important factor in the trouble free operation of a portable 
radio. Always properly charge the batteries.  
3.1  EFFICIENT RADIO OPERATION 
For optimum audio clarity at the receiving radio, hold the portable radio approximately 
three inches from your mouth and speak into the microphone at a normal voice level.  
Keep the antenna in a vertical position when receiving or transmitting a message.  
Do NOT hold onto the antenna when the radio is powered on. 

6 
3.1.1  Antenna Care and Replacement 
Always keep the antenna at least 0.43 inches (1.1 cm.) away from 
the body and 1.0 inch (2.5 cm.) from the face when transmitting to 
ensure FCC RF exposure compliance requirements are not 
exceeded. 
Do not use the portable radio with a damaged or missing antenna. 
A minor burn may result if skin comes into contact with a damaged 
antenna. Replace a damaged antenna immediately. Operating a 
portable radio with the antenna missing could cause personal 
injury, damage the radio, and may violate FCC regulations. 
Use only supplied or approved antennas. Use of unauthorized 
antennas, modifications or attachments could cause damage to the 
radio unit and may violate FCC regulations. 
3.1.2 Electronic Devices 
CAUTION  
RF energy from portable radios may affect some electronic equipment. 
Most modern electronic equipment in cars, hospitals, homes, etc. are 
shielded from RF energy. However, in areas in which you are 
instructed to turn off two-way radio equipment, always observe the 
rules. If in doubt, turn it off! 
3.1.3 Aircraft 
Always turn off a portable radio before boarding any aircraft! 
• Use it on the ground only with crew permission. 
• DO NOT use while in-flight!! 
3.1.4  Electric Blasting Caps  
To prevent accidental detonation of electric blasting caps, DO NOT 
use two-way radios within 1000 feet of blasting operations. Always 
obey the "Turn Off Two-Way Radios" signs posted where electric 
blasting caps are being used. (OSHA Standard: 1926.900) 

7 
3.1.5  Potentially Explosive Atmospheres 
Areas with potentially explosive atmospheres are often, but not 
always, clearly marked. These may be fuelling areas, such as gas 
stations, fuel or chemical transfer or storage facilities, and areas 
where the air contains chemicals or particles, such as grain, dust, 
or metal powders. 
Sparks in such areas could cause an explosion or fire resulting in 
bodily injury or even death. 
Turn OFF two-way radios when in any area with a potentially 
explosive atmosphere. It is rare, but not impossible that a radio or 
its accessories could generate sparks. 
4  OPTIONS AND ACCESSORIES 
A complete list of Options and Accessories approved for use with the P5400 portable 
radio can be found online in the Operator’s Manual MM-012099-001 at www.macom-
wireless.com.  Also reference the maintenance manual or M/A-COM’s Products and 
Services Catalog for all available options and accessories, including those items that do 
not adversely affect the RF energy exposure. 
Always use M/A-COM authorized accessories (antennas, batteries, 
belt clips, speaker/mics, etc). Use of unauthorized accessories may 
cause the FCC Occupational/Controlled Exposure RF compliance 
requirements to be exceeded. 
CAUTION  
Always use the correct options and accessories (battery, antenna, 
speaker/mic, etc.) for the radio. Immersion rated options must be used 
with an immersion rated radio. Intrinsically safe options must be used 
with intrinsically safe radios. 
5 BATTERIES 
The P5400 series portable radios use rechargeable, recyclable Nickel Cadmium 
(NiCd), Nickel Metal Hydride (NiMH), or Lithium Ion (Li Ion) batteries. Please follow 
the directions below to maximize the useful life of each type of battery. 
Do not disassemble or modify Lithium Ion battery packs.  The 
Lithium Ion battery packs are equipped with built-in safety and 
protection features.  Should these features be disabled or tampered 
with in any way, the battery pack can leak acid, overheat, emit 
smoke, burst, and/or, ignite. 

8 
If the battery is ruptured or is leaking electrolyte that results in 
skin or eye contact with the electrolyte, immediately flush the 
affected area with water. If the battery electrolyte gets in the eyes, 
flush with water for 15 minutes and consult a physician 
immediately. 
5.1  CONDITIONING NIMH BATTERY PACKS 
Condition a new NiMH battery before putting into use. This also applies to 
rechargeable NiMH batteries that have been stored for long periods (weeks, months, or 
longer). Conditioning requires fully charging and fully discharging the battery three (3) 
times using the tri-chemistry charger.  The first time the battery is put into the charger, 
this unit will condition Nickel-based battery packs by automatically charging and 
discharging (cycling) the battery.  Refer to the appropriate charger manual for details. 
CAUTION  
Failure to properly condition NiMH battery packs before initial use will 
result in shortened performance by the battery. 
5.2  CONDITIONING NICD BATTERY PACKS 
A new NiCD battery does not require conditioning before use.  However, M/A-COM 
recommends periodically conditioning NiCD batteries to avoid the memory effect 
which results when a NiCD battery is repeatedly charged and not fully discharged, 
further resulting in a lower voltage and a lower capacity. Fortunately, both nominal 
voltage and capacity are restored through battery conditioning.   
Conditioning requires fully charging and fully discharging the battery three (3) times 
using the tri-chemistry charger.  The first time the battery is put into the charger, this 
unit will condition Nickel-based battery packs by automatically charging and 
discharging (cycling) the battery.  Refer to the appropriate charger manual for details.  
5.3  CONDITIONING LI ION BATTERY PACKS 
Lithium Ion battery packs do not suffer from memory effect and therefore do not 
require conditioning.   
CAUTION  
Always use M/A-COM authorized chargers and conditioners. Use of 
unauthorized chargers and conditioners may void the warranty. 
5.4 ADDITIONAL INFORMATION 
For more information regarding the proper care of portable radio batteries or 
establishing a battery maintenance program, refer to ECR-7367 which may be ordered 
by calling toll free 1-800-368-3277, then select option 7. 

9 
5.5 BATTERY DISPOSAL 
CAUTION  
In no instance should a battery be incinerated. Disposing of a battery 
by burning will cause an explosion. 
RECHARGEABLE BATTERY PACK DISPOSAL – The product 
you have purchased contains a rechargeable battery.  The battery is 
recyclable.  At the end of its useful life, under various state and local 
laws, it may be illegal to dispose of this battery into the municipal 
waste stream.  Check with your local solid waste officials for details 
in your area for recycling options or proper disposal.  Canadian and 
U.S. users may call Toll Free 1-800-8-BATTERY® for information 
and/or procedures for returning rechargeable batteries in your 
locality. 
6 TECHNICAL ASSISTANCE 
The Technical Assistance Center's (TAC) resources are available to help with overall 
system operation, maintenance, upgrades and product support.  TAC is the point of 
contact when answers are needed to technical questions. 
Product specialists, with detailed knowledge of product operation, maintenance, and 
repair provide technical support via a toll-free (in North America) telephone number.  
Support is also available through mail, fax and e-mail.  
For more information about technical assistance services, contact your sales 
representative, or call the Technical Assistance Center directly at:  
North America:  1-800-528-7711 
International:   1-434-385-2400 
Fax: 1-434-455-6712 
E-mail:     tac@tycoelectronics.com 

10 
7 BATTERY WARRANTY 
A.  M/A-COM, Inc. (hereinafter "Seller") warrants to the original purchaser for use (hereinafter "Buyer") 
that nickel-cadmium and nickel-metal hydride batteries supplied by Seller shall be free from defects 
in material and workmanship, and shall conform to its published specifications for a period of 
twelve (12) months from the date of purchase. 
B.  For purposes of this warranty, batteries shall be deemed defective if (1) the battery capacity is less 
than 80% rated capacity, or (2) the battery develops leakage. 
C.  If any battery fails to meet the foregoing warranty, Seller shall correct the failure by issuing a 
replacement battery upon receipt of the defective battery at an Authorized Service Center (ASC) or 
M/A-COM factory (for OpenSky® Equipment only). 
D.  Replacement batteries shall be warranted only for the remaining unexpired warranty period of the 
original battery. This warranty becomes void if: 
1.  The battery has been subjected to any kind of misuse, detrimental exposure, or has been 
involved in an accident. 
2.  The battery is used in equipment or service other than the radio equipment for which it is 
specified. 
E.  The preceding paragraphs set forth the exclusive remedies for claims based upon defects in or 
non-conformity of any battery, whether the claim is in contract, warranty, tort (including 
negligence), strict liability or otherwise, and however instituted. Upon the expiration of the warranty 
period, all such liability shall terminate. The foregoing warranties are exclusive and in lieu of all 
other warranties, whether oral, written, expressed, implied or statutory. NO IMPLIED OR 
STATUTORY WARRANTIES OF MERCHANTABILITY OR FITNESS FOR PARTICULAR 
PURPOSE SHALL APPLY. IN NO EVENT SHALL THE COMPANY BE LIABLE FOR ANY 
INCIDENTAL, CONSEQUENTIAL, SPECIAL, INDIRECT OR EXEMPLARY DAMAGES. 
This warranty applies only within the United States. 
M/A-COM, Inc.  M/A-COM, Inc. 
1011 Pawtucket Blvd.  221 Jefferson Ridge Parkway 
Lowell, MA  01853  Lynchburg, VA 24501 
1-877-OPENSKY 1-800-528-7711 
ECR-7048B 

11 
8 WARRANTY 
A.  M/A-COM, Inc. (hereinafter "Seller") warrants to the original purchaser for use (hereinafter "Buyer") 
that Equipment manufactured by or for the Seller shall be free from defects in material and 
workmanship, and shall conform to its published specifications. With respect to all non-M/A-COM 
Equipment, Seller gives no warranty, and only the warranty, if any, given by the manufacturer shall 
apply.  Rechargeable batteries are excluded from this warranty but are warranted under a separate 
Rechargeable Battery Warranty (ECR-7048). 
B.  Seller’s obligations set forth in Paragraph C below shall apply only to failures to meet the above 
warranties occurring within the following periods of time from date of sale to the Buyer and are 
conditioned on Buyer’s giving written notice to Seller within thirty (30) days of such occurrence: 
1.  for fuses and non-rechargeable batteries, operable on arrival only. 
2.  for parts and accessories (except as noted in B.1) sold by Seller’s Service Parts Operation, 
ninety (90) days. 
3. for PANTHER™ Series handportable and mobile radios, two (2) years. 
4.  for all other equipment of Seller’s manufacture, one (1) year. 
C.  If any Equipment fails to meet the foregoing warranties, Seller shall correct the failure at its option 
(i) by repairing any defective or damaged part or parts thereof, (ii) by making available at Seller’s 
factory any necessary repaired or replacement parts, or (iii) by replacing the failed Equipment with 
equivalent new or refurbished Equipment. Any repaired or replacement part furnished hereunder 
shall be warranted for the remainder of the warranty period of the Equipment in which it is installed. 
Where such failure cannot be corrected by Seller’s reasonable efforts, the parties will negotiate an 
equitable adjustment in price. Labor to perform warranty service will be provided at no charge 
during the warranty period only for the Equipment covered under Paragraph B.3 and B.4. To be 
eligible for no-charge labor, service must be performed at a M/A-COM factory, by an Authorized 
Service Center (ASC) or other Servicer approved for these purposes either at its place of business 
during normal business hours, for mobile or personal equipment, or at the Buyer’s location, for 
fixed location equipment. Service on fixed location equipment more than thirty (30) miles from the 
Service Center or other approved Servicer’s place of business will include a charge for 
transportation. 
D.  Seller’s obligations under Paragraph C shall not apply to any Equipment, or part thereof, which (i) 
has been modified or otherwise altered other than pursuant to Seller’s written instructions or written 
approval or, (ii) is normally consumed in operation or, (iii) has a normal life inherently shorter than 
the warranty periods specified in Paragraph B, or (iv) is not properly stored, installed, used, 
maintained or repaired, or, (v) has been subjected to any other kind of misuse or detrimental 
exposure, or has been involved in an accident. 
E.  The preceding paragraphs set forth the exclusive remedies for claims based upon defects in or 
nonconformity of the Equipment, whether the claim is in contract, warranty, tort (including 
negligence), strict liability or otherwise, and however instituted. Upon the expiration of the warranty 
period, all such liability shall terminate. The foregoing warranties are exclusive and in lieu of all 
other warranties, whether oral, written, expressed, implied or statutory. NO IMPLIED OR 
STATUTORY WARRANTIES OF MERCHANTABILITY OR FITNESS FOR PARTICULAR 
PURPOSE SHALL APPLY. IN NO EVENT SHALL THE SELLER BE LIABLE FOR ANY 
INCIDENTAL, CONSEQUENTIAL, SPECIAL, INDIRECT OR EXEMPLARY DAMAGES. 
This warranty applies only within the United States. 
M/A-COM, Inc.  M/A-COM, Inc. 
1011 Pawtucket Blvd.  221 Jefferson Ridge Parkway 
Lowell, MA  01853  Lynchburg, VA 24501 
1-877-OPENSKY 1-800-528-7711 
ECR-7047C 

Tyco Electronics Wireless Systems Segment 
221 Jefferson Ridge Parkway 
Lynchburg, Virginia 24501 
(Outside USA, 1-434-385-2400) Toll Free 1-800-528-7711 
www.macom-wireless.com  Printed in U.S.A.