HARRIS TR-0134-E XG-15P 700/800 MHz portable radio User Manual
HARRIS CORPORATION XG-15P 700/800 MHz portable radio
  
    HARRIS   >  
User Manual

Rhein Tech Laboratories, Inc.  Client: Harris Corporation 
360 Herndon Parkway  EUT: XG-15P 700/800 MHz 
Suite 1400  ID’s: OWDTR-0134-E/3636B-0134 
Herndon, VA20170  Standards:  FCC Part 90 
http://www.rheintech.com  Report #:  2015011 
Appendix M:  Manuals 
Please refer to the following pages for the Operators Manual and the Product Safety Manual. 

Operator’s Manual 
14221-1450-2000 
Mar/15  
XG-15P Series 
Portable Radio 

14221-1450-2000   
2 
REV 
DATE 
REASON FOR REVISION 
- 
Mar/15 
Initial release. 
Harris Corporation, Public Safety and Professional Communications (PSPC) Business continually evaluates its technical publications for 
completeness, technical accuracy, and organization. You can assist in this process by submitting your comments and suggestions to the 
following: 
Harris Corporation    fax your comments to: 1-434-455-6851 
PSPC Business    or 
Technical Publications    e-mail us at:  PSPC_TechPubs@harris.com 
221 Jefferson Ridge Parkway 
Lynchburg, VA 24501  ACKNOWLEDGEMENTS 
The software contained in this device is copyrighted by Harris Corporation Unpublished rights are reserved under the copyright laws of the 
United States. 
This device is made under license under one or more of the following US patents: 4,590,473; 4,636,791; 5,148,482; 5,185,796; 5,271,017; 
5,377,229; 4,716,407; 4,972,460; 5,502,767; 5,146,497; 5,164,986; 5,185,795; 5,226,084; 5,247,579; ; 5,491,772; 5,517,511; 5,630,011; 
5,649,050; 5,701,390; 5,715,365; 5,754,974; 5,826,222; 5,870,405; 6,161,089; and 6,199,037 B1.  DVSI claims certain rights, including 
patent rights under aforementioned U.S. patents, and under other U.S. and foreign patents and patents pending.  Any use of this software or 
technology requires a separate written license from DVSI. 
CREDITS! 
Harris  Corporation,  assuredcommunications,  and  VIDA  are  registered  trademarks  and  ProScan  and  Failsoft  are  trademarks  of  Harris 
Corporation. 
RBRC and 1-800-8-BATTERY are registered trademarks of Rechargeable Battery Recycling Corporation. 
AMBE is a registered trademark and IMBE, AMBE+, and AMBE+2 are trademarks of Digital Voice Systems, Inc. 
TORX is a registered trademark of CAMCAR division of TEXTRON, Inc. 
All other product and brand names are trademarks, registered trademarks, or service marks of their respective holders. 
NOTICE! 
The material contained herein is subject to U.S. export approval. No export or re-export is permitted without written approval from the U.S. 
Government. Rated: EAR99; in accordance with U.S. Dept. of Commerce regulations 15CFR774, Export Administration Regulations. 
Information and descriptions contained herein are the property of Harris Corporation. Such information and descriptions may not be copied 
or reproduced by any means, or disseminated or  distributed without the  express prior  written permission of Harris  Corporation,  PSPC 
Business, 221 Jefferson Ridge Parkway, Lynchburg, VA 24501. 
This manual covers Harris Corporation products manufactured and sold by Harris Corporation. 
This product conforms to the European Union WEEE Directive 2012/19/EU. Do not dispose of this product in a public landfill.  Take it to a 
recycling center at the end of its life. 
The voice coding technology embodied in this product is protected by intellectual property rights including patent rights, copyrights, and 
trade secrets of Digital Voice Systems, Inc.  The user of this technology is  explicitly  prohibited from attempting to  decompile, reverse 
engineer, or disassemble the Object Code, or in any other way convert the Object Code into human-readable form. 
Repairs to this equipment should be made only by an authorized service technician or facility designated by the supplier.   Changes or 
modifications not expressly approved by Harris Corporation could void the user’s authority to operate the equipment. 
This  manual  is  published  by  Harris  Corporation,  without  any  warranty.  Improvements  and  changes  to  this  manual  necessitated  by 
typographical  errors,  inaccuracies  of  current  information,  or  improvements  to  programs  and/or  equipment,  may  be  made  by  Harris 
Corporation, at any time and without notice. Such changes will be incorporated into new editions of this manual. No part of this manual 
may be reproduced or transmitted in any form or by any means, electronic or mechanical, including photocopying and recording, for any 
purpose, without the express written permission of Harris Corporation. 
Copyright © 2015 Harris Corporation.  All rights reserved. 

  14221-1450-2000 
3 
TABLE OF CONTENTS 
Page 
1. REGULATORY AND SAFETY INFORMATION ............................................................................................. 6 
1.1 SAFETY CONVENTIONS ........................................................................................................................ 6 
1.2 SAFETY TRAINING INFORMATION ..................................................................................................... 6 
1.2.1 RF Exposure Guidelines ............................................................................................................... 7 
1.2.2 Electromagnetic Interference/Compatibility ................................................................................. 8 
1.3 REGULATORY APPROVALS .................................................................................................................. 8 
1.3.1 Part 15 ........................................................................................................................................... 8 
1.3.2 Industry Canada ............................................................................................................................ 8 
1.4 OPERATING TIPS ..................................................................................................................................... 8 
1.5 EFFICIENT RADIO OPERATION ............................................................................................................ 9 
1.5.1 Antenna Care and Replacement .................................................................................................... 9 
1.5.2 Electronic Devices ........................................................................................................................ 9 
1.5.3 Aircraft .......................................................................................................................................... 9 
1.5.4 Electric Blasting Caps ................................................................................................................... 9 
1.5.5 Potentially Explosive Atmospheres ............................................................................................ 10 
2. RENSEIGNEMENTS SUR LA RÉGLEMENTATION ET SÉCURITÉ........................................................ 11 
2.1 CONVENTIONS SUR LES SYMBOLES DE SÉCURITÉ ..................................................................... 11 
2.2 RENSEIGNEMENTS SUR LA FORMATION SUR LA SÉCURITÉ ..................................................... 11 
2.2.1 Directives sur l’exposition aux RF .............................................................................................. 12 
2.2.2 Interférence/Compatibilité Électromagnétique ........................................................................... 13 
2.3 INTERFÉRENCE DES RADIOFRÉQUENCES ...................................................................................... 13 
2.3.1 Partie 15 de la FCC ..................................................................................................................... 13 
2.3.2 Industrie Canada ......................................................................................................................... 13 
2.4 CONSEILS D’UTILISATION .................................................................................................................. 13 
2.4.1 Utilisation Efficace de la Radio .................................................................................................. 13 
3. CLEANING .......................................................................................................................................................... 16 
4. BATTERIES ......................................................................................................................................................... 17 
4.1 BATTERY CARE/MAINTENANCE ....................................................................................................... 17 
4.2 STORING LI-ION BATTERY PACKS ................................................................................................... 17 
4.3 CHARGING BATTERY PACKS ............................................................................................................. 17 
4.4 CHANGING THE BATTERY PACK ...................................................................................................... 18 
4.4.1 Removing the Battery Pack ......................................................................................................... 18 
4.4.2 Attaching the Battery Pack.......................................................................................................... 19 
4.5 BATTERY DISPOSAL ............................................................................................................................ 19 
5. INTRODUCTION ................................................................................................................................................ 20 
5.1 WATER RESISTANCE............................................................................................................................ 21 
5.2 UNIVERSAL DEVICE CONNECTOR ................................................................................................... 21 
6. OPTIONS AND ACCESSORIES ....................................................................................................................... 22 
7. OPERATION ........................................................................................................................................................ 25 
7.1 TURNING ON THE RADIO .................................................................................................................... 25 
7.2 CONTROLS .............................................................................................................................................. 25 
7.2.1 Buttons, Knobs, and Switch ........................................................................................................ 26 
7.2.2 Keypad ........................................................................................................................................ 26 
7.3 DISPLAY .................................................................................................................................................. 27 
7.4 RADIO STATUS ICONS ......................................................................................................................... 28 
7.5 TRI-COLOR LED ..................................................................................................................................... 28 
7.6 RADIO STATUS MESSAGES ................................................................................................................ 29 
7.7 ERROR MESSAGES ................................................................................................................................ 29 
7.8 ALERT TONES ........................................................................................................................................ 30 

14221-1450-2000   
4 
TABLE OF CONTENTS 
Page 
7.9 VOICE ANNUNCIATION ....................................................................................................................... 30 
7.10 SYSTEM/ZONE SELECTION ................................................................................................................. 30 
7.11 GROUP/CHANNEL SELECTION ........................................................................................................... 31 
7.12 MODIFY SCAN LIST .............................................................................................................................. 31 
7.13 MENU ....................................................................................................................................................... 32 
7.14 MENU ITEM SELECTION PROCESS .................................................................................................... 32 
7.15 BACKLIGHT ON/OFF ............................................................................................................................. 34 
7.16 CONTRAST ADJUST .............................................................................................................................. 34 
7.17 DECLARING AN EMERGENCY ............................................................................................................ 35 
7.18 LOCKING/UNLOCKING KEYPAD ....................................................................................................... 35 
7.19 HIGH/LOW POWER ADJUSTMENT ..................................................................................................... 35 
7.19.1 Using the Menu Button ............................................................................................................... 35 
7.19.2 Using the Pre-Programmed Option Button ................................................................................. 35 
7.20 ENCRYPTION .......................................................................................................................................... 35 
7.20.1 Displaying the Currently Used Cryptographic Key Number....................................................... 36 
7.20.2 Key Zero ...................................................................................................................................... 36 
7.20.3 Receiving an Encrypted Call ....................................................................................................... 36 
7.20.4 Transmitting an Encrypted Call................................................................................................... 36 
7.20.5 Emergencies on Encrypted Group ............................................................................................... 37 
7.21 SCAN OPERATION ................................................................................................................................. 37 
7.21.1 Turning Scan On and Off ............................................................................................................ 37 
7.21.2 Add Groups and Channels to a Scan List .................................................................................... 37 
7.21.3 Deleting Groups from a Scan List ............................................................................................... 38 
7.21.4 Nuisance Delete ........................................................................................................................... 38 
7.22 SYSTEM SCAN (P25 TRUNKED) .......................................................................................................... 38 
7.22.1 Wide Area System Scanning ....................................................................................................... 38 
7.22.2 Priority System Scan ................................................................................................................... 39 
7.22.3 ProScan ....................................................................................................................................... 39 
7.23 EMERGENCY OPERATION ................................................................................................................... 39 
7.23.1 Receiving an Emergency Call ..................................................................................................... 40 
7.23.2 Declaring an Emergency Call ...................................................................................................... 40 
7.24 MIXED SYSTEM ZONES........................................................................................................................ 40 
7.25 CALLER ID .............................................................................................................................................. 40 
7.26 STEALTH MODE ..................................................................................................................................... 41 
7.27 INDIVIDUAL CALLS (P25 MODES) ..................................................................................................... 41 
7.27.1 Receiving and Responding to an Individual Call ........................................................................ 42 
7.27.2 Sending an Individual Call .......................................................................................................... 43 
7.27.3 Call Storage Lists ........................................................................................................................ 44 
7.28 TELEPHONE INTERCONNECT CALLS (P25 TRUNKED) ................................................................. 45 
7.28.1 Receiving a Telephone Interconnect Call .................................................................................... 45 
7.28.2 Sending a Telephone Interconnect Call ....................................................................................... 45 
7.28.3 Dual-Tone Multi-Frequency: Overdial ........................................................................................ 46 
7.29 PRE-STORING INDIVIDUAL AND TELEPHONE INTERCONNECT CALLS FROM THE 
KEYPAD ................................................................................................................................................... 46 
7.30 STATUS/MESSAGE OPERATION (P25 MODES) ................................................................................ 47 
7.30.1 Status Operation .......................................................................................................................... 47 
7.30.2 Message Operation ...................................................................................................................... 48 
7.31 MACRO KEY OPERATION .................................................................................................................... 48 
7.32 PORTABLE DATA .................................................................................................................................. 48 
7.32.1 Displays ....................................................................................................................................... 48 
7.32.2 DATA OFF Operation................................................................................................................. 49 
7.32.3 DATA ON Operation .................................................................................................................. 49 
7.32.4 Exiting Data Calls ....................................................................................................................... 49 

  14221-1450-2000 
5 
TABLE OF CONTENTS 
Page 
7.32.5 Scan Lockout Mode .................................................................................................................... 49 
7.32.6 Data Lockout Mode .................................................................................................................... 50 
7.33 TYPE 99 OPERATION (ANALOG CONVENTIONAL) ........................................................................ 50 
7.33.1 Type 99 with or without Channel Guard ..................................................................................... 50 
7.33.2 Resetting Type 99 after a Call ..................................................................................................... 50 
7.33.3 Type 99 Disable after PTT .......................................................................................................... 50 
7.34 AUDIO PLAYBACK ............................................................................................................................... 50 
7.35 RADIO TEXTLINK OPERATION .......................................................................................................... 51 
7.35.1 Send TextLink Messages ............................................................................................................ 51 
7.35.2 View Received TextLink Messages ............................................................................................ 51 
7.35.3 Delete TextLink Messages .......................................................................................................... 51 
7.35.4 View the Current Time ............................................................................................................... 51 
7.36 VIEW GPS INFORMATION ................................................................................................................... 51 
7.37 CONTROL AND STATUS SERVICES ................................................................................................... 52 
8. CUSTOMER SERVICE ...................................................................................................................................... 53 
8.1 CUSTOMER CARE ................................................................................................................................. 53 
8.2 TECHNICAL ASSISTANCE ................................................................................................................... 53 
9. BASIC TROUBLESHOOTING .......................................................................................................................... 54 
10. WARRANTY ........................................................................................................................................................ 54 
FIGURES 
Figure 4-1: Removing the Battery Pack ......................................................................................................................... 18 
Figure 4-2: Attaching the Battery Pack .......................................................................................................................... 19 
Figure 5-1: XG-15P Radio ............................................................................................................................................. 20 
Figure 5-2: XG-15P 15-Pin Universal Device Connector .............................................................................................. 21 
Figure 7-1: Top View ..................................................................................................................................................... 25 
Figure 7-2: Side View .................................................................................................................................................... 25 
Figure 7-3: XG-15P Keypad........................................................................................................................................... 26 
Figure 7-4: Sample Radio Display ................................................................................................................................. 27 
Figure 7-7: Menu Display .............................................................................................................................................. 32 
Figure 7-8: Backlight Menu Item Selection Parameter .................................................................................................. 32 
Figure 7-9: Backlight Menu Display .............................................................................................................................. 33 
Figure 7-10: System Encryption Key Display ................................................................................................................ 36 
Figure 7-11: Group/Channel Encryption Key Display ................................................................................................... 36 
Figure 7-12: Calls Received Lists .................................................................................................................................. 43 
Figure 7-13: WHC Individual Call Display .................................................................................................................... 43 
Figure 7-14: Calls Received and Personality Lists ......................................................................................................... 44 
TABLES 
Table 1-1: RF Exposure Compliance Testing Distances .................................................................................................. 8 
Table 6-1: Options and Accessories ............................................................................................................................... 22 
Table 7-1: Buttons, Knobs, and Switch Functions ......................................................................................................... 26 
Table 7-2: XG-15P Keypad Functions ........................................................................................................................... 27 
Table 7-3: Status Icon Descriptions ................................................................................................................................ 28 
Table 7-4: Alert Tones .................................................................................................................................................... 30 
Table 7-5: Menu Item Information ................................................................................................................................. 33 
Table 9-1: Troubleshooting ............................................................................................................................................ 54 

14221-1450-2000   
6 
1.  REGULATORY AND SAFETY INFORMATION 
1.1  SAFETY CONVENTIONS 
The following conventions are used throughout this manual to alert the user to general safety precautions 
that must be observed during all phases of operation, service, and repair of this product. Failure to comply 
with  these  precautions  or  with  specific  warning  elsewhere  in  this  manual violates  safety standards of 
design,  manufacture,  and  intended  use  of  the  product.  Harris  assumes  no  liability  for  the  customer’s 
failure to comply with these standards. 
The WARNING symbol calls attention to a procedure, practice, or the like, which, if 
not  correctly  performed  or  adhered  to,  could  result  in  personal  injury.  Do  not 
proceed  beyond  a  WARNING  symbol  until  the  conditions  identified  are  fully 
understood or met. 
The CAUTION symbol calls attention to an operating procedure, practice, or the like, 
which, if not performed correctly or adhered to, could result in damage to the equipment 
or severely degrade the equipment performance. 
The NOTE symbol calls attention to supplemental information, which may improve 
system performance or clarify a process or procedure. 
1.2  SAFETY TRAINING INFORMATION 
The Harris XG-15P portable radio generates RF electromagnetic energy during 
transmit  mode.  This  radio  is  designed  for  and  classified  as  “Occupational  Use 
Only,”  meaning  it  must  be  used  only  during  the  course  of  employment  by 
individuals  aware  of  the  hazards  and  the  ways  to  minimize  such  hazards.  This 
radio  is  NOT  intended  for  use  by  the  “General  Population”  in  an  uncontrolled 
environment. 
The  XG-15P  portable  radio  has  been  tested  and  complies  with  the  FCC  RF  exposure  limits  for 
“Occupational  Use  Only.”    In  addition,  this  Harris  radio  complies  with  the  following  Standards  and 
Guidelines with regard to RF energy and electromagnetic energy levels and evaluation of such levels for 
exposure to humans: 
 FCC OET Bulletin 65 Edition 97-01 Supplement C, Evaluating Compliance with FCC Guidelines for 
Human Exposure to Radio Frequency Electromagnetic Fields. 
 American National Standards Institute (C95.1 – 1992), IEEE Standard for Safety Levels with Respect 
to Human Exposure to Radio Frequency Electromagnetic Fields, 3 kHz to 300 GHz. 
 American  National  Standards  Institute  (C95.3  –  1992),  IEEE  Recommended  Practice  for  the 
Measurement of Potentially Hazardous Electromagnetic Fields – RF and Microwave. 
WARNING
CAUTION
NOTE
WARNING

  14221-1450-2000 
7 
 IC  Standard  RSS-102,  Issue  4,  2010:  Spectrum  Management  and  Telecommunications  Radio 
Standards  Specification.  Radiofrequency Exposure  Compliance  of  Radiocommunication  Apparatus 
(All Frequency Bands). 
 DIRECTIVE 2004/40/EC OF THE EUROPEAN PARLIAMENT AND OF THE COUNCIL of 29 
April 2004 on the minimum health and safety requirements regarding the exposure of workers to the 
risks arising from physical agents (electromagnetic fields) and amended by: 
 Directive 2007/30/EC of the European Parliament and of the Council of 20 June 2007 
 Directive 2008/46/EC of the European Parliament and of the Council of 23 April 2008  
 Regulation (EC) No 1137/2008 of the European Parliament and  of the Council of 22 October 
2008  
 Directive 2012/11/EU of the European Parliament and of the Council of 19 April 2012 
1.2.1  RF Exposure Guidelines 
To  ensure  that  exposure  to  RF  electromagnetic  energy  is  within  the  FCC  allowable 
limits for occupational use and/or the exposure limit values in Annex A of EU Directive 
2004/40/EC, always adhere to the following guidelines: 
 DO NOT operate the radio without a proper antenna attached, as this may damage the radio and may 
also cause the FCC RF exposure limits and/or the exposure limit values in Annex A of EU Directive 
2004/40/EC to be exceeded. A proper antenna is the antenna supplied with this radio by Harris or an 
antenna specifically authorized by Harris for use with this radio. (Refer to Table 6-1.) 
 DO NOT transmit for more than 50% of total radio use time (“50% duty cycle”). Transmitting more 
than 50% of the time can cause FCC RF exposure compliance requirements and/or the exposure limit 
values in Annex A of EU Directive 2004/40/EC to be exceeded. The radio is transmitting when the 
“TX” indicator appears in the display. The radio will transmit by pressing the “PTT” (Push-To-Talk) 
button. 
 ALWAYS transmit using low power when possible. In addition to conserving battery charge, low 
power can reduce RF exposure. 
 ALWAYS use Harris authorized accessories (antennas, batteries, belt clips, speaker/mics, etc). Use of 
unauthorized  accessories  may  cause  the  FCC  Occupational/Controlled  Exposure  RF  compliance 
requirements  and/or  the  exposure  limit  values  in  Annex  A  of  EU  Directive  2004/40/EC  to  be 
exceeded. (Refer to Table 1-1.) 
 As  noted  in  Table  1-1,  ALWAYS  keep  the  housing  of  the  transmitter  AT  LEAST  1.4  cm  (0.55 
inches) from the body and at least 2.5 cm (0.98 inches) from the face when transmitting to ensure 
FCC  RF  exposure  compliance  requirements  and/or  the  exposure  limit  values  in  Annex  A  of  EU 
Directive 2004/40/EC are not exceeded. However, to provide the best sound quality to the recipients 
of  your transmission,  Harris recommends  you hold the microphone  at  least  5 cm  (2  inches)  from 
mouth, and slightly off to one side. 
CAUTION

14221-1450-2000   
8 
Table 1-1: RF Exposure Compliance Testing Distances 
RADIO FREQUENCY 
(MHz) 
TESTED DISTANCES 
(worst case scenario) 
Body1 
Face 
700/800 MHz 
(768.0125 - 775.9875) 
(798.0125 - 804.9875) 
(806.0125  - 815.09875) 
(851.0125 - 860.9875) 
1.4 cm (0.55 in.) 
2.5 cm (0.98 in.) 
The information in this section provides the information needed to make the user aware of RF exposure, 
and what to do to assure that this radio operates within the FCC RF exposure limits and/or the exposure 
limit values in Annex A of EU Directive 2004/40/EC. 
1.2.2  Electromagnetic Interference/Compatibility 
During transmissions, this Harris radio  generates RF  energy that  can  possibly cause interference with 
other devices or systems. To avoid such interference, turn off the radio in areas where signs are posted to 
do so. DO NOT operate the transmitter in areas that are sensitive to electromagnetic radiation such as 
hospitals, aircraft, and blasting sites. 
1.3  REGULATORY APPROVALS 
1.3.1  Part 15 
This device complies with Part 15 of the FCC Rules. Operation is subject to the following two conditions:  
1. This device may not cause harmful interference, and  
2. This device must accept any interference received, including interference that may cause undesired 
operation. 
1.3.2  Industry Canada 
This device complies with Industry Canada license-exempt RSS standard(s). Operation is subject to the 
following two conditions: (1) this device may not cause interference, and (2) this device must accept any 
interference, including interference that may cause undesired operation of the device. 
1.4  OPERATING TIPS 
Antenna location and condition are important when operating a portable radio.  Operating the radio in low 
lying areas or terrain, under power lines or bridges, inside of a vehicle, or in a metal framed building can 
severely reduce the range of the unit.  Mountains can also reduce the range of the unit.  
In areas where transmission or reception is poor, some improvement may be obtained by ensuring that the 
antenna is vertical.  Moving a few yards in another direction or moving to a higher elevation may also 
improve  communications.    Vehicular  operation  can  be  aided  with  the  use  of  an  externally  mounted 
antenna.  
Battery condition is another important factor in the trouble free operation of a portable radio.  Always 
properly charge the battery.  
1 This is worst case based on the thinnest body mount accessory (belt clip). 

  14221-1450-2000 
9 
1.5  EFFICIENT RADIO OPERATION 
Keep the antenna in a vertical position when receiving or transmitting a message.  
Do NOT hold onto the antenna when the radio is powered on! 
1.5.1  Antenna Care and Replacement 
Do not use the portable radio with a damaged or missing antenna. A minor burn 
may  result  if  a  damaged  antenna  comes  into  contact  with  the  skin.  Replace  a 
damaged antenna immediately. Operating a portable radio with the antenna missing 
could cause personal injury, damage the radio, and may violate FCC regulations. 
Use  only  the  supplied  or  approved  antenna.  Unauthorized  antennas,  modifications,  or 
attachments could cause damage to the radio unit and may violate FCC regulations. (Refer 
to Table 6-1.) 
1.5.2  Electronic Devices 
RF  energy  from  portable  radios  may  affect  some  electronic  equipment.    Most  modern 
electronic equipment in cars, hospitals, homes, etc. is shielded from RF energy.  However, 
in areas in which you are instructed to turn off two-way radio equipment, always observe 
the rules.  If in doubt, turn it off! 
1.5.3  Aircraft 
 Always turn off a portable radio before boarding any aircraft! 
 Use it on the ground only with crew permission. 
 DO NOT use while in-flight!! 
1.5.4  Electric Blasting Caps  
To  prevent  accidental  detonation  of  electric  blasting  caps,  DO  NOT use  two-way 
radios within 1000 feet of blasting operations. Always obey the "Turn Off Two-Way 
Radios" signs posted where electric blasting caps are being used. (OSHA Standard: 
1926.900) 
WARNING
WARNING
CAUTION
CAUTION
WARNING
WARNING

14221-1450-2000   
10 
1.5.5  Potentially Explosive Atmospheres 
Areas  with  potentially  explosive  atmospheres  are  often,  but  not  always,  clearly 
marked. These may be fuelling areas, such as gas stations, fuel or chemical transfer 
or storage facilities, and areas where the air contains chemicals or particles, such as 
grain, dust, or metal powders. 
Sparks in such areas could cause an explosion or fire resulting in bodily injury or 
even death. 
Turn off two-way radios when in any area with a potentially explosive atmosphere. It 
is rare, but not impossible that a radio or its accessories could generate sparks. 
WARNING

  14221-1450-2000 
11 
2.  RENSEIGNEMENTS SUR LA RÉGLEMENTATION ET 
SÉCURITÉ 
2.1  CONVENTIONS SUR LES SYMBOLES DE SÉCURITÉ 
Les conventions suivantes sont utilisées dans le présent manuel pour avertir l’utilisateur des précautions 
générales de sécurité qui doivent être observées pendant toutes les phases d’opération, d’entretien et de 
réparation de ce produit. Le non-respect de ces précautions ou d’avertissements précisés ailleurs enfreint 
les  normes  de  sécurité  de  la  conception,  de  la  fabrication  et  de  l’utilisation  prévue  du  produit.  Harris 
n’assume aucune responsabilité pour le non-respect de ces normes par le client. 
MISE EN GARDE
Le  symbole  MISE  EN  GARDE  attire  l’attention  sur  une  procédure  ou  une 
pratique  qui,  si  elle  n’est  pas  correctement  effectuée  ou  observée,  pourrait 
entraîner une  blessure  personnelle. Ne  pas  poursuivre  au-delà  d’un  symbole  de 
MISE  EN  GARDE  avant  que  les  conditions  identifiées  soient  complètement 
comprises ou satisfaites. 
AVERTISSEMENT
Le symbole AVERTISSEMENT attire l’attention  sur une  procédure  ou  une  pratique 
opérationnelle  qui,  si  elle  n’est  pas  correctement  effectuée  ou  observée,  pourrait 
entraîner un bris d’équipement ou une importante baisse de rendement de l’équipement. 
REMARQUE
Le symbole REMARQUE attire l’attention sur des renseignements supplémentaires qui 
peuvent améliorer le rendement du système ou clarifier un processus ou une procédure. 
2.2  RENSEIGNEMENTS SUR LA FORMATION SUR LA SÉCURITÉ 
MISE EN GARDE
La radio portative Harris XG-15P produit de l’énergie électromagnétique des RF 
lorsqu’en  mode  de  transmission.  Cette  radio  est  conçue  et  classée  pour  une 
« Utilisation professionnelle seulement », ce qui signifie qu’elle ne doit être utilisée 
que  dans  le  cadre  d’un  emploi  par  des  individus  conscients  des  risques  et  des 
moyens de limiter ceux-ci. Cette radio N’EST PAS conçue pour une utilisation par 
la « Population générale » dans un environnement non contrôlé. 
La radio portative XG-15P a été testée et est conforme aux limites d’exposition aux RF de la FCC pour 
une  « Utilisation professionnelle seulement ».  De plus,  cette  radio Harris  est  conforme  aux  normes  et 
directives  suivantes  quant  à  l’énergie  des  RF  et  aux  niveaux  d’énergie  électromagnétique,  ainsi  qu’à 
l’évaluation de ces niveaux pour l’exposition aux humains : 
 Bulletin 65 du OET de la FCC, édition 97-01, supplément C, portant sur l’évaluation de la conformité 
aux  directives  de  la  FCC  quant  à  l’exposition  humaine  aux  champs  électromagnétiques  des 
radiofréquences. 
 American National Standards Institute (C95.1 – 1992), norme de l’IEEE sur les niveaux sécuritaires 
d’exposition humaine aux champs électromagnétiques des radiofréquences, 3 kHz à 300 GHz. 
 American  National  Standards  Institute (C95.3 – 1992), pratique  recommandée  par  l’IEEE pour la 
mesure des champs électromagnétiques potentiellement dangereux – RF et micro-ondes. 

14221-1450-2000   
12 
 IC  la  norme  RSS-102,  Numéro  4,  2010:  Gestion  du  spectre  et  télécommunications  normes 
radioélectriques. L'exposition aux radiofréquences Conformité des appareils de radiocommunication 
(toutes bandes de fréquences). 
2.2.1  Directives sur l’exposition aux RF 
AVERTISSEMENT
Pour s’assurer que l’exposition à l’énergie électromagnétique des RF se situe dans les 
limites acceptables de la FCC pour l’utilisation professionnelle, respectez toujours les 
directives suivantes : 
 N’utilisez PAS la radio sans qu’une antenne appropriée y soit connectée, car ceci peut endommager la 
radio et également causer un dépassement des limites d’exposition aux RF de la FCC. Une antenne 
appropriée est celle fournie par Harris avec cette radio, ou une antenne spécifiquement autorisée par 
Harris pour être utilisée avec cette radio. (Reportez-vous à Table 6-1.) 
 Ne  transmettez PAS pendant  plus  de  50 % de la durée  d’utilisation  totale de  la  radio  (« cycle  de 
service de 50 % »). La transmission pendant plus de 50 % du temps peut causer un dépassement des 
exigences  de  conformité  de  la  FCC  en  matière  d’exposition  aux  RF.  La  radio  transmet  lorsque 
l’indicateur « TX » apparaît sur l’affichage. La radio transmet lorsqu’on appuie sur le bouton « PTT » 
(bouton de microphone). 
 Transmettez TOUJOURS en basse puissance lorsque possible. En plus de préserver la charge de la 
pile, une faible puissance réduit l’exposition aux RF. 
 Utilisez  TOUJOURS  des  accessoires  autorisés  Harris  (antennes,  piles,  pinces  de  ceinture,  haut-
parleurs/micros,  etc.).  L’utilisation  d’accessoires  non  autorisés  peut  entraîner  un  dépassement  des 
exigences  de  conformité  pour  une  exposition  aux  RF  professionnelle  ou  contrôlée  de  la  FCC. 
(Reportez-vous à Tableau 2-1.) 
 Tel  qu’indiqué dans Tableau  2-1,  conservez TOUJOURS  l’appareil et son antenne  à  AU MOINS 
1,4 cm du corps, et à au moins 2,5 cm du visage pendant la transmission, pour vous assurer de ne pas 
dépasser les exigences de conformité de la FCC en matière d’exposition aux RF. Cependant, pour 
offrir la meilleure qualité sonore aux auditeurs de votre transmission, Harris recommande de tenir le 
microphone à au moins 5 cm de votre bouche et légèrement déplacé sur un côté. 
Tableau 2-1: Distances de test de conformité des expositions aux RF 
RADIOFRÉQUENCES 
DISTANCES TESTÉES 
(pire des scénarios) 
Corps2 
Visage 
700/800 MHz 
(768.0125 - 775.9875) 
(798.0125 - 804.9875) 
(806.0125  - 815.09875) 
(851.0125 - 860.9875) 
1,4 cm 
2,5 cm 
Dans cette section figurent les renseignements nécessaires pour sensibiliser l’utilisateur à l’exposition aux 
RF et sur ce qu’il faut faire pour s’assurer que cette radio fonctionne dans les limites d’exposition aux RF 
de la FCC. 
2 Ce est le pire des cas basée sur le corps plus mince monter accessoire (clip ceinture). 

  14221-1450-2000 
13 
2.2.2  Interférence/Compatibilité Électromagnétique 
Pendant les transmissions, cette radio Harris produit de l’énergie des RF qui peut causer de l’interférence 
avec d’autres appareils ou systèmes. Pour éviter de telles interférences, fermez la radio dans les zones où 
il  est  indiqué  de  le  faire.  N’utilisez  PAS  le  transmetteur  dans  des  zones  sensibles  aux  radiations 
électromagnétiques, comme les hôpitaux, les avions et les sites de détonation. 
2.3  INTERFÉRENCE DES RADIOFRÉQUENCES 
2.3.1  Partie 15 de la FCC 
Cet appareil est conforme à la Partie 15 de la réglementation de la FCC. Le fonctionnement est soumis 
aux deux conditions suivantes : 
1. Cet appareil ne doit pas causer une interférence nuisible; et 
2. Cet  appareil doit  accepter  toute interférence  reçue, y  compris  une  interférence qui peut  causer un 
fonctionnement non souhaité. 
2.3.2  Industrie Canada 
Le présent appareil est conforme aux CNR d'Industrie Canada applicables aux appareils radio exempts de 
licence. L'exploitation est autorisée aux deux conditions suivantes : (1) l'appareil ne doit pas produire de 
brouillage, et (2) l'utilisateur de l'appareil doit accepter tout brouillage radioélectrique subi, même si le 
brouillage est susceptible d'en compromettre le fonctionnement.  
2.4  CONSEILS D’UTILISATION 
L’emplacement et l’état de l’antenne sont importants pour l’utilisation d’une radio portative. L’utilisation 
de la radio dans des zones de faible élévation, sous des lignes électriques ou des ponts, à l’intérieur d’un 
véhicule  ou  dans  un immeuble à  ossature  métallique,  peut  réduire  la  portée  de  l’appareil  de  manière 
considérable. Les montagnes peuvent également réduire la portée de l’unité.  
Dans les zones où la transmission ou la réception est insatisfaisante, certaines améliorations peuvent être 
obtenues  en  s’assurant  que  l’antenne  est  verticale.  Se  déplacer  de  quelques  mètres  dans  une  autre 
direction ou à un  emplacement plus élevé  peut  également améliorer  les  communications.  L’utilisation 
d’une antenne fixée à l’extérieur peut faciliter le fonctionnement dans un véhicule.  
L’état de la pile est un autre facteur important d’une utilisation sans tracas d’une radio portative. Chargez 
toujours correctement la pile.  
2.4.1  Utilisation Efficace de la Radio 
Gardez l’antenne dans une position verticale pendant la réception ou la transmission d’un message.  
MISE EN GARDE
Ne tenez PAS l’antenne lorsque la radio est allumée! 
2.4.1.1  Entretien Et Remplacement De L’antenne 

14221-1450-2000   
14 
MISE EN GARDE
N’utilisez pas  la  radio portative si son  antenne est endommagée  ou absente. Une 
brûlure  légère  peut  se  produire  au  contact  d’une  antenne  endommagée  avec  la 
peau.  Remplacez  immédiatement  une  antenne  endommagée.  L’utilisation  d’une 
radio  portative  alors  que  l’antenne  est  absente  peut  causer  des  blessures, 
endommager la radio et pourrait enfreindre la réglementation de la FCC. 
AVERTISSEMENT
Utilisez  seulement  l’antenne  fournie  ou  une  antenne  approuvée.  Des  antennes  non 
autorisées, des modifications ou des ajouts à une antenne peuvent endommager la radio et 
enfreindre la réglementation de la FCC. (Reportez-vous à Table 6-1.) 
2.4.1.2  Appareils Électroniques 
AVERTISSEMENT
L’énergie  des  RF  provenant  de  radios  portatives  peut  affecter  certains  appareils 
électroniques.  La  majorité de  l’équipement électronique  moderne  dans les  voitures, les 
hôpitaux, les maisons, etc. est blindé contre l’énergie des RF. Cependant, dans les zones 
où l’on vous demande de fermer l’équipement de radio bidirectionnelle, respectez toujours 
les règles. En cas de doute, éteignez-le! 
2.4.1.3  Avion 
MISE EN GARDE
 Éteignez toujours une radio portative avant d’embarquer à bord d’un avion! 
 Ne l’utilisez au sol qu’avec la permission de l’équipage. 
 NE l’utilisez PAS durant le vol! 
2.4.1.4  Détonateurs Électriques  
MISE EN GARDE
Pour prévenir la détonation accidentelle des détonateurs électriques, n’utilisez PAS 
de radios bidirectionnelles à moins de 305 m (1 000 pi) des opérations de détonation. 
Respectez toujours les indications « Éteindre les radios bidirectionnelles » situées là 
où des détonateurs électriques sont utilisés. (Norme OSHA : 1926.900) 
2.4.1.5  Atmosphère Potentiellement Explosive 

  14221-1450-2000 
15 
MISE EN GARDE
Les zones ayant une atmosphère potentiellement explosive sont souvent, mais pas 
toujours, identifiées clairement comme telles. Il peut s’agir de zones d’alimentation 
en  carburant,  comme  les  postes  d’essence,  les  installations  de  stockage  ou  de 
transfert  de  carburant  ou  de  produits  chimiques,  ainsi  que  les  zones  dont  l’air 
contient des produits chimiques ou des particules, comme des grains, de la poussière 
ou des poudres métalliques. 
Des étincelles dans de telles zones peuvent provoquer une explosion ou un incendie, 
causant ainsi des blessures ou même la mort. 
Éteignez  les  radios  bidirectionnelles  dans  toute  zone  ayant  une  atmosphère 
potentiellement  explosive.  Il  est  rare,  mais  pas  impossible  qu’une  radio  ou  ses 
accessoires produisent des étincelles. 

14221-1450-2000   
16 
3.  CLEANING 
Keep the exterior of the radio, battery, antenna, and radio accessories clean.   
Periodically clean using the following procedures: 
1. To remove dust and dirt, clean using damp clean cloth (warm water and mild detergent soap). 
2. Follow by wiping with damp (warm water) clean cloth.  Wipe dry with clean cloth. 
3. Remove the battery and wipe the battery and radio contacts using a soft dry cloth to remove dirt or 
grease.  This will ensure efficient power transfer from the battery to the radio. 
4. Remove any accessories and clean the accessories Universal Device Connector (UDC) contacts using 
a clean dry cloth.  When the UDC is not in use, cover the connector with the protective dust cap to 
prevent the build-up of dust or water particles. 
5. If the radio is used in a harsh environment (such as driving rain, salt fog, etc.), it may be necessary to 
periodically dry  and clean  the  battery  and radio contacts  with a  soft dry cloth  or soft-bristle non-
metallic brush. 
For more rigorous cleaning, use the following procedure: 
CAUTION
Do not use chemical cleaners, spray, or petroleum-based products.  They may damage 
the radio housing.  We recommend using Chemtronics® Electro-Wash® PR (ES-1603) or 
equivalent. 
1. Apply the cleaning solution to a clean damp cloth and clean the radio. 
Do not spray cleaning solution directly on radio.  To clean the radio in the speaker and 
microphone  areas, carefully  wipe  these areas but  prevent  the  cleaning solution from 
entering the speaker or microphone openings. 
2. Wipe off the radio with clean damp cloth using mild warm soapy water. 
3. Follow up by wiping off the radio with clean damp cloth using warm water only. 
4. Wipe dry with clean cloth. 
NOTE

  14221-1450-2000 
17 
4.  BATTERIES 
The  XG-15P  series  portable radios  use  rechargeable,  recyclable  Lithium-Ion (Li-Ion)  batteries.  Please 
follow the directions below to maximize the useful life of the battery. 
WARNING
Do not disassemble or modify Lithium battery packs.  Lithium battery packs are 
equipped  with  built-in  safety  and  protection  features.    Should  these  features  be 
disabled  or  tampered  with  in  any  way,  the  battery  pack  can  leak  electrolyte, 
overheat, emit smoke, burst, and/or, ignite. 
If the battery is ruptured or is leaking electrolyte that results in skin or eye contact 
with the electrolyte, immediately flush the affected area with water. If the battery 
electrolyte gets in the eyes, flush with water for 15 minutes and consult a physician 
immediately. 
4.1  BATTERY CARE/MAINTENANCE 
For  information  regarding  the  proper  care  of  portable  radio  battery  packs  or  establishing  a  battery 
maintenance  program,  refer  to  ECR-7367  which  may  be  ordered  by  calling  toll  free  1-800-368-3277 
(international: 1-434-455-6403) or via https://premier.pspc.harris.com/infocenter/. 
4.2  STORING LI-ION BATTERY PACKS 
If a battery pack is expected to be idle for a month or more, it should be properly prepared.  Li-Ion battery 
packs should not be stored fully charged.  Before storing the battery pack, discharge it to 40% capacity.  If 
the battery is not discharged prior to storage, its overall capacity may be reduced.  Although all battery 
packs experience  some  capacity loss during storage, the  shelf  life  for Li-Ion  battery packs is about  3 
months.  However, note that any capacity drop which occurs during storage is permanent and cannot be 
reversed. Li-Ion battery packs should be  purchased and used immediately.  They should not be stock-
piled without a rotating stock plan.  
4.3  CHARGING BATTERY PACKS 
Battery chargers are available from Harris with nominal charge times. Combinations include single and 
multi-position charge units.  
Harris  chargers  are  specifically  designed  for  charging  nickel-based  and  Lithium  battery  packs.  The 
chargers  are  chemistry-specific  for  the  battery  packs  and  automatically  adjust  the  charging  profiles 
accordingly.  Refer to the appropriate charger manual for specific operating instructions.  
Observe the following guidelines when charging a battery pack: 
 Avoid high temperature during charging.  
 Discontinue use if the charger is overheating. 
 Only charge Harris battery packs using a charger approved for use by Harris. 
 Do not leave batteries in the charger indefinitely. For best results leave the battery in the charger for 
two to six hours after the Green Ready LED comes on. Then place the battery pack into service and 
fully discharge (as indicated by the radio low battery warning) before re-charging. 
WARNING

14221-1450-2000   
18 
If any faults are encountered while charging the battery pack, consult the charger’s manual to determine 
the cause and possible corrective action. 
4.4  CHANGING THE BATTERY PACK 
4.4.1  Removing the Battery Pack 
Make sure the power to the radio is turned OFF. 
Although the XG-15P  has  been designed to tolerate changing  the  battery pack  without 
turning power off, Harris recommends turning the radio off before changing battery packs 
to ensure safety and best operation. 
1. Press  or  pull  both  latches  on  either  side  of  the  battery  pack    toward  the  bottom  of  the  radio 
simultaneously.  
2. Pull the battery  away from the radio. 
3. Remove the battery pack from the radio. 
Figure 4-1: Removing the Battery Pack 
CAUTION

  14221-1450-2000 
19 
4.4.2  Attaching the Battery Pack 
Make sure the power to the radio is turned OFF. 
1. Align the tabs at each side on the bottom of the battery pack with the slots at the bottom of the battery 
cavity . 
2. Push the top of the battery pack  down until the latches click to attach the battery to the radio. 
3. Tug gently to verify that the latches are secure and the battery pack is properly attached to the radio. 
Figure 4-2: Attaching the Battery Pack 
4.5  BATTERY DISPOSAL 
In no instance should a battery be incinerated. Disposing of a battery by burning will 
cause an explosion. 
RECHARGEABLE  BATTERY  PACK  DISPOSAL  – The  product you  have 
purchased contains a rechargeable battery. The battery is recyclable. At the end of its 
useful  life,  under  various  state  and  local  laws,  it  may  be  illegal  to  dispose  of  this 
battery into the municipal waste stream. Check with your local solid waste officials for 
details in your area for recycling options or proper disposal.  Canadian and U.S. users 
may  call  Toll  Free  1-800-8-BATTERY®  for  information  and/or  procedures  for 
returning rechargeable batteries in your locality. 
CAUTION

14221-1450-2000   
20 
5.  INTRODUCTION 
The XG-15P series portable radio is available in a System model with a 15-button DTMF front-mounted 
keypad.  
Figure 5-1: XG-15P Radio 
The XG-15P portable radio delivers end-to-end encrypted digital voice and IP data communications. It is 
designed to support multiple operating modes including: 
 P25 Trunked Mode 
 P25 Digital Conventional Mode 
 Conventional Analog Mode 
The  XG-15P  supports  a  full  range  of  advanced  digital  trunking  features,  including  voice  group  calls, 
priority scanning, emergency calls, late call entry, and dynamic reconfiguration. It performs autonomous 
roaming  for  wide  area  applications.  High  quality  voice  coding  and  robust  audio  components  assure 
speech clarity. 
In  the  trunked  modes,  the  user  selects  a  communications  “operating”  system  and  group.  While 
communicating in a trunked mode, channel selection is transparent to the user and is controlled via digital 
communication  with  the  system  controller.  This  provides  advanced  programmable  features  and  fast 
access to communication channels. 
In Conventional Analog mode, the user selects a channel and communicates directly on that channel. A 
channel is a transmit/receive radio frequency pair. 
The  exact  operation  of  the  radio  depends  on  the  operating  mode,  the  radio’s  programming,  and  the 
particular radio  system. Most features described in  this manual  can be  enabled through programming. 
Consult your System Administrator for the particular features programmed into your XG-15P.  Then refer 
to the corresponding section(s) within this manual for feature and operation information. 

  14221-1450-2000 
21 
5.1  WATER RESISTANCE 
The  XG-15P  series  portable  radios operate  reliably even  under  adverse  conditions. These radios  meet 
MIL-STD-810F specifications for wind driven rain, humidity, and salt fog.  
5.2  UNIVERSAL DEVICE CONNECTOR 
The Universal Device Connector (UDC) provides connections for external accessories such as a headset, 
a speaker-microphone, audio test box, audio test cables, and programming cables.  The UDC is located on 
the right side of the radio, opposite the PTT Button.  The UDC facilitates programming and testing the 
radio.  The UDC pins perform different functions depending on the accessory attached to the UDC.   
Figure 5-2: XG-15P 15-Pin Universal Device Connector 

14221-1450-2000   
22 
6.  OPTIONS AND ACCESSORIES 
Table 6-1 lists the Options and Accessories tested for use with the XG-15P series portable radios. Refer to 
the Products and Services Catalog for a complete list of options and accessories, including those items 
that do not adversely affect the RF energy exposure. 
Always  use  Harris  authorized  accessories  (antennas,  batteries,  belt  clips, 
speaker/mics,  etc).  Use  of  unauthorized  accessories  may  cause  the  FCC 
Occupational/Controlled  Exposure  RF  compliance  requirements  to  be  exceeded. 
Refer to Table 1-1. 
Always use the correct options and accessories (battery, antenna, speaker/mic, etc.) for the 
radio. Immersion rated options must be used with an immersion rated radio. Intrinsically 
safe options (identified by [FM]) are certified by Factory Mutual and must only be used 
with FM certified radios or, if applicable, Canadian Standards Association (CSA) certified 
radios. See Table 6-1. 
Table 6-1: Options and Accessories 
DESCRIPTION 
PART NUMBER 
ANTENNAS 
¼ Wave Whip, Wide Bandwidth, 800 MHz 
KRE1011506/2 
BATTERIES 
Battery, Li-Ion 
14002-0214-01 
CHARGERS 
Power Adapter Kit, VC4000 Charger 
PS-007810-001 
VC4000 Tri-Chemistry Charger 
CH-017231-001 
Single Charger, Tri-Chemistry 
CH-104560-007 
6-bay Charger, Li-Ion/Polymer 
12082-0314-01 
Wall Mount Kit, 6-Bay Li-Ion/Poly Charger 
12082-0315-01 
Charger, 6-Bay, Tri-Chemistry 
CH-104570-007 
AUDIO ACCESSORIES 
Speaker Mic without Antenna (cc) provision 
MC-023933-001 
Speaker-Mic (SML), black, no ant. 
MC-023933-003 
Speaker-Microphone with Noise-Canceling 
MC-023933-501 
Rugged Speaker-Microhpone w/ man-down 
MC-011617-651 
Earphone for Speaker Mic 
LS103239V1 
Earphone for Speaker Mic, right angle jack  
LS103239V2 
Ruggedized Speaker Mic, Coil Cord 
MC-011617-601 
Standard Speaker Mic, Non-Antenna  
MC-011617-701 
GPS Speaker Mic 
MC-009104-002 
Speaker Mic, Rugged, Coiled, Hirose Port   
MC-011617-611 
Tac4 Headset 
EA-009580-031 
Fire Speaker MIC 
12150-4001-03 
Fire Speaker MIC 
12150-4001-04 
DROP SHIP AUDIO ACCESSORIES 
Earphone Kit, Black 
EA-009580-001 
Earphone Kit, Beige 
EA-009580-002 
2-Wire Kit, Palm Mic, Black 
EA-009580-003 
2-Wire Kit, Palm Mic, Beige 
EA-009580-004 
WARNING
CAUTION

  14221-1450-2000 
23 
DESCRIPTION 
PART NUMBER 
3-Wire Kit, Mini-Lapel Mic, Black 
EA-009580-005 
3-Wire Kit, Mini-Lapel Mic, Beige 
EA-009580-006 
Explorer Headset with PTT 
EA-009580-007 
Lightweight Headset Single Speaker with PTT 
EA-009580-008 
Breeze Headset with PTT 
EA-009580-009 
Headset, Heavy Duty, N/C Behind-the-Head, with PTT 
EA-009580-010 
Ranger Headset with PTT 
EA-009580-011 
Skull Mic with Body PTT and Earcup 
EA-009580-012 
Headset, Heavy Duty, N/C Over-the-Head, with PTT 
EA-009580-013 
Throat Mic with Acoustic Tube and Body PTT 
EA-009580-014 
Throat Mic with Acoustic Tube, Body PTT, and Ring PTT 
EA-009580-015 
Breeze Headset with PTT and Pigtail Jack 
EA-009580-016 
Hurricane Headset with PTT 
EA-009580-017 
Hurricane Headset with PTT and Pigtail Jack 
EA-009580-018 
Audio Accessories – Requires UDC to 6-pin Hirose adapter 14002-0197-02 
1 Wire Earphone Kit Black (receive only no transmit) 
V1-10168 
1 Wire Earphone Kit Beige (Receive only no transmit) 
V1-10167 
2 Wire Palm Microphone Kit Black 
V1-10166 
2 Wire Palm Microphone Kit Beige 
V1-10165 
3 Wire Mini Lapel Microphone Kit Black 
V1-10164 
3 Wire Mini Lapel Microphone Kit Beige 
V1-10163 
Breeze, lightweight, behind-the-head, single spkr with std PTT 
V4-BA2MD1 
Breeze, lightweight, behind-the-head, single spkr w/std. PTT & 
2.5mm pigtail for PTT 
V4-BA2MD3B 
Lightweight Single Spkr Padded Headband with std PTT 
V4-10190 
Ranger Single Speaker gehind-the-head with std PTT 
V4-NR2MD1 
Over-the-head Dual Speaker Heavy Duty with std PTT 
V4-10148 
Over-the-Head Dual Speaker Heavy Duty with std PTT-IS/ATEX 
V4-10148-S 
Behind-the-Head Dual Speaker Heavy Duty with std PTT 
V4-10001 
Behind-the-Head Dual Speaker Heavy Duty with std PTT-
IS/ATEX 
V4-10001-S 
Professional Throat Mic with Acoustic Tube & 80mm PTT 
V1-T12MD137 
Professional Skull Mic with Earcup, Aviation Quality & 80 MM 
PTT 
V4-10279 
CARRYING CASE ACCESSORIES 
Leather Carrying Case without D-Rings Kit, consists of:  
  Leather Case without D-rings 
  Elastic Strap 
  Swivel Mount, 
used with Belt Loop 
Kit: CC-023931-003, incl: 
 CC-023931-001 
 FM-011820 
  KRY 101 1608/2 
used with: KRY 101 1609/1 
Nylon Case (black) with Belt Loop 
CC-023932-001 
  KRY 101 1609/1 
Nylon “T” Strap Holder 
KRY 101 1656/1 
Nylon Case (Olive Drab) 
14002-0217-01 
Standard Leather Case with D-Rings 
CC-014528-002 
Shoulder Strap with Loop for Speaker Mic 
CC-014524-001 

14221-1450-2000   
24 
DESCRIPTION 
PART NUMBER 
Standard Black Nylon Case with Belt Loop Kit, consists of: 
  Standard Black Nylon Case 
  Standard Leather Belt Loop 
Kit: CC-014534-002, incl: 
 CC-014534-001 
 CC-014527 
Standard Restraining Strap 
used with Shoulder Strap with Loop for Speaker/Mic 
CC-014524-002 
Leather Case Kit 2:  Leather Case w/ D-rings (P/N:  CC-023931-
0032), Swivel-Mount (P/N:  KRY 101 1608/2), Elastic Strap (P/N:  
FM-011820) and Belt Loop (P/N:  KRY 101 1609/1) 
CC-023931-004 
Leather Case w/D-rings, Elastic Strap (P/N:  FM-011820), 
Shoulder Strap (P/N:  CC103333V1) 
CC-023931-002 
Metal Belt Clip (alternate) 
CC-011318 
Nylon Case (Orange) w/ Leather Belt Loop (P/N:  KRY 101 
1609/1) 
CC-023932-002 
Bee Nylong Case (Black) with Swivel 
CC-014534-0014 
Bee Nylon Case (Black) with Integral Belt-Clip 
CC-014534-002 
Bee Leather Case with Swivel 
CC-014528-001 
Bee Leather Belt Loop 
CC-014527 
Bee Short Leather Retaining Strap (used with Shoulder Strap) 
CC-014524-002 
Merzon Belt Loop 
14002-0218-01 
Leather Belt Loop and Metal Swivel Mount (P/N:  KRY 101 
1608/2) 
KRY 101 1609/1 
Metal Belt Clip (standard) 
CC23894 
MISCELLANEOUS 
UDC to 6-pin Hirose adapter 
14002-0197-02 

  14221-1450-2000 
25 
7.  OPERATION 
7.1  TURNING ON THE RADIO 
1. Power  ON  the  radio  by  rotating  the  POWER  ON-OFF/VOLUME  knob  clockwise.  A  short  alert 
signal (if enabled through programming) indicates the radio is ready to use.  
The radio can be programmed to require the entry of a PIN in order to operate the radio. 
Check with your System Administrator if you forget your PIN. As the PIN is entered, an 
asterisk is displayed for each digit.  The actual value is not displayed. 
2. The display shows the last selected system and group or a default system and group (depending on 
programming).  
3. Adjust the POWER ON-OFF/VOLUME knob to the desired volume level.  
4. Select the desired system and group. The display indicates the current system and group names.  
5. The radio is now ready to transmit and receive calls. 
In  the  trunked  environment,  CC  SCAN  will  be  displayed  if  communication  with  the 
system's control channel cannot be established. This may occur if, for example, the radio 
is out of range of the trunking site. It may be necessary to move to another location or 
select another trunking system to re-establish the control channel link for trunked mode 
operations. CC SCAN is displayed on the group line until a control channel is accessed.  
The length of time before the radio enters CC Scan after losing communication with the 
Control Channel is configurable in RPM. 
7.2  CONTROLS 
The radio features two rotary control knobs and an emergency button mounted on the top of the radio. 
The  Push-To-Talk and two  option  buttons are  located  on the side.  The front mounted  keypad  has  15 
buttons. 
Figure 7-1: Top View 
Figure 7-2: Side View 
NOTE
NOTE

14221-1450-2000   
26 
7.2.1  Buttons, Knobs, and Switch 
The functions of the buttons and knob controls vary depending on the mode of operation.  Their functions 
are detailed in Table 7-1 and Table 7-2.  
Table 7-1: Buttons, Knobs, and Switch Functions 
POWER ON-
OFF/VOLUME KNOB 
Applies power to and adjusts the receiver’s volume.  Rotating the control clockwise applies power 
to  the  radio.    A  single  alert  tone  (if  enabled  through  programming)  indicates  the  radio  is 
operational. 
Rotating  the  control  clockwise  increases  the  volume  level.    Minimum  volume  levels  may  be 
programmed into the radio to prevent missed calls due to a low volume setting.  While adjusting 
the volume the  display will momentarily indicate the volume level  (i.e.,  VOL=31).   The volume 
range is from a minimum programmed level of zero (displayed as OFF in the display) up to 40, 
which is the loudest level. 
VOICE GROUP 
SELECTION CONTROL 
KNOB 
Selects  systems  or  group/channels (depending on programming).   This  is a  16-position rotary 
knob.  
EMERGENCY/ HOME 
BUTTON 
Automatically  selects  the  pre-programmed  Group/System  by  pressing  and  holding  for  a 
programmed duration.  It can also be used to declare an emergency by pressing and holding for 
a programmed duration. The button must be pre-programmed for either operation, but not both. 
PTT BUTTON 
Push-To-Talk must be pressed before voice transmission begins.  In trunked mode, the radio’s ID 
is transmitted upon depression of the PTT button.  
SIDE OPTION BUTTON 
1   
Activates one of a number of programmable software options selected during PC programming.  
Programmable options include hi/low power settings, keypad lock, LCD contrast, and LCD and 
keypad back lighting. 
CLEAR/MONITOR 
BUTTON   
Exits the current operation (removing all displays associated with it) and returns the radio to the 
selected Talk Group.  Terminates individual and telephone interconnect calls. 
In conventional mode: allows the user to monitor the channel for activity. 
7.2.2  Keypad 
The front mounted keypad of the XG-15P has 15 buttons.  Refer to Figure 7-3. 
Figure 7-3: XG-15P Keypad 

  14221-1450-2000 
27 
Table 7-2: XG-15P Keypad Functions 
KEY 
FUNCTION 
Primary Function: Accesses the pre-stored menu.  
Secondary Function: Activates a selected item within the menu. This is similar to an 
“Enter” key. 
Primary Function: Allows the user to scroll through available systems, groups, or 
channels, depending on personality programming.  
Secondary Function: Changes the selection for an item within a list. 
Primary Function:  Refer to the separate key definitions within this table. 
Secondary Function: These keys function much as a typical DTMF telephone pad 0-9, 
*, and # keys; and are used to place telephone interconnect and individual (unit-to-
unit) calls. 
Selects a specific system.  If the rotary knob is used to select the system and more 
than 16 systems are programmed in the radio, the   key is used to select additional 
banks (groupings) of systems. 
Selects a specific group. 
Turns the Scan operation ON and OFF. 
Enables or disables encryption for the system/group/channel displayed. 
Adds groups or channels from the currently selected system to the Scan list. 
Status.  Access to the status list (0-9).  The Status key permits the transmission of a 
pre-programmed status message to a P25T site. 
Message.  Access to the message list (0-9).  The Message key permits the 
transmission of a pre-programmed message to a P25T site. 
Deletes selected groups or channels of the currently selected system from the Scan 
list. 
Initiates telephone interconnect calls. 
Initiates individual unit-to-unit calls. 
7.3  DISPLAY 
The radio display is made up of three lines (see Figure 7-4). Lines 1 and 2 contain eight alphanumeric 
character blocks and are used primarily to display system and group names. Line 1 also displays radio 
status messages. The 3rd line is used primarily to display radio status icons. All three lines are used to 
display menu options when in the menu mode. If programmed, the display backlighting will illuminate 
upon power-up or when radio controls are operated.  
Figure 7-4: Sample Radio Display 

14221-1450-2000   
28 
7.4  RADIO STATUS ICONS 
Status Icons indicate the various operating characteristics of the radio. The icons show operating modes 
and conditions and appear on the third line of the display (see Table 7-3). 
Table 7-3: Status Icon Descriptions 
STATUS ICON DESCRIPTIONS 
Steady – During all radio transmissions.   
Steady – “Busy” transmitting or receiving.  
Flashing – Call is queued. 
Steady – T99 Mode enabled.   
Steady – Channel Guard enabled.  If icon is not visible – Channel Guard is disabled. 
Steady – Trunked system in Failsoft™ mode.   
Steady – Transmit at low power.   
If icon is not visible – Transmit at high power. 
Steady – Transmit in encrypt mode.   
Flashing – Receiving an encrypted call. 
Steady – Indicates the current channel is set up as a Project 25 (P25) channel.   
Steady – Indicates the current channel is set up as an analog channel.   
Animated (rotates clockwise) – Scan mode enabled.   
If icon is not visible – Scan is disabled. 
Steady – Group or channel in scan list.   
Steady – Priority 2 group or channel.   
Steady – Priority 1 group or channel.   
Steady – Special call mode (individual or telephone).   
Steady – Battery charge indicator*.   
Flashing – Low battery indicator. 
Flashing – Acquiring GPS satellites.  
Steady – GPS satellites have been acquired. 
*The battery charge indicator illustrates approximate charge only, based on battery voltage.   
7.5  TRI-COLOR LED 
The Tri-Color LED changes color to indicate radio status and is visible from both the front and top of the 
radio (see Figure 7-1). The colors of the LED and the status they represent are defined below.  
Green:    Receiving 
Red:    Unencrypted transmission 
Orange:   Encrypted transmission 

  14221-1450-2000 
29 
7.6  RADIO STATUS MESSAGES 
During  radio  operation,  various  radio  Status  Messages  can  be  displayed.  The  messages  are  described 
below.  
MESSAGE 
NAME 
DESCRIPTION 
QUEUED 
Call Queued 
Indicates the system has placed the call in a request queue.  
SYS BUSY 
System Busy 
Indicates the system is busy, no channels are currently available, the queue is full, or 
an individual call is being attempted to a radio that is currently transmitting. 
DENIED 
Call Denied 
Indicates the radio or talkgroup is not authorized to operate on the selected system 
and/or talkgroup.  
CC SCAN 
Control Channel 
Scan 
Indicates the control channel is lost and the radio has entered the Control Channel 
Scan mode to search for the control channel (usually out of range indication). 
WA SCAN 
Wide Area Scan 
Indicates the radio has entered the Wide Area Scan mode to search for a new 
system (if enabled through programming).  
SYSC ON 
System Scan 
Features On 
Indicates the System Scan features are enabled.  
SYSC OFF 
System Scan 
Features Off 
Indicates the System Scan features are disabled.  
LOW BATT 
Low Battery 
Battery voltage has dropped to the point to where the radio is no longer able to 
transmit. The radio will still receive calls until the battery is discharged beyond the 
point of operation at which time the radio automatically shuts down.  
RXEMER 
Receive 
Emergency 
Indicates an emergency call is being received. This message will be flashing on line 
two.  
TXEMER 
Transmit 
Emergency 
Indicates an emergency call has been transmitted on this radio. This message will be 
flashing on line two.  
VOL=31 
Volume Level 
Indicates the current volume level.  The volume level display ranges from OFF 
(muted) to 40 (loudest).  
WHC 
Who Has Called 
Indicates an individual call has been received, but not responded to.  The indicator 
turns OFF if the individual call mode is entered, the system is changed, or the radio is 
turned off and then on again.  
UNKNOWN 
Unknown ID 
Indicates an individual call is being received from an unknown ID.  
7.7  ERROR MESSAGES 
If either of the Error Messages shown below is displayed, the radio is programmed incorrectly or needs 
servicing.  
DSP  ERR 
ERR=XXXX 
(Power-up only)  
or 
DIG V  
ERR 
Where XXXX is the error code and DSP ERR or DIG V ERR is the message. 

14221-1450-2000   
30 
7.8  ALERT TONES 
The XG-15P radio provides audible Alert Tones or “beeps” to indicate the various operating conditions 
(see Table 7-4). 
Table 7-4: Alert Tones 
NAME 
TONE 
DESCRIPTION 
Call Originate 
one short mid-pitched 
OK to talk after pressing the push-to-talk button 
Call Queued 
one high-pitched 
Call queued for processing 
Autokey 
one mid-pitched 
Queued call received channel assignment 
System Busy 
three low-pitched 
System busy or unable to complete call 
Call Denied 
one low-pitched 
Radio is not authorized on the system or group 
Carrier Control 
Timer 
five high-pitched/one long 
low-pitched 
PTT depressed for maximum length of time 
Low Battery 
one low-pitched/one short 
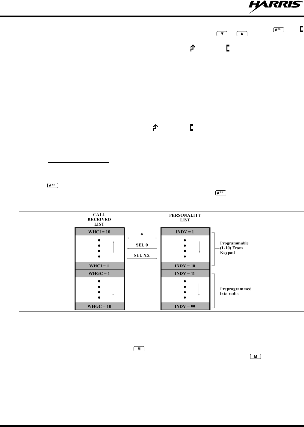
mid-pitched 
Low battery 
TX Low Battery 
Alert 
one low-pitched 
After PTT - battery too low to transmit 
7.9  VOICE ANNUNCIATION 
When enabled via programming, the Voice Annunciation feature provides audible feedback for various 
radio operations.  The radio can be programmed to play an audio message for any or all of the following.  
This message can be a pre-recorded (canned) message or a user-recorded message.  
 Channel changes 
 System changes 
 Encryption On/Off 
 Noise Cancellation On/Off 
 Scan On/Off 
 Talkaround On/Off 
For more information on configuring the radio for Voice Annunciation, refer to the Voice Annunciation 
Feature manual, 14221-7200-6110. 
7.10  SYSTEM/ZONE SELECTION 
METHOD 1:  
From the control knob: If system/zone selection is programmed to the Voice Group 
Selection  control  knob,  select  a  system/zone  by  turning  the  knob  to  the  desired 
system/zone number position (1-16).  The display registers the new system name on 
line one.  The   button can be programmed to provide access to a “2nd bank” of 16 
system number positions (17-32). 
METHOD 2:  
From the keypad: If system/zone selection is programmed as the primary function of 
  and  , select  a  system/zone  by  pressing    or  to  scroll  through  the 
system/zone list.  The display registers the new system/zone name on line one.  

  14221-1450-2000 
31 
METHOD 3:  
Direct Access: Press   to enter the system/zone select mode. Press the numeric key 
that is mapped to the desired system.  Press  .  The radio will move to the selected 
system/zone.  
If system selection is programmed to the Voice Group Selection control knob, direct 
access to systems/zone will not be available.  Pressing   or  will scroll through 
different  sets  of  16  systems/zones  each  (banks)  if  more  than  16  systems/zones  are 
programmed into the radio.  The systems within each bank are then selectable via the 
Voice Group Selection control knob as described previously in METHOD 1. 
Example:  
System: 1 = North  Group:  1 = Group 1 
  2 = South    2 = Group 2 
  3 = East    3 = Group 3 
  4 = West    4 = Group 4  
1. Press  . (South is the currently selected system.)  
2. Press  . (Press 4 to select “West” system.) 
3. Press  . (West is the newly selected system.) 
7.11  GROUP/CHANNEL SELECTION 
Several methods can be used to select a new group or channel.  
METHOD 1:  
From the Control knob: If group selection is programmed to the Voice Group Selection 
control knob, select a group by turning the Voice Group Selection control knob to the 
desired group number position. The display registers the new group name on line two. 
If the knob is moved to a position greater than the number of programmed groups, the 
highest programmed group will remain selected. The   button can be programmed to 
provide access to a “2nd bank” of 16 group number positions (17-32). 
METHOD 2:  
From keypad: If  group selection is  programmed as the primary function of   and 
 select a group by pressing  or  to scroll through the group list. The display 
registers the new group name on line two.  
METHOD 3:  
Direct  Access:  Press    to  enter  the  group  select  mode.  Press  the  numeric  key 
mapped to the desired group.  Press .  The radio will move to the selected group.  
In trunked mode, press PTT button and speak normally while holding the microphone approximately two 
inches from your mouth.  
In conventional mode, press the Monitor/Clear button briefly. If audio is heard or   is illuminated, then 
the channel is busy.  Wait till the channel become available and press the PTT button and speak normally 
while holding the microphone approximately two inches from your mouth. 
7.12  MODIFY SCAN LIST  
1. Press   to toggle scan OFF and verify   is not displayed. 
2. Select group or channel. 
3. Press   once to remove group or channel from list. 
NOTE

14221-1450-2000   
32 
4. Press   once to add as a normal group or channel. 
5. Press   twice to add as a Priority 2 group. 
6. Press   three times to add as a Priority 1 group. 
7. Press   to re-start scanning. 
7.13  MENU 
The Menu function accesses features that are not available directly from the keypad. The order and actual 
menu items available is configurable through programming. Upon radio power-up, the menu item that is 
at the top of the menu list will always be displayed first. Subsequent access to the menu function will 
return the last menu item that was shown in the display and cursor position. 
1. To enter the menu mode, then press  . 
2. Upon entering the menu selection mode, Menu options will appear in the display (see Figure 7-5). 
Figure 7-5: Menu Display 
3. The radio will continue to receive and transmit normally while in the menu function. 
4. To scroll through the menu options use the   or  keys. When the required menu item has been 
found align the cursor with the option then press   to select it. The menu item's parameter setting 
shown in the display can now be changed by using   or  to scroll through the list of parameter 
values.  
5. Once the desired setting is reached press   to store the value and return the menu option selection 
level.  
For  menu  items  that  display  radio  information,  pressing    or  will  scroll  through  a  list  of 
informational displays.  Possible menu items are listed in Table 7-5. 
7.14  MENU ITEM SELECTION PROCESS 
An example of the backlight menu item selection process and menu item parameter change is shown in 
Figure 7-6. 
1. Press  . The menu mode is entered.  
2. Press   or  until the display shows: 
Figure 7-6: Backlight Menu Item Selection Parameter 

  14221-1450-2000 
33 
3. Press  .  The  backlight menu item is activated. Line  one  shows the  active menu  item  and its 
current parameter setting. Line two shows the currently selected system or group name (see Figure 
7-7). 
Figure 7-7: Backlight Menu Display 
4. The menu item's parameter setting shown in the display can now be changed by using   or  . 
5. Once the desired setting is reached press   to store the value and return the menu option selection 
level. 
For  menu  items  that  display  radio  information  pressing    or  will  scroll  through  a  list  of 
informational displays. An example of information displays is shown in Table 7-5. 
The TX POWER menu item, when selected, toggles LOW/HIGH power.  It does not use 
 or  to scroll nor is an additional press of the   button required. 
Table 7-5: Menu Item Information 
FEATURE 
DISPLAY 
PARAMETER 
SETTING 
COMMENT 
Keypad Lock 
KEY LOCK 
Locked 
Unlocked 
Locks the keypad. To unlock; press and release “M” then within 
1 second press the option button. (This sequence is also a 
short cut to locking the keypad.) 
Backlight Adjust 
BACKLGHT 
OFF, 1 through 6 
Selects the light level for backlighting. 
Contrast Adjust 
CONTRAST 
1, 2, 3, 4 
Selects the display contrast level. 
Transmit Power Select 
TX POWER 
HIGH or LOW 
Selects radio output power mode. 
Radio Revision Information 
REVISION 
N/A 
Selects the information display to view. Informational display 
only. No user selectable settings. 
Toggle Scan On/Off 
SCAN 
ON/OFF 
Toggles Scan operation ON/OFF. 
Toggle Encryption 
PRIVATE 
ON/OFF 
Toggles Encryption ON/OFF.  
Display Current Encryption 
Key 
DISP KEY 
N/A 
Displays current encryption key. Informational display only. No 
selectable settings. 
Home Group/Channel 
HOME 
Returns the radio to the home system/ channel on conventional 
systems and to the home group on trunked systems. 
Select Desired System 
SYS SEL 
N/A 
Selects a new system. 
Add Group/Channel to Scan 
List 
SCAN ADD 
N/A 
Adds to Scan List. 
Delete Group/Channel 
SCAN DEL 
N/A 
Deletes Group or Channel from Scan List. 
Add/Delete Scan List 
SCAN A/D 
N/A 
Add or Delete from Scan List. 
Message 
MSG 
Permits the transmission of a preprogrammed message to a 
P25 site. 
ProFile 
PROFILE 
ON/OFF 
Toggles ProFile On/Off. 
Talkaround 
TALKARND 
ON/OFF 
Conventional Only. Toggles Talkaround feature ON/OFF. 
Select Telephone Numbers 
From Phone List 
PHONE 
N/A 
P25 trunked. 
NOTE

14221-1450-2000   
34 
FEATURE 
DISPLAY 
PARAMETER 
SETTING 
COMMENT 
Data Operation 
NO DATA 
ON/OFF 
P25 trunked. Toggles Data Operation ON/OFF. 
Select Individual Call from 
IC List 
INDV 
N/A 
P25 modes. 
Select Group 
GRP 
N/A 
P25 modes. 
Feature Encryption Display 
FEATURES 
N/A 
Indicates current features programmed into the radio as well as 
certain information required to add features to the radio. 
Informational display only. No user selectable settings. 
System Scan Enable 
SYS SCAN 
ON/OFF 
Toggles System Scan feature ON/OFF. 
Talk-around 
TALK 
Toggles Talk-Around ON/OFF. 
Type 99 Enable 
T99 EN 
ON/OFF 
Toggles Type 99 Decode ON/OFF. 
Display GPS information 
GPS 
N/A 
Displays GPS Status (On/Off), Latitude, Longitude, 
Speed/Direction, and time. 
Select Mixed System/Zone 
ZONE 
N/A 
Select a Mixed System Zone. 
Display Caller ID 
CALL ID 
N/A 
Displays the Radio IDs or alias names for the last 10 received 
calls. 
Display GPS information 
GPS 
N/A 
Displays GPS Status (On/Off), Latitude, Longitude, Speed/Direction, 
and time. 
Select Mixed System/Zone 
ZONE 
N/A 
Select a Mixed System Zone. 
Display Caller ID 
CALL ID 
N/A 
Displays the Radio IDs or alias names for the last 10 received calls. 
View/Modify Custom Scan List 
Menu Item: 
CUSTSCAN 
Allows you to view and edit a Custom Scan list.  See Section 7.26.1 for 
more information. 
7.15  BACKLIGHT ON/OFF 
1. Press   to access the menu. 
2. Press   or  to scroll through menu until “BCKLGHT” appears. 
3. Press   to select Backlight menu. 
4. Press   or  to toggle backlight ON and OFF. 
5. Press   to select new backlight setting. 
7.16  CONTRAST ADJUST 
1. Press   to access the menu. 
2. Press   or  to scroll through menu until “CONTRAST” appears. 
3. Press   to select Contrast menu. 
4. Press   or  to adjust contrast setting from 1 - 4. 
5. Press   to select new contrast setting. 

  14221-1450-2000 
35 
7.17  DECLARING AN EMERGENCY 
1. Press and hold the red Emergency/Home button (the length of time is programmable; check with the 
system administrator). 
2. *TXEMER*  will  flash  in  the  display,  plus    and    will  be  displayed.  After  2-3  seconds  the 
transmit icon   will turn off. 
3. *TXEMER* and    will  remain until the  emergency  is cleared.    See Section  7.23 for additional 
emergency operation. 
4. Press the PTT and   will reappear. 
5. Release PTT when the transmission is complete.  
7.18  LOCKING/UNLOCKING KEYPAD 
1. Press   button. 
2. Within 1 second, press the   button on the side of the radio. 
7.19  HIGH/LOW POWER ADJUSTMENT 
Transmit power adjustment is possible if enabled through programming. Within conventional systems, 
transmit power is adjustable on a per channel basis. Within a P25 trunked, transmit power is adjustable on 
a per system basis.  
There are two ways to toggle between high and low power, described in Sections 7.19.1 and 7.19.2. 
7.19.1  Using the Menu Button 
1. Press  . 
2. Using the   or  keys, scroll until the cursor (>)  appears  to  the left of  “TX  POWER” in  the 
display. 
3. Press   again to toggle between High and Low power. 
4. “POWER = HIGH” or “POWER = LOW” will appear momentarily on the top line of the display. 
7.19.2  Using the Pre-Programmed Option Button 
Press the   button. “POWER = HIGH” or “POWER = LOW” will appear momentarily on the top line of 
the display. 
7.20  ENCRYPTION  
The XG-15P portable radio supports DES encryption. When operating on a group or channel programmed 
for  encryption,  all  transmissions  are  private  and  the  radio  receives  clear  and  private  signals.    is 
displayed when the encryption is enabled. If the selected group or channel is programmed for auto-select 
capability, the mode may be toggled between encrypted and unencrypted by pressing the   key, and 
then  selecting the PRIVATE  menu option. Radios programmed for forced  encryption  do  not allow a 
change of the transmit mode. 

14221-1450-2000   
36 
7.20.1  Displaying the Currently Used Cryptographic Key Number 
To  display  the  Currently  Used  Cryptographic  Key  Number  for  either  the  system  encryption  key  (for 
special  call  such  as  individual,  phone,  all,  agency  or  fleet)  or  the  group/channel  key  (for  group  or 
conventional calls), perform the following procedure: 
1. Press the   button. 
2. Use the   or   button to select DISP KEY. 
3. Use  the    or    button  to  toggle  between  displaying  the  system  key  (Figure  7-8)  or  the 
group/channel key (Figure 7-9). 
Figure 7-8: System Encryption Key Display 
Figure 7-9: Group/Channel Encryption Key Display 
7.20.2  Key Zero 
All cryptographic keys can be zeroed (erased from radio memory) by pressing the   button and while 
still pressing this button, press and hold the OPTION button. Press both buttons for 2 seconds.  A series 
of beeps will begin at the start of the 2 second period and then switch to a solid tone after the keys have 
been zeroed.  The display will indicate KEY ZERO. 
If the cryptographic key(s) are zeroed, one or more keys must be transferred from the Keyloader into the 
radio before private communications may continue. 
7.20.3  Receiving an Encrypted Call 
When receiving, the radio automatically switches between clear or private operation.  If the transmission 
being  received  is  an  encrypted  transmission,  it  will  be  decrypted,  the    icon  will  be  displayed,  the 
receiver will unsquelch, and the message will be heard in the speaker.  For this to occur, the selected 
group or channel must be programmed for private operation and the correct cryptographic key must be 
loaded into the radio. 
7.20.4  Transmitting an Encrypted Call 
1. Select the desired group or channel. 
2. Place the radio in Private Mode by pressing   key; then follow the selection mode rules. On a 
System radio, the   key can be used to toggle the Private Mode ON/OFF. When Private Mode is 
enabled, the   icon is displayed. 

  14221-1450-2000 
37 
3. If the last state of the radio was Private Mode, the Private Mode will be enabled on power-up. Also, 
the Private Mode will be enabled if forced operation has been programmed in the radio.  
 If a group or channel is not programmed for Private Mode operation, PVT DIS will be displayed 
if  an  attempt  is  made  to  enable  private  transmit  mode.  It  is  not  possible  to  operate  on  this 
group/channel in Private Mode.  
 If the radio does not have the correct encryption key loaded, NO KEY# will be displayed and the 
call will not be transmitted. 
4. Continue with standard transmission procedures. A Private Mode access tone will be heard when the 
PTT button is pressed. 
7.20.5  Emergencies on Encrypted Group 
The radio can be programmed to allow emergency calls to be transmitted in the clear when the radio does 
not have the key, or has an invalid key for the encrypted group in emergency. 
7.21  SCAN OPERATION 
Groups/channels that have been previously added to the scan list on a per system basis may be scanned. 
Each system's scan list is retained in memory when the radio is powered OFF or when the battery pack is 
removed.  
7.21.1  Turning Scan On and Off 
1. Toggle Scan operation ON by pressing  .   icon rotates clockwise to indicate radio is scanning.  
2. Toggle Scan operation OFF by again pressing  .   will disappear.  
 If the radio scans to a group/channel other than the one selected and then receives a call on the 
selected group, the radio switches to the selected group/channel. However, if  the  “scanned-to” 
group/channel  is  programmed  at  a  higher  priority  the  radio  remains  on  the  “scanned-to” 
group/channel. 
 The radio continues scanning if a new group/channel is selected when scan is ON.  
3. Pressing  the  PTT  button  when  scan  is  ON  will  cause  the  radio  to  transmit  on  the  displayed 
group/channel or to the currently selected group (depending on programming). 
7.21.2  Add Groups and Channels to a Scan List 
1. With scan operation turned OFF, select the desired group/channel to add to the selected scan list.  
2. Press  . The current priority status of the group/channel will be displayed in column 10 of line 
three for a time-out period. If the group is not part of the scan list, the status will be blank.  
3. While the status is  displayed, press   to  add the  group/channel to the scan  list.  The   icon is 
displayed on line three.  
4. Press   a second time to set the group to Priority 2. The   icon is displayed on line three.  
5. Press   a third time to set the group/channel to Priority 1. The   icon is displayed on line three. The 
priority level selection sequence only advances the group/channel to next higher priority level and 
stops at priority level 1. To select a lower priority level, the group/channel must be deleted from the 
scan list and then added back to the scan list. Each new group/channel added to the scan list starts at 
the  lowest  priority.  If  the  Priority  1  and  Priority  2  group/channel  are  already  set  and  a  new 

14221-1450-2000   
38 
group/channel  is  assigned  as  Priority  1  or  Priority  2,  the  previously  assigned  group/channel  will 
change to non-priority scanning. One of the following messages may be momentarily displayed. 
SCAN DIS 
The radio is not programmed to scan.  
FIXED P1 
A Priority 1 group/channel has been pre-programmed into the radio. A new Priority 1 
group cannot be selected.  
FIXD LST 
A fixed scan list has been pre-programmed into the radio. It is not possible to change 
the list without reprogramming the radio.  
To  quickly  view  multiple  group  scan  status,  press  either    or  the    key.  Then 
slowly rotate the group knob.  Each group/channel status will appear on the display. 
7.21.3  Deleting Groups from a Scan List 
1. With scan operation turned OFF, select the desired group/channel to delete from the selected scan list.  
2. Press  . The current status of the group/channel is displayed for a time-out period.  
3. While the status is displayed, press   to delete the group/channel from the scan list.   ,   ,or   
turns OFF. Any group/channel that is not in a scan list will show a "blank" for the time out period 
when it is the selected group/channel. 
7.21.4  Nuisance Delete  
A group/channel can also be deleted from the scan list, if it is not the currently selected group/channel, by 
pressing the   key during scan operation while the radio is displaying the unwanted group/channel. 
The group/channel will be deleted from the scan list in the same manner as if done using the steps above. 
Deletions done in this manner will not remain deleted if the radio is powered OFF and then powered ON. 
7.22  SYSTEM SCAN (P25 TRUNKED) 
The radio can be programmed using Radio Personality Manager (RPM) with the following System Scan 
features. These features are automatically enabled when the radio is powered ON. A key or menu option 
is also defined to allow the System Scan features to be toggled during radio operation. The System Scan 
state will be maintained through system changes but will default to ON when the radio is powered ON. 
Enable/Disable via Menu Selection 
Press    and then use the   or  buttons to scroll  through the selections  until  SYS SCAN is 
displayed.  Then  press    to  toggle  the  System  Scan  state.  The  SYSC  ON  or  SYSC  OFF  display 
message is displayed for two seconds to show the new state. 
Enable/Disable via Pre-Programmed Keypad Key 
Press the key pre-programmed to toggle System Scan and the SYSC ON or SYSC OFF display message 
is displayed for two seconds to show the new state. 
7.22.1  Wide Area System Scanning 
The XG-15P series radio can be pre-programmed through RPM for Wide Area System Scan operation for 
roaming across mobile systems.  Radio systems manage the radios assigned to the system via a control 
channel  (CC).    Upon  the  loss  of  the  currently  selected  system's  control  channel,  radios  can  be 
NOTE

  14221-1450-2000 
39 
programmed  to  automatically scan the  control  channels  of  other systems.  If a new control  channel is 
found, the radio will switch to the new system and sound an alert tone.  The amount of time before the 
radio enters Control Channel Scan after losing the control channel is configurable in RPM. 
7.22.2  Priority System Scan 
The radio can also be pre-programmed for Priority System Scan.  The priority system is the desired or 
preferred system.  While receiving the control channel of the selected system, the radio will periodically 
leave the selected system and search for the control channel of the priority system.  This is done at a pre-
programmed rate defined by the value in the Priority Scan Time control, unless the ProScan™ algorithm is 
enabled, as explained in the following sections.  This priority scan timer is reset each time the PTT button 
is  pressed or  when the call  is received.   If  the  priority system  control channel is found, or  meets the 
predefined criteria (ProScan), the radio will automatically switch to the priority system. 
7.22.2.1  Enabling the Wide Area System Scan Function 
If the radio cannot find the control channel of the selected system and begins to wide area system scan, 
the radio will only scan for the priority system control channel if the priority system is in the wide area 
scan list. 
7.22.2.2  When ProScan is Enabled 
The  radio  monitors  the  priority  system  and  will  switch  to  the  priority  system  if  the  pre-programmed 
criteria ProScan options are  met.  If  ProScan is enabled, the rate at  which the radio will scan for the 
priority system is defined by the System Sample Time control, set in RPM, (refer to RPM On-Line Help).  
See Section 7.22.3 for more information on ProScan. 
7.22.3  ProScan 
The radio may be programmed for ProScan system scan operation for multi-site applications.  ProScan is 
a  multi-site  system  scanning  algorithm.    ProScan  provides  the  radio  with  the  ability  to  select  a  new 
system for the radio to communicate on when the selected system drops below a predefined level.  This 
algorithm enables each radio to analyze the signal quality of its current control channel and compare it 
with the signal quality of the control channel for each site in its adjacent scan list.  The signal quality 
metric  used  for  the  ProScan  algorithm  is  based  on  a  combination  of  both  Received  Signal  Strength 
Indicator  (RSSI)  and  Control  Channel  Verification  (CCV)  measurements.    When  the  selected  system 
degrades to a pre-programmed level, the radio will begin to look for a better control channel.  Once a 
control channel that exceeds the pre-programmed parameters is found, the radio will change to the new 
system and emit a tone (if enabled through programming).  If the control channel is completely lost, the 
radio will enter Wide Area System scanning and search the programmed adjacent systems until a suitable 
control channel is found. 
7.23  EMERGENCY OPERATION 
The radio's ability to declare an emergency, clear an emergency, remain locked on an emergency system 
and  group,  and  the  emergency  audio  and  display  freeze  can  each  be  enabled  or  disabled  through 
programming.  When an emergency is declared, scanning will stop and restarts only after the emergency 
has been cleared. 

14221-1450-2000   
40 
7.23.1  Receiving an Emergency Call 
When receiving an Emergency Call on the selected group and system, an alert beep is heard and   is 
displayed. The message *RXEMER* flashes in the display on line two until the emergency condition is 
cleared. 
7.23.2  Declaring an Emergency Call 
Perform the following steps to send an emergency call to a selected system and group (or on an optionally 
pre-programmed group).  
1. Press  and  hold  the  red  EMERGENCY  button  on  top  of  the  radio  in  front  of  the  antenna  for 
approximately one second (this time is programmable and therefore could be longer or shorter; check 
with the system administrator). The radio will transmit an emergency call request with the radio ID 
until an emergency channel assignment is received.  
2. When the working channel assignment is received, the radio sounds a single beep indicating the radio 
has auto keyed (see Table 7-4) and is ready for voice transmission. *TXEMER* flashes on line two 
in the display until the emergency is cleared.  
3. Press PTT and speak into the microphone in a normal voice.   and   momentarily turn ON.  
4. Release PTT when the transmission is complete.  
To clear the emergency, first press and hold the   button. While continuing to hold the   button, press 
the EMERGENCY button. (This will work if the radio is programmed to clear emergencies.) 
7.24  MIXED SYSTEM ZONES 
A Zone is a  grouping of  analog conventional channels, P25  conventional channels, and/or talkgroups.  
Mixed System Zones are defined in RPM and can be comprised of any combination of channels/groups 
from multiple systems. If a Mixed System Zone is not configured in RPM, it will not appear on the radio. 
Up to 50 Mixed System Zones can be defined. 
To select a Mixed System Zone: 
1. Press  . 
2. Press   or   to select ZONE and press  . 
3. Press   or   to select the desired Mixed System Zone and press  . 
Alternately,  the  System/Group/Channel  knob  or  a  button  on  the  radio  can  be  programmed  to  scroll 
through available Mixed System Zones. 
When scan is enabled on a system in a Mixed System Zone, the radio continues to display the zone name 
or system name per the  current radio mode (system/zone).  When toggling scan  ON/OFF, there is no 
change one line 1 of the radio display. If it is showing system name, it continues to show system name; if 
it is showing zone name, it continues to show the zone name during scanning. 
7.25  CALLER ID 
This feature allows you to view the caller ID or alias for up to the last 10 received calls.  Received calls 
include Group, Announcement, Phone, Patch, SimulSelect, Agency, Fleet, and MDC. 
1. Press    and  press    or    to  select  CALL  ID.  Press  .  Alternately,  a  button  can  be 
programmed to access the CALL ID list. 

  14221-1450-2000 
41 
2. Press   or   to scroll through available entries.  The most recent call is displayed at the top of the 
list.  “NO ENTRY” is displayed if there are no entries. 
3. Caller ID or “NO ENTRY” is displayed for 10 seconds.  Press the Clear button to exit the Caller ID 
list. 
The most recent call is displayed at the top of the list.  The Caller ID list is cleared when power is cycled 
on the radio. 
7.26  STEALTH MODE 
Press the button programmed for Stealth Mode operation to toggle Stealth Mode on or off. During Stealth 
Mode, all buttons are disabled except PTT, the button programmed for Stealth operation, Emergency, and 
Nuisance delete. The radio will receive and transmit when Stealth Mode is enabled. 
The radio can be configured to disable any or all of the following during Stealth Mode: 
 LCD display 
 LED 
 Backlight 
 Side/alert tones 
Stealth Mode can be configured to persist through a power cycle. 
7.26.1  Mixed Zone Scan 
The Mixed Zone Scan (MZS) feature gives the user the capability to scan based on a custom scan list that 
is  assigned  at  the  system  level.  The  Custom  Scan  (CS)  list  can  contain  System  and  Channel/Group 
configurations across P25 Trunk, P25 Conventional, and Analog Systems.  When a Custom Scan List is 
defined on a P25T system, the radio can scan P25T, P25C and Analog systems.  When defined on a P25C 
or Analog system, the radio only scans conventional channels.  MZS also gives the user the capability to 
scan beyond the selected system group set. 
 P25T Scan 
When a custom scan list is assigned to a P25T system, the user has the ability to scan P25T, P25C, 
and Analog groups/channels.  All P25T systems must have the same WACN, System ID, and Unit ID 
to be added to the custom scan list. 
 P25C and Analog Scan 
When a custom scan lists is assigned to a P25C or Analog System, the user has the ability to scan 
P25C and Analog channels.  P25T systems are ignored. 
7.26.1.1  Custom Scan List Selection 
The Custom Scan List is assigned at the System level. Scanning protocols (Custom Scan, System Scan, 
and Conventional Priority Scan) are mutually exclusive. Once a custom scan list is assigned to a system, 
when you enable scan, you are scanning the channel/groups defined in the custom scan list.  A Custom 
Scan List can be assigned to a system through RPM only. 

14221-1450-2000   
42 
7.26.1.2  View Custom Scan Lists 
1. From the radio menu, select CUSTSCAN. 
2. Select  the  desired  group/channel  from  the  Custom  Scan  list.    Options  available  for  each 
channel/group include: 
 View the channel’s/group’s scan priority. 
 Delete the channel/group from the scan list. 
 Nuisance delete the channel/group. 
Scan must be off to view a Custom Scan List. 
7.26.1.3  Edit Custom Scan Lists 
1. From the radio menu, select CUSTSCAN. 
2. Select EDIT LST.  
3. Select the desired system from the list. 
4. Select the desired channel group. Scroll through available options: 
 Add the channel/group to the scan list. 
 Change the channel’s/group’s scan priority. 
 Delete the channel/group from the scan list. 
 Nuisance delete the channel/group. 
Scan must be off to edit a Custom Scan List. 
7.27  INDIVIDUAL CALLS (P25 MODES) 
7.27.1  Receiving and Responding to an Individual Call 
When the radio receives an individual call (a call directed only to the user's radio), it un-mutes on the 
assigned working channel and displays  . The first line on the display shows the logical ID number of 
the unit sending the message, or the associated name if the ID number is found in the individual call list. 
The radio can be programmed to ring when an individual call is received. If enabled, the ring begins five 
seconds after the caller un-keys and will continue until the PTT button, the   button, or the individual 
call mode is entered. 
The volume of the ring is adjustable through the volume control levels. 
NOTE
NOTE
NOTE

  14221-1450-2000 
43 
If a response is made by pressing the PTT to the call prior to the programmed call-back time-out, the call 
will automatically be directed to the originating unit. If a response is not made before the call-back time-
out, the radio will return to normal receive display, and *WHC* will appear on the first line of the LCD.  
To respond after the call-back time-out, press the   key. The radio's display will show the callers ID on 
the  first  line  and  WHCI=1  on  the  second  line.  Pressing  the  PTT  button  at  this  point  will  initiate  an 
individual call back to the original caller.  
The radio stores the IDs of the last 10 callers in the Calls Received List as shown. Individual calls are 
stored in the top half of the list (1-10) and Group calls are stored in the bottom half of the list (1-10). The 
most recent call is stored in position 1, the second most recent call is stored in position 2, etc. 
Figure 7-10: Calls Received Lists 
To access the Calls Received List, press the   key twice. Use the   or  buttons to scroll through 
the list. Pressing the   key will display the time elapsed since the call was received. After pressing 
 the display will appear similar to Figure 7-11. 
Figure 7-11: WHC Individual Call Display 
Pressing the PTT will initiate an individual call to the displayed logical ID. Powering the radio OFF and 
ON will clear this list. 
7.27.2  Sending an Individual Call 
7.27.2.1  Pre-Stored Individual Calls 
The following procedures describe how to initiate and complete a Pre-Stored Individual Call. 

14221-1450-2000   
44 
1. To select a pre-stored individual phone number, enter the individual call mode using the   key.   
is displayed. Then scroll through the list of stored numbers using the   or  keys.  
2. Press the PTT button; when the radio is clear to transmit,   turns ON,   turns OFF and the channel 
access  tone  sounds.  Line  one  shows  the  called  individual's  name  if  found  in  the  list  of  stored 
individuals or LID followed by the logical ID number of the unit being called. The message *INDV* 
displays on line two. 
7.27.2.2  Direct Dial Individual Calls 
The following procedure describes how to initiate and complete a Direct Dial Individual Call: 
1. The individual call ID  is  not stored  in the pre-stored list  of call  IDs but the  individual unit  ID is 
known, it can be entered directly from the keypad. 
2. Press and hold the PTT button to transmit.   turns ON,   turns OFF, and the channel access tone 
sounds. Line one shows the called individual's ID followed by the logical ID number of the unit being 
called. The message *INDV* displays on line two. Proceed talking into the microphone. 
7.27.3  Call Storage Lists 
There are two lists available for call storage in the XG-15P series radios, the calls received list (1 - 10) 
and  the  personality  list  (1  -  99  as  defined  by  the user).  When the individual  call mode  is entered  by 
pressing  , the calls received list is available. The user can toggle to the personality list by selecting 
any index other than 0 or toggle between the two lists by pressing the   key. If wrap is enabled, the 
calls received list wraps on itself and not into the other list. 
Figure 7-12: Calls Received and Personality Lists 
The saved call list shows all ten storage locations. If no calls have been received, the saved call list will be 
empty and the pre-stored list will be available upon entering the individual call mode.  
When in the saved call list, pressing the   key toggles the time stamp ON and OFF. The time stamp 
indicates how long ago the call was received. When in the pre-stored list pressing the   key toggles the 
Logical IDentification (LID) ON and OFF. 

  14221-1450-2000 
45 
7.28  TELEPHONE INTERCONNECT CALLS (P25 TRUNKED) 
7.28.1  Receiving a Telephone Interconnect Call 
When the radio receives a telephone interconnect call (a call directed only to the user's radio), it un-mutes 
on the assigned working channel and  displays  . The first line displays *PHONE*. The second line 
displays *INDV*. Proceed with the call. Press the PTT to talk, release the PTT to listen. 
7.28.2  Sending a Telephone Interconnect Call 
7.28.2.1  Pre-Stored Number 
Use the following procedures to initiate and complete a Telephone Interconnect call:  
1. To select a previously stored phone number, press the   key. Use the   or  buttons to scroll 
through the list of stored numbers.  
2. Press and release the PTT button. When the radio is clear to transmit,   turns ON,   turns OFF, and 
the channel access tone sounds. Line one shows the accompanying name selected from the list of 
stored  numbers.  The  message  *PHONE*  appears  on  line  two  of  the  display.  The  radio  then 
automatically transmits the programmed number stored in the special call queue.  
3. A telephone ring will be heard from the speaker. When someone answers the phone, press the PTT 
button and speak into the microphone. Release the PTT button to listen to the callee. Unsuccessful 
interconnect signaling returns the radio to the normal receive mode and the number remains displayed 
until  the  special  call  is  cleared  or  the  time-out  expires  or  another  group  or  system  is  selected. 
Terminate a call by pressing the   button. 
In half-duplex mode, only one person may talk at a time. The radio PTT button needs 
to  be pressed  in order to  communicate  to the individual  called and released  for the 
individual called to be heard. 
7.28.2.2  Direct Dialing of Phone Calls  
1. If the phone number is not stored in the pre-stored list of phone numbers, but the phone number is 
known, it can be entered directly from the  keypad.  Start by pressing the   key,  then  enter the 
required number from the keypad.  Press and release the PTT button. 
The last number directly entered can be recalled by first pressing   then pressing the 
PTT button. 
2. A telephone ring can be heard from the speaker. When someone answers the phone, press and hold 
the PTT button and speak into the microphone. Release the PTT button to listen to the  individual 
called.  Unsuccessful  interconnect  signaling  returns  the  radio  to  the  normal  receive  mode  and  the 
number remains displayed until the special call is cleared or the time-out expires or another group or 
system is selected. 
3. To terminate the call, momentarily press the   button. 
NOTE
NOTE

14221-1450-2000   
46 
7.28.3  Dual-Tone Multi-Frequency: Overdial 
Once the radio has established a connection to the public telephone system, it may be necessary to “over-
dial”  more  digits  to  access  banking  services,  answering  machines,  credit  card  calls,  or  other  types  of 
systems that require Dual-Tone Multi-Frequency (DTMF) access digits. 
Overdial operation can also be used to initiate a telephone interconnect call via DTMF signaling if a dial 
tone has already been accessed on the system. This method makes a telephone interconnect call while 
operating  in  the  conventional  mode  but  will  also  function  in  trunked  mode  if  a  dial  tone  is  directly 
accessible. 
Telephone numbers  and other number sequences for overdialing can  be stored in the  phone list  when 
programming  the  radio.  These  numbers  are  accessed  by  pressing  the    key,  then  following  the 
selection mode rules. Perform the following procedures to access and dial these stored numbers. 
1. Follow the procedure in Section 7.28.2 to establish a connection to the telephone system or consult 
the  system  administrator  for  the  procedure  to  access  a  dial  tone  on  the  trunked  or  conventional 
system.  
2. Overdial numbers are transmitted using one of the following methods: 
METHOD 1:  
1. Enter the overdial selection mode by pressing the   button.   
2. Use  the    or  buttons  to  scroll  through  the  list  of  stored  numbers.    is 
displayed. Press the PTT to send the overdial sequence once. If the number needs to 
be  transmitted  again  it  must  be  selected  or  entered  again  (this  prevents  unwanted 
numbers from being sent the next time the PTT button is pressed during the call).  
Overdial select/entry mode remains active until the call is dropped, cleared, or   is 
pressed. The  overdial  select/entry  mode  can  be  re-entered  if  the  call  is  still  active  by 
pressing  . 
METHOD 2:  
1. Enter the overdial selection mode by pressing the   button.   
2. Press and hold the PTT button while entering the overdial number sequence from the 
keypad.  This method sends DTMF tones during individual, telephone interconnect, 
trunked  group, or  conventional  channel calls.    Press the  PTT  to  send the  overdial 
sequence once.  If the number  needs to be transmitted again it must  be  selected or 
entered again (this prevents unwanted numbers from being sent the next time the PTT 
button is pressed during the call).  Anytime the PTT button is pressed and held, the 
keypad is enabled for DTMF entry. 
Overdial select/entry mode remains active until the call is dropped, cleared, or   is 
pressed. The  overdial  select/entry  mode  can  be  re-entered  if  the  call  is  still  active  by 
pressing  . 
This overdial select/entry mode remains active until dropped, cleared, or   is pressed. The overdial 
select/entry mode can be re-entered if the call is still active by pressing the   button. 
7.29  PRE-STORING  INDIVIDUAL  AND  TELEPHONE  INTERCONNECT 
CALLS FROM THE KEYPAD 
Individual Call ID numbers, telephone numbers, and other number sequences for overdialing are stored in 
the  special  calls  lists  when  programming  the  radio.  The  first  ten  entry locations  of  these  lists  can  be 
changed by the radio operator. The keypad is used when adding, changing, and storing numbers in these 
entry locations.  
Use the following procedure to store a number in one of the first ten entries of a special call list:  

  14221-1450-2000 
47 
1. Press the   or   button to enter the individual call list or the phone call list.   is displayed. 
2. Scroll through the list using the   or  keys until one of the first ten entries is reached. NO 
ENTRY is displayed if the location is empty.  
3. Enter the desired number. If necessary, a pause can be entered by pressing and holding 0-9,  , or 
 until an underscore appears in the display (telephone interconnect only). The individual call list 
entries will accept up to 5 digits. The phone call list entries accept a combination of up to 31 digits 
and pauses.  
4. Press and hold the   key until the display changes indicating that the number has been stored.  
Repeat steps 1-4 to store additional numbers, to change numbers already stored, or to change the storage 
location of a number. 
7.30  STATUS/MESSAGE OPERATION (P25 MODES) 
The Status and  Message operations allow for the transmission of a pre-programmed status or a pre-
programmed message to a P25T site.  Each Status and Message is assigned an ID then cross-referenced 
with  the  representative  status  condition  (“Off  Duty,”  for  example)  or  a  message  (“Call  home”).    In 
addition, Status conditions can also be associated with a programmable Menu entry (required for second 
method of transmitting a Status condition (see Section 7.30.1). 
7.30.1  Status Operation 
One of two methods can be used to transmit a status condition. 
METHOD 1:  
1. Press the   key, then use the   or  buttons to scroll to the pre-programmed 
status  condition.  STATUS  and  0  through  9  pre-programmed  status  selections  are 
available from the menu.   
2. If STATUS is  selected, you  need to  enter  the  number  of the status  condition  you 
intend to transmit. If no status has been programmed for the selected number key, the 
radio will display NO ENTRY. A valid selection will display the status for a pre-
programmed time. 
After the time-out expires or the   key has been pressed (the   key will override the 
time-out period), the status is selected and will be transmitted to the site or stored in the 
radio memory where it can be polled by the site at a future time.  
METHOD 2: 
1. Press the   key.  
2. Press  the  corresponding  pre-programmed  0  through  9  status  condition  key.    If  no 
status  has  been  programmed  for  the  selected  number  key,  the  radio  will  display 
NO ENTRY. A valid selection will permit the status condition to appear in the top 
line of the display and the status ID to appear in the second line of the display for a 
pre-programmed time.   
After the time-out expires or the   key has been pressed (the   key will override the 
time-out period), the status is selected and will be transmitted to the site or stored in the 
radio memory where it can be polled by the site at a future time. 
View the currently selected status after it has been transmitted by pressing the   key and then the   
key and then the   button prior to the time-out period. If the status was not sent successfully to the site, 
the text associated with the status condition will flash in the display. 

14221-1450-2000   
48 
The status selection can be changed by pressing a different status key 0 through 9, or the status operation 
can be cancelled by pressing Clear/Monitor button ( ).  Both operations must be carried out prior to the 
time-out period.  
7.30.2  Message Operation 
The following method can be used to transmit a Message using the Message Operation. 
1. Press the   key. 
2. Press the corresponding pre-programmed 0 through 9 pre-programmed “message” key.  If no message 
has  been  programmed  for  the selected  number key,  the  radio  will display  NO ENTRY.  A  valid 
selection will permit the message to appear in the top line of the display and the message ID to appear 
in the second line of the display for a pre-programmed time.   
The message selection can be changed by pressing a different message key 0 through 9, or the message 
operation can be cancelled by pressing Clear/Monitor button ( ).  Both operations must be carried out 
prior to the pre-programmed time-out period.  
7.31  MACRO KEY OPERATION 
Macro  key  operation  permits  the  user  to  accomplish  a  series  of  keystrokes  with  a  single  "macro" 
keystroke. Each macro key is capable of executing up to twenty (20) keystrokes, to any push button input 
(i.e.,  keypad  keys,  OPTION  buttons,  etc.).  Each  macro  key can be  pre-programmed  to  activate when 
pressed or when released.  
A macro key may also be pre-programmed to change the key stroke sequence the next time the macro key 
is activated.  
For  detailed  operation  and  assignment  of  macro  keys,  contact  your  communications  supervisor  or 
administrator. 
7.32  PORTABLE DATA  
The XG-15P series portable radios permit both voice and data calls to be transmitted and received. The 
radio can handle only one type of call at a time; however, either data or voice is selected transparently by 
the operator through normal usage of the radio.  
The  radios  can  be  connected  to  a  Mobile  Data  Terminal  (MDT)  or to  a  host computer.  Any RS-232 
compatible device that supports the Radio Data Interface (RDI) protocol (Version 1.91 or greater) may be 
connected to the  radio.  Support for  an  MDT  or a host  computer is a programmable option per  radio. 
Additionally,  radios  may  also  be  programmed  for  data  only  operation  (no  voice  calls  transmitted  or 
received). 
7.32.1  Displays 
The following will be displayed during data operation: 
DATA T/R 
Appears on top line of display when the radio is transmitting/receiving a data call.  
DATA OFF 
Appears on top line of display when the radio is in the data disabled state.  
DATA ON 
Appears  for  two  seconds  on  top  line  of  display  when  the  radio  is  toggled  to  the  data 
enabled state.  

  14221-1450-2000 
49 
7.32.2  DATA OFF Operation 
The radio can be placed in the data disabled state by any of the following methods. When the data state is 
disabled, DATA OFF appears on the top line of the display.  
 Declaring an emergency (not to be used unless an actual emergency condition exists). Alert tone will 
sound.  
 Pressing Option Button 1   (if pre-programmed as “no data” (ND) key). Alert tone will sound.  
 Pressing the pre-programmed “no data” (ND) key.  Refer to previous bullet. 
7.32.3  DATA ON Operation 
The data state is enabled by one of the following (depending on how it was disabled). DATA ON will 
appear on the top line in the display for two seconds then the display will return to normal.  
 Pressing the pre-programmed “no data” (ND) key toggles data state ON or OFF.  
 Clearing an emergency. This is valid only if the emergency caused “DATA OFF” operation. 
7.32.4  Exiting Data Calls 
Under normal conditions, the radio enters the scan lockout mode and returns to the control channel after 
completion of a data  call (transmit or receive). If,  during  a data  call, one of the  following operations 
occurs, the data call is immediately terminated and the radio performs the desired function:  
 If the PTT is activated. 
 If an Emergency is declared by pressing the pre-programmed emergency button. 
 If a group or system is changed. 
7.32.5  Scan Lockout Mode 
Following the transmission or reception of a data call, if scan is enabled, scanning will stop temporarily.  
There are two independent pre-programmed times associated with this mode; one after a received data 
call and one after a transmitted data call. During this time the scan indicator will flash to indicate that scan 
is enabled but temporarily suspended. This condition typically returns to normal scan operation when the 
pre-programmed time expires; however, the following operations and conditions will terminate the scan 
lockout mode before the timeout has expired. 
 Press the   button.  
 Press the PTT.  
 Change a group or system.  
 Enter Telephone Interconnect mode.  
 Enter Individual call mode.  
 Receive a new emergency assignment.  
 Declare or clear an emergency.  
 Receive an individual or phone call.  
 Receive an Agency, Fleet, or System All Call. 
 Press   to toggle Scan ON or OFF. 

14221-1450-2000   
50 
7.32.6  Data Lockout Mode 
During the voice call scan hang time (pre-programmed) the radio will not receive data calls. 
7.33  TYPE 99 OPERATION (ANALOG CONVENTIONAL) 
Type 99 is a conventional in-band, two-tone sequential signaling method.  This conventional signaling 
protocol  controls  the  muting  and  unmuting  of  a  radio.    Type  99  encoded  base  stations,  mobiles,  or 
portables can selectively call individual units or groups of units in a conventional system.  Type 99 is 
used in paging operations providing a dispatcher with the ability to selectively call a radio or a group of 
radios.    If  Type  99  is  enabled  in  the  radio  personality,  the  radio  can  decode  Individual,  Group,  and 
Supergroup Type 99 calls.  
In a selective signaling environment, the XG-15P portable radios operate in one of two states, Monitor 
mode or Selective Call mode.  
 In Monitor mode, Type 99 “OFF,” the decoder is disabled and all calls are heard by the user.  
 In Selective Call  mode, Type 99 “ON,” the decoder is enabled and only calls intended for the user 
will be heard.  
7.33.1  Type 99 with or without Channel Guard  
Selective signaling operates with or without Channel Guard.  If Channel Guard is enabled, the radio can 
be programmed with an "And" or an "Or" option, determined by programming with T99 Mute Control.  
 If  the  "And"  option  is  programmed,  T99  calls  require  the  correct  selective  signaling  (T99  tone 
sequence) AND the correct Channel Guard tones are heard by the user.  
 If the  "Or"  option  is  programmed,  calls  with  the  correct  Channel  Guard  tones  OR calls  with  the 
correct T99 tone sequence and Channel Guard tones are heard by the user.  
A radio operating in Selective Call mode that receives a selective call switches to the Monitor mode (after 
decoding the T99 call)  and  the  TX/RX LED  flashes green.   The  TX/RX LED  indicates  whether  the 
channel has a carrier signal.   
7.33.2  Resetting Type 99 after a Call  
After  decoding  a  Type  99  call,  the  radio  operates  in  Monitor  mode  and  all  traffic  on  the  channel  is 
audible.  If the channel has Channel Guard, only the traffic with the radio's Channel Guard tone will be 
heard. To reset Type 99 operation, use one of the following methods:  
 Press the   button.  
 Press the   button, if enabled through programming to toggle Type 99 ON/OFF.  
 Allow the "Auto-Reset" timer, if enabled through programming, to reset the Type 99 decoder.  
7.33.3  Type 99 Disable after PTT  
The radio may be programmed with the Type 99 Disable after PTT feature, which automatically disables 
the Type 99 decoder after a transmission. Use one of the methods outlined in Section 7.33.2 section to 
reset Type 99 operation.  
7.34  AUDIO PLAYBACK 
Every call received by the radio is recorded in internal memory, overwriting the last recorded call. When 
the PLAYBACK key is  pressed, the last recording is  replayed and  any future recordings are stopped. 

  14221-1450-2000 
51 
Pressing PLAYBACK again repeats the same recorded call. Pressing and holding the PLAYBACK key 
until the tone sounds erases the recording and starts the recording of incoming calls again. If a call is 
received while the recorded call is playing, the recorded call continues to play, rather than the received 
audio. However, if a call is received and the recorded call is played back in close succession received 
audio could mute call playback.  This feature requires RPM R8A and later, and ECP R15A and later. 
The PLAYBACK function must be programmed to a button on the radio via RPM. 
7.35  RADIO TEXTLINK OPERATION 
Radio TextLink provides a simple means of exchanging pre-defined,  or  “canned,”  text  messages. This 
section describes how to send messages if the Radio TextLink feature is enabled.  
7.35.1  Send TextLink Messages 
1. Press   to access the menu. 
2. Press   or   to scroll through menu until SND MAIL is displayed. Press   to select. 
3. Press   or   to scroll through the pre-defined messages that scroll across the top of the display. 
Press   to select to select the desired message. 
4. Press   or   to scroll through the list of available destination IDs and select the desired ID with 
. 
7.35.2  View Received TextLink Messages 
Received Messages are listed in the order in which they are received (newest at the top).  All messages 
include the user LID along with the date and time stored/displayed.  The mailbox can hold 16 messages at 
a  time.    If  a  new  Message  arrives  after  the  limit  is  reached,  the  new  message  overwrites  the  oldest 
message.  
1. Press   to access the menu. 
2. Press   or   to scroll through menu until RD MAIL is displayed. Press   to select. 
3. Scroll through the list of received messages using the   or   key. 
4. Selecting a received message with the   key will bring up a reply to sender option. 
7.35.3  Delete TextLink Messages 
Select DEL MAIL with the   key to delete ALL messages in the inbox. 
7.35.4  View the Current Time 
Select TIME with the   key to retrieve the current date and time. 
7.36  VIEW GPS INFORMATION 
If GPS is enabled in RPM and the GPS Speaker microphone or GPS dongle is connected to the XG-15P, 
view your position and satellite information via the GPS Menu.  GPS requires an unobstructed view of 
the sky and the signal is greatly diminished inside buildings, tunnels, heavily forested areas, etc. GPS may 
NOTE

14221-1450-2000   
52 
not work at all under some conditions, especially in metal enclosures or buildings.    flashes on the radio 
display when the GPS signal is being acquired; stops flashing after signal is acquired. 
1. Press   to access the menu. 
2. Press   or   to scroll through menu until GPS is displayed and press   to select. 
3. Press   or   to scroll through available information screens.  
7.37  CONTROL AND STATUS SERVICES 
The  XG-15P  supports  Control  and  Status  services.  These  services  allow  the  computer  application  to 
monitor  and  control  a  radio.  The  Control  and  Status  Services  can  be  used  from  a  locally-connected 
Mobile  Data  Terminal  (MDT)  or  a  network  MDT.  In  some  cases,  the  radio  can  support  both  MDTs 
simultaneously. However, priority is given to the local MDT. 
The Radio Status Service allows an MDT or Fixed End System (FES) to receive real-time status updates 
from a radio. An MDT sends Host Attach/Detach messages to the radio as UDP datagrams destined for 
the UDP Service Address and Service UDP Port of the radio. All responses and asynchronous reports are 
returned to the address and port  of the requesting host. Refer to the ECP Control and Status Services 
Feature Manual, 14221-7200-6040, for more information on this feature. 

  14221-1450-2000 
53 
8.  CUSTOMER SERVICE 
8.1  CUSTOMER CARE 
If any part of the system equipment is damaged on arrival, contact the shipper to conduct an inspection 
and prepare a damage report.  Save the shipping container and all packing materials until the inspection 
and  the  damage  report  are  completed.    In  addition,  contact  the  Customer  Care  center  to  make 
arrangements  for  replacement  equipment.    Do  not  return  any  part  of  the  shipment  until  you  receive 
detailed instructions from a Harris representative. 
Contact the Customer Care center at http://www.pspc.harris.com/CustomerService or: 
North America: 
Phone Number:  1-800-368-3277 
Fax Number:   1-321-409-4393 
E-mail:  PSPC_CustomerFocus@harris.com  
International: 
Phone Number:  1-434-455-6403 
Fax Number:  1-321-409-4394 
E-mail:  PSPC_InternationalCustomerFocus@harris.com  
8.2  TECHNICAL ASSISTANCE 
The Technical Assistance Center's (TAC) resources are available to help with overall system operation, 
maintenance, upgrades and product support. TAC is the point  of contact when answers are  needed to 
technical questions. 
Product  specialists,  with  detailed  knowledge  of  product  operation,  maintenance  and  repair  provide 
technical support via a toll-free (in North America) telephone number. Support is also available through 
mail, fax and e-mail.  
For more  information about technical assistance services,  contact your  sales representative, or  call the 
Technical Assistance Center at: 
North America:   1-800-528-7711 
International:    1-434-385-2400 
Fax:      1-434-455-6712 
E-mail:     PSPC_tac@harris.com  

14221-1450-2000   
54 
9.  BASIC TROUBLESHOOTING 
Use  the  contents  of  Table  9-1  as  a  troubleshooting  guide  if  the  radio  is  not  functioning  properly.  If 
additional  assistance  is  required,  contact  a  qualified  service  technician  or  call  TAC  support  at 
1-800-528-7711.  
Table 9-1: Troubleshooting 
SYMPTOM 
POSSIBLE CAUSE 
POSSIBLE SOLUTION 
Radio will not turn on. 
Low battery charge. 
Change the battery pack to a fully charged pack. 
No Audio. 
Speaker volume is muted. 
Increase the volume level. 
Poor Audio. 
User  is  in  a  poor  coverage 
area or not on the network. 
Move to a better coverage area. 
Radio powers off for 
no apparent reason. 
Radio  may  be  experiencing 
very low voltage.  
Have the battery checked by an authorized technician. 
Radio will not 
transmit. 
Radio  may  be  out  of 
coverage  area  or  may  be 
overheated. 
Return  to  coverage  area  if  possible.  If  overheated,  let 
radio cool before retrying transmission. Report this failure 
to an authorized technician. 
10.  WARRANTY 
Please register this product within 10 days of purchase.  Registration validates the warranty coverage, and 
enables Harris to contact you in case of any safety notifications issued for this product. 
Registration can be made on-line at the Customer Care center webpage: 
http://www.pspc.harris.com/Service/Customerservice.aspx. 
While on the webpage, please review the applicable battery and/or product warranty literature.   

  14221-1450-2000 
55 
APPENDIX A - CONFIGURING ENCRYPTION 
A.1  ENCYRPTION KEYS 
Refer to the following documentation for advanced programming and setup instructions: 
 Harris OTAR Overview Manual - MM-008069-001  
 Network Key Manager Installation and Configuration Manual - MM-008070-001 
 Harris UAS Key Management Application Manual - MM-008068-001 
 Harris Key Manager Key Admin Overview and Operation Manual - MM1000019423 
 Harris Key Manager Key Loader Overview and Operation Manual - MM1000019424  
 Motorola® Key Variable Loader (KVL) Device User's Guide 
A.1.1  Create Keys Using Harris Key Admin 
Harris Key Admin is part of the Harris Key Manager and is used by the Crypto Officer (CO). The CO 
creates a Master Set of keys from which a Distribution Set is produced. Using the Key Admin software, 
the CO can save keys into Distribution key files for technicians to use in radios. 
1. Select Start  Programs  Harris Key Manager  Harris Key Admin. 
2. Select New Master Set, Open, or Import from Security Device. Refer to the Key Admin online 
help for more information on creating keys. 
3. When finished, create a Distribution Key File. A Distribution Key File is used with the Key Loader to 
load  key sets  into  the  radio  and  cannot  be  edited.  Refer  to  the  Key  Admin  online  help  for  more 
information on creating the Distribution Key File. 
A.1.2  Load Encryption Keys  
A.1.2.1  Load UKEKS with Key Loader and RPM (for OTAR-Enabled Systems) 
UKEKs are loaded into Harris OTAR radios using the Key Loader application.  Key Loader is a part of 
Key Manager.  
To load encryption keys: 
1. Obtain the  UKEK file  and Storage Location Number (SLN) Binding Report information from  the 
Crypto Officer (CO). 
2. If not already on, power-up the PC that has RPM and the Key Loader applications installed on it, and 
start Windows®. 
3. Connect the radio to the PC using a serial cable (CA-023407-003). 
4. Enter into the Harris Keyload Mode (HKL). 
a. Press the radio’s   button. 
b. Scroll  through  the  menu  to  select  the  KEYLOAD  option  and  press  the    button  to 
activate. 
c. Scroll through and select the HKL option and press the   button. The radio can now accept 
keys from the Harris Keyloader. 

14221-1450-2000   
56 
5. Load the UKEK file from the Crypto Officer onto the PC. 
6. Run  the  RPM  application  and  setup  the  radio’s  personality  according  the  SLN  Binding  Report 
information. 
7. Setup the talk groups and the SLN mappings (Talk Group ID to SLN).  This includes mapping SLNs 
to the “System” keys (PSTN, All Call, etc.). 
8. Select Options  P25 OTAR Options and set the following: 
a. The OTAR Message Number Period (MNP) as defined by the System Administrator. 
b. The radio’s Individual RSI (from the SLN Bindings Report). 
c. The KMF’s RSI (from the SLN Bindings Report). 
9. Program the personality to the radio. 
10. Run the Key Loader application. 
11. Open the UKEK file loaded in step 5. 
12. Select the Target Device type and click the Load button. 
13. The Key Loader  reads  the target device’s  identifying information,  retrieves  a  UKEK of the proper 
algorithm type from the UKEK file, and downloads the UKEK to the target device at the proper SLN 
and keyset with the proper key ID. 
14. Click the Finish button to exit the Key Loader application. New UKEKs have are loaded and the 
radio is now ready to accept TEKs via OTAR with the trunked radio network. 
A.1.2.2  Load Keys Using Harris Key Loader  
Harris Key Loader is part of Harris Key Manager and can be used by the Crypto Officer or Technician to 
load the keys into the radio.  
Refer to the Harris Key Loader online help if additional information is required when performing this 
procedure. 
1. Connect the radio to the PC using a serial cable. 
2. Power on the radio, if not already. 
3. Select Start  Programs  Harris Key Manager  Harris Key Loader. 
4. At the Key Loader Welcome screen, click Next. 
5. Select Load a Distribution Set into one or more devices. 
6. Click Next. 
7. Browse to the Key File and enter the password. 
8. Click Next to validate the password and continue.  If the password is incorrect, the screen will display 
an error message. 
9. Select communication port from the drop-down and click Next. 
10. Select the serial port that you have connected to the radio. 
11. Enter into Harris Keyload Mode (HKL). 
a. Press the radio’s MENU button. 
b. Scroll through the menu to select the KEYLOAD option and press the   button to activate. 

  14221-1450-2000 
57 
c. Scroll through and select the HKL option and press the   button. The radio can now accept 
keys from the Harris Keyloader. 
12. Select Radio from the drop-down and click Load. 
13. Click Finish. 
A.1.2.3  Power on the Motorola KVL Device 
1. Connect KVL Device to the radio using cable 14002-0143-01. 
Once the KVL Device is connected, a keyset is established whether the keys are 
loaded or not. You will need to zeroize to bring the radio to a fully zeroized state. 
2. Press the radio’s   button. 
3. Scroll through the menu to select the KEYLOAD option and press the   button to activate. 
4. Scroll through and select the KVL option and press the   button. The radio can now accept keys 
from the KVL Device. 
A.1.2.4  Load Keys Using Motorola KVL Device 
Type 3 Digital Encryption Standard Output Feedback (DES-OFB) is supported. The Type 3 Encryption 
keys are loaded via a Motorola Device using Telecommunications Industry Association (TIA)/Project 25 
(P25) key fill device protocol. Make sure that valid keys have been created and stored in the KVL Device 
before proceeding. 
A.1.3  Protected Keys 
The Protected Keys feature transfers P25 Voice Keys, from Harris Key Loader to the radio, that have 
been  encrypted  with  Key  Protection  Keys  (KPKs).  KPKs  are  nothing  more  than  unprotected  Key 
Encryption  Keys  (KEKs).  The  KPKs  need  to  be loaded  into  the  radio  before  the  Protected Keys  are 
loaded. Once loaded into the radio, the KPKs will be used to decrypt the Protected Keys. 
The radio must be placed into the key loading mode (see Section A.1.2.2) in order to accept the KPKs and 
P25 Voice Keys. 
NOTE

Public Safety and Professional Communications  |  www.pspc.harris.com 
221 Jefferson Ridge Parkway  |  Lynchburg, VA USA 24501  |  1-800-528-7711   

Product Safety Manual 
14221-1450-2010 
Mar/15 
This  booklet  contains  important  safety  information  regarding 
Specific Absorption Rate (SAR) and RF exposure limits included 
in  United  States  and  international  standards.    Read  the 
information in this booklet before operating your radio. 
XG-15P Portable Radios 

2  14221-1450-2010 
REV 
DATE 
DESCRIPTION 
- 
Mar/15 
Initial release. 
ACKNOWLEDGEMENTS 
The software contained in this device is copyrighted by Harris Corporation.  Unpublished rights 
are reserved under the copyright laws of the United States. 
This device is  made under license under one  or more of  the following US patents: 4,590,473; 
4,636,791;  5,148,482;  5,185,796;  5,271,017;  5,377,229;  4,716,407;  4,972,460;  5,502,767; 
5,146,497;  5,164,986;  5,185,795;  5,226,084;  5,247,579;  5,491,772;  5,517,511;  5,630,011; 
5,649,050; 5,701,390; 5,715,365; 5,754,974; 5,826,222; 5,870,405; 6,161,089; and 6,199,037 B1.  
DVSI claims certain rights, including patent rights under aforementioned U.S. patents, and under 
other  U.S.  and  foreign  patents  and  patents  pending.  Any  use  of  this  software  or  technology 
requires a separate written license from DVSI. 
CREDITS 
Harris, EDACS, OpenSky, and assuredcommunications are registered trademarks and ProVoice is 
a trademark of Harris Corporation.  
RBRC  and  1-800-8-BATTERY  are  registered  trademarks  of  Rechargeable  Battery  Recycling 
Corporation. 
AMBE is a registered trademark and IMBE, AMBE+, and AMBE+2 are trademarks of Digital 
Voice Systems, Inc. 
All other  product and  brand names are  trademarks, registered trademarks, or  service  marks  of 
their respective holders.  NOTICE 
The  material  contained  herein  is  subject  to  U.S.  export  approval.  No  export  or  re-export  is 
permitted without written approval from the U.S. Government. Rated: EAR99; in accordance with 
U.S. Dept. of Commerce regulations 15CFR774, Export Administration Regulations. 
Information  and  descriptions  contained  herein  are  the  property  of  Harris  Corporation.    Such 
information and descriptions may not be copied or reproduced by any means, or disseminated or 
distributed without the express prior written permission of  Harris Corporation,  PSPC  Division, 
221 Jefferson Ridge Parkway, Lynchburg, VA 24501.  
This product conforms to the European Union WEEE Directive 2012/19/EU.  Do not 
dispose of this product in a public landfill.  This product should be taken to a recycling 
center at the end of its life. 
The voice coding technology embodied in this product is protected by intellectual property rights 
including patent rights, copyrights, and trade secrets of Digital Voice Systems, Inc.  The user of 
this  technology  is  explicitly  prohibited  from  attempting  to  decompile,  reverse  engineer,  or 
disassemble the Object Code, or in any other way convert the Object Code into human-readable 
form. 
Repairs to  this equipment should  be made only by  an authorized  service technician or  facility 
designated by the supplier.  Any repairs, alterations, or substitution of recommended parts made 
by the user to this equipment not approved by the manufacturer could void the user’s authority to 
operate the equipment in addition to the manufacturer’s warranty. 
This manual is published by Harris Corporation, without any warranty.  Improvements and changes to this 
manual necessitated by typographical errors, inaccuracies of current information, or improvements to programs 
and/or equipment, may be made by Harris Corporation, at any time and without notice.  Such changes will be 
incorporated into new editions of this manual.  No part of this manual may be reproduced or transmitted in any 
form  or  by  any  means,  electronic  or  mechanical,  including  photocopying  and  recording,  for  any  purpose, 
without the express written permission of Harris Corporation. 
Copyright © 2015 Harris Corporation.   

14221-1450-2010 3 
TABLE OF CONTENTS  Page 
1. REGULATORY AND SAFETY INFORMATION ........................................ 4 
1.1 SAFETY SYMBOL CONVENTIONS ...................................................... 4 
1.2 SAFETY TRAINING INFORMATION .................................................... 5 
1.3 OPERATING TIPS .................................................................................... 7 
2. RENSEIGNEMENTS SUR LA RÉGLEMENTATION ET SÉCURITÉ ... 10 
2.1 CONVENTIONS SUR LES SYMBOLES DE SÉCURITÉ..................... 10 
2.2 RENSEIGNEMENTS SUR LA FORMATION SUR LA SÉCURITÉ .... 11 
2.3 INTERFÉRENCE DES RADIOFRÉQUENCES ..................................... 13 
2.4 CONSEILS D’UTILISATION ................................................................. 13 
3. OPTIONS AND ACCESSORIES ................................................................... 15 
4. BATTERY PACKS ......................................................................................... 16 
4.1 CONDITIONING NIMH BATTERY PACKS ........................................ 16 
4.2 CONDITIONING LI-ION OR LI-POLY PACKS ................................... 17 
4.3 STORING LI-ION BATTERY PACKS .................................................. 17 
4.4 ADDITIONAL INFORMATION ............................................................ 17 
4.5 BATTERY DISPOSAL ........................................................................... 17 
5. IMMERSIBLE XG-15P PREVENTIVE MAINTENANCE ........................ 18 
6. TECHNICAL ASSISTANCE ......................................................................... 18 
7. WARRANTY ................................................................................................... 19 
Harris Corporation, Public Safety and Professional Communications (PSPC) Business continually 
evaluates its technical publications for completeness, technical accuracy, and organization. You 
can assist in this process by submitting your comments and suggestions to the following: 
Harris Corporation 
PSPC Business  or  fax your comments to: 1-434-455-6851 
Technical Publications 
221 Jefferson Ridge Parkway  or  e-mail us at: PSPC_techpubs@harris.com 
Lynchburg, VA 24501 

4  14221-1450-2010 
1.  REGULATORY AND SAFETY INFORMATION 
1.1  SAFETY SYMBOL CONVENTIONS 
The  following  conventions  are  used  to  alert  the  user  to  general  safety 
precautions that must be observed during all phases of operation, service, and 
repair  of  this  product.    Failure  to  comply  with  these  precautions  or  with 
specific warnings elsewhere violates safety standards of design, manufacture, 
and intended use of the product.  Harris assumes no liability for the customer's 
failure to comply with these standards. 
The  WARNING  symbol  calls  attention  to  a  procedure, 
practice, or the like, which, if  not correctly performed or 
adhered to, could result in personal injury.  Do not proceed 
beyond a WARNING symbol until the conditions identified 
are fully understood or met.  
The  CAUTION  symbol  calls  attention  to  an  operating 
procedure,  practice,  or  the  like,  which,  if  not  performed 
correctly or adhered to, could result in a risk of danger, damage 
to  the  equipment,  or  severely  degrade  the  equipment 
performance. 
The  NOTE  symbol  calls  attention  to  supplemental 
information,  which  may  improve  system  performance  or 
clarify a process or procedure. 
The ESD symbol calls attention to procedures, practices, or the 
like, which could expose equipment to the effects of Electro-
Static Discharge. Proper precautions must be taken to prevent 
ESD when handling circuit modules. 
WARNING
CAUTION
NOTE

14221-1450-2010 5 
1.2  SAFETY TRAINING INFORMATION 
The  Harris  XG-15P  portable  radio  generates  RF 
electromagnetic energy during transmit mode.  This radio 
is designed for and classified as “Occupational Use Only,” 
meaning  it  must  be  used  only  during  the  course  of 
employment  by individuals  aware of the  hazards and  the 
ways  to  minimize  such  hazards.    This  radio  is  NOT 
intended  for  use  by  the  “General  Population”  in  an 
uncontrolled environment. 
The XG-15P  portable radio has been tested and complies with the FCC RF 
exposure limits for “Occupational Use Only.”  In addition, this radio complies 
with  the  following Standards  and Guidelines  with regard  to RF  energy  and 
electromagnetic  energy levels and  evaluation of  such levels for  exposure to 
humans: 
 FCC  OET  Bulletin  65  Edition  97-01  Supplement  C,  Evaluating 
Compliance  with  FCC  Guidelines  for  Human  Exposure  to  Radio 
Frequency Electromagnetic Fields. 
 American National Standards Institute (C95.1 – 1992), IEEE Standard for 
Safety  Levels  with  Respect  to  Human  Exposure  to  Radio  Frequency 
Electromagnetic Fields, 3 kHz to 300 GHz. 
 American  National  Standards  Institute  (C95.3  –  1992),  IEEE 
Recommended  Practice  for  the  Measurement  of  Potentially  Hazardous 
Electromagnetic Fields – RF and Microwave. 
 DIRECTIVE  2004/40/EC  OF  THE  EUROPEAN PARLIAMENT  AND 
OF THE COUNCIL of 29 April 2004 on the minimum health and safety 
requirements regarding the exposure of workers to the risks arising from 
physical agents (electromagnetic fields) and amended by: 
 Directive 2007/30/EC of the European Parliament and of the Council of 
20 June 2007 
 Directive 2008/46/EC of the European Parliament and of the Council of 
23 April 2008  
 Regulation  (EC)  No  1137/2008  of  the  European  Parliament  and  of the 
Council of 22 October 2008  
 Directive 2012/11/EU of the European Parliament and of the Council of 
19 April 2012 
 IC  Standard  RSS-102,  Issue  4,  2010:  Spectrum  Management  and 
Telecommunications  Radio  Standards  Specification.  Radiofrequency 
Exposure Compliance of Radiocommunication Apparatus (All Frequency 
Bands). 
WARNING

6  14221-1450-2010 
1.2.1  RF Exposure Guidelines 
To  ensure  that  exposure  to  RF  electromagnetic  energy  is 
within  the  FCC  allowable  limits  for  occupational  use 
and/or  the  exposure  limit  values  in  Annex  A  of  EU 
Directive  2004/40/EC,  always  adhere  to  the  following 
guidelines: 
 DO NOT operate the radio without a proper antenna attached, as this may 
damage the radio and may also cause the FCC RF exposure limits and/or 
the exposure limit values in Annex A of EU Directive 2004/40/EC to be 
exceeded.   A proper antenna  is the  antenna supplied  with this radio by 
Harris or an antenna specifically authorized by Harris Corporation for use 
with this radio. 
 DO NOT transmit for more than 50% of total radio use time (“50% duty 
cycle”).    Transmitting  more  than  50%  of  the  time  can  cause  FCC  RF 
exposure  compliance  requirements  and/or  the  exposure  limit  values  in 
Annex  A  of  EU  Directive  2004/40/EC  to  be  exceeded.    The  radio  is 
transmitting  when the  “TX”  indicator appears in the display.   The radio 
will transmit by pressing the “PTT” (Push-To-Talk) button. 
 ALWAYS  transmit  using  low  power  when  possible.    In  addition  to 
conserving battery charge, low power can reduce RF exposure. 
 ALWAYS  use  Harris  authorized  accessories  (antennas,  batteries,  belt 
clips, speaker/mics, etc).  Use of unauthorized accessories may cause the 
FCC  Occupational/Controlled  Exposure  RF  compliance  requirements 
and/or the exposure limit values in Annex A of EU Directive 2004/40/EC 
to be exceeded. 
 As noted in Table 1-1, ALWAYS keep the housing of the transmitter AT 
LEAST 1.4  cm  (0.55  inches)  from  the  body  and  at  least  2.5  cm  (0.98 
inches)  from  the  face  when  transmitting  to  ensure  FCC  RF  exposure 
compliance requirements and/or the exposure limit values in Annex A of 
EU Directive 2004/40/EC are not exceeded.  However, to provide the best 
sound quality to the recipients of your transmission, Harris recommends 
you hold the microphone at least 5 cm (2 inches) from your mouth, and 
slightly off to one side. 
Table 1-1: RF Exposure Compliance Tested Distances 
RADIO FREQUENCY BAND 
(MHZ) 
TESTED DISTANCES 
(worst case scenario) 
Body1 
Face 
700/800 MHz 
(768.0125 - 775.9875) 
(798.0125 - 804.9875) 
(806.0125  - 815.09875) 
(851.0125 - 860.9875) 
1.4 cm (0.55 in) 
2.5 cm (0.98 in) 
1 This is worst case based on the thinnest body mount accessory (belt clip). 
CAUTION

14221-1450-2010 7 
The information in this section provides the information needed to make the 
user aware of a RF exposure, and what to do to assure that this radio operates 
within the FCC RF exposure limits and/or the exposure limit values in Annex 
A of EU Directive 2004/40/EC. 
1.2.2  Electromagnetic Interference/Compatibility 
During  transmissions,  Harris  radios  generate  RF  energy  that  can  possibly 
cause interference with other devices or systems.  To avoid such interference, 
turn off the radios in areas where signs are posted to do so.  DO NOT operate 
the transmitter in areas that are sensitive to electromagnetic radiation such as 
hospitals, aircraft, and blasting sites. 
1.2.3  Radio Frequency Interference 
1.2.3.1  Part 15 
This device complies with Part 15 of the FCC Rules. Operation is subject to 
the following two conditions:  
1. This device may not cause harmful interference, and  
2. This device must accept any interference received, including interference 
that may cause undesired operation. 
1.2.3.2  Industry Canada 
This device complies with Industry Canada license-exempt RSS standard(s). 
Operation is subject to the following two conditions: (1) this device may not 
cause interference, and (2) this device must accept any interference, including 
interference that may cause undesired operation of the device. 
1.3  OPERATING TIPS 
Antenna location and condition are important when operating a portable radio. 
Operating the radio in low lying areas or terrain, under power lines or bridges, 
inside of a vehicle or in a metal framed building can severely reduce the range 
of the unit. Mountains can also reduce the range of the unit.  
In areas where transmission or reception is poor, some improvement may be 
obtained by ensuring the antenna is vertical. Moving a few yards in another 
direction or moving to a higher elevation may also improve communications. 
Vehicular  operation  can  be  aided  with  the  use  of  an  externally  mounted 
antenna.  
Battery condition is another important factor in the trouble free operation of a 
portable radio. Always properly charge the batteries.  

8  14221-1450-2010 
1.3.1  Efficient Radio Operation 
Keep  the  antenna  in  a  vertical  position  when  receiving  or  transmitting  a 
message.  
Do NOT hold onto the antenna when the radio is powered 
on. 
1.3.2  Antenna Care and Replacement 
Always keep the antenna at least 1.6 cm (0.63 inches) from 
the body and at least 2.5 cm (1.00 inch) from the face when 
transmitting  to  ensure  FCC  RF  exposure  compliance 
requirements are not exceeded. 
Do not use the portable radio with a damaged or  missing 
antenna.  A  minor  burn  may  result  if  skin  comes  into 
contact  with  a  damaged  antenna.  Replace  a  damaged 
antenna immediately. Operating a portable radio with the 
antenna  missing could cause  personal injury, damage the 
radio, and may violate FCC regulations. 
Use  only  supplied  or  approved  antennas.  Use  of 
unauthorized  antennas,  modifications,  or  attachments 
could cause damage to the radio unit and may violate FCC 
regulations. 
1.3.3  Electronic Devices 
RF  energy  from  portable  radios  may  affect  some  electronic 
equipment.  Most  modern  electronic  equipment  in  cars, 
hospitals, homes, etc. are shielded from RF energy. However, 
in areas in which you are instructed to turn off two-way radio 
equipment, always observe the rules. If in doubt, turn it off! 
1.3.4  Aircraft 
Always  turn  off  a  portable  radio  before  boarding  any 
aircraft! 
 Use it on the ground only with crew permission. 
 DO NOT use while in-flight!! 
WARNING
WARNING
WARNING
WARNING
CAUTION
WARNING

14221-1450-2010 9 
1.3.5  Electric Blasting Caps  
To prevent accidental detonation of electric blasting caps, 
DO NOT use two-way radios within 1000 feet of blasting 
operations. Always obey the "Turn Off Two-Way Radios" 
signs posted where  electric blasting caps  are being used. 
(OSHA Standard: 1926.900) 
1.3.6  Potentially Explosive Atmospheres 
Areas  with  potentially  explosive  atmospheres  are  often, 
but  not  always,  clearly  marked.  These  may  be  fuelling 
areas,  such  as  gas  stations,  fuel  or  chemical  transfer  or 
storage  facilities,  and  areas  where  the  air  contains 
chemicals  or  particles,  such  as  grain,  dust,  or  metal 
powders. 
Sparks  in  such  areas  could  cause  an  explosion  or  fire 
resulting in bodily injury or even death. 
Turn  OFF  two-way  radios  when  in  any  area  with  a 
potentially  explosive  atmosphere.  It  is  rare,  but  not 
impossible  that  a  radio  or  its  accessories  could  generate 
sparks. 
WARNING
WARNING

10  14221-1450-2010 
2.  RENSEIGNEMENTS SUR LA 
RÉGLEMENTATION ET SÉCURITÉ 
2.1  CONVENTIONS SUR LES SYMBOLES DE 
SÉCURITÉ 
Les conventions suivantes sont utilisées dans le présent manuel pour avertir 
l’utilisateur  des  précautions  générales  de  sécurité  qui  doivent  être  observées 
pendant  toutes  les  phases  d’opération,  d’entretien  et  de  réparation  de  ce 
produit.  Le  non-respect  de  ces  précautions  ou  d’avertissements  précisés 
ailleurs enfreint les normes de sécurité de la conception, de la fabrication et de 
l’utilisation prévue du produit. Harris n’assume aucune responsabilité pour le 
non-respect de ces normes par le client. 
MISE EN GARDE
Le  symbole  MISE  EN  GARDE  attire  l’attention  sur  une 
procédure  ou  une  pratique  qui,  si  elle  n’est  pas 
correctement  effectuée  ou  observée,  pourrait  entraîner 
une blessure personnelle. Ne pas poursuivre au-delà d’un 
symbole  de  MISE  EN  GARDE  avant  que  les  conditions 
identifiées soient complètement comprises ou satisfaites. 
AVERTISSEMENT
Le  symbole  AVERTISSEMENT  attire  l’attention  sur  une 
procédure ou une pratique opérationnelle qui, si elle n’est pas 
correctement effectuée ou observée, pourrait entraîner un bris 
d’équipement  ou  une  importante  baisse  de  rendement  de 
l’équipement. 
REMARQUE
Le  symbole  REMARQUE attire  l’attention  sur  des 
renseignements  supplémentaires  qui  peuvent  améliorer  le 
rendement  du  système  ou  clarifier  un  processus  ou  une 
procédure. 

14221-1450-2010 11 
2.2  RENSEIGNEMENTS SUR LA FORMATION SUR 
LA SÉCURITÉ 
MISE EN GARDE
La  radio  portative  Harris XG-15P  produit  de  l’énergie 
électromagnétique  des  RF  lorsqu’en  mode  de 
transmission.  Cette  radio  est  conçue  et  classée  pour  une 
« Utilisation  professionnelle  seulement »,  ce  qui  signifie 
qu’elle ne doit être utilisée que dans le cadre d’un emploi 
par des individus conscients des risques et des moyens de 
limiter ceux-ci. Cette radio N’EST PAS conçue pour une 
utilisation  par  la  « Population  générale »  dans  un 
environnement non contrôlé. 
La  radio  portative XG-15P  a  été  testée  et  est  conforme  aux  limites 
d’exposition  aux  RF  de  la  FCC  pour  une  « Utilisation  professionnelle 
seulement ». De plus, cette radio Harris est conforme aux normes et directives 
suivantes  quant  à  l’énergie  des  RF  et  aux  niveaux  d’énergie 
électromagnétique,  ainsi  qu’à  l’évaluation  de  ces  niveaux  pour  l’exposition 
aux humains : 
 Bulletin 65 du OET de la FCC, édition 97-01, supplément C, portant sur 
l’évaluation  de  la  conformité  aux  directives  de  la  FCC  quant  à 
l’exposition  humaine  aux  champs  électromagnétiques  des 
radiofréquences. 
 American National Standards Institute (C95.1 – 1992), norme de l’IEEE 
sur  les  niveaux  sécuritaires  d’exposition  humaine  aux  champs 
électromagnétiques des radiofréquences, 3 kHz à 300 GHz. 
 American  National  Standards  Institute  (C95.3  –  1992),  pratique 
recommandée par l’IEEE pour la mesure des champs électromagnétiques 
potentiellement dangereux – RF et micro-ondes. 
 IC  la  norme  RSS-102,  Numéro  4,  2010:  Gestion  du  spectre  et 
télécommunications  normes  radioélectriques.  L'exposition  aux 
radiofréquences Conformité des appareils de radiocommunication (toutes 
bandes de fréquences). 
2.2.1  Directives sur l’exposition aux RF 
AVERTISSEMENT
Pour  s’assurer  que  l’exposition  à l’énergie  électromagnétique 
des  RF  se  situe  dans  les  limites  acceptables  de  la  FCC  pour 
l’utilisation  professionnelle,  respectez  toujours  les  directives 
suivantes : 
 N’utilisez PAS la radio sans qu’une antenne appropriée y soit connectée, 
car ceci peut endommager la radio et également causer un dépassement 

12  14221-1450-2010 
des limites d’exposition aux RF de la FCC. Une antenne appropriée est 
celle fournie par Harris avec cette radio, ou une antenne spécifiquement 
autorisée par Harris pour être utilisée avec cette radio.  
 Ne transmettez PAS pendant plus de 50 % de la durée d’utilisation totale 
de la radio (« cycle de service de 50 % »). La transmission pendant plus 
de  50 %  du  temps  peut  causer  un  dépassement  des  exigences  de 
conformité de la FCC en matière d’exposition aux RF. La radio transmet 
lorsque  l’indicateur  « TX »  apparaît  sur  l’affichage.  La  radio  transmet 
lorsqu’on appuie sur le bouton « PTT » (bouton de microphone). 
 Transmettez TOUJOURS en basse puissance lorsque possible. En plus de 
préserver la charge de la pile, une faible puissance réduit l’exposition aux 
RF. 
 Utilisez  TOUJOURS  des  accessoires  autorisés  Harris  (antennes,  piles, 
pinces de ceinture, haut-parleurs/micros, etc.). L’utilisation d’accessoires 
non autorisés peut entraîner un dépassement des exigences de conformité 
pour  une  exposition  aux  RF  professionnelle  ou  contrôlée  de  la  FCC. 
(Reportez-vous à Tableau 2-1.) 
 Tel qu’indiqué dans Tableau 2-1, conservez TOUJOURS l’appareil et son 
antenne à AU MOINS 1,4 cm du corps, et à au moins 2,5 cm du visage 
pendant  la  transmission,  pour  vous  assurer  de  ne  pas  dépasser  les 
exigences  de  conformité  de  la  FCC  en  matière  d’exposition  aux  RF. 
Cependant, pour offrir la meilleure qualité sonore aux auditeurs de votre 
transmission, Harris recommande de tenir le microphone à au moins 5 cm 
(2 po) de votre bouche et légèrement déplacé sur un côté. 
Tableau 2-1: Distances de test de conformité des expositions aux RF 
RADIOFRÉQUENCES 
(MHz) 
DISTANCES TESTÉES 
(pire des scénarios) 
Corps2 
Visage 
700/800 MHz 
(768.0125 - 775.9875) 
(798.0125 - 804.9875) 
(806.0125  - 815.09875) 
(851.0125 - 860.9875) 
1,4 cm 
2,5 cm 
Dans  cette  section  figurent  les  renseignements  nécessaires  pour  sensibiliser 
l’utilisateur à l’exposition aux RF et sur ce qu’il faut faire pour s’assurer que 
cette radio fonctionne dans les limites d’exposition aux RF de la FCC. 
2 Ce est le pire des cas basée sur le corps plus mince monter accessoire (clip ceinture). 

14221-1450-2010 13 
2.2.2  Interférence/Compatibilité Électromagnétique 
Pendant les transmissions, cette radio Harris produit de l’énergie des RF qui 
peut causer de l’interférence avec d’autres appareils ou systèmes. Pour éviter 
de telles interférences, fermez la radio dans les zones où il est indiqué de le 
faire. N’utilisez PAS le transmetteur dans des zones sensibles aux radiations 
électromagnétiques, comme les hôpitaux, les avions et les sites de détonation. 
2.3  INTERFÉRENCE DES RADIOFRÉQUENCES 
2.3.1  Partie 15 de la FCC 
Cet appareil est conforme à la Partie 15 de la réglementation de la FCC. Le 
fonctionnement est soumis aux deux conditions suivantes : 
1. Cet appareil ne doit pas causer une interférence nuisible; et 
2. Cet  appareil  doit  accepter  toute  interférence  reçue,  y  compris  une 
interférence qui peut causer un fonctionnement non souhaité. 
2.3.2  Industrie Canada 
Le présent appareil est conforme aux CNR d'Industrie Canada applicables aux 
appareils  radio  exempts  de  licence.  L'exploitation  est  autorisée  aux  deux 
conditions suivantes : (1) l'appareil ne doit pas produire de brouillage, et (2) 
l'utilisateur  de  l'appareil  doit  accepter  tout  brouillage  radioélectrique  subi, 
même si le brouillage est susceptible d'en compromettre le fonctionnement. 
2.4  CONSEILS D’UTILISATION 
L’emplacement et l’état de l’antenne sont importants pour l’utilisation d’une 
radio  portative.  L’utilisation  de la  radio dans des  zones  de faible  élévation, 
sous des lignes électriques ou des ponts, à l’intérieur d’un véhicule ou dans un 
immeuble  à  ossature  métallique,  peut  réduire  la  portée  de  l’appareil  de 
manière considérable. Les montagnes peuvent également réduire la portée de 
l’unité.  
Dans les zones où la transmission ou la réception est insatisfaisante, certaines 
améliorations peuvent être obtenues en s’assurant que l’antenne est verticale. 
Se déplacer de quelques mètres dans une autre direction ou à un emplacement 
plus élevé peut également améliorer les communications. L’utilisation d’une 
antenne fixée à l’extérieur peut faciliter le fonctionnement dans un véhicule.  
L’état  de  la pile  est un autre  facteur important d’une  utilisation  sans  tracas 
d’une radio portative. Chargez toujours correctement la pile.  
2.4.1  Utilisation Efficace de la Radio 
Gardez  l’antenne  dans  une  position  verticale  pendant  la  réception  ou  la 
transmission d’un message.  

14  14221-1450-2010 
MISE EN GARDE
Ne tenez PAS l’antenne lorsque la radio est allumée! 
2.4.1.1  Entretien Et Remplacement De L’antenne 
MISE EN GARDE
N’utilisez  pas  la  radio  portative  si  son  antenne  est 
endommagée  ou  absente.  Une  brûlure  légère  peut  se 
produire  au  contact  d’une  antenne  endommagée  avec  la 
peau.  Remplacez  immédiatement  une  antenne 
endommagée. L’utilisation d’une radio portative alors que 
l’antenne  est  absente  peut  causer  des  blessures, 
endommager  la  radio  et  pourrait  enfreindre  la 
réglementation de la FCC. 
AVERTISSEMENT
Utilisez seulement l’antenne fournie ou une antenne approuvée. 
Des antennes non autorisées, des modifications ou des ajouts à 
une  antenne  peuvent  endommager  la  radio  et  enfreindre  la 
réglementation de la FCC.  
2.4.1.2  Appareils Électroniques 
AVERTISSEMENT
L’énergie des RF provenant de radios portatives peut affecter 
certains  appareils  électroniques.  La  majorité  de  l’équipement 
électronique  moderne  dans  les  voitures,  les  hôpitaux,  les 
maisons,  etc.  est  blindé  contre  l’énergie  des  RF.  Cependant, 
dans les zones où l’on vous demande de fermer l’équipement 
de radio bidirectionnelle, respectez toujours les règles. En cas 
de doute, éteignez-le! 
2.4.1.3  Avion 
MISE EN GARDE
 Éteignez  toujours  une  radio  portative  avant 
d’embarquer à bord d’un avion! 
 Ne l’utilisez au sol qu’avec la permission de l’équipage. 
 NE l’utilisez PAS durant le vol! 

14221-1450-2010 15 
2.4.1.4  Détonateurs Électriques  
MISE EN GARDE
Pour  prévenir  la  détonation  accidentelle  des  détonateurs 
électriques,  n’utilisez  PAS  de  radios  bidirectionnelles  à 
moins  de  305 m  (1 000 pi)  des  opérations  de  détonation. 
Respectez  toujours  les  indications  « Éteindre  les  radios 
bidirectionnelles » situées là où des détonateurs électriques 
sont utilisés. (Norme OSHA : 1926.900) 
2.4.1.5  Atmosphère Potentiellement Explosive 
MISE EN GARDE
Les zones ayant une atmosphère potentiellement explosive 
sont  souvent,  mais  pas  toujours,  identifiées  clairement 
comme  telles.  Il  peut  s’agir  de  zones  d’alimentation  en 
carburant, comme les postes d’essence, les installations de 
stockage  ou  de  transfert  de  carburant  ou  de  produits 
chimiques,  ainsi  que  les  zones  dont  l’air  contient  des 
produits chimiques ou des  particules,  comme des  grains, 
de la poussière ou des poudres métalliques. 
Des étincelles dans de telles zones peuvent provoquer une 
explosion  ou  un  incendie,  causant  ainsi  des  blessures  ou 
même la mort. 
Éteignez les radios bidirectionnelles dans toute zone ayant 
une atmosphère potentiellement explosive. Il est rare, mais 
pas impossible qu’une radio ou ses accessoires produisent 
des étincelles. 
3.  OPTIONS AND ACCESSORIES 
A complete list of Options and Accessories approved for use with the XG-15P 
portable radio can be found online in the Operator’s Manual 14221-1450-2000 
at  www.pspc.harris.com.   Also reference  the Products  and Services  Catalog 
for  all  available  options  and  accessories,  including  those  items  that  do  not 
adversely affect the RF energy exposure. 
Always  use  Harris  authorized  accessories  (antennas, 
batteries, belt clips, speaker/mics, etc). Use of unauthorized 
accessories  may  cause  the  FCC  Occupational/Controlled 
Exposure RF compliance requirements to be exceeded. 
WARNING

16  14221-1450-2010 
Always  use  the  correct  options  and  accessories  (battery, 
antenna,  speaker/mic,  etc.)  for  the  radio.  Immersion  rated 
options  must  be  used  with  an  immersion  rated  radio. 
Intrinsically  safe  options must be  used  with intrinsically safe 
radios. 
4.  BATTERY PACKS 
The  XG-15P  portable  radio  use  rechargeable,  recyclable  Nickel  Metal 
Hydride (NiMH), Lithium-Ion (Li-Ion), or Lithium Polymer (Li-Poly) battery 
packs. Please follow the directions below to maximize the useful life of each 
type of battery pack. 
Do  not  disassemble  or  modify  Lithium  battery  packs.  
Lithium  battery  packs  are  equipped  with  built-in  safety 
and protection features.  Should these features be disabled 
or  tampered  with  in  any  way,  the  battery  pack  can  leak 
electrolyte, overheat, emit smoke, burst, and/or ignite. 
If  the  battery  pack  is  ruptured  or  is  leaking  electrolyte 
that  results  in  skin  or  eye  contact  with  the  electrolyte, 
immediately  flush  the  affected  area  with  water.  If  the 
battery electrolyte gets in the eyes, flush with water for 15 
minutes and consult a physician immediately. 
Always  use Harris  authorized  chargers and  conditioners.  Use 
of  unauthorized  chargers  and  conditioners  may  void  the 
warranty. 
4.1  CONDITIONING NIMH BATTERY PACKS 
Condition a new NiMH battery pack before putting into use. This also applies 
to  rechargeable NiMH battery  packs that have  been stored for  long periods 
(weeks,  months,  or  longer).  Conditioning  requires  fully  charging  and  fully 
discharging the  battery pack  three (3) times using the  tri-chemistry  charger.  
The first time the battery pack is put into the charger, this unit will condition 
Nickel-based  battery  packs  by  automatically  charging  and  discharging 
(cycling) the battery.  Refer to the appropriate charger manual for details. 
Failure to properly condition NiMH battery packs before initial 
use will result in shortened performance by the battery. 
CAUTION
WARNING
WARNING
CAUTION
CAUTION

14221-1450-2010 17 
4.2  CONDITIONING LI-ION OR LI-POLY PACKS 
Lithium battery packs  do not  suffer from memory effect and do  not require 
conditioning.   
4.3  STORING LI-ION BATTERY PACKS 
If  a  battery  pack  is  expected  to  be  idle  for  a  month  or  more,  it  should  be 
properly prepared.  Li-Ion battery packs should  not be stored fully charged.  
Before storing the battery pack, discharge it to 40% capacity.  If the battery is 
not discharged prior to storage, its overall capacity may be reduced.  Although 
all battery packs experience some capacity loss during storage, the shelf life 
for Li-Ion battery packs is about 3 months.  However, note that any capacity 
drop which occurs during storage is permanent and cannot be reversed. Li-Ion 
battery packs should be purchased and used immediately.  They should not be 
stock-piled without a rotating stock plan.  
4.4  ADDITIONAL INFORMATION 
For more information regarding the proper care of portable radio battery packs 
or establishing a battery maintenance program, refer to ECR-7367 which may 
be  ordered  by  calling  toll  free  1-800-368-3277  (international  -  1-434-455-
6403) or via https://premier.pspc.harris.com/infocenter/. 
4.5  BATTERY DISPOSAL 
In no instance should a battery pack be incinerated.  Disposing 
of a battery pack by burning will cause an explosion. 
RECHARGEABLE BATTERY PACK DISPOSAL – The 
product you have purchased contains a rechargeable battery 
pack.  The battery pack is recyclable.  At the end of its useful 
life, under various state and local laws, it may be illegal to 
dispose of this battery pack into the municipal waste stream.  
Check with your local solid waste officials for details in your 
area for recycling options or proper disposal.  Canadian and 
U.S.  users  may  call  Toll  Free  1-800-8-BATTERY®  for 
information  and/or  procedures  for  returning  rechargeable 
batteries in your locality. 
CAUTION

18  14221-1450-2010 
5.  IMMERSIBLE XG-15P PREVENTIVE 
MAINTENANCE 
Preventive Maintenance for Immersion-Rated Radios 
CAUTION
XG-15P model radios with Immersion Option must be serviced 
by  a  service  center  authorized  and  certified  by  Harris  to 
perform  the  necessary  tests  to  verify  watertight  integrity.  As 
part  of  a  thorough  preventive  maintenance  plan,  Harris 
recommends  Immersion-Rated  XG-15P  portable  radios,  at  a 
minimum, be tested and re-certified on an annual basis. Harris 
further recommends that the radios be tested on or close to the 
anniversary of the ship date printed on the Model Number label 
on the back of the radio. 
6.  TECHNICAL ASSISTANCE 
The  Technical  Assistance  Center's  (TAC’s)  resources  are  available  to  help 
with  overall  system  operation,  maintenance,  upgrades  and  product  support.  
TAC is your point of contact when answers are needed to technical questions. 
Product  specialists,  with  detailed  knowledge  of  product  operation, 
maintenance,  and  repair,  provide  technical  support  via  a  toll-free  (in North 
America) telephone number.  Support is also available through mail, fax and 
e-mail.    For  more  information  about  technical  assistance  services,  contact 
your sales representative, or call the Technical Assistance Center directly at:  
North America:  1-800-528-7711 
International:   1-434-385-2400 
Fax:  1-434-455-6712 
E-mail:      PSPC_tac@harris.com 

14221-1450-2010 19 
7.  WARRANTY 
Please register this product within 10 days of purchase.  Registration validates 
the warranty coverage, and enables Harris to contact you in case of any safety 
notifications issued for this product. 
Registration can be made on-line at the Customer Care center webpage: 
http://www.pspc.harris.com/Service/Customerservice.aspx. 
While  on  the  webpage, please  review  the applicable  battery  and/or  product 
warranty literature. 

Public Safety and Professional Communications 
221 Jefferson Ridge Parkway  |  Lynchburg, VA USA 24501  
www.pspc.harris.com | 1-800-528-7711