HP GE 6989.bk Jet Direct 400N Druckserver Hardware Installationshandbuch 5969 3590 Bpj05745
User Manual: HP HP JetDirect 400N-Druckserver - Hardware-Installationshandbuch - 5969-3590
Open the PDF directly: View PDF
.
Page Count: 102 [warning: Documents this large are best viewed by clicking the View PDF Link!]
- Die HP JetDirect Druckserver-Karte
- Installation der HP JetDirect Druckserver-Karte
- Konfigurieren der HP JetDirect-Karte über das Bedienfeld des Druckers
- Einleitung
- Aktivieren und Deaktivieren von Netzwerkprotokollen
- Konfigurieren der Novell NetWare- Rahmentypen
- Konfigurieren der Novell NetWare- Ursprungs-Routing-Parameter (nur bei Token Ring-Karten)
- Konfigurieren der TCP/IP-Parameter
- Konfigurieren der Apple EtherTalk- Phasenparameter (nur für Ethernet- Karten)
- Konfigurieren des Zeitlimits für die Erkennung des Jobendes
- Bedienfeld der Serie HP 2500C/CM Professional und DesignJet ColorPro GA
- Einleitung
- Konfigurieren der HPJetDirect Kartenüber das Bedienfeld von Großformatdruckern
- Spezifikationen und Bestimmungen
- HP J4100A 10/100 Base-TX-Druckserver

HP JetDirect 400N
Hardware-
Installationshandbuch
Für HP-Drucker
mit MIO-Steckplätzen
HP JetDirect Print Servers

Hardware-
Installationshandbuch
HP JetDirect 400N Druckserver

2
© Copyright
Hewlett-Packard Company, 2000.
Alle Rechte vorbehalten.
Jede Reproduktion, Adaptation oder
Übersetzung ohne vorherige schriftliche
Genehmigung ist untersagt, bis auf die im
Urheberrecht vorgesehenen Ausnahmen.
Handbuch-Teilenummer
5969-3590
1. Ausgabe, Februar 2000
Gültig für folgende Produkte:
HP J4100A
HP J4105A
HP J4106A
Warenzeichen
Microsoft®, MS-DOS®, Windows
und Microsoft Windows NT sind
Warenzeichen oder in den USA
eingetragene Warenzeichen der Microsoft
Corporation. Netware® und Novell® sind
eingetragene Warenzeichen der Novell
Corporation. IBM®, IBM LAN Server®,
Operating System/2® sind eingetragene
Warenzeichen der International
Business Machines Corp. UNIX® ist ein
eingetragenes Warenzeichen der Open
Group. PostScript® ist ein Warenzeichen
von Adobe Systems Incorporated.
Haftungsausschluß
Änderungen der in dieser Dokumentation
enthaltenen Informationen ohne vorherige
Ankündigung sind vorbehalten. Hewlett-
Packard übernimmt keinerlei
Garantie für die Darstellungen in
dieser Dokumentation. Dies gilt auch
für die stillschweigende Garantie der
Marktgängigkeit und Tauglichkeit für
einen bestimmten Zweck. Hewlett-
Packard übernimmt keine Haftung für
enthaltene Fehler und auch nicht für
Nebenkosten oder Folgeschäden, die im
Zusammenhang mit der Lieferung, Qualität
oder Nutzung dieses Dokuments stehen.
Kundenunterstützung:
Um Unterstützung anzufordern,
besuchen Sie den HP-Online-
Kundendienst unter:
www.hp.com/support/net_printing
oder wenden Sie sich an den telefonischen
HP-Kundendienst, der in der mit dem
Produkt gelieferten Kurzanleitung
beschrieben wird.
Gewährleistung und Service:
Informationen zur Gewährleistung und zu
den geleisteten Services enthält die mit
diesem Produkt gelieferte Kurzanleitung.
Eine Kopie der spezifischen
Gewährleistungsbedingungen
hinsichtlich Ihres HP Produkts und
der Ersatzteile erhalten Sie vom HP
Verkaufs- und Kundendienstbüro oder
einem autorisierten Händler.
Sicherheitsvorschriften
Vor der Installation und dem Gebrauch
dieses Produkts müssen Sie sich mit allen
Sicherheitsmarkierungen und
Anweisungen vertraut machen.
Sicherheitssymbole:
Handbuch-Symbol. Ist das
Produkt mit diesem Symbol
gekennzeichnet, schlagen Sie
in den entsprechenden
Produkthandbüchern nach, wo
Sie Informationen zum Schutz
des Produkts vor Schäden finden.
WARNUNGSymbol für
Verletzungsgefahr
ACHTUNGSymbol für Gefahren, die zu
Schäden am Gerät oder zu Datenverlust
führen können.
Fahren Sie bei einem WARNUNG- oder
ACHTUNG-Symbol erst dann fort, wenn
Sie verstanden haben, welche Gefahren in
der betreffenden Situation gegeben sind,
und entsprechende Vorsichtsmaßnahmen
getroffen haben.
Erdung:
Dieses Produkt ist in einem Produkt der
Sicherheitsklasse 1 installiert, das mit
einem Schutzerdungsanschluß ausge-
stattet ist. Die Hauptstromversorgung
muß mit einer nicht unterbrechbaren
Schutzerdung für die Kabelanschlüsse,
das Netzkabel oder den bereitgestellten
Netzkabelsatz ausgestattet sein. Sollte
der Verdacht bestehen, daß diese Schutz-
vorrichtung beschädigt ist, muß das Netz-
kabel herausgezogen werden, bis der
Schaden behoben ist.
Servicearbeiten:
Service-, Einstellungs-, Wartungs- oder
Reparaturarbeiten an diesem Produkt
dürfen nur von qualifiziertem und
autorisiertem Fachpersonal durchgeführt
werden.
Hewlett-Packard
8000 Foothills Boulevard
Roseville, California
95747-6588 USA
!

Kurzinstallation 5
HP JetDirect Druckserver
HP J4100A für Fast
Ethernet- und IEEE 802.3u-
(10/100Base-TX, 10Base2)
Netzwerke. Ein RJ-45-
Anschluß unterstützt
Netzwerkverbindungen mit
10/100 Mbps über nicht
abgeschirmte verdrillte
Doppelleitungen. (Verwenden
Sie für 100Base-TX-Netzwerke
ein Kabel der Kategorie 5.) Der
BNC-Anschluß unterstützt
einen Betrieb mit 10 Mbps via
dünne Koaxkabel.
HP J4105A für Token Ring-
(IEEE 802.5-) Netzwerke kann
für eine Betriebsgeschwindigkeit
von 4 oder 16 Mbps konfiguriert
werden. Ein RJ-45-Anschluß
unterstützt Netzwerkverbin-
dungen über abgeschirmte
verdrillte Doppelleitungen.
Ein DB9-Anschluß unterstützt
abgeschirmte verdrillte
Doppelleitungen des Typs 1,
2oder 6.
HP J4106A für Ethernet/IEEE
802.3-Netzwerke (10Base-T)
mit einer Betriebsgeschwindig-
keit von 10 Mbps. Ein RJ-45-
Anschluß unterstützt
Netzwerkverbindungen über
nicht abgeschirmte verdrillte
Doppelleitungen.
HP J4100A
10/100TX Verbindungsschalter
(siehe Anhang B)
HP J4105A
Token Ring
Datenraten-Schalter
HP J4106A

6 Kurzinstallation
Kurzinstallation
HINWEIS Genauere Informationen finden Sie in Kapitel 2.
1. Wenn Sie eine Token Ring-Karte haben,
Stellen Sie den Datenraten-
Schalter für das Netzwerk je
nach Netzwerk auf 16 Mbps
(Standard) oder 4 Mbps ein.
Die Netzwerkdatenrate
erfahren Sie von Ihrem
Netzwerkadministrator.
2. Vergewissern Sie sich vor dem Installieren der Karte,
daß der Drucker funktioniert. Drucken Sie eine Testseite
oder Konfigurationsgrafik aus. (Anweisungen hierzu finden
Sie in Kapitel 2 oder im Handbuch des Druckers.)
3. Schalten Sie den Drucker aus, und schieben Sie die
Karte ein.
Schließen Sie jetzt die
Netzwerkkabel an.
(Siehe nächste Seite.)
16 Mbps
4
Mb
ps
Token Ring-Datenraten-Schalter

Kurzinstallation 7
4. Vergewissern Sie sich, daß die Karte ordnungsgemäß
installiert ist.
Drucken Sie eine weitere
Testseite (oder Konfigurations-
grafik) aus, und vergewissern
Sie sich, daß die Meldung
„E/A KARTE BEREIT“
erscheint.
Die Position der Meldung
„E/A KARTE BEREIT“ auf
der Testseite hängt vom
Druckermodell ab.
HINWEIS Falls andere Meldungen erscheinen, lesen Sie die
Abschnitte zur Fehlerbehebung im HP JetDirect
Druckserver-Administrator-Handbuch..
Besondere Informationen zur Fehlersuche beim
HP J4100A (10/100Base-TX) finden Sie in
Anhang B dieses Handbuchs.
5. Konfigurieren Sie die Karte für den Netzwerkbetrieb.
In den meisten Fällen
verwenden Sie hierzu die
HP JetDirect-Software auf
der CD-ROM. Bei manchen
Druckern können Sie
grundlegende Netzwerk-
parameter auch über das
Bedienfeld des Druckers
konfigurieren. Siehe Kapitel 3
(HP LaserJet-Drucker und
Drucker der Serie
Professional und DesignJet
ColorPro GA) oder Kapitel 4
(HP DesignJet-
Großformatdrucker).
Position der Meldung „E/A-KARTE
BEREIT“ auf der Testseite

8 Kurzinstallation

9
Inhaltsverzeichnis
1 Die HP JetDirect Druckserver-Karte
Einleitung . . . . . . . . . . . . . . . . . . . . . . . . . . . . . . . . . . . . . . . 1-1
Überblick über die HP JetDirect Druckserver-Karten . . . . 1-2
Unterstützte Netzwerke . . . . . . . . . . . . . . . . . . . . . . . . . . . . 1-3
Für die Installation wird folgendes benötigt: . . . . . . . . . . . 1-4
2 Installation der HP JetDirect Druckserver-
Karte
Schritt 1. Einstellen des Datenraten-Schalters für die Token
Ring-Karte (sofern erforderlich) . . . . . . . . . . . . . . . . . . . . 2-1
Schritt 2. Überprüfen des Druckbetriebs vor
der Installation der Karte . . . . . . . . . . . . . . . . . . . . . . . . . 2-2
Schritt 3. Installieren der HP JetDirect
Druckserver-Karte im Drucker . . . . . . . . . . . . . . . . . . . . 2-13
Schritt 4. Überprüfen der Karteninstallation . . . . . . . . . . 2-32
Der nächste Schritt . . . . . . . . . . . . . . . . . . . . . . . . . . . . . . . 2-34
3 Konfigurieren der HP JetDirect-Karte über
das Bedienfeld des Druckers
Einleitung . . . . . . . . . . . . . . . . . . . . . . . . . . . . . . . . . . . . . . . 3-1
Aktivieren und Deaktivieren von Netzwerkprotokollen . . . 3-2
Konfigurieren der Novell NetWare-Rahmentypen . . . . . . . 3-5
Konfigurieren der Novell NetWare-Ursprungs-Routing-
Parameter (nur bei Token Ring-Karten) . . . . . . . . . . . . . . 3-8
Konfigurieren der TCP/IP-Parameter . . . . . . . . . . . . . . . . 3-10
Konfigurieren der Apple EtherTalk-Phasenparameter
(nur für Ethernet-Karten) . . . . . . . . . . . . . . . . . . . . . . . . 3-14
Konfigurieren des Zeitlimits für
die Erkennung des Jobendes . . . . . . . . . . . . . . . . . . . . . . 3-16
Bedienfeld der Serie HP 2500C/CM Professional und
DesignJet ColorPro GA . . . . . . . . . . . . . . . . . . . . . . . . . . 3-17

10
4 Konfigurieren der HP JetDirect Karten über
das Bedienfeld von Großformatdruckern
Einleitung . . . . . . . . . . . . . . . . . . . . . . . . . . . . . . . . . . . . . . . 4-1
Unterstützte Netzwerkprotokolle . . . . . . . . . . . . . . . . . . . . . 4-2
Konfigurieren der Novell NetWare-Rahmentypen . . . . . . . 4-7
Konfigurieren der TCP/IP-Parameter . . . . . . . . . . . . . . . . 4-12
Konfigurieren der Apple EtherTalk-Phasenparameter
(nur für Ethernet-Karten) . . . . . . . . . . . . . . . . . . . . . . . . 4-16
Konfigurieren des Zeitlimits für die Erkennung
des Jobendes beim HP DesignJet der Serie 600 . . . . . . . 4-18
A Spezifikationen und Bestimmungen
B HP J4100A 10/100 Base-TX-Druckserver
Unterstützte Verbindungen . . . . . . . . . . . . . . . . . . . . . . . . .B-1
LEDs für die Verbindungsgeschwindigkeit . . . . . . . . . . . . .B-1
Einstellungen des Verbindungs-Konfigurationsschalters .B-2
Fehlerbehebung bei den Verbindungen . . . . . . . . . . . . . . . .B-3

Die HP JetDirect Druckserver-Karte 1-1
1
1
Die HP JetDirect Druckserver-Karte
Einleitung
Der HP JetDirect Druckserver ist eine Karte, die im modularen
E/A-Steckplatz (MEA) eines Druckers installiert wird, und über die
der Drucker anstatt an einen einzelnen PC direkt an ein Netzwerk
angeschlossen werden kann. Wenn Sie einen HP JetDirect Druck-
server verwenden, können Sie den Drucker zur Benutzung für
mehrere Clients an einer beliebigen Stelle im Netzwerk aufstellen.
Die HP JetDirect-Druckserverkarte muß zuerst in den Drucker
installiert und dann für den Netzwerkbetrieb konfiguriert werden.
Sie können den Druckserver entweder mit Hilfe der HP JetDirect-
Software oder bei bestimmten Druckern* über das Bedienfeld des
Druckers konfigurieren.
Dieses Handbuch beschreibt die Hardware-Installation für die
folgenden Drucker:
•HP Farbdrucker LaserJet* und LaserJet der Serie 5* (5 und 5M)
•HP LaserJet der Serie 5Si* (5Si, 5Si MX, 5Si NX und 5Si Mopier)
•HP LaserJet der Serie 5* (5, 5M und 5N)
•HP LaserJet der Serie 4Si* (4Si und 4Si MX)
•HP LaserJet der Serie 4 Plus* (4 Plus und 4M Plus)
•HP LaserJet der Serie 4* (4 und 4M)
•HP LaserJet der Serie 4V* (4V und 4MV)
•Serie HP Professional* (2500C, 2500CM)
•HP DeskJet der Serie 1200C (1200C und 1200C/PS)
•HP DeskJet der Serie 1600C (1600C, 1600CM und 1600CN)
•HP CopyJet und CopyJet M Farbdrucker-Kopierer
•HP DesignJet Großformatdrucker der Serie 600* (600 und 650C)
•HP DesignJet Großformatdrucker der Serie 700* (700, 750C,
750C Plus und 755CM)
•HP DesignJet der Serie 2000CP, 2500CP, 3000CP, 3500CP*
•HP DesignJet ColorPro der Serie GA*
* Über das Bedienfeld können Sie bei diesen Druckern einige Netz-
werkparameter manuell konfigurieren (siehe Kapitel 3 und 4).
Wie das Drucken im Netzwerk unter Verwendung der
HP JetDirect-Software eingerichtet wird, ist der mit diesem
Produkt gelieferten HP JetDirect 400N Kurzanleitung zu
entnehmen.

1-2 Die HP JetDirect Druckserver-Karte
Überblick über die HP JetDirect
Druckserver-Karten
J4100A
J4105A
J4106A
Netzwerk-
typ
Unterstützte
Netzwerk-
anschlüsse
Ethernet,
IEEE 802.3
(10/100Base-
TX, 10Base2)
RJ-45 (verdrilltes
Doppelkabel, nicht
abgeschirmt)
BNC (dünnes
Ethernet-
Koaxkabel)
Netzwerk-
typ
Unterstützte
Netzwerk-
anschlüsse
Token Ring
(IEEE
802.5)
(4 oder
16 Mbps)
RJ-45 (verdrilltes
Doppelkabel, nicht
abgeschirmt),
DB 9 (abgeschirmtes
verdrilltes Doppel-
kabel, Typ 1, 2 oder 6)
Netzwerk-
typ
Unterstützte
Netzwerk-
anschlüsse
Ethernet/
IEEE 802.3
10Base-T
RJ-45 (verdrilltes
Doppelkabel, nicht
abgeschirmt)

Die HP JetDirect Druckserver-Karte 1-3
1
Unterstützte Netzwerke
Unterstützte
Netzwerk-
protokolle Unterstützte Netzwerke1
Verwendbare
Produkte
IPX/SPX und
andere damit
kompatible
Novell NetWare
Microsoft Windows 95/98/NT/2000
J4100A
J4105A
J4106A
EtherTalk AppleTalk J4100A
J4106A
DLC/LLC Microsoft Windows NT
Artisoft LANtastic2J4100A
J4105A
J4106A
TCP/IP Microsoft Windows 95/98 NT/2000
Novell NetWare 5 via NDPS
LPD
UNIX, einschließlich:
Hewlett-Packard HP-UX, Sun
Microsystems Solaris (nur für Sun
SPARCsystems), Linux
SCO UNIX2, IBM AIX2, HP MPE-IX2
J4100A
J4105A
J4106A
1 Wenden Sie sich für andere Netzwerke an Ihren Fachhändler oder
einen HP Vertragshändler.
2 Wenn Sie Software, Dokumentation und Unterstützung benötigen,
wenden Sie sich bitte an den Hersteller des Netzwerksystems.

1-4 Die HP JetDirect Druckserver-Karte
Für die Installation wird folgendes
benötigt:
•Der geeignete HP JetDirect Druckserver, die Dokumentation
und die Software.
•Eine vor elektrostatischer Aufladung geschützte Arbeits-
umgebung für die Handhabung der Karte. Ein Antistatik-
Armband o.ä. wird empfohlen.
•Geeignete Netzwerkkabel und Steckverbindungen für den
Anschluß der Karte an das Netzwerk.
•Ein kleiner Flachschraubenzieher. Wenn Sie die Karte im
oberen MEA-Steckplatz eines HP LaserJet 4Si/4SiMX
Druckers installieren wollen, benötigen Sie außerdem einen
kleinen Kreuzschraubenzieher.
HINWEIS Die HP JetDirect Karte enthält elektronische
Komponenten, die durch elektrostatische Aufladung
beschädigt werden können. Sie vermeiden solche
Schäden, indem Sie häufig die Metallflächen des
Druckers berühren. Ein Antistatik-Armband o.ä.
ist sehr zu empfehlen. Seien Sie beim Anfassen der
Karte vorsichtig. Vermeiden Sie das Berühren von
elektronischen Komponenten oder Schaltkreisen.

Installation der HP JetDirect Druckserver-Karte 2-1
2
2
Installation der HP JetDirect
Druckserver-Karte
Schritt 1. Einstellen des Datenraten-
Schalters für die Token Ring-Karte
(sofern erforderlich)
Vor Installation der Token Ring-Karte müssen Sie den Schalter
fürdie Datenübertragungsgeschwindigkeit (Datenrate) auf 4 oder
16 Mbps einstellen (werkseitige Standardeinstellung). Die ange-
messene Einstellung richtet sich nach der Datenübertragungs-
geschwindigkeit des Token Ring-Netzwerks.
1. Machen Sie den Datenraten-Schalter auf der Token
Ring-Druckserver-Karte ausfindig.
2. Stellen Sie den Schalter auf 4 oder 16 Mbps ein.
Hinweis: Wenn sich der Schalter in der OFFEN-
Position befindet, liegt eine 16 Mbps-Einstellung vor.
16 Mbps-Stellung
4 Mbps-Stellung

2-2 Installation der HP JetDirect Druckserver-Karte
Schritt 2. Überprüfen des Druckbetriebs
vor der Installation der Karte
Auf den folgenden Seiten finden Sie Anweisungen zum Drucken
einer Selbsttest-Seite oder Konfigurationsgrafik, um zu prüfen, ob
der Drucker einwandfrei arbeitet. Stellen Sie fest, auf welcher Seite
sich die Anweisungen für den entsprechenden Drucker befinden,
und befolgen Sie sie. Wenn die Selbsttest-Seite oder Konfigu-
rationsgrafik nicht ausgedruckt wird, sehen Sie bitte im Drucker-
handbuch nach, wie das Problem behoben werden kann.
HP LaserJet 5, 5M und 5N Drucker
1. Schalten Sie den Drucker ein.
2. Drücken Sie wiederholt auf [Menü], bis in der Anzeige TESTMENÜ
erscheint.
3. Drücken Sie wiederholt auf [Option], bis SELBSTTEST DRUCK
angezeigt wird.
4. Drücken Sie auf [Auswählen], um die Selbsttest-Seite
auszudrucken.
Bedienfeld für den HP LaserJet 5, 5M, 5N

Installation der HP JetDirect Druckserver-Karte 2-3
2
HP LaserJet 5Si, 5Si MX, 5Si NX und 5Si Mopier
Drucker
1. Schalten Sie den Drucker ein, und warten Sie, bis „Bereit“
angezeigt wird.
2. Drücken Sie wiederholt auf [Menüs], bis in der Anzeige
TESTMENÜ erscheint.
3. Drücken Sie auf [Optionen], bis PCL-KONFIGURATIONSSEITE
angezeigt wird.
4. Drücken Sie auf [Auswählen*], um die PCL-Konfigurationsseite
auszudrucken.
Bedienfeld für HP LaserJet-Drucker der Serie 5Si

2-4 Installation der HP JetDirect Druckserver-Karte
HP LaserJet und LaserJet 5/5M Farbdrucker
1. Schalten Sie den Drucker ein, und warten Sie, bis „Bereit“ ange-
zeigt wird.
2. Drücken Sie auf [Online], um den Drucker offline zu schalten
(die Online-LED erlischt).
3. Drücken Sie wiederholt auf [Menü], bis folgendes in der Anzeige
erscheint:
PCL-TESTMENÜ
PCL-SELBSTTEST
4. Drücken Sie dann auf [Eingabe]. Es wird daraufhin eine
Selbsttest-Seite ausgedruckt.
Bedienfeld für den HP LaserJet und
LaserJet 5/5M Farbdrucker

Installation der HP JetDirect Druckserver-Karte 2-5
2
HP LaserJet 4, 4M, 4 Plus und 4M Plus Drucker
1. Schalten Sie den Drucker ein, und warten Sie, bis die Bereit-
LED aufleuchtet.
2. Schalten Sie den Drucker offline, indem Sie auf [Online]
drücken, wodurch die Online-LED erlischt.
3. Drücken Sie wiederholt auf [Menü], bis TESTMENÜ in der Anzeige
erscheint.
4. Drücken Sie wiederholt auf [Option], bis SELBSTTEST angezeigt
wird.
5. Drücken Sie dann auf [Eingabe]. Es wird eine Selbsttest-Seite
ausgedruckt.
Bedienfeld für den HP LaserJet 4, 4M,
4 Plus und 4M Plus

2-6 Installation der HP JetDirect Druckserver-Karte
HP LaserJet 4Si und 4Si MX Drucker
1. Schalten Sie den Drucker ein, und warten Sie, bis die Bereit-
LED aufleuchtet.
2. Schalten Sie den Drucker offline, indem Sie auf [Online]
drücken, wodurch die Online-LED erlischt.
3. Drücken Sie wiederholt auf [Menü], bis in der Anzeige TESTMENÜ
erscheint.
4. Drücken Sie wiederholt auf [Option], bis SELBSTTEST angezeigt
wird.
5. Drücken Sie dann auf [Eingabe]. Daraufhin wird eine Selbsttest-
Seite ausgedruckt.
+
-
Bedienfeld für den HP LaserJet 4Si und 4Si MX

Installation der HP JetDirect Druckserver-Karte 2-7
2
HP LaserJet 4V und 4MV Drucker
1. Schalten Sie den Drucker ein, und warten Sie, bis die Bereit-
LED aufleuchtet.
2. Schalten Sie den Drucker offline, indem Sie auf die Taste
[Online] drücken, wodurch die Online-LED erlischt.
3. Drücken Sie wiederholt auf [Menü], bis in der Anzeige TESTMENÜ
erscheint.
4. Drücken Sie auf [Option]. Daraufhin wird SELBSTTEST
angezeigt.
5. Drücken Sie jetzt auf [Eingabe]. Es erscheint SELBSTTEST in der
Anzeige, gefolgt von DRUCKTEST, und eine Selbsttest-Seite wird
ausgedruckt.
+
Online
Bereit
Umschalten
Vorschub
Rücksetzen
Papierformat
Weiter
MenüOption
Eingabe
-
Bedienfeld für den HP LaserJet 4V und 4MV

2-8 Installation der HP JetDirect Druckserver-Karte
Farbdrucker der Serie HP 2500C/CM Professional
und HP DesignJet ColorPro GA Drucker
1. Schalten Sie den Drucker ein, und warten Sie, bis am
Bedienfeld READY angezeigt wird.
2. Drücken Sie auf [Menü], bis SELBSTTESTMENÜ erscheint.
3. Drücken Sie auf [Option], um DIAGNOSTIKSEITE DRUCKEN
anzuzeigen.
4. Drücken Sie auf [Auswählen]. Eine Diagnoseseite des Druckers
sowie eine HP JetDirect-Selbsttest-Seite werden ausgedruckt.
HP DeskJet 1600C, 1600CM und 1600CN Drucker
1. Schalten Sie den Drucker ein.
2. Drücken Sie auf die blaue Taste. Daraufhin wird eine
Selbsttest-Seite ausgedruckt.
READY Menü
Option
Wert
Auswählen
Bedienfeld für den HP DeskJet 1600C,
1600CM und 1600CN

Installation der HP JetDirect Druckserver-Karte 2-9
2
HP DeskJet 1200C und 1200 C/PS Drucker
1. Schalten Sie den Drucker ein, und warten Sie, bis die Bereit-
LED aufleuchtet.
2. Drücken Sie auf [Rücksetzen], um den Drucker offline zu
schalten (die Online-LED erlischt).
3. Halten Sie die Taste [Umschalten] gedrückt, und drücken Sie
dann auf [Test]. Daraufhin wird eine Selbsttest-Seite
ausgedruckt.
Bedienfeld für den HP DeskJet 1200C und
1200C/PS Drucker

2-10 Installation der HP JetDirect Druckserver-Karte
HP DesignJet Großformatdrucker der Serie 600
1. Schalten Sie den Drucker ein, und warten Sie, bis STATUS
Betriebsbereit angezeigt wird.
2. Drücken Sie auf [Eingabe]. Daraufhin wird VOLLE MENÜS und
Plotverwaltung → angezeigt.
3. Drücken Sie so oft auf ↓, bis VOLLE MENÜS und
Dienstprogramme in der Anzeige erscheint.
4. Drücken Sie erneut auf [Eingabe]. Daraufhin wird
DIENSTPROGRAMME <Menüoption>→ angezeigt.
5. Drücken Sie auf ↓, bis Konfigurationsgrafik erscheint.
6. Drücken Sie auf [Eingabe]. Es wird eine Konfigurationsgrafik
ausgedruckt.
Bedienfeld für den HP DesignJet Drucker der
Serie 600

Installation der HP JetDirect Druckserver-Karte 2-11
2
HP DesignJet 700, 750C, 750C Plus, 755CM,
2000CP, 2500CP, 3000CP, 3500CP
Großformatdrucker
Zum Drucken einer DesignJet Konfigurationsseite verfahren Sie
wie folgt:
1. Schalten sie den Drucker ein, und warten Sie, bis STATUS
Betriebsbereit in der Anzeige erscheint.
2. Drücken Sie gleichzeitig auf die beiden Pfeiltasten.
Zum Drucken einer Konfigurationsgrafik für JetDirect verfahren
Sie wie folgt:
1. Schalten sie den Drucker ein, und warten Sie, bis STATUS
Betriebsbereit in der Anzeige erscheint.
2. Drücken Sie auf [Eingabe]. Es erscheint VOLLE MENÜS.
3. Drücken Sie wiederholt auf ↓, bis VOLLE MENÜS und
Dienstprogramme in der Anzeige erscheint.
4. Drücken Sie auf [Eingabe], dann auf ↓ bis Service Config
erscheint.
5. Drücken Sie auf [Eingabe]. Es wird eine Konfigurationsgrafik
mit JetDirect Informationen ausgedruckt.
Bedienfeld für den HP DesignJet Drucker der
Serie 700/2000/2500/3000/3500

2-12 Installation der HP JetDirect Druckserver-Karte
HP CopyJet und CopyJet M Farbdrucker-
Kopierer
1. Schalten Sie den Drucker ein.
2. Drücken Sie auf die Taste [Test-Menü].
Daraufhin wird in der Bedienfeldanzeige
– = Testseite
+ = PCL-Schriften angezeigt.
3. Drücken Sie auf [-]. Es wird eine Testseite ausgedruckt.
Bedienfeld für den HP CopyJet und CopyJet M Drucker-Kopierer

Installation der HP JetDirect Druckserver-Karte 2-13
2
Schritt 3. Installieren der HP JetDirect
Druckserver-Karte im Drucker
Befolgen Sie die druckerspezifischen Installationsanweisungen für
die Karte. Vermeiden Sie Schäden durch elektrostatische Auf-
ladungen durch häufiges Berühren der Metallflächen des Druckers.
(Siehe „Für die Installation wird folgendes benötigt“ in Kapitel 1.)
Installation der Karte im HP LaserJet 4, 4M,
4 Plus, 4M Plus Drucker sowie im LaserJet und
LaserJet 5/5M Farbdrucker
1. Schalten Sie den Drucker aus, und ziehen Sie das Netzkabel
heraus.
2. Machen Sie den modularen E/A-Steckplatz (MEA) auf der
Rückseite des Druckers ausfindig (siehe entsprechende
Abbildung unten).
Komponenten müssen beim 4, 4M, 4 Plus oder
4M Plus nach rechts zeigen

2-14 Installation der HP JetDirect Druckserver-Karte
3. Wenn der Steckplatz mit einer Platte abgedeckt ist, muß sie
entfernt werden.
4. Schieben Sie die Karte ein. Richten Sie die Karte an den
Führungsschienen im Drucker aus.
5. Schieben Sie die Karte fest ein, bis sie einrastet. Ziehen Sie
dann die beiden Schrauben wechselseitig an, bis beide fest-
gezogen sind.
6. Schließen Sie das Netzwerkkabel an die Karte an.
7. Stecken Sie das Netzkabel ein, und schalten Sie dann den
Drucker ein.
HINWEIS Die HP J4100A JetDirect-Karte (RJ-45 und BNC)
kann mit einem der Ethernet-Anschlüsse
verbunden werden (es ist immer nur ein Ethernet-
Anschluß aktiv).
Die HP J4105A JetDirect-Karte (RJ-45 und DB9)
kann nur mit einem Token Ring-Anschluß
verbunden werden.
Komponenten müssen bei den LaserJet
Farbdruckern (inkl. 5/5M) nach links zeigen

Installation der HP JetDirect Druckserver-Karte 2-15
2
Installation der Karte im HP LaserJet 4V und 4MV
Drucker
1. Schalten Sie den Drucker aus, und ziehen Sie das Netzkabel
heraus.
2. Machen Sie den modularen E/A-Steckplatz (MEA) auf der
Rückseite des Druckers ausfindig (siehe Abbildung unten).
3. Wenn der Steckplatz durch eine Platte abgedeckt ist, muß sie
entfernt werden.
4. Schieben Sie die Karte ein. Richten Sie die Karte an den
Führungsschienen im Drucker aus.
5. Schieben Sie die Karte fest ein, bis sie einrastet.
6. Ziehen Sie dann die beiden Schrauben wechselseitig an, bis
beide festgezogen sind.
7. Schließen Sie das Netzwerkkabel an die Karte an.
8. Stecken Sie das Netzkabel ein, und schalten Sie dann den
Drucker ein.
Komponenten müssen beim 4V und 4MV Drucker
nach unten zeigen

2-16 Installation der HP JetDirect Druckserver-Karte
HINWEIS Die HP J4100A JetDirect-Karte (RJ-45 und BNC)
kann mit einem der Ethernet-Anschlüsse
verbunden werden (es ist immer nur ein Ethernet-
Anschluß aktiv).
Die HP J4105A JetDirect-Karte (RJ-45 und DB9)
kann nur mit einem Token Ring-Anschluß
verbunden werden.
Installation der Karte im HP LaserJet 5, 5M oder
5N Drucker
1. Schalten Sie den Drucker aus, und ziehen Sie das Netzkabel
heraus.
2. Machen Sie den modularen E/A-Steckplatz (MEA) auf der
Rückseite des Druckers ausfindig (siehe Abbildung unten).
3. Wenn der Steckplatz durch eine Platte abgedeckt ist, muß sie
entfernt werden.
4. Schieben Sie die Karte ein. Richten Sie die Karte an den
Führungsschienen im Drucker aus.
Komponenten müssen beim HP LaserJet 5, 5M,
5N nach rechts zeigen

Installation der HP JetDirect Druckserver-Karte 2-17
2
5. Schieben Sie die Karte fest ein, bis sie einrastet. Ziehen Sie
dann die beiden Schrauben wechselseitig an, bis beide
festgezogen sind.
6. Schließen Sie das Netzwerkkabel an die Karte an.
7. Stecken Sie das Netzkabel ein, und schalten Sie dann den
Drucker ein.
HINWEIS Die HP J4100A JetDirect-Karte (RJ-45 und BNC)
kann mit einem der Ethernet-Anschlüsse
verbunden werden (es ist immer nur ein Ethernet-
Anschluß aktiv).
Die HP J4105A JetDirect-Karte (RJ-45 und DB9)
kann nur mit einem Token Ring-Anschluß
verbunden werden.
HP LaserJet Drucker der Serien 4Si und 5Si mit
zwei Kartensteckplätzen
Die HP LaserJet 4Si, 4Si MX, 5Si, 5Si MX, 5Si NX und 5Si Mopier
Drucker haben zwei modulare E/A-Steckplätze (MEA), durch die
der Drucker mit mehreren Netzwerktypen arbeiten kann, z.B. mit
Ethernet und Token Ring. Sie installieren dann für jeden
Netzwerktyp eine Karte.
Beachten Sie die folgenden Einschränkungen:
•Zwei Ethernet-Karten im gleichen Drucker (sowohl 10Base-T-
als auch 100Base-TX-Karten) werden nicht unterstützt.
•Für die Installation einer HP J4100A 10/100Base-TX-
JetDirect-Karte in einem LaserJet-Drucker der Serie 5Si
verwenden Sie den oberen MEA-Steckplatz.
•Für die Installation nur einer Karte in einen HP LaserJet-
Drucker der Serie 4Si verwenden Sie den unteren MEA-
Steckplatz. Falls Sie eine weitere Karte in einen Drucker der
Serie 4Si installieren wollen, befolgen Sie bitte die Anwei-
sungen zur Verwendung des oberen MEA-Steckplatzes. Dazu
benötigen Sie eines der folgenden HP JetDirect-Produkte:
HP J4105A oder HP J4106A. Die Installationsanweisungen
hierzu befinden sich weiter hinten in diesem Kapitel.

2-18 Installation der HP JetDirect Druckserver-Karte
HINWEIS Die HP J4100A 10/100Base-TX-JetDirect-Karte
wird im oberen Steckplatz eines HP LaserJet-
Druckers der Serie 4Si nicht unterstützt. Falls Sie
eine solche Karte verwenden wollen, müssen Sie sie
im unteren MEA-Steckplatz installieren.
Installation einer Karte im unteren Steckplatz des
HP LaserJet-Druckers der Serie 4Si und in einem
beliebigen Steckplatz der Serie 5Si
1. Schalten Sie den Drucker aus, und ziehen Sie das Netzkabel
heraus.
2. Machen Sie die modularen E/A-Steckplätze (MEA) auf der
Rückseite des Druckers ausfindig.
Komponenten müssen bei HP LaserJet-Druckern
der Serie 4 nach rechts zeigen

Installation der HP JetDirect Druckserver-Karte 2-19
2
3. Entfernen Sie die Abdeckplatte vom Steckplatz. (Denken
Sie daran, beim 4Si oder 4Si MX den unteren Steckplatz
zu verwenden.)
4. Schieben Sie die Karte ein. Richten Sie die Karte an den
Führungsschienen im Drucker aus.
5. Schieben Sie die Karte fest ein, bis sie einrastet.
6. Ziehen Sie die Schrauben wechselseitig an, bis beide
festgezogen sind.
7. Schließen Sie das Netwerkkabel an.
8. Stecken Sie das Netzkabel ein, und schalten Sie den
Drucker ein.
HINWEIS Die HP J4100A JetDirect-Karte (RJ-45 und
BNC) kann mit einem der Ethernet-Anschlüsse
verbunden werden (es ist immer nur ein Ethernet-
Anschluß aktiv).
Die HP J4105A JetDirect-Karte (RJ-45 und
DB9) kann nur mit einem Token Ring-Anschluß
verbunden werden.
Komponenten müssen bei HP LaserJet-Druckern
der Serie 5 nach rechts zeigen

2-20 Installation der HP JetDirect Druckserver-Karte
Installation einer Karte im oberen MEA-
Steckplatz des HP LaserJet 4Si und 4Si MX
Druckers
HINWEIS Wenn Sie den oberen Steckplatz eines HP LaserJet
4Si oder 4Si MX-Druckers verwenden wollen,
müssen Sie zwei Karten verbinden und beide
gleichzeitig im Drucker installieren. Dazu muß die
Karte, die im oberen Steckplatz installiert werden
soll, mit einer angepaßten Abdeckplatte versehen
werden. Diese Abdeckplatten sind bei Hewlett-
Packard zu bestellen:
•C2009-60111 (für HP J4105A oder J4106A)
1. Schalten Sie den Drucker aus, und ziehen Sie das Netzkabel
heraus.
2. Entfernen Sie die vorhandene Karte aus dem unteren MEA-
Steckplatz des Druckers. (Sie verbinden diese Karte später
mit der neuen Karte.)
3. Entfernen Sie die Abdeckplatte vom oberen MEA-Steckplatz.
Karte aus dem unteren MEA-Steckplatz entfernen

Installation der HP JetDirect Druckserver-Karte 2-21
2
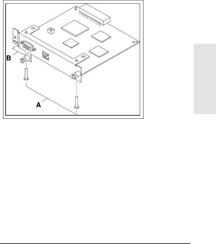
4. Entfernen Sie die Abdeckplatte der HP JetDirect Karte, die im
oberen Steckplatz installiert werden soll, indem Sie die beiden
seitlichen Schrauben (A) entfernen.
•Wenn es sich bei der HP JetDirect Karte um eine Token Ring-
Karte handelt, müssen Sie auch die Befestigungsschrauben
(B) aus der Frontplatte entfernen.
•Die Frontplatte sollte sich jetzt von der Karte lösen lassen.
Heben Sie die Frontplatte für eine mögliche spätere
Verwendung auf.
Entfernen Sie die Frontplatte von der Karte

2-22 Installation der HP JetDirect Druckserver-Karte
5. Nehmen Sie die der Karte entsprechende angepaßte Abdeck-
platte. Entfernen Sie die Kunststoff-Halteklammer und die
Schrauben von der Rückseite der Abdeckplatte. Bewahren Sie
die Halteklammer auf, da Sie sie später während der
Installation wieder benötigen.
6. Vergleichen Sie die Frontplatte der HP JetDirect Karte mit der
angepaßten Abdeckplatte. Ziehen Sie die entsprechenden Teile
des Etiketts auf der angepaßten Abdeckplatte ab, so daß die
ausgestanzten Löcher mit denen auf der Frontplatte der
HP JetDirect Karte übereinstimmen.
•Zum Beispiel: Wenn Sie die HP JetDirect Karte J4106A
installieren (nur für den RJ-45-Anschluß), legen Sie das
entsprechende Loch auf der angepaßten Abdeckplatte frei,
indem Sie den RJ-45-Teil des Etiketts abziehen.
•Für die HP JetDirect Karte J4105A ziehen Sie die Teile
DB-9 und RJ-45 des Etiketts ab.
Angepaßte Abdeckplatte für die Token Ring-Karte

Installation der HP JetDirect Druckserver-Karte 2-23
2
7. Befestigen Sie dann die angepaßte Abdeckplatte wie folgt an
der HP JetDirect Karte:
•Richten Sie die Löcher in der Abdeckplatte an den Löchern
in der Karte aus.
•Setzen Sie die seitlichen Schrauben (A) ein, und ziehen Sie
sie langsam und vorsichtig fest.
•Wenn es sich um eine Token Ring-Karte handelt, müssen Sie
die Befestigungsschrauben (B) verwenden und diese vor-
sichtig festziehen.
Ziehen Sie die Teile des Etikette ab, und bringen Sie
die Abdeckplatte an der Karte an

2-24 Installation der HP JetDirect Druckserver-Karte
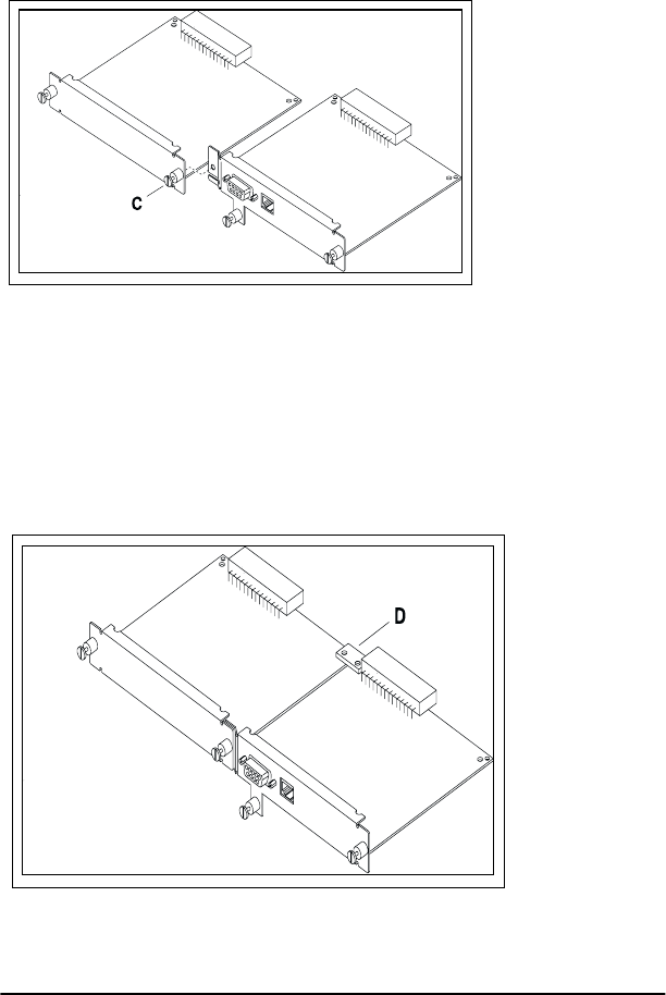
8. Befestigen Sie die rechte Seite der Karte, die Sie aus dem
unteren MEA-Steckplatz entfernt haben, an der linken Seite
der neuen HP JetDirect Karte (mit der angepaßten Abdeck-
platte). Die Komponenten der alten Karte müssen dabei nach
oben zeigen. Befestigen Sie die Karten, indem Sie die feder-
belasteten Schrauben (C) festziehen.
9. Bringen Sie die Halteklammer aus Kunststoff (D) an den
zusammengesetzten Karten an, und richten Sie sie an den
kleinen Löchern in den beiden Karten aus.
Verbinden Sie die Karten, wobei angepaßten
Platte nach rechts zeigt
Befestigen Sie die Kunststoff-Halteklammer

Installation der HP JetDirect Druckserver-Karte 2-25
2
10. Halten Sie die Karten mit den Komponenten in Richtung der
linken Druckerseite, und schieben Sie die zusammengesetzten
Karten in den Drucker. Richten Sie das obere und untere Ende
der zusammengesetzten Karten an der oberen und unteren
Führungsschiene im Drucker aus. Schieben Sie die Doppel-
karte fest ein, bis sie einrastet.
ACHTUNG Die zusammengesetzten Karten müssen genau
in die Schienen passen. Wenn die Karten nicht
korrekt installiert sind, kann die Formatkarte
oder die MEA-Baugruppe beschädigt werden.
11. Befestigen Sie die zusammengesetzte Karte im Drucker, indem
Sie die restlichen drei Schrauben wechselseitig anziehen, d.h.
jede Schraube jeweils einige Drehungen, bis alle Schrauben
festgezogen sind.
12. Schließen Sie das Netzwerkkabel an.
13. Schließen Sie das Netzkabel an, und schalten Sie dann den
Drucker ein.
Einsetzen von zwei Karten in den
HP LaserJet 4Si/4SiMX

2-26 Installation der HP JetDirect Druckserver-Karte
HINWEIS Die HP J4100A JetDirect-Karte (RJ-45 und BNC)
kann mit einem der Ethernet-Anschlüsse
verbunden werden (es ist immer nur ein Ethernet-
Anschluß aktiv).
Die HP J4105A JetDirect-Karte (RJ-45 und DB9)
kann nur mit einem Token Ring-Anschluß
verbunden werden.
Installation der Karte in Druckern der Serie
HP 2500C/CM Professional und HP DesignJet
ColorPro GA
1. Schalten Sie den Drucker aus, und ziehen Sie das Netzkabel
heraus.
2. Machen Sie den modularen E/A-Steckplatz (MEA) auf der
Rückseite des Druckers ausfindig.
3. Wenn der Steckplatz durch eine Platte abgedeckt ist, muß sie
entfernt werden.
4. Schieben Sie die Karte ein. Richten Sie die Karte an den
Führungsschienen im Drucker aus.
5. Schieben Sie die Karte fest ein, bis sie einrastet. Ziehen Sie
dann die beiden Schrauben wechselseitig an, bis beide
festgezogen sind.
6. Schließen Sie das Netzwerkkabel an die Karte an.

Installation der HP JetDirect Druckserver-Karte 2-27
2
HINWEIS Die HP J4100A JetDirect-Karte (RJ-45 und
BNC) kann mit einem der Ethernet-Anschlüsse
verbunden werden (es ist immer nur ein Ethernet-
Anschluß aktiv).
Die HP J4105A JetDirect-Karte (RJ-45 und
DB9) kann nur mit einem Token Ring-Anschluß
verbunden werden.
7. Stecken Sie das Netzkabel ein.
8. Schalten Sie den Drucker wieder ein.
Installation der Karte im HP DeskJet 1200C,
1200C/PS, 1600C, 1600CM und 1600CN Drucker
1. Schalten Sie den Drucker aus, und ziehen Sie das Netzkabel
heraus.
2. Machen Sie den modularen E/A-Steckplatz (MEA) auf der
Rückseite des Druckers ausfindig (siehe entsprechende
Abbildung unten).
3. Wenn der Steckplatz durch eine Platte abgedeckt ist, muß sie
entfernt werden.
Komponenten müssen bei den Serien 1200 und
1600 nach oben zeigen

2-28 Installation der HP JetDirect Druckserver-Karte
4. Schieben Sie die Karte ein. Richten Sie die Karte an den
Führungsschienen im Drucker aus.
5. Schieben Sie die Karte fest ein, bis sie einrastet. Ziehen Sie
dann die beiden Schrauben wechselseitig an, bis beide
festgezogen sind.
6. Schließen Sie das Netzwerkkabel an die Karte an.
7. Stecken Sie das Netzkabel ein.
8. Beim HP DeskJet 1200C, 1600C, 1600CM und 1600CN Drucker
müssen Sie den Netzschalter bedienen.
HINWEIS Die HP J4100A JetDirect-Karte (RJ-45 und
BNC) kann mit einem der Ethernet-Anschlüsse
verbunden werden (es ist immer nur ein Ethernet-
Anschluß aktiv).
Die HP J4105A JetDirect-Karte (RJ-45 und
DB9) kann nur mit einem Token Ring-Anschluß
verbunden werden.

Installation der HP JetDirect Druckserver-Karte 2-29
2
Installation der Karte in HP DesignJet
Großformatdruckern der Serie 600, 700
und 2000/2500/3000/3500
1. Schalten Sie den Drucker aus, aber lassen Sie das Netzkabel
eingesteckt.
2. Machen Sie den modularen E/A-Steckplatz (MEA) auf der
Rückseite des Druckers ausfindig (siehe entsprechende
Abbildung unten).
Komponenten müssen beim DesignJet 600 und
650C zur Vorderseite des Druckers zeigen

2-30 Installation der HP JetDirect Druckserver-Karte
3. Wenn der Steckplatz durch eine Platte abgedeckt ist, muß sie
entfernt werden.
4. Schieben Sie die Karte ein. Richten Sie die Karte an den
Führungsschienen im Drucker aus.
5. Schieben Sie die Karte fest ein, bis sie einrastet.
6. Ziehen Sie die beiden Schrauben wechsel-seitig an, bis beide
festgezogen sind.
7. Schließen Sie das Netzwerkkabel an die Karte an, und schalten
Sie den Drucker ein.
HINWEIS Die HP J4100A JetDirect-Karte (RJ-45 und
BNC) kann mit einem der Ethernet-Anschlüsse
verbunden werden (es ist immer nur ein Ethernet-
Anschluß aktiv).
Die HP J4105A JetDirect-Karte (RJ-45 und DB9)
kann nur mit einem Token Ring-Anschluß
verbunden werden.
Komponenten müssen beim Drucker der
Serie 700 und 2000/2500/3000/3500 zur Rückseite
des Druckers zeigen

Installation der HP JetDirect Druckserver-Karte 2-31
2
Installieren der Karte im HP CopyJet und
CopyJet M Farbdrucker-Kopierer
1. Schalten Sie den Drucker aus, und ziehen Sie das Netzkabel
heraus.
2. Machen Sie den modularen E/A-Steckplatz (MEA) auf der
Rückseite des Druckers ausfindig (siehe Abbildung unten).
3. Wenn der Steckplatz durch eine Platte abgedeckt ist, muß sie
entfernt werden.
4. Schieben Sie die Karte ein. Richten Sie die Karte an den
Führungsschienen im Drucker aus.
5. Schieben Sie die Karte fest ein, bis sie einrastet.
6. Ziehen Sie die beiden Schrauben wechselseitig an, bis beide
festgezogen sind.
7. Schließen Sie das Netzwerkkabel an die Karte an.
8. Stecken Sie das Netzkabel ein, und schalten Sie den Drucker ein.
HINWEIS Die HP J4100A JetDirect-Karte (RJ-45 und
BNC) kann mit einem der Ethernet-Anschlüsse
verbunden werden (es ist immer nur ein Ethernet-
Anschluß aktiv).
Die HP J4105A JetDirect-Karte (RJ-45 und DB9)
kann nur mit einem Token Ring-Anschluß
verbunden werden.
Komponenten müssen beim CopyJet und
CopyJet M Drucker nach rechts zeigen

2-32 Installation der HP JetDirect Druckserver-Karte
Schritt 4. Überprüfen der
Karteninstallation
1. Drucken Sie eine neue Selbsttest-Seite oder Konfigurations-
grafik aus.
2. Beachten Sie, daß sich die Meldung E/A-KARTE BEREIT je
nach Drucker an verschiedenen Stellen auf der Selbsttest-Seite
befinden kann, wie aus dem untenstehenden Diagramm zu
ersehen ist.
Die Meldung E/A-KARTE BEREIT ist im MEA-Abschnitt der
Selbsttest-Seite enthalten. Dort finden Sie außerdem auch
folgende Informationen:
•Produktnummer
•Firmware-Revisionsnummer
•LAN-Hardware-Adresse
•Anschlußauswahltyp
•Hersteller-Identifikationsnummer
•Netzwerk-Statistik
•Netzwerk-Protokollnachrichten
HINWEIS Bei Druckern der Serie HP 2500C/CM Professional
und HP DesignJet ColorPro GA werden die MEA-
Informationen auf einer separaten HP JetDirect-
Selbsttest-Seite aufgeführt, die unmittelbar nach
der Diagnoseseite des Druckers ausgedruckt wird.

Installation der HP JetDirect Druckserver-Karte 2-33
2
3. Weitere Informationen über diesen Abschnitt der Selbsttest-
Seite finden Sie im HP JetDirect
Administrator-Handbuch auf
der HP JetDirect CD-ROM
.
4. Wenn die Meldung E/A-KARTE BEREIT erscheint, wurde die
Karte erfolgreich installiert. Siehe „Der nächste Schritt“.
5. Wenn diese Meldung nicht erscheint, vergewissern Sie sich, daß
•die Karte richtig installiert ist
•der Drucker/Plotter wieder an das Netzwerk angeschlossen
wurde
•der Drucker aus- und dann wieder eingeschaltet wurde
Position der Meldung E/A-KARTE BEREIT auf den
Selbsttest-Seiten

2-34 Installation der HP JetDirect Druckserver-Karte
HINWEIS Spezielle Informationen zur Fehlerbehebung bei
HP J4100A 10/100Base-TX-Karten befinden sich
in Anhang B dieses Handbuchs.
Wenn die Meldung dann immer noch nicht erscheint, wenden Sie
sich an den HP-Kundendienst (Telefonnummern oder Internet-
Adressen finden Sie in der HP JetDirect 400N Kurzanleitung).
Der nächste Schritt
Sie können jetzt die Karte konfigurieren. Diese Konfiguration kann
auf verschiedene Arten erfolgen:
•Konfiguration grundlegender Netzwerkeinstellungen über das
Bedienfeld des Druckers (sofern der Drucker diese Funktion
unterstützt). Schlagen Sie bei HP LaserJet Druckern, Druckern
der Serie HP Professional und HP DesignJet ColorPro GA
Druckern in Kapitel 3 nach. Schlagen Sie bei HP DesignJet
Großformatdruckern in Kapitel 4 nach.
•Karten- und Druckerkonfiguration mit Hilfe der HP JetDirect-
Software auf der HP JetDirect CD-ROM und anderer
Netzwerkdienstprogramme. Näheres erfahren Sie in der
HP JetDirect Kurzanleitung und im HP JetDirect Administrator-
Handbuch.

Verwendung des Druckerbedienfeldes 3-1
3
3
Konfigurieren der HP JetDirect-Karte
über das Bedienfeld des Druckers
Einleitung
Wenn Sie einen HP DesignJet Großformatdrucker haben (mit
Ausnahme des DesignJet ColorPro GA), lesen Sie bitte Kapitel 4.
Die nachstehend aufgeführten Drucker haben ein Bedienfeld, über
das bestimmte Netzwerk-Parameter manuell konfiguriert werden
können.
•HP LaserJet und LaserJet 5/5M Farbdrucker
•HP LaserJet der Serie 5Si (5Si, 5Si MX, 5Si NX und 5Si Mopier)
•HP LaserJet der Serie 5 (5, 5M und 5N)
•HP LaserJet der Serie 4Si (4Si und 4Si MX)
•HP LaserJet der Serie 4V (4V und 4MV)
•HP LaserJet der Serie 4Plus (4 Plus und 4M Plus)
•HP LaserJet der Serie 4 (4 und 4M)
•Serie HP Professional (2500C, 2500CM)
•HP DesignJet ColorPro GA Drucker
Über das Bedienfeld des Druckers können Sie:
•Netzwerkprotokolle aktivieren oder deaktivieren
•Novell NetWare-Rahmentypen konfigurieren
•Novell NetWare-Ursprungs-Routing-Parameter für
Token Ring-Netzwerke konfigurieren
•TCP/IP-Parameter konfigurieren
•Apple EtherTalk-Phasenparameter für Ethernet-Netzwerke
konfigurieren
•Zeitlimit-Einstellung zur Erkennung des Jobendes
konfigurieren (nur beim HP LaserJet 4 und 4M Drucker)

3-2 Verwendung des Druckerbedienfeldes
HINWEIS Die vorstehend genannten Parameter können auch
über die HP JetDirect Software konfiguriert werden.
Nach dem Konfigurieren dieser Parameter über das Bedienfeld
müssen Sie zur Vervollständigung des Konfigurationsverfahrens
trotzdem noch die entsprechende Druckserver-Software
installieren. Anweisungen hierzu finden Sie im HP JetDirect
Software-Installationshandbuch.
Aktivieren und Deaktivieren von
Netzwerkprotokollen
Wenn Sie die vom Werk bezogene Karte zum ersten Mal in-
stallieren, sind alle unterstützten Netzwerkprotokolle aktiviert
bzw. eingeschaltet, wenn Sie den Drucker einschalten. Die Karte
ermöglicht einen automatischen Netzwerkwechsel zwischen
Netzwerkprotokollen bei Druckern, die diese Funktion nicht
unterstützen. Wenn Sie die Karte neu konfigurieren - z.B. ein
Netzwerkprotokoll deaktivieren - wird diese Konfiguration auf
der Karte gespeichert und bleibt dort auch nach Ausschalten des
Druckers erhalten.
Wenn ein Netzwerkprotokoll aktiviert ist, kann es vorkommen,
daß die Karte sogar dann aktiv Daten überträgt, wenn das
betreffende Protokoll im Netzwerk nicht verwendet wird. Dadurch
kann das Verkehrsaufkommen im Netzwerk leicht unnötig erhöht
werden. Um diesem Umstand vorzubeugen, ist es ratsam, alle nicht
benutzten Protokolle zu deaktivieren. Dadurch wird folgendes
erreicht:
•Das Verkehrsaufkommen im Netzwerk wird reduziert,
da Rundsendungen von unbenutzten Protokollen verhindert
werden (z.B. NetWare und TCP/IP).
•Der Zugriff auf den Drucker kann besser gesteuert werden,
da auf diese Weise verhindert wird, daß Benutzer von anderen
Netzwerken versehentlich Daten auf diesem Drucker
ausgeben.
•Auf der Selbsttest-Seite oder in der Konfigurationsgrafik, die
Status-informationen für alle aktivierten Protokolle anzeigt,
werden unnötige Angaben eliminiert.
•Protokollspezifische Fehlerzustände werden auf dem Bedien-
feld des Druckers angezeigt. Diese Warnmeldungen werden nur
angezeigt, wenn keines der aktivierten Protokolle drucken
kann.

Verwendung des Druckerbedienfeldes 3-3
3
Wiederherstellen der Konfigurations-
Standardwerte
Sie können die Standardwerte durch einen Kaltstart des Druckers
wiederherstellen. Hierzu schalten Sie zunächst den Drucker aus
und halten dann die Taste [Online] (oder [Start] bei manchen
Druckern) gedrückt, während Sie den Drucker wieder einschalten.
Auf diese Weise wird die Druckerkonfiguration auf die werkseitigen
Standardwerte zurückgesetzt.
Zum Aktivieren oder Deaktivieren von
Netzwerkprotokollen verfahren Sie wie folgt:
HINWEIS Bei Druckern der Serie HP 2500C/CM Professional
und DesignJet ColorPro GA lesen Sie bitte die
Anweisungen unter „Bedienfeld der Serie HP
2500C/CM Professional und DesignJet ColorPro
GA“ am Ende dieses Kapitels.
1. Schalten sie den Drucker offline, indem Sie auf [Online] oder
[Start] drücken, wodurch die Online-LED erlischt.
2. Drücken Sie so oft auf [Menü], bis folgende Meldung in der
Bedienfeldanzeige erscheint:
3. Drücken Sie so lange auf [Option], bis NETZKONFIG=NEIN*
erscheint. Diese Meldung bedeutet nicht, daß Sie das Protokoll
neu konfigurieren müssen, sondern besagt lediglich, daß Sie
nicht vorhaben, auf die Netzwerkkonfigurationsmenüs
zuzugreifen.
Drucker der Serie 4 AUX EA-MENÜ
Drucker der Serie 4 Plus und 4V
MEA-MENÜ
LaserJet Farbdrucker (weiter
mit Schritt 4)
MEA MENÜKONFIG
NETZKONFIG=NEIN *
Drucker der Serie 4Si
(den zu konfigurierenden
Kartensteckplatz auswählen)
MEA MENÜ 1 oder
MEA MENÜ 2
Drucker der Serie 5Si
(den zu konfigurierenden
Kartensteckplatz auswählen)
HP MEA 1 MENÜ oder
HP MEA 2 MENÜ
Drucker der Serie 5 HP MEA MENÜ

3-4 Verwendung des Druckerbedienfeldes
4. Ändern Sie die Meldung über die folgenden Tasten auf
NETZKONFIG=JA*:
5. Drücken Sie auf [Option], um die einzelnen Netzwerkprotokolle
zu durchlaufen, bis das Protokoll, das geändert werden soll,
angezeigt wird.
6. Wenn Sie den Protokollstatus beibehalten wollen, drücken Sie
auf [Option].
7. Wenn der Protokollstatus geändert werden soll, drücken Sie auf
[+] und dann je nach Druckermodell auf [Auswählen] oder auf
[Eingabe].
8. Drücken Sie nun auf [Option], um zum nächsten Protokoll zu
gelangen.
Beispiel:
Zur Aktivierung des DLC/LLC-Protokolls drücken Sie so lange
auf [Option], bis in der Bedienfeldanzeige entweder
DLC/LLC=EIN* bzw. DLC/LLC=AUS* erscheint.
Wenn DLC/LLC=EIN* angezeigt wird, drücken Sie auf [Option],
um das Protokoll beizubehalten und zum nächstenProtokoll zu
gelangen. Das Protokoll DLC/LLC ist nun eingeschaltet.
Steht in der Bedienfeldanzeige dagegen DLC/LLC=AUS*,
drücken Sie auf [+] und dann auf [Auswählen] oder [Eingabe], um
das Protokoll zu aktivieren. Drücken Sie danach erneut auf
[Option], um auf das nächste Protokoll zuzugreifen.
9. Um den Drucker zu aktivieren und die vorgenommenen
Änderungen zu speichern, drücken Sie auf [Online] (bei
LaserJet-Druckern der Serie 5 auf [Start]).
Anweisungen zur Vervollständigung der Druckserver-Konfigura-
tion finden Sie im HP JetDirect Software-Installationshandbuch,
das dem Produkt beiliegt.
Drucker der Serie 5 und 5Si [+] und dann
[Auswählen]
andere Drucker [+] und dann
[Eingabe]

Verwendung des Druckerbedienfeldes 3-5
3
Konfigurieren der Novell NetWare-
Rahmentypen
Wenn das NetWare-Protokoll aktiviert ist (IPX/SPX=EIN*),
können Sie die NetWare-Rahmentypen über das Bedienfeld
festlegen. Es kann eine der folgenden Rahmentyp-Einstellungen
konfiguriert werden:
Novell NetWare-Rahmentypen auf der
HP JetDirect Ethernet-Karte
Rahmentyp Beschreibung
AUTO (Standard) Der Rahmentyp wird automatisch ermittelt
und auf diesen Typ eingeschränkt.
EN_8023 Der Rahmentyp wird auf IPX unter
Verwendung von IEEE 802.3- Rahmen
eingeschränkt. Alle anderen Rahmen
werden gezählt und verworfen.
EN_II Der Rahmentyp wird auf IPX unter
Verwendung von Ethernet-Rahmen
eingeschränkt. Alle anderen Typen werden
gezählt und verworfen.
EN_8022 Der Rahmentyp wird auf IPX unter
Verwendung von IEEE 802.2 mit IEEE
802.3-Rahmen eingeschränkt. Alle anderen
Typen werden gezählt und verworfen
EN_SNAP Der Rahmentyp wird auf IPX unter
Verwendung von SNAP mit IEEE 802.3-
Rahmen eingeschränkt. Alle anderen Typen
werden gezählt und verworfen.

3-6 Verwendung des Druckerbedienfeldes
Novell NetWare-Rahmentypen auf der
HP JetDirect Token Ring-Karte
Zum Konfigurieren eines NetWare-Rahmentyps
verfahren Sie wie folgt:
HINWEIS Bei Druckern der Serie HP 2500C/CM Professional
und DesignJet ColorPro GA lesen Sie bitte die
Anweisungen unter „Bedienfeld der Serie HP
2500C/CM Professional und DesignJet ColorPro
GA“ am Ende dieses Kapitels.
Sofern nicht bereits geschehen, müssen Sie Novell NetWare nach
den in diesem Kapitel unter „Aktivieren und Deaktivieren von
Netzwerkprotokollen“ gegebenen Anweisungen aktivieren
(IPX/SPX=EIN*).
1. Schalten Sie den Drucker offline, indem Sie auf [Online] bzw.
auf [Start] drücken, wodurch die Online-LED erlischt.
2. Drücken Sie so oft auf [Menü], bis folgende Meldung in der
Bedienfeld-anzeige erscheint:
Rahmentyp Beschreibung
AUTO (Standard) Der Rahmentyp wird automatisch ermittelt
und auf diesen Typ eingeschränkt.
TR_8022) Der Rahmentyp wird auf IPX unter
Verwendung von IEEE 802.2 LLC mit IEEE
802.5-Rahmen eingeschränkt. Alle anderen
Typen werden gezählt und verworfen.
TR_SNAP Der Rahmentyp wird auf IPX unter
Verwendung von SNAP mit IEEE 802.5-
Rahmen eingeschränkt. Alle anderen Typen
werden gezählt und verworfen.
Drucker der Serie 4 AUX EA-MENÜ
Drucker der Serie 4 Plus und 4V
MEA-MENÜ
LaserJet Farbdrucker
(weiter mit Schritt 4)
MEA MENÜKONFIG
NETZKONFIG=NEIN*

Verwendung des Druckerbedienfeldes 3-7
3
3. Drücken Sie so lange auf [Option], bis NETZKONFIG=NEIN*
erscheint.
4. Ändern Sie die Meldung über die folgenden Tasten auf
NETZKONFIG=JA*:
5. Drücken Sie auf [Option], bis KFG IPX/SPX=NEIN* erscheint.
6. Ändern Sie diese Einstellung auf KFG IPX/SPX=JA* um,
indem Sie auf [+] und dann je nach Druckermodell auf
[Auswählen] oder [Eingabe] drücken.
7. Drücken Sie nun auf [Option], bis RAHMEN=<Rahmentyp>*
angezeigt wird.
•Am Sternchen (*) ist der ausgewählte, aktive Rahmentyp
zu erkennen.
•Wenn Sie einen anderen Rahmentyp auswählen wollen,
drücken Sie so oft auf [+], bis der gewünschte Rahmentyp
in der Anzeige erscheint, und drücken Sie dann je nach
Druckermodell auf [Auswählen] oder [Eingabe]. Achten Sie
darauf, daß neben der von Ihnen getroffenen Auswahl ein
Sternchen „*“ steht.
8. Um den Drucker zu aktivieren und die vorgenommenen
Änderungen zu speichern, drücken Sie auf [Online] (bei
LaserJet-Druckern der Serie 5 auf [Start]).
Anweisungen zur Vervollständigung der Druckserver-Konfigu-
ration finden Sie im HP JetDirect Software-Installationshandbuch,
das dem Produkt beiliegt.
Drucker der Serie 4Si
(den zu konfigurierenden
Kartensteckplatz auswählen)
MEA MENÜ 1 oder
MEA MENÜ 2
Drucker der Serie 5Si
(den zu konfigurierenden
Kartensteckplatz auswählen)
HP MEA 1 MENÜ oder
HP MEA 2 MENÜ
Drucker der Serie 5 HP MEA MENÜ
Drucker der Serie 5 und 5Si [+] und dann
[Auswählen]
andere Drucker [+] und dann
[Eingabe]

3-8 Verwendung des Druckerbedienfeldes
Konfigurieren der Novell NetWare-
Ursprungs-Routing-Parameter (nur bei
Token Ring-Karten)
Sie können die Methode für das Novell NetWare Token Ring-
Ursprungs-Routing über das Bedienfeld auswählen. Es gibt
folgende Routing-Methoden:
•AUTO (Standard): Ursprungs-Routing wird bei Bedarf
aktiviert.
•AUS: Alle Pakete werden ohne Ursprungs-Routing gesendet -
Pakete kommen nur an, wenn sie vom gleichen Ring stammen.
•EINZ-R: Alle Pakete werden mit Ursprungs-Routing gesendet.
Die Methode Einzelne Routen wird für Rundsendungen und bei
unbekannten Routen verwendet.
•ALLE-R: Alle Pakete werden mit Ursprungs-Routing gesendet.
Die Methode Alle Routen wird für Rundsendungen und bei
unbekannten Routen verwendet.
Sie können NetWare-Ursprungs-Routing nur dann konfigurieren,
wenn NetWare aktiviert ist und Sie einen Token Ring-Druckserver
installiert haben.
Zum Konfigurieren des NetWare-Ursprungs-
Routing-Parameters verfahren Sie wie folgt:
HINWEIS Bei Druckern der Serie HP 2500C/CM Professional
und DesignJet ColorPro GA lesen Sie bitte die
Anweisungen unter „Bedienfeld der Serie HP
2500C/CM Professional und DesignJet ColorPro
GA“ am Ende dieses Kapitels.
Sofern nicht bereits geschehen, müssen Sie Novell NetWare nach
den in diesem Kapitel unter „Aktivieren und Deaktivieren von
Netzwerkprotokollen“ gegebenen Anweisungen aktivieren
(IPX/SPX=EIN*).
1. Schalten Sie den Drucker offline, indem Sie auf [Online] bzw.
auf [Start] drücken, wodurch die Online-LED erlischt.

Verwendung des Druckerbedienfeldes 3-9
3
2. Drücken Sie so oft auf [Menü], bis folgende Meldung in der
Bedienfeld-anzeige erscheint:
3. Drücken Sie so lange auf [Option], bis NETZKONFIG=NEIN*
erscheint.
4. Ändern Sie die Meldung über die folgenden Tasten auf
NETZKONFIG=JA*:
5. Drücken Sie auf [Option], bis KFG IPX/SPX=NEIN* erscheint.
6. Ändern Sie diese Einstellung auf KFG IPX/SPX=JA* um,
indem Sie auf [+] und dann je nach Druckermodell auf
[Auswählen] oder [Eingabe] drücken.
Drucker der Serie 4 AUX EA-MENÜ
Drucker der Serie 4 Plus und 4V
MEA-MENÜ
LaserJet Farbdrucker
(weiter mit Schritt 4)
MEA MENÜKONFIG
NETZKONFIG=NEIN*
Drucker der Serie 4Si
(den zu konfigurierenden
Kartensteckplatz auswählen)
MEA MENÜ 1 oder
MEA MENÜ 2
Drucker der Serie 5Si
(den zu konfigurierenden
Kartensteckplatz auswählen)
HP MEA 1 MENÜ oder
HP MEA 2 MENÜ
Drucker der Serie 5 HP MEA MENÜ
Drucker der Serie 5 und 5Si [+] und dann
[Auswählen]
andere Drucker [+] und dann
[Eingabe]

3-10 Verwendung des Druckerbedienfeldes
7. Drücken Sie nun auf [Option], bis URSPR.- RT=<Ursprungs-
Routing>* angezeigt wird.
•Am Sternchen (*) ist die aktive Ursprungs-Routing-
Auswahl zu erkennen.
•Wenn Sie eine andere Ursprungs-Routing-Einstellung
auswählen wollen, drücken Sie so oft auf [+], bis die
gewünschte Einstellung in der Anzeige erscheint, und
drücken Sie dann je nach Druckermodell auf [Auswählen]
oder [Eingabe]. Achten Sie darauf, daß neben der von Ihnen
getroffenen Auswahl ein Sternchen „*“ steht.
8. Um den Drucker zu aktivieren und die vorgenommenen
Änderungen zu speichern, drücken Sie auf [Online] (bei
LaserJet-Druckern der Serie 5 auf [Start]).
Anweisungen zur Vervollständigung der Druckserver-Konfigu-
ration finden Sie im HP JetDirect Software-Installationshandbuch,
das dem Produkt beiliegt.
Konfigurieren der TCP/IP-Parameter
Über das Bedienfeld des Druckers können Sie die folgenden
TCP/IP-Parameter manuell konfigurieren:
•Sie können die Datei BOOTP konfigurieren, die automatisch
Daten zur Konfiguration vom Netzwerk lädt (Standardein-
stellung),
oder
•Sie können die folgenden Parameter auch einzeln eingeben:
•IP-Adresse (4 Byte)
•Teilnetzmaske (4 Byte)
•IP-Adresse des Syslog-Servers (4 Byte)
•Standard-Gateway (4 Byte)
•Zeitlimit für TCP-Verbindung (in Sekunden)
HINWEIS Für den ordungsgemäßen Betrieb der Karte in einem
TCP/IP-Netzwerk ist eine gültige IP-Adresse
erforderlich.

Verwendung des Druckerbedienfeldes 3-11
3
HINWEIS Für DHCP-(Dynamic Host Configuration Protocol)-
Vorgänge muß BOOTP aktiviert sein.
Ist eine IP-Adresse unter Verwendung von DHCP
konfiguriert und siewird später durch das Bedien-
feld geändert, wird die DHCP-zugeordnete Adresse
freigegeben.
Ist ein Drucker unter Verwendung von DHCP
konfiguriert und Sie ändern die Subnet-Maske
oder das Standard-Gateway manuell anhand des
Bedienfelds, sollten Sie ebenfalls die IP-Adresse
ändern.
Zum Konfigurieren der TCP/IP-Parameter
verfahren Sie wie folgt:
HINWEIS Bei Druckern der Serie HP 2500C/CM Professional
und DesignJet ColorPro GA lesen Sie bitte die
Anweisungen unter „Bedienfeld der Serie HP
2500C/CM Professional und DesignJet ColorPro
GA“ am Ende dieses Kapitels.
Sofern nicht bereits geschehen, müssen Sie TCP/IP nach den in
diesem Kapitel unter „Aktivieren oder Deaktivieren von Netzwerk-
protokollen“ gegebenen Anweisungen aktivieren (TCP/IP=EIN*).
ACHTUNG Seien Sie bei der Dateneingabe vorsichtig. Wenn Sie
etwas Falsches eingeben, müssen Sie zur Berich-
tigung noch einmal ganz von vorne mit Schritt 1
beginnen.
1. Schalten Sie den Drucker offline, indem Sie auf [Online] bzw.
auf [Start] drücken, wodurch die Online-LED erlischt.

3-12 Verwendung des Druckerbedienfeldes
2. Drücken Sie so oft auf [Menü], bis folgende Meldung in der
Bedienfeld-anzeige erscheint:
3. Drücken Sie so lange auf [Option], bis NETZKONFIG=NEIN*
erscheint.
4. Ändern Sie die Meldung über die folgenden Tasten auf
NETZKONFIG=JA*:
5. Drücken Sie auf [Option], bis KFG TCP/IP=NEIN* erscheint.
6. Ändern Sie diese Einstellung auf KFG TCP/IP=JA* um, indem
Sie auf [+] und dann je nach Druckermodell auf [Auswählen] oder
[Eingabe] drücken.
Drucker der Serie 4 AUX EA-MENÜ
Drucker der Serie 4 Plus und 4V
MEA-MENÜ
LaserJet Farbdrucker
(weiter mit Schritt 4)
MEA MENÜKONFIG
NETZKONFIG=NEIN *
Drucker der Serie 4Si
(den zu konfigurierenden
Kartensteckplatz auswählen)
MEA MENÜ 1 oder
MEA MENÜ 2
Drucker der Serie 5Si
(den zu konfigurierenden
Kartensteckplatz auswählen)
HP MEA 1 MENÜ oder
HP MEA 2 MENÜ
Drucker der Serie 5 HP MEA MENÜ
Drucker der Serie 5 und 5Si [+] und dann
[Auswählen]
andere Drucker [+] und dann
[Eingabe]

Verwendung des Druckerbedienfeldes 3-13
3
7. Drücken Sie nun auf [Option], bis BOOTP=JA* oder
BOOTP=NEIN* angezeigt wird.
•Am Sternchen (*) ist die aktive Auswahl zu erkennen.
•Wenn Sie die Einstellung für BOOTP= ändern wollen,
drücken Sie auf [+] und dann je nach Druckermodell auf
[Auswählen] oder [Eingabe]. Achten Sie darauf, daß neben
der von Ihnen getroffenen Auswahl ein Sternchen „*“ steht.
Wenn BOOTP=JA* angezeigt wird, ist der Drucker so
konfiguriert, daß seine TCP/IP-Parameter über das
Netzwerk unter Verwendung von BOOTP oder DHCP
abgerufen werden können. Es erscheinen keine weiteren
TCP/IP-Aufforderungszeichen in der Bedienfeldanzeige des
Druckers. Um den Drucker zu aktivieren und die Än-
derungen zu speichern, drücken Sie je nach Druckermodell
auf [Online] oder auf [Start].
Wenn BOOTP=NEIN* in der Anzeige erscheint, ist der
Drucker so konfiguriert, daß er über das Druckerbedienfeld
eingegebene TCP/IP-Parameter akzeptiert. Drücken Sie
zur Konfiguration der einzelnen TCP/IP-Parameter auf
[Option]. Zuerst sollte am Bedienfeld IP BYTE1=<Wert>*
zu sehen sein. Fahren Sie dann mit Schritt 8 fort.
8. Geben Sie das erste Byte der IP-Adresse über die Taste [+] oder
[–] oder über die Tasten [Umschalt][–] ein. Wenn Sie die
Taste [+] oder [–] oder die Tasten [Umschalt][–] gedrückt halten,
laufen die Werte nacheinander durch. Zum Speichern eines
Wertes drücken Sie auf [Auswählen] oder [Eingabe]. Fahren Sie
mit [Option] fort. (HINWEIS: Beim 5Si und 5Si MX gibt es die
Taste [–] oder die Tasten [Umschalt][–] nicht.)
9. Konfigurieren Sie die restlichen Byte der IP-Adresse auf gleiche
Weise. Eine gültige IP-Adresse ist für den ordnungsgemäßen
Betrieb der Karte unbedingt erforderlich.
Sie können die Byte für die Teilnetzmaske (SM), die IP-Adresse
des Syslog-Servers (LG), das Standard-Gateway (GW) und das
Zeitlimit (ZEITLIMIT) auf gleiche Weise konfigurieren.
Die Standardeinstellung für den Parameter ZEITLIMIT
beträgt 90 Sekunden, aber Sie können einen Wert von bis zu
3600 Sekunden konfigurieren. Wenn dieser Parameter auf „0“
festgelegt wird, ist die Zeitlimit-Funktion der HP JetDirect
Karte deaktiviert, d.h. TCP/IP-Verbindungen bleiben so lange
offen, bis sie vom Server unterbrochen werden.

3-14 Verwendung des Druckerbedienfeldes
10. Um den Drucker zu aktivieren und die von Ihnen vorge-
nommenen Änderungen zu speichern, drücken Sie auf [Online]
(bei LaserJet-Druckern der Serie 5 auf [Start]).
Hinweise zur Konfiguration des Netzwerk-Betriebssystems finden
Sie im HP JetDirect Software-Installationshandbuch, das dem
Produkt beiliegt.
Konfigurieren der Apple EtherTalk-
Phasenparameter (nur für Ethernet-
Karten)
Sie können Apple EtherTalk-Parameter nur konfigurieren, wenn
sowohl das Apple EtherTalk-Protokoll (ETALK=EIN*) als auch die
Druckersprache PostScript aktiviert sind.
Um festzustellen, ob die Druckersprache PostScript aktiviert ist,
überprüfen Sie die Einstellungen im Konfigurationsmenü (bei
5Si und 5SiMX und 5Si Mopier Druckern) bzw. im JOB-MENÜ (bei
allen anderen Druckern): Es sollte entweder PERSONALTY=PS*
oder PERSONALTY=AUTO* angezeigt werden.
Zum Konfigurieren der EtherTalk-Parameter
verfahren Sie wie folgt:
HINWEIS Bei Druckern der Serie HP 2500C/CM Professional
und DesignJet ColorPro GA lesen Sie bitte die
Anweisungen unter „Bedienfeld der Serie HP
2500C/CM Professional und DesignJet ColorPro
GA“ am Ende dieses Kapitels.
Sofern nicht bereits geschehen, müssen Sie EtherTalk nach den in
diesem Kapitel unter „Aktivieren oder Deaktivieren von Netz-
werkprotokollen“ gegebenen Anweisungen aktivieren.
1. Schalten Sie den Drucker offline, indem Sie auf [Online] bzw.
auf [Start] drücken, wodurch die Online-LED erlischt.
2. Drücken Sie so oft auf [Menü], bis folgende Meldung in der
Bedienfeld-anzeige erscheint:
Drucker der Serie 4 AUX EA-MENÜ
Drucker der Serie 4 Plus und 4V
MEA-MENÜ

Verwendung des Druckerbedienfeldes 3-15
3
3. Drücken Sie so lange auf [Option], bis NETZKONFIG=NEIN*
erscheint.
4. Ändern Sie die Meldung über die folgenden Tasten auf
NETZKONFIG=JA*:
5. Drücken Sie auf [Option], bis ETALKKONFIG=NEIN* erscheint.
6. Ändern Sie diese Einstellung auf ETALKKONFIG=JA* um, in-
dem Sie auf [+] und dann je nach Druckermodell auf Auswählen
oder [Eingabe] drücken.
7. Drücken Sie nun auf [Option]. Im Bedienfeld wird daraufhin
ETALKPHASE=1* oder ETALKPHASE=2* angezeigt.
•Am Sternchen (*) ist die aktive Phasen-Einstellung zu
erkennen.
•Wenn Sie die Phasen-Einstellung ändern wollen, drücken
Sie auf [+], bis die gewünschte Phasen-Einstellung
erscheint, und dann je nach Druckermodell auf [Auswählen]
oder [Eingabe]. Achten Sie darauf, daß neben der von Ihnen
getroffenen Auswahl ein Sternchen „*“ steht.
8. Um den Drucker zu aktivieren und die von Ihnen vorge-
nommenen Änderungen zu speichern, drücken Sie auf [Online]
(bei LaserJet-Druckern der Serie 5 auf [Start]).
LaserJet Farbdrucker
(weiter mit Schritt 4)
MEA MENÜKONFIG
NETZKONFIG=NEIN *
Drucker der Serie 4Si
(den zu konfigurierenden
Kartensteckplatz auswählen)
MEA MENÜ 1 oder
MEA MENÜ 2
Drucker der Serie 5Si
(den zu konfigurierenden
Kartensteckplatz auswählen)
HP MEA 1 MENÜ oder
HP MEA 2 MENÜ
Drucker der Serie 5 HP MEA MENÜ
Drucker der Serie 5 und 5Si [+] und dann
[Auswählen]
andere Drucker [+] und dann
[Eingabe]

3-16 Verwendung des Druckerbedienfeldes
Anweisungen zur Vervollständigung der Druckserver-Konfigu-
ration finden Sie im HP JetDirect Software-Installationshandbuch,
das dem Produkt beiliegt.
Konfigurieren des Zeitlimits für die
Erkennung des Jobendes
Wenn die HP JetDirect Karte in einem HP LaserJet 4 oder 4M
Drucker installiert ist, ist ein Job-Zeitlimit-Parameter verfügbar.
Bei Netzwerken mit mehreren Netzwerkprotokollen gibt dieser
Job-Zeitlimit-Parameter an, wie lange die HP JetDirect Karte
während Aktivitätspausen mit einem aktiven Netzwerkprotokoll
verbunden bleibt. Nach Überschreitung dieses Zeitlimits gestattet
die Karte dann den Zugriff durch ein anderes Protokoll.
Zum Festlegen des JOB ZEITLIMIT-Parameters
für HP LaserJet 4 und 4M Drucker verfahren Sie
wie folgt:
1. Schalten Sie den Drucker offline, indem Sie auf [Online]
drücken, wodurch die Online-LED erlischt.
2. Drücken Sie so oft auf [Menü], bis AUX EA-MENÜ im Bedienfeld
erscheint.
3. Drücken Sie so lange auf [Option], bis NETZKONFIG=NEIN*
erscheint.
4. Ändern Sie diese Einstellung auf NETZKONFIG=JA*, indem Sie
zuerst auf die Taste [+] und dann auf [Eingabe] drücken.
5. Drücken Sie wiederholt auf [Option], bis JOB
ZEITLIMIT=<Zeitlimit>* erscheint.
6. Drücken Sie auf [+] oder auf [-], um zur gewünschten Ein-
stellung zu gelangen (30 bis 99 Sekunden). Drücken Sie dann
auf [Eingabe], um die neue Einstellung zu speichern.
7. Drücken Sie nun auf [Option], um mit dem Konfigurieren
fortzufahren, oder auf [Online], um den Drucker zu aktivieren
und die von Ihnen vorgenommenen Änderungen zu speichern.
Anweisungen zur Vervollständigung der Druckserver-Konfigu-
ration finden Sie im HP JetDirect Software-Installationshandbuch,
das dem Produkt beiliegt.

Verwendung des Druckerbedienfeldes 3-17
3
Bedienfeld der Serie HP 2500C/CM
Professional und DesignJet ColorPro GA
Zum Aktivieren oder Deaktivieren von
Netzwerkprotokollen verfahren Sie wie folgt:
1. Schalten Sie den Drucker offline, indem Sie auf die Taste
„Online/Offline“ drücken.
2. Drücken Sie wiederholt auf [Menü], bis MIO MENU erscheint.
3. Drücken Sie auf [Option]. CONFIGURE MIO erscheint.
4. Drücken Sie auf [Auswählen]. NETZKONFIG NEIN erscheint.
Diese Meldung bedeutet nicht, daß Sie das Protokoll neu
konfigurieren müssen, sondern besagt lediglich, daß Sie nicht
vorhaben, auf die Netzwerkkonfigurationsmenüs zuzugreifen.
5. Drücken Sie auf [Wert], um NETZKONFIG JA anzuzeigen.
Drücken Sie dann auf [Auswählen].
6. Drücken Sie auf [Option], um die einzelnen Netzwerkprotokolle
zu durchlaufen, bis das Protokoll, das geändert werden soll,
angezeigt wird.
7. Wenn der Protokollstatus geändert werden soll, drücken Sie auf
[Wert] und anschließend auf [Auswählen].
8. Drücken Sie nun auf [Option], um zum nächsten Protokoll zu
gelangen.
Beispiel:
Zur Aktivierung des DLC/LLC-Protokolls drücken Sie so lange
auf [Option], bis in der Bedienfeldanzeige entweder DLC/LLC
EIN oder DLC/LLC AUS erscheint.
Wenn DLC/LLC EIN angezeigt wird, drücken Sie auf [Option],
um das Protokoll beizubehalten und zum nächsten Protokoll zu
gelangen.
Wenn DLC/LLC AUS angezeigt wird, drücken Sie auf [Wert],
um DLC/LLC EIN anzuzeigen, und drücken Sie dann auf
[Auswählen]. Drücken Sie danach erneut auf [Option], um
auf das nächste Protokoll zuzugreifen.

3-18 Verwendung des Druckerbedienfeldes
9. Um den Drucker zu aktivieren und die vorgenommenen
Änderungen zu speichern, drücken Sie die Taste „Online/
Offline“ .
Anweisungen zur Vervollständigung der Druckserver-
Konfiguration finden Sie im HP JetDirect Software-
Installationshandbuch, das dem Produkt beiliegt.
Zum Konfigurieren eines NetWare-Rahmentyps
verfahren Sie wie folgt:
Sofern dies noch nicht geschehen ist, aktivieren Sie das IPX/SPX-
Protokoll (IPX/SPX EIN) nach den Anweisungen weiter oben in
diesem Kapitel.
1. Schalten Sie den Drucker offline, indem Sie auf die Taste
„Online/Offline“ drücken.
2. Drücken Sie so oft auf [Menü], bis MIO MENU erscheint.
3. Drücken Sie auf [Option]. CONFIGURE MIO erscheint.
4. Drücken Sie auf [Auswählen]. NETZKONFIG NEIN erscheint.
Diese Meldung bedeutet nicht, daß Sie das Protokoll neu
konfigurieren müssen, sondern lediglich, daß Sie nicht
vorhaben, auf die Netzwerkkonfigurationsmenüs zuzugreifen.
5. Drücken Sie auf [Wert], um NETZKONFIG JA anzuzeigen.
Drücken Sie dann auf [Auswählen].
6. Drücken Sie auf [Option], bis KFG IPX/SPX NEIN erscheint.
7. Drücken Sie auf [Wert], um KFG IPX/SPX JA anzuzeigen.
Drücken Sie dann auf [Auswählen].
8. Drücken Sie auf [Option], bis RAHMEN <Rahmentyp> erscheint.
Um den Rahmentyp zu ändern, drücken Sie so oft auf [Wert],
bis der gewünschte Rahmentyp in der Anzeige erscheint, und
drücken Sie dann auf [Auswählen].
9. Um den Drucker zu aktivieren und die vorgenommenen
Änderungen zu speichern, drücken Sie auf die Taste
„Online/Offline“ .
Anweisungen zur Vervollständigung der Druckserver-
Konfiguration finden Sie im HP JetDirect Software-
Installationshandbuch, das dem Produkt beiliegt.

Verwendung des Druckerbedienfeldes 3-19
3
Konfigurieren der Novell NetWare-Ursprungs-
Routing-Parameter (nur bei Token Ring-Karten)
Zum Konfigurieren der NetWare-Ursprungs-
Routing-Parameter verfahren Sie wie folgt:
Sofern dies nicht bereits geschehen ist, müssen Sie das Protokoll
IPX/SPX (IPX/SPX EIN) nach den Anweisungen weiter oben in
diesem Kapitel aktivieren.
1. Schalten Sie den Drucker offline, indem Sie auf die Taste
„Online/Offline“ drücken.
2. Drücken Sie so oft auf [Menü], bis MIO MENU erscheint.
3. Drücken Sie auf [Option]. CONFIGURE MIO erscheint.
4. Drücken Sie auf [Auswählen]. NETZKONFIG NEIN erscheint.
Diese Meldung bedeutet nicht, daß Sie das Protokoll neu
konfigurieren müssen, sondern besagt lediglich, daß Sie nicht
vorhaben, auf die Netzwerkkonfigurationsmenüs zuzugreifen.
5. Drücken Sie auf [Wert], um NETZKONFIG JA anzuzeigen.
Drücken Sie dann auf [Auswählen].
6. Drücken Sie auf [Option , bis KFG IPX/SPX NEIN erscheint.
7. Drücken Sie auf [Wert], um KFG IPX/SPX JA anzuzeigen.
Drücken Sie dann auf [Auswählen].
8. Drücken Sie nun auf [Option], bis URSPR.-RT <Ursprungs-
Routing> erscheint.
Um das Ursprungs-Routing zu ändern, drücken Sie so oft auf
[Wert], bis das gewünschte Ursprungs-Routing angezeigt wird,
und drücken Sie dann auf [Auswählen].
9. Um den Drucker zu aktivieren und die vorgenommenen
Änderungen zu speichern, drücken Sie auf die
Taste „Online/Offline“ .
Anweisungen zur Vervollständigung der Druckserver-
Konfiguration finden Sie im HP JetDirect Software-
Installationshandbuch, das dem Produkt beiliegt.

3-20 Verwendung des Druckerbedienfeldes
Zum Konfigurieren der TCP/IP-Parameter
verfahren Sie wie folgt:
Sofern dies nicht bereits geschehen ist, müssen Sie TCP/IP
(TCP/IP EIN) nach den Anweisungen weiter oben in diesem Kapitel
aktivieren.
ACHTUNG Seien Sie bei der Dateneingabe vorsichtig. Wenn
Sie etwas Falsches eingeben, müsen Sie zur
Berichtigung unter Umständen zur Berichtigung
noch einmal ganz von vorne anfangen.
1. Schalten Sie den Drucker offline, indem Sie auf die Taste
„Online/Offline“ drücken.
2. Drücken Sie so oft auf [Menü], bis MIO MENU erscheint.
3. Drücken Sie auf [Option]. CONFIGURE MIO erscheint.
4. Drücken Sie auf [Auswählen]. NETZKONFIG NEIN erscheint.
Diese Meldung bedeutet nicht, daß Sie das Protokoll neu
konfigurieren müssen, sondern besagt lediglich, daß Sie nicht
vorhaben, auf die Netzwerkkonfigurationsmenüs zuzugreifen.
5. Drücken Sie auf [Wert], um NETZKONFIG JA anzuzeigen.
Drücken Sie dann auf [Auswählen].
6. Drücken Sie auf [Option], bis KFG TCP/IP NEIN erscheint.
7. Ändern Sie die angezeigte Meldung in KFG TCP/IP JA ab,
indem Sie auf [Wert] drücken. Drücken Sie anschließend auf
[Auswählen].
8. Drücken Sie nun auf [Option], bis BOOTP JA oder BOOTP NEIN
erscheint.

Verwendung des Druckerbedienfeldes 3-21
3
9. Wenn Sie die Einstellung für BOOTP ändern wollen, drücken
Sie auf [Wert]. Drücken Sie anschließend auf [Auswählen].
•Wenn BOOTP JA angezeigt wird, ist der Drucker so
konfiguriert, daß seine TCP/IP-Parameter über das
Netzwerk unter Verwendung von BOOTP oder DHCP
abgerufen werden können. Es erscheinen keine weiteren
TCP/IP-Meldungen in der Bedienfeldanzeige des Druckers.
•Wenn BOOTP NEIN in der Anzeige erscheint, ist der Drucker
so konfiguriert, daß er über das Druckerbedienfeld
eingegebene TCP/IP-Parameter annimmt. Drücken Sie auf
[Option], um die einzelnen TCP/IP-Parameter durchzugehen.
Drücken Sie auf [Wert und [Auswählen], um den Wert jedes
Parameters zuzuweisen.
Beachten Sie, daß eine gültige IP-Adresse für den ordnungs-
gemäßen Betrieb der Karte erforderlich ist. Beim Zuweisen
einer IP-Adresse müssen Sie den Wert jedes Bytes eingeben.
Sie können die Byte für die Teilnetzmaske (SM), die IP-
Adresse des Syslog-Servers (LG), das Standard-Gateway
(GW) und das Zeitlimit (ZEITLIMIT) auf dieselbe Weise
konfigurieren.
Die Standardeinstellung für den Parameter ZEITLIMIT
beträgt 90 Sekunden, aber Sie können einen Wert von bis
zu 3600 Sekunden konfigurieren. Wenn dieser Parameter
auf „0“ festgelegt wird, ist die Zeitlimit-Funktion der
HP JetDirect-Karte deaktiviert, d.h. TCP/IP-Verbindungen
bleiben so lange offen, bis sie vom Server geschlossen werden.
10. Um den Drucker zu aktivieren und die von Ihnen
vorgenommenen Änderungen zu speichern, drücken
Sie auf die Taste „Online/Offline“ .
Einzelheiten zur Konfiguration des Netzwerk-Betriebssystems
finden Sie im HP JetDirect Software-Installationshandbuch, das
dem Produkt beiliegt.

3-22 Verwendung des Druckerbedienfeldes
Zum Konfigurieren der EtherTalk-Parameter
verfahren Sie wie folgt:
Um festzustellen, ob die Druckersprache PostScript aktiviert ist,
überprüfen Sie die Einstellungen im CONFIGURATION MENU. Es
sollte PERSONALITY=PS oder PERSONALITY=AUTO eingestellt sein.
Sofern dies nicht bereits geschehen ist, müssen Sie EtherTalk
(ETALK EIN) nach den Anweisungen weiter oben in diesem Kapitel
aktivieren.
1. Schalten Sie den Drucker offline, indem Sie auf die Taste
„Online/Offline“ drücken.
2. Drücken Sie so oft auf [Menü], bis MIO MENU erscheint.
3. Drücken Sie auf [Option . CONFIGURE MIO erscheint.
4. Drücken Sie auf [Auswählen]. NETZKONFIG NEIN erscheint.
Diese Meldung bedeutet nicht, daß Sie das Protokoll neu
konfigurieren müssen, sondern besagt lediglich, daß Sie nicht
vorhaben, auf die Netzwerkkonfigurationsmenüs zuzugreifen.
5. Drücken Sie auf [Wert], um NETZKONFIG JA anzuzeigen.
Drücken Sie dann auf [Auswählen].
6. Drücken Sie auf [Option], bis ETALKKONFIG NEIN erscheint.
7. Ändern Sie diese Einstellung in ETALKKONFIG JA ab, indem
Sie auf [Wert] und dann auf [Auswählen] drücken.
8. Drücken Sie nun auf [Option]. Im Bedienfeld wird daraufhin
ETALK-PHASE=1 oder ETALK-PHASE=2 angezeigt.
•Wenn Sie die Phasen-Einstellung ändern wollen, drücken Sie
auf [Wert], bis die gewünschte Phasen-Einstellung erscheint,
und drücken Sie dann auf [Auswählen].
9. Um den Drucker zu aktivieren und die vorgenommenen
Änderungen zu speichern, drücken Sie auf die Taste
“Online/Offline“ .
Anweisungen zur Vervollständigung der Druckserver-
Konfigurationfinden Sie im HP JetDirect Software-
Installationshandbuch, das dem Produkt beiliegt.

Bedienfeld für Großformatdrucker 4-1
4
4
Konfigurieren der HP JetDirect
Karten über das Bedienfeld von
Großformatdruckern
Einleitung
Wenn Sie einen der nachstehend angeführten HP DesignJet
Drucker besitzen, können Sie bestimmte Netzwerkparameter
manuell über das Bedienfeld konfigurieren:
•DesignJet 3000CP/3500CP
•DesignJet 2000CP/2500CP
•DesignJet 755 CM
•DesignJet 750C Plus
•DesignJet 750C
•DesignJet 700
•DesignJet 650C
•DesignJet 600
HINWEIS Bei HP DesignJet ColorPro GA Druckern lesen Sie
bitte Kapitel 3.
Sie können bei diesen Großformatdruckern das Bedienfeld für
folgende Zwecke verwenden:
•zum Aktivieren und Deaktivieren von Netzwerkprotokollen
•zum Konfigurieren von Novell NetWare-Rahmentyp-
Parametern
•zum Konfigurieren von Novell NetWare-Ursprungs-Routing-
Parametern für Token Ring-Netzwerke
•zum Konfigurieren von TCP/IP-Parametern
•zum Konfigurieren von Apple EtherTalk-Phasenparametern
für Ethernet-Netzwerke
•zum Konfigurieren des Zeitlimits für die Erkennung des
Jobendes

4-2 Bedienfeld für Großformatdrucker
HINWEIS Die obengenannten Parameter können auch über die
HP JetDirect Software konfiguriert werden.
Nachdem Sie diese Parameter über das Bedienfeld konfiguriert
haben, müssen Sie zur Vervollständigung des Konfigurations-
vorgangs die entsprechende Druckserver-Software installieren.
Anweisungen hierzu finden Sie im HP JetDirect Software-
Installationshandbuch.
Unterstützte Netzwerkprotokolle
Wenn Sie die vom Werk bezogene Karte zum ersten Mal
installieren, sind alle unterstützten Netzwerkprotokolle aktiviert
bzw. eingeschaltet, wenn Sie den Drucker einschalten. Die Karte
ermöglicht einen automatischen Netzwerkwechsel zwischen
Netzwerkprotokollen bei Druckern, die diese Funktion nicht
unterstützen. Wenn Sie die Karte neu konfigurieren - z.B. ein
Netzwerkprotokoll deaktivieren - wird diese Konfiguration auf
der Karte gespeichert und bleibt dort auch nach Ausschalten des
Druckers erhalten.
Wenn ein Netzwerkprotokoll aktiviert ist, kann es vorkommen, daß
die Karte sogar dann aktiv Daten überträgt, wenn das betreffende
Protokoll im Netzwerk nicht verwendet wird. Dadurch kann das
Verkehrsaufkommen im Netzwerk leicht unnötig erhöht werden.
Um diesem Umstand vorzubeugen, können Sie die Karte so ein-
stellen, daß sie mit nur einem Netzwerkprotokoll arbeitet. Wenn
ein Netzwerkprotokoll aktiviert ist, sind alle anderen Protokolle
ausgeschaltet.
Vom Bedienfeld des Druckers aus können Sie die folgenden
Netzwerkproto-kolle konfigurieren:
•AUTO: Alle unterstützten Netzwerkprotokolle sind aktiv.
Die Karte nimmt die automatische Netzwerkumschaltung vor.
„Auto“ ist die Standardeinstellung.
•NOVELL: Das Novell NetWare-IPS/SPX-Netzwerkprotokoll
ist aktiviert, und alle anderen Netzwerkprotokolle sind
deaktiviert.
•DLC/LLC: Das DLC/LLC-Netzwerkprotokoll (IBM LAN
Server, MS LAN Manager, Windows für Workgroups, Windows
NT) ist aktiviert, und alle anderen Netzwerkprotokolle sind
deaktiviert.

Bedienfeld für Großformatdrucker 4-3
4
•TCP/IP: Das TCP/IP-Netzwerkprotokoll ist aktiviert, und alle
anderen Netzwerkprotokolle sind deaktiviert.
•ETALK (nur Ethernet-Karten): Das EtherTalk-Netzwerk-
protokoll ist aktiviert, und alle anderen Netzwerkprotokolle
sind deaktiviert.
HINWEIS EtherTalk wird nur auf dem HP DesignJet 650C
Drucker sowie Druckern der Serie 700, Serie 2500CP
und der Serie 3500CP unterstützt, vorausgesetzt,
daß ein PostScript-Modul installiert ist.
Zum Aktivieren oder Deaktivieren von
Netzwerkprotokollen auf DesignJet Druckern
der Serie 600 verfahren Sie wie folgt:
1. Schalten Sie den Drucker ein.
2. Vergewissern Sie sich, daß in der Bedienfeldanzeige des
Druckers STATUS und Betriebsbereit angezeigt wird.
3. Drücken Sie auf [Eingabe], bis MENÜS (VOLLE MENÜS auf dem
650C Drucker) und Plot-Verwaltung → erscheinen.
4. Drücken Sie so oft auf ↑, bis MENÜS und E/A-EINSTELLUNG→
zu lesen sind.
5. Drücken Sie dann auf [Eingabe], um auf den MEA-Steckplatz
zuzugreifen. E/A-EINSTELLUNG und Modular→ werden
angezeigt.
6. Drücken Sie auf [Eingabe]. Nun sind MEA-EINSTELLUNG und
NETZKONFIG=NEIN→ zu lesen.
7. Um auf das Netzwerk-Konfigurationsmenü zuzugreifen,
drücken Sie auf [Eingabe]. Die Anzeige lautet nun NETZKONFIG
und NEIN*.
8. Drücken Sie auf ↑. Nun erscheinen NETZKONFIG und JA.
9. Drücken Sie auf [Eingabe]. Es werden nun MEA-EINSTELLUNG
und NETZKONFIG=JA→ angezeigt.
Sie können nun auf das Netzwerk-Konfigurationsmenü
zugreifen.

4-4 Bedienfeld für Großformatdrucker
10. Drücken Sie auf ↑, so daß MEA-EINSTELLUNG und
NETZWERK=<Aktuelles Netzwerkprotokoll> in der
Anzeige erscheinen.
11. Drücken Sie auf [Eingabe]. Daraufhin erscheint
<Aktuelles Netzwerkprotokoll>*.
Ein * neben dem Protokoll kennzeichnet den aktuellen Wert.
12. Drücken Sie wiederholt auf ↑, um die Konfigurationsoptionen
zu durchlaufen. Wenn das gewünschte Protokoll angezeigt
wird, drücken Sie auf [Eingabe], um es zu speichern. In der
Anzeige erscheinen nun MEA-EINSTELLUNG und
NETZWERK=<Neues Netzwerkprotokoll>.
13. Drücken Sie so oft auf [Vorherige], bis Betriebsbereit zu
lesen ist. Der Drucker ist damit für das ausgewählte Protokoll
konfiguriert.
Beachten Sie, daß bei der Aktivierung nur eines Protokolls auf
einem Drucker der Serie 600 alle anderen Protokolle ausgeschaltet
werden. Sie können aber durch einen Kaltstart des Druckers
die Standardwerte wiederherstellen.
HINWEIS Jedesmal, wenn Sie auf das JetDirect Konfigu-
rationsmenü zugreifen, erscheint die Meldung
NETZKONFIG=NEIN*. Diese Meldung gibt lediglich
an, daß Sie nicht vorhaben, auf das Konfigurations-
menü zuzugreifen. Sie besagt nicht, daß Sie das
Protokoll neu konfigurieren müssen.
Wenn Sie mit dem manuellen Konfigurieren der Protokollparameter
fortfahren wollen, lesen Sie bitte die entsprechenden nachfolgenden
Abschnitte. Weitere Hinweise zum Vervollständigen der
Druckserver-Konfiguration finden Sie im HP JetDirect Software-
Installationshandbuch, das dem Produkt beiliegt.

Bedienfeld für Großformatdrucker 4-5
4
Zum Aktivieren oder Deaktivieren von
Netzwerkprotokollen auf DesignJet Druckern
der Serie 700/2000/2500/3000/3500 verfahren Sie
wie folgt:
1. Schalten Sie den Drucker ein.
2. Vergewissern Sie sich, daß in der Bedienfeldanzeige des
Druckers STATUS Bereit angezeigt wird.
3. Ändern Sie den Menümodus in der Bedienfeldanzeige von
„Kurz“ auf „Voll“ um.
a. Drücken Sie auf [Eingabe]. Wenn VOLLEMENÜS angezeigt
wird, fahren Sie mit Schritt 4 fort.
b. Wenn KURZMENÜS Queueing & Nesting→ erscheint,
drücken Sie auf ↓, bis DIENSTPROGRAMME
Menümodus=kurz→ zu lesen ist.
c. Drücken Sie auf [Eingabe]. Daraufhin wird MENÜMODUS
Kurz* angezeigt.
d. Drücken Sie auf ↓, und ändern Sie diese Einstellung auf
MENÜMODUS Voll um.
e. Drücken Sie auf [Eingabe]. In der Anzeige erscheint nun
DIENSTPROGRAMME Menümodus=Voll →. Drücken Sie nun
auf [Vorherige].
4. Greifen Sie auf das Menü MEA-EINSTELLUNG zu.
a. Drücken Sie bei VOLLEMENÜS auf ↓, bis E/A-EINSTELLUNG
erscheint.
b. Drücken Sie auf [Eingabe]. E/A-EINSTELLUNG Modular→
erscheint in der Anzeige.
c. Drücken Sie erneut auf [Eingabe], um NETZKONFIG=NEIN
anzuzeigen.
HINWEIS Jedesmal, wenn Sie auf das Konfigurationsmenü
zugreifen, erscheint die Meldung
NETZKONFIG=NEIN*. Diese Meldung gibt lediglich
an, daß Sie nicht vorhaben, auf das Konfigu-
rationsmenü zuzugreifen. Sie besagt nicht, daß Sie
das Protokoll neu konfigurieren müssen. Fahren Sie
bei Schritt 5 fort, um auf das JetDirect Konfigu-
rationsmenü zuzugreifen.
5. Drücken Sie auf [Eingabe]. Daraufhin erscheint NETZKONFIG
NEIN*. (Die gewählte Einstellung ist mit einem „*“ gekenn-
zeichnet.)

4-6 Bedienfeld für Großformatdrucker
6. Drücken Sie auf ↓ , um NEIN* auf JA umzuändern, und drücken
Sie auf [Eingabe], um NETZKONFIG=JA anzuzeigen.
7. Drücken Sie bei der Meldung NETZKONFIG=JA wiederholt auf
↑, um die Konfigurationsoptionen zu durchlaufen.
a. Um die Einstellung eines Netzwerkprotokolls zu ändern (zu
aktivieren oder deaktivieren), drücken Sie auf [Eingabe], ↓,
[Eingabe].
b. Um Parameter des Netzwerkprotokolls zu konfigurieren,
drücken Sie auf [Eingabe]. Drücken Sie auf ↓, um JA zu
wählen, und anschließend erneut auf [Eingabe].
Wenn Sie mit dem Konfigurieren der Protokollparameter
fortfahren wollen, lesen Sie bitte die entsprechenden
nachfolgenden Abschnitte.
8. Drücken Sie auf [Vorherige]. In der Anzeige ist wieder STATUS
Bereit zu lesen.
9. Um die Konfiguration zu speichern, drucken Sie eine Konfigu-
rationsgrafik aus, indem Sie gleichzeitig auf die beiden Pfeil-
tasten drücken. Die Druckerkonfiguration ist jetzt aktiv.
Weitere Hinweise zum Konfigurieren von Druckerparametern mit
der HP JetDirect-Druckerverwaltungssoftware und Vervollstän-
digen der Druckserver-Konfiguration finden Sie im HP JetDirect
Software-Installationshandbuch, das dem Produkt beiliegt.

Bedienfeld für Großformatdrucker 4-7
4
Konfigurieren der Novell NetWare-
Rahmentypen
NetWare-Rahmentypen können nur festlegt werden, wenn das
NetWare-Protokoll aktiviert ist (d.h. wenn NETZWERK=NOVELL→
oder NETZWERK=AUTO→ in der Bedienfeldanzeige erscheint).
Sie können eine der folgenden Rahmentyp-Einstellungen
konfigurieren:
Novell NetWare-Rahmentypen
auf der HP JetDirect Ethernet-Karte
Rahmentyp Beschreibung
AUTO
(Standard)
Der Rahmentyp wird automatisch ermittelt und auf diesen
Typ eingeschränkt.
EN_8023 Der Rahmentyp wird auf IPX unter Verwendung von
IEEE 802.3-Rahmen eingeschränkt. Alle anderen
Rahmen werden gezählt und verworfen.
EN_II Der Rahmentyp wird auf IPX unter Verwendung von
Ethernet-Rahmen eingeschränkt. Alle anderen Typen
werden gezählt und verworfen.
EN_8022 Der Rahmentyp wird auf IPX unter Verwendung von
IEEE 802.2 mit IEEE 802.3-Rahmen eingeschränkt. Alle
anderen Typen werden gezählt und verworfen.
EN_SNAP Der Rahmentyp wird auf IPX unter Verwendung von SNAP
mit IEEE 802.3-Rahmen eingeschränkt. Alle anderen
Typen werden gezählt und verworfen.

4-8 Bedienfeld für Großformatdrucker
Novell NetWare-Rahmentypen
auf der HP JetDirect Token Ring-Karte
Zum Konfigurieren eines NetWare-Rahmentyps
verfahren Sie wie folgt:
Sofern nicht bereits geschehen, müssen Sie Novell NetWare nach
den in diesem Kapitel unter „Aktivieren oder Deaktivieren von
Netzwerkprotokollen“ gegebenen Anweisungen aktivieren.
Bei Druckern der Serie 600
1. Greifen Sie auf das Konfigurationsmenü zu (siehe „Aktivieren
oder Deaktivieren von Netzwerkprotokollen“ in diesem
Kapitel).
2. Drücken Sie auf ↑, bis Novell→ oder Auto→ in der Anzeige
erscheint.
3. Drücken Sie auf ↑. MEA-EINSTELLUNG und
RAHMEN=<Aktueller Rahmentyp>→ erscheinen.
4. Wenn Sie den aktuellen Rahmentyp beibehalten wollen,
drücken Sie auf ↑.
5. Zum Ändern des Rahmentyps verfahren Sie wie folgt:
a. Drücken Sie [Eingabe], um den aktuellen Rahmentyp
anzuzeigen.
b. Drücken Sie so oft auf ↑, bis der gewünschte Rahmentyp
erscheint.
c. Drücken Sie nun auf [Eingabe], um den neuen Rahmentyp
zu speichern.
Rahmentyp Beschreibung
AUTO
(Standard)
Der Rahmentyp wird automatisch ermittelt und auf diesen
Typ eingeschränkt.
TR_8022 Der Rahmentyp wird auf IPX unter Verwendung von IEEE
802.2 LLC mit IEEE 802.5-Rahmen eingeschränkt. Alle
anderen Typen werden gezählt und verworfen.
TR_SNAP Der Rahmentyp wird auf IPX unter Verwendung von SNAP
mit IEEE 802.5-Rahmen eingeschränkt. Alle anderen
Typen werden gezählt und verworfen.

Bedienfeld für Großformatdrucker 4-9
4
Bei Druckern der Serie 700/2000/2500/3000/3500
1. Greifen Sie auf das Konfigurationsmenü zu (siehe „Aktivieren
oder Deaktivieren von Netzwerkprotokollen“ in diesem
Kapitel).
2. Drücken Sie bei der Menüoption KFG IPX/SPX=NEIN→ auf
[Eingabe], ↓, [Eingabe], damit KFG IPX/SPX=JA→ angezeigt
wird.
3. Drücken Sie auf ↑, um RAHMEN=AUTO anzuzeigen.
4. Ändern Sie den Rahmentyp, indem Sie so oft auf ↓ und [Eingabe]
drücken, bis der gewünschte Rahmentyp erscheint. Drücken
Sie dann erneut auf [Eingabe], um den Rahmentyp
auszuwählen.
5. Drücken Sie dann auf [Vorherige]. In der Anzeige ist wieder
STATUS Bereit zu lesen.
6. Um die Konfiguration zu speichern, drucken Sie eine Konfigu-
rationsgrafik aus, indem Sie gleichzeitig auf die beiden Pfeil-
tasten drücken. Die Druckerkonfiguration ist jetzt aktiv.
Wenn Sie mit dem manuellen Konfigurieren der Protokollpara-
meter fortfahren wollen, lesen Sie bitte die entsprechenden
Abschnitte in diesem Kapitel.
Hinweise zur Vervollständigung der Druckserver-Konfiguration
finden Sie im HP JetDirect Software-Installationshandbuch, das
dem Produkt beiliegt.
Konfigurieren der Novell NetWare-Ursprungs-
Routing-Parameter (nur für Token Ring-Karte)
Sie können die Methode für das Novell NetWare Token Ring-
Ursprungs-Routing über das Bedienfeld auswählen. Es gibt
folgende Routing-Methoden:
•AUTO (Standard): Ursprungs-Routing wird paketweise
aktiviert.
•AUS: Alle Pakete werden ohne Ursprungs-Routing gesendet -
d.h., sie müssen vom gleichen Ring stammen.
•EINZ-R: Alle Pakete werden mit Ursprungs-Routing gesendet.
Die Methode Einzelne Routen wird für Rundsendungen und bei
unbekannten Routen verwendet.
•ALLE-RT: Alle Pakete werden mit Ursprungs-Routing
gesendet. Die Methode Alle Routen wird für Rundsendungen
und bei unbekannten Routen verwendet.

4-10 Bedienfeld für Großformatdrucker
Sie können NetWare-Ursprungs-Routing nur dann konfigurieren,
wenn NetWare aktiviert ist und Sie eine Token Ring-Netzwerk-
schnittstelle installiert haben.
Zum Konfigurieren der NetWare-Ursprungs-
Routing-Parameter verfahren Sie wie folgt:
Sofern nicht bereits geschehen, müssen Sie Novell NetWare nach
den in diesem Kapitel unter „Aktivieren oder Deaktivieren von
Netzwerkprotokollen“ gegebenen Anweisungen aktivieren.
Bei Druckern der Serie 600
1. Greifen Sie auf das Konfigurationsmenü zu (siehe „Aktivieren
oder Deaktivieren von Netzwerkprotokollen“ in diesem
Kapitel).
2. Greifen Sie dann auf das Novell-Menü zu, indem Sie zuerst auf
[Eingabe], dann auf ↑ und danach wieder auf [Eingabe] drücken.
Daraufhin erscheinen MEA-EINSTELLUNG und KFG IPX/
SPX=JA→ in der Anzeige.
3. Drücken Sie so oft auf ↑, bis der aktuelle Ursprungs-Routing-
Parameter angezeigt wird. In der Anzeige sind nun MEA-
EINSTELLUNG und URSP.-RT=<aktueller Ursprungs-
Routing-Parameter>→ zu lesen.
4. Wenn Sie die aktuelle Einstellung beibehalten wollen, drücken
Sie auf ↑.
5. Zum Ändern der Ursprungs-Routing-Einstellung verfahren Sie
wie folgt:
a. Drücken Sie auf [Eingabe], um die aktuelle Einstellung
anzuzeigen.
b. Drücken Sie so oft auf ↑, bis die gewünschte Ursprungs-
Routing-Einstellung erscheint.
c. Drücken Sie dann auf [Eingabe], um die neue Ursprungs-
Routing-Einstellung zu speichern.

Bedienfeld für Großformatdrucker 4-11
4
Bei Druckern der Serie 700/2000/2500/3000/3500
1. Greifen Sie auf das Konfigurationsmenü zu (siehe „Aktivieren
oder Deaktivieren von Netzwerkprotokollen“ in diesem
Kapitel).
2. Drücken Sie bei der Menüoption KFG IPX/SPX=NEIN→ auf
[Eingabe], ↓, [Eingabe], um KFG IPX/SPX=JA→ anzuzeigen.
3. Drücken Sie wiederholt auf ↑, bis URSP.-RT=AUTO erscheint.
4. Zum Ändern der Ursprungs-Routing-Einstellung drücken Sie
so oft auf [Eingabe] und ↓, bis die gewünschte Einstellung
angezeigt wird.
5. Drücken Sie dann auf [Eingabe], um die Ursprungs-Routing-
Einstellung zu speichern. (Drücken Sie danach erneut auf
[Eingabe], um neben der von Ihnen getroffenen Auswahl ein *
(Sternchen) anzuzeigen.)
6. Drücken Sie dann auf [Vorherige]. In der Anzeige ist wieder
STATUS Bereit zu lesen.
7. Um die Konfiguration zu speichern, drucken Sie eine
Konfigurationsgrafik aus, indem Sie gleichzeitig auf die beiden
Pfeiltasten drücken. Die Druckerkonfiguration ist jetzt aktiv.
Wenn Sie mit dem manuellen Konfigurieren der Protokollpara-
meter fortfahren wollen, lesen Sie bitte die entsprechenden
Abschnitte in diesem Kapitel. Hinweise zur Vervollständigung der
Druckserver-Konfiguration finden Sie im HP JetDirect Software-
Installationshandbuch, das dem Produkt beiliegt.

4-12 Bedienfeld für Großformatdrucker
Konfigurieren der TCP/IP-Parameter
Über das Bedienfeld des Druckers können Sie manuell die
folgenden TCP/IP-Parameter konfigurieren:
•Sie können die Datei BOOTP konfigurieren, die automatisch
Daten zur Konfiguration vom Netzwerk lädt (dies ist die
Standardeinstellung),
oder
•Sie können die folgenden Parameter einzeln eingeben:
•IP-Adresse (4 Byte)
•Teilnetzmaske (4 Byte)
•IP-Adresse des Syslog-Servers (4 Byte)
•Standard-Gateway (4 Byte)
•Zeitlimit für TCP-Verbindung (in Sekunden)
HINWEIS Für DHCP-(Dynamic Host Configuration Protocol)-
Vorgänge muß BOOTP aktiviert sein.
Ist eine IP-Adresse unter Verwendung von DHCP
konfiguriert und wird sie später durch das Bedien-
feld geändert, wird die DHCP-zugeordnete Adresse
freigegeben.
Ist ein Drucker unter Verwendung von DHCP
konfiguriert und Sie ändern die Subnet-Maske oder
das Standard-Gateway manuell über das Bedien-
feld, sollten Sie ebenfalls die IP-Adresse ändern.

Bedienfeld für Großformatdrucker 4-13
4
Zum Konfigurieren der TCP/IP-Parameter
verfahren Sie wie folgt:
Sofern nicht bereits geschehen, müssen Sie TCP/IP nach den in
diesem Kapitel unter „Aktivieren oder Deaktivieren von Netzwerk-
protokollen“ gegebenen Anweisungen aktivieren.
Bei Druckern der Serie 600
1. Greifen Sie auf das Konfigurationsmenü zu (siehe „Aktivieren
oder Deaktivieren von Netzwerkprotokollen“ in diesem
Kapitel).
2. Drücken Sie auf [Eingabe] und dann so oft auf ↑, bis MEA-
EINSTELLUNG und TCP/IP KFG=NEIN→ angezeigt wird.
3. Drücken Sie auf zuerst auf [Eingabe], dann auf ↑ und danach
wieder auf [Eingabe]. Daraufhin erscheinen MEA-EINSTELLUNG
und TCP/IP KFG=JA→ in der Anzeige.
4. Drücken Sie nun auf ↑. MEA-EINSTELLUNG und BOOTP=JA→
oder BOOTP=NEIN→ sind nun zu lesen.
a. Wenn Sie die aktuelle Einstellung von „BOOTP=“ beibehalten
wollen, drücken Sie auf ↑ .
b. Zum Ändern der Einstellung von „BOOTP=“, drücken Sie
zuerst auf [Eingabe], dann auf ↑ und danach wieder auf
[Eingabe].
•Wenn Sie BOOTP=JA→ auswählen, ist der Drucker so
konfiguriert, daß seine TCP/IP-Parameter über das
Netzwerk unter Verwendung von BOOTP oder DHCP
abgerufen werden können.
Es erscheinen keine weiteren TCP/IP-Aufforderungs-
zeichen in der Bedienfeldanzeige des Druckers. Drücken
Sie auf ↑, um mit dem Konfigurieren der anderen
Netzwerkprotokolle fortzufahren, oder drücken Sie so oft
auf [Vorherige], bis Betriebsbereit in der Anzeige
erscheint.
•Wenn Sie BOOTP=NEIN→ auswählen, ist der Drucker so
konfiguriert, daß er über das Druckerbedienfeld
eingegebene TCP/IP-Parameter akzeptiert.
5. Drücken Sie auf ↑, um die einzelnen TCP/IP-Parameter zu
konfigurieren. Beim ersten Parameter lautet die Anzeige
MEA-EINSTELLUNG und IP-BYTE 1=<Wert>→.

4-14 Bedienfeld für Großformatdrucker
6. Wenn Sie den aktuellen Wert beibehalten wollen, drücken Sie
auf ↑.
7. Zum Ändern des Wertes verfahren Sie wie folgt:
a. Drücken Sie auf [Eingabe]. Daraufhin wird der aktuelle Wert
angezeigt.
b. Drücken Sie dann so oft auf ↑, bis der gewünschte Wert in
der Anzeige erscheint.
c. Drücken Sie zum Speichern des neuen Wertes auf [Eingabe].
In der Anzeige sind nun MEA-EINSTELLUNG und
IP-BYTE 1=<neuer Wert>→ zu lesen.
d. Drücken Sie auf ↑, um fortzufahren.
8. Konfigurieren Sie die restlichen Byte der IP-Adresse auf gleiche
Weise. Eine gültige IP-Adresse ist für den ordnungsgemäßen
Betrieb der Karte unbedingt erforderlich.
9. Sie können die Byte für die Teilnetzmaske (SM), die IP-Adresse
des Syslog-Servers (LG), das Standard-Gateway (GW) und das
Zeitlimit (ZEITLIMIT) auf gleiche Weise konfigurieren.
Die Standardeinstellung für den Parameter ZEITLIMIT
beträgt 90 Sekunden, aber Sie können einen Wert von bis zu
3600 Sekunden konfigurieren. Wenn dieser Parameter auf „0“
festgelegt wird, ist die Zeitlimit-Funktion der HP JetDirect
Karte deaktiviert, d.h. TCP/IP-Verbindungen bleiben so lange
offen, bis sie vom Server unterbrochen werden.
10. Drücken Sie so oft auf [Vorherige], bis Betriebsbereit
angezeigt wird.
Bei Druckern der Serie 700/2000/2500/3000/3500
1. Greifen Sie auf das Konfigurationsmenü zu (siehe „Aktivieren
oder Deaktivieren von Netzwerkprotokollen“ in diesem
Kapitel).
2. Drücken Sie bei der Menüoption TCP/IP KFG=NEIN→ auf
[Eingabe], ↓, [Eingabe], um TCP/IP KFG=JA→ anzuzeigen.
3. Drücken Sie dann auf ↑, um „BOOTP=“ anzuzeigen.
a. Wenn Sie die aktuelle Einstellung für „BOOTP=“ beibehalten
wollen, drücken Sie auf ↑.
b. Zum Ändern der Einstellung für „BOOTP=“ drücken Sie auf
[Eingabe], ↑, [Eingabe].

Bedienfeld für Großformatdrucker 4-15
4
•Wenn Sie BOOTP=JA→ auswählen, ist der Drucker so
konfiguriert, daß seine TCP/IP-Parameter über das
Netzwerk unter Verwendung von BOOTP oder DHCP
abgerufen werden können.
Es erscheinen keine weiteren TCP/IP-Aufforderungs-
zeichen in der Bedienfeldanzeige des Druckers. Drücken
Sie auf ↑, um mit dem Konfigurieren der anderen
Netzwerkprotokolle fortzufahren, oder drücken Sie so oft
auf [Vorherige], bis STATUS Bereit in der Anzeige
erscheint.
•Wenn Sie BOOTP=NEIN→ auswählen, ist der Drucker so
konfiguriert, daß er über das Druckerbedienfeld
eingegebene TCP/IP-Parameter akzeptiert. (Fahren Sie
mit 4. fort)
4. Wenn Sie BOOTP=NEIN→ haben, müssen Sie zum Konfigu-
rieren der einzelnen TCP/IP-Parameter auf ↑ drücken. Zum
Konfigurieren der IP-Adresse verfahren Sie z.B. wie folgt:
a. Drücken Sie auf ↑, bis IP-BYTE=0 angezeigt wird und dann
auf [Eingabe].
b. Drücken Sie auf ↑ oder ↓, um den entsprechenden Wert
(0-255) für das Byte auszuwählen, und drücken Sie danach
auf [Eingabe].
c. Drücken Sie auf ↑, um das nächste Byte auszuwählen.
d. Fahren Sie mit diesem Prozeß fort, bis alle Byte eingegeben
sind.
Für den ordnungsgemäßen Betrieb ist eine gültige IP-Adresse
erforderlich.
5. Ggf. können Sie die Byte für die Teilnetzmaske (SM), die IP-
Adresse des Syslog-Servers (LG), das Standard-Gateway (GW)
und das Zeitlimit (ZEITLIMIT) auf gleiche Weise konfigurieren.
Die Standardeinstellung für den Parameter ZEITLIMIT
beträgt 90 Sekunden, aber Sie können einen Wert von bis zu
3600 Sekunden konfigurieren. Wenn dieser Parameter auf „0“
festgelegt wird, ist die Zeitlimit-Funktion der HP JetDirect
Karte deaktiviert, d.h. TCP/IP-Verbindungen bleiben so lange
offen, bis sie vom Server unterbrochen werden.
6. Um die Konfiguration zu speichern, drücken Sie gleichzeitig auf
↑ und ↓. Eine Konfigurationsseite wird ausgedruckt. Die
Druckerkonfiguration ist jetzt aktiv.

4-16 Bedienfeld für Großformatdrucker
7. Drücken Sie so oft auf [Vorherige], bis STATUS Bereit
angezeigt wird.
Wenn Sie mit dem manuellen Konfigurieren der Protokoll-
parameter fortfahren wollen, lesen Sie bitte die entsprechenden
Abschnitte in diesem Kapitel.
Hinweise zur Vervollständigung der Druckserver-Konfiguration
finden Sie im HP JetDirect Software-Installationshandbuch, das
dem Produkt beiliegt.
Konfigurieren der Apple EtherTalk-
Phasenparameter (nur für Ethernet-
Karten)
HINWEIS EtherTalk wird von HP DesignJet 650C, und
Druckern der Serie 700 und 2500CP unterstützt,
in denen ein PostScript-Modul installiert ist.
Sie können die Apple EtherTalk-Parameter nur dann konfigu-
rieren, wenn das Apple EtherTalk-Protokoll und die Drucker-
sprache PostScript aktiviert sind (Sprache=Postscript→).
Zum Konfigurieren der EtherTalk-Parameter
verfahren Sie wie folgt:
Sofern nicht bereits geschehen, müssen Sie EtherTalk nach den in
diesem Kapitel unter „Aktivieren oder Deaktivieren von Netzwerk-
protokollen“ gegebenen Anweisungen aktivieren.
Bei Druckern der Serie 600
1. Greifen Sie auf das Konfigurationsmenü zu (siehe „Aktivieren
oder Deaktivieren von Netzwerkprotokollen“ in diesem
Kapitel).
2. Drücken Sie dann zum Zugriff auf das EtherTalk-Menü auf
[Eingabe], danach auf ↑ und anschließend erneut auf [Eingabe].
Daraufhin erscheinen MEA-EINSTELLUNG und
ETALK KFG=JA→ in der Anzeige.
3. Drücken Sie auf ↑. Nun ist
ETALK PHASE=<aktueller Wert>→ zu sehen.
4. Wenn Sie den aktuellen Wert beibehalten wollen, drücken
Sie auf ↑.

Bedienfeld für Großformatdrucker 4-17
4
5. Zum Ändern des Werts verfahren Sie wie folgt:
a. Drücken Sie auf [Eingabe], um den aktuellen Wert
anzuzeigen.
b. Drücken Sie so oft auf ↑, bis der gewünschte Wert erscheint.
c. Drücken Sie zum Speichern des neuen Werts auf [Eingabe].
In der Anzeige erscheinen nun MEA-EINSTELLUNG und
PHASE ETALK=<neuer Wert>→.
d. Drücken Sie auf ↑, um fortzufahren.
6. Drücken Sie so oft auf [Vorherige], bis Betriebsbereit
angezeigt wird.
Bei Druckern der Serie 700/2000/2500/3000/3500
1. Greifen Sie auf das Konfigurationsmenü zu (siehe „Aktivieren
oder Deaktivieren von Netzwerkprotokollen“ in diesem
Kapitel).
2. Drücken Sie bei der Menüoption ETALK KFG=NEIN→ auf
[Eingabe], ↓, [Eingabe], um ETALK KFG=JA→ anzuzeigen.
3. Drücken Sie auf ↑, um den aktuellen Phasenparameter
anzuzeigen. Drücken Sie auf [Eingabe], ↓, [Eingabe], um die
Einstellung ändern.
4. Um die Konfiguration zu speichern, drucken Sie eine Konfigu-
rationsgrafik aus, indem Sie gleichzeitig auf die beiden Pfeil-
tasten drücken. Die Druckerkonfiguration ist jetzt aktiv.
Wenn Sie mit dem manuellen Konfigurieren der Protokoll-
parameter fortfahren wollen, lesen Sie bitte die entsprechenden
Abschnitte in diesem Kapitel. Hinweise zur Vervollständigung der
Druckserver-Konfiguration finden Sie im HP JetDirect Software-
Installationshandbuch, das dem Produkt beiliegt.

4-18 Bedienfeld für Großformatdrucker
Konfigurieren des Zeitlimits für die
Erkennung des Jobendes beim
HP DesignJet der Serie 600
Wenn die HP JetDirect Karte in einem HP DesignJet Drucker der
Serie 600 installiert ist, ist ein JOB ZEITLIMIT-Parameter verfüg-
bar. Bei Netzwerken mit mehreren Netzwerkprotokollen gibt der
JOB ZEITLIMIT-Parameter an, wie lange die HP JetDirect Karte
mit einem aktiven Netzwerkprotokoll verbunden bleibt, auch wenn
keine Druckjobs über das Protokol empfangen werden. Nach Über-
schreitung dieses Zeitlimits gestattet die Karte dann den Zugriff
durch ein anderes Protokoll.
Zum Festlegen des JOB ZEITLIMIT-Parameters
verfahren Sie wie folgt:
Sofern noch nicht geschehen, greifen Sie nach den Anweisungen in
diesem Kapitel unter „Aktivieren oder Deaktivieren von Netzwerk-
protokollen“ auf das Netzwerk-Konfigurationsmenü zu.
1. Vergewissern Sie sich, daß im Bedienfeld des Druckers STATUS
und Betriebsbereit angezeigt werden.
2. Drücken Sie so oft auf [Eingabe], bis MENÜS (VOLLEMENÜS auf
dem 650C Drucker) und Plot-Verwaltung → angezeigt
werden.
3. Drücken Sie wiederholt auf ↑, bis MENÜS und E/A-
EINSTELLUNG→ zu lesen sind.
4. Drücken Sie auf [Eingabe], um auf den MEA-Steckplatz
zuzugreifen. In der Anzeige erscheinen nun E/A-EINSTELLUNG
und Modular→ .
5. Drücken Sie erneut auf [Eingabe]. Daraufhin werden MEA-
EINSTELLUNG und NETZKONFIG=NEIN→ angezeigt.
6. Drücken Sie zum Zugriff auf das Netzwerk-Konfigurations-
menü auf [Eingabe]. Die Anzeige lautet nun NETZKONFIG und
NEIN*.
7. Drücken Sie auf ↑, um die Anzeige auf NETZKONFIG und JA zu
ändern.
8. Drücken Sie auf [Eingabe]. MEA-EINSTELLUNG und
NETZKONFIG=JA→ werden angezeigt. Sie können nun auf das
Netzwerk-Konfigurations-menü zugreifen.

Bedienfeld für Großformatdrucker 4-19
4
9. Drücken Sie wiederholt auf ↑, bis MEA-EINSTELLUNG und
JOB ZEITLIMIT= <aktueller Wert>→ zu lesen sind.
10. Wenn Sie den aktuellen Wert beibehalten wollen, drücken Sie
auf ↑.
11. Zum Ändern des Werts verfahren Sie wie folgt:
a. Drücken Sie auf [Eingabe], um den aktuellen Wert anzu-
zeigen.
b. Drücken Sie auf ↑ oder ↓, bis der gewünschte Wert erscheint
(30 bis 99 Sekunden).
c. Drücken Sie zum Speichern des neuen Werts auf [Eingabe].
Daraufhin erscheint JOB ZEITLIMIT=<neuer Wert>→ in
der Anzeige.
d. Drücken Sie dann auf ↑, um fortzufahren.
12. Drücken Sie so oft auf [Vorherige], bis Betriebsbereit
angezeigt wird.
Wenn Sie mit dem manuellen Konfigurieren anderer Parameter
fortfahren wollen, lesen Sie bitte die entsprechenden Abschnitte in
diesem Kapitel.
Hinweise zur Vervollständigung der Druckserver-Konfiguration
finden Sie im HP JetDirect Software-Installationshandbuch.

4-20 Bedienfeld für Großformatdrucker

Spezifikationen und Bestimmungen A-1
A
A
Spezifikationen und Bestimmungen
Spezifikationen für HP J4100A, HP J4105A
und HP J4106A Druckserver-Karten
Stromversorgung
Umgebungsbedingungen
Elektromagnetische Bedingungen
*Einzelheiten zur Einhaltung der EG-Immunitätsbestimmungen
finden Sie in der Konformitätserklärung auf Seite A-4.
Typisch: 0,60 A bei 5 V; maximal: 1,25 A bei 5 V
Betrieb Lagerung
Temperatur 0°C bis 55°C -40°C bis70°C
Relative
Luftfeuchtigkeit:
(nicht
kondensierend)
15% bis 95% bei
40°C
15% bis 90% bei
65°C
Maximale Höhenlage 4.600 m 4.600 m
FCC Titel 47 CFR Abschnitt 15 Klasse A (USA)
ICES-003 Klasse A (Kanada)
VCCI Klasse A (Japan)
AS/NZS3548 Klasse A (Australien, Neuseeland)
CISPR-22 Klasse A (1993)* (International, Europa)
CNS 13438 Klasse A (Taiwan)
EMI-Bestimmungen von Korea, Nr. 1996-98 Klasse A (Korea)

A-2 Spezifikationen und Bestimmungen
Zulassungsangaben
FCC-Bestimmungen (USA)
Allgemeine Informationen
Dieses Gerät entspricht Abschnitt 15 der FCC-Bestimmungen.
Die Betriebsgenehmigung setzt voraus, daß die folgenden beiden
Bedingungen erfüllt sind: (1) Dieses Gerät darf keine Funkstörungen
verursachen. (2) Dieses Gerät muß Funkstörungen, einschließlich
solcher, die eine unerwünschte Inbetriebnahme verursachen
könnten, ohne Beeinträchtigung aufnehmen können.
Laut Abschnitt 15.21 der FFC-Bestimmungen führen Veränderungen
oder andere Eingriffe an diesem Gerät, zu denen Hewlett-Packard
nicht ausdrücklich seine Zustimmung gegeben hat, möglicherweise
zu Funkstörungen und können die FCC-Genehmigung zum Betrieb
dieses Geräts außer Kraft setzen.
Das amerikanische Telekommunikationsamt (FCC) hat zum
Thema Funkstörungen eine Broschüre unter dem Titel Interference
Handbook (1986) herausgegeben, die weiterführende Hinweise
enthält. Diese Broschüre (Bestellnummer 004-000-004505-7)
kann vom Superintendent of Documents, U.S. Government
Printing Office, Washington, D.C. 20402, bezogen werden.
FCC-Klasse A für HP J4105A Token Ring und
HP J4100A/J4106A mit Ethernet/IEEE 802.3/
802.3u
Dieses Gerät wurde typengeprüft und entspricht den Grenzwerten
für Digitalgeräte der Klasse A, gemäß Abschnitt 15 der Bestim-
mungen des amerikanischen Telekommunikationsamtes (FCC).
Diese Bestimmungen dienen dazu, in einer kommerziellen
Umgebung einen angemessenen Schutz gegen Funkstörungen
zu gewährleisten. Dieses Gerät erzeugt und verwendet HF-
Frequenzen und strahlt diese u.U. auch aus. Bei unsachgemäßer
Installation und unsachgemäßem Betrieb entgegen den
Handbuchanweisungen kann es zu Funkstörungen kommen.
Wenn diese Karte in einem Produkt der FCC-Klasse B installiert
wird - also bei Anschluß an ein Ethernet/IEEE 802.3- oder Token
Ring (IEEE 802.5)-Netzwerk, ergibt dies (nach Definition der FCC-
Bestimmungen) ein Gesamtsystem der FCC-Klasse A.

Spezifikationen und Bestimmungen A-3
A
Sollte dieses Gerät Störungen des Rundfunk- oder Fernseh-
empfangs verursachen (was durch wiederholtes Ein- und
Ausschalten des Geräts überprüft werden kann), wird dem
Benutzer nahegelegt, die Funkstörungen durch eine oder mehrere
der folgenden Maßnahmen zu beheben:
•Richten Sie die Empfangsantenne anders aus, oder verlagern
Sie ihren Standort.
•Vergrößern Sie den Abstand zwischen Gerät und Rundfunk-
bzw. Fernsehgerät.
•Schließen Sie das Gerät an einen anderen Stromkreis an.
•Fragen Sie Ihren Fachhändler oder einen erfahrenen
Rundfunk- oder Fernsehtechniker um Rat.
Europäische Gemeinschaft
Bei Verwendung mit Ethernet- (IEEE 802.3/802.3u 10/100Base-
TX) oder Token Ring-Konfigurationen entspricht dieses Gerät der
EN55022-Klasse A.
ACHTUNG Dies ist ein Produkt der Klasse A. Wenn dieses Gerät
zu Hause betrieben wird, kann es zu Funkstörungen
kommen, die dann durch den Benutzer behoben
werden müssen.

A-4 Spezifikationen und Bestimmungen
Konformitätserklärung
Die folgende Konformitätserklärung entspricht den Vorschriften
gemäß ISO/IEC Guide 22 und EN45014. Diese Erklärung iden-
tifiziert das Produkt, nennt den Namen und die Adresse des
Herstellers sowie die zutreffenden Spezifikationen, die in der
Europäischen Gemeinschaft anerkannt werden.

Spezifikationen und Bestimmungen A-5
A
Australien
Dieses Gerät erfüllt die Anforderungen der australischen
EMC-Klasse.
Kanada
Dieses Gerät erfüllt die Anforderungen der kanadischen
EMC-Klasse A.

A-6 Spezifikationen und Bestimmungen

HP J4100A 10/100 Base-TX-Druckserver B-1
B
B
HP J4100A 10/100 Base-TX-Druckserver
Unterstützte Verbindungen
HP J4100A JetDirect 10/100 Base-TX-Druckserver unterstützen
10 oder 100 Mbps-Betrieb im Voll- oder Halbduplexmodus. In den
meisten Fällen wird Vollduplex unterstützt, wenn das verbindende
Netzwerkgerät, wie z.B. ein Netzwerkschalter oder eine -buchse,
die Spezifikationen zum selbständigen Austausch (IEEE 802.3u)
unterstützt.
Beim Anschluß an Netzwerkgeräte, die keine automatische
Abstimmung unterstützen oder die eine nichtkonforme
Verbindungsabstimmung unterstützen, konfiguriert sich der
Druckerserver für den 10- oder 100-Mbps-Halbduplex-Betrieb.
Ist die Karte des Druckservers beispielsweise mit einer Buchse mit
10-Mbps und ohne automatische Abstimmung verbunden, wird sie
automatisch auf Halbduplex-Betrieb mit 10-Mbps eingestellt.
Kann die Karte nicht per automatischer Abstimmung mit dem
Netzwerk verbunden werden, können Sie den Verbindungs-
Betriebsmodus manuell mit dem Verbindungs-Konfigurations-
schalter auf der Karte einstellen.
LEDs für die Verbindungsgeschwindigkeit
Der HP J4100A-Druckserver verfügt über 2 LED-Anzeigen nahe
dem RJ-45-Anschluß. Diese LEDs zeigen die Geschwindigkeit der
Betriebsverbindung an, und zwar entweder 10 oder 100 Mbps.
LED-Status: Aus Ein
Beschreibung: Nicht verbunden Verbindung mit der
angegebenen
Geschwindigkeit hergestellt
(Mbps)
LED 100 Mbps
LED 10 Mbps

B-2 HP J4100A 10/100 Base-TX-Druckserver
Einstellungen des Verbindungs-
Konfigurationsschalters
Die HP J4100A JetDirect 10/100Base-TX-Karte ist mit Verbin-
dungs-Konfigurationsschaltern ausgestattet, die manuell einge-
stellt werden können, falls die Karte nicht über automatischen
Austausch an das Netzwerk angeschlossen werden kann. Sie
können den Verbindungsbetrieb auf 100 Mbps-Vollduplex,
100 Mbps-Halbduplex oder 10 Mbps-Halbduplex einstellen.
(Beachten Sie, daß Sie eventuell ebenfalls den Anschluß der
Buchse oder des Schalters neu konfigurieren müssen.)
Definitionen der Schaltereinstellungen entnehmen Sie bitte der
folgenden Abbildung.
Schalter
P4
Schalter
P3
Schalter
P2
Beschreibung
Auto -- -- Standardeinstellung. JetDirect
handelt die Verbindungs-
geschwindigkeit und den
Duplexmodus automatisch aus.
Man Half 100 JetDirect ist manuell auf 100 Mbps,
Halbduplex, eingestellt.
Man Half 10 JetDirect ist manuell auf 10 Mbps,
Halbduplex, eingestellt.
Man Full 100 JetDirect ist manuell auf 100 Mbps,
Vollduplex, eingestellt.
Man Full 10 JetDirect ist manuell auf 10 Mbps,
Vollduplex, eingestellt.
Verbindungs-
Konfigurationsschalter

HP J4100A 10/100 Base-TX-Druckserver B-3
B
Fehlerbehebung bei den Verbindungen
Wenn der HP J4100A JetDirect 10/100Base-TX Druckserver nicht
erfolgreich an das Netzwerk angeschlossen werden kann, sind beide
LEDs aus, und im MIO-Abschnitt der HP JetDirect-Selbsttestseite
erscheint eine Fehlermeldung wie „LOSS OF CARRIER ERROR“.
HINWEIS Der HP J4100A JetDirect 10/100Base-TX-Druck-
server kann bis zu 10 Sekunden benötigen, um eine
Verbindung zum Netzwerk aufzubauen. Daher
sollten Sie bis zu 30 Sekunden abwarten, bevor
Sie eine Testseite ausdrucken, um eine Netzwerk-
verbindung zu überprüfen.
Versuchen Sie folgendes zur Fehlerbehebung:
•Überprüfen Sie die Kabelverbindungen.
•Konfigurieren Sie den Anschluß am Netzwerkgerät (wie z.B.
einer Schaltbuchse), das den Druckserver mit dem Netzwerk
verbindet, für Halbduplexbetrieb. Schalten Sie dann den
Drucker aus und wieder ein.
•Stellen Sie die Verbindungskonfiguration sowohl am JetDirect-
Druckserver als auch am Netzwerkgerät manuell ein, wobei Sie
sicherstellen sollten, daß beide Verbindungskonfigurationen
übereinstimmen. (Wenn Sie z.B. den HP JetDirect-Druckserver
auf 100TX-Vollduplexbetrieb einstellen, muß der Anschluß an
Netzwerkbuchse oder -schalter ebenfalls auf 100TX- Voll-
duplexbetrieb eingestellt werden.) Schalten Sie den Drucker
aus und wieder ein.
Weitere Hilfe leistet Ihre zuständige HP-Kundenservice-Zentrale.

B-4 HP J4100A 10/100 Base-TX-Druckserver

©Copyright 2000
Hewlett-Packard Company
2/2000
Handbuch-Teilenummer
5969-3590
*5969-3590*