HUBSAN TECHNOLOGY 122DRX HUBSAN X4 Storm Racing Drone User Manual 15 H122D UserMan
SHENZHEN HUBSAN TECHNOLOGY CO., LTD. HUBSAN X4 Storm Racing Drone 15 H122D UserMan
15_H122D UserMan

®
H122D X4 RACING DRONE
《H122D Quick Start Guide》
Version 1.1

Step 1
The first flight configuration: Aircraft + HT015
Transmitter
Binding the aircraft and transmitter
1. Pull and hold the throttle to its lowest position.
2.Hold down the Photo key and power the transmitter on. The
transmitter’s status LED will flash red; please do not press or touch any
other keys, buttons or sticks while this process is ongoing. Users may let
go of the Photo key and throttle. Connect the aircraft to its battery and
allow it to bind to the transmitter. The two must be very close to each
other; when the bind is successful, the binding status LED will turn green.
Step 2
Horizontal calibration (also known as Gyro calibration)
Horizontal calibration is required when the aircraft drifts on the horizontal
01
All illustrations are shown in Mode 2 (American hand)

When using the horizontal calibration, please ensure that the aircraft is
on a completely flat surface. Aircraft motors should be completely
disarmed. Do not move the aircraft during calibration or calibrate on an
uneven/tilted surface, or there will be errors.
Hold the left stick to the
right side of its socket.
Start
Calibration complete
plane during flight. When this happens, land the aircraft and disarm its
motors. Follow the below steps to do a horizontal/gyro calibration.
1) Place the aircraft on a completely flat surface and then follow the below
calibration procedure. Hold the left stick to the right side of its socket.
Rapidly and continuously wiggle the right stick left and right until the rear
red LEDS flash alternately.
2) Calibration is complete when the LED indicators stop flashing. It is
recommended that users wait for 15-20 seconds after the calibration is
completed before flying again.
Rapidly and continuously wiggle
the right stick left and right until
the rear LEDS flash alternately.
02

Step 3
Takeoff
Simultaneously pull the transmitter joysticks diagonally down-out to arm
the motors (as shown in the below figure). Pull the left joystick (throttle)
upwards to take off.
Landing
Slowly and gently pull the throttle joystick down until the copter has
completed its descent on the ground. Simultaneously pull the transmitter
joysticks diagonally down-out to disarm the motors (as shown in the below
figure).
03

Step 1
Binding the aircraft and transmitter
1. Pull and hold the throttle to its lowest position. Hold down the Photo key
and power the transmitter on; allow the transmitter to enter binding mode.
2. Power the HS001 on by pushing the power switch up. Long press the
display’s binding button (shown below) to allow the HS001 to enter
binding mode. The display will beep three times.
04
The second flight configuration: Aircraft + HS001+
HT015 Transmitter+HV002 Video glasses
All illustrations are shown in Mode 2 (American hand)

3. Connect the drone to its battery. While all units are in either binding or
pairing modes, please do not touch, press or move any of the transmitter
joysticks, buttons or keys. Doing so will cause the aircraft to drift or
perform unstably during flight. After binding is successful, the
transmitter’s binding status LED will be a solid blue.
Step 2
Horizontal calibration (also known as Gyro calibration)
Horizontal calibration is required when the aircraft drifts on the horizontal
plane during flight. When this happens, land the aircraft and disarm its
motors. Follow the below steps to do a horizontal/gyro calibration.
1. Place the aircraft on a completely flat surface and then follow the below
calibration procedure. Hold the left stick to the right side of its socket.
Rapidly and continuously wiggle the right stick left and right until the rear
red LEDS flash alternately.
2. Calibration is complete when the LED indicators stop flashing. It is
recommended that users wait for 15-20 seconds after the calibration is
completed before flying again.
Hold the left stick to the
right side of its socket.
Start
Calibration complete
Rapidly and continuously wiggle
the right stick left and right until
the rear LEDS flash alternately.
05

After installing the display, check if the face panel is loose. If yes,
please readjust accordingly.
When using the horizontal calibration, please ensure that the aircraft is
on a completely flat surface. Aircraft motors should be completely
disarmed. Do not move the aircraft during calibration or calibrate on an
uneven/tilted surface, or there will be errors.
Installing the HS001 display
Option 1: Secure the HS001
display to the HT015’s mobile
device bracket.
Option 2 (with the HV002 video
goggles): Press the release key on
the HV002 goggles to release its
face panel. Install the HS001 into
the exposed compartment and
shut the panel. After the
installation, one may put the
goggles on and adjust to fit with the
adjustable head strap.
06
Step 3

07
After flight, please completely shut off the aircraft, transmitter and
external display.
Step 4
Takeoff
Simultaneously pull the transmitter joysticks diagonally down-out to arm
the motors (as shown in the below figure). Pull the left joystick (throttle)
upwards to take off.
Landing
Slowly and gently pull the throttle joystick down until the copter has
completed its descent on the ground. Simultaneously pull the transmitter
joysticks diagonally down-out to disarm the motors (as shown in the below
figure).

08
Getting to know your H122D(FCC ID: 2AN75-122DRX)
Canopy
Camera Head
Motor
LED
Propeller B
Aircraft
status LED
Battery strap
LiPo battery
5.8G antenna
Propeller A
TF card slot
Thank you for purchasing a HUBSAN product. The H122D is an easy to
fly racing aircraft, paired with a multifunctional remote control.

Getting to know your HT015(FCC ID:2AN75-T015TX)
Getting to know your HS001
Micro-SD
charging port
TF card slot
Battery compartment
Photo key
Video key
Aileron trim
Power switch
Mobile Device frame
Joystick
Joystick
Power button
Headlight power toggle
Binding status LED
09
Clear Screen key
Transmitter status LED
HT015 low power status LED

Getting to know your HV002
Charging
status LED
5.8 Antenna
Sunshade
recess
Face panel release
LCD screen
Photo/Video
mode switch button
Record button
Main Menu
Speaker
Binding/Clear
screen button
10

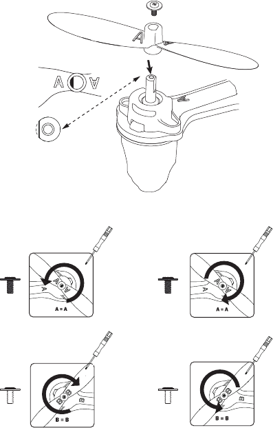
Installing and removing propellers
Installation: Before installing propellers for the first time, please check that
each Propeller A is matched with motor A and each Propeller B is
matched with motor B. Align the "I" with the flat side of the "D" shaped
motor shaft. Then use the provided screws and screwdriver to secure
each propeller. Propeller A’s are paired with black propeller screws and
are tightened counterclockwise. Propeller B’s are paired with silver
propeller screws and are tightened clockwise. (as shown below)
Removal: If propellers need to be changed, please uninstall as shown
below with a screwdriver. Propeller A’s are paired with motor A shafts and
are untightened clockwise. Propeller B’s are paired with motor B shafts
and are untightened counterclockwise.
11
Propeller A
Propeller B
Propeller B
Propeller A

Note: Mind the differing colors of the A and B propeller screws!
12
<Figure 1>
Counterclockwise
to install
Clockwise to
install
Clockwise to
remove
Installation Removal
Counterclockwise
to remove
“D” Shaft

Charging and Installing the Aircraft battery
The H122D aircraft is paired with a rechargeable 7.6v, 710mAh Li-Po. Be
sure to use the provided Hubsan dedicated charger for charging. Fully
charge the battery before flight. Connect the charger’s USB adapter to a
PC terminal and then the battery to the charger. Charging time is
approximately 130 min; recommended flight time is 6.5 minutes. Be sure
to charge the battery before each flight.
Installation: Push the battery into its compartment with its lines facing
away from the unit. Connect it to the drone’s power line and coil the power
line into the compartment. Be careful to avoid entangling the power line
with the propellers.
13

1. Aircraft and remote control are not pairing
(1) Check that the aircraft and remote control are both powered on.
(2) Turn off both the aircraft and remote control. Rebind the aircraft to the
remote control by following the rebind directions on page 1 of this guide.
2. No video on the screen or user is experiencing strong video
feed interference
(1) Check whether there are strong sources of wireless interference (i.e.
WIFI, electricity, radio tower frequencies, etc). If there are any, please
change your flight location.
(2) Rebind the copter to the transmitter, as the 5.8 and 2.4 frequencies
might be interfering with each other.
(3) Browse through the selection of available 5.8gHz frequencies to find a
clean channel.
3. Aircraft/video feed is shaking/shaky
(1) Check if the aircraft propellers are deformed or broken. Please replace
them.
(2) Check that all aircraft body screws are firmly in place.
(3) Check whether any motor shafts are broken. Motors must be replaced
if the shafts are broken.
4. Cannot take videos or pictures
(1) Check to see that the SD card is installed in the aircraft prior to
power on.
(2) Make sure the SD card is Class 10 or higher, contains 16GB or
32GB of storage and is formatted to FAT32.
Frequently Asked Questions
14

Disclaimer & Warning
All users must read product operating instructions as well as this liability disclaimer before using
any Hubsan product. By using a Hubsan product(s), users are accepting the terms and
conditions of Hubsan liability and operational guidelines. This product is not suitable for minors
under 14 years of age. While operating a Hubsan product(s), users also accept all liability and
responsibility for their own behavior, actions as well as any consequences resulting thereof while
using a Hubsan product(s). These products may only be used for purposes that are proper and in
accordance with local regulations, terms and any applicable policies/guidelines Hubsan may
make available. Users agree to comply with these terms and conditions, along with any and all
relevant policies/guidelines set forth by Hubsan.
Limitation of Liability
Hubsan accepts no liability for damages, injuries or any legal responsibilities incurred directly or
indirectly from the use of Hubsan products under the following conditions:
1. Damages, injuries or any legal responsibilities incurred when users are drunk, under the
influence of drugs or anesthesia, dizzy, fatigued, nauseous and/or affected by other conditions
both physical and mental that could impair sound judgment and/or personal ability.
2. Subjective misjudgment and/or intentional mis-operation of products.
3. Any and all mental damage, trauma, impairment, illness, compensation caused/solicited by
accidents involving Hubsan products.
4. Product operation in no-fly zones (i.e. natural reserves).
5. Malfunctions or problems caused by modification, refit, replacement or use with non-Hubsan
accessories/parts, failure to follow the guidance of the manual in assembly or operation.
6. Damages, injuries or any legal responsibilities caused by mechanical failures due to natural
wear and tear (aircraft flight time clocking in 100 hours or above), corrosion, aging hardware, etc.
7. Continued flight after low voltage protection alarms are triggered.
8. Knowingly flying aircraft under abnormal conditions (such as when water, oil, soil, sand or
other unknown material are inside the X4, the aircraft and/or transmitter are incompletely
assembled, the main components have obvious faults, obvious defect or missing accessories,
etc).
9. Flying in the following situations and/or environments: areas with magnetic interference (such
as high voltage lines, power stations, broadcasting towers and mobile base stations), radio
interference, government regulated no-fly zones, if the pilot loses sight of the X4, suffers from
15

WARNING
1. This product complies with FCC RF radiation exposure limits set forth for an uncontrolled
environment. This product also complies with Part 15 of the FCC rules. Operation is subject to
the following two conditions:
(1) This device may not cause harmful interference.
(2) This device must accept any interference received, including interference that may cause
undesired operation.
NOTE: The manufacturer is not responsible for any radio or TV interference caused by
unauthorized modifications or changes to the X4. Such modifications or changes could void the
user's authority to operate the product.
NOTE: This equipment has been tested and found to comply with the limits for a Class B digital
device, pursuant to Part 15 of the FCC rules.
These limits are designed to provide reasonable protection against harmful interference in a
residential installation. This equipment generates, uses and can radiate radio frequency energy.
If not installed and used in accordance with the instructions, it may cause
harmful interference to radio communications. However, there is no guarantee that interference
16
poor eyesight or is otherwise unsuited for operating Hubsan products.
10. Aircraft use in or exposure to bad weather, such as a rain, wind, snow, hail, lighting,
tornadoes and hurricanes.
11. Products are involved in/exposed to collisions, fire, explosions, floods, tsunamis, manmade
and/or natural structure collapses, ice, avalanches, debris, landslides, earthquakes, etc.
12. The acquisition, through use of Hubsan products (specifically but not limited to aircraft), of any
data, audio, video that results in infringement of law and/or rights.
13. Misuse and/or alteration of batteries, product/aircraft circuits, hardware protections (including
protection circuits), RC model and battery chargers.
14. Any malfunction of equipment or accessory, including memory cards, that results in the failure
of an image or video to be recorded or to be recorded in a way that is machine readable.
15. Users who engage in reckless, unsafe flying (with or without sufficient training).
16. Noncompliance with precautions, instructions, information and operation guidelines/methods
given through official Hubsan website announcements, product quick start guides, user manuals,
etc.
17. Other losses, damages, or injuries that are not within the boundaries of Hubsan responsibility.
17
will not occur in a particular installation. If this equipment does cause harmful interference to
radio or television reception (which can be determined by turning the equipment off and on) the
user is encouraged to try to correct the interference with one or more of the following measures:
·√ Reorient or relocate the receiving antenna.
·√ Increase the distance between the aircraft and transmitter.
·√ Consult the product dealer or an experienced radio/TV technician for help.
2. Make sure that antennas are at least 20 cm away from people. The internal remote control
USB interface and aircraft USB interface can only be connected using USB 2.0 and above. Do
not connect to a USB power connector. Please use correct batteries, as the use of other types
puts the device at risk of exploding. Follow guidelines for handling used batteries correctly.
Hubsan gaurantees that this product meets basic 19991/EC requirements, as well as some other
relevant directives.
3. Please note that this product is intended for personal use and should never be used in a
manner that infringes upon or contravenes international or domestic law and regulations.
You shall not use Hubsan products to:
1) Defame, abuse, harass, stalk, threaten or otherwise violate the legal rights (such as right of
privacy and publicity) of others.
2) Photograph people on private property without their consent or photograph in areas where
photography is prohibited without prior authorization.
3) Use Hubsan products for illegal or inappropriate purposes (such as for espionage, military
operation, unauthorized investigation and unauthorized detection).
social habits.
4) Violate or disregard applicable laws, administrative rules and social customs.
Please note:
1) Filming or recording shows, exhibitions or other commercial buildings for private purposes
may in some cases result in the infringement of intellectual property rights.
2) In some regions and countries, small aerial photography aircraft are prohibited from engaging
in commercial activities.
If you encounter any problems that you can not resolve during the installation process, please
contact an official distributor or Hubsan Technical Support. All intellectual property
rights/copyrights of this product and its manual are owned by Shenzhen Hubsan Science and
Technology Co., Ltd. No organization or individual may reprint, duplicate or publish in any form
without prior written permission. If quoted or published, it shall be indicated that the source is
Shenzhen Hubsan Science and Technology Co., Ltd., and shall not be inconsistent with the
original source for reference, deletion and modification.

Instructions
Some product flight functions are restricted in certain areas. Once you use this product, you are
deemed to have read carefully the relevant ICAO regulations, local airspace control provisions
and the regulations governing UAVs. You assume all liability for any non-compliance with the
foregoing, are responsible for the consequences for your actions as well as any indirect and/or
direct liability that arises as a result of these limitations.
Flight environment requirements
(1) Select an open environment devoid of high rise buildings and tall obstructions (such as trees
and poles). Near buildings and obstacles, flight control signals and GPS signals can be severely
weakened; GPS functions such as GPS mode and Return to Home may not function properly.
(2) Do not fly in bad weather conditions (such as in wind, rain or fog).
(3) Fly the drone in ambient temperatures of 0-40 ℃.
(4) When flying, please stay away from obstructions, crowds, high voltage lines, trees, water,
etc.
(5) To avoid remote control signal interference, do not fly in complex electromagnetic
environments (such as venues with radio stations, power plants and towers).
(6) The aircraft cannot be used in or near the Arctic circle or Antartica.
(7) Do not fly in no fly zones.
(8) Do not operate the aircraft near high pressure lines, airports or areas with severe magnetic
interference.
CAUTION
RISK OF EXPLOSION IF BATTERY IS REPLACED BY AN INCORRECT TYPE.
DISPOSE OF USED BATTERIES ACCORDING TO THE INSTRUCTIONS.
18

Product Name:X4 STORM
Company:Shenzhen Hubsan Technology Co., Ltd.
Address:13th Floor, Block 1, Tower C, Software
Industry Base, Xuefu Road,
Nanshan District, Shenzhen, China.
Factory:Dongguan Tengsheng Industrial Co., Ltd.
Address: A22# Luyi Street, Tianxin Village,
Tangxia Town, Dong guan, China.
Hotline:0769-82776166(China)
Warning:
Do not leave the quadcopter charging unattended. Always
disconnect the quadcopter from the charger immediately
after charging is complete.
This is not a toy and is not suitable for children under 14.
Notice:Read the instruction manual carefully before use.
Propellers may cause injury; caution!
www.HUBSAN.com
User Manual