Hangzhou Gubei Electronics Technology WT1 Embedded Wi-Fi Module User Manual ds wt1sbs engx
Hangzhou Gubei Electronics Technology Co.,Ltd Embedded Wi-Fi Module ds wt1sbs engx
User Manual

B
B
iTren
d
d
™ EssentialSe
r
r
iesWi-
F
F
i Mod
Datash
e
W
ule
e
et
W
T1SBS

C
o
The
Gu
b
por
t
the
Fur
t
doc
pro
d
nev
e
she
e
V
e
V 1.
Ha
n
o
pyrig
h
informatio
n
b
ei Electron
i
t
ion of this
prior writte
n
t
her BroadLi
ument du
e
d
ucts menti
e
rtheless b
e
e
t.
e
rsion
H
0.0 20/0
5
n
gzhou
G
h
t Info
r
n
contained
i
cs Technol
o
document
m
n
consent o
f
nk reserves
e
to typog
r
oned in the
e
incorpora
t
H
istor
y
5
/2015 1s
t
G
ubei El
e
r
mati
o
in this doc
u
o
gy Co., Lt
d
m
ay be alte
r
f
BroadLink,
the right to
r
aphical er
r
document
t
ed into ne
w
y
t
issue of pr
e
e
ctronics
o
n
u
ment is th
e
d
. (hereinaf
t
r
ed or edit
e
the copyrig
make mod
i
r
ors, inaccu
at any time
w
editions o
e
liminary do
c
Technol
e
proprieta
r
t
er referred
e
d in any fo
r
htholder.
i
fications, a
d
rate infor
m
and witho
u
f this docu
m
c
ument
1
w
ogy Co.,
r
y informati
o
as BroadLi
r
m or by a
n
d
ditions and
m
ation, ori
m
u
t notice. S
u
m
ent or pu
b
w
ww.ibroadlin
k
Ltd.
o
n of Hang
z
i
nk). Furthe
r
n
y meanswit
deletions t
o
m
provement
u
ch change
s
b
lished as e
k
.com
z
hou
r
, no
hout
o
this
s to
s
will,
rrata

1. I
n
2. P
3. E
l
4. R
5.
M
6.
M
7. R
e
Ap
p
Ap
p
Co
n
n
troduction.
1.1 Overvi
e
1.2 Applica
1.3 Key Fe
a
roduct Ove
r
2.1 Produc
t
2.2 Block
D
l
ectrical Ch
a
3.1 Absolu
t
3.2Current
3.3 Absolu
t
3.4Absolut
e
F Characteri
4.1Basic C
h
4.2 IEEE80
2
4.3 IEEE80
2
4.4 IEEE80
2
M
echanical
C
M
odule Inter
6.1 PIN La
y
6.2 PIN De
f
e
ference D
e
8.1 Antenn
8.2 Minimi
z
8.3 Specifi
c
p
endix A......
p
endix B......
n
tact Us.......
....................
.
e
w................
.
tions...........
.
a
tures..........
.
r
view...........
.
t
Picture.....
.
D
iagram.......
.
a
racteristics.
.
t
e Maximu
m
consumpti
o
t
e maximu
m
e
maximum
stics............
.
h
aracteristic
s
2
.11b Mode
.
2
.11g Mode
.
2
.11n 20Mh
z
C
haracteristi
c
faces...........
.
y
out.............
.
f
initions......
.
e
sign............
.
a Selection
.
z
ing Radio I
n
c
ation of On
....................
.
....................
.
....................
.
Table
.
....................
.
....................
.
....................
.
....................
.
....................
.
....................
.
....................
.
....................
m
Ratings –
V
o
n.................
m
ratings – T
e
ratings – E
S
.
....................
s
...................
.
....................
.
....................
z
Bandwidth
c
s.................
.
....................
.
....................
.
....................
.
....................
.
....................
n
terference
-Board Ant
e
.
....................
.
....................
.
....................
of Co
n
....................
....................
....................
....................
....................
....................
....................
....................
V
oltage & C
u
....................
e
mperature
S
D................
....................
....................
....................
....................
Mode........
....................
....................
....................
....................
....................
....................
....................
e
nna............
....................
....................
....................
n
tents
....................
.
....................
.
....................
.
....................
.
....................
.
....................
.
....................
.
....................
.
u
rrent.........
.
....................
.
....................
.
....................
.
....................
.
....................
.
....................
.
....................
.
....................
.
....................
.
....................
.
....................
.
....................
.
....................
.
....................
.
....................
.
....................
.
....................
.
....................
.
....................
.
2
w
.
....................
.
....................
.
....................
.
....................
.
....................
.
....................
.
....................
.
....................
.
....................
.
....................
.
....................
.
....................
.
....................
.
....................
.
....................
.
....................
.
....................
.
....................
.
....................
.
....................
.
....................
.
....................
.
....................
.
....................
.
....................
.
....................
.
....................
.
....................
w
ww.ibroadlin
k
....................
....................
....................
....................
....................
....................
....................
....................
....................
....................
....................
....................
....................
....................
....................
....................
....................
....................
....................
....................
....................
....................
....................
....................
....................
....................
....................
....................
k
.com
......3
......3
......4
......4
......6
......6
......7
......7
......7
......8
......9
......9
......9
......9
....10
....10
....11
....14
....15
....15
....16
....17
....18
....19
....20
....21
....23
....25

1.
1.
1
BiTr
e
whi
c
pro
v
Wi-
app
BiTr
e
mic
r
net
w
em
b
the
Ben
dev
e
red
u
Ess
e
Ro
H
BiTr
e
sup
p
inte
BiTr
e
and
inte
BiTr
e
pro
t
mo
d
wit
h
Intro
d
1
Overvi
e
nd™ Essen
t
c
h delivers
u
v
iding a qui
Fi connecti
v
lications.
e
nd™ Essen
t
r
oprocessor
w
ork stack.
I
b
edded pro
g
burden of t
e
efitted fro
m
e
lopers wit
h
u
ces RF de
s
e
ntial is full
y
H
S.
e
nd™ Esse
n
p
ortsIEEE80
rfaces for d
e
e
nd™ Esse
n
RF switch
grate powe
r
e
nd™ Essen
t
t
ocol stack,
d
e. The WT
1
h
minimized
d
uctio
n
ew
t
ialis the in
d
u
nmatched
p
ck, easy an
d
v
ity for hom
e
t
ial family c
o
and emb
e
I
t is an ideal
g
ramming
e
e
sting and
c
m
BroadLink’
h
limited Wi
-
s
ign time a
n
y
compliant
w
n
tial is a hi
g
2.11b/g/n s
e
vice comm
n
tial has 8M
to reduce
t
r
manage u
n
t
ial embed
d
and networ
1
SBS is an id
design effo
n
d
ustrial lea
d
p
erformanc
e
d
cost effec
e
automati
o
o
mbines a
2
e
dded with
solution fo
r
e
xpertise as
i
c
ertification.
s turn-key
s
-
Fi or RF ex
p
n
d removes
w
ith IEEE 8
0
g
hly integra
t
ingle strea
m
unication.
bits flash a
n
t
he module
n
it for singl
e
d
ed 32-bit R
I
king applic
a
eal solution
rt.
d
ing 2.4Ghz
e
and codel
e
tive way fo
r
o
n, lighting
c
2
.4Ghz 802.
1
MAC, base
r
developer
s
i
t significan
t
s
olution, Bi
T
p
ertise or fo
the burde
n
0
2.11 b/g/n
t
ed Wi-Fi S
m
, providing
n
d integrat
e
size and
R
e
3.3V powe
I
SC MCU fo
r
a
tions, can
b
for embed
d
802.11 b/g
/
e
ss develop
m
r
developer
s
c
ontrol, ene
1
1 b/g/n ra
d
band proc
e
s
and manu
f
t
ly reduces
R
T
rend™ Esse
n
r those see
k
n
of testing
s
tandard an
oC(system
o
GPIO for i
n
e
s power a
m
R
F design c
a
r source for
r
802.11b/g
/
b
e operated
d
ed device t
o
3
w
/
n embedd
e
m
ent in a c
o
s
and manu
rgy efficien
c
d
io transcei
v
e
ssing and
o
f
acturers wit
R
F design ti
m
n
tial is an i
d
k
ing faster t
i
and certifi
c
d certified
w
o
n Chip) si
n
n
telligent c
o
m
plifier, low
a
pability re
q
cost effecti
v
/
n drivers, s
u
in station
m
o
enable ne
t
w
ww.ibroadlin
k
e
d Wi-Fi m
o
o
mpact pac
k
facturers to
c
y and othe
r
v
er with a 3
2
o
ptimized
W
h limited R
F
m
e and rem
d
eal solutio
n
i
me to mar
k
c
ation. BiTr
e
w
ith CE, FC
C
n
gle chip,
w
o
ntrol, and
U
noise amp
q
uired. And
v
e design.
u
pplicant, T
C
m
ode and s
o
tworking se
k
.com
o
dule
k
age,
add
r
IOT
2
-bit
W
i-Fi
F
and
oves
n
for
k
et. It
e
nd™
C
and
w
hich
U
ART
lifier,
also
C
P/IP
o
ftAP
rvice

R
F
R
F
1.
2
1.
3
Fr
e
W
i
Tr
a
M
I
D
a
S
e
W
i
A
n
RF_IN
F
_OUTP
F
_OUTN
2
Applic
a
Smart ho
m
Remote C
o
Medical/H
e
Network c
o
3
Key Fe
a. Suppor
t
e
quency Ra
n
i
-Fi Standar
d
a
nsmitter P
o
I
N Receiver
a
ta rate
e
curity
i
-Fi Modes
b. Suppor
t
c. Suppor
t
d. Patent
S
e. Suppor
t
f. PCB pri
n
n
tenna type
g. Power
s
RF
receiver
RF
transmitter
a
tions
m
e appliance
o
ntrol
e
alth Care
o
nsumer de
v
atures
t
IEEE802.1
1
n
ge
d
o
wer
Sensitivity
t
UART pass
t
STA\AP
S
martConfi
g
t
IPv4, TCP/
U
n
ted anten
n
s
ource: 3.3V
Bas
e
Figure 1.
W
s
v
ices
1
b/g/n
2.412
IEEE
8
802.1
802.1
802.1
802.1
802.1
802.1
11M
@
Encr
y
Encr
y
STA/
A
through
g
™ technolo
g
U
DP/ DNS/
D
n
a
PCB
p
e
band
W
T1SBS blo
c
GHz - 2.46
2
8
02.11 b/g/
n
1b:17dBm
1g:20dBm
1n:18dBm
1b<-78dB
m
1g<-68dB
m
1n<-66dB
m
@
802.11b, 5
y
ption Stand
y
ptionAlgori
t
A
P
g
y
D
HCP
p
rinted ANT
MAC /
Packet
buffer /
security
engine
c
k diagram
2
GHz
n
m
m
m
4M@802.1
1
ard:WEP/
W
t
hm:WEP
6
4
w
U
A
Sy
s
co
1
g, MCS7@
8
W
EPA/WPA
2
6
4/WEP128/
T
w
ww.ibroadlin
k
A
RT
s
tem
ntrol
8
02.11n
2
T
KIP/AES
k
.com
UART
GPIO/LED

j
h. Periphe
1*UAR
T
5*GPI
O
1*RES
E
i. Dimens
j
. ESD: 2K
k. Absolu
t
Symbol
Ts
TAMBIEN
T
Vdd
Vio
VESD
rals:
T
O
E
T
ion 26mm*
1
V
t
e maximum
St
o
T
A
m
V
H
1
7.7mm*4m
ratings
Descripti
o
o
rage temp
e
m
bient Tem
p
Supply vol
t
V
oltage on I
O
H
BM(human
model)
m
o
n
e
rature
p
erature
t
age
O
pin
body
Min.
-40
-10
0
-0.28
5
w
Max.
125
70
3.63
3.63
2000
w
ww.ibroadlin
k
Units
℃
℃
V
V
V
k
.com

2.
2.
1
Produ
1
Produ
c
ct Ove
c
t Pictu
r
rview
r
e
6
w
w
ww.ibroadlin
k
k
.com

2.
2
3.
3.
1
Usi
n
the
the
s
2
Block
D
PCB
Antenna
Electr
i
1
Absol
u
n
g products
device. Th
e
s
e conditio
n
D
iagra
m
Filter
Circuit
i
cal Ch
a
u
te Max
i
above the
e
se are ma
x
n
s is not i
m
m
Balun
Circuit
a
racte
r
i
mum R
a
absolute m
x
imum ratin
g
m
plied. Exp
o
MT
802.
1
S
SPI
FLASH
40MHz
OSC
r
istics
a
tings
–
aximum rat
g
s only an
d
o
sure to ma
K7681
1
1 b/g/
n
S
oC
Res
e
Multip
l
Circu
i
–
Voltag
e
ings may c
a
d
functional
ximum rati
n
7
w
n
e
t
l
ex
i
t
e
& Cur
r
a
use perma
n
operation
o
n
g conditio
n
w
ww.ibroadlin
k
UART
GPIO
r
ent
n
ent dama
g
o
f the devi
c
n
s for exte
n
k
.com
g
e to
c
e at
n
ded

peri
Sym
VD
D
S
y
3.
2
Note
ods may a
bol
D
33
y
mbol
I
VDD
I
VSS
I
IO
2
Curren
t
Symbol
I
RF
I
RF
I
RF
I
RF
: All result is m
e
ect the reli
a
Rating
3.3VSupply
V
Totalcurre
n
Totalcurre
n
Outputcur
Outputcur
t
consu
m
e
asured at the a
a
bility of the
M
V
oltage2
.
R
a
n
tintoVDD
p
n
toutofVSS
rentsunkby
rentsource
b
m
ption
R
X
11M
ntenna port an
d
device.
M
INTYP
.
973.3
a
ting
s
p
owerlines(
s
groundlines
anyI/Oand
c
b
yanyI/Osa
n
Condit
IDLE mo
d
X
Active, H
T
TX HT40,
@ 15dBm
(
TX C
C
bps @ 18d
B
d
VDD33 is 3.3
V
M
3
s
ource)
(sink)
c
ontrolpin
n
dcontrolpi
n
ion
d
e
T
40, MCS7
MCS7
(
pulse)
C
K
B
m(pulse)
V
8
w
M
AX
3
.63
M
a
9
9
1
n
1
w
ww.ibroadlin
k
Unit
V
ax
Uni
t
9
0
mA
9
0
1
0
1
0
Perform
a
TYP
85
150
200
240
k
.com
t
a
nce
Unit
mA
mA
mA
mA

3.
3
3.
4
S
V
E
S
4.
4.
1
O
p
Wi
M
o
Da
An
3
Absol
u
Symbol
T
STG
T
A
Humidit
4
Absolu
t
S
ymbol
S
D
(HBM)
RF Ch
a
1
Basic C
p
eratingFreq
u
-FiStandard
o
dulationTyp
ta Rates
tennatype
u
te max
i
N
t
e maxi
m
Rati
n
Electrostati
c
discharge v
o
(human bo
d
a
racte
r
haracte
r
Item
u
ency
e
i
mum r
a
R
Storage
t
Working
on condensi
n
m
um ra
t
n
gs
c
o
ltage
d
y model)
r
istics
r
istics
a
tings –
R
a
t
emperature
temperatur
e
n
g, relative h
u
t
ings –
E
Conditio
n
TA = +25 °
conformin
g
JESD22-A1
2.412 GH
z
IEEE 802.
1
11b: DBP
S
11g: BPS
K
11n: MCS
11b:1,2,5.
5
11g:6,9,1
2
11n:MCS
0
PCBprint
e
Temper
–
e
u
midit
y
E
SD
n
s Class
C
g
to
14
2
Specificat
i
z
- 2.462 GH
z
1
1b/g/n
S
K, DQPSK,C
K
, QPSK, 16
Q
0~7,OFDM
5
and 11Mbp
2
,18,24,36,48
0
~7,up to15
0
e
dANT
9
w
ature
Max
–
40 to+125
-10 to+70
90%
(
RH
)
Max
2000
i
on
z
CK for DSSS
Q
AM, 64QA
M
s
and 54 Mb
p
0
Mbps
w
ww.ibroadlin
k
Uni
℃
℃
Unit
V
M
for OFDM
p
s
k
.com
t

4.
2
M
o
Fr
e
Ch
Da
TX
C
Tra
n
11b
T
Fre
q
Co
n
1~1
RX
C
Mi
n
1M
b
2M
b
5.5
M
11
M
Ma
x
4.
3
M
o
Fr
e
Ch
Da
TX
C
Tra
n
11g
T
2
IEEE80
o
dulationTyp
e
quencyrang
e
annel
tarate
C
haracterist
n
smitter Ou
T
arget Powe
q
uency Erro
r
n
stellation E
r
1Mbps
C
haracteris
t
n
imum Inpu
t
b
ps (FER
≦
8
%
b
ps (FER
≦
8
%
M
bps (FER
≦
8
M
bps (FER
≦
8
x
imum Input
3
IEEE80
o
dulationTyp
e
quencyrang
e
annel
tarate
C
haracterist
n
smitter Ou
T
arget Powe
2.11b
M
Item
e
e
ics
tput Power
r
r
r
ror( peak E
t
ics
t
Level Sens
%
)
%
)
8
%)
8
%)
Level (FER
≦
2.11g
M
Item
e
e
ics
tput Power
r
M
ode
VM)@ targ
e
itivity
8%)
M
ode
DSSS/CC
K
2412MHz
CH1 toC
H
1,2,5.5,11
M
Min
T
-20
e
t power
Min
T
-20
-10
OFDM
2412MHz
CH1 toC
H
6,9,12,18,
2
Min
Specificat
i
K
~2462MHz
H
11
M
bps
T
ypical
17
-17
T
ypical
95
-93
-91
-89
Specific
a
~262MHz
H
11
2
4,36,48,54
M
Typical
20
10
w
i
on
Max.
+20
-10
Max.
-83
-80
-79
-76
a
tion
M
bps
Max.
w
ww.ibroadlin
k
Unit
dBm
ppm
Unit
dBm
dBm
dBm
dBm
dBm
Unit
dBm
k
.com

Fre
q
Co
n
6M
b
9M
b
12
M
18
M
24
M
36
M
48
M
54
M
Tra
n
@1
1
@2
0
@3
0
RX
C
Mi
n
6M
b
9M
b
12
M
18
M
24
M
36
M
48
M
54
M
Ma
x
4.
4
q
uency Erro
r
n
stellation E
r
b
ps
b
ps
M
bps
M
bps
M
bps
M
bps
M
bp
M
bps
n
smit spect
r
1
MHz
0
MHz
0
MHz
C
haracteris
t
n
imum Inpu
t
b
ps
b
ps
M
bps
M
bps
M
bps
M
bps
M
bps
M
bps
x
imum Input
4
IEEE80
Modulation
Frequencyr
a
Channel
Datarate
r
r
ror( peak E
r
um mask
t
ics
t
Level Sens
Level (FER
≦
2.11n 2
0
Item
Typ e
a
nge
VM)@ targ
e
itivity
10%)
0
Mhz B
a
-20
e
t power
Min
-
-20
a
ndwid
t
OFDM
2412MHz
CH1 toC
H
MCS0/1/
2
Typical
-90
-88
-86
-85
-82
-79
-75
-72
t
h Mod
e
Specific
a
~2462MHz
H
11
2
/3/4/5/6/7
11
w
+20
-5
-8
-10
-13
-16
-19
-22
-25
20
-28
-40
Max.
-83
-80
-79
-76
e
a
tion
w
ww.ibroadlin
k
ppm
dB
dB
dB
dB
dB
dB
dB
dB
dBr
dBr
dBr
Unit
dBm
dBm
dBm
dBm
dBm
dBm
dBm
dBm
dBm
k
.com

TX
C
Tra
n
Co
n
Tra
n
RX
C
Mi
n
M
a
M
C
haracterist
n
smitter Ou
11n HT20
Frequ
e
n
stellation E
r
M
M
M
M
M
M
M
M
n
smit spect
r
@
1
@
2
@
3
C
haracteris
t
n
imum Inpu
t
M
M
M
M
M
M
M
M
a
ximum Inpu
MCS
6
MCS
7
M
aximum In
ics
tput Power
Target Pow
e
e
ncy Error
r
ror( peak E
M
CS0
M
CS1
M
CS2
M
CS3
M
CS4
M
CS5
M
CS6
M
CS7
r
um mas
k
1
1MHz
2
0MHz
3
0MHz
t
ics
t
Level Sens
M
CS0
M
CS1
M
CS2
M
CS3
M
CS4
M
CS5
M
CS6
M
CS7
t Level (FER
≦
6
(FER
≦
10%
)
7
(FER
≦
10%
)
putLevel (FE
R
e
r
VM)@ targ
e
itivit
y
≦
10%)
)
)
R
≦
10%)
Min
-20
e
t power
Min
-
-20
Typical
18
Typical
-89
-86
-84
-82
-78
-74
-72
-69
12
w
Max.
+20
-5
-10
-13
-16
-19
-22
-25
-28
20
-28
-40
Max.
-82
-79
-77
-74
-70
-66
-65
-64
w
ww.ibroadlin
k
Uni
t
dBm
pp
m
dB
dB
dB
dB
dB
dB
dB
dB
dBr
dBr
dBr
Uni
t
dBm
dBm
dBm
dBm
dBm
dBm
dBm
dBm
dBm
dB
m
dB
m
dB
m
k
.com
t
m
t
m
m
m

4.
5
TX
C
Tra
n
Co
n
Tra
n
RX
C
Mi
n
5
IEEE80
Modulation
Frequencyr
a
Channel
Datarate
C
haracterist
n
smitter Ou
11n HT20
Frequ
e
n
stellation E
r
M
M
M
M
M
M
M
M
n
smit spect
r
@
1
@
2
@
3
C
haracteris
t
n
imum Inpu
t
M
M
M
M
M
M
M
2.11n 4
0
Item
Typ e
a
nge
ics
tput Power
Target Pow
e
e
ncy Error
r
ror( peak E
M
CS0
M
CS1
M
CS2
M
CS3
M
CS4
M
CS5
M
CS6
M
CS7
r
um mas
k
1
1MHz
2
0MHz
3
0MHz
t
ics
t
Level Sens
M
CS0
M
CS1
M
CS2
M
CS3
M
CS4
M
CS5
M
CS6
0
Mhz B
a
e
r
VM)@ targ
e
itivit
y
a
ndwid
t
OFDM
2422MHz
CH3 toC
H
MCS0/1/
2
Min
-20
e
t power
Min
-
t
h Mod
e
Specific
a
~2452MHz
H
9
2
/3/4/5/6/7
Typical
18
Typical
-89
-86
-84
-82
-78
-74
-72
13
w
e
a
tion
Max.
+20
-5
-10
-13
-16
-19
-22
-25
-28
20
-28
-40
Max.
-82
-79
-77
-74
-70
-66
-65
w
ww.ibroadlin
k
Uni
t
dBm
pp
m
dB
dB
dB
dB
dB
dB
dB
dB
dBr
dBr
dBr
Uni
t
dBm
dBm
dBm
dBm
dBm
dBm
dBm
k
.com
t
m
t

M
a
M
5.
M
a
ximum Inpu
MCS
6
MCS
7
M
aximum In
Mech
a
M
CS7
t Level (FER
≦
6
(FER
≦
10%
)
7
(FER
≦
10%
)
putLevel (FE
R
a
nical
C
F
≦
10%)
)
)
R
≦
10%)
C
harac
t
igure2.
WT1S
B
-20
t
eristi
c
B
S
topview(
M
-69
c
s
M
etricun
it
s
)
14
w
-64
w
ww.ibroadlin
k
dBm
dBm
dB
m
dB
m
dB
m
k
.com
m
m
m

6.
6.
1
WT
1
Modu
1
PIN La
y
1
SBS has on
le Inte
r
y
out
e group of
p
Figure3.
WT1
S
r
faces
p
ins2X7. Th
e
Shie
S
BS
sideview
(
e
layout of
P
ldingCase
(
Metricun
it
s
P
INs are sho
w
ante
n
15
w
s
)
w
n in the fi
g
n
na
w
ww.ibroadlin
k
g
ure belo
w
.
k
.com

6.
2
PI
N
PIN
Pin
1
Pin
2
Pin
3
Pin
4
Pin
5
Pin
6
Pin
7
Pin
8
Pin
9
Pin
1
Pin
1
Pin
1
Pin
1
Pin
1
Ty
p
2
PIN D
e
N
Assignm
e
1
2
3
4
5
6
7
8
9
1
0
1
1
1
2
1
3
1
4
p
e:
e
finitio
n
e
nt
8
9
10
11
12
3
13
3
14
3
Figure6.
W
T
n
s
PINNA
M
GND
VCC
RST_N
UART_T
X
UART_R
X
GPIO3
GPIO4
GPIO4
GPIO3
GPIO2
GPIO1
GPIO0
VCC
GND
T
1SBS
pin-ou
t
M
E
X
X
t
N
3
M
a
U
f
F
F
M
a
3
1
2
3
4
5
6
7
16
w
N
OTE
3
.3V
M
odule so
f
a
tlowlevel
U
ARTOnly
f
orPassthrou
F
eedwatchd
o
F
eedwatchd
o
M
odule sof
t
a
tHighlevel
3
.3V
w
ww.ibroadlin
k
f
tware res
e
gh
o
g
o
g
t
ware reset
,
k
.com
e
t,Available
,
Available

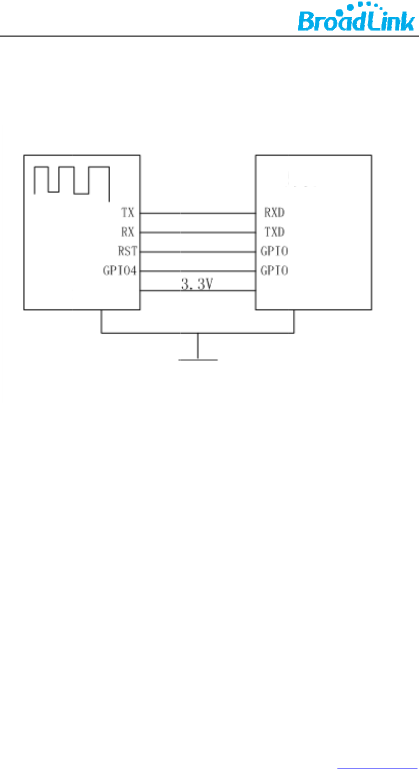
7.
In a
d
pin
s
the
fee
d
rest
If t
h
the
The
tha
t
Refer
e
d
dition to t
h
s
to connec
t
WIFI mod
u
d
ing,if the
p
art through
h
e peripher
a
connection
module n
e
t
the power
WIFIM
O
e
nce D
e
h
e standard
t
with the G
P
u
le works p
r
p
eripheral
M
pulling do
w
a
l MCU uses
of the seria
l
e
eds a larg
e
source can
p
O
DULE
e
sign
serial port,
P
IO4 pin an
d
r
operly,the
G
M
CU did n
o
w
n the RST
p
power sou
r
l
port and t
h
e
current a
b
p
rovide suff
the periph
e
d
the RST pi
G
PIO4 pin
o
t receive t
h
p
in by the o
t
r
ce of 5V,it
n
h
e related ci
b
out 250m
A
icient curre
n
e
ral MCU al
s
n of the WI
F
will keep
o
h
e messag
e
t
her GPIO p
i
n
eeds to ad
rcuit.
A
when tran
s
n
t.
P
e
17
w
s
o need to p
F
I module r
e
o
utputting
m
e
,the modul
e
i
n.
d a level s
w
s
mitting da
t
e
ri
p
heral MCU
w
ww.ibroadlin
k
rovide two
G
e
spectively,
w
m
essage of
e
will reset
w
itching circ
u
t
a,please e
n
k
.com
G
PIO
w
hen
dog
and
u
it in
n
sure

8.
8.
1
The
bet
w
Anten
n
1
Anten
n
WT1SBS su
w
een 2.4G~
2
In practical
changes.
n
aChar
a
n
a Selec
pports on-
b
2
.5GH, S11
o
Figu
F
use, WT1S
B
a
cterist
tion
b
oard PCB p
o
f antenna
p
re 7. Antenn
F
igure 8. Ant
B
S is welde
d
ics
rinted ante
n
p
ort is less t
a radiation
p
enna port S
1
d
on user’s
b
n
na.When t
h
han-10dB a
n
p
attern simul
1
1simulation
b
oardand va
l
18
w
h
e Operatin
g
n
d peak gai
n
ation
curve
l
ue of S11 h
a
w
ww.ibroadlin
k
g
Frequency
n
is about 1.
1
a
s some
k
.com
is
1
dBi.

8.
2
Wh
e
thr
e
1.
T
co
m
sig
n
2. T
h
boa
3.
W
mo
d
ant
e
2
Minim
e
n integrati
n
e
e points be
l
T
he area u
n
m
ponents, c
o
n
al.
h
e area aro
u
rd PCB and
W
hen planni
d
ule as clos
e
nna, which
izing R
a
n
g the Wi-F
i
l
ow:
n
der the an
o
nnectors, v
u
nd the ant
e
any metal e
ng PCB lay
o
e as possib
l
is shown in
a
dio Int
e
i
module wi
t
tenna end
ias, traces a
e
nna end th
e
nclosure.
o
ut, it is re
c
l
e to the ed
the picture
e
rferenc
t
h on board
of the mo
d
nd other m
a
e
module p
r
c
ommende
d
ge of boar
d
below.
e
PCB printe
d
d
ule should
a
terials that
r
otrudes at l
e
d
that user
p
d
er to ensu
r
19
w
d
antenna,
m
be keep
c
can interfe
r
e
ast 10mm
f
p
laces the
a
r
e the good
w
ww.ibroadlin
k
m
ake sure th
c
lear of me
r
e with the
r
f
rom the m
o
a
ntenna of
W
performan
c
k
.com
e
tallic
r
adio
o
ther
W
i-Fi
c
e of

8.
3
O
p
VS
W
Pe
a
An
3
Specif
i
p
eratingFreq
u
W
R(max)
a
k Gain
tennaType
i
cation
o
u
ency 2.4
G
2
1.1d
PIF
A
o
f On-B
o
G
~2.5GHz
Bi
A
o
ard An
t
t
enna
20
w
w
ww.ibroadlin
k
k
.com

A
p
AD
C
AE
S
AN
T
AP
BP
S
DB
P
DC
CC
K
CD
M
DH
C
CM
O
DN
S
DQ
P
DS
S
DTI
EM
S
ES
D
EV
M
FC
C
FE
R
GN
D
GPI
HB
M
IEE
E
IO
IOT
IPv
4
LE
D
LV
T
MA
MC
S
MC
U
MI
M
MS
L
NC
NR
S
OF
D
OS
C
PC
B
PIF
A
QP
S
p
pendi
C
S
T
S
K
P
SK
K
M
C
P
O
S
S
P
SK
S
S
M
S
P
D
M
C
R
D
O
M
E
4
D
T
TL
C
S
U
M
O
L
S
T
D
M
C
B
A
S
K
x A
Analo
g
Advan
Anten
n
Wirel
e
Binar
y
Differ
e
Direct
Comp
l
Charg
e
Dyna
m
Comp
l
Deter
m
Differ
e
Dema
n
Digital
Enhan
c
Electr
o
Error
V
Feder
a
Floatin
Groun
d
Gener
a
Huma
n
Institu
t
Input/
O
Individ
Intern
e
Light-
e
Low V
o
Mediu
m
Modul
Micro
c
Multip
Multil
a
Nume
r
Negati
Ortho
g
Oscill
a
Printe
d
Planar
Quadr
a
g
‐to‐Digital
cedEncryp
t
n
a
e
ssAccess
P
y
PhaseShif
t
e
ntial binar
y
Current
l
ementary
C
e
DeviceM
o
m
ic Host Co
n
l
ementary
M
m
ination of
n
e
ntial quadr
a
n
d assigned
Transmissi
o
c
ed Modula
o
static Disch
a
V
ector Magn
a
l Communi
c
g Error
d
a
l Purpose I
n
n
body mod
t
e of Electri
c
O
utput
ual operati
o
e
t Protocol
v
e
mitting dio
d
o
ltage Trans
m
Access C
o
ation and c
o
c
ontroller U
n
le-Input Mu
a
yer Switchi
n
r
ical Control
ve Reset
g
onal Frequ
e
a
to
r
d
Circuit Bo
a
inverted F
a
a
ture Phase
Converter
t
ionStand
a
P
oint
t
Keying
p
hase shift
C
odeKeyin
g
o
del
n
figuration
P
M
etalOxid
e
n
on-signific
a
a
ture phase
signaling a
n
o
n Interface
r Signal Pro
c
a
rge
itude
c
ations Co
m
n
put/Outpu
t
el
c
al and Elec
t
o
n test
v
ersion 4
d
e
istor Transis
t
o
ntrol layer
o
ding sche
m
n
it
ltiple-Outp
u
n
g Protocol
e
ncy Divisio
a
rd
a
ntenna
Shift Keyin
a
rd
ke
y
in
g
g
P
rotocol
e
Semicond
u
a
nce
shift keying
n
d switchin
g
Module
c
essor
m
mission
t
t
rionics Engi
t
or Logic
m
e
u
t
n Multiplexi
21
w
u
ctor
g
subsystem
neers
ng
w
ww.ibroadlin
k
k
.com

RC
RF
RIS
C
Ro
H
RX
SDI
O
So
C
SP
D
SPI
ST
A
TC
P
TKI
P
T
X
IP
UA
R
UD
P
UF
L
VS
W
WE
P
WE
P
WE
P
WE
P
WP
A
XT
A
QA
M
80
2
C
H
S
O
C
D
T
A
P
P
R
T
P
L
W
R
P
P
A
P
64
P
128
A
2
A
L
M
2
.11 b/g/n
Resist
a
Radio
F
Reduc
e
Restric
Receiv
e
Serial
D
Syste
m
Single
-
Serial
P
Spann
i
Transf
e
Temp
o
Trans
m
Intern
e
Univer
s
User
D
a mi
n
manuf
a
Voltag
e
Wired
Welde
d
64 bit
128 bi
t
Wi-Fi
P
Extern
a
Quadr
a
The IE
E
a
nce- capaci
F
requency
e
d Instructi
o
tion of Haz
a
e
r
D
igital Inpu
t
m
on Chip
-
Pole Doubl
e
P
eripheral I
n
i
ng Tree Alg
e
r Control P
r
o
ral Key Inte
g
m
itter
e
t Protocol
s
al Asynchr
o
D
atagram Pr
o
n
iature coa
a
ctured by
H
e
Standing
W
Equivalent
P
d
Electronic
Wired Equ
t
Wired Eq
P
rotected A
c
a
l Crystal O
s
a
ture Ampli
t
E
E 802.11 b
/
tance
o
n Set Com
p
a
rdous Subs
t
/Output
e
-Throw
n
terface
orithm
r
otocol
g
rity Protoc
o
o
nous Recei
v
o
tocol
xial RF c
H
irose Elect
W
ave Ratio
P
rivacy
Packaging
A
ivalent Priv
a
uivalent Pri
v
c
cess 2
s
cillator
t
ude Modul
a
/
g/n
p
uter
tances
o
l
v
er/Transmi
t
onnector f
o
ric Group
A
ssociation
a
cy
v
acy
a
tion
22
w
t
ter
o
r high-fre
q
w
ww.ibroadlin
k
q
uency si
g
k
.com
g
nals

A
p
[1]
pu
b
pu
b
802
F
C
A
ny
cou
l
the
cau
s
incl
u
p
pendi
IEEE 802.1
b
lished IEEE
b
lishedIEEE
.11-2012 st
a
C
C WA
Changes o
r
l
d void the u
FCC Rules.
s
e harmful
u
ding interfe
r
x B
1b/g/n- p
u
802.11-201
802.11-20
0
a
ndard.
RNIN
G
r
modificatio
n
ser’s author
Operation i
s
interference
,
r
ence that
m
u
blished IE
E
2 standard
0
7 standard
G
S:
n
s not expre
s
ity to operat
e
s
subject to
t
,
and (2) t
h
m
ay cause u
n
E
E 802.11-
2
for Inform
a
, and
C
s
sly approv
e
e
the equip
m
t
he following
h
is device
m
n
desired ope
r
2
007wireles
s
a
tion techn
C
lause 19
e
d by the par
t
m
ent.This d
e
two conditi
o
m
ust accept
r
ation.
23
w
s
networkin
ology - Cl
a
of the
t
y responsib
e
vice compli
e
o
ns: (1) Thi
s
any interfe
r
w
ww.ibroadlin
k
g standard
a
use 19 o
f
published
le for compli
e
s with part
1
s
device ma
y
r
e nce rece
k
.com
and
f
the
IEEE
ance
1
5 of
y
n ot
ived,

FC
C
Thi
s
env
i
bet
w
con
j
fou
n
Rul
e
in a
ene
r
inte
r
occ
u
tele
v
enc
o
—R
—I
n
—C
con
n
—C
In
a
dev
i
Tec
h
co
m
doc
u
FC
C
The
refe
foll
o
2A
C
To
s
sep
a
dev
i
dist
a
C
Radiatio
n
s
equipment
i
ronment. T
h
w
een the rad
j
unction with
n
d to comply
e
s. These li
m
residential i
n
r
gy and, if n
o
r
ference to r
a
u
r in a partic
v
ision recep
t
o
uraged to t
r
eorient or re
n
crease the
s
onnect the
e
n
ected.
onsult the d
e
a
ccordance
w
i
ce.Therefor
e
h
nologyCo.,
m
pliancewit
h
u
mentedint
C
Label Instr
u
outside of fi
rring to the
e
o
wing: “Cont
a
C
DZ-WT1” A
n
s
atisfy FCC
R
a
ration dist
a
i
ce and per
s
a
nce is not r
e
n
Exposur
e
complies wi
t
h
is equipme
n
iator& your
b
any other a
n
with the limi
m
its are desi
g
n
stallation.
T
o
t installed a
a
dio commu
n
ular installat
i
t
ion, which c
a
r
y to correct
locate the r
e
s
eparation b
e
e
quipment in
t
e
aler or an e
w
ith FCC P
a
e
,thefinal
h
Ltd.]forco
n
h
theregula
heFilingisu
s
u
ctions
nal product
s
e
nclosed mo
d
a
ins Transm
i
n
y similar w
o
R
F Exposur
e
a
nce of 20
c
s
ons during
e
commende
e
Stateme
n
t
h FCC radi
a
n
t should be
i
b
ody. This tr
a
n
tenna or tr
a
ts for a Clas
g
ned to prov
i
T
his equipm
e
nd used in
a
n
ications. H
o
i
on. If this e
q
a
n be deter
m
the interfere
e
ceiving ant
e
e
tween the
e
t
o an outlet
o
xperienced
r
a
rt 15C, thi
s
h
ostproduc
t
n
firmationt
h
tionsofFC
C
s
ed,aClass2
s
that contai
n
d
ule. This e
x
i
tter Module
o
rding that e
x
e
requireme
n
c
m or more
operation.
T
d. The ante
n
n
t:
a
tion exposu
r
i
nstalled an
d
a
nsmitter m
u
a
nsmitter. N
o
s B digital d
e
i
de reasona
b
e
nt generate
s
a
ccordance
w
o
wever, ther
e
q
uipment do
e
m
ined by tur
n
nce by one
o
e
nna.
e
quipment a
n
o
n a circuit d
r
adio/TV tec
h
s
module is
t
mustbes
u
h
attheinst
a
C
.Specificall
Permissive
C
n
s this modu
l
x
terior label
c
FCC ID: 2A
C
x
presses th
e
n
ts for mobil
e
should be
m
T
o ensure c
n
na(s) used
f
r
e limits set
f
d
operated w
u
st not be c
o
o
te: This equ
e
vice, pursu
a
b
le protectio
n
s
uses and
c
w
ith the instr
u
e
is no guar
a
e
s cause ha
r
n
ing the equ
i
o
r more of th
n
d receiver.
ifferent from
h
nician for h
e
listed as a
u
bmittedto
a
llationofth
y,ifanan
t
C
hangemust
l
e device m
u
c
an use wor
d
C
DZ-WT1”
o
e
same mea
n
e
and base s
t
m
aintained
b
ompliance,
o
f
or this trans
24
w
f
orth for an u
ith minimum
o
-located or
o
ipment has
b
a
nt to part 1
5
n
against ha
r
c
an radiate r
a
u
ctions, ma
y
a
ntee that int
r
mful interfe
r
i
pment off a
n
e following
m
that to whic
h
e
lp.
Single Mo
d
[HangZhou
G
emodulei
n
t
ennaother
befiledwith
u
st display a
d
ing such a
s
o
r “Contains
F
n
ing may be
t
ation trans
m
b
etween th
e
o
peration at
mitter must
n
w
ww.ibroadlin
k
u
ncontrolled
distance 20
o
perating in
b
een tested
5
of the FC
C
r
mful interfer
a
dio frequen
c
y
cause har
m
t
erference wi
r
ence to radi
o
n
d on, the u
s
m
easures:
h
the receiv
e
d
ular Trans
m
G
ubeiElectr
o
n
tothehost
thanthe
m
theFCC.
label
s
the
F
CC ID:
used.
m
ission devic
e
antenna o
f
closer tha
n
n
ot be co-lo
c
k
.com
cm
and
C
ence
c
y
m
ful
ll not
o
or
s
er is
e
r is
m
itter
o
nics
isin
m
odel
es, a
f
this
n
this
c
ated

or o
C
o
Ha
n
Ro
o
T: +
E: i
n
perating in
c
o
ntact
n
gzhou G
u
o
m 106, Buil
d
86-571-85
1
n
tl@broadli
n
c
onjunction
w
Us
u
bei Elect
d
ing 1, No.
6
1
59281
n
k.com.cn
w
ith any othe
ronics Te
c
6
11 Jiangho
F: +86-5
7
W: www.i
r antenna o
r
c
hnology
C
ng Road, Bi
n
7
1-8663181
7
broadlink.c
o
r
transmitter.
C
o., Ltd.
n
jiang, Han
g
7
o
m.cn
25
w
g
zhou, Zheji
w
ww.ibroadlin
k
ang, P.R.Chi
n
k
.com
n
a