Hantel HTT-800 Fixed WLL Terminal (CDMA) User Manual ATT M
Hantel Co., Ltd. Fixed WLL Terminal (CDMA) ATT M
Hantel >
Users Manual


FCC RF EXPOSURE INFORMATION
Highlights
1. Before You Start
1.1 Safety precautions
1.2 Optimal Phone Performance
1.3 Care and Service
2. Getting started & Installation
2.1 Checking The Parts
2.2 Know your Terminal
2.3 Setting up your terminal
2.4 Install of Desktop
2.5 Install of Wall Mounting
2.6 How to install battery
2.7 Installation For the Data Service
2.8 Indications
2.9 Multi-extension Installations
3. Basic Functions
3.1 Power On/Off
3.2 Making Calls
3.3 Receiving Calls
3.4 Ending a calls
4. Advanced Functions & Setting
4.1 one Minute. Alert Beep
4.2 Alarm
4.3 Connecting tone
4.4 Ear-piece Voice volume
4.5 CID mode
4.6 Outgoing Calls Lock
4.7 Lock code
4.8 Reset
4.9 Auto Dial time
4.10 Data service
4.11 R-UIM
4.12 Authentication Function
5. Supplementary Functions
5.1 Call Functions
5.2 Pay Phone Interface
5.3 Phone Book(Storing, Deleting)
5.4 Voice Privacy
5.5 Ringer Frequency & Cadence Control
5.6 Dial Tone Frequency Control
5.7 Hook flash
5.8 ROH
5.9 Restrick Call Mode
6. System Functions
6.1 Call Waiting
6.2 Three-way Calling
6.3 Call Forwarding
6.4 Voice Mail service
7. FAX Functions (Optional)
7.1 FAX Set-up
7.2 Sending FAX message
7.3 Receiving FAX message
8. Summary Table
9. Troubleshooting Guide
10. Specifications
4
4
5
6
7
9
10
10
11
11
12
13
13
14
14
15
15
15
16
16
16
17
17
18
18
18
21
21
21
23
24
24
24
25
25
25
26
27
27
27
27
28
28
28
29
32
34

Congratulations on your purchase of the Fixed Wireless Terminal that has been
designed to operate on the latest digital mobile communications technology,
Code Division Multiple Access(CDMA). This CDMA digital technology has
greatly enhanced voice clarity and can provide various advanced features.
The terminal enables the normal operation and direct connection of standard
telephone equipment into the cellular network. The standard unit provides:
and set the volume at an optimal level.
has a practical and elegant design. It can be used at office or home.
also offers many useful features and technological advantages.
has Versatile Installation Options
Various sounds and LED functions provide audio and visual
alerts for Low Battery, Air Link Cut-Off and Incorrect Use.
Connect l with your PC for data transmission and PC communication.
Simple and quick transmission of the stored numbers in the phone book with One-Touch
and Two-Touch Dial.
The Emergency Call Hold function enables a user to contact emergency center personnel.
The Hotline Call function allows the most frequently used numbers to be automatically
connected when a user picks up the handset.
The Voice Privacy function ensures against illegal phone tapping can be prevented.
The Authentication Key function prevents the owner's phone numbers from being
cloned by others.
CID function lets you know who is calling you.
user interface menu driver is easy to use.
G3 Fax (Optional) service is supported for analog environment.
The Pay Phone Interface allows to work as a payphone.
This Model
This Model
This Model
This Mode FAX
This Model
This Model
This Model offers its users superior voice quality through its use of QCELP EVRC Vocoder.
The owner can control who can access, and use the terminal with the Outgoing Lock function.
This Model
This Model
looks perfect on your desk in the office. It can also be installed on any
wall in your office or home thanks to the wall-mount kit that comes with the unit.
owners can easily adjust the volume of the handset with the volume control,

This Model provides:
AC Power supply with barrel plug connector
Support Dial tone
Touch tone (DTMF) or Pulse Dialing
A phone jack to plug in the telephone equipment
Support Caller ID Telephone
Ring voltage used to ring the telephone connected to the unit, with a REN
(Ringer Equivalence Numbers) of 4
A phone jack to plug in the G3 FAX equipment
Data Port for service and repair(RS-232 data cable, optional)
Voice-Mail Notification ring alerts you to new voice-mail messages
Dipole Antenna
Some features can not be supported by service provider's system status.
For instance, the following features may not be supported ;
Emergency Call
Hot Line Call
Speed Dial
Alarm
Outgoing Call Lock

1. Before You Start
1.1 Safety precautions
Warning
To reduce the risk of fire or electric shock, do not expose this product to rain or
moisture. Do not use this product near swimming pools or other bodies of water.
Telephones with multiple terminating impedance should be set for 600ohms.
Important
Before installing or operating this product, read this information.
1.2 Optimal Phone Performance
Do not use the unit with a damaged antenna. Have your antenna replaced by a qualified
technician immediately. Use only a manufacturer-approved antenna.
Non-approved antennas, modifications, or attachments could impair call quality,damage
the phone.
For the best call quality, keep the antenna free from obstructions and point the antenna
straight up.
Do not operate your product when holding the antenna, or when someone is within four
inches (ten centimeters) of the antenna. Holding the antenna affects call quality and may
cause the telephone to operate at a higher power level than needed.
that could be sensitive to external RF energy.
If this equipment does cause harmful interference to radio or television reception, which
can be determined by turning the equipment off and on, the user is encouraged to try to
correct the interference by one or more of the following measures:
- Reorient or relocate the receiving antenna
- Increase the separation between the radio or television and the telephone.
- Connect the equipment into an outlet on a circuit different from that to which
the terminal is connected.
- Consult you Authorized Dealer of an experienced Radio/TV technician for help.
RF energy may affect improperly installed or inadequately shielded personal medical
devices such as pace markers, hospital monitor. Consult the manufacturer of any personal
medical devices to determine if they are adequately shielded from external RF energy.
Turn your terminal OFF in health care facilities when any regulations posted in the
areas instruct you to do so. Hospitals or health care facilities may be using equipment

Use only the battery, antenna and AC power supply provided by Authorized Dealer.
Using any other type will invalidate the warranty.
Only authorized personnel should service the phone and its accessories. Faulty
installation or service may be dangerous and invalidate the warranty.
Do not use the unit in designated no cellular phone use area.
Avoid exposure to high temperature or humidity
Avoid wetting the unit with any liquids. If the unit gets wet, turn the power off
immediately and remove the backup battery and AC power supply. If the unit is
inoperable, then return to the service agent for service.
Avoid shock or impact.
We recommend you charge the backup battery before initial use. Backup battery
maybe discharged during delivery.
This device complies with part 15 of the FCC Rules. Operation is subject to the
following two conditions:
- This device may not cause harmful interference, and
- this device must accept any interference received, including interference that may
cause undesired operation.
If the unit fails for any reason, do not attempt to disassemble; contact the telephone
service provider for assistance.
Unplug the Telephone from the wall outlet and remove antenna (or disconnect
antenna cable)
before cleaning. Do not use liquid or aerosol cleaners. Use a damp cloth for cleaning.
If any of the following conditions exist: Unplug the unit at the wall plug, remove
battery, and call the service provider.
- The unit has been exposed to rain or water.
- Liquid has been spilled into the unit.
- The power supply cord is damaged or frayed.
- The unit has been dropped or damaged.
- The unit does not work normally by following the operating instructions.
1.3 Care and Service
NOTE :
Don't disassemble or modify this product deliberately.
Use only an approved adapter.
Don't touch adapter with wet hands.
Don't install this product in dusty area.
Avoid areas near sunlight, heating apparatus, vibration

This product is designed for being used within commercial power. In other voltage
area, please install voltage stability device and use it.
When struck by lightning, unplug to protect terminal from lightning damage and fire.
Don't install this product near other electronic appliance.
When installing battery, be careful of polarity.
Install in indication of green signal.
When used in wall, set up terminal type near it.
2. Getting started and Installation
2.1 Checking The Parts
purchased the unit immediately.
4
2
5
3
6
1
1. WLL Terminal 2. AC/DC Adapter 3. Antenna 4. User's Manual
5. Back-up Battery 6. Data Cable - RS-232
(Optional)
User's Manual
www.han-tel.com
Please make sure that these components are present before you begin the unit
installation. And then compare the following figures and components.
If components are missing or damage is found, contact the store where you

2.2 Know your Terminal
Front Back side
1. Antenna : Connector Connecting Port for TNC Antenna
2. LEDs : Indicate the status of the unit
- LED indications are described in the following table
1) Antenna
2) LED
3) DC In
4) RJ-11
5) Serial port
6) UIM
7) Battery SW
Top (LED type)

Power
/Battery
RSSI
MSG
GREEN On
RED On
On
On
Flashing
Off
On
Flashing
Flashing
Off
LED lights in GREEN indicates the external
power is supplied.
Power is being supplied by AC adapter
Indicates the status of backup battery.
The terminal can be operated if the backup
battery is connected, even though the external
power supply is cut off.
Battery is fully charged or supplying power.
No Power/Power is being supplied by battery
Low Battery Warning.
Indicates the RF Signal Strength in your area.
For better signal strength, please perform signal
strength test to find the best operating location.
Best/ Good service condition.
Voice through the line is not clear but a call is available.
Voice through the line is not clear and a call is non-available.
No service condition.
You have voice mail message.
Contact your service provider to activate message service.
Incoming voice call.
Data service or G3 FAX call.
Normal operation without any voice mail message or call.
Name LED Color Activity Meaning
RED Flashing
Off
GREEN
RED
GREEN
RED
GREEN
* LED Display are to change without notice.
3. DC IN : 12V AC/DC Power Adapter. The SMPS supplies the power to the WLL terminal.
4. TEL/FAX (RJ-11 port) : Connecting Ports for G3 FAX Machine or SLT(Single Line Telephone)
5. Serial port(RS-232 data cable) : The Serial Port used to connect the terminal to the
PC for maintenance/repair, and data communication.
6. UIM Connector : Refer to 4.11 R-UIM
7. Battery Switch : If you use to Battery, you should be Battery Switch on.
Battery is charged only when battery switch is on.
RED

2.3 Setting up your terminal
This Model operates by receiving electricity form an electrical outlet or internal battery.
1.Connect the terminal mounted antenna on the side of the terminal.
2.Connect a conventional wired telephone to a RJ-11 phone port.
3.Plug the AC adapter output onto the rear DC 12V jack of the Terminal.
4.Plug the AC adapter plug into an appropriate electrical outlet.
5.Connect a G3 analog facsimile machine to a dedicated RJ-11 port.
2.3.1 Adjust Your WLL
1.Pick up the phone receiver and listen to dial tone.
2.If you hear dial tone, make a call.
3.If ether static or echo is heard While you're talking with the other party
move the antenna until you find the spot where voice conversation is
strong, and static and echo are minimized
NOTE:
If you are unsuccessful in dialing out, verify the following:
- The antenna location needs to be adjusted.
- The NAM/Phone Numbers needs to be set up.
2.3.2 Adding More Phones
Plug in an RJ-11 line splitter(not supplied) to connect additional phones to your
WLL.
NOTE: you can only make one phone call at a time.
- Your WLL phone numbers has not been activated contact your service provider

2.3.3 Additional Telephone Equipment
If you plan to use a device other than a telephone with your WLL, make sure that
device will work with a normal wired telephone line.
FAX Machines Connect a fax machine with the same way it needs to be set up for
use on a regular wired telephone line.
PBX Systems PABX installation should only be performed by experienced
telephone technicians.
2.4 Install of Desktop
at the first part of this document before you place the terminal.
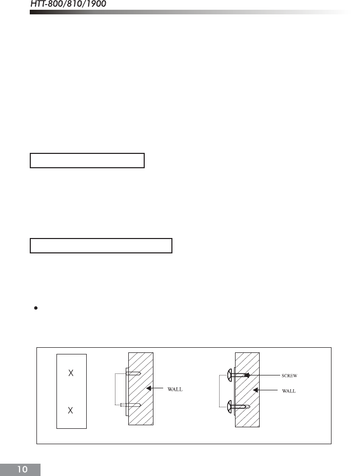
2.5 Install of Wall Mounting
Before finalizing the precise location of the phone, please perform the signal strength test
to ensure the best operating condition location for the assembled unit.
For installing the unit into a concrete wall, attach the installation sheet onto
a concrete wall and make holes with a drill at the marked location.
When installing mounting screws, do not screw them in all the way.
Leave space between the screw head and the installation sheet.
Installing your WLL Terminal on a desktop is very easy. Simply place the WLL
Terminal on the desktop(or any flat, desk, table, stable horizontal surface, etc.).
Avoid direct exposure to the sun lights and damp area. Read the Information located

Assemble the Wall-Bracket by using 2 Places slots on the bottom of the
phone, and then hook up holes of the Wall-Bracket to the screw head.
2.6 How to install battery
1.Open battery cover on the bottom side of the WLL.
2.Connect the battery DC power connector/cable to WLL.
3.Inset the battery pack in the right position between the hold bars.
4.Close the battery cover.
2.7 Installation For the Data Service
As shown below, connect a RS-232 data cable to the Serial Port
of the terminal and COM1 (or COM2) of PC. RS-232 data cable
is available from the service provider.

1. Sound indications are described in following table
Normal dial tone
No Service tone
Voice mail tone
20 sec on ; 300 msec off
1.5sec on ; 800 msec off
800 msec on ; 200 msec off
The WLL is in-service with adequate
receive signal.
So Indicates that call service is available.
WLL is not capable of making or receiving
calls.
WLL is not capable of Making calls but is
capable of receiving calls.
You have voice mail message.
Type Status Meaning
Three time
(100 msec on ; 100 msec off)
Outgoing call
restriction tone
2.8 Indications

This Model has 2 jacks. You can connect up to 4 phones to the terminal using RJ-11
jack. A user must buy additional parts to extend the connection. For multi-extension
Installations, make sure that all the extensions are on-hook. If one extension is off-hook
(not hung up), none of the extensions on that line will ring when a call is being received.
2.9 Multi-extension Installations
3. Basic Functions
3.1 Power On/Off
1. The power jack on the side of the WLL. The POWER LED indicates the presents status;
2. When the terminal is succeeded in getting the service, RSSI LED indicates the strength
of the signal. Lifting handset on telephone, dial tone is heard and you can enter phone
number.

NOTE:
- When you turn on the WLL, it will automatically search for service signal.
When it successfully acquires service state, it will generate a dial tone on the handset.
- Not entering any key for 15 seconds warning tone will be produced.
- In the overlap dial mode, it may take over 15 seconds.
- If Hot Line function is enabled, busy tone is not produced and hot line number is
automatically connected.
3. If the radio service is not available or radio signal is too weak to detect;
The RSSI LED is Red. (No Service status)
3.2 Making Calls
1.First check to see that your WLL Phone is turned on.
2.Pick up the handset. You will hear a dial tone.
3.Using the number keypad, dial the desired telephone numbers.
NOTE :
When you finish entering phone number, the call will be connected immediately after
5 seconds. Please Refer to 4.9 Auto dial time.
4.When the other person answers, begin your conversation.
5.To end the call, replace the handset.
NOTE :
- You can dial by 32 digit including <*( ) > or <#( ) >
- You can dial emergency call by pressing and holding <*( ) > without inputting
any digits. You can't change the emergency call number.
NOTE : Dial Tone
Dial tone will be generated if you lift your handset until your press any key.
This Model will not generate any dial tone in NO Service status
3.3 Receiving Calls
The terminal signals the telephone(s) to ring when an incoming call is detected.
Pick up the telephone handset and begin talking into the microphone on the handset.

3.4 Ending a Calls
NOTE :
- Be sure the phone's ringer is enabled.
- If you heard incoming call in picking up the handset, you can receive the call
by pressing any key.
When you have completed the call, place the handset back on telephone.
Also you can hook flash more than about 1 second to end a call and place
a new call without hanging up the handset.
4. Advanced Functions
4.1 One Minute Alert Beep
time of discrete tone, regardless of when you make or receive a call.
1.Pick up the handset.
2.Press <*( ) >, <*( ) > and <1>.
3.Press <*( ) > to set 1 minute alert beep.
Press <#( ) > to release 1 minute alert beep.
A discrete tone is generated after each minute interval into the call conversation to
notify you that a minute has passed since the beginning of the call or after the previous
4.2 Alarm
4.2.1 12Hour Mode
1.Pick up the handset.
2.Press <*( )>, <*( )>, <2> and <1(12Hour mode)>, <1(AM mode)> or
<2(PM mode)>.
3.Press alarm time(00:00~11:59).
4.Press <*( )> to set alarm.
4.2.2 24hour Mode
1. Pick up the handset.
2. Press <*( )>, <*( )>, <2> and <2(24Hour mode)>.
3. Press alarm time(00:00~23:59).
4. Press <*( )> to set alarm.

4.3 Connecting tone
4.4 Ear-piece Voice volume
A discrete tone is generated when a call is connected successfully.
1.Pick up the handset.
2.Press <*( ) >, <*( ) > and <3>.
3.Press <*( ) > to set connection tone.
Press <#( ) > to release connection tone.
You can control the Ear-piece volume on your phone.
1.Pick up the handset (Idle status).
2.Press <*( ) >, <*( ) > and <4>.
3.Press <*( ) > or <#( ) > for up or down (4 Step).
4.Press <0> for save.
If your phone connected to the WLL is caller ID enabled, you can set the WLL
to display the caller number or name on the phone.
The default setting of caller ID is DTMF type.
1.Pick up the handset.
2.Press <*( )>, <*( ) > and <5>.
3.Press <*( )> for DTMF type phone or Press <#( ) > for Bellcore type phone.
4.Press <0> to release caller ID setting.
4.5 CID mode
Caller ID is a feature, which notifies you who is calling by displaying the
caller's number on the telephone's LCD when an incoming call comes through.
This feature is available only with a telephone that has an LCD display on it.
NOTE :
Contact your service provider to activate or deactivate Caller ID.
4.2.3 Release Alarm Setting
1.Pick up the handset.
2.Press <*( )>, <*( )>, <2> and <#( )>.
NOTE : When you will hear the alarm sound, pick up the handset to turn off alarm.

If you try to make an outgoing call while outgoing call lock is enabled, then you will hear
warning tone after dial time-out as a indication of entering the LOCK code.
You should enter LOCK code to make an outgoing call. LOCK code is composed of 4 digits
and the initial setting is "0000". Outgoing Call Lock feature is disabled as a factory setting
1.Pick up the handset.
2.Press <*( ) >, <*( ) > and <6>.
NOTE : If the code is correct, it sounds confirmation beep.
If not, it returns to the stand by mode with error beep.
4.Press <*( ) > to set outgoing call restrict or Press <#( ) > to release outgoing call
restrict.
NOTE : If someone tries to make a call when outgoing call restriction is set,
it sounds outgoing call restriction tone and howler tone.
Used when you wish to change the lock code of the terminal. The programmed lock code
prevents the terminal from being operational to any other people without your permission.
This feature can be disabled and enabled through simple keypad number code entry.
When you first buy the phone, the lock number is 0000.
1.Pick up the handset.
2.Press <*( ) >, <*( ) > and <7>.
3.Press 4 digits Look Code Number(The default lock code is preset to 0000 at the factory).
4.6 Outgoing Calls Lock
4.7 Lock code
NOTE : If the code is correct, it will confirm with a tone.
If the code is incorrect, it returns to the standby mode with error beep.
4.Press 4 digits new Lock Code Number. It sounds confirmation beep.
5.Press 4 digits new Lock Code Number again. If it is different from the new Lock
code you entered in the beginning, it returns to the standby mode with error tone.
6.Press <*( ) > to store new Lock Code. If you press other key, it returns to the standby
mode with error tone.
NOTE : If it is correct, it sounds confirmation beep.
3.Press 4 digits Lock Code Number. (The default lock code is preset to 0000 at the factory.)

Reset the terminal back to the initial service status of factory pre-programmed state.
This feature can be disabled and enabled through simple keypad number code entry.
1. Pick up the handset.
2. Press <*( ) >, <*( ) > and <10>.
3. Press 4 digits Lock Code Number. (The default lock code is preset to 0000 at the
factory.)
NOTE : If the code is correct, it will confirm with a tone.
If not, it returns to the stand by mode with error beep.
4. Press <*( ) >.
5. Wait until you hear confirmation tone.
4.8 Reset
Using RS-232 Data Cable , you can connect this model to PC for Internet,
if your service provider provides Wireless Data Communication Service.
1.In case DS(Data Service) mode
- Press "36*#102*" to DS mode
2.In case DM(Diag. Monitor) mode
- Press "36*#101*" to DM mode
4.9 Auto Dial time
4.10 Data service
You can set Auto Dial time(0sec ~ 9sec) on your phone. Default setting is 5sec.
1. Pick up the handset.
2. Press <*( )>, <*( )> and <11>.
3. Press Auto dial time(0~9).
4. Press <*( )>.
5. Wait until you hear confirmation tone.

4.10.1 Setting a Standard Modem in PC
The phone is set as DS mode by default.If you want to confirm this, Refer to 4.10
users must designate a proper standard modem to a proper serial port(COM port)
of their computers.
- Click Start, point to Settings, and then click Control Panel.
- Double-Click Modem
- When Modem Properties appears, click Add.
- Check the box next to where it says, "Don't detect my modem, I will select it from
a list" and then click Next.
- Select Standard Modem Types under manufacturers and select 33,600bps
Standard Modem under Models columns. Click Next.
- Select a proper serial port in your computer and click Next.
- Click Finish when a message appears that says "Your modem has been set up
successfully."
- Click Start, point to Settings, and then click Control Panel. Double-click Modem
and click Properties.
- Make sure that the modem is installed properly including serial port number and
data speed. If not, make correction.
NOTE: Maximum Speed type has many kinds. We recommend 115,200bps.
And Port is properly serial port for your PC.
- Select Connection tap and click Advanced. Type in " at+crm=1 " under Extra
Settings.(0 is a default value. This value could vary with service operators.)
NOTE: Extra setting is at +crm. This command value is 3type
" at+crm=0 ", " at+crm=1 ", " at+crm=2 "
We recommend " at+crm=1 "
Now you're ready to make data calls using this FWT.

4.10.2 Browsing the Internet
1) Setting s Dial-Up Networking
- Double-click My Computer -> Double-click Dial-Up Networking
----> Double-click Make New Connection.
- Click next
- Check second radio button and Click next
- Check third radio button and Click next
- Check first radio button and Click next
- Enter the telephone number, the designated number of your operator or ISP
(ex #777) . Click Next.
- Enter User Name and password. Click Next.
NOTE: User name and password will be provided by your operator or ISP.
For Instance " CARD " and blank can be used for user name and password
respectively in china.
- Click next
- Select No and Click next
- Uncheck the check button and Click Finish.
- Double-Click My Computer -> Double-Click Dial-Up Networking folder.
2) Connecting to the Internet
- Connect your computer to this FWT using data cable.
- Double click the Internet icon in the Dial-up Networking folder.
- Click Connect.
- When connected, run the internet browser.
You will see a new icon. Now you're ready to access the internet using this FWT.

4.11 R-UIM
The removable user identity module (R-UIM) Specification is TIA/EIA/IS-820 and
R-UIM Addendum1 is TIA/EIA/IS-820-1.
1.Open UIM cover on the bottom side of the WLL.
2.Connect the UIM Card connector to WLL.
3.Close the UIM cover.
NOTE : Turn off the phone whenever you insert or remove UIM card.
4.12 Authentication Function
The Authentication Key function prevents the owner's phone number from being cloned
by others. The phone has its own authentication key function. This will prohibit any
illegal use of the phone. Your service provider will need to register your phone using
.
this authentication function
5. Supplementary Functions
5.1 Call Functions
5.1.1 Speed Dial
This Model will store up to 99 phone numbers using 2 digit addresses (01-99).
The stored number in the Phonebook allows a call to be placed by pressing the two
digit address. This Mode has the ability to search and edit numbers stored in the
Phonebook.

1) Speed Dial Function On / Off
You can set the Speed Dial function by entering the following functions.
1. Press "36*#11*" to Speed Dial On
2. Press "36*#12*" to Speed Dial Off
2) Making a Call Using the Speed Dialing Function
- Make sure the Speed Dial Function is "on" and find the memory station number
in the Phonebook.
- If the saved address is a single digit, between 1 and 9, pick up the handset and
press the number and hold it down, or press the number briefly and click the Hook
Flash, then the call will be made.
- If the saved address is two digits, pick up the handset and press the first digit and
then press the second digit and hold it down or press both digit briefly and click the
Hook-flash then a call is made.
Note : If you attempt a Speed Dialing while the Speed Dial Function is OFF, an error
tone will sound to indicate wrong operation.
5.1.2 Redialing
Used to call to the phone number called latest.
When emergency call number is connected once, it will not be terminated unless
the called party disconnects the call (Emergency Call Hold Service).
Therefore even caller hangs up the telephone, the line will be still connected,
so if the caller picks up the telephone again, he can continue talking.
If emergency call is connected, cellular service is not supported.
As long as your telephone is registered on a system, you can place a call to
emergency number even if your telephone is locked* or restricted*.
Please check the available emergency call number with your service provider.
5.1.3 Emergency Call
1.Pick up the handset and long push (Dig down) to *button. The line is connected to the
number called latest. This function would not work if you tried no call after power on.
2.Speak to the called party when the line is connected. And Hang up the handset after
conversation.
The Emergency Call Hold function operates only when the phone numbers are saved
at address number 01~03 in Phone book, and when the Emergency Call Hold
function is turned on.

1. Press "36*#21*" to Emergency Call Hold On
2. Press "36*#22*" to Emergency Call Hold Off
5.1.4 Hot Line
1. The Hot Line function is used to make an automatic, quick call to a designated
number without dialing. Just pick up the handset, then a call will be made.
2. The Hot Line number should be registered at address 99 in the Phone book.
Hotline operates in 2 modes;
Timed Hot Line; The call will be made in delayed manner between 4-8 seconds
(sending waiting time), depending on your default value, after you pick up the
handset. Original default value is 6 seconds.
Immediate Hot Line; The call will be made as soon as you pick up the handset.
3. The Hotline function overrides any other functions.
1) Hot Line function On / Off
1. Press "36*#31*" to Timed Hot Line On
2. Press "36*#32*" to Immediate Hot Line On
3. Press "36*#33*" to Hot Line Off
2) Making a Hot Line Call
When a phone number is saved in address [99], and the Hot Line function is set to the
Timed Hot Line mode, a call is automatically made, and if the send waiting time
(4 ~ 8 seconds) elapses, if the handset is lifted. .
If the Hot Line function is set to the Immediate Hot Line mode, and you pick up the
handset, the call is made automatically to the number saved in the memory address [99].
Note :If the Hot Line function is in the Immediate Hot Line mode, a call may not be
made to another number. In this case, to make a call to another number, change
the setup mode. Pick up the handset and press <#> within 1 second and go to
the setup mode, and deactivate the Hot Line function.
This terminal supports the Metering Pulse and the Polarity Reverse for the PCO Interface.
If the Metering Pulse is required for the PCO Interface, 2 kinds of frequencies
(16KHz, 12KHz) can be supported. (Depend on system)
1. Press "36*#41*" to pay phone Interface on mode.
2. Press "36*#42*" to pay phone Interface off mode.
5.2 Pay Phone Interface

5.3.1 Storing Phone Numbers
1. Pick up the telephone handset and Press "36*#51"
2. Press the 2 digit address you would like to store the phone number.
Suppose the address is <4>, press [04].
3. Press the phone numbers to be saved digit by digit .
4. When you press button (saving), you will hear a <confirmation beep>
indicating the number has been successfully stored.
5.3.2 Deleting Phone Numbers
1) Deleting a Number
1. Pick up the telephone handset and Press "36*#52"
2. Press the 2 digit address to be deleted.
3. When you press button (saving), you will hear a <confirmation beep>
indicating the number has been successfully deleted.
2) Deleting All Numbers
1. Pick up the telephone handset and Press "36*#53"
2. When you press button (saving), you will hear a <confirmation sound>
indicating all stored numbers have been successfully deleted.
This terminal is equipped with voice privacy function to prevent illegal tapping.
There are two detailed settings available, <Standard> for regular level voice privacy
mode and <Enhanced> for reinforced voice privacy mode.
<*( )>
<*( )>
<*( )>
<*( )>
1. Press "36*#6".
2. Press <1> button for < Enhanced Voice Privacy > mode or <2> button for
< Standard Voice Privacy > mode.
3. Press button to save the setting .
5.3 Phone Book
5.4 Voice Privacy
This function is used to control the ringer frequency and cadence. Select the frequency
first and then select the cadence. Default setting is 20Hz, 1 sec On 2sec Off.
5.5.1 Ringer Frequency Setting
5.5 Ringer Frequency & Cadence Control
1. Press "36*#7".
2. Select a desired number from 1(16Hz) , 2(20Hz), 3(25Hz).
3. Press button to save the setting .
[Example] If you want to 16Hz, Press 36*#71*
<*( )>

5.5.2 Ringer Cadence Setting
1. After selecting the frequency, select the cadence. Select a desired number from 1~ 6
to terminate ringer frequency and ringer cadence setting.
2. Press 36*#8.
3. Select a desired number from 1~6.
- 1: 1Sec On 2 Sec Off
- 2: 0.4 Sec On 0.2 Sec Off - 0.4 Sec On 2 Sec Off
- 3: 1 Sec On 4.5 Sec Off
- 4: 1 Sec On 4 Sec Off
- 5: 0.25 Sec On 0.25 Sec Off - 0.25 Sec On 1.25 Sec Off
- 6: 2 Sec On 4 Sec Off
4. Press button to save the setting .
[Example] If you want to 2 Sec On 4 Sec Off, Press 36*#86*.
This function is used to select the dial sent from the handset. Default setting is
350 + 440Hz dual tone.
1. Press 36*#9.
2. Select a desired number from 1(350 + 440Hz), 2(400Hz), 3(425Hz), 4(450Hz).
3. Press button to save the setting .
[Example] If you want to 350 + 440Hz, Press 36*#91*.
When the terminal receives a hook-flash from the connected telephone device, it will
automatically allow:
<*( )>
<*( )>
5.6 Dial Tone Frequency Control
5.7 Hook flash
1. For producing dial tone again after a phone number has been dialed without connection.
2. The use of special cellular services which may be available in your cellular service area.
Note: Hook-flash is accomplished in a call through either pressing the dedicated
hook-flash key which is available on some phones or through a rapid single press
of the hang-up mechanism upon which the handset rests when the phone is hung up.
If the telephone equipment remains off-hook , meaning that the handset is left off
of its cradle as it would be when you hang up, with no dialing activity for about 60 seconds,
a ROH tone emits from the receiver for a period of 60 seconds. After ROH tone, Line
5.8 ROH (Receiver Off Hook)
Lock Out Tone emits from receiver for a period of 60 seconds.

While the Restrict Call function is enabled, the specified numbers cannot be called.
These specified numbers start with specific digits. The specific digits are set according
to the following procedure (Storing the Deny dial number).
Among these specified numbers you can permit some numbers by designating start digits
by following procedure (Storing the Permit dial number).
This terminal has 10 Deny dial numbers (1~10), and max. 32 digits can be stored in each
Deny dial number.
This terminal has 10 Permit dial number (1~10), and max. 32 digits can be stored in each
Permit dial number.
If you set Emergency call, the emergency number is not applied to this restrict call.
5.9 Restrict Call Mode
5.9.1 Set Restrict Call Level
1. Press "36*#11".
2. Press restrict level (1~3)
-1 : No restriction
-2 : Restriction
-3 : Emergency only (All excepting emergency are restricted.)
3. Press "LOCK code" (4 digits).
4. Press button to save the setting .
5.9.2 Storing the Permit Dial Number
1. Press "36*#12".
2. Press "1" to enter Permit Dial Number store step.
Note:
- If you want to Delete at this point, Press "2" to save.
- If you want to All Delete at this point, Press "3" to save.
3. Press "LOCK code" (4 digits).
4. Press one of "Memory number" for permit dial number(01~10).
5. Press the "digits" (Max. 32digits).
6. If you want to store more Permit Dial Numbers continue from step2
7. Press button to save the setting .
5.9.3 Storing the Deny Dial Number (Restricted dial number)
1. Press "36*#13".
2. Press "1" to enter Deny Dial Number store step.
Note:
- If you want to Delete at this point, Press "2" to save.
- If you want to All Delete at this point, Press "3" to save.
<*( )>
<*( )>

6.System Functions
6.1 Call Waiting
6.2 Three-way Calling
6.3 Call Forwarding
6.4 Voice Mail service
Three-Way Calling is a feature that enables you to set up a three-way conversation
with two other users. Contact your service provider to activate or deactivate Three-
Way Calling.
Call Forwarding is a feature that enables you to forward all your incoming calls to
another phone number, even if your telephone is turned off. You can still make calls
from your telephone even when Call Forwarding is activated. Contact your service
provider to activate or deactivate Call Forwarding.
Voice Mail Service is a feature that allows the terminal to receive voice mail and
forward it to your telephone when you press a certain sequence of keypad number.
Contact your service provider to activate or deactivate Voice Mail Service.
Call Waiting is a feature, which enables you to be alerted to a second incoming call
while you are on the first call of your telephone. You have the option of responding to
the second call while putting the first call on hold or you can disable the call waiting
option during a particular call. Contact your service provider to activate or deactivate
Call Waiting.
4. Press one of "Memory number" for deny dial number(01~10).
5. Press the "digits" (Max. 32digits).
6. If you want to store more Deny Dial Numbers continue from step2
7. Press button to save the setting .
<*( )>
3. Press "LOCK code" (4 digits).

7. FAX Functions(Optional)
7.1 FAX Set-up
To send or receive analog messages, the WLL should be equipped with an analog
module(Option), connected a conventional Fax machine the WLL.
You can send and receive FAX massages using a machine connected to the WLL.
1) Dual dialing Method
1. Load documents to send into a machine.
2. Pick up the handset or press On-hook of the machine.
3. Press <*( ) >, <*( ) >, <8>, <1> and wait for dial tone.
4. Dial destination number when you hear dial tone.
2) Per-digit method
1. Load documents to send into a machine.
2. Pick up the handset or press On-hook button of the machine.
3. Press <*( ) >, <8>, <9>, <*( ) > and destination number in sequence.
The WLL will make a call automatically.
You can set the WLL to "Always Mode" or "Once" reception mode.
1. Pick up the handset or press On-hook button of the machine.
2. Press <*( ) >, <*( ) >, <9>, <1> to set "Always Mode"
Press <*( ) >, <*( ) >, <9>, <2> to set "Once Mode"
3. Wait for a confirmation dial tone. The WLL is ready to receive machine
NOTE 1 :
mode automatically.
NOTE 2 : To set back the WLL from always mode to voice call mode.
1. Pick up the handset or press On-hook key.
2. Press <*( ) >, <*( ) >, <9>, <3> in sequence.
3. Wait for a confirmation dial tone.
FAX
FAX
FAX
FAX
FAX
FAX
FAX
FAX
FAX
FAX
FAX
FAX
FAX
7.2 Sending FAX message
7.3 Receiving FAX message
If you set the WLL to always mode, the WLL will transfer every call to the
machine connected. If you set the WLL to once mode, the WLL will
transfer the first incoming call to the machine and set back to voice call
FAX
FAX

8.Summary Table
Explanation
1.
Minute
alert beep
2.
Alarm
3.
Connecting
tone
4.
Voice
Volume
5.
CID Mode
<*( )>,
<*( )> <*( )>Set
<#( )>Release
1
2
3
4
5
6
7
I II III IV
6.
Outgoing
calls Lock
<*( )>,
<*( )>
<*( )>,
<*( )>
<*( )>,
<*( )>
<*( )>,
<*( )>
<*( )>,
<*( )>
<*( )>,
<*( )>
<*( )>Set
<#( )>Release
Enter alarm time
(00:00~11:59)
and <*( )>Set
<1><1> AM mode
in 12Hour mode
<1><2> PM mode in
12Hour mode
<2> 24Hour mode
<#( )>Release
Enter alarm time
(00:00~11:59)
and <*( )>Set
Enter alarm time
(00:00~23:59)
and <*( )>Set
Decides whether alert beep
should sound at one minute
intervals.
Used when you want to set
alarm time(AM mode in 12
Hour mode).
Used when you want to set
alarm time(PM mode in 12
Hour mode).
Used when you want to set
alarm time(24Hour mode).
Used when you want to
release alarm time.
<*( )>Up
<#( )>Down
<*( )>DTMF
<#( )>Bellcore
< 0 > Release
7.
Lock code
Enter 4 digits
lock code
Enter 4 digits
lock code(old)
Enter 4 digits
lock code(new)
Enter 4 digits lock
code(confirm)
And<*( )>
Decides whether a Discrete
tone should Sound when a
call is Connected.
Adjusts the Volume of phone.
Used when you want to set
the phone to display the caller
number or name.
Used when you limit use of
the outgoing calls(All).
Used when you change
the lock code
<*( )>Enable
<#( )>Disable
<0> Save
1) Advanced Functions

8.
Fax Tx
9.
Fax Rx
10.
Terminal
Reset
11.
Auto
Dial time
8
9
10
11
<1> Wait for
dial tone
<1>Always mode
<2> Once mode
<3> Reset to voice mode
Enter 4 digits lock code
<0~9>
Used when you want to send a
message by a fax machine
Used when you receive a
message by a fax machine
Return phone to factory settings.
Set Auto dial time(0sec ~ 9sec)
Enter fax
number
<*( )>,
<*( )>
<*( )>,
<*( )>
<*( )>,
<*( )>
<*( )>,
<*( )>
<*( )>
<*( )>
Explanation
I II III
2) Supplementary Functions
1.
Speed dial
2.
Redial
3.
Emergency
4.
Hot Line
5.
Pay Phone
Interface
6.
Phone Book
7.
Voice Privacy
8.
Ringer Freq.
36*#1
*(Long)
36*#2
36*#3
36*#4
36*#5
36*#6
36*#7
1(On)
2(Off)
1(On)
2(Off)
1(On)
2(Off)
1(Enhanced)
2(Standard)
Set Speed dial function
Set Redial function
Set Emergency function
Set Hot Line function
Set Pay Phone Interface f
unction
Used when you want to
Phone Book function
Set Voice Privacy function
Set Ringer Frequency(for test)
1(16Hz)
2(20Hz)
3(25Hz)
1(Time On)
2(Immediate On)
3(Off)
1(Store)
2(Del)
3(All Del)
<*( )>
<*( )>
<*( )>
<*( )>
<*( )>
<*( )>
<*( )>

9.
Ringer Cadence
Control.
10.
Dial Tone Freq.
11.
DM/DS mode
12.
Restrict Call mode
- Level
13.
Restrict Call mode
Permit Number
14.
Restrict Call mode
- Deny Dial Number
36*#8
36*#9
36*#10
36*#11
36*#12
36*#13
1(1Sec On2 Sec Off)
2(0.4Sec On0.2Sec
Off-0.4Sec On2 Sec Off)
3(1Sec On4.5Sec Off)
4(1Sec On4Sec Off)
5(0.25Sec On0.25 Sec
Off-0.25Sec On 1.25Sec
Off)
6(2Sec On4 Sec Off)
1(350+440Hz)
2(400Hz)
3(425Hz)
4(450Hz)
1(DM mode)
2(DS mode)
1(No Restrction)
2(Restriction)
3(Emergency only)
1(Store)
2(Del)
3(All Del)
1(Store)
2(Del)
3(All Del)
Enter 4digits
lock code and
Enter 4digits
lock code and
Enter 4digits
lock code and
Set Ringer Cadence
Control(for test).
Set Dial Tone Frequency
(for test)
Set DM mode or DS mode
Set Restrict Outgoing Call
-Level
Set Restrict Outgoing Call
- Permit Number
Set Restrict Outgoing Call
- Deny Dial Number
<*( )>
<*( )>
<*( )>
<*( )>
<*( )>
<*( )>

9. Troubleshooting Guide
Wireless Terminal"
Check
if the power LED or battery LED of the terminal is on.
If off, check if the SMPS power plug is properly connected
to the terminal.
Check the RJ-11 jack of the terminal connected to the
telephone
Check if the battery on/off switch at the bottom of the
terminal is on.
The backup battery is discharged, Check the Battery
Switch or freshly charged one.
Check if the antenna is connected correctly, or move the
location of the terminal
Troubleshoot
the conventional
wired telephone
When you hear
no sound
after hook-off?
Troubleshoot
the Fixed Wireless
Terminal
When the battery
LED is off
When the RSSI
LED blinks or off
What To Do
Problems
In the event you are unable to place or receive telephone
calls, first be sure that the connection wire is properly
connected to the RJ-11 phone port on the terminal and to
the RJ-11 port of the telephone. If unsure whether or not
the telephone is operational, connect a telephone, which
is known to be operational to the terminal. If service is
available with the operational telephone, replace or repair
your telephone equipment. If service is still not available,
then follow instructions under "Troubleshoot the Fixed
Check for the appropriate power indication on the LED.
If no power, check the adapter (or External Power Supply)
connection between the electrical outlet and the terminal.
Check for the appropriate Received Signal Strength Indication
(RSSI), Power, and Message Indication through
the designated LED, respectively.

Check you will achieve the best audio quality with
only a single telephone"Off-hoo" at a time Check
Re-measure your cable and accordingly.
Make the number less than 5 by removing some
of the telephones or changing to telephones with
smaller REN values.
Check the PC setup in Data Service Manual.
When the never
or poor ring/sound
Voice call works
but Data Service
does not work
NOTE :
2.According to the power condition, you can hear a little noise during
for service and assistance.
If the problem you are experiencing persists or is not mentioned above,
please contact your local distributor or service center.
1.Only Authorized Service Personnel should remove the cover of the fixed
wireless terminal for additional service. The contents of the terminal contain
components that present an Electric Shock Hazard if handled improperly.
connection. For further assistance, contact your Authorized Distributor

Rx Power Level
Temperature of operation
Relative humidity
-104 ~ -25 dBm
-20 ~ + 50
5% ~ + 95%
8.4V NiMH
230 Ý 175 Ý 55 (mm)
700g
Power Supply(Adapter)
Battery Capacity
Dimension
Weight(without internal battery)
* Specifications are subject to change without notice.
10. Specifications
Frequency
Range
Channel Bandwidth
Multi Connection
RJ-11 Phone/Analog Fax port
Frequency Stability
Tx Power
CDMA 1.25 MHz
4 REN
2
ധ 300 Hz
Max. 0.385W
HTT-800/810
HTT-1900
Tx : 824~849 MHz Rx : 869~894 MHz
Tx : 1850~1910 MHz Rx : 1930~1990 MHz
Input : AC 110~240V /50~60Hz Output : DC 12V 1.5A

G
G
G
G
G
G
Safety Information
1 . SAFETY INFORMATION FOR FIXED WIRELESS TERMINALS
.POTE NTIALLY EXPLOSIVE ATMOSPHERES
Turn your phone OFF when in any area with a potentially explosive atmosphere and
obey all signs and instructions. Sparks in such areas could cauls e an explosion or fire
resulting in bodily injury or even death.
.
INTERFERENCE TO MEDICAL DIVICES
Certain electronic equipment may be shielded against RF signal from you wireless
phone. (pacemakers, Hearing Aids, and so on)
Turn your phone OFF in health care facilities when any regulations posted in these
areas instruct you to do so.
RF signals may affect improperly installed or inadequately shielded electronic system
in motor vehicles.
.EXPOSURE TO RF ENERGY
Use only the supplied or an approved replacement antenna.
Do not touch the antenna unnecessarily when the phone is in use.
Do not move the antenna close to, or touching any exposed part of the body when
making a call.
FCC RF EXPOSURE INFORMATION
In August 1996 the Federal Communications Commission (FCC) of the United States with its
action in Report and Order FCC 96-326 adopted an updated safety standard for human
exposure to radio frequency (RF) electromagnetic energy emitted by FCC regulated transmitters.
Those guidelines are consistent with the safety standard previously set by both U.S. and
international standards bodies. The design of this phone complies with the FCC guidelines and
these international standards.
To comply with FCC RF exposure requirements, a minimum separation distance of 2.5cm (0.98
inch) must be maintained between the user/ bystander and the back of the unit, including the
antenna.
For more information about RF exposure, please visit the FCC website at www.fcc.gov
WARNING! Read this information before use

G
G
G
G
G
G
SAR INFORMATION
THIS MODEL PHONE MEETS THE GOVERNMENT ’ S REQUIREMENTS FOR
EXPOSURE TO RADIO WAVES.
Your wireless phone is a radio transmitter and receiver. It is designed and
manufactured not to exceed the emission limits for exposure to radio frequency
(RF)energy set by the Federal Communications Commission of the
U.S.Government.These limits are part of comprehensive guidelines and establish
permitted levels of RF energy for the general population. The guidelines are based on
standards that were developed by independent scientific organizations through periodic
and thorough evaluate on of scientific studies. The standards include a substantial
safety margin designed to assure the safety of all persons, regardless of age and health.
The exposure standard for wireless mobile phones employs a unit of measurement
known as the Specific Absorption Rate, or SAR. The SAR limit set by the FCC is 1.6
W/kg.*Tests for SAR are conducted with the phone transmitting at its highest certified
power level in all tested frequency bands. Although the SAR is determined at the
highest certified power level, the actual SAR level of the phone while operating can be
well below the maximum value. This is because the phone is designed to operate at
multiple power levels so as to use only the power required to reach the network. In
general, the closer you are to a wireless base station antenna, the lower the power
output. Before a phone model is available for sale to the public, it must be tested and
certified to the FCC that it does not exceed the limit established by the government
adopted requirement for safe exposure.
The tests are performed in positions and locations (e.g., at the ear and worn on the
body) as required by the FCC for each model. The highest SAR value for this model
as described in this user guide, is 1.21W/kg.
While there may be differences between the SAR levels of various devices and at
various positions, they all meet the government requirement for safe exposure.
The FCC has granted an Equipment Authorization for this model with all reported SAR
levels evaluated as in compliance with the FCC RF exposure guidelines. SAR information
on this model phone is on file with the FCC and can be found under the Display Grant
section of http://www.fcc.gov / oet after searching on FCC ID: ODGHTT-800.
Additional information on Specific Absorption Rates (SAR)can be found on the Cellular
Telecommunications &Internet Association (CTIA)web-site at http://phonefacts.net.*In the United
States and Canada, the SAR limit for mobile phones used by the public is 1.6watts/kg
(W/kg)averaged over one gram of tissue. The standard incorporates a substantial margin of safety
to give additional protection for the public and to account for any agitations in measurements.
G
G
G
G
G
G
FCC Compliance Information
This device complies with Part 15 of FCC Rules.
Operation is subject to the following two conditions:
(1) This device may not cause harmful interference, and
(2) This device must accept any interference received.
Including interference that may cause undesired operation.
Information to User
This equipment has been tested and found to comply with the limits for a Class B digital
device, pursuant to part 15 of the FCC Rules. These limits are designed to provide
reasonable protection against harmful interference in a residential installation. This
equipment generates, uses and can radiate radio frequency energy and, if not installed
and used in accordance with the instructions, may cause harmful interference to radio
communications. However, there is no guarantee that interference will not occur in a
particular installation. If this equipment does cause harmful interference to radio or
television reception, which can be determined by turning the equipment off and on, the
user is encouraged to try to correct the interference by one or more of the following
measures:
- Reorient or relocate the receiving antenna.
- Increase the separation between the equipment and receiver.
- Connect the equipment into an outlet on a circuit different from that to which the
receiver is connected.
- Consult the dealer or an experienced radio/ TV technician for help.
