Harbor Freight 8 Ton Heavy Duty Long Ram Hydraulic Flat Bottom Jack Product Manual
Manual for the 60394 8 Ton Super Heavy Duty Long Ram Hydraulic Flat Bottom Jack 60394 8 Ton Heavy Duty Long Ram Hydraulic Flat Bottom Jack
2015-05-27
: Harbor-Freight Harbor-Freight-8-Ton-Heavy-Duty-Long-Ram-Hydraulic-Flat-Bottom-Jack-Product-Manual-723488 harbor-freight-8-ton-heavy-duty-long-ram-hydraulic-flat-bottom-jack-product-manual-723488 harbor-freight pdf
Open the PDF directly: View PDF
.
Page Count: 12


Page 2 For technical questions, please call 1-800-444-3353. Long Ram Jack
Specifications
ITEM Rated Load Max.
Height
Min.
Height Base Type Ram Pin
Hole
60315 3 Tons (6,000 lb.) 44″ 24-3⁄4″5⁄8″ Round Pin Holes 5⁄8″
60350 8 Tons (16,000 lb.) 43-1⁄2″24-1⁄2″5⁄8″ Round Pin Holes 5⁄8″
60393 3 Tons (6,000 lb.) 42-1⁄4″ 23″ 4″ x 4-1⁄2″ Flat 5⁄8″
60394 8 Tons (16,000 lb.) 42″ 23″ 4-3⁄8″ x 5-1⁄4″ Flat 5⁄8″
WARNING SYMBOLS AND DEFINITIONS
This is the safety alert symbol. It is used to alert you to
potential personal injury hazards. Obey all safety messages
that follow this symbol to avoid possible injury or death.
Indicates a hazardous situation which, if not avoided,
will result in death or serious injury.
Indicates a hazardous situation which, if not avoided,
could result in death or serious injury.
Indicates a hazardous situation which, if not avoided,
could result in minor or moderate injury.
Addresses practices not related to personal injury.

Page 3For technical questions, please call 1-800-444-3353.Long Ram Jack
IMPORTANT SAFETY INFORMATION
Read all safety warnings and instructions. Failure to follow the warnings and
instructions may result in serious injury and DEATH from sudden failure of Jack or device.
Save all warnings and instructions for future reference.
1. Study, understand, and follow all
instructions before operating this device.
2. Install ONLY on device designed
for a Jack with the same rating:
• A device designed for a Jack with
a higher rating may damage the Jack
or cause it to suddenly fail under load.
• A device designed for a Jack with
a lower rating may be damaged
or may suddenly fail under load.
3. Mount properly as part
of a device designed for
this type of Jack before use.
Mounting points, maximum length,
and rating must be IDENTICAL.
Do not mount on different device or
use while not mounted properly.
4. Do not use upside-down.
5. Do not adjust safety valve.
6. Wear ANSI-approved safety goggles
and heavy-duty work gloves during use.
7. Keep clear of load while
lifting and lowering.
8. Lower load slowly.
9. Do not use for aircraft purposes.
10. Inspect before every use;
do not use if parts loose or damaged.
11. Keep your work area clean and well lit.
Cluttered work areas invite accidents.
12. Keep bystanders, children, and
visitors away while operating Jack.
13. Stay alert. Watch what you are
doing, and use common sense when
operating a Jack. Do not use a Jack
while tired or under the influence
of drugs, alcohol, or medication.
14. Jack service must be performed only by
qualified repair personnel. Service or
maintenance performed by unqualified
personnel could result in a risk of injury.
15. When servicing a Jack, use only
identical replacement parts.
Follow instructions in the “Inspection,
Maintenance, and Cleaning” section
of this manual. Use of unauthorized
parts or failure to follow maintenance
instructions may create a risk of injury.
16. Maintain labels and
nameplates on the Jack.
These carry important information.
If unreadable or missing, contact
Harbor Freight Tools for a replacement.
17. Industrial applications must
follow OSHA requirements.
18. The warnings, precautions, and
instructions discussed in this manual
cannot cover all possible conditions
and situations that may occur.
The operator must understand that
common sense and caution are factors,
which cannot be built into this product,
but must be supplied by the operator.
SAVE THESE INSTRUCTIONS.

Page 4 For technical questions, please call 1-800-444-3353. Long Ram Jack
Operating Instructions
Read the ENTIRE IMPORTANT SAFETY INFORMATION section at the
beginning of this document including all text under subheadings therein
before set up or use of this product.
Mounting
WARNING! Install ONLY on device
designed for a Jack with the same rating:
• A device designed for a Jack with
a higher rating may damage the Jack
or cause it to suddenly fail under load.
• A device designed for a Jack with
a lower rating may be damaged
or may suddenly fail under load.
WARNING! Mount properly as
part of a device designed for
this type of Jack before use.
Mounting points, maximum length,
and rating must be IDENTICAL.
Do not mount on different device or
use while not mounted properly.
Note: Do not mount upside-down.
Note: Jack must have load
on Piston to retract.
WARNING! Only use pins that are
capable of supporting the rated load,
and ensure that the pins are properly
secured before use. Make sure the
pins’ diameters are a push fit with just
enough clearance so they move freely.
1. Secure the Base to the device:
a. Round Base:
Insert a pin (not included) through
the holes in the Round Base and in
the device, properly securing it.
b. Flat Base:
Secure Flat Base to
the device according to
device supplier’s instructions.
2. Insert another pin (not included)
through the device and Ram Pin Hole.
3. Secure pins in place with appropriate
retaining rings or cotter pins
(both sold separately).
Ram Pin
Hole
Base Pin
Holes
Flat Base

Page 5For technical questions, please call 1-800-444-3353.Long Ram Jack
Bleeding
IMPORTANT! Before first use, check for
proper hydraulic oil level in the Jack.
Then thoroughly test the Jack for
proper operation prior to its actual use.
If the Jack appears not to be working
properly, it may be necessary to bleed
its hydraulic system of excess air.
1. Remove the Oil Fill Plug.
2. Turn the Release Valve
counterclockwise.
3. Insert the Handle into the
Handle Socket.
4. Apply pressure to the lifting point, and
pump the Handle quickly several times.
5. Check the Oil Fill Hole and, if necessary,
top off the Oil Fill Hole with hydraulic oil.
6. Replace the Oil Fill Plug.
7. Test the Jack several times for proper
operation before attempting to lift a load.
If, after purging, the Jack still
does not appear to be working
properly, do not use the Jack
until it has been repaired by a
qualified service technician.
Oil Fill
Plug
Oil Fill
Hole
Handle
Release
Valve

Page 6 For technical questions, please call 1-800-444-3353. Long Ram Jack
Extending Jack
WARNING! Read device warnings
and operation instructions before use.
The following general Jack instructions
do not cover necessary device-specific
operation warnings and instructions.
1. Before each use, thoroughly test the
Jack for proper operation prior to
its actual use. If the Jack appears
not to be working properly, follow
Bleeding instructions on page 5.
2. Clear area near device and Jack.
3. Turn the Release Valve firmly clockwise.
4. Insert the Handle into the
Handle Socket. Pump the Handle
to extend the Jack. Use smooth,
full strokes for best results.
Note: Lower the Jack completely after use.
Handle
Release
Valve

Page 7For technical questions, please call 1-800-444-3353.Long Ram Jack
Retracting Jack
WARNING! Read device warnings
and operation instructions before use.
The following general Jack instructions
do not cover necessary device-specific
operation warnings and instructions.
Note: Jack must have load
on Piston to retract.
1. Clear area near device and Jack.
2. Slowly turn the Release Valve
counterclockwise
(never more than two full turns)
to allow the Jack to retract.
Note: Lower the Jack completely after use.
Handle
Release
Valve

Page 8 For technical questions, please call 1-800-444-3353. Long Ram Jack
Maintenance and Servicing
Procedures not specifically explained in this manual
must be performed only by a qualified technician.
TO PREVENT SERIOUS INJURY FROM ACCIDENTAL OPERATION:
Do not use damaged equipment. If abnormal noise or vibration
occurs, have the problem corrected before further use.
Cleaning, Maintenance, and Lubrication
1. BEFORE EACH USE, inspect
the general condition of the Jack.
Check for:
• loose hardware,
• misalignment or binding
of moving parts,
• cracked, bent, or broken parts, and
• any other condition that may
affect its safe operation.
2. Before each use, thoroughly test the
Jack for proper operation prior to
its actual use. If the Jack appears
not to be working properly, follow
Bleeding instructions on page 5.
3. Change the hydraulic oil at
least once every three years:
a. With the Jack fully lowered,
remove the Oil Fill Plug on the side.
b. Tip the Jack to allow the old
hydraulic oil to drain out completely,
and dispose of the old hydraulic oil
in accordance with local regulations.
c. With the Jack upright, completely
fill the Reservoir with a high
quality hydraulic oil (not included)
until the oil just begins to run
out of the Oil Fill Hole.
d. Then, reinstall the Oil Fill Plug.
4. Clean with a clean cloth with
a detergent or mild solvent.
Then, store the Jack in a safe,
dry location out of reach of children
and other non-authorized people.

Page 9For technical questions, please call 1-800-444-3353.Long Ram Jack
Troubleshooting
TO PREVENT SERIOUS INJURY:
Use caution when troubleshooting a malfunctioning Jack.
Stay well clear of the supported load. Completely resolve all problems before use.
If the solutions presented in the Troubleshooting guide do not solve the problem,
have a qualified technician inspect and repair the Jack before use.
After the Jack is repaired:
Test it carefully without a load by raising it and lowering it fully,
checking for proper operation, BEFORE RETURNING THE JACK TO OPERATION.
DO NOT USE A DAMAGED OR MALFUNCTIONING JACK!
POSSIBLE SYMPTOMS PROBABLE SOLUTION
(Make certain that the Jack is
not supporting a load while
attempting a solution.)
Jack will
not lift at
its weight
capacity
Saddle
lowers
under load
Pump
stroke
feels
spongy
Saddle
will not
lift all
the way
Handle
moves up
when Jack is
under load
Oil leaking
from filler
plug
X X Check that Release Valve
is closed fully.
X X X
Valves may be blocked and may not
close fully. To flush the valves:
1. Lower the Saddle and securely
close the Release Valve.
2. Manually lift the saddle
several inches.
3. Open the release valve
and force the saddle down
as quickly as possible.
XX X
Jack may be low on oil.
Check the oil level and refill if needed.
Jack may require bleeding -
see instructions on page 5.
XUnit may have too much
hydraulic oil inside, check fluid
level and adjust if needed.

Page 10 For technical questions, please call 1-800-444-3353. Long Ram Jack
PLEASE READ THE FOLLOWING CAREFULLY
THE MANUFACTURER AND/OR DISTRIBUTOR HAS PROVIDED THE PARTS LIST AND ASSEMBLY
DIAGRAM IN THIS DOCUMENT AS A REFERENCE TOOL ONLY. NEITHER THE MANUFACTURER
OR DISTRIBUTOR MAKES ANY REPRESENTATION OR WARRANTY OF ANY KIND TO THE
BUYER THAT HE OR SHE IS QUALIFIED TO MAKE ANY REPAIRS TO THE PRODUCT, OR
THAT HE OR SHE IS QUALIFIED TO REPLACE ANY PARTS OF THE PRODUCT. IN FACT, THE
MANUFACTURER AND/OR DISTRIBUTOR EXPRESSLY STATES THAT ALL REPAIRS AND PARTS
REPLACEMENTS SHOULD BE UNDERTAKEN BY CERTIFIED AND LICENSED TECHNICIANS,
AND NOT BY THE BUYER. THE BUYER ASSUMES ALL RISK AND LIABILITY ARISING OUT OF
HIS OR HER REPAIRS TO THE ORIGINAL PRODUCT OR REPLACEMENT PARTS THERETO,
OR ARISING OUT OF HIS OR HER INSTALLATION OF REPLACEMENT PARTS THERETO.
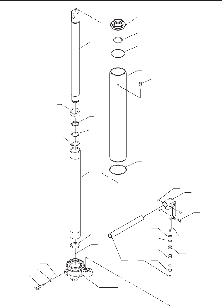
Parts List and Diagram
Parts List
Part Description Qty
1 Top Nut 1
2 O-Ring 1
3 Sealing Gasket 1
4 Reservoir 1
5 Oil Plug 1
6 T-Ring 1
7 Ram 1
8 Retaining-Ring 1
9 O-Ring 1
10 Cylinder 1
11 Washer 1
12 Steel Ball 3
13a Round Base (60315 / 60350 only) 1
13b Flat Base (60393 / 60394 only)
Part Description Qty
14 Cotter Pin 3
15 Handle Socket 1
16 Pin 3
17 Pump Piston 1
18 O-Ring 1
19 Back Up-Ring 1
20 U-Cup 1
21 Pump 1
22 Washer 1
23 Handle 1
24 Square Ring 1
25 Release Valve 1
26 Guide Ring (60315 / 60393 only) 1
27 Retaining Ring (60315 / 60393 only) 1
Record Serial Number Here:
Note: If product has no serial number, record month and year of purchase instead.
Note: Some parts are listed and shown for illustration purposes only,
and are not available individually as replacement parts.

Page 11For technical questions, please call 1-800-444-3353.Long Ram Jack
Assembly Diagram
1
2
3
4
6
14
18
19
21
221223
13a/13b
12
24
25
12
11
10
9
8
26
27
7
15
16
17
20
5

Limited 90 Day Warranty
Harbor Freight Tools Co. makes every effort to assure that its products meet high quality
and durability standards, and warrants to the original purchaser that this product is free from
defects in materials and workmanship for the period of 90 days from the date of purchase.
This warranty does not apply to damage due directly or indirectly, to misuse, abuse, negligence
or accidents, repairs or alterations outside our facilities, criminal activity, improper installation,
normal wear and tear, or to lack of maintenance. We shall in no event be liable for death,
injuries to persons or property, or for incidental, contingent, special or consequential damages
arising from the use of our product. Some states do not allow the exclusion or limitation of
incidental or consequential damages, so the above limitation of exclusion may not apply to you.
THIS WARRANTY IS EXPRESSLY IN LIEU OF ALL OTHER WARRANTIES, EXPRESS OR
IMPLIED, INCLUDING THE WARRANTIES OF MERCHANTABILITY AND FITNESS.
To take advantage of this warranty, the product or part must be returned to us with transportation
charges prepaid. Proof of purchase date and an explanation of the complaint must accompany
the merchandise. If our inspection verifies the defect, we will either repair or replace
the product at our election or we may elect to refund the purchase price if we cannot readily
and quickly provide you with a replacement. We will return repaired products at our expense,
but if we determine there is no defect, or that the defect resulted from causes not within
the scope of our warranty, then you must bear the cost of returning the product.
This warranty gives you specific legal rights and you may also
have other rights which vary from state to state.
3491 Mission Oaks Blvd. • PO Box 6009 • Camarillo, CA 93011 • (800) 444-3353