Harbor Freight 9 Speed Vertical Milling Machine Product Manual
Manual for the 40939 Vertical Milling Machine 40939 Vertical Milling Machine
2015-05-27
: Harbor-Freight Harbor-Freight-9-Speed-Vertical-Milling-Machine-Product-Manual-723251 harbor-freight-9-speed-vertical-milling-machine-product-manual-723251 harbor-freight pdf
Open the PDF directly: View PDF
.
Page Count: 13

VERTICAL BENCH
MILLING MACHINE
40939
SET UP AND OPERATING INSTRUCTIONS
Visit our website at: http://www.harborfreight.com
Read this material before using this product.
Failure to do so can result in serious injury.
SAVE THIS MANUAL.
Copyright© 2007 by Harbor Freight Tools®. All rights reserved. No portion of this manual or any artwork
contained herein may be reproduced in any shape or form without the express written consent of
Harbor Freight Tools. Diagrams within this manual may not be drawn proportionally. Due to continuing
improvements, actual product may differ slightly from the product described herein. Tools required for
assembly and service may not be included.
For technical questions or replacement parts, please call 1-800-444-3353.
Manual revised 08l, 09l

SKU 40939 For technical questions, please call 1-800-444-3353. Page 2
SPECIFICATIONS
Electrical
Requirements
220 V~ / 60Hz / 10 A
Table Size 6-1/2” x 26”
Long. Travel 15-1/2” Max.
Cross Travel 6” Max.
Vertical Travel 7.68” Max.
T-Slot 1/2” (3)
Spindle Travel 2-3/4”
Lead Screw 1” x 8tpi
Spindle Taper R8
Swing 13”
Head Tilt 45o L and R
Motor 2 HP, 1720 RPM
Speeds 9 Speeds:
240, 355, 545, 735, 1342,
1425, 1650, 2350, 2885 RPM
Base Dimensions 22” x 16”
Features
This model is a compact vertical milling machine. It is easy to set up. The con-•
trols are designed for operator convenience, including dual table hand wheels.
This machine is practical for technical schools, small parts production, toolrooms, •
R&D work, maintenance shops, and hobby use.
This machine is ideally suited for many operations, including conventional milling, •
compound angle milling, engraving, and jig boring.
AlltheWaysarehandnishedforperfectbearingalignment.Thetableisground•
for accurate squareness. Castings are high strength material. They are aged for
several months, before normalizing and tempering, to minimize deformation.
SAVE THIS MANUAL
You will need the manual for the safety warnings and cautions, assembly instruc-
tions, operating procedures, maintenance procedures, trouble shooting, parts list, and
diagram. Keep your invoice with this manual. Write the invoice number on the inside of
the front cover. Keep both this manual and your invoice in a safe, dry place for future
reference.
SAFETY WARNING & CAUTIONS
WARNING!
The Warnings, Cautions, and Instructions discussed in this instruction manual
cannot cover all possible conditions and situations that may occur. It must be un-
derstood by the operator that common sense and caution are factors which can-
not be built into this product, but must be supplied by the operator.
READ ALL INSTRUCTIONS BEFORE USING THIS TOOL!
KEEP WORK AREA CLEAN. Cluttered areas invite injuries.1.
REV 09l
SKU 40939 For technical questions, please call 1-800-444-3353. Page 3
OBSERVE WORK AREA CONDITIONS. Do not use tools in damp, wet, or poorly 2.
lit locations. Don’t expose to rain. Keep work area well lit. Do not use electrically
poweredequipmentinthepresenceofammablegasesorliquids.
KEEP CHILDREN AWAY. Children must never be allowed in the work area. Do not 3.
let them handle machines, tools, or equipment.
STORE IDLE EQUIPMENT. When not in use, tools must be locked up in a dry 4.
location to inhibit rust. Always lock up tools and keep out of reach of children.
DO NOT FORCE THE TOOL. It will do the job better and more safely at the rate 5.
for which it was intended. Do not use inappropriate attachments in an attempt to
exceed the tool’s capacities.
USE THE RIGHT TOOL FOR THE JOB. Do not use a tool for a purpose for which 6.
it was not intended.
DRESS PROPERLY7. Do not wear loose clothing or jewelry, as they can be caught
in moving parts. Non-skid footwear is recommended. Wear restrictive hair covering
to contain long hair. Always wear appropriate work clothing.
USE EYE, EAR8. AND BREATHING PROTECTION. Always wear ANSI approved
impactsafetygogglesifyouareproducingmetallingsorwoodchips.Wearan
ANSI approved dust mask or respirator when working around metal, wood, and
chemical dusts and mists. Use ANSI approved ear protection when working in a
loud or noisy environment.
DO NOT ABUSE THE POWER CORD. Protect the power cord from damage, 9.
either from impacts, pulling or corrosive materials. Do not yank machine’s cord to
disconnect it from the receptacle.
DO NOT OVERREACH. Keep proper footing and balance at all times. Do not 10.
reach over or across running machines.
MAINTAIN TOOLS WITH CARE. Keep tools sharp and clean for better and safer 11.
performance. Follow instructions for lubricating and changing accessories. Inspect
power cord periodically and, if damaged, have it repaired by an authorized techni-
cian. Inspect all hydraulic seals for leaks prior to use. Control handle and power
switch must be kept clean, dry, and free from oil and grease at all times.
REMOVE ADJUSTING KEYS AND WRENCHES. Be sure that keys and adjusting 12.
wrenches are removed from the tool or machine work surface before operation.
AVOID UNINTENTIONAL STARTING. Be sure that you are prepared to begin work 13.
before turning the start switch on.
STAY ALERT. Watch what you are doing. Do not operate this machine when you 14.
are tired.

SKU 40939 For technical questions, please call 1-800-444-3353. Page 4
15. DO NOT OPERATE THIS MACHINE WHILE UNDER THE INFLUENCE OF AL-
COHOL, DRUGS, OR PRESCRIPTION MEDICINES.
CHECK FOR DAMAGED PARTS. Before using any tool, any part that appears 16.
damaged should be carefully checked to determine that it will operate properly and
perform its intended function. Check for alignment and binding of moving parts,
anybrokenpartsormountingxtures,andanyotherconditionthatmayaffect
proper operation. Any part that is damaged should be properly repaired or replaced
byaqualiedtechnician.Donotusethetoolifanyswitchdoesnotturnonandoff
properly.
REPLACEMENT PARTS AND ACCESSORIES. When servicing, use only identical 17.
replacement parts intended for use with this tool. Replacement parts are available
from Harbor Freight Tools. Use of any other parts will void the warranty.
Special Warnings when using this Vertical Mill
Using this Vertical Mill may create special hazards.
Take particular care to safeguard yourself and those around you.
Electrical Safety1. . Never operate any tool if there is an electrical hazard. Never
operate an electrical tool in wet conditions. Never operate a tool with an improper
electrical cord or extension cord. Never operate an electrical tool unless you are
plugged into a properly grounded outlet, which
supplies 220 Volts at 60 Hz. We
recommend you use a circuit which is protected by an appropriate circuit breaker.
Ejected Material2. . Use safe practices to avoid injury from ejected material. Be-
cause the Milling tools and workpieces turn at high speed, there is a danger of
beinginjuredbymaterialsthatmaybeejected.AlwayswearANSI-certiedeye
protection. Never attempt to machine any item if it is not adequately held. Always
stand to one side of the plane in which the materials are spinning, to avoid being
hit if an item is ejected. Never allow bystanders to be in the proximity of the Vertical
Mill while in operation.
Entanglement.3. Use extreme caution to prevent loose materials from being caught
in the machine. Never operate this mill with loose clothing, long hair, jewelry, or
other items which may become caught in the tools or workpieces. In case of en-
tanglement, press the OFF switch immediately.
NOTICE: No list of warnings can be all inclusive. The operator must supply common
sense, and operate this tool in a safe manner.

SKU 40939 For technical questions, please call 1-800-444-3353. Page 5
UNPACKING
When unpacking, check to make sure that the item is intact and undamaged. If
any parts are missing or broken, please call Harbor Freight Tools at the number shown
on the cover of this manual as soon as possible.
INSTALLATION
Itisimportantthatthemachinebelocatedonahard,solid,leveloor.Finda1.
location that supplies easy access to 220 Volt electrical service. Make sure this
machineislocatedinawell-lightedandwellventilatedarea.Theoorshouldbe
resistant to vibration.
To set the machine on a solid concrete foundation, it’s advisable to apply a little 2.
grout to touch up any unevenness in this concrete in order to get a solid foundation
at all points.
Whensettingmachineonaoorthathasanysurfaceirregularities,shimsshould3.
be used to correct this condition to the greatest extent possible.
PRE-LUBRICATION
Thoroughly clean the machine with an appropriate solvent. Do not use gasoline, 1.
keroseneorotherammableliquids.
Lubricate all the slide ways with S.A.E. #10 and gears with S.A.E. #30 lubricant. Be 2.
sure the machine is lubricated properly before starting.
LEVELING THIS MACHINE
Before operation, it is critical to level the work table both lengthwise and crosswise,
using a precision level. It will not be possible to maintain accuracy of machined
parts if the mill is not properly leveled to start.

SKU 40939 For technical questions, please call 1-800-444-3353. Page 6
ELECTRICAL WIRING
NOTE: This machine is designed to operate on 220 Volt / 60 Hz / Single Phase power
supply only. This machine is not supplied with a plug. This is because the correct
plug will vary depending on the local service.
The power supply cable enters the Base Column (#74) on the right side. Electri-1.
cal connections
are made within the Terminal Box (#141). This can be accessed by
removing the Back Plate (#134).
WARNING:Donotattempttowirethismachineyourself.Contactaqualiedelectrician
to install the correct plug, and test your power supply to assure that this machine
can be operated safely.
The Switch Box (#115) is located on the left side of the column. This box provides 2.
an On/Off switch for machine operation. An Accessory Light (#117) is provided on
the left side of the machine.
NOTICE: 220 Volt systems deliver highly energetic electricity which is capable of caus-
inglethalinjury.Donotoperatethismachinewithoutrstobtainingprofessional
installation and safety inspection to prevent operator injury.
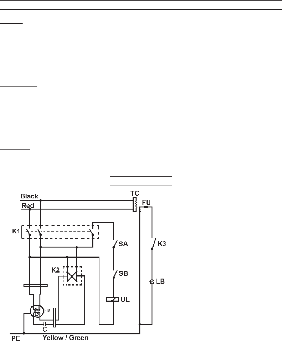
Wiring Diagram
WIRING DIAGRAM KEY
K1: Electric Power Switch
K2: Spindle Rotation Switch
K3: Light Switch
SA, SB: Safety Switches
UL: Switch Coil
L1, L2: Motor
C: Capacitor
TC: Transformer
FU: Fuse
LB: Light Bulb

SKU 40939 For technical questions, please call 1-800-444-3353. Page 7
VERTICAL MILLING MACHINE ADJUSTMENTS OF TABLE
FEED TRAVEL
ADJUSTMENTS OF TABLE FEED TRAVEL
Table longitudinal and cross feed can be set for any travel distance by adjusting
the stop set screws that are located in front of table and at the right side of knee.
ADJUSTMENT OF TABLE GIB:
The table is provided with a full length tapered gib in the saddle with an adjusting
screw on each end. To adjust the gib tighten the two screws until a slight drag is felt
when moving the table by hand. If the table is not tight enough, loosen the adjusting
screw on the small end, and tighten up adjusting screw on the big end. If the feel is too
tight, reverse the adjusting procedures.
ADJUSTMENT OF SADDLE AND KNEE GIBS:
To adjust the saddle and knee gibs, use the same method as described above is
used.
CLAMPING TABLE, SADDLE AND KNEE:
When milling with longitudinal table feed only, it is advisable to clamp the knee with
the column and the saddle with the knee to add rigidity to these members and provide
for heavier cuts with a minimum of vibration. The saddle locking lever is located on the
left side of the saddle. Apply moderate clamping pressure, as this will hold the saddle
sufcientlyrigid.Thetableclampingleversarelocatedinfrontofsaddleandshouldal-
ways be clamped when longitudinal movement is not required. The knee clamping lever
is at the left side of knee. Leave this clamped at all times unless the knee is in opera-
tion.
REMOVING THE TABLE:
Remove the table as follows: hand wheel, dial holder, then bearing bracket. Turn
the lead screw all the way, so that it can be removed. After completing all these steps,
the table can be disassembled easily.
REMOVING SADDLE:
Remove as follows: hand wheel, dial holder, then bearing bracket. Turn the lead-
screw all the way, loosen set screw on the middle of the saddle, take off the lead screw
nut, and draw the saddle gib out. The saddle can then be removed.

SKU 40939 For technical questions, please call 1-800-444-3353. Page 8
MOUNTING MOTOR AND SHIFTING BELTS FOR VARIABLE SPEEDS:
The motor is mounted on a plate hinged to the pulley housing. Release the belt
set unit by turning the handle at the side of the motor. Then shift the belts to the proper
speed as desired. Then tighten the belt set unit. A speed change chart is attached inside
the pulley cover.
QUILL LOCK AND VERTICAL FEED:
The handle at the right lower corner of the head is the quill lock. When vertical
feed is not in use, set the handle to lock the quill and make the head more stable. The
micrometer depth stop is graduated in inches. By utilizing these simple graduations, it is
possible to work very accurately to different depths. A lock nut under the micrometer nut
assures that the micrometer nut is secured properly.
QUILL CLUTCH OF VERTICAL MILLING HEAD:
The vertical feed is controlled by a hand wheel at the front of the head and a han-
dle at the right side of the head. When the hand wheel is in use, tighten the clutch lock
nutbyhand,orloosenitforhandleoperation.Usethehandwheelfornefeeds,orthe
handle for fast feeds.
VERTICAL HEAD AND TEE ADAPTER:
The vertical milling head can be tilted 90o on each side by loosening the four lock-
ing bolts on the TEE adapter. By loosening the two set bolts on the adapter, the vertical
milling head can then be swivelled 120O; tighten the set bolts after swiveling. The mo-
tor and milling head must tilt together since the motor and head are suspended on the
same pulley housing.

SKU 40939 For technical questions, please call 1-800-444-3353. Page 9
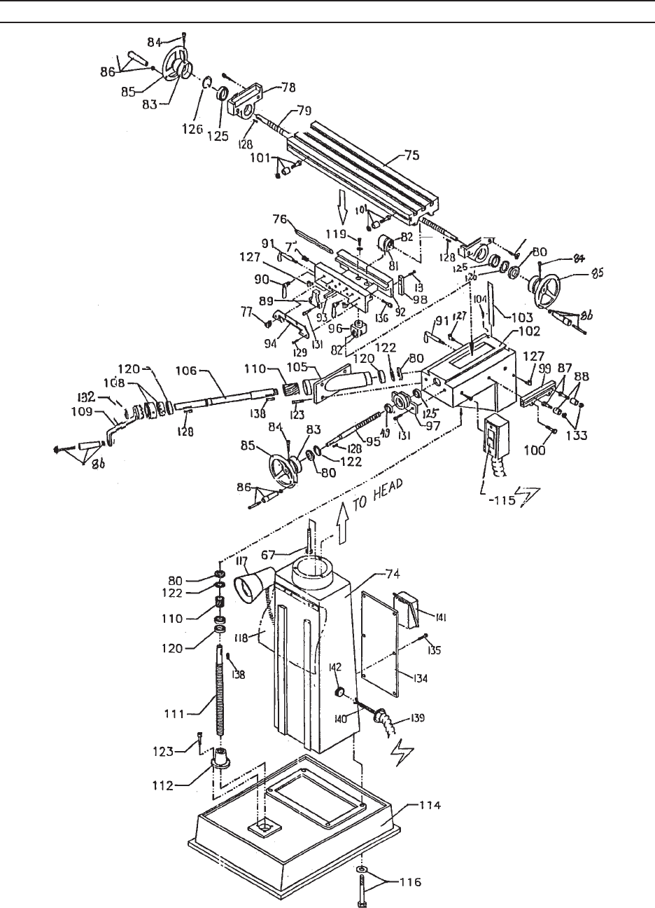
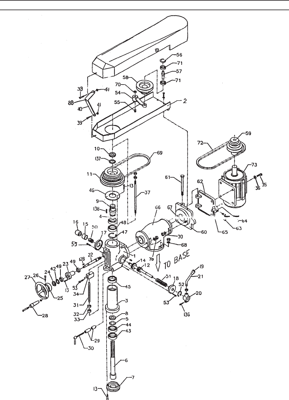
Part Ref. # Description
1 IYT-1001 Vertical milling head
2 IYT-1095 Belt housing cover
3 IYT-1005 Quill
4 IYT-1010 S-45-Snap ring
5 IYZ-1007 Spring washer
6 IYT-1002 Vertical spindle
7 IYT- Cover
8 IYT-1008 Bearing adjusting nut
9 IYT-1009 Spindle sleeve
10 IYT-1016 Pulley locking nut
11 IYT-1018 Spindle pulley
12 IYT-1019 Quill pinion shaft
13 IYT-1047 M5x10 Screw
14 IYT-l036 Clutch worm gear
15 IYT-1039 Clutch
16 IYT-1040 Clutch adjusting nut
17 IYT-1046 Clutch cover
18 IYT-1021 Pinion shaft seat
19 IYT-1032 Ball handles
20 IYT-1028 Hand bar holder seat
21 IYT-1030 Handle bar
22 IYT-1051 Worm shaft
23 IYT-1053 Worm shaft sleeve
24 IYT-1055 Nut for bearing
25 IYT-1056 Dial
26 IYT-1060
Dial positioning screw
27 IYT-1057 Hand wheel
28 IYT-1061 Handle
29 IYT-1048 Quill locking block
30 IYT-1049 Quill locking bolt
31 IYT-1042
Quill stop micro screw
32 IYT-1044 Micrometer nut
33 IYT-1045 Quill micro stop nut
34 IYT-1041 Quill stopper
35 IYT- 8Mx20 Screw
36 IYT Bolt washer
37 IYT-1014 Draw bar
Part Ref. # Description
38 IYT- e5xl5 Rivet
39 IYT- M5x10 Screw
40 IYT-1089 Pulley cover supporting arm
41 IYT- M5 Nut
42 IYT-1016 Washer for bearing
43 IYT-1003 7207-Bearing
44 IYT-1003 6007ZZ-Bearing
45 IYT-1006 6206Z-Bearing
46 IYT-1082 Bearing cover
47 IYT-1012 R-75-Snap ring
48 IYT-1011 6009Z-Bearing
49 IYT-1052 Thrust bearing
50 IYT-1037 Spring
51 IYT-1020 Spring
52 IYT- E-19 Snap ring
53 IYT-1038 M6x15-Bolt
54 IYT-1076 Swivel arm
55 IYT-1075 Swivel stud
56 IYT R-35 Snap ring
57 IYT-1079 Pulley pivot stud
58 IYT-1080 V-belt pulley
59 IYT-1084 Motor pulley
60 IYT-1067 Motor mounting
61 IYT-1068 Motor suspending pivot
62 IYT-1070 Motor mounting
63 IYT-1072 Motor Set Unit handle
64 IYT-1071 Belt set unit
65 IYT-1071 Belt set unit
66 IYT-1064 Vertical Head Adaptor
67 IYT-1067 10Mx35 Screw
68 IYT- 10M Bolt washer
69 IYT-1102 A35-Vee belt
70 IYT- 10M Nut
71 IYT-1081 6003Z-Bearing
72 IYT-1101 A32-Vee belt
73 IYT-1073 1HP, 4 pole-Motor
74 IYT-2006 Column
PLEASE READ THE FOLLOWING CAREFULLY
THE MANUFACTURER AND/OR DISTRIBUTOR HAS PROVIDED THE PARTS LIST AND ASSEMBLY
DIAGRAM IN THIS MANUAL AS A REFERENCE TOOL ONLY. NEITHER THE MANUFACTURER OR
DISTRIBUTOR MAKES ANY REPRESENTATION OR WARRANTY OF ANY KIND TO THE BUYER THAT
HE OR SHE IS QUALIFIED TO MAKE ANY REPAIRS TO THE PRODUCT, OR THAT HE OR SHE IS
QUALIFIED TO REPLACE ANY PARTS OF THE PRODUCT. IN FACT, THE MANUFACTURER AND/OR
DISTRIBUTOR EXPRESSLY STATES THAT ALL REPAIRS AND PARTS REPLACEMENTS SHOULD BE
UNDERTAKEN BY CERTIFIED AND LICENSED TECHNICIANS, AND NOT BY THE BUYER. THE BUYER
ASSUMES ALL RISK AND LIABILITY ARISING OUT OF HIS OR HER REPAIRS TO THE ORIGINAL
PRODUCT OR REPLACEMENT PARTS THERETO, OR ARISING OUT OF HIS OR HER INSTALLATION
OF REPLACEMENT PARTS THERETO.
PARTS LIST

SKU 40939 For technical questions, please call 1-800-444-3353. Page 10
Part Ref. # Description
75 IYT-1073 Table
76 IYT-2062 Table gib
77 IYT-2059 Adjusting screw
78 IYT-2082 Longitudinal bearing bracket
79 IYT-2079 Longitudinal lead screw
80 IYT-2084 Nut for bearing
81 IYT-2080 Longitudinal feed nut
82 IYT-2081 5Mx25 Screw
83 IYT-2087 Dial
84 IYT-2060 Dial positioning screw
85 IYT-2089 Hand wheel
86 IYT-2091 Handle bar
87 IYT-2103 Long travel adjusting screw
88 IYT-2104 Adjusting screw sleeve
89 IYT-2068 Table stopper
90 IYT-2060 Table locking screw
91 IYT-2060 Handle bar
92 IYT-2058 Saddle
93 IYT-2058 Saddle gib
94 IYT-2069 Rubber sheet
95 IYT-2401 Cross lead screw
96 IYT-2037 Cross feed nut
97 IYT-2042 Cross feed bearing bracket
98 IYT-2068 Stop block
99 IYT-2102 Stopblockxture
100 IYT-2103 Cross travel adjusting screw
101 IYT-2104 Adjusting screw sleeve
102 IYT-2015 Knee
103 IYT-2016 Knee gib
104 IYT-2017 Knee locking screw
105 IYT-2019 Gear shaft sleeve
106 IYT-2026 Gear shaft
108 IYT-2029 Elevating handle clutch
109 IYT-2030 Handle arm
Part Ref. # Description
110 IYT-2012 Elevating gear
111 IYT-2009 Elevating lead screw
112 IYT-2007 Elevating lead screw set nut
113 IYT-2059 Chip guard
114 IYT-2001 Base
115 IYT-2089 Switch
116 IYT-2002 1/4”x2” Bolt
117 IYT-2097 Light
118 IYT-2069 Rubber sheet
119 IYT-119 6Mx25 Bolt
120 IYT-2010 6004Z-Bearing
121 IYT-121 6xl5 key
122 IYT-2024 Washer
123 IYT-2008 6Mx15 Bolt
124 IYT-124 6Mx35 Bolt
125 IYT-2084 6004Z-Bearing
126 IYT-126 S-18 Snap ring
127 IYT-2018 0il cup
128 IYT-128 5x5x20 Key
129 IYT-129 M5x10 Bolt
130 IYT-130 6Mx45 Bolt
131 IYT-131 6Mxl5 Bolt
132 IYT-132 S-18 Snap ring
133 IYT-133 10M Bolt
134 IYT-134 Back Plate
135 IYT-135 M6x8 Bolt
136 8Mx25 Bolt
137 AW09 Washer
138 7x7x2C Key
139 IYT-139 Iron sheet soft pipe
140 IYT-140 Cable
141 IYT-141 Terminal
142 IYT-142 Pipe head
Record Product’s Serial Number Here:
Note: If product has no serial number, record month and year of purchase instead.
Note: Some parts are listed and shown for illustration purposes only, and are not avail-
able individually as replacement parts.
PARTS LIST (CONTINUED)

SKU 40939 For technical questions, please call 1-800-444-3353. Page 11
BASE ASSEMBLY DIAGRAM

SKU 40939 For technical questions, please call 1-800-444-3353. Page 12
HEAD ASSEMBLY DIAGRAM

SKU 40939 For technical questions, please call 1-800-444-3353. Page 13
LIMITED 1 YEAR / 90 DAY WARRANTY
Harbor Freight Tools Co. makes every effort to assure that its products meet high
quality and durability standards, and warrants to the original purchaser that for a period
of ninety days from date of purchase that the engine/motor, the belts (if so equipped),
and the blades (if so equipped) are free of defects in materials and workmanship. Har-
bor Freight Tools also warrants to the original purchaser, for a period of one year from
date of purchase, that all other parts and components of the product are free from
defects in materials and workmanship (90 days if used by a professional contractor or
if used as rental equipment). This warranty does not apply to damage due directly or
indirectly, to misuse, abuse, negligence or accidents, repairs or alterations outside our
facilities, normal wear and tear, or to lack of maintenance. We shall in no event be liable
for death, injuries to persons or property, or for incidental, contingent, special or con-
sequential damages arising from the use of our product. Some states do not allow the
exclusion or limitation of incidental or consequential damages, so the above limitation
of exclusion may not apply to you. THIS WARRANTY IS EXPRESSLY IN LIEU OF ALL
OTHER WARRANTIES, EXPRESS OR IMPLIED, INCLUDING THE WARRANTIES OF
MERCHANTABILITY AND FITNESS.
To take advantage of this warranty, the product or part must be returned to us with
transportation charges prepaid. Proof of purchase date and an explanation of the com-
plaintmustaccompanythemerchandise.Ifourinspectionveriesthedefect,wewillei-
ther repair or replace the product at our election or we may elect to refund the purchase
price if we cannot readily and quickly provide you with a replacement. We will return re-
paired products at our expense, but if we determine there is no defect, or that the defect
resulted from causes not within the scope of our warranty, then you must bear the cost
of returning the product.
Thiswarrantygivesyouspeciclegalrightsandyoumayalsohaveotherrights
which vary from state to state.
3491 Mission Oaks Blvd. • PO Box 6009 • Camarillo, CA 93011 • (800) 444-3353