Harman Stove Company Hb 38 Dv Users Manual
HB 38 DV 75a8ebfd-f4ea-4b74-a827-9b3687145daf
HB 38 DV to the manual 75a8ebfd-f4ea-4b74-a827-9b3687145daf
2015-02-09
: Harman-Stove-Company Harman-Stove-Company-Hb-38-Dv-Users-Manual-563953 harman-stove-company-hb-38-dv-users-manual-563953 harman-stove-company pdf
Open the PDF directly: View PDF
.
Page Count: 46

The Harman Built Serenity III
HB 38 DV
Installation & Operating Manual
“Ce manuel est disponible en Français sur demande”
7R
R1
SAFETY NOTICE
PLEASE READ THIS ENTIRE MANUAL BEFORE YOU INSTALL AND USE YOUR NEW ROOM HEATER. FAILURE TO
FOLLOW INSTRUCTIONS MAY RESULT IN PROPERTY DAMAGE, BODILY INJURY, OR EVEN DEATH.
FOR USE IN THE U.S. AND CANADA. SUITABLE FOR INSTALLATION IN MOBILE HOMES
IF THIS HARMAN STOVE IS NOT PROPERLY INSTALLED, A HOUSE FIRE MAY RESULT. FOR YOUR SAFETY, FOLLOW
INSTALLATION DIRECTIONS.
CONTACT LOCAL BUILDING OR FIRE OFFICIALS ABOUT RESTRICTIONS AND INSTALLATION INSPECTION
REQUIREMENTS IN YOUR AREA.
CONTACT YOUR LOCAL AUTHORITY (SUCH AS MUNICIPAL BUILDING DEPARTMENT, FIRE DEPARTMENT, FIRE
PREVENTION BUREAU, ETC.) TO DETERMINE THE NEED FOR A PERMIT.
CETTE GUIDE D'UTILISATION EST DISPONIBLE EN FRANCAIS. CHEZ VOTRE CONCESSIONNAIRE DE HARMAN STOVE
COMPANY.
SAVE THESE INSTRUCTIONS.
R8

2
WARNING: If the information in this manual is not followed exactly, a fire or explosion
may result causing property damage, personal injury or loss of life.
FOR YOUR SAFETY
Do not store or use gasoline or other flammable vapors and liquids in the vicinity of this
or any other appliance.
FOR YOUR SAFETY: WHAT TO DO IF YOU SMELL GAS
• Do not try to light any appliance.
• Open windows.
• Extinguish any open flame.
• Do not touch any electrical switch; do not use any phone in your building.
• Immediately call your gas supplier from a neighbor's phone. Follow the gas supplier's instructions.
• If you cannot reach your gas supplier, call the fire department.
Installation and service must be performed by a qualified gas installer, service agency,
or the gas supplier.
A.
B.
C.

Table of Contents
Introduction 4
Safety Precautions 4
Operation 6
Specifications 8
Installation 12
Arch Face 15
Victorian Face 16
Venting 20
Damper Settings 24
Changing to LP 25
Log Placement 27
Option Installation
Thermostat 28
Remote Control 28
Remote Register Kit 29
Maintainence 35
Wiring Diagram 37
Trouble Shooting 41
Warranty 46
Manufactured by The
Harman Stove Company
352 Mountain House Rd.
Halifax PA 17032
M:PM 65-FILES\MANUALS\HBF\hb38dvR6.p65

4
Introduction
The Harman Serenity III Direct Vent Gas Fire-
place is a listed gas-fired direct vent room fireplace tested
by Intertek Testing Services/Warnock Hersey to ANSI
Z21.88-2002/ CSA2.33-M02. CAN-CGA-2.17-
M91.The installation of the Serenity III Direct Vent Gas
Fireplace must conform with local codes, or in the ab-
sence of local codes, with National Fuel Gas Code,
ANSI Z223.1 — latest edition and CAN 1 B1-149.1
and .2 Installation Code.
Also for use in mobile (manufactured) homes after
home is sited.
Mobile (manufactured) home installations must
adhere to current editions of Title 24 CFR, part 3280,
or CSA Z240.4.
CAUTION: This appliance must be vented to the
outside.
Installation and repair of the Serenity III Direct Vent
Gas Fireplace should be done by a qualified service per-
son. The appliance should be inspected before use and
at least annually by a qualified service person. More fre-
quent cleaning may be required due to excessive lint from
carpeting, bedding material, etc. It is imperative that
control compartments, burners, and circulating air pas-
sageways of the Serenity III be kept clean.
When operating your Harman Serenity III Gas Fire-
place, respect basic safety standards. Read these in-
structions carefully before you attempt to operate the
fireplace. Failure to do so may result in damage to prop-
erty or personal injury and may void the product war-
ranty.Consult with your local building code agency and
insurance representative before you begin your installa-
tion to ensure compliance with local codes, including the
need for permits and follow-up inspections.
Several issues must be addressed when selecting a
suitable location for your Serenity III Gas Fireplace. Ob-
serving required clearances to combustible materials, the
proximity to a safe chimney or venting system location,
and the accessibility of the gas and electrical supply must
all be considered. In addition, selecting a location that
takes advantage of the building's natural air flow is also
desirable to maximize the heating effectiveness of the
fireplace. In many cases, this is a central location within
the building.
Due to high temperatures, the Serenity III
Direct Vent Gas Fireplace should be located out
of traffic and away from furniture and draperies.
Children and adults should be alerted to the
hazards of high surface temperatures and should
stay away to avoid burns or clothing ignition.
Young children should be carefully supervised
when they are in the same room as the appliance.
Clothing or other flammable materials should
not be placed on or near the appliance.
Surveiller les enfants. Garder les vetements,
les meubles, lessence ou autres liquides a
vapeur inflammables lin de lappareil.
This appliance may be installed in an aftermar-
ket permanently located (mobile) home, where not
prohibited by local codes.
This appliance is only for use with the type(s)
of gas indicated on the rating plate. This appliance is
not convertible for use with other gases, unless a
certified kit is used.
Cet appareil peut etre installe dans un maison
prefabriquee (mobile) deja installee a demeure si les
reglements locaux le permettent.
Cet appareil doit etre utilise uniquement avec
les types de gas indiques sur la plaque signaletique.
Ne pas l utiliser avec d autres gas sauf si un kitde
conversion dertifie est installe.
Any safety screen or guard removed for servicing
an appliance must be replaced prior to operating
the appliance.

When the blower is off the air
gate is in the open position
which allows air to flow freely
through the air chamber and
up through the heat exchanger.
Air Gate Open
Air Gate Closed
When the blower is turned on,
the air pressure from the
blower forces the air gate to
seal the air chamber. This
forces all the air from the
blower to travel through the
heat exchanger producing
two to three times more air
than other brands of gas
fireplaces.
Blower Off
Blower On
Air Gate Blower System
Typically in gas fireplaces the blower (which
is usually an option) is placed to blow air up the
back of the firebox without any method to keep the
air pressure from being lost. This method allows air
to flow freely around the blower when the blower is
off but gives up a large percentage of the blowers
efficiency when it is on.
The Air Gate Blower System gives you the best
of both worlds.
200% To 300%
More Air
IMPORTANT FEATURE
5

6
OPERATION
Operation
HOW TO LIGHT THE FIRE
1. STOP! Read the safety information on the
front cover.
2. If using the optional thermostat, set thermostat
to the lowest setting.
3. Turn off electric power to the appliance.
4. Turn the ON-OFF/THERMOSTAT switch to
the OFF position.
5. Push in the gas control knob slightly and turn it
clockwise to "OFF." NOTE: THE KNOB
CANNOT BE TURNED FROM "PILOT" TO
"OFF" UNLESS IT IS PUSHED IN SLIGHTLY.
DO NOT FORCE IT.
6. Wait five (5) minutes to clear out any gas. If
you then smell gas, STOP! Follow "B" in the
safety information on the front cover. If you
don't smell gas, go to the next step.
7. Set the High-Low Regulator to High by turning
it fully counterclockwise.
8. Press in the gas control knob slightly and turn
counterclockwise to "PILOT."
9. Find the pilot by looking through the round
opening on the left end of the center log.
10. Push the control knob fully down and hold.
Immediately push the red piezo ignitor button to
light the pilot. It is normal to have to push the
red button several times before the pilot ignites.
Continue to hold the control knob in for about
one (1) minute after the pilot is lit. Release the
knob and it will pop back up. Pilot should
remain lit. If it goes out, repeat steps 5 through
9.
•If the knob does not pop up when released, stop
and immediately call your service technician or
gas supplier.
•If the pilot will not stay lit after several tries,
turn the gas control knob to "OFF" and call your
service technician or gas supplier.
11. Turn the gas control knob counterclockwise to
"ON."
12. Place the ON-OFF/THERMOSTAT switch in
the ON position or in the THERMOSTAT
position if the optional thermostat is used.
13. Turn on the electric power to the heater.
14. Set the optional thermostat to the desired
Gas Control
High-Low
ON-OFF/
THERMOSTAT
Switch
Three Speed
Blower Switch
Piezo Ignitor
Button
Rear Burner
ON/OFF
Switch
PILOT

7
OPERATION
room temperature.
15. Set the High-Low Regulator to desired setting:
Turn fully counterclockwise for High and fully
clockwise for Low.
16. Press the rear burner switch to the “ON” or
“OFF” position as desired. This switch will
return to the center position after it is pressed.
This is normal as well as a faint click when
pressed. The main burner must be lit before the
rear burner will light. The rear burner may be
turned “ON” or “OFF” at any time.
NOTE: An odor, resulting from the initial heating
of new materials in your heater, is not unusual
during the first fire, and in most cases will
disappear after an hour or two.
HOW TO TURN OFF THE FIRE
1. If using optional thermostat, set thermostat to
the lowest position.
2. Turn off the electric power to the appliance.
3. Turn the ON-OFF/THERMOSTAT switch to
the OFF position.
4. Push in the gas control knob slightly and turn it
clockwise to “OFF.”
NOTE: The knob cannot be turned from “PILOT”
to “OFF” unless it is pushed in slightly. Do not
force it.
FLAME HEIGHT ADJUSTMENT
There are separate adjusters for the front and
rear burners. These adjusters can be accessed by
reaching to the left side of the control panel and to
the back of the unit. Turn the adjusters counterclock-
wise (up) to increase flame height and clockwise
(down) to decrease. See above left. Adjusting the
flames too high will cause them to have black tips
and cause sooting. Sooting can cause the glass to get
dirty.
Pilot Flames
If pilot flames are less than shown at left, use
pilot adjuster shown on page 36, to increase flames,
Warning: The unit and adjuster may be hot. Wear
gloves and arm protection if making adjustments
while in operation
Rear Burner
Adjuster Front Burner
Adjuster
Bottom rear view of burner module.
Normal Flame pattern. Note: Flames will vary in height and
position depending on the placement and the amount of
ember wool.

8
SPECIFICATIONS
Accordion Heat
Exchanger
Vent Collar
Brick
Blower
Battery
Pack Rear Burner
Switch Hi-Low Knob
On-Off-Pilot Knob
Ignitor
Blower Speed Switch
On-Off- Thermostat
Switch
Burner Module
Electrical Box
Glass Door
Top Standoffs
RATINGS NATURAL PROPANE NATURAL PROPANE
Input Rating (Btu/hr)(0-4500 ft.)(0-1375 m) 43500 43500 41500 41400
Min. Input Rating (Btu/hr)(0-4500 ft.)(0-1375 m) 23300 23800 22800 23400
Orifices (DMS)(front/rear)(0-4500 ft.)(0-1375 m) 31/51 52/59 32/51 52/60
Manifold Pressure (in w.c./kPa) 3.5/0.87 10.0/2.49 3.5/.087 10.0/2.49
Min. Manifold Pressure (in w.c./kPa) 1.7/0.42 6.3/1.6 1.7/0.42 6.3/1.55
Min. Inlet Pressure (in w.c./kPa) 5.0/1.25 11.0/2.74 5.0/1.25 11.0/2.74
Max. Output (Btu/hr)(0-4500 ft.)(0-1375 m) (Blower Off) 31500 32000 31000 31000
Max. Efficiency (Blower On) top vent 84.5%, rear vent 75%
Top Vent Rear Vent

9
SPECIFICATIONS
2. Clearance from top of ach to bottom of wood facing. 10 inches with optional arch hood
and 15 inches without arch hood
1
2
1. Clearance from top of glass to 7” mantel. 26 inches
Optional Arch Hood
This fireplace may be placed on a wood floor.
Hearth is not required in
front of the fireplace
MINIMUM CLEARANCES FROM COMBUSTIBLE CONSTRUCTION
Unit to floor 0 in.
Face to side wall 7 in.
Unit to top stand-offs 0 in.
Unit to side stand-offs 0 in.
Unit to rear stand-offs 0 in.
Top of Glass to 7” Mantel 26in.
Electrical Rating: 120 Volts, 60 Hs, >2.75 AMP
Must be
Noncombustible

10
SPECIFICATIONS
Rear Vent Corner
70”
Gas In
Elictrical
Hook-up
11”

11
SPECIFICATIONS
Corner
64”
Top Vent
Gas In
Elictrical
Hook-up

12
INSTALLATION
Only For Qualified Installers
Wonder Board
Wood Mantel
Tile
Arch Face
Drywall
Typical Tile Facing Sectional View
Installation Options
This section deals with basic installation of and
Arch face and a Victorian face. It does not describe
every possible way to install this fireplace. This is
why it is important to have a qualified installer do
the installation.
The Serenity III can be laid in stone, brick, or
other masonry products. For this purpose a special
template face ( part # 1-00-4238231 ) is available.
We also offer a line of Harman Built mantels,
mantel cabinets, and corner mantel cabinets.
Shown is the M2 Mantel Cabinet with marble
finish facing, raised marble finish hearth and a
gold plated Arch face with Arch hood.

13
INSTALLATION
Only For Qualified Installers
Placement
Here are some of the things that will effect the
exact placement of the fireplace.
1. Top or rear flue
2. Arch face or mantle face.
Arch face - Must decide on mantel and front
facing material.
3. Raised hearth, flat hearth or raised with no
hearth.
4. One, two or no remote duct kits.
5. Thermostat position.
6. Gas line hook-up is on the right side.
7. Electrical hook-up is on the left side.
This appliance must be electrically connected and
grounded in accordance with local codes or , in the
absense of local codes, with the current edition of
NFPA 70-National Electric Code or CSA C22.1-
Canadian Electrical Code.
This unit shall not be installed on carpet, vinyl
tile, or combustible material other than wood

14
INSTALLATION
Only For Qualified Installers
Noncombustible
Noncombustible material such as Dura-rock must be used
as facing on the front of the fireplace cabinet.
Ceramic tile, marble or other decorative noncombustible
material may be used in front of the Dura-rock. The total
thicknes for all layers of facing material may not exceed
one inch.
A one inch space under the front edge of the fireplace
allows room for hearth material. Hearth material that is
thicker must be compensated for by raising the fireplace the
proper amount.
1 inch thick
Installing fireplace in a wall with an arch face, ceramic tile facing,
and a face mantel.

15
INSTALLATION
Only For Qualified Installers
Latch Handles
Face Hooks
Slots for face hooks
Slots for face latches
Installing The Arch Face
To install the arch face, place the hooks on the
bottom rear of the face into the hook slots on the
fireplace. Next with the top latches handles in the
horizontal position push the face against the fire-
place and swing the latches straight down causing
them to enter the top face slots.
Removing The Arch Face
To remove the face, unlatch the top latches, tilt
the top of the face away from the fireplace and lift
the face out of the bottom slots.

16
INSTALLATION
Only For Qualified Installers
Assembling the Victorian Face
1. Position the mantel face down on the floor.
2. Place the left piller over the two studs on the
left side of the mantel. Install two washers and
nuts and tighten.
3. Place the left side of the breast plate into the
slots on the left pillar.
4. Place the Left hinge pin of the top grill door
into the round hole in the pillar.
5. Place the left hinge pin of the bottom grill door
into the round hole in the bottom of the pillar.
6. Place the right pillar over the studs on the right
side of the mantel face while simultaneously
placing right ends of the doors and breast plate
into their slots on the right pillar. Some assis-
tance is helpful.
7. Install any decorative panels at this time.

17
INSTALLATION
Only For Qualified Installers
Installing Fireplace To use
Victorian Face
When installing the fireplace to use the Victo-
rian Face the unit must be positioned back 1/2 inch
farther than with an arch face. A special drywall
bracket must be used to allow the drywall to extend
down far enough so the face will cover the drywall.
1. Install drywall bracket on top of the stand-offs
with two screws.
2. Place the fireplace into the framed opening so
the two ends of the drywall bracket rest against
the framing. This will position the face of the
fireplace 1/2 inch back from the face of the
framing.
3. Nail or screw the drywall bracket fast to the
framing.
4. Install and finish drywall as desired. Drywall
shall not extend below the drywall bracket on
the top and not closer to the fireplace cabinet
than the vertical wood framing on the sides.
Drywall Bracket
Nails
Nails
Drywall Bracket Drywall
Victorion Face
Standoff Drywall in Place

18
INSTALLATION
Only For Qualified Installers
Sealing Angle
Mounting Holes
Mounting The Victorian Face
1. Place fiberglass rope in sealing angle with angle
mounting bolts loose.
2. Place the face on the fireplace starting at the
bottom.
3. Slide the face into place and install the four
bolts as shown at left.
4. Slide the sealing angle against the fireplace and
tighten the mounting bolts.
Note: The face will have a one inch space under it
for hearth material. This must be considered
when planning the installation.
Complete Face Mounted

19
INSTALLATION
Only For Qualified Installers
Burn Only the Fuel for which the Heater is
Equipped
The Serenity III Direct Vent will burn either
natural gas or propane, but requires a change over
kit for propane. The label on the burner system mod-
ule indicates the fuel for which it is equipped. A sec-
ond label, (on the valve) also indicates the fuel type.
Making The Connection
The gas inlet is located on the bottom right side
of the fireplace. The inlet fitting is a 3/8" female
flare flexible pipe.
A separate gas shut-off valve and a 1/8" N.P.T.
plugged tapping should be installed immediately up-
stream of the connection to the appliance.
The Serenity III Direct Vent Gas Heater must
be disconnected from the gas supply piping during
any pressure testing of that system at pressures in
excess of 1/2 psig (3.5 kPa).
The Serenity III gas control valve must be in
the OFF position during any pressure testing of the
gas supply system at pressures equal to or less than
1/2 psig (3.5 kPa).
WARNING: To avoid pipe compounds from
entering into the gas train, apply compounds only
to male pipe threads and do not apply compound
to the first two threads.
CAUTION: TEST ALL JOINTS FOR LEAKS
BEFORE OPERATING.
Gas Pressure Requirements:
Correct gas pressure and the use of a properly
sized gas supply line are essential for the safe and
efficient performance of this appliance. Make sure
that the plumber or gas supplier checks the gas sup-
ply line and gas pressure at installation.
NOTE: Improper gas pressure can affect heater
performance, flame color, or cause pilot outage.
Natural Gas:
Maximum inlet pressure 7.0" w.c. (1.74 kPa)
Minimum inlet pressure 5.0" w.c. (1.25 kPa)
Gas manifold pressure 3.5" w.c. (0.87 kPa)
LPG Gas:
Maximum inlet pressure 13" w.c. (3.24 kPa)
Minimum inlet pressure 11" w.c. (2.74 kPa)
Gas manifold pressure 10" w.c. (2.49 kPa)
DO NOT USE THIS HEATER IF ANY PART
HAS BEEN UNDER WATER OR EXPOSED TO
MOISTURE CORROSION. IMMEDIATELY
CALL A QUALlFlED SERVICE TECHNICIAN TO
INSPECT THE HEATER AND REPLACE ANY
PART OF THE CONTROL SYSTEM AND ANY
GAS CONTROL WHICH HAS BEEN UNDER
WATER.
Pipe Length Schedule 40 Pipe Tubing, Type L
(Feet) Inside Diameter Outside Diameter
N.G. L.P. N.G. L.P.
0-10 1/2" 3/8" 1/2" 3/8"
1.3 cm 1.0 cm 1.3 cm 1.0 cm
10-40 1/2" 1/2" 5/8" 1/2"
1.3 cm 1.3 cm 1.6 cm 1.3 cm
40-100 1/2" 1/2" 3/4" 1/2"
1.3 cm 1.3 cm 1.6 cm 1.3 cm
100-150 3/4" 1/2" 7/8" 3/4"
2.0 cm 1.3 cm 2.3 cm 2.0 cm
RECOMMENDED GAS PIPE DIAMETER
NOTE: NEVER USE PLASTIC PIPE. CHECK TO CONFIRM
WHETHER YOUR LOCAL CODES ALLOW COPPER
TUBING OR GALVANIZED PIPE.

VENTING
Only For Qualified Installers
20
6-5/8 x 4 8” x 5” Description
n/a 1208 6” Pipe Length
908B 1208B 6” Pipe Length, Black
n/a 1207 9” Pipe Length
907B 1207B 9” Pipe Length, Black
906 1206 12” Pipe Length
906B 1206B 12” Pipe Length, Black
904 1204 24” Pipe Length
904B 1204B 24” Pipe Length, Black
903 1203 36” Pipe Length
903B 1203B 36” Pipe Length, Black
902 1202 48” Pipe Length
902B 1202B 48” Pipe Length, Black
n/a 1211 11” to 14-5/8” Pipe, Adjustable
911B 1211B 11” to 14-5/8” Pipe, Adjustable, Black
n/a 1217 17” to 24” Pipe, Adjustable
945 1245 45o Elbow
945B 1245B 34o Elbow, Black
990 1290 90o Elbow
990B 1290B 90o Elbow, Black
940 1240 Rnd Support Box/Wall Thimble Cover
941 1241 Cathedral Ceiling Support Box
943 1243 Flashing, 0/12 to 6/12 Roof Pitch
943S 1243S Flashing, 7/12 to 12/12 Roof Pitch
953 1253 Storm Collar
963 1263 Ceiling Firestop
988 1288 Wall Strap
981 1281 Snorkel Termination (36”)
982 1282 Snorkel Termination (14”)
984 1284 Horizontal Square Termination
980 1280 Vertical Termination
991 1291 Vertical Termination, High Wind
950 1250 Vinyl Siding Standoff
1222D (Only available from Harman) 8” x 5” to 6 5/8” x 4” Adaptor
Part Numbers for SimpsonDura-Vent Pipe and Fittings
Use Only Approved Venting
This appliance has been tested and is listed for installation with Simpson Duravent GS venting com-
ponents. The Simpson Duravent GS warranty will be voided, and serious fire, health, or other safety
hazards may result from any of the following actions:
• Installation of any damaged Duravent GS component.
• Unauthorized modification of the Duravent GS System.
• Installation of any component part not manufactured or approved by Simpson Duravent.
• Installation other than as instructed by Simpson Duravent and the appliance manufacturer.
Consult your local building codes before beginning the installation, and follow the manufacturer's
instructions exactly. The Simpson Duravent GS venting components listed below are approved for use
with the Serenity Direct Vent Gas Fireplace.

VENTING
Only For Qualified Installers
21
Maximum of four 450 elbows allowed.
Subtract three feet of total horizontal pipe
length for each of the 3rd and 4th 450 elbows
used.
Maximum of two 900 elbows allowed.
Subtract five feet of total horizontal pipe
length for second elbow.
Venting with 8” x 5” Pipe
A combination of one 900 elbow and two 450
elbows is allowed.
Subtract three feet of total horizontal pipe
length for each 450 elbow used.
Vent termination must remain
within the shaded area regardless of
configuration.
This appliance must not be
connected to a chimney flue
serving a separate solid fuel
burning appliance.
Maximum horizontal rear
vent run is 24 inches.
Vertical venting of the
rear vent model is not
approved. Never used
6 5/8” x 4” pipe for rear
vent.
Rear Vent Model

VENTING
Only For Qualified Installers
22
Maximum of four 450 elbows allowed.
Subtract three feet of total horizontal pipe
length for the 3rd and 4th 450 elbow used.
Maximum of two 900 elbows allowed.
Subtract five feet of total horizontal pipe
length for second elbow.
Venting with 6 5/8” x 4” Pipe
A combination of one 900 elbow and two 450
elbows is allowed.
Subtract three feet of total horizontal pipe
length for each 450 elbow used.
Vent termination must remain
within the shaded area regardless of
configuration.
Use Adaptor (Part No. 1222D )
to reduce to 6 5/8 x 4 vent pipe.
For the Serenity Direct Vent Fireplace, the vent/
air intake termination clearances above the high side
of an angled roof are as follows:
Roof Pitch Feet Meters
Flat to 6/12 1 0.3
7/12 to 9/12 2 0.6
10/12 to 12/124 1.2
13/12 to 16/126 1.8
17/12 to 21/128 2.4

VENTING
Only For Qualified Installers
23
Requirements for Terminating the Venting
WARNING: Venting terminals must not be recessed
into a wall or siding.
In addition, the following must be observed:
A. The clearance above grade, or a veranda,
porch, deck or balcony must be a minimum of 12" (30
cm).1
B. The clearance to a window or door that may be
opened must be a minimum of 12" (30 cm).1
C. A 12" (30 cm) clearance to a permanently closed
window is recommended to prevent condensation on
the window.
D. The vertical clearance to a ventilated soffit lo-
cated above the terminal within a horizontal distance of
2 feet (60 cm) from the center-line of the terminal must
be a minimum of 18" (46 cm).
E. The clearance to an unventilated soffit must be
a minimum of 12" (30 cm).
F. The clearance to an outside corner is 11" from
center of pipe.
G. The clearance to an inside corner is 12" (30
cm). H. A vent must not be installed within 3 feet (90
cm) above a meter/regulator assembly when measured
from the horizontal center-line of the regulator.
1
I. The clearance to service regulator vent outlet
must be a minimum of 6 feet (1.8 m).1
J. The clearance to a non-mechanical air supply
inlet to the building or the combustion air inlet to any
other appliance must be a minimum of 12 inches (30
cm).1
K. The clearance to a mechanical air supply inlet
must be a minimum of 6 feet (1.8 m).1
L. The clearance above a paved sidewalk or a
paved driveway located on public property must be a
minimum of 7 feet (2.1 m).1,2
M. The clearance under a veranda, porch, deck
or balcony must be a minimum of 12 inches (30 cm).1,3
1As specified in CAN 1 B1-149 Installation Codes
(current edition). Note: Local codes or regulations may
require different clearances.
2A vent shall not terminate directly above a side-
walk or paved driveway which is located between two
single family dwellings and serves both dwellings.
3Only permitted if veranda, porch, deck, or bal-
cony is fully open on a minimum of 2 sides beneath the
floor.
VA
= Vent terminal = Air supply inlet
Fixed
Closed
Openable
Openable Fixed
Closed
Inside
Corner
Det ail
= Area where terminal is not permitted

VENTING
Only For Qualified Installers
24
Natural Gas Propane
6 feet 2 1/2 1 to 4
12 feet 2 1/2 to 4 1 to 4
24 feet 1 to 2 1 to 4
36 feet 1 2 to 4
Natural Gas Propane
12 feet 1 to 4 1 to 4
24 feet 1 to 4 1 to 4
36 feet 1 to 4 1 to 4
Range Of Approved Damper Settings
For 8” X 5” Vent
Range Of Approved Damper Settings
For 6 5/8” X 4” Vent
A vent damper is provided on top vent models
to allow fine tuning of the draft. Too little draft will
cause flames to be too long with black tips and too
much draft will cause flames to be short and blue.
To adjust the damper, burn the unit on high with
both burners for 10 minutes or more. Adjust the vent
damper to a position in the ranges listed below that
produces the most desirable flame pattern. Note: 1
is less draft and 4 is maximum draft.
Damper Settings
Top Vent Only
Maximum Draft
Minimum Draft
Vent damper in the
number “4” position

25
INSTALLATION
Only For Qualified Installers
Changing to LP
Remove pilot tower
with a 7/16” wrench.
Replace Natural Gas
orifice with LP
orifice.
Remove screw
Remove Air
Deflector
Remove Orifice
Cover
Remove Screw
Remove
Flame Bridge
Lift up on front of burner/grate/
screen assembly and then slide
left about 1/2”. The assembly can
then be removed.
Remove Rear Burner by
sliding to the left.
1
2
3
5
46
7
8
Top Vent LP Kit Part No. 1-00-08770
Rear Vent LP Kit Part No. 1-00-08771
LP Orifice Box Cover
LP Conversion label
LP Pilot Orifice
LP Front Orifice #52
LP Rear Orifice.
#60 Rear Flue,
#59 Top Flue.
LP Valve
Conversion
Module
LP Conversion
Instructions
These kits are only for use in the Serenity series fireplaces.
Note: The difference between the top and rear LP kit is the
size of the rear orifice (#59 for top and #60 for rear).
LP Conversion Kit

26
INSTALLATION
Only For Qualified Installers
Remove Orifices with a 1/2” wrench
or deep well socket. The larger
orifice always goes to the front.
Remove three screws to change knob assembly. Install LP
knob assembly in place of the NG assembly. Be sure screws
are tight.
9
Replace Orifices with the proper
size shown in the Orifice Chart.
10
Vent Natural Propane
Top
Rear
Front Rear RearFront
31 51
32 51
52 59
52 60
Orifice Chart
Remove two screws and place
Control Panel to the left.
11
12
13
Read instructions packed with LP Change-over Kit.
Place conversion sticker (provided in Kit) on bottom of
valve. This is to permanently mark the valve that it has been
converted to LP. This label is important in the event that the
valve is ever removed and mixed in with other valves.
14
Mark the proper box on the control panel with a permanent
marker. Note: If no conversion is made, the box for the
proper fuel must still be marked.
15
Note: The higher the orifice number the smaller hole in the
tip. For example, a number 52 oifice has a larger hole than
a number 60 orifice.

27
INSTALLATION
Only For Qualified Installers
Rear Log
Front Log
Top Log
Side Log
1
2
3
Rear Log Pins
Front Log Pin
Locate two holes in bottom of rear log. Place the rear log
down over the two pins to locate the log. Place the front log down over the pin shown above. The
front of the log should be parallel with the grate bar.
Place the side log as shown with the notch in the log behind
the angled grate bar. Find the two holes in the bottom of the top log. Place the
log down over the pins on top of the front and rear logs.
Log Placement
4

28
INSTALLATION (Options)
Only For Qualified Installers
Connecting the
Optional Thermostat
If the optional thermostat is used, it must be
plugged into the terminal strip located in the lower
left front corner of the heater.
When installing a millivolt control system, use
only a special low resistance thermostat. DO NOT
USE A REGULAR HEATING THERMOSTAT.
Be sure that all electrical connections are clean,
free from corrosion, and tight. Inspect connections
periodically to confirm that no corrosion has built
up over time.
When properly installed and maintained, a mil-
livolt control system should give many years of
trouble-free service.
It is important to use wire of a gauge proper
for the length of the wire:
RECOMMENDED WIRE GAUGES
Maximum Wire
Length Gauge
100' 14
60' 16
40' 18
25' 20
15' 22
Thermostat
Remote Control
The front button on the remote control can be
used to turn the front burner on and off. The rear
button is used to turn the rear burner on and off.
This remote uses the ultrasonic control method
and does not need to be pointed directly at the fire-
place.
A hand held sending unit, receiving unit, mount-
ing bracket and all wiring are included when you
order the remote control.
Installation instructions are packed with remote
kit.
Front Burner
Button
Rear Burner
Button

29
INSTALLATION (Options)
Only For Qualified Installers
Optional Remote Register Kit
Wall Kit
Includes wall register and wall mounting brack-
ets for the blower box.
Flex Pipe
Automatic Damper
Assembly
6” Round to 3” x 10”
Transition
Remote Register Box
With Blower
Speed Control
3” x 10” Duct
( not part of kit )
Register Kit
Includes remote register box with
blower, speed control, two 8 foot sec-
tions of 6” flex pipe, 6” round to 3” x
10” transition, and automatic damper
assembly.
Floor Kit
Includes floor register and floor mounting
bracket for blower box.
Floor Register
Floor
Mounting
Bracket
Wall Mounting
Brackets
Wall Register

30
INSTALLATION (Options)
Only For Qualified Installers
Optional Wall Register Kit
The Serenity is designed for use with one or
two register kits. Each kit can have twenty feet of
duct between the fireplace and the register box. The
registers can be mounted one floor above or below
the fireplace. The register kits are designed to be
installed in the house before wall coverings such as
drywall are installed. 3”x10” duct is to be used in-
side walls that are too narrow for the six inch flex
duct. Never use a wall cavity as a duct. Doing so
can dry out the wood and lower the kindling tem-
perature as well as cause warping.
Installing Damper Assembly
1. Remove the top cover on the side that you are
installing the damper assembly.
2. Cut the yellow insulation around the edge of the
opening. Discard the cutout.
3. Remove bottom cover by removing the screw in
the angle at the bottom of the hole. After the
screw is removed, remove the white insulation
and the angle. Lift the bottom cover up through
the hole. Note: The cover must be turned the
proper direction.
4. Locate the six tabs at the bottom of the damper
hole. These tabs are to go on the inside of the
damper barrel for the purpose of location.
5. Position the damper assembly over the hole
with the part of the damper that lifts up facing
the rear. Lower the damper assembly into the
hole in the top. Be sure that the six tabs are
inside the damper assembly. This can be
checked by opening the damper and looking
down inside to verify that all six tabs are on the
inside.
6. Secure the assembly with the four screws that
came out of the cover.

31
INSTALLATION (Options)
Only For Qualified Installers
Blower Box
Blower
Assembly
Box Cover
Register
Install blower box between wall studs as shown. Run 3” x
10” duct to blower box and secure. Do not use the wall
cavity as a duct.
Run wires to blower as shown in wiring diagram on page
36. Mount blower assembly in box as shown. Test blower.
Note: Blower will not run until fireplace is hot.
Mount blower cover as shown .
Install and finish drywall as desired.
Mount register after drywall and painting are finished.
Install wall mounting brackets to side of blower box with
three screws.
Wall Mounting Brackets
Blower Cover

32
INSTALLATION (Options)
Only For Qualified Installers
Floor Register
Blower Cover
Speed Control
Blower Mount
Blower Assembly
Blower Box
Floor Mounting
Bracket
Speed Control
Access Door
Floor Register Installation
The difference between the wall register and
floor register is the register itself and the mounting
brackets. The wall register mounts on the wall with
two screws. The floor register mounts in the floor
and is held in place by gravity. The floor register has
a small door to access the blower speed control.

33
INSTALLATION (Options)
Only For Qualified Installers
Installing the Floor Register
The blower box mounting bracket
is designed to allow mounting into an
existing floor. However, it is easier to in-
stall all components at the time of house
construction. The mounting bracket as-
sumes that floor joists are on 16” cen-
ters. The mounting bracket has break-off
tabs that are to be left on only if the floor
joists are too far apart to be reached with-
out them. To break off the tabs simply
bend them back and forth until they
break. The following instructions are for
installing in an existing floor.
1. Cut a 71/2 x 137/8 hole in the floor at
the proper location. The hole must
be perpendicular to the floor joists.
2. Place the mounting bracket in the
hole as shown. The tapered end of
the bracket must be opposite to the
side where the air will enter the
blower box.
3. Place the blower box with blower
assembly removed, down into the
bracket, angling it as shown. Slide
the blower box down into the
bracket as far as needed to tilt it
level. Then slide the box in position
and attach the duct work (not
shown). Install the box mounting
screws.
4. Insert the electrical wires for the
blower into the box through one of
the two holes provided.
5. Using wire nuts, connect the wires to
the motor and speed control as
shown on the wiring diagram.
Mounting Screws
Breakoff Tabs
Tilt Blower Box

34
INSTALLATION (Options)
Only For Qualified Installers
Speed Control
Knob
Blower Assembly Ready to Install.
Blower Assembly Installed.
Under Floor View
6. Place the blower assembly into the blower box.
You may need to tilt the assembly to get it
through the opening in the blower box. Make
sure the wires do not get pinched.
7. Install finished flooring, carpet, tile, etc.
8. Install register by sliding it down into the
opening. Make sure the speed control door is
over the speed control. The register is designed
to allow for a variation in floor thickness.
9. Turn on electrical power and test.
Operation:
Note: A temperature switch on the fireplace will
not allow the register blower to start if the
fireplace is not warm enough to blow hot air.
This same switch will turn the blower off, if
the fireplace is turned off and cools.
1. Open the speed control door and turn the blower
on to the desired speed. Turning the blower on,
opens the damper in the top of the fireplace and
allows hot air to flow.
2. Close the speed control door.

35
MAINTENANCE
Latches
Removing the Glass Front
If the fireplace has an arch face, remove the face
as described on page 11.
If the fireplace has a Victorian face, open the
bottom and top doors.
Lift the latches shown above and tilt the glass
out at the top and lift it out of the groove at the bot-
tom. Handle the glass with care.
Replacing the Gasket
The Serenity uses part no. 3-44-00539 fiber-
glass gasket in the front door. Should it ever need
replacement, use only the proper replacement gas-
ket that is available from your Harman dealer. To
replace the gasket, follow this procedure.
1. Lay glass front face down.
2. Bend four tab up far enough to remove the
glass.
3. Remove old gasket.
4. Install new gasket around glass.
5. Place glass back in frame.
6. Bend tabs to secure glass. Not too tight.
7. Reinstall glass door by placing the flange on the
bottom of the door into the groove on the
bottom of the fireplace opening. Next lift the
latches and push the door against the unit. Pull
the spring loaded latches front until the tabs
drops into the slots on the door frame
Cleaning the Glass
The glass may be cleaned with ordinary house-
hold glass cleaner and a soft cloth or paper towel.
WARNING: Never clean the glass when it is
hot. Do not use abrasive cleaners on the glass.
Inspecting the Venting
An inspection of both the inner and outer pipes
of the venting system should be made during the
annual service appointment. They must have no
blockage and be in good repair. The vent
manufacturer's instructions may provide specific
suggestions or details on vent inspection. Any sec-
tions that are taken apart for the inspection must be
reassembled and sealed as required.
Cleaning the Log Set and Firebox
During the annual inspection and maintenance
appointment, the service person should clean dust,
lint, and any light accumulation from the logs and
the firebox area. An extra-soft brush should be used
on the logs as they are extremely fragile; a vacuum
cleaner may be used on the firebox. If at any time
the logs cannot be removed or installed without forc-
ing, the cause must be found. The logs must never
be forced.
A qualified service person recommended by
your Harman dealer should conduct an annual in-
spection and maintenance of your fireplace, its vent-
ing, and the installation to keep it running safely and
efficiently. The following procedures should be per-
formed only by a qualified service person. The gas
supply should be turned off whenever a maintenance
procedure is performed.
If the glass front, side doors, or front access
door are removed for servicing, they must be re-
placed prior to operating the fireplace.
Slot
WARNING: DO NOT OPERATE THIS
APPLIANCE WITH TH GLASS FRONT
REMOVED, CRACKED OR BROKEN.
REPLACEMENT OF GLASS SHOULD BE
DONE BY A LICENSED OR QUALIFIED
SERVICE PERSON. NEVER USE
SUBSTITUTE MATERIALS.
DO NOT STRIKE OR SLAM GLASS

36
MAINTENANCE
Air In
Air Out
The flow of combustion and ventilation air
must not be obstructed
Oil Holes
Cleaning the Burners
To clean the burners the face, glass front, and
logs must be removed. Remove the front burner as-
sembly and rear burner as described on page 22. Re-
move the front burner from the assembly by loosen-
ing the clamping plate on the bottom.
With both burners removed, inspect all the hole
to make sure they are unobstructed. Use a small drill
or wire to clean any obstructed holes. Remove any
rust or other buildup that may have accumulated.
Replace burners in reverse order.
Lubrication
The Serenity Fireplace does not require lubri-
cation other than the blower. One or two drops of
light oil may be put in the two oil holes on the blower
motor. This is not critical and should only be done
every year or two. Too much oil is worse than no
oil.
Air Flow
It is essential the air flows freely into the bot-
tom grill and out of the top grill. Do not place ob-
jects in front of the grills.
Check blower annually for buildup caused by
dust and pet hair.

37
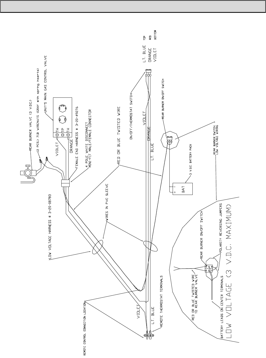
MAINTENANCE

38
MAINTENANCE
CAUTION: Label all wires prior to disconnection when servicing
controls. Wiring errors can cause improper and dangerous operation.
Verify proper operation after servicing.
Attention: Au moment de l’ entretien des commandes, etiquetez
tous les fils avant le debranchement Des erreurs de cablage peuvent
entraium fonctionnement inadequat et dangereux.

39
Homologue Pour Le Canada
Do not remove or cover this label.
Not for use with solid fuel. Not for use with air filters
Ne doit pas etre utilise avec un combustible solide.
Also for use in mobile (manufactured) homes after home is sited.
Tested to ANSI Z21.88-2002, CSA2.33-M02. CAN-CGA-2.17-M91
For use with natural gas and propane. A conversion kit, as sup-
plied by the manufacturer, shall be used to convert this room
heater to the alternate fuel.
Pour utilisation, avec le gaz naturel et le propane. Une trousse
de conversion fournie par le fabricant doit etre utilisee pour passer
d’un combustible a l’autre.
Listed Direct Vent Gas Fireplace Heater
Radiateur Ventile
Model: Serenity III HB 38DV
WHI #
RATINGS NATURAL PROPANE NATURAL PROPANE
Input Rating (Btu/hr)(0-4500 ft.)(0-1375 m) 43500 43500 41500 41400
Min. Input Rating (Btu/hr)(0-4500 ft.)(0-1375 m) 23300 23800 22800 23400
Orifices (DMS)(front/rear)(0-4500 ft.)(0-1375 m) 31/51 52/59 32/51 52/60
Manifold Pressure (in w.c./kPa) 3.5/0.87 10.0/2.49 3.5/.087 10.0/2.49
Min. Manifold Pressure (in w.c./kPa) 1.7/0.42 6.3/1.6 1.7/0.42 6.3/1.55
Min. Inlet Pressure (in w.c./kPa) 5.0/1.25 11.0/2.74 5.0/1.25 11.0/2.74
Max. Output (Btu/hr)(0-4500 ft.)(0-1375 m) (Blower Off) 31500 32000 31000 31000
Max. Efficiency (Blower On) top vent 84.5%, rear vent 75%
A LABEL ON THE BURNER SYSTEM MODULE
STATES THE FUEL FOR WHICH THE HEATER IS
EQUIPPED.
MINIMUM CLEARANCES FROM COMBUSTIBLE CONSTRUC-
TION
Unit to floor 0 in.
Face to side wall 7 in.
Unit to top stand-offs 0 in.
Unit to side stand-offs 0 in.
Unit to rear stand-offs 0 in.
Top of Glass to 7” Mantel 26in.
Electrical Rating: 120 Volts, 60 Hs, >2.75 AMP
Manufactured by Harman Stove Company
352 Mountain House Road, Halifax, PA 17032
TOP VENT REAR VENT
TOP VENT REAR VENT
One or two optional register kits (Part No. 1-00-08802) may
be used with this appliance.

40
MAINTENANCE
3-40-08774 ELBOW W/#32 HOOD/REAR FRONT NG 1
3-40-08776 WOOL 1
3-40-08777 NUGGETS 1
3-40-08782 REAR BURNER TUBE 1
3-40-08783 FRONT BURNER TUBE 1
3-40-08787 8" INNER FLUE COLLAR 1
3-40-08788 8" OUTER FLUE COLLAR 1
3-40-08795 SOLENOID 1
3-40-08906 THERMOCOUPLE 1
3-40-196326 19-5/8 X 32-5/8 GLASS 1
3-40-820628 NG VALVE 1
3-40-907202 VALVE CONVERSION-LP 1
3-40-971157 .014 ORIFICE FOR LP PILOT 1
3-44-00539 TADPOLE GASKET FOR GLASS 9'
3-44-08405 AIR DROP GASKET 1
3-44-08714 EXPLOSION GASKET 2
3-44-08786 FLUE COLLAR GASKET 1
Replacement Parts

41
TROUBLE SHOOTING
Only For Qualified Installers
Manifold Pressure
10 inches Inlet Pressure 11
to 13 inches
Manifold Pressure
3.5 inches Inlet Pressure
5 to 7 inches
Natural Gas
Propane
Pilot Adjuster
Pilot Adjuster

42
TROUBLE SHOOTING
Only For Qualified Installers
Look through hole in end of
log to see if a spark jumps
from the ignitor electrode to
the pilot when the ignitor
button is pushed.
Check ignitor wire and
connections from piezo ignitor
to ignitor ceramic at pilot.
Reconnect or replace
Ignitor wire.
Yes
No Bad
OK
OK
Bad
No
Yes
Turn on gas valve
Is gas turned "on"?
Yes
OK
Purge gas line to stove
No Replenish supply
Bad
OK
Replace Pirzo Ignitor
Check Piezi Ignitor to make
sure the small wire on the
mounting flange is grounded.
Clean paint or rust
from around
mounting hole.
Replace
Check pilot orfice and
pilot line for blockage.
Is there gas in tank
(LP) or line (NG)
Check Ignitor Ceramic for
cracks
Pilot does not light
after many tries

43
TROUBLE SHOOTING
Only For Qualified Installers
Good
Good
Check Milivolt output of
thermocouple. Should
be 10 or more MV.
Check inlet pressure Bad
Adjust pilot adjustment to
achieve proper flame.
Replace Thermocouple
Bad
Replace Valve
Pilot does not stay lit
Check size of pilot flames Bad
Correct inlet pressure
Good

44
TROUBLE SHOOTING
Only For Qualified Installers
Main Burner will
not light (with valve
in "on" position)
Is Pilot lit no Light pilot
Yes
Check Thermopile
voltage at terminals
marked TP on valve.
Should be approximately
200 mv with switch "on"
and approximately 400
mv with switch "off".
too low Replace Thermopile
Check switch, wires, and
wiring connectors. Correct problem
Replace valve
OK
OK
bad

45
TROUBLE SHOOTING
Only For Qualified Installers
Good
Good
Check rear burner
switch
Check batteries Bad
Repair any loose
connections.
Replace switch
Bad
Replace solinoid
Check wire connections Bad
Install new batteries
Good
Rear burner does not light
Do you hear a click sound
when you move the rear
burner switch back and
forth from “off” to “on”.
No
Yes
Check rear orifice for
blockage

LIFE
TIME
Harman Built Fireplaces warrants its products to be free from defects in material or workmanship, in normal use and
service, for a period of 6 years from the date of sales invoice and for mechanical and electrical failures, in normal use and
service, for a period of 3 years from the date of sales invoice.
If defective in material or workmanship, during the warranty period, Harman Built Fireplaces will, at its option, repair or
replace the product as described below.
The firebox and heat exchanger have a lifetime warranty.
The warranty above constitutes the entire warranty with respect to Harman Built Fireplaces products. HARMAN
BUILT FIREPLACES MAKES NO OTHER WARRANTY, EXPRESSED OR IMPLIED, INCLUDING “ANY”
WARRANTY OF MERCHANTABILITY, OR WARRANTY OF FITNESS FOR A PARTICULAR PURPOSE. No
employee, agent, dealer, or other person is authorized to give any warranty on behalf of Harman Built Fireplaces. This
warranty does not apply if the product has been altered in any way after leaving the factory. Harman Built Fireplaces and its
agents assume no liability for “resultant damages of any kind” arising from the use of its products. In addition, the manufac-
turer and its warranty administrator shall be held free and harmless from liability from damage to property related to the
operation, proper or improper, of the equipment.
THERE ARE NO WARRANTIES WHICH EXTEND BEYOND THE DESCRIPTION ON THE FACE
HEREOF.
THESE WARRANTIES APPLY only if the device is installed and operated as recommended in the owner’s manual.
THESE WARRANTIES WILL NOT APPLY if abuse, accident, improper installation, negligence, or use beyond rated
capacity causes damage.
HOW TO MAKE A CLAIM - Any claim under this warranty should be made to the dealer from whom this appliance
was purchased. Then contact is made with manufacturer, giving the model and serial numbers, the date of purchase, your
dealer’s name and address, plus a simple explanation of the nature of the defect. Extra costs such as mileage and overtime
are not covered. Nuisance calls are not covered by these warranties.
THIS WARRANTY IS LIMITED TO DEFECTIVE PARTS - REPAIR AND/OR REPLACEMENT AT
HARMAN BUILT FIREPLACES’ OPTION AND EXCLUDES ANY INCIDENTAL AND CONSEQUENTIAL
DAMAGES CONNECTED THEREWITH.
WARRANTY EXCLUSIONS: Failure due, but not limited to, fire, lightning, acts of God, power failures and/or surges,
rust, corrosion and venting problems are not covered. Damage and/or repairs to cabinets and all exterior components,
including but not limited to, remote controls, filters, fuses, knobs, glass, gaskets, door packing, fire brick or tile, ceramic logs
sets, paint, batteries or battery back-up and related duct work are not covered. Additional or unusual utility bills incurred due
to any malfunction or defect in equipment and the labor cost of gaining access to or removal of a unit that requires special tools
or equipment are not covered. Maintenance needed to keep the unit in “good operating condition” is not covered. This
includes, but is not limited to, cleaning, adjustment of customer controls and customer education. Labor, materials, expenses
and/or equipment needed to comply with law and/or regulations set forth by any governmental agencies are not covered.
This Warranty provides specific legal rights and the consumer may have other rights that vary from state to state.
In the event of change in ownership, the remaining portion of this warranty may be transferred to the new owner by
sending the new owner information and a transfer fee of $25.00 US to Harman Built Fireplaces.
PLEASE READ THE LITERATURE BY THE MANUFACTURER FOR THE VARIOUS ACCESSORY
DEVICES. THE MANUFACTURER WARRANTS THESE ACCESSORY DEVICES, NOT HARMAN BUILT
FIREPLACES OR THEIR WARRANTY ADMINISTRATOR. FURTHERMORE, THESE ACCESSORY DEVICES
MUST BE INSTALLED AND USED ACCORDING TO THE RECOMMENDATIONS OF THE MANUFAC-
TURER.
REMEDIES - The remedies set forth herein are exclusive and the liability of seller with respect to any contract or sale
or anything done in connection therewith, whether in Contract, in tort, under any warranty, or otherwise, shall not, except as
herein expressly provided, exceed the price of the equipment or part of which such liability is based.
CLARIFY - The above represents the complete warranty, which is given in connection with fireplaces, manufactured
by Harman Built Fireplaces. No other commitments, verbal or otherwise, shall apply except by a written addendum to this
warranty.