Hitachi Vt F372A Users Manual 1993 1994 Hi Fi VCR's
Vtf372A vtf372a
VT-F372A to the manual 0dce2e37-73b2-4726-bfcc-1a0b83bc518e
2015-01-24
: Hitachi Hitachi-Vt-F372A-Users-Manual-313497 hitachi-vt-f372a-users-manual-313497 hitachi pdf
Open the PDF directly: View PDF
.
Page Count: 72

Table of Contents
1
1HITACHI
Video Deck
VT-F372A
Owner's Manual
Your Complete Guide
to Videocassette Viewing
and Recording
Using these quality features:
VHS hi-fidelity sound in playback
Automatic tape head cleaning
Up to 8 delayed recording programs
Auto tracking for improved picture in playback
Cable-compatible frequency synthesizer quartz tuner
Illuminated remote control for use with your VCR, TV and cable converter
All basic playback functions on convenient shuttle control
On-screen programming guide
Multi-channel TV sound (MTS)
VCR Plus+* for easy timed recording
* VCR Plus+ and PlusCode are trademarks of Gemstar Development Corporation.
HITACHI HOME HITACHI SALES HITACHI (HSC)
ELECTRONICS CORPORATION CANADA INC.
(AMERICA), INC. OF HAWAII, INC. 3300 Trans Canada Hwy.
3890 Steve Reynolds Blvd., 3219 Koapaka Street Pointe Claire,
Quebec
Norcross, GA 30093 Honolulu, HI 96819 H9R1B1, CANADA
Tel. 404-279-5600 Tel. 808-836-3621 Tel. 514-697-9150
P4707955 © Hitachi, Ltd. 1993 Printed in Japan KM-S(N)

Table of Contents
2
Table of Contents
FOR YOUR SAFETY...............................................................................................................................5
Read This First..........................................................................................................................................6
IMPORTANT SAFEGUARDS.................................................................................................................9
Getting Started........................................................................................................................................14
Simple Hookups..............................................................................................................................14
1 Decide Where to Put Your VCR ..................................................................................................14
2 Decide Which Hookup Method to Use.........................................................................................14
3 Hook up the Audio/Video Signal...................................................................................................15
4 Hook up the RF Signal ...................................................................................................................16
5 Attach the TV and VCR to the Power Supply.............................................................................19
6 Install Batteries in the Remote Control........................................................................................19
7 Set the RF or Video Channel Switch ...........................................................................................19
Getting Started (Controls) .....................................................................................................................21
Quick Tour of the Controls............................................................................................................21
Remote Control Buttons ....................................................................................................................22
When the Remote Doesn't Work Right ...........................................................................................23
VCR Controls ......................................................................................................................................24
Display Indicators ...............................................................................................................................24
Meet Your On-Screen Guide ............................................................................................................24
Getting Started (Initial Setup) ...............................................................................................................26
Setup for First-Time Operation.....................................................................................................26
Initial Setup Options...........................................................................................................................26
Setting the Clock.................................................................................................................................27
More About Channel Selections.......................................................................................................28
Choosing a Mode for Audio Playback.............................................................................................29
Stereo vs. Mono Sound.....................................................................................................................29
Hi-Fi Sound..........................................................................................................................................30
Getting Started (Videotapes)................................................................................................................31
About Videocassette Tapes..........................................................................................................31
Types....................................................................................................................................................31
Safety Tabs Prevent Erasure ...........................................................................................................31
Loading and Ejecting .........................................................................................................................32
Tape Storage.......................................................................................................................................32
Basic Operations ....................................................................................................................................33
Viewing a Videocassette...............................................................................................................33
To play Back a Recorded Tape........................................................................................................33
To Fine Tune the Picture...................................................................................................................33
Rewinding the Tape ...........................................................................................................................34

Table of Contents
3
Special Playback Effects...................................................................................................................34
To Find Specific Sections on a Tape...............................................................................................36
Basic Operations (Recording) ..............................................................................................................39
Recording a Program.....................................................................................................................39
Before you Record .............................................................................................................................39
Basic Recording Steps ......................................................................................................................39
Recording Tips....................................................................................................................................40
Using the Instant Recording Timer (IRT)........................................................................................41
Setting the VCR to Record Later .....................................................................................................42
Reviewing What You Have Programmed.......................................................................................44
Programming Priorities......................................................................................................................44
Basic Operations (VCR Plus + Recording) ................................................................................46
Easy Delayed Recording with VCR Plus +.................................................................................46
About VCR Plus+................................................................................................................................46
Channel Setup ....................................................................................................................................46
Using VCR Plus+ to Record a Program..........................................................................................50
Advanced Operations ............................................................................................................................52
Controlling Your TV with the VCR's Remote .............................................................................52
Programming the Remote Control...................................................................................................53
Controlling the TV...............................................................................................................................54
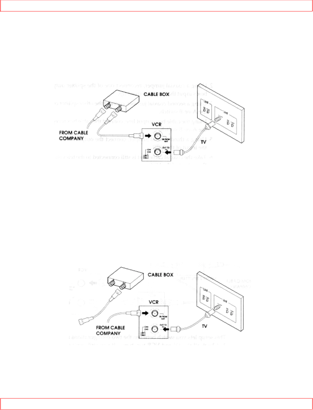
Advanced Operations (Cable Box Hookups) .....................................................................................55
Hooking Up to a Cable Box ..........................................................................................................55
A Step-by-Step Approach .................................................................................................................55
Remote Control of the Cable Converter .........................................................................................57
Advanced Operations (Stereo System) ..............................................................................................59
Integrating Your Stereo System...................................................................................................59
Hookup.................................................................................................................................................59
Recording from Your Stereo System...............................................................................................59
Advanced Operations (Second VCR) .................................................................................................61
Integrating a Second VCR ............................................................................................................61
Hookup.................................................................................................................................................61
To Control Both VCRs with the Remote Control ...........................................................................61
Copying from One VCR to Another (Dubbing)...............................................................................61
Advanced Operations (Synchro Editing).............................................................................................63
Synchro Editing...................................................................................................................................63
Programmable Easy Edit...................................................................................................................64
Advanced Operations (Camcorder).....................................................................................................66
Copying Tapes From a Camcorder .................................................................................................66
VCR Care and Servicing .......................................................................................................................67
Routine Cleaning............................................................................................................................67
Head Cleaning ....................................................................................................................................67
Periodic Maintenance ........................................................................................................................67
If the VCR Doesn't Work Right.....................................................................................................68

Table of Contents
4
Don't Attempt Repairs Yourself........................................................................................................68
Care and Servicing (Problems)............................................................................................................69
Hitachi Service Hotline.......................................................................................................................70
SPECIFICATIONS .................................................................................................................................71
Technical Specifications................................................................................................................71

FOR YOUR SAFETY
5
FOR YOUR SAFETY
POWER SUPPLY: AC 120V, 60 Hz ONLY.
The POWER switch turns the VCR on and off, leaving the clock/timer unaffected. If the
unit is to be left unattended for a long period, it is recommended that the unit be
completely switched off and unplugged.
Illustrated below is the label on the back of your unit.
This symbol warns the user that uninsulated voltage within the unit may have
sufficient magnitude to cause electric shock. Therefore, it is dangerous to make any kind of
contact with any inside part of this unit.
This symbol alerts the user that important literature concerning the operation and
maintenance of this unit has been included. Therefore, it should be read carefully in order
to avoid any problems.
CAUTION: TO REDUCE THE RISK OF ELECTRIC
SHOCK, DO NOT REMOVE COVER (OR BACK).
NO USER-SERVICEABLE PARTS INSIDE.
REFER SERVICING TO QUALIFIED SERVICE PERSONNEL.
WARNING: Many television programs and films are copyrighted. In certain circumstances,
copyright law may apply to private in-home videotaping of copyrighted materials.
WARNING: TO PREVENT FIRE OR ELECTRIC SHOCK, DO NOT EXPOSE
THIS APPLIANCE TO RAIN OR MOISTURE.
CAUTION: TO PREVENT ELECTRIC SHOCK, MATCH WIDE BLADE OF PLUG TO WIDE
SLOT, FULLY INSERT.

Read This First
6
This digital apparatus does not exceed the Class B limits for radio noise emissions from
digital apparatus set out in the Radio Interference regulations of the Canadian
Department of Communications.
"Note to CATV system installer: This reminder is provided to call the CATV system
installer's attention to Article 820-40 of the NEC that provides guidelines for proper
grounding and, in particular, specifies that the cable ground shall be connected to the
grounding system of the building, as close to the point of cable entry as practical".
Read This First
Thank you for buying a Hitachi product. You've chosen the best VCR for you, and we
want to help you make the most of your purchase. Please take time to become familiar
with this manual and how it is set up. Keep it handy for future reference, too.
To guide you, we've concluded:
"Must read" sections containing important cautions for your family's safety as well as
the basic facts you need to use the VCR. These sections are highlighted like this in the
table of contents:
Information on the advanced features of your Hitachi VCR. We hope you'll take time
to learn about these functions since we've designed them for you. But you can use the
VCR without reading these sections.
We want this manual to be a tool for you, so we provide two ways to find the information
you need:
A quick index to the basic functions of the VCR which you will use often (this page).
A detailed table of contents directing you to specific information quickly (page 4).
Get to know your VCR by using this manual, and get to know Hitachi. We appreciate
your business.
Quick Index
To play a tape.....27
To record a program.....33
To reset the clock and channel selections.....22, 23

Read This First
7
Instructions in French and Spanish.....19
Problem chart.....65
Recording a Program, 33
Before You Record, 33
Basic Recording Steps, 33
Recording Tips, 34
Using the Instant Recording Timer (IRT), 35
Setting the VCR to Record Later, 36
Reviewing What You Have Programmed, 38
Programming Priorities, 39
Easy Delayed Recording with VCR Plus+, 40
About VCR Plus+, 40
Channel Setup, 40
Using VCR Plus+ to Record a Program, 45
Advanced Operations, 48
Controlling Your TV with the VCR's Remote, 48
Programming the Remote Control, 48
Controlling the TV, 49
Hooking Up to a Cable Box, 50
A Step-by-Step Approach, 50
Integrating Your Stereo System, 54
Hookup, 54
Recording from Your Stereo System, 55
Integrating a Second VCR, 56
Hookup, 56
To Control Both VCRs with the Remote Control, 57
Copying from One VCR to Another (Dubbing ), 57
Synchro Editing, 58
Programmable Easy Edit, 60
Copying Tapes from a Camcorder, 62
VCR Care and Servicing, 63
Routine Cleaning, 63
Head Cleaning, 63
Periodic Maintenance, 63
If the VCR Doesn't Work Right, 64

Read This First
8

IMPORTANT SAFEGUARDS
9
IMPORTANT SAFEGUARDS
In addition to the careful attention devoted to quality standards in the manufacture of
your video product, safety is a major factor in the design of every instrument. But,
safety is your responsibility too.
This page lists important information that will help to assure your enjoyment and proper
use of a Video Cassette Recorder and accessory equipment. Please read it carefully
before operating your video product and keep it in a handy place for future reference.
INSTALLATION
1 Read and Follow Instructions -- All the safety and operating instructions should be
read before the video product is operated. Follow all operating and use instructions.
2 Retain Instruction -- The safety and operating instructions should be retained for
future reference.
3 Heed Warnings -- Comply with all warnings on the video product and in the
operating instructions.
4 Polarized Plug -- This video product is equipped with a polarized alternating-current
line plug (a plug having one blade wider than the other). This plug will fit into the power
outlet only one way. This is a safety feature. If you are unable to insert the plug fully
into the outlet, try reversing the plug. If the plug should still fail to fit, contact your
electrician to replace your obsolete outlet. To prevent electric shock do not use this
polarized plug with an extension cord, receptacle or other outlet unless the blades can
be fully inserted without blade exposure. If you need an extension, use a polarized
cord.
5 Power Sources -- This video product should be operated only from the type of power
source indicated on the marking label. If you are not sure of the type of power supply to
your home, consult your video dealer or local power company. For video products
intended to operate from battery power, or other sources, refer to the operating
instructions.
6 Overloading -- Do not overload wall outlets and extension cords as this can result in

IMPORTANT SAFEGUARDS
10
a risk of fire or electric shock. Overloaded AC outlets and extension cords are
dangerous, and so are frayed power cords, damaged or cracked wire insulation and
broken plugs. They may result in shock or fire hazard. Periodically examine the cord
and have it replaced by your service technician if appearance indicates damage or
deteriorated insulation.
7 Power Cord Protection -- Power supply cords should be routed so that they are not
likely to be walked on or pinched by items placed upon or against them, paying
particular attention to cords at plugs, convenience receptacles, and the point where they
exit from the appliance.
8 Ventilation -- Slots and openings in the cabinet are provided for ventilation to ensure
reliable operation of the video product and to protect it from overheating. These
openings must not be blocked or covered. The openings should never be blocked by
placing the video product on a bed, sofa, rug or other similar surface. This video
product should never be placed near or over a radiator or heat register. This video
product should not be placed in a built-in installation such as a bookcase or rack unless
proper ventilation is provided or the video product manufacturer's instructions have
been followed.
9 Attachments -- Do not use attachments unless recommended by the video product
manufacturer as they may cause hazards.
Caution: Maintain electrical safety. Power-line operated equipment or accessories
connected to this unit should bear the UL listing mark or CSA certification mark on the
accessory itself and should not have been modified so as to defeat the safety features.
This will help avoid any potential hazard from electric shock or fire. If in doubt, contact
qualified service personnel.
10 Water and Moisture -- Do not use this video product near water -- for example,

IMPORTANT SAFEGUARDS
11
near a bath tub, wash bowl, kitchen sink, or laundry tub, in a wet basement, or near a
swimming pool, and the like.
11 Accessories -- Do not place this video product on an unstable card, stand, tripod,
bracket or table. The video product may fall, causing serious injury to a child or adult,
and serious damage to the appliance. Use only with a cart, stand, tripod, bracket or
table recommended by the manufacturer, or sold with the video product. Any mounting
of the product should follow the manufacturer's instructions, and should use a mounting
accessory recommended by the manufacturer.
11A An appliance and cart combination should be moved with care. Quick stops,
excessive force, and uneven surfaces may cause the appliance and cart combination to
overturn.
12 Outdoor Antenna Grounding -- If an outside antenna or cable system is
connected to the video product, be sure the antenna or cable system is grounded so as
to provide some protection against voltage surges and built-up static charges. Section
810 of the National Electrical Code, ANSI/NFPA No. 70, provides information with
respect to proper grounding of the mast and supporting structure, grounding of the lead-
in wire to an antenna discharge unit, size of grounding conductors, location of antenna-
discharge unit, connection to grounding electrodes, and requirements for the grounding
electrode. See example below:
EXAMPLE OF ANTENNA GROUNDING
13 Power Lines -- An outside antenna system should not be located in the vicinity of
overhead power lines or other electric light or power circuits, or where it can fall into
such power lines or circuits. When installing an outside antenna system, extreme care
should be taken to keep from touching or approaching such power lines or circuits as
contact with them might be fatal. Installing an outdoor antenna can be hazardous and
should be left to a professional antenna installer.
USE
14 Cleaning -- Unplug this video product from the wall outlet before cleaning. Do not
use liquid cleaners or aerosol cleaners. Use a damp cloth for cleaning.
15 Object and Liquid Entry -- Never push objects of any kind into this video product
through openings as they may touch dangerous voltage points or short-out parts that
could result in a fire or electric shock. Never spill liquid of any kind on the video
product.

IMPORTANT SAFEGUARDS
12
16 Lightning -- For added protection for this video product during a lightning storm, or
when it its left unattended and unused for long periods of time, unplug it from the wall
outlet and disconnect the antenna or cable-system. This will prevent damage to the
video product due to lightning and power-line surges.

IMPORTANT SAFEGUARDS
13
SERVICE
17 Servicing -- Do not attempt to service this video product yourself as opening or
removing covers may expose you to dangerous voltage or other hazards. Refer all
servicing to qualified service personnel.
18 Conditions Requiring Service -- Unplug this video product from the wall outlet and
refer servicing to qualified service personnel under the following conditions.
a. When the power-supply cord or plug is damaged
b. If liquid has been spilled or objects have fallen into the video product.
c. If the video product has been exposed to rain or water.
d. If the video product does not operate normally by following the operating instructions.
Adjust only those controls that are covered by the operating instructions. Improper
adjustment of other controls may result in damage and will often require extensive work
by a qualified technician to restore the video product to its normal operation.
e. If the video product has been dropped or the cabinet has been damaged.
f. When the video product exhibits a distinct change in performance -- this indicates a
need for service.
19 Replacement Parts -- When replacement parts are required, have the service
technician verify that the replacements he uses have the same safety characteristics as
the original parts. Use of replacements specified by the video product manufacturer can
prevent fire, electric shock or other hazards
20 Safety Check -- Upon completion of any service or repairs to this video product, ask
the service technician to perform safety checks recommended by the manufacturer to
determine that the video product is in safe operating condition.

Getting Started
14
Getting Started
Relax. Using a VCR is very straightforward.
This sections explains how to hookup the VCR, quick tour of the controls, set up for
first-time operation using on-screen menus, and videocassette tapes.
Enjoy getting to know all about your Hitachi VCR. Let's get started.
Simple Hookups
1 Decide Where to Put Your VCR
Be sure your chosen location allows for proper ventilation, stability, and protection
from heat and moisture (see Important Safeguards).
Place the VCR near your TV but not on top of it. For convenience in using the remote
control, locate them no more than three feet apart.
If you have an external cable or antenna, place the TV and VCR where you have
ample cable to hook them up. If necessary, you can purchase a cable extension and
connector.
If you plan to route your VCR audio through your stereo speakers for better sound
reproduction, place the VCR near the stereo receiver, or have enough long audio cables
to make the connections. (but keep in mind that the electronic signal weakens the
further it has to travel.)
2 Decide Which Hookup Method to Use
To make your VCR function, you'll deal with two basic hookups:
1. The audio and video signal: If all you want to do is view a prerecorded videotape on
the VCR, this three-line hookup is the only one you need.
2. The radio frequency (RF) signal from a cable or antenna: Make this hookup if you
also want to record programs, or if you have no audio/video connectors on your TV.
We will show you the simplest hookups first and then present several variations to suit
specific needs. Be aware that you may need to purchase additional connectors to make
the desired hookup. These are available at video stores and electronic hardware
stores.
Choose which hookup method to use based on:
Your TV's capabilities
The type of antenna or cable system you have (for cable box hookup, see Advanced
Operations)

Getting Started
15
Any other devices you want to include in the system (stereo, second VCR, etc.)
We will guide you through the process. But first, turn the TV and the VCR around so
you are looking at their backs. Note the various input and output receptacles, their
shapes, and how they are labeled. Then read through the rest of this hookup section
before proceeding to an actual hookup.
DO NOT TURN ON THE POWER YET. FOR YOUR SAFETY, LEAVE YOUR TV AND
VCR UNPLUGGED WHILE HOOKING THEM UP.
3 Hook up the Audio/Video Signal
If your TV is a fairly recent model, you probably have both audio and video jacks. Look
on the back of your TV for three jacks - possibly color-coded yellow, white and red.
They will be labeled something like IN (L and R), AUDIO IN, or VIDEO IN. (If you are
not sure, look at the back of your VCR - you will see two sets of these jacks.)
If you have no jacks like these on your TV, skip this step and proceed to Step 4.
TV with Audio and Video Jacks
If you do find all three jacks on your TV, you need to purchase a three-line audio/video
cable with bell (RCA) connectors, like this:
If you find a video jack and only one audio jack, your TV is probably monaural. You can
purchase a two-line audio/video cable, but the three-line is handy in case you get a
stereo TV later.
Connect the yellow VIDEO OUT jack on the VCR to the VIDEO IN jack on the TV.
This direct video input will give you the best picture. It will also let you play videos in a
"picture in picture" feature, if your TV has it.
Then connect the AUDIO OUT jacks (red and white) on the VCR to the AUDIO IN
jacks on the TV (left to left, right to right).
This audio hookup will give you better sound than the RF signal hookup, because the

Getting Started
16
electronic signal won't have to go through a conversion process.
Plus your VCR has a stereo decoder, which your TV might not. For big speaker sound,
you can also use these jacks to connect the VCR to your stereo system (page 54).
Capabilities: The audio and video signal connections are all you need to play back a
prerecorded tape. If you do not intend to record on your VCR from your antenna/cable,
then you're all hooked up now. Otherwise, continue with Step 4, which will let you
record off TV channels.
4 Hook up the RF Signal
Look at the back of your TV for a connector that looks like one of these,
and follow the corresponding hookup option. If you have any sort of cable box, see the
hookup options in Advanced Operations (page 50).
Simple Antenna/Cable 75 Ohm Hookup
This is an easy hookup that you can use if your cable or antenna has a 75 ohm round
wire connector. You will need the 75 ohm cable supplied with your VCR. It looks like
this:
If you have been watching the TV in your home before getting the VCR, you will already
have a round wire attached to your TV. Otherwise, look for a cable connection coming
in through the wall from outside. (If you find this connection, remember to call your local
cable company to start the service.)
1. If still hooked up to your TV, unscrew the round wire from the 75 ohm connector on
your television. Otherwise, take the wire that comes in from the wall.
2. Screw this round wire into the IN FROM ANT jack on the back of your VCR.
3. Using the 75 ohm cable supplied with your VCR, slide on either end to the OUT TO

Getting Started
17
TV jack on the back of the VCR.
4. Connect the other end of the same cable onto the 75 ohm antenna input on your TV
(where you first disconnected the TV in step 1.)
Capabilities: With this hookup, you should now be able to perform all the basic functions
provided by this equipment.
External or Internal 300 Ohm Antenna
If you have either an external or internal (rabbit ears) antenna rather than cable, you
may have 300 ohm connectors like these.
In this case, you will need special adapters to make the 75 ohm round wire connection
shown below. (You may already have one on your TV.)
1. Remove the antenna line from the back of your TV if it is already connected there, or
take it from where it comes in on the wall.
2. Considering the three pictures below, determine which adapter you will need to hook
it into your VCR.
If you have Use this adapter

Getting Started
18
Single 300 ohm flat wire
Separate UHF and VHF
antenna wires, both 300 ohm
flat wire
300 ohm flat UHF and 75 ohm
round VHF
If you have "rabbit ears" (an antenna on top of your TV), you will need an additional
adapter and 75 ohm extension to make your leads reach from the antenna to the VCR.
This connection will work only if you have a strong, clear picture on the TV, indicating a
strong signal. Connect the antenna to the adapter, and use the cable extension to go
from the adapter to the VCR. Use the supplied 75 ohm cable to connect the VCR to the
TV.
Now continue with the hookup:

Getting Started
19
1. Using whichever adapter you have fit your antenna with, attach that connector to the
IN FROM ANT jack on the back of the VCR.
2. Using the 75 ohm cable supplied with your VCR, connect either end to the OUT TO
TV jack on the back of the VCR.
3. Use a second adapter to attach the other end of the 75 ohm connector back into the
TV (where you first disconnected the antenna).
Capabilities: With this hookup, you should now be able to perform all basic functions
provided by this equipment.
5 Attach the TV and VCR to the Power Supply
Plug in the TV and VCR power cords to the wall outlet or an appropriate extension cord
or surge protector. See Important Safeguards for further precautions (page 6).
6 Install Batteries in the Remote Control
The remote control requires two fresh "AA" batteries. On the back of the remote, a
plastic cover slides off in the direction shown by the arrow. Remove this cover and
install the batteries, matching the plus end of each battery with the plus mark on the
remote.
7 Set the RF or Video Channel Switch

Getting Started
20
When the VCR is on, its video signal can come into your TV on either channel 3 or
channel 4. You need to select the appropriate channel.
Turn the power on to both the TV and the VCR, and look for a switch on the back of
the VCR. Set the switch to 3 or 4, whichever is not a commercial channel in your area.
Your basic hookup is now complete. When you're ready to try hooking up a second
VCR or a video camera for a complete home entertainment system, see Advanced
Operations.
Now turn the TV and VCR back around facing you and begin your quick tour of the
controls (page 15).

Getting Started (Controls)
21
Getting Started (Controls)
Quick Tour of the Controls
Study these pictures carefully to learn about the buttons and controls that you'll need for
everyday operation. Various controls are explained throughout this manual as they are
needed, but now is a good time to get familiar with their locations.
Most of the time, you'll be directing the VCR from the remote control, but there are some
controls on the VCR that will come in handy too.
When you're familiar with these basic controls, proceed to Initial Setup (page 20). We'll
show you how to program your local channels and set the clock to make your VCR fully
functional.
How the Remote Control Works
Pressing a button on the remote control transmits an invisible beam of light (infrared) to
a receiver at the right front of the VCR.
When using the remote, aim the front end toward the VCR and make sure nothing -
such as a coffee table or your dog - is blocking the path of the infrared beam.
About the Illuminated Buttons
Try pressing the remote control's white buttons one at a time. As you press, one of the
three device buttons lights up - VCR1, TV or VCR2. This helps you keep track of which

Getting Started (Controls)
22
device you are controlling at the moment.
Remote Control Illustration
Remote Control Buttons
POWER Turns the VCR on and off.
VCR1, TV CATV, VCR2 Device buttons let you set the remote to control one of four
devices.
MUTE Turns off the audio until you press MUTE again.
VOLUME Increase or decrease the audio volume.
REW Rewinds the videotape.
PLAY Starts playing a loaded cassette.
STOP Stops a videocassette from playing, recording, pausing, rewinding - or anything
it is doing.
GUIDE Brings up an on-screen setup and programming guide, the Easy Guide System.
TAPE SPEED Switches between standard play (SP) and extended play (EP).
SLOW SPEED Plays back in adjustable slow motion.
AVX Used for recording from an auxiliary input such as a stereo system.
GO-TO/INDEX Used for marking and searching for specific tape locations.
EJECT Unloads a cassette tape from the VCR.
LAST CHANNEL Switches to the TV channel you watched previously during the
current viewing session.
CHANNEL Top button switches to the next higher channel, bottom button switches to
the next lower channel. For these to operate, you must have preset your channels.
REC Starts recording on the station the VCR is set to.
F.FWD Fast forwards the videotape.
PAUSE/STILL Temporarily stops the cassette from recording or playing. Press PAUSE
again (or PLAY) to resume.
F.ADV Lets you advance the tape frame by frame.
CLEAR/DISPLAY Used in on-screen programming and indexing.

Getting Started (Controls)
23
TRACKING Lets you fine tune the picture.
0 to 9 Number buttons used in on-screen programming. Can also be used to change
channels. (Simply press 2 or 3 digits for the channel you want - such as 0 and 6 for
channel 6, or 100/ENT and 2 and 4 for channel 124.)
VCR/TV Switches between viewing through the VCR and not viewing through the VCR.
LIGHT Illuminates key function buttons for a few seconds.
When the Remote Doesn't Work Right
Check out these possibilities:
Low Battery
If the remote is not working even at close range, try putting in two fresh AA batteries.
Objects in the Way
There may be objects between the remote and the VCR - for instance, a stack of books
on the coffee table, your 2-year-old, the dog. Hold the remote so that it points at the
VCR with nothing in the way.
Set to Wrong Device
It may be set to VCR2 when you're trying to control VCR1. To confirm that this is the
case, try pressing VCR2 and a function button (like channel up or down). If the remote
works now, you know that it's set to VCR2. To reset it to VCR1, refer to the on-screen
Initial Setup options.
If You Just Want to Watch TV
For normal TV viewing, you do not need to disconnect the VCR. When the TV and VCR
are already on, press POWER on the remote control. The VCR will shut off, but the TV
will stay on.
If you are recording on the VCR but want to watch a different channel on the TV, press
the VCR/TV button to switch back and forth between the TV channel and the recording
channel.

Getting Started (Controls)
24
VCR Controls
POWER Turns VCR power on and off.
STOP/EJECT Cancels any videotape action, and when pressed a second time, ejects
tape.
PLAY Play the loaded videotape.
SHUTTLE Controls the videocassette's forward and reverse motion with one
convenient dial.
DISPLAY Shows time, channel, and status indicators.
CHANNEL Up and down arrows for selecting channels.
REC/IRT To begin recording.
PAUSE To interrupt play or recording. Press again to resume.
Display Indicators
Meet Your On-Screen Guide

Getting Started (Controls)
25
Your Hitachi VCR has as a special feature called the Easy Guide System. This feature
guides you through simple setup and programming tasks right on the TV screen.
With the TV and VCR turned on, press GUIDE on the remote control. You will see this
screen:
You may view all the on-screen instructions in English, French or Spanish. When you
first set up your VCR, it will be set to English. Press number 8 or 9 for the other
language options.
Now, you will do most of your programming and setup by pressing numbers on the
remote control which correspond to options presented in this and other on-screen
menus. Instructions are easy to follow, and blinking spaces on the screen will show you
where your input is needed.
When you want to leave the Easy Guide System, simply press GUIDE several times.
This will back you out to the normal TV viewing screen.
If you don't press any button for a while, the VCR will switch you back to an earlier
screen or to regular TV viewing.

Getting Started (Initial Setup)
26
Getting Started (Initial Setup)
Setup for First-Time Operation
Before you use your VCR to watch or record from your TV, you need to "tell" the VCR
whether your TV uses cable or antenna input and let it program itself to receive your
TV's channels. It's also a good idea to set the clock so you can do timed recording
later. With your TV and VCR hooked up, turn them both on and follow these steps
using the remote control.
Initial Setup Options
Press GUIDE, then press 5 to bring up the Initial Setup screen.
INITIAL SETUP
1 ANTENNA/CABLE <ANT.>
2 AUTO CHANNEL SETTING
3 ADD OR ERASE CHANNEL
4 VCR CODING <VCR1>
5 MOVIE RETURN <ON>
6 AUDIO PLAYBACK <HIFI>
7 STEREO/MONO <STEREO>
8 SECOND AUDIO <OFF>
ENDGUIDE
The screen shows the default settings on your VCR. The default settings are the ones
that are preset at the factory. They come up on the VCR every time the power goes out
for more than 30 minutes - for example, during a storm or when you unplug the VCR.
Look at each item to see if it matches your own setup:
To change a setting, press the button that has the same number as that item. This
will cycle you through several options.
When everything is set up as you want, press GUIDE again to back out of the Easy
Guide System.
You need to set items 1 and 2 the first time you set your VCR and any time you have a
lengthy power outage. The rest of the items can be set later as needed.

Getting Started (Initial Setup)
27
Here is what the options mean:
1 ANTENNA/CABLE
Press 1 to select the type of receiving setup you have:
<ANT.> Internal or external antenna
<CATV1> Ordinary cable
<CATV2> Alternate cable (if CATV1 doesn't give you the channels you expect)
2 AUTO CHANNEL SETTING
Press 2 to automatically program the VCR to receive all the channels that come in on
your antenna or cable.
3 ADD OR ERASE CHANNEL
Press 3 to bring up a screen that lets you add new channels or limit the channels to the
ones you most often watch.
4 VCR CODING
Press 4 to enable the remote control to control a second VCR. Options are <VCR1>
and <VCR2>.
5 MOVIE RETURN
Press 5 to select whether you want prerecorded movies (safety tab removed) to
automatically rewind, eject, and turn off the power when the movie is over and no
prerecorded signals exist. Options are <ON> and <OFF>.
6 AUDIO PLAYBACK
Press 6 to control how the audio signal is processed by the VCR. Options are <HIFI>
and <LINEAR>.
7 STEREO/MONO
Press 7 to control how the audio signal is recorded and sent to the TV. Options are
<STEREO> and <MONO>.
8 SECOND AUDIO
Press 8 when you are ready to record a second audio program. Options are <OFF>
and <ON>.
Setting the Clock
This is easy to do and important for your later timed recordings.
You'll need to set the clock when first hooking up your VCR, and any time the power
goes out more than 1 hour.
When you first plug in the VCR or after a power outage, the clock display will read "--:--
".

Getting Started (Initial Setup)
28
To set the clock, press GUIDE, then press 6 to bring up the Clock Set screen:
Press the number buttons on the remote control to set the current time - two digits for
the hour and two for the minutes. Then press 1 or 2 for AM or PM, respectively.
For example, if it is now 2:15 PM, press 0, 2, 1, and 5 for hours and minutes, and press
2 for PM.
Continue pressing buttons to set the date. For example, if today is July 8, 1994, press 0,
7, 0, 8, 9, and 4 to get 07/ 08/ 94.
When you're done, press GUIDE twice to return to regular viewing.
Tips:
The item to be changed will blink on the screen as you go.
The clock uses the 12-hour system. You set it for AM or PM.
An illogical time (like 13 for the hour or 20 for the month) will not be accepted. A
question mark displays instead of the illogical number.
If you press the wrong digit, exit the screen by pressing GUIDE and recall the screen
to enter the correct setup.
The day of the week is set automatically.
More About Channel Selections
Your VCR is capable of receiving 68 broadcast TV channels (VHF 2-13, UHF 14-69)
and 125 cable channels (CATV 1-125).
When you press 2 on the Initial Setup screen, the tuner automatically cycles through all
available channels in your area and places them in memory. This takes 2-3 minutes.
You can watch the progress on the VCR's display - when the channel numbers stop
changing, programming is complete. Only when the power goes out for more than 24
hours do you need to preset the channels again.
In some areas channels cannot be switched when CATV1 is selected. Then, select
CATV2 in your Initial Setup screen.

Getting Started (Initial Setup)
29
For convenience, the TV channel numbers should match those programmed into the
VCR. If your TV has automatic channel programming, set it on the same mode - ANT,
CATV1 or CATV2 - and let it reprogram to match the VCR.
Once channels are preset, you can use the up and down CHANNEL buttons to move
through the active channels. Or you can press the number buttons to move quickly
between channels that are far apart.
Removing Channels
You may not want to keep all the stations the auto-programmer selects, since you may
prefer to have only a few favorite channels in the tuner's memory. Or, you may want to
delete from memory a weak or unused channel that the tuner picked up.
Erased channels cannot be selected by the up and down CHANNEL buttons but can
still be selected by using the numbered buttons 0 to 9 and 100/ENT.
Adding Channels
Occasionally the auto-programming may skip an active channel because the antenna
was pointed in the wrong direction or the channel had a weak signal or was "off the air"
at the time of programming. Or you may change your mind about a channel you
removed from memory.
To Add or Erase Channels
Press GUIDE, then press 5 to bring up the Initial Setup screen. Item 9 lets you add or
delete channels. Use the number buttons to enter the channel you want to change,
then press STOP to delete it or press PLAY to add it.
Caution After a Power Failure
If a power failure lasting for more than 30 minutes occurs, reset the clock and perform
the "AUTO CHANNEL SETTING" found in the "INITIAL SET-UP" menu.
Choosing a Mode for Audio Playback
Choose between hi-fi and linear modes, depending on your needs.
HIFI is the preferred setting because it works for all tapes whether they were recorded
in hi-fi or linear modes. If the audio sounds distorted or unusual or there is no audio, try
the LINEAR option.
When you set the option to HIFI, hi-fi tapes will play in high fidelity, and non-hi-fi tapes
will play in linear mode.
Stereo vs. Mono Sound
When you select the STEREO option, your VCR records in stereo any station that
broadcasts stereo sound. When a TV channel broadcasts in stereo, you'll see a stereo
indicator on the TV screen.

Getting Started (Initial Setup)
30
STEREO is the normal factory setting because it works for both stereo and mono
broadcasts. It is also necessary for recording a second audio program (SAP).
When you select MONO, sound is recorded as mono even when a channel broadcasts
in stereo.
Use the MONO setting when the stereo signal is not strong enough for quality reception
(for example, when there is signal drift or noise).
Hi-Fi Sound
Choose between hi-fi and linear modes, depending on your needs.
Hi-Fi sound is the same quality as that of a compact disc player. Its dynamic range of
over 90dB will record either stereo or monaural broadcasts with the highest quality
possible. Linear sound, on the other hand, will record monaural sound using the same
format as a non hi-fi VCR. Stereo programs are recorded in hi-fi on both the left and
right channels and also recorded on the linear track as monaural.

Getting Started (Videotapes)
31
Getting Started (Videotapes)
About Videocassette Tapes
Types
The best thing you can do for your VCR is use the best quality tapes available. This
VCR uses VHS tapes only, which are the most common type. Look for the VHS mark
on new or prerecorded tapes you buy.
Tapes are marked either T-120 or T-160, which signifies how many minutes of
programming they can hold at standard recording speed (SP). To get the best quality
picture, record at standard speed. But if you want to get more on a tape and are less
concerned about the quality, set the VCR for extended play (EP).
Tape Capacities at Different Speeds
TYPES RECORDING TIME
SP EP
T-120 120 min. 360 min.
T-160 160 min. 480 min.
You may have noticed that there is also an LP speed. You Hitachi VCR does not record
at this speed, but it can play cassettes that were recorded in LP mode. No special
setting is required for playback.
Safety Tabs Prevent Erasure
A safety tab is located on the front left edge of every videotape next to the label. Break
this tab off if you want to keep a special tape from being erased accidentally. (Notice
this tab is already removed on prerecorded tapes you buy or rent.) Poke a screwdriver
or similar tip into the space behind the tab to break it off.
Don't worry, you can change your mind and record on this tape even after the tab is
broken off - simply cover the hole with cellophane tape.

Getting Started (Videotapes)
32
Loading and Ejecting
When you load a videocassette into the VCR, there is only one right way! Most tapes
show you the way with a little arrow on the top side which should go in first.
Push the videocassette gently into the slot on the front of the VCR. You will feel the
VCR take it in.
When the cassette is all the way in, the VCR powers up automatically and a TAPE-IN
indicator shows on the display. It may also start playing immediately if the safety tab
has been removed.
To remove the cassette, simply press the STOP/EJECT button on the VCR. (If the tape
is playing, press STOP/EJECT once to stop the tape and a second time to eject it.)
Now you can take the cassette out and put it away.
Tape Storage
Store your videocassettes in their jackets and in an upright position (like books in a
bookshelf) away from any magnetic sources. Resist the temptation to leave them lying
flat on top of the VCR. Tapes will last longer - and so will your VCR - if you store them
properly. Remember, dust, dirt and liquids are enemies of your tapes and VCR.
To avoid aggravation later, apply the labels that come with new tapes. On them, write
notes to yourself about what you recorded.

Basic Operations
33
Basic Operations
Practice starting and stopping a video you've rented - play it through, see how it
automatically rewinds. Get a blank tape and try recording a TV show. Then you'll know
how to use the VCR when you need to - or where in the manual to find the instructions
you forgot. Let's go!
Viewing a Videocassette
To play Back a Recorded Tape
1. Insert the cassette, arrow-side forward, into the slot at the front of the VCR. The
power comes on automatically and the tape indicator lights on the display.
2. Turn on the TV and select the video channel (3 or 4) using the number buttons on the
TV's remote control.
3. Press PLAY to start the tape.
4. Press STOP to end play.
Direct Video Input to the TV
Normally you would select channel 3 or 4 on the TV to receive a signal from the VCR.
You can get an even better picture if your TV has an auxiliary video input feature and if
the TV and VCR have a direct video-to-video hookup. If this is the case, do not select
channel 3 or 4. Instead:
Press the AUX or VIDEO button on the TV's remote control to select the proper input
channel for playback.
To Fine Tune the Picture
Auto Tracking
Pressing PLAY starts the auto tracking feature, which adjusts the tuning to eliminate
static lines that may appear on the screen.

Basic Operations
34
Manual Tracking
Scratched tapes or poorly recorded tapes may require additional picture adjustment.
You can do this with the remote control. Press either of the TRACKING buttons (down
or up arrows) until picture clears up.
After operating the tracking manually, eject the tape and reinsert it to reactivate auto
tracking.
Rewinding the Tape
When you are done watching a video, you can rewind the tape automatically or
manually. If the video cassette reaches the end of the tape, the VCR will stop and
automatically rewinds the videocassette. If you press POWER while the tape is
rewinding, the power will shut off automatically after the tape has completely rewound.
Manual Rewind
Press STOP and REW. The VCR rewinds the tape all the way to the beginning, then
stops. Press STOP/EJECT on the VCR to release the tape.
Movie Return
If your videocassette has the safety tab removed and you set the MOVIE functions to
ON during initial setup, the VCR will stop and automatically rewind the videocassette,
eject it, and turn off the power when it reaches the end of the tape or a blank section of
tape which lasts for more than 30 seconds.
This function works only in PLAYBACK mode, not in RECORDING mode.
Special Playback Effects
Part of the fun of video watching is being able to stop the action and take a closer look
or repeat a favorite scene. You can view the tape in a variety of modes selected either
from the remote control or from the SHUTTLE dial on the VCR.
Still Playback (Pause)
Press PAUSE to still the tape during play. The picture will "freeze". You may see some
minor noise or interference on the screen. This is normal.
After 5 minutes in PAUSE mode, the VCR automatically switches to STOP mode to
protect the tape.
If the screen jitters during PAUSE mode, use the remote's TRACKING buttons to
minimize it.
To resume play, press PAUSE again.
Frame Advance

Basic Operations
35
While in PAUSE mode during playback, press F.ADV to view the video one frame at a
time. Press PAUSE to resume play.
Skip Playback
While playing back your tape you can skip forward by pressing the FRAME ADVANCE
button. The tape will search ahead for about a minute and then resume playing.
Slow Motion
To slow the playback speed to exactly the pace you want, press PLAY, then one of the
SLOW SPEED buttons. Press minus (-) to slow down, press plus (+) to speed up. The
more times you press, the slower or faster the slow motion.
Use the TRACKING buttons to minimize any visual noise bands on the screen.
After 5 minutes in slow motion playback, the VCR will stop the tape automatically to
prevent damage to the tape and the VCR.
To return to playback at a normal speed, press PLAY. To stop the tape, press STOP.
Using the Shuttle Control on the VCR
The shuttle feature lets you control all the playback functions - play, pause, slow motion,
double speed, and search - using one convenient dial.
The button in the center lets you choose PLAY or PAUSE mode. The dial also works in
the STOP mode. As you turn the dial you get different playback speeds and forward or
reverse motion. Try using the shuttle to explore backwards and forwards through your
next video.

Basic Operations
36
If noise bars appear on the TV screen during SLOW/STILL mode, first set the VCR to
SLOW mode and then press the TRACKING control buttons ( or ) on the remote
control to minimize the noise bars. The noise bars are then eliminated automatically in
the STILL mode.
To Find Specific Sections on a Tape
Visual Search
This function lets you search backward and forward through the videotape while viewing
it.
Using the buttons on the VCR:
Press PLAY and then REW to search in reverse.
Press PLAY and then F.FWD to search ahead.
Press PLAY again to return to normal playback.
Using the SHUTTLE dial on the remote control:
Press PLAY and turn the dial to the far right or left to search forward and backward.
Searching with the Time Counter
During playback (and recording), a counter keeps track of how many hours, minutes,
and seconds the tape has run. When you first start playback, the counter shows briefly
in the TV screen's upper right corner.
When you want to check the counter during playback, there are several ways to do it.
Pressing DISPLAY will cycle you through the three options.
Press DISPLAY just once to see the counter, mode, time, and date on the screen for
5 seconds.
Before the 5 seconds is up, press DISPLAY a second time to see just the counter. It
will stay on the screen.
Press DISPLAY a third time to to see the counter on the VCR display as well.
Press DISPLAY a fourth time to end the on-screen display.
The linear time counter operates only if there is something recorded on the tape.
The counter changes to 0:00:00 when the tape is ejected.
Marking with the Time Counter

Basic Operations
37
If there is one part of the video that you know you are going to want to return to, you can
set the time counter to memorize that spot. Begin in either STOP or PLAY mode.
Press DISPLAY twice to show the counter on the TV screen. (If you want the counter
to appear on the VCR's display too, press DISPLAY three times.)
Begin recording or playing back a tape. Notice the counter remains on the screen.
At the point that you want to go back to, press CLEAR. This resets the counter to
0:00:00.
Press STOP when you are done recording or playing back the tape.
Press DISPLAY again and an "M" will display below the counter on the TV screen:
This indicates that the counter's memory function is engaged.
Now when you rewind the tape, it will automatically stop at the spot where you cleared
the counter. (Notice it moves just past the marker and then back to it.) Press PLAY to
watch the tape from that preselected spot.
Press DISPLAY to take the counter display off. The spot is still in memory until you
set a new one or until the tape is ejected.
Jump Forward or Backward with GO-TO
Using the time counter, you can search for a spot a certain number of minutes before or
after your current position on the tape.
Press STOP, if tape is playing, and press GO-TO/INDEX to bring up the Set Go-To
Time screen:
Select minutes by pressing buttons 0 to 9 - one digit for hours, then two digits for
minutes. If you enter a wrong digit, press CLEAR and enter the correct one. Then press
F.FWD if you want to move that many minutes ahead, or REW if you want to move that
many minutes backward.
For example, say you want to review a scene that began about 2 minutes earlier in a
video, press 0, 0 and 2 to display 0:02 on the screen. Then press REW.
The tape rewinds to the place 2 minutes back from where you began, then starts
playback automatically from that spot.
Jump to an Index Mark with INDEX

Basic Operations
38
A quick way to access specific program segments is with the index search feature. This
lets you move through a tape that has several recordings on it by searching for the
INDEX "mark." This function only works with recordings that have been set up with
indexing. You create an INDEX mark every time you press the REC button while
recording. For more on how this gets recorded, see the section on Recording a Program
(page 33).
This VCR's indexing system is based on the VHS Index Search System (VISS). The
new system may not recognize index marks on tapes recorded on older VCRs.
If the VCR is in PLAY mode, press STOP.
Press GO-TO/INDEX on the remote control. This brings up the Set Go-To Time/Index
Screen.
Press REW or F.FWD to begin the index search.
The tape rewinds or fast-forwards until an index mark is detected. During this search,
the words SCAN AND PLAY display on the bottom of your screen.
When the VCR finds an index mark, it plays 15 seconds of the program that begins at
that spot.
If this is the program you were looking for, press PLAY to resume normal playback.
If this is not the program you want, don't press anything. After 15 seconds, the VCR
will move to the next mark and play a part of that program. The VCR will continue
searching until you press GO-TO/INDEX or reach the end of the tape.
When you find the program you want and press PLAY, the VCR returns to PLAY mode.
To stop the index search before an index mark is reached, press STOP.
If there are no index marks on the tape, the VCR will just rewind to the beginning or fast
forward to the end.

Basic Operations (Recording)
39
Basic Operations (Recording)
Recording a Program
Before you Record
The VCR must be hooked up properly for recording. See the Simple Hookups at the
beginning of this manual.
Make sure you are familiar with the Easy Guide System for on-screen programming
(page 19) and the basics about videocassettes and VCR safety.
Copyright Infringement Warning
Most television programs and films are copyrighted. This means that someone has legal
rights governing the reproduction and distribution of this material. In certain
circumstances, copyright law may apply to private in-home taping of copyrighted
materials. In most cases, it is okay to record for personal use, as long as you do not sell
the material. You must act responsibly in this are - check into the matter if you are
unsure.
Basic Recording Steps
1. Load the videocassette into the VCR. The power comes on automatically when the
tape is fully inserted.
2. Tune the TV to channel 3 or 4. Or, if you are hooked up with a direct audio/video
cable, set the TV to AUX or VIDEO.
3. Press TAPE SPEED on the remote control to select SP (standard play, for the best
picture quality) or EP (extended play, for longest recording time on a single tape). An
indicator on the VCR's display shows which speed is active.
4. Set the VCR to the channel you want to record from. Use the up and down
CHANNEL buttons to flip through the channels, or use the number buttons to go directly
to the channel you want.
5. To begin recording, press REC and PLAY on the remote control at the same time or
REC/IRT on the VCR. Start recording at least 10 seconds before the program starts, to
make sure you catch the beginning frames.

Basic Operations (Recording)
40
Recording will start unless the cassette is protected with the safety tab. If this tab has
been removed, the VCR will eject the tape to prevent recording over what is there. (See
About Videocassettes for more about preventing tape erasure.)
Recording Tips
To Watch the Same Program While Recording
To view what you are recording, press VCR/TV so that the VCR is selected - the VCR
indicator will light up on the VCR's display. You'll want to do this the first few times
anyway to be sure you're recording what you think you are.
To Watch One Program While Recording Another
Once you have set the VCR for recording, press VCR/TV. Now, you will be viewing
through your TV only. Switch channels using your TV controls or the VCR remote, if it's
programmed to control your television (see Advanced Operations).
The recording will continue as set on the VCR. If a preset timed recording starts up
while you are watching the TV, you'll hear the cassette as it clicks on and see the
recording indicator light up on the VCR display.
You can check on the recording by pressing VCR/TV again. This will switch you back to
viewing through the VCR, you'll see the program you are recording.
To Skip Commercials
When a commercial comes on that you don't want to record, simply press PAUSE on
the remote control. The VCR will stop recording. Press PAUSE again to continue
recording when you see the commercial is over. If you stay in PAUSE mode for more
than 5 minutes, the VCR automatically switches to STOP mode to protect the tape.
To Change the Channel Being Recorded
Suppose you are recording one program, and you remember that something else is on
that you would rather record. You can change the channel while in the recording mode.
Press PAUSE to stop the recording temporarily. This is necessary because the
CHANNEL buttons won't work while you are in recording mode - to keep you from
accidentally switching the station while recording.
Change the channel to the one you prefer.
Press PAUSE to continue recording.
If you want to leave an index mark where you began recording a different show, you
need to press STOP instead of PAUSE. Then switch stations and press REC to resume
recording.

Basic Operations (Recording)
41
To Leave Index Marks on the Tape
This feature is useful when you are recording several programs on the same tape. It
helps you quickly find the beginnings of the shows during playback (page 32).
You create the index "mark" every time you begin recording by pressing REC. To leave
an index mark between shows, simply press STOP at the end of each show, then press
REC to record the next show. (Pressing PAUSE during recording does not leave an
index mark.)
During timed recordings, the VCR automatically inserts an index mark at the beginning
of the recording.
To Record a Second Audio Program (SAP)
Some stations transmit a Second Audio Program - such as in a second language. If a
station broadcasts in SAP, the SAP indicator will Display on your TV screen.
You can set the VCR to record a second audio program by activating the SAP option
through the Easy Guide System.
Press GUIDE, then press 5 to bring up the Initial Setup screen.
Press 8 to set the SECOND AUDIO option to ON.
When this is set, the VCR records the second audio program.
Using the Instant Recording Timer (IRT)
The Instant Recording Timer (REC/IRT button on the VCR) will let you make a
simplified timer recording without having to use the programming timer. In order to set
the IRT properly the clock must be set before starting.
Follow the steps 1 through 5 on "Basic Recording Steps" on page 33.
After the recording has started, press the REC/IRT button again to indicate the
recording time on the display.
You can set the recording time length, which increases by intervals of 30 minutes, one
hour, one and half hours, two hours, three hours, and four hours, (i.e. 0:30, 1:00, 1:30,
2:00, 3:00, 4:00) by continually pressing the REC/IRT button. While you are recording,
the time remaining is shown in the display.
At the end of your recording the display will read "0:00"; recording will then
automatically stop and the VCR will turn itself off.
To stop recording while in the IRT mode, press the POWER button and then press the
STOP button (this can be done either on the VCR or with the remote control) within 10
seconds.

Basic Operations (Recording)
42
Setting the VCR to Record Later
With the delayed recording feature, you can set this VCR so that it automatically comes
on and records programs whenever you like - without your being around! You can
record a program one time only, or you can automatically record a show every weekday
or every week at the same time. You can preset as many as 8 timed recordings at once.
Recording is even easier when you have set up your channels for VCR Plus+. Learn the
basics of delayed recording in this section. Then read about VCR Plus+ beginning on
page 40.
We suggest you try all the different ways of programming the VCR when you have
some leisure time, so you can learn how it works. That way, when an important show is
going to be on that you really want to record, you'll be confident that your timed
recording setup will work.
Types of Delayed Recordings
ONE TIME Records one show at a particular date and time.
DAILY Records a show at the same time every day of the week, Monday through
Friday.
WEEKLY Records a show at the same day and time every week.
Your VCR can record up to 8 programs at different days and times, or up to 8 programs
on the same day.
Before You Begin
Assemble the information you need for timed recording:
Be sure that the clock is set to the correct time.
Date and day of the program
Starting time
Ending time
Channel to be recorded
Blank or erasable videocassette (safety tab intact)
Delayed Recording Steps
You set up the delayed recording using the on-screen Easy Guide System.
Press GUIDE, then press 2 for DELAYED RECORDING. Press number buttons 1, 2
or 3 for ONE TIME, DAILY, or WEEKLY RECORDING. Follow the flashing instructions
on screen to complete the programming. The programs are identified by numbers from
1 to 8.
Remember to press 0 before single-digit channel numbers, times, and dates - for

Basic Operations (Recording)
43
example, 0 and 6 for channel 6.
After you enter the channel and time, the VCR automatically shows the current date or
the next date, whichever is most logical. Leave the date as it comes up, or enter new
digits for the month and day.
You can correct any item entered as you go by pressing the CLEAR button
repeatedly until the digit to be corrected flashes on the screen. Then, punch in the
correct number. Illogical times and dates won't be accepted.
When everything is set as you want (even though some items may still be flashing),
press GUIDE to program your settings into memory.
To preset additional recordings, repeat these steps. Otherwise, press GUIDE to
return to the regular TV screen.
Don't forget to load a videocassette to record on.
Your delayed recording settings take effect when you turn off the power on the VCR.
When the power is off, the delayed recording indicator will display on the VCR. This tells
you that the VCR will automatically record at the times and dates you have
programmed.
To Stop a Delayed Recording in Progress
Press POWER and then immediately - within 10 seconds - press the STOP button (use
buttons on the remote or VCR as you wish).
An Example
Let's say you were interviewed today by a local TV reporter. You're eager to see
yourself on the evening news tonight. The news comes on channel 8 at 6 0'clock - but
you've got a meeting scheduled during that time. Luckily you just purchased this Hitachi
VCR.
Press GUIDE, press 2, then press 1 to bring up the screen for One Time recording:
Now fill in the blanks:
Select channel 8 by pressing 0 and 8 on the remote control.
Enter the start time by pressing 0, 6, 0, and 0 for 6 o'clock. Then press 2 for PM
Enter the end time, half past six, as 06:30. The VCR automatically selects PM for you.
The screen shows today's date, so no changes are needed on that line.

Basic Operations (Recording)
44
Press TAPE SPEED to switch to SP because you want the best quality picture for this
recording.
Everything is as you want it, so press GUIDE to set the program in memory.
Insert a videocassette, and power off the VCR. Check for the delayed recording
indicator on the VCR's display. Prepare to admire yourself on the evening news.
Reviewing What You Have Programmed
You can look back over any of the recordings you have preset, and if you need to, clear
out any of the programs. Normal programs will clear automatically once recording is
complete, but daily and weekly settings must be cleared out manually.
Press GUIDE, then press 3 for the PROGRAM REVIEW option. This brings up the
screen settings for the first program. Keep pressing 3 to cycle through all the programs
you have preset.
To remove a program, press CLEAR. The screen will display the next program, if
there are more, or it will switch back to the main menu.
Programming Priorities
When you have set up several timed recordings, it may occur that some of their times
overlap. For example, this can happen if you are set up to record shows on a daily or
weekly basis, and a special show comes on that you try to record during the same time
slot.
The following charts will help you visualize how the VCR prioritizes the preset timed
recordings. the darker portions are program segments that would be recorded.
Shows with Same Starting Time: By Program Number
If the overlapping programs start at the same time, the VCR records in order that they
were programmed. If the shows are all scheduled to start at 7 AM, the VCR starts with
the first program at 7 AM, and switches to what remains of the second program when
the first program is done recording, and so on.
Shows with Different Starting Times: By Earliest Program
If the programs start at different times, the VCR records the show scheduled to start
earliest, records the entire show, then moves on to the show with the next earliest

Basic Operations (Recording)
45
starting time.
To avoid recording only bits and pieces of different overlapping shows, review your
programming and delete those shows that are not essential.

Basic Operations (VCR Plus + Recording) .
46
Basic Operations (VCR Plus + Recording) .
Easy Delayed Recording with VCR Plus +
About VCR Plus+
This handy feature makes timed recordings a snap. You don't need to enter the specific
channel, date, time, or duration of a program. All you enter is its PlusCode - a number of
up to eight digits. This special code is easy to find in your favorite TV program guide or
a daily newspaper. Here's a sample page from TV Guide showing PlusCodes next to
each program.
To get ready to record with VCR Plus+ you need to assign your local broadcast and
cable channels to the VCR Plus+ channel codes already stored in your VCR's memory.
This is called channel setup, and you do it using the on-screen Easy Guide System. The
procedure depends on what kind of hookup you have. We'll give you step-by-step
instructions. Then you will be ready to begin VCR Plus+ recording, also using the on-
screen Easy Guide System.
VCR Plus+® and PlusCodeTM are trademarks of Gemstar Development Corp.
Channel Setup
Before You Begin
Channel setup is easy if you take care of these things first:
1. Make sure you have programmed the local TV channels into your VCR following the
instructions in Initial Setup (See page 20).
2. Look for a listing like the one below in your local TV program guide or Sunday
newspaper TV section. Notice the small numbers to the right of the station name. These
are the VCR Plus+ channel numbers that you will use in the channel setup procedure.

Basic Operations (VCR Plus + Recording) .
47
3. If you don't get cable TV, make a list of all the broadcast channel numbers you
receive on your TV - for example, channel 4 WTTV (Ind.), channel 20 WFYI (PBS).
4. If you subscribe to cable TV, have your cable company's channel directory handy.
This should list all the channels as you receive them in your home, for example:
Channel 34 Arts and Entertainment Network
Channel 35 Turner Network Television
Channel 36 ESPN
5. Now you're ready to assign your local channels to VCR Plus+ channels in the VCR's
memory. The way you do this depends on how your VCR is hooked up to the incoming
RF signal. Decide which hookup you have from the diagrams below, and follow the
setup instructions for your type of hookup.
Hint: Try several practice recordings after doing your channel setup. You should get the
same channels as you usually watch at home.
Home antenna or Cable (no cable box)
Cable with a cable box
Cable with a cable box and splitter
Home Antenna
If your VCR is connected directly to your home antenna, chances are you don't have to
do any special channel setup. To find out, compare the VCR Plus+ channels in your TV

Basic Operations (VCR Plus + Recording) .
48
program guide to your list of channels that you receive at home.
If any channel numbers don't match, follow the steps (page 43) to assign your local
channel numbers to VCR Plus+ numbers.
Cable (No Cable Box)
This is the channel setup to use if your VCR is hooked up directly to cable without a
cable box.
Compare your local TV channel listing to your cable company's channel directory to find
channels that need to be assigned to the VCR Plus+ codes.
For example:
In the example above none of the cable channels match, all of them need to be
assigned to VCR Plus+ channel codes.
Matching Broadcast CH Numbers to VCR Plus+ Channels
1. Press GUIDE, then press 4 to select VCR PLUS SETUP.
For Home Antenna Setup
You will see the screen as shown below.
For Cable (No Cable Box) Setup
First, the question "Is a cable box being used with the VCR for all channels?" will
appear when you press 1 to answer "NO", you will then see this screen, as shown
below.
2. A small arrow points to a blank "--" in the CHANNEL column. If your broadcast
channel number is the same as the VCR Plus+ channel in your TV listing, do not enter
any number. Press CHANNEL up or down to position a nonmatching station next to the

Basic Operations (VCR Plus + Recording) .
49
arrow.
3. If your broadcast channel number is not the same as the VCR Plus+ channel in your
TV listing, use the number buttons to assign the broadcast channel to the corresponding
VCR Plus+ channel.
If you enter a wrong digit, press CLEAR and enter the correct one.
In the example below broadcast channel #38 is assigned to VCR Plus+ channel #42.
4. Repeat step 3 for all channels that need to be assigned.
5. Press GUIDE to end the setup procedure. You are ready to begin delayed recording
with VCR Plus+.
Cable with a Cable Box Setup
Use this setup procedure if you receive all channels through a cable box. Before you
begin, you need to know the output channel for your cable box. Usually this is either 03
or 04, but it could be 02 through 13. Consult your cable company if you're not sure.
1. Press GUIDE, then press 4 to select VCR PLUS SETUP.
2. Press 2 to answer "YES" to the question "Is a cable box being used with the VCR for
all channels?" You will then see this screen:
3. Use the number buttons to enter the cable box's output channel.
4. Press GUIDE to end the setup procedure. You are ready to begin delayed recording
with VCR Plus+. (When you set up a delayed recording, you will need to selec the
desired channel using the channel selector on your cable box.)
Cable with a Cable Box and Switchbox Setup
This is the right setup if you used Option 3 in the cable box hookups covered in
Advanced Operations. With that hookup you have an A-or-B switchbox because you
receive:

Basic Operations (VCR Plus + Recording) .
50
Some of your cable channels through a cable box (scrambled premium channels),
and
Some of your channels (unscrambled) directly through the cable
Before you begin, you need to know which cable channels you receive through your
cable box.
You also need to know the output channel number for your cable box. Usually this is
either 03 or 04, but it could be 02, 05 or 06. Consult your cable company if you're not
sure.
1. Follow steps 1 through 4 of Cable (no cable box) Setup on page 43 to assign all the
unscrambled cable channels. (Be sure to answer "NO" to the question "Is a cable box
being used with the VCR for all channels?" You do not receive all channels through the
cable box.)
2. When you come to one of the channels that you receive through the cable box, enter
the cable box's output channel number (03 or 04). This will assign the scrambled cable
channels.
For example, suppose you receive Home Box Office (HBO) through the cable box. Its
cable channel is 2 and its VCR Plus+ channel code is 33. Your cable box output
channel is 4. You would assign HBO like this:
3. Press GUIDE to end the setup procedure.
4. You are ready to begin timed recording with VCR Plus+. But you will need to use the
A-or-B switchbox to select whether you will record from the unscrambled or scrambled
channels.
Using VCR Plus+ to Record a Program
Now that your channels are set up, you can take advantage of this quick and easy
method of delayed recording. You will use the on-screen Easy Guide System, following
the basic procedure for delayed recording outlined on page 37. See the section on
Recording a Program for recording tips and programming priorities.
You set up the delayed recording using the on-screen Easy Guide System.
1. Press GUIDE, then press 1 to select VCR PLUS RECORDING and bring up this
screen:

Basic Operations (VCR Plus + Recording) .
51
2. Use the number buttons to enter the PlusCode of the program you want to record.
This code can be up to eight digits. If you enter a wrong digit, press CLEAR and enter
the correct one.
3. If you accidentally enter a nonexistent PlusCode, the VCR gives you an error
message that disappears from the screen in about 10 seconds.
4. If you have entered the correct PlusCode, press GUIDE to store the PlusCode in the
VCR's memory. This brings up another screen:
5. Press number buttons 1, 2, or 3 to select ONE TIME, DAILY, or WEEKLY
RECORDING.
Important: Programming does not take effect unless you select one of these options.
6. When the next screen comes up, choose between standard or extended tape speed
by pressing the TAPE SPEED button. This is also a good time to check the channel
number - it should be the one on which you usually watch the program at home. (If not,
you need to check your VCR Plus+ channel setup.)

Advanced Operations
52
7. Review the screen to be sure everything is set as you want, then press GUIDE to
complete your programming or continue with additional programs.
When you have set up all the timed recordings you want:
Don't forget to load a videocassette (with the safety tab still attached) to record on.
If you have a cable box hookup with an A-or-B switchbox, set the switchbox to the
proper connection for the programs you are recording (through a cable box for
scrambled premium channels, direct cable for all other channels).
Important: Your timed recording settings take effect when you turn off the power on the
VCR.
Caution on the VCR Plus+ recording
After entering a VCR Plus + number, check the information displayed with the "PROGRAM
REVIEW", if there is (are) any unnecessary program(s), please cancel or correct it (them).
Advanced Operations
This section explains how to use the VCR's remote control to operate your TV. It also
shows you how to hook up a cable box and how to connect a stereo or a second VCR
for a complete home entertainment system.
Controlling Your TV with the VCR's Remote
Compatibility
The remote control is designed to be compatible with many televisions, but will not work

Advanced Operations
53
with every one made. If your TV or cable box does not respond the way it should when
you program it as explained below, this remote may be incapable of operating it.
Once you have programmed the remote, you won't have to do it again until you change
the batteries.
This Hitachi remote control can be used with your TV as well as the VCR, as long as
your TV comes with a remote control. This feature comes in handy - you don't have to
juggle two remotes.
The remote control is compatible with the fifteen makers of TV's listed below - but don't
be alarmed if yours is not on our list. You may still be able to program the remote for
your TV.
Every TV that comes with a remote control is set up to detect certain infrared signals.
You need to program the VCR's remote control to send signals that your TV will
recognize and respond to. Here's what to do:
Programming the Remote Control
Turn the television on (any channel is okay).
Aim the VCR's remote control at your TV set. Hold down the TV button (not the
VCR/TV button) while you press the number corresponding to your brand of television
as shown in the chart (page 49).
For example, if you have an RCA television, press TV and 0 at the same time. If this
button combination sends a signal that matches your TV, the channel will change on the
TV, and you'll know the remote is set to control the television.
If that button combination does not change the TV channel, go through the whole list
of button combinations one by one until you find one that does change your TV channel.
Also, if your brand of TV is not listed in the chart, try all the number buttons. One of
them may work for you.
If the TV channel still doesn't change after going through all the button combinations
listed, it is likely that you will not be able to program this remote control for your TV.
TV Brands Press TV and This Number
Hitachi 1
Zenith 2
Sony 3
Magnavox 4
Sanyo 5

Advanced Operations
54
Gold Star 1 6
Toshiba 7
Gold Star 2 8
NEC 9
RCA 0
Panasonic CHANNEL (up arrow)
Mitsubishi CHANNEL (down arrow)
JVC 100/ENT
Sharp 1 LAST CH
Sharp 2 DISPLAY
Controlling the TV
Once programmed, the VCR's remote control is ready to control the TV.
First press TV to change to the TV function mode, then press the button of the TV
function that you want.
For example, press TV and the CHANNEL up arrow, and the TV station will change to
the next higher station.
Press VCR1 or VCR2 on respective mode to operate your VCR with the remote
again.
Be aware that not all of your TV's functions may work even though the remote control is
correctly programmed.

Advanced Operations (Cable Box Hookups)
55
Advanced Operations (Cable Box Hookups)
Hooking Up to a Cable Box
The cable box brings all the advantages of pay cable, but finding a satisfactory hookup
can be challenging. To sort out what to do, we suggest a step-by-step approach to
installation.
You will need RF TV splitters, coaxial cable jumpers, and possible RF switches to try
various configurations. These are not furnished with your VCR because each
installation will have different needs and require different cable lengths.
Before you begin, take a close look at the back of your TV to see where cables are
currently connected. You may need to reconnect them that way later. As an aid to
memory, use masking tape to label each cable and connection.
A Step-by-Step Approach
Try the hookups listed as Options 1 through 4. They are based on whether the cable
channel signals are scrambled, unscrambled, or a combination. (Your cable company
can tell you more about this.)
After each hookup, power up the VCR and the TV. Use the Initial Setup screen (page
20) to select option CATV1 or CATV2. Then check out the system using these
questions as a guide.
Does the TV receive the same number of channels as before the installation?
Does the VCR record all channels?
Do the VCR and TV remote control functions work?
Can I record on one channel while watching another?
Do I receive my pay channels, and do all special cable features work?
If any function does not work, or works in an unexpected way, hook up everything the
way it was when you started and begin again with the next hookup option.
If you don't have a direct video connection - the one using the audio/video cable - make
sure the TV channel is set to 3 or 4 when you play back a tape.
Consult the cable company or the cable converter manual for assistance in using the
VCR with a cable converter. You will probably need to set the VCR to channel 3 or 4
and then use the cable converter to switch stations. There may be additional
procedures for picking up pay-for-view or scrambled channels, which the cable
company will gladly help you with.

Advanced Operations (Cable Box Hookups)
56
Option 1 - All Channels Scrambled
1. Remove the cable company's cable line from the back of your TV. Connect it to the
IN FROM ANT lower jack on the back of the VCR.
2. Using the 75 ohm coaxial cable supplied with your VCR, connect either end to the
VCR's OUT TO TV upper jack.
3. Connect the other end of the 75 ohm cable to the TV, in the same place where you
removed the cable line.
Check all the TV and VCR functions. If you don't get all the functions you want, precede
with Option 2.
Option 2 - All Channels Unscrambled
1. Remove the cable company's cable line from the back of the cable box that goes to
your TV. Connect it to the IN FROM ANT lower jack on the back of the VCR.
2. Using the 75 ohm coaxial cable supplied with the VCR, connect either end to the
VCR's OUT TO TV upper jack.
3. Connect the other end of the 75 ohm cable to the TV, in the same place where you
removed the cable line.
Check all the TV and VCR functions. If you don't get all the functions you want, precede
with Option 3.

Advanced Operations (Cable Box Hookups)
57
Option 3--Some Channels Scrambled
This hookup requires three coaxial jumpers with connectors, a 1-into-2 splitter, and an
A-or-B switch box.
1. Disconnect the cable from the cable box and attach it to the input line of the 1-into-2
splitter.
2. Using a coaxial jumper, reconnect one of the splitter outputs to the cable box's input
that you just freed up.
3. Using a second coaxial jumper, connect the other splitter output to the A of the A-or-B
switch.
4. Using the cable box output line, connect the cable box receptacle to the B of the A-or-
B switch.
5. Using a third coaxial jumper, connect the output of the A-or-B switch to the input of
the VCR.
6. Take the coaxial cable that is still connected to the television and hook it to the output
of the VCR.
Some Channels Scrambled Cable Box Hookup
This setup lets you switch between the two configurations in Options 1 and 2. Check all
the TV and VCR functions. If you still don't get the functions you want, proceed with
Option 4.
Option 4
If none of the preceding hookups work, check with your cable company. You may need
to purchase a video switching system from your local electronics or video retailer. This
will easily handle most hookup problems.
Remote Control of the Cable Converter
If you have a cable converter, you will probably want to program your VCR's remote
control so you can easily change channels. The process is the same as for
programming the remote to operate your TV. For additional details, see page 48.
Hold down the CATV button and press the number of your brand of cable box (shown
in the chart).
If that button combination does not work, or if your brand is not on the chart, just go
through all the button combinations until you find the one that works best.
Cable Converters Press CATV and This Number
Jerrold 1 1
Jerrold 2 2
Jerrold 3 3

Advanced Operations (Cable Box Hookups)
58
Hamlin 4
Zenith 5
Scientific Atlanta 6
Pioneer 7
Philips 8
To operate the cable box once the remote is programmed for it:
Press CATV and then the button of the function you want.
Press VCR1 to operate your VCR with the remote again.

Advanced Operations (Stereo System)
59
Advanced Operations (Stereo System)
Integrating Your Stereo System
There are several reasons to consider hooking up your stereo system with your TV and
VCR.
If your TV does not have stereo, you can get stereo quality from your VCR by hooking
it to your stereo receiver.
Even if your TV does have stereo, you can get better sound by taking advantage of
your stereo's better speakers.
You can record stereo audio on your VCR for longer play times, or use the VCR as an
extra tape deck for dubbing.
Hookup
Stereo System Hookup Illustration
To make this hookup, you need to be familiar with the options on your stereo system.
Look at the back of your receiver. Probably you have
AUDIO IN and OUT jacks for a second tape deck - labeled Tape 1 and 2, or AUX 1 and
2. Consult your stereo owner's manual for further information.
You will need two audio cables - the kind with two color-coded plugs on each end (for
left and right audio channels). With the power off:
Connect the right (red) and left (white) AUDIO OUT on the VCR to the right and left
AUDIO IN on the stereo system.
Connect the left and right AUDIO OUT on the stereo to the right and left AUDIO IN on
the VCR.
The AUDIO IN (left) on the front of the VCR handles the left-channel or monaural
sound. If you connect an audio source only to AUDIO IN (left), both left and right hi-fi
tracks record as monaural.
Recording from Your Stereo System
With the hookup just shown, you can use your VCR to record a custom program of
selections from your stereo library. The videotape recording will give you excellent
stereo quality and a long-running tape. In this case no video will be recorded, so you
can do the whole thing without turning on the TV.
Assemble the selections you want to record on the stereo, and insert a blank VHS

Advanced Operations (Stereo System)
60
cassette into the VCR. Be sure that HIFI is selected in the Initial Setup screen of the
Easy Guide System.
Press DISPLAY, then press 5 on the remote control to select SP or EP. The EP
setting gives you reasonable quality and a longer tape program.
Press AVX on the remote control to turn the LINE (L1) indicator on.
Press REC/IRT on the VCR and start the stereo playing.
To stop recording, press STOP. To play back the recording, rewind the tape and press
PLAY.

Advanced Operations (Second VCR)
61
Advanced Operations (Second VCR)
Integrating a Second VCR
With another VCR hooked up, you can copy videotapes as needed, and you can get
fancy with multimedia programming. For this discussion, we refer to the model VT-
F372A Hitachi as VCR2 and the other unit as VCR1.
Hookup
To hook up a second VCR, you need:
A video cord with a single jack on each end, and
An audio cord with two jacks on each end, or
A three-way cord that has both audio and video jacks
Study the back of VCR2 (VT-F372A) to find the two color-coded jacks that are labeled
IN. The yellow jack is for video, red and white are for audio. Locate similar jacks on
VCR1. Then, with the power off.
Connect VIDEO OUT on VCR2 to the yellow VIDEO IN on VCR1.
Connect the AUDIO OUT jacks (left and right) on VCR2 to the AUDIO IN
jacks (left and right) on VCR1. Be sure to match left to left (white) and right to right
(red).
Second VCR Hookup
To Control Both VCRs with the Remote Control
If the second VCR that you've hooked up is also a Hitachi, you can set your remote to
operate both VCRs.
Press GUIDE, then press 5 to bring up the Initial Setup screen.
The default setting on the Initial Setup screen is VCR1, for when you only have one
VCR running.
Press 4 to set VCR CODE to VCR2.
Press the VCR2 button on the remote before pressing GUIDE to exit the on-screen
program.
With this setting, the remote control can now operate both VCRs. To switch control from
one to the other, simply press VCR1 or VCR2 on the remote. When you press other
function buttons (like PLAY, CHANNEL, etc.), the appropriate device button will light up
to show which unit you are currently controlling. (Remember to aim the remote at the
selected VCR.)
Copying from One VCR to Another (Dubbing)
Consider VCR1 the recording VCR, and VCR2 (VT-F372A) the playback VCR. You will
play a tape on VCR2 and record it on VCR1. To begin copying:

Advanced Operations (Second VCR)
62
Insert the videotape you wish to record in VCR2.
Insert a blank or erasable tape (with the safety tab intact) into VCR1.
Press AVX on VCR1 - the LINE indicator will display.
Press REC on VCR1, and press PLAY on VCR2.
To monitor the picture as you record, VCR1 must be connected to your TV (follow
instructions in the other VCR's manual). Press the VCR/TV button on the remote. The
VCR indicator will light on VCR1's display and you can view the picture being recorded.

Advanced Operations (Synchro Editing)
63
Advanced Operations (Synchro Editing)
Synchro Editing
Tape copying is much easier if you can connect VCR1 and VCR2 with a synchro edit
cable. This lets you use a single set of controls to govern both VCRs.
We assume that VCR2 is your model VT-F372A. This is the playback VCR.
The other VCR must be a Hitachi and must have a jack labeled EDIT. This is the
recording VCR.
You will need to purchase a synchro edit cable. You may order by calling 1-800-
HITACHI. Ask for part number VTCH40S.
Remember to switch the remote control between VCR1 and VCR2 mode, depending
on which device you are signalling.
Hookup When VCR1 is Recording
Hook up the two VCRs and the TV as shown on page 56.
Connect the synchro cable from EDIT on VCR1 to EDIT on VCR2.
Synchro Edit Procedure When VCR1 is Recording
Turn the power on to both VCRs and the TV.

Advanced Operations (Synchro Editing)
64
Insert the cassette you want to copy into VCR2.
On VCR2, press PLAY. Locate the place on the tape where you want to begin
copying, then press PAUSE.
Insert a cassette (with its safety tab intact) into VCR1. Put this VCR in RECORD-
PAUSE mode, and press AVX to put it in LINE mode.
Press PAUSE on VCR2 (the playback VCR) to start the recording. Both tapes will
start together.
Press PAUSE again on VCR2 when you want to stop. Both VCRs will pause.
Now fast-forward, rewind, or play the tape in VCR2 to find the next segment you want to
copy.
Put VCR2 into PLAY-PAUSE mode and press PAUSE again - recording will continue.
Press the STOP buttons on both VCRs when you are finished.
This procedure won't leave index marks unless you press STOP then REC between
sections recorded (more about index marks on page 32 and 35).
Programmable Easy Edit
Hookup when VCR1 is Recording
Hookup the two VCRs and the TV as shown on page 56.
Connect the synchro edit cable from EDIT on VCR1 to EDIT on VCR2. (see page 59)
Turn the power on to both VCRs and the TV, and select channel for VCR use.
Insert the cassette you want to copy into VCR2.
Insert a cassette (with its safety tab intact) into VCR1. Put this VCR in RECORD-
PAUSE mode, and press AVX to put it in LINE mode.
Programming Your Easy Edit
While aiming the remote control at the VCR, press the EDIT button on the remote.
The following menu appears:

Advanced Operations (Synchro Editing)
65
Select the start point of the section of the program that you want to copy. You can
locate the beginning of the program by using the shuttle dial or the PLAY, REWIND, or
FAST FORWARD controls.
When you have located the start point of your edit press the EDIT button on the
remote. The current time counter is registered.
Locate the end point of your edit using the shuttle dial or remote control functions
then press EDIT on the remote control. The current time counter is registered and you
now have the start and end points for your edit.
Press the EDIT button one more time; the program menu will disappear from the
screen and EXECUTE will flash. The VCR will automatically search to find a point about
ten seconds before the beginning of the program section that you want to copy.
The VCR will then enter the "play" mode. When the "START" point is reached the
word EXECUTE will disappear on the screen to show that your program segment is
being copied.
Putting The Record VCR In Pause
Some models of VCR will switch to the "STOP" mode if they are left in the
RECORD/PAUSE mode for more than five minutes. It is a good idea to not leave your
recording deck in RECORD/PAUSE for more than five minutes so that this will not
happen.
Correcting an Error in Programming
Press the CLEAR button on the remote control
Enter the correct programming information
About Programmable Edit
When editing starts, the playback VCR will start playing at a point slightly before the
start of the program, this is normal. It is a good idea to have something recorded before
the starting point of the edit because the edit may operate incorrectly if there is an
unrecorded section before the start point.

Advanced Operations (Camcorder)
66
Advanced Operations (Camcorder)
Copying Tapes From a Camcorder
If you would like to copy a video tape shot in your camcorder onto your VCR here's how
to do it.
Connect the camcorder's AV output cable to your VCR. (see diagram below)
Camcorder Hookup Illustration
Press the AVX button on the VCRs remote control so that the L2 (Line) indicator
appears in the VCR display.
Press REC/IRT on the VCR to start recording.
Press PLAY on your camcorder to start copying your tape.
Information on Audio Hookup
If your camcorder is only capable of monaural output (one audio jack) connect it to the
AUDIO IN L/MONO input on the front of the VCR.

VCR Care and Servicing
67
VCR Care and Servicing
The VCR is fairly self-servicing, but you'll want to keep an eye on a few things as you
go. In addition, you may sometimes have troubles with your VCR. We offer some
suggestions for care to prevent problems, ways to troubleshoot, and places to contact
when you cannot solve the problems yourself.
Routine Cleaning
Head Cleaning
The heads are tiny mechanisms in the VCR that pick up the video signal as a videotape
passes over them. In time, a residue of electromagnetic dust builds up on the heads
because of contact with the tape. This dust interferes with the signal being picked up.
Your Hitachi VCR automatically cleans the video heads whenever a cassette is loaded
or ejected and when a cassette is already inside the VCR when you turn the power off.
It also self-cleans during fast-forward and reverse play. You will hear a mechanical
sound during auto head cleaning.
Even with the auto head cleaning system, dirt can build up on the heads. If the picture
is blurry during playback, or is occasionally interrupted or blanks out, try playing
different cassettes to see whether you get the same picture problems.
If the picture problems persist, the heads may need to be cleaned professionally.
Consult your VCR dealer for the name of trained service technician near you.
Periodic Maintenance
Your Hitachi VCR is a precision electro-mechanical device which requires professional
maintenance after a period of normal use.
Usually no maintenance other than head cleaning is required during the warranty
period, unless the VCR is used either heavily or infrequently. Defective parts are
covered during the warranty period, but normal maintenance is your responsibility.
Consult your VCR service center to find out what they recommend as normal
maintenance based on your location, how you use the VCR and the age of the machine.

VCR Care and Servicing
68
If the VCR Doesn't Work Right
Many operational problems are easily remedied by reviewing the instructions in this
manual and trying out some different controls and settings. The chart on the facing page
covers the more common problems that new VCR owners encounter.
Don't Attempt Repairs Yourself
Do not remove the cover or the back of the VCR - this will void the warranty and
endanger your safety. The exposed uninsulated voltage in this unit may be high enough
to cause electrical shock. It is dangerous to make contact with any inside part, and none
of these parts are intended to be serviced by an untrained user. To be safe, refer
service problems to qualified service personnel.

Care and Servicing (Problems)
69
Care and Servicing (Problems)
OFTEN ENCOUNTERED PROBLEMS
PROBLEM THINGS TO CHECK SOLUTION
No Power Power cord plugged in? Connect the power cord
to AC outlet.
Delayed recording does
not work. Program set to the
correct channel? Reset the delayed
recording.
Program time and date
set correctly? Reset the delayed
recording
VCR power turned off? Turn power off to activate
the timer.
Does not record when
you press REC and PLAY
at the same time/
Safety tab removed from
the videocassette Put cellophane tape over
the tab area, or use a
videocassette with safety
tab intact.
TV program cannot be
viewed or recorded. Loose or inappropriate
connections between
VCR and TV?
Review hookup directions
and make correct, firm
connections.
Poor picture quality
(“noise”) during
playback.
TV channel selector on
the proper channel. Set TV to channel 3 or 4
as correct for your area
(Set TV or AUX or VIDEO
have a direct video
hookup.)
Is TV correctly tuned? Fine tune the TV.
Static lines through the
picture? Press 1 or 4 button to
adjust tracking.
“Noisy” picture despite
all previous adjustments,
even when playing
different cassettes?
Have video heads cleaned
by a qualified service
technician.
No picture during
playback. TV set to the correct
video viewing channel? Set TV to channel 3 or 4.
TV cannot be operated by
the VCR’s remote. Is VCR remote control
programmed for your TV? Follow instructions in
Advanced Operations to
program the remote to send
signals that your TV can
recognize.
(Not all TV brands are compatible.)
Is remote control set to
control the TV? Press the TV device button,
then press the button
corresponding to the TV
function you want.

Care and Servicing (Problems)
70
Mechanical sounds during
the STOP Has a loaded cassette been
stopped more than 5
minutes?
Nothing is wrong. The tape
protection mechanism is
working. Eject the cassette
if you are done viewing.
Otherwise, no action is
necessary.
Hitachi Service Hotline
Authorized Hitachi service facilities are available throughout the US and Canada. For
the location nearest you, call the Hitachi Service Hotline at one of these numbers:
In the continental U.S.A.
DIAL TOLL FREE
7 days a week, 24 hours a day
1-800-HITACHI
(1-800-448-2244)
You must state your zip code when calling
In Canada
QUEBEC 418-681-7719
MONTREAL 514-697-9150
TORONTO 416-821-4545
VANCOUVER 604-526-7881

SPECIFICATIONS
71
SPECIFICATIONS
Technical Specifications
Recording: Rotary two-head helical scan azimuth recording
Video: NTSC color EIA standard
Cassette: VHS type
Heads: 4 video heads 2 for SP, 2 for EP
2 hi-fi audio heads
1 full track audio/video erase head
1 combination head for control track, audio erase
and record/play (3 heads/single housing)
Tape Speed: 33.35mm / sec (SP), 16.67mm / sec (LP)(playback only),
11.12mm / sec (EP)
Tape Width: 12.7 mm
RF Output: Channel 3 or 4
RF Input: UHF/VHF 75 ohm
Tuning Range: VHF LOW CH, 2 - 6 (54MHz - 88MHz)
VHF MID CH, A-5 - A-1 and A-I (90MHz - 174MHz) CATV
VHF HIGH CH, 7 - 13 (174MHz - 216MHz)
VHF SUPER CH, J - W (216MHz - 300MHz) CATV
VHF HYPER CH, W+1 - W+28 (300MHz - 468MHz) CATV
UHF CH, 14 - 69, W+29 - W+84 (470MHz - 806MHz)
Video Input: 1-2 Vp-p 75ohm unbalanced
Video Output: 1 Vp-p 75ohm unbalanced
Audio Input 316mV rms (-7.8dB) 50 kohm
Audio Output 316mV rms (-7.8dB) 1.5 kohm
Video Recording S/N: Better than 45dB (SP), better than 40dB (EP)
Horizontal Resolution: 240 lines (SP), 220 lines (LP)(playback only), 230
lines (EP)
Audio Response: 50Hz - 10kHZ (SP), 100Hz - 6kHZ (EP)
Audio S/N: Better than 43dB (SP), better than 40dB (EP)
Hi-Fi Audio: Frequency Range: 20 Hz to 20 kHz
Dynamic Range: 90 dB
Wow and Flutter: Less than 0.005% WRMS
Power Input: AC120V 60Hz
Power Consumption: 28W nominal
Cabinet Size: 14-15/16" (W) x 3-1/4" (H) x 13-1/8" (D)

SPECIFICATIONS
72
38.0cm (W) x 8.2cm (H) x 33.4cm (D)
Weight: 11.7 lbs. (5.3 kg)
Accessories: 1 coaxial cable (Part No. 5861141)
1 remote control unit (Part No. 5616491), 2 AA batteries
For information about how to obtain these accessories, please call TOLL FREE 1-800-
448-2244 for your nearest Hitachi Authorized Parts Distributor in the continental United
States. For ALASKA and HAWAII, please contact the nearest Hitachi Regional office.