Honda Hr214 Users Manual
!! Honda-22 Honda Automobiles Lawn Mower Manuals - Lawn Mower Manuals – The Best Lawn Mower Manuals Collection
2015-03-12
: Honda Honda-Hr214-Users-Manual-657300 honda-hr214-users-manual-657300 honda pdf
Open the PDF directly: View PDF
.
Page Count: 48



Thank you for purchasing a Honda mower.
This manual covers operation and maintenance of Honda HR214 rotary mowers, type SMA (self-propelled,
electric starting), type SXA (self-propelled, manual starting), and type PXA (manually propelled, manual
starting). Illustrations in this manual are based on type SXA, unless otherwise noted. Honda HR214 mowers
meet CPSC blade safety requirements for walk-behind rotary power mowers. Honda’ Motor
CO.,
Ltd. reserves
the right to make Fhanges at any time without notice and without incurring any obligation.
No part of this publication may be reproduced without written permission.
This manual should be considered a permanent part of the mower and remain with the mower when sold.
Pay special attention to statements preceded by the following’words;
Indicates a strong possibility of severe personal injury or loss of life if instructions are not followed.
CAUTION
Indicates a possibility of personal injury or equipment damage if instructions are not followed.
NOTE: Gives helpful information.
If a problem should arise, of if you have any questions about the mower, consult an authorized Honda dealer.
HONDA MOTOR CO., LTD. 1983, ALL RIGHTS RESERVED

* The Honda rotary mower is designed to give safe and dependable service if operated according to instructions
and intended use: mowing (cutting)
grass, and bagging cut grass when equipped with the grass bag. Any other
use could be dangerous.
* Read and understand the Owner’s Manual before operating the mower. Failure to do so could result in
personal injury or equipment damage.

CONTENTS . . . . . . . . . . . . . . . . . . . . . . . . . . . . . . . . . . . . . . . . . . . . . . . . . . . . . . . 3
CAUTION LABEL LOCATION ........................................ 4
GENERAL SAFETY ................................................ 6
COMPONENT IDENTIFICATION ...................................... 7
CONTROLS ....................................................... 9
OPERATION ...................................................... 11
BEFORE YOU START THE MOWER ................................... 12
l
High altitude operation ........................................ 15
STARTING AND STOPPING THE ENGINE .............................. 15
TRANSPORTING/STORAGE ......................................... 22
MAINTENANCE ................................................... 25
TROUBLESHOOTING .............................................. .39
SPECIFICATIONS .................................................. 40
WIRINGDIAGRAM ................................................ 41
WARRANTY SERVICE ............................................. 42
3

CAUTION LABEL LOCATIONS


GENERAL SAFETY
* Know how to stop the engine quickly and under-
stand operation of all the controls. Never permit
anyone to operate the mower without proper in-
struction.
* The rear shield is for your protection; keep it in
place at all times.
* The blade is sharp and dangerous. Never put your
hands or feet under the mower. Never tilt the
mower to expose the blade while the engine is
running. If you find it necessary to work on the
blade or mower, stop the engine and remove the
spark plug cap.
* Never stand in front of self-propelled mowers
when the engine is running. Someone may acci-
dentally engage the drive clutch.
* Clear the lawn of sticks, stones, or debris before
mowing. Mow only in cleared areas in daylight or
good artificial light.
* Protect yourself by wearing long trousers and
appropriate shoes..Don’t wear loose fitting clothing
or sandals when mowing.
* Keep children and pets away from the mower at all
times.
* If the blade strikes a stone, sprinkler head, etc., be
sure the blade, blade holder, woodruff key, fasten-
ers, crankshaft, etc. are in good condition before
continuing to mow.
Replace any damaged parts.

COMPONENT IDENTIFICATION
RECOIL STARTER
..- __._ _.. -..
I SHI
, -. ..F,T LEVER rROTO-STOP LEVER
SPARK PLUG CAP---l
THROTTLE LEVER
MUFFLER
Al R CLEANER
GRASS BAG HANDLE
GRASS BAG
CUTTING HEIGHT
ADJUSTING LEVER
WA typeJ
7

DRIVE CLUTCH LEVER-
HANDLE
CONTROL BOX
(SMA type oW
GRASS BAG GRIP--------
DISCHARGE GUARD
HANDLE HEIGHT
OIL FILLER CA
.FUEL TANK CAP
ENGINE OIL DRAIN PLUG
8

CONTROLS
Throttle Control Lever
Throttle positions: CHOKE
HI
LO
STOP
ROTO-STOP Lever (All types)
To put the cutting blade into operation, press the
button on top of the ROTO-STOP lever and push the
lever forward, holding it against the handlebar.
The blade will stop when the ROTO-STOP lever is
released.
ROTO-STOP LEVER

Drive Clutch Lever (Self-propelled type)
To propel the mower, push the drive clutch lever
forward and hold it against the handlebar. Release
the lever to disengage the drive.
To propel the mower and operate the cutting blade
simultaneously, push the button on top of the
ROTO-STOP lever and push the ROTO-STOP lever
forward, then push the drive lever forward; the drive
clutch lever will hold the ROTO-STOP lever forward,
as shown.
When the drive clutch lever is used to hold the
ROTO-STOP forward, releasing the drive clutch lever
automatically releases the ROTO-STOP lever.
Shift Lever (Self-propelled type)
Move the shift lever to select slow or fast drive speed.
Position 1: Slow, 0.8 m/set (2.6 ft/sec)
Position 2: Fast, 1.2 m/set (3.9 ft/sec)
ROTO-STQP LEVER /
SHIFT LEVER I
10

OPERATION
.
This MOWER should be used with the grass ban.
The following suggestions and rules are intended
to help you operate your Honda HR214 under the
safest conditions possible. Be. alert and exercise the
same care using the mower as you would using any
other power tool.
* Be especially careful when mowing uneven or
rough ground. The mower may tilt, exposing the
blade, and hidden objects could be thrown by the
blade. Keep all four wheels on the ground.
+ Mow across slopes. Do not mow excessively steep
slopes.
* Control direction by the handle, not by foot pres-
sure or the mower housing.
* Keep a firm hold on the handle and walk, never
run, with the mower. Don’t lag behind the machine
or let it pull you.
CAUTION
Use extra care when mowing around objects to
keep the blade from striking them. Never deliber-
ately mow over any object.
Stop the engine immediately if the blade hits an
object or the mower starts to vibrate. Remove the
spark plug cap (keep the wire away from the plug)
and inspect for damage.
NOTE: (Self-propelled type) Do not use the drive
clutch when maneuvering around trees, etc. Release
the clutch and push the mower while using the
ROTO-STOP for better directional control.
11

BEFORE YOU START THE MOWER
1. Check the engine oil level.
CAUTION
* Engine oil is a major factor affecting engine per-
formance and service life. Nondetergent oil and
Zstroke engine oil are not recommended.
* Running the engine with insufficient oil can cause
serious engine damage.
Use Honda-&troke, or an equivalent high deter-
gent, premium quality motor oil certified to meet or
exceed U.S. automobile manufacturers’ requirements
for service classification SE or SF (Motor oils clas-
sified SE or SF will show this designation on the
con tamer).
SAE IOW-40 is recommended for general, all tem-
perature use.
a. Place the mower on a level surface.
b. Remove the oil tiller cap and wipe the dipstick
clean.
c. Insert the dipstick into the oil tiller neck, but do
not screw it in.
d. Check the oil level shown on the dipstick. If near
the lower level, till to the upper level with the
recommended oil.
I I I 1 I I I
-20 0 20 40 60
80 lO(PF
1
-30 -20 -10 0 10 20 30 40-c
I 1
I I
I
UPPER OIL
LOWER OIL
LEVEL I
12

2. Check the fuel level.
Use any regular grade automotive gasoline (unleaded
gasoline is preferred) with a pump octane rating of 86
or higher.
Never use an oil/gasoline mixture or dirty gasoline.
Avoid getting dirt, dust or water in the fuel tank.
* Gasoline is extremely flammable and esplosive
under certain conditions. Refuel in a well venti-
lated area with the engine stopped.
* Do not smoke or allow flames or sparks in the area
where the mower is refueled or where gasoline is
stored.
* Be careful not to spill fuel when refueling. Fuel
vapor or spilled fuel may ignite. Make sure the
area is dry before starting the engine.
* Do not overfill the tank and make sure the filler
cap is securely closed after refueling.
* Refuel when the engine is cold.
FILLER HOLE
I
CAUTION
Gasoline substitutes are not recommended, they may
be harmful to the fuel system components.
13

3. Handle height adjustment
Adjust handle height for convenient m.owing.
. Loosen both sides of handle hook bolts.
. Swing the handle-up or down as required.
. After adjusting, make sure the handle hook bolts
are tightened securely.
4. Check the grass bag for fraying, tears and clogged
mesh. Wash the bag with water if necessary, and
let it dry thoroughly. Grass will not chute proper-
ly without adequate ventilation through the bag.
Make sure that the bag is properly installed.
5. Check the blade bolts for tightness.
Torque: 5.0-6.0 kg-m (36.2-43.4 ft-lb)
* To be certain that the engine will not start acciden-
tally, remove the
spark
plug cap before performing
this inspection.
6. Check the air cleaner element and clean it if it
is dirty (p. 28).
\
HANDLE HOOK BOLT
AIR
BAG
14

l
Hight altitude operation
SXA and SMA types PXA type
At high altitude, the standard carburetor air-fuel
mixture will be excessively rich. Performance will
decrease, and fuel consumption will increase.
High altitude performance can be improved by instal-
ling a.smaller diameter main fuel jet in the carburetor
and readjusting the pilot screw. If you always operate
the mower at altitudes higher than 6,000 feet above sea
level, have your authorized Honda Rotary Mower
dealer perform these carburetor modifications.
Even with suitable carburetor jetting, engine horse-
power will decrease approximately 3.5 % for each 1,
000 foot increase in altitude. The affect of altitude on
horsepower will be greater than this if no carburetor
modification in made.
CAUTION:
Operation of the mower at an altitude lower than
the carburetor is jetted for may result in reduced
performance, overheating, and serious engine dam-
age caused by an excessively lean air/fuel mixture.
STARTING AND STOPPING THE
ENGINE
Starting the Engine [Manual starting]
- * Exhaust gas contains poisonous carbon
monoxide.Never run the mower in an en
THROTTLE
LEVER
FUEL VALVE
losed area. Be sure to provide adequate ventilation.
1. Move the throttle lever to CHOKE.
NOTE: Do not use CHOKE when the engine is warm or the air temperature is high. Move the throttle to
LO instead.
2. Turn the fuel valve ON.
15

3. Place your foot on the STEP of the mower hous-
ing.
4. Pull the starter rope lightly until you feel resist-
ance, then pull briskly.
NOTE:
Do not allow the rope to snap back; return it by
hand.
5. After the engine warms up, move the throttle lever
to HI. Push the ROTO-STOP lever forward to put
the cutting blade into operation.
Self-propelled type only:
Select shift lever position 1 (slow) or 2 (fast), and
push the drive clutch lever forward to propel the 1
mower.
NOTE:
The throttle lever may be moved anywhere between
HI and LO to adjust engine speed during operation.
However, the engine may stall if the lever is at LO
when the ROTO-STOP is engaged.
SXA and SMA types
rHROTTLE LEVER
PXA type
THROTTLE LEVER
\
16

[Electric starting-SMA type only]
* Exhaust gas contains poisonous carbon monoxide.
Never run the mower in an enclosed area. Be sure
to provide adequate ventilation.
1. Move the throttle lever to CHOKE.
NOTE:
Do not use CHOKE when the engine is warm or the
air temperature is high. Move the throttle to LO
instead.
2. Turn the fuel valve ON.
FUEL VALVE

3. Turn the engine switch key to START, and hold it
until
the
engine starts.
CAUTION: Do not use the electric starter for more
than 5 seconds. If the engine fails to start, release
the key, and wait at least 10 seconds before operat-
ing
the
starter again.
NOTE: If the starter does not operate, check the
circuit breaker. The yellow pin in the circuit
breaker button pops up when the circuit breaker
has tripped. Push the circuit breaker button in to
reset.
4. After the engine starts, let the engine switch return
to ON.
5. After the engine warms up, move the throttle lever
to HI. Push the ROTO-STOP lever forward to put
the cutting blade into operation.
Self-propelled type only:
Select .shift lever position 1 (slow) or 2 (fast), and
push the drive clutch lever forward to propel the
mower.
NOTE:
The throttle lever may be moved anywhere between
HI and LO to adjust engine speed during operation.
However the engine may stall if the lever is at LO
when the ROTO-STOP is engaged.
ON
CIRCUIT BREAKER ENGINE SWITCH
I
THROTTLE LEVER I
18

Flooded Engine
If the engine won’t start after several pulls on the
starter rope, the engine may be flooded.
To clear a flooded engine:
1. Move the throttle lever to STOP and turn off the
fuel valve.
2. Remove and dry the spark plug. When remstalling
the plug, thread it in by hand until it seats. Then
tighten it an additional l/8-1)4 turn with the spark
plug wrench to compress the washer.
3. Move the throttle to HI, turn on the fuel valve
and repeat steps 3-5 under “Starting the Engine”
Stopping the Engine
1. Release the drive clutch (self-propelled type only)
and/or ROTO-STOP lever.
2. Move the throttle lever to STOP and turn off
the fuel valve.
3. Turn the engine switch to OFF (SMA type only).
SMA type
FUEL VALVE I
iT$g
Fi
pyTii$J
._ _-_.. - _ - _---..-
‘1 I
ENGINE SWITCH

Cutting Height Adjustment
six settings are available: 5/8”, l”, 1 -l/2”, 2”, 2-l /2”
3.
3 .
I. Stop the engine.
2. Push the front and rear adjusting levers toward the
wheels and move them
up
or down to raise or
lower cutting height. Adjust all four wheels to the
same height.
ADJUSTING LEVER

Grass Bag
The bag is subject to wear under normal usage;
check ‘frequently for fraying and tears. Replace
deteriorated bags only with Honda replacement bags
or their equivalent. When the bag needscleaning, wash
it with water and make sure it is dry before using it.
Clogged mesh will result in poor grass chuting and
a wet bag will clog quickly.
Removal
1. Stop the engine.
2. Raise the discharge guard, grasp the grass bag
handle, and lift the bag to unhook it from the
mower.
Installation
Raise the discharge guard and hook the grass bag
frame over the retaining tabs on the mower.
(REMOVAL) GRASS BAG HANDLE
21

TRANSPORTING/STORAGE
Transporting
Turn the fuel valve OFF when transporting the
mower. 1
* To avoid fuel and oil spillage do not tilt the unit; ’
spilled fuel may ignite.
The handle may be folded for convenience.
1. Remove the grass bag (p. 31).
2. Move the shift lever to the 1st position.
3. Loosen the handle knobs and fold the handle as
sl1own.
NOTE:
After folding’ the handle, check that the cables are
not kinked, twisted or pulled taught.
HA
K
E KNOBS
22

Preparation for Storage
The following steps should be taken to protect the
mower ‘whcncvcr it will be stored for longer than 30
days.
1. Drain the fuel tank and carburetor into a suitable
gasoline container:
A. Disconnect the fuel tube from the carburetor
and drain the fuel tank.
B. Loosen the carburetor drain bolt to drain the
carburetor.
C. Retighten the drain bolt, connect the fuel tube
and turn the fuel valve OFF.
-
* Gasoline is extremely flammable and explosive
under certain conditions. Do not smoke or allow
flames or sparks in the area.
2. Change the engine oil (p. 27).
NOTE:
If the mower will be stored for longer than 3 months,
remove the spark plug and pour three tablespoonsful
of clean motor oil into the cylinder. Pull the starter
rope slowly two or three times to distribute the oil.
Replace the plug.
CYLINDER /
23

3. Pull the starter rope until resistance is felt. This
closes the valves and helps to protect the com-
bustion chamber from corrosion.
4. Coat areas that may rust with a light film of oil.
Cover the mower and store it on a level surface in
a
dry, dust free area.
5. SMA type only-Charge the battery (p. 38) before
storing the mower, and recharge once a month
during prolonged storage. This will help to extend
the service life of the battery. Leave the 2P battery
connector disconnected until removal from storage.
Removal from Storage
I. Remove the spark plug; check that it is clean and
properly gapped (p. 29). Pull the starter rope
several times.
2. Thread the spark plug in as far as possible by hand,
then use the plug wrench to tighten l/8 to l/4 turn
further.
3. Check the engine oil level and condition.
4. Fill the fuel tank and start the engine.
5. SMA type only-Charge the battery (p. 38). Con-
nect
the 2P battery connectors.
NOTE:
If the cylinder was coated with oil, the engine will
smoke at start up; this is normal.
24

MAINTENANCE
* To prevent accidental start-up, shut off the engine
and disconnect the spark plug cap and remove the
engine switch key (SMA type only) before per-
forming any maintenance.
CAUTION
* Use only genuine Honda parts or their equivalent
for maintenance or repair. Replacement parts
which are not of equivalent quality may damage
the mower.
Periodic inspection and adjustment of the Honda
HR214 are essential if high level performance is to
be maintained. Regular maintenance will also help to
extend service life. The required service intervals and
the kind of maintenance to be performed are des-
cribed in the chart on the following page.
For longer service and greater efficiency, keep the
underside of the mower housing clean and free of
accumulated grass clippings by washing it down with
a hose after use and/or cleaning it with a wire brush
and scraper. Remove any rust and apply a rust-
resistant paint. Cleaning and rust prevention are
especially important before seasonal storage.
KEY

Maintenance Schedule
Engine oil Check level I
0
I I I
Change
0 0
Air cleaner element
Fuel strainer
Spark plug
Blade bolts (Tightness)
Grass bag
Check
Clean
Check - Clean
Clean - Adjust
Check
Check - Clean
0
41) 42)
0
0
0
Throttle cable Adjust ! !
0
Drive clutch cable Adjust ! ! I !
0
- -- - - - --
ROTO-STOP
Shift cable Adjust
Spark arrester (optional)
Check
Clean
42)
0
0
_-.
Valve clearance
Fuel tank
Fuel tube
Check - Adiust
Clean
Check
(Replace, if
necessary
I I 42)
I w
Every 3
years (2)
(1) Service more frequently when used in dusty areas.
(2) These items should be serviced by an authorized Hondadealer, unless the owner has the proper tools and is
mechanically proficient. See the Honda Shop Manual.
(3) For professional commercial use, log hours of operation to determine proper maintenance intervals.
26

Engine Oil Change
Drain the oil while the
engine is still warm to assure
rapid and complete draining.
1. Remove the filler cap.
2. Remove the drain bolt, drain the oil, and retighten
the bolt securely.
3. Refill to the “Upper” level mark with the recom-
mended oil (see p. 12). Tighten the cap securely to
prevent leakage.
CAUTION:
Used motor oil may cause skin cancer if repeatedly
left in contact with the skin for prolonged periods.
Although this is unlikely unless you handle used oil
on a daily basis, it is still advisable to thoroughly
wash your hands with soap and water as soon as
possible after handling used oil.
NOTE:
Please dispose of used motor oil in a manner that is
compatible with the environment. We suggest you take
it in a sealed container to your local service station for
reclamation. Do not throw it in the trash or pour it on
the ground.
I
OIL bRAIN BOLT
UPPER
LEVEL
27

Air Cleaner Service
A dirty air cleaner will restrict air flow to the carbu-
retor. To prevent carburetor malfunction, service the
air cleaner frequently.
1. Remove the wing bolts and the air cleaner cover.
Remove the elements and separate them. Carefully
check both elements for holes or tears and replace
if damaged.
2. Foam element: Clean in warm soapy water, rinse
and allow to dry thoroughly. Or clean in high
flash-point solvent and allow to dry. Dip the
element in clean engine oil and squeeze out all the
excess. The engine will smoke during initial start-
up if too much oil is left in the foam.
3. Paper eleinent: Tap the element lightly several times on a hard surface to remove excess dirt, or blow com-
pressed air through the filter from the inside out. Never try to brush the dirt off; brushing will force dirt
into the fibers.
Fuel Strainer Service
1. Drain the fuel tank (see p. 23).
2. Remove the fuel line from the fuel tank.
3. Remove the fuel strainer from the fuel tank and
inspect the filter screen. Clean the screen with a
high flash-point solvent if it is dirty.
4. Reinstall the fuel strainer and the fuel line on
the fuel tank. Refill the tank with gasoline and
check for leaks.
FUEL LINE
28

Spark Plug
Standard Plug:
BPSES, BPRSES (NCK)
Wl6EP-U, Wl6EPR-U (ND)
1. Disconnect the cap and remove the spark plug.
2. Visually inspect the plug. Discard the plug if it is
heavily deposited or if the insulator is cracked or
chipped.
3. Measure the plug gap with a wire-type feeler gauge;
it should be 0.7-0.8 mm (0.028-0.031 in). If
adjustment is necessary, bend the side electrode
carefully.
4. Make sure the sealing washer is in good condition,
then thread the spark plug in by hand until it seats.
5. Use the wrench to tighten a new plug l/2 turn
further to compress the washer. If you are reusing
the plug it should only take l/8-1/4 turn after the
plug seats.
6. Replace the spark plug cap.
SPARK PLUG WRENCH
0.7-0.8 mm
(0.028-0.031 in.)
29

Blade Removal and Sharpening
* Wear heavy gloves to protect your hands.
* Disconnect the spark plug cap to prevent acciden-
tal start-up.
1. Turn the fuel valve to “OFF,” and drain the
carburc tor (see p. 23).
2. Tilt the mower so the carburetor side is up.
Remove the blade bolis to remove the blade.
NOTE:
Never tilt the mower so the carburetor side is down.
It will result in hard starting.
3. Sharpen the blade cutting edges with a tile. File
the top side only. Maintain the original bevel for a
fine cutting edge. File both ends evenly to main-
tain blade balance.
NOTE:
Use only a genuine HONDA replacement blade or
equivalent.
4. Clean away any dirt and grass from around the
blade shaft.
5. Install the blade so that the blade bolts are securely
tightened to the specified torque.
Torque: 5.0 - 6.0 kg-m (36.2 - 43.4 ft lb)
BLADE
BLADE BOLTS
30

Throttle Control Cable Adjustment
1. With the throttle lever in the
CHOKE
position,
the carburetor choke arm should move all the way
to the right, as far as it will go. Push the choke
arm with your finger to check whether it is all the
way to the right.
2. If adjustment is necessary, loosen the control cable
lock nuts, and move the adjuster up or down as
required. Tighten the lock nuts, and recheck the
carburetor choke arm position.
3. Start the engine, and make sure the engine stops
when the throttle lever is moved to the STOP
position. Readjust the cable if necessary.
I
CHOKE ARM
SXA and SMA types PXA type
THROTTLE
LEVER
SXA and SMA
types
PXA
type
NUTS
\
ADJUSTER

I _ Mcasurc free play
at
the top of the lever as shown;
it
should
be bctwecn S-10 mm (3/I&3/8 in).
2. If adjustment is necessary, .looscn the lock nuts
and n~ovc the adjuster
up
or down as required.
Tighten
the lock nuts and recheck free play.
3. Start the cnginc and cheek to be sure the drive
clutch
engages
and
releases properly.
Drive
Clutch Free
Play (Self-propelled type only) I
5-10
mm
(3/16-3/8
in)
CLUTCH LEVER
32

ROTO-STOP Lever Free Play (All types)
1. Measure free play at tile
tip
of the fever with the
button pushed down, it should be between 5 - 10
mm (3/ 16 - 3/8 in).
2. If adjustment is necessary, loosen the lock nuts and
move tile adjuster
up
or down as required. Tighten
the lock
nuts
and recheck free play.
3. Start the engine and operate the ROTO-STOP
lever. Check to be sure the blade stops wllen the
fever is released.
5-10 mm (3/16-3/a in)
SXA and SMA types

SHIFT Lever Free Play (Self-propelled type only)
1. Measure free play at the tip of the lever, it should
bc I -3 nut (3/64-l/8 in).
2. If adjustment is necessary, loosen the lock nuts
and turn them to run the adjuster up or down as
required. Tifiten the lock nuts and recheck free
play.
3. Start the engine and operate the shift fever. Check
for smooth transmission engagement.
CAUTION:
Never shift the transmission while self-propelling.
l-3 mm (3/64-l/8 in)
HIFT LEVER
34

Spark
Arrester Maintenance (Optional Part)
If
the mower has
been
running, the muffler will
be
very
hot.
Allow it to cool before proceeding.
I. Remove the two 6mm nuts and remove the muffler
protector, identification plate, muffler and gasket.
2. Remove the spark arrester from the muffler.
(Taking care not to damage the wire mesh.)
3. Check for carbon deposits around the exhaust port
and the spark arrester, and clean if necessary.
4. Install spark arrester in the muffler.
5. Install gasket, muffler, identification plate, muffler
protector and then tighten the two 6 mm nuts
securely.
(Optional part)
SPARK ARRESTER
(Optional part)
MUFFLER
6 mm
NUT
MUFFLER
GASKET
\GAsKET
(ODtional part)
35

Carburetor Adjustment
1. Start
the engine and allow it to warm up to normal
operating temperature.
2. Place the throttle lever in the LO position.
3. Turn the pilot screw in or out to the setting that
produces the highest idle rpm. The correct setting
will usually be approximately 3 turns out from
the fully closed position.
4. After the pilot screw is correctly adjusted, turn
the throttle stop screw to obtain the standard
idle speed.
Standard idle speed: 2,000 2 150 rpm
‘36

i
Grass Bag Assembly
1.
Insert the bag frame into the grass bag as shown.
2. Hook the plastic edges of the grass bag onto the
frame.

Battery Charging (SMA type only)
The battery will automatically recharge while the
mower is operated. A plug-in charger is provided
for supplemental charging if the mower is not oper-
ated frequently enough to keep the battery charged.
Use the plug-in charger to recharge the battery after
prolonged storage, or whenever you notice a de-
crease in starter motor speed.
1. Disconnect the 2P battery connector,
located
under the control box.
2. Connect the 2P battery connector to the charger
supplied with the mower.
3. Plug the charger into a standard AC power outlet,
and allow the battery to charge for 24 hours.
NOTE:
The charger will become a little warm
when charging, but this is normal.
4. When the battery has been charged, disconnect the
charger, and reconnect the 2P connectors under
the mower control box.
CHAFiGER
38

TROUBLESHOOTING
Engine will not start 1. No fuel.
2. Throttle lever in STOP position.
3. Spark plug wire loose or disconnected.
4. Spark plug faulty or improperly gapped (p. 29).
5. Engine flooded (p. 19).
6. Dirty air cleaner (p. 28).
7. Battery discharged (p. 38).
8. Circuit breaker tripped.
Hard starting or loss of power 1. Dirt in gas tank (p. 28).
2. Dirty air cleaner (p. 28).
3. Water in gas tank or carburetor.
4. Vent in gas cap and/or carburetor clogged.
Erratic operation 1. Spark plug faulty or improperly gapped (p. 29).
2. Dirty air cleaner (p. 28).
Engine overheats 1. Spark plug improperly gapped (p. 29).
2. Dirty air cleaner (p. 28).
3. Dirty cooling tins.
4. Low oil level (p. 12).
Excessive vibration
5. Starter pulley clogged by grass, etc.
1. Loose blade or engine mounting hardware (p. 30).
2. Blade unbalanced.
39

SPECIFICATIONS
MODEL
HR214
ENGINE cxv120
Engine type Overhead valve, single-cylinder, forced air-cooled, four-stroke gasoline
Displacemcnt/Borc and stroke
Ignition timing
Ignition system
Engine oil capacity
--- .-
Fuel tank capacity
Spark plug
FRAME
Dimensions
(Length x Width x Height)
Dry weight
Grass bag capacity
Cutting width
118 cm3 (7.2 CLI in)/60
X
42 mm (2.4
X
1.7
in)
25” 5 27” BTDC
Transistor magneto ignition
0.6 P (0.63 US qt, 0.53 Imp qt)
1 .O P (0.26 US gal, 0.22 Imp gal)
BPSES, BPRSES (NGK) or W 16EP-U, W 16EPR-U (ND)
PXA type : 1,700 x 570 x 1,070 mm (66.9 x 22.4 x 42.1 in)
SXA type : 1,700 x 570 x 1,070 mm (66.9 x 22.4 x 42.1 in)
SMA type : 1,700 x 570 x 1,070 mm (66.9 x 22.4 x 42.1 in)
PXA type : 40 kg (88.2 lb)
SXA type : 43.5 kg (95.9 lb)
SMA type : 47.5 kg (104.7 lb)
73 I? (19.3 US gal, 16.1 Imp gal)
530
mm (21.0 in)
NOTE: Specifications are subject to change without notice.
.

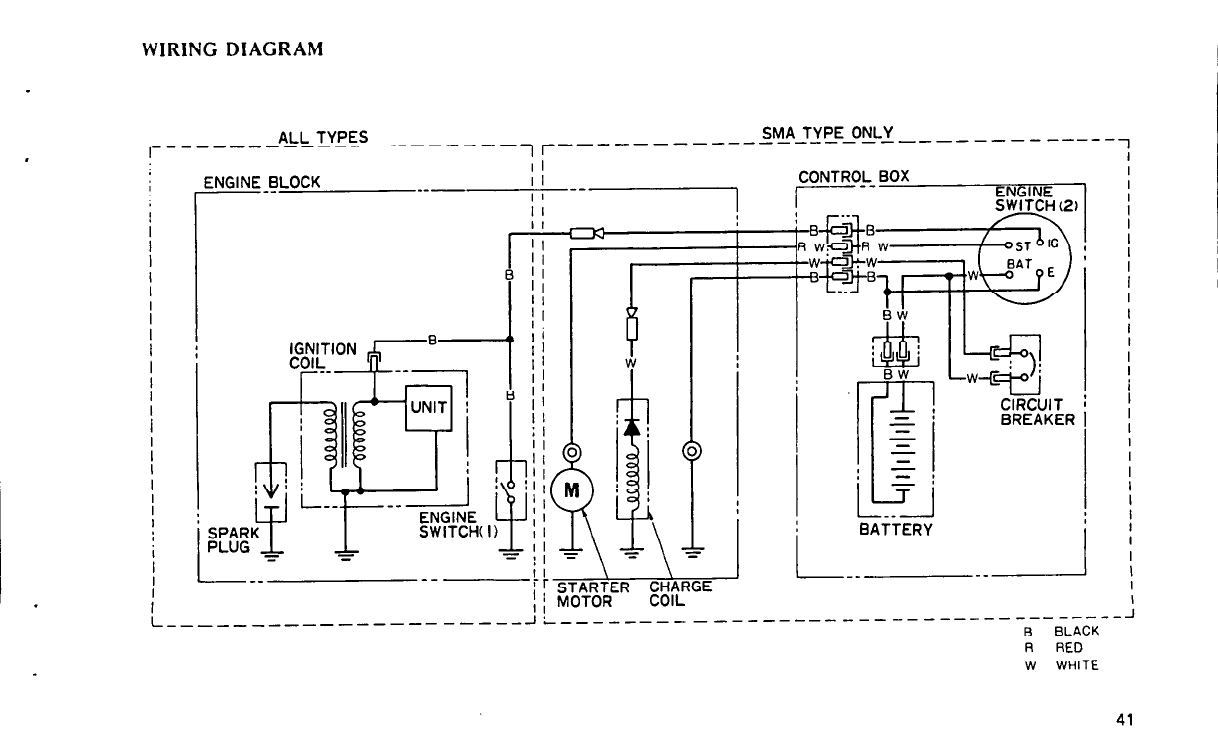
WIRING DIAGRAM
ALL TYPES SMA TYPE ONLY
I---- _________ -------- ,r- ______ ----- ---- - ______ -_--------
4
I
I
I
I
I
I
I
I
I
I
I
I
I
I
I
I
I
I
I
I
I
I
I
L- ____________ --------2L-------- ____________ -__---_---- ----- J
0 BLACK
R RED
W WHITE
41

WARRANTY SERVICE
Owner Satisfaction
Your satisfaction and goodwill are important to your dealer and to us. All Honda warranty details are
explained in the Distributor’s Limited Warranty.Normally, any problems concerning the product will
be handled by your dealer’s service dapartment. If you have a warranty problem that has not been
handled to your satisfaction, we suggest you take the following action:
0 Discuss your problem with a member of dealership management. Often complaints can be quickly
resolved at that level. If the problem has already been reviewed with the Service Manager, contact
the owner of the dealership or the General Manager.
0 If your problem still has not been resolved to your satisfaction, contact the Power Equipment Customer
Relations Department of American Honda Motor Co., Inc.
American Honda Motor Co., Inc.
Power Equipment Customer- Relations Department
P.O. Box 50
Gardena, California 90247-0805
Telephone: (213) 604-2400
We will need the following information in order to assist you:
-Your name, address, and telephone number
-Product model and serial number
-Date of purchase
-Dealer name and address
-Nature of the problem
After reviewing all the facts involved, you will be advised of what action can be taken. Please bear
in mind that your problem will likely be resolved at the dealership, using the dealer’s facilities,
equipment, and personnel, so it is very important that your initial contact be with the dealer.
Your purchase of a Honda product is greatly appreciated by both your dealer and American Honda
Motor Co., Inc. We want to assist you in every way possible to assure your complete satisfaction with
your purchase.
42

.
MEMO

MEMO

.
. J
