Honeywell Carbon Monoxide Alarm C7035 Users Manual C7027A, C7035, C7044A, C7927A MINIPEEPER ULTRAVIOLET FLAME DETECTORS
C7044A to the manual d687fc5a-8d47-452b-901f-8160f4114d14
2015-01-23
: Honeywell Honeywell-Honeywell-Carbon-Monoxide-Alarm-C7035-Users-Manual-261213 honeywell-honeywell-carbon-monoxide-alarm-c7035-users-manual-261213 honeywell pdf
Open the PDF directly: View PDF
.
Page Count: 12

PRODUCT DATA
60- 2026- 11
® U.S. Registered Trademark
Copyright © 2001 Honeywell • All Rights Reserved
C7027A, C7035, C7044A, C7927A
Minipeeper® Ultraviolet Flame Detectors
APPLICATION
The C7027A, C7035A, C7044A and C7927A Minipeeper®
Ultraviolet Flame Detectors detect the ultraviolet radiation
emitted by combustion flames. The flame detectors are used
with Honeywell flame safeguard controls to provide flame
supervision for gas, oil, or combination gas-oil burners.
FEATURES
• C7027A, C7035A, and C7044A Flame Detectors are
used with RA890G devices or R7249A, R7290A,
R7749B and R7849A,B Amplifiers and the appropriate
Honeywell controls.
• C7044A may also be used with the following 50 Hz
Honeywell combustion controls/amplifiers:
— R4341/R7323
— R4343/R7323
— R4344/R7323
• C7027A has an integral collar threaded (internal
1/2-14 NPSM) for mounting on a one-half-inch sight
pipe.
• C7035A has an integral collar threaded (internal
1-11-1/2 NPSM) for mounting on a one-inch sight pipe.
• C7035A housing meets Underwriters Laboratories Inc.
requirements for rain tightness and complies with
NEMA enclosure standards, types 4 and 4X.
• C7044A mounts with a two screw bracket. The UV
sensor tube is enclosed in a stainless steel housing.
• C7044A has the capability of side or end viewing in
flame monitoring applications.
• Because of their compact size, the C7027A and
C7044A are particularly suitable for blast tube
mounting.
• Properly installed, the C7027A, C7035A and C7927 are
pressure rated for 5 psi.
• C7035A ultraviolet radiation sensor tube is field
replaceable.
• Two C7027A, C7035A or C7044A Flame Detectors can
be wired in parallel for difficult flame sighting
installations.
• C7927A is used with only the R7851B Flame Amplifier
and the 7800 SERIES controls.
• C7927A has an integral collar threaded (internal
1/2-14 NPSM) for mounting on a one-half inch sight
pipe.
C7027A C7035A
C7044A
C7927A
Contents
Application ........................................................................ 1
Features ........................................................................... 1
Specifications ................................................................... 2
Ordering Information ........................................................ 2
Wiring (All Models—Fig. 10) ............................................. 8
Adjustments and Checkout .............................................. 9
Troubleshooting ................................................................ 12
Maintenance ..................................................................... 12

C7027A, C7035, C7044A, C7927A MINIPEEPER® ULTRAVIOLET FLAME DETECTORS
60-2026—11 2
ORDERING INFORMATION
When purchasing replacement and modernization products from your TRADELINE® wholesaler or distributor, refer to the
TRADELINE® Catalog or price sheets for complete ordering number.
If you have additional questions, need further information, or would like to comment on our products or services, please write or
phone:
1. Your local Home and Building Control Sales Office (check white pages of your phone directory).
2. Home and Building Control Customer Relations
Honeywell, 1885 Douglas Drive North
Minneapolis, Minnesota 55422-4386
In Canada—Honeywell Limited/Honeywell Limitée, 35 Dynamic Drive, Scarborough, Ontario M1V 4Z9.
International Sales and Service Offices in all principal cities of the world. Manufacturing in Australia, Canada, Finland, France,
Germany, Japan, Mexico, Netherlands, Spain, Taiwan, United Kingdom, U.S.A.
SPECIFICATIONS
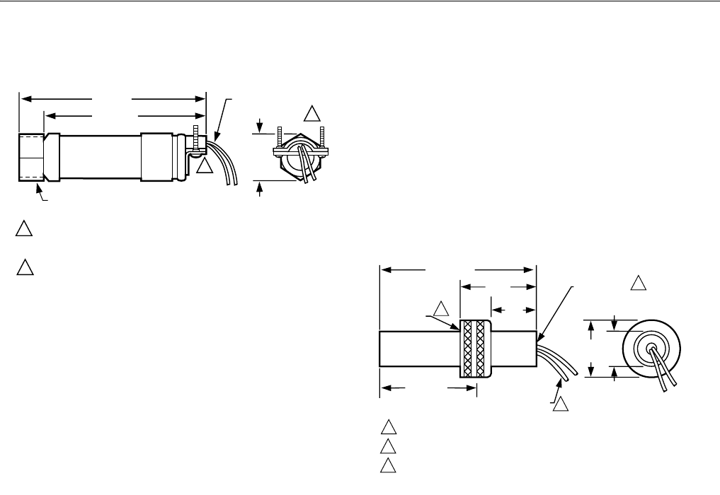
Fig. 1. Installation dimensions of C7027A in in. (mm).
C7027A Minipeeper® Ultraviolet
Flame Detector:
Ambient Operating Temperature Ratings: 0°F to 215°F
(-18°C to 102°C), or -40°F to 215°F [-40°C to +102°C),
depending on model.
Maximum Pressure Rating: 5 psi (34.5 kPa).
Mounting: Collar with 1/2-14 NPSM internal threads for
mounting on a 1/2 in. sight pipe.
Wiring Connections: Two 8 ft (2.44 m), color-coded,
NEC Class 1 leadwires, rated for 221°F (105°C).
(C7027A1064 has 24 ft [7.32 m] leadwires.) Rear of
detector has a clamp type connector for 1/2 in. flexible
metallic conduit. (Models are available with 1/2 in.
internally threaded spud connector instead of the
clamp). C7027A1114 has 44 in. (1.118 m) leadwires and
22 in. (558 mm) flexible conduit.
Dimensions: See Fig. 1.
Replacement Part: 129685 Flange Gasket.
NOTE: The ultraviolet radiation sensing tube is not field
replaceable.
Accessory:
136733 Heat Block, laminated plastic, insulating the
flame detector from sight pipe temperatures up to
266°F (130°C), 1/2-14 NPSM external threads on one
end and 1/2-14 NPSM internal threads on the other end
(see Fig. 8). Included with C7027A1080.
390427B Bushing, for mounting to 3/8 in. sight pipe. Included
with C7027A1080.
Fig. 2. Installation dimensions of C7035A in in. (mm).
COLLAR WITH 1/2-14 NPSM
INTERNAL THREADS
4 (102) 8 FOOT (2.44 METER)
LEADWIRES (2)
M1943
E
C7027A1064 HAS 24 FOOT (7.32 METER) LEADWIRES.
C7027A1114 HAS 44 IN. (1.118 M) LEADWIRES WITH
22 IN. (558 MM) FLEXIBLE CONDUIT.
MODELS AVAILABLE WITH SPUD CONNECTOR (1/2-14 NPSM INTERNAL
THREADS) INSTEAD OF CLAMP TYPE CONNECTOR.
1
2
2
3-1/2 (89)
1-1/16
(27)
C7027
1
1/2-14 NPSM
INTERNAL THREADS
2
2 (51)
COLLAR WITH
1–11-1/2 NPSM
INTERNAL
THREADS 1
1DIN APPROVED C7035A1064 HAS 1-11 BSP.P1 INTERNAL MOUNTING THREADS
.
DIN APPROVED C7035A1064 HAS 1/2-14 BSP-F INTERNAL MOUNTING THREAD
S.
C7035A1056 HAS 12 FOOT (3.66 METER) LEADWIRES.
2
3
INSERTION DEPTH
6 FOOT
[1.83 METER]
LEADWIRES (2) 3
M1945C
2-5/8 (67)
1-1/2
(38)
31/32
(25)
4-1/8 (105)
1-3/16
(30)
C7035

C7027A, C7035, C7044A, C7927A MINIPEEPER® ULTRAVIOLET FLAME DETECTORS
3 60-2026—11
C7035A Minipeeper® Ultraviolet
Flame Detector:
Flame Detection: End viewing.
Ambient Operating Temperature Ratings: 0°F to 250°F
(-18°C to +121°C), or -40°F to 250°F (-40°C to +121°C),
depending on model.
Maximum Pressure Rating: 5 psi (34.5 kPa).
Mounting: Collar with 1-11-1/2 NPSM internal threads for
mounting on a 1 in. sight pipe. (The DIN approved
C7035A1064 has 1-11 BSP.P1 threads.)
Wiring Connections: Two 6 ft. [1.83 m], color-coded
NEC Class 1 leadwires rated for 302°F (150°C). One
model is available with 12 ft. (3.66 m) leadwires.
Rear of detector has 1/2-14 NPSM internal threads for
connecting to a conduit. The DIN-approved C7035A1064
has 1/2-14 BSP-F threads.
C7035A1056 has 12 ft (3.66 m) leadwires.
C7035A1080 leadwire is rated for 600°F (204°C).
Dimensions: See Fig. 2.
Replacement Parts:
129808 Flange Gasket.
129464M Ultraviolet Sensing Tube, 0°F to 250°F
(-18°C to +121°C).
129464N Ultraviolet Sensing Tube, -40°F to +250°F
(-40°C to 121°C).
C7027A, C7035A AND C7044:
Approvals:
Underwriters Laboratories Inc. listed: File No. MP268.
Canadian Standards Association certified:
Master Report LR 95329-1.
Factory Mutual approved.
Industrial Risk Insurers acceptable.
DIN approved models: C7027A1056, C7035A1049,
C7035A1064.
General Accessories:
118367A Swivel Mount; provides adjustable positioning of
the C7027A or C7035A.
204342 Ultraviolet mirror, 3/4 in. NPT.
105172C Seal off adapter, 3/4 in. NPT.
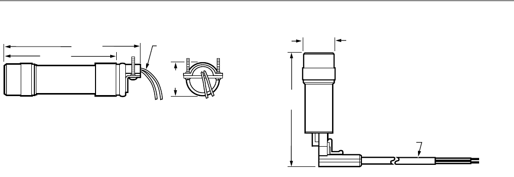
Fig. 3. Installation dimensions of C7044A in in. (mm).
C7044A Minipeeper® Ultraviolet
Flame Detector:
Flame Detection: Housing has two openings to permit either
side or end viewing. Side viewing is 1/8 as sensitive as end
viewing.
Mounting: Bracket (included in 4074BVK Bag Assembly),
secured by two 8-32 RHIS (European M-4) screws (not
included).
Wiring Connections: Two 6 ft. (1.83 m) color-coded NEC
Class 1 leadwires. Rear of detector has a clamp type
connector for 1/2 in. flexible metallic conduit.
Dimensions: See Fig. 3.
C7927A Minipeeper® Ultraviolet
Flame Detector:
Ambient Operating Temperature Ratings:
C7927A1016 (U.S. Version): -40°F to +200°F
(-40°C to +93°C).
C7927A1008 (European Version): -4°F to +140°F
(-20°C to +60°C).
Storage Temperature Rating: -20°F to +120°F
(-28°C to +49°C).
Maximum Pressure Rating: 5 psi 34.5 kPa).
Mounting: Collar with 1/2-14 NPSM internal threads for
mounting on a 1/2 in. (13mm) sight pipe.
Wiring Connections: Two four-foot (1.2 meter) color-coded
NEC Class 1 leadwires. Rear of detector has a clamp-type
connector for 1/2 in. (13mm) flexible metal conduit.
Dimensions: See Fig. 4 and 5.
Approvals:
Underwriters Laboratories Inc. (cUL), MP268, Volume 30.
Factory Mutual (FM): Pending.
MOUNTING BRACKET
6
FOOT [1.83 METER]
L
EADWIRES (2)
M1944
B
3-5/8 (92)
1/2
(13)
9/16
(14)
7/8
(22)
3/8
(10)
1-27/64
(36)
C7044

C7027A, C7035, C7044A, C7927A MINIPEEPER® ULTRAVIOLET FLAME DETECTORS
60-2026—11 4
Fig. 4. Installation dimensions of C7927A1016 (U.S.A. version) and C7927A1008 (European version) in in. (mm).
INSTALLATION
When Installing This Product...
1. Read these instructions carefully. Failure to follow
them could damage the product or cause a hazardous
condition.
2. Check the ratings given in the instructions and on the
product to make sure the product is suitable for your
application.
3. Installer must be a trained, experienced, flame
safeguard control technician.
4. After installation is complete, check out product
operation as provided in these instructions.
Disconnect power supply before beginning installation to
prevent electrical shock and equipment damage. All wiring
must comply with applicable electrical codes, ordinances
and regulations. Use NEC Class 1 wiring.
IMPORTANT
Ultraviolet radiation sensing tubes have a life
expectancy of 40,000 hours of continuous use within
the flame detector's specified ambient temperature
and voltage ratings. Wearout of an ultraviolet
radiation sensing tube results in failure of the UV
sensor to properly discriminate between flame
conditions.
The C7027A, C7035A and C7044A Flame Detectors
should only be used on burners that cycle on/off
periodically or, in the absence of cycling, are
periodically checked for proper operation.
Recommended industry standards for the frequency
of sensor checks, either through cycling (employing
safe-start check methods) or periodic maintenance,
vary between once every ten seconds and once
every week, depending on the standard used and
the application needs.
Consult the equipment manufacturer or the
governing standard for recommendations about
frequency of checks.
Controls incorporating safe-start checks, and
sensors and controls employing constant check
means are available from Honeywell. See your
Honeywell representative for specific information.
4 FOOT (1.2 METER)
LEADWIRES (2)
M17783
3-1/4 (82)
3-3/4 (95)
1
(25)
C7927A1016
3
-11/16
(94)
1 (25)
6-1/2 FT. (1.98M)
M1778
4
C7927A1008

C7027A, C7035, C7044A, C7927A MINIPEEPER® ULTRAVIOLET FLAME DETECTORS
5 60-2026—11
WARNING
Explosion Hazard and Electrical Shock Hazard.
Can cause serious injury, death or property
damage.
1. The C7027A, C7035A , C7044A and C7927 Flame
Detectors must be used with Honeywell flame
safeguard controls (primaries, programmers,
multiburner systems, and burner management
systems). Using with controls not manufactured by
Honeywell could result in unsafe conditions.
2. Disconnect power supply before beginning
installation to prevent electrical shock or equipment
damage, more than one disconnect may be
involved.
3. Read the installation instructions before starting the
installation.
4. All wiring must be NEC Class 1 (line voltage).
5. The flame detector must be positioned so that it
sights the flame and does not respond to the UV
radiation emitted by sparks generated by a spark
ignitor. The Q624A Solid-State Igniter may be useful
in difficult installations.
Basic Requirements For Ultraviolet
Detector Installations
All flames emit ultraviolet radiation, invisible to the human eye
but detected by the UV sensing tube. There are two important
factors in UV detector installation:
The detector must have a line-of-sight view of the flame.
The detector must not be exposed to other sources of
ultraviolet radiation, the most common being ignition spark.
Other sources are listed in the next section.
Because it is necessary for the detector to actually see the
flame, it is desirable to locate the detector as close to the
flame as physical arrangement and temperature restrictions
permit.
Sighting requirements for different types of flame supervision
are:
1. Pilot flame only—Sighting must be along the axis of the
pilot flame. The smallest pilot flame that can be sighted
must be capable of igniting the main burner (see Pilot
Turndown Test, page 9).
2. Main flame only—Sighting must be at the most stable
part of the flame for all firing rates.
3. Pilot and main flame—Sighting must be at the junction
of both flames.
Other Radiation Sources Sensed
By The UV Detector
Examples of radiation sources (other than flame) that could
actuate the detection system are:
1. Ultraviolet Sources:
a. Hot refractory above 2800°F (1371°C).
b. Spark.
c. Ignition transformers.
d. Welding arcs.
e. Lightning.
f. Gas lasers.
g. Sun lamps.
h. Germicidal lamps.
2. Gamma Ray and X-ray Sources:
a. Diffraction analyzers.
b. Electron microscopes.
c. Radiographic X-ray machines.
d. High voltage vacuum switches.
e. High voltage condensers.
f. Radioscotopes.
Except under unusual circumstances, none of these sources
except hot refractory and ignition spark would be present in or
near the combustion chamber.
The detector may respond to hot refractory above 2800°F
(1371°C) if the refractory surface represents a significant
percentage of the field of view of the detector. If the
temperature of the hot refractory causes the flame relay
(in the flame safeguard control) to pull in, re-position the sight
pipe so the detector views a cooler area of the refractory.
Ignition spark is a source of ultraviolet radiation. When
installing the C7027A, C7035A, C7044A or C7927 Flame
Detector, make sure it does not respond to ignition spark (see
Ultraviolet Response Test, page 9.) If the installation is such
that response to the ignition sparks cannot be avoided, the
Q624A Solid-State Ignition Transformer may eliminate the
ignition spark response. The Q624A, when properly installed,
prevents C7027A, C7035A, C7044A and C7927 ignition
spark response by alternately activating the spark generator
and the UV sensing tube.

C7027A, C7035, C7044A, C7927A MINIPEEPER® ULTRAVIOLET FLAME DETECTORS
60-2026—11 6
Mounting a C7027A, C7927 or C7035A
Locate the Sight Pipe
The location of the sight pipe is the most critical part of the
installation. A black iron pipe is recommended. Do not use a
stainless steel or galvanized pipe because its internal surface
blackens with use as deposits from the combustion chamber
settle on it. Initially, its shiny internal surface reflects ultraviolet
radiation, which could result in a satisfactory flame signal,
even though the pipe may be improperly located. As it
blackens, less ultraviolet radiation is reflected and the flame
signal may become marginal.
Under optimum sighting conditions, the C7027A , C7927 and
C7035A Flame Detectors can detect most common gas and
oil combustion flames at a distance of six feet. The critical
factors in determining the flame-detector distance separation
are the optimized flame signal (current or voltage) and the
flame detector temperature. Other factors may be influential
and are associated with the specific installation. For minimum
flame signals, see Table 1 and for ambient operating
temperatures, refer to Specifications, page 2.
Use 1/2 in. pipe for a C7027 or C7927, and 1 in. pipe for
a C7035. Since no two situations are likely to be the same,
length and sighting angle of the pipe must be determined at
the time and place of installation. Generally, it is desirable
to have the sight pipe tilting downward to prevent soot or dirt
buildup.
If a C7027A or C7927A is to be used for a blast tube
installation, its location should be determined by the burner
manufacturer; contact the manufacturer before making any
modifications to the installation.
In locations where water is usually sprayed on the body of the
detector, use a C7035A. Internal threads in its base permit the
use of waterproof flexible conduit for this type of application.
Prepare Hole In Wall Of Combustion Chamber
Cut a hole of the proper diameter for the sight pipe in the wall
of the combustion chamber at the selected location. Flare the
hole to leave room for small adjustments of the sighting angle.
The taper of the hole should be about 1 in. for every 3 in.
(25 mm for every 76 mm) of wall thickness.
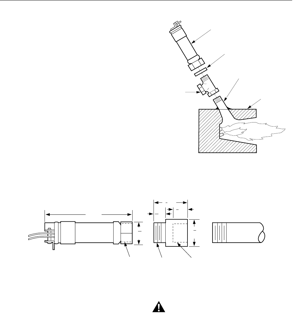
Mounting The Sight Pipe (Fig. 6)
Thread one end of the pipe to fit the mounting collar on the
detector. Cut the pipe to the desired length (as short as
practicable), and at an angle so it fits flush with the wall of the
combustion chamber. Tack-weld the pipe to the wall in a trial
position. Do not permanently weld the sight pipe in place until
after completing the Adjustments and Checkout beginning on
page 7.
NOTE: If you use a swivel mount (part no. 118367A) and
you are positive about the location and sighting
angle, you can permanently weld the pipe.
Fig. 5. Mounting sight pipe.
Sight Pipe Ventilation
It may be necessary to ventilate the sight pipe to cool the
flame detector or to clear the sight pipe of UV radiation
absorbing substances such as smoke, excessive moisture or,
in some instances, unburned fuel.
For a negative pressure combustion chamber, drilling a few
holes in the section of the sight pipe outside of the combustion
chamber will allow air at atmospheric pressure to flow through
the sight pipe into the chamber. A perforated pipe nipple
between the sight pipe and the detector can also be used
(see Fig. 7).
For a positive pressure combustion chamber, connect a
supply of pressurized air from the burner blower through the
sight pipe into the chamber. The supply air pressure must be
greater than the chamber pressure.
F
LARED HOLE
R
EFRACTORY BOILER
PLATE
BLACK IRO
N
SIGHT PIPE
TEMPORARY
TACK WELD
M3019A

C7027A, C7035, C7044A, C7927A MINIPEEPER® ULTRAVIOLET FLAME DETECTORS
7 60-2026—11
Swivel Mount
To facilitate proper sighting of the flame, a swivel mount
(part no. 118367A) is available. The swivel mount will require
a 3/4 to 1/2 in. reducer and a 1/2 in. close nipple to mount a
C7027A, or a 1 in. pipe at least 2-1/2 in. [63.5 mm] long to
mount a C7035A. For mounting details, refer to form 60-0361
for the 118367A Swivel Mount.
Mount The Detector (Fig. 7)
Mount the detector onto the sight pipe, pipe tee, nipple, or
other fitting. Make sure the flange gasket is in place inside the
mounting collar on the detector, and then screw the collar onto
the sight pipe or fitting.
NOTE: If a window is installed between the UV detector and
the flame, it must be fabricated from quartz or fused
silica. Ordinary glass filters out ultraviolet radiation.
Using a Heat Block With a C7027 (Fig. 8)
If the temperature of the sight pipe will become high enough to
cause the C7027A to overheat (above 215°F (102°C) up to
266°F (130°C), screw a 136733 Heat Block (order separately)
onto the sight pipe before mounting the detector.
Fig. 6. Mounting a C7027A or C7927A on a
combustion chamber (viewed from above).
C7035A mounting is similar.
Fig. 7. Mounting dimensions of 136733 Heat Block in in. (mm).
Mounting a C7044A On a Blast Tube (Fig. 9)
The C7044 is designed to be mounted on the blast tube of a
burner. The exact location should be determined by the burner
manufacturer. Contact the manufacturer before making any
modifications to the installation.
WARNING
Explosion Hazard.
Can cause serious injury or property damage.
The C7044 will allow air leakage through its housing.
Do not locate the C7044 in an atmosphere of fuel
vapors under positive pressure. The C7027 or C7035
should be used if internal pressure sealoff is required.
M3021
C7027A (OR C7035A)
FLANGE
GASKET
BLACK IRON
SIGHT PIPE
COMBUSTION
CHAMBER
WALL
A
DD PIPE TEE,
P
ERFORATED
N
IPPLE, OR OTHER
S
UITABLE DEVICE
F
OR VENTILATION,
I
F REQUIRED.
1
[27]
1
16
4 [102]
1
[32]
1
4
5
8
9
16[14] [16]
5
8
1 [41]
C7027A DETECTOR
136733 HEAT BLOCK
1/2-INCH SIGHT PIPE
1/2-14 NPSM
INTERNAL
THREADS
1/2-14 NPSM
EXTERNAL
THREADS
1/2-14 NPSM
INTERNAL
THREADS
HIGH TEMPERATURES (ABOVE 215° F [102° C])
DO NOT USE FOR TEMPERATURES ABOVE 266° F [130°C] M1942

C7027A, C7035, C7044A, C7927A MINIPEEPER® ULTRAVIOLET FLAME DETECTORS
60-2026—11 8
Fig. 8. Mounting C7044A Detector on blast tube.
The C7044 is mounted in a 29/32 in. (23.0 mm) hole in the
blast tube. The mounting bracket is fastened to the blast tube
with 2 screws on 1-27/64 in. (36.1 mm) centers.
The mounting bracket is designed so that the detector can be
removed from the blast tube for cleaning and then replaced
without disturbing the sighting angle. Loosen the 2 screws
holding the bracket to the blast tube, but do not loosen the
clamp screw on the bracket. Twist both the bracket and
detector to remove them.
WIRING (ALL MODELS—FIG. 10)
CAUTION
Equipment Damage Hazard.
Can cause improper operation.
The blue (tan with blue tracer with C7035A1080)
leadwire must be connected to the F terminal of the
flame safeguard control subbase or terminal strip
and the white (tan leadwire without blue tracer with
C7035A1080) to the G terminal (see Fig. 10).
Failure to observe the circuit polarity by reversing
the leadwires (even momentarily) may cause the
flame detector to improperly supervise the combustion
flame.
IMPORTANT
All wiring must comply with applicable local electrical
codes, ordinances and regulations. Use NEC Class
1 wiring.
The detector has color-coded and labeled, plastic-insulated,
no. 18 AWG leadwires, eight ft. (2.44 m) long, rated for 221°F
(105°C).
1. Keep the flame signal leadwires as short as possible
from the flame detector to the terminal strip or wiring
subbase. Capacitance increases with wire length,
reducing the signal strength.
NOTE: The maximum permissible leadwire length depends
on the type of leadwire and the conduit type and
diameter. The ultimate limiting factor in flame signal
leadwire length is the signal current or voltage at the
flame safeguard device. See Table 1.
2. If needed, splice detector leadwires for longer leadwire
runs, observing the following considerations:
a. Make required splices in a junction box.
b. Use moisture-resistant no. 14 wire suitable for at
least 167°F (75°C).
c. For high temperature installations, use Honeywell
Specification no. 32004766-003 or equivalent for
the F leadwire. This wire is rated up to 400°F
(250°C) for continuous duty. It is tested for operation
up to 20 Kv and for breakdown up to 35 Kv. For the
other leadwires, use moisture-resistant no. 14 wire
selected for a temperature rating above the
maximum operating temperature.
d. F and G wires must be run in their own conduit
independent of other power carrying leadwires.
More than one scanner F and G wire can be run in
the same conduit.
e. A shielded twisted pair wire may be substituted for
using conduit for routing the F leadwire. Be advised
of the capacitance per foot of shielded wire
effectively reduces the flame signal at the flame
safeguard device. Be sure to ground the shield to
the G terminal at the flame safeguard wiring
subbase.
f. The detector wires need to be run in their own
conduit as well, avoiding other electrical noise
carrying wiring.
1-27/64 IN.
(36.1 mm)
8
-32 RHIS
(
EUROPEAN M-4)
S
CREW (2)
29/32 IN. (23.0 mm)
MOUNTING HOLE
IN BLAST TUBE
MOUNTING
BRACKET
C7044A
DETECTOR
CLAM
P
SCRE
W
M3020

C7027A, C7035, C7044A, C7927A MINIPEEPER® ULTRAVIOLET FLAME DETECTORS
9 60-2026—11
g. The scanner wires should remain separated a
minimum of two in. (51 mm) from other line voltage
wires in the main control panel to the flame
safeguard device.
3. Avoid installation considerations that can influence
detector operation and maximum leadwire length, such
as:
a. Moisture.
b. Ignition interference.
c. High resistance connections—poor grounds.
d. Leadwire capacitance.
e. Voltage fluctuations.
f. Induced line transients.
g. Floating grounds—ground at some voltage above
earth ground.
h. No G wire—burner used as ground.
i. Detector output less than maximum attainable for
the installation (inadequate sighting.
IMPORTANT:
Do not run the flame detector wiring in the same
conduit with high voltage ignition transformer wires.
Connecting Detectors In Parallel
For a flame that is difficult to sight, using two flame detectors
connected in parallel will reduce the occurrence of nuisance
shutdowns. If only one of the parallel detectors loses the flame
signal, the other will continue to indicate the presence
of the flame and keep the burner in operation.
When the flame detectors are connected in parallel, the low
level background signals are additive. Therefore, no more
than two C7027A, C7035A, or C7044A Flame Detectors
should be paralleled. Furthermore, the background signal
increases as temperature decreases. Because of this, the
minimum ambient operating temperature must be increased
when the C7027A, C7035A or C7044A Flame Detectors are
paralleled.
When using detectors rated for a minimum of 0°F (-18°C),
limit the minimum ambient temperature at the detectors to
32°F (0°C). When using detectors rated for a minimum of
-40°F (-40°C), limit the minimum ambient temperature at the
detectors to -10°F (-23°C).
Connect the blue leadwires of both detectors to the F terminal
of the wiring subbase or terminal strip, and the white
leadwires of both detectors to the G terminal, as shown in
Fig. 10.
Earth Ground
The detector and the flame safeguard control must be
connected to earth ground. A convenient method of
accomplishing this is to connect the detector to the flame
safeguard control with a flexible conduit, or ensure a good
ground connection at the mounting bracket.
Fig. 9. Wiring C7027A, C7035A, and
C7044A flame detectors in parallel.
ADJUSTMENTS AND CHECKOUT
Before welding the C7027A, C7927A or C7035A sight pipe
in its final location, or before tightening the C7044A clamp
screw, complete both the adjustments and checkout tests that
follow and any required by the burner manufacturer.
Uv Sensor Tube Test
NOTE: For initial burner lightoff, consult the burner
manufacturer instructions or the instructions
for the flame safeguard control.
During the initial burner lightoff, make sure the flame
safeguard control starts (i.e., the load relay, usually 1K,
pulls in). If it does not start, visually check the sensing tube in
the C7027A, C7035A, or C7044A flame detector. If the tube
continues to glow when no flame is present, replace the
sensing tube (C7035A), or replace the detector (C7027A or
C7044A).
Adjust Detector Sighting Position
With the flame detector installed and burners running, adjust
the position of the flame detector for optimum flame signal.
The flame signal will be read in microamps or voltage (Vdc)
depending on the Honeywell flame safeguard combustion
control used.
Most existing Honeywell flame safeguard controls incorporate
a flame current jack on the flame amplifier or on the control
itself. The flame signal can be measured with a volt-ohmmeter
such as the Honeywell W136A. To measure the flame current
(signal), use a cable connector (part number 196146, included
with the W136A) in conjunction with the meter. With the
W136A (or equivalent) positioned at the zero to 25
microampere scale, make connections from the meter probes
to the two ends of the cable connector plug (red to red, black
to black). Make these connections before inserting the plug
end of the connector plug into the flame jack of the control
or control amplifier (see Fig. 11). Read the flame signal in
microamperes directly from the W136A meter. Refer to
Table 1 for the minimum acceptable flame currents.
M3018
F
WIRING SUBBASE
OR
TERMINAL STRIP
OPTIONAL
SECOND
DETECTOR
UV DETECTOR
UV DETECTOR
BLUE
BLUE
WHITE
WHITE
G

C7027A, C7035, C7044A, C7927A MINIPEEPER® ULTRAVIOLET FLAME DETECTORS
60-2026—11 10
Fig. 10. Measuring microamp flame signal.
The R7749B and R7849A,B Amplifiers used with the
Honeywell BCS 7700 and 7800 SERIES controls,
respectively, have a dc voltage flame signal output.
For the R7749B Amplifier, a volt-ohmmeter with a zero to 5 or
10 Vdc scale and a minimum sensitivity of 20,000 volts/ohm is
suggested.
For the R7849A,B Amplifiers used with the 7800 SERIES
controls, a volt-ohmmeter with a zero to 5 or 10 Vdc scale and
a minimum sensitivity of one megohm/volt is recommended,
(see Fig. 12).
Fig. 11. Measuring flame signal voltage
of 7800 SERIES controls.
Measure the flame signal voltage as illustrated in Figs. 12
and 13. Be careful to connect the positive meter lead to the
positive (+) amplifier jack and the negative meter lead to the
negative (-) amplifier jack (BCS 7700) or the (-Com) jack for
a 7800 SERIES control. If the BCS 7700 and Series 7800
controls have the optional Keyboard Display Module, a zero
to five Vdc reading will be displayed on the module.
Move the flame detector and sight pipe (if not permanently
attached to the burner/boiler) to view the flame from various
positions. Allow a few seconds for the meter reading to
stabilize. A maximum steady microamp or voltage reading is
desirable. The flame signal must be above the minimum
acceptable level for the flame safeguard control and
associated amplifier as indicated in Table 1.
Measure the flame signal for the pilot alone, the main burner
flame alone, and both together (unless monitoring pilot only
when using an intermittent pilot or supervising the main flame
only when using direct spark ignition). Also, measure the
flame signal at low and high firing rates and while modulating
(if applicable).
With the flame detector in its final position, all flame signals
must be steady with a current/voltage value as indicated in
Table 1. If the minimum signal cannot be obtained or is
unstable, refer to Troubleshooting, page 10.
Pilot Turndown Test
If the detector is used to prove a pilot flame before the main
fuel valve can be opened, perform a Pilot Turndown Test.
Follow the procedures in both the Instructions for the
appropriate flame safeguard control, and in the burner
manufacturer's instructions.
Fig. 12. Measuring the BCS 7700 flame signal voltage.
W136A VOLT-
OHMMETER W136A SELECTOR
SWITCH
196146 METER
CONNECTOR
PLUG
PLUG
PLUG-IN FLAME
SIGNAL AMPLIFIER
FLAME SIGNAL
METER JACK
RED CONNECTOR
BLACK CONNECTORBLACK (–) METER LEAD
RED (+)
METER
LEAD M6532A
NEGATIVE (-)
METER LEAD
POSITIVE (+)
METER LEAD ONE
MEGOHM/VOLT
METER
M7382
RESET
BUTTON
PROGRAM
MODULE
20,000
VOLT-
OHMMETE
R
BCS 7700 CHASSIS MODULE FOOTMOUNT
METER
PROBES
FLAME
AMPLIFER
M7860

11 60-2026—11
a Currently obsolete.
Ignition Spark Response Test
Test to be sure that ignition spark is not actuating the flame
relay (usually 2K) or flame LED in the flame safeguard control.
1. Close the pilot and main burner manual fuel shutoff
valves.
2. Connect the appropriate meter to the flame safeguard
control amplifier. Start the burner and run through
the ignition period. Ignition spark should occur, but
the flame relay must not pull in or the flame LED
should not light. The flame signal should not be more
than 0.25 microamp or 1.25 Vdc with the BC7700 or
7800 SERIES.
3. If the flame relay does pull in or the flame LED lights,
reposition the flame detector to increase the distance
between the flame detector and the ignition spark. If the
flame detector is not in the line of sight of the ignition
spark but appears to respond to the spark, it may be
responding to reflected spark generated UV radiation. If
so, relocate the flame detector so it does not receive the
reflected UV radiation. It may be necessary to construct
a barrier to block the UV radiation generated by the
spark from the flame detector view.
4. Continue making the adjustments until the flame signal
due to ignition spark is less than 0.25 microamp or
1.25 Vdc.
5. The use of the Q624 or Q652 solid-state ignition
transformer may also provide a method to eliminate the
C7027A, C7035A, or C7044A flame detector response
to UV radiation generated by ignition spark. The Q624
and Q652 prevents flame detector response to ignition
spark by providing alternating periods of spark
generation and UV sensor activation. If ignition spark is
detected, try reversing the leads on the Q624 or Q652.
Response to Other Ultraviolet Sources
Some sources of artificial light produce small amounts of
ultraviolet radiation. Under certain conditions, an ultraviolet
detector will respond to them as if it is sensing a flame.
Do not use an artificial light source to check the response
of an ultraviolet detector. To check for proper flame detector
operation, test for flame failure response under all operating
conditions.
Weld The Sight Pipe (or Tighten
the C7044A Clamp Screw)
When the flame signal is acceptable after all adjustments are
made, remove the flame detector and weld the sight pipe in its
final position. If you are using a swivel mount, the pipe may
already be welded. Then reinstall the flame detector.
NOTE: If using a C7044A Detector with no sight pipe,
do not remove the detector; tighten the clamp
screw securely.
Final Checkout
Before putting the burner into service, check out the
installation using the procedures in the Checkout section of
the Instructions for the appropriate flame safeguard control.
After completing the checkout, run the burner through at least
one complete cycle to verify correct operation.
Table 1. Flame Signal.
Flame
Detector
Plug-in
Amplifier
Honeywell Flame
Safeguard
Control
Minimum Acceptable
Steady Current
(microamps)
Maximum Current
Expected
(microamps)
Minimum
Acceptable
Voltage (Vdc)
Maximum
Voltage
(Vdc)
C7027A,
C7035A,
C7044A
R7249A BC7000 + PM720 3.5 7.5 — —
R7749B
(AMPLICHECK™)
BCS7700A — — 2.2 4.98
R7249A R4075Ca,Da,Ea3.5 7.5 — —
R4138Ca,Da3.5 7.5 — —
R4140G,L,M 3.5 7.5 — —
R7290A R4795A,Da1.5 2.25 — —
None R7023Ca 1.5 2.25 — —
NONE R7795A,C,E,G 1.5 2.25 — —
R7849A or
R7849B
(AMPLICHECK™)
7800 SERIES — — 1.25 5.0
None RA890G 1.5 2.25 — —
C7927A R7851B 7800 SERIES — — 1.25 5.0

60-2026—11 G.R. Rev. 07-01 www.honeywell.com/bbc
Home and Building Control Home and Building Control
Honeywell Honeywell Limited-Honeywell Limitée
1985 Douglas Drive North 35 Dynamic Drive
Golden Valley, MN 55422 Scarborough, Ontario
M1V 4Z9
Printed in U.S.A. on recycled
paper containing at least 10%
post-consumer paper fibers.
C7027A, C7035, C7044A, C7927A MINIPEEPER® ULTRAVIOLET FLAME DETECTORS
TROUBLESHOOTING
WARNING
Electrical Shock Hazard.
Can cause serious injury or death.
Be extremely careful while troubleshooting the
detector; line voltage is present on some of the
terminals when power is on.
Open the master switch to disconnect power before
removing or installing the detector.
Inadequate Flame Signal
If a satisfactory flame signal cannot be obtained while
adjusting the sighting position of the detector, perform the
procedures indicated in steps 1 through 7. If other difficulties
are encountered in the system, refer to Troubleshooting in the
Instructions for the appropriate Honeywell flame safeguard
control.
1. Check for proper line voltage. Make sure the master
switch is closed, connections are correct, and power
supply is the correct voltage and frequency.
2. Check the detector wiring for defects, including:
a. incorrect connections.
b. wiring type or size of wire.
c. deteriorated wire.
d. open circuits.
e. short circuits.
f. leakage paths caused by moisture, soot, or dirt.
3. With the burner running, check the temperature at the
detector. When it exceeds 215°F (102°C) for a C7027,
C7927 or C7044, or 250°F (121°C) for a C7035:
a. use a heat block (part no. 136733) if using a
C7027A Flame Detector.
b. add the additional insulation between the wall of the
combustion chamber and the detector.
c. add a shield or screen to reflect radiated heat away
from the detector, or
d. add cooling (refer to Sight Pipe Ventilation, page 6).
4. Remove the detector and clean the viewing window with
a soft, clean cloth.
5. Clean the inside of the sight pipe (if one is used) before
reinstalling the detector.
6. If the flame signal continues to be too low, replace the
plug-in amplifier (if the control has one).
7. If you still cannot obtain a proper flame signal, replace
flame detector (C7027A, C7044A) or UV radiation
sensing tube (C7035A).
IMPORTANT:
At the completion of troubleshooting, be sure to
perform the Adjustments and Checkout beginning
on page 8.
MAINTENANCE
Periodic Maintenance
1. Clean the viewing window and sight pipe (if used) when
necessary. Remove the detector and use a soft, clean
cloth to remove accumulated contaminants from the
UV radiation sensor tube glass envelope.
2. Ultraviolet sensing tubes have a life expectancy of
40,000 hours of continuous use within the ambient
temperature and voltage ratings. Replace the sensing
tube in the C7035, or replace the C7027, C7927 or
C7044 Detector, at appropriate intervals.
3. Keep the flame detection system adjusted for the
smoothest, most reliable operation as recommended by
the burner manufacturer.
Cleaning the C7044A Detector
When necessary, clean the C7044 Flame Detector by using
the following procedure:
1. Loosen the two screws holding the C7044 mounting
bracket to the blast tube. To remove, twist the bracket
and detector. Do not loosen the clamp screw that holds
the mounting bracket to the detector.
2. Clean the viewing window with a soft, clean cloth.
3. Insert the detector into the mounting hole, and to realign
it, twist against the mounting screws. Tighten the two
mounting screws.